RU2414265C2 - Детское носовое сопрягающее вилочное устройство - Google Patents

Детское носовое сопрягающее вилочное устройство Download PDF

Info

Publication number
RU2414265C2
RU2414265C2 RU2008126906/12A RU2008126906A RU2414265C2 RU 2414265 C2 RU2414265 C2 RU 2414265C2 RU 2008126906/12 A RU2008126906/12 A RU 2008126906/12A RU 2008126906 A RU2008126906 A RU 2008126906A RU 2414265 C2 RU2414265 C2 RU 2414265C2
Authority
RU
Russia
Prior art keywords
tip
central axis
baby
corrugated sector
base
Prior art date
Application number
RU2008126906/12A
Other languages
English (en)
Russian (ru)
Other versions
RU2008126906A (ru
Inventor
Крис ЦОЛЛИНГЕР (US)
Крис ЦОЛЛИНГЕР
Брайан ПЬЕРРО (US)
Брайан ПЬЕРРО
Original Assignee
Кэафьюжн 2200, Инк.
Priority date (The priority date is an assumption and is not a legal conclusion. Google has not performed a legal analysis and makes no representation as to the accuracy of the date listed.)
Filing date
Publication date
Application filed by Кэафьюжн 2200, Инк. filed Critical Кэафьюжн 2200, Инк.
Publication of RU2008126906A publication Critical patent/RU2008126906A/ru
Application granted granted Critical
Publication of RU2414265C2 publication Critical patent/RU2414265C2/ru

Links

Images

Classifications

    • AHUMAN NECESSITIES
    • A61MEDICAL OR VETERINARY SCIENCE; HYGIENE
    • A61MDEVICES FOR INTRODUCING MEDIA INTO, OR ONTO, THE BODY; DEVICES FOR TRANSDUCING BODY MEDIA OR FOR TAKING MEDIA FROM THE BODY; DEVICES FOR PRODUCING OR ENDING SLEEP OR STUPOR
    • A61M16/00Devices for influencing the respiratory system of patients by gas treatment, e.g. ventilators; Tracheal tubes
    • A61M16/06Respiratory or anaesthetic masks
    • A61M16/0666Nasal cannulas or tubing
    • AHUMAN NECESSITIES
    • A61MEDICAL OR VETERINARY SCIENCE; HYGIENE
    • A61MDEVICES FOR INTRODUCING MEDIA INTO, OR ONTO, THE BODY; DEVICES FOR TRANSDUCING BODY MEDIA OR FOR TAKING MEDIA FROM THE BODY; DEVICES FOR PRODUCING OR ENDING SLEEP OR STUPOR
    • A61M16/00Devices for influencing the respiratory system of patients by gas treatment, e.g. ventilators; Tracheal tubes
    • A61M16/06Respiratory or anaesthetic masks
    • A61M16/0605Means for improving the adaptation of the mask to the patient
    • A61M16/0611Means for improving the adaptation of the mask to the patient with a gusset portion

Landscapes

  • Health & Medical Sciences (AREA)
  • Pulmonology (AREA)
  • Hematology (AREA)
  • General Health & Medical Sciences (AREA)
  • Engineering & Computer Science (AREA)
  • Anesthesiology (AREA)
  • Biomedical Technology (AREA)
  • Heart & Thoracic Surgery (AREA)
  • Veterinary Medicine (AREA)
  • Life Sciences & Earth Sciences (AREA)
  • Animal Behavior & Ethology (AREA)
  • Emergency Medicine (AREA)
  • Public Health (AREA)
  • Otolaryngology (AREA)
  • Surgical Instruments (AREA)
  • Prostheses (AREA)
  • Orthopedics, Nursing, And Contraception (AREA)
  • Media Introduction/Drainage Providing Device (AREA)
  • Infusion, Injection, And Reservoir Apparatuses (AREA)
RU2008126906/12A 2005-12-02 2006-11-29 Детское носовое сопрягающее вилочное устройство RU2414265C2 (ru)

Applications Claiming Priority (2)

Application Number Priority Date Filing Date Title
US11/292,808 2005-12-02
US11/292,808 US7640934B2 (en) 2005-12-02 2005-12-02 Infant nasal interface prong device

Related Child Applications (1)

Application Number Title Priority Date Filing Date
RU2011100310/12A Division RU2011100310A (ru) 2005-12-02 2011-01-11 Носовое сопрягающее вилочное устройство

Publications (2)

Publication Number Publication Date
RU2008126906A RU2008126906A (ru) 2010-01-10
RU2414265C2 true RU2414265C2 (ru) 2011-03-20

Family

ID=38092735

Family Applications (2)

Application Number Title Priority Date Filing Date
RU2008126906/12A RU2414265C2 (ru) 2005-12-02 2006-11-29 Детское носовое сопрягающее вилочное устройство
RU2011100310/12A RU2011100310A (ru) 2005-12-02 2011-01-11 Носовое сопрягающее вилочное устройство

Family Applications After (1)

Application Number Title Priority Date Filing Date
RU2011100310/12A RU2011100310A (ru) 2005-12-02 2011-01-11 Носовое сопрягающее вилочное устройство

Country Status (11)

Country Link
US (2) US7640934B2 (enExample)
EP (2) EP1957170B1 (enExample)
JP (1) JP5102774B2 (enExample)
CN (1) CN101370548B (enExample)
AU (1) AU2006320712B2 (enExample)
CA (1) CA2631806C (enExample)
ES (1) ES2708073T3 (enExample)
MX (1) MX2008007004A (enExample)
RU (2) RU2414265C2 (enExample)
WO (1) WO2007064660A2 (enExample)
ZA (1) ZA200804773B (enExample)

Families Citing this family (146)

* Cited by examiner, † Cited by third party
Publication number Priority date Publication date Assignee Title
NZ573196A (en) 2002-09-06 2010-07-30 Resmed Ltd Cushion for a respiratory mask assembly with two force applying features for respectively low and high mask pressure
AU2003275762A1 (en) 2002-11-06 2004-06-07 Resmed Limited Mask and components thereof
WO2004052438A1 (en) 2002-12-06 2004-06-24 Fisher & Paykel Healthcare Limited Mouthpiece
US7588033B2 (en) 2003-06-18 2009-09-15 Breathe Technologies, Inc. Methods, systems and devices for improving ventilation in a lung area
DE10337138A1 (de) * 2003-08-11 2005-03-17 Freitag, Lutz, Dr. Verfahren und Anordnung zur Atmungsunterstützung eines Patienten sowie Luftröhrenprothese und Katheter
CA2536090C (en) * 2003-08-18 2014-07-22 Anthony D. Wondka Method and device for non-invasive ventilation with nasal interface
EP2510968B1 (en) * 2003-12-31 2017-02-08 ResMed Limited Compact oronasal patient interface
WO2005079726A1 (en) 2004-02-23 2005-09-01 Fisher & Paykel Healthcare Limited Breathing assistance apparatus
US9295799B2 (en) 2004-04-02 2016-03-29 Fisher & Paykel Healthcare Limited Breathing assistance apparatus
US9072852B2 (en) 2004-04-02 2015-07-07 Fisher & Paykel Healthcare Limited Breathing assistance apparatus
WO2005118040A1 (en) 2004-06-03 2005-12-15 Resmed Limited Cushion for a patient interface
US10610228B2 (en) 2004-12-08 2020-04-07 Theravent, Inc. Passive nasal peep devices
NZ585061A (en) * 2004-12-08 2011-03-31 Ventus Medical Inc Respiratory devices and methods of use
US9833354B2 (en) 2004-12-08 2017-12-05 Theravent, Inc. Nasal respiratory devices
ES2443959T5 (es) 2005-01-12 2018-04-02 Resmed Limited Almohadilla para interfaz con un paciente
CA2623756A1 (en) * 2005-09-20 2007-03-29 Lutz Freitag Systems, methods and apparatus for respiratory support of a patient
US8397728B2 (en) 2005-10-14 2013-03-19 Resmed Limited Cushion to frame assembly mechanism
US20090126739A1 (en) 2005-10-25 2009-05-21 Resmed Limited Interchangeable Mask Assembly
US7578294B2 (en) 2005-12-02 2009-08-25 Allegiance Corporation Nasal continuous positive airway pressure device and system
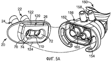
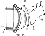
US7640934B2 (en) * 2005-12-02 2010-01-05 Carefusion 2200, Inc. Infant nasal interface prong device
EP2000167B1 (en) * 2006-03-24 2016-08-10 Teijin Pharma Limited Nasal mask for ventilation
CN101541365A (zh) * 2006-05-18 2009-09-23 呼吸科技公司 气管切开方法和装置
EP2026723B1 (en) * 2006-05-23 2018-11-21 Theravent, Inc. Nasal respiratory devices
CN101489630B (zh) * 2006-06-07 2013-10-23 温吐斯医学公司 分层鼻装置
US20090145441A1 (en) * 2007-12-06 2009-06-11 Rajiv Doshi Delayed resistance nasal devices and methods of use
US20110203598A1 (en) * 2006-06-07 2011-08-25 Favet Michael L Nasal devices including layered nasal devices and delayed resistance adapters for use with nasal devices
US7506649B2 (en) * 2006-06-07 2009-03-24 Ventus Medical, Inc. Nasal devices
CA2890556C (en) 2006-07-14 2018-05-01 Fisher & Paykel Healthcare Limited Breathing assistance apparatus
NZ612086A (en) 2006-07-28 2014-12-24 Resmed Ltd Delivery of respiratory therapy
ES2576454T3 (es) 2006-07-28 2016-07-07 Resmed Ltd. Administración de terapia respiratoria
JP2009545384A (ja) * 2006-08-03 2009-12-24 ブリーズ テクノロジーズ, インコーポレイテッド 最小侵襲性呼吸補助のための方法および装置
US20080142018A1 (en) * 2006-11-16 2008-06-19 Ventus Medical, Inc. Nasal device applicators
CN103418070B (zh) 2006-12-15 2017-03-01 瑞思迈有限公司 呼吸治疗的传送系统
EP2481434B1 (en) 2006-12-15 2016-04-13 ResMed Ltd. Delivery of respiratory therapy
US8517023B2 (en) 2007-01-30 2013-08-27 Resmed Limited Mask system with interchangeable headgear connectors
TW200836781A (en) * 2007-03-07 2008-09-16 Ventus Medical Inc Nasal devices
NZ578334A (en) 2007-04-19 2011-01-28 Resmed Ltd Mask frame connected to face cushion via intervening clip
WO2008144589A1 (en) 2007-05-18 2008-11-27 Breathe Technologies, Inc. Methods and devices for sensing respiration and providing ventilation therapy
US8833372B2 (en) * 2007-05-29 2014-09-16 Carefusion 207, Inc. Integrated mask and prongs for nasal CPAP
NZ706053A (en) 2007-11-05 2016-10-28 Resmed Ltd Patient interface
JP5513392B2 (ja) * 2007-09-26 2014-06-04 ブリーズ・テクノロジーズ・インコーポレーテッド 睡眠時無呼吸を治療するための方法及び装置
JP5519510B2 (ja) 2007-09-26 2014-06-11 ブリーズ・テクノロジーズ・インコーポレーテッド 換気装置
US20090095303A1 (en) * 2007-10-16 2009-04-16 Bruce Sher Nasal prongs
JP5470264B2 (ja) 2007-11-19 2014-04-16 ケアフュージョン2200、インコーポレイテッド 呼吸治療のための患者インターフェイスアセンブリ
US8020700B2 (en) * 2007-12-05 2011-09-20 Ventus Medical, Inc. Packaging and dispensing nasal devices
US8210182B2 (en) * 2007-12-28 2012-07-03 Carefusion 207, Inc. Continuous positive airway pressure device
US8371304B2 (en) * 2007-12-28 2013-02-12 Carefusion Continuous positive airway pressure device and method
AU2009205945A1 (en) * 2008-01-18 2009-07-23 Breathe Technologies, Inc. Methods and devices for improving efficacy of non-invasive ventilation
US20090194109A1 (en) * 2008-02-01 2009-08-06 Rajiv Doshi Cpap interface and backup devices
WO2009108994A1 (en) 2008-03-04 2009-09-11 Resmed Ltd A foam respiratory mask
US11331447B2 (en) 2008-03-04 2022-05-17 ResMed Pty Ltd Mask system with snap-fit shroud
NZ701183A (en) 2008-03-04 2014-11-28 Resmed Ltd Mask system
EP2259828B1 (en) 2008-03-04 2021-05-19 ResMed Pty Ltd Cushion element and respiratory mask assembly comprising same
WO2009117012A1 (en) 2008-03-17 2009-09-24 Ventus Medical, Inc. Adhesive nasal respiratory devices
JP5758799B2 (ja) 2008-04-18 2015-08-05 ブリーズ・テクノロジーズ・インコーポレーテッド 呼吸作用を感知し、人工呼吸器の機能を制御するための方法およびデバイス
WO2009129506A1 (en) 2008-04-18 2009-10-22 Breathe Technologies, Inc. Methods and devices for sensing respiration and controlling ventilator functions
US10792451B2 (en) 2008-05-12 2020-10-06 Fisher & Paykel Healthcare Limited Patient interface and aspects thereof
US10258757B2 (en) 2008-05-12 2019-04-16 Fisher & Paykel Healthcare Limited Patient interface and aspects thereof
US8181652B2 (en) * 2008-05-22 2012-05-22 Pierre Peron B Infant positive pressure tracheal device
US8291906B2 (en) 2008-06-04 2012-10-23 Resmed Limited Patient interface systems
US8905031B2 (en) 2008-06-04 2014-12-09 Resmed Limited Patient interface systems
US20090308398A1 (en) * 2008-06-16 2009-12-17 Arthur Ferdinand Adjustable resistance nasal devices
US11660413B2 (en) 2008-07-18 2023-05-30 Fisher & Paykel Healthcare Limited Breathing assistance apparatus
JP5715950B2 (ja) 2008-08-22 2015-05-13 ブリーズ・テクノロジーズ・インコーポレーテッド 開放気道インタフェースを有する機械換気を提供する方法及び装置
NZ591308A (en) 2008-09-12 2013-09-27 Resmed Ltd Foam-based interfacing structure method and apparatus
WO2010031040A2 (en) * 2008-09-15 2010-03-18 Ventus Medical, Inc. Nasal devices, systems and methods
CA2739435A1 (en) 2008-10-01 2010-04-08 Breathe Technologies, Inc. Ventilator with biofeedback monitoring and control for improving patient activity and health
EP3323462B1 (en) 2008-10-10 2021-12-15 Fisher & Paykel Healthcare Limited Nasal pillows for a patient interface
DE102009047246A1 (de) 2008-12-01 2010-06-10 Fisher & Paykel Healthcare Ltd., East Tamaki Nasenkanüle
US20180064900A1 (en) 2008-12-17 2018-03-08 Venkata Buddharaju Strapless nasal interface device
US8430098B1 (en) 2008-12-17 2013-04-30 Venkata Buddharaju Strapless nasal interface device
US9132250B2 (en) 2009-09-03 2015-09-15 Breathe Technologies, Inc. Methods, systems and devices for non-invasive ventilation including a non-sealing ventilation interface with an entrainment port and/or pressure feature
EP2213324B1 (en) 2009-01-30 2016-07-27 ResMed R&D Germany GmbH Patient interface structure and method/tool for manufacturing same
US9962512B2 (en) 2009-04-02 2018-05-08 Breathe Technologies, Inc. Methods, systems and devices for non-invasive ventilation including a non-sealing ventilation interface with a free space nozzle feature
JP5575223B2 (ja) * 2009-04-02 2014-08-20 ブリーズ・テクノロジーズ・インコーポレーテッド 非侵襲性換気システム、患者の気道閉塞を少なくするシステムおよび睡眠時無呼吸を治療するデバイス
CN111905221B (zh) * 2009-05-12 2024-01-09 费雪派克医疗保健有限公司 病人接口及其多个方面
CA2774902C (en) 2009-09-03 2017-01-03 Breathe Technologies, Inc. Methods, systems and devices for non-invasive ventilation including a non-sealing ventilation interface with an entrainment port and/or pressure feature
US20110108041A1 (en) * 2009-11-06 2011-05-12 Elliot Sather Nasal devices having a safe failure mode and remotely activatable
EP2501423A4 (en) 2009-11-18 2014-10-29 Fisher & Paykel Healthcare Ltd NOSE MASK
GB2530946B (en) 2009-12-23 2016-06-01 Fisher & Paykel Healthcare Ltd Patient interface and headgear
CA3062474C (en) 2009-12-23 2022-01-25 Fisher & Paykel Healthcare Limited An interface and a method of supplying breathing gas
JP5563338B2 (ja) * 2010-03-16 2014-07-30 アトムメディカル株式会社 経鼻プロング装置
US8875711B2 (en) 2010-05-27 2014-11-04 Theravent, Inc. Layered nasal respiratory devices
EA201300201A1 (ru) * 2010-08-09 2014-01-30 Такеда Гмбх Устройство и система для подачи аэрозоля пациенту, находящемуся на искусственной вентиляции легких
US10099028B2 (en) 2010-08-16 2018-10-16 Breathe Technologies, Inc. Methods, systems and devices using LOX to provide ventilatory support
US8939152B2 (en) 2010-09-30 2015-01-27 Breathe Technologies, Inc. Methods, systems and devices for humidifying a respiratory tract
US8567400B2 (en) 2010-10-05 2013-10-29 Carefusion 207, Inc. Non-invasive breathing assistance device with flow director
US8607794B2 (en) * 2010-10-05 2013-12-17 Carefusion 207, Inc. Non-invasive breathing assistance apparatus and method
EP2624903B1 (en) 2010-10-08 2018-05-16 Fisher & Paykel Healthcare Limited Breathing assistance apparatus
US20120111332A1 (en) * 2010-11-04 2012-05-10 Gusky Michael H Breathing apparatus
SE537099C2 (sv) 2011-02-08 2015-01-07 Neores Ab System och anordning för neonatal återupplivning och inledande andningsstöd
US10603456B2 (en) 2011-04-15 2020-03-31 Fisher & Paykel Healthcare Limited Interface comprising a nasal sealing portion
GB2503843B (en) 2011-04-15 2016-04-13 Fisher & Paykel Healthcare Ltd Interface comprising a rolling nasal bridge portion
US8720444B2 (en) * 2012-01-20 2014-05-13 Hsiner Co., Ltd. Breathing assistance apparatus having floating function
US9259548B2 (en) * 2012-04-30 2016-02-16 Carefusion 207, Inc. Patient nasal interface for use with a nasal airway pressure system
EP2679267A1 (en) * 2012-06-29 2014-01-01 Air Liquide Medical Systems Nasal cushion with pivotable prongs for a respiratory nasal mask
US10232135B2 (en) 2012-08-03 2019-03-19 Fisher & Paykel Healthcare Limited Deformable insert for low pressure patient interface
GB2553475B8 (en) 2012-08-08 2019-01-02 Fisher & Paykel Healthcare Ltd Headgear for patient interface
KR101333195B1 (ko) 2012-09-03 2013-11-26 재단법인 아산사회복지재단 일정 수준의 호기말 기도 양압이 유지되는 가온 가습 고유량 산소요법 호흡치료기용 비강 인터페이스
WO2014038959A1 (en) 2012-09-04 2014-03-13 Fisher & Paykel Healthcare Limited Valsalva mask
DE112014001368T5 (de) 2013-03-15 2016-01-21 Fisher & Paykel Healthcare Ltd. Nasenkanülenanordnungen und relevante Teile
EP2988814B1 (en) 2013-04-24 2019-11-20 Fisher & Paykel Healthcare Limited Automatically adjusting headgear for patient interface
GB2580001B (en) 2013-05-07 2020-10-21 Fisher & Paykel Healthcare Ltd Patient interface and headgear for a respiratory apparatus
GB2580841B (en) * 2013-07-17 2021-01-13 Fisher & Paykel Healthcare Ltd Nasal seal having nostril locators
WO2015020538A1 (en) * 2013-08-06 2015-02-12 Fisher & Paykel Healthcare Limited Infant cpap device, interface and system
EP3763409B1 (en) 2013-08-09 2022-02-23 Fisher & Paykel Healthcare Limited Asymmetrical nasal delivery elements and fittings for nasal interfaces
USD747792S1 (en) 2013-10-25 2016-01-19 Fisher & Paykel Health Care Limited Nasal cannula body
CN103706056A (zh) * 2014-02-02 2014-04-09 叶林森 组合式鼻外空气净化装置
NZ630742A (en) * 2014-05-01 2016-02-26 Resmed Ltd A patient interface
NZ714595A (en) * 2014-06-19 2017-06-30 Resmed Ltd Patient interface for respiratory therapy
US20160015925A1 (en) * 2014-07-16 2016-01-21 Human Design Medical, Llc Facial interface and headgear system for use with ventilation and positive air pressure systems
CA3211125A1 (en) 2014-08-25 2016-03-03 Fisher & Paykel Healthcare Limited Respiratory mask and related portions, components or sub-assemblies
GB2591662B (en) 2014-09-16 2022-02-09 Fisher & Paykel Healthcare Ltd Headgear assemblies and interface assemblies with headgear
US10828452B2 (en) 2014-09-16 2020-11-10 Fisher & Paykel Healthcare Limited Intramold headgear
US10646680B2 (en) 2014-09-19 2020-05-12 Fisher & Paykel Healthcare Limited Headgear assemblies and interface assemblies with headgear
USD757930S1 (en) 2015-03-19 2016-05-31 Insleep Technologies, Llc Nasal pillow
EP3756717B1 (en) * 2015-03-27 2023-08-16 Fisher & Paykel Healthcare Limited Patient interface and aspects thereof
USD768287S1 (en) 2015-04-03 2016-10-04 Insleep Technologies, Llc Nasal interface base
US11364358B2 (en) 2015-06-30 2022-06-21 Vapotherm, Inc. Nasal cannula for continuous and simultaneous delivery of aerosolized medicament and high flow therapy
JP2018523512A (ja) * 2015-07-31 2018-08-23 エーエスエーピー ブレスアシスト ピーティーワイ リミテッド 鼻孔装置
US11464929B2 (en) * 2015-09-25 2022-10-11 Georgetown University System and method for vibratory, high frequency ventilation of neonates and infants
AU2017234345B2 (en) 2016-03-16 2022-03-03 Fisher & Paykel Healthcare Limited Intra-mould substrate
WO2017158476A2 (en) 2016-03-16 2017-09-21 Fisher & Paykel Healthcare Limited Burst-through intra-moulding
AU2017234346B2 (en) 2016-03-16 2022-06-30 Fisher & Paykel Healthcare Limited Directional lock for interface headgear arrangement
US11229761B2 (en) * 2016-04-22 2022-01-25 Fisher & Paykel Healthcare Limited Patient interface and aspects thereof
EP3478351B1 (en) 2016-06-30 2021-03-10 Vapotherm, Inc. Cannula device for high flow therapy
US20180015247A1 (en) * 2016-07-15 2018-01-18 Encite Llc Nasal Interface for CPAP Device
CN106110459B (zh) * 2016-07-27 2018-03-30 田鸣 一种麻醉用鼻罩
USD870269S1 (en) 2016-09-14 2019-12-17 Fisher & Paykel Healthcare Limited Nasal cannula assembly
USD823454S1 (en) 2017-02-23 2018-07-17 Fisher & Paykel Healthcare Limited Cushion assembly for breathing mask assembly
USD823455S1 (en) 2017-02-23 2018-07-17 Fisher & Paykel Healthcare Limited Cushion assembly for breathing mask assembly
USD824020S1 (en) 2017-02-23 2018-07-24 Fisher & Paykel Healthcare Limited Cushion assembly for breathing mask assembly
US12102764B2 (en) 2017-06-26 2024-10-01 Fisher & Paykel Healthcare Limited Respiratory mask system
AU2018327338A1 (en) 2017-09-08 2020-03-19 Vapotherm, Inc. Birfurcated cannula device
US10792449B2 (en) 2017-10-03 2020-10-06 Breathe Technologies, Inc. Patient interface with integrated jet pump
CN118105593A (zh) 2017-12-21 2024-05-31 费雪派克医疗保健有限公司 呼吸面罩系统
CN117618719A (zh) 2018-03-16 2024-03-01 费雪派克医疗保健有限公司 具有锁脱接合机构的头戴具
US10335311B1 (en) * 2018-05-31 2019-07-02 Barry I. Altman Anti-snoring device
CN108939225A (zh) * 2018-06-12 2018-12-07 陈新 一次性鼻吸式通用型喉嘴
US10905840B2 (en) * 2018-07-17 2021-02-02 Foxxmed Ltd. Nasal cannula device
EP3622994B1 (en) 2018-09-17 2021-05-26 Air Liquide Medical Systems Respiratory mask with improved headgear connecting system
EP3643348B1 (en) 2018-10-26 2023-03-08 Air Liquide Medical Systems Nasal pillow mask with combined poka-yoke coupling system and magnetic connecting system
WO2020264175A1 (en) 2019-06-28 2020-12-30 Vapotherm, Inc. Variable geometry cannula
CN114728147A (zh) 2019-09-26 2022-07-08 蒸汽热能公司 插管内部安装的雾化器
EP4355399A4 (en) * 2021-06-14 2024-10-09 Namon, Ari NASAL PRONG WITH IMPROVED AIRFLOW
PL441953A1 (pl) * 2022-08-05 2024-02-12 Healthnomic Spółka Akcyjna Urządzenie generujące dodatnie ciśnienie powietrza podczas fazy wydechu

Citations (4)

* Cited by examiner, † Cited by third party
Publication number Priority date Publication date Assignee Title
US20030089372A1 (en) * 2000-06-22 2003-05-15 Frater Robert H. Mask with gusset
US20040065330A1 (en) * 2002-07-15 2004-04-08 Landis Robert M. Dynamic infant nasal CPAP system and method
RU2004100276A (ru) * 2001-06-12 2005-02-27 Оптиноуз Ас (No) Носовое устройство
US20050051177A1 (en) * 2003-09-10 2005-03-10 Wood Thomas J. Nasal interface and system including ventilation insert

Family Cites Families (47)

* Cited by examiner, † Cited by third party
Publication number Priority date Publication date Assignee Title
DE2342521A1 (de) 1972-08-29 1974-04-25 Paul Guichard Tragbares nasal-diffusor-geraet zum reinigen und modifizieren der atmungsluft
US4156426A (en) 1977-08-11 1979-05-29 Gold Lawrence W Head-mounted oxygen-administration device
USD262322S (en) 1979-07-23 1981-12-15 Mizerak Vladimir S Nasal cannula mouth mask
US4367735A (en) * 1979-12-31 1983-01-11 Novametrix Medical Systems, Inc. Nasal cannula
US4774946A (en) 1983-11-28 1988-10-04 Ackrad Laboratories, Inc. Nasal and endotracheal tube apparatus
US4782932A (en) 1985-11-01 1988-11-08 Eaton Corporation Torsion damping mechanism
US4782832A (en) * 1987-07-30 1988-11-08 Puritan-Bennett Corporation Nasal puff with adjustable sealing means
US5042478A (en) 1988-08-26 1991-08-27 University Technologies International, Inc. Method of ventilation using nares seal
US4919128A (en) 1988-08-26 1990-04-24 University Technologies International Inc. Nasal adaptor device and seal
US4915105A (en) 1988-10-28 1990-04-10 Lee Tien Chu Miniature respiratory apparatus
US5687715A (en) * 1991-10-29 1997-11-18 Airways Ltd Inc Nasal positive airway pressure apparatus and method
US5477852A (en) 1991-10-29 1995-12-26 Airways Ltd., Inc. Nasal positive airway pressure apparatus and method
US5269296A (en) 1991-10-29 1993-12-14 Landis Robert M Nasal continuous positive airway pressure apparatus and method
US5271391A (en) 1991-12-20 1993-12-21 Linda Graves Apparatus for delivering a continuous positive airway pressure to an infant
US5443075A (en) 1993-03-01 1995-08-22 Puritan-Bennett Corporation Flow measuring apparatus
US5533506A (en) 1995-01-13 1996-07-09 Medlife, Inc. Nasal tube assembly
US5724965A (en) 1995-06-06 1998-03-10 Respironics Inc. Nasal mask
US5682881A (en) 1996-10-21 1997-11-04 Winthrop; Neil Nasal CPAP/Cannula and securement apparatus
US5752510A (en) 1996-11-14 1998-05-19 Goldstein; Joseph Nasal and oral air passageway delivery management apparatus
US6119694A (en) 1997-07-24 2000-09-19 Respironics Georgia, Inc. Nasal mask and headgear
AUPQ102999A0 (en) 1999-06-18 1999-07-08 Resmed Limited A connector for a respiratory mask and a respiratory mask
BR0008650B1 (pt) 1999-03-03 2010-12-28 dispositivo de transmissão via nasal.
US6776162B2 (en) 2000-03-13 2004-08-17 Innomed Technologies, Inc. Ventilation interface for sleep apnea therapy
US6478026B1 (en) 1999-03-13 2002-11-12 Thomas J. Wood Nasal ventilation interface
US6595215B2 (en) 2000-03-13 2003-07-22 Innomed Technologies, Inc. Ventilation interface for sleep apnea therapy
US6354293B1 (en) 1999-03-16 2002-03-12 Foster E. Madison Breathing humidifier
US7219669B1 (en) 1999-06-08 2007-05-22 Sleepnet Corporation Nose mask
US6581601B2 (en) 1999-06-18 2003-06-24 Saeed Ziaee Nasal mask with balloon exhalation valve
US6644315B2 (en) * 1999-06-18 2003-11-11 Saeed Ziaee Nasal mask
US6405729B1 (en) 2000-04-05 2002-06-18 W. Keith Thornton Oral appliance for improving breathing and method of constructing same
AUPQ821500A0 (en) 2000-06-19 2000-07-13 Australian Centre For Advanced Medical Technology Ltd Mask
US6418928B1 (en) 2000-09-25 2002-07-16 Mallinckrodt Inc. Multi-seal respirator mask
US6431172B1 (en) 2000-10-20 2002-08-13 Mallinckrodt Inc. Nasal cannula with inflatable plenum chamber
CA2370995C (en) 2001-09-13 2010-08-17 Fisher & Paykel Healthcare Limited Breathing assistance apparatus
US6679265B2 (en) 2001-10-25 2004-01-20 Worldwide Medical Technologies Nasal cannula
US20030200970A1 (en) * 2002-04-29 2003-10-30 Alex Stenzler Infant breathing assist apparatus
NZ577553A (en) 2003-02-21 2011-01-28 Resmed Ltd Nasal assembly
JP3918057B2 (ja) * 2003-04-25 2007-05-23 国立大学法人埼玉大学 ナーザルcpap素子
US7493902B2 (en) * 2003-05-30 2009-02-24 Fisher & Paykel Healthcare Limited Breathing assistance apparatus
US20050011524A1 (en) 2003-07-17 2005-01-20 Marguerite Thomlinson Nasal interface apparatus
US7353826B2 (en) * 2003-08-08 2008-04-08 Cardinal Health 205, Inc. Sealing nasal cannula
EP2510968B1 (en) * 2003-12-31 2017-02-08 ResMed Limited Compact oronasal patient interface
US7856982B2 (en) 2004-03-11 2010-12-28 Ric Investments, Llc Patient interface device
US7942150B2 (en) 2004-04-09 2011-05-17 Resmed Limited Nasal assembly
US20060054169A1 (en) 2004-09-15 2006-03-16 Tai-Kang Han Respiration nozzle for a medical facemask
US20060107958A1 (en) 2004-11-22 2006-05-25 Sleeper Geoffrey P Adjustable sealing nasal cannula
US7640934B2 (en) * 2005-12-02 2010-01-05 Carefusion 2200, Inc. Infant nasal interface prong device

Patent Citations (4)

* Cited by examiner, † Cited by third party
Publication number Priority date Publication date Assignee Title
US20030089372A1 (en) * 2000-06-22 2003-05-15 Frater Robert H. Mask with gusset
RU2004100276A (ru) * 2001-06-12 2005-02-27 Оптиноуз Ас (No) Носовое устройство
US20040065330A1 (en) * 2002-07-15 2004-04-08 Landis Robert M. Dynamic infant nasal CPAP system and method
US20050051177A1 (en) * 2003-09-10 2005-03-10 Wood Thomas J. Nasal interface and system including ventilation insert

Also Published As

Publication number Publication date
EP1957170B1 (en) 2017-01-04
EP3150246B1 (en) 2018-10-31
US20070125387A1 (en) 2007-06-07
CA2631806C (en) 2015-06-02
WO2007064660A2 (en) 2007-06-07
AU2006320712A1 (en) 2007-06-07
CN101370548A (zh) 2009-02-18
MX2008007004A (es) 2008-10-23
EP1957170A4 (en) 2011-11-30
JP5102774B2 (ja) 2012-12-19
US7640934B2 (en) 2010-01-05
CN101370548B (zh) 2012-05-23
EP3150246A1 (en) 2017-04-05
ES2708073T3 (es) 2019-04-08
ZA200804773B (en) 2009-10-28
RU2011100310A (ru) 2012-07-20
JP2009517185A (ja) 2009-04-30
AU2006320712B2 (en) 2012-03-08
CA2631806A1 (en) 2007-06-07
WO2007064660A3 (en) 2008-09-04
EP1957170A2 (en) 2008-08-20
RU2008126906A (ru) 2010-01-10
US20100108073A1 (en) 2010-05-06
US7987850B2 (en) 2011-08-02

Similar Documents

Publication Publication Date Title
RU2414265C2 (ru) Детское носовое сопрягающее вилочное устройство
RU2424833C2 (ru) Детская носовая сопрягающая маска
US20160082215A1 (en) Stabilized mask
US20150246199A1 (en) Articulating full face mask
EP3773841B1 (en) Adjustable frame for an interface device
TW202027811A (zh) 呼吸介面
WO2012127359A1 (en) Helical forehead support adjustment mechanism
US20220323701A1 (en) Expiration system and ball joint for a patient interface
US20210213228A1 (en) Mask to tubing adaptor for patient interface device and patient interface device including same

Legal Events

Date Code Title Description
MM4A The patent is invalid due to non-payment of fees

Effective date: 20181130