KR20180098168A - 컨베이어 설비 및 플라스틱 과립을 운송하는 방법 - Google Patents

컨베이어 설비 및 플라스틱 과립을 운송하는 방법 Download PDF

Info

Publication number
KR20180098168A
KR20180098168A KR1020180021918A KR20180021918A KR20180098168A KR 20180098168 A KR20180098168 A KR 20180098168A KR 1020180021918 A KR1020180021918 A KR 1020180021918A KR 20180021918 A KR20180021918 A KR 20180021918A KR 20180098168 A KR20180098168 A KR 20180098168A
Authority
KR
South Korea
Prior art keywords
container
plastic granules
carrier gas
separation
conveyor
Prior art date
Legal status (The legal status is an assumption and is not a legal conclusion. Google has not performed a legal analysis and makes no representation as to the accuracy of the status listed.)
Ceased
Application number
KR1020180021918A
Other languages
English (en)
Inventor
번하드 스타크 닥터
뒤르 미카엘
뵈겔 토마스
디크뢰터 크리스티앙
토니 크리스티앙
Original Assignee
코페리온 게엠베하
Priority date (The priority date is an assumption and is not a legal conclusion. Google has not performed a legal analysis and makes no representation as to the accuracy of the date listed.)
Filing date
Publication date
Application filed by 코페리온 게엠베하 filed Critical 코페리온 게엠베하
Publication of KR20180098168A publication Critical patent/KR20180098168A/ko
Ceased legal-status Critical Current

Links

Images

Classifications

    • BPERFORMING OPERATIONS; TRANSPORTING
    • B65CONVEYING; PACKING; STORING; HANDLING THIN OR FILAMENTARY MATERIAL
    • B65GTRANSPORT OR STORAGE DEVICES, e.g. CONVEYORS FOR LOADING OR TIPPING, SHOP CONVEYOR SYSTEMS OR PNEUMATIC TUBE CONVEYORS
    • B65G53/00Conveying materials in bulk through troughs, pipes or tubes by floating the materials or by flow of gas, liquid or foam
    • B65G53/04Conveying materials in bulk pneumatically through pipes or tubes; Air slides
    • BPERFORMING OPERATIONS; TRANSPORTING
    • B65CONVEYING; PACKING; STORING; HANDLING THIN OR FILAMENTARY MATERIAL
    • B65GTRANSPORT OR STORAGE DEVICES, e.g. CONVEYORS FOR LOADING OR TIPPING, SHOP CONVEYOR SYSTEMS OR PNEUMATIC TUBE CONVEYORS
    • B65G53/00Conveying materials in bulk through troughs, pipes or tubes by floating the materials or by flow of gas, liquid or foam
    • B65G53/34Details
    • B65G53/60Devices for separating the materials from propellant gas
    • BPERFORMING OPERATIONS; TRANSPORTING
    • B65CONVEYING; PACKING; STORING; HANDLING THIN OR FILAMENTARY MATERIAL
    • B65GTRANSPORT OR STORAGE DEVICES, e.g. CONVEYORS FOR LOADING OR TIPPING, SHOP CONVEYOR SYSTEMS OR PNEUMATIC TUBE CONVEYORS
    • B65G53/00Conveying materials in bulk through troughs, pipes or tubes by floating the materials or by flow of gas, liquid or foam
    • B65G53/04Conveying materials in bulk pneumatically through pipes or tubes; Air slides
    • B65G53/16Gas pressure systems operating with fluidisation of the materials
    • BPERFORMING OPERATIONS; TRANSPORTING
    • B65CONVEYING; PACKING; STORING; HANDLING THIN OR FILAMENTARY MATERIAL
    • B65GTRANSPORT OR STORAGE DEVICES, e.g. CONVEYORS FOR LOADING OR TIPPING, SHOP CONVEYOR SYSTEMS OR PNEUMATIC TUBE CONVEYORS
    • B65G53/00Conveying materials in bulk through troughs, pipes or tubes by floating the materials or by flow of gas, liquid or foam
    • B65G53/34Details
    • B65G53/36Arrangements of containers
    • BPERFORMING OPERATIONS; TRANSPORTING
    • B65CONVEYING; PACKING; STORING; HANDLING THIN OR FILAMENTARY MATERIAL
    • B65GTRANSPORT OR STORAGE DEVICES, e.g. CONVEYORS FOR LOADING OR TIPPING, SHOP CONVEYOR SYSTEMS OR PNEUMATIC TUBE CONVEYORS
    • B65G53/00Conveying materials in bulk through troughs, pipes or tubes by floating the materials or by flow of gas, liquid or foam
    • B65G53/34Details
    • B65G53/40Feeding or discharging devices
    • B65G53/46Gates or sluices, e.g. rotary wheels
    • BPERFORMING OPERATIONS; TRANSPORTING
    • B65CONVEYING; PACKING; STORING; HANDLING THIN OR FILAMENTARY MATERIAL
    • B65GTRANSPORT OR STORAGE DEVICES, e.g. CONVEYORS FOR LOADING OR TIPPING, SHOP CONVEYOR SYSTEMS OR PNEUMATIC TUBE CONVEYORS
    • B65G53/00Conveying materials in bulk through troughs, pipes or tubes by floating the materials or by flow of gas, liquid or foam
    • B65G53/34Details
    • B65G53/52Adaptations of pipes or tubes
    • B65G53/526Adaptations of pipes or tubes with means for special treatment to facilitate transport
    • BPERFORMING OPERATIONS; TRANSPORTING
    • B65CONVEYING; PACKING; STORING; HANDLING THIN OR FILAMENTARY MATERIAL
    • B65GTRANSPORT OR STORAGE DEVICES, e.g. CONVEYORS FOR LOADING OR TIPPING, SHOP CONVEYOR SYSTEMS OR PNEUMATIC TUBE CONVEYORS
    • B65G53/00Conveying materials in bulk through troughs, pipes or tubes by floating the materials or by flow of gas, liquid or foam
    • B65G53/34Details
    • B65G53/66Use of indicator or control devices, e.g. for controlling gas pressure, for controlling proportions of material and gas, for indicating or preventing jamming of material
    • BPERFORMING OPERATIONS; TRANSPORTING
    • B65CONVEYING; PACKING; STORING; HANDLING THIN OR FILAMENTARY MATERIAL
    • B65GTRANSPORT OR STORAGE DEVICES, e.g. CONVEYORS FOR LOADING OR TIPPING, SHOP CONVEYOR SYSTEMS OR PNEUMATIC TUBE CONVEYORS
    • B65G2201/00Indexing codes relating to handling devices, e.g. conveyors, characterised by the type of product or load being conveyed or handled
    • B65G2201/04Bulk
    • B65G2201/042Granular material
    • BPERFORMING OPERATIONS; TRANSPORTING
    • B65CONVEYING; PACKING; STORING; HANDLING THIN OR FILAMENTARY MATERIAL
    • B65GTRANSPORT OR STORAGE DEVICES, e.g. CONVEYORS FOR LOADING OR TIPPING, SHOP CONVEYOR SYSTEMS OR PNEUMATIC TUBE CONVEYORS
    • B65G2812/00Indexing codes relating to the kind or type of conveyors
    • B65G2812/16Pneumatic conveyors
    • B65G2812/1608Pneumatic conveyors for bulk material
    • B65G2812/1616Common means for pneumatic conveyors
    • BPERFORMING OPERATIONS; TRANSPORTING
    • B65CONVEYING; PACKING; STORING; HANDLING THIN OR FILAMENTARY MATERIAL
    • B65GTRANSPORT OR STORAGE DEVICES, e.g. CONVEYORS FOR LOADING OR TIPPING, SHOP CONVEYOR SYSTEMS OR PNEUMATIC TUBE CONVEYORS
    • B65G2812/00Indexing codes relating to the kind or type of conveyors
    • B65G2812/16Pneumatic conveyors
    • B65G2812/1608Pneumatic conveyors for bulk material
    • B65G2812/1641Air pressure systems

Landscapes

  • Engineering & Computer Science (AREA)
  • Mechanical Engineering (AREA)
  • Air Transport Of Granular Materials (AREA)
  • Processing And Handling Of Plastics And Other Materials For Molding In General (AREA)

Abstract

플라스틱 과립을 위한 컨베이어 설비는 압축된 캐리어 가스를 갖는 플라스틱 입*플라스틱 과립가 컨베이어 라인(4) 내에 디스패치되는 디스패치 위치(5), 운송의 측면에서 디스패치 위치(5)에 접속되는 목표 위치(15), 액체를 첨가함으로써 캐리어 가스 및/또는 플라스틱 과립을 가습하기 위한 가습 유닛(9)을 포함하며, 플라스틱 과립로부터 습윤 캐리어 가스를 분리하기 위한 분리 장치(11)는 목표 위치(15)에 제공된다.

Description

컨베이어 설비 및 플라스틱 과립을 운송하는 방법{CONVEYOR INSTALLATION AND METHOD FOR CONVEYING PLASTICS GRANULATE}
독일 특허 출원 DE 10 2017 203 089.5의 내용이 본 명세서에 참조로서 포함된다.
본 발명은 플라스틱 과립을 위한 컨베이어 설비 및 플라스틱 과립을 운송하는 방법에 관한 것이다.
EP 2 712 881 B1은 불활성 가스 하에서 중합체의 직접 결정화를 위한 방법 및 장치를 개시한다. DE 27 20 094 A1은 공압으로 운송되는 과립 및 분말로부터 공기를 분리하기 위한 방법 및 장치를 개시한다.
공압으로 플라스틱 과립을 운송하는 방법은 DE 198 40 502 C1에 공지되었다. 먼지가 많은 연마 마모의 형성 및 소위 "엔젤 헤어(angel hair)"의 생성은 액체를 첨가함으로써 감소될 수 있다. DE 198 40 502 C1에 따르면, 액체의 제어된 첨가는 목표 위치에서의 캐리어 가스의 상대 습도가 포화 한계보다 낮은 방식으로 수행된다. 이를 위해서 비교적 복잡한 제어가 요구된다. 목표 위치에서의 공정 파라미터의 변화 및 이에 따른 캐리어 가스의 포화 한계의 연관된 변화의 경우, 첨가된 액체가 수용 컨테이너 내에서 응축되어 플라스틱 과립의 저장 및 추가의 처리에 해를 입힐 수 있다.
본 발명의 목적은, 한편으로는 액체를 첨가하는 동안 공압 운송의 장점을 활용하며, 다른 한편으로는 목표 위치, 특히 수용 컨테이너 내에서의 액체의 응축을 복잡하지 않게 확실하게 배제시키는 것이다.
이러한 목적은 본 발명에 따라 플라스틱 과립을 위한 컨베이어 설비에 의해 획득되며, 이 컨베이어 설비는
- 압축된 캐리어 가스를 갖는 플라스틱 과립이 컨베이어 라인 내로 디스패치되는 디스패치 위치(5);
- 운송의 측면에서 디스패치 위치에 접속되는 목표 위치;
- 액체를 첨가함으로써 캐리어 가스 및 플라스틱 과립 중 적어도 하나를 가습하기 위한 가습 유닛을 포함하되;
플라스틱 과립로부터 습윤 캐리어 가스를 분리하기 위한 분리 장치는 목표 위치에 제공된다.
이 목적은 플라스틱 과립을 운송하는 방법으로서, 디스패치 위치에서 압축된 캐리어 가스를 갖는 플라스틱 과립이 컨베이어 라인 내로 디스패치되고 운송의 측면에서 디스패치 위치에 접속된 목표 위치로 운송되고, 액체를 첨가함으로써 캐리어 가스 및 플라스틱 과립 중 적어도 하나가 가습되며, 플라스틱 과립로부터 습윤 캐리어 가스의 분리가 분리 장치에서 수행되는 방법에 의해 추가로 획득된다.
습윤 캐리어 가스가 분리 장치에 의해 플라스틱 과립으로부터 분리된다는 점에서 목표 위치에서의 습윤 캐리어 가스의 응축이 확실하게 배제될 수 있음이 본 발명에 따라 인지되었다. 이러한 분리는 특히 습윤 캐리어 가스와 비교하여 특히 건조한 대체 가스에 의해 수행된다. 특히, 유사한 공정 조건에서의 대체 가스의 상대 습도는 캐리어 가스의 상대 습도보다 낮다. 공정 조건에 따라, 컨베이어 라인의 단부에서의 캐리어 가스 및 대체 가스의 혼합물의 상대 습도는 최대 100%, 특히 최대 80%, 그리고 특히 최대 60%이다. 특히 차가운 대체 가스가 100% 또는 그보다 높은 상대 습도를 가질 수 있음이 고려될 수 있으며, 이때 따뜻한 플라스틱 과립 및/또는 캐리어 가스를 접촉함으로써 대체 가스의 상대 습도는 캐리어 가스 및 대체 가스의 혼합물의 상대 습도를 100% 미만으로 감소시킬 수 있다.
습윤 캐리어 가스는 컨베이어 설비 내의 재료 흐름에 의해 증착된다. 분리 장치는 또한 증착 장치로도 지칭될 수 있다.
습윤 캐리어 가스가 목표 위치에서, 특히 수용 컨테이너 내에서 응축되는 것이 방지된다. 특히, 공기는 캐리어 가스로서의 역할을 한다. 따라서 캐리어 가스는 캐리어 공기로도 지칭된다. 운송과 관련하여, 플라스틱 과립을 공압으로 운송하기 위한 목표 위치는 디스패치 위치에 접속된다. 가압된 캐리어 가스로 디스패치 위치에서 플라스틱 과립이 컨베이어 라인으로 디스패치된다. 플라스틱 과립은 이전의 과립 화 공정에서 제조되었다. 중합체의 구조는 과립화 후에 결정화 공정에서 변형될 수 있다. 이와 같이 제조된 플라스틱 과립은 디스패치 위치로부터 컨베이어 설비 내의 목표 위치로 운송될 수 있다. 플라스틱 과립을 완성하기 위한 추가의 제조 또는 가공 단계는 특히 컨베이어 설비 내에서 필요하지 않다. 플라스틱 과립은 디스패치 위치에서 쉽게 이용가능하다. 플라스틱 과립은 동일 체적의 구의 2mm 내지 5mm에 해당하는 입자 지름을 가진다.
가습 유닛은 액체를 첨가함으로써 캐리어 가스 및/또는 플라스틱 과립을 가습하는 역할을 한다. 특히 물, 특히 탈염수는 캐리어 가스를 가습하기 위한 액체로서의 역할을 한다. 가습 유닛은 특히 액체를 캐리어 가스 및/또는 플라스틱 과립에 직접 첨가하기 위해 별도의 액체 커넥터를 포함한다. 복수의 가습 유닛이 또한 운송 경로를 따라 타깃화된 방식으로 캐리어 가스 및/또는 플라스틱 과립을 가습하도록 제공될 수 있다. 부가적으로 또는 대안적으로, 가습 유닛은 습윤 플라스틱 과립이 캐리어 가스에 첨가된다는 점에서 형성되는 것 또한 가능하다. 플라스틱 과립의 습도는 적어도 습도의 추가 하에서의 공기 운송을 위한 전제 조건이 보장되도록 캐리어 가스에 분배되는 비율로 존재한다. 별도의 액체 커넥터로부터의 액체 공급물이 그로 인해서 고려될 필요가 없다. 수중 펠릿화 이후에, 예를 들어 기계적 탈수에 의해 건조되지 않거나 또는 단지 불완전하게 건조되는 폴리올레핀 과립은 습윤 플라스틱 과립으로서의 역할을 할 수 있다. 가습을 위한 장치의 측면에서의 복잡성은 습윤 플라스틱 과립의 사용으로 감소된다. 본 발명의 맥락에서 습윤 캐리어 가스는 컨베이어 라인의 단부에서 적어도 60% 및 최대 200%의 상대 습도를 갖는 캐리어 가스로서 이해되어야 한다. 여기서의 상대 습도는 캐리어 가스가 압력 및 온도와 같은 주어진 조건 하에서 수용할 수 있는 액체의 증기와 관련한 가능한 가장 큰 질량에 대한 캐리어 가스에 함유된 액체의 증기의 질량의 비로 정의된다. 액체를 갖는 캐리어 가스의 완전한 포화는 100%의 상대 습도에서 나타난다. 액체의 추가 첨가는 캐리어 가스의 과포화 및 액체의 응축을 유도한다. 특히 컨베이어 라인을 따라 캐리어 가스가 액체로 과포화되는 것이 고려될 수 있다. 특히 분리 장치에서의 목표 위치에서의 캐리어 가스의 상대 습도가 최대로 포화 한계에 도달하는 것이 고려될 수 있다.
패키징 또는 수송 컨테이너 내로의 플라스틱 과립의 포장 및/또는 적재가 수행되는 영역은 특히 컨베이어 설비의 목표 위치로서 이해되어야 한다. 수송 컨테이너는 수송 가능한 컨테이너, 예를 들어 선적 컨테이너일 수 있다.
특히 컨베이어 라인을 따르는 캐리어 가스, 특히 목표 위치의 상류의 캐리어 가스는 100 %보다 높은 상대 습도를 갖는 것으로 생각할 수 있다. 또한, 캐리어 가스를 갖는 플라스틱 과립이 100%에 이르는 상대 습도로 운송되는 저장 컨테이너가 컨베이어 라인을 따라 목표 위치의 상류에 배치되는 것도 고려할 수 있다.
특히 습윤 캐리어 가스의 신뢰성있는 분리가 목표 위치에서 분리 장치에 의해 수행되는 한, 캐리어 가스로부터의 물의 임의의 잠재적 응축이 목표 위치의 상류에 배치된 저장 컨테이너에서 수용될 수 있다는 것이 본 발명의 개념이다.
적어도 하나의 수용 컨테이너가 목표 위치에 배치되는 컨베이어 설비는, 플라스틱 과립이 목표 위치에 직접적으로 저장될 수 있게 한다. 특히, 복수의 수용 컨테이너가 목표 위치에 제공될 수 있다. 이 문맥에서의 수용 컨테이너는 플라스틱 과립이 적어도 일시적으로 또는 장기적으로 비축될 수 있은 고정식 또는 이동식 리셉터클 용기이다. 수용 컨테이너는 특히 저장 사일로이다. 수용 컨테이너는 적어도 1㎥, 특히 적어도 100㎥, 특히 적어도 1000㎥의 리셉터클 용량을 갖는다. 그러나 수용 컨테이너는 또한 차량, 특히 상업용 차량 또는 철도 차량에서 수송할 수 있는 컨테이너일 수도 있다.
수용 컨테이너는 차가운 환경에 의해 벽 부근에서 그 내용물의 냉각을 감소시키고 특히 피하도록 단열되도록 구현될 수 있다. 단열은 특히 단열재로부터의 추가 단열재에 의해 구현된다.
분리 장치가 컨베이어 라인에 접속되는 컨베이어 장치의 경우에서, 분리 장치는 적어도 하나의 목표 위치 컨베이어 라인을 통해 목표 위치에 접속되거나, 또는 분리 장치가 수용 컨테이너에 접속된 분리 컨테이너를 구비하며, 특히 복수의 수용 컨테이너가 분리 컨테이너에 접속된 경우, 습윤 캐리어 가스의 분리는 수용 컨테이너의 상류에 있는 분리 장치에서 수행된다. 분리 장치로부터 적어도 하나의 수용 컨테이너로의 후속 운송은 목표 위치 컨베이어 라인에 의해 수행된다. 분리 장치와 적어도 하나의 수용 컨테이너 사이에서 이러한 유형의 라인을 운송하는 목표 위치의 배치의 경우 짧은 운송 경로가 구현될 수 있다. 특히 중앙 분리 장치가 복수의 수용 컨테이너에 제공될 수 있다. 각각의 수용 컨테이너에 대해 개별적으로 할당된 전용 분리 장치를 제공하는 것이 고려될 수 있다. 분리 장치는 특히 분리 컨테이너를 갖는다. 특히 금속 재료, 특히 스틸 재료 또는 알루미늄 재료로 제조된 하우징은 분리 컨테이너로서 이해된다. 대안적으로, 하우징은 유리 섬유 강화 플라스틱으로 제조될 수 있다. 플라스틱 과립 및 습윤 캐리어 가스로부터의 혼합물이 하우징 내로 공급되고, 플라스틱 과립 및 플라스틱 과립으로부터 분리된 습윤 캐리어 가스는 각각의 경우에 수용 컨테이너 내로 개별적으로 방출된다. 이를 위해, 내부의 하우징은 플라스틱 과립 및/또는 습윤 캐리어 가스의 물질 흐름, 특히 상호 분리의 측면에서 바람직한 영향을 미치는 추가의 분리 요소를 가질 수 있다. 플라스틱 과립으로부터의 습윤 캐리어 가스의 분리는 분리 컨테이너 내에서 일어난다. 분리 컨테이너는 특히 수용 컨테이너에 대해 상류에 배치된다. 습윤 캐리어 가스의 분리는 플라스틱 과립이 수용 컨테이너 내로 운송되기 전에 일어난다. 분리 컨테이너는 수용 컨테이너와 비교하여 감소된 용량을 갖는다. 분리 컨테이너는 분리 컨테이너가 플라스틱 과립을 위한 저장 용량을 이용할 수 있도록 플라스틱 과립을 적어도 일시적으로 비축하는 역할을 할 수 있다.
분리 컨테이너가 예비 집진 장치, 총 집진 장치, 사이클론 또는 분급기, 특히 엘보/역류 흐름 분급기로서 구현되는 고체 물질 증착 컨테이너인 분리 컨테이너의 일 실시예는 복잡성 없이 분리 장치의 복잡하지 않은 구현을 가능하게한다. 이러한 유형의 분리 컨테이너는 다른 응용분야, 특히 미립자 물질을 분류하여 입자 흐름으로부터 미세분을 증착시키는 것으로 알려져있다. 미세분은 20㎛ 내지 500㎛, 특히 63㎛ 내지 500㎛의 크기 분포를 가질 수 있다. 놀랍게도, 이러한 유형의 컨테이너는 또한 습윤 캐리어 가스를 분리하기 위한 분리 컨테이너로서 적합하다는 것이 밝혀졌다.
분리 컨테이너와 수용 컨테이너 사이에 배치된 셧오프 유닛은 분리 컨테이너와 수용 컨테이너 사이의 목표 위치 컨베이어 라인이 타겟화되고 자가 조절 방식으로 셧오프되는 것을 가능하게 한다. 셧오프는 특히 증착 컨테이너 내의 플라스틱 과립의 채움 수위에 의존하도록 수행된다. 셧오프 유닛는 특히 스프링 장착 플랩(spring-loaded flap) 또는 스프링 장착 원뿔(spring-loaded cone)이다. 셧오프 유닛은 계량 요소로서 수용 컨테이너로부터 플라스틱 과립의 계량 또한 가능하게 하는 회전식 밸브로 구현될 수 있다. 셧오프 유닛은 특히 조절가능한 슬라이드일 수도 있다.
셧오프 유닛의 조절된 동작 모드는 적어도 하나의 채움 수위 센서를 구비한 채움 수위 모니터를 갖는 분리 컨테이너를 통해 가능하다. 분리 컨테이너 내의 현재 채움 수위는 적어도 하나의 채움 수위 센서에 의해 검출될 수 있고 채움 수위 모니터에 의해 모니터링될 수 있다. 중앙에 배치된 조절기 유닛과 신호 접속되는 채움 수위 모니터는 유사하게 조절기 유닛과 신호 접속 상태에 있는 셧오프 유닛에 각각의 신호를 전송하여 셧오프 유닛의 개방 또는 폐쇄를 적어도 부분적으로 개시 할 수 있다.
분리 장치가 특히 수용 컨테이너에 통합된 컨베이어 라인에 대한 목표 위치의 접속의 경우에, 플라스틱 과립의 목표 위치로의 직접 운송이 제공된다. 이 경우, 분리 장치는 특히 적어도 하나의 수용 컨테이너에 통합된다. 특히, 각각의 수용 컨테이너는 일체형 분리 장치를 갖는다. 컨베이어 라인은 복잡하지 않은 방식으로 구현된다. 추가 분리 컨테이너는 필요하지 않다.
목표 위치에서의 컨베이어 설비에, 적어도 부분적으로 환경 및/또는 흡인부에 대해 습한 캐리어 공기를 갖는 배출 공기를 배출하기 위한 배출 공기 라인이 목표 위치에서 컨베이어 설비에 접속되고, 이 배출 공기 라인은 특히 분리 컨테이너 및/또는 수용 컨테이너에 접속되어 환경 및/또는 흡인부로의 배출 공기의 방출을 보장한다. 배출 공기는 적어도 습윤 캐리어 공기를 포함한다. 본 발명의 문맥에서의 흡인부는 흡입 시스템에 접속된 배기 공기 라인 시스템에 의한 배츨 공기의 타깃화된 방출로 이해된다. 배출 공기 라인은 특히 분리 컨테이너 및/또는 수용 컨테이너에 접속된다.
습윤 캐리어 공기를 대체 가스로 대체하기 위한 대체 가스 유닛이 제공되고, 여기서 대체 가스 유닛은 분리 장치 및/또는 수용 컨테이너에 배치되어, 특히 습윤 캐리어 공기를 건식 대체 가스로 교체하는 것을 단순화한다. 대체 가스 유닛은 특히 분리 장치 및/또는 수용 컨테이너에 배치된다. 대체 가스 유닛은 습윤 캐리어 공기가 플라스틱 과립에서 분리되어 습윤 캐리어 공기를 대체하도록 대체 가스의 공급을 가능하게 한다. 본 발명의 맥락에서의 대체 가스는 특히 수용 컨테이너 및/또는 분리 컨테이너에서 퍼지 공기의 형태로 별도의 방식으로 공급되는 가스인 것으로 이해된다. 불쾌한 냄새를 유발하고 특히 퍼지될 폭발의 위험을 제기하지 않는 플라스틱 과립의 휘발성 비율을 위해서는 탈취가 예를 들어 수용 컨테이너에 제공될 수 있다. 탈기 사일로로서의 수용 컨테이너는 에틸렌, 헥산 및/또는 헥센 또는 이와 유사한 것과 같은 산소화된 탄화수소가 대체 가스의 도움으로 플라스틱 과립으로부터 제거되는 방식으로 구현되는 것도 고려할 수 있다. 퍼지 가스 또는 퍼지 공기는 각각 대체 가스의 역할을 한다. 그러나 본 발명의 맥락에서의 대체 가스는 또한 수용 컨테이너 내에 플라스틱 과립을 첨가함으로써 폐쇄된 수용 컨테이너로부터 변위되는 변위 가스이다. 수용 컨테이너 내의 변위 가스는 상부로 상승하고, 분리 장치 내로 대체 가스로서 진행할 수 있다. 셧오프 유닛으로서의 회전 밸브로부터 상승하는 변위 가스 및/또는 누출된 공기 및/또는 베어링 린싱은 또한 수용 컨테이너 내로 대체 가스로서 상승할 수 있다.
복수의 컨베이어 라인이 분리 장치, 특히 분리 컨테이너에 접속되는 컨베이어 설비는 분리 장치의 효율적인 활용을 가능하게 한다. 이를 위해, 특히 복수의 컨베이어 라인이 단일 분리 컨테이너에 접속된다.
특히 대체 가스를 가열하기 위한 히터가 분리 장치에서 생략될 수 있는 컨베이어 설비의 구성이 단순화되고 특히 비용 절감 방식으로 구현된다. 대체 가스를 가열하기 위한 별도의 히터가 불필요하다. 히터의 사용은 예를 들어 JP H-10147433A로부터 공지되어 있다. 히터는 습윤 제품의 표면이 건조되도록 가스 카운터 흐름을 가열한다. 이러한 습윤 제품은 운송된 제품의 1 내지 20 질량%의 수분 함량을 가진다. 습윤 캐리어 가스의 대체물은 JP H-10147433 A로부터 알려져 있지 않다.
디스패치 위치에서 가압된 캐리어 가스를 가지고 컨베이어 라인으로 디스패치되고 운송의 측면에서 디스패치 위치에 접속되는 목표 위치로 운송되며 플라스틱 과립으로부터 습윤 캐리어 가스의 분리가 분리 장치에서 수행되는 플라스틱 과립을 운송하기 위한 방법은 실질적으로 컨베이어 설비에 의해 이미 설명된 장점을 가지며, 그에 대한 내용을 참조한다. 실질적인 장점은 플라스틱 과립이 바람직하게 특히 컨베이어 라인을 따라서 적어도 부분적으로 과포화된 습윤 캐리어 가스에 의해서 운송될 수 있다는 점에서 보여지며, 여기에서 목표 위치, 특히 수용 컨테이너에서의 액체의 응축이 확실하게 배제된다.
습윤 캐리어 가스를 플라스틱 과립으로부터 분리하기 위한 대체 가스의 사용은 분리 절차의 신뢰 가능성을 향상시킨다.
습윤 캐리어 가스의 분리가 대체 가스의 추가적인 가열 없이 수행되는 방법을 수행하는 것은 직접적이다. 습윤 캐리어 가스를 분리하기 위한 추가 가열 단계는 생략될 수 있다. 에너지의 측면에서 투자가 감소된다. 연관된 컨베이어 설비의 투자 비용이 절감된다.
본 발명의 예시적인 실시예가 도면에 의해 아래에서 더욱 상세하게 설명될 것이다.
도 1은 분리 장치의 분리 컨테이너가 컨베이어 라인에 접속되는, 본 발명에 따른 컨베이어 설비의 개략도를 도시한다;
도 2는 분급기로서의 도 1에 따른 분리 컨테이너의 확대된 단면도를 도시한다;
도 3은 별도의 대체 가스 공급물에 의한 대체 가스 유닛을 갖는 고형물 분리기로서의 분리 컨테이너의 개략도를 도시한다;
도 4는 수용 컨테이너로부터의 대체 가스 공급물을 갖는, 도 3의 분리 컨테이너에 상응하는 분리 컨테이너의 실시예를 도시한다;
도 5는 셧오프 유닛을 갖는 사이클론 집진기로서의, 도 2의 분리 컨테이너에 상응하는 분리 컨테이너의 단면도를 도시한다;
도 6 및 7은 폐쇄된 배치 및 개방된 배치에 있는 스프링 장착 플랩으로서의, 도 5에 따른 셧오프 유닛의 확대된 상세도를 도시한다;
도 8 및 9는 스프링 장착 원뿔으로서의, 도 6 및 7의 셧오프 유닛에 상응하는 셧오프 유닛의 도면을 도시한다;
도 10은 도 1의 컨베이어 설비에 상응하는 컨베이어 설비의 개략도를 도시하며, 분리 컨테이너는 수용 컨테이너 위에 배치된다;
도 11은 도 10에 상응하는 도면을 도시하며, 각각의 수용 컨테이너에는 상기 수용 컨테이너 위에 배치된 하나의 분리 컨테이너가 할당된다;
도 12는 도 11의 컨베이어 설비에 상응하는 컨베이어 설비의 도면을 도시하며, 분리 컨테이너는 각각의 경우에 수용 컨테이너 상에 직접 배치된다;
도 13은 수용 컨테이너 상에 대체 가스 유닛을 갖는, 수용 컨테이너 상에 직접 배치된 분리 컨테이너의 확대된 단면도를 도시한다;
도 14는 분리 컨테이너와 수용 컨테이너 사이의 포트 상에 대체 가스 유닛을 갖는, 도 13에 상응하는 도면을 도시한다;
도 15는 복수의 컨베이어 라인이 접속되는 분리 장치의 도 13에 상응하는 도면;
도 16은 수용 컨테이너로부터의 배기 가스가 대체 가스로서 독점적으로 사용되는, 도 13의 분리 컨테이너에 상응하는 분리 컨테이너의 도면을 도시한다;
도 17은 도 16에 상응하는 도면을 도시하며, 수용 컨테이너는 배출 공기 라인을 향해 점점 가늘어지는 컨테이너의 단면적을 가진다;
도 18은 도 16에 상응하는 도면을 도시하며, 컨베이어 라인의 유출구는 배출 공기 라인을 마주한다;
도 19는 목표 위치가 컨베이어 라인에 접속되는 컨베이어 설비의 도 12에 상응하는 개략도를 도시한다;
도 20은 도 19에 따른 공기 인피드를 갖는 수용 컨테이너의 확대된 상세도를 도시한다;
도 21은 흡인부(aspiration)를 구비한 다른 실시예에 따른 수용 컨테이너의 도 20에 상응하는 도면을 도시한다; 그리고
도 22는 다른 실시예에 따른 컨베이어 설비의 도 1에 상응하는 개략도를 도시한다.
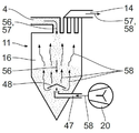
도 1 및 2에 도시된 컨베이어 설비(1)는 컨테이너(2) 내에 비축된 플라스틱 과립을 공압으로 운송하는 역할을 한다. 디스패치 위치에서 디스패치/계량 유닛(3)에 의해서 플라스틱 과립은 컨테이너(2)로부터 컨베이어 라인(4)으로 계량된 방식으로 공급된다. 각각의 경우에 컨베이어 라인(4) 상에서 별도의 디스패치/계량 유닛(3)에 접속되는 복수의 컨테이너(2)가 또한 제공될 수 있다. 그러나 플라스틱 과립은 또한 예를 들어 압출기에 이어지는 펠릿화(pelletizing) 장치 내의 상류 공정으로부터 사전 계량된 방식으로 공급될 수도 있다.
디스패치 위치(5)에서 컨베이어 라인(4)에 공급되는 플라스틱 과립은 가압된 캐리어 가스와 충돌한다. 캐리어 가스는 공기이다. 캐리어 공기는 필터(7) 및 압축기(8)를 통해 압축 공기 소스(6)로부터 제공된다. 압축에 의한 캐리어 공기는 필요한 운송 압력으로 제공된다.
도시된 예시적인 실시예에 따르면, 가습 유닛(9)은 디스패치 위치(5)의 상류에서 압축 공기 라인(10)에 접속된다. 가압 유닛(9)을 통해 압축 공기 라인(10)을 따라 액체 공급물까지 압축 공기가 수송된다. 액체의 첨가로 인해 압축된 공기가 가습되고 습윤 캐리어 가스로서 디스패치 위치(5)로 운송된다. 디스패치 위치(5)에서 압축 공기 라인(10)은 컨베이어 라인(4)으로 개방된다. 플라스틱 과립 및 습윤 캐리어 공기의 혼합물은 컨베이어 라인(4)을 따라 흐른다. 플라스틱 과립의 흐름 방향은 흐름 화살표(56)에 의해 특징지어진다. 습윤 캐리어 가스의 흐름 방향은 흐름 화살표(57)에 의해 특징지어진다.
추가의 가습 유닛이 특히 컨베이어 라인(4)을 따라 디스펜치 위치의 하류의 가습 유닛(9)에 부가적으로 또는 대안적으로 제공되는 것도 고려할 수 있다. 예를 들어 습윤 제품이 운송될 때, 별도의 워터라인에 의한 가습을 생략하는 것 또한 가능하며, 이러한 습윤 제품의 습도는 캐리어 가스의 가습에 사용된다. 이러한 경우, 캐리어 가스에 액체를 제공하는 습윤 제품은 가습 유닛으로 이해된다.
컨베이어 라인(4)은 분리 장치(11), 특히 분리 컨테이너(12)에 접속된다. 분리 장치(11)는 대체 가스에 의해 플라스틱 과립으로부터 습윤 캐리어 공기를 분리하는 역할을 한다. 이를 위해, 특히 건식 대체 가스가 분리 장치(11)에 공급되도록 대체 가스 유닛(13)이 제공된다. 대체 가스는 실질적으로 플라스틱 과립의 중력 흐름에 대해 역류이도록 가이드된다. 대체 가스의 흐름 방향은 흐름 화살표(58)에 의해 특징지어진다. 분리 장치(11), 특히 분리 컨테이너(12)는 분리된 캐리어 공기, 특히 적어도 부분적으로 습한 캐리어 공기를 배출 공기로서 내어놓는 배출 공기 라인(14)을 구비한다. 도시된 예시적인 실시예에 따르면, 배출 공기 라인(14)을 통한 환경으로의 배출 공기 공급이 이루어진다. 이를 위해, 배출 공기는 또한 배출 공기 필터 또는 사이클론 집진기(도면에 나타내지 않음)에 의해 별개로 정화될 수 있다.
분리 장치(11)는 목표 위치(15)에 배치된다. 플라스틱 과립이 저장되거나 적어도 일시적으로 저장되는 위치 및/또는 영역은 목표 위치로 지칭된다. 도시된 예시적인 실시예에 따르면, 목표 위치(15)는 각각의 경우에서 저장고 사일로(silo)로서 구현되는 복수의, 특히 3개의 수용 컨테이너(16)를 포함한다. 목표 위치(15)에있는 수용 컨테이너(16)는 소위 사일로 배터리(silo battery)를 형성한다. 도 1에 따른 분리 장치(11)는 사일로 배터리의 상류에 배치된다. 수용 컨테이너(16)는 실질적으로 동일한 실시예이다. 3개 미만, 특히 정확하게 1개 또는 3개보다 많은 수용 컨테이너(16)도 또한 제공될 수 있다. 특히 복수의 컨베이어 라인 부분들이 서로 평행하게 및/또는 직렬로 그리고 상호접속되게 배치될 수 있도록 컨베이어 라인(4)이 순차적으로 및/또는 분지 방식으로 구현되는 것 또한 고안될 수 있다. 이러한 유형의 컨베이어 라인 시스템은 특히 하나 또는 복수의 수용 컨테이너(16)를 형성하도록 하나 또는 복수의 비축 컨테이너(2)를 접속시키는 역할을 한다.
수용 컨테이너(16)는 목표 위치 컨베이어 라인(17)을 통해 분리 장치(11)에 접속된다. 분리 장치(11)는 목표 위치 컨베이어 라인(17)을 통해서 목표 위치(15), 특히 개별적인 수용 컨테이너(16)에 접속된다.
운송의 측면에서 디스패치 위치(5)는 컨베이어 라인(4), 분리 장치(11) 및 목표 위치 컨베이어 라인(17)을 통해 목표 위치(15)에 접속된다.
분리 장치(11)가 목표 위치(15)에 인접하여 배치되기 때문에, 분리 장치(11)와 수용 컨테이너(16) 사이에 플라스틱 과립을 위한 짧은 운송 경로가 형성된다.
특히, 분리 장치(11)는 바닥에 가깝게 배치된다. 특히 유지 보수 및/또는 수리 작업을 위한 분리 장치(11)의 접근 가능성은 이로 인해 개선된다. 수용 컨테이너(16)를 위로부터 채우기 위한 높이차를 극복하기 위해, 분배기 컨베이어 라인으로도 지칭되는 목표 위치 컨베이어 라인은 공압 컨베이어 라인으로서 구현된다. 이를 위해, 추가의 압축 공기 소스(6), 필터(7) 및 압축기(8)가 제공되어 회전 게이트 밸브의 형태로 셧오프 유닛(18)에 의해 분리 컨테이너(12)로부터 디스패치되는 플라스틱 과립이 공압으로 운송된다. 셧오프 유닛(18)은 분리 컨테이너(12)와 수용 컨테이너(16) 사이의 플라스틱 과립의 운송 경로를 따라 배치된다.
목표 위치 컨베이어 라인(17)에 따른 운송은 불포화 캐리어 공기에 의해 수행된다. 상류 수송 단계로부터의 습윤 캐리어 공기는 분리 장치(11)에서 플라스틱 과립으로부터 분리되어 배출 공기 라인(14)을 통해 배출된다. 목표 위치 컨베이어 라인(17)을 따라 활용되는 캐리어 공기는 또한 목표 위치 캐리어 공기로도 지칭된다. 목표 위치 컨베이어 라인(17)을 따르는 목표 위치 캐리어 공기는 일반적으로 불포화이지만 최대 상대 습도는 100%이다. 분리 장치(11) 후에 목표 위치 컨베이어 라인(17)에서 사용되는 캐리어 공기는 제품 온도 및 목표 위치 컨베이어 라인(17)의 디스패치 위치(60)에서의 압력에 대해 최대 100%, 특히 최대 80%, 특히 최대 60%의 상대 습도를 가진다.
배출 공기가 환경으로 공급되는 것을 가능하게 하기 위한 배출 공기 필터(19)가 각각의 경우에 수용 컨테이너(16)의 상단부 측에 제공된다.
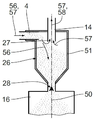
분리 컨테이너(12)의 실시예가 도 2에 의해 보다 상세히 설명될 것이다. 분리 컨테이너(12)는 분급기, 특히 엘보/역류 분급기로서 구현된다. 습윤 캐리어 가스를 가진 플라스틱 과립은 컨베이어 라인(4)을 통해 상부에 있는 분류기로 공급된다. 습윤 캐리어 가스와 플라스틱 과립의 혼합물은 중력의 방향에서 아래쪽을 향해 셧오프 유닛(도 2에 도시되지 않음)로 떨어진다. 분리 컨테이너(12) 상의 하단부에는 송풍기(20)에 의해 분리 장치(11)에 건식 대체 가스를 공급하기 위한 대체 가스 유닛(13)이 배치되고, 상기 하단부는 컨베이어 라인(4)에 대향된다.
주입된 대체 가스는 낙하하는 플라스틱 과립 및 습윤 캐리어 가스에 반대로 흐른다. 이를 고려하여, 습윤 캐리어 가스는 플라스틱 과립으로부터 분리되어 배출 공기 라인(14)을 통해 분리 컨테이너(12)로부터 방출된다. 특히 분리 장치(11)의 상부 영역 내의 분리 컨테이너(12) 및/또는 컨베이어 라인(4)은 응축의 형성을 방지하도록 단열층을 구비할 수 있다.
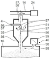
도 3은 분리 장치의 다른 실시예를 도시한다. 분리 컨테이너(22)는 복수의 컨베이어 라인(4)이 개방되는 예비 집진기로서 구현된다. 예비 집진기는 특히 플라스틱 과립으로부터 습윤 캐리어 가스를 대략 분리하는 역할을 한다. 놀랍게도, 예비 집진기는 습윤 캐리어 가스의 분리에 매우 적합하다는 것이 밝혀졌다.
분리 컨테이너(22)는 예비 집진기 내의 채움 수위가 검출될 수 있도록 채움 수위 센서(23)를 갖는다. 채움 수위 센서(23)는 채움 수위 모니터와 신호 접속된다(보다 상세히 설명되지 않음). 채움 수위 모니터는 제어 유닛의 통합된 구성요소일 수 있다(보다 상세히 설명되지 않음). 특히 상당히 긴 기간에 걸쳐 컨베이어 라인(4)에 의한 예비 집진기로의 재료 유입이 셧오프 유닛(18)에 의한 수용 컨테이너(16)로의 재료 유출보다 더 큰 경우에, 채움 수위 센서(23), 특히 채움 수위 모니터는 예비 집진기에서의 오버플로우를 방지하는 역할을 한다.
도 4는 분리 장치의 다른 실시예를 도시한다. 차별화의 포인트는 대체 가스 유닛(13)이 분리 컨테이너(49)와 일체형으로 구현된다는 점에 있다. 분리 컨테이너(49) 내의 수용 컨테이너(도시되지 않음)에 의해 퍼지 가스(purge gas)로서 활용되고 도 4의 흐름 화살표에 의해 특징지어지는 상승하는 대체 가스는, 예를 들어 벌크 제품 부피가 설비의 이어지는 부분 내로, 예를 들어 회전식 게이트 밸브, 컨테이너 또는 파이프라인 내로 주입되는 것으로 인해 그로부터 대체되는 대체 가스 흐름이다. 이 경우에 분리 컨테이너(49) 내의 대체 가스를 위한 별도의 유입구가 불필요하다. 배출 공기 라인(14)을 통한 배출 공기의 확실한 배출을 보장하도록, 흡입 환기장치(25)에 의해 배출 공기 라인(14)이 흡인부(24)로 방출될 수 있다.
도 5 내지 7은 분리 장치의 다른 실시예를 도시한다. 분리 컨테이너(26)는 사이클론 집진기로서 구현된다. 컨베이어 라인(4)은 분리 컨테이너(26)의 길이방향 축(50)에 수직인 평면 내에 공급되며, 나선형 흐름에서는 분리 컨테이너(26) 내로 돌출하는 배출 공기 라인(14)의 흡입 포트(27) 둘레로 가이드된다. 이러한 나선형 흐름의 결과로서, 플라스틱 과립은 습윤 캐리어 가스로부터 분리되고, 습윤 캐리어 가스는 배출 공기 라인(14)을 통해 방출된다.
사이클론 집진기는 적어도 부분적으로 외부 쉘 벽 상에 단열재(51)를 가질 수 있다. 단열재(51)는 특히 분리 컨테이너(26)의 하우징의 외측에 추가의 외부 절연 층으로서 부착된다.
스프링 장착 플랩의 형태인 자가 조절 셧오프 유닛(28)은 수용 컨테이너(16)를 향하는 분리 컨테이너(26)의 하단부에 배치되며, 상기 플랩의 기능 모드는 도 6 및 7에 의해 설명된다. 스프링 장착 플랩은 분리 컨테이너(26)로부터 수용 컨테이너(16)로의 운송 경로를 따라 피뢰기(arrester)(29)에 의해 고정된다. 2개의 플랩 부분(30)은 특히 분리 컨테이너(26)와 수용 컨테이너(16) 사이의 운송 경로를 따라 단면에 대하여 중심에 있도록 배치된 피뢰기(29) 상의 피봇 축(31)을 중심으로 선회 가능하도록 연접된다. 피봇 축(31)은 특히 재료 운송 축에 수직이도록 배향된다. 스프링 요소(32)에 의한 플랩 부분(30)은 상기 플랩 부분(30)이 도 6에 따른 폐쇄 위치로 자가 액틴 방식으로(self-actinly) 재위치되는 방식으로 스프링 힘을 받는다. 스프링 요소(32)는 특히 재료 흐름을 마주하지 않는 플랩 부분(30)의 하부 측 상에 배치되며 피뢰기(29)에 접속되는 곡선형 리프 스프링(leaf spring)으로서 구현된다. 스프링 요소(32)는 압축 스프링으로서 구현된다. 스프링 요소(32)는 플랩 부분(30)이 피뢰기(29)로부터 멀어지도록 유도한다. 분리 컨테이너(26)로부터 수용 컨테이너(16)로의 운송 경로는 폐쇄 위치에서 폐쇄된다.
분리 컨테이너(26)가 플라스틱 과립으로 채워지면, 플랩 부분(30)에 작용하는 배압이 증가한다. 플랩 부분(30)에 작용하는 배압에 기인하는 힘이 스프링 요소(32)의 특정 스프링 힘을 초과하는 즉시, 플랩 부분(30)은 스프링 힘(32)에 대항하여 피뢰기(29)를 향하여 아래쪽으로 가압된다. 감소된 채움 높이의 결과로서 분리 컨테이너(26) 내의 배압이 스프링 힘보다 낮아지는 즉시, 스프링 장착 플랩(30)은 자가 작용 방식으로 닫힌다. 셧오프 유닛(28)은 특히 복잡하지 않고 직접적인 방식으로 구현된다.
도 8 및 9는 셧오프 유닛(33)의 다른 실시예를 도시한다. 이전의 셧오프 유닛(28)과 비교한 차이점은 셧오프 유닛(33)이 스프링 장착 원뿔으로서 구현된다는 점이다. 다른 차이점은 원뿔형(cone-shaped)으로 구현되는 단일 부분 원뿔(34)이 셧오프되도록 제공된다는 것이다. 원뿔(34) 자체는 강성이 있도록 구현되고, 압축 스프링(32)에 의해 피뢰기(29) 상에 축방향으로 재위치될 수 있도록 연접된다. 도 8에 따른 폐쇄 위치에 있는 원뿔(34) 상의 배압이 증가할 때 축방향 압축 스프링(32)이 압축되고 그에 따라 원뿔 전체가 분리 경로(26)로부터 수용 컨테이너(16)를 향해 운송 경로를 따라 축방향으로 재배치되며, 이에 따라 도 9에 도시된 바와 같이 운송 경로가 해제된다.
도 10은 컨베이어 설비(1a)의 또 다른 실시예를 도시한다. 도 1 내지 9를 참조하여 설명된 것과 동등한 구성요소는 동일한 참조번호를 가지며 상세하게 다시 논의되지 않는다.
컨베이어 설비(1a)의 경우에는, 사일로 배터리의 전방에 배치된 분리 장치(11)가 수용 컨테이너(16) 위에 배치된다. 이로 인하여, 분리 장치(11)로부터 수용 컨테이너(16)로의 운송 경로가 추가로 단축된다. 짧은 공압식 운송에 더하여 또는 대안적으로, 분리 컨테이너(12)로부터 수용 컨테이너(16)로의 운송은 특히 중력의 결과로서 자가 작용 방식으로 수행될 수 있다. 목표 위치 컨베이어 라인(17)은 특히 경사진 방식으로 배치될 수 있는 수직 배수관만을 갖는다. 목표 위치 컨베이어 라인(17)을 따른 공압식 운송이 필수적인 것은 아니다.
도 11은 컨베이어 설비(1b)의 또 다른 실시예를 도시한다. 도 1 내지 10을 참조하여 위에서 설명된 것과 동등한 구성요소는 동일한 참조 부호를 가지며 다시 한번 상세하게 논의되지 않는다. 컨베이어 설비(1b)의 경우에, 각각의 수용 컨테이너(16)에는 전용 분리 장치(11)가 할당된다. 목표 위치 컨베이어 라인(17)을 따른 운송 경로는 추가로 감소되고 특히 오로지 셧오프 유닛(18)을 수용 컨테이너(16)에 직접 접속시키는 수직 배수관만으로 이루어진다.
도 12는 컨베이어 설비(1c)의 또 다른 실시예를 도시한다. 도 1 내지 11을 참조하여 위에서 설명된 것과 동등한 구성요소는 동일한 참조 부호를 가지며 다시 한번 상세하게 논의되지 않는다. 컨베이어 설비(1c)의 경우에, 분리 컨테이너(35)는 각각의 경우에 연관된 수용 컨테이너(16)로 직접 개방된다. 셧오프 유닛은 어떠한 분리 컨테이너(35)에도 제공되지 않는다. 목표 위치 컨베이어 라인(17)은 최소화된다. 분리 컨테이너(35)의 외부 및 수용 컨테이너(16)의 외부에 배치된 별도의 라인 부분은 제공되지 않는다.
분리 컨테이너(35)는 도 13에보다 상세히 도시되었다. 분리 컨테이너(35)는 실질적으로 원통의 기본 형태를 가지며 원뿔형 수렴 포트에 의해서 수용 컨테이너(16)의 상단부 벽의 상단에 직접 배치된다.
컨베이어 라인(4)은 외부 원통형 쉘 면 상의 분리 컨테이너(35)로 공급된다. 컨베이어 라인(4)은 분리 컨테이너(35) 내로 돌출한다. 습윤 캐리어 공기와 플라스틱 과립의 혼합물은 컨베이어 라인(4)의 분배 개구(37)를 통해 분리 컨테이너(35)로 공급된다. 도시된 예시적인 실시예에 따른 분배 개구(37)는 수용 컨테이너(16)를 향한다. 컨베이어 라인(4)의 이전의 실질적으로 수평인 배향을 수직 아래를 향해서 90° 엘보만큼 라우팅하기 위한 파이프 엘보 세그먼트가 특히 컨베이어 라인(4)의 단부 영역에 제공된다. 플라스틱 과립은 원뿔형 포트(36)를 통해 특히 중력의 결과로서 분배 개구(37)로부터 수용 컨테이너(16) 내로 직접 떨어질 수 있다.
수용 컨테이너(16)의 상단부 측에는 신선한 공기 필터(39)가 배치된 신선한 공기 개구(38)가 제공된다. 신선한 공기 필터(39)에 의해 여과된 신선한 공기는 대체 가스로서의 역할을 하며 플라스틱 과립의 재료 운송 방향에 반대로, 그리고 중력에 반대로 수용 컨테이너(16)로부터 분리 컨테이너(35) 내로 흘러 분리 컨테이너(35) 내의 습윤 캐리어 가스가 플라스틱 과립으로부터 분리되게 한다. 습윤 캐리어 가스는 흡인부(24)(도시되지 않음)에 접속된 배출 공기 라인(14)을 통해 방출된다. 흡인부(24)는 선택적으로 캐리어 공기 이외에 공기를 흡입할 수 있으며, 즉 수용 컨테이너(16) 및 분리 컨테이너(35)를 통한 흡입부 내로의 공기 흐름을 발생시킬 수 있다. 신선한 공기 개구(38) 및 신선한 공기 필터(39)는 분리 컨테이너(35)를 위한 대체 가스 유닛(40)을 형성한다.
도 14는 대체 가스 유닛의 다른 실시예를 도시한다. 도 14에 따른 대체 가스 유닛(52)은 포트(36)의 영역에서 간격 개구로서 구현된다. 이를 위해, 분리 컨테이너(35)는 단부 측 포트(42)의 상단에 배치된 슬리브(41)를 갖는다. 슬리브(41)와 단부 측 포트(42) 사이에 배치된 간격 개구는 대체 가스 유닛(52)을 형성한다. 퍼지 공기를 위한 미로 흐름(labyrinth flow)을 가능하게 하는 특히 슬롯형인 복수의 간격 개구(43)는 수용 컨테이너(16) 및 분리 컨테이너(35)의 길이방향 축 둘레의 원주를 따라 제공된다. 간격 개구(43)의 타깃화된 배치로 인해, 수용 컨테이너(16) 자체는 폐쇄되도록 구현될 수 있다. 신선한 공기 필터(39)가 간격 개구(43)의 전방에 제공되는 것이 고려될 수 있다. 분리된 습윤 캐리어 가스는 방출 공기 라인(14)에 의해서 멀리 수송된다.
도 15는 분리 장치의 다른 실시예를 도시한다. 분리 컨테이너(44)는 작은 컨테이너, 특히 복수의, 특히 2개의 컨베이어 라인(4)이 공급되는 증착 포트이다. 이로 인하여, 분리 컨테이너(44) 내의 복수의 컨베이어 라인에 의한 분리 장치(11)의 효율적인 활용이 이루어진다. 도시된 예시적인 실시예에 따르면, 실질적으로 원통형인 분리 컨테이너(44) 내의 2개의 컨베이어 라인 단부가 길이방향 축(50)에 수직 인 평면에서 상기 분리 컨테이너(44)의 길이방향 축(50)에 직경 방향으로 반대로 배치된다. 또한 다양한 컨베이어 라인(4)이 분리 컨테이너(44)의 길이방향 축(50)을 따라 오프셋 방식으로, 즉 높이가 오프셋되어 배치될 수 있다는 것도 고려된다. 길이방향 축(50)에 대한 회전 위치에 대한 컨베이어 라인(4)의 배치는 불규칙할 수 있다. 특히 2개보다 많은 컨베이어 라인(4)이 또한 하나의 그리고 동일한 분리 컨테이너(44) 내로 개방될 수 있다.
변위 가스의 형태로 수용 컨테이너(16)로부터 변위되고 흐름 화살표(58)에 따라 특징지어지는 공기는 예를 들어 변위 가스로서의 역할을 한다. 또한, 추가의 퍼지 공기가 수용 컨테이너(16) 내로 지향되도록 탈기(도시되지 않음)가 제공될 수 있다.
도 16은 분리 장치의 다른 실시예를 도시한다. 분리 컨테이너(53)의 경우에, 대체 가스 유닛은 통합된 방식으로, 특히 변위 가스로서의 대체 가스가 수용 컨테이너(16)로부터 방출된다는 점에서 통합적으로 구현된다. 수용 컨테이너(16) 내의 배기 가스 흐름은 플라스틱 과립의 진입 용량 흐름으로 인해 변위된다. 이로 인해 발생되는 변위 가스 흐름은 수용 컨테이너(16)를 통해 중력 위로 흐르며 퍼징(purging)을 위해, 즉 분리 컨테이너(53) 내의 습윤 캐리어 가스를 대체하기 위해 사용될 수 있다. 변위 가스 흐름은 흐름 화살표(58)에 의해 특징지어진다.
이러한 실시예의 경우 수용 컨테이너(16)는 특히 복잡하지 않고 조밀한 방식으로 구현될 수 있다. 특히 대체 가스 유닛을 위한 추가 구성요소는 불필요하다. 변위된 습윤 캐리어 가스는 예를 들어 환경으로 또는 선택적으로 흡인부(도시되지 않음)로 배출 공기 라인(14)을 통해 방출된다.
도 17은 수용 컨테이너의 다른 실시예를 도시한다. 수용 컨테이너(54)는 배출 공기 라인(14)을 향해 점점 좁아지는 컨테이너 단면 영역을 가진다. 빈약하게 관류된 코너 영역이 그로 인해 방지된다. 따라서 수용 컨테이너(54)는 상단에 배치되어 분리 컨테이너(12)를 향하는 단부면(55)이 감소된 면적을 갖는 원뿔 부분(45)을 가진다.
특히 하부 원뿔의 영역에서의 수용 컨테이너(54)의 퍼지 공기 공급은 대체 가스 유닛로서의 역할을 한다. 수용 컨테이너(54) 내에서 중력에 반대되게 위로 상승하는 퍼지 공기는 수용 컨테이너(54)의 상단에 배치된 분리 컨테이너(12)에 직접 도달할 수 있으며, 습윤 캐리어 가스는 이미 언급된 방식으로 플라스틱 과립으로부터 분리된다.
도 18은 분리 장치의 다른 실시예를 도시한다. 분리 장치(11)의 경우, 컨베이어 라인의 분배 개구(37)는 배출 공기 라인(14)을 향한다. 충돌 플레이트(46)는 분배 개구(37)의 영역, 특히 분배 개구(37) 위에 배치된다. 충돌 플레이트(46)는 특히 원뿔의 끝이 수용 컨테이너(16)를 향하지 않는 원뿔면의 형태로 구현된다.
플라스틱 과립 및 습윤 캐리어 가스의 혼합물은 분배 개구(37) 및 운송 라인(4)에 의해 중력에 반하여 분배된다. 중력의 결과 및/또는 충돌 플레이트(46)와의 접촉으로 인해서, 비교적 무거운 플라스틱 과립이 수용 컨테이너(16) 내로 아래쪽으로 흐를 수 있다. 습윤 캐리어 가스는 배출 공기 라인(14) 내로 직접 위쪽으로 유출될 수 있다. 습윤 캐리어 가스는 원하는 배출 공기 흐름을 따라서 이미 분리 컨테이너(12)로 공급된다. 특히, 컨베이어 라인(4)은 아래로부터 분리 컨테이너(12)로 공급된다. 컨베이어 라인(4)은 상부 측에 공간 절약 방식으로 사일로 배터리, 특히 수용 컨테이너(16)에 라우팅되어 잠금될 수 있다.
도 19 및 20은 컨베이어 설비(1d)의 또 다른 실시예를 도시한다. 도 1 내지 18을 참조하여 위에서 설명된 것과 동등한 구성요소는 동일한 참조 부호를 가지며 다시 한번 상세하게 논의되지 않는다.
컨베이어 설비(1d)의 경우에, 목표 위치(15)는 컨베이어 라인(4)에 접속된다. 각각의 분리 장치(11)는 수용 컨테이너(16) 내에 통합된다. 습윤 캐리어 가스를 갖는 플라스틱 과립의 공급은 하나 또는 복수의 컨베이어 라인(4)에 의해서 수용 컨테이너(16)로 직접 수행된다. 수용 컨테이너(16)에 공급된 습윤 캐리어 가스는 수용 컨테이너(16)의 하부 원뿔 영역에서 퍼지 공기로서 공급되는 대체 가스에 의해 직접 분리된다. 수용 컨테이너(16)의 하부 원뿔 영역에서의 퍼지 라인은 대체 가스 유닛(47)을 형성한다. 대체 가스 유닛(47)을 통한 대체 가스의 공급은 퍼지 공기 송풍기(20)에 의해 수행된다.
도시된 예시적인 실시예에 따르면, 공기 편향 플레이트(48)가 수용 컨테이너(16)의 퍼지 가스 공급 영역 내에 배치될 수 있다.
도 21은 수용 컨테이너(16) 내에 통합된 분리 장치(11)의 다른 실시예를 도시한다. 이전의 예시적인 실시예와 관련하여 차이점은 흡인부(24)가 배출 공기 라인(14) 상에 제공된다는 점에 있다.
도 22는 컨베이어 설비(1e)의 또 다른 실시예를 도시한다. 도 1 내지 21을 참조하여 위에서 설명된 것과 동등한 구성요소는 동일한 참조 부호를 가지며 다시 한번 상세하게 논의되지 않는다.
컨베이어 설비(1e)의 경우에, 목표 위치(15)에서의 수용 컨테이너(16)는 적재 사일로(loading silo)의 형태로 구현된다. 복수의 적재 사일로(16)가 또한 목표 위치(15)에 제공될 수 있다.
대체 가스는 수용 컨테이너(16)의 하부 측에서 대체 가스 유닛(13)을 통해 수용 컨테이너(16)로 공급된다. 플라스틱 과립과 함께 상단부에서 수용 컨테이너(16)로 공급되는 습윤 캐리어 가스는 유사하게 컨베이어 라인(4)을 통해서 상단부 측에 배치된 배출 공기 라인(14)을 통해 빠져나올 수 있다. 플라스틱 과립으로부터 습윤 캐리어 가스의 신뢰할 수 있는 분리가 목표 위치(15)에서 보장된다.
플라스틱 과립은 적재 사일로에 임시로 저장되고 추가의 수송을 위해서 수송 차량(59) 상에 또는 수송 가능한 컨테이너 상에 공급되고/되거나 포장 기계(60)의 자루에 넣어진다.
이전의 예시적인 실시예들과 달리, 복수의 저장 컨테이너(61)는 컨베이어 라인(4)을 따라 서로 평행하도록 배치되고/되거나 컨베이어 설비(1e)의 경우 컨베이어 라인(4)을 따라 순차적으로 배치된다. 도 22에 도시된 바와 같이, 2개보다 많은 저장 컨테이너(61)가 각각의 경우에 컨베이어 라인에 서로 나란히 평행하게 접속될 수 있다. 각각의 경우에 오직 하나의 저장 컨테이너(61)만이 제공되는 것 또한 고려할 수 있다. 순차적으로 배치된 저장 컨테이너(61)의 2개보다 많은 스테이지가 제공될 수도 있다.
저장 컨테이너(61)는, 예를 들어 혼합 사일로, 탈기 사일로, 또는 창고 사일로로서 구현될 수 있다. 저장 컨테이너(61)는 도시된 예시적인 실시예에 따라 각각의 경우에 저장 컨테이너(61)의 상단부 상에 배치된 하나의 증착 라인(62)을 갖는다. 증착 라인(62)은 저장 컨테이너(61)로부터 캐리어 공기의 증착을 가능하게 한다. 저장 컨테이너(61) 내에서 대체 가스에 의한 어떠한 활성 가스 대체도 발생하지 않는다.
각각의 경우에 셀룰러 휠(cellular wheel)의 형태인 하나의 셧오프 유닛(18)이 저장 컨테이너(61) 상에 제공된다. 플라스틱 과립의 습도를 측정하기 위한 센서 요소(63)는 저장 컨테이너(61)의 개별 셧오프 유닛(18)과 저장 컨테이너(61) 사이에 배치된다. 센서 요소(63)는 개략적으로 도시된 제어 유닛(64)과 신호 접속된다. 신호 접속은 유선 결합 또는 무선일 수 있다. 도시된 예시적인 실시예에 따른 제어 유닛(64)은 무선 접속을 통해 무선 방식으로 센서 요소(63)에 접속된다.
센서 요소(63)에 의해 결정된 측정 값은 가습 유닛(9)에 의한 물의 공급을 위한 제어 파라미터로서 사용될 수 있다. 이 경우 제어 유닛(64)은 습도의 추가가 플라스틱 과립의 실제 습도에 의존하게 확립되도록 센서 요소(64) 및 습도 유닛(9)에 양방향으로 접속되는 조절기 유닛(64)으로서 구현된다.
응축 유출 라인(65)은 각각의 경우 저장 컨테이너(61)의 하부 측에 배치된다. 응축 유출 라인(65)은 타겟화된 방식으로 저장 컨테이너(61)로부터 응축물을 수집 및 방출하는 역할을 한다. 따라서 응축된 물이 저장 컨테이너(61)로 다시 축적되는 것을 특히 방지할 수 있다. 특히, 습도 첨가의 하류 조절이 보다 정확하게 수행될 수 있다.
응축물은 응축 유출 라인(65)을 통해 적어도 하나의 가습 유닛(9)으로 복귀될 수 있다. 저장 컨테이너(61)로부터의 응축물은 컨베이어 라인(4)을 따라 상류 및/또는 하류의 캐리어 가스의 가습에 활용될 수 있다. 이는 또한 응축물을 되돌리지 않고 수행될 수 있다.
캐리어 가스의 추가적인 가습은 컨베이어 부분의 마지막인 컨베이어 라인(4)을 따라 수행되지 않는다. 가습 유닛(9)도 응축 유출 라인(65)도 컨베이어 라인(4)을 따라 제공되지 않는다.
컨베이어 라인(4)의 마지막 컨베이어 부분을 따르는 캐리어 가스의 가습은 저장 컨테이너(61)로부터 응축된 물이 플라스틱 과립과 함께 운송될 수 있는 방식으로 수행될 수 있다. 저장 컨테이너(61)로부터 컨베이어 라인(4) 내로의 액체 공급이 수행된다.

Claims (19)

  1. 플라스틱 과립을 위한 컨베이어 설비로서,
    압축된 캐리어 가스를 갖는 플라스틱 과립이 컨베이어 라인(4) 내로 디스패치(dispatch)되는 디스패치 위치(5);
    운송의 측면에서 상기 디스패치 위치(5)에 접속되는 목표 위치(15);
    액체를 첨가함으로써 상기 캐리어 가스 및 상기 플라스틱 과립 중 적어도 하나를 가습하기 위한 가습 유닛(9)을 포함하되,
    상기 목표 위치(15)에 상기 플라스틱 과립로부터 습윤 캐리어 가스를 분리하기 위한 분리 장치(11)가 제공되는 것으로 특징지어지는, 컨베이어 설비.
  2. 제 1 항에 있어서,
    상기 목표 위치(15)에 적어도 하나의 수용 컨테이너(16)가 배치되는 것으로 특징지어지는, 컨베이어 설비.
  3. 제 1 항 또는 제 2 항에 있어서,
    상기 분리 장치(11)는 상기 컨베이어 라인(4)에 접속되고, 상기 분리 장치(11)는 적어도 하나의 목표 위치 컨베이어 라인(17)에 의해서 상기 목표 위치(15)에 접속되는 것으로 특징지어지는, 컨베이어 설비.
  4. 제 3 항에 있어서,
    상기 분리 장치(11)는 상기 수용 컨테이너(16)에 접속된 분리 컨테이너(12)를 구비하는 것으로 특징지어지는, 컨베이어 설비.
  5. 제 4 항에 있어서,
    복수의 수용 컨테이너(16)가 상기 분리 컨테이너(12)에 접속되는, 컨베이어 설비.
  6. 제 4 항에 있어서,
    상기 분리 컨테이너(12)는 예비 집진기, 총 집진기, 사이클론 및 분급기의 그룹 중의 하나로서 구현되는 고체 물질 침적 컨테이너인 것으로 특징지어지는, 컨베이어 설비.
  7. 제 4 항에 있어서,
    상기 분리 컨테이너(12)는 엘보/역류(elbow/counter flow) 분급기로서 구현되는 것으로 특징지어지는, 컨베이어 설비.
  8. 제 4 항 또는 제 6 항에 있어서,
    셧오프 장치(18; 28; 33)가 상기 분리 컨테이너(12)와 상기 수용 컨테이너(16) 사이에 배치되는 것으로 특징지어지는, 컨베이어 설비.
  9. 제 4 항 내지 제 8 항 중 어느 한 항에 있어서,
    상기 분리 컨테이너(12)는 적어도 하나의 채움 수위(filling-level) 센서(23)를 갖는 채움 수위 모니터를 구비하는 것으로 특징지어지는, 컨베이어 설비.
  10. 제 1 항 또는 제 2 항에 있어서,
    상기 목표 위치(15)는 상기 컨베이어 라인(4)에 접속되고 상기 분리 장치(11)는 상기 수용 컨테이너(16) 내에 통합되는 것으로 특징지어지는, 컨베이어 설비.
  11. 제 1 항 내지 제 10 항 중 어느 한 항에 있어서,
    적어도 부분적으로 습윤인 캐리어 공기를 갖는 배출 공기를 환경 및 흡인부 중 적어도 하나에 배출하기 위한 배출 공기 라인(14)이 상기 목표 위치(15)에서 상기 컨베이어 설비(1)에 접속되는 것으로 특징지어지는, 컨베이어 설비.
  12. 제 1 항 내지 제 11 항 중 어느 한 항에 있어서,
    상기 배출 공기 라인(14)은 상기 분리 컨테이너(12) 및 상기 수용 컨테이너(16) 중 적어도 하나에 접속되는 것으로 특징지어지는, 컨베이어 설비.
  13. 제 1 항 내지 제 12 항 중 어느 한 항에 있어서,
    습윤 캐리어 가스를 대체 가스로 대체하기 위한 대체 가스 유닛(13)이 제공되고, 상기 대체 가스 유닛(13)은 상기 분리 장치(11) 및 상기 수용 컨테이너(16) 중 적어도 하나에 배치되는 것으로 특징지어지는, 컨베이어 설비.
  14. 제 1 항 내지 제 13 항 중 어느 한 항에 있어서,
    복수의 컨베이어 라인(4)이 상기 분리 장치(11)에 접속되는 것으로 특징지어지는, 컨베이어 설비.
  15. 제 1 항 내지 제 14 항 중 어느 한 항에 있어서,
    복수의 컨베이어 라인(4)이 상기 분리 컨테이너에 접속되는 것으로 특징지어지는, 컨베이어 설비.
  16. 제 1 항 내지 제 15 항 중 어느 한 항에 있어서,
    상기 대체 가스를 가열하기 위한 히터가 상기 분리 장치(11)에 불필요한 것으로 특징지어지는, 컨베이어 설비.
  17. 플라스틱 과립을 운송하는 방법으로서,
    디스패치 위치(5)에서 압축된 캐리어 가스를 갖는 플라스틱 과립이 컨베이어 라인(4) 내로 디스패치되고 운송의 측면에서 상기 디스패치 위치(5)에 접속된 목표 위치(15)로 운송되고, 액체를 첨가함으로써 상기 캐리어 가스 및 상기 플라스틱 과립 중 적어도 하나가 가습되며,
    상기 플라스틱 과립로부터 습윤 캐리어 가스의 분리는 분리 장치(11)에서 수행되는 것으로 특징지어지는, 방법.
  18. 제 17 항에 있어서,
    상기 습윤 캐리어 가스가 대체 가스를 공급함으로써 상기 플라스틱 과립로부터 분리되는 것으로 특징지어지는, 방법.
  19. 제 17 항 또는 제 18 항에 있어서,
    상기 습윤 캐리어 가스의 분리는 상기 대체 가스의 어떠한 추가 가열도 없이 수행되는 것으로 특징지어지는, 방법.
KR1020180021918A 2017-02-24 2018-02-23 컨베이어 설비 및 플라스틱 과립을 운송하는 방법 Ceased KR20180098168A (ko)

Applications Claiming Priority (2)

Application Number Priority Date Filing Date Title
DE102017203089.5A DE102017203089A1 (de) 2017-02-24 2017-02-24 Förderanlage und Verfahren zum Fördern von Kunststoffgranulat
DE102017203089.5 2017-02-24

Publications (1)

Publication Number Publication Date
KR20180098168A true KR20180098168A (ko) 2018-09-03

Family

ID=61249512

Family Applications (1)

Application Number Title Priority Date Filing Date
KR1020180021918A Ceased KR20180098168A (ko) 2017-02-24 2018-02-23 컨베이어 설비 및 플라스틱 과립을 운송하는 방법

Country Status (6)

Country Link
US (1) US10815078B2 (ko)
EP (2) EP3878780A1 (ko)
KR (1) KR20180098168A (ko)
CN (1) CN108502549B (ko)
DE (1) DE102017203089A1 (ko)
ES (1) ES2901635T3 (ko)

Families Citing this family (14)

* Cited by examiner, † Cited by third party
Publication number Priority date Publication date Assignee Title
DE102017203089A1 (de) 2017-02-24 2018-08-30 Coperion Gmbh Förderanlage und Verfahren zum Fördern von Kunststoffgranulat
US10131507B1 (en) * 2017-07-27 2018-11-20 Mss, Inc. Ejector hood
EP3781298B1 (en) * 2018-04-20 2023-07-19 Borealis AG Method for transporting polyolefin particles in a polymer conveying system
JP6612418B1 (ja) * 2018-11-26 2019-11-27 株式会社金星 ガス搬送式微粉体定量供給方法およびシステム
CN109353826A (zh) * 2018-12-01 2019-02-19 四川共享铸造有限公司 气力输料系统及其运行过程
PL3736234T3 (pl) * 2019-05-10 2024-11-04 Coperion Gmbh Przenośnik i sposób pneumatycznego transportu granulatu tworzywa sztucznego
DE102020001716A1 (de) 2020-03-11 2021-09-16 Walter Kramer Abscheider zur Trennung eines Fördermediums, vorzugsweise Luft, von einem Fördergut und Verfahren zum Abscheiden von Fördergut aus einem Fördermedium-Fördergut-Gemisch
PL3882185T3 (pl) 2020-03-19 2024-04-29 Calderys France Sas Urządzenie do pompowania
WO2022183209A1 (en) * 2021-02-26 2022-09-01 Profrac Services, Llc Systems and methods for silica dust reduction at well sites
FI130331B (fi) * 2021-03-08 2023-06-21 Maricap Oy Menetelmä materiaalin siirtämiseksi ja materiaalinsiirtojärjestely
TR202108697A2 (tr) * 2021-05-26 2021-06-21 Balsu Gida Sanayi Ve Ticaret Anonim Sirketi Findiğin yer deği̇şti̇rmesi̇nde kullanilmak üzere bi̇r taşima si̇stemi̇
CN115744166A (zh) * 2022-11-03 2023-03-07 广东至富淀粉供应链管理有限公司 物态还原输送系统以及淀粉卸料储存方法
CN116081314A (zh) * 2022-11-25 2023-05-09 江苏徐工工程机械研究院有限公司 一种仿生象鼻长距离气力输送系统及优化配置方法
US12264020B2 (en) * 2023-05-02 2025-04-01 X-Energy, Llc System for pneumatic transport of particles of a hazardous substance

Family Cites Families (24)

* Cited by examiner, † Cited by third party
Publication number Priority date Publication date Assignee Title
DE538275C (de) 1928-01-24 1931-11-12 Muller J C & Co Tabakstaubabscheider
US2276805A (en) * 1940-06-22 1942-03-17 Jr Edgar B Tolman Apparatus for cleaning filter surfaces of pneumatic conveyer apparatus
DE895691C (de) 1951-04-03 1953-11-05 Hamburger Gaswerke Gmbh Mahleinrichtung, insbesondere nach Art der sogenannten Fullermuehle
DE1164321B (de) * 1959-04-22 1964-02-27 Boehringer Sohn Ingelheim Vorrichtung zum Ausschleusen von koernigem oder pulverisiertem Feststoff aus einer Gas-Feststoff-Trennvorrichtung
US3384420A (en) * 1966-08-02 1968-05-21 Cargill Inc Transfer system
DE2720094A1 (de) 1977-05-05 1978-11-16 Rosenthal Karl Heinz Verfahren und vorrichtung zum abtrennen der luft von pneumatisch gefoerderten granulaten und pulvern
DE3327461A1 (de) 1983-07-29 1985-02-14 Waeschle Maschinenfabrik Gmbh, 7980 Ravensburg Abscheider fuer pneumatisch gefoerdertes schuettgut
US4697962A (en) * 1985-08-02 1987-10-06 Coalair Systems Limited Partnership Control system for a continuous process venturi accelerated pneumatic pump
US5042169A (en) 1990-04-18 1991-08-27 Exxon Chemical Patents Inc. Interstage separator
US5190416A (en) * 1990-11-08 1993-03-02 Mitsubishi Materials Corporation Method for reducing pressure losses in cyclone separator and ducting system for cyclone separator
DE4416757C2 (de) * 1994-05-13 1997-04-10 Zeppelin Schuettguttech Gmbh Umlenk-Gegenstrom-Sichter
CN1152288A (zh) * 1994-07-08 1997-06-18 植田和幸 气流输送方法和系统
US5487225A (en) * 1994-11-14 1996-01-30 The Conair Group, Inc. Apparatus and method for controlled drying of plastic pellets
JPH10147433A (ja) * 1996-11-20 1998-06-02 Sanko Air Plant Ltd プラスチック粒体の空気輸送方法
US6368028B1 (en) * 1997-09-03 2002-04-09 Exxonmobil Chemical Patents Inc. Conveying systems for compacted, friable solids
DE19840502C1 (de) 1998-09-07 2000-03-02 Waeschle Gmbh Verfahren zur pneumatischen Förderung von Schüttgütern
US6321461B1 (en) 2000-04-07 2001-11-27 Minoru Ogasahara Drying apparatus using high pressure gas
JP3632750B2 (ja) 2000-06-01 2005-03-23 信越化学工業株式会社 塩化ビニル系樹脂粉体の空気移送方法
GB0110161D0 (en) 2001-04-25 2001-06-20 Bp Chem Int Ltd Polymer treatment
JP5130338B2 (ja) * 2010-09-17 2013-01-30 株式会社松井製作所 粉粒体材料の排出装置、及びこれを備えた粉粒体材料の輸送システム
CN202126162U (zh) * 2011-06-22 2012-01-25 国电宁夏太阳能有限公司 硅粉干燥设备
DE102012200934B3 (de) * 2012-01-23 2013-04-18 Hauni Maschinenbau Ag Stromtrockner und Stromtrocknungsverfahren zum Trocknen eines Tabakmaterials
PL2712881T3 (pl) 2012-09-26 2015-10-30 Polymetrix Ag Sposób i urządzenie do bezpośredniej krystalizacji polimerów w atmosferze gazu obojętnego
DE102017203089A1 (de) 2017-02-24 2018-08-30 Coperion Gmbh Förderanlage und Verfahren zum Fördern von Kunststoffgranulat

Also Published As

Publication number Publication date
CN108502549B (zh) 2021-06-15
ES2901635T3 (es) 2022-03-23
EP3878780A1 (de) 2021-09-15
DE102017203089A1 (de) 2018-08-30
CN108502549A (zh) 2018-09-07
US10815078B2 (en) 2020-10-27
US20180244482A1 (en) 2018-08-30
EP3366618B1 (de) 2021-12-01
EP3366618A1 (de) 2018-08-29

Similar Documents

Publication Publication Date Title
KR20180098168A (ko) 컨베이어 설비 및 플라스틱 과립을 운송하는 방법
CA2629945C (en) Vacuum conveying velocity control apparatus and method for particulate material
TWI328670B (en) Dry storage apparatus of powdered material and supply system of powdered material
KR20110115531A (ko) 산적 화물 냉각 또는 가열 장치
JP2688626B2 (ja) 粒状物の供給分離装置
US3694037A (en) Closed circuit pneumatic conveying
CN102410377B (zh) 粉粒体材料的排出装置以及具备其的粉粒体材料的输送系统
US20160075053A1 (en) Systems and methods for drying pellets and other materials
JPH05506808A (ja) 中間段分離器
CN106969621A (zh) 一种防堵塞粉料循环式短管气流干燥器
JP2012180999A (ja) 乾燥システムおよび乾燥方法
US20100254211A1 (en) Processing device for bulk material
CN1261335C (zh) 装填料仓的方法和装置
US20120107059A1 (en) Apparatus and method for dispensing flowable solid material
CN208345306U (zh) 物料气力输送系统及物料气力输送装置
CN215312166U (zh) 一种喷雾造粒机
CN102530524B (zh) 用于定向物体的装置
CN117751083A (zh) 气力输送粉体的装置和方法及包括该装置的气力输送系统
JP2013221636A (ja) 粉粒体材料の乾燥装置
JP4277985B2 (ja) 熱可塑性樹脂ペレットの気流搬送方法
JP2012240246A (ja) 粉粒体供給システム
CN105129265A (zh) 一种pet瓶片物料的预热储料装置
JP4041565B2 (ja) 気力輸送装置
CN113650819A (zh) 用于输送物料的装置
TWI279511B (en) Fluidized bed dryer and method for drying wet raw material using fluidized bed dryer

Legal Events

Date Code Title Description
PA0109 Patent application

St.27 status event code: A-0-1-A10-A12-nap-PA0109

PG1501 Laying open of application

St.27 status event code: A-1-1-Q10-Q12-nap-PG1501

A201 Request for examination
PA0201 Request for examination

St.27 status event code: A-1-2-D10-D11-exm-PA0201

D13-X000 Search requested

St.27 status event code: A-1-2-D10-D13-srh-X000

D14-X000 Search report completed

St.27 status event code: A-1-2-D10-D14-srh-X000

E902 Notification of reason for refusal
PE0902 Notice of grounds for rejection

St.27 status event code: A-1-2-D10-D21-exm-PE0902

AMND Amendment
E13-X000 Pre-grant limitation requested

St.27 status event code: A-2-3-E10-E13-lim-X000

P11-X000 Amendment of application requested

St.27 status event code: A-2-2-P10-P11-nap-X000

P13-X000 Application amended

St.27 status event code: A-2-2-P10-P13-nap-X000

E601 Decision to refuse application
PE0601 Decision on rejection of patent

St.27 status event code: N-2-6-B10-B15-exm-PE0601

AMND Amendment
E13-X000 Pre-grant limitation requested

St.27 status event code: A-2-3-E10-E13-lim-X000

P11-X000 Amendment of application requested

St.27 status event code: A-2-2-P10-P11-nap-X000

P13-X000 Application amended

St.27 status event code: A-2-2-P10-P13-nap-X000

PX0901 Re-examination

St.27 status event code: A-2-3-E10-E12-rex-PX0901

PX0601 Decision of rejection after re-examination

St.27 status event code: N-2-6-B10-B17-rex-PX0601

X601 Decision of rejection after re-examination
J201 Request for trial against refusal decision
PJ0201 Trial against decision of rejection

St.27 status event code: A-3-3-V10-V11-apl-PJ0201

J301 Trial decision

Free format text: TRIAL NUMBER: 2023101001433; TRIAL DECISION FOR APPEAL AGAINST DECISION TO DECLINE REFUSAL REQUESTED 20230704

Effective date: 20231206

PJ1301 Trial decision

St.27 status event code: A-3-3-V10-V15-crt-PJ1301

Decision date: 20231206

Appeal event data comment text: Appeal Kind Category : Appeal against decision to decline refusal, Appeal Ground Text : 2018 0021918

Appeal request date: 20230704

Appellate body name: Patent Examination Board

Decision authority category: Office appeal board

Decision identifier: 2023101001433