KR20150032905A - 커버를 포함하는 차량 시트 - Google Patents

커버를 포함하는 차량 시트 Download PDF

Info

Publication number
KR20150032905A
KR20150032905A KR20157004233A KR20157004233A KR20150032905A KR 20150032905 A KR20150032905 A KR 20150032905A KR 20157004233 A KR20157004233 A KR 20157004233A KR 20157004233 A KR20157004233 A KR 20157004233A KR 20150032905 A KR20150032905 A KR 20150032905A
Authority
KR
South Korea
Prior art keywords
cover
vehicle seat
reinforcing strip
cushion
edge
Prior art date
Legal status (The legal status is an assumption and is not a legal conclusion. Google has not performed a legal analysis and makes no representation as to the accuracy of the status listed.)
Granted
Application number
KR20157004233A
Other languages
English (en)
Other versions
KR101739250B1 (ko
Inventor
안드레아스 스키트코
Original Assignee
존슨 컨트롤스 게엠베하
Priority date (The priority date is an assumption and is not a legal conclusion. Google has not performed a legal analysis and makes no representation as to the accuracy of the date listed.)
Filing date
Publication date
Application filed by 존슨 컨트롤스 게엠베하 filed Critical 존슨 컨트롤스 게엠베하
Publication of KR20150032905A publication Critical patent/KR20150032905A/ko
Application granted granted Critical
Publication of KR101739250B1 publication Critical patent/KR101739250B1/ko
Expired - Fee Related legal-status Critical Current
Anticipated expiration legal-status Critical

Links

Images

Classifications

    • BPERFORMING OPERATIONS; TRANSPORTING
    • B60VEHICLES IN GENERAL
    • B60NSEATS SPECIALLY ADAPTED FOR VEHICLES; VEHICLE PASSENGER ACCOMMODATION NOT OTHERWISE PROVIDED FOR
    • B60N2/00Seats specially adapted for vehicles; Arrangement or mounting of seats in vehicles
    • B60N2/58Seat coverings
    • B60N2/5816Seat coverings attachments thereof
    • B60N2/5825Seat coverings attachments thereof by hooks, staples, clips, snap fasteners or the like
    • BPERFORMING OPERATIONS; TRANSPORTING
    • B60VEHICLES IN GENERAL
    • B60NSEATS SPECIALLY ADAPTED FOR VEHICLES; VEHICLE PASSENGER ACCOMMODATION NOT OTHERWISE PROVIDED FOR
    • B60N2/00Seats specially adapted for vehicles; Arrangement or mounting of seats in vehicles
    • B60N2/58Seat coverings
    • B60N2/5816Seat coverings attachments thereof
    • B60N2/5841Seat coverings attachments thereof by clamping means
    • BPERFORMING OPERATIONS; TRANSPORTING
    • B60VEHICLES IN GENERAL
    • B60NSEATS SPECIALLY ADAPTED FOR VEHICLES; VEHICLE PASSENGER ACCOMMODATION NOT OTHERWISE PROVIDED FOR
    • B60N2/00Seats specially adapted for vehicles; Arrangement or mounting of seats in vehicles
    • B60N2/58Seat coverings
    • B60N2/5816Seat coverings attachments thereof
    • B60N2/5875Seat coverings attachments thereof by adhesion, e.g. gluing
    • BPERFORMING OPERATIONS; TRANSPORTING
    • B60VEHICLES IN GENERAL
    • B60NSEATS SPECIALLY ADAPTED FOR VEHICLES; VEHICLE PASSENGER ACCOMMODATION NOT OTHERWISE PROVIDED FOR
    • B60N2/00Seats specially adapted for vehicles; Arrangement or mounting of seats in vehicles
    • B60N2/58Seat coverings
    • B60N2/60Removable protective coverings
    • B60N2/6009Removable protective coverings covering more than only the seat
    • BPERFORMING OPERATIONS; TRANSPORTING
    • B60VEHICLES IN GENERAL
    • B60NSEATS SPECIALLY ADAPTED FOR VEHICLES; VEHICLE PASSENGER ACCOMMODATION NOT OTHERWISE PROVIDED FOR
    • B60N2/00Seats specially adapted for vehicles; Arrangement or mounting of seats in vehicles
    • B60N2/58Seat coverings
    • B60N2/60Removable protective coverings
    • B60N2/6018Removable protective coverings attachments thereof
    • B60N2/6027Removable protective coverings attachments thereof by hooks, staples, clips, snap fasteners or the like
    • BPERFORMING OPERATIONS; TRANSPORTING
    • B60VEHICLES IN GENERAL
    • B60NSEATS SPECIALLY ADAPTED FOR VEHICLES; VEHICLE PASSENGER ACCOMMODATION NOT OTHERWISE PROVIDED FOR
    • B60N2/00Seats specially adapted for vehicles; Arrangement or mounting of seats in vehicles
    • B60N2/58Seat coverings
    • B60N2/60Removable protective coverings
    • B60N2/6018Removable protective coverings attachments thereof
    • B60N2/6045Removable protective coverings attachments thereof by clamping means

Landscapes

  • Engineering & Computer Science (AREA)
  • Aviation & Aerospace Engineering (AREA)
  • Transportation (AREA)
  • Mechanical Engineering (AREA)
  • Seats For Vehicles (AREA)
  • Vehicle Step Arrangements And Article Storage (AREA)

Abstract

본 발명은 커버 및 측면 커버를 갖는 쿠션을 포함하는 차량 시트에 관한 것이다.

Description

커버를 포함하는 차량 시트 {VEHICLE SEAT COMPRISING A COVER}
본 발명은 커버 및 측면 덮개를 갖는 쿠션을 포함하는 차량 시트에 관한 것이다.
이러한 타입의 차량 시트들은 종래 기술로부터 주지된다. 하지만, 이러한 차량 시트들이 갖는 꾸준한 문제는 간단하고 심미적으로 매력적인 방식으로 차량 시트에 커버를 체결하는 것이다.
따라서 본 발명의 목적은 엄격한 심미적 요구들을 충족시키는 커버가 간단한 방식으로 차량 시트에 체결될 수 있는 차량 시트를 제공하는 것이었다.
상기 문제는 커버 및 측면 덮개를 갖는 쿠션을 포함하는 차량 시트에 의해 달성되며, 보강 스트립이 커버의 에지 영역의 적어도 일부분들에 그리고 쿠션과 측면 덮개 사이의 갭에 제공된다.
본 발명에 따른 차량 시트는 시각적으로 매력적이고 간단한 방식으로 제작될 수 있다. 쿠션은 에지 영역에, 있다면 단지 적은 수의 가시적인 시임(seam)들을 갖는다. 부가적인 체결 수단이 바람직하게는 요구되지 않는다. 커버는 패딩에 완벽하게 적응된다. 커버는 쿠션에 매우 정밀하게 위치될 수 있다.
본 발명은 차량 시트, 시트 부품 및/또는 예컨대 천 및/또는 가죽으로 만들어지는 커버에 의해 덮이는 쿠션, 바람직하게는 발포 쿠션을 갖는 차량 시트의 등받이에 관한 것이다.
또한, 등받이 및/또는 시트 부품은 각각의 경우 시트 부품의 및/또는 등받이의 프레임을 적어도 부분적으로 덮고 각각의 경우 측면 영역의 쿠션을 부분적으로 덮는 측면 덮개를 각각의 경우에 갖는다.
보강 스트립은 바람직하게는 플라스틱 스트립, 카드보드 스트립 및/또는 유지(oiled paper) 스트립이다. 보강 스트립의 교차 섹션은 바람직하게는 반쪽 화살표의 형태이다. 보강 스트립은 바람직하게는 커버의 에지를 넘어서 돌출한다. 보강 스트립은 당업자에게 익숙한 임의의 방식으로 커버의 에지에 연결될 수 있다. 하지만, 보강 스트립은 바람직하게는 적어도 하나 또는 그 초과의 시임에 의해 커버의 에지에 연결된다.
시임은 바람직하게는 커버의 에지에 평행하게 뻗어있다. 보강 스트립은 바람직하게는 쿠션의 형상에 적응할 정도의 그러한 가변성을 갖도록 디자인된다.
커버의 에지 영역은 바람직하게는 접힘부를 갖는다. 상기 접힘부는 바람직하게는 커버에 의해 덮이는 보강 스트립의 그 단부를 따라 연장한다.
본 발명에 따르면, 갭이 쿠션, 예컨대 발포 쿠션과 측면 덮개 사이에 제공된다. 쿠션의 형상 및/또는 측면 덮개의 형상은 바람직하게는 갭이 실질적으로 일정한 폭을 갖는 방식으로 서로 조정된다. 이러한 갭은 커버의 에지 영역 및 보강 스트립을 수용하고 이에 의해 쿠션과 측면 덮개 사이에 커버를 체결한다. 특히, 보강 스트립은 갭에 고정식으로 클램핑된다.
커버는 바람직하게는 커버가 쿠션 상으로 당겨질 때까지 쿠션에 체결되며 그 후 커버의 에지 영역이 커버에 의해 덮이는 단부 주위에 접히고, 그 프로세스에서 또는 그 후에 갭으로 유입된다. 보강 스트립은 바람직하게는 단지 갭 안으로 삽입된다. 추가의 체결은 바람직하게는 일어나지 않는다. 대안적으로는, 쿠션은 먼저 커버에 의해 덮이고, 보강 스트립이 그 주위에 접히며 그 후 측면 덮개가 피팅된다.
커버와 동일한 재료로 또는 상이한 재료로 제작될 수 있는 라미네이션(lamination)이 커버의 에지 영역 및/또는 보강 스트립에 바람직하게 제공된다. 라미네이션은 시각적 이유들을 위해 및/또는 갭 내에서 보강 스트립에 대한 더 큰 파지력을 제공하기 위해 제공될 수 있다. 예컨대, 라미네이션은 갭에 보강 스트립을 부가적으로 클램핑하는 역할을 할 수 있다. 라미네이션은 바람직하게는 카펫(carpet)과 유사한 재료로 제작된다. 게다가, 라미네이션은, 예컨대 시트 부품에 대한 등받이의 조정 동안 및/또는 본 발명에 따른 차량 시트가 제공되는 차량의 이동 동안 소음을 감소시키기 위해 제공될 수 있다.
본 발명은 도 1 및 도 2를 참조하여 이하에 설명된다. 이러한 설명들은 단지 예이며 포괄적인 본 발명의 컨셉을 제한하지 않는다.
도 1은 본 발명에 따른 차량 시트의 쿠션에 대한 제 1 실시예를 도시한다.
도 2는 본 발명에 따른 차량 시트의 쿠션에 대한 제 2 실시예를 도시한다.
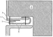
도 1은 차량 시트의 쿠션(2)을 개략적으로 도시하며, 이 쿠션은 측면 덮개(5)에 의해 적어도 부분적으로 둘러싸인다. 쿠션 그리고 선택적으로는 차량 시트의 프레임의 부품들은 커버(1)에 의해 덮인다. 상기 커버(1)의 에지 영역은, 본 경우에 반쪽 화살표의 횡단면을 갖는 플라스틱 스트립(3)을 갖는다. 보강 스트립(3)은 그의 일 단부가 커버의 에지를 넘어서 돌출하고, 여기서 반쪽 화살표의 뾰족한 부분인 그의 다른 단부가 커버에 의해 커버되는 방식으로 커버의 에지에 배열된다. 본 경우에, 커버 및 보강 스트립(3)은 커버의 에지에 평행하게 뻗어있는 시임(6)에 의해 서로 연결된다. 커버와 동일한 재료로 또는 상이한 재료로 제작될 수 있는 라미네이션(7)이 바람직하게는 커버(1)의 에지 영역에 또한 제공된다. 상기 라미네이션(7)은 시임에 의해 보강 스트립(3) 및 커버(1)에 그리고 다른 시임(6)에 의해 보강 스트립(3)에 연결된다. 우선 커버(1)가 쿠션 위로 당겨질 때까지 커버(1)는 패딩(2)에 배열된다. 보강재(3)는 그 후에 접힘부(1.1) 주위에 접히고 쿠션(2)과 측면 덮개(5) 사이에 위치되는 갭(4) 안으로 삽입된다. 프로세스에서, 보강 스트립은 갭에 클램핑되고, 그 결과 더 이상 갭으로부터 자동으로 제거되지 않는다. 본 경우에, 갭 내의 클램핑은 갭을 부가적으로 채우고 쿠션(2) 및/또는 측면 부품(5) 사이에 부가적인 마찰을 또한 초래할 수 있는 라미네이션(7)에 의해 더 개선된다. 보강 스트립(3)의 반쪽 화살표의 뾰족한 부분은 커버(1)의 둥글고 따라서 심미적으로 매력적인 에지가 화살표 뾰족한 부분의 영역에서 발생하고/하거나 반쪽 화살표의 뒤로 연장하는 시임이 커버되는 것을 보장한다.
도 2는 본질적으로는 도 1에 따른 실시예를 도시하고, 본 경우에 보강 스트립(3)은 직사각형 횡단면을 갖는다. 또한, 본 경우에, 시임(6)들은 다소 더 떨어져서 이동된다. 그 외에는, 도 1에 따른 실시예를 참조한다. 도 2에서, 보강 스트립(3)은 반쪽 화살표의 뾰족한 부분을 갖지 않으며, 따라서 커버(2)의 사실상 직각 에지가 보강 스트립(3)의 영역에 발생한다. 커버(1)의 가시적인 에지는 따라서 유리하게는 보강 스트립(3)의 단부 영역의 형상에 의해 바람직한 방식으로 형성될 수 있다.
1 커버
1.1 접힘부
2 패딩
3 보강 스트립, 플라스틱 스트립, 반쪽 화살표의 횡단면을 갖는 스트립
4 갭
5 덮개, 측면 덮개
6 시임
7 라미네이션

Claims (9)

  1. 커버(1) 및 측면 덮개(5)를 갖는 쿠션(2)을 포함하는 차량 시트에 있어서,
    보강 스트립(3)이 커버(1)의 에지 영역의 적어도 일부분들에 제공되고 쿠션(2)과 측면 덮개(5) 사이의 갭(4)에 배열되는 것을 특징으로 하는,
    차량 시트.
  2. 제 1 항에 있어서,
    상기 보강 스트립(3)은 안정적인 재료로, 바람직하게는 플라스틱 스트립, 카드보드 스트립 또는 유지(oiled paper) 스트립의 형태로 제작되는 것을 특징으로 하는,
    차량 시트.
  3. 제 1 항 또는 제 2 항에 있어서,
    상기 보강 스트립의 횡단면은 반쪽 화살표의 형태인 것을 특징으로 하는,
    차량 시트.
  4. 제 1 항 내지 제 3 항 중 어느 한 항에 있어서,
    상기 보강 스트립은 커버의 에지를 넘어 돌출하는 것을 특징으로 하는,
    차량 시트.
  5. 제 1 항 내지 제 4 항 중 어느 한 항에 있어서,
    상기 보강 스트립(3)은 적어도 하나 또는 그 초과의 시임에 의해 커버의 에지에 연결되고, 시임은 바람직하게는 커버의 에지에 평행하게 뻗어있는 것을 특징으로 하는,
    차량 시트.
  6. 제 1 항 내지 제 5 항 중 어느 한 항에 있어서,
    상기 보강 스트립은 쿠션의 형상에 적응할 정도의 그러한 가변성을 갖도록 디자인되는 것을 특징으로 하는,
    차량 시트.
  7. 제 1 항 내지 제 6 항 중 어느 한 항에 있어서,
    상기 커버의 에지 영역은 바람직하게는 커버에 의해 덮이는 보강 스트립의 그 단부를 따라 연장하는 접힘부(1.1)를 갖는 것을 특징으로 하는,
    차량 시트.
  8. 제 1 항 내지 제 7 항 중 어느 한 항에 있어서,
    상기 갭은 실질적으로 일정한 폭을 갖는 것을 특징으로 하는,
    차량 시트.
  9. 제 1 항 내지 제 8 항 중 어느 한 항에 있어서,
    상기 커버와 동일한 재료 또는 상이한 재료로 제작되는 라미네이션(lamination; 7)이 커버의 에지 영역 및/또는 보강 스트립에 제공되는 것을 특징으로 하는,
    차량 시트.
KR1020157004233A 2012-07-20 2013-06-20 커버를 포함하는 차량 시트 Expired - Fee Related KR101739250B1 (ko)

Applications Claiming Priority (5)

Application Number Priority Date Filing Date Title
DE102012014378.8 2012-07-20
DE102012014378 2012-07-20
DE102012018986.9A DE102012018986B4 (de) 2012-07-20 2012-09-27 Fahrzeugsitz mit einem Bezug
DE102012018986.9 2012-09-27
PCT/EP2013/062930 WO2014012740A1 (de) 2012-07-20 2013-06-20 Fahrzeugsitz mit einem bezug

Publications (2)

Publication Number Publication Date
KR20150032905A true KR20150032905A (ko) 2015-03-30
KR101739250B1 KR101739250B1 (ko) 2017-05-24

Family

ID=49879742

Family Applications (1)

Application Number Title Priority Date Filing Date
KR1020157004233A Expired - Fee Related KR101739250B1 (ko) 2012-07-20 2013-06-20 커버를 포함하는 차량 시트

Country Status (8)

Country Link
US (1) US9352677B2 (ko)
EP (1) EP2874849B1 (ko)
JP (1) JP6085676B2 (ko)
KR (1) KR101739250B1 (ko)
CN (1) CN104470754B (ko)
DE (1) DE102012018986B4 (ko)
IN (1) IN2015DN00790A (ko)
WO (1) WO2014012740A1 (ko)

Families Citing this family (9)

* Cited by examiner, † Cited by third party
Publication number Priority date Publication date Assignee Title
JP6358612B2 (ja) * 2014-04-14 2018-07-18 株式会社タチエス 車両用シート
DE112015003590T5 (de) * 2014-09-11 2017-07-27 Faurecia Automotive Seating, Llc Bezugsbefestigungsvorrichtung für einen Fahrzeugsitz
USD768412S1 (en) 2016-03-01 2016-10-11 Vu Phan Quang Ngo Car seat protector
US10682935B2 (en) * 2017-11-03 2020-06-16 GM Global Technology Operations LLC Cover panel for vehicle seat with invisible tie-down
RU189065U1 (ru) * 2018-12-12 2019-05-07 Общество с ограниченной ответственностью "ЖИВЫЕ ДИВАНЫ" Мягкая мебель
CN110015220B (zh) * 2019-04-25 2024-03-29 傲科塑料制品(张家港)有限公司 一种汽车座椅套的无纺布塑料夹布条结构
RU193291U1 (ru) * 2019-07-08 2019-10-22 Общество с ограниченной ответственностью "ЖИВЫЕ ДИВАНЫ" Мягкая мебель с фиксирующими элементами съемных покрытий
US11142322B1 (en) 2020-08-31 2021-10-12 B/E Aerospace, Inc. Attachment assembly for a dress cover and a cushion of an aircraft seat
DE102021208805B3 (de) 2021-08-11 2023-02-09 Bayerische Motoren Werke Aktiengesellschaft Fahrzeugsitz

Family Cites Families (16)

* Cited by examiner, † Cited by third party
Publication number Priority date Publication date Assignee Title
DE1090112B (de) * 1953-02-03 1960-09-29 Daimler Benz Ag Polsterbezug fuer Kraftfahrzeugsitze
US3300251A (en) * 1965-06-10 1967-01-24 Knoll Associates Upholstery cover-frame connection
JPS5993260U (ja) * 1982-12-17 1984-06-25 東京シ−ト株式会社 シ−トの端末機構
DE3841531A1 (de) * 1988-12-09 1990-06-13 Bayer Ag Befestigung zwischen einem polsterbezug und einem das polster aufnehmenden traeger
DE3926421A1 (de) 1989-08-10 1991-02-14 Bayerische Motoren Werke Ag Sitz, insbesondere fahrzeugsitz
FR2690610A1 (fr) * 1992-05-04 1993-11-05 Vieira Gomes Jose Procédé pour le garnissage d'articles d'ameublement tels que sièges et lits ainsi que les articles d'ameublement obtenus.
JPH09294882A (ja) * 1996-04-30 1997-11-18 Maruni:Kk 特殊芯およびそれを用いた椅子張り方法
US5799970A (en) * 1996-10-01 1998-09-01 Autoliv Asp, Inc. Externally mounted side airbag module with decorative outer cover
FR2778159B1 (fr) * 1998-04-30 2000-06-23 Peugeot Dispositif de montage d'un module a sac gonflable lateral pour un siege avant d'un vehicule automobile
JP3863789B2 (ja) * 2002-02-08 2006-12-27 テイ・エス テック株式会社 車両用シートのトリムカバー取付部材および車両用シート
JP4252374B2 (ja) * 2003-06-20 2009-04-08 株式会社イレブンインターナショナル シートカバーの取付構造
FR2866295B1 (fr) * 2004-02-13 2007-04-06 Faurecia Sieges Automobile Element de siege integrant un dispositif de securite a coussin gonflable
DE102004020913B3 (de) 2004-04-28 2005-09-22 Johnson Controls Gmbh Fahrzeugsitz mit Abdeckblende
US7637531B2 (en) * 2006-09-13 2009-12-29 Lear Corporation Vehicle seat side air bag assembly
DE102007053009B4 (de) 2007-04-04 2016-05-12 Johnson Controls Gmbh Befestigungsanordnung für einen Sitzbezug, insbesondere eines Fahrzeugsitzes, sowie ein Montageverfahren
CN102753058A (zh) 2010-02-16 2012-10-24 李尔公司 车辆座椅装饰桨片附接件

Also Published As

Publication number Publication date
JP6085676B2 (ja) 2017-02-22
EP2874849B1 (de) 2019-01-16
EP2874849A1 (de) 2015-05-27
US9352677B2 (en) 2016-05-31
IN2015DN00790A (ko) 2015-07-03
US20150183350A1 (en) 2015-07-02
WO2014012740A1 (de) 2014-01-23
WO2014012740A8 (de) 2015-03-12
CN104470754A (zh) 2015-03-25
DE102012018986A1 (de) 2014-01-23
DE102012018986B4 (de) 2016-08-04
CN104470754B (zh) 2017-07-25
KR101739250B1 (ko) 2017-05-24
JP2015522478A (ja) 2015-08-06

Similar Documents

Publication Publication Date Title
KR101739250B1 (ko) 커버를 포함하는 차량 시트
JP5799744B2 (ja) シートの隙隠し構造
CN102910097B (zh) 车辆座椅
US9987960B2 (en) Vehicle seat
JP6100111B2 (ja) シートクッション
JP2015522478A5 (ko)
US10251491B2 (en) Seat
CN105793106B (zh) 带填塞材料的座椅的表皮构造及带填塞材料的座椅的表皮缝制方法
JP2016008045A (ja) 自動車輌のカバーのためのパイピング
CA3027303A1 (en) Protective cover for a motor vehicle seat
JP6219810B2 (ja) 車両用シート
CN111183059B (zh) 乘坐物用座椅
JP6660803B2 (ja) 車両用シート
JP6511246B2 (ja) 車両用シート
JP5642491B2 (ja) 自動車シートに用いるトリム・カバー・アッセンブリの縫合せ方法およびトリム・カバー・アッセンブリ
JP2013103539A (ja) 下帯カバー付き車両用シート
JP2012144114A (ja) 車両用シート
JP6895050B2 (ja) 表皮の固定構造
KR101984911B1 (ko) 스킨부로 랩핑된 차량용 내장재
JP5741950B2 (ja) シートバック
AU2015101116A4 (en) Heavy duty seat cover
WO2014066394A1 (en) Upholstery zipper joining method and article made by same
JP2015154805A (ja) 乗物用シート
JP7130576B2 (ja) トリムカバー及び乗物用内装品
JP2009125113A (ja) 車両用シートの表皮材端末係止構造および係止部材

Legal Events

Date Code Title Description
PA0105 International application

St.27 status event code: A-0-1-A10-A15-nap-PA0105

P11-X000 Amendment of application requested

St.27 status event code: A-2-2-P10-P11-nap-X000

P13-X000 Application amended

St.27 status event code: A-2-2-P10-P13-nap-X000

PG1501 Laying open of application

St.27 status event code: A-1-1-Q10-Q12-nap-PG1501

A201 Request for examination
P11-X000 Amendment of application requested

St.27 status event code: A-2-2-P10-P11-nap-X000

P13-X000 Application amended

St.27 status event code: A-2-2-P10-P13-nap-X000

PA0201 Request for examination

St.27 status event code: A-1-2-D10-D11-exm-PA0201

D13-X000 Search requested

St.27 status event code: A-1-2-D10-D13-srh-X000

D14-X000 Search report completed

St.27 status event code: A-1-2-D10-D14-srh-X000

E902 Notification of reason for refusal
PE0902 Notice of grounds for rejection

St.27 status event code: A-1-2-D10-D21-exm-PE0902

T11-X000 Administrative time limit extension requested

St.27 status event code: U-3-3-T10-T11-oth-X000

T11-X000 Administrative time limit extension requested

St.27 status event code: U-3-3-T10-T11-oth-X000

T11-X000 Administrative time limit extension requested

St.27 status event code: U-3-3-T10-T11-oth-X000

P11-X000 Amendment of application requested

St.27 status event code: A-2-2-P10-P11-nap-X000

P13-X000 Application amended

St.27 status event code: A-2-2-P10-P13-nap-X000

E701 Decision to grant or registration of patent right
PE0701 Decision of registration

St.27 status event code: A-1-2-D10-D22-exm-PE0701

GRNT Written decision to grant
PR0701 Registration of establishment

St.27 status event code: A-2-4-F10-F11-exm-PR0701

PR1002 Payment of registration fee

St.27 status event code: A-2-2-U10-U12-oth-PR1002

Fee payment year number: 1

PG1601 Publication of registration

St.27 status event code: A-4-4-Q10-Q13-nap-PG1601

P22-X000 Classification modified

St.27 status event code: A-4-4-P10-P22-nap-X000

PC1903 Unpaid annual fee

St.27 status event code: A-4-4-U10-U13-oth-PC1903

Not in force date: 20200519

Payment event data comment text: Termination Category : DEFAULT_OF_REGISTRATION_FEE

R18-X000 Changes to party contact information recorded

St.27 status event code: A-5-5-R10-R18-oth-X000

PC1903 Unpaid annual fee

St.27 status event code: N-4-6-H10-H13-oth-PC1903

Ip right cessation event data comment text: Termination Category : DEFAULT_OF_REGISTRATION_FEE

Not in force date: 20200519