KR20130119434A - 유기 인광체를 갖는 발광 장치 - Google Patents
유기 인광체를 갖는 발광 장치 Download PDFInfo
- Publication number
- KR20130119434A KR20130119434A KR1020137011601A KR20137011601A KR20130119434A KR 20130119434 A KR20130119434 A KR 20130119434A KR 1020137011601 A KR1020137011601 A KR 1020137011601A KR 20137011601 A KR20137011601 A KR 20137011601A KR 20130119434 A KR20130119434 A KR 20130119434A
- Authority
- KR
- South Korea
- Prior art keywords
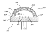
- cavity
- light
- wavelength
- wavelength converting
- sealing structure
- Prior art date
- Legal status (The legal status is an assumption and is not a legal conclusion. Google has not performed a legal analysis and makes no representation as to the accuracy of the status listed.)
- Withdrawn
Links
- OAICVXFJPJFONN-UHFFFAOYSA-N Phosphorus Chemical compound [P] OAICVXFJPJFONN-UHFFFAOYSA-N 0.000 title description 22
- 238000007789 sealing Methods 0.000 claims abstract description 52
- 239000000463 material Substances 0.000 claims abstract description 33
- 238000006243 chemical reaction Methods 0.000 claims description 30
- 238000000034 method Methods 0.000 claims description 17
- 125000000217 alkyl group Chemical group 0.000 claims description 15
- 239000007789 gas Substances 0.000 claims description 14
- 239000011521 glass Substances 0.000 claims description 12
- 239000001257 hydrogen Substances 0.000 claims description 12
- 229910052739 hydrogen Inorganic materials 0.000 claims description 12
- 125000004435 hydrogen atom Chemical group [H]* 0.000 claims description 12
- 239000012298 atmosphere Substances 0.000 claims description 11
- 125000002080 perylenyl group Chemical group C1(=CC=C2C=CC=C3C4=CC=CC5=CC=CC(C1=C23)=C45)* 0.000 claims description 10
- PXGOKWXKJXAPGV-UHFFFAOYSA-N Fluorine Chemical group FF PXGOKWXKJXAPGV-UHFFFAOYSA-N 0.000 claims description 9
- 239000011737 fluorine Chemical group 0.000 claims description 9
- 229910052731 fluorine Inorganic materials 0.000 claims description 9
- 238000004519 manufacturing process Methods 0.000 claims description 7
- 125000000956 methoxy group Chemical group [H]C([H])([H])O* 0.000 claims description 6
- 125000000999 tert-butyl group Chemical group [H]C([H])([H])C(*)(C([H])([H])[H])C([H])([H])[H] 0.000 claims description 6
- QVGXLLKOCUKJST-UHFFFAOYSA-N atomic oxygen Chemical compound [O] QVGXLLKOCUKJST-UHFFFAOYSA-N 0.000 claims description 5
- 125000001449 isopropyl group Chemical group [H]C([H])([H])C([H])(*)C([H])([H])[H] 0.000 claims description 5
- 238000002844 melting Methods 0.000 claims description 5
- 230000008018 melting Effects 0.000 claims description 5
- -1 methoxy, isopropyl Chemical group 0.000 claims description 5
- 239000001301 oxygen Substances 0.000 claims description 5
- 229910052760 oxygen Inorganic materials 0.000 claims description 5
- 239000003463 adsorbent Substances 0.000 claims description 3
- 238000005086 pumping Methods 0.000 claims description 2
- OKTJSMMVPCPJKN-UHFFFAOYSA-N Carbon Chemical compound [C] OKTJSMMVPCPJKN-UHFFFAOYSA-N 0.000 description 8
- 239000011248 coating agent Substances 0.000 description 7
- 238000000576 coating method Methods 0.000 description 7
- 239000011159 matrix material Substances 0.000 description 6
- 230000004888 barrier function Effects 0.000 description 5
- 239000000975 dye Substances 0.000 description 5
- 0 *c(cc1C(N(*)C2=O)O)c(-c(c3c45)c(*)cc4C(N4*)=O)c6c1c2cc(*)c6-c3c(*)cc5C4=O Chemical compound *c(cc1C(N(*)C2=O)O)c(-c(c3c45)c(*)cc4C(N4*)=O)c6c1c2cc(*)c6-c3c(*)cc5C4=O 0.000 description 4
- 229910052751 metal Inorganic materials 0.000 description 4
- 229920003229 poly(methyl methacrylate) Polymers 0.000 description 4
- 239000004926 polymethyl methacrylate Substances 0.000 description 4
- 239000000919 ceramic Substances 0.000 description 3
- 238000013016 damping Methods 0.000 description 3
- 230000006866 deterioration Effects 0.000 description 3
- 230000004907 flux Effects 0.000 description 3
- 239000002184 metal Substances 0.000 description 3
- CSHWQDPOILHKBI-UHFFFAOYSA-N peryrene Natural products C1=CC(C2=CC=CC=3C2=C2C=CC=3)=C3C2=CC=CC3=C1 CSHWQDPOILHKBI-UHFFFAOYSA-N 0.000 description 3
- 230000008901 benefit Effects 0.000 description 2
- 150000001875 compounds Chemical class 0.000 description 2
- 230000007423 decrease Effects 0.000 description 2
- 239000011261 inert gas Substances 0.000 description 2
- 229920000058 polyacrylate Polymers 0.000 description 2
- 229920000642 polymer Polymers 0.000 description 2
- 229920001296 polysiloxane Polymers 0.000 description 2
- 239000004793 Polystyrene Substances 0.000 description 1
- BQCADISMDOOEFD-UHFFFAOYSA-N Silver Chemical compound [Ag] BQCADISMDOOEFD-UHFFFAOYSA-N 0.000 description 1
- 238000010521 absorption reaction Methods 0.000 description 1
- NIXOWILDQLNWCW-UHFFFAOYSA-N acrylic acid group Chemical group C(C=C)(=O)O NIXOWILDQLNWCW-UHFFFAOYSA-N 0.000 description 1
- 238000000149 argon plasma sintering Methods 0.000 description 1
- 230000008859 change Effects 0.000 description 1
- 238000004320 controlled atmosphere Methods 0.000 description 1
- 230000000694 effects Effects 0.000 description 1
- 238000005401 electroluminescence Methods 0.000 description 1
- 238000000295 emission spectrum Methods 0.000 description 1
- 238000005286 illumination Methods 0.000 description 1
- 229910010272 inorganic material Inorganic materials 0.000 description 1
- 239000011147 inorganic material Substances 0.000 description 1
- 230000031700 light absorption Effects 0.000 description 1
- 238000001748 luminescence spectrum Methods 0.000 description 1
- 239000007769 metal material Substances 0.000 description 1
- 230000004048 modification Effects 0.000 description 1
- 238000012986 modification Methods 0.000 description 1
- 239000012299 nitrogen atmosphere Substances 0.000 description 1
- 150000002894 organic compounds Chemical class 0.000 description 1
- 239000002245 particle Substances 0.000 description 1
- 229920000515 polycarbonate Polymers 0.000 description 1
- 239000004417 polycarbonate Substances 0.000 description 1
- 239000002861 polymer material Substances 0.000 description 1
- 229920002223 polystyrene Polymers 0.000 description 1
- 238000002310 reflectometry Methods 0.000 description 1
- 229910052709 silver Inorganic materials 0.000 description 1
- 239000004332 silver Substances 0.000 description 1
- 230000003595 spectral effect Effects 0.000 description 1
Images
Classifications
-
- H—ELECTRICITY
- H05—ELECTRIC TECHNIQUES NOT OTHERWISE PROVIDED FOR
- H05B—ELECTRIC HEATING; ELECTRIC LIGHT SOURCES NOT OTHERWISE PROVIDED FOR; CIRCUIT ARRANGEMENTS FOR ELECTRIC LIGHT SOURCES, IN GENERAL
- H05B33/00—Electroluminescent light sources
- H05B33/02—Details
- H05B33/04—Sealing arrangements, e.g. against humidity
-
- C—CHEMISTRY; METALLURGY
- C09—DYES; PAINTS; POLISHES; NATURAL RESINS; ADHESIVES; COMPOSITIONS NOT OTHERWISE PROVIDED FOR; APPLICATIONS OF MATERIALS NOT OTHERWISE PROVIDED FOR
- C09K—MATERIALS FOR MISCELLANEOUS APPLICATIONS, NOT PROVIDED FOR ELSEWHERE
- C09K11/00—Luminescent, e.g. electroluminescent, chemiluminescent materials
- C09K11/06—Luminescent, e.g. electroluminescent, chemiluminescent materials containing organic luminescent materials
-
- F—MECHANICAL ENGINEERING; LIGHTING; HEATING; WEAPONS; BLASTING
- F21—LIGHTING
- F21K—NON-ELECTRIC LIGHT SOURCES USING LUMINESCENCE; LIGHT SOURCES USING ELECTROCHEMILUMINESCENCE; LIGHT SOURCES USING CHARGES OF COMBUSTIBLE MATERIAL; LIGHT SOURCES USING SEMICONDUCTOR DEVICES AS LIGHT-GENERATING ELEMENTS; LIGHT SOURCES NOT OTHERWISE PROVIDED FOR
- F21K9/00—Light sources using semiconductor devices as light-generating elements, e.g. using light-emitting diodes [LED] or lasers
- F21K9/60—Optical arrangements integrated in the light source, e.g. for improving the colour rendering index or the light extraction
- F21K9/64—Optical arrangements integrated in the light source, e.g. for improving the colour rendering index or the light extraction using wavelength conversion means distinct or spaced from the light-generating element, e.g. a remote phosphor layer
-
- F—MECHANICAL ENGINEERING; LIGHTING; HEATING; WEAPONS; BLASTING
- F21—LIGHTING
- F21V—FUNCTIONAL FEATURES OR DETAILS OF LIGHTING DEVICES OR SYSTEMS THEREOF; STRUCTURAL COMBINATIONS OF LIGHTING DEVICES WITH OTHER ARTICLES, NOT OTHERWISE PROVIDED FOR
- F21V31/00—Gas-tight or water-tight arrangements
- F21V31/005—Sealing arrangements therefor
-
- C—CHEMISTRY; METALLURGY
- C09—DYES; PAINTS; POLISHES; NATURAL RESINS; ADHESIVES; COMPOSITIONS NOT OTHERWISE PROVIDED FOR; APPLICATIONS OF MATERIALS NOT OTHERWISE PROVIDED FOR
- C09K—MATERIALS FOR MISCELLANEOUS APPLICATIONS, NOT PROVIDED FOR ELSEWHERE
- C09K2211/00—Chemical nature of organic luminescent or tenebrescent compounds
- C09K2211/10—Non-macromolecular compounds
- C09K2211/1003—Carbocyclic compounds
- C09K2211/1007—Non-condensed systems
-
- C—CHEMISTRY; METALLURGY
- C09—DYES; PAINTS; POLISHES; NATURAL RESINS; ADHESIVES; COMPOSITIONS NOT OTHERWISE PROVIDED FOR; APPLICATIONS OF MATERIALS NOT OTHERWISE PROVIDED FOR
- C09K—MATERIALS FOR MISCELLANEOUS APPLICATIONS, NOT PROVIDED FOR ELSEWHERE
- C09K2211/00—Chemical nature of organic luminescent or tenebrescent compounds
- C09K2211/10—Non-macromolecular compounds
- C09K2211/1003—Carbocyclic compounds
- C09K2211/1011—Condensed systems
-
- C—CHEMISTRY; METALLURGY
- C09—DYES; PAINTS; POLISHES; NATURAL RESINS; ADHESIVES; COMPOSITIONS NOT OTHERWISE PROVIDED FOR; APPLICATIONS OF MATERIALS NOT OTHERWISE PROVIDED FOR
- C09K—MATERIALS FOR MISCELLANEOUS APPLICATIONS, NOT PROVIDED FOR ELSEWHERE
- C09K2211/00—Chemical nature of organic luminescent or tenebrescent compounds
- C09K2211/10—Non-macromolecular compounds
- C09K2211/1018—Heterocyclic compounds
- C09K2211/1025—Heterocyclic compounds characterised by ligands
- C09K2211/1029—Heterocyclic compounds characterised by ligands containing one nitrogen atom as the heteroatom
-
- C—CHEMISTRY; METALLURGY
- C09—DYES; PAINTS; POLISHES; NATURAL RESINS; ADHESIVES; COMPOSITIONS NOT OTHERWISE PROVIDED FOR; APPLICATIONS OF MATERIALS NOT OTHERWISE PROVIDED FOR
- C09K—MATERIALS FOR MISCELLANEOUS APPLICATIONS, NOT PROVIDED FOR ELSEWHERE
- C09K2211/00—Chemical nature of organic luminescent or tenebrescent compounds
- C09K2211/10—Non-macromolecular compounds
- C09K2211/1018—Heterocyclic compounds
- C09K2211/1025—Heterocyclic compounds characterised by ligands
- C09K2211/1044—Heterocyclic compounds characterised by ligands containing two nitrogen atoms as heteroatoms
-
- F—MECHANICAL ENGINEERING; LIGHTING; HEATING; WEAPONS; BLASTING
- F21—LIGHTING
- F21K—NON-ELECTRIC LIGHT SOURCES USING LUMINESCENCE; LIGHT SOURCES USING ELECTROCHEMILUMINESCENCE; LIGHT SOURCES USING CHARGES OF COMBUSTIBLE MATERIAL; LIGHT SOURCES USING SEMICONDUCTOR DEVICES AS LIGHT-GENERATING ELEMENTS; LIGHT SOURCES NOT OTHERWISE PROVIDED FOR
- F21K9/00—Light sources using semiconductor devices as light-generating elements, e.g. using light-emitting diodes [LED] or lasers
- F21K9/20—Light sources comprising attachment means
- F21K9/23—Retrofit light sources for lighting devices with a single fitting for each light source, e.g. for substitution of incandescent lamps with bayonet or threaded fittings
- F21K9/232—Retrofit light sources for lighting devices with a single fitting for each light source, e.g. for substitution of incandescent lamps with bayonet or threaded fittings specially adapted for generating an essentially omnidirectional light distribution, e.g. with a glass bulb
-
- F—MECHANICAL ENGINEERING; LIGHTING; HEATING; WEAPONS; BLASTING
- F21—LIGHTING
- F21V—FUNCTIONAL FEATURES OR DETAILS OF LIGHTING DEVICES OR SYSTEMS THEREOF; STRUCTURAL COMBINATIONS OF LIGHTING DEVICES WITH OTHER ARTICLES, NOT OTHERWISE PROVIDED FOR
- F21V3/00—Globes; Bowls; Cover glasses
-
- F—MECHANICAL ENGINEERING; LIGHTING; HEATING; WEAPONS; BLASTING
- F21—LIGHTING
- F21Y—INDEXING SCHEME ASSOCIATED WITH SUBCLASSES F21K, F21L, F21S and F21V, RELATING TO THE FORM OR THE KIND OF THE LIGHT SOURCES OR OF THE COLOUR OF THE LIGHT EMITTED
- F21Y2103/00—Elongate light sources, e.g. fluorescent tubes
- F21Y2103/10—Elongate light sources, e.g. fluorescent tubes comprising a linear array of point-like light-generating elements
-
- F—MECHANICAL ENGINEERING; LIGHTING; HEATING; WEAPONS; BLASTING
- F21—LIGHTING
- F21Y—INDEXING SCHEME ASSOCIATED WITH SUBCLASSES F21K, F21L, F21S and F21V, RELATING TO THE FORM OR THE KIND OF THE LIGHT SOURCES OR OF THE COLOUR OF THE LIGHT EMITTED
- F21Y2115/00—Light-generating elements of semiconductor light sources
- F21Y2115/10—Light-emitting diodes [LED]
-
- H—ELECTRICITY
- H05—ELECTRIC TECHNIQUES NOT OTHERWISE PROVIDED FOR
- H05B—ELECTRIC HEATING; ELECTRIC LIGHT SOURCES NOT OTHERWISE PROVIDED FOR; CIRCUIT ARRANGEMENTS FOR ELECTRIC LIGHT SOURCES, IN GENERAL
- H05B33/00—Electroluminescent light sources
- H05B33/10—Apparatus or processes specially adapted to the manufacture of electroluminescent light sources
Landscapes
- Engineering & Computer Science (AREA)
- General Engineering & Computer Science (AREA)
- Chemical & Material Sciences (AREA)
- Optics & Photonics (AREA)
- Physics & Mathematics (AREA)
- Microelectronics & Electronic Packaging (AREA)
- Organic Chemistry (AREA)
- Materials Engineering (AREA)
- Manufacturing & Machinery (AREA)
- Led Device Packages (AREA)
- Electroluminescent Light Sources (AREA)
- Non-Portable Lighting Devices Or Systems Thereof (AREA)
- Other In-Based Heterocyclic Compounds (AREA)
- Nitrogen Condensed Heterocyclic Rings (AREA)
Applications Claiming Priority (3)
| Application Number | Priority Date | Filing Date | Title |
|---|---|---|---|
| EP10186654.9 | 2010-10-06 | ||
| EP10186654 | 2010-10-06 | ||
| PCT/IB2011/054327 WO2012046175A1 (en) | 2010-10-06 | 2011-10-03 | Light-emitting arrangement with organic phosphor |
Publications (1)
| Publication Number | Publication Date |
|---|---|
| KR20130119434A true KR20130119434A (ko) | 2013-10-31 |
Family
ID=44860456
Family Applications (1)
| Application Number | Title | Priority Date | Filing Date |
|---|---|---|---|
| KR1020137011601A Withdrawn KR20130119434A (ko) | 2010-10-06 | 2011-10-03 | 유기 인광체를 갖는 발광 장치 |
Country Status (7)
| Country | Link |
|---|---|
| US (1) | US8941302B2 (enExample) |
| EP (1) | EP2625246B1 (enExample) |
| JP (1) | JP2014503981A (enExample) |
| KR (1) | KR20130119434A (enExample) |
| CN (1) | CN103930517B (enExample) |
| TW (1) | TW201221860A (enExample) |
| WO (1) | WO2012046175A1 (enExample) |
Families Citing this family (7)
| Publication number | Priority date | Publication date | Assignee | Title |
|---|---|---|---|---|
| JP2013197530A (ja) * | 2012-03-22 | 2013-09-30 | Sharp Corp | 光源、発光装置、バックライト用光源、表示装置、および光源の製造方法 |
| EP2660503B1 (de) * | 2012-05-04 | 2015-12-30 | Tridonic Jennersdorf GmbH | Leuchte |
| US20140048824A1 (en) | 2012-08-15 | 2014-02-20 | Epistar Corporation | Light-emitting device |
| WO2014122071A1 (en) | 2013-02-11 | 2014-08-14 | Koninklijke Philips N.V. | Increasing the lifetime of an organic phosphor by using off-maximum excitation |
| US10329482B2 (en) | 2014-10-21 | 2019-06-25 | Signify Holding B.V. | Class of organic phosphors based on derivatives of benzimidazoxanthenoisoquinolinone for LED lighting |
| KR102283169B1 (ko) * | 2015-05-11 | 2021-07-30 | 사에스 게터스 에스.페.아. | Led 시스템 |
| CN106770193B (zh) * | 2017-01-11 | 2023-05-02 | 江西农业大学 | 一种食用植物油中倍硫磷含量检测装置及方法 |
Family Cites Families (19)
| Publication number | Priority date | Publication date | Assignee | Title |
|---|---|---|---|---|
| GB876311A (en) | 1958-03-12 | 1961-08-30 | Atomic Energy Authority Uk | Improvements in or relating to light sources |
| US4845223A (en) * | 1985-12-19 | 1989-07-04 | Basf Aktiengesellschaft | Fluorescent aryloxy-substituted perylene-3,4,9,10-tetracarboxylic acid diimides |
| DE3545004A1 (de) * | 1985-12-19 | 1987-06-25 | Basf Ag | Fluoreszierende aroxysubstituierte perylen-3,4,9,10-tetracarbonsaeurediimide und ihre verwendung zur flaechenmaessigen konzentriertung von licht |
| JPH0453894A (ja) * | 1990-06-20 | 1992-02-21 | Nippon Kagaku Hakko Kk | 赤色化学発光体 |
| US6197218B1 (en) * | 1997-02-24 | 2001-03-06 | Superior Micropowders Llc | Photoluminescent phosphor powders, methods for making phosphor powders and devices incorporating same |
| US6593687B1 (en) * | 1999-07-20 | 2003-07-15 | Sri International | Cavity-emission electroluminescent device and method for forming the device |
| JP3743562B2 (ja) | 2002-02-25 | 2006-02-08 | 富士写真フイルム株式会社 | 蓄積性蛍光体パネル |
| JP4048073B2 (ja) * | 2002-03-29 | 2008-02-13 | 株式会社ファインラバー研究所 | 蛍光部材及びこれを用いた発光装置 |
| JP2004119634A (ja) * | 2002-09-25 | 2004-04-15 | Toshiba Lighting & Technology Corp | 発光装置 |
| JP2004356358A (ja) * | 2003-05-29 | 2004-12-16 | Mitsubishi Chemicals Corp | 発光装置及び照明装置 |
| JP2004352928A (ja) * | 2003-05-30 | 2004-12-16 | Mitsubishi Chemicals Corp | 発光装置及び照明装置 |
| DE102005054591A1 (de) * | 2005-11-14 | 2007-05-16 | Roehm Gmbh | Vorrichtung zur Beleuchtung mit blauen, grünen, gelben oder roten Leuchtdioden |
| US7839072B2 (en) * | 2006-05-24 | 2010-11-23 | Citizen Electronics Co., Ltd. | Translucent laminate sheet and light-emitting device using the translucent laminate sheet |
| US7662308B2 (en) * | 2006-08-07 | 2010-02-16 | Ciba Specialty Chemicals Corporation | Polyhedral oligomeric silsesquioxane (POSS) based fluorescent colorants |
| EP2078068B1 (en) * | 2006-11-01 | 2012-01-11 | Wake Forest University | Solid state lighting compositions and systems |
| KR101580338B1 (ko) | 2007-08-17 | 2015-12-23 | 바스프 에스이 | 할로겐-함유 페릴렌테트라카르복실산 유도체 및 이의 용도 |
| JP2009140835A (ja) * | 2007-12-08 | 2009-06-25 | Citizen Electronics Co Ltd | 発光装置及び面状ライトユニット並びに表示装置 |
| US8304647B2 (en) * | 2008-08-19 | 2012-11-06 | Sabic Innovative Plastics Ip B.V. | Luminescent solar collector |
| US8329917B2 (en) | 2009-03-31 | 2012-12-11 | Semiconductor Energy Laboratory Co., Ltd. | Heterocyclic compound and light-emitting element, light-emitting device, lighting device, and electronic device using the same |
-
2011
- 2011-10-03 WO PCT/IB2011/054327 patent/WO2012046175A1/en not_active Ceased
- 2011-10-03 CN CN201180048592.9A patent/CN103930517B/zh not_active Expired - Fee Related
- 2011-10-03 TW TW100135793A patent/TW201221860A/zh unknown
- 2011-10-03 JP JP2013532299A patent/JP2014503981A/ja active Pending
- 2011-10-03 KR KR1020137011601A patent/KR20130119434A/ko not_active Withdrawn
- 2011-10-03 EP EP11773560.5A patent/EP2625246B1/en not_active Not-in-force
- 2011-10-03 US US13/877,668 patent/US8941302B2/en not_active Expired - Fee Related
Also Published As
| Publication number | Publication date |
|---|---|
| CN103930517B (zh) | 2016-06-15 |
| TW201221860A (en) | 2012-06-01 |
| EP2625246A1 (en) | 2013-08-14 |
| WO2012046175A1 (en) | 2012-04-12 |
| US8941302B2 (en) | 2015-01-27 |
| US20130200782A1 (en) | 2013-08-08 |
| CN103930517A (zh) | 2014-07-16 |
| EP2625246B1 (en) | 2016-04-20 |
| JP2014503981A (ja) | 2014-02-13 |
Similar Documents
| Publication | Publication Date | Title |
|---|---|---|
| US8866380B2 (en) | Light-emitting arrangement with organic phosphor | |
| JP6038031B2 (ja) | 有機フォスファーを備える発光装置 | |
| JP2013540347A5 (enExample) | ||
| EP2625246B1 (en) | Light-emitting arrangement with organic phosphor | |
| KR20120013366A (ko) | 유기 및 무기 인광체를 포함하는 인광체-인핸스드 광원의 발광 변환기 | |
| JP6157462B2 (ja) | 波長変換素子 | |
| JP2013542595A5 (enExample) | ||
| JP2014503981A5 (enExample) | ||
| US9161396B2 (en) | Light-emitting arrangement | |
| TW201243240A (en) | Light-emitting arrangement with organic phosphor |
Legal Events
| Date | Code | Title | Description |
|---|---|---|---|
| PA0105 | International application |
Patent event date: 20130503 Patent event code: PA01051R01D Comment text: International Patent Application |
|
| PG1501 | Laying open of application | ||
| PC1203 | Withdrawal of no request for examination | ||
| WITN | Application deemed withdrawn, e.g. because no request for examination was filed or no examination fee was paid |