KR20120104983A - 전기 절연식 및/또는 열 절연식 구름 베어링 - Google Patents
전기 절연식 및/또는 열 절연식 구름 베어링 Download PDFInfo
- Publication number
- KR20120104983A KR20120104983A KR1020127013786A KR20127013786A KR20120104983A KR 20120104983 A KR20120104983 A KR 20120104983A KR 1020127013786 A KR1020127013786 A KR 1020127013786A KR 20127013786 A KR20127013786 A KR 20127013786A KR 20120104983 A KR20120104983 A KR 20120104983A
- Authority
- KR
- South Korea
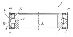
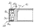
- Prior art keywords
- film section
- outer ring
- film
- rolling bearing
- rolling
- Prior art date
- Legal status (The legal status is an assumption and is not a legal conclusion. Google has not performed a legal analysis and makes no representation as to the accuracy of the status listed.)
- Withdrawn
Links
- 238000005096 rolling process Methods 0.000 claims abstract description 64
- 239000002985 plastic film Substances 0.000 claims abstract description 14
- 229920006255 plastic film Polymers 0.000 claims abstract description 13
- 238000005520 cutting process Methods 0.000 claims abstract description 7
- 239000000463 material Substances 0.000 claims description 18
- 239000000314 lubricant Substances 0.000 claims description 10
- 238000000034 method Methods 0.000 claims description 7
- 239000000853 adhesive Substances 0.000 claims description 2
- 230000001070 adhesive effect Effects 0.000 claims description 2
- 229920001643 poly(ether ketone) Polymers 0.000 claims description 2
- 238000009413 insulation Methods 0.000 abstract description 4
- 238000010292 electrical insulation Methods 0.000 abstract description 3
- 239000004033 plastic Substances 0.000 description 11
- 229920003023 plastic Polymers 0.000 description 11
- 239000004696 Poly ether ether ketone Substances 0.000 description 3
- 239000011248 coating agent Substances 0.000 description 3
- 238000000576 coating method Methods 0.000 description 3
- 229920002530 polyetherether ketone Polymers 0.000 description 3
- 238000007789 sealing Methods 0.000 description 3
- 238000005260 corrosion Methods 0.000 description 2
- 230000007797 corrosion Effects 0.000 description 2
- 238000004519 manufacturing process Methods 0.000 description 2
- 239000000047 product Substances 0.000 description 2
- 239000011265 semifinished product Substances 0.000 description 2
- 238000010521 absorption reaction Methods 0.000 description 1
- 239000012790 adhesive layer Substances 0.000 description 1
- 229920001871 amorphous plastic Polymers 0.000 description 1
- 230000015572 biosynthetic process Effects 0.000 description 1
- 229910010293 ceramic material Inorganic materials 0.000 description 1
- 239000011365 complex material Substances 0.000 description 1
- 238000005538 encapsulation Methods 0.000 description 1
- 238000001125 extrusion Methods 0.000 description 1
- 230000009477 glass transition Effects 0.000 description 1
- 239000004519 grease Substances 0.000 description 1
- 238000010438 heat treatment Methods 0.000 description 1
- 238000001746 injection moulding Methods 0.000 description 1
- 229910052500 inorganic mineral Inorganic materials 0.000 description 1
- 238000003780 insertion Methods 0.000 description 1
- 230000037431 insertion Effects 0.000 description 1
- 238000005304 joining Methods 0.000 description 1
- 238000003475 lamination Methods 0.000 description 1
- 239000010410 layer Substances 0.000 description 1
- 239000007788 liquid Substances 0.000 description 1
- 239000011707 mineral Substances 0.000 description 1
- 230000004048 modification Effects 0.000 description 1
- 238000012986 modification Methods 0.000 description 1
- 238000004080 punching Methods 0.000 description 1
- 230000000717 retained effect Effects 0.000 description 1
- 239000003566 sealing material Substances 0.000 description 1
- 239000000126 substance Substances 0.000 description 1
- 238000005406 washing Methods 0.000 description 1
- XLYOFNOQVPJJNP-UHFFFAOYSA-N water Substances O XLYOFNOQVPJJNP-UHFFFAOYSA-N 0.000 description 1
- 238000003466 welding Methods 0.000 description 1
Images
Classifications
-
- F—MECHANICAL ENGINEERING; LIGHTING; HEATING; WEAPONS; BLASTING
- F16—ENGINEERING ELEMENTS AND UNITS; GENERAL MEASURES FOR PRODUCING AND MAINTAINING EFFECTIVE FUNCTIONING OF MACHINES OR INSTALLATIONS; THERMAL INSULATION IN GENERAL
- F16C—SHAFTS; FLEXIBLE SHAFTS; ELEMENTS OR CRANKSHAFT MECHANISMS; ROTARY BODIES OTHER THAN GEARING ELEMENTS; BEARINGS
- F16C33/00—Parts of bearings; Special methods for making bearings or parts thereof
- F16C33/72—Sealings
- F16C33/76—Sealings of ball or roller bearings
- F16C33/78—Sealings of ball or roller bearings with a diaphragm, disc, or ring, with or without resilient members
- F16C33/7886—Sealings of ball or roller bearings with a diaphragm, disc, or ring, with or without resilient members mounted outside the gap between the inner and outer races, e.g. sealing rings mounted to an end face or outer surface of a race
-
- F—MECHANICAL ENGINEERING; LIGHTING; HEATING; WEAPONS; BLASTING
- F16—ENGINEERING ELEMENTS AND UNITS; GENERAL MEASURES FOR PRODUCING AND MAINTAINING EFFECTIVE FUNCTIONING OF MACHINES OR INSTALLATIONS; THERMAL INSULATION IN GENERAL
- F16C—SHAFTS; FLEXIBLE SHAFTS; ELEMENTS OR CRANKSHAFT MECHANISMS; ROTARY BODIES OTHER THAN GEARING ELEMENTS; BEARINGS
- F16C19/00—Bearings with rolling contact, for exclusively rotary movement
- F16C19/52—Bearings with rolling contact, for exclusively rotary movement with devices affected by abnormal or undesired conditions
-
- F—MECHANICAL ENGINEERING; LIGHTING; HEATING; WEAPONS; BLASTING
- F16—ENGINEERING ELEMENTS AND UNITS; GENERAL MEASURES FOR PRODUCING AND MAINTAINING EFFECTIVE FUNCTIONING OF MACHINES OR INSTALLATIONS; THERMAL INSULATION IN GENERAL
- F16C—SHAFTS; FLEXIBLE SHAFTS; ELEMENTS OR CRANKSHAFT MECHANISMS; ROTARY BODIES OTHER THAN GEARING ELEMENTS; BEARINGS
- F16C33/00—Parts of bearings; Special methods for making bearings or parts thereof
- F16C33/30—Parts of ball or roller bearings
- F16C33/58—Raceways; Race rings
- F16C33/583—Details of specific parts of races
- F16C33/586—Details of specific parts of races outside the space between the races, e.g. end faces or bore of inner ring
-
- F—MECHANICAL ENGINEERING; LIGHTING; HEATING; WEAPONS; BLASTING
- F16—ENGINEERING ELEMENTS AND UNITS; GENERAL MEASURES FOR PRODUCING AND MAINTAINING EFFECTIVE FUNCTIONING OF MACHINES OR INSTALLATIONS; THERMAL INSULATION IN GENERAL
- F16C—SHAFTS; FLEXIBLE SHAFTS; ELEMENTS OR CRANKSHAFT MECHANISMS; ROTARY BODIES OTHER THAN GEARING ELEMENTS; BEARINGS
- F16C33/00—Parts of bearings; Special methods for making bearings or parts thereof
- F16C33/30—Parts of ball or roller bearings
- F16C33/58—Raceways; Race rings
- F16C33/62—Selection of substances
-
- F—MECHANICAL ENGINEERING; LIGHTING; HEATING; WEAPONS; BLASTING
- F16—ENGINEERING ELEMENTS AND UNITS; GENERAL MEASURES FOR PRODUCING AND MAINTAINING EFFECTIVE FUNCTIONING OF MACHINES OR INSTALLATIONS; THERMAL INSULATION IN GENERAL
- F16C—SHAFTS; FLEXIBLE SHAFTS; ELEMENTS OR CRANKSHAFT MECHANISMS; ROTARY BODIES OTHER THAN GEARING ELEMENTS; BEARINGS
- F16C33/00—Parts of bearings; Special methods for making bearings or parts thereof
- F16C33/30—Parts of ball or roller bearings
- F16C33/66—Special parts or details in view of lubrication
-
- F—MECHANICAL ENGINEERING; LIGHTING; HEATING; WEAPONS; BLASTING
- F16—ENGINEERING ELEMENTS AND UNITS; GENERAL MEASURES FOR PRODUCING AND MAINTAINING EFFECTIVE FUNCTIONING OF MACHINES OR INSTALLATIONS; THERMAL INSULATION IN GENERAL
- F16C—SHAFTS; FLEXIBLE SHAFTS; ELEMENTS OR CRANKSHAFT MECHANISMS; ROTARY BODIES OTHER THAN GEARING ELEMENTS; BEARINGS
- F16C33/00—Parts of bearings; Special methods for making bearings or parts thereof
- F16C33/30—Parts of ball or roller bearings
- F16C33/66—Special parts or details in view of lubrication
- F16C33/6603—Special parts or details in view of lubrication with grease as lubricant
- F16C33/6607—Retaining the grease in or near the bearing
- F16C33/6618—Retaining the grease in or near the bearing in a reservoir in the sealing means
-
- F—MECHANICAL ENGINEERING; LIGHTING; HEATING; WEAPONS; BLASTING
- F16—ENGINEERING ELEMENTS AND UNITS; GENERAL MEASURES FOR PRODUCING AND MAINTAINING EFFECTIVE FUNCTIONING OF MACHINES OR INSTALLATIONS; THERMAL INSULATION IN GENERAL
- F16C—SHAFTS; FLEXIBLE SHAFTS; ELEMENTS OR CRANKSHAFT MECHANISMS; ROTARY BODIES OTHER THAN GEARING ELEMENTS; BEARINGS
- F16C33/00—Parts of bearings; Special methods for making bearings or parts thereof
- F16C33/72—Sealings
- F16C33/76—Sealings of ball or roller bearings
-
- F—MECHANICAL ENGINEERING; LIGHTING; HEATING; WEAPONS; BLASTING
- F16—ENGINEERING ELEMENTS AND UNITS; GENERAL MEASURES FOR PRODUCING AND MAINTAINING EFFECTIVE FUNCTIONING OF MACHINES OR INSTALLATIONS; THERMAL INSULATION IN GENERAL
- F16C—SHAFTS; FLEXIBLE SHAFTS; ELEMENTS OR CRANKSHAFT MECHANISMS; ROTARY BODIES OTHER THAN GEARING ELEMENTS; BEARINGS
- F16C2202/00—Solid materials defined by their properties
- F16C2202/30—Electric properties; Magnetic properties
-
- F—MECHANICAL ENGINEERING; LIGHTING; HEATING; WEAPONS; BLASTING
- F16—ENGINEERING ELEMENTS AND UNITS; GENERAL MEASURES FOR PRODUCING AND MAINTAINING EFFECTIVE FUNCTIONING OF MACHINES OR INSTALLATIONS; THERMAL INSULATION IN GENERAL
- F16C—SHAFTS; FLEXIBLE SHAFTS; ELEMENTS OR CRANKSHAFT MECHANISMS; ROTARY BODIES OTHER THAN GEARING ELEMENTS; BEARINGS
- F16C2361/00—Apparatus or articles in engineering in general
- F16C2361/55—Flywheel systems
Landscapes
- Engineering & Computer Science (AREA)
- General Engineering & Computer Science (AREA)
- Mechanical Engineering (AREA)
- Rolling Contact Bearings (AREA)
- Mounting Of Bearings Or Others (AREA)
Applications Claiming Priority (2)
| Application Number | Priority Date | Filing Date | Title |
|---|---|---|---|
| DE102009056349.0 | 2009-11-30 | ||
| DE102009056349A DE102009056349A1 (de) | 2009-11-30 | 2009-11-30 | Wälzlager |
Publications (1)
| Publication Number | Publication Date |
|---|---|
| KR20120104983A true KR20120104983A (ko) | 2012-09-24 |
Family
ID=43500402
Family Applications (1)
| Application Number | Title | Priority Date | Filing Date |
|---|---|---|---|
| KR1020127013786A Withdrawn KR20120104983A (ko) | 2009-11-30 | 2010-10-27 | 전기 절연식 및/또는 열 절연식 구름 베어링 |
Country Status (8)
| Country | Link |
|---|---|
| US (1) | US8764301B2 (enExample) |
| EP (1) | EP2507524A1 (enExample) |
| JP (1) | JP5762433B2 (enExample) |
| KR (1) | KR20120104983A (enExample) |
| CN (1) | CN102639887B (enExample) |
| DE (1) | DE102009056349A1 (enExample) |
| IN (1) | IN2012DN02383A (enExample) |
| WO (1) | WO2011064061A1 (enExample) |
Cited By (2)
| Publication number | Priority date | Publication date | Assignee | Title |
|---|---|---|---|---|
| KR20210122349A (ko) | 2020-03-30 | 2021-10-12 | 셰플러코리아 유한책임회사 | 절연 구름 베어링 |
| KR20230064539A (ko) | 2021-11-01 | 2023-05-10 | 셰플러코리아 유한책임회사 | 절연 구름 베어링 |
Families Citing this family (21)
| Publication number | Priority date | Publication date | Assignee | Title |
|---|---|---|---|---|
| DE102011084952A1 (de) * | 2010-12-07 | 2012-06-14 | Aktiebolaget Skf | Korrosionsgeschütztes Lager |
| CN103883626A (zh) * | 2012-12-24 | 2014-06-25 | 边仁杰 | 有隔热层的水冷轴承座 |
| DE102013001117B4 (de) * | 2013-01-23 | 2015-09-03 | Audi Ag | Radlager für die rotatorische Lagerung einer Radnabe eines Fahrzeugs |
| DE102014202489A1 (de) | 2013-03-12 | 2014-09-18 | Schaeffler Technologies Gmbh & Co. Kg | Zweimassenschwungrad mit einem Wälzlager und Verfahren zu dessen Herstellung |
| US9482269B2 (en) | 2014-09-17 | 2016-11-01 | Roller Bearing Company Of America, Inc. | System for isolating electrical current in a bearing for use in an aircraft structure |
| DE102016204829B3 (de) * | 2016-03-23 | 2017-07-06 | Schaeffler Technologies AG & Co. KG | Synchronträgerkörpereinheit mit einem Synchronkörper und einem Rastelement |
| DE102016217366A1 (de) | 2016-09-13 | 2018-03-15 | Schaeffler Technologies AG & Co. KG | Lagerring mit einer elektrisch isolierenden Beschichtung sowie Verfahren zur Herstellung einer elektrisch isolierenden Beschichtung |
| ES2695500B2 (es) * | 2017-06-30 | 2019-09-10 | Laulagun Bearings Sa | Rodamiento con rigidizador de compensacion de sobresfuerzos |
| DE102017123171B4 (de) * | 2017-10-05 | 2025-10-30 | Schaeffler Technologies AG & Co. KG | Wälzlager |
| US10422384B2 (en) * | 2018-01-25 | 2019-09-24 | Aktiebolaget Skf | Electrical insulating device for bearings |
| CN109854629A (zh) * | 2019-03-28 | 2019-06-07 | 绵阳小巨人动力设备有限公司 | 一种微型涡喷发动机轴承的隔热装置 |
| DE102019211953A1 (de) * | 2019-08-08 | 2021-02-11 | Audi Ag | Radträgereinrichtung und Lagereinrichtung für ein Fahrzeug, insbesondere für ein Kraftfahrzeug, sowie Fahrzeug, insbesondere Kraftfahrzeug |
| DE102019214793A1 (de) * | 2019-09-26 | 2021-04-01 | Zf Friedrichshafen Ag | Anordnung zur Lagerung und Abdichtung einer Rotorwelle |
| JP7421331B2 (ja) * | 2019-12-26 | 2024-01-24 | 川崎重工業株式会社 | ヘリコプターのトランスミッション構造 |
| DE102020106337A1 (de) | 2020-03-09 | 2021-09-09 | Schaeffler Technologies AG & Co. KG | Lageranordnung zur Integration in eine elektrische Antriebsanordnung für ein Fahrzeug und elektrische Antriebsanordnung mit der Lageranordnung |
| US11767884B2 (en) | 2021-10-14 | 2023-09-26 | Schaeffler Technologies AG & Co. KG | Insulating cap for bearing assembly |
| US12289021B2 (en) | 2022-08-09 | 2025-04-29 | Schaeffler Technologies AG & Co. KG | Shunt assembly |
| US12101005B2 (en) | 2022-08-24 | 2024-09-24 | Schaeffler Technologies AG & Co. KG | Electrical shunt device |
| US12158184B2 (en) | 2022-12-02 | 2024-12-03 | Schaeffler Technologies AG & Co. KG | Insulated bearing |
| US12378999B2 (en) | 2022-12-14 | 2025-08-05 | Schaeffler Technologies AG & Co. KG | Insulated bearing |
| US12305712B2 (en) | 2023-03-17 | 2025-05-20 | Schaeffler Technologies AG & Co. KG | Bearing shunt |
Family Cites Families (19)
| Publication number | Priority date | Publication date | Assignee | Title |
|---|---|---|---|---|
| US3672734A (en) * | 1970-07-23 | 1972-06-27 | Bando Kiko Co | Bearing adaptor |
| US4109978A (en) | 1976-10-14 | 1978-08-29 | Electric Machinery Mfg. Co. | Electrically insulated sleeve bearing and method of making same |
| JPS63259216A (ja) * | 1987-04-17 | 1988-10-26 | Nippon Seiko Kk | 転がり軸受 |
| JP2779251B2 (ja) * | 1990-03-26 | 1998-07-23 | エヌティエヌ株式会社 | 電食防止転がり軸受 |
| DE4214655C2 (de) | 1991-06-01 | 2003-02-27 | Luk Lamellen & Kupplungsbau | Wälzlager |
| JPH05321931A (ja) * | 1992-05-25 | 1993-12-07 | Ntn Corp | すきま調整膨張補正軸受用樹脂組成物 |
| JPH07139555A (ja) * | 1993-11-18 | 1995-05-30 | Koyo Seiko Co Ltd | トルク伝達装置 |
| DE19631725B4 (de) * | 1995-09-02 | 2017-01-05 | Schaeffler Technologies AG & Co. KG | Mechanische Sicherung für Bauteile |
| US5961222A (en) * | 1996-03-29 | 1999-10-05 | Nsk Ltd. | Anti-electrolytic corrosion rolling bearing |
| JP3778154B2 (ja) * | 1996-03-29 | 2006-05-24 | 日本精工株式会社 | 電食防止転がり軸受 |
| US5735615A (en) * | 1996-10-04 | 1998-04-07 | Reliance Electric Industrial Company | Insulation arrangement for electrical machine shaft bearing |
| JPH10246238A (ja) * | 1997-03-06 | 1998-09-14 | Ntn Corp | 転がり軸受およびその取付構造 |
| US6513986B2 (en) * | 1999-12-24 | 2003-02-04 | Ntn Corporation | Electrical pittingproof rolling bearing |
| US7071589B2 (en) * | 2001-11-06 | 2006-07-04 | Precor Incorporated | Method and system for reducing bearing fluting in electromechanical machine |
| JP2005133876A (ja) * | 2003-10-31 | 2005-05-26 | Ntn Corp | 電食防止型転がり軸受 |
| DE102005055039A1 (de) | 2005-11-18 | 2007-05-24 | Schaeffler Kg | Wälzlager für eine zwei gegeneinander drehbare Bauteile umfassende Vorrichtung |
| JP2007191203A (ja) * | 2006-01-20 | 2007-08-02 | Nsk Ltd | 転がり軸受の被覆方法 |
| JP4955300B2 (ja) * | 2006-05-01 | 2012-06-20 | Ntn株式会社 | 転がり軸受 |
| US8393791B2 (en) * | 2009-08-17 | 2013-03-12 | The Boeing Company | Bearing side face electrical isolation |
-
2009
- 2009-11-30 DE DE102009056349A patent/DE102009056349A1/de not_active Withdrawn
-
2010
- 2010-10-27 EP EP10773047A patent/EP2507524A1/de not_active Withdrawn
- 2010-10-27 JP JP2012541374A patent/JP5762433B2/ja not_active Expired - Fee Related
- 2010-10-27 KR KR1020127013786A patent/KR20120104983A/ko not_active Withdrawn
- 2010-10-27 CN CN201080054206.2A patent/CN102639887B/zh not_active Expired - Fee Related
- 2010-10-27 US US13/512,736 patent/US8764301B2/en not_active Expired - Fee Related
- 2010-10-27 WO PCT/EP2010/066215 patent/WO2011064061A1/de not_active Ceased
- 2010-10-27 IN IN2383DEN2012 patent/IN2012DN02383A/en unknown
Cited By (2)
| Publication number | Priority date | Publication date | Assignee | Title |
|---|---|---|---|---|
| KR20210122349A (ko) | 2020-03-30 | 2021-10-12 | 셰플러코리아 유한책임회사 | 절연 구름 베어링 |
| KR20230064539A (ko) | 2021-11-01 | 2023-05-10 | 셰플러코리아 유한책임회사 | 절연 구름 베어링 |
Also Published As
| Publication number | Publication date |
|---|---|
| US8764301B2 (en) | 2014-07-01 |
| DE102009056349A1 (de) | 2011-06-01 |
| WO2011064061A1 (de) | 2011-06-03 |
| IN2012DN02383A (enExample) | 2015-08-21 |
| JP5762433B2 (ja) | 2015-08-12 |
| US20120243816A1 (en) | 2012-09-27 |
| EP2507524A1 (de) | 2012-10-10 |
| JP2013512400A (ja) | 2013-04-11 |
| CN102639887B (zh) | 2015-08-19 |
| CN102639887A (zh) | 2012-08-15 |
Similar Documents
| Publication | Publication Date | Title |
|---|---|---|
| KR20120104983A (ko) | 전기 절연식 및/또는 열 절연식 구름 베어링 | |
| ES2927454T3 (es) | Cojinete y conjunto de bisagra | |
| US6830641B2 (en) | Method of making a seal formed from polymer laminated metallic constructions | |
| JP4608300B2 (ja) | 内燃機関用の、クランク軸に対するカム軸の回転角度を調節するためのハイドロリック式の装置 | |
| WO2008005299A3 (en) | Bearing assembly and resilient seal element | |
| US10060482B2 (en) | Joint-site design comprising a hub and a shaft or a gear being friction welded | |
| JP5783966B2 (ja) | 水中摺動部材、及び水中摺動部材の製造方法、並びに水力機械 | |
| CN104551367B (zh) | 具有安装件和焊接件的安装单元及制造安装单元的方法 | |
| CN103925285A (zh) | 轻量轮毂轴承组件及其组装方法 | |
| US20170268674A1 (en) | Method of manufacturing an annular seal | |
| US9028151B2 (en) | Lightweight hub bearing assembly and methods of assembling it | |
| KR20220100706A (ko) | 접촉 표면에서 원하는 슬립 토크를 갖는 두 구성요소 사이에 공차 링을 포함하는 조립체 | |
| JP2010175075A (ja) | 転がり軸受ケージ | |
| CN102656383A (zh) | 外片支架 | |
| CN101784813A (zh) | 用于活塞-缸-组件的活塞和制造方法 | |
| US9989095B2 (en) | Water pump bearing with integrated mechanical seal | |
| US20050191001A1 (en) | Bushing | |
| RU2007139633A (ru) | Труба, способ и инструмент для ее изготовления | |
| US8641285B2 (en) | Sliding bearing, process for producing a sliding bearing and use of a sliding bearing | |
| US20220077551A1 (en) | Rotary joint | |
| JP2008545080A (ja) | プラスチック製冷媒ポンプハウジング内/面においてポンプベアリングを配置するための構造および方法 | |
| CN102852977A (zh) | 闭式碳石墨保持器滚动轴承及制作方法 | |
| JP2008275074A5 (enExample) | ||
| US9863420B2 (en) | Vacuum pump of lightweight construction | |
| KR20160043994A (ko) | 자동차용 강성 압입-맞춤 캡 |
Legal Events
| Date | Code | Title | Description |
|---|---|---|---|
| PA0105 | International application |
Patent event date: 20120529 Patent event code: PA01051R01D Comment text: International Patent Application |
|
| PG1501 | Laying open of application | ||
| PC1203 | Withdrawal of no request for examination | ||
| WITN | Application deemed withdrawn, e.g. because no request for examination was filed or no examination fee was paid |