JP7621680B2 - 自立性容器 - Google Patents

自立性容器 Download PDF

Info

Publication number
JP7621680B2
JP7621680B2 JP2023183045A JP2023183045A JP7621680B2 JP 7621680 B2 JP7621680 B2 JP 7621680B2 JP 2023183045 A JP2023183045 A JP 2023183045A JP 2023183045 A JP2023183045 A JP 2023183045A JP 7621680 B2 JP7621680 B2 JP 7621680B2
Authority
JP
Japan
Prior art keywords
film
seal portion
edge
self
bag body
Prior art date
Legal status (The legal status is an assumption and is not a legal conclusion. Google has not performed a legal analysis and makes no representation as to the accuracy of the status listed.)
Active
Application number
JP2023183045A
Other languages
English (en)
Other versions
JP2023182835A (ja
JP2023182835A5 (ja
Inventor
拓也 田村
政美 杉野
真広 野田
Current Assignee (The listed assignees may be inaccurate. Google has not performed a legal analysis and makes no representation or warranty as to the accuracy of the list.)
Otsuka Pharmaceutical Factory Inc
Original Assignee
Otsuka Pharmaceutical Factory Inc
Priority date (The priority date is an assumption and is not a legal conclusion. Google has not performed a legal analysis and makes no representation as to the accuracy of the date listed.)
Filing date
Publication date
Application filed by Otsuka Pharmaceutical Factory Inc filed Critical Otsuka Pharmaceutical Factory Inc
Priority to JP2023183045A priority Critical patent/JP7621680B2/ja
Publication of JP2023182835A publication Critical patent/JP2023182835A/ja
Publication of JP2023182835A5 publication Critical patent/JP2023182835A5/ja
Application granted granted Critical
Publication of JP7621680B2 publication Critical patent/JP7621680B2/ja
Active legal-status Critical Current
Anticipated expiration legal-status Critical

Links

Images

Landscapes

  • Bag Frames (AREA)
  • Making Paper Articles (AREA)
  • Medical Preparation Storing Or Oral Administration Devices (AREA)

Description

本発明は、プラスチックフィルムからなる自立性容器に関する。
特許文献1は、筒状シートをインフレーション成形し、インフレーション成形後の筒状シート両側をガゼット形状に成形しつつ扁平化されたシート対向面をバッグ外形線に沿って溶着しカットすることにより、ガゼット形状部が底面となり、カットされた幅方向中間部が開口部となるスタンディング型バッグであって、スタンディング型バッグ底部となるインフレーション成形筒状シートの部位は肉薄であり、かつスタンディング型バッグ開口部となるインフレーション成形筒状シートの部位も肉薄である、スタンディング型バッグを開示している。
特許第5619501号公報
しかしながら、特許文献1の発明では、インフレーション成形筒状シートの両側を底面としてスタンディング型バッグを作成するため、スタンディング型バッグの高さの上限が、インフレーション成形筒状シートの両側長さに限定される。
また、高さの低いスタンディングバッグを製造する場合は、両側長さが短いインフレーション成型筒状シートを用意するか、あるいは、インフレーション成形筒状シートの中央部を廃棄して両側部のみを使用することになるため、コストの上昇が不可避となる。
そこで、本発明の目的は、低コストで、種々の大きさの自立性容器を提供することである。
本発明の一実施形態に係る自立性容器は、内部の液体を注出するための口部材と、前記口部材を境界にして一方側および他方側にそれぞれ配置され、上側シール部およびサイドシール部によって互いに接着された第1フィルムおよび第2フィルムと、前記第1フィルムの延長部で構成された底部フィルムとを含み、前記底部フィルムを下側にして水平面に置いたときに自立可能なバッグ本体とを含み、前記底部フィルムは、前記第1フィルムの下縁および前記第2フィルムの下縁にそれぞれ第1縁部および第2縁部を有するように、前記バッグ本体の内方に折り畳まれて設けられており、前記第1フィルムの前記下縁と前記底部フィルムの前記第1縁部との間の折り目部分は、第1底部シール部によって互いに接着されており、前記第2フィルムの前記下縁と前記底部フィルムの前記第2縁部とは、第2底部シール部によって互いに接着されており、前記第2底部シール部の端面は、前記第2フィルムと前記底部フィルムとがシール部によって互いに接着されており、前記第1底部シール部の端面は、前記底部フィルムが折り畳まれて形成されている。
また、本発明の一実施形態に係る自立性容器は、内部の液体を注出するための口部材と、前記口部材を境界にして一方側および他方側にそれぞれ配置され、上側シール部およびサイドシール部によって互いに接着された第1フィルムおよび第2フィルムと、前記第1フィルムの延長部で構成された底部フィルムとを含み、前記底部フィルムを下側にして水平面に置いたときに自立可能なバッグ本体とを含み、前記底部フィルムは、前記第1フィルムの下縁および前記第2フィルムの下縁にそれぞれ第1縁部および第2縁部を有するように、前記バッグ本体の内方に折り畳まれて設けられており、前記第1フィルムの前記下縁と前記底部フィルムの前記第1縁部との間の折り目部分は、第1底部シール部によって互いに接着されており、前記第2フィルムの前記下縁と前記底部フィルムの前記第2縁部とは、第2底部シール部によって互いに接着されており、前記第2底部シール部の端面には、前記第1底部シール部の端面における前記第1フィルムと前記底部フィルムとの境界部に比べて、前記第2フィルムと前記底部フィルムとの境界部が明確に現れている。
そして、本発明の一実施形態に係る自立性容器の製造方法は、第1フィルムと第2フィルムとを含む本体フィルムを、前記第1フィルムの一部が延長部として前記第2フィルムからはみ出るように重ね合わせる工程と、前記第1フィルムおよび前記第2フィルムをヒートシールすることによって上側シール部を形成する工程と、前記上側シール部に連続する前記第1フィルムおよび前記第2フィルムの第1周縁部の一部、ならびに前記上側シール部に連続する前記第1フィルムおよび前記第2フィルムの第2周縁部の一部をヒートシールすることによって、一対の第1サイドシール部を形成する工程と、前記第1フィルムの前記延長部を、前記上側シール部に沿う第1折り目部および第2折り目部を境界に蛇腹状に折り畳み、前記第2折り目部が内側となるように、前記延長部を底部フィルムとして前記第1フィルムと前記第2フィルムとの間に挟む工程と、前記第2フィルムの前記第1周縁部および前記第2周縁部のヒートシールされていない残りの部分、および前記第2折り目部を境界として前記第2フィルム側の前記底部フィルムをヒートシールすることによって第1下側サイドシール部を形成する工程と、前記第1フィルムの前記第1周縁部および前記第2周縁部のヒートシールされていない残りの部分、および前記第2折り目部を境界として前記第1フィルム側の前記底部フィルムをヒートシールすることによって第2下側サイドシール部を形成する工程と、前記第1折り目部をヒートシールすることによって第1底部シール部を形成する工程と、前記第2フィルムの下縁と前記底部フィルムの前記第2フィルム側の縁部との間の開口から前記本体フィルムの内部に液体を注入する工程と、前記第2フィルムの前記下縁および前記底部フィルムの前記縁部をヒートシールすることによって第2底部シール部を形成する工程とを含む。
この製造方法によれば、第1フィルムの延長部の折り畳みによって底部フィルムが形成されるので、筒状インフレーションフィルムの両側が底部フィルムであるという制約がない。したがって、バッグ本体の材料となるフィルムの種類によらず、種々の大きさの自立性容器を作製することができる。その結果、フィルム材料を有効活用し、かつ低コストで自立性容器を提供することができる。
本発明の一実施形態に係る自立性容器の製造方法では、前記第1フィルムおよび前記第2フィルムを重ね合わせる工程は、互いに対向する一対の周縁部を有する前記本体フィルムを、前記一対の周縁部に直交する方向の第3折り目部を折り畳むことによって、前記第3折り目部を境界にして区別された前記第1フィルムおよび前記第2フィルムを重ね合わせる工程を含んでいてもよい。
本発明の一実施形態に係る自立性容器の製造方法では、軸方向一端側および他端側の開口に沿う前記一対の周縁部を有する扁平な筒状のインフレーションフィルムを、前記軸方向に沿って切断することによって前記本体フィルムを形成する工程をさらに含んでいてもよい。
この方法によれば、インフレーションフィルムの押出機で製造される扁平な筒状インフレーションフィルムを、扁平形状の状態から加工することによって自立性容器を形成することができる。つまり、既存のインフレーションフィルム成形装置の巻取りローラで回収した後のインフレーションフィルムを利用して自立性容器を形成することができる。そのため、インフレーションフィルム成形装置を改良することなく、1枚のフィルムから自立性容器を製造することができるので、コストの上昇を抑制することができる。
また、インフレーションフィルムを軸方向に沿って切断するときの位置を調節することによって、互いに長さが異なる2種類の本体フィルムを得ることができる。その結果、1種類のインフレーションフィルムから、互いに大きさが異なる2種類の自立性容器を作製することができる。
また、底部フィルムが、本体フィルム(第1フィルムおよび第2フィルム)と別々のフィルムとして形成されるのではなく、1枚のフィルムから本体フィルムおよび底部フィルムが一体的に形成される。したがって、この点においても、少なくとも2枚のフィルムを使用して自立性容器が形成される場合に比べて、低コストで自立性容器を製造することができる。
また、基本的に、インフレーションフィルムの折り畳みおよびヒートシールによって自立性容器を製造することができるので、製造時に、バッグ本体の内部の無菌性を維持しやすくすることができる。その結果、無菌性の高い自立性容器を製造することができる。
本発明の一実施形態に係る自立性容器では、前記サイドシール部は、前記バッグ本体の前記口部材側に配置され、前記第1フィルムと前記第2フィルムとの2層構造からなる第1サイドシール部と、前記第1サイドシール部に連続した第2サイドシール部であって、折り畳まれて2層構造となっている前記底部フィルムと、前記底部フィルムを両側から挟む前記第1フィルムおよび前記第2フィルムとの4層構造からなる第2サイドシール部とを含んでいてもよい。
本発明の一実施形態に係る自立性容器では、前記第2底部シール部は、選択的に突出して形成され、前記バッグ本体を吊り下げるための貫通孔を有する吊り下げ部を含んでいてもよい。
この構成によれば、自立性容器をスタンド等に吊り下げて使用することができる。
本発明の一実施形態に係る自立性容器は、前記バッグ本体に薬液が収容された医療用自立性容器を含んでいてもよい。
本発明の一実施形態に係る自立性容器の製造方法は、前記第1フィルムの前記延長部を折り畳む工程に先立って、前記第1折り目部および前記第2折り目部に熱を加えることによって、前記第1折り目部および前記第2折り目部のフィルム材料を軟化させる工程をさらに含んでいてもよい。
この方法によれば、第1折り目部および第2折り目部のフィルム材料が軟化しているので、第1フィルムの延長部を折り畳む工程を効率よく行うことができる。
本発明の一実施形態に係る自立性容器の製造方法では、前記第1下側サイドシール部を形成する工程は、前記第2フィルムの下縁と前記底部フィルムの前記第2フィルム側の縁部とをずらした状態で前記第1下側サイドシール部を形成する工程を含んでいてもよい。
この方法によれば、本体フィルムの内部に液体を注入する際に、第2フィルムと底部フィルムとの間を簡単に開けることができる。
本発明の一実施形態に係る自立性容器の製造方法では、前記第1フィルムの前記延長部を折り畳む工程は、前記第2フィルムおよび前記底部フィルムの重ね合わせ部分が第2延長部として、前記第1折り目部で構成される前記第1フィルムの下縁よりもはみ出るように、前記延長部を折り畳む工程を含み、前記第2底部シール部を形成する工程は、前記自立性容器を吊り下げるための貫通孔を有する吊り下げ部を有するパターンで、前記第2底部シール部を形成する工程を含んでいてもよい。
本発明の一実施形態に係る自立性容器の製造方法は、前記第1下側サイドシール部および前記第2下側サイドシール部を重ね合わせてヒートシールすることによって、折り畳まれて2層構造となっている前記底部フィルムと、前記底部フィルムを両側から挟む前記第1フィルムおよび前記第2フィルムとの4層構造からなるサイドシール部を形成する工程をさらに含んでいてもよい。
図1は、本発明の一実施形態に係る自立性容器の模式的な斜視図である。 図2は、本発明の一実施形態に係る自立性容器の模式的な正面図である。 図3は、本発明の一実施形態に係る自立性容器の模式的な断面図であって、図2のIII-III断面を示す図である。 図4は、本発明の一実施形態に係る自立性容器の模式的な断面図であって、図2のIV-IV断面を示す図である。 図5は、本発明の一実施形態に係る自立性容器の模式的な底面図である。 図6Aおよび図6Bは、前記自立性容器の製造工程の一部を示す図である。 図7Aおよび図7Bは、図6Aおよび図6Bの次の工程を示す図である。 図8Aおよび図8Bは、図7Aおよび図7Bの次の工程を示す図である。 図9Aおよび図9Bは、図8Aおよび図8Bの次の工程を示す図である。 図10Aおよび図10Bは、図9Aおよび図9Bの次の工程を示す図である。 図11Aおよび図11Bは、図10Aおよび図10Bの次の工程を示す図である。 図12は、図11Aおよび図11Bの次の工程を示す図である。 図13Aおよび図13Bは、図11Aおよび図11Bの次の工程を示す図である。 図14Aおよび図14Bは、図12、図13Aおよび図13Bの次の工程を示す図である。 図15Aおよび図15Bは、図14Aおよび図14Bの次の工程を示す図である。 図16Aおよび図16Bは、図15Aおよび図15Bの次の工程を示す図である。 図17Aおよび図17Bは、前記自立性容器の製造工程の一部を示す図である。 図18Aおよび図18Bは、図17Aおよび図17Bの次の工程を示す図である。 図19Aおよび図19Bは、図18Aおよび図18Bの次の工程を示す図である。
以下では、本発明の実施の形態を、添付図面を参照して詳細に説明する。
図1は、本発明の一実施形態に係る自立性容器1の模式的な斜視図である。図2は、本発明の一実施形態に係る自立性容器1の模式的な正面図である。図3は、本発明の一実施形態に係る自立性容器1の模式的な断面図であって、図2のIII-III断面を示す図である。図4は、本発明の一実施形態に係る自立性容器1の模式的な断面図であって、図2のIV-IV断面を示す図である。図5は、本発明の一実施形態に係る自立性容器1の模式的な底面図である。
自立性容器1は、内部に液体を収容し、水平面に置いたときに自立可能なバッグ本体2と、バッグ本体2の内部の収容室4の液体を注出するための口部材3とを含む。この実施形態では、自立性容器1は、収容室4に薬液5が収容された医療用自立性容器1である。
バッグ本体2は、プラスチックフィルムを用いて形成されている。使用されるフィルムの材料としては、プラスチックであれば特に制限されず、例えば、ポリエチレン、ポリプロピレン、ポリ(4-メチルペンテン)、ポリテトラフルオロエチレン等のポリオレフィン系樹脂、エチレン-テトラシクロドデセン等のポリ環状オレフィン系樹脂等が挙げられ、好ましくは、ポリエチレン、ポリプロピレンが挙げられる。ポリエチレンやポリプロピレン等のポリオレフィン系樹脂は、様々な薬液に対する溶出性が概ね低く、しかも汎用プラスチックである。そのため、薬液への不純物の溶出を抑制することができると共に、バッグ本体2のコストダウンを図ることができる。
また、使用されるフィルムの材料は、単独使用または2種以上併用することができる。また、バッグ本体2は、単一の層構造に形成してもよいし、複数の樹脂が積層された多層構造に形成してもよい。
また、使用されるフィルムの厚さは、例えば、150μm~300μmであってもよい。また、収容室4に収容される薬液5としては、例えば、輸液等の医療用薬液であってもよい。
バッグ本体2は、口部材3を境界にして一方側および他方側(図1では、それぞれ、紙面前面側および紙面背面側に相当する)にそれぞれ配置され、上側シール部6およびサイドシール部7によって互いに接着された第1フィルム8および第2フィルム9と、第1フィルム8の延長部で構成された底部フィルム10とを含み、底部フィルム10を下側にして水平面に置いたときに自立可能となっている。
第1フィルム8および第2フィルム9は、それぞれ、やや縦長の矩形状に形成されている。第1フィルム8および第2フィルム9の上側縁部(口部材3が取り付けられた縁部)が、上側シール部6によって閉塞されている。
上側シール部6には、第1フィルム8と第2フィルム9との間に口部材3が挟まれることによって、口部材3が固定されている。
底部フィルム10は、第1フィルム8の延長部で構成されている。言い換えれば、底部フィルム10は、第1底部シール部20(後述)によって第1フィルム8から区別されるフィルムであるが、第1フィルム8から一体的に連続するフィルムである。
底部フィルム10は、図3に示すように、第1フィルム8の下縁13および第2フィルム9の下縁14にそれぞれ第1縁部15および第2縁部16を有するように、バッグ本体2の内方に折り畳まれて設けられている。
底部フィルム10は、収容室4に突出するように2つに折り畳まれており、その折り目部17は、図5に示すように、一方のサイドシール部7と他方のサイドシール部7との間にわたって形成されている。これにより、バッグ本体2のガゼット形状の底面が形成され、薬液5の重量によって底部フィルム10の折り目部17が広げられることで自立可能となる。
また、底部フィルム10は、折り目部17を境界に、第1フィルム8側の第1部分18および第2フィルム9側の第2部分19を有していてもよい。
また、第1フィルム8の下縁13と底部フィルム10の第1縁部15との間の折り目部は、第1底部シール部20によって互いに接着されている。一方、第2フィルム9の下縁14と底部フィルム10の第2縁部16とは、第2底部シール部21によって互いに接着されている。
第1底部シール部20および第2底部シール部21は、図2に示すように、その内縁22が収容室4の外側に膨らむドーム状となるように、収容室4の外側に向かって湾曲して形成されている。したがって、第1底部シール部20および第2底部シール部21は、一対のサイドシール部7の双方から、第1底部シール部20および第2底部シール部21の中央部に向かって幅が徐々に狭くなり、中央部において幅が最小となっている。
また、第2底部シール部21には、第2フィルム9と底部フィルム10との境界部32から選択的に突出し、バッグ本体2を吊り下げるための貫通孔23を有する吊り下げ部24が形成されている。
サイドシール部7は、第1サイドシール部25と、第1サイドシール部25に連続する第2サイドシール部26とを含む。
第1サイドシール部25は、図4に示すように、バッグ本体2の口部材3側に配置され、第1フィルム8と第2フィルム9との2層構造からなっている。一方、第2サイドシール部26は、折り畳まれて2層構造となっている底部フィルム10と、底部フィルム10を両側から挟む第1フィルム8および第2フィルム9との4層構造からなっている。
口部材3は、筒状の本体27と、本体27の内部に設けられたゴム栓28とを含む。
本体27は、例えばプラスチック製であり、相対的に径が大きい大径部29と、大径部29よりも小さな径を有する小径部30とを一体的に有している。ゴム栓28は、本体27の小径部30を閉塞するように小径部30に嵌め込まれている。
そして、この実施形態では、バッグ本体2の底部フィルム10が、底部フィルム10と一体である第1フィルム8の折り畳みによって形成されているため、各ヒートシール部における端面状態が一律に同じではない。
つまり、第1フィルム8、第2フィルム9および底部フィルム10が、互いに分離されたフィルムである場合には、ヒートシール部は、いずれも、少なくとも2枚のフィルムの端縁同士の重ね合わせ部分に施される。そのため、当該ヒートシール部の端面状態は、少なくとも2枚のフィルムの境界部が明確に現れる状態となる。この実施形態では、図5に示すように、第2底部シール部21は、折り目部分で繋がっているわけではなく、第2フィルム9の下縁14と底部フィルム10の第2縁部16との重ね合わせ部分に施されるものである。そのため、第2フィルム9と底部フィルム10との境界部32が明確に現れる状態となる。
一方、第1底部シール部20は、第1フィルム8の下縁13と底部フィルム10の第1縁部15との間の折り目部に施されるものである。そのため、第2底部シール部21に比べて、第1フィルム8と底部フィルム10との境界部33が明確に現れるものではない。言い換えれば、第2底部シール部21の端面34には、第1底部シール部20の端面35の境界部33に比べて、第2フィルム9と底部フィルム10との境界部32が明確に現れている。例えば、第2底部シール部21の境界部32は、その端面34に露出するようにはっきり視認できてもよく、第1底部シール部20の境界部33は、その端面35から露出せず、端面35よりも奥側(収容室4側)に薄く視認できる程度であってもよい。
同様に、上側シール部6およびサイドシール部7は、いずれも、第1フィルム8、第2フィルム9および底部フィルム10の端縁同士の重ね合わせ部分に施されるものである。したがって、図1に示すように、上側シール部6の端面37およびサイドシール部7の端面36には、それぞれ、第1フィルム8、第2フィルム9および底部フィルム10の境界部38,39が明確に現れている。
図6Aおよび図6B~図16Aおよび図16Bは、自立性容器1の製造工程の一部を工程順に示す図である。なお、図6Aおよび図6B~図16Aおよび図16Bにおいて示した断面図は、自立性容器1の特定位置での断面を示しているものではなく、説明の便宜上、必要な構成を優先的に表した図である。
自立性容器1を製造するには、まず、図6Aおよび図6Bに示すように、第1フィルム8と、第1フィルム8よりも短い第2フィルム9とを、第1フィルム8の一部が延長部58として第2フィルム9からはみ出るように重ね合わせる。第1フィルム8および第2フィルム9は、自立性容器1のバッグ本体2を構成する本体フィルム56であり、互いに対向する第1周縁部44および第2周縁部45を有している。
次に、図7Aおよび図7Bに示すように、第1フィルム8および第2フィルム9の周縁部57において、第1フィルム8と第2フィルム9との間に口部材3が挟み込まれる。そして、第1フィルム8および第2フィルム9の周縁部57がヒートシールされることによって、上側シール部6が形成される。
次に、図8Aおよび図8Bに示すように、第1フィルム8および第2フィルム9の第1周縁部44の一部、ならびに第1フィルム8および第2フィルム9の第2周縁部45の一部が、金型61で加熱される。
これにより、第1フィルム8および第2フィルム9がヒートシールされ、上側シール部6および上側シール部6に連続する第1サイドシール部25が形成される。なお、上側シール部6および一対の第1サイドシール部25は、製造効率の関係上、同時に形成することもできる。
次に、図9Aおよび図9Bに示すように、第1フィルム8の第1サイドシール部25よりも延長部58側の所定位置に、第1折り目部59および第2折り目部60が形成される。第1折り目部59は、第1フィルム8における第2フィルム9に対向する領域に形成され、第2折り目部60は、第1フィルム8の延長部58に形成される。
より具体的には、上側シール部6に沿うように、第1フィルム8が選択的に金型63で加熱されることによってフィルム材料が軟化する。これにより、第1フィルム8の幅方向一端から他端まで至る線状の第1折り目部59および第2折り目部60が形成される。なお、本体フィルム56が比較的薄いフィルムで構成されている場合には、第1折り目部59および第2折り目部60のフィルム材料を軟化させなくてもよい。
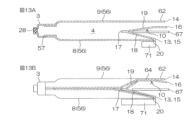
次に、図10Aおよび図10Bに示すように、第1フィルム8の延長部58が、第1折り目部59および第2折り目部60を境界に蛇腹状に折り畳まれ、第2折り目部60が内側となるように、底部フィルム10として第1フィルム8と第2フィルム9との間に挟まれる。この際、先の工程で第1折り目部59および第2折り目部60のフィルム材料が軟化していれば、第1フィルム8の延長部58を折り畳む工程を効率よく行うことができる。
また、この工程では、第2フィルム9および底部フィルム10の重ね合わせ部分が第2延長部62として、第1折り目部59で構成される第1フィルム8の下縁13よりもはみ出るように(突出するように)、第1フィルム8の延長部58が折り畳まれる。
次に、図11Aおよび図11Bに示すように、第2フィルム9の第1周縁部44および第2周縁部45のヒートシールされていない残りの部分、および底部フィルム10の第2部分19が金型69で加熱される。これにより、第2フィルム9および底部フィルム10がヒートシールされ、第1サイドシール部25に連続する第1下側サイドシール部64が形成される。
このとき、第2フィルム9の下縁14と底部フィルム10の第2縁部16とをずらした状態(例えば、底部フィルム10の第2縁部16が、第2フィルム9の下縁14よりも突出した状態)で、第1下側サイドシール部64を形成することが好ましい。これにより、後述する本体フィルム56の内部に薬液5を注入する際に、第2フィルム9と底部フィルム10との間を簡単に開けることができる。第2フィルム9と底部フィルム10とをずらす作業は、前述の第1フィルム8の延長部58の折り畳み工程で行ってもよい。
また、図11Bに示すように、ヒートシールの際、底部フィルム10の第1部分18と第2部分19との間に遮熱板65を入れておけば、金型69からの熱を遮熱板65で遮断できるので、この工程でヒートシールする必要のない第1フィルム8と底部フィルム10の第1部分18とがヒートシールされることを防止することができる。
次に、図12、図13Aおよび図13Bに示すように、第1フィルム8の第1周縁部44および第2周縁部45のヒートシールされていない残りの部分、底部フィルム10の第1部分18、ならびに第1折り目部59が金型71で加熱される。これにより、第1フィルム8および底部フィルム10がヒートシールされ、第2下側サイドシール部66および第1底部シール部20が同時に形成される。なお、第2下側サイドシール部66および第1底部シール部20は、製造効率の関係上、同時に形成したが、別々の金型を用いて別工程で形成することもできる。
このヒートシールのときも、図13Aおよび図13Bに示すように、底部フィルム10の第1部分18と第2部分との間に遮熱板67を入れておけば、金型71からの熱を遮熱板67で遮断でき、底部フィルム10の第2部分19側に余計な熱が伝わることを防止することができる。特に、この工程では、第2フィルム9の下縁14と底部フィルム10の第2縁部16との間をヒートシールせずに、薬液5の注入のための開口として確保しておく必要があるため、遮熱板67を用いることが好ましい。
次に、図14Aおよび図14Bに示すように、第2フィルム9の下縁14と底部フィルム10の第2縁部16との間の開口68から、本体フィルム56の内部に薬液5が注入される。
次に、図15Aおよび図15Bに示すように、第2フィルム9の下縁14および底部フィルム10の第2縁部16が、金型72で加熱される。これにより、第2フィルム9および底部フィルム10がヒートシールされ、第2底部シール部21が形成される。このとき、第2底部シール部21は、第2延長部62に貫通孔23を有する吊り下げ部24を有するパターンで形成される。その後、第2底部シール部21および吊り下げ部24以外の第2フィルム9および底部フィルム10が、打ち抜きによって取り除かれる。
また、このヒートシールのときも、図15Bに示すように、底部フィルム10の第1部分18と第2部分19との間に遮熱板70を入れておけば、金型72からの熱を遮熱板70で遮断でき、底部フィルム10の第1部分18側に余計な熱が伝わることを防止することができる。
次に、図16Aおよび図16Bに示すように、第1下側サイドシール部64および第2下側サイドシール部66を重ね合わせて、金型73で加熱される。これにより、第1下側サイドシール部64および第2下側サイドシール部66がヒートシールされ、第2サイドシール部26が形成される。以上の工程を経て、前述の自立性容器1が得られる。
以上の方法によれば、第1フィルム8の延長部58の折り畳みによって底部フィルム10が形成される(図10A参照)。そのため、従来のように、筒状インフレーションフィルムの両側が底部フィルムであるという制約がない。したがって、バッグ本体2の材料となるフィルムの種類によらず、種々の大きさの自立性容器1を作製することができる。その結果、フィルム材料を有効活用し、かつ低コストで自立性容器を提供することができる。
なお、自立性容器1は、第1フィルム8および第2フィルム9の2枚のフィルムから作製してもよいが、1枚のインフレーションフィルムから作製することもできる。
その場合、まず、図17Aおよび図17Bに示すように、扁平な筒状のインフレーションフィルム40に、第1目印41および第2目印42が設けられる。第1目印41および第2目印42は、例えば、熱溶着や超音波溶着など公知の手段によってインフレーションフィルム40に接着された口部材であってもよい。
より具体的には、インフレーションフィルム40は、軸方向一端側の開口43に沿う第1周縁部44と、第1周縁部44に直交する第3周縁部46および第4周縁部47を有しており、第3周縁部46および第4周縁部47が折り目部となるように2つに折り畳まれている。第3周縁部46および第4周縁部47は、インフレーションフィルム40の幅方向において互いに対向している。
そして、インフレーションフィルム40の一方側の外表面49において、第3周縁部46と第4周縁部47との間の中間部48よりも第3周縁部46側の第1領域51に、第1目印41が設けられる。一方、第2目印42は、インフレーションフィルム40の他方側の外表面50において、第3周縁部46と第4周縁部47との間の中間部48よりも第4周縁部47側の第2領域52に設けられる。第1目印41および第2目印42は、インフレーションフィルム40の長さ方向に沿って、所定の間隔を空けて順に設けられる。
その後、第1目印41および第2目印42が1つずつ含まれるように、インフレーションフィルム40が幅方向に沿って切断される。これにより、第1目印41および第2目印42を1つずつ備えるインフレーションフィルム40が得られる。切り出されたインフレーションフィルム40は、軸方向他端側の開口53に沿い、インフレーションフィルム40の軸方向において第1周縁部44と対向する第2周縁部45を備えている。
次に、図18Aおよび図18Bに示すように、インフレーションフィルム40が、第1目印41および第2目印42をそれぞれ含む第1本体フィルム54および第2本体フィルム55に切断される。
より具体的には、例えば中間部48に沿って第1領域51および第2領域52を分けるようにインフレーションフィルム40が切断される。これにより、第1目印41を備える第1本体フィルム54と、第2目印42を備える第2本体フィルム55とが得られる。なお、以下では、第1目印41を備える第1本体フィルム54、および第2目印42を備える第2本体フィルム55を纏めて、本体フィルム56として説明する。
次に、図19Aおよび図19Bに示すように、予め定めた第3折り目部74を境界にして区別された本体フィルム56の第1フィルム8と第2フィルム9とを、第1フィルム8の一部が延長部58として第2フィルム9からはみ出るように重ね合わせる。
この実施形態では、図17Aおよび図17Bの工程において、インフレーションフィルム40の第3周縁部46および第4周縁部47から内側に離した位置に第1目印41および第2目印42を取り付けたため、第1目印41および第2目印42の位置を境界にして、当該位置から切断部(中間部48)までの距離が長い領域と短い領域とに分けられる。したがって、第1目印41および第2目印42の位置を第3折り目部74として本体フィルム56を折り畳むことによって、本体フィルム56の長い領域を第1フィルム8、短い領域を第2フィルム9として簡単に区別することができる。
そして、第1フィルム8および第2フィルム9の第3折り目部74、第1フィルム8および第2フィルム9の第1周縁部44の一部、ならびに第1フィルム8および第2フィルム9の第2周縁部45の一部が、金型61で加熱される。
これにより、第1フィルム8および第2フィルム9がヒートシールされ、上側シール部6および上側シール部6に連続する第1サイドシール部25が同時に形成される。なお、上側シール部6および一対の第1サイドシール部25は、製造効率の関係上、同時に形成したが、別々の金型を用いて別工程で形成することもできる。
その後は、図9A,9B~図16A,16Bと同様の工程を経ることによって、自立性容器1が得られる。
以上の方法によれば、インフレーションフィルム40の押出機で製造される扁平な筒状インフレーションフィルム40を、扁平形状の状態から加工することによって自立性容器1を形成することができる。
つまり、既存のインフレーションフィルム成形装置の巻取りローラで回収した後のインフレーションフィルム40を利用して自立性容器1を形成することができる。そのため、インフレーションフィルム成形装置を改良することなく、1枚のフィルムから自立性容器1を製造することができるので、コストの上昇を抑制することができる。
また、インフレーションフィルム40を軸方向に沿って切断するときの位置を調節することによって、互いに長さが異なる2種類の本体フィルム54,55を得ることができる。たとえば、図18Aの切断線75の位置のように、切断位置を中間部48よりも第4周縁部47側にずらせば、第3周縁部46側で相対的に長い第1本体フィルム54を得ることができ、第4周縁部47側で第1本体フィルム54よりも相対的に短い第2本体フィルム55を得ることができる。その結果、1種類のインフレーションフィルム40から、互いに大きさが異なる2種類の自立性容器1を作製することができる。
また、底部フィルム10が、本体フィルム56(第1フィルム8および第2フィルム9)と別々のフィルムとして形成されるのではなく、1枚のフィルムから本体フィルム56および底部フィルム10が一体的に形成される。したがって、この点においても、少なくとも2枚のフィルムを使用して自立性容器1が形成される場合に比べて、低コストで自立性容器1を製造することができる。
また、基本的に、インフレーションフィルム40の折り畳みおよびヒートシールによって自立性容器1を製造することができるので、製造時に、バッグ本体2の内部の無菌性を維持しやすくすることができる。その結果、無菌性の高い自立性容器1を製造することができる。
以上、本発明の一実施形態を説明したが、本発明は、他の形態で実施することもできる。
例えば、図17A,17B~図19A,19Bに示した工程を含む自立性容器1の製造方法を、インフレーションフィルム40ではなく、例えばTダイ成形等の他のフィルム成形法によって得られた2枚のフィルムを貼り合わせた後に、インフレーションフィルム40と同様にして行うこともできる。
例えば、自立性容器1に収容される液体は、薬液5の他、飲料等であってもよい。
その他、特許請求の範囲に記載された事項の範囲で種々の設計変更を施すことが可能である。
1 自立性容器
2 バッグ本体
3 口部材
4 収容室
5 薬液
6 上側シール部
7 サイドシール部
8 第1フィルム
9 第2フィルム
10 底部フィルム
13 (第1フィルムの)下縁
14 (第2フィルムの)下縁
15 (底部フィルムの)第1縁部
16 (底部フィルムの)第2縁部
17 折り目部
18 (底部フィルムの)第1部分
19 (底部フィルムの)第2部分
20 第1底部シール部
21 第2底部シール部
22 内縁
23 貫通孔
24 吊り下げ部
25 第1サイドシール部
26 第2サイドシール部
27 本体
28 ゴム栓
29 大径部
30 小径部
31 空間
32 (第2底部シール部の)境界部
33 (第1底部シール部の)境界部
34 (第2底部シール部の)端面
35 (第1底部シール部の)端面
36 (サイドシール部の)端面
37 (上側シール部の)端面
38 (上側シール部の)境界部
39 (サイドシール部の)境界部
40 インフレーションフィルム
41 第1目印
42 第2目印
43 (インフレーションフィルムの)開口
44 (インフレーションフィルムの)第1周縁部
45 インフレーションフィルムの)第2周縁部
46 (インフレーションフィルムの)第3周縁部
47 (インフレーションフィルムの)第4周縁部
48 中間部
49 一方側の外表面
50 他方側の外表面
51 第1領域
52 第2領域
53 (インフレーションフィルムの)開口
54 第1本体フィルム
55 第2本体フィルム
56 本体フィルム
57 周縁部
58 (第1フィルムの)延長部
59 第2折り目部
60 第3折り目部
61 金型
62 第2延長部
63 金型
64 第1下側サイドシール部
65 遮熱板
66 第2下側サイドシール部
67 遮熱板
68 開口
69 金型
70 遮熱板
71 金型
72 金型
73 金型
74 第3折り目部
75 切断線

Claims (5)

  1. 内部の液体を注出するための口部材と、
    前記口部材を境界にして一方側および他方側にそれぞれ配置され、上側シール部およびサイドシール部によって互いに接着された第1フィルムおよび第2フィルムと、前記第1フィルムの延長部で構成された底部フィルムとを含み、前記底部フィルムを下側にして水平面に置いたときに自立可能なバッグ本体と
    前記バッグ本体の内部の収容室に収容された液体とを含み、
    前記底部フィルムは、前記第1フィルムの下縁および前記第2フィルムの下縁にそれぞれ第1縁部および第2縁部を有するように、前記バッグ本体の内方に折り畳まれて設けられており、
    前記第1フィルムの前記下縁と前記底部フィルムの前記第1縁部との間の折り目部分は、第1底部シール部によって互いに接着されており、
    前記第2フィルムの前記下縁と前記底部フィルムの前記第2縁部とは、第2底部シール部によって互いに接着されており、
    前記第2底部シール部の端面は、前記第2フィルムと前記底部フィルムとがシール部によって互いに接着されており、
    前記第1底部シール部の端面は、前記底部フィルムが折り畳まれて形成されており、
    前記底部フィルムは、前記収容室に突出するように、一方の前記サイドシール部と他方の前記サイドシール部との間にわたって形成された底部折り目部において2つに折り畳まれており、
    前記バッグ本体は、前記液体の重量によって前記底部折り目部が広げられることで自立可能となる、自立性容器。
  2. 内部の液体を注出するための口部材と、
    前記口部材を境界にして一方側および他方側にそれぞれ配置され、上側シール部およびサイドシール部によって互いに接着された第1フィルムおよび第2フィルムと、前記第1フィルムの延長部で構成された底部フィルムとを含み、前記底部フィルムを下側にして水平面に置いたときに自立可能なバッグ本体と
    前記バッグ本体の内部の収容室に収容された液体とを含み、
    前記底部フィルムは、前記第1フィルムの下縁および前記第2フィルムの下縁にそれぞれ第1縁部および第2縁部を有するように、前記バッグ本体の内方に折り畳まれて設けられており、
    前記第1フィルムの前記下縁と前記底部フィルムの前記第1縁部との間の折り目部分は、第1底部シール部によって互いに接着されており、
    前記第2フィルムの前記下縁と前記底部フィルムの前記第2縁部とは、第2底部シール部によって互いに接着されており、
    前記第2底部シール部の端面には、前記第1底部シール部の端面における前記第1フィルムと前記底部フィルムとの境界部に比べて、前記第2フィルムと前記底部フィルムとの境界部が明確に現れており、
    前記底部フィルムは、前記収容室に突出するように、一方の前記サイドシール部と他方の前記サイドシール部との間にわたって形成された底部折り目部において2つに折り畳まれており、
    前記バッグ本体は、前記液体の重量によって前記底部折り目部が広げられることで自立可能となる、自立性容器。
  3. 前記サイドシール部は、
    前記バッグ本体の前記口部材側に配置され、前記第1フィルムと前記第2フィルムとの2層構造からなる第1サイドシール部と、
    前記第1サイドシール部に連続した第2サイドシール部であって、折り畳まれて2層構造となっている前記底部フィルムと、前記底部フィルムを両側から挟む前記第1フィルムおよび前記第2フィルムとの4層構造からなる第2サイドシール部とを含む、請求項1または2に記載の自立性容器。
  4. 前記第2底部シール部は、選択的に突出して形成され、前記バッグ本体を吊り下げるための貫通孔を有する吊り下げ部を含む、請求項1~3のいずれか一項に記載の自立性容器。
  5. 前記バッグ本体の前記収容室前記液体として薬液が収容された医療用自立性容器を含む、請求項1~4のいずれか一項に記載の自立性容器。
JP2023183045A 2019-04-09 2023-10-25 自立性容器 Active JP7621680B2 (ja)

Priority Applications (1)

Application Number Priority Date Filing Date Title
JP2023183045A JP7621680B2 (ja) 2019-04-09 2023-10-25 自立性容器

Applications Claiming Priority (2)

Application Number Priority Date Filing Date Title
JP2019074311A JP7378762B2 (ja) 2019-04-09 2019-04-09 自立性容器および自立性容器の製造方法
JP2023183045A JP7621680B2 (ja) 2019-04-09 2023-10-25 自立性容器

Related Parent Applications (1)

Application Number Title Priority Date Filing Date
JP2019074311A Division JP7378762B2 (ja) 2019-04-09 2019-04-09 自立性容器および自立性容器の製造方法

Publications (3)

Publication Number Publication Date
JP2023182835A JP2023182835A (ja) 2023-12-26
JP2023182835A5 JP2023182835A5 (ja) 2024-01-11
JP7621680B2 true JP7621680B2 (ja) 2025-01-27

Family

ID=72830727

Family Applications (2)

Application Number Title Priority Date Filing Date
JP2019074311A Active JP7378762B2 (ja) 2019-04-09 2019-04-09 自立性容器および自立性容器の製造方法
JP2023183045A Active JP7621680B2 (ja) 2019-04-09 2023-10-25 自立性容器

Family Applications Before (1)

Application Number Title Priority Date Filing Date
JP2019074311A Active JP7378762B2 (ja) 2019-04-09 2019-04-09 自立性容器および自立性容器の製造方法

Country Status (1)

Country Link
JP (2) JP7378762B2 (ja)

Citations (5)

* Cited by examiner, † Cited by third party
Publication number Priority date Publication date Assignee Title
JP2013500890A (ja) 2009-08-04 2013-01-10 ヴォルパク エス エー ユー 可撓材製パッケージ並びにその連続製造方法及びマシン
WO2013054824A1 (ja) 2011-10-11 2013-04-18 味の素株式会社 スタンディングバッグ型輸液容器
JP2013124135A (ja) 2011-12-16 2013-06-24 Ajinomoto Co Inc パウチ容器
WO2018012542A1 (ja) 2016-07-14 2018-01-18 トタニ技研工業株式会社 製袋機及びプラスチック袋の製造方法
US20180360415A1 (en) 2017-06-15 2018-12-20 HR Pharmaceuticals, Inc. Ultrasound Gel Container

Family Cites Families (4)

* Cited by examiner, † Cited by third party
Publication number Priority date Publication date Assignee Title
JPH057641U (ja) * 1991-07-12 1993-02-02 株式会社大塚製薬工場 輸液バツグ
JPH0872896A (ja) * 1994-09-05 1996-03-19 Dainippon Printing Co Ltd 自立型包装体
JP5619501B2 (ja) * 2010-07-20 2014-11-05 エイワイファーマ株式会社 スタンディング型バッグ製造方法及びスタンディング型バッグ
JP6046520B2 (ja) 2013-02-26 2016-12-14 押尾産業株式会社 充填方法

Patent Citations (5)

* Cited by examiner, † Cited by third party
Publication number Priority date Publication date Assignee Title
JP2013500890A (ja) 2009-08-04 2013-01-10 ヴォルパク エス エー ユー 可撓材製パッケージ並びにその連続製造方法及びマシン
WO2013054824A1 (ja) 2011-10-11 2013-04-18 味の素株式会社 スタンディングバッグ型輸液容器
JP2013124135A (ja) 2011-12-16 2013-06-24 Ajinomoto Co Inc パウチ容器
WO2018012542A1 (ja) 2016-07-14 2018-01-18 トタニ技研工業株式会社 製袋機及びプラスチック袋の製造方法
US20180360415A1 (en) 2017-06-15 2018-12-20 HR Pharmaceuticals, Inc. Ultrasound Gel Container

Also Published As

Publication number Publication date
JP2023182835A (ja) 2023-12-26
JP7378762B2 (ja) 2023-11-14
JP2020172277A (ja) 2020-10-22

Similar Documents

Publication Publication Date Title
CN103201095B (zh) 包装袋及其制造方法
JP2003034338A (ja) ジッパ袋及びその製造方法
CN101878163A (zh) 叠层膜的端面构造及端面处理方法、以及经过该端面处理的液体排出嘴及其制造方法
JP4231989B2 (ja) 自立袋及びその製造方法
JP6889994B2 (ja) 注出口付き包装袋
AU2017361365B2 (en) Self-standing bag and method for manufacturing same
JP6349653B2 (ja) ジッパー付パウチおよびその製造方法
JP7621680B2 (ja) 自立性容器
JP5049537B2 (ja) 自立袋
CN110753663B (zh) 带嘴包装袋及其制造方法、以及装有内容物的带嘴包装袋
JP5000168B2 (ja) スタンディングパウチの製造方法およびその方法で製造されたスタンディングパウチ
JP4074001B2 (ja) 自立性パウチ
JP2011006115A (ja) 包装袋およびその製造方法
JP3819188B2 (ja) 液体容器とその製造方法
US20240278508A1 (en) A method for manufacturing a pouch for holding therein a liquid
JP5306707B2 (ja) ガゼット型パウチ容器の製造方法
JP6797558B2 (ja) 包装袋およびその製造方法
JP6250326B2 (ja) パウチ容器
JP6626317B2 (ja) スパウト付きガゼット袋およびその製造方法
JP2003095287A (ja) 詰め替え用袋包装品
JP6902836B2 (ja) 注出口付き包装袋及びその製造方法
JP5459114B2 (ja) 包装袋の製造方法
JP6307812B2 (ja) 液体用包装袋の製造方法
JP7028571B2 (ja) ガゼット袋体
JP2012017150A (ja) 液体注出ノズル

Legal Events

Date Code Title Description
A621 Written request for application examination

Free format text: JAPANESE INTERMEDIATE CODE: A621

Effective date: 20231122

A521 Request for written amendment filed

Free format text: JAPANESE INTERMEDIATE CODE: A523

Effective date: 20231227

A977 Report on retrieval

Free format text: JAPANESE INTERMEDIATE CODE: A971007

Effective date: 20241025

TRDD Decision of grant or rejection written
A01 Written decision to grant a patent or to grant a registration (utility model)

Free format text: JAPANESE INTERMEDIATE CODE: A01

Effective date: 20241212

A61 First payment of annual fees (during grant procedure)

Free format text: JAPANESE INTERMEDIATE CODE: A61

Effective date: 20250107

R150 Certificate of patent or registration of utility model

Ref document number: 7621680

Country of ref document: JP

Free format text: JAPANESE INTERMEDIATE CODE: R150