JP7586848B2 - アンケージングステント - Google Patents

アンケージングステント Download PDF

Info

Publication number
JP7586848B2
JP7586848B2 JP2022051468A JP2022051468A JP7586848B2 JP 7586848 B2 JP7586848 B2 JP 7586848B2 JP 2022051468 A JP2022051468 A JP 2022051468A JP 2022051468 A JP2022051468 A JP 2022051468A JP 7586848 B2 JP7586848 B2 JP 7586848B2
Authority
JP
Japan
Prior art keywords
stent
degradable
scaffold
expansion
rings
Prior art date
Legal status (The legal status is an assumption and is not a legal conclusion. Google has not performed a legal analysis and makes no representation as to the accuracy of the status listed.)
Active
Application number
JP2022051468A
Other languages
English (en)
Other versions
JP2022076014A (ja
Inventor
サーハン モタシム
ヤン ジョン
バート ビナヤク
パラスチャク ジョセフ
クライヤー ブレット
セルナ ベンジャミン
Original Assignee
エリクシアー メディカル コーポレイション
Priority date (The priority date is an assumption and is not a legal conclusion. Google has not performed a legal analysis and makes no representation as to the accuracy of the date listed.)
Filing date
Publication date
Application filed by エリクシアー メディカル コーポレイション filed Critical エリクシアー メディカル コーポレイション
Publication of JP2022076014A publication Critical patent/JP2022076014A/ja
Application granted granted Critical
Publication of JP7586848B2 publication Critical patent/JP7586848B2/ja
Active legal-status Critical Current
Anticipated expiration legal-status Critical

Links

Images

Classifications

    • AHUMAN NECESSITIES
    • A61MEDICAL OR VETERINARY SCIENCE; HYGIENE
    • A61FFILTERS IMPLANTABLE INTO BLOOD VESSELS; PROSTHESES; DEVICES PROVIDING PATENCY TO, OR PREVENTING COLLAPSING OF, TUBULAR STRUCTURES OF THE BODY, e.g. STENTS; ORTHOPAEDIC, NURSING OR CONTRACEPTIVE DEVICES; FOMENTATION; TREATMENT OR PROTECTION OF EYES OR EARS; BANDAGES, DRESSINGS OR ABSORBENT PADS; FIRST-AID KITS
    • A61F2/00Filters implantable into blood vessels; Prostheses, i.e. artificial substitutes or replacements for parts of the body; Appliances for connecting them with the body; Devices providing patency to, or preventing collapsing of, tubular structures of the body, e.g. stents
    • AHUMAN NECESSITIES
    • A61MEDICAL OR VETERINARY SCIENCE; HYGIENE
    • A61FFILTERS IMPLANTABLE INTO BLOOD VESSELS; PROSTHESES; DEVICES PROVIDING PATENCY TO, OR PREVENTING COLLAPSING OF, TUBULAR STRUCTURES OF THE BODY, e.g. STENTS; ORTHOPAEDIC, NURSING OR CONTRACEPTIVE DEVICES; FOMENTATION; TREATMENT OR PROTECTION OF EYES OR EARS; BANDAGES, DRESSINGS OR ABSORBENT PADS; FIRST-AID KITS
    • A61F2/00Filters implantable into blood vessels; Prostheses, i.e. artificial substitutes or replacements for parts of the body; Appliances for connecting them with the body; Devices providing patency to, or preventing collapsing of, tubular structures of the body, e.g. stents
    • A61F2/02Prostheses implantable into the body
    • A61F2/04Hollow or tubular parts of organs, e.g. bladders, tracheae, bronchi or bile ducts
    • A61F2/06Blood vessels
    • AHUMAN NECESSITIES
    • A61MEDICAL OR VETERINARY SCIENCE; HYGIENE
    • A61FFILTERS IMPLANTABLE INTO BLOOD VESSELS; PROSTHESES; DEVICES PROVIDING PATENCY TO, OR PREVENTING COLLAPSING OF, TUBULAR STRUCTURES OF THE BODY, e.g. STENTS; ORTHOPAEDIC, NURSING OR CONTRACEPTIVE DEVICES; FOMENTATION; TREATMENT OR PROTECTION OF EYES OR EARS; BANDAGES, DRESSINGS OR ABSORBENT PADS; FIRST-AID KITS
    • A61F2/00Filters implantable into blood vessels; Prostheses, i.e. artificial substitutes or replacements for parts of the body; Appliances for connecting them with the body; Devices providing patency to, or preventing collapsing of, tubular structures of the body, e.g. stents
    • A61F2/82Devices providing patency to, or preventing collapsing of, tubular structures of the body, e.g. stents
    • AHUMAN NECESSITIES
    • A61MEDICAL OR VETERINARY SCIENCE; HYGIENE
    • A61FFILTERS IMPLANTABLE INTO BLOOD VESSELS; PROSTHESES; DEVICES PROVIDING PATENCY TO, OR PREVENTING COLLAPSING OF, TUBULAR STRUCTURES OF THE BODY, e.g. STENTS; ORTHOPAEDIC, NURSING OR CONTRACEPTIVE DEVICES; FOMENTATION; TREATMENT OR PROTECTION OF EYES OR EARS; BANDAGES, DRESSINGS OR ABSORBENT PADS; FIRST-AID KITS
    • A61F2/00Filters implantable into blood vessels; Prostheses, i.e. artificial substitutes or replacements for parts of the body; Appliances for connecting them with the body; Devices providing patency to, or preventing collapsing of, tubular structures of the body, e.g. stents
    • A61F2/82Devices providing patency to, or preventing collapsing of, tubular structures of the body, e.g. stents
    • A61F2/86Stents in a form characterised by the wire-like elements; Stents in the form characterised by a net-like or mesh-like structure
    • A61F2/89Stents in a form characterised by the wire-like elements; Stents in the form characterised by a net-like or mesh-like structure the wire-like elements comprising two or more adjacent rings flexibly connected by separate members
    • AHUMAN NECESSITIES
    • A61MEDICAL OR VETERINARY SCIENCE; HYGIENE
    • A61FFILTERS IMPLANTABLE INTO BLOOD VESSELS; PROSTHESES; DEVICES PROVIDING PATENCY TO, OR PREVENTING COLLAPSING OF, TUBULAR STRUCTURES OF THE BODY, e.g. STENTS; ORTHOPAEDIC, NURSING OR CONTRACEPTIVE DEVICES; FOMENTATION; TREATMENT OR PROTECTION OF EYES OR EARS; BANDAGES, DRESSINGS OR ABSORBENT PADS; FIRST-AID KITS
    • A61F2/00Filters implantable into blood vessels; Prostheses, i.e. artificial substitutes or replacements for parts of the body; Appliances for connecting them with the body; Devices providing patency to, or preventing collapsing of, tubular structures of the body, e.g. stents
    • A61F2/82Devices providing patency to, or preventing collapsing of, tubular structures of the body, e.g. stents
    • A61F2/86Stents in a form characterised by the wire-like elements; Stents in the form characterised by a net-like or mesh-like structure
    • A61F2/90Stents in a form characterised by the wire-like elements; Stents in the form characterised by a net-like or mesh-like structure characterised by a net-like or mesh-like structure
    • AHUMAN NECESSITIES
    • A61MEDICAL OR VETERINARY SCIENCE; HYGIENE
    • A61FFILTERS IMPLANTABLE INTO BLOOD VESSELS; PROSTHESES; DEVICES PROVIDING PATENCY TO, OR PREVENTING COLLAPSING OF, TUBULAR STRUCTURES OF THE BODY, e.g. STENTS; ORTHOPAEDIC, NURSING OR CONTRACEPTIVE DEVICES; FOMENTATION; TREATMENT OR PROTECTION OF EYES OR EARS; BANDAGES, DRESSINGS OR ABSORBENT PADS; FIRST-AID KITS
    • A61F2/00Filters implantable into blood vessels; Prostheses, i.e. artificial substitutes or replacements for parts of the body; Appliances for connecting them with the body; Devices providing patency to, or preventing collapsing of, tubular structures of the body, e.g. stents
    • A61F2/82Devices providing patency to, or preventing collapsing of, tubular structures of the body, e.g. stents
    • A61F2/86Stents in a form characterised by the wire-like elements; Stents in the form characterised by a net-like or mesh-like structure
    • A61F2/90Stents in a form characterised by the wire-like elements; Stents in the form characterised by a net-like or mesh-like structure characterised by a net-like or mesh-like structure
    • A61F2/91Stents in a form characterised by the wire-like elements; Stents in the form characterised by a net-like or mesh-like structure characterised by a net-like or mesh-like structure made from perforated sheets or tubes, e.g. perforated by laser cuts or etched holes
    • AHUMAN NECESSITIES
    • A61MEDICAL OR VETERINARY SCIENCE; HYGIENE
    • A61FFILTERS IMPLANTABLE INTO BLOOD VESSELS; PROSTHESES; DEVICES PROVIDING PATENCY TO, OR PREVENTING COLLAPSING OF, TUBULAR STRUCTURES OF THE BODY, e.g. STENTS; ORTHOPAEDIC, NURSING OR CONTRACEPTIVE DEVICES; FOMENTATION; TREATMENT OR PROTECTION OF EYES OR EARS; BANDAGES, DRESSINGS OR ABSORBENT PADS; FIRST-AID KITS
    • A61F2/00Filters implantable into blood vessels; Prostheses, i.e. artificial substitutes or replacements for parts of the body; Appliances for connecting them with the body; Devices providing patency to, or preventing collapsing of, tubular structures of the body, e.g. stents
    • A61F2/82Devices providing patency to, or preventing collapsing of, tubular structures of the body, e.g. stents
    • A61F2/86Stents in a form characterised by the wire-like elements; Stents in the form characterised by a net-like or mesh-like structure
    • A61F2/90Stents in a form characterised by the wire-like elements; Stents in the form characterised by a net-like or mesh-like structure characterised by a net-like or mesh-like structure
    • A61F2/91Stents in a form characterised by the wire-like elements; Stents in the form characterised by a net-like or mesh-like structure characterised by a net-like or mesh-like structure made from perforated sheets or tubes, e.g. perforated by laser cuts or etched holes
    • A61F2/915Stents in a form characterised by the wire-like elements; Stents in the form characterised by a net-like or mesh-like structure characterised by a net-like or mesh-like structure made from perforated sheets or tubes, e.g. perforated by laser cuts or etched holes with bands having a meander structure, adjacent bands being connected to each other
    • AHUMAN NECESSITIES
    • A61MEDICAL OR VETERINARY SCIENCE; HYGIENE
    • A61FFILTERS IMPLANTABLE INTO BLOOD VESSELS; PROSTHESES; DEVICES PROVIDING PATENCY TO, OR PREVENTING COLLAPSING OF, TUBULAR STRUCTURES OF THE BODY, e.g. STENTS; ORTHOPAEDIC, NURSING OR CONTRACEPTIVE DEVICES; FOMENTATION; TREATMENT OR PROTECTION OF EYES OR EARS; BANDAGES, DRESSINGS OR ABSORBENT PADS; FIRST-AID KITS
    • A61F2/00Filters implantable into blood vessels; Prostheses, i.e. artificial substitutes or replacements for parts of the body; Appliances for connecting them with the body; Devices providing patency to, or preventing collapsing of, tubular structures of the body, e.g. stents
    • A61F2/02Prostheses implantable into the body
    • A61F2/24Heart valves ; Vascular valves, e.g. venous valves; Heart implants, e.g. passive devices for improving the function of the native valve or the heart muscle; Transmyocardial revascularisation [TMR] devices; Valves implantable in the body
    • A61F2/2442Annuloplasty rings or inserts for correcting the valve shape; Implants for improving the function of a native heart valve
    • AHUMAN NECESSITIES
    • A61MEDICAL OR VETERINARY SCIENCE; HYGIENE
    • A61FFILTERS IMPLANTABLE INTO BLOOD VESSELS; PROSTHESES; DEVICES PROVIDING PATENCY TO, OR PREVENTING COLLAPSING OF, TUBULAR STRUCTURES OF THE BODY, e.g. STENTS; ORTHOPAEDIC, NURSING OR CONTRACEPTIVE DEVICES; FOMENTATION; TREATMENT OR PROTECTION OF EYES OR EARS; BANDAGES, DRESSINGS OR ABSORBENT PADS; FIRST-AID KITS
    • A61F2/00Filters implantable into blood vessels; Prostheses, i.e. artificial substitutes or replacements for parts of the body; Appliances for connecting them with the body; Devices providing patency to, or preventing collapsing of, tubular structures of the body, e.g. stents
    • A61F2/02Prostheses implantable into the body
    • A61F2/04Hollow or tubular parts of organs, e.g. bladders, tracheae, bronchi or bile ducts
    • A61F2/06Blood vessels
    • A61F2/07Stent-grafts
    • A61F2002/075Stent-grafts the stent being loosely attached to the graft material, e.g. by stitching
    • AHUMAN NECESSITIES
    • A61MEDICAL OR VETERINARY SCIENCE; HYGIENE
    • A61FFILTERS IMPLANTABLE INTO BLOOD VESSELS; PROSTHESES; DEVICES PROVIDING PATENCY TO, OR PREVENTING COLLAPSING OF, TUBULAR STRUCTURES OF THE BODY, e.g. STENTS; ORTHOPAEDIC, NURSING OR CONTRACEPTIVE DEVICES; FOMENTATION; TREATMENT OR PROTECTION OF EYES OR EARS; BANDAGES, DRESSINGS OR ABSORBENT PADS; FIRST-AID KITS
    • A61F2/00Filters implantable into blood vessels; Prostheses, i.e. artificial substitutes or replacements for parts of the body; Appliances for connecting them with the body; Devices providing patency to, or preventing collapsing of, tubular structures of the body, e.g. stents
    • A61F2/82Devices providing patency to, or preventing collapsing of, tubular structures of the body, e.g. stents
    • A61F2002/825Devices providing patency to, or preventing collapsing of, tubular structures of the body, e.g. stents having longitudinal struts
    • AHUMAN NECESSITIES
    • A61MEDICAL OR VETERINARY SCIENCE; HYGIENE
    • A61FFILTERS IMPLANTABLE INTO BLOOD VESSELS; PROSTHESES; DEVICES PROVIDING PATENCY TO, OR PREVENTING COLLAPSING OF, TUBULAR STRUCTURES OF THE BODY, e.g. STENTS; ORTHOPAEDIC, NURSING OR CONTRACEPTIVE DEVICES; FOMENTATION; TREATMENT OR PROTECTION OF EYES OR EARS; BANDAGES, DRESSINGS OR ABSORBENT PADS; FIRST-AID KITS
    • A61F2/00Filters implantable into blood vessels; Prostheses, i.e. artificial substitutes or replacements for parts of the body; Appliances for connecting them with the body; Devices providing patency to, or preventing collapsing of, tubular structures of the body, e.g. stents
    • A61F2/82Devices providing patency to, or preventing collapsing of, tubular structures of the body, e.g. stents
    • A61F2/86Stents in a form characterised by the wire-like elements; Stents in the form characterised by a net-like or mesh-like structure
    • A61F2/90Stents in a form characterised by the wire-like elements; Stents in the form characterised by a net-like or mesh-like structure characterised by a net-like or mesh-like structure
    • A61F2/91Stents in a form characterised by the wire-like elements; Stents in the form characterised by a net-like or mesh-like structure characterised by a net-like or mesh-like structure made from perforated sheets or tubes, e.g. perforated by laser cuts or etched holes
    • A61F2/915Stents in a form characterised by the wire-like elements; Stents in the form characterised by a net-like or mesh-like structure characterised by a net-like or mesh-like structure made from perforated sheets or tubes, e.g. perforated by laser cuts or etched holes with bands having a meander structure, adjacent bands being connected to each other
    • A61F2002/9155Adjacent bands being connected to each other
    • A61F2002/91558Adjacent bands being connected to each other connected peak to peak
    • AHUMAN NECESSITIES
    • A61MEDICAL OR VETERINARY SCIENCE; HYGIENE
    • A61FFILTERS IMPLANTABLE INTO BLOOD VESSELS; PROSTHESES; DEVICES PROVIDING PATENCY TO, OR PREVENTING COLLAPSING OF, TUBULAR STRUCTURES OF THE BODY, e.g. STENTS; ORTHOPAEDIC, NURSING OR CONTRACEPTIVE DEVICES; FOMENTATION; TREATMENT OR PROTECTION OF EYES OR EARS; BANDAGES, DRESSINGS OR ABSORBENT PADS; FIRST-AID KITS
    • A61F2/00Filters implantable into blood vessels; Prostheses, i.e. artificial substitutes or replacements for parts of the body; Appliances for connecting them with the body; Devices providing patency to, or preventing collapsing of, tubular structures of the body, e.g. stents
    • A61F2/82Devices providing patency to, or preventing collapsing of, tubular structures of the body, e.g. stents
    • A61F2/86Stents in a form characterised by the wire-like elements; Stents in the form characterised by a net-like or mesh-like structure
    • A61F2/90Stents in a form characterised by the wire-like elements; Stents in the form characterised by a net-like or mesh-like structure characterised by a net-like or mesh-like structure
    • A61F2/91Stents in a form characterised by the wire-like elements; Stents in the form characterised by a net-like or mesh-like structure characterised by a net-like or mesh-like structure made from perforated sheets or tubes, e.g. perforated by laser cuts or etched holes
    • A61F2/915Stents in a form characterised by the wire-like elements; Stents in the form characterised by a net-like or mesh-like structure characterised by a net-like or mesh-like structure made from perforated sheets or tubes, e.g. perforated by laser cuts or etched holes with bands having a meander structure, adjacent bands being connected to each other
    • A61F2002/9155Adjacent bands being connected to each other
    • A61F2002/91566Adjacent bands being connected to each other connected trough to trough
    • AHUMAN NECESSITIES
    • A61MEDICAL OR VETERINARY SCIENCE; HYGIENE
    • A61FFILTERS IMPLANTABLE INTO BLOOD VESSELS; PROSTHESES; DEVICES PROVIDING PATENCY TO, OR PREVENTING COLLAPSING OF, TUBULAR STRUCTURES OF THE BODY, e.g. STENTS; ORTHOPAEDIC, NURSING OR CONTRACEPTIVE DEVICES; FOMENTATION; TREATMENT OR PROTECTION OF EYES OR EARS; BANDAGES, DRESSINGS OR ABSORBENT PADS; FIRST-AID KITS
    • A61F2/00Filters implantable into blood vessels; Prostheses, i.e. artificial substitutes or replacements for parts of the body; Appliances for connecting them with the body; Devices providing patency to, or preventing collapsing of, tubular structures of the body, e.g. stents
    • A61F2/82Devices providing patency to, or preventing collapsing of, tubular structures of the body, e.g. stents
    • A61F2/86Stents in a form characterised by the wire-like elements; Stents in the form characterised by a net-like or mesh-like structure
    • A61F2/90Stents in a form characterised by the wire-like elements; Stents in the form characterised by a net-like or mesh-like structure characterised by a net-like or mesh-like structure
    • A61F2/91Stents in a form characterised by the wire-like elements; Stents in the form characterised by a net-like or mesh-like structure characterised by a net-like or mesh-like structure made from perforated sheets or tubes, e.g. perforated by laser cuts or etched holes
    • A61F2/915Stents in a form characterised by the wire-like elements; Stents in the form characterised by a net-like or mesh-like structure characterised by a net-like or mesh-like structure made from perforated sheets or tubes, e.g. perforated by laser cuts or etched holes with bands having a meander structure, adjacent bands being connected to each other
    • A61F2002/9155Adjacent bands being connected to each other
    • A61F2002/91575Adjacent bands being connected to each other connected peak to trough
    • AHUMAN NECESSITIES
    • A61MEDICAL OR VETERINARY SCIENCE; HYGIENE
    • A61FFILTERS IMPLANTABLE INTO BLOOD VESSELS; PROSTHESES; DEVICES PROVIDING PATENCY TO, OR PREVENTING COLLAPSING OF, TUBULAR STRUCTURES OF THE BODY, e.g. STENTS; ORTHOPAEDIC, NURSING OR CONTRACEPTIVE DEVICES; FOMENTATION; TREATMENT OR PROTECTION OF EYES OR EARS; BANDAGES, DRESSINGS OR ABSORBENT PADS; FIRST-AID KITS
    • A61F2/00Filters implantable into blood vessels; Prostheses, i.e. artificial substitutes or replacements for parts of the body; Appliances for connecting them with the body; Devices providing patency to, or preventing collapsing of, tubular structures of the body, e.g. stents
    • A61F2/82Devices providing patency to, or preventing collapsing of, tubular structures of the body, e.g. stents
    • A61F2/86Stents in a form characterised by the wire-like elements; Stents in the form characterised by a net-like or mesh-like structure
    • A61F2/90Stents in a form characterised by the wire-like elements; Stents in the form characterised by a net-like or mesh-like structure characterised by a net-like or mesh-like structure
    • A61F2/91Stents in a form characterised by the wire-like elements; Stents in the form characterised by a net-like or mesh-like structure characterised by a net-like or mesh-like structure made from perforated sheets or tubes, e.g. perforated by laser cuts or etched holes
    • A61F2/915Stents in a form characterised by the wire-like elements; Stents in the form characterised by a net-like or mesh-like structure characterised by a net-like or mesh-like structure made from perforated sheets or tubes, e.g. perforated by laser cuts or etched holes with bands having a meander structure, adjacent bands being connected to each other
    • A61F2002/9155Adjacent bands being connected to each other
    • A61F2002/91591Locking connectors, e.g. using male-female connections
    • AHUMAN NECESSITIES
    • A61MEDICAL OR VETERINARY SCIENCE; HYGIENE
    • A61FFILTERS IMPLANTABLE INTO BLOOD VESSELS; PROSTHESES; DEVICES PROVIDING PATENCY TO, OR PREVENTING COLLAPSING OF, TUBULAR STRUCTURES OF THE BODY, e.g. STENTS; ORTHOPAEDIC, NURSING OR CONTRACEPTIVE DEVICES; FOMENTATION; TREATMENT OR PROTECTION OF EYES OR EARS; BANDAGES, DRESSINGS OR ABSORBENT PADS; FIRST-AID KITS
    • A61F2210/00Particular material properties of prostheses classified in groups A61F2/00 - A61F2/26 or A61F2/82 or A61F9/00 or A61F11/00 or subgroups thereof
    • A61F2210/0004Particular material properties of prostheses classified in groups A61F2/00 - A61F2/26 or A61F2/82 or A61F9/00 or A61F11/00 or subgroups thereof bioabsorbable
    • AHUMAN NECESSITIES
    • A61MEDICAL OR VETERINARY SCIENCE; HYGIENE
    • A61FFILTERS IMPLANTABLE INTO BLOOD VESSELS; PROSTHESES; DEVICES PROVIDING PATENCY TO, OR PREVENTING COLLAPSING OF, TUBULAR STRUCTURES OF THE BODY, e.g. STENTS; ORTHOPAEDIC, NURSING OR CONTRACEPTIVE DEVICES; FOMENTATION; TREATMENT OR PROTECTION OF EYES OR EARS; BANDAGES, DRESSINGS OR ABSORBENT PADS; FIRST-AID KITS
    • A61F2210/00Particular material properties of prostheses classified in groups A61F2/00 - A61F2/26 or A61F2/82 or A61F9/00 or A61F11/00 or subgroups thereof
    • A61F2210/0014Particular material properties of prostheses classified in groups A61F2/00 - A61F2/26 or A61F2/82 or A61F9/00 or A61F11/00 or subgroups thereof using shape memory or superelastic materials, e.g. nitinol
    • AHUMAN NECESSITIES
    • A61MEDICAL OR VETERINARY SCIENCE; HYGIENE
    • A61FFILTERS IMPLANTABLE INTO BLOOD VESSELS; PROSTHESES; DEVICES PROVIDING PATENCY TO, OR PREVENTING COLLAPSING OF, TUBULAR STRUCTURES OF THE BODY, e.g. STENTS; ORTHOPAEDIC, NURSING OR CONTRACEPTIVE DEVICES; FOMENTATION; TREATMENT OR PROTECTION OF EYES OR EARS; BANDAGES, DRESSINGS OR ABSORBENT PADS; FIRST-AID KITS
    • A61F2210/00Particular material properties of prostheses classified in groups A61F2/00 - A61F2/26 or A61F2/82 or A61F9/00 or A61F11/00 or subgroups thereof
    • A61F2210/0076Particular material properties of prostheses classified in groups A61F2/00 - A61F2/26 or A61F2/82 or A61F9/00 or A61F11/00 or subgroups thereof multilayered, e.g. laminated structures
    • AHUMAN NECESSITIES
    • A61MEDICAL OR VETERINARY SCIENCE; HYGIENE
    • A61FFILTERS IMPLANTABLE INTO BLOOD VESSELS; PROSTHESES; DEVICES PROVIDING PATENCY TO, OR PREVENTING COLLAPSING OF, TUBULAR STRUCTURES OF THE BODY, e.g. STENTS; ORTHOPAEDIC, NURSING OR CONTRACEPTIVE DEVICES; FOMENTATION; TREATMENT OR PROTECTION OF EYES OR EARS; BANDAGES, DRESSINGS OR ABSORBENT PADS; FIRST-AID KITS
    • A61F2220/00Fixations or connections for prostheses classified in groups A61F2/00 - A61F2/26 or A61F2/82 or A61F9/00 or A61F11/00 or subgroups thereof
    • A61F2220/0025Connections or couplings between prosthetic parts, e.g. between modular parts; Connecting elements
    • A61F2220/0033Connections or couplings between prosthetic parts, e.g. between modular parts; Connecting elements made by longitudinally pushing a protrusion into a complementary-shaped recess, e.g. held by friction fit
    • AHUMAN NECESSITIES
    • A61MEDICAL OR VETERINARY SCIENCE; HYGIENE
    • A61FFILTERS IMPLANTABLE INTO BLOOD VESSELS; PROSTHESES; DEVICES PROVIDING PATENCY TO, OR PREVENTING COLLAPSING OF, TUBULAR STRUCTURES OF THE BODY, e.g. STENTS; ORTHOPAEDIC, NURSING OR CONTRACEPTIVE DEVICES; FOMENTATION; TREATMENT OR PROTECTION OF EYES OR EARS; BANDAGES, DRESSINGS OR ABSORBENT PADS; FIRST-AID KITS
    • A61F2220/00Fixations or connections for prostheses classified in groups A61F2/00 - A61F2/26 or A61F2/82 or A61F9/00 or A61F11/00 or subgroups thereof
    • A61F2220/0025Connections or couplings between prosthetic parts, e.g. between modular parts; Connecting elements
    • A61F2220/0091Connections or couplings between prosthetic parts, e.g. between modular parts; Connecting elements connected by a hinged linkage mechanism, e.g. of the single-bar or multi-bar linkage type
    • AHUMAN NECESSITIES
    • A61MEDICAL OR VETERINARY SCIENCE; HYGIENE
    • A61FFILTERS IMPLANTABLE INTO BLOOD VESSELS; PROSTHESES; DEVICES PROVIDING PATENCY TO, OR PREVENTING COLLAPSING OF, TUBULAR STRUCTURES OF THE BODY, e.g. STENTS; ORTHOPAEDIC, NURSING OR CONTRACEPTIVE DEVICES; FOMENTATION; TREATMENT OR PROTECTION OF EYES OR EARS; BANDAGES, DRESSINGS OR ABSORBENT PADS; FIRST-AID KITS
    • A61F2230/00Geometry of prostheses classified in groups A61F2/00 - A61F2/26 or A61F2/82 or A61F9/00 or A61F11/00 or subgroups thereof
    • A61F2230/0002Two-dimensional shapes, e.g. cross-sections
    • A61F2230/0004Rounded shapes, e.g. with rounded corners
    • A61F2230/0006Rounded shapes, e.g. with rounded corners circular
    • AHUMAN NECESSITIES
    • A61MEDICAL OR VETERINARY SCIENCE; HYGIENE
    • A61FFILTERS IMPLANTABLE INTO BLOOD VESSELS; PROSTHESES; DEVICES PROVIDING PATENCY TO, OR PREVENTING COLLAPSING OF, TUBULAR STRUCTURES OF THE BODY, e.g. STENTS; ORTHOPAEDIC, NURSING OR CONTRACEPTIVE DEVICES; FOMENTATION; TREATMENT OR PROTECTION OF EYES OR EARS; BANDAGES, DRESSINGS OR ABSORBENT PADS; FIRST-AID KITS
    • A61F2230/00Geometry of prostheses classified in groups A61F2/00 - A61F2/26 or A61F2/82 or A61F9/00 or A61F11/00 or subgroups thereof
    • A61F2230/0002Two-dimensional shapes, e.g. cross-sections
    • A61F2230/0004Rounded shapes, e.g. with rounded corners
    • A61F2230/0008Rounded shapes, e.g. with rounded corners elliptical or oval
    • AHUMAN NECESSITIES
    • A61MEDICAL OR VETERINARY SCIENCE; HYGIENE
    • A61FFILTERS IMPLANTABLE INTO BLOOD VESSELS; PROSTHESES; DEVICES PROVIDING PATENCY TO, OR PREVENTING COLLAPSING OF, TUBULAR STRUCTURES OF THE BODY, e.g. STENTS; ORTHOPAEDIC, NURSING OR CONTRACEPTIVE DEVICES; FOMENTATION; TREATMENT OR PROTECTION OF EYES OR EARS; BANDAGES, DRESSINGS OR ABSORBENT PADS; FIRST-AID KITS
    • A61F2230/00Geometry of prostheses classified in groups A61F2/00 - A61F2/26 or A61F2/82 or A61F9/00 or A61F11/00 or subgroups thereof
    • A61F2230/0002Two-dimensional shapes, e.g. cross-sections
    • A61F2230/0004Rounded shapes, e.g. with rounded corners
    • A61F2230/001Figure-8-shaped, e.g. hourglass-shaped
    • AHUMAN NECESSITIES
    • A61MEDICAL OR VETERINARY SCIENCE; HYGIENE
    • A61FFILTERS IMPLANTABLE INTO BLOOD VESSELS; PROSTHESES; DEVICES PROVIDING PATENCY TO, OR PREVENTING COLLAPSING OF, TUBULAR STRUCTURES OF THE BODY, e.g. STENTS; ORTHOPAEDIC, NURSING OR CONTRACEPTIVE DEVICES; FOMENTATION; TREATMENT OR PROTECTION OF EYES OR EARS; BANDAGES, DRESSINGS OR ABSORBENT PADS; FIRST-AID KITS
    • A61F2230/00Geometry of prostheses classified in groups A61F2/00 - A61F2/26 or A61F2/82 or A61F9/00 or A61F11/00 or subgroups thereof
    • A61F2230/0063Three-dimensional shapes
    • A61F2230/0069Three-dimensional shapes cylindrical
    • AHUMAN NECESSITIES
    • A61MEDICAL OR VETERINARY SCIENCE; HYGIENE
    • A61FFILTERS IMPLANTABLE INTO BLOOD VESSELS; PROSTHESES; DEVICES PROVIDING PATENCY TO, OR PREVENTING COLLAPSING OF, TUBULAR STRUCTURES OF THE BODY, e.g. STENTS; ORTHOPAEDIC, NURSING OR CONTRACEPTIVE DEVICES; FOMENTATION; TREATMENT OR PROTECTION OF EYES OR EARS; BANDAGES, DRESSINGS OR ABSORBENT PADS; FIRST-AID KITS
    • A61F2250/00Special features of prostheses classified in groups A61F2/00 - A61F2/26 or A61F2/82 or A61F9/00 or A61F11/00 or subgroups thereof
    • A61F2250/0014Special features of prostheses classified in groups A61F2/00 - A61F2/26 or A61F2/82 or A61F9/00 or A61F11/00 or subgroups thereof having different values of a given property or geometrical feature, e.g. mechanical property or material property, at different locations within the same prosthesis
    • A61F2250/003Special features of prostheses classified in groups A61F2/00 - A61F2/26 or A61F2/82 or A61F9/00 or A61F11/00 or subgroups thereof having different values of a given property or geometrical feature, e.g. mechanical property or material property, at different locations within the same prosthesis differing in adsorbability or resorbability, i.e. in adsorption or resorption time
    • A61F2250/0031Special features of prostheses classified in groups A61F2/00 - A61F2/26 or A61F2/82 or A61F9/00 or A61F11/00 or subgroups thereof having different values of a given property or geometrical feature, e.g. mechanical property or material property, at different locations within the same prosthesis differing in adsorbability or resorbability, i.e. in adsorption or resorption time made from both resorbable and non-resorbable prosthetic parts, e.g. adjacent parts
    • AHUMAN NECESSITIES
    • A61MEDICAL OR VETERINARY SCIENCE; HYGIENE
    • A61FFILTERS IMPLANTABLE INTO BLOOD VESSELS; PROSTHESES; DEVICES PROVIDING PATENCY TO, OR PREVENTING COLLAPSING OF, TUBULAR STRUCTURES OF THE BODY, e.g. STENTS; ORTHOPAEDIC, NURSING OR CONTRACEPTIVE DEVICES; FOMENTATION; TREATMENT OR PROTECTION OF EYES OR EARS; BANDAGES, DRESSINGS OR ABSORBENT PADS; FIRST-AID KITS
    • A61F2250/00Special features of prostheses classified in groups A61F2/00 - A61F2/26 or A61F2/82 or A61F9/00 or A61F11/00 or subgroups thereof
    • A61F2250/0014Special features of prostheses classified in groups A61F2/00 - A61F2/26 or A61F2/82 or A61F9/00 or A61F11/00 or subgroups thereof having different values of a given property or geometrical feature, e.g. mechanical property or material property, at different locations within the same prosthesis
    • A61F2250/0036Special features of prostheses classified in groups A61F2/00 - A61F2/26 or A61F2/82 or A61F9/00 or A61F11/00 or subgroups thereof having different values of a given property or geometrical feature, e.g. mechanical property or material property, at different locations within the same prosthesis differing in thickness
    • AHUMAN NECESSITIES
    • A61MEDICAL OR VETERINARY SCIENCE; HYGIENE
    • A61FFILTERS IMPLANTABLE INTO BLOOD VESSELS; PROSTHESES; DEVICES PROVIDING PATENCY TO, OR PREVENTING COLLAPSING OF, TUBULAR STRUCTURES OF THE BODY, e.g. STENTS; ORTHOPAEDIC, NURSING OR CONTRACEPTIVE DEVICES; FOMENTATION; TREATMENT OR PROTECTION OF EYES OR EARS; BANDAGES, DRESSINGS OR ABSORBENT PADS; FIRST-AID KITS
    • A61F2250/00Special features of prostheses classified in groups A61F2/00 - A61F2/26 or A61F2/82 or A61F9/00 or A61F11/00 or subgroups thereof
    • A61F2250/0014Special features of prostheses classified in groups A61F2/00 - A61F2/26 or A61F2/82 or A61F9/00 or A61F11/00 or subgroups thereof having different values of a given property or geometrical feature, e.g. mechanical property or material property, at different locations within the same prosthesis
    • A61F2250/0048Special features of prostheses classified in groups A61F2/00 - A61F2/26 or A61F2/82 or A61F9/00 or A61F11/00 or subgroups thereof having different values of a given property or geometrical feature, e.g. mechanical property or material property, at different locations within the same prosthesis differing in mechanical expandability, e.g. in mechanical, self- or balloon expandability
    • AHUMAN NECESSITIES
    • A61MEDICAL OR VETERINARY SCIENCE; HYGIENE
    • A61FFILTERS IMPLANTABLE INTO BLOOD VESSELS; PROSTHESES; DEVICES PROVIDING PATENCY TO, OR PREVENTING COLLAPSING OF, TUBULAR STRUCTURES OF THE BODY, e.g. STENTS; ORTHOPAEDIC, NURSING OR CONTRACEPTIVE DEVICES; FOMENTATION; TREATMENT OR PROTECTION OF EYES OR EARS; BANDAGES, DRESSINGS OR ABSORBENT PADS; FIRST-AID KITS
    • A61F2250/00Special features of prostheses classified in groups A61F2/00 - A61F2/26 or A61F2/82 or A61F9/00 or A61F11/00 or subgroups thereof
    • A61F2250/0058Additional features; Implant or prostheses properties not otherwise provided for
    • A61F2250/0067Means for introducing or releasing pharmaceutical products into the body
    • AHUMAN NECESSITIES
    • A61MEDICAL OR VETERINARY SCIENCE; HYGIENE
    • A61FFILTERS IMPLANTABLE INTO BLOOD VESSELS; PROSTHESES; DEVICES PROVIDING PATENCY TO, OR PREVENTING COLLAPSING OF, TUBULAR STRUCTURES OF THE BODY, e.g. STENTS; ORTHOPAEDIC, NURSING OR CONTRACEPTIVE DEVICES; FOMENTATION; TREATMENT OR PROTECTION OF EYES OR EARS; BANDAGES, DRESSINGS OR ABSORBENT PADS; FIRST-AID KITS
    • A61F2250/00Special features of prostheses classified in groups A61F2/00 - A61F2/26 or A61F2/82 or A61F9/00 or A61F11/00 or subgroups thereof
    • A61F2250/0058Additional features; Implant or prostheses properties not otherwise provided for
    • A61F2250/0071Additional features; Implant or prostheses properties not otherwise provided for breakable or frangible

Landscapes

  • Health & Medical Sciences (AREA)
  • Engineering & Computer Science (AREA)
  • Biomedical Technology (AREA)
  • Cardiology (AREA)
  • Oral & Maxillofacial Surgery (AREA)
  • Transplantation (AREA)
  • Heart & Thoracic Surgery (AREA)
  • Vascular Medicine (AREA)
  • Life Sciences & Earth Sciences (AREA)
  • Animal Behavior & Ethology (AREA)
  • General Health & Medical Sciences (AREA)
  • Public Health (AREA)
  • Veterinary Medicine (AREA)
  • Physics & Mathematics (AREA)
  • Optics & Photonics (AREA)
  • Gastroenterology & Hepatology (AREA)
  • Pulmonology (AREA)
  • Media Introduction/Drainage Providing Device (AREA)
  • Prostheses (AREA)

Description

関連出願への相互参照
本願は、2017年3月31日に出願された仮特許出願番号第62/480,121号(代理人書類番号32016-714.106);2016年12月06日に出願された第62/430,843号(代理人書類番号32016-714.105);2016年11月21日に出願された第62/424,994号(代理人書類番号32016-714.104);2016年10月28日に出願された第62/414,593号(代理人書類番号32016-714.103);2016年8月12日に出願された第62/374,689号(代理人書類番号32016-714.102);および2016年5月16日に出願された第62/337、255号(代理人書類番号32016-714.101)の利益を主張しており、これら全体の開示は、参考として本明細書中に援用される。
バルーン血管形成術が、血管、具体的には、プラーク進行または心臓発作の結果として狭小化した血管を開放するために導入された。成功した症例では、血管は、開放したままであった、および/または経時的に積極的な再形成を呈した、ならびに/もしくは天然血管能力をある程度模倣する血管拡張能力を呈した。しかしながら、他の場合では、血管は、血管の反跳、血栓形成、または他のタイプのプラーク形態進行等の種々の原因に起因して、数日以内または数ヶ月以内に再閉塞するであろう。
金属ステントが、反跳に対処し、経時的に開放した血管を保持するために十分な半径方向強度(破砕抵抗)を伴う、多くの場合、足場と称される構造を提供するように開発された。ステントは、ワイヤ、コイル、編組、シート、および/または管状本体から形成された。パターン化された非分解性金属管、ワイヤ、またはシートから形成されるバルーン拡張型ステントは、いくつかの以前のコイル状または編組ステントと比較すると、拡張に応じて、限定された内向き反跳、高い強度(破砕抵抗または破砕力)、および限定された軸方向短縮等の望ましい構造特性を示すため、現在最も一般的に使用されている。
それらの成功および幅広い採用にもかかわらず、ステンレス鋼合金、白金イリジウム合金、およびコバルトクロム合金ステント等の金属ステントは、管腔または血管を拘束する、生理学的条件下で埋込後に(内向き反跳後に)さらに拡張しない、管腔または血管がさらに拡張しないように妨げ、ひいては、積極的な再形成を阻止する、および/またはそのようなステントが、血管の治癒もしくは血管の正常な機能にとって重要である治療された血管ステント区画の血管拡張または血管運動を阻止する等、ある欠点に悩まされる。本現象は、一般的に血管の「拘束」または「閉じ込め」と称される。高い半径方向強度が、埋込に応じて身体管腔を支持するため、および/またはステントの埋込に応じてそれを開放した状態で維持するために重要である、ならびに/もしくは高い強度が、管腔が埋込後により小さくならないように防止する際に重要である。形状記憶自己拡張型合金ステントが使用される、ある場合には、そのようなステントは、典型的には、材料性質に起因して、金属ステントのような高い半径方向強度(高い破砕力抵抗)を呈さない(結果として、管腔は、ある場合には、ステント上の管腔の内向きの力に起因する過剰な内向き反跳に起因して、および/またはこれらのステントのより低い半径方向強度に起因して、そのようなステントの埋込後により小さくなり、そのようなステントが管腔または罹患管腔区画の中に埋め込まれた後にさらに拡張する可能性を低くする、ならびに/もしくはそのようなステントは、ステント留置区画の血管拡張または血管運動を呈する可能性が低い)。ある場合には、形状記憶ステントは、外膜に向かって移動して管腔壁を貫通し、刺激、血管または管腔の炎症を引き起こし、ある時は、不要な負の臨床事象および/または身体管腔もしくは血管の再閉塞をもたらす。また、ステントは、典型的には、血管または管腔の中への送達に応じて、束縛具を使用して圧着構成で維持され、これは、ステントシステムの外形を大きくし、あまり送達可能ではないものにする。本タイプのステントは、通常、ある直径/構成まで拡張するように事前プログラムされ、これは、定寸をそのような事前プログラムされた直径/構成に限定させ、そのような事前プログラムされた直径を超えた拡張直径に拡張する、もしくはそれを維持する可能性を低くし、ステント定寸をより困難にする、および/またはそのようなステントは、数例を挙げると、展開後にそのような事前プログラム直径/構成を超えてさらに拡張しない。
これらの欠点のうちのいくつかに対処するために、金属またはポリマー材料から作製された生分解性ステントが開発された。ステントが分解または再吸収することを可能にすることによって、拘束または閉じ込め効果は、経時的に減退または減少し、足場は、最終的に経時的に消滅するであろう。しかしながら、現在の生分解性ステント、具体的には、ポリマー生分解性ステントおよび腐食性金属ステントは、ステント破砕および/または公称拡張直径を上回ってステントを過剰に拡張する限定された能力を含む、それらの独自の欠点を有する、ならびに/もしくは過剰なまたは高い初期内向き反跳を有する、および/または埋込後ならびに初期内向き反跳後に付加的内向き反跳を有する。ある場合には、それらは、展開後に種々の病変型に適応するために不十分な強度、および/または展開後に管腔もしくは血管を開放した状態で維持する限定された能力を有し得る。生分解性ステントは、典型的には、バルーン拡張型金属非分解性ステントよりも低い半径方向強度(破砕抵抗/強度)を有し、典型的には、準最適破砕強度等の機械的欠点のうちのいくつかに対処するためにかさばる太い支柱ステントを有する、または負の臨床事象を引き起こし得る太い支柱を有することは、いくつかの問題を挙げると、過剰な炎症(少なくとも部分的に材料の分解および分解材料の質に起因する)を引き起こし、および/または新内膜過形成等の過剰な過形成(少なくとも部分的に材料の分解および分解材料の質に起因する)を引き起こし得る。
また、ポリマーおよび金属材料の組み合わせから足場を作製する試行も行われてきた。しかしながら、そのような設計は、それらの独自の欠点を示している。そのような複合設計は、効果的に管腔を開放する、もしくはステントの埋込後にそれを開放した状態で維持するために十分な初期破砕抵抗が不足し得る、またはそのような設計は、ステントを離脱させない、もしくはステント区画全体に沿ってステントを離脱させない、または血管を離脱させない、もしくは生理学的条件下でステントをさらに拡張しない、またはステントをさらに拡張しない、および/または埋込後に血管拡張剤ならびに/もしくは血管収縮剤を使用して、またはその使用後に血管が収縮することを可能にしない。代替として、いくつかの他のそのような設計は、埋込後に(該当する場合、内向き反跳後に)より大きい構成までさらに拡張することができないであろう。なおも他の設計は、血流の中へ小さい部品を離脱させる危険を冒し、潜在的に臨床事象を引き起こす、非常に多くの別個の金属または他の非分解性部品を有する。以下の例示的問題における上記で説明されるような1つまたはそれを上回る必要性が、現在の非分解性ステントによって満たされていないままであり、すなわち、低い内向き反跳を伴うステントを有する、および/またはステントの直径が埋込後ならびに初期内向き反跳後に実質的に維持される一方で、拡張後に低い初期内向き反跳を伴うステントを有する、および/または生理学的条件下の展開後に(該当する場合、内向き反跳後に)さらに拡張することができるように構成される非分解性ステントを有する、および/または事前プログラムされた温度トリガ設定を伴わずに、もしくは事前プログラムされた拡張直径/構成設定を伴わずに、展開後に(該当する場合、内向き反跳後に)拡張またはさらに拡張することができるステントを有する、および/または事前プログラムされた温度を伴わずに(該当する場合、内向き反跳後に)拡張もしくはさらに拡張することができるステントを有する、および/または外膜の中へ血管もしくは管腔壁を貫通することなく、または実質的に貫通することなく、生理学的条件下の展開後に(該当する場合、内向き反跳後に)さらに拡張することができるステントを有する、および/または過剰な炎症を引き起こさないステントを有する、および/または外膜の中への埋込後に管腔もしくは血管壁を貫通しないステントを有する、および/または任意の内向き反跳後にさらに拡張し、展開(埋込)後に、管腔もしくは血管直径をさらに拡張する、ステントを有する、および/または束縛具を伴わずに血管もしくは管腔の中への送達に応じて圧着構成で維持または実質的に維持され、任意の内向き反跳後に、展開後のより大きい構成までさらに拡張する、ステントを有する、および/または広範囲の直径まで展開されることができ、展開後に血管もしくは管腔を依然として離脱させるステントを有する、および/または広範囲の直径まで展開されることができ、任意の内向き反跳後に、埋込後のより大きい構成までさらに拡張するステントを有する、および/または任意の内向き反跳後に、埋込後の事前プログラムされた拡張直径/構成を超えてさらに拡張することができるステントを有する、および/または埋込後に血管運動、血管拡張、もしくは血管収縮を呈するステントを有する、および/または展開後に身体管腔を支持するために十分な強度を有し、低い内向き反跳を有し、ステントが展開後に1%もしくは1%よりも大きい半径方向歪みを呈する、ステントを有する、および/または初期コンプライアンスが埋込後に増加する、圧着構成から拡張構成までの拡張に応じて初期コンプライアンスを有する非分解性ステントを有する、および/または初期半径方向強度が埋込後に減少する、圧着構成から拡張構成までの拡張に応じて初期半径方向強度(破砕抵抗)を有する非分解性ステントを有する、および/または拡張構成が2.0mm~4.0mmに及ぶ直径を備え、ステントが初期拡張後に初期内向き反跳を呈し、初期反跳後の該ステントが初期直径を有し、該ステントが該初期内向き反跳後に該初期直径(または構成)を維持し、ステントが埋込後にステント留置区画を第2の直径まで拡張するために十分な血管拡張剤に応答し、第2の直径(または構成)が初期直径よりも大きい、圧着構成から拡張構成まで拡張することが可能なバルーン拡張型非分解性ステントを有する。
ステントまたは他の補綴具の実装後の血管および他の身体管腔内の特定の懸念は、血管または管腔再形成もしくは拡大の損失、または上記では血管もしくは身体管腔の「閉じ込め」または「拘束」と称される、血管コンプライアンスまたは収縮性の損失である。血管コンプライアンスは、内圧、外圧、筋肉収縮、筋肉弛緩、化学変化、および同等物の変化に応答すること等の生理学的条件下の血管または身体管腔のために必要である。そのような変化は、身体管腔、および/または、例えば、身体管腔の壁内の平滑筋細胞等の筋肉を弛緩もしくは収縮させることができる、天然または人工物質の存在等の多くの発生源に起因し得る。血管または身体管腔の中のステントの埋込は、必然的に、身体管腔およびステントの全体的または「複合」コンプライアンスの低減に寄与するであろう。身体管腔の天然コンプライアンスおよびステントの付加的コンプライアンスはそれぞれ、ステントが埋め込まれていなければ必然的に身体管腔のコンプライアンス未満になるであろう、完全または全体的な「複合」コンプライアンスに寄与するであろう。したがって、身体管腔に埋め込まれた、具体的には、血管に埋め込まれたステントが、ステントの埋込の結果として自然に起こる、身体管腔コンプライアンスの低減を最小限にすることが望ましい。コンプライアンスの低減は、埋込の直後の時間周期にわたって容認可能であり得るが、具体的には、その周期中に(埋込または埋込後の初期周期に応じて)、血管(または身体管腔)の開存性を維持し、埋込後にさらなる内向き反跳を防止するために半径方向強度が所望される。そのような強度は、血管の治癒が起こり、最終的にステントの強度が不必要になる、またはあまり重要ではなくなるときに、初期周期後にあまり必要ではない、または必要ではない。そのような治癒段階中に、またはそのような治癒段階後に、血管のコンプライアンスが、埋め込まれたステントがない場合の管腔の天然コンプライアンスにおける、またはそれに接近する、またはそれにより近いレベルに戻ることが非常に望ましい。したがって、ステント足場および身体管腔の完全または複合コンプライアンスが、ステント足場がない場合の身体管腔のコンプライアンスにより近い、または接近するレベルまで増加するように、埋込後に、血管または他の管腔環境に応答して経時的に増加するコンプライアンスを示す、ステント、ステント足場、および他の管腔補綴具を提供することが、本発明の目的である。
コンプライアンスの損失もまた、心臓弁輪に埋め込まれる弁、リング、および他の器具にとって問題である。弁足場は、特に埋込の初期周期後に、高い半径方向強度を必ずしも必要とするわけではない場合があるが、正常な収縮・非収縮期サイクル中に輪が変形するにつれて、それらが輪に共形化することができるために十分に柔軟である、または変形して疾患の進行に起因する変形した輪に共形化し、したがって、弁機能の完全性を維持する、または拡張して生理学的条件もしくは疾患の進行に起因する輪拡張に共形化する一方で、弁機能の完全性を維持することが有益である。
必要とされるものは、これらの欠点のうちの少なくともいくつかならびに本明細書に説明される他の欠点に対処する、インプラント、ステント、ステント足場、血管補綴具、外部補綴具、および/または他の管腔補綴具である。
関連背景特許および出願は、第US7011678号、第US5922020号、第US2003/0153971号、第US9056157号、第US2005/0222671号、第US9265866号、第US7169173号、第US8435281号、第US2003/0195609号、第US7402168号、第US7829273号、第US5695516号、第US6540777号、第US8652192号、第US8128679号、第US8070794号、第US6599314号、第US8961585号、第US7455687号、第US7645409号、第US8202313号、第EP2229919号、第US6251134号、第US6409754号、第US5766237号、第US5957975号、第US5306286号、第US5961545号、第US8052743号、第US9180005号、第US9192471号、第US2008/177373号、および第US2005/283229号を含む。
米国特許第5306286号明細書 米国特許第5695516号明細書 米国特許第5766237号明細書 米国特許第5922020号明細書 米国特許第5957975号明細書 米国特許第5961545号明細書 米国特許第6251134号明細書 米国特許第6409754号明細書 米国特許第6540777号明細書 米国特許第6599314号明細書 米国特許第7011678号明細書 米国特許第7169173号明細書 米国特許第7402168号明細書 米国特許第7455687号明細書 米国特許第7645409号明細書 米国特許第7829273号明細書 米国特許第8070794号明細書 米国特許第8052743号明細書 米国特許第8128679号明細書 米国特許第8202313号明細書 米国特許第8435281号明細書 米国特許第8652192号明細書 米国特許第8961585号明細書 米国特許第9056157号明細書 米国特許第9180005号明細書 米国特許第9192471号明細書 米国特許第9265866号明細書 米国特許出願公開第2003/0153971号明細書 米国特許出願公開第2003/0195609号明細書 米国特許出願公開第2005/0222671号明細書 米国特許出願公開第2005/0283229号明細書 米国特許出願公開第2008/0177373号明細書
本発明は、ステント、具体的には、拡張および/または埋込に、強度、修正された(または制御された)強度、ならびに/もしくは修正された(または制御された)コンプライアンス特性を示す、血管および管腔ステントならびに補綴具の多数の実施例および実施形態を提供する。1つの特定の実施例では、金属、金属合金、および他の非分解性ステントは、最初に、身体管腔内の拡張時に、ならびに続いて、初期拡張および/または埋込後の数日、数ヶ月、ならびに数年の間に、それらの半径方向強度およびコンプライアンスを制御するように多数の方法で修正されてもよい。具体的には、本願に説明および請求されるステントならびに足場設計の多くは、比較的低く、埋込後に経時的に増加する初期コンプライアンスを有する、可変(または制御された)コンプライアンスと、埋込または初期拡張時に比較的高く(例えば、実質的なフープ強度または破砕抵抗を有し)、埋込後に経時的に減少する(または低減され得る)、初期強度を有する半径方向強度とを提供するであろう。コンプライアンスの増加および半径方向強度の減少は、埋込後の数日、数週間、または数ヶ月の時間周期にわたって起こり得、補綴具の全てまたは一部を形成する、足場におけるいくつかの構造変換のうちのいずれか1つまたはそれを上回るものによって引き起こされ得る。
血管および他の管腔ステントならびに足場の強度(半径方向強度)およびコンプライアンスを測定し、定量的に表現するための方法が、周知であり、特許および医学文献に説明されている。
コンプライアンスは、本用語が実施例または実施形態の多くで使用されるとき、管腔構造内または管腔構造に隣接する内圧の変化等の生理学的条件に応答して、管腔構造または管腔構造の区画の直径(もしくは構成)の変化率を表す無次元測定であり、通常、そのような圧力の変化は、100mmHgである。いくつかの他の事例では、コンプライアンス測定は、mm/気圧、mm/psi、%/気圧、%/psi、または同等物として表されることができる。用語「コンプライアンス」および「半径方向コンプライアンス」は、同義的に使用される。
身体管腔、ステント、足場、補綴具、および他の管状構造はそれぞれ、それらの独自のコンプライアンスを有するであろう。埋め込まれたステント、足場、補綴具、および他の管状構造を有する身体管腔はまた、管腔およびインプラントの個々のコンプライアンスの複合物であるコンプライアンスを有し、複合物は、典型的には、管腔よりも低く、多くの場合、インプラント単独よりも低い。多くの場合または実施例では、「複合」コンプライアンスが、ステントのコンプライアンス特性を定義するように測定されるであろうが、しかしながら、これはまた、ある場合には、本明細書で請求されている実施例の多くでは、ステント単独測定コンプライアンス、足場、補綴具、および他の管状構造であることもできる。本願の全体を通した多くの事例または実施例では、用語「半径方向歪み」は、コンプライアンスを意味するために使用され、用語「コンプライアンス」または「複合コンプライアンス」が本もしくは他の段落で説明されるときに、用語「コンプライアンス」(または「複合コンプライアンス」)と同義的に使用される。通常、半径方向歪みが圧力の100mmHg変化時に測定されるとき、これは、インプラントのコンプライアンス(または複合コンプライアンス)を指すが、コンプライアンスはまた、100mmHgと異なる所与の圧力の変化時のインプラントまたは複合材料の直径の変化率を指すこともできる。
具体的には、ステント、足場、または他の管腔補綴具の半径方向コンプライアンスは、100mmHgの圧力変化時のコンプライアンスを測定する、ASTM F2477-07R13に説明されるもの等の周知の原理および技法に従って、模擬血管の中で生体外の複合コンプライアンスとして測定されるであろうが、試験はまた、約176mmHgまたは他の圧力等の100mmHg以外の所与の圧力の変化時のコンプライアンスを試験するために要求される方法を提供することもできる。また、ステントコンプライアンスは、ブタの冠動脈血管等の血管に埋め込まれたステントを有することによって試験されることができ、コンプライアンスは、血管のステント留置区画の中で測定される。
本発明の第1の側面または実施例では、補綴具、具体的には、管腔内補綴具は、非分解性材料、典型的には、金属または金属合金から形成またはパターン化される、複数の円周方向リングを有する、足場を備え、足場は、圧着構成から拡張構成まで拡張するように構成される。円周方向リングのうちの少なくともいくつかは、少なくとも1つの分離領域を有し、分離領域は、足場が生理学的環境内で拡張された後に、円周方向リングに少なくとも1つの不連続性を形成するように構成される。好ましい実施例では、そのような拡張および生理学的環境、典型的には、血管または他の身体管腔環境への暴露後に、円周方向リングのうちの少なくとも2つは、全ての不連続性が形成された後に軸方向に継合されたままであり、典型的には、軸方向に隣接するリングである。頻繁には、そのような管腔内補綴具の全ての円周方向リングは、不連続性が形成された後に軸方向に継合されたままであろう。例えば、円周方向リングは、典型的には、1つの円周方向リング上の領域を隣接する別の円周方向リング上の領域に継合する短い構造要素である、軸方向リンクによって継合されてもよい。しかしながら、他の実施例では、連続的な隣接する円周方向リング上の領域は、直接継合されてもよく、例えば、本願において以降でさらに詳細に説明されるであろうように、クラウンからクラウンまで、支柱から支柱まで、または同等物で、溶接または別様に継合される。具体的実施例では、隣接するリング上の隣接するクラウンは、溶接、包被、ワイヤもしくは他のフィラメントとの接合、接着剤、または同等物によって継合されてもよい。
例えば、本発明による、そのような管腔内補綴具は、任意の不連続性の形成に先立って、初期半径方向コンプライアンス、典型的には、上記で議論されるような複合コンプライアンスを有する、円周方向構造を伴う円周方向リングを有するであろう。しかしながら、不連続性の形成後に、円周方向リングのうちの少なくともいくつかは、不連続性の形成に先立って、少なくともいくつかのリングの初期半径方向コンプライアンスに対して増加させられる、半径方向コンプライアンスを有するであろう。例えば、本発明の原理による、足場の円周方向リングのうちの少なくともいくつかの初期半径方向コンプライアンス(または足場区画の複合コンプライアンス)が、0.1%~1%、典型的には、0.1%~0.5%であってもよい一方で、不連続性の形成後の半径方向コンプライアンスは、典型的には、1.2%~10%、多くの場合、1.2%~5%または1.5%~3%であろう。
足場の複合コンプライアンスは、以下のように模擬血管システムを使用して測定されてもよい。試験されている足場、模擬血管、模擬血管を加圧するために使用される水、および全ての他の試験機器は、室温で保持される。全ての直径測定は、足場に接触することなく、±0.01mm以内までの直径を測定することが可能な較正非接触システムを用いて行われる。好適な測定器具は、顕微鏡的ビデオ測定システム、レーザ顕微鏡、および光学比較器を含む。模擬血管を加圧するために使用される水の圧力測定は、±0.05PSI以内までの流体ゲージ圧力を正確に測定することができるゲージを用いて行われる。圧力測定は、直径測定が行われるときに行われる。設定で使用される全ての接続管の長さは、10インチ未満であり、管およびコネクタにおける任意の制限を排除するために、模擬血管の全体を通して圧力の任意の動的変化が圧力計によって正確に反映されることを保証するように排除される。直径測定は、模擬血管の初期加圧から30分で実施されるべきである。
模擬血管は、その長さの全体を通して一様な断面および一様な材料性質を伴うエラストマシリコーン管である。2.5mm直径よりも小さいステントに関して、模擬血管壁厚は、0.25±0.03mmである。2.5mm直径およびそれよりも大きいステントに関して、模擬血管壁厚は、0.5mm±0.03mmである。模擬血管内の試験圧力は、3.4±1PSI(または約176mmHg)であり、本システムは、試験の持続時間にわたって本圧力を維持するために十分に漏出防止型であろう。ステント・模擬血管システムは、模擬血管の静止長および模擬血管の直径に影響を及ぼし得る、流さおよび縦方向力に起因する模擬血管の変化を防止するように固定される。ステント・模擬血管システムはさらに、内部加圧以外の力による直径の変化を防止するように固定される。
バルーン拡張型非分解性足場は、加圧を伴わない模擬血管の外径に等しい、またはそれよりも0.1mm小さい拡張構成から、内向き反跳後のIDまで空中で展開される。足場は、試験されている足場とともに使用するために好適なバルーンまたは他の送達システムを使用して、拡張される。内径(ID)は、非接触測定システムを使用して検証される。自己拡張式足場は、それらの自由直径まで空中で展開され、IDは、非接触測定システムを使用して検証される。模擬動脈は、展開されたステントの内径に等しい、またはそれよりも0.1mm大きい外径を有するように選択される。
拡張された試験足場は、模擬血管の外側にわたって摺動され、管直径を一時的に縮小し、ステントがそれを通り越させられることを可能にするために、必要に応じて模擬血管管類を伸張する。模擬血管上で張力を解放した後に、接触長全体に沿った足場のIDと模擬血管の外径(OD)との実際の接触が検証される。
模擬血管チューブの内部は、少なくとも3.4psiを提供することが可能であり、そのような圧力において0.05psi以内まで管の中の圧力を測定することが可能なゲージを有する、インデフレータ(血管形成術中に血管形成術バルーンを膨張および収縮させるために使用される膨張/収縮デバイス)に接続される。
ステントのODおよびステント留置区画から離れた模擬血管の参照区分のODは両方とも、模擬血管の直径に等しい、またはその2倍である、ステントからの距離、および模擬血管を保持する任意の固定具からの類似距離において、非接触システムを使用して測定される。これらのOD測定は、基準模擬血管OD値を取得するように行われ、平均化される。これらのOD測定は、基準足場OD値を取得するように、足場の中間長を中心として行われ、平均化される。模擬血管の内部は、3.4PSI(176mmHg)まで水で加圧され、足場および模擬血管のODは、圧力読取値が3.4PSIで維持されるときに、非接触システムを使用して基準を確立するために使用される同一の場所で測定される。複合コンプライアンスは、割合として複合コンプライアンスを判定するように、模擬血管が加圧されるときに測定されるOD値を基準OD値で除算し、1を減算し、100を乗算して判定される。
例えば、模擬血管内の印加された圧力が、試験足場のODを3.50mmODから3.73mmODまで直径を増加させる場合、複合コンプライアンスは((3.73/3.50)-1)×100=6.6%である。第2の実施例として、模擬血管内の印加された圧力が、試験足場のODを3.50mmODから3.52mmODまで直径を増加させる場合、複合コンプライアンスは、((3.52/3.50-1)-1)×100=0.6%である。
足場の複合コンプライアンスは、不連続性を形成する分離領域の開放の前および後に測定されることができる。不連続性の形成前の複合コンプライアンスを取得するために、足場が、上記で説明されるように測定される一方で、全ての分離領域は、無傷のままである。不連続性の形成後の複合コンプライアンスを取得するために、足場が、全ての不連続性を開放するように処置される一方で、足場は、模擬血管上に残留する。分離領域は、特定の分離領域の性質に特有の技法によって開放されてもよい。ポリマースリーブ、接着剤、または溶剤によって固定化される分離領域に関して、足場は、模擬血管を損傷することなく、不連続性を形成するように、溶剤、酵素、または他の化学物質に暴露される。代替として、非ポリマー分離領域に関して、分離領域は、機械的手段、レーザカッタ、超音波を使用して物理的に分離されてもよい、または他のエネルギーベースのカッタが、不連続性を形成する。疲労に応答して開放するロック設計または分離領域に関して、模擬動脈は、不連続性が形成されるまで5~8Hzの割合で循環的に加圧されることができる。実施例5および図35を参照されたい。分離領域が開放されている間に足場が崩壊する場合、複合コンプライアンスは、足場がない模擬血管コンプライアンスに等しいと見なされるであろう。
半径方向強度(破砕抵抗)は、力および変位測定を可能にするように5Nロードセルを伴ってInstron引張試験機上に固定される、平行平坦パネル(参照ISO25539-2)を用いて測定される。底部プレートは、平坦であり、試験中に静止したままである。上部プレートは、変位の関数として力測定を記録するように、ロードセル上に搭載される。プレートは、噛合表面において相互と平行であることが視覚的に検証される。底部および上部プレートは両方とも、長さおよび直径において試験ステントを完全に被覆する表面を伴って、形状が長方形である。両方のプレートは、循環加熱器によって37±2℃の体温で維持される、体温の水槽の中で水面下に留まるように構成される。循環ポンプは、電流が結果を改変しないように防止するために、力測定中にオフにされる。上部プレートは、デルリンから形成され、底部プレートは、真鍮から形成される。
試験足場は、標準インデフレータまたは他の送達システムを使用して、その公称内径において展開される。展開された試験ステントは、送達システムから除去され、試験ステントの直径は、非接触測定システムによって検証される。試験ステントは、次いで、生理学的条件を模倣する37℃の水中の水面下で平行プレートの間に設置する前に、長さが約50mmの0.035インチ直径マンドレル上に摺動される。マンドレルは、試験ステントが平行プレートとの初期接触時に転がらないように防止するであろう。上部プレートは、次いで、それがステントの約1mm上方に来て、力計がゼロに設定されるまで、Instron引張試験機から変位コントローラを使用してゆっくりと下方に押される。これは、次いで、試験ステントにかろうじて接触し、0.01Nの力が検出されるまで下げられる。ステントは、次いで、60秒にわたって水槽の中で安定化することを可能にされる。試験サイクルが、開始され、破砕抵抗力が、次いで、試験ステント直径の最大50%まで平行プレートの間の距離を減少させることによって測定される。力・距離曲線が、試験中に生成される。距離を減少させる割合(クロスヘッド速度)は、1.5mm/分である。ステント変形(圧縮)の10%における負荷力は、ニュートン単位で判定される。例えば、公称直径(3.0mm)まで拡張される3.0mm標識ステントに関して、それを0.3mmだけ圧縮する(10%圧縮)ために要求される力を報告する。ニュートン(N)単位の負荷力は、次いで、N単位の強度をステント長に正規化するように、mm単位の拡張ステント長で除算され、したがって、ステントの半径方向強度は、N/ステント長のmmとして表される。
拡張ステント基準半径方向強度は、(N/ステント長のmm単位で)測定され、破砕抵抗方法で説明されるように、(該当する場合)不連続性の形成後に再び測定される。本発明のステントに関して、半径方向強度は、不連続性の形成前の基準半径方向強度と比較して、不連続性の形成後に減少し、好ましくは、基準半径方向強度と比較して、基準半径方向強度の10%~100%の範囲だけ減少する。
複合コンプライアンスおよび半径方向強度を測定するための上記のプロトコルは、2mm~4mmの公称直径を有し、専用または従来の展開システムを有する足場において、これらの値を測定するために特に効果的である。非標準サイズおよび非標準展開システムを含む、他のサイズならびに展開システムを有する、ステント、弁、補綴具、および任意の他の足場に関して、足場は、製造業者の出版された使用説明書に従って展開されるはずであり、試験装置は、上記で説明されるように、展開された足場との同一の適合を有するように調節または修正されるはずである。複合コンプライアンスの測定のための模擬血管の場合、模擬血管の外径は、展開された足場の内径に等しい、またはそれよりも最大0.1mm大きいはずである。破砕抵抗の測定のための平坦プレート分離距離の場合、足場ODは、非接触方法を介して±0.01mmの正確度で測定されるはずであり、10%偏向が、本測定から計算されるはずである。試験方法の全ての他の部分が、可能な限り従われるはずである。
好ましい実施例では、そのような管腔内補綴具の足場は、不連続性が円周方向リングに形成された後に区画に分離してもよい。分離は、軸方向、円周方向、螺旋、不規則、または他の線に沿ってもよい。例えば、2つ、3つ、またはそれを上回る区画は、軸方向、螺旋、または不規則な線に沿って分離してもよく、区画が半径方向に拡張および収縮することを可能にし、身体管腔に埋め込まれたときに足場の複合コンプライアンスを増加させる。多くの場合、区画の全てまたは実質的に全ては、不連続性が増進した(または増加した)半径方向コンプライアンスを提供する一方で、足場の構造要素が軸方向に継合されたままであり、支持(または足場)を管腔(または血管)壁に提供するように、および/または要素が血管系もしくは身体管腔の中の埋込後に抜去または別様に解放される危険性が低減するように、それらの全長に沿って(またはステント全長に沿って)軸方向に継合されたままであろう。区画の他の実施例は、閉鎖セル区画および同等物を含む。そのような好ましい実施例では、足場(管腔内補綴具)は、圧着構成および/または拡張構成で管状本体を形成し、足場は、ワイヤ、実質的に連続的な管、シート、成形から、または印刷によって形成されてもよい。
他の実施形態または/および実施例では、足場は、区画に分離しないであろう。すなわち、少なくとも1つ、通常、複数の不連続性が、足場に形成されるであろう一方で、全ての円周方向リング、支柱、クラウン、リンク、および足場の他の構造要素(または構成要素)は、足場のいかなる部分(または要素)もステントの残りの任意の他の部分から完全に断絶されないように、物理的に接続されたままであろう。不連続性が形成された後でさえも、足場の全ての部分のそのような物理的連結は、足場の任意の部分が血管系または他の身体管腔の中へ解放される危険性が低減されるため、利点であることができる。
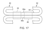
1つの特定の実施例では、隣接する円周方向リングにおける不連続性は、ステントが2つまたはそれを上回る軸方向に整合された区画に分割し、それぞれが、足場の第1の(通常は末端の)端部から足場の第2の(通常は末端の)端部まで延在するように、軸方向線に沿って分離してもよい。個々の円周方向リングのそのような軸方向に整合された区画は、軸方向(通常は直線状)、螺旋、または不規則分離線に沿って円周方向に分離するが、全ての不連続性が形成された後に、(例えば、1つまたはそれを上回る軸方向リンクによって)軸方向に継合された、または無傷のままである。そのような無傷の軸方向、螺旋、または不規則な区画は、典型的には、その拡張構成時の足場の全長に対応する長さを有して、伸長であろう。
そのような伸長軸方向、螺旋、または不規則区画は、通常、それらの全長に沿って完全に分離されるであろうが、他の場合では、1つまたは2つの円周方向接続は、全ての不連続性が足場に形成された後に残留してもよい。具体的には、伸長区画は、「ドッグボーン化」を低減させるために、または他の目的のために、足場のいずれかまたは両方の末端において継合されたままであってもよい。
いくつかの実施例では、本発明の足場の円周方向リングは、連続周囲または周辺、通常、円形周囲を有してもよく、その場合、隣接する連続リングは、典型的には、軸方向リンクによって、または直接接続によって、例えば、隣接する円周方向リング上でクラウンをともに溶接、融合、結束、粘着、または別様に接着することによって、継合される。他の事例では、円周方向リングのうちの少なくともいくつかは、端部領域が螺旋足場を形成するように継合される、不連続周囲を有してもよい。具体的実施例および実施形態では、軸方向リンクは、非分解性金属、金属合金、または他の非分解性材料から成るであろう。最も一般的に、そのような軸方向リンクは、足場を形成するために使用される同一の管状構成要素(または材料)からパターン化されるであろう。したがって、多くの足場は、ステントを形成する同一の金属、金属合金、または他の材料から、一体またはモノリシック構造として形成されるであろう。
本発明の例示的管腔内補綴具は、多くの場合、円周方向リング、閉鎖セル、または同等物等の反復構造要素を有する、足場を備えるであろう。円周方向リングのうちのいくつかまたは全ては、例えば、類似または同じ構造、例えば、類似または同じパターンでクラウンによって継合される複数の支柱を備えてもよい(但し、構造、パターン、および構造要素(厚さ、幅、形状)等のうちの変動する1つまたはそれを上回るものを有することもできる)。分離領域は、支柱、クラウン、または両方の中に位置してもよい。多くの場合、少なくとも1つの分離領域は、支柱の中に位置し、リング内の少なくとも1~5つの支柱は、分離領域を有するであろう。代替として、または加えて、少なくとも1つの分離領域は、クラウンの中に位置してもよく、リング内の1~5つのクラウンは、分離領域を有してもよい。しかしながら、多くの場合、殆どまたは全てのクラウンは、足場が圧着構成から拡張構成までバルーン膨張によって、または別様に半径方向に拡張されるにつれて、クラウンまたはクラウン領域が高い応力を受けるため、分離領域を含まないであろう。そのような高い応力は、足場における不連続性の時期尚早な形成および足場の構造完全性の損失をもたらし得る。支柱は、したがって、分離領域の形成のための好ましい場所である。分離領域はまた、軸方向リンクまたは隣接する円周方向リングの間の直接軸方向接続の他の領域に形成されてもよい。隣接するリングの間の軸方向コネクタの中の分離領域は、典型的には、リングもしくはステント留置区画の半径方向コンプライアンスに寄与しないであろう、または典型的には、不連続性の形成後にリングもしくは足場の半径方向強度に影響を及ぼさないであろう、したがって、随意であり、多くの場合、軸方向リンクおよび軸方向コネクタ領域は、不連続性を含まず、無傷のままであろう。したがって、本発明の多くの実施例では、足場は、複数の軸方向に連結された円周方向リングを備え、またはそれらから成り、リングは、分離領域がクラウン(もしくはクラウン領域)または軸方向リンクもしくは他の軸方向コネクタ領域ではなく、支柱のみに形成される、クラウンによって接続される支柱を含むか、またはそれらから構成される。円周方向リングの中に、例えば、支柱および/またはクラウンの中に分離領域を設置することは、埋込後の種々の時点でステントの円周方向性質を改変する能力を提供するという利点を有する。リングの円周方向配列は、数例を挙げると、半径方向強度(平坦プレート)、ステント留置区画の複合コンプライアンス、埋込後のより大きい直径までのさらなる拡張、血管拡張への応答等の種々のステント性質のためにリング構造を重要にする。例えば、円周方向リング構造の中に分離領域を設置することは、埋込後に不連続性が形成された後に、改変された改良性質をステントに提供する。管腔ステントの必要性は、本質的に時間依存性であり、異なる時点で異なる。埋込後の短い時間周期にわたって、ステントは、開放した状態で血管を支持するための高い半径方向強度を有するように要求され、次いで、次の周期にわたって、組織が再形成し、治癒が起こり始めた、または完了した後に、血管を開放した状態で維持するための高いステント強度の要件は、もはや必要ではなくなり、対照的に、高い強度を有することは、血管の生理学的機能を低下させ得る。ステンレス鋼合金ステント、コバルトクロム合金ステント、および白金イリジウム合金ステント等の現在の非分解性(非腐食性)ステントは、血管の直接初期の高い半径方向強度に対処するが、それらは、典型的には、埋込後に経時的に変化する血管要件に応答せず、血管は、もはや血管を開放した状態で維持するために高い半径方向強度を要求せず、経時的に維持されるそのような高い半径方向強度を有することによって、血管を刺激し、疾患のさらなる進行または不良な治癒を引き起こし得る。埋込後に円周方向リングに不連続性を形成する、ステントリング内の分離領域を有する、好ましくは、非分解性材料から形成されるステント(ステントはまた、分解性材料から形成されることもできる)は、埋込後に不連続性が形成された後に、改変された改良性質をステントに提供する。本発明のそのようなステントは、拡張後に高い初期半径方向強度を提供するように構成され、そのような高い初期半径方向強度は、次いで、埋込後に経時的に減少し、血管を開放した状態で維持しながら、血管の生理学的必要性に対処することに役立つ。同様に、現在の非分解性ステントは、典型的には、ステントの寿命にわたって、「血管を閉じ込める」ステント留置区画の低い複合コンプライアンスを有し、血管の天然血管運動能力を阻止する、血管拡張剤に応答する血管の能力を阻止する、またはステント留置区画が埋込後により大きい直径までさらに拡張しないように阻止する。埋込後に円周方向リング内に形成される不連続性を有する、本発明のステントは、拡張後により高い(または増加した)複合コンプライアンスを有するように構成されてもよく、血管のステント留置区画が血圧の自然変動(血管運動)に応答することを可能にし、ステント(またはステント留置区画)が初期拡張後に(および該当する場合、内向き反跳後に)さらに拡張することを可能にし、血管拡張剤に応答する血管の能力を維持する。本発明のステントは、拡張の直後に、または埋込後のより長い時間周期後に、ステント留置区画の中で増加した複合コンプライアンスを有するように構成されてもよい。
通常、リングのより低い応力の領域であり、したがって、クラウンよりも少ない塑性変形を受けることを含む、支柱の中に分離領域を設置するという利点が存在する。支柱の場所およびサイズはまた、典型的には、クラウンまたはリングの他の曲線状領域等のステントのある他の面積よりも大きく、少ないトルクを有するため、より多くのタイプの分離領域のための付加的オプションを提供し得る。支柱は、典型的には、圧着構成から拡張構成までステントを拡張することができること等のステントの機能完全性を低下させることなく、(分離領域を有すること等の)その内側のより多くの変化に適応することができる。支柱の配向は、ステントが拡張されるにつれて変化(開放)し、ステントの拡張に応じて分離領域をともに保持された状態で保つように構成される展開に先立って、支柱角度を利用するように構成される分離領域設計を可能にし、半径方向、円周方向、および/または軸方向移動等の分離された支柱要素の所望の移動方向を可能にする、拡張ステント構成時のある角度まで支柱を開放する。
クラウンの中の分離領域の設置に利点が存在し得る。リングが拡張または収縮すると、クラウンは、典型的には、高い屈曲モーメント(トルク)を受け、高い応力および塑性変形を引き起こす。高いモーメント(トルク)に耐性がある継合要素が、有利なこととしてクラウン領域中で使用されることができる。クラウン領域内の展開の運動は、隣接する支柱の間で回転を引き起こす。例えば、ボール・ソケット様継手または本願の全体を通して描写されるような他の継手を通して、本回転を自由にするように機能する継合要素は、分離後でさえも管腔に合致する「管状」の全体的形状を維持するように、リングの別個の領域の間で密着を維持しながら、リング剛性を低下させ得る。クラウン内に(クラウンの中に)分離領域を有することは、ある用途で所望され得るように、より高い複合コンプライアンスを達成することができる。加えて、クラウンの中に分離領域を有することは、伸長または脆性等のそれらの限定された機械的性質に起因してステント用途には好適ではなかった、他の材料の使用を可能にし得、クラウンの中の分離領域は、破損を伴わずにリングの拡張を可能にし得る。
該例示的管腔内補綴具では、支柱は、典型的には、「夾角」と称される、それらの間の角度を画定するように、クラウンによって継合されてもよい。足場が圧着構成である間の夾角は、典型的には、小さい、またはある時は負でさえあろう。夾角は、足場が圧着構成から拡張ステント構成まで拡張するにつれて増加するであろう。典型的には、クラウンによって継合される少なくともいくつかの支柱の圧着構成時の夾角は、-25°~+25°に及ぶ、さらに通常、-15°~+55°に及ぶ。拡張構成時の夾角は、典型的には、35°~180°に及ぶ、さらに通常、45°~150°に及ぶ。支柱の中に存在するとき、分離領域は、支柱の長さに沿ったいずれかの場所に位置することができ、典型的には、支柱の中央の中またはそれを中心として位置し、典型的には、支柱を二等分する。同様に、クラウンの中に存在するとき、分離領域は、クラウン上の点に形成されることができ、典型的には、クラウンの中央、例えば、典型的には半円形であるクラウンを二等分する場所を中心として位置する。好ましい実施例では、少なくとも1つの支柱の中の分離領域は、少なくとも1つの支柱を2つの別個の要素を二等分する、事前形成された切れ目(または間隙)である。少なくとも1つの支柱の中の分離領域の実施例は、突き合わせ継手設計、キーおよびロック設計、くし設計、および/またはその他を含み、分離領域に隣接する二等分された支柱要素は、一様なステント拡張を有する、ならびに/もしくは拡張に応じてステントの構造完全性を維持するように構成される、種々の幾何学形状、形状、寸法、パターンを有してもよい。少なくとも1つの二等分された支柱(分離領域)は、通常、本願の全体を通して説明されるように、1つまたはそれを上回る材料によってともに保持される。
好ましい実施例では、分離領域のうちの少なくともいくつかは、少なくともいくつかの円周方向リングの「低応力領域」、すなわち、バルーンによって、または自己拡張によって、いずれかで、足場が拡張されるにつれて、より少ない応力を受ける、支柱領域等のこれらの領域の上または中に位置する。足場が圧着構成から拡張構成まで拡張すると、支柱等の低応力領域は、足場が半径方向に拡張するにつれて集中応力の結果として変形する、クラウン等の高応力領域よりも少ない応力を受けるであろう。特定の実施例では、1つまたはそれを上回る分離領域をそれぞれ有する、少なくともいくつかの円周方向リングは、生理学的環境内のステントの拡張に応じて初期強度を有し、少なくともいくつかの円周方向リングの初期強度は、不連続性の形成後に減少する。好ましい実施例では、1つまたはそれを上回る分離領域は、好ましくは、支柱の中に位置し、支柱は、足場が圧着構成から拡張構成まで拡張されるにつれて低減した(または最小限の)応力を受け、したがって、拡張中に不連続性の全てまたは実質的に全ての形成を阻止することによって、拡張中の足場の構造完全性を増進する。
管腔内補綴具の足場の中の分離領域は、種々の形態をとってもよい。例えば、分離領域は、クラウン領域の中および/または支柱領域の中に事前形成された切れ目もしくは間隙を備えてもよく、それによって、クラウンならびに/もしくは支柱構造要素を、典型的には、分解性ポリマーであるが、ある時は、分解性金属または金属合金である、生理学的環境内で分解するであろう材料によって継合される、それによって被覆される、もしくはそれに埋め込まれる、該クラウンおよび/または該支柱の2つの別個の区分に二等分し、多くの具体的実施例が以下で詳細に説明される。1つまたはそれを上回る材料を備える、分解性材料は、ひいては、分離領域の少なくとも1つの表面に適用され、ステントの少なくとも1つの表面に適用され、全ての分離領域表面に適用され、および/または全てのステント表面に適用され得る、スリーブ、コーティング、はんだ、接着剤、積層、ならびに同等物を含む、種々の形態および幾何学形状で提供されることができる。いくつかの実施例では、分離領域表面または足場表面の少なくとも1つの表面、大部分、もしくは全体は、分解性材料でコーティングまたは積層されることができる。好ましい実施例では、材料は、分離領域の対向表面、および反管腔側のステント、ならびに管腔表面の間の空間を全て充填し、表面をともに保持し、ステントの拡張に応じてステント構造完全性を維持する、接着剤、糊、または取付要素として作用する。他の事例では、分解性材料は、分離領域のみの上または中、随意に、その両側の短い距離、例えば、2mm、1mm、0.5mm、または同等物に位置することができる。さらに別の実施例では、1つまたはそれを上回る非分解性材料を備える非分解性材料は、加えて、少なくとも1つの分離領域表面に適用され、および/または加えて、少なくとも1つのステント表面に適用され、ならびに/もしくは加えて、全ての分離領域表面に適用され、および/または加えて、全てのステント表面に適用されることができる。非分解性材料は、分解性材料の前に適用される、または分解性材料の後に適用されることができる。好ましい実施例では、非分解性ステント上に設置される分解性および/または非分解性材料は、ポリマー材料である。別の実施例では、ポリマー材料(分解性および/または非分解性)は、好ましくは、少なくともステントの反管腔側表面を被覆するように、ステントの少なくとも1つの表面上にコーティングされ得る、少なくとも1つの薬物を含有する。
特定の実施例では、分解性材料は、スプレーコーティング、浸漬コーティング、スリーブカプセル化、印刷、はんだ付け、接着剤を用いた粘着、または同等物によって、適用されることができる。分解性材料は、本明細書の他の場所でさらに詳細に説明されるように、ポリマー、金属、または任意の他の分解性材料であることができる。典型的には、分解性材料は、ステントまたは他の補綴具の足場が生理学的環境内で圧着構成から拡張構成まで拡張している間に、分離領域をともに保持して分離領域中で隣接する構造要素を固定化するために十分な強度を有する。分解性材料は、通常、圧着構成から拡張構成までのステントの拡張後に分解する。分解性材料は、非分解性構造要素の隣接する領域の厚さと実質的に同一である厚さを有してもよい、すなわち、分解性材料は、隣接する構造要素の間の間隙または他の空間を充填するであろうが、これらの隣接する領域にわたって延在しないであろう。しかしながら、他の実施例では、分解性材料は、該分離領域に隣接する非分解性構造要素の厚さよりも5μm~30μm厚く及ぶ、該分離領域に隣接する厚さを有してもよく、かつ該隣接する領域にわたって延在してもよい、ステントの少なくとも1つの表面にわたって延在してもよい、もしくはそれを被覆してもよい、または全てのステント表面を被覆してもよい。分解性材料厚さは、全ての分離領域に関して実質的に同一であり得る、または例えば、不連続性の形成のタイミングを制御するように、異なる厚さを有し得る。
好ましい実施例では、分解性材料は、実質的に一様にステントの非分解性構造要素を被覆し、すなわち、構造要素の実質的に全ての反管腔側表面にわたって実質的に同一の厚さを有し、かつ構造要素の実質的に全ての管腔表面に関して同一の厚さを有するが、分解性材料はまた、足場構造要素の異なる表面に関して異なる厚さも有し得る。典型的には、足場構造要素の反管腔側および/または管腔表面領域にわたるコーティングもしくは他のカバーは、3μm~50μmに及ぶ、さらに通常、5μm~30μmに及ぶ。分解性材料は、分離領域のみを被覆および/または充填してもよい、隣接する構造要素の分離領域ならびに表面を被覆および/または充填してもよい、分離領域ならびに隣接する構造要素および隣接するリングの表面を被覆および/または充填してもよい、もしくはステント全体を被覆し、全ての分離領域を充填してもよい。
いくつかまたは全ての分離領域は、本明細書の他の場所で説明されるように、ほぼ同時に、または異なる時間周期で、不連続性を形成するように構成されることができる。好ましい実施例では、分解性材料は、埋込後の1ヶ月~2年に及ぶ、好ましくは、埋込後の2ヶ月~1年に及ぶ、より好ましくは、埋込後の3ヶ月~9ヶ月に及ぶ、周期後に分解する。
別の好ましい実施例では、少なくとも1つの分解性材料によってともに保持される分離領域を有する、非分解性足場は、拡張後に、および該当する場合、拡張後の初期内向き反跳後に、初期ステント平均体積(または平均面積)を有し、該平均面積(または平均体積)は、ステントの埋込後の該分解性材料の分解後に、ならびに/もしくは生理学的環境内の埋込後の1ヶ月~9ヶ月に及ぶ周期内で、初期ステント平均体積(または平均面積)の0.75%~0.90%、実質的に同一の(維持された)初期平均ステント体積(または平均ステント面積)、もしくは増加した平均ステント面積(または平均ステント体積)である。
別の実施例では、非分解性足場(またはステント)もしくは他の補綴具は、該円周方向リングのそれぞれの経路に沿って1つまたはそれを上回る分離領域を有する、複数の円周方向リングを備える。足場は、拡張後に、および(該当する場合)初期内向き反跳後に、平均ステント面積(または平均ステント体積)を維持するために十分な初期強度を有し、不連続性の形成後の足場は、生理学的環境内でステント平均面積(または平均体積)を実質的に維持もしくは増加させながら、該初期強度の減少を呈する。そのような非分解性足場は、典型的には、伸張可能(弾性)、通常、足場の拡張に応じてともに分離領域に隣接する構造要素を保持するために十分に伸張可能(弾性)、および/または展開後、もしくは展開後かつ分解性材料の分解前、または分解性材料の分解後に、足場もしくは足場区画が血管運動または血管拡張に適応もしくは応答することを可能にするために十分に伸張可能(弾性)であり得る、分解性材料を有するであろう。そのような実施例におけるステントまたは他の補綴具は、血管拡張剤が使用されるときに、もしくは約180mmHgの圧力の変化が印加されるときに、1つまたはそれを上回る足場区画の中で(もしくはステント留置区画の中で)直径の増加(または直径の変化)に適応してもよい(もしくはそれを呈してもよい)。直径のそのような変化は、生理学的条件下の拡張後に、0.05mm~0.5mm、より典型的には、0.7mm~0.4mmに及ぶ。別の実施例では、少なくとも1つまたはそれを上回る分離領域に隣接する(その中、上、周囲を含む)弾性材料は、ポリウレタン材料等のポリマー材料等の非分解性材料である。好ましい実施例では、非分解性材料は、圧着構成から拡張構成までのステントの初期展開に応じて分離領域をともに含有するために十分な強度を有し、該弾性非分解性材料は、生理学的条件下で、ステントの初期拡張後に、および/または不連続性の形成後に、1つまたはそれを上回るリングもしくはステント留置区画がさらに拡張ならびに/または収縮することを可能にする。
さらに別の実施例では、分離領域は、リングの構造要素、通常、支柱および/またはクラウンに形成される、間隙、空間、もしくは他の切れ目の中に、上に、ならびに/またはそれに隣接して配置される、弾性材料を備えてもよい。弾性材料は、典型的には、生理学的環境内の足場の拡張後に無傷のままであり、弾性材料は、生理学的条件下で半径方向コンプライアンスを増加させるために、リングの拡張、ある場合には、収縮を可能にする、「拡張継手」として作用してもよい。いくつかの実施例では、そのような拡張継手は、足場が展開されている間に足場の隣接する分離された領域をともに接続または接合もしくは保持する、コーティング、スリーブ、接着剤の形態、または本明細書の他の場所で説明されるような任意の他の形態における生体吸収性材料によって固定化されるであろう。他の実施例では、1つまたはそれを上回る拡張継手は、固定化されず、弾性材料は、拡張後に所望の半径方向コンプライアンスもしくは強度を依然として提供しながら、膨張または他の拡張中に無傷のままであるために十分な強度を提供するであろう。分離領域中の弾性材料は、単独で、または分解性材料等の手段によって膨張または他の拡張中に固定化される他の分離領域と組み合わせて、利用されてもよい。
なおも他の例示的実施形態では、分離領域は、拡張中に固定化されるが、生理学的環境内の初期拡張後に分離するように構成される、「キーおよびロック」接合点を備えてもよい。ある事例では、キーおよびロック接合点は、円周方向ならびに/または半径方向への分離を可能にするが、軸方向への分離を阻止する、くし状界面を有してもよい。他の事例では、キーおよびロック接合点は、円周方向、半径方向、ならびに/または軸方向への分離を可能にする、平滑もしくは直線状界面を有するであろう。他の場合では、キーおよびロック接合点は、「鋸状」、「V字」、「U字」、逆「V字」、逆「U字」、または他の表面領域界面等の非直線状界面領域を有し、そのような非直線状表面領域界面は、1つまたはそれを上回る表面領域界面を有することができ、1つまたはそれを上回る表面領域界面は、同一もしくは異なる形状、サイズ、厚さ、長さ、幅を有することができる。そのようなキーおよびロック接合点は、典型的には、拡張中に固定化されるが、生理学的環境内の初期拡張後に分離するように構成され、例えば、生分解性ポリマー等の分解性材料によって被覆される、それに埋め込まれる、またはそれによって継合される。
なおも他の実施例では、本発明の分離領域は、生理学的環境内で分解する材料によって継合される、それによって被覆される、またはそれに埋め込まれる、突き合わせ継手を備えてもよい。
本発明の管腔内補綴具の足場は、非分解性材料、典型的には、金属または金属合金材料を備えるであろう。金属足場に形成される不連続性は、足場が初期拡張からの反跳後にさらに拡張することを可能にする。不連続性はさらに、典型的には、足場が初期拡張直径よりも大きい拡張直径までさらに拡張することを可能にするであろう。
いくつかの実施形態および実施例では、円周方向リングは、拡張および/または圧着構成時の足場の長手軸と実質的に垂直であり得る。他の実施形態および実施例では、円周方向リングは、拡張および圧着構成の一方または両方時の足場の長手軸に対する角度で傾斜し得る。なおもさらなる実施例および実施形態では、連続円周方向リングは、各リングが螺旋の単一の巻目を画定する、連続螺旋パターンで端から端まで継合されるであろう。
別の側面または実施例では、本発明は、圧着構成から拡張されたより大きい構成まで拡張可能である、コバルトクロム合金、白金イリジウム合金、およびステンレス鋼合金等の非分解性金属または金属合金足場を備える、可変的に柔軟なステント(または制御可能コンプライアンスステントもしくは増加コンプライアンスステント)、足場、または他の管腔もしくは弁補綴具を提供する。足場は、好ましくは、少なくとも、血管が治癒するために十分な拡張(もしくは埋込)後の時間周期にわたって、および/または少なくとも、(初期拡張後のステントの任意の初期内向き反跳後に)さらなるもしくは付加的血管管腔内向き反跳の危険性が減退する、または低減されるときに、拡張後の時間周期にわたって、および/または少なくとも、埋込後の30日~6ヶ月に及ぶ時間周期にわたって、および/または少なくとも、埋込後の60日~6ヶ月に及ぶ時間周期にわたって、拡張後に血管管腔を支持するために十分な強度を有する。ステントは、いくつかの実施例では、拡張後に(または拡張の直後、もしくは埋込(拡張)後の24時間以内、または埋込(拡張)後の6ヶ月以内、もしくは埋込後の3ヶ月以内、または埋込後の2ヶ月以内に)初期強度を有し、該初期強度は、身体管腔を支持するために十分であり、ステントは、空中または生理学的条件(37℃の水等)下で拡張され、次いで、生理学的条件下で、初期強度は、初期強度よりも低い第2の強度まで減少し、好ましくは、3日~6ヶ月に及ぶ周期内に減少し、好ましくは、該初期強度は、30日~6ヶ月に及ぶ周期で第2のより低い強度まで減少する。該第2の強度までの強度の減少は、質量損失を伴わずに、または非分解性金属もしくは非分解性金属合金の分解を伴わずに起こる。第2のより低い強度は、いくつかの実施例では、初期強度の10%~100%に及ぶ、または初期強度の10%~90%に及ぶ、もしくは初期強度の20%~80%に及ぶ、または初期強度の30%~60%に及ぶ。ステントは、いくつかの他の実施例では、拡張後に(または拡張の直後、もしくは埋込(拡張)後の1時間以内、または埋込後の2時間以内に)初期強度を有し、該初期強度は、身体管腔を支持するために十分であり、ステントは、空中または生理学的条件下で拡張され、次いで、生理学的条件下の初期強度は、典型的には、5%~50%だけ初期強度よりも大きい、好ましくは、10%~30%だけ初期強度よりも大きい、第1の強度まで増加し、該第1の強度は、初期強度後に(または埋込(拡張)後の初期強度測定後に、もしくは埋込から1時間後に、または埋込から2時間後に、もしくは埋込後の1時間から埋込後の1ヶ月の間に)生じ、該初期強度は、生理学的条件下で第1のより大きい強度まで増加し、次いで、該第1の強度は、同一または類似生理学的条件下で初期強度よりも低い第2の強度まで減少し、該第1の強度は、好ましくは、15日~9ヶ月に及ぶ周期内に初期強度(第2の強度)を下回るまで減少し、好ましくは、該第1の強度は、30日~6ヶ月に及ぶ周期内に(または60日~6ヶ月に及ぶ周期内に)(初期強度よりも低い)第2のより低い強度まで減少する。該第2の強度までの強度の減少は、非分解性金属または金属合金の分解を伴わずに(質量損失を伴わずに)存在する(もしくは起こる)。第2のより低い強度は、いくつかの実施例では、初期強度の10%~100%に及ぶ、または初期強度の20%~85%に及ぶ、もしくは初期強度の30%~65%に及ぶ。展開(または拡張)の直後に、足場は、模擬血管(または細い管)の中で測定されたときに、1%と同程度、典型的には、0.7%と同程度、多くの場合、約0.5%と同程度、典型的には、0.1%~1%、通常、0.2%~0.5%の範囲内の複合コンプライアンスを有する。生理学的条件(シミュレーションされた生理学的条件を含む)下の拡張後、または血管条件への暴露後に、模擬血管の中で測定されたときの複合コンプライアンスもしくはステントコンプライアンスは、少なくとも1.2%まで、多くの場合、少なくとも1.5%まで、ある時は、少なくとも2%またはそれを上回るまで増加するであろう。可変的に柔軟なステント補綴具の他の実施例では、模擬血管の中で測定されたときのステントの複合コンプライアンスは、模擬血管の中で測定されたときの初期複合コンプライアンスと比較すると、少なくとも2倍、多くの場合、少なくとも3倍、ある時は、少なくとも4、5、10倍、またはそれを上回って増加し得る。
そのような可変的に柔軟なステント補綴具は、可変コンプライアンスを提供する、種々の具体的設計特徴を有し得る。以下でさらに詳細に説明されるように、例えば、非分解性金属または金属を備えるステント補綴具は、閾値時間にわたる血管条件への暴露後に分離する、もしくは不連続性を形成する、分離領域を有する足場を可能にする。例えば、分離領域のうちのいくつかは、最初に、血管条件に暴露されたときに経時的に分解する生体吸収性材料によって、分離することを妨げられ得る。より具体的には、生体吸収性材料は、ともに足場の(または足場分離支柱の、もしくは足場分離クラウンの、または足場分離構造要素の)隣接する分離された領域を最初にともに接続または接合もしくは保持するために好適なコーティング、スリーブ、接着剤の形態、または任意の他の形態であってもよい。生体吸収性材料は、血管条件に暴露されたときに、30日~3年、多くの場合、3ヶ月~2年、より多くの場合、3ヶ月~1年に及ぶ時間周期にわたって分解し得る。ステントがこれらの条件を満たすかどうかを判定する目的のために、ステントは、ヒト血管または管腔に埋め込まれたときに受ける、これらの条件を模倣することを意図している、本明細書の他の場所で定義されるような血管条件(生理学的条件)に生体外で暴露され得る。これはまた、生体内血管条件後に試験されることもできる。これはまた、本願で説明されるように、生理学的条件下で生体外試験を使用して試験されることもできる。いくつかの他の実施例では、1つまたはそれを上回る分離領域を含有する、1つまたはそれを上回るリングは、非分解性材料、好ましくは、弾性材料、好ましくは、非分解性ポリマー材料を含有する。非分解性材料は、ステントの拡張に応じて、そのような分離領域をともに、または別の材料(分解性材料もしくは他の非分解性材料等)とともに保持するために十分な強度を有することができる。弾性非分解性材料は、弾性材料を含有する1つまたはそれを上回るステント区画(もしくはリングまたはステント留置区画)を拡張することによって、ニトログリセリンまたは別の血管拡張剤の使用に応答すること等の拡張の直後に、または拡張後の24時間以内に、所望の半径方向コンプライアンスを提供することができる。本実施例における弾性非分解性材料は、初期拡張の直後に、および/または初期拡張(もしくは埋込)後の30分以内に、ならびに/もしくは初期拡張(埋込)後の24時間以内に、所望のコンプライアンスを制御する、初期内向き反跳後にさらなる拡張を制御する、所望の半径方向強度を制御する、および/またはステントの他の機械的性質を制御する。ステントは、加えて、1つまたはそれを上回る分離領域を含有する、1つまたはそれを上回るリング(非分解性弾性材料を含有する分離領域を含有する、同一もしくは異なるリング)を備えることができ、1つまたはそれを上回る付加的分離領域は、分解性材料(分解性ポリマー材料等)を含有する。非分解性材料を含有する、1つまたはそれを上回る分離領域は、典型的には、生理学的環境内の拡張後に不連続性を形成することを阻止するが、該分離領域(もしくはステント区画)を含有するリングが所望のコンプライアンスを有することを可能にする、または初期拡張後の初期反跳後にさらなる拡張を可能にする、または非分解性材料の伸張もしくは弾性に起因する、血管拡張剤へのステント留置区画(もしくは1つまたはそれを上回るリング)の応答を可能にする。さらに別の実施例では、1つまたはそれを上回るリング上の全てもしくは実質的に全ての分離領域(またはステント上に含有される全ての分離領域)は、非分解性材料を含有し、非分解性材料は、不連続性の形成を阻止するが、ステント(もしくは1つまたはそれを上回るリング)が所望のコンプライアンスおよび/または半径方向強度を有すること、ならびに/もしくは材料の伸張、弾性、および/または他の材料性質に起因する、血管拡張剤に応答することを可能にする。
他の具体的実施例および実施形態では、非分解性金属または金属合金足場は、上記もしくは他の場所で説明される閾値時間周期にわたる血管条件への暴露後に分解する、補強材料で補強される領域を備えてもよい。補強材料は、該時間周期にわたって分解する生体吸収性材料を備えてもよい。例えば、補強材料は、非分解性金属または金属合金足場のクラウンおよび/もしくは支柱内の空隙を充填してもよい。なおもさらに代替として、補強材料は、少なくとも非分解性金属または金属合金足場の表面の領域を被覆もしくはコーティングしてもよい。
上記および/または他の場所で説明されるように、可変コンプライアンスを示すことに加えて、本発明の可変的に柔軟なステントは、開放した状態で血管管腔を保持するため、かつ時間のある最小閾値にわたって、通常、少なくとも30日、さらに通常、少なくとも60日、多くの場合、少なくとも90日またはそれより長く、初期拡張後の初期反跳後に血管反跳を阻止または防止するために、拡張および埋込後に十分な半径方向強度を示すであろう。典型的には、例えば、冠動脈ステントに関して、例えば、10%の平坦プレート圧縮試験を使用して測定されるステント強度(または拡張されたステントの初期ステント強度)は、好ましくは、ステントが公称ステント拡張直径まで拡張された後に、平坦プレート10%圧縮を使用して、そのようなステント強度が測定されるとき、ステント長の1ミリメートルあたり0.030ニュートン~ステント長の1ミリメートルあたり0.14ニュートン、具体的には、ステント長の1ミリメートルあたり0.04ニュートン~ステント長の1ミリメートルあたり0.1ニュートン、多くの場合、ステント長の1mmあたり0.05ニュートン~ステント長の1ミリメートルあたり0.1ニュートンの範囲内であろう。必ずではないが、通常、ステント(足場)の半径方向強度は、複合コンプライアンスが初期複合コンプライアンスから増加する(ある他の実施例では、初期複合コンプライアンスが増加する前に減少する)につれて、拡張および血管条件への暴露後に減少するであろう(ある他の実施例では、拡張されたステントの初期半径方向強度は、初期拡張ステント強度よりも小さい第2の強度まで減少する前に、初期強度よりも大きい第1の強度まで増加する)。半径方向強度の減少は、半径方向コンプライアンスの増加と同時に(またはそれに対応して、もしくは類似時間に、または同時に、もしくはほぼ同時に)起こる。殆どの場合、拡張されたステントの半径方向コンプライアンスおよび半径方向強度は、相互に反比例して変動するであろう。多くの場合、ステント足場の半径方向強度は、典型的には、拡張の直後、または拡張および血管条件への暴露の直後(拡張後の1時間以内等)に測定される、初期半径方向強度の20%~100%の範囲内で減少し、ある時は、20%~80%の範囲内で減少するであろう、またはある場合には、拡張されたステントの初期半径方向強度が、実質的に初期強度まで、もしくは初期強度よりも低い強度まで減少する前に増加する一方で、コンプライアンスは、生理学的条件における埋込後に初期コンプライアンスから増加する、またはある他の場合には、拡張されたステントの初期半径方向強度が、実質的に維持される一方で、コンプライアンスは、初期コンプライアンスから生理学的条件における拡張後に増加する。
可変的に柔軟なステントの特定の実施例または実施形態では、非分解性金属もしくは金属合金足場は、公称拡張直径(ステントまたは他の足場がバルーンによって拡張されることを意図している直径)を有し、強度および複合コンプライアンスは両方とも、ステントが公称拡張直径の80%~120%である直径まで拡張された後に測定される。より一般的には、強度および複合コンプライアンスは、ステントが公称延長直径の100%まで拡張された後に測定されるであろう。
他の実施例では、ステントは、拡張構成への展開後に身体管腔を支持するために十分な強度を有し、展開後に1%~10%の内向き反跳を有し、ステントが展開後に1%もしくは1%よりも大きいコンプライアンスを呈する、および/または展開後に身体管腔を支持するために十分な強度を有するステントを有する場合、拡張構成への展開後に1%~10%の内向き反跳を有し、次いで、ステントは、生理学的条件下で、または血管拡張剤の使用下で、展開後および該内向き反跳後に3%~20%に及ぶ外向き反跳を呈する。
いくつかの他の実施例では、生理学的条件(血管拡張剤の使用を含む)下の複合コンプライアンス規模は、0.05mm~0.5mmに及ぶ、好ましくは、0.07mm~0.4mmに及ぶ、より好ましくは、0.1mm~0.4mmに及ぶ。そのような直径変化の規模は、ステント留置区画、またはステント留置区画の平均値、もしくは好ましくは、ステント留置区画の中央を中心とした領域中のうちの1つまたはそれを上回るものにおいて測定される。
他の実施例では、生理学的条件下のステントの外向き反跳規模は、0.05mm~0.5mmに及ぶ、好ましくは、0.07mm~0.4mmに及ぶ、より好ましくは、0.1mm~0.4mmに及ぶ。
別の側面または実施例では、本発明は、補強要素を伴うポリマー補綴具、およびそれらの使用ならびに加工のための方法を提供する。管腔内補綴具は、生分解性ポリマーからパターン化され、円周方向足場が小さい直径の構成からより大きい直径の構成まで拡張するにつれて変形する拡張領域を有する、円周方向足場を備える。一実施例では、本発明の管腔内補綴具は、冠状動脈ステント補綴具を備えてもよい。別の実施例では、本発明の管腔内補綴具は、血管ステント補綴具を備えてもよい。さらに別の実施例では、ステント補綴具は、非血管ステント補綴具である。補強要素は、足場がより大きい直径の構成まで拡張された後に円周方向足場を強化するように、円周方向足場の少なくともいくつかの領域に結合される。補強要素は、好ましくは、変形可能となり、分解性(腐食性もしくは浸食性も含む)または非分解性(非腐食性および非浸食性も含む)であり得る。具体的には、補強要素は、可鍛性もしくは弾性であり得る、金属および金属合金を備えてもよい、ポリマーを備えてもよい、または以下もしくは本願で説明されるように、ステント補綴具の拡張領域および/または他の構造を補強することができる機械的性質を有する、他の材料から完全もしくは部分的に形成されてもよい。
円周方向足場は、一実施例では、典型的には、完全または部分的に生分解性ポリマーから形成される管もしくは円筒からパターン化されるタイプのステント足場を備えるであろう。管または円筒は、押出、浸漬、噴霧、成形、もしくは印刷によって形成されることができる。生分解性ポリマーの管または円筒は、レーザ切断、フォトリソグラフィ、3次元印刷、ステレオリソグラフィ(SLA)、および同等物等のポリマーからステントを形成する当技術分野で周知の多くの技法のうちのいずれか1つを使用して、パターン化されるであろう。拡張領域は、典型的には、円周方向足場の直径が拡張される(または増加される)につれて、拡張領域が開放し、隣接するあまり変形可能ではない、または非変形可能領域もしくは構造要素、例えば、支柱の間の角度を増加させるように、隣接する支柱、ビーム、または他のあまり変形可能ではない、もしくは非変形可能特徴または構造もしくは構造要素に継合され得る、継手、ヒンジ、クラウン、湾曲部、屈曲部、および/または変形可能特徴もしくは構造または構造要素を備えるであろう。ステントはまた、ワイヤ(中実もしくは中空)または繊維から形成され、パターン化または編組されることもできる。
補強要素は、例えば、足場が圧着構成からより大きい直径の構成まで拡張されることに応じて、またはその後に、円周方向足場の剛性、破砕強度、破砕抵抗強度、半径方向強度、フープ強度、もしくは同等物を改良するために、提供されてもよい。具体的には、1つまたはそれを上回る補強要素は、具体的には、円周方向足場が、平行離間プレートの間に設置され、事前判定された量(または10%圧縮力(N)等の%もしくはステント長に正規化するN/mm)だけ拡張された足場直径を縮小するために必要とされる力が測定される、当技術分野で一般的に公知であるような、例えば、「プレート」または「平坦プレート」試験によって測定されるような、そのような強度を増進するために、円周方向足場上の支柱および/またはリンク等の1つまたはそれを上回る拡張領域ならびに/もしくは他の領域に結合されてもよい。半径方向強度を測定する他のタイプの試験もまた、当技術分野で一般的に公知であるように利用される(例えば、psi単位で測定される)ことができる。
最も一般的には、別の実施例では、補強要素は、継手、ヒンジ、クラウン、屈曲部、または他の拡張領域のうちの少なくともいくつかが、拡張もしくは開放後に、補強要素の追加がないよりも閉鎖力(または破砕抵抗力)に良好に抵抗することができるように、そのような拡張領域に結合されるであろう。拡張領域は、円周方向足場が拡張されるにつれて変形を受け、補強要素の存在は、いったん開放されると、補強要素が、足場が埋め込まれた血管または他の身体管腔もしくは身体管腔病変によって及ぼされる閉鎖力に足場が抵抗することを支援するように、拡張領域とともに開放するであろうことが理解されるであろう。変形可能拡張領域に加えて、円周方向足場はまた、典型的には、円周方向足場が拡張されるにつれて、通常、それらの形状を留保または実質的に留保する、非変形可能またはあまり変形可能ではない領域を含むであろう。補強要素はまた、これらの非変形可能またはあまり変形可能ではない領域のうちの少なくともいくつかに結合されてもよい。多くの実施例または殆どの実施形態では、拡張領域が、上記で説明されるように、曲線状継手、ヒンジ、クラウン、屈曲部、または同等物であろう一方で、非変形可能領域は、典型的には、支柱、直線状支柱、または足場の他の通常は線形の要素であろうが、ある時は、波形、S字形、M字形、V字形、波状線形、または波状非線形、およびU字形等の非線形もしくは他の形状を有してもよい。典型的には、管腔内補綴具の円周方向足場の拡張は、膨張式バルーンまたは他の従来の装置によって達成されるであろうが、他の場合では、円周方向足場は、弾性ポリマーまたは他の材料から加工され得、拡張が束縛からの円周方向足場の解放によって達成される、自己拡張式であり得る。
一実施例では、補強要素は、補強された領域、補強されたリングもしくは拡張領域、および/またはステントの剛性もしくは強度を増加させる。
別の実施例では、補強要素は、ステントの少なくとも1つの領域の強度を15%~100%の範囲だけ増加させ、好ましくは、強度を25%~150%の範囲だけ増加させ、より好ましくは、強度を25%~200%の範囲だけ増加させる。
別の実施例では、補強要素は、平坦プレート試験10%圧縮を使用して測定するたときに、0.015N/ステント長のmm~0.035N/ステント長のmmの範囲だけステントの強度を増加させ、好ましくは、0.015N/mm~0.05N/ステント長のmmの範囲だけステントの強度を増加させ、より好ましくは、0.015N/mm~0.09N/ステント長のmmの範囲だけステントの強度を増加させる。例えば、3.0mmステントに関する0.015N/mmの強度(例えば、平坦プレート試験方法を使用する)×28mmステント長は、0.42N強度に等しい、0.015N/mm×28mm(ステント長)に等しい。
別の実施例では、補強要素を有するステントは、平坦プレート試験10%圧縮を使用して測定するときに、0.03N/mm~0.06N/ステント長のmmに及ぶ強度を有し、好ましくは、0.025N/mm~0.07N/ステント長のmmに及ぶ強度を有し、より好ましくは、0.025N/mm~0.09N/ステント長のmmに及ぶ強度を有する。例えば、3.5mm直径ステントに関する0.03N/mmステント長強度(例えば、平坦プレート試験を使用する)×18mmステント長は、0.54Nに等しい、0.03N/mm×18mmのステント長に等しい。
別の実施例では、補強要素は、初期内向き反跳(または拡張後の反跳もしくは展開後の反跳)を増加させる、または後続の内向き反跳(埋込後の反跳、または手技完了後の反跳、もしくは埋込後の30日以内の反跳、または埋込後の6ヶ月以内の反跳、もしくは埋込初期反跳および6ヶ月時間周期後の反跳、または埋込初期反跳および1日後の反跳、もしくは埋込反跳および30日後の反跳)を減少させる。
別の実施例では、補強要素は、埋込後に、ステントの内向き反跳を、1%~10%の範囲まで、好ましくは、1%~7%の範囲まで、より好ましくは、1%~5%の範囲まで減少させる。別の実施例では、補強要素は、議論される種々の時点で、ステントの後続の内向き反跳を、0~5%の範囲まで、好ましくは、0~3%の範囲まで、より好ましくは、0~2%の範囲まで減少させる。
別の実施例では、補強要素を有するステントは、拡張または展開後に、1%~10%に及ぶ、好ましくは、1%~7%に及ぶ、より好ましくは、1%~5%に及ぶ、内向き反跳を有する。別の実施例では、補強要素を有するステントは、議論される種々の時点で、0~5%に及ぶ、好ましくは、0~3%に及ぶ、より好ましくは、0~2%に及ぶ、後続の内向き反跳を有し、最も好ましくは、該ステントは、実質的にゼロの内向き後続の反跳を有する(または該ステントは、埋込後に初期反跳を実質的に維持する)。
別の実施例では、少なくともいくつかの補強要素は、ステントの少なくともいくつかのリングの上の少なくともいくつかの拡張領域に結合され、ステントは、圧着構成から拡張されたより大きい構成まで拡張し、補強要素は、拡張ステント構成時に身体管腔を支持するために十分な強度を提供する。
補強要素は、一実施例では、多種多様なパターンで円周方向足場に結合されてもよい。補強要素は、拡張領域のうちのいくつかまたは全てに取り付けられてもよいが、必ずしも非変形可能もしくはあまり変形可能ではない領域のうちのいずれかに取り付けられるわけではない。具体的には、補強要素は、足場または足場リングの拡張領域のうちの1つ、2つ、3つ、もしくはそれを上回るものに取り付けられてもよい。いくつかの実施例または実施形態では、補強要素は、足場もしくは足場リングの拡張領域の全てに取り付けられ、他の好ましい実施例または実施形態では、補強要素は、足場もしくは足場リングの拡張領域のうちの1つを除く全てに取り付けられる。他の実施例または実施形態では、補強要素は、両方の拡張領域に、ならびに非変形可能もしくはあまり変形可能ではない領域のうちのいくつかまたは全てに取り付けられてもよい。他の実施例または実施形態では、補強要素は、非変形可能もしくはあまり変形可能ではない領域の中へ少なくとも部分的に延在する、少なくともいくつかの拡張領域に取り付けられてもよい。他の実施例または実施形態では、補強要素は、非変形可能もしくはあまり変形可能ではない領域の長さの少なくとも中間点まで延在する、少なくともいくつかの拡張領域に取り付けられてもよい。他の実施例または実施形態では、補強要素は、非変形可能もしくはあまり変形可能ではない領域の実質的に全長に延在する、少なくともいくつかの拡張領域に取り付けられてもよい。補強要素は、(完全または部分的に)円周方向足場の材料の中へ埋め込まれてもよく、例えば、拡張領域のうちの少なくともいくつかの中へ埋め込まれる(または反管腔側表面領域、管腔表面領域、および/もしくは側面領域等の拡張領域の表面領域のうちのいずれかの中へ埋め込まれる)。代替として、補強要素は、別の実施例では、拡張または非変形可能領域のうちの少なくともいくつかの外部の上に少なくとも部分的に位置するように、足場の上に取り付けられてもよい、または別様に配置されてもよい。
補強要素は、ステントをパターン化した後にステント補綴具に結合されることができ(その上に埋め込まれる、取り付けられる、または配置されることを含む、もしくは備える)、パターン化ステント領域への補強要素の結合は、いくつかの方法を挙げると、ステントまたはステント領域上に補強要素を圧入すること、レーザまたは機械的もしくは化学的手段等の種々の手段によって、溝または空間もしくはスロットを作成または事前形成し、次いで、ステントまたはステント領域上に補強要素を圧入すること、ポリマー材料を部分的に溶解させ、または圧入もしくは挿入する材料を軟化させ、補強要素を含有すること、および/または補強要素をパターン化構造表面もしくは領域(ポリマー構造等)に接着して取り付けること等の種々の方法によって実施される。代替として、補強要素は、ステントがパターン化される管(ポリマー管等)に結合される等、パターン化の前にステントに結合されることができ、管および補強要素は、上記および/または本願の全体を通して議論される方法、ならびにレーザパターン化等の本願で議論されるパターン化手段を使用して、パターン化されたステントを形成するようにともに(または別個に)パターン化される。補強要素はまた、例えば、浸漬、噴霧、もしくは成形を使用してステントを形成する、管(ポリマー管等)を用いて形成されることができる、または補強要素は、ステントにパターン化もしくは織成される1つまたはそれを上回るワイヤ(中実もしくは中空)であり、または補強要素は、材料(主要ポリマー材料等)によってカプセル化されるワイヤ(中実もしくは中空)であることができ、ステントに織成もしくはパターン化される。補強要素は、部品、中実ワイヤ、管、またはパターン化された構造として結合される。補強要素は、本願で説明されるようなステント補綴具に結合し、管腔を離脱させる、および/または足場もしくは管腔拡大を可能にする前に、不連続性または分離領域を有する一方で、ステント構造(ポリマーステント材料等)に結合される、または不連続性もしくは分離領域は、ステント、ワイヤ、または管に結合した後に、(レーザ切断、溶解、切断等の種々の手段を通して)補強要素上に形成され、次いで、不連続性もしくは分離領域は、圧着構成から拡張されたより大きい構成までの拡張に応じてステント構造要素をともに保持する、接着剤、主要ポリマー、異なるポリマー、スリーブ、または他の手段等の手段によって、ともに再接続もしくは保持される。
典型的には、円周方向足場を含むステントは、拡張領域が、足場が半径方向に拡張されるにつれて直線化または開放する、リングの曲線状、屈曲、ヒンジ連結、継手、クラウン、または他の領域を備える、複数の隣接するリングを備えるであろう。最も典型的には、そのようなリングは、正弦曲線、蛇行リング、ジグザグリング、菱形(Palmazタイプ)リング、または開放セル設計、閉鎖セル設計、または組み合わせを含む、血管ステント技術分野で公知である任意の他のタイプの半径方向に拡張可能なステントリング、もしくは当業者に公知の他のものであろう。通常、個々のリングは、圧着または拡張構成時の円周方向足場の中心軸と垂直に、または長手軸と垂直に配向される、平面内に配向されるであろう。しかしながら、他の実施形態または実施例では、リングまたは拡張領域もしくは円周方向構造要素の平面は、足場長手軸に対する角度(例えば、1°~85°、または1°~45°、もしくは10°~75°、または25°~75°、もしくは通常、5°~15°)で傾斜し得、ある場合には、「リング」または拡張領域もしくは円周方向構造要素は、螺旋構造で形成されてもよい、または連続螺旋配列で継合されてもよい。個々のリングまたは螺旋ステント構造の隣接する巻目は、ヒンジ、クラウン、ビーム、支柱、および/またはリングもしくは巻目の他の構成要素の間の軸方向リンクによって、ともに軸方向に継合されてもよい。他の実施例では、足場は、ワイヤ(少なくともいくつかの領域中で中実または中空)から形成され、隣接するリングが1つまたはそれを上回る場所(もしくは領域)で接続される、ステントにパターン化されることができる。一実施例では、ステントは、ステントの長手軸と垂直であることから、1°~85°に及ぶステントのそのような長手軸に対する角度を有すること、螺旋構成リングパターンを有することにまで及ぶ、配向を有するリングを備え、少なくともいくつかのリングは、少なくとも1つの分離領域を有する。いくつかの他の実施例では、弁含有ステント等のステントは、1つまたはそれを上回る円周方向リング(もしくは1つまたはそれを上回る円周方向構造要素)を備えることができる。そのような実施例では、ステントは、本願で説明されるように、1つまたはそれを上回る分離領域、ヒンジ、もしくは他の構造を備える。特定の好ましい実施例では、ステントは、1つまたはそれを上回る円周方向リングを備え、1つまたはそれを上回るリングは、クラウンによって継合される複数の支柱を備える。通常、2本毎の支柱が、クラウンによって継合される、または全てのクラウンが、リング上で2つの支柱を継合する。少なくともいくつか、好ましくは、全てのリングは、少なくとも1つの軸方向リンクによって、または(はんだ、接着剤、もしくは材料の融合を使用して)隣接するリングの1つもしくはそれを上回るクラウン領域を継合することによって、隣接するリングに継合される。
補強要素は、一実施例では、リングを中心として区画の中に配置されてもよい、または代替として、実質的にリングのうちの少なくともいくつかの円周方向の全長の周囲に延在するように配置されてもよい。しかしながら、補強要素は、血管または他の身体管腔が治癒プロセス中に再形成するにつれて、補強要素が展開後に円周方向に分離または/および離脱する、もしくは増分的に拡張することができるように、それらの円周方向または長さに、少なくとも1つの切れ目、不連続性、もしくは分離領域を有する、または形成するように構成されるであろう。このように、補強要素は、展開および/または展開後の初期周期中に圧潰する所望の初期強度ならびに抵抗を提供することができるであろうが、円周方向足場の生分解性ポリマー(主要ポリマー等)が軟化した、および/またはポリマーの分子量が減少した、ならびに/もしくはポリマーが分解した、および/または血管再形成もしくは他の生理学的条件に応答して、自由にさらに拡張する補強要素(浸食されていない、または完全に浸食されていない)を残して、ポリマーが少なくとも部分的に浸食された(分解または腐食されることを含む)後に、足場が離脱および/または拡張しないように、ならびに/もしくは血管/管腔が拡張しないように、抑止または阻止しないであろう。
本発明の円周方向足場は、従来のステントのパターンで見出される、いくつかまたは全ての従来の特徴を含んでもよい。例えば、ステントパターンは、隣接するリングをともに保持し、ステント技術分野で周知であるタイプの閉鎖セルを形成する、軸方向リンクを含んでもよい。そのような場合には、補強要素は、例えば、軸方向リンクのうちの少なくともいくつかに結合されてもよく、その場合、複数の個々の補強要素は、実質的に平行なリングならびに実質的に平行な軸方向リンクに結合される、ボックス構造をともに形成してもよい。一実施例では、補強要素は、少なくとも1つの切れ目を有する、少なくとも1つの軸方向リンクに結合される。
補強要素は、一実施例では、形状もしくは幾何学形状を有する、または形状もしくは幾何学形状を実質的に有する、またはより小さい形状もしくは幾何学形状を有する、またはより大きい形状もしくは幾何学形状を有する、またはクラウン、支柱、および/またはリンク等の結合される構造要素と異なる形状もしくは幾何学形状を有する、個々の部品であることができる。形状の実施例は、正方形、円形、長方形、三角形、半円形、および他の形状を含む。これらの実施例では、部品は、(他の隣接する補強要素と接触しているか、または接触していないかのいずれかである)不連続もしくは離散部品である。部品は、ポリマー材料が分解および/または再吸収された後に炎症を予防する、デバリングされた端部領域、丸みを帯びた端部領域、球状端部領域、または他のタイプもしくは幾何学形状を有することができる。好ましい実施例では、少なくともいくつかのリングの拡張領域の実質的に全ては、該拡張領域に結合される補強要素部品を有し、補強要素部品は、実質的に拡張領域区画全体または拡張領域区画の少なくとも一部に跨架する。別の実施例では、少なくともいくつかのリングの拡張領域の実質的に全ては、該拡張領域に結合される補強要素部品を有し、補強要素部品は、拡張領域区画全体に跨架し、非変形可能または実質的に非変形可能な区画(支柱等)の中へ少なくとも部分的に延在する。好ましい実施例では、補強要素、補強要素部品の形状および/または幾何学形状は、概して、結合される構造要素の形状ならびに/もしくは幾何学形状に実質的に模倣または輪郭形成する。補強要素部品は、一実施例では、部品が結合される構造要素に対して、少なくとも1つの次元でより大きいサイズ、少なくとも1つの次元でより小さいサイズ、または少なくとも1つの次元で同一のサイズであり得る。生分解性材料の少なくともいくつかの構造要素に結合される補強要素部品は、身体管腔を支持するためにステントの拡張に応じてステントを強化または増強しながら、生理学的条件下で(および/またはニトロ等の治療薬の導入を通して)埋込後に(または拡張後もしくは展開後に)、ステントがさらに拡張することを可能にする、および/またはステントが離脱することを可能にする、ならびに/もしくは血管が血管運動または血管拡張を呈することを可能にする。
別の実施例では、補強要素は、少なくともいくつかのリングおよび/またはリンク等の他の構造要素に結合される、1つもしくはそれを上回る補強要素区画であることができる。例えば、補強要素区画は、リング上の1つのクラウンおよび1つの支柱に結合される(または跨架する)、および/またはリング上の1つのクラウンおよび1つの支柱ならびに1つのリンクに結合される(または跨架する)、ならびに/もしくはリング上の複数のクラウンおよび支柱ならびに複数のリンクに結合される(または跨架する)。別の実施例では、補強要素区画は、ステント上にパターンを形成し、該パターンは、通常、対称パターンであり(但し、非対称パターンでもあり得る)、該パターンは、閉鎖パターンおよび開放パターンを含む、種々の形状であることができる。補強要素区画が、リングクラウンおよび/または支柱の構造要素全体に跨架するとき、該補強要素区画は、該クラウンおよび/または支柱に少なくとも1つの切れ目もしくは不連続性を有し(該切れ目もしくは不連続性は、該構造要素に結合する前または後に形成される)、ステントがポリマー材料の分解後にさらに拡張することを可能にし、またはステントが離脱することを可能にし、もしくは血管が血管運動を有することを可能にし、または生理学的条件下で(および/またはニトロ等の治療薬の導入を通して)、拡張後に(もしくは展開後に)血管が血管拡張を有することを可能にし、該補強要素区画は、展開後に身体管腔を支持するために十分な強度を有することによって、ステントを強化または増強する。
別の実施例では、補強要素は、少なくともいくつかのリング(もしくは円周方向構造要素)に結合される、または実質的に全てのリング(もしくは円周方向要素)に結合される、1つまたはそれを上回る補強要素区画であることができる。補強要素または補強要素区画が、切れ目、不連続性、もしくは分離領域を伴わずにリング長全長(または円周方向構造要素)に跨架する、または切れ目、不連続性、もしくは分離領域を伴わずに1つを上回るリング全長に跨架するとき、または補強要素が、切れ目、不連続性、もしくは分離領域を伴わずに実質的にステント全体に跨架するとき、該補強要素または補強要素区画は、リング(例えば、クラウンもしくは支柱)毎に円周方向経路に沿った少なくとも1つまたはそれを上回る領域、および/または各リングの円周方向経路に沿った1つまたはそれを上回るクラウン領域、ならびに/もしくは各リングの円周方向経路に沿った1つまたはそれを上回る支柱領域を有し、1つまたはそれを上回る該領域は、200平方ミクロン~4,000平方ミクロンに及ぶ断面積、好ましくは、400平方ミクロン~3,000平方ミクロンに及ぶ断面積、より好ましくは、700平方ミクロン~2,500平方ミクロンに及ぶ断面積を有する、補強要素(もしくは1つまたはそれを上回る補強要素)を含有し、1つまたはそれを上回る該領域は、該1つまたはそれを上回るリングおよび/もしくはステントが、ポリマー材料(または金属分解性材料)の分解後にさらに拡張することを可能にし、および/またはステントが離脱することを可能にし、ならびに/もしくは血管が血管運動を有することを可能にし、および/または血管が血管拡張を有することを可能にし、ならびに/もしくは生理学的条件下で(および/またはニトロ等の治療薬の導入を通して)、ステント拡張後に(もしくは展開後に)ステントが3.0mm拡張直径において1%~5%に及ぶ半径方向歪みを有することを可能にし、該補強要素区画は、展開後に身体管腔を支持するために十分な強度を有することによって、ステントを強化または増強する。別の実施例では、上記の該断面積を有する該領域は、少なくともいくつかのリングの実質的に全長に跨架する、またはステント全体に実質的に跨架する。別の実施例では、該断面積を有する該領域は、少なくともいくつかのリングに跨架する、または実質的に全てのリングに跨架するが、少なくともいくつかの軸方向リンクに跨架しない。別の実施例では、該領域は、該断面積を有し、補強要素幅は、該領域における構造要素の幅の10%~50%に及ぶ、好ましくは、20%~40%に及ぶ、より好ましくは、25%~35%に及ぶ。別の実施例では、該領域は、該断面積を有し、補強要素厚さは、該領域における構造要素の厚さの10%~70%に及ぶ、好ましくは、20%~50%に及ぶ、より好ましくは、30%~40%に及ぶ。別の実施例では、1つまたはそれを上回る領域は、該断面積を有し、構造要素の厚さ対幅の比は、1.5:1~3:1であり、該1つまたはそれを上回る領域における構造要素の厚さ対幅の比は、0.7:1.4に及ぶ、好ましくは、0.8:1に及ぶ。本実施例の好ましい実施例では、補強要素は、非分解性金属または金属合金であり、ステントフレーム材料(補強要素が結合される)は、ポリマー分解性材料である。本実施例の別の好ましい実施例では、補強要素は、非分解性金属または金属合金であり、ステントフレーム材料は、分解性金属または金属合金である。補強要素を含有し、分解性フレーム材料を有する、本実施例におけるステントは、圧着構成から拡張構成まで拡張されたときに、身体管腔を支持するために十分な強度を有し、ステント半径方向コンプライアンスが、拡張後に増加する一方で、該ステントの強度は、拡張後に減少する。別の実施例では、ステント半径方向歪みは、分解性ポリマー材料の分解後に増加し、拡張後の初期強度は、ポリマー材料の分解後に減少する。本実施例の別の実施例では、分解性フレームステント材料と組み合わせられた補強要素は、身体管腔を支持するために十分な強度を有し、補強要素単独では、身体管腔を支持するために十分な強度を有していない。本実施例の別の実施例では、分解性フレームステント材料と組み合わせられた補強要素は、身体管腔を支持するために十分な強度を有し、補強要素単独またはステントフレーム材料単独では、身体管腔を支持するために十分な強度を有していない。
別の実施例では、補強要素、架橋要素、分離領域、切れ目、および本願で説明される他の特徴を有する、ステントは、拡張後の半径方向歪み(またはコンプライアンス)の増加および該拡張後の半径方向強度の減少を呈する。別の実施例では、半径方向歪み(またはコンプライアンス)の該増加および強度の減少は、ステントの拡張後の1週間~ステントの拡張後の9ヶ月に及ぶ周期に始まり(または起こり)、好ましくは、拡張後の1ヶ月~拡張後の6ヶ月に始まり、より好ましくは、拡張後の2ヶ月~拡張後の6ヶ月に始まる。
最も一般的には、補強要素は、円周方向足場とともに開放および変形されることができるが、足場が部分的または完全に拡張された後に閉鎖に抵抗する、より高い強度を有する、通常、金属(金属合金を含む)であり、さらに通常、可鍛性金属である、非分解性材料を備えるであろう。しかしながら、他の実施例では、補強要素は、円周方向足場の主要ポリマー(または分解性パターン化ポリマー、もしくは補強要素が少なくとも部分的に結合されるポリマー)よりも高い剛性を有するポリマーであってもよい。ポリマー補強要素は、円周方向足場を形成するものと同一または異なるポリマーから形成されてもよい。補強要素が同一ポリマーから形成されるとき、補強要素ポリマーは、典型的には、より高い分子量および/またはより高い結晶化度を有し、もしくは別様に、円周方向足場の主要本体ポリマー(または分解性パターン化ポリマー、もしくは補強要素が少なくとも部分的に結合されるポリマー)よりも剛性のポリマーとなり、本実施例における補強ポリマーは、分解性または非分解性であり得る。さらに別の実施例では、補強要素はまた、マグネシウムおよび/またはマグネシウム合金等の分解性金属(金属合金を含む)を備えることもできる。
さらに別の実施例では、ステント補綴具は、生分解性ポリマー材料を備え、ポリマー分解性材料は、1ヶ月~5年で分解し、好ましくは、2ヶ月~3年で分解し、より好ましくは、3ヶ月~2年で分解し、補強要素は、該ステントの少なくともいくつかのリングの少なくともいくつかの拡張領域に結合される。補強要素は、ステント拡張構成時の該拡張領域(またはステント)を強化(または増強)する、非分解性もしくは分解性材料、金属もしくは金属合金、ポリマー(分解性もしくは非分解性)、または他の材料であることができる。典型的には、ポリマー材料は、補強要素よりも速く分解するが、(ポリマー材料は)補強要素と同時に(もしくは同一の速度で)、または補強要素よりも遅く、分解するように構成されることもできる。別の実施例では、補強要素は、分解または腐食しない。
さらに別の実施例では、ステント補綴具は、マグネシウム合金等の生分解性金属材料を備え、金属分解性材料は、1ヶ月~5年で分解し、好ましくは、2ヶ月~3年で分解し、より好ましくは、3ヶ月~2年で分解し、補強要素は、本願の実施例のうちのいずれかによると、該ステントの少なくともいくつかのリングの少なくともいくつかの拡張領域に結合される。補強要素は、ステント拡張構成時の該拡張領域(またはステント)を強化(または増強)する、非分解性もしくは分解性材料、金属もしくは金属合金、ポリマー(分解性もしくは非分解性)、または他の材料であることができる。典型的には、金属材料は、補強要素よりも速く分解するが、(金属材料は)補強要素と同時に(もしくは同一の速度で)、または補強要素よりも遅く、分解するように構成されることもできる。別の実施例では、補強要素は、分解または腐食しない。
なおも他の実施例では、補強要素は、弾性金属もしくはポリマー(ばねおよび/またはNiTiのような形状記憶を含む)から形成されてもよい。例えば、ポリマーまたは金属円周方向足場上の継手またはヒンジもしくは拡張領域に共形化する(または輪郭形成する)ように湾曲もしくは屈曲される、補強要素に関して、補強要素は、典型的には、圧着構成時の円周方向足場上の対応するヒンジまたは継手に結合されたときに、閉鎖または束縛構成であろう。このように、典型的には金属の補強要素は、そのより大きい直径の構成までバルーン拡張または自己拡張されるにつれて、円周方向足場を開放すること、および/もしくは開放した状態で保つことに役立つように作用するであろう。また、血管または他の身体管腔の中の埋込後でさえも、弾性、形状記憶、および/またはばね様補強要素は、典型的には、円周方向足場を付勢し続け、管腔内補綴具自体等の展開された補綴具の強度および破砕抵抗を同時に増強しながら、ならびに/もしくは該円周方向足場の同一、隣接、または他の拡張領域もしくは構造要素上に配置される、高い剛性を伴う他の補強要素を通して、少なくともそれらが結合される領域中で開放するように、ポリマー(主要ポリマー等)または金属によって、依然として少なくとも部分的に束縛されるであろう。随意に、足場は、円周方向足場上に、同一または他の拡張領域に結合される、付加的金属、ポリマー、もしくは他の非弾性(可鍛性)補強要素、例えば、ヒンジまたは継手を有してもよい。例えば、その足場またはリング(主要ポリマー等)を備える、1つもしくはそれを上回るポリマーが、軟化および/または劣化し始める、ならびに/もしくは分子量が減少し始めると、および/または血管もしくは他の身体管腔が経時的に治癒ならびに再形成すると、弾性補強要素は、開放バイアスを提供し続け、足場の拡大を増進することができるであろう。開放バイアスの規模は、(ばね、形状記憶を含む)弾性材料性質および/または処理によって制御される、ならびに/もしくは補強要素を含有するポリマー材料(主要ポリマー等)の分解によって制御される。用語「ステント」および「足場」は、本願では同義的に使用される。別の実施例では、2つの端部を有する、典型的には金属の形状記憶またはばね補強要素は、隣接する支柱(非変形可能または実質的に非変形可能な構造要素)に結合されることができ、補強要素は、(支柱の長さに沿って)2本の隣接する支柱を接続する拡張領域として構成され、補強要素拡張領域は、ステントが圧着構成であるときに圧着構成であり、補強要素拡張領域は、ステントが展開構成まで拡張するにつれて拡張する。補強要素は、ステントの展開後に(展開構成からのステントの内向き反跳後に)押し開き続ける(該隣接する支柱の角度を増加させる)。補強要素はさらに、展開後にステントを拡張する。補強要素は、本願の全体を通して説明されるように、構造要素に取り付けられる、または結合される。一実施例では、補強要素はさらに、ステント展開後およびステント反跳後に、0.05mm~1mm、0.1mm~0.5mm、好ましくは、0.1mm~0.3mmの平均範囲、または対応する平均断面積だけステント補綴具を拡張する。別の実施例では、補強要素は、ステント展開およびステント内向き反跳後に、ステント平均拡張直径または平均断面積の2%~15%、好ましくは、3%~10%の範囲だけステント平均直径または平均断面積を増加させる。別の実施例では、ステント補綴具は、NiTiまたは他のタイプの材料を備える、非分解性形状記憶合金を備え、ステントは、1つまたはそれを上回る分離領域(および/もしくは1つまたはそれを上回るヒンジ)を有し、ステントは、圧着構成から初期拡張構成まで拡張し、1つまたはそれを上回る分離領域(もしくはヒンジ)は、不連続性を形成し、(またはステントが半径方向変位を有することを可能にし)、ステントが血管拡張剤に応答すること、または変化する管腔(もしくは輪)構成に輪郭形成することを可能にする。
好ましい実施例では、分解性ポリマーステントは、分解性主要ポリマー(実質的にポリマー足場構造を形成するポリマー、または実質的に連続足場構造を形成するポリマー、もしくは実質的に分離領域を伴わない足場構造を形成するポリマー、または少なくともいくつかの分離領域もしくは不連続性を除く足場構造を形成するポリマー)を備える。分解性ポリマーステントは、主要ポリマーに加えて、1つを上回るポリマーを備えることができる(隣接する、混成される、混合される等)。補強要素は、好ましくは、主要ポリマーまたは他の付加的ポリマーと比較して、より高い破砕抵抗(強度)を有する、非分解性金属および金属合金であり、そのような補強要素は、クラウンおよび/または支柱等の足場構造要素の少なくともいくつかの領域に結合され、補強要素は、ステントが生理学的環境内で離脱および/または拡張することを可能にする、分離領域もしくは不連続性を有する。補強要素はまた、ポリマー(分解性もしくは非分解性)または腐食性金属および金属合金であることもできる。
好ましい実施例では、補強要素は、ロッド(もしくは中実)または中空ワイヤ、円形、半円形、三角形、長方形、正方形、卵形、または他の形状および幾何学形状を含む、種々の形状ならびに幾何学形状を有することができる。好ましい実施例では、補強要素を含有する、またはそれに結合される、少なくともいくつかの構造要素(クラウンおよび/または支柱等)の断面積は、該構造要素の断面積の5%~90%を表す、好ましくは、断面積の10%~75%を表す、より好ましくは、該構造要素の断面積の15%~75%を表す、補強要素を有する。構造要素は、本願に説明されるように、構造要素に完全に埋め込まれる、部分的に埋め込まれる、または構造要素の1つもしくはそれを上回る表面領域に取り付けられることができる。
本発明の別の実施例または側面では、ステントは、少なくとも1つのクラウン領域(好ましくは、少なくともいくつかのクラウン領域、より好ましくは、少なくともいくつかのリング上のクラウンの少なくとも半分)、および/または少なくとも1つの支柱領域(好ましくは、少なくともいくつかの支柱領域、より好ましくは、少なくともいくつかのリング上の支柱領域の少なくとも1/4)が、少なくともいくつかのリング上に形成されず(もしくは部分的に形成され)、該領域が、補強要素、好ましくは、非分解性補強要素、好ましくは、CoCr合金、ステンレス鋼合金、または他の金属もしくは金属合金等の金属と形成または置換される、または非分解性ポリマー補強要素でもあり得る、構造要素を備える、構造にパターン化される、生分解性ポリマー材料(または生分解性金属材料)を備える。ポリマーステントは、一実施例では、少なくともいくつかのリング上で、少なくとも1つのクラウン領域を伴うことなく、および/または少なくとも1つの支柱領域を伴うことなく、形成され(もしくは次いで除去される領域を伴って形成され)、金属補強要素は、隣接するポリマークラウン領域および/または支柱領域と比較して、実質的に同一のサイズ(もしくは好ましくはより小さいサイズ)を有し、補強要素は、クラウン領域形状および/または支柱領域形状に成形(または屈曲もしくは湾曲)され、補強要素のクラウン領域の2つの端部は、未形成クラウンの支柱端部領域に取り付けられる。補強要素の2つの端部は、突き合わせ継手としてポリマーステントの2つの支柱端部に取り付けられることができ、接合点において2つの材料をともに接着して接合する、および/またはスリーブとともに補強要素ならびにポリマー材料接合点領域の両方を含有する、および/または(レーザパターン化中もしくは後に)ポリマーステントの2つの支柱端部領域のそれぞれにスロットを形成し、形成されたスロットの中へ補強要素クラウン領域端部を挿入もしくは圧入し、随意に、2つの材料の重複領域(例えば、0.05mm~1mm重複領域)を接着して接合する、および/またはスリーブとともに重複領域を含有する(スリーブは、重複領域を越えて延在することができる)、および/またはポリマー端部が圧入する、補強要素端部領域に形成されるスロットを作成し、もしくは有し、圧着構成から拡張されたより大きい構成までの拡張中に、補強要素およびポリマー材料接合点をともに保持する、または突き合わせ継手をともに保持する。同様に、補強要素は、上記で議論されるように未形成ポリマー支柱端部(または部分的に形成された支柱)に接続することができる。補強要素は、拡張ステント構成時の拡張領域および/または非変形可能もしくは実質的に非変形可能な領域を強化する。ステントは、圧着構成から拡張されたより大きい構成まで拡張可能であり、身体管腔を支持するために十分な強度を有する。一実施例では、ステントポリマー生分解性材料が、3ヶ月~3年で分解する一方で、非分解性補強要素は、血管壁の中に残留する。展開後のステントは、血管を離脱させ、血管運動を呈し、血管拡張を呈し、血管収縮を呈し、および/またはより大きい構成までさらに拡張し、ならびに/もしくは生理学的条件下で、1%~10%に及ぶ、好ましくは、1%~7%に及ぶ、より好ましくは、1.5%~7%に及ぶ半径方向歪みを有する。ステントは、一実施例では、クラウンおよび支柱を備える構造要素を備える、分解性ポリマー材料を備え、クラウンおよび/または支柱のうちの少なくともいくつかは、形成(それらを切断すること等の機械的に、または溶剤もしくは他の材料を使用してそれらを除去すること等の化学的に形成すること等)後に形成されておらず、取り外されており、もしくは除去されており、非分解性金属補強要素と置換されている。ステントは、ポリマー管から形成される、またはステントにパターン化されるフィラメントから、もしくは当業者に公知である他の方法で形成される。補強要素は、管またはワイヤから形成され、クラウン等のそれが取って代わるであろう構造要素の形状に成形もしくはパターン化されることができる。一実施例では、補強要素は、パターン化された管から形成され、次いで、該パターン化された管の構成要素は、(例えば、機械的に)除去され、(一実施例では、それに取って代わるように)未形成ポリマー構造要素の場所の中に挿入される(または取り付けられる)。別の実施例では、ワイヤ補強要素は、置換される構造要素に成形され、取り付けられる。構造要素を形成する他の方法は、パターン平坦シートを形成すること、射出成形、またはその他等の種々の方法を含むことができる。補強要素の形状およびサイズは、変動し得、本願の全体を通してさらに詳細に議論される。
別の実施例では、マグネシウム合金ステント等の生分解性金属ステントは、少なくとも1つのクラウン領域(好ましくは、少なくともいくつかのクラウン領域、より好ましくは、少なくともいくつかのリング上のクラウンの少なくとも半分)、および/または少なくとも1つの支柱領域(好ましくは、少なくともいくつかの支柱領域、より好ましくは、少なくともいくつかのリング上の支柱領域の少なくとも1/4)が、少なくともいくつかのリング上に形成されず(もしくは部分的に形成され)、該領域が、補強要素、好ましくは、非分解性補強要素、好ましくは、CoCr合金、ステンレス鋼合金、または他の金属もしくは金属合金等の金属と形成または置換される、または非分解性ポリマー補強要素でもあり得る、構造要素を備える、構造にパターン化される。金属ステントは、一実施例では、少なくともいくつかのリング上で、少なくとも1つのクラウン領域を伴うことなく、および/または少なくとも1つの支柱領域を伴うことなく、形成され(もしくはそれを伴って形成され、次いで、除去され)、金属補強要素は、隣接する金属ステントクラウン領域および/または支柱領域と比較して、実質的に同一のサイズ(もしくは好ましくはより小さいサイズ)を有し、補強要素は、クラウン領域形状および/または支柱領域形状に成形(または屈曲もしくは湾曲)され、補強要素のクラウン領域の2つの端部は、未形成クラウンの支柱端部領域に取り付けられる。補強要素の2つの端部は、突き合わせ継手として金属ステントの2つの支柱端部に取り付けられることができ、接合点において2つの材料をともに接着して接合する、および/またはスリーブとともに補強要素ならびに金属ステント接合点領域の両方を含有する、および/または(レーザパターン化中もしくは後に)金属ステントの2つの支柱端部領域のそれぞれにスロットを形成し、形成されたスロットの中へ補強要素クラウン領域端部を挿入もしくは圧入し、随意に、2つの材料の重複領域(例えば、0.05mm~1mm重複領域)に接着して接合する、および/またはスリーブとともに重複領域を含有する(スリーブは、重複領域を越えて延在することができる)、および/または金属ステント構造要素端部が圧入する、補強要素端部領域に形成されるスロットを作成する、もしくは有する、および/または2つの材料をレーザ溶接(もしくは融合)し、圧着構成から拡張されたより大きい構成までの拡張中に、補強要素および金属ステント接合点をともに保持する、もしくは突き合わせ継手をともに保持する。同様に、補強要素は、上記で議論されるように、未形成金属ステント支柱(または部分的に形成された支柱)に接続することができる。補強要素は、拡張ステント構成時の拡張領域および/または非変形可能もしくは実質的に非変形可能な領域を強化する。ステントは、圧着構成から拡張されたより大きい構成まで拡張可能であり、身体管腔を支持するために十分な強度を有する。一実施例では、ステント金属生分解性材料が、3ヶ月~3年に及ぶ時間周期で分解または実質的に分解する一方で、非分解性補強要素は、血管壁の中に残留する。展開後のステントは、血管を離脱させ、血管運動を呈し、血管拡張を呈し、血管収縮を呈し、および/またはより大きい構成までさらに拡張し、ならびに/もしくは生理学的条件下で、1%~10%に及ぶ、好ましくは、1%~7%に及ぶ、より好ましくは、1.5%~7%に及ぶ半径方向歪みを有する。ステントは、一実施例では、クラウンおよび支柱を備える構造要素を備える、分解性金属材料を備え、クラウンおよび/または支柱のうちの少なくともいくつかは、形成(それらを切断すること等の機械的に、または溶剤もしくは他の材料を使用してそれらを除去すること等の化学的に形成すること等)後に形成されていない、取り外されており、もしくは除去されており、非分解性金属補強要素と置換されている。ステントは、金属管から形成される、またはステントにパターン化されるフィラメント(もしくはワイヤ)から、または当業者に公知である他の方法で形成される。補強要素は、管またはワイヤから形成され、クラウン等のそれが取って代わるであろう構造要素の形状に成形もしくはパターン化されることができる。一実施例では、補強要素は、パターン化された管から形成され、次いで、該パターン化された管の構成要素は、(例えば、機械的に)除去され、(一実施例では、それに取って代わるように)未形成金属ステント構造要素の場所の中に挿入される(または取り付けられる)。別の実施例では、ワイヤ補強要素は、置換される構造要素に成形され、取り付けられる。構造要素を形成する他の方法は、パターン平坦シートを形成すること、射出成形、またはその他等の種々の方法を含むことができる。補強要素の形状およびサイズは、変動し得、本願の全体を通してさらに詳細に議論される。
別の側面または好ましい実施例では、身体管腔内のステントの展開に応じて十分な強度を有するために、金属材料等の非分解性高強度材料から成るステントを有することが望ましい(ある場合には、高い破砕抵抗を有する分解性金属材料等の分解性材料もまた、本実施例に使用されることができ、そのような材料は、長時間にわたって血管を閉じ込め、ゆっくり分解する傾向がある)。しかしながら、そのようなステントは、ステントに隣接する血管または区画を閉じ込め、以下のうちの1つもしくはそれを上回るもの、すなわち、ステントの有用性、安全性、および/または有効性を潜在的に低減させること、血管またはステント留置区画を離脱させること、ステント留置区画内で、またはそれに跨架して血管拡張を呈すること、ステント留置区画内で、またはそれに跨架して血管収縮を呈すること、ステントのさらなる拡大を呈すること、展開後に1.5%~5%の範囲内のステント留置区画にわたる半径方向歪みを呈することが起こらないように防止する。先の必要性のうちの1つまたはそれを上回るものを解決もしくは対処するために、L605CoCr合金ステント等の非分解性金属ステントは、少なくとも1つのクラウン領域(好ましくは、少なくともいくつかのクラウン領域、より好ましくは、少なくともいくつかのリング上のクラウンの半分未満)、および/または少なくとも1つの支柱領域(好ましくは、少なくともいくつかの支柱領域、より好ましくは、少なくともいくつかのリング上の支柱領域の少なくとも1/4)が、少なくともいくつかのリング上に形成されず(もしくは部分的に形成され、または形成され、次いで、除去される)、該領域が、分解性ポリマー材料(例えば、PLLAベースのポリマー)等または分解性金属材料(例えば、マグネシウム合金)等の分解性架橋要と形成もしくは置換される、構造要素を備える構造にパターン化することによって、構成される。非分解性金属ステントは、一実施例では、少なくともいくつかのリング上で、少なくとも1つのクラウン領域を伴うことなく、および/または少なくとも1つの支柱領域を伴うことなく、形成され(もしくはそれを伴って形成され、次いで、除去され)、分解性架橋要素は、隣接する金属ステントクラウン領域および/または支柱領域と比較して、実質的に同一のサイズを有し(もしくは好ましくはより小さいサイズであるが、より大きいサイズでもあり得る)、分解性架橋要素は、クラウン領域形状および/または支柱領域形状ならびに/もしくはそれらが取って代わっているステント構造要素の形状に成形(または屈曲もしくは湾曲)され、分解性架橋要素のクラウン領域の2つの端部は、未形成クラウンの支柱端部領域に取り付けられる。分解性架橋要素の2つの端部は、突き合わせ継手として金属ステントの2つの支柱端部に取り付けられることができ、接合点において2つの材料をともに接着して接合する、および/またはスリーブとともに分解性架橋要素ならびに金属ステント接合点領域の両方を含有する、および/または(レーザパターン化中もしくは後に)金属ステントの2つの支柱端部領域のそれぞれにスロットを形成し、形成されたスロットの中へ分解性架橋要素クラウン領域端部を挿入または圧入もしくは融合または溶融し、随意に、2つの材料の重複領域(例えば、0.05mm~1mm重複領域)接着して接合する、および/またはスリーブとともに重複領域を含有する(スリーブは、重複領域を越えて延在することができる)、および/または金属ステント構造要素端部が圧入する、より大きいサイズの分解性架橋要素端部領域に形成されるスロットを作成する、もしくは有する、および/または2つの材料をレーザ溶接(もしくは融合)し、ステントの拡張に応じて、または圧着構成から拡張されたより大きい構成までのステントの拡張中に、分解性架橋要素および金属ステント接合点をともに保持する、もしくは突き合わせ継手をともに保持する。同様に、分解性架橋要素は、上記で議論されるように、未形成金属ステント支柱端部(または部分的に形成された支柱)に接続することができる。分解性架橋要素は、あまり剛性ではなく、または実質的にあまり剛性ではなく、したがって、拡張ステント構成時の拡張領域および/または非変形可能もしくは実質的に非変形可能な領域を脆弱化する。しかしながら、分解性架橋要素は、以下の利益のうちの1つまたはそれを上回るものを提供する、すなわち、ステントが一様に拡張する(または拡張一様性を改良する)ことに役立つ、少なくとも拡張に応じた(または拡張後の時間周期にわたる)円周方向構造要素(リング等)の連続性を提供する、新内膜過形成を阻止する薬物放出を該領域中で提供する、該拡張領域中でステント円周方向リングの部分または完全拡張を提供する、病変被覆を提供し、プラーク脱出を最小限にする、一時的足場を提供し、次いで、分解性架橋要素が、1ヶ月~4年に及ぶ、好ましくは、3ヶ月~4年に及ぶ周期で分解もしくは腐食するにつれて、ステントおよび/または血管の離脱を提供し、支持を血管壁に提供する。ステントは、圧着構成から拡張されたより大きい構成まで拡張可能であり、身体管腔を支持するために十分な強度を有する。非分解性ステント構造要素は、一実施例では、実質的に無傷で(または一実施例では、実質的にともに保持されて、もしくは実質的に定位置で)血管壁の中に残留する。展開後のステントは、血管を離脱させ、血管運動を呈し、血管拡張を呈し、血管収縮を呈し、および/またはより大きい構成までさらに拡張し、ならびに/もしくは生理学的条件下で(および/またはニトロ等の治療薬の導入を通して)、1%~10%に及ぶ、好ましくは、1%~7%に及ぶ、より好ましくは、1.5%~7%に及ぶ半径方向歪みを有する。ステントは、一実施例では、クラウンおよび支柱を備える構造要素を備える、非分解性金属材料を備え、クラウンおよび/または支柱のうちの少なくともいくつかは、形成(それらを切断すること等の機械的に除去されること、または溶剤もしくは他の材料を使用してそれらを除去する、またはそれらを溶融すること等の化学的に除去すること等)後に形成されておらず、または取り外されており、もしくは除去されており、該領域中で分解性架橋と置換(または形成)される。ステントは、金属管、金属シートから形成される、もしくはステントにパターン化されるフィラメント(もしくはワイヤ)から形成される、または当業者に公知である他の方法を使用して形成される。分解性架橋要素は、管またはフィラメント/ワイヤから形成され、例えば、クラウン等のそれが取って代わるであろう構造要素の形状に成形もしくはパターン化されることができる。一実施例では、補強要素は、パターン化された管から形成され、次いで、該パターン化された管の構成要素は、(例えば、機械的に)除去され、未形成金属ステント構造要素の場所(または領域)の中に挿入される(または取り付けられる、もしくは圧入される)。別の実施例では、フィラメント分解性架橋要素は、説明されるように、置換する構造要素に成形され、端部に取り付けられる。分解性架橋要素を形成する他の方法は、平坦なシートからパターンを形成し、シートからの構成要素を使用し、未形成構造要素に取って代わること、該分解性架橋要素の射出成形、またはその他等の種々の方法を含むことができる。分解性架橋要素の形状およびサイズは、本願の全体を通してさらに詳細に議論されるように、変動し得る(置換された構造要素よりもより小さい、同一、またはより大きい)。
一実施例では、架橋要素は、分解性である。別の実施例では、架橋要素は、非分解性であるが、本発明の目的のうちの1つまたはそれを上回るものを提供する。架橋要素はまた、形成されない、または部分的もしくは完全に修正または除去される、構造要素の両端を縛る、縫合糸(またはワイヤ)であることもできる。縫合糸は、構造要素の各端部に隣接する孔を通して構造要素の両端を縛ることができ、縫合糸(またはワイヤ)は、孔を通して螺合され、未形成構造要素(例えば、2つのクラウンまたは2つの支柱を架橋する該縫合糸もしくはワイヤ)の連続性を形成して縛られる。
別の実施例では、架橋要素は、形状記憶材料またはばね材料(他の実施例では、補強要素でもあり得る)から形成されることができ、架橋要素は、少なくともいくつかのクラウンを付勢して開放し、埋込後にさらに拡張することに役立つ。
別の実施例では、非分解性金属ステント(例えば、コバルトクロム合金L605またはMP35等)は、ワイヤ(円形もしくは実質的に円形、または縦長、もしくは他の形状)を備え、ワイヤは、ステントにパターン化される。ステントは、複数のリングを備える、構造要素を備え、各リングは、クラウンと、支柱とを備える。少なくともいくつかのリング上の少なくとも1つの支柱および/または少なくとも1つのクラウンは、除去される。支柱および/またはクラウンが除去されたステントの端部は、ワイヤに中空空間を作成するように処置される。分解性架橋要素は、除去された支柱および/またはクラウンの間隙に架橋するように、ワイヤステントの端部のそれぞれにおいて中空空間の中に挿入される。随意に、接着剤または分解性スリーブは、ステントが圧着構成から拡張されたより大きい構成まで拡張するにつれて、接合点がともに保持されるように、接合点に適用される、または重複し、接合点区画をさらに補強する。別の実施例では、分解性架橋要素は、ステントワイヤ構造要素が挿入または圧入される中空空間を作成するように処置される。随意に、接着剤またはスリーブは、接合点をともにさらに保持するように適用される。
別の実施例では、ステント補綴具は、管として形成され、管は、マグネシウム合金層の間に挟持されるか、その上にあるか、またはその底部の上にあるかのいずれかである、非分解性材料層(コバルトクロム合金層等)を備える。管類は、ステントにパターン化される。少なくともいくつかのリング上の少なくともいくつかの領域(もしくは少なくともいくつかのリング上の少なくともいくつかのクラウン領域および/または支柱領域)は、レーザ、化学的手段、または機械的手段によって実質的に除去される非分解性材料(コバルトクロム合金層等)を有し、生理学的条件下の拡張後に離脱するステントを提供する。ステント補綴具は、別の実施例では、分解性層が非分解性材料の上部または底部の上にあり、ステントが上記で説明されるようにパターン化および処理される、シートとして形成されることができる。シートは、圧延され、取り付けられ(または融合され)、パターン化されたステントを形成する。
別の実施例では、ステント補綴具は、ワイヤとして形成され、ワイヤは、分解性ポリマーまたは金属材料層(マグネシウム合金層またはPLLAベースのポリマー等)の上部もしくは底部の上に、非分解性材料層(コバルトクロム合金層等)を備える。ワイヤは、ステントにパターン化される。少なくともいくつかのリング上の少なくともいくつかの領域(もしくは少なくともいくつかのリング上の少なくともいくつかのクラウン領域および/または支柱領域)は、レーザ、化学的手段、または機械的手段によって、実質的に除去され、非分解性構造要素の2つの端部を接続する分解性架橋要素を形成する、非分解性材料(コバルトクロム合金層等)を有し、生理学的条件下の拡張後に離脱する、好ましくは、分解性材料が分解するにつれて離脱する、ステントを提供する。
別の実施例では、ステント補綴具は、管として形成され、管類は、分解性ポリマー材料層(PLLAベースのポリマー層等)の上または内側にある非分解性材料層(コバルトクロム合金層等)を備える。管類は、ステントにパターン化される。少なくともいくつかのリング上の少なくともいくつかの領域(もしくは少なくともいくつかのリング上の少なくともいくつかのクラウン領域および/または支柱領域)は、レーザ、化学的手段、または機械的手段によって実質的に除去される非分解性材料層(コバルトクロム合金層等)を有し、生理学的条件下の拡張後に離脱するステントを提供する。ステント補綴具は、別の実施例では、分解性層が非分解性材料の上部または底部の上にあり、ステントが上記で説明されるようにパターン化および処理される、シートとして形成されることができる。シートは、圧延され、取り付けられ(または融合され)、パターン化されたステントを形成する。
本願の中の実施例のうちのいずれかの一実施例では、ステントは、以下の条件のうちの1つまたはそれを上回るものの下で、すなわち、空気中で、水槽内で、37℃の水槽内で、生理学的条件下で、脈動(もしくは収縮)環境内で、ステント留置区画の血管拡張もしくは血管収縮を引き起こす1つまたはそれを上回る作用物質の投与の下で、管内で、血管内で、身体管腔内で、100mmHg~200mmHgに及ぶ圧力差(勾配)の下で、100mmHgの圧力差(または規模)の下で、約176mmHgの圧力差(または規模)の下で、または本願に説明されるようにコンプライアンスもしくは強度を試験する条件下で、または本願に説明される任意の他の条件下で、試験もしくは展開される(拡張される)。ある場合には、本段落に説明される条件の全ては、生理学的条件と称される。
一実施例では、生理学的条件は、周囲環境内、水槽内、約37℃の水槽内、約37℃環境、半径方向歪み試験機(コンプライアンス試験機)内、疲労試験機内、脈動環境内、圧力もしくは圧力差環境内、身体管腔もしくは身体器官環境をほぼシミュレーションする脈動環境内、血管拡張剤もしくは血管収縮剤等の治療薬の投与、収縮および/または拡張環境内、身体管腔内、身体血管内、身体輪内、もしくはその他のうちの1つまたはそれを上回るものを備える。
好ましい実施例では、ステント補綴具はさらに、ステント補綴具の少なくとも1つの表面上に少なくとも1つのコーティングを備える。コーティングは、一実施例では、少なくとも1つの薬物、好ましくは、m-tor阻害剤を備える。別の実施例では、ステント補綴具は、少なくとも1つの薬物を備える。別の実施例では、ステント補綴具は、少なくとも2つの薬物、すなわち、m-tor阻害剤および血管拡張剤を備える。さらに別の実施例では、少なくとも1つのコーティングは、分解性(ポリマーまたは金属)材料の分解速度よりも遅い速度で分解する。別の実施例では、少なくとも1つのコーティングは、分解性材料速度よりも速い速度で分解する。さらに別の実施例では、少なくとも1つのコーティングは、非分解性ステントの少なくとも1つの表面を被覆する。さらに別の実施例では、少なくとも1つの分解性コーティングは、非分解性ステントの少なくとも1つの表面を被覆する。さらに別の実施例では、少なくとも1つの分解性コーティングは、非分解性ステントの少なくとも1つの表面を被覆し、少なくとも1つの非分解性コーティングは、非分解性ステントの少なくとも1つの表面を被覆する。
一実施例では、ステント補綴具は、以下のうちの1つまたはそれを上回るものを呈する、提供する、もしくは行うように構成される、すなわち、ステントを離脱させる、管腔もしくは血管のステント留置区画を離脱させる、ステントの少なくともいくつかの円周方向構造要素(リング)を離脱させる、ステントの少なくともいくつかのリングを離脱させる、血管もしくは血管壁を離脱させる、血管運動を呈する、血管拡張を呈する、血管収縮を呈する、埋込後のより大きい構成までのステントのさらなる拡張、および/またはステントが、生理学的条件下で(ならびに/もしくはニトロ等の治療薬の導入を通して)1%~10%に及ぶ、好ましくは、1%~7%に及ぶ、より好ましくは、1.5%~7%に及ぶ、複合半径方向歪み(またはコンプライアンス)を有する。ステント補綴具は、本実施例では、以下のステント状態のうちの1つまたはそれを上回るものにおいて、すなわち、形成されると、パターン化されると、ステントの形成(もしくはパターン化)後の処置または処理後に、ステントが展開されると、ステントの展開に応じて、ステントの拡張に応じて、および/または、例えば、身体管腔内のステントの展開もしくは拡張後に、上記で説明される1つまたはそれを上回る性質(離脱すること等)を呈する、もしくは提供する。ステント補綴具は、本実施例では、以下のうちの1つまたはそれを上回るものの、すなわち、少なくともいくつかの円周方向構造要素、少なくともいくつかのリング、実質的に全ての円周方向構造要素、実質的に全てのリング、少なくともいくつかの領域、実質的にステント全体もしくはステント区画全体に跨架して、ステント領域、および/またはステント区画の中で(もしくはそれにわたって)、上記で説明される1つまたはそれを上回る性質(離脱すること等)を呈する、もしくは提供する。
実施例のうちのいずれかの一実施例では、架橋要素はまた、少なくともいくつかのリング上の1つまたはそれを上回る構造要素(支柱および/もしくはクラウン等)に架橋することに加えて、少なくとも1つのリンク(またはリンク領域)に架橋することもできる。
本発明の別の側面または別の実施例では、非分解性(金属(合金を含む)であるが、ポリマーでもあり得る)ステント補綴具は、構造要素を備え、該構造要素は、一実施例では、複数のリングを備え、各リングは、支柱と、クラウンとを備え、各リングは、少なくとも1つの場所(または領域)で隣接するリングに接続される。少なくともいくつかのリング上の少なくとも1つの支柱(または支柱の一部もしくは支柱領域範囲)および/または少なくとも1つのクラウン(クラウンの一部もしくはクラウン領域)は、形成されず(もしくは形成後に除去され)、該残りのクラウン端部(または残りのクラウン領域)の間に、ならびに/もしくは残りの支柱端部(または残りの支柱領域)の間に、間隙(または不連続性)を形成し、間隙規模は、1ミクロン~3mmに及び、好ましくは、2ミクロン~2mmに及び、より好ましくは、3ミクロン~1mmに及び、該間隙は、拡張ステント構成時(もしくは圧着ステント構成時)の残りの支柱および/または残りのクラウンの間の直線として測定される。残りの支柱および/またはクラウンの端部は、異なる、好ましくは、隣接する支柱および/またはクラウンよりも大きい寸法、幾何学形状、ならびに/もしくは表面積を有するように構成されることができ、円形、正方形、半円形、長方形等の種々の形状を有することができる。一実施例では、少なくともいくつかのリングは、該リングに沿って少なくとも1つの間隙(または不連続性)を有する。別の実施例では、少なくともいくつかのリングは、該リングに沿って少なくとも3つの間隙(または不連続性)を有する。さらに別の実施例では、少なくともいくつかのリングは、1~3つの間隙(または不連続性)を有する。ステント補綴具は、圧着構成から拡張されたより大きい構成まで拡張可能であり、身体管腔を支持するために十分な強度を有する。ステントは、好ましい実施例では、実質的に一様な拡張を有する。ステントは、別の好ましい実施例では、間隙領域中で0.7mm~1.5mmの最大円形直径を有する。ステントは、さらに好ましい実施例では、平滑筋細胞増殖を阻止する(または最小限にする)ために十分な被覆を有する。ステント補綴具は、以下のうちの1つまたはそれを上回るものを呈する、提供する、もしくは行うように構成される、すなわち、ステントを離脱させる、ステントの少なくともいくつかの円周方向構造要素を離脱させる、ステントの少なくともいくつかのリングを離脱させる、血管もしくは血管壁を離脱させる、血管運動を呈する、血管拡張を呈する、血管収縮を呈する、埋込後のより大きい構成までのステントのさらなる拡張、および/またはステントが、生理学的条件下で(ならびに/もしくはニトロ等の治療薬の導入を通して)1%~10%に及ぶ、好ましくは、1%~7%に及ぶ、より好ましくは、1.5%~7%に及ぶ、半径方向歪みを有する。ステント補綴具は、本実施例では、以下のステント状態のうちの1つまたはそれを上回るものにおいて、すなわち、形成されると、パターン化されると、ステントの形成(もしくはパターン化)後の処置または処理後に、ステントが展開されると、ステントの展開に応じて、ステントの拡張に応じて、および/または、例えば、身体管腔内のステントの展開もしくは拡張後に、上記で説明される1つまたはそれを上回る性質(離脱すること等)を呈する、もしくは提供する。好ましい実施例では、未形成(もしくは除去された)支柱および/またはクラウンの残りの端部領域は、そのような接続が該リングの間隙(または不連続性)を完成させず、該リング内の間隙が断絶されたままであることを前提として、同一もしくは隣接する構造要素に接続される。
別の実施例では、ステント補綴具は、支柱と、クラウンとを備える、複数のリングを備え、少なくともいくつかのリング上の少なくとも1つの支柱および/またはクラウン領域は、例えば、レーザパターン化中に切離される(もしくは切断される)されるが、機械的に、または他の方法で行われることもできる。切離された領域は、非外傷性であるように、および/または接触を生じるように、ならびに/もしくは接触を維持するように、および/または実質的にともに切断された領域を実質的に保持するように、圧着構成から拡張されたより大きい構成までのステント補綴具の拡張を可能にし、身体管腔を支持するために十分な強度を有するように、幾何学形状にデバリングならびに/もしくは成形される。ステントは、好ましい実施例では、拡張構成時に実質的に一様なパターンを有する。切断された端部領域は、圧着構成時に、当接し、重複し、または一時保持手段を有し、拡張構成への展開を可能にする、もしくはステントが拡張ステント構成時に実質的に一様なパターンを有することを可能にする、および/または身体管腔を支持するために実質的に十分な被覆を可能にすることができる。
足場内の分離領域および不連続性のレーザ切断、パターン化、または他の形成中に、部分的に形成された足場の部分は、不連続性が形成された後、および不連続性が粘着、コーティング、スリーブ形成、または同等物によって固定化される前に、構造が時期尚早に分離しないように、一時的に一緒にあり得る。例えば、管状部材が、支柱およびクラウンを含む円周方向リングを形成するように、レーザ切断または別様にパターン化された後、管状部材の端部は、足場の各端部に位置付けられる保持固定具によって一時的に保持されてもよい。具体的には、足場の各端部における1つ、2つ、3つ、またはそれを上回る末端クラウンは、保持固定具によって把持されることができる、拡大された耳もしくは類似特徴等の保持特徴を有するように形成されてもよい。このように、保持固定具は、例えば、最初に、円周方向リングのうちの1つまたはそれを上回るものの中の支柱および/もしくはクラウンを切断または二等分し、次いで、生分解性スリーブ内の足場全体をコーティングし、ステントが固定具から除去され、続いて、展開され得るように、ステントをともに保持することによって、分離領域が形成されるにつれて、部分的に形成された足場をともに保持するであろう。
別の実施例では、非分解性(金属(合金を含む)であるが、ポリマーでもあり得る)ステント補綴具は、円周方向構造要素を備え、該構造要素は、一実施例では、複数のリングを備え、各リングは、支柱と、クラウンとを備え、各リングは、少なくとも1つの場所で隣接するリングに接続される。少なくともいくつかのリングは、該リングに間隙(または不連続性)を有するように構成される(例えば、パターン化および/または処置される)。例えば、ステントは、該間隙が、該リングを完成させる(または接続する、もしくは連続性を提供する)直線として測定されるときに、1ミクロン~3mmに及ぶ、好ましくは、2ミクロン~2mmに及ぶ、より好ましくは、3ミクロン~1mmに及ぶ、間隙規模を有するようにパターン化されることができる。好ましい実施例では、間隙が、0.9mm~2mmに及ぶ、好ましくは、1mm~1.5mmに及ぶ、領域内の最大円形支柱間(リング間もしくはリングの間の)距離がある。一実施例では、少なくともいくつかのリングは、該リングに沿って少なくとも1つの間隙(または不連続性)を有する。別の実施例では、少なくともいくつかのリングは、該リングに沿って少なくとも3つの間隙(または不連続性)を有する。さらに別の実施例では、少なくともいくつかのリングは、1~3つの間隙(または不連続性)を有する。ステント補綴具は、圧着構成から拡張されたより大きい構成まで拡張可能であり、身体管腔を支持するために十分な強度を有する。ステントは、好ましい実施例では、実質的に一様な拡張、SMC増殖を阻止するための十分な血管被覆を有する。ステント補綴具は、以下のうちの1つまたはそれを上回るものを呈する、提供する、もしくは行うように構成される、すなわち、ステントを離脱させる、ステントの少なくともいくつかの円周方向構造要素を離脱させる、ステントの少なくともいくつかのリングを離脱させる、血管もしくは血管壁を離脱させる、血管運動を呈する、血管拡張を呈する、血管収縮を呈する、埋込後のより大きい構成までのステントのさらなる拡張、および/またはステントが、生理学的条件下で(ならびに/もしくはニトロ等の治療薬の導入を通して)1%~10%に及ぶ、好ましくは、1%~7%に及ぶ、より好ましくは、1.5%~7%に及ぶ、半径方向歪みを有する。ステント補綴具は、本実施例では、以下のステント状態のうちの1つまたはそれを上回るものにおいて、すなわち、形成されると、パターン化されると、ステントの形成(もしくはパターン化)後の処置または処理後に、ステントが展開されると、ステントの展開に応じて、ステントの拡張に応じて、および/または、例えば、身体管腔内のステントの展開もしくは拡張後に、上記で説明される1つまたはそれを上回る性質(離脱すること等)を呈する、もしくは提供する。
一実施例では、少なくともいくつかのリングが、各該リング上に少なくとも1つの間隙(または不連続性)を有する、ステント補綴具がある。一実施例では、間隙がある(または間隙が終了もしくは開始する)、構造要素(リング)の領域(または端部領域)は、遊離し得る(任意の構造要素または任意の隣接する構造要素に接続されない)、または端部領域において、もしくは端部領域に隣接して、または該端部領域に至る構造要素に沿ったいずれかの場所で、支柱および/またはクラウンに接続される等、他の構造要素に接続されることができる(もしくは支柱および/またはクラウンに接続される等、他の隣接する構造要素に接続されることができる)。該領域への接続は、実質的に直線状の接続、および/またはクラウン接続、ならびに/もしくは該領域から他の構造要素(または隣接する構造要素)まで種々の形状、寸法、および/または幾何学形状を有する、他の接続であることができる。接続の実施例(接続形状を含む)は、Z、S、M、U、W、Y、L、または他のタイプの接続を含む。該接続の寸法は、他の隣接する構造要素と異なり得る、または実質的に同一であり得る。接続はまた、他の実施例では、幅および/または厚さがより大きくもしくはより小さくあり得る。接続形状および/または寸法は、少なくともいくつかのリング上で実質的に同一もしくは異なり得る。
別の実施例では、ステント補綴具は、複数のリングを備える、構造要素を備え、各リングは、クラウンと、支柱とを備え、各リングは、少なくとも1つの領域中で隣接するリングに接続される。少なくともいくつかのリングは、2つの支柱領域および/またはクラウン領域がある長さにわたって重複する、2つの支柱(もしくは2つの支柱領域)ならびに/もしくは2つのクラウン(または2つのクラウン領域)を有するように(パターン化されて、もしくは別様に)構成される、2つのクラウンの間および/または2つの支柱の間の少なくとも1つの領域を有する。支柱および/またはクラウンが、反対端において接続される一方で、他方の端部領域は、該リングに不連続性を形成する。支柱および/またはクラウン遊離端領域は、ステントの展開に応じてステント補綴具をともに制約もしくは保持する種々の形状ならびに幾何学形状を有することができる。支柱および/またはクラウン領域はまた、ステント補綴具の拡張に応じて摺動支柱ならびに/もしくはクラウンを保持または制約する溝もしくは他の形状を有することもできる。ステント補綴具は、典型的には、圧着構成から拡張されたより大きい構成まで拡張可能であり、身体管腔を支持するために十分な強度を有する。ステントは、展開に応じて身体管腔が離脱することを可能にする。ステントは、身体管腔を支持するために不連続性領域中で十分な構造要素表面領域被覆(厚さ、幅、および/または幾何学形状)を有する。
本願の中の実施例のうちのいずれかの一実施例では、ステント補綴具は、円周方向構造要素を備え、構造要素は、支柱と、クラウンとを備え、ステントは、ステントが圧着構成から拡張されたより大きい構成まで拡張可能であることを可能にするように構成され(例えば、パターン化および/または処置され)、ステントは、身体管腔を支持するために拡張構成時に十分な強度を有し、該ステント補綴具は、離脱し、および/または1%~5%に及ぶ半径方向歪み(もしくはコンプライアンス)を有し、ならびに/もしくは身体管腔内で(または生理学的条件下で、および/もしくはニトログリセリンの導入等の治療条件下で)、形成されると、拡張に応じて、および/または拡張後に、さらに拡張する。該ステント補綴具の実施例は、補強要素、架橋要素、分離領域、間隙領域を有する支柱および/またはクラウン、もしくはその他を備える、実施例からの1つまたはそれを上回るものを備える。該ステント補綴具は、生理学的条件下で、3ヶ月~5年に及ぶ周期にわたって、分解性、非分解性、金属(合金を含む)、またはポリマーであり得る。ステント補綴具は、実施例では、管から形成され、ステントにパターン化される、または1つもしくはそれを上回るワイヤ(またはフィラメント)から形成され、ステントにパターン化されることができる。ステントはまた、平坦なシートから形成され、ステントを形成するように圧延されることができる。平坦なシートは、ステントを形成するようにそれを圧延する前にパターン化されることができる、または平坦なシートは、管を形成するように圧延され、次いで、パターン化されることができる。一実施例では、円周方向構造要素は、複数のリングを備え、各リングは、本願に説明される構成のうちの1つまたはそれを上回るものを有する、クラウンと、支柱とを備える。別の実施例では、構造要素は、ステントが、形成されると離脱すること、および/または形成されると、展開に応じて、ならびに/もしくは展開後にさらに拡張することを可能にする、1つまたはそれを上回る不連続性を有する、クラウンと、支柱とを備える。
本願の中の実施例のうちのいずれかの別の実施例では、少なくともいくつかの支柱および/またはクラウンは、少なくとも1つの分離領域、不連続性、もしくは切れ目を有する。別の実施例では、少なくともいくつかの支柱および/またはクラウンは、該支柱および/またはクラウン上に少なくとも2つの分離領域、不連続性、もしくは切れ目を有する。なおもさらなる実施例では、支柱および/またはクラウンのうちの少なくともいくつかは、分離領域を含まないであろう。なおもさらなる頻繁な好ましい実施例では、少なくともいくつかの支柱が、分離領域を有するであろう一方で、円周方向リングの中の全てのクラウンは、分離領域を含まないであろう。通常、拡張中に変形しない支柱の中に分離領域を位置付けることは、足場が拡張するにつれて変形するクラウンの中に分離領域を位置付けることより好ましいことが見出されている。
別の側面では、または別の実施例では、本発明は、分離領域および/または環境応答性分離領域を伴う円周方向要素ならびに/もしくはリング等の構造要素を有する、非分解性または低速分解性補綴具材料を提供する。「環境応答性」とは、血管条件および/または他の管腔条件を含む生理学的条件に応答して、ならびに/もしくは周囲温度または37℃の水中に設置されることに応答して、および/または緩衝液中ならびに/もしくは生理食塩水に設置されることに応答して、および/または生理学的条件(例えば、血管または管腔条件)ならびに/もしくは血管または他の身体管腔内の埋込後等に足場が暴露される生理学的圧力に応答して、および/または足場が、30mmHg~200mmHgに及ぶ、好ましくは、40mmHg~120mmHgに及ぶ、より好ましくは、50mmHg~80mmHgに及ぶ、圧力に暴露されることに応答して、ならびに/もしくは足場が、30mmHg~150mmHgの脈動圧力範囲、好ましくは、30mmHg~120mmHgの脈動圧力範囲、より好ましくは、30mmHg~90mmHgの脈動圧力範囲に暴露されることに応答して、または血管拡張剤もしくは血管収縮剤導入等の治療薬に応答して、分離領域が分離する、分解性ポリマー材料等の材料が空になる、間隙を作成する、開放する、破損する、1つもしくはそれを上回る方向への移動を可能にする、および/または劣化するであろうことを意味する。
ステントは、本願の中の実施例のうちのいずれかの好ましい実施例では、離脱することができる、少なくともいくつかの円周方向断面もしくは領域中で離脱することができる、ステント区画にわたって離脱する、および/またはステント補綴具の少なくともいくつかの円周方向断面もしくは領域中で生理学的条件(生理学的環境を含む)においてより大きい直径(もしくは構成)まで拡張する。より大きいステント直径は、展開直径よりも大きく、および/または展開された拡張構成からの反跳後のステントの直径よりも大きくあり得る。ステント直径は、(本願に説明されるように)該圧力および/または圧力に応答して、一実施例では、(該当する場合、拡張ならびに/もしくは展開直径からの反跳後に)該拡張ならびに/もしくは展開直径から、より大きい直径に恒久的または一時的に変化および/もしくは増加する一方で、圧力および/または脈動圧力に暴露されている間に、ステント直径は、0.045mm~1mmに及んで、好ましくは、0.05mm~0.6mmに及んで、より好ましくは、0.06mm~0.3mmに及んで、変化ならびに/もしくは増加する、または0.1~0.3mmに変化する。展開後のステント半径方向強度は、同一の実施例または他の実施例では、12psi~30psiに及ぶ、好ましくは、13psi~25psiに及ぶ、より好ましくは、15psi~25psiに及ぶ。足場を拡張した後、および/または展開後のステント平坦プレート強度(10%破砕)は、同一の実施例もしくは異なる実施例では、0.03N/mmステント長~0.95N/mmステント長に及ぶ、好ましくは、0.035N/mmステント長~0.9N/mmステント長に及ぶ、より好ましくは、0.004N/mmステント長~0.085N/mmステント長に及ぶ。足場の拡張後および/または展開後の足場内向き反跳は、同一の実施例もしくは異なる実施例では、1%~10%に及ぶ、好ましくは、2%~7%に及ぶ、より好ましくは、2%~5%に及ぶ。ステント内向き反跳は、好ましくは、展開後に実質的に同一のままである。ステント補綴具は、好ましくは、体内の血管拡張剤の導入後に、より大きい構成までさらに拡張する。ステントは、好ましくは、1%~5%に及ぶ、拡張構成時の半径方向歪み(またはコンプライアンス)を有する。同一の実施例または異なる実施例では、展開後の非分解性ステント半径方向強度は、展開に応じて、足場初期半径方向強度の少なくとも25%だけ減少する、少なくとも50%だけ減少する、少なくとも75%だけ減少する、100%だけ減少する。強度が減少する、同一の実施例または異なる実施例における時間周期は、1日~2年に及ぶ、好ましくは、1ヶ月~1年に及ぶ、より好ましくは、2ヶ月~9ヶ月に及ぶ、より好ましくは、3ヶ月~9ヶ月に及ぶ。同一の実施例または異なる実施例では、展開(初期展開)後の非分解性ステント半径方向強度は、そのような初期展開半径方向強度から30日以内に0%~25%の範囲だけ減少する、および/またはそのような初期展開半径方向強度から90日以内に10%~50%の範囲だけ減少する、ならびに/もしくはそのような初期展開半径方向強度から180日以内に25%~90%の範囲だけ減少する、および/またはそのような初期展開半径方向強度から270日以内に50%~100%の範囲だけ減少する。非分解性ステントは、本実施例では、少なくとも1つの分解性ポリマーをさらに備え、かつ少なくとも1つの薬物をさらに備える。好ましい実施例では、少なくとも1つの薬物は、ポリマーに含有される。別の実施例では、または先の実施例に加えて、ステントは、少なくとも1つの非分解性ポリマーを備える。さらに別の実施例では、または先の実施例に加えて、ステントはさらに、放射線不透過性マーカ(分解性もしくは非分解性)を備える。
展開後の本願の全体を通した好ましい実施例では、ステントの離脱と、展開後のステントのさらなる拡張と、管腔拡大と、ステントまたは管腔全体、ステントまたは管腔の少なくとも1つの部分もしくは領域、ステントまたは管腔の少なくとも1つの円周方向断面もしくは領域、もしくはステントまたは管腔区画の少なくともいくつかの円周方向断面もしくは領域、またはステント留置区画のうちの1つまたはそれを上回るものを備える、ステントおよび/または管腔の他の性質とがある。
別の実施例では、本発明は、分離領域を伴う円周方向要素および/またはリングを有する、非分解性補綴具材料を提供する。分離領域は、形成されると、および/またはパターン化されると(パターン化後を含む)、ならびに/もしくは処理または処置後に、および/または埋込前に、ならびに/もしくは埋込後に、および/または生理学的条件における埋込後に、不連続性を有する領域である。不連続性は、完全におよび/または実質的に以下のうちの1つもしくはそれを上回るもの、すなわち、分離していること、材料が空になること、間隙を有すること、間隙を形成すること、開放していること、切れ目を有すること、切れ目を形成すること、係止解除すること、触れないこと、非接触すること、分離領域の間もしくは分離領域に隣接する材料の除去、分離領域をともに保持する材料の除去、1つまたはそれを上回る方向に移動する分離領域の能力、ならびに/もしくは分解を含む。本実施例では、ステントは、身体管腔を支持するために展開に応じて十分な強度を有し、展開後のステントは、より大きい構成(反跳構成よりも大きい、および/または展開された拡張構成よりも大きい)までさらに拡張する前に、より小さい構成に反跳してもよい。ステントは、身体管腔内および/または生理学的条件下で、より大きい構成まで拡張することができる。別の実施例では、ステントは、離脱する、または少なくともいくつかの領域および/もしくはリング、またはステント留置区画中で、離脱する。
別の実施例では、1つまたはそれを上回る分離領域を含有する、1つまたはそれを上回る円周方向リングは、少なくとも1つまたはそれを上回る非分解性材料(非分解性ポリマー材料等)を含有してもよく、該材料は、間隙または他の不連続性を形成することを阻止する。非分解性材料を備える分離領域を含有する、1つまたはそれを上回る円周方向リングは、血管拡張剤に応答した血管および/または拡張に応答して、生理学的条件下で非分解性材料の弾性および伸張に起因して、初期拡張(および該当する場合、反跳)後に、より大きい直径または断面まで拡張するように構成される。このように、1つまたはそれを上回るリング、および典型的には、ステント留置区画全体は、生理学的条件下で埋込後に所望のコンプライアンスを呈する。非分解性材料は、そのような実施形態および実施例では、典型的には、血管の収縮期を含む生理学的条件下で、連続的に拡張および/または収縮するために十分な弾性を有する。
さらに別の実施例では、非分解性材料を備える、1つまたはそれを上回る分離領域は、初期拡張後に、好ましくは、初期拡張後の30日~1年に及ぶ周期後に、間隙または他の不連続性を依然として形成し得る。非分解性であるが、材料は、経時的に、および/または生理学的条件下で、劣化もしくは疲労し、したがって、分離領域が分離し、間隙または他の不連続性を形成することを可能にし得る。
さらに別の実施例では、1つまたはそれを上回る分離領域は、ポリマースリーブもしくはポリマーコーティング等の1つまたはそれを上回る非分解性材料によって束縛されてもよく、間隙または他の不連続性の形成後の分離領域のうちの1つもしくはそれを上回るものは、間隙または他の不連続性の形成後でさえも非分解性材料によって束縛されたままである。例えば、スリーブまたはコーティングとして形成される非分解性材料はまた、ステントの1つもしくはそれを上回るリングを被覆する、1つもしくはれを上回るステント表面を被覆する、またはステント表面全体を被覆することができる。分離領域を束縛するスリーブまたはコーティングは、1つもしくはそれを上回るリングまたはステント留置区画が、所望のコンプライアンスを有し、初期反跳後にさらに拡張し、および/または血管拡張剤の導入に応答することを可能にする。
別の実施例では、本発明の本および/または一側面ならびに/もしくは好ましい実施例による、管腔内補綴具は、非分解性金属、金属合金、または硬質非分解性プラスチック等の非分解性材料からパターン化される、円周方向要素および/もしくはリング等の構造要素を有する、足場を備え、足場は、圧着構成から拡張構成まで拡張するように構成され、足場は、身体管腔を支持するために拡張構成時に十分な強度を有する。円周方向要素および/またはリングのうちの少なくともいくつかは、展開(初期展開)の後すぐまたは直後に、ならびに/もしくは経時的に、および/または生理学的環境内の初期拡張後に、ならびに/もしくは本願に開示される他の条件のうちの1つまたはそれを上回るものへの暴露後に、円周方向要素ならびに/もしくはリングに不連続性を形成するように構成される、少なくとも1つの分離領域を有するであろう。そのような不連続性は、足場または足場の少なくともいくつかの円周方向断面が、少なくともより大きい構成まで拡張すること、好ましくは、展開後に起こり得る初期反跳後にさらに拡張すること、より好ましくは、初期拡張を超えてさらに拡張することを可能にし、最も好ましくは、足場が離脱すること、またはステントの少なくともいくつかの円周方向断面もしくは領域中で離脱すること、好ましくは、円周方向に離脱することを可能にする。すなわち、足場が、バルーンによって、またはある事例では、束縛から自己拡張することによって、最初に展開された後、不連続性は、好ましくは、管腔拡張とともに、より好ましくは、管腔再形成の結果としての管腔拡張とともに、足場の部分が離れ、リングが拡張することを可能にする。一実施例では、リング分離領域は、クラウン領域、ヒンジ領域、および/または支柱領域中に存在し得る。ステントは、好ましくは、ステント留置区画中で管腔を拡大することによって、血管拡張刺激に応答する。ステントは、好ましくは、1.5%~7%に及ぶ複合半径方向歪み(またはコンプライアンス)を有する。
別の実施例では、円周方向要素および/またはリングに形成される不連続性は、典型的には、足場(または以下ならびに/もしくは本願でより具体的に説明されるような足場のリング構成要素)および/または分離領域中の応力面積、剛性、フープ、円周方向、ならびに/もしくは半径方向強度を低減または排除する、円周方向足場の構造内の部分的または完全な切れ目、分離、間隙を備えるであろう。最も一般的には、不連続性は、足場またはリングもしくは円周方向要素内の2つの結果として生じる遊離端が、身体管腔および/またはステントの再形成もしくは他の拡張に応答して、相互から離れることを可能にする、完全な切れ目であろう。一実施例では、2つの遊離端がスリーブまたはコーティングを備える材料によって含有される、不連続性があり、スリーブまたはコーティング材料は、ポリマー等の非分解性もしくは分解性であり得、スリーブまたはコーティングは、遊離端が離れるときに伸張する。別の実施例では、不連続性は、圧着構成から拡張構成までの展開に応じて、不連続性をともに含有する構造要素を保持するように、不連続性幾何学形状(あるキーおよびロック設計ならびに他のタイプの幾何学形状等)を用いて含有され、不連続性は、パターン化前に、パターン化中に、またはパターン化後に形成され、上記および/または本願全体に説明されるように該不連続性を形成する分離領域の設計構成によってともに保持される。不連続性は、この場合、ともに保持される該不連続性を含有する構造要素の遊離端を維持し、身体管腔を支持するためにステントの展開後に十分な強度を提供しながら、ステントの圧着および/または展開を可能にする。不連続性は、この場合、展開後に1つまたはそれを上回る方向へ、好ましくは、展開後のみに半径方向へ、より好ましくは、実質的に半径方向のみへ構造要素の遊離端の移動、最も好ましくは、主に半径方向へ該移動を可能にすることができる、または該移動は、半径方向および/もしくは円周方向にある。一実施例では、足場のリングまたは他の部分のうちの少なくともいくつかは、少なくとも1つのそのような不連続性を有するであろうが、より典型的には、各リングは、少なくとも1つの不連続性を有し、リングのうちのいくつかまたは全ては、2つもしくはそれを上回る不連続性を有してもよい。個々の足場リングは、同数または異なる数の不連続性を有してもよく、全ての足場リングが不連続性を有する必要があるわけではない。例えば、足場の端部またはその近傍におけるリングは、例えば、叉骨効果を限定するように、不連続性を含まなくてもよい。さらなる実施例では、少なくともいくつかのリングは、1つ~クラウンの同数に及ぶ、いくつかの不連続性、好ましくは、該リング上に1つ~クラウンの数の3/4に及ぶ、いくつかの不連続性を有するであろう、および/または該リング上に1つ~支柱の同数に及ぶ、いくつかの不連続性、好ましくは、該リング上に1つ~支柱の数の3/4に及ぶ、いくつかの不連続性を有するであろう、ならびに/もしくは該リング上に1つ~クラウンの数の1/2に及ぶ、いくつかの不連続性を有するであろう、および/または該リング上に1つ~支柱の数の1/2に及ぶ、いくつかの不連続性を有するであろう、ならびに/もしくは該リング上に1つ~クラウンの数の1/4に及ぶ、いくつかの不連続性を有するであろう、および/または該リング上に1つ~支柱の数の1/4に及ぶ、いくつかの不連続性を有するであろう、および/または該リング上に1~10に及ぶ、いくつかの不連続性、好ましくは、該リング上に1~5に及ぶ、いくつかの不連続性、より好ましくは、該リング上に1~4に及ぶ、いくつかの不連続性、ならびに/もしくは該リング上に1~3に及ぶ数、および/または該リング上に1~2に及ぶ数を有するであろう。
一実施例では、そのような不連続性を形成させる生理学的環境は(他の実施例では、不連続性は、生理学的環境から独立して形成される)は、補綴具が埋め込まれる身体管腔と関連付けられる任意の物理的条件によって特徴付けられてもよい。例えば、生理学的環境または条件は、以下のうちのいずれか1つもしくはそれを上回るもの、すなわち、本願に説明されるように、生理学的温度、例えば、身体管腔内または約37℃まで加熱された水槽内で維持されるような37℃、および/または生理学的圧力、ならびに/もしくは圧力、および/または脈動圧力、ならびに/もしくは血管拡張剤または血管収縮剤等の薬剤の導入を備えてもよい。加えて、生理学的環境は、足場が埋め込まれた血液または他の水性媒体、具体的には、ある特徴の腐食を増進し得る酸素化された血液を備えてもよい。多くの場合、生理学的環境は、ひいては、足場構造に形成された特定の特徴を疲労させて破壊し得る、機械的応力を埋め込まれた足場に受けさせ得る、血管、具体的には、動脈の脈動を備えるであろう。不連続性は、分解、腐食、溶解、または機械的応力に起因するかどうかにかかわらず、一実施例では、典型的には、30日~6ヶ月で形成されるであろうが、円周方向足場の初期拡張および身体管腔の環境への拡張された足場の暴露後の数日~1年でも形成され得る。他の実施形態では、不連続性は、周囲温度における水槽内で形成される。
一実施例では、分離領域は、例えば、分解性ポリマー、接着剤、スリーブ、リベット、または同等物によって再継合される、切り欠き、粒状構造の変動、事前形成された切れ目を含む、足場の種々の構造もしくは修正のうちのいずれか1つを備えてもよい。
分離領域の1つの特定の実施例では、形成されると、および/または形成後に、ならびに/もしくは展開前に、および/または拡張前に、ならびに/もしくは展開中に、および/または拡張中に、ともに固定化ならびに/もしくは保持され、展開後に、および/または生理学的環境内の付加的拡張後に、分離する、ならびに/もしくは不連続性を形成するように構成される、キーおよびキー孔、ならびに/またはキーおよびロック、ならびに/もしくはボールおよびソケット、ならびに/またはフック接合点を備える。例えば、キーおよびキー孔、ならびに/またはキーおよびロック、ならびに/もしくはボールおよびソケット、ならびに/またはフック接合点は、生理学的環境内で分解するポリマー、セメント、接着剤、はんだ、および/または同等物等の材料による等の手段によって、最初にともに保持されてもよく、キーおよびキー孔、ならびに/またはキーおよびロック、ならびに/もしくはボールおよびソケット、ならびに/またはフックは、いったん接合点を保持する手段が崩壊もしくは分解すると、またはキーおよびキー孔、ならびに/またはキーおよびロック、ならびに/もしくはボールおよびソケット、ならびに/またはフック接合点が、例えば、血管または他の身体管腔の正常な脈動、もしくは本願の全体を通して説明される他の生理学的条件に応答して、ポリマー、セメント、接着剤、はんだ等の材料を含まなくなると、分離する、または間隙を形成するように構成される。一実施例では、キーおよびキー孔、ならびに/またはキーおよびロック、ならびに/もしくはボールおよびソケット、ならびに/またはフック接合点は、ステント展開、およびステントが展開(初期展開)後に身体管腔を支持するために十分な強度を有することを可能にするために十分に、1つまたはそれを上回る方向への接合点の移動を制限もしくは実質的に制限する、接合点の幾何学形状によって、実質的にともに保持されてもよい。好ましい実施例では、そのような接合点は、展開(圧着構成から拡張されたより大きい構成までの拡張)に応じて実質的にともに保持されたままであり、ステントは、身体管腔を支持するために拡張構成時に十分な強度を有する。本好ましい実施例では、それをともに保持する接合点手段は、キーおよびキー孔、ならびに/またはキーおよびロック、ならびに/もしくはボールおよびソケット、ならびに/またはフックのタイプ、および/もしくは他のタイプの接合点等の接合点の幾何学形状である。分離領域接合点はまた、ステント構造要素および/またはリングの2つの端部を接続ならびに/もしくは継合する、突き合わせ接合点であることもでき、該端部は、円形、および/または球状、ならびに/もしくは正方形、および/または長方形、ならびに/もしくは神経シナプスタイプ接合点、および/または他のタイプの形状、ならびに/もしくは実質的にそのような形状等の種々の形状および/または断面形状(実質的な形状タイプを含む)を有する。一実施例では、バルーンカテーテル等の展開手段は、ステントの展開に応じて不連続性をともに保持することを提供し、ステントは、展開後に1つまたはそれを上回る方向へ、好ましくは、展開後に半径方向への制御された移動を有することを可能にされ、ステントは、圧着構成から拡張されたより大きい構成までの展開後に十分な強度を有する。
分離領域はまた、別の実施例では、構造要素が、中実ワイヤ(実質的に円形、長方形、および/または正方形、ならびに/もしくは神経シナプス、および/または他の形状等の種々の形状を有する)、および/または生理学的環境内で分解ならびに/もしくは分離および/または中断する、接着剤ならびに/もしくはコネクタおよび/またはポリマーならびに/もしくははんだおよび/またはスリーブ等の手段によって一時的に継合される、対向遊離端を有する、中空ワイヤ/管構造要素(少なくとも分離領域に隣接する領域中で中空である)である、単純な突き合わせ継手またはステント構造要素の重複区分を備えてもよい。そのような手段は、該構造要素の遊離端の間に、遊離端に隣接して、遊離端を被覆して、遊離端の中空区分の内側に、および/または上記の全ての組み合わせで、それらを設置することによって、遊離端をともに保持することができる。
なおも他の事例または実施例では、分離領域は、円周方向リングおよび/または円周方向構造要素に形成される切り欠きもしくは薄膜化区分を備えてもよく、これらの切り欠きまたは薄膜化区分は、生理学的環境内で優先的に浸食もしくは疲労し、その後、円周方向リングの拡張を可能にする、部分的または完全分離を形成する。なおも他の実施形態または実施例では、分離領域は、円周方向リング自体の材料の修正を含んでもよい。例えば、金属リングでは、分離領域は、円周方向リングの残りの領域と比較すると、生理学的環境内で優先的に破損および/または浸食する(腐食を含む)ように選択される、修正された粒界を有してもよい。他の実施例は、無傷の円周方向リングから始まって形成され得、リングに1つまたはそれを上回る切れ目を形成し、その後、生理学的環境内で分解または浸食もしくは疲労または破損するように構成される、スリーブ、接着剤、はんだ、コネクタ、コーティング、および/または同等物等の手段を用いて、切れ目を再び継合する、継手である。例えば、はんだ、接着剤、および/またはポリマーは、結果として生じる継手の突き合わせならびに/もしくは重複および/または中空端部に適用されてもよい。代替として、コネクタは、そのような構造が生理学的環境内で分解および/または分離するまで継手をともに保持する、スリーブ、リング、コイル、もしくは他の外接構造を備えてもよい。好ましい実施例では、パリレン等のポリマーを備えるスリーブまたはコーティングが、適用されることができ、これは、継手および/または接合点の別個の遊離端が、そのようなスリーブもしくはコーティング内に含有されることを可能にする。
別の実施例では、ステントは、非分解性金属または金属合金を備え、該ステントは、複数のリングを備える構造を備え、リングは、クラウンによって継合される支柱を備え、リングのうちの少なくともいくつかは、少なくとも1つのクラウンを有し、クラウンの数のわずか3/4(好ましくは、少なくとも1つおよびクラウンの数のわずか1/2)は、該リング内に、隣接するクラウンの断面積および/または最大クラウン断面積よりも小さいならびに/もしくは最小である、該クラウン断面積を有するように、形成および/またはパターン化される。断面積は、クラウンのほぼ頂点において、および/またはクラウン上の任意の他の点/区分において、測定されることができる。より小さい(最小を含む)クラウンの断面積は、該リング内の隣接するクラウン断面積および/または最大クラウン断面積よりも25%~90%小さく(好ましくは、50%~75%小さく)及ぶ。より小さい(最小を含む)クラウンの断面積は、400平方ミクロン~3,000平方ミクロンに及び、好ましくは、400平方ミクロン~2,500平方ミクロンに及び、より好ましくは、400平方ミクロン~1,500平方ミクロンに及び、そのようなより小さい断面積のクラウンは、該クラウンが拡張後にさらに広がることを可能にする。より小さい(最小を含む)クラウンは、随意に、ステントの展開に応じて、圧着または実質的に圧着構成でクラウン(および/または該クラウンによって継合される支柱)を保持する、ポリマーおよび/または接着剤ならびに/もしくは他の材料から成る、スリーブおよび/またはコーティングならびに/もしくははんだを有することができ、スリーブおよび/またはコーティングならびに/もしくははんだは、展開(拡張)後に分解および/または溶解ならびに/もしくは弛緩し、より小さい断面のクラウンが生理学的条件下で開放および/または拡張することを可能にされるにつれて、ステントがさらに拡張することを可能にする。ステントは、身体管腔を支持するために展開に応じて十分な強度を有する。別の実施例では、ステントは、展開に応じて身体管腔を支持するために十分な強度を有し、ステント強度は、スリーブ、および/またはコーティング、ならびに/もしくは接着剤、および/またははんだが、展開後に生理学的条件下で溶解ならびに/もしくは分解した後に、減少する。クラウンの少なくとも1/4~3/4、好ましくは、クラウンの少なくとも1/2~3/4、より好ましくは、クラウンの少なくとも3/4の断面積は、3,500平方ミクロン~25,000平方ミクロンに及ぶ、好ましくは、4,000平方ミクロン~10,000平方ミクロンに及ぶ、より好ましくは、4,500平方ミクロン~8,000平方ミクロンに及ぶ。上記の実施例における断面積測定は、ステントまたはクラウン等の構造要素の同一タイプの(もしくは同一の)非分解性材料(金属もしくは金属合金材料)であり、より小さい断面積のクラウンをより広い断面積のクラウンと比較すると、クラウン上または内にあるポリマー、金属、コーティング等の他の材料を含まない。代替として、より小さい断面積のクラウンは、クラウン領域の中に非分解性金属または金属合金と異なる材料を組み込むこと、もしくはより低密度または弱い材料を有すること、および/またはクラウン領域の中に、上に、ならびに/もしくはそれを通して、溝、孔、くぼみ、三日月形、クラウン形、および/またはチャネルのうちの1つもしくはそれを上回るものを有することによって、達成されることができる。クラウン領域の中、上、および/またはそれを通した、溝、孔、くぼみ、三日月形、クラウン形、ならびに/もしくはチャネルは、ポリマー、金属または金属合金(好ましくは、ステントを形成する金属または金属合金と異なる)、接着剤、および/またははんだ、ならびに/もしくは他の好適な材料を備える、少なくとも1つの材料で充填および/またはコーティングされることができる。本実施例では、より小さい断面積は、隣接するクラウン内の同一タイプの金属または金属合金の断面積(もしくは同一タイプの金属または金属合金のより広い断面積)と比較して、(たとえ該クラウンの全断面積が他のクラウン断面積に類似し得ても)クラウン内の非分解性金属または金属合金の断面積を効果的に縮小する、より軟質または弱いもしくは低密度の材料または間隙をクラウン領域中に有することによって、達成される。材料は、好ましくは、クラウン材料と異なる。材料は、展開後に、クラウン領域中に残留し、溶解し、および/または分解/浸食し、ステントが生理学的条件下で離脱する、ならびに/もしくはさらに拡張することを可能にすることができる。展開に応じたステントは、身体管腔を支持するために十分な強度を有し、ステント強度は、展開後に減少しない、または展開後に減少する、好ましくは、展開後の30日以内に減少する、より好ましくは、展開後の3ヶ月以内および/もしくは展開後の1年以内に減少する。材料は、クラウン材料よりも低い剛性(好ましくは、2~10倍低い剛性)を有し、クラウン材料よりも軟質、伸張可能、および/または軽量である。該クラウンは、一実施例では、該クラウン領域および/または該クラウンによって継合される支柱を含有する、スリーブならびに/もしくはコーティングおよび/または接着剤を有することができる。別の実施例では、ステントは、拡張後に半径方向歪みの増加、および/または該拡張後に半径方向強度の減少を呈する。別の実施例では、該半径方向歪みの増加および/または強度の減少は、ステントの拡張後の1週間からステントの拡張後の9ヶ月に始まる、好ましくは、拡張後の1ヶ月から拡張後の6ヶ月に始まる、より好ましくは、拡張後の2ヶ月から拡張後の6ヶ月に始まる。別の実施例では、少なくともいくつかの支柱は、本段落で説明されるような薄膜化断面積を有する。
別の実施例では、非分解性金属または金属合金から形成されるステントは、少なくともいくつかのリング上の1つもしくはそれを上回る領域、または他の「空洞化された」構造を有し、例えば、パターン化、切断(レーザ切断等)、研磨、または同等物によって金属が除去された、クラウン、支柱、またはステント足場の他の構造構成要素内の空隙領域もしくは「空隙」を作成するようにパターン化される。随意に、空隙は、足場が身体管腔を支持するために十分な初期強度を有するように、埋込後に少なくともある時間にわたって足場の強度に寄与する、分解性または非分解性充填材料で完全もしくは部分的に充填されてもよい。充填材料は、ステントの金属または金属合金材料よりも高もしくは低剛性であり得る、またはある場合には、同等の剛性を有し得る。空隙は、完全に充填されてもよい、部分的に完全に充填されてもよい、またはある場合には、充填剤が空隙形成に先立ってステント足場の境界を越えて延在するように過剰充填されてもよい。
クラウン領域上のそのような充填された空隙は、例えば、ステントの拡張に応じて変形し、ステントのコンプライアンスおよび強度が経時的に変動することを可能にするであろう。多くの実施例では、クラウン上の充填された空隙は、拡張および埋込時に足場の強度を増進するであろうが、また、コンプライアンスを低減させるであろう。しかしながら、血管または他の生理学的環境に暴露されたときに、分解する、軟化する、または別様に強度を失う、充填材を使用することによって、足場のコンプライアンスは、増加し、これは、ひいては、ステントおよび血管または他の身体管腔の複合物もしくは複合コンプライアンスを増加させるであろう。強度は、同時に減少し得るが、そのような強度の減少は、通常、血管または他の身体管腔が開放され、管腔壁が少なくとも部分的に治癒した後に容認可能である。このように、ステントの少なくともいくつかのリングは、離脱する、さらに拡張する、および/または血管反応性を呈する。クラウン領域(側面領域、管腔表面領域、または反管腔側表面領域)中の空洞化または空隙領域を囲繞する金属もしくは金属合金の厚さは、10ミクロン~50ミクロンに及ぶ、好ましくは、20ミクロン~40ミクロンに及ぶ。空洞化クラウン領域は、クラウン領域の2つの側面領域が無傷のままであり、2つの側面領域の間の領域が空洞化される、一方の側面領域および管腔表面領域が無傷のままである一方で、他方の側面領域および反管腔側表面領域が空洞化される、2つの側面領域および管腔表面領域が無傷のままである一方で、反管腔側表面領域が空洞化される、全ての表面領域(反管腔側、管腔、2つの側面)が無傷のままであるが、クラウン領域の内側コアが空洞化される、および/または一方の側面領域、反管腔側表面領域、ならびに管腔表面領域が無傷のままである一方で、コアが他方の側面領域から空洞化される、もしくはクラウン領域が拡張後にステントの離脱を可能にするような他の方法等の空洞化される種々の方法を有することができる。クラウン領域の少なくとも1つの区分における該1つまたはそれを上回るクラウン領域に関する非分解性金属もしくは金属合金の複合全断面積は、200平方ミクロン~4,000平方ミクロンに及ぶ、好ましくは、400~3,000平方ミクロンに及ぶ、より好ましくは、500~2,500平方ミクロンに及ぶ。別の実施例では、空洞化領域は、別の材料(分解性または非分解性)で充填され、拡張後の材料は、クラウン領域、リング、および/またはステントが離脱すること、ならびに/もしくは半径方向歪みの増加を有すること、および/または半径方向歪みの増加ならびに半径方向強度の減少を有することを可能にする。別の実施例では、少なくともいくつかのリングに沿った支柱のうちの少なくともいくつかは、本節で説明されるように空洞化される。
空隙はまた、支柱および足場リングまたは他の足場構造の他の構成要素に形成されてもよい。例えば、チャネル、スロット、および同等物は、支柱、クラウン、および任意の他の構造構成要素を含む、少なくともいくつかのリングの長さの一部または全体にわたって形成されることができる。前述に説明された他の空隙と同様に、チャネル、スロット、および同等物は、拡張の直後にステントの半径方向強度を増進するために十分な複合材料強度を提供するように、本明細書では「補強材料」と称される、第2の分解性ポリマーまたは金属材料で部分的もしくは完全に充填されてもよく、補強材料は、典型的には、拡張および埋込後に分解し、典型的には、ステント強度を低減させながらも、コンプライアンスを増進する。支柱および足場リングまたは他の足場構造の他の構成要素の基礎非分解性材料は、典型的には、1,000μm~4,000μm、好ましくは、1,500μm~3,500μmの範囲内の断面積を有し、非分解性材料の全てまたは一部を被覆する分解性補強材料は、足場基礎材料構成要素の厚さおよび/または幅に付加的な40μm~120μmを追加し、複合基礎および被覆補強材料は、拡張に応じて身体管腔を支持する(かつ血管管腔内で反跳を防止する)ために十分な強度を有し、拡張および埋込後に、コンプライアンスは、増加し、少なくともいくつかのリングの強度は、減少し、ステントを離脱させる。チャネル深度は、典型的には、非分解性材料厚さの40%~90%、好ましくは、50%~85%、より好ましくは、60%~80%であり、チャネルおよびスロットの幅は、典型的には、非分解性材料幅の40%~90%、好ましくは、50%~85%、より好ましくは、60%~80%である。チャネルおよびスロット幅ならびに厚さは、少なくともいくつかのリング上のチャネルおよびスロットの長さに沿って変動し得る。チャネルは、反管腔側表面領域、管腔表面領域、および/または反管腔側ならびに管腔表面領域の両方の上に配置されてもよい。スロットは、典型的には、反管腔側表面から管腔表面まで貫通するであろう。
1つまたはそれを上回る薄膜化領域は、代替として、もしくはまた、足場コンプライアンスを増加させ、埋込後に足場の離脱を助長するために、非分解性足場のリングまたは他の円周方向要素のうちのいくつかもしくは全てに沿って形成されてもよい。そのような薄膜化領域は、円周方向コンプライアンスに影響を及ぼす、クラウン領域、支柱領域中、またはリングもしくは他の構造の他の構成要素上に存在し得る。「薄膜化される」とは、クラウン、支柱、または他の足場構成要素が、その構成要素の長さの大部分にわたって基準断面寸法を有し、基準断面寸法が、「薄膜化される」と称される領域中で縮小されることを意味する。薄膜化領域は、展開に応じて身体管腔を支持するために十分な強度を達成するように、かつ拡張後にコンプライアンスを増加させるように、隣接するクラウンの中、交互のクラウンの中、2つおきのクラウンの中、または他のパターンもしくは構成で位置することができる。そのような薄膜化領域は、埋込後の離脱を助長するために十分な基準寸法に対して、より小さい厚さおよび/または幅ならびに/もしくは断面を有することができる。いかなるさらなる修正も伴わずに、薄膜化領域は、通常、少なくとも構成要素の薄膜化領域中で、より低い足場強度および増加したコンプライアンスを両方とも提供するであろう。随意に、薄膜化領域は、通常、拡張後に劣化してコンプライアンスを増加させる一方で、拡張に応じて強度を提供するように、補強材料のコーティング、積層、または他の結合で補強されることができる。そのような生分解性補強材料は、典型的には、分解性ポリマーであるが、分解性金属でもある、本明細書の他の場所で説明される充填材に類似し得る。好適な補強材料は、30日~3年に及ぶ、好ましくは、3ヶ月~2年に及ぶ、より好ましくは、3ヶ月~1年に及ぶ、血管環境内の埋込または暴露後に、ある時間周期にわたって分解するであろう。基礎非分解性材料(基礎ステント)、通常、金属または金属合金は、1つもしくはそれを上回るリング(または円周方向構造要素)、通常、複数のリングを備え、各リングは、該リングの長さに沿って支柱およびクラウンを備え、基礎ステントは、いくつかの実施例では、基礎ステントに結合される補強材料がない場合に身体管腔を支持するために(または身体管腔を維持するために)十分な強度を有しておらず、該補強材料は、身体管腔を支持するために(または身体管腔を開放した状態で維持するために)十分であるまで基礎強度の強度を増加させるために十分な重量および厚さ(ポリマーコーティング等)を有する。
例えば、円周方向リングの長さに沿った薄膜化断面領域は、拡張に応じてステント足場を補強するために十分な補強材料でコーティング、積層、または別様に被覆されてもよく、拡張および血管または他の管腔環境への暴露後に材料が分解するにつれて、ステント強度は、減少し、コンプライアンスは、増加する。足場は、1,000μm~4,000μm、好ましくは、1,500μm~3,500μmの範囲内の断面積を有する、非分解性基礎材料構成要素から形成されてもよく、非分解性材料を被覆する分解性補強材料は、基本的構成要素を形成する足場基礎材料の厚さおよび/または幅に付加的な40μm~120μmを追加し、複合基礎および被覆材料は、拡張に応じて身体管腔を支持するために十分な強度を有し、拡張および埋込後に、コンプライアンスは、増加し、少なくともいくつかのリングの強度は、減少し、ステントを離脱させる。
本願の中の実施例のうちのいずれかにおける別の実施例では、ステント補綴具は、以下のうちの1つまたはそれを上回るものを呈する、すなわち、(以下のうちの1つまたはそれを上回るものも含む)拡張後に離脱する、半径方向歪み(もしくはコンプライアンス)の増加、半径方向歪み(もしくはコンプライアンス)の増加および半径方向強度の減少、ステント留置区画の血管反応性もしくは血管拡張を呈する、第2のより大きい構成までさらに拡張する、展開後に拡張および/または収縮することができる、展開形状構成からの形状構成の変化、少なくとも1つの次元でのステントの変位の変化、少なくとも1つの方向への拡張後により大きく変位を有する。
ポリマー、金属(金属および金属合金)、接着剤、コーティング、はんだ、スリーブ、封止剤、固定材料、セメント、エネルギー固定を含む、好適なステント材料は、限定されないが、以下を含み、接着剤および固定材料は、限定されないが、ポリアルキル-2-シアノアクリレート、メチル-2-シアノアクリレート、エチル-2-アクリレート、n-ブチルシアノアクリレート、2-オクチルシアノアクリレート、またはその他等のシアノアクリレート、エポキシ、エポキシアミン、Loctite、Dymax、Master Bond、またはその他からの紫外線硬化性物質、アクリル、シリコーン、熱溶融物、ポリウレタン、ゴリラグルー、TissueGlu、Sylys外科用封止剤、またはその他等のリシンベースの接着剤、フィブリン接着剤、蜜ろう等の接着剤、封止剤、およびポッティング化合物を含む。Sn97Cu3、Sn50Zn49Cu1、Sn95.5Cu4Ag0.5、Sn90Zn7Cu3、Sn98Ag2、Sn96.5Ag3Cu0.5、Sn91Zn9、Sn85Zn15、Sn70Zn30、Sn89Zn8Bi3、Sn83.6Zn7.6In8.8、Sn86.9In10Ag3.1、Sn95Ag3.5Zn1Cu0.5、Sn86.5Zn5.5In4.5Bi3.5、Sn95Sb5、Sn96.2Ag2.5Cu0.8Sb0.6、Sn90Au10、またはその他等のスズもしくはその合金、In97Ag3、In90Ag10、In50Sn50、In52Sn48、またはその他等のインジウムもしくはその合金、Zn95Al5、Zn60Sn40、Zn95Sn5、またはその他等の亜鉛もしくはその合金、B57Sn42Ag1、Bi58Sn52、またはその他等のビスマスもしくはその合金、Au80Sn20、Au98Si2、Au87.5Ge12.5、Au82In18等の金もしくはその合金等のはんだまたは可融合金材料等の他の固定材料もまた、使用されてもよい。固定のための他の手段は、レーザ接合または溶接もしくは融合、またはエネルギー固定の他の手段(接合および継合を含む)、ポリアルキル-2-シアノアクリレート、メチル-2-シアノアクリレート、エチル-2-アクリレート、n-ブチルシアノアクリレート、2-オクチルシアノアクリレート、またはその他等のシアノアクリレート、エポキシ、エポキシアミン、Loctite、Dymax、Master Bond、Henkel、またはその他からの紫外線硬化性物質、アクリル、シリコーン、熱溶融物、ポリウレタン、ゴリラグルー、ポリエステル、ポリラクチドおよびそれらのコポリマーならびにブレンド、ポリトリメチレンカーボネートおよびそれらのコポリマーならびにブレンド、ポリビニルアルコール、ポリ酢酸ビニル、エチレン-酢酸ビニル(熱溶融性接着剤)、フェノールホルムアルデヒド樹脂、ポリアミド、ポリエステル樹脂、ポリエチレン(熱溶融性接着剤)、ポリプロピレン、ポリスチレン、ポリカーボネート、ポリクロロプレン、天然ゴム、シリコーンゴム、TissueGlu、Sylys外科用封止剤、またはその他等のリシンベースの接着剤、フィブリン接着剤、蜜ろう、カゼイン、イガイ接着タンパク質、およびコラーゲン等の生体接着剤、それらの組み合わせ、または同等物等の溶剤ベースのポリマー分散もしくは純接着剤、封止剤、およびポッティング化合物、Sn97Cu3、Sn50Zn49Cu1、Sn95.5Cu4Ag0.5、Sn90Zn7Cu3、Sn98Ag2、Sn96.5Ag3Cu0.5、Sn91Zn9、Sn85Zn15、Sn70Zn30、Sn89Zn8Bi3、Sn83.6Zn7.6In8.8、Sn86.9In10Ag3.1、Sn95Ag3.5Zn1Cu0.5、Sn86.5Zn5.5In4.5Bi3.5、Sn95Sb5、Sn96.2Ag2.5Cu0.8Sb0.6、Sn90Au10、またはその他等のスズもしくはその合金、In97Ag3、In90Ag10、In50Sn50、In52Sn48またはその他等のインジウムもしくはその合金、Zn95Al5、Zn60Sn40、Zn95Sn5、またはその他等の亜鉛もしくはその合金、B57Sn42Ag1、Bi58Sn52、またはその他等のビスマスもしくはその合金、Au80Sn20、Au98Si2、Au87.5Ge12.5、Au82In18等の金もしくはその合金、それらの組み合わせ、または同等物等のはんだまたは可融合金材料等を含む。血管または他の生理学的環境内で非分解性の好適なステント材料は、限定されないが、304V、304L、および316LVステンレス鋼等のステンレス鋼、軟鋼等の合金鋼、コバルトクロム等のコバルトベースの合金、L605、Elgiloy(登録商標)、Phynox(登録商標)、白金クロム、白金イリジウム、および白金ロジウム等の白金ベースの合金、スズベースの合金、ロジウム、ロジウムベースの合金、パラジウム、パラジウムベースの合金、アルミニウムベースの合金、チタンまたはそれらの合金、50:50レニウムモリブデン等のレニウムベースの合金、モリブデンベースの合金、タンタル、金および金合金、銀および銀合金、形状記憶金属または合金、クロムベースの合金、線形弾性および/または超弾性ニチノール等のニッケルチタン合金、ニッケル・クロム・モリブデン合金(例えば、INCONEL 625、Hastelloy C-22、Hatelloy C276、Monel 400、Nickelvac 400、および同等物)等のニッケル合金、MP35-N等のニッケル・コバルト・クロム・モリブデン合金、ニッケルモリブデン合金、白金濃縮ステンレス鋼、それらの組み合わせ、もしくは同等物、ならびにステントおよび補綴具製造で一般的に採用されるタイプの他の可鍛性金属等の金属および金属合金を含む。他の実施例では、非分解性材料は、ポリアリールエーテルケトン、ポリエーテルエーテルケトン、ポリイミド、UHMW、HDPE、LDPE、またはその他等のポリエチレン、ポリプロピレン、ポリエステル、ポリエチレンテレフタレート、ポリカーボネート、ポリスルホン、ポリフェニルスルホン、ポリエーテルスルホン、Ultem、ポリエーテルイミド、ポリウレタン、ポリアミド、ナイロン12、ナイロン6、ナイロン6-6、またはその他等のナイロン、ポリ塩化ビニル、PTFE、FEP、ETFE、PFA、PVDF、ポリ塩化ビニル、アクリロブタジエンスチレン、デルリン、ポリメチルメタクリレート、ポリスチレン、ポリアクリルアミド、ポリフェニルスルフィド、PEBAX、または他の材料等の非分解性ポリマーを備えてもよい。なおも他の実施例では、非分解性材料は、形状もしくは熱記憶合金、形状記憶ポリマー、または超弾性材料、典型的には、ニッケルチタン合金、ばねステンレス鋼、Ni50-Mn28-Ga22、銅・アルミニウム・ニッケル、亜鉛、銅、金、および鉄の合金、Fe-Mn-Si等の鉄ベースの合金、Cu-Zn-AlおよびCu-Al-Ni等の銅ベースの合金、ポリ(ε-カプロラクトン)ジメタクリレート、PVDF/PMMA、PVDF/PVA、PLA/PVAc、またはその他、もしくは同等物等の弾性金属を備えてもよい。分解性ポリマー材料等の分解性材料の実施例は、ラクチド、カプロラクトン、トリメチレンカーボネート、グリコリド、ポリ(L-ラクチド)、ポリ-DL-ラクチド、ポリラクチド-co-グリコリド(例えば、ポリ(L-ラクチド-co-グリコリド)、ポリ(L-ラクチド-co-イプシロン-カプロラクトン)のコポリマー(例えば、約50~約95%L-ラクチド対約50~約5%カプロラクトンの重量比)、ポリ(L-ラクチド-co-トリメチレンカーボネート)、ポリトリメチレンカーボネート、ポリ-カプロラクトン、ポリ(グリコリド-トリメチレンカーボネート)、ポリ(ラクチド-グリコリド-トリメチレンカーボネート)、または同等物、ポリ(3-ヒドロキシ酪酸)およびポリ(4-ヒドロキシ酪酸)等のポリヒドロキシ酪酸、ポリヒドロキシ吉草酸、ポリヒドロキシ酪酸/ポリヒドロキシ吉草酸コポリマー(PHV/PHB)、ポリヒドロキシアルカノエート、ポリオルトエステル、ポリ酸無水物、ポリイミノカーボネート、チロシン由来ポリカーボネート、チロシン由来ポリアクリレート、ヨウ化および/または臭素化チロシン由来ポリカーボネート、ヨウ化および/または臭素化チロシン由来ポリアクリレートポリエステルアミド、ポリカーボネートコポリマー、ポリ(フマル酸プロピレン-co-エチエレングリコール)コポリマー(別名フマル酸無水物)等のラクトンベースのポリマー、ポリ酸無水物エステル、ポリオルトエステル、シルクエラスチンポリマー、ポリホスファゼン、脂肪族ポリウレタン、ポリヒドロキシ酸、ポリエーテルエステル、ポリエステル、ポリデプシペプチド、ポリ(アルキレンオキサラート)、ポリアスパラギン酸、ポリグルタル酸ポリマー、ポリ-p-ジオキサノン、ポリ-ベータジオキサノン、非対称3,6-置換ポリ-1,4-ジオキサン-2,5-ジオノン、ポリアルキル-2-シアノアクリレート、ポリデプシペプチド(グリシン-DL-ラクチドコポリマー)、ポリジヒドロピラン、ポリアルキル-2-シアノアクリレート、ポリ-ベータ-マレイン酸(PMLA)、ポリアルカノエート、ポリ-ベータ-アルカン酸、ポリマー、ブレンド、および/またはコポリマー、もしくはそれらの組み合わせのうちの1つまたはそれを上回るものを備える。
別の実施例では、ポリマーおよび金属(分解性もしくは非分解性)、接着剤、コーティング、はんだ、スリーブ、封止剤、ポッティング化合物、固定材料、セメント、エネルギー固定、エラストマおよび他のタイプの材料を含む、好適なステント材料を含む、好適な材料は、限定されないが、ポリアルキル-2-シアノアクリレート、メチル-2-シアノアクリレート、エチル-2-アクリレート、n-ブチルシアノアクリレート、2-オクチルシアノアクリレート、またはその他等のシアノアクリレート、ゴリラグルー、TissueGlu、Sylys外科用封止剤、またはその他等のリシンベースの接着剤、フィブリン接着剤、蜜ろう等の接着剤を含む。エポキシ、エポキシアミン、Loctite、Dymax、Master Bond、またはその他からの紫外線硬化性物質、アクリル、シリコーン、熱溶融物、ポリウレタン、ポリエステル等の分解性スリーブ材料、ステント材料、およびコーティング、ポリラクチドおよびそれらのコポリマーならびにブレンド、ラクチド、カプロラクトン、トリメチレンカーボネート、グリコリドのコポリマー、ポリ(L-ラクチド)、ポリ-DL-ラクチド、ポリラクチド-co-グリコリド(例えば、ポリ(L-ラクチド-co-グリコリド)、ポリ(L-ラクチド-co-イプシロン-カプロラクトン)のコポリマー(例えば、約50~約95%L-ラクチド対約50~約5%カプロラクトンの重量比)、ポリ(L-ラクチド-co-トリメチレンカーボネート)、ポリトリメチレンカーボネート、ポリ-カプロラクトン、ポリ(グリコリド-トリメチレンカーボネート)、ポリ(ラクチド-グリコリド-トリメチレンカーボネート)、または同等物、ポリ(3-ヒドロキシ酪酸)およびポリ(4-ヒドロキシ酪酸)等のポリヒドロキシ酪酸、ポリヒドロキシ吉草酸、ポリヒドロキシ酪酸/ポリヒドロキシ吉草酸コポリマー(PHV/PHB)、ポリヒドロキシアルカノエート、ポリオルトエステル、ポリ酸無水物、ポリイミノカーボネート、チロシン由来ポリカーボネート、チロシン由来ポリアクリレート、ヨウ化および/または臭素化チロシン由来ポリカーボネート、ヨウ化および/または臭素化チロシン由来ポリアクリレートポリエステルアミド、ポリカーボネートコポリマー、ポリ(フマル酸プロピレン-co-エチエレングリコール)コポリマー(別名フマル酸無水物)等のラクトンベースのポリマー、ポリ酸無水物エステル、ポリオルトエステル、シルクエラスチンポリマー、ポリホスファゼン、脂肪族ポリウレタン、ポリヒドロキシ酸、ポリエーテルエステル、ポリエステル、ポリデプシペプチド、ポリ(アルキレンオキサラート)、ポリアスパラギン酸、ポリグルタル酸ポリマー、ポリ-p-ジオキサノン、ポリ-ベータジオキサノン、非対称3,6-置換ポリ-1,4-ジオキサン-2,5-ジオノン、ポリアルキル-2-シアノアクリレート、ポリデプシペプチド(グリシン-DL-ラクチドコポリマー)、ポリジヒドロピラン、ポリアルキル-2-シアノアクリレート、ポリ-ベータ-マレイン酸(PMLA)、ポリアルカノエート、ポリ-ベータ-アルカン酸、エラスチン、フィブリン、コラーゲン、糖タンパク質、ゼラチン、またはペクチン等のタンパク質、ポリ-セリン、ポリカプロラクタム、シクロデキストリン、キトサンおよびヒアルロナン等の多糖類、アルギネート、ポリケタール、脂肪酸ベースのポリ酸無水物、アミノ酸ベースのポリ酸無水物、ポリ(エステル無水物)、ポリマーブレンド、および/またはコポリマー、もしくはそれらの組み合わせ、または同等物等の非分解性接着剤、封止剤、およびポッティング化合物。Sn97Cu3、Sn50Zn49Cu1、Sn95.5Cu4Ag0.5、Sn90Zn7Cu3、Sn98Ag2、Sn96.5Ag3Cu0.5、Sn91Zn9、Sn85Zn15、Sn70Zn30、Sn89Zn8Bi3、Sn83.6Zn7.6In8.8、Sn86.9In10Ag3.1、Sn95Ag3.5Zn1Cu0.5、Sn86.5Zn5.5In4.5Bi3.5、Sn95Sb5、Sn96.2Ag2.5Cu0.8Sb0.6、Sn90Au10、またはその他、In97Ag3、In90Ag10、In50Sn50、In52Sn48またはその他等のインジウムもしくはその合金、Zn95Al5、Zn60Sn40、Zn95Sn5、またはその他等の亜鉛もしくはその合金、Bi57Sn42Ag1、Bi58Sn52、またはその他等のビスマスもしくはその合金等の腐食性はんだまたは可融合金。Au80Sn20、Au98Si2、Au87.5Ge12.5、Au82In18等の金もしくはその合金等の非腐食性はんだまたは可融合金。分解性および非分解性ポリマーは、ポリエステル、ポリラクチドおよびそれらのコポリマーならびにブレンド、ラクチド、カプロラクトン、トリメチレンカーボネート、グリコリドのコポリマー、ポリ(L-ラクチド)、ポリ-DL-ラクチド、ポリラクチド-co-グリコリド(例えば、ポリ(L-ラクチド-co-グリコリド)、ポリ(L-ラクチド-co-イプシロン-カプロラクトン)のコポリマー(例えば、約50~約95%L-ラクチド対約50~約5%カプロラクトンの重量比)、ポリ(L-ラクチド-co-トリメチレンカーボネート)、ポリトリメチレンカーボネート、ポリ-カプロラクトン、ポリ(グリコリド-トリメチレンカーボネート)、ポリ(ラクチド-グリコリド-トリメチレンカーボネート)、または同等物、ポリ(3-ヒドロキシ酪酸)およびポリ(4-ヒドロキシ酪酸)等のポリヒドロキシ酪酸、ポリヒドロキシ吉草酸、ポリヒドロキシ酪酸/ポリヒドロキシ吉草酸コポリマー(PHV/PHB)、ポリヒドロキシアルカノエート、ポリオルトエステル、ポリ酸無水物、ポリイミノカーボネート、チロシン由来ポリカーボネート、チロシン由来ポリアクリレート、ヨウ化および/または臭素化チロシン由来ポリカーボネート、ヨウ化および/または臭素化チロシン由来ポリアクリレートポリエステルアミド、ポリカーボネートコポリマー、ポリ(フマル酸プロピレン-co-エチエレングリコール)コポリマー(別名フマル酸無水物)等のラクトンベースのポリマー、ポリ酸無水物エステル、ポリオルトエステル、シルクエラスチンポリマー、ポリホスファゼン、脂肪族ポリウレタン、ポリヒドロキシ酸、ポリエーテルエステル、ポリエステル、ポリデプシペプチド、ポリ(アルキレンオキサラート)、ポリアスパラギン酸、ポリグルタル酸ポリマー、ポリ-p-ジオキサノン、ポリ-ベータジオキサノン、非対称3,6-置換ポリ-1,4-ジオキサン-2,5-ジオノン、ポリアルキル-2-シアノアクリレート、ポリデプシペプチド(グリシン-DL-ラクチドコポリマー)、ポリジヒドロピラン、ポリアルキル-2-シアノアクリレート、ポリ-ベータ-マレイン酸(PMLA)、ポリアルカノエート、ポリ-ベータ-アルカン酸、エラスチン、フィブリン、コラーゲン、糖タンパク質、ゼラチン、またはペクチン等のタンパク質、ポリ-セリン、ポリカプロラクタム、シクロデキストリン、キトサンおよびヒアルロナン等の多糖類、アルギネート、ポリケタール、脂肪酸ベースのポリ酸無水物、アミノ酸ベースのポリ酸無水物、ポリ(エステル無水物)、ポリマーブレンド、および/またはコポリマー、もしくはそれらの組み合わせ、または同等物、ポリビニルアルコール、ポリ酢酸ビニル、エチレン-酢酸ビニル(熱溶融性接着剤)、フェノールホルムアルデヒド樹脂、ナイロン12、ナイロン6、ナイロン6-6、またはその他等のポリアミド、ポリエステル樹脂、ポリエチレン(熱溶融性接着剤)、UHMW、HDPE、LDPE、またはその他、ポリクロロプレン、ポリアリールエーテルケトン、ポリエーテルエーテルケトン、ポリプロピレン、ポリスチレン、ポリエステル、ポリエチレンテレフタレート、ポリカーボネート、ポリスルホン、ポリフェニルスルホン、ポリエーテルスルホン、Ultem、ポリエーテルイミド、ポリウレタン、ポリ塩化ビニル、PTFE、FEP、ETFE、PFA、PVDF、ポリ塩化ビニル、アクリロブタジエンスチレン、デルリン等のポリアセタール、ポリメチルメタクリレート、ポリスチレン、ポリアクリルアミド、ポリフェニルスルフィド、PEBAX、および/またはコポリマー、ならびに/もしくはそれらの組み合わせを含む。シリコーンゴム、C-フレックス、ポリ(n-ブチルメタクリレート)、ポリ(メタメタクリレート)、ポリ(ヘキシルメタクリレート)、およびポリビニルピロリドンと混合されたポリ(n-ブチルメタクリレート)、クレイトン、ポリ(スチレン-エチレン/ブチレン-スチレン)(SEBS)、ポリ(スチレン-エチレン/プロピレン-スチレン)(SEPS)、ポリ(アクリル酸-b-スチレン-b-イソブチレン-b-スチレン-b-アクリル酸)、ポリ(スチレン-b-イソブチレン-b-スチレン)、ポリブタジエン、PVDF-HFPポリ(フッ化ビニリデン-ヘキサフルオロプロピレン)、ポリビニルピロリドン、ポリ(エチレン-co-酢酸ビニル)、ホスホリルコリン、PEBAX、ポリウレタンエラストマ、Tecoflex、Biomer、Pellethane、corethane、シリコーンゴム、ゴム、エラストマ、ブレンド、コポリマー、それらの組み合わせ、または同等物等の弾性非吸収性ポリマーもしくはエラストマ。形状もしくは熱記憶合金、形状記憶ポリマー、または超弾性材料、典型的には、ニッケルチタン合金、ばねステンレス鋼、Ni50-Mn28-Ga22、銅・アルミニウム・ニッケル、亜鉛、銅、金、および鉄の合金、Fe-Mn-Si等の鉄ベースの合金、Cu-Zn-AlおよびCu-Al-Ni等の銅ベースの合金、または同等物等の非腐食性弾性金属もしくは金属合金。高い初期強度を有し、経時的に脆弱化する、金属または金属合金は、Ti6Al4V、Ti5Al2.5Sn、またはTi-10V-Fe-3Al、SAF2507等のステンレス鋼、Zn5al、Zn10Al、Zn18Al、Zn30Al等の亜鉛合金、白金金属およびその合金、Sn3.9Ag0.6Cu、Sn-3.8Ag-0.7Cu、SnPb、またはSnPbAt等のスズ合金、Al1.7Fe、Al0.7Cu、A1.5MgScZr、Al6Mg0.2Sc0.15Zr、3004、8090、7075、6061、または5056等のアルミニウム合金、Zr55Al10Ni5Cu30等のジルコニウム合金、AZ31BまたはMG11li5Al1Zn0.034Sc(LAZ1151)等のマグネシウム合金、Fe29.7Mn8.7Al1C、30HGSA合金鋼、4140、C45鋼、Fe36Ni、または低炭素鋼等の鉄合金、Ni21Cr17MoまたはHaynes 230等のニッケル合金を含む。Ti6Al4V、Ti5Al2.5Sn、またはTi-10V-Fe-3Al等の従来のチタン合金、SAF2507等のステンレス鋼、白金金属およびその合金、Al1.7Fe、Al0.7Cu、A1.5MgScZr、Al6Mg0.2Sc0.15Zr、3004、8090、7075、6061、または5056等のアルミニウム合金、Zr55Al10Ni5Cu30等のジルコニウム合金、304V、304L、および316LVステンレス鋼、軟鋼等の合金鋼、コバルトクロム等のコバルトベースの合金、L605、Elgiloy(登録商標)、Phynox、白金クロム、白金イリジウム、および白金ロジウム等の白金ベースの合金、スズベースの合金、ロジウム、ロジウムベースの合金、パラジウム、パラジウムベースの合金、アルミニウムベースの合金、チタンまたはそれらの合金、50:50レニウムモリブデン等のレニウムベースの合金、モリブデンベースの合金、タンタル、金またはそれらの合金、銀またはそれらの銀合金(分解性)、形状記憶金属または合金、クロムベースの合金、線形弾性および/または超弾性ニチノール等のニッケルチタン合金、ニッケル・クロム・モリブデン合金(例えば、INCONEL 625、Hastelloy C-22、Hatelloy C276、Monel 400、
Nickelvac 400、および同等物)等のニッケル合金、MP35-N等のニッケル・コバルト・クロム・モリブデン合金、Ni21Cr17MoまたはHaynes 230等のニッケル合金、もしくはその他、ニッケルモリブデン合金、白金濃縮ステンレス鋼、それらの組み合わせ、または同等物等の非腐食性(非分解性)金属もしくは金属合金。腐食性金属または金属合金(分解性)は、ニッケル、コバルト、タングステン、レニウム、コバルト、鉄、ジルコニウム、亜鉛、チタンのタングステン合金、マグネシウム、マグネシウム合金、マグネシウム合金AZ31、20重量%未満の亜鉛またはアルミニウムを伴い、3%未満の鉄、シリコーン、マンガン、コバルト、ニッケル、イットリウム、スカンジウム、または他の希土類金属の1つもしくはそれを上回る不純物を伴わない、または伴うマグネシウム合金、AZ31BもしくはMG11li5Al1Zn0.034Sc(LAZ1151)、亜鉛またはZn5al、Zn10Al、Zn18Al、Zn30Al等の亜鉛合金等のその合金、ビスマスまたはその合金、インジウムまたはその合金、スズまたはスズ鉛、Sn3.9Ag0.6Cu、Sn-3.8Ag-0.7Cu、SnPb、もしくはSnPbAt等のその合金、銀または銀スズ合金等のその合金、コバルト鉄合金、鉄または80-55-06グレード延性鋳鉄、他の延性鋳鉄、AISI 1010鋼、AISI 1015鋼、AISI 1430鋼、AISI 8620鋼、AISI 5140鋼、Fe29.7Mn8.7Al1C、30HGSA合金鋼、4140、C45鋼、Fe36Ni、低炭素鋼、もしくは他の鋼鉄等のその合金、溶融可融合金(40%ビスマス-60%スズ、58%ビスマス-42%スズ、ビスマス・スズ・インジウム合金等)、ビスマス、インジウム、コバルト、タングステン、ビスマス、銀、銅、鉄、亜鉛、マグネシウム、ジルコニウム、モリブデン、インジウム、スズのうちの1つまたはそれを上回るものを含む合金、もしくは他の材料、または同等物を含む。
別の実施例または側面では、本発明は、エネルギー応答性分離領域を伴うリングを有する、非分解性補綴具を提供する。そのような管腔内補綴具は、非分解性材料からパターン化される円周方向リングを有する、足場を備え、足場は、圧着構成から拡張構成まで拡張するように構成される。円周方向リングのうちの少なくともいくつかは、展開後に、および/または身体管腔の中の該補綴具の埋込後に、分離領域に印加されるエネルギーに応答して、該円周方向リングに1つもしくはそれを上回る不連続性を形成するように構成される、分離領域を有するであろう。そのような不連続性は、足場が離脱する、および/または該当する場合、典型的には、バルーン拡張、自己拡張、もしくは同等物によって達成される、例えば、反跳後の初期拡張直径を超えて、さらに拡張することを可能にする。
不連続性を助長する、もしくは引き起こすエネルギーは、埋込の部位と関連付けられるエネルギーであってもよい、または埋込の部位において指向される外部源からのエネルギーであってもよい。例えば、分離領域は、薬剤の導入、および/または管腔内補綴具が埋め込まれた血管もしくは他の身体管腔の脈動に応答して、疲労するように構成されてもよい。代替として、分離領域は、分離領域の熱および/または機械的運動、例えば、振動をもたらす、外部エネルギーに応答するように構成されてもよい。具体的には、そのような運動応答性分離領域は、一実施例では、印加されたエネルギーに応答して優先的に疲労および破損する、切り欠き、薄膜化領域、接合点、突き合わせ継手、キーおよびロック設計、または他の局所的領域もしくは焦点、および/または印加されたエネルギーに応答して中断する事前形成された分離領域を備えてもよい。例えば、分離領域は、脈動または外部エネルギーの印加に応答して、循環して開閉し、分離する、または最終的に疲労および破損する、「リビングヒンジ」を備えてもよい。なおも他の実施例では、分離領域は、粒体が特に振動誘発疲労の影響を受けやすい、修正された粒界を金属リングに備えてもよい。
他の実施形態または実施例では、分離領域は、円周方向リングに事前形成された切れ目または事前形成された分離領域を備えてもよく、これらの切れ目または不連続性は、印加されたもしくは内因性エネルギーに応答して(または生理学的条件に応答して)開放するように構成される、コネクタを用いて再接続される。外部から印加されたエネルギーの典型的形態は、超音波、薬剤、熱、磁性、高周波エネルギー、高強度集束超音波(HIFU)、および同等物を含む。
他の実施例および/または実施形態では、分離領域は、円周方向リングならびに/もしくは円周方向構造要素に形成されるキーおよびロック接合点を備えてもよく、キーおよびロック接合点は、拡張前または中に、もしくは拡張に応じて、最初に固定化されるが、印加されたエネルギー、または外部もしくは内因性のいずれかである生理学的条件に応答して、開放するように構成される。なおも他の実施例または実施形態では、分離領域は、円周方向要素の中の切れ目を継合するリベットもしくは他の締結具を備えてもよく、締結具は、外部もしくは内因性のいずれかである、印加されたエネルギーに応答して、または生理学的条件に応答して、開放するように構成される。
別の実施例および/または第4の側面では、本発明は、束縛されたヒンジを伴うリングを有する、非分解性もしくは低速分解性補綴具、およびそれらの使用ならびに加工のための方法を提供する。管腔内補綴具は、非分解性材料からの円周方向リングパターンを有するものとして足場を備える。足場は、圧着構成から拡張構成まで展開するように構成され、円周方向リングは、足場が展開されるにつれて、および/または展開後に開放する、ヒンジを有する。リングのうちの少なくともいくつかの上のヒンジのうちの少なくともいくつかは、展開中に拡張から収縮され、展開後に生理学的環境または外部エネルギーの印加に応答して、開放するように構成される。収縮からヒンジを解放することができる、特定の生理学的環境および外部エネルギーは、上記または本願の全体を通して十分に説明されている。
一実施例では、円周方向リングのヒンジのうちの少なくともいくつかを最初に束縛することによって、足場は、最初に、治療されている身体管腔のために適切である直径まで拡張され、束縛されたヒンジを伴って依然としてその構成である間に、その身体管腔の開存性を依存するために十分な強度を保有するであろう。しかしながら、展開後に、および/または経時的に、最初に束縛されたヒンジは、束縛から解放され、足場の有効円周方向剛性を低くする。すなわち、より多くのヒンジまたは他の拡張領域を追加すると、好ましくは、その最初に拡張された構成を越えて、足場を増分的に開放するために要求される力は、低くされるであろう。このように、管腔内補綴具は、治療された身体管腔を閉じ込める、または拘束する、低減したエネルギーを有し、それによって、足場が拡大すること、および/または管腔が拡大することを可能にする。
別の実施例または側面では、本発明は、継手または能動継手を伴うリングを有する、非分解性補綴具、およびそれらの加工ならびに使用のための方法を提供する。管腔内補綴具は、非分解性材料からパターン化される円周方向リングを有する、足場を備える。本足場は、圧着構成から拡張構成まで展開するように構成され、円周方向リングは、典型的には、バルーン拡張によって、足場が展開されるにつれて開放する、継手によって接続される支柱を含む。継手のうちの少なくともいくつかは、その拡張構成時の足場が離脱する、および/またはさらに拡張することを可能にするように、枢動されるであろう。枢動部または「能動継手」は、ある場合には、非対称であり得る。すなわち、継手は、円周方向リングの半径方向拡張を可能にするであろうが、リングの半径方向収縮を限定するであろう。
異なる実施形態または実施例では、補強要素もしくは架橋要素の形状は、実質的に円形(中実円形ワイヤもしくは中空円形ワイヤ)、長方形、正方形、卵形、または他の形状および幾何学形状であり得る。補強要素のサイズは、いくつかの実施例では、補強要素が結合されるヒンジ、拡張領域、および/または支柱と実質的に同一のサイズ/幾何学形状であり得る一方で、他の実施例では、補強要素のサイズ/幾何学形状は、拡張領域よりも小さくまたは大きくあり得る。一実施例では、補強要素の端部は、非外傷性および/または平滑である、ならびに/もしくは球根形または丸い形を有する、および/または血管への外傷を低減させるより広い断面積を有する。一実施例では、補強要素の表面仕上げは、研磨された血管金属ステントのものに類似する。別の実施例では、表面仕上げは、テクスチャ加工される。
分解性材料の一実施例では、円周方向足場のポリマー本体は、管腔内補綴具の展開後の1ヶ月~3年、好ましくは、3ヶ月~2年、より好ましくは、6ヶ月~1年の周期内に、生理学的条件下で実質的に分解するように構成される。別の実施例では、補強要素は、薄いポリマー材料等の材料によって少なくとも部分的にカプセル化される。実施例は、パリレンおよびC-フレックス材料を含む。
別の実施例では、非分解性足場の分離領域は、展開後の最大3年、典型的には、1日~3年、1ヶ月~3年、好ましくは、3ヶ月~2年、より好ましくは、6ヶ月~1年に及ぶ周期で、分離するように構成される。一実施例では、分離領域は、ほぼ同一の時間周期で分離し、別の実施例では、分離領域は、異なる時間周期で分離する。
別の実施例では、管腔内補綴具はさらに、ステント補綴具(足場補綴具)の少なくとも1つの表面上に、少なくとも1つのコーティング、好ましくは、分解性コーティングを備える。別の実施例では、ステント補綴具はさらに、ステント補綴具の少なくとも1つの表面上に少なくとも1つの薬物を備える。別の実施例では、ステント補綴具はさらに、ステント補綴具の少なくとも1つの表面上に、少なくとも1つの薬物を含有する少なくとも1つのコーティングを備える。好ましい実施例では、分離領域をともに継合または含有もしくは保持する、ポリマー材料または接着剤は、(展開前または展開後に)不連続性を時期尚早に形成することなく、分離領域の移動を可能にしない、もしくはある程度移動を可能にする、伸張可能タイプポリマーまたは接着材料(分解性もしくは非分解性)である。これはまた、足場の一貫した性能と、ステントおよび分離領域の改良された貯蔵条件ならびに保存期間とを可能にし、熱、湿度、および時間の種々の典型的環境条件下で、長期的保存期間を可能にする。材料は、5℃~50℃、好ましくは、10℃~40℃に及ぶ温度、1ヶ月~3年、好ましくは、1ヶ月~2年、または1ヶ月~18ヶ月の保存期間に耐えることができる。10%~95%の相対湿度、好ましくは、20%~70%相対湿度にある。材料の実施例は、本願に説明される。
一実施例では、管腔内補綴具はさらに、放射線不透過性マーカを備える。より具体的な実施例では、放射線不透過性マーカは、非分解性放射線不透過性マーカを備える。好ましい実施例では、非放射線不透過性マーカは、金属または金属合金を備える。
一実施例では、補強要素および/または分離領域ならびに/もしくは環境応答性分離領域は、非分解性金属および/またはポリマーもしくは他の材料等の非分解性材料から形成される。補強要素および/または分離領域ならびに/もしくは環境応答性分離領域は、代替として、全体的または部分的に、分解性金属(マグネシウムおよびマグネシウム合金等)、もしくは分解性ポリマー(ラクチドポリマー、コポリマー、およびそれらのブレンド等)、またはそれらの組み合わせ等の分解性(腐食性)材料から形成されてもよい。一実施例では、補強要素および/または分離領域ならびに/もしくは環境応答性分離領域は、埋込後に腐食し、ステントまたは他の管腔内補綴具を離脱させ、好ましくは、分離領域に隣接するヒドロキシアパタイト物質等の不要な副産物の形成を伴わずに、ステント補綴具を離脱させる、腐食性材料から形成される。
一実施例では、管腔内補綴具は、実質的に管状の構造を備える、ステント補綴具であり、管状構造は、パターン化され、ステント補綴具は、分離領域を備え、ステント補綴具は、より小さい直径まで圧着され、圧着構成からより大きい拡張構成まで展開され、拡張されたより大きい構成時のステントは、身体管腔を支持するために十分な強度を有する、および/または破砕しない、ならびに/もしくは低い反跳を有する。展開後のステントは、本実施例では、以下のうちの1つまたはそれを上回るものを行うように構成される、すなわち、ステントおよび/または円周方向構造要素ならびに/もしくはリングは、展開後および/または埋込後に、少なくとも1つの区分ならびに/もしくは領域またはより多くの中で、分離する、拡張する、不連続性を形成する、および/または崩壊するように構成される、ならびに/もしくはステントは、展開または埋込後に、分離領域もしくは分離領域に隣接する材料の係止解除、分解、または分離領域が離脱しないように防止しないスリーブもしくは材料による含有を含む、修正を受け、ステント構造の少なくとも1つ一部を分離、拡張、および/または崩壊させる、ならびに/もしくはステントは、展開後にさらに拡張する、および/またはステントは、展開後および修正後にさらに拡張する、ならびに/もしくはステントは、展開後にさらに半径方向に拡張する、および/またはステントは、展開後に円周方向に拡張する、ならびに/もしくはステントは、展開後および供給源(化学、エネルギー)からの支援修正後にさらに拡張する、および/またはステントは、管腔を押動し、展開または埋込後のある周期にわたって拡張するように構成される、ならびに/もしくはステントは、管腔または血管が拡張/拡大することを可能にするように構成される、またはそれらの組み合わせである。ステントは、非分解性材料を備える、または2つの非分解性材料を備える、もしくは分解性材料を備える、または2つの分解性材料を備える、もしくは2つの分解性材料および1つの非分解性材料を備える、または非分解性材料および腐食性材料を備える、もしくは分解性材料および腐食性材料を備える、または分解性材料、および腐食性材料、ならびに非分解性材料を備える。ステントはさらに、ステント補綴具の少なくとも1つの表面上に少なくとも1つのコーティングを備えてもよく、該コーティングは、分解性および/または非分解性コーティングである。上記の材料は、分解性または非分解性であり得るマーカ材料を除外する。ステントはさらに、ステントの少なくとも1つの表面上に少なくとも1つの薬物を備えてもよい。ステントはまた、ステント補綴具の少なくとも1つの表面上に少なくとも1つのコーティングを備えることもできる。
一実施例では、ステント補綴具は、構造、好ましくは、実質的に管状の構造、より好ましくは、分離領域を有する実質的に管状のパターン化構造を備える。ステント補綴具は、典型的には、圧着構成から展開される拡張されたより大きい構成まで拡張可能である。ステント構造は、ステントの少なくとも1つの区分上に少なくとも1つの主要または原則材料を備え、好ましくは、フレーム材料は、ポリマー材料等の分解性材料であり、ステント構造はさらに、少なくとも1つの第2の材料、好ましくは、フレーム材料よりも強い材料、より好ましくは、金属材料、より好ましくは、フレーム材料の少なくとも該区分と界面接触する、またはそれに結合される、非分解性金属材料を備え、好ましくは、該区分は、ステント構造のクラウン区分である。ステントは、より大きい拡張構成まで展開される。拡張された展開構成時のステントは、身体管腔を支持するために十分な強度を有する、および/または破砕を伴わずに拡張する、ならびに/もしくは低い反跳を伴って拡張する。ステントは、展開後に修正を受け、修正は、フレーム材料の少なくとも一部の分解、および/または第2の材料の少なくとも一部の分解、ならびに/もしくは少なくとも第1の材料の腐食、および/または第2の材料の少なくとも一部の腐食、もしくはそれらの組み合わせを含む。修正後のステントは、少なくとも1つのリングの中の1つまたはそれを上回る不連続性、および/または少なくとも1つのクラウンの中の少なくとも1つの不連続性、ならびに/もしくは少なくとも1つの支柱の中の少なくとも1つの不連続性、および/またはそれらの組み合わせを備える。別の実施例では、修正後のステントは、フレーム材料の少なくとも一部の中の少なくとも1つの不連続性、および/または第2の材料の少なくとも一部の中の少なくとも1つの不連続性、ならびに/もしくはフレームおよび第2の材料の隣接部分の中の少なくとも1つの不連続性を有する。別の実施例では、修正後のステントは、修正前の構成からより大きい構成までさらに拡張する、および/または展開構成からより大きい構成までさらに拡張する、ならびに/もしくは「展開後反跳」構成からより大きい構成までさらに拡張する、および/またはステント補綴具の少なくとも1つのリングの中の先の原因のうちのいずれかに関してより大きい構成までさらに拡張する、ならびに/もしくはリングがステント長の中間部分を中心として位置する、他のステント補綴具の少なくとも1つのリングの中でより大きい構成までさらに拡張する。別の実施例では、修正後の該ステントの少なくとも1つのリングの少なくとも1つの不連続性は、ステントが生理学的圧力下で該少なくとも1つのリングにおいてさらに拡張することを可能にする。別の実施例では、ステント補綴具は、展開および/または少なくとも1つのリング、クラウン、ならびに/もしくは支柱における修正後に、崩壊する。一実施例では、展開後および/または修正後ならびに/もしくは崩壊後のステント補綴具は、構造を有する、および/または管状構造を有する、ならびに/もしくは管状パターン化構造を有する、および/または実質的に維持された管状構造を有する、ならびに/もしくは構造の少なくとも一部を有する、および/または少なくとも1つの窓を有する、ならびに/もしくは実質的にいかなる構造も有していない、および/または少なくとも1つのクラウン構造を備える、ならびに/もしくは少なくとも1つの支柱を備える、および/または少なくとも1つのリンクを備える、ならびに/もしくは強度を有する、および/またはそれらの組み合わせである。
特定の実施例では、ステントは、複数のリングを備える実質的に管状のパターン化構造(蛇行、菱形、ジグザグ、および/または他の開放セルもしくは閉鎖セル構造)を備え、リングは、クラウンと、支柱とを備え、少なくともいくつかのリングは、少なくとも1つのリンクによって隣接するリングに接続される、またはある場合には、いくつかの隣接するリングは、少なくとも1つの場所でともに接続される。
実施例では、足場またはリング材料は、金属および/もしくは金属合金を備える。金属および/または金属合金は、非分解性もしくは分解性/腐食性であり得る。本明細書の金属は、金属または金属合金であり得、かつ分解性もしくは非分解性であり得る、マーカおよびマーカ材料を除外する。腐食性金属または金属合金は、1ヶ月~10年に及ぶ周期で、好ましくは、3ヶ月~5年に及ぶ周期で、より好ましくは、3ヶ月~3年に及ぶ周期で腐食する。
実施例では、第2の材料(または補強要素)は、少なくとも2つの端部を有し、端部は、管腔または血管を損傷すること、および/またはステントが崩壊した後ならびに/もしくは修正後に炎症を引き起こすことを防止するように、デバリングされる、「神経シナプス」のような球形に成形される、および/または平滑化される。別の実施例では、ステントは、修正後に、および/または不連続性を形成する、ならびに/もしくはステントの一部を破壊する、分離領域の分離後に、ステント上の応力面積および/または疲労面積を縮小することによって、分離領域ならびに/もしくは分解するように構成される区分内以外で分解しないように構成される。
実施例では、主要またはフレーム材料は、ポリマー材料を備える。ポリマー材料は、分解性または非分解性であり得る。一実施例では、ポリマー材料は、1ヶ月~10年に及ぶ、好ましくは、3ヶ月~5年に及ぶ周期で分解する、より好ましくは、3ヶ月~3年に及ぶ周期で分解する。
実施例では、主要またはフレーム材料は、非分解性および/または第2の材料(補強要素)よりも速い速度で分解性である、ならびに/もしくは第2の材料と実質的に同一の速度で分解性である、および/または第2の材料よりも遅い速度で分解性である。
実施例では、ステントは、本願の中の実施例および/または実施形態のうちのいずれかでは、以下のうちの1つまたはそれを上回るもの、すなわち、管、連続ワイヤもしくはフィラメント、ワイヤ、完全に、もしくは低応力領域および/または実質的に直線状の領域等のある領域中のいずれかで中空である、中空ワイヤ、もしくは編組、または金型から、もしくは印刷によって、または押出によって、もしくは噴霧によって、または浸漬によって、もしくはスタンピングによって、またはそれらの組み合わせで、形成される。ステントは、パターン化前に、パターン化中に、またはパターン化後に、もしくはそのような分離領域および/または不連続性を形成する処置後に形成される、分離領域を有する。該不連続性を保持する手段は、本願の全体を通して説明される。
実施例では、構造足場材料に結合される、もしくはそれと界面接触する第2の補強材料は、完全にフレームの内側に埋め込まれる、または少なくとも1つの表面もしくは表面領域は、フレームの少なくとも1つの表面もしくは表面領域の内側に埋め込まれる、または少なくとも2つの表面は、フレームの少なくとも1つの表面の内側に埋め込まれる、または少なくとも3つの表面は、フレームの少なくとも1つの表面の内側に埋め込まれる、または第2の材料の少なくとも1つの表面は、フレーム材料の少なくとも1つの表面に取り付けられる(および/または継合される、ならびに/もしくは当接する、および/または粘着される、ならびに/もしくは圧力嵌めされる)。フレーム材料の少なくとも1つの表面は、反管腔側表面であってもよい、管腔表面であってもよい、またはフレーム材料の側面であってもよい。第2の材料は、フレーム材料内に挟持されてもよい。一実施例では、第2の材料は、不連続性を有し、第2の材料不連続性は、該フレーム材料、および/または接着剤、ならびに/もしくはコーティングによって、ともに保持される、またはともに継合される。
実施例では、第2の補強材料は、ワイヤ、リボン、支柱、クラウン、リンク、および/またはフィラメントのうちの1つもしくはそれを上回るものを備える、1つまたはそれを上回る部品の形態であってもよい。部品の断面は、円形もしくは実質的に円形、長方形もしくは実質的に長方形、正方形もしくは実質的に正方形、縦長もしくは実質的に縦長、卵形もしくは三角形、または他の形状を備える、種々の形状のうちのいずれか1つを有してもよい。部品の長さ、数、および場所は、変動し、ステント支柱の長さもしくはそれよりも小さく、ステントクラウンの長さもしくはそれよりも小さく、ステントリンクの長さもしくはそれよりも小さく、および/またはステントリングの長さもしくはそれよりも小さく及ぶ、少なくとも1つのまたはそれを上回るステントリングの上の少なくとも1つまたはそれを上回るものであってもよい。好ましくは、第2の材料の部品は、少なくとも1つのステントリングの中の少なくとも1つのステントクラウンの上/中/周囲に、および/または少なくとも1つのステントリングの中の少なくとも2つのステントクラウンの上/中/周囲に、ならびに/もしくはステントの少なくとも1つのステントリングの中の実質的に全てのステントクラウンまたはステントクラウンの一部の上/中/周囲に、および/または少なくとも1つのステントリングの上の1つのステントクラウンを除く全ての上/中/周囲に、ならびに/もしくは少なくとも1つのリングの上に、および/またはステント長の中央を中心として少なくとも1つのリングの上に、ならびに/もしくはステントパターン化構造の少なくとも1つの窓の上に、および/または少なくとも1つの支柱もしくは支柱の一部の上に、ならびに/もしくは少なくとも1つのリンクまたはリンクの一部の上に、および/または他の多様性もしくはそれらの組み合わせにある。一実施例では、パターン化ステント構造は、複数の窓を備え、各窓は、少なくとも2つのクラウンと、少なくとも4つの支柱とを備える、補強材料を備える。別の実施例では、窓は、少なくとも4つのクラウンと、少なくとも4つの支柱と、少なくとも1つまたは少なくとも2つのリンクとを備える。別の実施例では、リンクは、直線状であり得る、および/またはS字形リンク、V字形リンク、M字形リンク、ならびに/もしくは他のリンク形状等の形状を有してもよい。実施例では、各窓の中の少なくとも1つの構造要素(クラウン、支柱を備える)は、拡張する、および/または不連続性を有する、ならびに/もしくは分離するように構成される、分離領域を有する。別の実施例では、構造要素は、1つまたはそれを上回る窓を備える、複数の円周方向リングを備え、各窓は、拡張する、および/または不連続性を有する、ならびに/もしくは分離するように構成される、少なくとも1つの分離領域を有する。
好ましい実施例では、展開後のステントが、分離領域中に不連続性を形成する(またはそのような不連続性が、展開前に形成され、バルーンカテーテル等の設計幾何学形状もしくは展開手段を用いてともに保持される)、該分離領域を有するステント構造、またはステント構造が、該分離領域が崩壊(もしくは分離)した、および/または1つもしくはそれを上回る方向に移動した後に、実質的に維持される、本願の他のタイプの実施形態を有することが所望される。好ましくは、ステント長またはステント長の一部の長さに沿ってステント構造を有することの利益は、脆弱なプラーク等のステントの下の脆弱な物質が血管の中へ破裂し、害を及ぼさないように防止することに役立つ。ステント構造は、身体管腔内の脆弱な物質(脆弱なプラーク等)を予防(または保持)するために十分である。別の実施例では、展開後および/または崩壊後、ならびに/もしくは不連続性を形成した後のステント構造は、身体管腔を支持するために実質的に十分である。別の実施例では、展開後および/または崩壊後、ならびに/もしくは不連続性を形成した後のステント構造は、身体組織を支持するために実質的に十分である。
一実施例では、離脱する、および/または崩壊する、ならびに/もしくは分離領域を有する、ステントの少なくともいくつかの構造要素は、生理学的条件下で、形成されると、処置(修正を含む)後に、および/または展開後に、該ステントもしくは該ステント構造要素の固定解除すること、保持解除すること、未完成であること、掛止解除されること、取付解除すること、取り外されること、断絶されること、破損すること、離散すること、押動すること、押し開くこと、分離すること、引き離すこと、間隙を作成すること、空間を作成すること、崩潰すること、腐食すること、分解すること、断片化すること、破砕すること、粉砕すること、分裂すること、腐敗すること、係止解除すること、解体すること、劣化すること、退化すること、減衰すること、中断すること、遊離すること、ならびに/もしくはそれらの組み合わせのうちの1つまたはそれを上回るものを含む。ステント構造要素は、一実施例では、リング、クラウン、支柱、および/またはリンクのうちの1つもしくはそれを上回るものを備える。ステント構造要素は、別の実施例では、リングのうちの1つまたはそれを上回るものを備え、該リングは、クラウンおよび/または支柱を備える。
実施例では、ステント補綴具は、生理学的条件、および/または空中、ならびに/もしくは周囲温度における空中、および/または37℃温度における空中、ならびに/もしくは水中、および/または周囲温度における水中、ならびに/もしくは37℃における水中、および/または身体管腔内、ならびに/もしくは体温における、および/または管内、圧力下、脈動圧力下、ならびに/もしくはそれらの組み合わせを含む、シミュレーションする条件下で、拡張されたより大きい構成まで展開される。
実施例では、ステント補綴具は、拡張されたより大きい構成まで展開され、空中、で、および/または周囲温度における空中で、ならびに/もしくは37℃温度における空中で、および/または水中で、ならびに/もしくは周囲温度における水中で、および/または37℃における水中で、ならびに/もしくは身体管腔内で、および/または体温において、ならびに/もしくは少なくとも1つの溶剤中で、および/または周囲温度における少なくとも1つの溶剤もしくは腐食誘発剤中で、ならびに/もしくは37℃における溶剤または腐食誘発剤中で、
および/または管内で、ならびに/もしくは1.5psi~5psiにおいて、圧力下で、脈動圧力下でステントを加圧して、および/または加速された疲労、ならびに/もしくは加速された条件のうちのいずれか、および/またはそれらの組み合わせで、修正を受ける。
本発明の別の実施例または側面では、非分解性ステント補綴具は、構造を備え、構造は、ワイヤ、中空ワイヤ(形成されると、および/またはそれが処置(修正)後に中空である、少なくともいくつかの領域中で中空である)を備え、ワイヤおよび/または中空ワイヤは、ステント、好ましくは、実質的に管状のステント構造、より好ましくは、実質的に管状のパターン化ステント構造にパターン化され、ステントは、管からパターン化される。ステント補綴具は、圧着構成から展開されたより大きいまたは拡張構成まで拡張可能である。ステント構造は、金属ステンレス鋼またはコバルトクロム等の非分解性ポリマーもしくは金属(金属合金を含む)等の強い材料を備える。材料は、少なくとも1つのリングの中に少なくとも1つの区分および/または領域を有するように構成され、材料は、展開後および/または修正後に崩壊し(環境応答性分離領域もしくは分離領域)、および/または材料は、少なくとも1つのリングの中に少なくとも1つの不連続性、ならびに/もしくは少なくとも1つの支柱の中に少なくとも1つの不連続性、および/または少なくとも1つのクラウンの中に少なくとも1つの不連続性、ならびに/もしくはそれらの組み合わせを有するように構成される。材料の中の不連続性は、ともに保持され、ステントの圧着および/またはより大きい拡張構成への展開に実質的に影響を及ぼさず、ならびに/もしくはステント補綴具は、身体管腔を支持するために展開構成時に十分な強度を有し、および/または材料は、少なくとも1つのリングの中に少なくとも1つの不連続性、ならびに/もしくは少なくとも1つの支柱の中に少なくとも1つの不連続性、および/または少なくとも1つのクラウンの中に少なくとも1つの不連続性、ならびに/もしくはそれらの組み合わせを有するように構成される。材料の中の不連続性は、ともに保持され、ステントの圧着および/またはより大きい拡張構成への展開に実質的に影響を及ぼさず、ならびに/もしくはステント補綴具は、身体管腔を支持するために展開構成時に十分な強度を有する。ともに保持されている材料は、材料不連続性隣接部分をともに保持すること、掛止すること、取り付けること、接続すること、ともに押動すること、ともに引動すること、間隙を除去すること、空間を除去すること、および/または係止することを含む。材料不連続性部分をともに保持する手段は、スリーブ、接着剤、圧入、ロック、ポリマーまたは金属コーティング等のコーティング、ゲル、はんだ、キーおよびロック設計等のならびに/もしくは設計を含む。拡張された展開構成時のステントは、身体管腔を支持する、および/または破砕を伴わずに拡張する、ならびに/もしくは低い反跳を伴って拡張するために十分な強度を有する。ステントは、一実施例では、展開後に修正を受け、修正は、材料の少なくとも一部および/または材料不連続性部分をともに保持する手段の離脱すること、固定解除すること、保持解除すること、未完成であること、掛止解除すること、取付解除すること、取り外すこと、断絶すること、破損すること、離散すること、押動すること、押し開くこと、分離すること、引き離すこと、間隙を作成すること、空間を作成すること、崩潰すること、腐食すること、分解すること、断片化すること、破砕すること、粉砕すること、分裂すること、腐敗すること、係止解除すること、解体すること、劣化すること、退化すること、減衰すること、ならびに/もしくは中断することを含む。修正後のステントは、少なくとも1つのリングの中の1つもしくはそれを上回る崩壊材料区分および/または不連続性、ならびに/もしくは少なくとも1つのクラウンの中の少なくとも1つもしくはそれを上回る崩壊材料区分および/または不連続性、ならびに/もしくは少なくとも1つの支柱の中の少なくとも1つもしくはそれを上回る崩壊材料区分および/または不連続性、ならびに/もしくはそれらの組み合わせを備える。別の実施例では、修正後のステントは、管腔もしくは血管が埋込後からさらに拡大することを可能し、および/またはステントが修正前の構成からより大きい構成までさらに拡張することを可能にし、ならびに/もしくは展開構成からより大きい構成までさらに拡張し、および/または「展開後反跳」構成からより大きい構成までさらに拡張し、ならびに/もしくは離脱し、および/またはステント補綴具の少なくとも1つのリングの中の先の原因のうちのいずれかに関してより大きい構成までさらに拡張し、ならびに/もしくはステント補綴具の少なくとも1つのリングの中でより大きい構成までさらに拡張し、リングは、ステント長の中間部分を中心として位置する。別の実施例では、少なくとも1つもしくはそれを上回る崩壊材料区分(分離領域)および/または修正後の該ステントの少なくとも1つのリングの不連続性は、ステントが生理学的圧力下で離脱する、ならびに/もしくは該少なくとも1つのリングにおいてさらに拡張することを可能にする。別の実施例では、ステント補綴具は、展開および/または少なくとも1つのリング、クラウン、ならびに/もしくは支柱の修正後に崩壊する。一実施例では、展開後および/または修正後ならびに/もしくは崩壊後および/または材料が中断した後のステント補綴具は、構造を有する、ならびに/もしくは管状構造を有する、および/または管状パターン化構造を有する、ならびに/もしくは実質的に維持された管状構造を有する、および/または構造の少なくとも一部を有する、ならびに/もしくは少なくとも1つの窓を有する、および/または実質的に構造を有していない、ならびに/もしくは少なくとも1つのクラウン構造を備える、および/または少なくとも1つの支柱を備える、ならびに/もしくは少なくとも1つのリンクを備える、および/または強度を有する、ならびに/もしくはそれらの組み合わせである。
一実施例では、材料をともに保持する、および/または材料分離領域ならびに/もしくは不連続性をともに保持する、および/またはステントが展開前に崩壊しないように防止する手段は、接着剤、金属、ポリマー、コーティング、はんだ、圧入、溶接、材料を織成または編組すること、ならびに/もしくはその他を含む。一実施例では、該手段は、1ヶ月~5年、好ましくは、3ヶ月~3年、より好ましくは、3ヶ月~1年に及ぶ周期で、腐敗する、分解する、腐食する、係止解除される、および/または嵌合解除する。一実施例では、ステント材料は、該手段が分解および/または腐食ならびに/もしくは係止解除した後等に分解する。
別の好ましい実施例では、ステント補綴具は、構造を備え、構造内で、分離領域および/または不連続性は、半径方向拡張ならびに/もしくは円周方向拡張に影響を及ぼさない面積の中、好ましくは、支柱または支柱領域等のより低い応力の面積の中に位置する。
別の実施例では、ステント補綴具は、パターン化構造を有するように構成され、構造は、展開後および/または展開後かつ修正後のステントが、管腔もしくは血管がさらに拡大する、および/または離脱する、ならびに/もしくは分離することを可能にするように、少なくとも1つの支柱の上および/または少なくとも1つのクラウンの上に、キーおよびロック、当接、2つのプレート、圧入、ラチェット、リベット、挿入物、磁石、もしくはその他等の分離領域不連続性を有する。
別の実施例では、ステント補綴具は、構造が複数のリングを備える、パターン化構造を有するように構成され、リングは、一実施例では、蛇行リングであり、リングは、クラウンと、支柱とを備え、少なくとも1つのクラウンおよび2つの支柱は、コーティングならびに/またはスリーブによって圧着構成で保持され、該スリーブおよび/またはコーティングの分解を含む、展開ならびに修正後のステントは、ステントが離脱する、ならびに/もしくはより大きい構成までさらに拡張することを可能にする、および/または管腔もしくは血管が拡大することを可能にする。
別の実施例では、ステント補綴具は、構造が複数のリングを備える、パターン化構造を有するように構成され、リングは、一実施例では、蛇行リングであり、リングは、クラウンと、支柱とを備え、少なくとも1つのリング上の少なくとも1つのクラウンおよび/または少なくとも1つの支柱は、展開後に、1つの区分もしくは領域の疲労後等の生理学的条件下で、分離領域を有する、および/または少なくとも該区分もしくは領域の中で崩壊するように構成される。崩壊後の該ステント構造は、ステントが離脱する、および/またはより大きい構成までさらに拡張することを可能にする、ならびに/もしくは管腔または血管が拡大することを可能にする。
別の実施例では、ステント補綴具は、構造が複数のリングを備える、パターン化構造を有するように構成され、リングは、一実施例では、蛇行リングであり、リングは、クラウンと、支柱とを備え、少なくとも1つのリング上の少なくとも1つのクラウンおよび/または少なくとも1つの支柱は、展開後に、少なくとも1つの区分もしくは領域の疲労後等の生理学的条件下で、該区分もしくは領域において崩壊するように構成される。崩壊後の該ステント構造は、ステントが離脱する、および/またはより大きい構成まで拡張することを可能にする、ならびに/もしくは管腔または血管が拡大することを可能にする。
別の実施例では、上記の実施例のうちのいずれかの中のようなステントは、外部エネルギー源を使用して、埋込後にさらに拡張するように構成され、エネルギー源は、磁場、赤外線熱、誘導熱、超音波、および同等物を備える。
上記の実施例のうちのいずれかの中の別の実施例では、ステント構造を備えるステント材料は、形状記憶材料であり、ステントは、離脱する、および/またはニッケルチタン合金(Nitinol(登録商標)という商標の下で入手可能なNiTi)等の形状記憶材料を使用して、展開後にさらに拡張することができ、形状記憶材料は、展開後により大きい構成までステントをさらに拡張し、ステントは、分離領域を有すること等の修正を受け、ステントは、崩壊し、またはステントの少なくとも1つの区分もしくは領域中に不連続性を形成し、および/または少なくとも1つのリングの中で崩壊し、崩壊後のステント構造は、さらなるステント拡張を減速する、および/またはステントのさらなる拡張を止める、ならびに/もしくは血管壁に損傷または炎症を引き起こすことを止める。
上記の実施例のうちのいずれかの中の別の実施例では、ステント材料は、加えて、生理学的条件下で修正後または拡張後に軟化する、白金合金等の材料を備え、該材料の軟化は、血管壁上の展開後の応力を低減させ、潜在的に血管およびステントのコンプライアンスを材料の軟化の前に近づける。
好ましい実施例では、ステントの部品および/または構造、ならびに/もしくは修正後およびステントが崩壊した後の構造または構造の一部は、そのような部品もしくは構造要素を血流の中へ遊離させることを回避する形状および/または構造を有するように構成される。実施例は、2Dおよび/または3D構造、ステント窓、ステント窓の一部を備える構造、少なくとも1つのクラウン形状を備える構造、少なくとも1つのクラウンおよび少なくとも1つのリンク形状を備える構造、少なくとも1つのクラウン、少なくとも2つの支柱、および少なくとも1つのリンク形状を備える構造、少なくとも1つのクラウンおよび少なくとも2つの支柱形状を備える構造を含む。
別の実施例では、ステント補綴具は、先の実施例における展開条件のうちの1つまたはそれを上回るものの下で、圧着構成からより大きい拡張構成まで展開されることが可能である。
別の実施例では、ステントは、1~2atm/秒の速度で展開されることができ、ステントは、破砕を伴わずに標識(公称/意図された展開)直径を超えて展開されることが可能である。
マグネシウム等の腐食性材料の好ましい実施例では、ステントは、材料が分解(腐食)しない、区分または領域を有するように構成され、該区分または領域は、分解せず、管腔または血管を閉じ込めないステント区分もしくは領域を提供し、血管を閉じ込めるヒドロキシアパタイト副産物に起因して、ステントを閉じ込めさせるであろう、該区分内のマグネシウムステントからの副産物を有していないことの結果として、拡大することが可能な管腔または血管を提供する。
一実施例では、分離領域または区分を備えるステントは、1日~3年、展開後の1ヶ月~3年の周期で、好ましくは、3ヶ月~1年に及ぶ周期から、崩壊および/または分解ならびに/もしくは腐食する、および/またはステント区分は、中断ならびに/もしくは係止解除する。
別の実施例では、少なくとも1つのリングに関して、崩壊および/または係止解除ならびに/もしくは分解および/または腐食する、少なくとも1つのリングあたり、もしくは少なくともいくつかのリングの中の区分または領域の数は、1~4に及び、好ましくは、1~3に及び、より好ましくは、1~2に及び、ステントは、崩壊後に構造を有し、および/またはステントは、崩壊後に構造を有しておらず、ならびに/もしくは組織がない場合のステントは、支持されていない構造を有し、または圧潰し、および/または組織がない場合のステントは、反跳し、ならびに/もしくは組織がない場合のステントは、反跳または収縮する。
別の実施例では、少なくとも1つのリングに関して、崩壊および/または係止解除ならびに/もしくは分解および/または腐食する、少なくとも1つのリングあたりの区分の数は、1~4に及び、好ましくは、1~3に及び、より好ましくは、1~2に及び、ステントは、崩壊後に構造を有し、該構造は、身体管腔を支持するために十分な強度を有し、または強度を有しておらず、および/またはステントは、崩壊後に構造を有しておらず、ならびに/もしくは組織がない場合のステントは、支持されていない構造を有し、または圧潰し、および/または組織がない場合のステントは、反跳し、ならびに/もしくは組織がない場合のステントは、収縮する。
別の実施例では、少なくとも1つのリングに関して、崩壊および/または係止解除ならびに/もしくは分解および/または腐食する、少なくとも1つのリングあたりの区分の数は、1~4に及び、好ましくは、1~3に及び、より好ましくは、1~2に及び、ステントは、崩壊後に構造を有し、該構造は、身体管腔を支持するために十分な強度を有し、または強度を有しておらず、および/またはステントは、崩壊後に構造を有しておらず、ならびに/もしくは組織がない場合のステントは、支持されていない構造を有し、圧潰し、および/または組織がない場合のステントは、反跳し、ならびに/もしくは組織がない場合のステントは、収縮する。
先の実施例のうちのいずれか1つでは、管腔または血管は、離脱され、および/またはステント補綴具が補強要素を備える、ならびに/もしくはステント強度のための非分解性材料を備えるときに、および/または残りのステント補綴具非分解性材料の重量が、非分解性ならびに分解性材料を備えるステント補綴具の重量よりも軽いときに、さらに拡大もしくは拡張することを可能にされる。好ましい実施例では、(該当する場合)分解性材料の分解(または除去)後のステント補綴具重量は、0.1mg/mm~1.5mg/mmに及ぶ、好ましくは、0.1mg/mm~1.2mg/mmに及ぶ、より好ましくは、0.2mg/mm~0.9mg/mmに及ぶ、最も好ましくは、0.2mg/mm~0.6mg/mmに及ぶ。これらの重量は、非分解性放射線不透過性マーカの重量を除外する。
別の実施例では、不連続性の形成後、または不連続性を形成する(該当する場合)分解性材料の分解後のステント補綴具(3点屈曲試験)の共形化可能性は、埋込後に血管壁への潜在的刺激および炎症を回避するために、可能な限り共形化可能であることが望ましい。例えば、不連続性の形成後または除去(もしくは分解性材料の分解)後のステント補綴具の共形化可能性は、好ましくは、0N/mm~0.05N/mmに及ぶ、好ましくは、0N/mm~0.03N/mmに及ぶ、より好ましくは、0N/mm~0.1N/mmに及ぶ。別の実施例では、展開構成時の不連続性の形成後のステントの共形化可能性は、(形成前と比較して、またはステントの展開に応じたときと比較して)少なくとも10%だけ改良される、または少なくとも25%だけ改良される、もしくは少なくとも50%だけ改良される、または少なくとも75%だけ改良される。別の実施例では、不連続性の形成後の共形化可能性は、(形成前と比較して、またはステントの展開に応じたときと比較して)10%~100%、好ましくは、20%~75%の範囲だけ改良される。別の実施例では、不連続性の形成後または展開後のステントの半径方向歪みは、(限定されないが、実施例5に説明されるように)シミュレーションされた台上試験では2%~5%に及ぶ。別の実施例では、不連続性の形成後および/または展開後のステントの半径方向歪み(もしくはコンプライアンス)は、(限定されないが、実施例5に説明されるように)2倍~10倍に及ぶ、好ましくは、2倍~5倍に及ぶ倍数だけ、不連続性を有していないステントよりも大きい。
別の実施例では、ステントまたは他の管腔内補綴具は、圧着構成から展開されることに先立って、離脱構成であり、ステントまたは他の管腔内補綴具は、身体管腔を支持する展開構成時の強度を有する。別の実施例では、ステントまたは他の管腔内補綴具は、埋込もしくは展開に先立って円周方向に離脱構成である。
別の実施例では、ステントまたは他の管腔内補綴具は、生理学的環境内で、展開後もしくは埋込後に離脱するように構成され、好ましくは、円周方向へ、少なくともいくつか、好ましくは、全てのリングの経路に沿って、少なくとも1つまたはそれを上回る間隙(不連続性)を有することによって、円周方向様式で、もしくは円周方向に離脱するように構成される。随意に、ステントはまた、ステントを1つまたはそれを上回る区画に分離する種々のパターンで形成された不連続性を通して、1つまたはそれを上回る経路(もしくは線)の中でステントの長手軸に沿って開くこともできる。一実施例では、ステントは、長手軸に沿って開かない、またはステントの長手軸の少なくとも一部で開く。
別の実施例では、ステントまたは他の管腔内補綴具の離脱は、少なくとも1つのリングの中の少なくとも1つの領域または区分内のステントの分離、少なくとも1つの不連続性、少なくとも1つの切れ目、少なくとも1つの間隙、展開後にさらに拡張するステントの能力、ステントまたは再施行要素の存在下で、もしくはステントの存在下で積極的に再形成する管腔または血管の能力、ステント切れ目、分離、または不連続性を有することなく、展開後にさらに拡張するステントもしくは他の管腔内補綴具の能力、不連続性、切れ目、または分離を有することなく、ステントもしくは他の管腔内補綴具の存在下で積極的に再形成する管腔または血管の能力のうちの1つもしくはそれを上回るものを含む。
一実施例では、本発明の管腔内補綴具は、典型的には、一般的にはジグザグステント、蛇行ステント、閉鎖セル設計、および同等物と称される、クラウンによって継合される複数の支柱を備える、リング等の円周方向構造を伴う足場を備えるであろう。本発明のさらなる側面によると、ジグザグまたは蛇行リングのうちの少なくともいくつかの中の支柱のうちの少なくともいくつかは、生理学的環境内のステントおよび/または支柱の拡張後に、円周方向リングに不連続性を形成する、ならびに/もしくは離脱するように構成される、少なくとも1つの分離領域を含むであろう。これらの実施例では、リングのクラウン、または隣接するリングを継合する接続されたリンクは、好ましくは、分離領域を含まない。これは、管腔再形成に応答して、全体として個々のリングならびにステントの制御された拡張を可能にする。
別の実施例では、それらの円周方向リングの個々の支柱の中に分離領域を有する、管腔内補綴具は、標的血管または他の身体管腔内の展開後に、足場が離脱する、および/もしくは初期拡張を超えて拡張することを可能にする、不連続性を形成するであろう。補綴具が拡張される生理学的環境は、典型的には、37℃の水槽によって模倣され得る、血管環境等の身体管腔のもの等の生理学的条件であろう。血管環境内で、リングに形成する不連続性は、血管および/または管腔がステントもしくは他の補綴具の設置後に積極的に再形成するにつれて、足場が円周方向に離脱ならびに/または開放することを可能にするであろう。不連続性は、典型的には、生理学的環境内の円周方向足場の初期拡張後の30日~6ヶ月の周期で形成されるであろうが、展開から1年後~展開から3年後にそのような不連続性を有することができる。一実施例では、不連続性は、埋込前に形成され、および/または生じ、そのような不連続性は依然として圧着を可能にし、ならびに/もしくは圧着構成から拡張構成までのステント展開を可能にし、身体管腔を支持するために十分な強度を有する。そのような場合において、ステントまたはステント構造領域は、離脱し、および/もしくは少なくともステント構造の不連続性の該領域中でさらなる拡張を可能にする。
別の実施例では、円周方向リングの支柱内の分離領域は、支柱および/または他の構造要素の中に「キーおよびロック」もしくは類似タイプの接合点を備えてもよく、その接合点は、拡張中にともに保持される、ならびに/もしくは固定化されるが、生理学的環境内の初期拡張後に開放または解放するように構成される。1つの具体的タイプのキーおよびロック接合点では、キーおよびロックは、開放し、分離領域が自由に分離した(すなわち、動員された)後のみ、支柱の継合された区画が半径方向に相互から分離することを可能にするであろう。他の具体的実施例では、キーおよびロックタイプ接合点は、支柱の継合された区画が動員された後に半径方向および軸方向の両方で相互から分離することを可能にするように構成される。キーおよびロック接合点タイプは、接合点の当接表面に適用される、ポリマー、コーティング、スリーブ材料、セメント、および/または接着剤によって、ともに保持され、ならびに/もしくは固定化されてもよく、コーティング、セメント、スリーブ、または接着剤は、経時的に生理学的環境内で分解するように選択される。
好適な接着剤、ステント材料、スリーブ材料、コーティング、およびセメントの別の実施例では、限定されないが、ポリラクチド、ポリ(L-ラクチド)、ポリ(D-ラクチド)、ポリ-DL-ラクチド、ポリグリコリド、ポリラクチド-co-グリコリド(例えば、85%L-ラクチド対15%グリコリドを伴うポリ(L-ラクチド-co-グリコリド))、ポリ(L-ラクチド-co-イプシロン-カプロラクトン)のコポリマー(例えば、約50~約95%L-ラクチド対約50~約5%カプロラクトンの重量比)、ポリ(L-ラクチド-co-トリメチレンカーボネート)、ポリトリメチレンカーボネート、ポリ(グリコリド-トリメチレンカーボネート)、ポリ(ラクチド-グリコリド-トリメチレンカーボネート)、または同等物、ポリ(3-ヒドロキシ酪酸)およびポリ(4-ヒドロキシ酪酸)等のポリヒドロキシ酪酸、ポリヒドロキシ吉草酸、ポリヒドロキシ酪酸/ポリヒドロキシ吉草酸コポリマー(PHV/PHB)、ポリヒドロキシアルカノエート、ポリオルトエステル、ポリ酸無水物、ポリイミノカーボネート、チロシン由来ポリカーボネート、チロシン由来ポリアクリレート、ヨウ化および/または臭素化チロシン由来ポリカーボネート、ヨウ化および/または臭素化チロシン由来ポリアクリレートポリエステルアミド、ポリカーボネートコポリマー、ポリ(フマル酸プロピレン-co-エチエレングリコール)コポリマー(別名フマル酸無水物)等のラクトンベースのポリマー、ポリ酸無水物エステル、ポリオルトエステル、シルクエラスチンポリマー、ポリホスファゼン、脂肪族ポリウレタン、ポリヒドロキシ酸、ポリエーテルエステル、ポリエステル、ポリデプシペプチド、ポリ(アルキレンオキサラート)、ポリアスパラギン酸、ポリグルタル酸ポリマー、ポリ-p-ジオキサノン、ポリ-ベータジオキサノン、非対称3,6-置換ポリ-1,4-ジオキサン-2,5-ジオノン、ポリアルキル-2-シアノアクリレート、ポリデプシペプチド(グリシン-DL-ラクチドコポリマー)、ポリジヒドロピラン、ポリアルキル-2-シアノアクリレート、ポリ-ベータ-マレイン酸(PMLA)、ポリアルカノエート、ポリ-ベータ-アルカン酸、エラスチン、フィブリン、コラーゲン、糖タンパク質、ゼラチン、またはペクチン等のタンパク質、ポリ-セリン、ポリカプロラクタム、シクロデキストリン、キトサンおよびヒアルロナン等の多糖類、アルギネート、ポリケタール、脂肪酸ベースのポリ酸無水物、アミノ酸ベースのポリ酸無水物、ポリ(エステル無水物)、または同等物、およびそれらの組み合わせを含む。
他の実施例では、キーおよびロック接合点タイプは、接合点を包絡し、スリーブが無傷のままである、および/または実質的に無傷ならびに/もしくは分解されていないままであるが、接合点を開放および解放するために経時的に生理学的環境内で分解する一方で、接合点が完全および/または部分的に解放ならびに/もしくは開放しないように防止する、上を覆うスリーブまたは類似外部構造によって、ともに保持される、ならびに/もしくは固定化される。
なおも他の実施例では、円周方向リングの支柱内に位置する分離領域は、支柱内の突き合わせ継手、切り欠き、または薄膜化領域、支柱内で優先的に浸食もしくは疲労する、支柱内の修正された粒界および同等物、または本明細書の他の場所で説明される他の具体的分離領域のうちのいずれかを備える。
本発明の管腔内補綴具のさらなる具体的実施例では、足場は、金属または他の非分解性材料からパターン化される円周方向リングを備え、足場は、圧着構成から拡張構成まで拡張するように構成される。これらの実施形態では、円周方向リングのうちの少なくともいくつかは、クラウンによって継合される複数の支柱を備え、支柱のうちの少なくともいくつかは、経時的に生理学的環境内で分解するであろうスリーブまたは接着剤によって固定化される、例えば、パターン化されると、もしくはパターン化された後に、支柱にわたってレーザまたは別様の切断によって形成される、支柱の構造の切れ目として事前形成される、少なくとも1つの分離領域を有する。
分離領域実施例は、本明細書で前述に説明されたもののうちのいずれかであってもよいが、好ましい分離領域実施例は、支柱が拡張中にともに保持され、および/または実質的にともに保持され、もしくは固定化され、生理学的環境内で初期拡張後に開放するように構成される、キーおよびロック接合点を備える。キーおよびロック接合点タイプは、本実施例では、継手が遊離した後のみ、支柱の継合された区画が半径方向に相互から分離することを可能にするように構成されてもよい。代替として、キーおよびロック接合点は、接合点が遊離した、すなわち、開放された、または束縛から解放された後に、支柱の継合された区画が半径方向および軸方向の両方で相互から分離することを可能にするように構成されてもよい。両方の場合に、キーおよびロック接合点は、支柱区画の芽接表面をともに保持し、またはともに接近して保持し、生理学的環境内で分解する、セメントまたは接着剤もしくはスリーブまたはコーティングによって最初に固定化されてもよい。代替として、キーおよびロック接合点によって継合される支柱区画は、生理学的環境内で分解する、上を覆うスリーブによって固定化されてもよい。そのような接合点は、圧着構成から拡張構成までの展開に応じて、1つまたはそれを上回る方向への移動を制限もしくは実質的に制限する(好ましくは、軸方向への移動を実質的に制限する)ように、固定化される、実質的に固定化される、ともに保持される、実質的におよび/またはともに保持される。そのような接合点の固定化は、ポリマー、スリーブ、または接着剤等の材料を使用して、もしくは接合点設計の構成によって、達成される。
好ましい実施例では、本発明におけるステント(足場)補綴具は、実質的に管状の本体から形成される(該管状本体は、好ましい実施例では、孔および/または不連続性を実質的に含まない)。ステントは、圧着構成から拡張して展開されたより大きい構成までの半径方向拡張が可能な構造要素を備える。構造要素は、好ましい実施例では、複数の円周方向リングを備え、該リングは、クラウンによって継合される(接続される)支柱を備える。該リングのうちの少なくともいくつかは、隣接するリングに接続される。ステントは、好ましい実施例では、バルーン送達システムまたは送達システム上に圧着されることができる(随意に、スリーブによって圧着構成で束縛される)。ステントは、好ましい実施例では、バルーン展開型および/または自己拡張式ステントである。ステント補綴具はまた、ワイヤまたは繊維(円形もしくは実質的に円形、正方形もしくは実質的に正方形、長方形もしくは実質的に長方形、および/または他の形状)から形成されることもでき、ワイヤまたは繊維は、圧着構成から展開されたより大きい構成までの半径方向拡張が可能なステントにパターン化される。ステントはまた、中空もしくは部分的に中空のワイヤ(ワイヤまたは繊維内に中空領域を有する)または繊維から形成されることもでき、中空もしくは部分的に中空のワイヤまたは繊維は、圧着構成から展開されたより大きい構成までの半径方向拡張が可能なステントにパターン化される。ステントパターンは、好ましい実施例では、蛇行リング、ジグザグリング、菱形、織込および/またはメッシュパターン、閉鎖セル設計、開放セル設計、ならびに/もしくはそれらの組み合わせであることができる。好ましくは、展開構成時のステント形状は、実質的に管状(円筒形)、テーパ状ステント、砂時計形ステント、および/または他の形状である。リング、クラウン、支柱、寸法(長さ、厚さ、湾曲の角度、幅)は、ステントが展開(拡張)し、上記の種々の形状を有することを可能にするように構成される。
当業者は、哺乳類の体内の円形もしくは他の形状を備える弁、および/または他のタイプの管腔、導管、輪、空洞、洞等の管腔内補綴具、外側管腔補綴具、輪補綴具等のステント補綴具が埋め込まれる、種々の哺乳類身体用途を横断する補綴具への本願の全体を通した実施形態および/または実施例の適用可能性を理解するであろう。
一実施例では、ステント補綴具は、大動脈および/または僧帽弁ならびに/もしくは三尖弁等の弁を備え、ステント補綴具は、拡張可能ステント補綴具(バルーン拡張型または自己拡張式)を備え、例えば、クラウン(および/または、例えば、複数のリングを含む)によって継合される支柱、または他のタイプのステント等のステント円周方向構造要素は、管、ワイヤ、シート、または1つもしくはそれを上回るワイヤから形成される編組ステントから形成され、ステントは、開放セル設計パターン、閉鎖セル設計パターン、または開放セルおよび閉鎖セルパターンの組み合わせ、もしくはその他に構成され、ステント補綴具は、NiTi等の形状記憶合金、および/またはステンレス鋼316LもしくはL605等の非分解性金属または金属合金、もしくは本願に説明される他の材料、またはその他を備え、ステントの少なくとも1つのリングまたは少なくとも1つの区画(近位区画、中間区画、および/または遠位区画、ならびに/もしくは区画内の領域)の中の少なくともいくつかの支柱(但し、クラウン、円周方向リンク/コネクタ、組み合わせでもあり得る)は、身体弁輪内、その中、または周囲、もしくは上方、またはそれに隣接するステント補綴具の展開後に、離脱するように構成される、および/または1つもしくはそれを上回る方向または移動パターンで変位(もしくは移動)を有するように構成される、ならびに/もしくは半径方向歪みを有するように構成される、および/または半径方向収縮ならびに拡張を有するように構成される、もしくは内部収縮および/または拡張を有するように構成される、ならびに/もしくは上部収縮および/または拡張を有するように構成される、本願の全体を通して説明されるような接合点、架橋要素、継手、不連続性、ならびに/もしくは分離領域のうちの少なくとも1つまたはそれを上回るものを有し、変位の規模(または半径方向歪みの規模、もしくは収縮の規模、またはさらなる拡張の規模、もしくは移動の規模)は、0.05mm~10mmに及び、好ましくは、0.1~7mmに及び、好ましくは、0.2mm~5mmに及び、より好ましくは、0.3mm~3mmに及び、変位または半径方向歪み移動は、以下のうちの少なくとも1つもしくはそれを上回るもの、すなわち、半径方向、円周方向、縦方向、上部方向、下部方向、弁尖閉鎖方向、輪(もしくは管腔)収縮および/または拡張方向、もしくはそれらの組み合わせにあり、ステント補綴具は、ステント補綴具が埋め込まれる生体構造に共形化するように、実質的に円筒形、縦長、輪形状、サドル形状、円形、または他の形状であり、分離領域、接合点、架橋要素、間隙、継手は、不連続性を形成し、および/または少なくとも1つもしくはそれを上回る構造要素が、(形成されると、埋込前に、ならびに/もしくは埋込後に)円周方向、半径方向、および/または縦方向、もしくはそれらの組み合わせ等の1つまたはそれを上回る方向への移動(変位)を有することを可能にし、ステント補綴具は、開放した状態で埋込部位(弁輪、空洞を含む)を支持する(保持または維持することを含む)ために十分な強度を有し、および/または定位置で埋め込まれたステント補綴具と関連付けられる構造(展開されると、または展開後に、ステント補綴具と関連付けられる弁ならびに/もしくはシースを含む)を保持する(維持することを含む)ために十分な強度を有し、ステント補綴具は、展開(圧着構成から拡張されたより大きい構成までの拡張)に応じて、開放した状態で、および/または定位置で、弁輪ならびに/もしくは関連付けられるステント弁を支持するために十分な強度を有し、該不連続性および/または移動は、ステント補綴具もしくはステント補綴具構造要素の少なくとも1つまたは少なくともいくつかの区画の少なくとも1つまたは少なくともいくつかの領域の離脱、変位、収縮、ならびに/もしくはさらなる拡張を可能にし、および/または該不連続性ならびに/もしくは移動(変位)は、ステント補綴具またはステント補綴具構造要素の少なくとも1つもしくは少なくともいくつかの区画の少なくとも1つもしくは少なくともいくつかの領域の拡張および/または収縮を可能にし、ならびに/もしくは該不連続性および/または移動は、ステントならびに/もしくはステントの少なくとも1つまたは少なくともいくつかの領域が、あまり剛性ではない(円周方向、半径方向、縦方向、もしくはそれらの組み合わせ等、少なくとも1つまたはそれを上回る方向でより柔軟であること(半径方向歪み)を含む)ことを可能にする。
好ましい実施例では、分離領域、接合点、架橋要素、間隙、継手は、ステント(またはステントの少なくともいくつかの領域もしくは区画)が展開後に十分な強度を有することを可能にし、ステント補綴具の少なくともいくつかの領域または区画(該ステント領域の円周方向領域を含む)が、離脱すること、生理学的条件下でより柔軟であること(半径方向歪み)、生理学的条件下で拡張および/または収縮すること、ならびに/もしくはステント(弁を含む)埋込後に血液漏出を防止する(最小限にする、低減させることを含む)ことを可能にする、パターンで設置される(位置することを含む)。血液漏出の防止は、少なくともいくつかの領域の中にステントを存在させ、および/またはより柔軟にさせ(あまり剛性ではないことを含む)、生体構造が生理学的条件下で移動する、もしくは形状を変化させるにつれて、少なくとも該領域中のステントを、ステントが埋め込まれる生体構造に共形化可能にさせる(より動的に柔軟にさせる)ことによって、最小限にされることができる。血液漏出の防止は、埋込に応じて、または埋込後に起こり得る。分離領域、接合点、架橋要素、間隙、継手は、少なくとも1つのリング、またはステントの近位区画等のステント補綴具の少なくとも1つの区画の少なくともいくつかの領域、弁を保持する区画等のステントの中間区画、および/またはステントの遠位区画、ならびに/もしくはステント補綴具の3つ全ての区画の中に設置されることができる。随意に、ステント補綴具の少なくとも1つの領域または区画を囲繞するシースは、対応する不連続性、および/もしくはシース領域に隣接するステント補綴具の移動に応答する(輪郭形成する、拡張する、適合することを含む)ように構成されることができる。シースは、拡張および/または収縮において、もしくは他の方法で、隣接するステント領域に適合することが可能である、分離領域、接合点、架橋要素、間隙、継手、および/もしくはシースを有する、ステント様構造から構成および/または形成されることができる。好ましい実施形態または実施例では、少なくとも1つのリングの中または少なくともいくつかの領域(好ましくは、ステント全体)の中のステント補綴具は、埋込後に十分な強度を維持し、他の実施例では、ステント補綴具強度は、30日~3年に及んで、好ましくは、3ヶ月~2年に及んで、より好ましくは、6ヶ月~2年に及んで、埋込後に経時的に減少する。本他の実施例では、残留強度が、説明される機能のうちの1つもしくはそれを上回るものおよび/または他の機能を果たすために十分な強度であるか、または少なくともいくつかの領域(もしくはステント全て)の中のステント補綴具が、該時間周期範囲にわたっていかなる残留強度も有していないであろうかのいずれかである。
一実施例では、弁置換または修復のためのステント補綴具であって、ステントは、実質的に円筒形であり、またはステントが埋め込まれる輪に共形化する他の形状を有し、ステントは、管、ワイヤからパターン化され、または編組され、ステントは、バルーン展開型または自己拡張型であり、ステントは、圧着構成から拡張されたより大きい構成まで拡張し、開放した状態で輪を保持するために(または輪を支持するために)拡張されたより大きい構成時に十分な強度を有するように構成される。ステント補綴具は、随意に、該ステント補綴具に結合される弁(二尖または三尖弁)を備える。ステント補綴具は、随意に、ステント補綴具および/または人工弁に結合されるステント補綴具の反管腔側ならびに/もしくは管腔表面領域等の少なくとも1つの表面領域上に少なくとも1つのスカートを備える。少なくとも1つのスカートはまた、一実施例では、反管腔側および/または管腔表面領域に織り込まれることもできる。少なくとも1つのスカートは、別の実施例では、反管腔側および/または管腔表面領域上で、ステント補綴具の近位区画、ステント補綴具の遠位区画、ステント補綴具の中間区画、ならびに/もしくはステント区画全体等のステント補綴具の少なくとも1つの区画に結合されることができる。少なくとも1つのスカートは、一実施例では、ステント補綴具埋込後に膨張する、または血液で充填するように構成される、パウチを有することができる。一実施例では、ステントは、分離領域、不連続性、架橋要素、接合点、継手、間隙のうちの少なくとも1つまたはそれを上回るものを有するステントの少なくとも1つの区画(もしくは領域)を有し、ステント補綴具の拡張後に、離脱および/または以下のうちの1つもしくはそれを上回るものにおけるより高い変位、すなわち、より高い歪み、より高い変位、より高い収縮性ならびに/もしくは拡張性、より良好な弁閉鎖、より少ない弁漏出、心臓が拡張されるときの弁閉鎖のより良好な適応を可能にするように構成され、少なくとも1つの区画および/またはステントの中の該変位は、ステントのステント半径方向、ステント円周方向、ステント縦方向、ステントの上部方向に向かって、ステントの下部方向に向かって、ならびに/もしくは僧帽弁輪に適応するサドル形状方向等の他のタイプの方向または移動のうちの1つもしくはそれを上回るものにおいて起こる。少なくとも1つまたはそれを上回る分離領域、不連続性、継手、接合点、架橋要素、間隙等は、要求される移動(もしくは変位)を提供するように、所望のステント、ステント区画、またはステント領域に沿って構成される(または位置付けられる、もしくは位置する、または設置される)。そのような離脱および/または変位特徴の設置場所の実施例は、合成弁に隣接するステント区画(もしくは領域)、少なくとも1つの領域中で合成弁に少なくとも部分的に取り付けられる、ステント補綴具の中間区域内の設置、ステント補綴具の遠位区域内の設置、ステント補綴具の近位区域内の設置、ステント補綴具の少なくとも1つの区画の少なくとも1つの側面上の設置、例えば、円筒形ステントの中のステント補綴具の少なくとも1つの区画の一方の半分の側面上の設置(一方で該区画の他方の半分は、そのような離脱特徴を含まない)、またはそれらの組み合わせを含む。少なくとも1つの区画は、一実施例では、0.1mm~10mmに及ぶ、好ましくは、0.2mm~7mmに及ぶ、より好ましくは、0.35mm~7mmに及ぶ、少なくとも1つの方向への変位規模を有する。ステント補綴具は、随意に、強度、支持、または他の機械的性質を主要ステント補綴具構造要素にさらに提供する、支持特徴(ステント補綴具リング内のクラウンによって継合される付加的支柱等)を有する。支持特徴は、離脱特徴を有し得る、または離脱特徴を含まなくあり得る。ステント補綴具は、本実施例では、拡張後に、生理学的条件下で、隣接するステント区画(もしくは領域)またはステント留置区画と比較して、ステント補綴具の少なくとも1つのステント区画(もしくは領域)内で、より高い(またはより大きい、もしくは増加した)半径方向歪み(もしくはコンプライアンス)、より大きい(またはより高い、もしくは増加した)変位、より高い(もしくは増加した)コンプライアンス、より大きい収縮および/または拡張のうちの1つもしくはそれを上回るものを提供しながら、身体輪を支持するために(または開放した状態で身体輪を維持するために、もしくは定位置で身体輪の中にステントを保持するために)拡張構成時に十分な強度を有する。
一実施例では、長さ、幅、および厚さを有するインプラントは、身体管腔または身体輪に隣接して(または身体管腔内もしくは身体輪内で)取り付けられ(または定位置で保持され)、インプラントは、拡張可能補綴具と結合される(またはそれに取り付けられる)ように構成され、インプラントおよびステント補綴具のうちの少なくとも1つは、インプラントおよび/またはステントの少なくとも1つの区画もしくは領域上に、分離領域、接合点、継手、ヒンジ、架橋要素、間隙のうちの1つまたはそれを上回るものを有するように構成され、インプラントおよび/またはステントの少なくとも1つの区画もしくは領域が、生理学的条件下で、該インプラントまたはステント補綴具の隣接する区画(もしくは領域)よりも大きい、1つまたはそれを上回る方向への変位を有することを可能にする。
一実施例では、長さ、幅、および厚さを有するインプラントは、身体管腔または身体輪に隣接して(または身体管腔内もしくは身体輪内で)取り付けられ(または定位置で保持され)、インプラントは、人工(または天然)弁と結合される(または取り付けられる)ように構成され、インプラントの少なくとも1つの区画または領域は、分離領域、接合点、継手、ヒンジ、架橋要素、間隙のうちの1つもしくはそれを上回るものを有するように構成され、インプラントの少なくとも1つの区画または領域が、該インプラントの隣接する区画(もしくは領域)よりも大きい、1つまたはそれを上回る方向への変位を有することを可能にし、該変位は、弁が生理学的条件下で動作すること(または機能すること、もしくは開閉すること)を可能にするように構成される、または弁が、弁の機能を留保して、輪もしくは変形した輪に共形化(または輪郭形成)することを可能にする(または増進する)。
別の実施例では、ステント補綴具は、形状記憶材料から形成され、またはばね(もしくはコイル)材料から形成され、1つまたはそれを上回るワイヤから編組パターンにパターン化され、または管から閉鎖セル設計もしくは開放セル設計にパターン化され、またはワイヤから閉鎖セル設計もしくは開放セル設計にパターン化され、またはそれらの組み合わせであり、ステントは、圧着構成から拡張されたより大きい構成まで自己拡張可能であり、身体輪を支持するために十分な強度を有し、ステント補綴具は、弁に結合され、該ステントは、結合された弁の遠位にある、近位にある、またはそれに隣接する、少なくとも1つの区画の中で、分離領域、接合点、ヒンジ、不連続性のうちの1つもしくはそれを上回るものを有し、拡張および不連続性の形成後(または離脱後)の該区画は、ステントが拡張構成である間に、より低い外向き半径方向力を有するが、公称または最大拡張直径力よりも小さい、好ましくは、最大拡張直径外向き力よりも5~15%小さい、より好ましくは、公称または最大拡張直径外向き力よりも15%~75%小さい。
好ましい実施例では、拡張後に不連続性を形成する、少なくとも1つまたはそれを上回る分離領域を有する、ステント補綴具の一実施例における複合半径方向歪み/コンプライアンス(または圧力もしくはニトログリセリン等の治療薬下の血管拡張)は、生理学的条件またはシミュレーションされた生理学的条件下で、1%~10%もしくは1%~5%に及び、好ましくは、1.5%~4%に及び、および/または0.03mm~3mmに及ぶ、好ましくは、0.05mm~0.15mmに及ぶ、もしくはより好ましくは、0.07mm~0.15mmに及ぶ、または最も好ましくは、0.1mm~0.3mmに及ぶ直径変化を有する。分離領域のパターンは、例えば、ステント補綴具が埋め込まれる生体構造に適合し、そのような生体構造および/または動的移動の力に適応するように構成されることができ、それによって、離脱する、または円周方向面から軸方向平面に及ぶ、および/またはその間である、ならびに/もしくは半径方向への移動(および/または拡張等)を可能にする、1つまたはそれを上回る平面を備える。当業者は、開放セル設計、閉鎖セル設計、コイル設計、または織成ステントパターン等を含む、バルーン拡張型ステントおよび/もしくは自己拡張式ステントへのこれらの実施形態の適用を理解するであろう。別の実施例では、ステント補綴具は、本願に説明される他の手段を組み込むことによって、展開に応じて、または展開後に、離脱する、および/または移動を可能にする、ならびに/もしくはさらに拡張する、および/またはより高い半径方向歪み(コンプライアンス)を有する、ならびに/もしくはその他である。
多くの事例において、ステント補綴具等のインプラントが、弁もしくはその他等の機能不全構造を開放するように、開放した状態で保持するように、定位置で保持するように、支持するように、修復および/または置換するように埋め込まれる、好ましい実施形態もしくは実施例では、そのような事例におけるステントは、動脈、静脈、導管、弁輪、洞、空洞、および/または他の哺乳類身体管腔等の種々の生体構造に埋め込まれ、そのような動脈、静脈、導管、弁輪、洞、空洞、および/または他の哺乳類身体管腔は、通常、圧力、脈動圧力(収縮期および拡張期)、1つまたはそれを上回る平面/方向での移動(もしくは変位)、該管腔もしくは輪の成形および/または再成形、拡張ならびに/もしくは収縮、1つまたはそれを上回る平面/方向からの力等の種々の生理学的条件を受けており、インプラントは、機能不全構造を開放し、開放した状態で保持し、支持し、修復および/または置換するために、少なくとも埋込に応じて十分な強度を有することが所望され、同時に、および/または埋込後に経時的に、インプラント/ステントは、移動(変位)、力、拡張および/または収縮、管腔の成形もしくは再成形等の生理学的条件に少なくとも部分的に従い(適応ならびに/もしくは共形化し)、それによって、インプラントの機能およびステント支持体(またはステント内に含有される弁)の完全性を留保する能力を有することが所望される。本願の全体を通して説明されるインプラント補綴具は、動脈、静脈、導管、空洞、輪、および/または他の身体管腔が、該移動(変位)、拡張ならびに/もしくは収縮、力、および/または管腔の成形もしくは再形成のうちのいくつかを少なくとも部分的に回復させる(または少なくとも部分的に適応する、もしくはそれに従う)ことを可能にし、それによって、インプラントの不要な効果を低減させ、および/または防止し、それによって、管腔の狭小化および/または再狭小化、再狭窄、血液漏出、閉塞、血栓形成,狭心症、虚血、動脈瘤等の不要な有害事象を低減させ、ならびに/もしくは防止し、本願の全体を通して説明されるようなステントは、少なくとも1つもしくはそれを上回る領域および/または少なくとも1つの区画(ならびに/もしくはステント全体)が離脱することを可能にし、移動すること、拡張すること、さらに拡張すること、展開/拡張構成からさらに拡張すること、および/または展開構成から新しい構成に形成もしくは再成形すること、拡張および/または収縮すること、管腔(および/またはステントが埋め込まれる生体構造)の天然半径方向歪み(コンプライアンス)により近い半径方向歪み(コンプライアンス)を有すること、展開半径方向歪み/コンプライアンスの直後(またはある場合には、不連続性を形成する前)よりも高い半径方向歪み(コンプライアンス)を有すること、管腔(輪、空洞等)生理学的条件(動的移動/変位、および/または動的力、ならびに/もしくは動的拡張および/または収縮、ならびに/もしくは動的成形および/または再成形を含む)のうちの少なくともいくつかに適応すること、および/またはインプラント部位の生理学的条件に対するインプラント(ステント)の抵抗を減少させること、ならびに/もしくは脆弱なプラーク等の潜在的な有害プラークから身体管腔を保護する、血管管腔を保護する、身体管腔を支持する、および/または血管管腔を支持するために展開後(もしくは不連続性の形成後に)十分なステント構造を提供することを可能にする。不連続性の形成後のステントは、不連続性の形成後および/または展開後に半径方向強度を有し得る、またはいかなる半径方向強度も有し得ない、十分なステント構造を維持する。
好ましい実施例では、ステント補綴具は、高い半径方向強度(例えば、ステントの展開に応じて身体管腔を支持するために十分な)非分解性材料から形成され、および/またはそれを備え、材料は、好ましくは、金属または金属合金であるが、ポリマーまたは展開に応じて高い半径方向強度の他の材料であることもできる。好ましい実施例では、非分解性材料は、身体管腔内(または生理学的条件下)の埋込から少なくとも5年以内に分解しない、好ましくは、身体管腔内(または生理学的条件下)の埋込から少なくとも10年以内に分解しない、より好ましくは、埋込から少なくとも20年以内および/または埋込から少なくとも50年以内に分解しない。非分解性金属または金属合金の実施例は、限定されないが、以下、すなわち、304ステンレス鋼(304Vおよび304Lを含む)、316ステンレス鋼(316Lおよび316LVを含む)、30%~80%に及ぶFe重量%を有するステンレス鋼合金等のステンレス鋼合金、L605、MP35、25%~60%に及ぶCo重量%を有するコバルト合金を含む、コバルトクロム等のコバルト合金、25%~40%に及ぶPt重量%を有する白金合金を含む、白金合金、15%~25%に及ぶクロム重量%を有する合金を含む、合金中にクロムを有する金属合金、Mo-Reベースの合金s(Icon-Nuloy合金を含む)、タンタルおよびタンタル合金、金および金合金を含む。タングステンおよびタングステン合金ならびに/または銀および銀合金は、腐食性(分解性)金属である。
腐食性および分解性という言葉は、本願では同義的に使用される。
別の実施例では、拡張可能ステントは、分離領域および/または本願の全体を通して説明されるような他の構成を有し、ステントの少なくともいくつかの領域は、展開後に不連続性を形成し、展開に応じて、もしくは展開後に離脱し、さらに拡張し、より高い(もしくは増加した)半径方向歪みを有し、インプラント部位または管腔に対するより少ない抵抗を可能にし、ならびに/もしくは埋込後に強度減少を有し、分離領域(および/または他の構成)の少なくとも該領域は、ステントの展開後に、ならびに/もしくは不連続性を形成した後に、拡張後にステント補綴具構造要素内でそれらの位置を実質的に維持する、ステント補綴具構造から外向きに突出する(または移動する)、ステント補綴具構造から内向きに突出する(または移動する)、ステント補綴具に隣接する方法(または方向)で移動する、および/もしくは上記の組み合わせである。
別の実施例では、本願の全体を通して説明される実施例のうちのいずれかの中のステント補綴具であって、展開に応じたステント補綴具は、身体管腔を支持する(および/または身体管腔(開放した弁等)を維持しながら弁を定位置で保持する)ために十分な強度を有し、強度は、展開後に(および/または不連続性を形成した後に)実質的に維持される。別の実施例では、展開後の強度は、30日以内、好ましくは、3ヶ月以内、より好ましくは、1年以内に段階関数で減少する(または強度は、展開後に段階関数として減少する、および/もしくは強度は、不連続性を形成した後に減少する)。さらに別の実施例では、展開後の強度は、展開後(および/または不連続性を形成した後)、30日以内、好ましくは、3ヶ月以内、より好ましくは、1年以内に、段階的様式で減少する、ならびに/もしくは線形減衰様式で減少する。さらに別の実施例では、展開後(および/または不連続性を形成した後)のステント補綴具強度は、減少し、該減少した強度は、身体管腔を支持する(および/または定位置で構造を保持する、ならびに/もしくは開放した状態で管腔または輪を保持する)ために十分である。さらに別の実施例では、展開後(および/または不連続性を形成した後)のステント補綴具強度は、減少して停滞期に到達し、該停滞期強度は、身体管腔を支持する(および/または定位置で構造を保持する、ならびに/もしくは開放した状態で管腔または輪を保持する)ために十分である。さらに別の実施例では、展開後(および/または不連続性を形成した後)のステント補綴具強度は、減少するが、ゼロに到達しない。さらに別の実施例では、展開後(および/または不連続性を形成した後)のステント補綴具強度は、1ヶ月以内、3ヶ月以内、ならびに/もしくは1年以内にゼロまで減少する。好ましい実施例では、初期強度と比較して減少した強度を有するが、その強度よりも大きい、またはゼロ強度を有する、ステントは、身体管腔を支持するために十分な円周方向構造を維持する(もしくは有する)。
本願の実施例のうちのいずれかの別の実施例では、好ましくは、ステント補綴具は、非分解性金属または金属合金等の非分解性材料を備え、および/またはそれから形成され、圧着構成から拡張されたより大きい構成までの展開に応じたステント補綴具は、圧着構成から拡張構成/直径まで展開/拡張されたときに、低い内向き反跳、好ましくは、ゼロの内向き反跳から低い内向き反跳、好ましくは、ゼロの内向き反跳から6%内向き反跳、より好ましくは、ゼロの内向き反跳から10%内向き反跳を有する。別の実施例では、展開後((該当する場合)初期反跳後)のステント補綴具は、展開後の30日以内に、好ましくは、展開後の60日以内に、より好ましくは、展開後の3ヶ月以内に、拡張構成からの実質的にゼロの内向き反跳から3%内向き反跳を有する(好ましくは、実質的にゼロの内向き反跳を有する)。別の実施例では、圧着構成から拡張されたより大きい構成までの展開後((該当する場合)初期反跳後)および/または不連続性を形成した後のステント補綴具は、(自然に、または補助なしで)より大きい構成までさらに拡張する、反跳後の拡張構成よりも大きい、より大きい構成までさらに拡張する、ならびに/もしくは(初期反跳前の)展開構成よりも大きい、より大きい構成までさらに拡張する。ステント補綴具は、本実施例では、展開および/または埋込から360日以内、好ましくは、270日以内、より好ましくは、6ヶ月以内、より好ましくは、3ヶ月以内、最も好ましくは、1ヶ月以内にさらに拡張する。別の実施例では、展開後および/または不連続性を形成した後のステント補綴具は、展開後の1ヶ月以内、好ましくは、展開後の3ヶ月以内、より好ましくは、展開後の6ヶ月以内、最も好ましくは、展開後の1年以内に、((該当する場合)初期反跳後の)展開直径/構成の2%~15%の全規模だけ、好ましくは、((該当する場合)初期反跳後の)展開直径/構成の3%~10%の全規模だけ、またはより好ましくは、展開直径/構成の4%~15%の全規模だけ、拡張ならびに/もしくは収縮するであろう。
別の実施例では、ステント補綴具は、本願の全体を通して説明されるような分離領域(および/または本願の全体を通して説明される他の構成)を有し、好ましくは、ステント補綴具は、非分解性金属もしくは金属合金等の非分解性材料を備える、および/またはそれから形成され、展開後のステントは、少なくともいくつかの円周方向構造要素分離領域に少なくともいくつかの不連続性を形成し、展開後(および/または該不連続性を形成した後)のステント補綴具は、ステント補綴具構造ならびに/もしくは形状を実質的に維持する。別の実施例では、ステント補綴具は、ステント補綴具円周方向構造および/または形状を実質的に維持する。さらに別の実施例では、展開後(および/または該不連続性を形成した後)のステント補綴具は、ステント補綴具展開構成を実質的に維持する。さらに別の実施例では、展開後(および/または1つ/複数の該不連続性を形成した後)のステント補綴具は、任意のリングあたり(または少なくともいくつかのリングあたり)わずか1つの不連続性、好ましくは、任意のリングあたり(または少なくともいくつかのリングあたり)わずか2つの不連続性、より好ましくは、任意のリングあたり(または少なくともいくつかのリングあたり)わずか3つの不連続性、より好ましくは、任意のリングあたり(または少なくともいくつかのリングあたり)わずか4つの不連続性を有する。分離領域を有するステント補綴具は、一実施例では、実質的に直線状または螺旋もしくは他の形状で、ステント補綴具の長さに沿って、ステント長に沿って、本実施例では、直線状、螺旋、または他の構成で、(隣接するリングを接続する(継合する)1つ、いくつか、または全ての軸方向リンクを無傷で維持しながら)縦方向ステント長に沿ってステントを薄切りする、不連続性を形成する。別の実施例では、ステント補綴具は、2つの構造または区画(ステント長に沿った(または延在する)2つの円周方向半円構造等)の中へ(隣接するリングを接続する(継合する)1つ、いくつか、またはそれを上回る軸方向リンクを無傷で維持しながら)ステント補綴具の長さに沿って(または延在して)実質的に円筒形のステント構造を薄切りする、不連続性を形成する。別の実施例では、ステント補綴具は、3つの構造(ステント長に沿って延在する3つの部分的円周方向構造等)の中へ(隣接するリングを継合する1つ、いくつか、または全ての軸方向リンクを無傷で維持しながら)ステント補綴具の長さに沿って実質的に円筒形のステント構造を薄切りする、不連続性を形成する。別の好ましい実施例では、分離領域および/または不連続性は、支柱あたり(またはいくつかの支柱あたり)わずか1つの分離領域および/または不連続性がある、クラウン上に分離領域および/または不連続性がない、ならびに/もしくは支柱をクラウンに継合する領域中に分離領域および/または不連続性がないように、支柱構造要素上に位置する。別の好ましい実施例では、分離領域および/または不連続性は、少なくともリングの支柱領域内に、もしくは実質的に支柱の中央に、または(クラウンから離れて、および/もしくは支柱をクラウンに継合する接合点から離れて)支柱の長さに沿って位置する、および/またはリングの実質的に非変形可能である、もしくはあまり変形可能ではない領域中に位置する、および/またはステントが圧着構成から拡張された展開構成まで拡張するにつれて、リングのより少ない応力を有する、もしくは低減した応力を有する領域中に位置する、および/またはステントが圧着構成から拡張構成まで拡張するときに、リング上の実質的に非変形可能である、もしくはあまり変形可能ではない領域中に位置する、および/または圧着構成から拡張構成までのリング上のステントの展開に応じて、分離領域が実質的にともに維持される(もしくはともに保持される)領域中に位置する。
別の実施例では、分離領域は、分離領域に隣接する構造要素の2つの反対端の間に、および/または分離領域に隣接する構造要素の2つの隣接端(例えば、分離領域を含有する、または画定する、もしくは備える、非分解性金属合金の2つの端部)の間に、間隙を有する(または画定する、もしくは備える)。間隙幅は、0~50ミクロンに及ぶ、好ましくは、0~30ミクロンに及ぶ、より好ましくは、0~15ミクロンに及ぶ、より好ましくは、0~10ミクロンに及ぶ、最も好ましくは、5ミクロン~30ミクロンに及ぶ。間隙は、分解性ポリマーコーティング等のコーティングで充填されることができる。コーティングは、分離領域を越えて延在し、圧着構成から拡張されたより大きい構成までのステントの展開に応じて、分離領域を定位置でさらに保持することができる。
好ましい実施例では、ステント補綴具は、構造要素、好ましくは、複数のリングを備える円周方向構造要素を備え、各リングは、クラウンによって継合される支柱を備え、各リングは、リンクを通して(もしくはそれによって)隣接するリング(もしくは非隣接リング)に接続される、またはリンクを用いることなく直接継合される。ステント補綴具は、身体管腔を支持するように、および/または開放した状態で管腔を保持するように、ならびに/もしくは定位置で(ステントに接続された、または取り付けられた)構造を保持するように、圧着構成から拡張構成まで拡張可能である。ステント補綴具は、(好ましくは、円周方向に)ステントもしくはステントの少なくとも一区画を囲繞する、および/またはそれに取り付けられる、シースを有することができる。ステントは、弁(合成または生体)等の構造を定位置で(および/または展開前もしくは展開後に取り付けられて)保持することができる。ステントはまた、ステントまたはステント内の領域を身体管腔、組織等に係留する手段を有することもできる。ステントはまた、ステントを係留する、または少なくとも1つの領域もしくは区画からそれを内向きに引動する、ステントのいくつかの領域に取り付けられた腱またはワイヤを有することもできる。別の実施例では、ステントは、1つの円周方向構造要素を備える。別の実施例では、ステント補綴具は、1つのリングを備え、該リングは、クラウンによって継合される支柱を備える。別の実施例では、ステントおよび/またはインプラントは、圧着構成から拡張されたより大きい構成までの拡張が可能な構造を備える。
別の実施例では、分離領域の少なくとも一部および/またはクラウンを被覆する、コーティング厚さならびに/もしくはスリーブ厚さは、3ミクロン~100ミクロンに及ぶ、好ましくは、5ミクロン~50ミクロンに及ぶ、より好ましくは、10ミクロン~50ミクロンに及ぶ。コーティング、スリーブ、材料は、分解性ポリマーまたは非分解性ポリマー等の分解性もしくは非分解性であり得る。パリレンまたはC-フレックスもしくはポリウレタン等の非分解性ポリマー実施例の場合、一実施例では、ポリマーは、ポリマー内に分離領域をともに含有し(ともに保持し)、展開後の分離領域および/または不連続性は、非分解性ポリマー内で(不連続性から)離脱ならびに/もしくは分離することを可能にされる(すなわち、非分解性ポリマーは、分離領域および/または不連続性をカプセル化し続ける)が、ステントおよび/またはステント領域が、離脱する、ならびに/もしくはさらに拡張する、および/またはより柔軟になる、もしくは不連続性の形成後に増加したコンプライアンスを有することを可能にする。
本願の中の実施例のうちのいずれかの中の好ましい実施例では、ステント補綴具は、崩壊することなく、圧着構成から拡張されたより大きい構成まで拡張することが可能である、および/または構造完全性を維持しながら、圧着構成から拡張されたより大きい構成まで拡張することが可能である、ならびに/もしくはともに保持されている分離領域を維持しながら、圧着構成から拡張されたより大きい構成まで拡張することが可能である、および/またはともに保持されている不連続性を維持しながら、圧着構成から拡張されたより大きい構成まで拡張することが可能である。圧着構成から拡張構成までの拡張は、公称ステント直径までの展開から公称ステント直径を3mm上回るまで及ぶ、好ましくは、公称ステント直径から公称ステント直径を2mm上回る直径まで及ぶ、より好ましくは、公称ステント直径から公称ステント直径を1mm上回るまで及ぶ。公称ステント直径は、公称送達システムバルーン直径、標識送達システムバルーン直径、公称送達システム標識直径、および/または標識送達システム直径を含む。
一実施例では、強度コンプライアンス、直径、構成、反跳、変位、寸法等の任意のパラメータの測定であって、そのような測定は、1つのサンプル、複数のサンプルの平均、1つのロットからの複数のサンプルの平均、複数のロットからの複数のサンプルからの平均の具体的測定、および/またはサンプルが同一もしくは類似仕様に合わせて構築される、異なるサンプルからの測定(例えば、試験強度)である。別の実施例では、測定は、複数の測定の平均であり、実施例は、管腔面積の測定を表す平均管腔面積、ステント直径測定を表す平均ステント直径等を含む。別の実施例では、標準試験方法または当業者に公知である一般的に使用されている試験方法は、寸法、サイズ、半径方向強度、反跳、拡張、収縮、直径、半径方向歪み(もしくはコンプライアンス)、抵抗等の種々の試験に利用されることができ、これはまた、例えば、台上、生体外、および/または生体内測定を測定するIVUS、OCT、MSCT、QCA、もしくは他の測定装置を利用するために適用可能でもあり得る。測定はまた、台上、生体外、体外、または生体内である。測定はまた、ステント留置区画、分離領域を有するステントリングの区画、近位ステント区画、中間ステント区画、および/または遠位ステント区画上にもあり得る。
一実施例では、ステントにパターン化された非分解性材料(ポリマー材料等)を備える、ステント補綴具は、リングを備える構造要素を備え、該リングは、拡張領域(クラウン等)と、支柱とを備え、少なくともいくつかの補強要素(非分解性金属等)は、非分解性ステントの少なくともいくつかの拡張領域に結合され、少なくともいくつかのリングは、少なくとも1つの分離領域を有し、ステント補綴具は、圧着構成から拡張されたより大きい構成まで拡張し、身体管腔を支持するために十分な強度を有し、分離領域は、埋込後に該リング上に不連続性を形成し、ステントが生理学的環境内でさらに拡張することを可能にする。
実施例では、金属ステント補綴具は、管またはワイヤ(中実、または少なくともワイヤのある領域中で中空である(好ましくは、ワイヤの非変形可能領域中で中空である))から形成され、圧着構成から拡張されたより大きい構成まで拡張可能な構造にパターン化される。ステント構造は、一実施例では、支柱およびクラウンの構造要素、支柱等の非変形可能要素(または実質的に非変形可能な要素)、ならびにクラウン等の変形可能要素から成る、複数のリング(および1つまたはそれを上回る分離領域を有する少なくともいくつかのリング)を備える。リングのうちの少なくともいくつかは、例えば、リンクによって、少なくとも1つの領域中で隣接するリングに接続される。金属ステントはまた、次いで、管に丸められ、継合されてステントを形成する、パターン化されたシートから形成されることもできる。さらに別の実施例では、ステント補綴具は、3D印刷によって形成されることができる。
別の実施例では、ポリマーステント補綴具は、噴霧、押出、浸漬、成形、または3D印刷によって、管から形成され、ステントにパターン化される。代替として、ステント補綴具は、1つまたはそれを上回る繊維もしくはフィラメントから形成され、ステントにパターン化または織成されることができる。
好ましい実施例では、ステント補綴具は、展開に応じて、または展開後に離脱するように、展開後に身体管腔内で血管拡張を呈するように、展開後により大きい構成までさらに拡張するように、および/または実質的にステント区画全体、ステント区画、ステント長、ステント円周方向直径、ならびに/もしくはステントにわたって(またはその上に、もしくはそれを横断して、またはそれに沿って)、1%~10%に及ぶ半径方向歪みを有するように、好ましくは、1%~7%に及ぶ半径方向歪みを有するように構成される。別の実施例では、ステント補綴具は、展開に応じて、またはその後に離脱するように、展開後に身体管腔内で血管拡張を呈するように、展開後により大きい構成までさらに拡張するように、および/またはステントの少なくとも1つの区画、ステントの少なくとも1つの領域、少なくともあるステント長、少なくともあるステント円周方向直径、ならびに/もしくはステントにわたって(またはその上に、もしくはそれを横断して、またはそれに沿って)、1%~10%に及ぶ半径方向歪みを有するように、好ましくは、1%~7%に及ぶ半径方向歪みを有するように構成される。
好ましい実施例では、冠状動脈用途のためのステント補綴具は、少なくともいくつかのリングの中、好ましくは、実質的に全てのリングの中に、以下のうちの1つまたはそれを上回るもの、すなわち、ステント(支柱および/またはクラウン)の分解性リング構造要素(フレーム)を補強する補強要素、ステント(支柱および/またはクラウン)の非分解性リング構造要素(フレーム)に架橋する架橋要素、ステントの非分解性リング構造要素(フレーム)内の分離領域、ステントの非分解性リング構造要素(フレーム)内の間隙、ならびに/もしくはステント(支柱および/またはクラウン)の重複もしくは非重複非分解性リング構造要素(フレーム)上の不連続性を有するように構成される。ステントは、初期拡張後に、0.025N/ステント長のmm(例えば、3.0mm×18mmステント長に関して0.45N)~0.07N/mmステント長またはより高く(最大0.3N/mmステント長)に及ぶ、10%平坦プレート圧縮初期強度を有するように構成され、ステントは、厚さ60ミクロン~厚さ130ミクロンに及ぶ寸法を有するように構成される一方で、幅寸法は、幅60ミクロン~150ミクロン幅に及ぶ。内向き反跳は、1%~10%に及ぶように構成され、拡張(展開)後に実質的に維持される。ステントは、約37℃の水中で(または身体管腔内で)展開され、拡張(展開)後に水中または空中のいずれかで試験される。ステントは、展開に応じて、または展開後に離脱する、内向き反跳後により大きい構成まで拡張する、および/またはステントが身体管腔内で展開される(もしくは拡張される)ときに、身体管腔内の血管拡張剤の導入後に血管拡張を呈する(またはステント留置身体管腔が拡大(または拡張もしくはさらなる拡張)を呈することを可能にする)ように構成される。ステントは、破砕を伴わずに圧着構成から拡張されたより大きい構成まで拡張可能である。ステントは、身体管腔を支持するために十分な強度を有する。好ましい実施例では、ステントは、ステントが約37℃の水中または身体管腔内で拡張されるときに、拡張(展開)後の初期内向き反跳後に付加的反跳を伴わずに、身体管腔を支持するために十分な強度を有する。
本発明の任意の側面、実施例、または実施形態の好ましい実施例では、ステント補綴具は、0.025N/mmステント長~0.07N/ステント長のmm、好ましくは、0.04N/mmステント長~0.3N/ステント長のmmに及ぶ、身体管腔を支持するために十分な強度を有する。
別の実施例では、少なくともいくつかのリング上の少なくともいくつかの支柱および/またはクラウンは、不連続性、分離領域、架橋要素、ならびに/もしくは補強要素のうちの1つまたはそれを上回るものを有するように構成される。少なくとも1つの不連続性、分離領域、架橋要素、および/または補強要素は、少なくともいくつかのリングの該各支柱ならびに/もしくは各クラウン、またはそれらの組み合わせの上に構成もしくは形成される。
別の実施例では、ステントは、構造要素を備え、該ステントは、閉鎖セルタイプ設計、菱形リング、メッシュタイプステント設計、コイルタイプ設計、および/または織成(もしくは編組)タイプステント設計にパターン化される。ステント円周方向構造要素(リング等)は、身体管腔内の拡張後に円周方向にステントを離脱させるため、展開後に身体管腔内で血管拡張を呈するため、展開後により大きい構成までさらに拡張するため、および/または1%~10%に及ぶ半径方向歪みを有するために十分である、不連続性、分離領域、架橋要素、ならびに/もしくは補強要素、および/またはそれらの組み合わせのうちの1つもしくはそれを上回るものを有するように構成される。拡張されたより大きい構成までの展開に応じたステントは、身体管腔を支持するために十分な強度を有する。
本発明の任意の側面、実施例、または実施形態の好ましい実施例では、ステント補綴具は、ステントが圧着構成から拡張されたより大きい構成まで展開された(拡張された)後に、初期内向き反跳を有し、初期内向き反跳は、ステントが37℃の水中で拡張された後に(またはステントが生理学的条件下で拡張された後に、もしくはステントが身体管腔内で拡張された後に)実質的に維持される。ステント初期反跳は、ステントの展開(拡張)後の1分以内に測定される、またはステント初期反跳は、ステントの展開(拡張)後の5分以内に測定される。内向き反跳は、展開後に実質的に維持され、少なくとも30分にわたって、少なくとも1時間にわたって、または少なくとも1日にわたって、展開後に維持される。全ての場合において、本実施例では、ステント内向き反跳は、展開バルーンまたは展開手段の展開および収縮後に測定される。ステント補綴具は、最も好ましい実施例では、1分~1年に及ぶ、またはそれを上回る周期にわたって、好ましくは、30分~1年に及ぶ、またはそれを上回る周期にわたって、該初期反跳後にさらに拡張し、ステントのさらなる拡張構成は、初期反跳規模未満であり、好ましくは、初期反跳規模(または直径もしくは平均直径)よりも大きく、またはより好ましくは、ステントのさらなる拡張構成は、展開(拡張)ステント構成規模(または直径もしくは平均直径)よりも大きい。好ましい実施例では、ステント補綴具は、複数のリングを備える、非分解性金属または金属合金を備える。
実施例のうちのいずれかの別の実施例では、ステント補綴具は、少なくともいくつかの隣接するリングを接続する(もしくは継合する)、少なくとも1つまたはいくつかのリンクを有し、1つまたはいくつかのリンクは、拡張(展開)に応じて、またはその後に、もしくは全ての不連続性の形成後に、実質的に無傷のままである(または無傷のままである)。別の実施例では、全てのステント補綴具リンクは、拡張(展開)に応じて、またはその後に、無傷のままである。別の実施例では、少なくともいくつかのリング(または実質的に全てのリング)は、少なくとも1つの領域中で(または少なくとも1つの接続によって、もしくは少なくとも1つのリンクによって)隣接するリングに接続され、少なくとも1つの接続は、展開に応じて、またはその後に、もしくは全ての不連続性の形成後に、実質的に無傷のままである。別の実施例では、少なくともいくつかのリングは、少なくとも2つの領域中で(または少なくとも2つの接続によって、もしくは少なくとも2つのリンクによって)隣接するリングに接続され、少なくとも2つの接続は、展開に応じて、またはその後に、もしくは全ての不連続性の形成後に、実質的に無傷のままである。さらに別の実施例では、少なくともいくつかのリングを継合する、少なくとも1つのリンク、好ましくは、少なくともいくつかのリンク(または接続)は、補強要素のうちの1つまたはそれを上回るものを有するように構成される。ステント補綴具はまた、本実施例では、補強要素のうちの1つまたはそれを上回るものを有する、少なくともいくつかのリング上に、少なくともいくつかの支柱および/もしくはクラウンを有するように構成される。さらに別の実施例では、少なくともいくつかのリングを継合する、実質的に全てのリンク(または接続)は、補強要素のうちの1つもしくはそれを上回るものを有するように構成される。ステント補綴具はまた、本実施例では、1つまたはそれを上回る補強要素を有する、少なくともいくつかのリング上に、少なくともいくつかの支柱および/もしくはクラウンを有するように構成される。
本願の中の実施例のうちのいずれかの実施例では、ステント補綴具(またはステント補綴具の少なくとも1つの区画)は、圧着構成から拡張されたより大きい構成までの展開(または拡張)後に高い破砕抵抗を有するように構成され、ステントは、円周方向に離脱し、ステントは、ステント留置区画を円周方向に離脱させ、より大きい構成までさらに拡張し、血管拡張剤導入に応答し、および/または拡張後に1.5%~7%の範囲内の半径方向複合歪み(もしくはコンプライアンス)を有する。ステント補綴具は、好ましい実施例では、拡張後に初期の高い破砕抵抗を実質的に維持する。ステント補綴具は、別の実施例では、展開後~1年に及ぶ時間周期にわたって、破砕抵抗の低減(減少)を呈し、破砕抵抗は、1ヶ月~1年に及ぶ時間周期にわたって、20%~80%に減少し、該残留破砕抵抗は、身体管腔を支持するために十分である。さらに別の実施例では、ステント補綴具は、展開後~1年に及ぶ時間周期から、展開後に破砕抵抗の減少を呈し、該時間周期後の該ステント補綴具は、実質的にいかなる破砕抵抗も有していない。
本願の中の実施例のうちのいずれかの好ましい実施例では、ステント補綴具は、展開(拡張)後にパターン化構造を有し、構造は、実質的に維持される(または無傷もしくは実質的に無傷である)。別の実施例では、ステント補綴具は、展開(拡張)後に初期パターン化構造を有し、初期パターン化構造は、拡張後に変化する(または異なる、もしくは修正される)。別の実施例では、ステント補綴具は、構造要素(好ましい実施例では、支柱、クラウン、およびリンク(または接続)を備える)を備える、パターン化構造を有し、展開(拡張)後のステントは、実質的にステントの長さに沿って、少なくとも1つの縦方向構造要素区画を維持する(または有する)。縦方向構造要素区画は、縦方向区画に沿って(軸方向コネクタであり、無傷のままであるリンクまたは接続領域を除外して)1つまたはそれを上回る切れ目、分離領域、および/もしくは不連続性を有する(または備える)。縦方向区画円周は、一実施例では、ステントの円周の1/4~ステントの円周の1/2に及ぶ。縦方向区画パターンは、実質的にステントの長さに沿って実質的に直線状であり得る、またはステント長に沿って螺旋状、もしくはステントの長さに沿って他の縦方向パターンであり得る。少なくとも1つの縦方向構造要素区画は、実質的に無傷のままである(好ましくは、ステントの長さに沿って、1つまたはそれを上回るリンク(もしくは接続)を通して実質的に無傷のままである)。別の実施例では、ステント補綴具は、構造要素(好ましい実施例では、支柱、クラウン、およびリンク(または接続)を備える)を備える、パターン化構造を有し、展開(拡張)後のステントは、実質的にステントの円周に沿って、少なくとも1つの円周方向構造要素区画を維持する(または有する)。円周方向構造要素区画は、円周方向区画に沿って(軸方向コネクタであり、無傷のままであるリンクまたは接続領域を除外して)1つまたはそれを上回る切れ目、分離領域、および/もしくは不連続性を有する(または備える)。円周方向区画の数は、一実施例では、1~4に及ぶ。別の実施例では、ステント補綴具は、構造要素(好ましい実施例では、支柱、クラウン、およびリンク(または接続)を備える)を備える、パターン化構造を有し、展開(拡張)後のステントは、ステントの円周に沿って少なくとも1つの円周方向区画および/またはステント長に沿って少なくとも1つの縦方向区画を維持し、区画は、少なくとも1つのクラウンと、少なくとも2つの支柱とを備え、好ましくは、少なくとも1つのクラウンと、少なくとも2つの支柱と、無傷または接続されたままである少なくとも1つのリンク(もしくは接続)とを備え、より好ましくは、2つまたはそれを上回るリング、部分リング(またはリング領域)とを備える。区画は、少なくともいくつかのリング(または部分リングもしくはリング領域)上に、少なくとも1つの分離領域、切れ目、および/または不連続性を有する。
別の実施例では、ステントは、分解性(腐食性を含む)材料を備え、材料は、1年~20年、好ましくは、2年~15年、より好ましくは、3年~10年に及ぶ周期で分解し、材料は、構造要素を備えるステントにパターン化され、該構造要素は、複数のリングを備え、各リングは、支柱と、クラウンとを備える。少なくともいくつかのリング上の少なくとも支柱および/またはクラウンは、分離領域、不連続性、切れ目、間隙、ならびに/もしくは架橋要素のうちの1つまたはそれを上回るものを有し、ステント補綴具は、展開構成から拡張されたより大きい構成までの拡張後に離脱する。ステントは、一実施例では、展開に応じて離脱する。ステントは、別の実施例では、1ヶ月~1年に及ぶ周期から離脱する。分解性材料は、1年~20年で分解する、金属もしくは金属合金、ポリマー材料、または他の材料のうちの1つもしくはそれを上回るものを備える。拡張に応じたステント補綴具は、0.025N/mmステント長~0.085N/ステント長のmmに及ぶ、10%平坦プレート破砕抵抗を有するが、0.05N/mm~0.2N/ステント長のmmに及ぶこともできる。
別の実施例では、ステント補綴具は、構造要素を備え、該構造要素は、複数のリングを備え、各リングは、支柱と、クラウンとを備え、各リングは、少なくとも1つのリンク(または接続)によって隣接するリングに接続され、少なくともいくつかのリング上の少なくともいくつかの支柱および/またはクラウンは、分離領域、架橋領域、不連続性、間隙、ならびに/もしくは切れ目、またはそれらの組み合わせのうちの1つもしくはそれを上回るものを有する。別の実施例では、ステント補綴具は、構造要素を備え、該構造要素は、複数の相互接続されたリングを備え、実質的に全てのリングは、分離領域、架橋領域、補強要素、不連続性、間隙、および/または切れ目、もしくはそれらの組み合わせのうちの1つまたはそれを上回るものを有する。さらに別の実施例では、ステント補綴具は、構造要素を備え、該構造要素は、複数の相互接続されたリングを備え、全てのリングの少なくとも半分は、分離領域、架橋領域、補強要素、不連続性、間隙、および/または切れ目、もしくはそれらの組み合わせのうちの1つまたはそれを上回るものを有する。
別の実施例では、ステント補綴具は、構造要素を備え、該構造要素は、複数のリングを備え、各リングは、支柱と、クラウンとを備え、該ステント補綴具は、圧着構成から拡張されたより大きい構成まで塑性的に変形可能であり、拡張されたより大きい構成時のステントは、1%~5%に及ぶ複合半径方向歪み(またはコンプライアンス)を有する。拡張構成時のステントは、破砕抵抗性であり、身体管腔を支持するために十分な強度を有する。ステントは、好ましい実施例では、展開後および内向き反跳(該当する場合)後に、より大きい構成までさらに拡張する。ステントは、別の好ましい実施例では、1mm~2mm直径範囲に及ぶ、好ましくは、2mm~4mm直径範囲に及ぶ、より好ましくは、3mm~4.5mm直径に及ぶ、直径の範囲にわたって塑性的に変形可能である。
別の実施例では、実施例のうちのいずれかのようなステント補綴具であって、ステント補綴具は、制約(またはスリーブ)を伴わずに身体管腔に送達され、該ステントは、圧着構成から拡張されたより大きい初期構成まで拡張し、次いで、該ステントは、第2の構成(初期構成よりも小さいまたは大きい)まで拡張する前に、内向き反跳を呈する。
本発明の別の実施例または側面では、ステント補綴具は、金属および金属合金材料から成り、ステント補綴具は、圧着構成から拡張されたより大きい構成まで拡張可能であり、拡張に応じて(またはその後に)身体管腔を支持するために十分な強度を有する。ステント材料は、拡張後に、以下のうちの1つまたはそれを上回るものを呈するように事前形成もしくは処置および/または構成され、すなわち、材料の軟化、材料の脆弱化、あまり剛性ではなくなる、低減した破砕抵抗を有する、低減した強度を有する、および/または強度を有していない、強度が経時的に減少する、身体管腔を支持するために十分な初期強度を有する、強度が経時的に実質的に同一のままである、身体管腔を支持するために十分な初期強度を有する、および/または拡張に応じて初期コンプライアンスを有し、コンプライアンスが拡張後に増加する、ならびに/もしくは拡張の直後に(または拡張後の24時間以内に)初期コンプライアンスを有し、コンプライアンスは、拡張後に(または拡張後の6ヶ月以内に)、以下の条件のうちの1つまたはそれを上回るものの下で、すなわち、生理学的条件下(以下のうちの1つまたはそれを上回るものも含む)、37℃の水中、循環生理学的疲労(脈動)、および/または生理学的温度で、1ヶ月~5年に及ぶ、好ましくは、3ヶ月~3年に及ぶ、より好ましくは、拡張後に3ヶ月~2年に及ぶ周期で、50mmHg~200mmHgに及ぶ圧力差で、増加する。ステント材料処置は、熱、急冷、循環疲労、またはその他を含み、該処置は、以下のうちの1つまたはそれを上回るものにおいて、すなわち、形成前に、形成中に、形成後に、ステントパターン化前に、もしくはステントパターン化後に行われる。拡張後のステントは、以下のうちの1つまたはそれを上回るものを呈する、すなわち、より大きい構成までさらに拡張可能である、血管拡張剤導入に応答してさらに拡張する、および/または37℃の水中、もしくは生理学的条件下で、ならびに/または身体管腔内で、1.5%~5%に及ぶ複合半径方向歪み(もしくはコンプライアンス)を有する。
別の実施例では、ステント材料は、以下のうちの1つまたはそれを上回るもの、すなわち、Ti6Al4V、Ti5Al2.5Sn、またはTi-10V-Fe-3Al等の従来のチタン合金、SAF2507等のステンレス鋼、Zn5al、Zn10Al、Zn18Al、Zn30Al等の亜鉛合金、白金金属およびその合金、Sn3.9Ag0.6Cu、Sn-3.8Ag-0.7Cu、SnPb、またはSnPbAt等のスズ合金、Al1.7Fe、Al0.7Cu、A1.5MgScZr、Al6Mg0.2Sc0.15Zr、3004、8090、7075、6061、または5056等のアルミニウム合金、Zr55Al10Ni5Cu30等のジルコニウム合金、AZ31BまたはMG11li5Al1Zn0.034Sc(LAZ1151)等のマグネシウム合金、Fe29.7Mn8.7Al1C、30HGSA合金鋼、4140、C45鋼、Fe36Ni、または低炭素鋼等の鉄合金、Ni21Cr17MoまたはHaynes 230等のニッケル合金、タングステンまたはタングステン合金、もしくはその他等の金属または合金を備える、もしくはそれから成る。好ましい実施例では、拡張後の材料強度は、1ヶ月~3年に及ぶ周期にわたって、展開直後の強度(初期強度)と比較して、少なくとも25%だけ、好ましくは、少なくとも50%だけ、より好ましくは、少なくとも75%だけ減少する。材料は、好ましい実施例では、以下の理由のうちの1つまたはそれを上回るもの、すなわち、体温、時間、循環(もしくは疲労)、クリープ、再結晶、粒成長、転位、沈殿相互作用、転位相互作用、もしくはその他を含み、軟化する(減少した強度)。ステント材料は、分解性(腐食性を含む)または非分解性である。ステント材料は、管として形成され、ステントにパターン化される、ワイヤとして形成され(もしくはワイヤから形成され)、ステントにパターン化される、またはステントの中へパターン化シートとして形成される(もしくはパターン化シートから形成される)。
本発明の別の実施例または側面では、分解性ステント補綴具は、分解性ポリマー材料または分解性金属もしくは金属合金材料を備え、ステントは、1つまたはそれを上回る分離領域を有する、拡張(もしくは展開)後に離脱する、1.5%~5%に及ぶ半径方向歪み(もしくはコンプライアンス)を呈する、展開後(初期反跳後を含む)により大きい構成までさらに拡張する、および/または血管拡張剤に応答して拡張するように構成される。ステントは、以下のうちの1つまたはそれを上回るものを有するように構成される、すなわち、少なくともいくつかのリング(好ましくは、実質的に全てのリング)は、以下のうちの1つまたはそれを上回るもの、すなわち、間隙、架橋要素、分離領域、不連続性を有する。好ましい実施例では、分離領域は、分解性ステントが分解する前に(または実質的に前に)不連続性を形成するように構成される。別の実施例では、分離領域は、分解性ステントが、1ヶ月~5年に及ぶ周期までに、好ましくは、2ヶ月~3年に及ぶ周期までに、より好ましくは、3ヶ月~1年に及ぶ周期までに、分解する前に、不連続性を形成するように構成される。さらに別の実施例では、分離領域は、初期拡張後~初期拡張後の1年に及ぶ周期内に、好ましくは、初期拡張後の1ヶ月~初期拡張後の9ヶ月に及ぶ周期内に、より好ましくは、初期拡張後の1ヶ月~初期拡張後の6ヶ月に及ぶ周期内に、不連続性を形成するように構成される。
別の実施例では、分解性ステント材料は、ニッケル、コバルト、タングステン、鉄、亜鉛、マグネシウムの金属もしくは金属合金、マグネシウム合金AZ31、スズ、1010鋼、鋼鉄、5140鋼、8620鋼、鉄ニッケル合金、セルロース、またはその他を備える。一実施例では、分解性材料は、1年~20年に及ぶ周期で実質的に分解する、好ましくは、1年~10年、より好ましくは、1年~5年に及ぶ周期で、または最も好ましくは、6ヶ月~3年に及ぶ周期で分解する。一実施例では、分解性ステント材料は、PLLAポリマー材料を備える、ポリマーステント材料を備える(またはそれから成る)。さらに別の実施例では、分解性ステントは、ポリラクチドポリマー材料を備える、ポリマー材料を備える。さらに別の実施例では、タングステン、タングステン合金、レニウム、コバルト、鉄、ジルコニウム、亜鉛、チタンのタングステン合金、コバルトの合金、マグネシウム合金AZ31、スズ、1010鋼、鋼鉄、5140鋼、8620鋼、鉄ニッケル合金、または同等物等の1~10年で腐食する(分解する)腐食性金属もしくは金属合金(分解性)である。3~10年で分解する分解性ポリマーおよびコポリマーのさらに別の実施例では、実施例は、セルロース、キチン、キトサン、PLLAまたはそのコポリマー、もしくは同等物を含む。
なおもさらなる実施例では、本発明のステントおよび他の管腔内補綴具は、非分解性金属または金属合金ならびに/もしくは他の非分解性材料から形成されてもよく、血管または他の身体管腔内の埋込後にステントの離脱を可能にするように、足場円周方向構造(1つもしくはそれを上回るリング等)に形成される(通常、事前形成される)、切れ目または開口部を有するように構成されるであろう。足場は、典型的には、圧着状態から拡張構成まで拡張するように構成される、複数の円周方向リングによって画定され、円周方向リングのうちの少なくともいくつかは、足場の円周を中心として円周方向経路を辿るであろう。リングのうちの少なくともいくつか円周に少なくとも1つの切れ目または開口部があり、隣接する円周リングは、足場がその拡張構成まで拡張され、切れ目(間隙)または不連続性が1つもしくはそれを上回るリングに形成された後に、足場の実質的な部分または区画が(軸方向リンクによって)接続され、無傷のままであるように、軸方向に連結されるであろう。いくつかの実施例では、足場全体は、拡張後および切れ目(または不連続性)が形成された後に、足場のいかなる部分も足場の残りの部分から不注意に断絶し得ないように、軸方向および円周方向の両方で接続されたままであろう。他の実施例では、拡張された足場は、2つ、3つ、またはそれを上回る軸方向に無傷の区画に分離してもよい。なおも他の実施例では、足場は、拡張後に無作為な区画に分離してもよく、そのような無作為な区画は、拡張後に血管または他の身体管腔内の埋込場所から遊離しない、もしくは実質的に移動しないように、十分なサイズおよび持続性を有するであろう。それの実施例は、1つまたはそれを上回るリング内で、および/または足場の長さに沿って接続されたままである、複数のクラウンならびに/もしくは支柱である。
実施例の第1のセットでは、足場内の開口部または切れ目は、円周方向リング内の間隙を備えるであろう(もしくは備えてもよい)。例えば、間隙は、円周方向リングの支柱およびクラウンのいずれか一方または両方に形成されてもよい。いくつかの実施例では、間隙は、足場がその圧着(未拡張)構成であるときに閉鎖され、足場がその拡張構成まで拡張されるときに開放するであろう。そのような実施例は、支柱またはクラウンに切れ目を含み、切れ目によって形成される、隣接する縁は、相互と接触したままである。そのような「切れ目」は、足場の初期加工の一部、例えば、管のパターン化もしくはワイヤの屈曲として、形成されてもよい、または初期加工後であるが、前もって形成された支柱もしくはクラウンの切断または切離後に形成されてもよい。他の実施例では、円周方向リング内の間隙は、足場がその未拡張(圧着)状態であるときでさえも存在し得る、または間隙の対向端と支柱またはクラウンとの間の分離距離は、足場の拡張に応じて増加するであろう。そのような最初に開放している間隙はまた、足場の初期加工中または後に形成されてもよい。
円周方向リングに形成される間隙は、足場の縦または中心軸に沿って、回転交互配置もしくは回転整合されてもよい。円周方向リング内の間隙が回転交互配置されるとき、隣接するリングは、回転交互配置された間隙と同一または異なり得る、交互配置パターンで同様に形成される、軸方向リンクによって、継合されてもよい。同様に、間隙が回転整合されるとき、軸方向リンクもまた、回転整合または回転交互配置されてもよい。
実施例の第2のセットでは、円周方向リング内の開口部または切れ目は、切れ目または開口部を含有する支柱もしくはクラウンの対向表面または部分の間に「架橋」を形成する、生分解性区画を備えるであろう(もしくは備えてもよい)。生分解性区画は、足場が血管環境内で拡張されている間に無傷のままであり、架橋区画が血管または他の管腔環境内で分解した後のみ、リングに間隙を形成するように構成されてもよい。生分解性区画は、1ヶ月~3年の範囲内の時間周期にわたって、血管または他の管腔環境内で分解する、好ましくは、3ヶ月~1年に及ぶ周期にわたって分解するように構成されてもよい。
前述で説明される間隙実施形態と同様に、生分解性「架橋」区画は、足場構造内で回転整合または回転交互配置されてもよい。同様に、隣接する円周方向リングをともに保持する軸方向リンクはまた、回転整合または交互配置されてもよく、交互配置されたときに、交互配置された生分解性区画のものに類似するパターンで交互配置されてもよい。
間隙および架橋実施例の両方に関して、足場は、血管環境内で(または生理学的条件下で)拡張され、収縮期/拡張期圧力循環を受けたときに、1%~10%、通常、1.5%~5%に及ぶ複合コンプライアンス(半径方向歪み)を示し得る。
本発明のさらに別の側面では、それらの支柱および/またはクラウンの中に生分解性架橋区画(要素)を有する血管補綴具は、以下のように作製(または加工)されてもよい。足場は、足場の円周を画定する複数のリングを有して加工される。複数のリングは、非分解性材料、典型的には、金属から形成される(または形成されてもよい)。足場の円周を画定する複数のリングを有する、第2の足場もまた、生分解性材料からであるが加工される。典型的には、第1および第2の足場は、少なくとも架橋構造が位置する領域にわたって、同じ幾何学形状を有するであろう(または有してもよい)。第1および第2の足場が形成された後、間隙が、少なくとも、第1の非分解性足場のリングのうちの少なくともいくつかの支柱および/またはクラウンに切断されてもよい。対応する区画が、次いで、第2の足場から切断され、区画は、第1の足場に形成される間隙を充填するように選択される。第2の足場から切断される区画は、選択された支柱および/またはクラウンの中に複数の分解性架橋を伴う非分解性基礎構造を有する、完全な足場を形成するように、第1の足場に形成される間隙の中へ固着される(または固着されてもよい)。
本発明のなおもさらなる側面では、本発明の足場分離領域は、複数のクラウンによって継合される複数の支柱を含む、螺旋骨格を有するタイプの螺旋ステントで使用されることができる(または使用されてもよい)。螺旋骨格は、複数の隣接する巻目を含むように形成され、隣接する巻目のうちの少なくともいくつかは、分離領域によって相互に取り付けられる、または別様に結合される。例えば、分離領域は、具体的実施例が、隣接するクラウン対の間、1つの巻目上のクラウンと隣接する巻目上の支柱との間、および隣接する巻目の一対の支柱の間を含む、螺旋骨格の直接隣接する巻目の間に形成されてもよい。螺旋骨格は、典型的には、蛇行配列、ジグザグ配列を有する、またはステント加工で一般的に利用されるタイプの別の「曲折経路」を辿る。ステントは、屈曲ワイヤから形成されてもよい、または代替として、従来の様式で管をパターン化することによって形成されてもよい。分離領域は、分解性領域、機械的に分離可能な領域、疲労応答性領域、架橋要素、および同等物等の本明細書の他の場所で説明される分離領域のうちのいずれか1つまたはそれを上回るものを備えてもよい。
本発明のさらに付加的な実施例では、管腔補綴具は、金属、金属合金、または非分解性ポリマー等の非分解性材料から形成される複数の円周方向リングを有する、足場を備えてもよく、足場は、圧着構成から拡張構成まで拡張するように構成される。円周方向リングのうちの少なくともいくつかは、足場がその圧着構成であるときに重複し、相互に隣接して位置する、分割領域を有する、構造要素(クラウンおよび/または支柱等)から形成されるであろう。例えば、重複し、相互に隣接して位置する、隣接領域は、典型的には、足場の支柱の「分割」部分をともに形成する、直線状であり得る、または典型的には、足場のクラウンの「分割」部分をともに形成する、曲線状であり得る。そのような直線状の隣接領域は、典型的には、足場がその拡張構成まで拡張されるときに、相互から分離するであろう。対照的に、そのような曲線状の重複する隣接領域は、典型的には、足場がその拡張構成まで拡張されるときに変形し、例えば、ステントの拡張によって印加される屈曲力に応答して直線状になるであろう。
重複する隣接領域は、最初に、足場がその圧着構成であるときに、取り付けられていなくてもよい。代替として、足場の重複領域は、相互に一時的に継合されてもよい、例えば、接着剤によって、上を覆うスリーブによって、コーティングによって、および/または本明細書で前述に説明された他の恒久的もしくは一時的固定化材料、方法、ならびに/または構造のうちのいずれかによって、ともに保持される。そのような一時的固定化材料(または構造)は、分解性ポリマー材料等の分解性材料を備え、生理学的環境内で分解するように、疲労するように、または埋込後に別様に分離し、補綴具が所望の時間周期にわたって身体管腔に埋め込まれた後に足場のコンプライアンスを増進するように構成されるであろう。恒久的固定化材料は、非分解性ポリマー材料等の非分解性材料を備え、材料は、典型的には、弾性であり、補綴具が所望の時間周期にわたって身体管腔に埋め込まれた後に、ステント補綴具が増進したコンプライアンスを有することを可能にする。
なおも他の実施例では、本発明の足場分離技術(本願の種々の実施例および/または側面で説明されるような分離領域ならびに円周方向構造要素を離脱させる(もしくは管腔のステント留置区画の離脱を可能にする)他の方法)は、種々の別様な従来の閉鎖セルステントパターンに適用されてもよい。例えば、足場は、圧着構成から拡張構成まで拡張するように非分解性材料から形成される、複数の円周方向リングを有してもよい。円周方向リングのうちの少なくともいくつかは、円周方向に継合される拡張可能閉鎖セル構造として形成され、そのような円周方向リングは、管腔環境内の展開後にリングに不連続性を形成し、管腔のステント留置区画を離脱させるように構成される、1つまたはそれを上回る分離領域を有するであろう。ある場合には、不連続性を形成するように構成される、円周方向リング内の少なくとも2つまたはそれを上回る分離領域は、円周方向リングを離脱させるために必要であり、他の場合では、円周方向リング内の少なくとも3つまたはそれを上回る分離領域が、円周方向リングを離脱させるために要求される。1つ、2つ、3つ、またはそれを上回る分離領域は、拡張可能閉鎖セル構造の中、および/もしくは閉鎖セル構造の間の円周方向コネクタの中に位置してもよい。
具体的実施例では、閉鎖セルは、対向軸方向側面および対向円周方向側面を有する、四角形を備えてもよい。足場はさらに、円周方向に隣接する閉鎖セルの軸方向側面を継合する、円周方向コネクタを備えてもよく、分離領域は、円周方向コネクタの中および/または閉鎖セル構造自体の中に位置してもよい。
典型的には、軸方向に隣接する円周方向リング内の閉鎖セルのうちの少なくともいくつかは、軸方向リンクによって継合され、軸方向リンクは、典型的には、非分解性であり、展開後のステントの完全性を増進するため、および/またはステントの拡張の一様性を増進するため、ならびに/もしくは拡張に応じて、または拡張後にステントの構造完全性を維持するために、分離領域を含まない。
埋込後に足場に形成される不連続性は、典型的には、ステントが、通常、哺乳類の血管内の埋込後に、いったん収縮期/拡張期圧力循環(または血管拡張剤)を受けると、1%~10%に及ぶ、好ましくは、1.5%~5%に及ぶコンプライアンス(または半径方向歪み)を示すことを可能にするであろう。
代替的閉鎖セル構成では、足場は、分離領域が、共通交差部材の中に、および/または交差部材が相互に交差する接合点に存在する、複数の共通交差部材から形成される、密接に充塞した四角形を備えてもよい。分離領域は、多くの場合、前述の閉鎖セル足場内の生分解性領域である、本明細書に説明される分離領域のうちのいずれかを備えてもよい。
本発明のなおもさらなる側面では、ステント補綴具は、非分解性構造要素を含む、パターン化円周方向足場を備えてもよい。構造要素は、足場が圧着構成から第1の拡張構成まで半径方向に拡張されるにつれて、塑性的に変形するように構成される、拡張領域を有してもよい。構造要素(リング等)はさらに、埋込後に第1の拡張構成から内向き反跳を受けた(または呈した)後に、足場が(機械的手段および/または人間の介入による補助なしで)第2のより大きい構成まで受動的に拡張することを可能にするように構成されてもよい。足場は、埋込後に少なくとも初期時間周期にわたって身体管腔を支持するために十分な強度を留保するであろう。初期時間周期は、典型的には、少なくとも約1日、多くの場合、少なくとも3ヶ月、典型的には、30日~9ヶ月の範囲内であろう。拡張領域は、本明細書の前述で説明される分離領域のうちのいずれかであってもよい。第2のより大きい構成は、第1の拡張構成よりも大きくあり得る、または第1の拡張構成よりも小さくあり得る。一実施例では、非分解性構造要素は、複数のリングを備え、各リングは、支柱およびクラウンから成り、該非分解性構造要素は、圧着構成から拡張構成まで拡張されたときに塑性的に変形する、金属または金属合金から成る。一実施例では、少なくともいくつかのリングは、(少なくともいくつかのリングの1つまたはそれを上回る支柱および/もしくはクラウンの中で)1つまたはそれを上回る分離領域を有するように構成され、分離領域は、生理学的環境内の拡張後に不連続性を形成するように構成される。
なおもさらなる実施例では、本発明のステント補綴具は、構造要素を含む、非分解性パターン化円周方向足場を備えてもよい。構造要素(リング等)は、足場が圧着構成から第1の拡張構成まで半径方向に拡張されるにつれて、塑性的に変形するように構成される、拡張領域を有してもよく、足場はさらに、ステントが体内で拡張された後に、1.1%~15%の範囲内、好ましくは、1.2%~10%の範囲内、より好ましくは、1.5%~7%の範囲内の半径方向歪み(または複合コンプライアンス)を有するように、および身体管腔を支持するために十分な強度を留保するように構成されてもよい。これらの足場は、多くの場合、1.5%~7%の範囲内の展開後の内向き反跳を有するようにさらに構成され、上記の該範囲内の半径方向歪みまで増加する前に、1%またはそれ未満の展開後の初期半径方向歪み(もしくはコンプライアンス)を有するようにさらに構成されてもよい。付加的実施例では、前述のステント補綴具の半径方向歪みは、展開後の2ヶ月~1年以内に所望の範囲内の値に達してもよく、半径方向歪み(またはコンプライアンス)の直径規模は、0.07mm~0.5mmもしくは0.1mm~0.5mmの範囲内であってもよい。好ましい実施例では、少なくともいくつかのリングは、1つまたはそれを上回る分離領域を有するように構成され、分離領域は、生理学的条件下でのステントの拡張後に不連続性を形成するように構成される。別の好ましい実施例では、全てのリングは、1つまたはそれを上回る分離領域を有するように構成され、分離領域は、生理学的条件下でステントの拡張後に不連続性を形成するように構成される。さらに別の実施例では、少なくともいくつかのリングは、2つもしくはそれを上回る分離領域を有する、3つもしくはそれを上回る分離領域を有する、1~4つの分離領域を有する、または2~4つの分離領域を有する。
他の実施例では、本発明によるステント補綴具は、構造要素を含む、非分解性パターン化円周方向足場を備えてもよく、構造要素は、足場が圧着構成から第1の拡張構成まで半径方向に拡張されるにつれて塑性的に変形するように構成される、拡張領域を有する。これらの実施例のうちのいくつかでは、展開構成時の足場は、身体管腔を支持するために十分な強度を有し、足場はさらに、(例えば、少なくともいくつかのリング上の分離領域等の本願の全体を通して説明されるような本発明の1つまたはそれを上回る側面(もしくは実施例)を組み込むことによって)身体管腔のステント留置区画が身体管腔内の血管拡張剤の存在下で血管拡張することを可能にするように構成されてもよい。身体管腔のステント留置区画は、0.05mm~0.5mmの範囲内、頻繁には、0.1mm~0.3mmの範囲内、または0.07mm~0.5mmの範囲内で血管拡張してもよい。
本発明のステント補綴具のさらに付加的な実施例では、非分解性パターン化円周方向足場は、構造要素を含んでもよく、構造要素は、足場が圧着構成から第1の拡張構成まで半径方向に拡張されるにつれて塑性的に変形するように構成される、拡張領域を有する。展開構成時の足場は、身体管腔を支持するために十分な強度を有し、足場はまた、典型的には、(本願に説明される種々の側面(または実施例)のうちの1つもしくはそれを上回るものを組み込むことによって)生理学的条件下で身体管腔内の展開後に収縮および/または拡張するように構成されるであろう。拡張および/または収縮は、受動的に起こり得る、または代替として、身体管腔の血管拡張ならびに/もしくは血管収縮に応答して起こり得る。拡張および/または収縮はまた、生理学的条件下で起こり得る。そのような拡張および/または収縮は、多くの場合、身体管腔の展開直径もしくは平均直径に対して、0.05mm~1mmの範囲、より典型的には、0.1mm~0.5mmの範囲内の規模を有する。
いくつかの実施例では、以下のうちの1つまたはそれを上回るもの、すなわち、本発明のステント補綴具の少なくとも1つのリング、ステント補綴具の少なくともいくつかのリング、ステント補綴具の全てのリング、ステント補綴具の少なくともいくつかの円周方向要素、ステント補綴具の全ての円周方向要素、および/または補綴具ステントは、(本願内で説明される本発明の側面(または実施例)のうちの1つもしくはそれを上回るものを組み込むことによって)以下のうちの1つもしくはそれを上回るものを行うように構成される、すなわち、ステントの埋込に応じて、またはその後に、高い破砕抵抗を有する一方で、管腔もしくは血管の離脱、および/または管腔もしくは血管のステント留置区画の離脱、および/または埋込後に開放した状態で管腔もしくは血管を支持または保持するために十分な強度を有し、埋込後に(該当する場合、内向き反跳後に)さらに拡張する、ステントを有する、および/または血流の中へ遊離し、臨床事象を潜在的に引き起こす、小さい構成要素等のステントの部品を有していない、および/または初期拡張後の低い内向き反跳を伴うステントを有する、および/または埋込後に実質的に維持される初期拡張後の低い内向き反跳を伴うステントを有する、および/または埋込後の該初期内向き反跳後にわずか1%~5%だけ増加する、初期拡張後の低い内向き反跳を伴うステントを有する、および/または生理学的条件下の展開後に(該当する場合、内向き反跳後に)さらに拡張することができるように構成されるステントを有する、および/または事前プログラムされた温度トリガ設定を伴わずに、もしくは事前プログラムされた拡張直径/構成設定を伴わずに、展開後に(該当する場合、内向き反跳後に)拡張またはさらに拡張することができるステントを有する、および/またはプログラムされた温度を伴わずに(該当する場合、内向き反跳後に)拡張もしくはさらに拡張することができるステントを有する、および/または血管もしくは管腔壁を貫通することなく、または実質的に貫通することなく、生理学的条件下の展開後に(該当する場合、内向き反跳後に)さらに拡張することができるステントを有する、および/または過剰な炎症を引き起こさないステントを有する、および/または埋込後に管腔もしくは血管壁を貫通しないステントを有する、および/または展開(埋込)後に(該当する場合、内向き反跳後に)さらに拡張し、管腔もしくは血管をさらに拡張する、ステントを有する、および/または束縛を伴わずに血管または管腔の中への送達に応じて圧着構成で維持もしくは実質的に維持され、展開後により大きい構成まで(該当する場合、内向き反跳後に)さらに拡張する、ステントを有する、および/または広範囲の直径まで展開されることができ、展開後に血管もしくは管腔を依然として離脱させる、ステントを有する、および/または広範囲の直径まで展開され、埋込後により大きい構成まで(該当する場合、内向き反跳後に)依然としてさらに拡張することができる、ステントを有する、および/または埋込後に事前プログラムされた拡張直径/構成を超えて(該当する場合、内向き反跳後に)さらに拡張することができるステントを有する、および/または埋込後に血管運動、血管拡張、もしくは血管収縮を呈するステントを有する、および/または身体管腔を支持するために展開後に十分な強度を有し、初期拡張後に低い内向き反跳を有するステントであって(もしくは該ステントが内向き反跳を受ける)、ステントは、拡張(展開)の直後に1%を下回る半径方向歪み(またはコンプライアンス)、ならびに展開後に1%もしくは1%よりも大きい半径方向歪み(またはコンプライアンス)を呈する、ステントを有する、および/または身体管腔を支持するために展開後に十分な強度を有する、ステントであって、該ステントは、ステントの初期拡張後に内向き反跳を受け、ステントは、初期拡張後に初期半径方向歪み(またはコンプライアンス)を有し、半径方向歪み(またはコンプライアンス)は、展開後に増加する(もしくは展開後に経時的に増加する)、ステントを有する、および/または身体管腔を支持するために展開後に十分な強度を有する、ステントであって、該ステントは、ステントの初期拡張後に内向き反跳を受け、ステントは、拡張(展開)後に初期半径方向歪み(またはコンプライアンス)を有し、半径方向歪み(またはコンプライアンス)は、増加し、コンプライアンスの増加は、初期コンプライアンスの150%~3,000%に及ぶ、好ましくは、コンプライアンスの増加は、初期コンプライアンスの200%~3,000%に及ぶ、より好ましくは、コンプライアンスの増加は、初期コンプライアンスの300%~3,000%に及ぶ、ステントを有する、および/または身体管腔を支持するために展開(初期拡張)後に十分な強度を有する、ステントであって、該ステントは、ステントの初期拡張後に内向き反跳を受け、ステントは、拡張(展開)後に初期半径方向歪み(またはコンプライアンス)を有し、半径方向歪み(またはコンプライアンス)は、初期拡張後に増加し、好ましくは、コンプライアンスの増加は、初期コンプライアンスの150%~3,000%に及び、好ましくは、コンプライアンスの増加は、初期コンプライアンスの200%~3,000%に及び、より好ましくは、コンプライアンスの増加は、初期コンプライアンスの300%~3,000%に及び、初期強度は、展開後に減少する(または展開後に経時的に減少する、もしくは好ましくは、展開後の30日~1年で展開後に減少する)、ステントを有する、および/またはステントが初期拡張後に内向き反跳を受けない、上記の実施例のうちのいずれか、および/またはステント留置区画のうちの1つもしくはそれを上回るものが、血管または管腔の中へ生理学的条件(血管拡張剤の注入を含む)で0.07mm~0.5mmに及ぶ規模だけさらに拡張する、上記の実施例のうちのいずれかのようなステント、および/または生理学的条件下の実施例のうちのいずれか、および/または身体管腔(もしくは輪)を支持するために展開(初期拡張)後に十分な初期強度を有する、ステントであって、ステントは、拡張(展開)後に初期半径方向歪み(またはコンプライアンス)を有し、半径方向歪み(またはコンプライアンス)は、拡張後に増加し、好ましくは、コンプライアンスの増加は、初期コンプライアンスの150%~3,000%に及び、好ましくは、コンプライアンスの増加は、初期コンプライアンスの200%~3,000%に及び、より好ましくは、コンプライアンスの増加は、初期コンプライアンスの300%~3,000%に及び、ステント補綴具は、ステント補綴具の初期拡張後に初期構成を有し、ステント構成は、埋込後に(もしくは手技の完了後に)変化する、ステントを有する、および/または生理学的条件下の実施例のうちのいずれか、および/または身体管腔(もしくは輪)を支持するために展開後に(もしくは初期拡張後に)十分な初期強度を有する、ステントであって、ステント補綴具は、(該当する場合、内向き反跳後に)初期直径もしくは構成を有し、またはステントの1つもしくはそれを上回る区画は、ステント補綴具の初期拡張後に(および該当する場合、内向き反跳後に)初期構成を有し、ステント円周方向要素(リング等)のステント直径(または構成)もしくは1つまたはそれを上回る区画は、ステントのx軸、y軸、またはz軸、もしくはステントの1つまたはそれを上回る区画のうちの1つもしくはそれを上回るものの中で、埋込後に変化する(または手技の完了後に、もしくは経時的に変化する、または30日~1年に及ぶ周期にわたって変化する)、ステントを有する、および/または身体管腔(もしくは輪)を支持するために展開後に(もしくは初期拡張後に)十分な初期強度を有する、ステントであって、ステント補綴具は、該当する場合、内向き反跳後に初期直径(または構成)を有し、またはステントの1つもしくはそれを上回る区画は、ステント補綴具の初期拡張後、ならびに該当する場合、内向き反跳後に、初期構成を有し、ステント円周方向要素(リング等)のステント直径(または構成)もしく1つまたはそれを上回る区画は、ステントのx軸、y軸、またはz軸、もしくはステントの1つまたはそれを上回る区画のうちの1つもしくはそれを上回るものの中で、埋込後により小さくまたは大きくなり(または手技の完了後に、もしくは経時的に変化し、または30日~1年に及ぶ周期にわたって変化し)、管腔(または輪)構成(または直径)の変化に輪郭形成する、ステントを有する。
好ましい実施例では、ステント補綴具は、少なくともいくつかのリング上、好ましくは、実質的に全てのリング上に、1つまたはそれを上回る分離領域を有し(もしくは有してもよく)、ステントは、圧着構成から拡張されたより大きい構成まで拡張可能であり、身体管腔を支持するために拡張構成時に十分な強度を有し、少なくともいくつかのリングあたりの少なくとも1つの分離領域は、該リングの円周方向経路に不連続性を形成して、該リングを離脱させ、不連続性の形成後のステントは、分離領域の数と実質的に同数の不連続性を伴う構造パターンを維持し、リングあたりの分離領域の数は、1~4に及ぶ。
好ましい実施例では、ステント補綴具は、少なくともいくつかのリング上、好ましくは、実質的に全てのリング上に、1つまたはそれを上回る分離領域を有し(もしくは有してもよく)、ステントは、圧着構成から拡張されたより大きい構成まで拡張可能であり、身体管腔を支持するために拡張構成時に十分な強度を有し、少なくともいくつかのリングあたりの少なくとも1つまたはそれを上回る分離領域は、該リングの円周方向経路に不連続性を形成して、該リングを離脱させるために十分であり、不連続性の形成後のステントは、分離領域の数と実質的に同数の不連続性を伴う構造パターンを維持し、リングあたりの分離領域の数は、1~4に及ぶ。
一実施例では、本発明によるステントは、圧着構成から拡張されたより大きい構成までの拡張に応じて、または拡張後に離脱し、拡張構成時に身体管腔もしくは輪を支持するために十分な強度を有するように構成される。少なくともいくつかのリング、または少なくともいくつかのステント区画、もしくは少なくともいくつかのステント領域、または実質的に全てのリング、リング区画、もしくはリング領域、またはステントは、拡張後に離脱する。離脱は、以下のうちの1つまたはそれを上回るものを含む、すなわち、少なくとも1つまたはそれを上回る円周方向にリング、円周方向構造要素、および/もしくはステントを分離するために十分に、少なくともいくつかのリングのそれぞれ、または少なくともいくつかの円周方向構造要素のそれぞれ、もしくはステント円周方向要素の円周方向経路内に1つまたはそれを上回る切れ目、不連続性、分離を有する、拡張後および不連続性の形成後により大きい構成まで拡張することができる、ステントまたはステント区画を有する、1%~10%に及ぶ、好ましくは、1.5%~7%に及ぶ、より好ましくは、2%~5%に及ぶ、半径方向歪み(またはコンプライアンス)を呈する、拡張構成時のステントもしくはステント区画を有する、0.1mm~1mmに及ぶ、好ましくは、0.15mm~0.7mmに及ぶ、より好ましくは、0.2mm~0.5mmに及ぶ、収縮または拡張、拡張および収縮、拡張ならびに/もしくは収縮を呈する、拡張構成時(拡張後)のステントまたはステント区画を有する、および/または血管拡張剤ならびに/もしくは血管収縮剤および/または他の治療薬に応答する、拡張構成時のステントを有する、もしくはその他である。
いくつかの実施例では、非分解性ステント材料が、その高い強度(または高い破砕抵抗)性質もしくは他の機械的性質のために好ましい。金属または金属合金等の分解性材料は、非分解性材料もしくは非分解性合金に実質的に類似する高い破砕抵抗および性質を有するように構成されることができ、したがって、これらの実施例または実施形態にも好適であり得る。いくつかの実施例では、生分解性材料は、身体管腔を支持するためにステント拡張構成時に十分な強度を有し、3ヶ月~10年に及ぶ周期で分解する、好ましくは、1年~5年に及ぶ周期で分解するように構成されることができる。分解性材料はまた、拡張構成時に十分な強度を有し、3ヶ月~10年に及ぶ時間周期にわたって分解する、好ましくは、1年~5年に及ぶ周期で分解する、ポリマー材料でもあり得る。
一実施例では、冠状動脈ステントは、1つまたはある場合には複数のステントによる、2.0mm~4.0mm直径拡張範囲を備え、50ミクロン~150ミクロンに及ぶ支柱厚さ、好ましくは、50ミクロン~120ミクロンに及ぶ厚さを有する、ワイヤ、管、または管に丸められた(管に丸める前または後にパターン化された)シートから形成される、15mm~40mmステント長範囲等の範囲に適応する。
好ましい実施例では、本発明の1つまたはそれを上回る側面による、拡張後に離脱するように構成されるステントは、少なくとも4億サイクルにわたる疲労に耐える能力を有すること、または十分に、制御されていない破砕を伴わずに4億サイクルのステント疲労に耐える範囲内であるために、リング、拡張領域(クラウン等)、非変形可能領域(支柱等)、もしくは隣接するリングを接続する軸方向リンク等の構造要素に応力および/または歪みを及ぼすことが所望される。一実施例では、ステントの拡張領域は、離脱するように構成され、同一リングまたは隣接するリング上の1つもしくはそれを上回る分離領域が不連続性を形成するときに、応力を維持する、またはより長いもしくはより大きい面積に沿って応力を分配する、より幅広い縮径部、キー孔タイプ設計、または他の設計、形状、幾何学形状を有することができる。他の実施例は、構造要素のより大きい幅もしくは厚さ、より長い構造要素、および/または分離領域の変動する数、場所、形状、ならびに幾何学形状を含む。別の実施例は、軸方向リンク場所、形状、および数を操作することである。別の実施例では、1つまたはそれを上回る分離領域を伴う1つまたはそれを上回るリングを有し、その後に、分離領域を有していない1つまたはそれを上回る隣接するリング、もしくは該リング上の異なる数の分離領域が続き、ステント構造上および分離領域を伴うリング上の全体的応力を管理する。好ましい実施例では、本発明のステントは、ステントが軸方向に接続されたままである間に、身体管腔または輪への実質的な漸増応力を伴わずに、身体管腔または輪を支持するように拡張後に構成される。
本願の中の実施例のうちのいずれかの別の実施例では、1つまたはそれを上回る分離領域および/または継手を有する、少なくとも1つのリング、ならびに/もしくはステント補綴は、約10年の心拍をシミュレーションする約4億のサイクルに耐えることが所望される。ステントは、グッドマン線上に、1の安全係数、好ましくは、1を上回る、より好ましくは、1.2を上回る安全係数を有するように構成される。グッドマン線は、一実施例では、以下のように生成される。ステント材料のMPa単位で測定される平均応力と対比した、ステント材料の同様にMPa単位で測定される交互応力のグラフでは、生理学的条件を受けるステント内の全ての点に関する平均および交互応力(例えば、FEAまたは物理的試験を使用し、生理学的条件をシミュレーションするそのような点を生成する)は、交互応力軸上のMPa単位で測定される(ステント材料サンプルから測定される)疲労限界および平均応力軸上の極限応力を接続する線(グッドマン線である)の上または下方に位置し、1の安全係数、1を上回る、または好ましくは、1.2もしくはそれを上回る安全係数を生じることが所望される。これは、破損を伴わない生理学的条件下のステント補綴具の約10年の疲労サイクルをシミュレーションすることを可能にする。別の実施例では、ステント補綴具は、1つまたはそれを上回る円周方向構造要素(リング等)上のある場所において、10年以内もしくはそれを超える近似持続時間で、制御された破損または不連続性を有するように構成される。
一実施例では、非分解性ステント補綴具は、管またはワイヤからパターン化されるL605等の非分解性金属合金を備え、ステントは、本発明の1つまたはそれを上回る側面もしくは実施例によると、身体管腔内または生理学的条件下の拡張後に離脱するように構成され、該ステントは、身体管腔を支持するために拡張構成時に十分な強度を有し、拡張後のステント強度は、減少する。ステントはさらに、分解性コーティングと、新生内膜増殖を抑制する薬剤(コーティングに組み込まれる、またはコーティングと別個である)とを備える。一実施例では、ステント強度は、展開後の1ヶ月~1年に及ぶ周期にわたって、25%~75%の範囲だけ(展開後すぐに、または1時間以内に)展開強度から減少する。別の実施例では、ステント強度は、展開後の1ヶ月~1年に及ぶ周期にわたって、50%~50%の範囲だけ展開強度から減少する。さらに別の実施例では、ステント強度は、1ヶ月~2年に及ぶ周期で、展開後にゼロまで減少する。
一実施例では、ステント補綴具は、管またはワイヤからパターン化されるL605等の非分解性金属合金を備え、ステントは、身体管腔内(または生理学的条件下)の拡張後に離脱するように構成され、該ステントは、身体管腔を支持するために拡張構成時に十分な強度を有し、拡張後のステント強度は、実質的に維持される。ステントは、随意に、分解性コーティングおよび/または新生内膜増殖を抑制する薬剤をさらに備える。一実施例では、ステント強度は、展開後の1ヶ月~1年に及ぶ周期にわたって、25%~75%の範囲だけ(展開後すぐに、または1時間以内に)展開強度から減少する。別の実施例では、ステント強度は、身体管腔を支持するために依然として十分なレベルまで減少する。別の実施例では、ステント強度は、新生内膜増殖がない場合に身体管腔を支持し、実質的に定位置で離脱したステントを維持するために不十分なレベルまで減少する。
別の実施例では、ステント補綴具は、タングステンまたはタングステン合金等の分解性金属材料を備え、ステント補綴具は、身体管腔内の拡張後に(1つまたはそれを上回る分離領域等の本発明の1つまたはそれを上回る実施例もしくは側面を組み込むことによって)離脱するように構成され、拡張構成時のステント補綴具は、身体管腔を支持するために十分な強度を有し、金属材料は、1年~5年に及ぶ周期で分解する。ステントは、随意に、分解性コーティングおよび/または新生内膜増殖を抑制する薬剤をさらに備える。分離領域がステントの離脱を提供する不連続性を提供する、実施例では、不連続性は、通常、分解性金属または金属合金の分解の前に形成するように構成される。
別の実施例では、本願の実施例または側面のうちのいずれかのようなステント補綴具は、圧着構成から拡張されたより大きい構成まで拡張するようにパターン化される円周方向構造要素を備え、拡張構成時のステントは、身体管腔を支持するために十分な強度を有し、ステントは、生理学的条件下の拡張後に円周方向に離脱する(少なくともいくつかのリングまたは全てのリングに不連続性を形成する)ように構成される。ステントは、一実施例では、1つまたはそれを上回る軸方向リンクによって接続される複数のリングを備え、少なくとも1つまたはそれを上回るリンクは、ステントが円周方向に離脱するときとほぼ同時に分離する、またはステントが円周方向に離脱した後に分離する、もしくはステントが離脱する前に分離する、またはそれらの組み合わせであるように構成される一方で、少なくとも1つのリンクは、2つの隣接するリングの間で無傷のままである、または少なくとも1つのリンクは、全ての隣接するリングの間で無傷のままである、もしくは少なくともいくつかの隣接するリングは、1つの領域中で継合されたままである。
本願の実施例のうちのいずれかの別の実施例では、ステント補綴具は、分離領域、間隙、架橋要素、および/または不連続性等のうちの1つもしくはそれを上回るものを有するように構成され、該分離領域、間隙、架橋要素、および/または不連続性に隣接する構造要素は、円周方向に移動するように構成される(もしくは可能にされる)、および/または縦方向に移動するように構成される(もしくは可能にされる)、および/または半径方向に移動するように構成される(もしくは可能にされる)、および/または上記の組み合わせで移動を可能にする。
本願の実施例のうちのいずれかの別の実施例では、ステント補綴具は、分離領域、間隙、および/または不連続性等のうちの1つもしくはそれを上回るものを有するように構成され、該分離領域、間隙、および/または不連続性に隣接する構造要素反対端は、以下のうちの1つもしくはそれを上回るものを行うように構成され、すなわち、相互との関係で自由に移動し、制限された方向(または様式)に移動し、非制限方向(または様式)に移動し、束縛された方式(または様式)で移動し、非束縛方式(または様式)で移動し、そのような移動は、縦方向、半径方向、円周方向、またはそれらの組み合わせにある。
本願の実施例のうちのいずれかの別の実施例では、拡張構成時のステント補綴具は、構造要素を備え、構造要素のうちの少なくともいくつかは、1つまたはそれを上回る方向(円周方向、縦方向、半径方向、もしくはそれらの組み合わせ等)への少なくともいくつかの円周方向要素の移動を可能にするように構成され、該移動は、生理学的条件下で、少なくとも該構造要素を離脱させ、該少なくともいくつかの構造要素をさらに拡張し、少なくともいくつかの構造要素の血管拡張を可能にし、少なくともいくつかの構造要素が収縮および/または拡張することを可能にする。別の実施例では、ステント補綴具は、構造要素(クラウンおよび/または支柱)を備え、構造要素のうちの少なくともいくつかは、分離領域、継手、間隙、架橋要素、接合点のうちの1つまたはそれを上回るものを有するように構成され、分離領域、間隙、架橋要素、継手、接合点は、ステント補綴具の拡張後に不連続性を形成し、該不連続性は、生理学的条件下で、少なくとも該構造要素を離脱させ、該少なくともいくつかの構造要素をさらに拡張し、少なくともいくつかの構造要素の血管拡張を可能にし、少なくともいくつかの構造要素が収縮および/または拡張することを可能にする。別の実施例では、ステント補綴具は、構造要素(クラウンおよび/または支柱)を備え、構造要素のうちの少なくともいくつかは、分離領域、継手、接合点、間隙、架橋要素のうちの1つまたはそれを上回るものを有するように構成され、分離領域、間隙、架橋要素、継手、接合点のうちの1つまたはそれを上回るものは、該構造要素が、ステント補綴具の拡張後に1つまたはそれを上回る方向(半径方向、円周方向、および/もしくは半径方向等)に移動することを可能にし、該移動は、生理学的条件下で、少なくとも該構造要素を離脱させ、該少なくともいくつかの構造要素をさらに拡張し、少なくともいくつかの構造要素の血管拡張を可能にし、少なくともいくつかの構造要素が収縮および/または拡張することを可能にする。
本願の実施例のうちのいずれかの別の実施例では、ステント補綴具は、構造要素(クラウンおよび/または支柱)を備え、構造要素のうちの少なくともいくつかは、圧着構成から拡張されたより大きい構成までのステント補綴具の拡張後に離脱するように構成され、ステントの離脱は、少なくともいくつかの構造要素が1つまたはそれを上回る方向(円周方向、半径方向、もしくはそれらの組み合わせの1つまたはそれを上回る方向を含む)に移動することを可能にすることを含み、該移動は、少なくともいくつかの構造要素(もしくはステント)が、生理学的条件下で、さらに拡張すること、血管拡張を呈すること、収縮および/または拡張すること、より高い半径方向歪みを有する(より柔軟である)ことを可能にする。
一実施例では、ステント補綴具は、金属またはポリマー材料から形成される構造要素を備え、構造要素は、ステントパターンを形成し、ステントパターンは、開放セル設計、閉鎖セル設計、螺旋ステントタイプ設計、コイルステントタイプ設計、編組ステントタイプ設計、および/またはそれらの組み合わせを備え、ステントおよび/またはステント補綴具の少なくとも1つの区画は、(分離領域、間隙、補強要素、接合点、継手、不連続性等のうちの1つもしくはそれを上回るものを備える)本発明によると、拡張ステント構成時の少なくとも1つの区画(好ましくは、ステント区画全体)内で離脱させるように構成され、少なくとも1つの区画および/またはステントが、円周方向、半径方向、縦方向、ならびに/もしくはそれらの組み合わせを含む、1つまたはそれを上回る方向に移動することを可能にし、そのような移動は、少なくとも1つの区画および/またはステントが、以下のうちの1つまたはそれを上回るもの、すなわち、生理学的条件下で、増加した半径方向コンプライアンス(半径方向歪み)、拡張構成からの収縮ならびに/もしくは拡張、反跳(該当する場合)後のさらなる拡張、血管拡張剤を呈すること、もしくはそれに応答することを有することを可能にし、移動は、少なくとも1つのステント区画および/またはステントの離脱後に、実質的により高い。
一実施例では、ステント補綴具は、構造要素を備え、構造要素は、複数のリングを備え、少なくともいくつかのリングは、クラウンによって継合される支柱を備え、少なくともいくつかのリングは、1つまたはそれを上回る表面領域において隣接するリングに接続され、少なくともいくつかのリングは、1つまたはそれを上回る分離領域、不連続性、接合点、間隙、継手、架橋要素、補強要素を有し、ステント補綴具は、圧着構成から拡張されたより大きい構成まで拡張可能であり、少なくともいくつかのリングおよび/またはステントは、拡張構成までの展開後に離脱し、少なくともいくつかのリングおよび/またはステントは、拡張ステント構成時の離脱前と比較して、離脱後に、以下のうちの1つまたはそれを上回るもの、すなわち、生理学的条件下で、増加した半径方向歪み(半径方向コンプライアンス)、増加した血管拡張または血管収縮、(該当する場合、内向反跳後に展開構成から)第2の拡張構成までさらに拡張すること、展開後の増加した収縮ならびに/もしくは拡張を呈する。
別の実施例では、本願の中の実施例のいずれかのようなステント補綴具であって、ステントは、圧着構成から拡張されたより大きい構成(第1の拡張構成または初期拡張)まで拡張可能であり、身体管腔を支持するために十分である、拡張構成時の十分な強度を有し、ステントは、本発明の1つまたはそれを上回る側面によると、拡張後に離脱するように構成され、以下のうちの1つまたはそれを上回るもの、すなわち、生理学的条件下で、離脱前よりも、増加した半径方向歪み、第1の拡張構成から内向き反跳後に第2の拡張構成までさらに拡張すること、増加した半径方向収縮ならびに/もしくは拡張、増加した半径方向または円周方向変位を可能にする。
別の実施例では、本願の中の実施例のいずれかのようなステント補綴具では、ステントは、圧着構成から拡張されたより大きい構成(第1の拡張構成)まで拡張可能であり、身体管腔を支持するために十分である、拡張構成時の十分な強度を有し、ステントは、拡張後に1つまたはそれを上回る方向(円周方向、半径方向、縦方向、および/またはそれらの組み合わせ等)へのステント構造要素のうちの少なくともいくつかならびに/もしくはステントの移動を有する(または可能にする)ように構成され、以下のうちの1つまたはそれを上回るもの、すなわち、生理学的条件下で、少なくともいくつかの構造要素および/またはステントの該移動を可能にする前よりも、高い半径方向歪み、第1の拡張構成から内向き反跳後に第2の拡張構成までのさらなる拡張、高い半径方向収縮ならびに/もしくは拡張、高い半径方向または円周方向変位を可能にする(もしくはもたらす)。
別の実施例では、ステント補綴具は、構造要素を備え、該構造要素は、ステントパターンを備え、ステントは、圧着構成から拡張されたより大きい構成まで拡張可能であり、身体管腔を支持するために十分な強度を有し、ステントは、離脱し、生理学的条件下で、閉じ込められた構成時の移動よりも大きい、拡張構成時の(1つまたはそれを上回る方向への)移動を有するように構成される。本実施例の別の実施例では、拡張後のステント強度は、ステント構造要素のうちの少なくともいくつかが生物学的組織(または物質もしくは細胞)で被覆されるまで実質的に維持される。本実施例の別の実施例では、拡張後のステント強度は、ステント構造要素の少なくとも実質的に全てが生物学的物質(または組織もしくは細胞)で被覆されるまで実質的に維持される。本実施例の別の実施例では、拡張後のステント強度は、ステント構造要素のうちの少なくともいくつかが生物学的物質(または組織もしくは細胞)で被覆されるまで実質的に維持され、ステントは、本願の中の種々の側面または実施例で説明されるように、ステントに沿ったいくつかの領域中で離脱するように構成され、生物学的物質は、定位置で離脱したパターン化ステントを実質的に保持する。
別の実施例では、本願の中の実施例のいずれかのようなステント補綴具であって、ステントは、ステント補綴具の少なくとも1つの区画内で1つまたはそれを上回る方向への移動を有するように構成され、移動は、生理学的条件下で該1つまたはそれを上回る方向への変位を含む。本実施例の別の実施例では、1つまたはそれを上回る方向は、円周方向、半径方向、および/または縦方向、それらの組み合わせ、ならびに/もしくは他の方向、または他の方向パターンを含む。本実施例の別の実施例では、ステント補綴具は、該移動(または変位)を可能にする、少なくとも1つの区画の離脱を含み、1つもしくはそれを上回る方向への移動(または変位)は、生理学的条件下で、離脱前の該移動(または変位)よりも大きい。
別の実施例では、ステント補綴具は、種々の形状、形態、および構造を有することができる。例えば、構造要素は、支柱またはねじ様要素と、支柱および/またはねじタイプ要素をともに継合する、クラウンまたは結び目もしくはボルトタイプとを備えることができる。本願の実施例は、種々のタイプのステント、補綴具、および血管または非血管ステント等の他のインプラント、弁を含有するステント、ならびに/もしくは他の補綴具またはインプラントに該当し、以下のうちの1つまたはそれを上回るもの、すなわち、ステント留置区画管腔またはステント留置区画管腔の一部の離脱、初期コンプライアンスからの増加した半径方向コンプライアンス、埋込後に(または経時的に)減少する高い初期強度、埋込後にさらに拡大する1つまたはそれを上回るステント区画(もしくはステント留置区画)を提供すること、拡張に応じて、血管、管腔、または輪に実質的に輪郭形成する初期構成(形状および/または直径)を有する、1つもしくはそれを上回るステント区画(またはステント)を有すること、生理学的条件下で、血管、管腔、または輪構成の変化に応答して、埋込後に血管、管腔、または輪に輪郭形成し続ける(もしくは実質的に輪郭形成し続ける)こと、および/または埋込が1つもしくはそれを上回るステント区画(またはステント)の1つもしくはそれを上回る直径寸法において要求された後の所望の変位が、所望される。
別の実施例では、本発明の種々の実施例および側面は、拡張可能補綴具だけではなく、インプラントが身体管腔内に取り付けられる、または設置される(または身体管腔もしくは輪に隣接して設置される、または組織内に設置される)、非拡張可能インプラント等の種々のインプラントにも該当し、そのようなインプラントは、離脱を提供する、および/またはインプラントの少なくとも1つの区画もしくは領域内の埋込後に(例えば、直径の)所望の変位を提供するように構成される。
一実施例では、長さ、幅、および厚さを有するインプラントは、身体管腔または身体輪に隣接して取り付けられ(もしくは定位置で保持され)、インプラントは、拡張可能補綴具と結合される(またはそれに取り付けられる)ように構成され、インプラントおよびステント補綴具のうちの少なくとも1つは、インプラントおよび/またはステントの少なくとも1つの区画もしくは領域上に、分離領域、接合点、継手、ヒンジ、架橋要素、間隙のうちの1つまたはそれを上回るものを有するように構成され、インプラントおよび/またはステントの少なくとも1つの区画もしくは領域が、1つまたはそれを上回る方向もしくは1つまたはそれを上回る軸(x、y、もしくはz)で、該インプラントまたはステント補綴具の隣接する区画(もしくは領域)よりも大きい変位(直径の変化)を有することを可能にする。
本発明のさらに別の実施例または側面では、ステント補綴具は、ポリマーまたは金属材料からパターン化される円周方向リングを有する、足場を備える。足場は、圧着構成から拡張構成まで拡張するように構成され、円周方向リングのうちの少なくともいくつかは、円周方向リングが、血管、より具体的には、動脈血管等の生理学的管腔環境内で、円周方向に拡張および収縮することを可能にする、少なくとも1つの円周方向変位領域を有する。例えば、変位領域は、1つまたはそれを上回る円周方向リングが、動脈管腔内の患者の収縮期/拡張期調律に応答して円周方向に拡張および収縮することを可能にし得る。
変位領域は、一実施例では、血管または他の身体管腔内のステント補綴具の埋込後に、そのような円周方向拡張および収縮を可能にするであろう。変位領域は、前述で説明された分離領域、開放間隙、またはキーおよびロック構造、もしくはその他のうちのいずれかであり得るが、それらは、頻繁に、エラストマポリマー等のエラストマクッション材料等の材料(ポリマー材料を含む)によって継合または充填される、領域であろう。そのような場合において、エラストマクッション材料は、頻繁に、円周方向リング上の隣接する領域を継合または接続し、したって、隣接する区画および/または領域の相対運動が、血管もしくは身体管腔の脈動または他の生理学的条件に適応することを可能にする、弾性制約として作用するであろう。直接隣接するステント領域の間の相対運動の量または程度は、幅広く変動し得、多くの場合、0.01mm~1mm、多くの場合、0.03mm~0.5mm、頻繁に、0.05mm~0.5mmの範囲内である。ステント円周方向弾性の量または程度もまた、幅広く変動し得、多くの場合、0.05mm~0.2mm、多くの場合、0.07mm~0.15mm、頻繁に、0.07mm~0.012mmの範囲内である。
本発明の原理による、円周方向変位領域を有する足場は、一実施例では、典型的には、軸に沿ってともに結合される複数の円周方向リングを含むであろう。そのような事例では、円周方向リングのうちの少なくともいくつかは、多くの場合、クラウンによって継合される支柱を備え、支柱またはクラウンのうちの少なくともいくつかは、円周方向リングが、動脈管腔内の収縮期/拡張期調律および/または他の生理学的条件に応答して、円周方向に拡張ならびに収縮することを可能にする、円周方向変位領域を有するであろう。そのような領域は、支柱またはクラウンの隣接もしくは対向区画の間に、間隙、チャネル、切れ目、接合点、架橋要素、および同等物等の不連続性を備えてもよい。具体的実施例では、間隙は、支柱の対向区画によって画定され、典型的には、支柱区画の一方の端部において取り付けられた一対の対向束縛壁を有する、メス型結合要素と、対向支柱区画上に配置されたオス型結合要素とを備えてもよい。隣接する支柱区画上の一対の対向束縛壁の間にオス型支柱区画を位置付けることによって、オス型要素およびメス型要素は、相互に対して少なくとも円周方向に自由に移動し、所望の円周方向拡張ならびに収縮を提供するであろう。
他の実施例において前述で説明されたように、間隙は、開放したままであってもよい、または他の事例では、円周方向リングの対向壁の間のオス型要素の円周方向移動を抑制するエラストマクッション材料で充填されてもよい。間隙のサイズに応じて、オス型要素は、隣接する支柱区画に対して、軸方向に、側方に、および/または上昇して移動することができるであろう。そのような複数の自由度で移動する能力は、身体管腔脈動に応答してステントの弾性を増進する。他の実施例では、支柱の2つの対向区画の間の間隙は、一対の対向束縛壁と、底面とを含む、チャネルを有する、結合要素を備えてもよい。隣接する支柱区画上で対向するオス型結合要素は、対向束縛壁および底面によって画定されるチャネル内に位置し、オス型要素が対向壁の間で少なくとも円周方向に、かつチャネル内で軸方向に移動することを可能にするであろう。先の実施例または実施形態と同様に、チャネルは、開放したままであってもよい、または弾性材料もしくは他の材料(ポリマーを含む)で充填されてもよい。
本発明の原理による、円周方向変位領域のさらに別の実施例では、間隙は、支柱の対向区画内の間に画定され、その間に結合要素をさらに備えてもよい。例えば、ピンが、メス型結合要素の一対の対向壁の間の間隙に跨架するように、かつ枢動孔およびその間のオス型結合要素にさらに通過し、移動、および/または拡張ならびに該拡張を実質的に維持すること、および/もしくは拡張ならびに収縮を可能にするように、位置付けられてもよい。本発明のさらに別の実施例または側面では、ステント補綴具を加工するための方法は、ステント材料の2つまたはそれを上回るパネルもしくはシートをパターン化し、複数の部分リング構造を含むステップを含む。各部分リング構造は、典型的には、最初に平坦である、2つまたはそれを上回るパネル構造が、1つのパネル上の各取付部が別のパネル上の隣接する取付構造に継合されている円筒形アセンブリに形成され得るように、2つまたはそれを上回る取付端で終端するように形成されるであろう。隣接するパネル構造を適切に位置付けた後、取付端は、円周方向ステント構造を完成させるように継合されるであろう。
部分リング構造は、一実施例では、典型的には、クラウンによって継合される支柱を備え、取付端は、多くの場合、その間の間隙に噛合するように構成されるオス型およびメス型要素としてパターン化され、間隙は、円周方向足場が生理学的管腔環境内で円周方向に拡張および/または収縮することを可能にするであろう。随意に、間隙は、開放したままであってもよいが、より多くの場合、取付端の間に弾性取付を提供するように、材料、好ましくは、ポリマー材料で、より好ましくは、エラストマ材料で充填されてもよい。材料は、分解性または非分解性であり得る。
2つまたはそれを上回るパネル構造を円筒形アセンブリに形成するステップは、一実施例では、典型的には、マンドレル、通常、円筒形マンドレルにわたってパネルを屈曲するステップを含む。2つまたはそれを上回るパネルがそれらの所望の形状に形成された後、各パネル上の隣接する端部構造は、典型的には、隣接する端部構造の間に、またはそれにわたってエラストマ材料を適用することによって、継合されてもよい。
本発明のなおも別の実施例または側面では、ステント補綴具は、ポリマーまたは金属材料(非分解性および分解性を含む)からパターン化される円周方向リングを有する、足場を備える。足場は、圧着構成から拡張構成まで拡張するように構成され、円周方向リングのうちの少なくともいくつかは、軸方向リンクによって継合され、軸方向リンクのうちの少なくともいくつかは、円周方向変位領域によって隣接する円周方向リングに継合される。円周方向変位領域は、好ましい実施例では、(2つの隣接するリングを接続する)軸方向リンクを無傷で維持しながら、円周方向リングが生理学的環境内で円周方向に拡張および/または収縮することを可能にする。
ある実施例では、円周方向変位領域等の変位が少なくとも1つの方向にある少なくとも1つの変位領域は、円周方向リングが、動脈管腔内の収縮期/拡張期調律もしくは他の生理学的条件に応答して、円周方向に拡張および/または収縮することを可能にする。通常、足場は、軸方向リンクによって軸に沿ってともに結合される複数の円周方向リングを含む。そのような事例では、円周方向リングのうちの少なくともいくつかは、典型的には、クラウンによって継合される支柱を備え、隣接する円周方向リング上の支柱は、軸方向リンクに継合される円周方向変位領域で終端する。
先の実施例と同様に、円周方向変位領域等の変位が少なくとも1つの方向にある変位領域は、典型的には、支柱またはクラウンの対向区画の間に間隙を備える、円周方向リングが、動脈管腔内の収縮期/拡張期調律に応答して少なくとも円周方向に拡張および/または収縮することを可能にする、不連続性を備えてもよい。より典型的には、円周方向変位領域は、オス型区画と、メス型結合要素とを備える。オス型区画が、典型的には、支柱の末端にあろう場合には、メス型結合要素は、軸方向リンクの上にある。逆に、メス型区画は、支柱の末端にあってもよく、オス型結合要素は、軸方向リンク上に位置してもよい。
本願の実施例のうちのいずれかの一実施例では、インプラントは、ステント、圧着構成時の実質的に管状のステント、拡張(展開)構成時の実質的に管状のステント、拡張および/または圧着構成時の管状ステント、圧着および/または拡張構成時の円筒形もしくは実質的に円筒形のステント、圧着および/または拡張構成時の非円筒形ステントを備え、ステントは、圧着構成から拡張されたより大きい構成まで拡張可能であり、身体管腔(輪を含む)を支持するために十分な強度を有する。
本願の実施例のうちのいずれかの別の実施例では、インプラントは、身体管腔に係留する、身体管腔(輪を含む)に隣接する、または生体構造に係留する固定デバイスであり、固定デバイスは、別のインプラント(ステント、弁(天然または合成)等)に接続する。
本願の実施例のうちのいずれかの別の実施例では、インプラント(補綴具)は、動脈ステント、弁修復もしくは置換用のステント、弁修復もしくは置換用の固定デバイス、および/または管腔ステントである。
本願の実施例のうちのいずれかの別の実施例では、インプラントは、ステントを備え、ステントは、圧着構成から拡張されたより大きい構成まで拡張可能であり、身体管腔(または輪)を支持するために拡張構成時に十分な初期強度を有し、以下のうちの1つまたはそれを上回るもの、すなわち、初期形状、初期変位、初期半径方向歪み、初期血管運動反応性を有し、拡張後のステント補綴具は、以下のうちの1つまたはそれを上回るもの、すなわち、増加した半径方向歪み、増加した半径方向歪みおよび初期強度からの減少した強度、初期強度を下回る減少した強度、少なくとも1つの方向への増加した変位を有し、該方向への初期変位は、実質的に小さく、初期変位が該少なくとも1つの方向へ実質的にゼロである、および/または拡張後に初期形状からステントの形状を変化させる、少なくとも1つの方向への変位を有する。上記の実施例におけるステントは、以下のうちの1つまたはそれを上回るものを有するように構成される、すなわち、離脱する、拡張後の可変コンプライアンス(半径方向歪み)を有する、拡張に応じた半径方向コンプライアンスと異なる、拡張後の制御されたコンプライアンス(半径方向歪み)を有する、拡張後の管腔または血管コンプライアンス(半径方向歪み)に適応する、可変変位を有する、初期拡張構成と異なる制御された変位を有する、拡張または展開後の管腔もしくは血管変位に適応する、可変移動を有する、制御された移動を有する、拡張後の管腔または血管移動に適応する、および/または拡張後の血管反応性を可能にする。ステントは、本実施例では、分解性であるステントと、非分解性ステント、金属ステント、ポリマーステント、または組み合わせであるステントとを含む。インプラントは、限定されないが、拡張および/または圧着構成時の構造を有する、ステント、管状構造、非管状構造、ならびに他のインプラントを含む。別の実施例では、ステント補綴具は、圧着構成から拡張構成までの展開(拡張)に応じて、実質的に円筒形の形状を有し、ステント形状は、拡張後に、非円筒形、実質的に非円筒形、縦長、卵形、または他の形状のうちの1つに変化し、身体管腔(輪を含む)の変化に適応する。
本願の実施例のうちのいずれかの別の実施例では、拡張後のステント補綴具は、身体管腔(輪を含む)に実質的に適合する、もしくは適している初期形状(または形状構成)を有し、拡張後のステントの該形状(または形状構成)は、身体管腔形状(または形状構成)の変化(輪形状の変化を含む)に適応するように変化し、該適合不一致を防止する、または最小限にする、もしくはステントの初期拡張後の管腔形状または構成の該変化の前の初期適合と比較して、適合を改良している。別の実施例では、拡張後の形状(または形状構成)の変化は、ステントの拡張構成を実質的に維持しながら、管腔によって及ぼされる力に対応して形状(または形状構成)を動的に変化させている。
本願の実施例のうちのいずれかの一実施例では、インプラントは、初期形状、変位、および固定強度を有する、固定デバイスであり、身体管腔に隣接する、または身体管腔内の固定後のインプラントは、以下のうちの1つもしくはそれを上回るもの、すなわち、少なくとも1つの方向へのより大きい変位、少なくとも1つの次元で形状を変化させる、インプラントの少なくとも一部で強度を減少させる、またはその他を有する。
別の実施例では、分離領域または継手を有するように構成されるステント補綴具は、生理学的環境下で第2のより大きい構成までさらに拡張し、ステントは、生理学的条件に暴露されていない場合にさらに拡張しないであろう。別の実施例では、本願の実施例のうちのいずれかのようなステント補綴具は、生理学的条件下のみで、(該当する場合、初期内向き反跳後に)第2のより大きい構成までさらに拡張する。
別の実施例では、ステント補綴具は、展開後に、かつ不連続性の形成に先立って、血管反応性を呈する、および/または実質的にステント留置区画全体にわたって血管反応性を呈する。
本願の実施例のうちのいずれかの一実施例では、ステントは、1つまたはそれを上回る分離領域(もしくは不連続性)を備え、分離領域(もしくは不連続性)は、1つまたはそれを上回る継手を備え、継手は、拡張後に少なくとも1つの方向または次元で移動もしくは変位を可能にし、継手は、生理学的条件で崩壊しない。
本願の実施例のうちのいずれかの一実施例では、ステントは、1つまたはそれを上回る分離領域(もしくは不連続性)を備え、分離領域(もしくは不連続性)は、1つまたはそれを上回る継手を備え、継手は、拡張後に少なくとも1つの方向または次元で移動もしくは変位を可能にし、継手は、生理学的条件で拡張後に崩壊する。
本願の実施例のうちのいずれかの一実施例では、ステントは、複数のリングを備え、少なくともいくつかのリングは、実質的に同一または異なる時間周期において不連続性(もしくは変位)を形成するように構成される、1つまたはそれを上回る分離領域(もしくは継手)を有する。
本願の実施例のうちのいずれかの一実施例では、インプラント(ステントを含む)は、1つまたはそれを上回る分離領域を有し、分離領域は、継手を備え、継手は、拡張後に少なくとも1つの方向への変位を可能にする。継手の実施例は、限定されないが、枢動タイプ継手、ヒンジタイプ継手、ラチェットタイプ継手、サドルタイプ継手、ボール・ソケットタイプ継手、顆タイプ継手、および/またはプラントタイプ継手を含む。一実施例では、継手は、崩壊しない。別の実施例では、継手は、拡張後に崩壊する。別の実施例では、インプラントは、拡張後の変位規模よりも小さい、拡張に応じた初期変位を有する。
一実施例では、分離領域は、継手を備える。別の実施例では、分離領域は、継手である。
本願の実施例のうちのいずれかの一実施例では、インプラント(ステントを含む)は、拡張に応じた初期形状と、1つまたはそれを上回る分離領域とを有し、分離領域は、継手を備え、継手は、拡張後に該形状の変化を可能にする。継手の実施例は、限定されないが、枢動タイプ継手、ヒンジタイプ継手、ラチェットタイプ継手、サドルタイプ継手、ボール・ソケットタイプ継手、顆状タイプ継手、および/またはプラントタイプ継手を含む。一実施例では、継手は、崩壊しない。別の実施例では、継手は、拡張後に崩壊する。
本願の実施例のうちのいずれかの一実施例では、ステント補綴具は、複数の円周方向リングを備え、少なくとも1つのリングは、生理学的条件における拡張後に不連続性(または変位)を形成する、1つまたはそれを上回る分離領域(もしくは継手)を有する。
本願の実施例のうちのいずれかの別の実施例では、生理学的条件は、以下のうちの1つまたはそれを上回るもの、すなわち、身体管腔(輪を含む)、生理学的圧力、心拍、筋収縮、約37℃の温度、インプラントが該温度の水槽内にある、約37℃の温度、身体管腔(もしくは輪)を模倣するスリーブ、および/または生理学的条件を模倣する試験固定具を備える。
本願の実施例のうちのいずれかの一実施例では、ステント補綴具は、少なくとも1つのリングを備え、リングは、クラウンによって継合される支柱を備え、リングは、不連続性および/または変位ならびに/もしくは形状構成の変化を形成するように構成される、該リングの円周方向経路に沿った、1つまたはそれを上回る分離領域もしくは1つまたはそれを上回る継手を備える。一実施例では、1つまたはそれを上回る分離領域もしくは継手は、支柱および/またはクラウン領域上に位置し、少なくともリングが、生理学的環境内のステント補綴具の拡張後に、離脱すること、変位を有すること、さらに拡張および/または収縮すること、ならびに/もしくは形状構成を変化させることを可能にする。
本願の実施例のうちのいずれかの一実施例では、ステント補綴具は、1つまたはそれを上回る分離領域(もしくは不連続性)を備え、拡張後の該分離領域または不連続性は、以下のうちの1つもしくはそれを上回るもの、すなわち、1つまたはそれを上回る方向への変位、1つまたはそれを上回る方向への増加した変位、初期拡張形状構成からの形状構成の変化、初期拡張半径方向歪みからの半径方向歪みの変化、初期拡張半径方向歪みからの増加した半径方向歪み、減少した強度、初期拡張強度からの減少した強度、増加した半径方向歪みを有する一方で、初期半径方向歪みおよび初期強度からの減少した強度を有する。
一実施例では、ステント補綴具またはインプラントは、1つまたはそれを上回る分離領域を備え、分離領域は、連結具を備える。連結具は、同一方向(押動・引動連結具)へ、または反対方向(逆運動連結具)へ変位(移動)を可能にする。連結具は、ピン、ねじ、割りピン、ポリマー締結具、ポップリベット、クレビスピン、および/またはナットならびにボルト等を含む、種々の方法で接続されてもよい。連結具は、変位の規模もしくは方向を変化させる、変位規模を増加させる、変位方向もしくは規模を逆転させる、またはそれらの組み合わせを行ってもよい。
一実施例では、ステント補綴具またはインプラントは、1つもしくはそれを上回る継手を備え、継手は、ピン、ねじ、割りピン、ポリマー締結具、ポップリベット、クレビスピン、および/またはナットならびにボルトを含む、種々の方法で接続される。
本願の実施例のうちのいずれかの一実施例では、補綴具は、ステント、構造を有するインプラント、構造および固定手段を有するインプラント、またはそのうちの1つを備える、インプラントである。
本願の実施例のうちのいずれかの一実施例では、ステント補綴具は、複数の隣接するリングを備え、実質的に全てのリングは、1つまたはそれを上回る分離領域、不連続性、もしくは継手を備え、実質的に全てのリングは、以下のうちの1つまたはそれを上回るもの、すなわち、生理学的条件下で、圧着構成から拡張されたより大きい構成までの拡張後に、類似する半径方向歪み(もしくはコンプライアンス)規模または変化、実質的に類似する実質的に全てのリングの血管運動反応性、実質的に全てのリングの離脱、実質的に全てのリングのより大きい構成までのさらなる拡張、実質的に全てのリングの拡張および/または収縮、少なくとも1つの方向(もしくは次元)への変位、形状の構成の変化が可能である。別の実施例では、実質的に全てのリングは、以下のうちの類似する1つまたはそれを上回るもの、すなわち、生理学的条件下で拡張構成時に、最初に、半径方向歪み、続いて、さらなる拡張、半径方向収縮および/または拡張、類似離脱、類似変位、類似形状構成変化を有する。別の実施例では、いくつかのリングは、以下のうちの異なる1つまたはそれを上回るもの、すなわち、生理学的条件下で拡張構成時に、拡張後の半径方向歪み、変位規模、形状構成、収縮および/または拡張、血管反応性を有する。
別の実施例では、ステント補綴具は、離脱するように構成され、離脱は、以下のうちの1つまたはそれを上回るものを含む、すなわち、該ステントが生理学的条件下で圧着構成から拡張構成まで拡張した後に、拡張後の可変コンプライアンス(半径方向歪み)を有する、拡張に応じた半径方向コンプライアンスと異なる、拡張後の制御されたコンプライアンス(半径方向歪み)を有する、拡張後の管腔または血管コンプライアンス(半径方向歪み)に適応する、可変変位を有する、初期拡張構成と異なる制御された変位を有する、拡張または展開後の管腔もしくは血管変位に適応する、可変移動を有する、制御された移動を有する、拡張後の管腔または血管移動に適応する、および/または拡張後の血管反応性を可能にする。
本願の実施例のうちのいずれかの別の実施例では、拡張後の少なくともいくつかの円周方向構造要素(リング等)またはインプラントもしくはステント補綴具は、1%~20%に及ぶ、好ましくは、1%~15%に及ぶ、より好ましくは、1.5%~10%に及ぶ、最も好ましくは、2%~7%に及ぶ、複合半径方向歪み(またはコンプライアンス)を有する。別の実施例では、半径方向歪み規模は、0.07mm~3mmに及ぶ、好ましくは、0.1mm~2mmに及ぶ、より好ましくは、0.1mm~1mmに及ぶ、最も好ましくは、0.1mm~0.5mmに及ぶ。別の実施例では、血管反応性規模は、0.07mm~3mmに及ぶ、好ましくは、0.1mm~2mmに及ぶ、より好ましくは、0.1mm~1mmに及ぶ、最も好ましくは、0.1mm~0.5mmに及ぶ。
当業者は、本願に説明される種々の実施例および側面が、半径方向、および/または円周方向、もしくは他の方向、またはそれらの組み合わせにおける移動を促進するために採用され得ることを理解するであろう。
以前の実施例または実施形態と同様に、オス型要素は、典型的には、メス型結合部材の対向壁の間で自由に円周方向に移動し、ステント補綴具の円周方向拡張(および/または半径方向)ならびに/もしくは収縮を可能にするであろう。オス型区画およびメス型結合要素は、間隙によって分離されてもよく、間隙は、開放したままであってもよい、または逆に、円周方向リングの対向壁の間のオス型要素の円周方向移動を抑制するエラストマクッション材料等の材料で充填されてもよい。
当業者が理解するであろうように、本明細書で説明および請求される種々の実施例ならびに実施形態は、本願の全体を通して部分的または完全に組み合わせられることができる。
以下の番号付けされた付記は、本明細書に説明される本発明の他の実施例、側面、および実施形態を説明する。
1. 生分解性ポリマーからパターン化され、円周方向足場が小直径構成から大直径構成まで拡張するにつれて変形する拡張領域を有する、円周方向足場と、足場が大直径構成まで拡張した後に円周方向足場を強化するように円周方向足場に結合される、少なくとも1つの補強要素とを備える、管腔内補綴具。
2. 補強要素のうちの少なくともいくつかは、拡張領域のうちの少なくともいくつかに結合される、付記1に記載の管腔内補綴具。
3. 円周方向足場は、円周方向足場が拡張するにつれて、それらの形状を実質的に留保する、非変形可能領域を有する、付記1または2に記載の管腔内補綴具。
4. 補強要素のうちの少なくともいくつかは、非変形可能領域のうちの少なくともいくつかに結合される、付記3に記載の管腔内補綴具。
5. 拡張領域は、曲線状であり、非変形可能領域は、直線状である、付記3に記載の管腔内補綴具。
6. 曲線状拡張領域は、実質的にC字形、V字形、またはU字形ヒンジであり、非変形可能領域は、支柱である、付記5に記載の管腔内補綴具。
7. 補強要素のうちの少なくともいくつかは、拡張領域および非変形可能領域の両方に結合される、付記3に記載の管腔内補綴具。
8. 補強要素のうちの少なくともいくつかは、拡張領域のうちの少なくともいくつかに埋め込まれる、付記1に記載の管腔内補綴具。
9. 補強要素のうちの少なくともいくつかは、少なくとも部分的に拡張領域のうちの少なくともいくつかの外部の上に配置される、付記1または2に記載の管腔内補綴具。
10. 補強要素のうちの少なくともいくつかは、拡張領域のうちの少なくともいくつかおよび隣接する非変形可能領域に跨架し、それに埋め込まれる、付記3に記載の管腔内補綴具。
11. 個々の補強要素は、拡張領域のうちの少なくともいくつかおよび隣接する非変形可能領域に跨架し、少なくとも部分的にその外部の上に配置される、付記1に記載の管腔内補綴具。
12. 円周方向足場は、複数の隣接するリングを備え、拡張領域は、足場が半径方向に拡張されるにつれて直線状になる曲線状領域をリングに備える、付記1に記載の管腔内補綴具。
13. 足場リングは、蛇行リングである、付記12に記載の管腔内補綴具。
14. 足場リングは、ジグザグリングである、付記13に記載の管腔内補綴具。
15. 個々の補強要素は、曲線に結合され、直線状の非変形可能領域に跨架しない、付記13に記載の管腔内補綴具。
16. 個々の補強要素は、曲線および直線状の非変形可能領域の両方に跨架する、付記13に記載の管腔内補綴具。
17. 少なくとも1つの補強要素は、リングのうちの少なくともいくつかの実質的に円周方向長全体を取り囲むが、少なくとも1つの切れ目を有する、付記12に記載の管腔内補綴具。
18. 少なくとも1つの補強要素は、リングのうちの少なくともいくつかの実質的に円周方向長全体を取り囲むが、円周方向足場のポリマー材料が少なくとも1つの場所で分解した後に少なくとも1つの切れ目を有する、付記12に記載の管腔内補綴具。
19. リングのうちの少なくともいくつかの実質的に円周方向長全体を取り囲む複数の補強要素があるが、各補強要素は、少なくとも1つの切れ目を有する、付記12に記載の管腔内補綴具。
20. リングのうちの少なくともいくつかの実質的に円周方向長全体を取り囲む複数の補強要素があるが、各補強要素は、円周方向足場が分解した後に少なくとも1つの切れ目を有する、付記12に記載の管腔内補綴具。
21. 少なくとも1つの切れ目は、半径方向拡張に対する補強要素の抵抗を減少させる、付記17-20のいずれか1つに記載の管腔内補綴具。
22. 円周方向足場はさらに、隣接するリングをともに保持し、閉鎖セルを形成する、軸方向リンクを備える、付記12に記載の管腔内補綴具。
23. 補強要素のうちの少なくともいくつかは、少なくともいくつかの軸方向リンクに結合される、付記18に記載の管腔内補綴具。
24. 個々の補強要素は、2つの実質的に平行なリングおよび2つの実質的に平行な軸方向リンクに結合される、ボックス構造を備える、付記23に記載の管腔内補綴具。
25. 生分解性ポリマーは、本明細書に記載されるような群から選択される、付記1に記載の管腔内補綴具。
26. 補強要素は、非分解性材料を備える、付記1に記載の管腔内補綴具。
27. 補強要素は、非分解性ポリマーを備える、付記26に記載の管腔内補綴具。
28. 補強要素は、金属または金属合金を備える、付記26に記載の管腔内補綴具。
29. 金属は、ステンレス鋼、形状記憶合金、コバルトクロム合金、白金クロム合金、および本明細書に記載されるようなその他から成る群から選択される、付記28に記載の管腔内補綴具。
30. 補強要素は、拡張領域に結合され、円周方向足場が展開された後に拡張領域を開放するように付勢される、弾性材料を備える、付記28に記載の管腔内補綴具。
31. 補強要素は、V字形拡張領域に結合されるV字形ばね、C字形拡張領域に取り付けられるC字形ばね、またはU字形拡張領域に取り付けられるU字形ばねを備える、付記26に記載の管腔内補綴具。
32. 非分解性材料からパターン化される円周方向リングを有する、足場であって、圧着構成から拡張構成まで拡張するように構成される、足場を備え、円周方向リングのうちの少なくともいくつかは、展開後に分離領域に印加されるエネルギーに応答して、該円周方向リングに不連続性を形成するように構成される、分離領域を有する、管腔内補綴具。
33. 不連続性は、身体管腔内の該補綴具の埋込後に形成され、それによって、不連続性は、足場が初期拡張を超えてさらに拡張することを可能にする、付記32に記載の管腔内補綴具。
34. 分離領域は、疲労し、それに応答して分離するように構成される、付記32に記載の管腔内補綴具。
35. 分離領域は、外部から印加されたエネルギー源に応答して疲労するように構成される、付記32に記載の管腔内補綴具。
36. 分離領域は、印加されたエネルギーに応答して優先的に疲労および破損する、切り欠きまたは薄膜化領域を円周方向リングに備える、付記34または35に記載の管腔内補綴具。
37. 分離領域は、エネルギーに応答して、循環して開閉し、疲労および破損する、リビングヒンジを備える、付記34または35に記載の管腔内補綴具。
38. 分離領域は、印加されたエネルギーに応答して優先的に疲労および破損する、修正された粒界を金属円周方向リングに備える、付記34または35に記載の管腔内補綴具。
39. 分離領域は、それらの円周にわたって1つまたはそれを上回る部位において円周方向リングを破壊し、印加されたエネルギーに応答して開放するように構成されるコネクタを用いて切れ目を再継合することによって、形成される、付記34または35に記載の管腔内補綴具。
40. コネクタは、超音波、熱、および磁性から成る群から選択される、外部から印加されたエネルギーに応答して破損するであろう、付記39に記載の管腔内補綴具。
41. 分離領域は、円周方向リングに形成されるキーおよびロック接合点を備え、該キーおよびロック接合点は、拡張中に固定化されるが、印加されたエネルギーに応答して開放するように構成される、付記34または35に記載の管腔内補綴具。
42. 分離領域は、円周方向要素の中の切れ目を継合し、印加されたエネルギーに応答して開放するように構成される、リベットまたは他の締結具を備える、付記34または35に記載の管腔内補綴具。
43. 円周方向リングは、蛇行リングを備える、付記32に記載の管腔内補綴具。
44. 円周方向リングは、ジグザグリングを備える、付記32に記載の管腔内補綴具。
45. 非分解性材料は、金属または金属合金を備える、付記32に記載の管腔内補綴具。
46. 金属は、ステンレス鋼および本明細書に記載される他の金属から成る群から選択される、付記45に記載の管腔内補綴具。
47. 非分解性材料からパターン化される円周方向リングを有する、足場であって、圧着構成から拡張構成まで拡張するように構成される、足場を備え、円周方向リングのうちの少なくともいくつかは、生理学的環境内の拡張後に該円周方向リングに不連続性を形成するように構成される、少なくとも1つの分離領域を有する、管腔内補綴具。
48. 不連続性は、足場が初期拡張を超えてさらに拡張することを可能にする、付記47に記載の管腔内補綴具。
49. 生理学的環境は、水槽、37℃の水、または身体管腔である、付記48に記載の管腔内補綴具。
50. 生理学的環境は、身体管腔である、付記47に記載の管腔内補綴具。
51. 身体管腔は、血管である、付記47に記載の管腔内補綴具。
52. リングの中の不連続性は、血管が積極的に再形成するにつれて、足場が円周方向に開放することを可能にする、付記47に記載の管腔内補綴具。
53. 分離領域は、拡張中に固定化されるが、生理学的環境内の初期拡張後に分離するように構成される、キーおよびロック接合点を備える、付記47に記載の管腔内補綴具。
54. キーおよびロック接合点は、生理学的環境内で分解する材料によってセメント接着される、付記53に記載の管腔内補綴具。
55. 分離領域は、生理学的環境内で分解する接着剤またはコネクタによって継合される、突き合わせ継手を備える、付記47に記載の管腔内補綴具。
56. 分離領域は、生理学的環境内で優先的に浸食する切り欠きまたは薄膜化区分を円周方向リングに備える、付記47に記載の管腔内補綴具。
57. 分離領域は、生理学的環境内で優先的に浸食する修正された粒界を金属円周方向リングに備える、付記47に記載の管腔内補綴具。
58. 分離領域は、それらの円周にわたって1つまたはそれを上回る部位において円周方向リングを破壊し、生理学的環境内で浸食するように構成される接着剤もしくはコネクタを用いて切れ目を再継合することによって、形成される、付記47に記載の管腔内補綴具。
59. コネクタは、切れ目に跨架するスリーブまたはリングを備える、付記58に記載の管腔内補綴具。
60. 分離領域は、円周方向リングの中の切れ目を継合する、リベットまたは他の締結具を備え、締結具は、生理学的実施形態内で浸食する、付記47に記載の管腔内補綴具。
61. 円周方向リングは、蛇行リングを備える、付記47に記載の管腔内補綴具。
62. 円周方向リングは、ジグザグリングを備える、付記45に記載の管腔内補綴具。
63. 非分解性材料は、金属を備える、付記45に記載の管腔内補綴具。
64. 金属は、ステンレス鋼および本明細書に記載されるような金属から成る群から選択される、付記47に記載の管腔内補綴具。
65. 少なくともいくつかのリングの上に1つまたはそれを上回る分離領域があり、分離領域は、クラウンおよび/または支柱の上に位置する、付記47に記載の管腔内補綴具。
66. 分離領域の場所および数は、積極的な管腔再形成を可能にするように構成される、付記47に記載の管腔内補綴具。
67. 加えて、生理学的環境内の展開後のステント補綴具の重量は、積極的な管腔再形成を可能にする、付記65に記載の管腔内補綴具。
68. 分離領域は、生理学的環境内の展開後にステント補綴具の離脱を提供する、付記47に記載の管腔内補綴具。
69. ステント補綴具は、円周方向に離脱する、付記68に記載の管腔内補綴具。
70. 非分解性材料からパターン化される円周方向リングを有する、足場を備え、該足場は、圧着構成から拡張構成まで展開するように構成され、該円周方向リングは、足場が展開されるにつれて開放するヒンジを有し、リングのうちの少なくともいくつかの上のヒンジのうちの少なくともいくつかは、展開中に拡張を妨げられ、展開後に、または展開後の内部もしくは外部エネルギーの印加に応答して、生理学的環境内で開放するように構成される、管腔内補綴具。
71. 足場は、該ヒンジが開放された後に円周方向にさらに拡張するように解放される、付記70に記載の管腔内補綴具。
72. 生理学的環境は、水槽、37℃の水、または身体管腔である、付記70に記載の管腔内補綴具。
73. 生理学的環境は、身体管腔である、付記70に記載の管腔内補綴具。
74. 身体管腔は、血管である、付記73に記載の管腔内補綴具。
75. 足場は、血管が積極的に再形成するにつれて開放するように円周方向に解放される、付記74に記載の管腔内補綴具。
76. ヒンジは、円周方向足場の初期拡張から30日~6ヶ月後に開放する、付記70に記載の管腔内補綴具。
77. ヒンジは、接着剤、ポリマーフィラメント、およびポリマースリーブのうちの1つまたはそれを上回るものによって締め付けられる、付記70に記載の管腔内補綴具。
78. 非分解性材料は、本明細書に記載されるような金属または金属合金を備える、付記70に記載の管腔内補綴具。
79. 非分解性材料からパターン化される円周方向リングを有する、足場を備え、該足場は、圧着構成から拡張構成まで展開するように構成され、該円周方向リングは、足場が展開されるにつれて開放する継手によって接続される支柱を含み、継手のうちの少なくともいくつかは、その拡張構成時の足場がさらに拡張することを可能にするように枢動される、管腔内補綴具。
80. ステント補綴具はさらに、非分解性放射線不透過性マーカを備える、独立付記のいずれかに記載の管腔内補綴具。
81. ステントは、ステントの少なくとも1つの表面上に少なくとも1つのコーティングを備える、独立付記のいずれかに記載の管腔内補綴具。
82. ステント補綴具は、少なくとも1つの薬物を備える、独立付記のいずれかに記載の管腔内補綴具。
83. ステントに隣接する組織中薬物濃縮は、ステントを離脱させる時間周期を超えて持続し、ステントの不連続性および/または切れ目を形成する、付記82に記載の管腔内補綴具。
84. 非分解性材料からパターン化される1つまたはそれを上回る円周方向リングを有する、足場であって、圧着構成から拡張構成まで拡張するように構成される、足場を備え、円周方向リングのうちの1つまたはそれを上回るものは、クラウンによって継合される複数の支柱を備え、支柱のうちの少なくとも1つは、生理学的環境内の拡張後に該円周方向リングに不連続性を形成するように構成される、少なくとも1つの分離領域を有する、管腔内補綴具。
85. 不連続性は、足場が初期拡張後にさらに拡張することを可能にする、付記84に記載の管腔内補綴具。
86. 生理学的環境は、約37℃の水槽または身体管腔である、付記84に記載の管腔内補綴具。
87. 生理学的環境は、身体管腔である、付記84に記載の管腔内補綴具。
88. 身体管腔は、血管または弁輪を備える、付記84に記載の管腔内補綴具。
89. リングの中の不連続性は、展開後に足場の少なくとも一部が身体管腔内で円周方向に開放することを可能にする、付記88に記載の管腔内補綴具。
90. 不連続性は、生理学的環境内の円周方向足場の初期拡張から30日~6ヶ月後に形成される、付記84に記載の管腔内補綴具。
91. 分離領域は、拡張中に固定化されるが、生理学的環境内の初期拡張後に開放するように構成される、キーおよびロック接合点を支柱に備える、付記84に記載の管腔内補綴具。
92. キーおよびロック接合点は、それらが固定化された後のみ、支柱の継合された区画が半径方向に相互から分離することを可能にするように構成される、付記91に記載の管腔内補綴具。
93. キーおよびロック接合点は、それらが固定化された後に、支柱の継合された区画が半径方向および軸方向の両方に相互から分離することを可能にするように構成される、付記91に記載の管腔内補綴具。
94. キーおよびロック接合点は、生理学的環境内で分解するセメント、接着剤、またはポリマーによって固定化される、付記91に記載の管腔内補綴具。
95. キーおよびロック接合点は、生理学的環境内で分解する、上を覆うスリーブによって固定化される、付記91に記載の管腔内補綴具。
96. 分離領域は、生理学的環境内で分解する接着剤、セメント、ポリマー、スリーブ、またはコネクタによって継合される、突き合わせ継手を備える、付記84に記載の管腔内補綴具。
97. 分離領域は、生理学的環境内で優先的に浸食する切り欠きまたは薄膜化区分を円周方向リングに備える、付記84に記載の管腔内補綴具。
98. 分離領域は、生理学的環境内で優先的に浸食する修正された粒界を金属円周方向リングに備える、付記84に記載の管腔内補綴具。
99. 分離領域は、それらの円周にわたって1つまたはそれを上回る部位において円周方向リングを破壊し、生理学的環境内で浸食するように構成されるセメント、接着剤、もしくはポリマーを用いて切れ目を再継合することによって、形成される、付記84に記載の管腔内補綴具。
100. コネクタは、切れ目に跨架するスリーブまたはリングを備える、付記99に記載の管腔内補綴具。
101. 分離領域は、円周方向リングの中の切れ目を継合する、リベットまたは他の締結具を備え、締結具は、生理学的実施形態内で浸食する、付記84に記載の管腔内補綴具。
102. 円周方向リングは、蛇行リングを備える、付記84に記載の管腔内補綴具。
103. 円周方向リングは、ジグザグリングを備える、付記84に記載の管腔内補綴具。
104. 非分解性材料は、金属を備える、付記84に記載の管腔内補綴具。
105. 足場はさらに、足場の少なくとも1つの表面上に少なくとも1つのコーティングを備える、付記84に記載の管腔内補綴具。
106. 足場はさらに、足場の少なくとも1つの表面上に少なくとも1つのコーティングを備え、コーティングは、薬物を備える、付記84に記載の管腔内補綴具。
107. 拡張構成時の足場は、身体管腔を支持するために十分な強度を有する、付記84に記載の管腔内補綴具。
108. 非分解性材料からパターン化される円周方向リングを有する、足場であって、圧着構成から拡張構成まで拡張するように構成される、足場を備え、円周方向リングのうちの少なくともいくつかは、クラウンによって継合される複数の支柱を備え、支柱のうちの少なくともいくつかは、少なくとも1つの分離領域を有し、支柱は、生理学的環境内で分解するであろうスリーブまたは接着剤によって固定化される、事前形成された切れ目を有する、管腔内補綴具。
109. 分離領域は、拡張中に固定化されるが、生理学的環境内の初期拡張後に開放するように構成される、キーおよびロック接合点を支柱に備える、付記108に記載の管腔内補綴具。
110. キーおよびロック接合点は、それらが固定化された後のみ、支柱の継合された区画が半径方向に相互から分離することを可能にするように構成される、付記109に記載の管腔内補綴具。
111. キーおよびロック接合点は、それらが固定化された後に、支柱の継合された区画が半径方向および軸方向の両方に相互から分離することを可能にするように構成される、付記109に記載の管腔内補綴具。
112. キーおよびロック接合点は、生理学的環境内で分解するセメントによって固定化される、付記109に記載の管腔内補綴具。
113. キーおよびロック接合点は、生理学的環境内で分解する、上を覆うスリーブによって固定化される、付記109に記載の管腔内補綴具。
114. 円周方向リングは、蛇行リングを備える、付記108に記載の管腔内補綴具。
115. 円周方向リングは、ジグザグリングを備える、付記108に記載の管腔内補綴具。
116. 非分解性材料は、金属または金属合金材料を備える、付記108に記載の管腔内補綴具。
117. 金属は、ステンレス鋼および本明細書に記載される他の金属から成る群から選択される、付記116に記載の管腔内補綴具。
118. 各リング上の少なくとも1つの支柱は、分離領域を有する、付記108に記載の管腔内補綴具。
119. 全てのクラウンおよびリンクは、分離領域を含まない、付記118に記載の管腔内補綴具。
120. 分離領域の場所および数は、積極的な管腔再形成を可能にするように構成される、付記118に記載の管腔内補綴具。
121. 加えて、生理学的環境内の展開後のステント補綴具の重量は、積極的な管腔再形成を可能にする、付記119に記載の管腔内補綴具。
122. 分離領域は、生理学的環境内の展開後にステント補綴具の離脱を提供する、付記108に記載の管腔内補綴具。
123. ステント補綴具は、円周方向に離脱する、付記122に記載の管腔内補綴具。
124. 非分解性材料からパターン化される円周方向リングを有する、足場であって、圧着構成から拡張構成まで拡張するように構成される、足場を備え、円周方向リングのうちの少なくともいくつかは、クラウンによって継合される複数の支柱を備え、クラウンのうちの少なくともいくつかは、生理学的環境内で分解するであろうスリーブまたは接着剤によって固定化される、少なくとも1つの分離領域を有する、管腔内補綴具。
125. 分離領域は、スリーブまたは接着剤材料の分解後に足場が離脱することを可能にする薄膜化領域をクラウンに備える、付記124に記載の管腔内補綴具。
126. 分離領域は、スリーブまたは接着剤材料の分解後に足場が離脱することを可能にする切れ目をクラウンに備える、付記122に記載の管腔内補綴具。
間隙付記
127. 足場の円周を画定する複数のリングを有する、足場を備え、該足場は、圧着構成から拡張構成まで拡張するように構成され、複数のリングは、非分解性材料から形成され、円周方向リングのうちの少なくともいくつかは、足場の円周を中心として円周方向経路を辿り、足場がその拡張構成であるときに該経路に少なくとも1つの間隙を有し、隣接するリングは、足場がその拡張構成であるときに、足場の全ての部分が接続されたままであるように軸方向に連結される、血管内補綴具。
128. 間隙は、足場がその圧着構成であるときにリング内で開放している、付記127に記載の血管内補綴具。
129. リング内の間隙は、足場がその圧着構成であるときにさらに開放する、付記128に記載の血管内補綴具。
130. 間隙は、足場がその拡張構成であった後のみ、リング内で開放している、付記127に記載の血管内補綴具。
131. 円周方向リング内の間隙は、回転交互配置される、付記127に記載の血管内補綴具。
132. 円周方向リングは、交互配置間隙パターンから回転オフセットされる、交互配置パターンで軸方向に連結される、付記131に記載の血管内補綴具。
133. 円周方向リングは、蛇行リングを備える、付記127に記載の血管内補綴具。
134. 円周方向リングは、ジグザグリングを備える、付記127に記載の血管内補綴具。
135. 非分解性材料は、金属を備える、付記127に記載の血管内補綴具。
136. 円周方向リングは、クラウンによって継合される複数の支柱を備える、付記128に記載の血管内補綴具。
137. 間隙は、クラウンの中に存在する、付記136に記載の血管内補綴具。
138. 間隙は、支柱の中に存在する、付記127に記載の血管内補綴具。
139. 間隙は、クラウンおよび支柱に跨架する、付記127に記載の血管内補綴具。
140. 足場は、収縮期/拡張期圧力循環を受けたときに、1%~5%、多くの場合、1%~3%のコンプライアンスを示す、付記127に記載の血管内補綴具。
架橋付記
141. 足場の円周を画定する複数のリングを有する、足場を備え、該足場は、圧着構成から拡張構成まで拡張するように構成され、複数のリングは、非分解性材料から形成され、円周方向リングのうちの少なくともいくつかは、足場の円周を中心として円周方向経路を辿り、該経路に少なくとも1つの生分解性区画を有し、隣接するリングは、足場内の生分解性区画が分解した後に、足場の全ての部分が接続されたままであるように軸方向に連結される、血管内補綴具。
142. 生分解性区画は、足場が血管環境内で拡張されている間に無傷のままであるように、かつ区画が血管環境内で分解した後にリングに間隙を形成するように構成される、付記141に記載の血管内補綴具。
143. 生分解性区画は、3ヶ月~3年の範囲内の時間周期にわたって血管環境内で分解するように構成される、付記141に記載の血管内補綴具。
144. 円周方向リング内の生分解性区画は、回転交互配置される、付記141に記載の血管内補綴具。
145. 円周方向リングは、交互配置間隙パターンから回転オフセットされる、交互配置パターンで軸方向に連結される、付記144に記載の血管内補綴具。
146. 円周方向リングは、蛇行リングを備える、付記141に記載の血管内補綴具。
147. 円周方向リングは、ジグザグリングを備える、付記141に記載の血管内補綴具。
148. 非分解性材料は、金属を備える、付記141に記載の血管内補綴具。
149. 生分解性区画は、生分解性ポリマーを備える、付記148に記載の血管内補綴具。
150. 円周方向リングは、クラウンによって継合される複数の支柱を備える、付記141に記載の血管内補綴具。
151. 生分解性区画は、クラウンの中に存在する、付記150に記載の血管内補綴具。
152. 生分解性区画は、支柱の中に存在する、付記141に記載の血管内補綴具。
153. 生分解性区画は、クラウンおよび支柱に跨架する、付記141に記載の血管内補綴具。
154. 足場は、収縮期/拡張期圧力循環を受けたときに、生分解性区画を伴わないその拡張構成時に、多くの場合、1.2%~3%、より多くの場合、1.2%~3%の半径方向コンプライアンスを示す、付記141に記載の血管内補綴具。
155. 足場は、収縮期/拡張期圧力循環を受けたときに、定位置に生分解性区画を伴うその拡張構成時に、1%~5%、多くの場合、1%~3%のコンプライアンスを示す、付記154に記載の血管内補綴具。
作製方法付記
156. 血管内補綴具を作製する方法であって、足場の円周を画定する複数のリングを有する、第1の足場を加工するステップであって、複数のリングは、非分解性材料から形成される、ステップと、足場の円周を画定する複数のリングを有する、第2の足場を加工するステップであって、複数のリングは、生分解性材料から形成され、第1および第2の足場は、同じ幾何学形状を有する、ステップと、第1の足場のリングのうちの少なくともいくつかの一部に間隙を形成するステップと、第2の足場から区画を切断するステップであって、区画は、第1の足場内の間隙を充填するように選択される、ステップと、第2の足場から切断される区画を第1の足場に形成される間隙の中へ固着するステップとを含む、方法。
157. 生分解性区画は、足場が血管環境内で拡張されている間に無傷のままであるように、かつ区画が血管環境内で分解した後にリングに間隙を形成するように構成される、付記156に記載の血管内補綴具を作製する方法。
158. 生分解性区画は、3ヶ月~3年の範囲内の時間周期にわたって血管環境内で分解するように選択される、付記156に記載の血管内補綴具を作製する方法。
159. 第1の足場の円周方向リング内の間隙は、回転交互配置される、付記156に記載の血管内補綴具を作製する方法。
160. 第1の足場内の円周方向リングは、交互配置間隙パターンから回転オフセットされる、交互配置パターンで軸方向に連結される、付記159に記載の血管内補綴具を作製する方法。
161. 第1の足場内の円周方向リングは、蛇行リングを備える、付記156に記載の血管内補綴具を作製する方法。
162. 第1の足場内の円周方向リングは、ジグザグリングを備える、付記156に記載の血管内補綴具を作製する方法。
163. 非分解性材料は、金属を備える、付記156に記載の血管内補綴具を作製する方法。
164. 生分解性材料は、生分解性ポリマーを備える、付記163に記載の血管内補綴具を作製する方法。
165. 円周方向リングは、クラウンによって継合される複数の支柱を備える、付記156に記載の血管内補綴具を作製する方法。
166. 間隙は、クラウンの中に存在する、付記156に記載の血管内補綴具を作製する方法。
167. 間隙は、支柱の中に存在する、付記156に記載の血管内補綴具を作製する方法。
代替的付記
168. 生分解性材料からパターン化され、円周方向足場が小直径構成からより大きい直径の構成まで拡張するにつれて変形する、拡張領域を有する、円周方向足場を備え、少なくとも1つの補強要素は、足場が大直径構成まで拡張した後に円周方向足場を強化するように円周方向足場に結合される、分解性ステント補綴具。
169. ステント補綴具は、管腔内補綴具を備える、付記168に記載のステント補綴具。
170. 小直径は、圧着構成であり、より大きい拡張された直径は、展開構成である、付記168に記載のステント補綴具。
171. 分解性材料は、ポリマー材料を備える、付記168に記載のステント補綴具。
172. 分解性材料は、金属または金属合金を備える、付記168に記載のステント補綴具。
173. 分解性材料は、ラクチド、カプロラクトン、トリメチレンカーボネート、グリコリド、ポリ(L-ラクチド)、ポリ-DL-ラクチド、ポリラクチド-co-グリコリド(例えば、ポリ(L-ラクチド-co-グリコリド)、ポリ(L-ラクチド-co-イプシロン-カプロラクトン)(例えば、約50~約95%L-ラクチド対約50~約5%カプロラクトンの重量比)、ポリ(L-ラクチド-co-トリメチレンカーボネート)、ポリトリメチレンカーボネート、ポリ-カプロラクトン、ポリ(グリコリド-トリメチレンカーボネート)、ポリ(ラクチド-グリコリド-トリメチレンカーボネート)、または同等物、ポリ(3-ヒドロキシ酪酸)およびポリ(4-ヒドロキシ酪酸)等のポリヒドロキシ酪酸、ポリヒドロキシ吉草酸、ポリヒドロキシ酪酸/ポリヒドロキシ吉草酸コポリマー(PHV/PHB)、ポリヒドロキシアルカノエート、ポリオルトエステル、ポリ酸無水物、ポリイミノカーボネート、チロシン由来ポリカーボネート、チロシン由来ポリアクリレート、ヨウ化および/または臭素化チロシン由来ポリカーボネート、ヨウ化および/または臭素化チロシン由来ポリアクリレートポリエステルアミド、ポリカーボネートコポリマー、ポリ(フマル酸プロピレン-co-エチエレングリコール)コポリマー(別名フマル酸無水物)等のラクトンベースのポリマー、ポリ酸無水物エステル、ポリオルトエステル、シルクエラスチンポリマー、ポリホスファゼン、脂肪族ポリウレタン、ポリヒドロキシ酸、ポリエーテルエステル、ポリエステル、ポリデプシペプチド、ポリ(アルキレンオキサラート)、ポリアスパラギン酸、ポリグルタル酸ポリマー、ポリ-p-ジオキサノン、ポリ-ベータジオキサノン、非対称3,6-置換ポリ-1,4-ジオキサン-2,5-ジオノン、ポリアルキル-2-シアノアクリレート、ポリデプシペプチド(グリシン-DL-ラクチドコポリマー)、ポリジヒドロピラン、ポリアルキル-2-シアノアクリレート、ポリ-ベータ-マレイン酸(PMLA)、ポリアルカノエート、ポリ-ベータ-アルカン酸、ポリマー、ブレンド、および/またはコポリマー、もしくはそれらの組み合わせのうちの1つまたはそれを上回るものを備える、ポリマー材料である、付記168に記載のステント補綴具。
174. 分解性材料は、マグネシウムを含む、金属または金属合金である、付記168に記載のステント補綴具。
175. 補強要素のうちの少なくともいくつかは、拡張領域のうちの少なくともいくつかに結合される、付記168に記載のステント補綴具。
176. 実質的に全ての拡張領域は、補強要素に結合される、付記168に記載のステント補綴具。
177. 実質的に殆どの拡張領域は、補強要素に結合される、付記168に記載のステント補綴具。
178. 拡張領域の少なくとも半分は、補強要素に結合される、付記168に記載のステント補綴具。
179. 円周方向足場は、円周方向足場が拡張するにつれて、それらの形状を実質的に留保する、非変形可能領域を有する、付記168または175に記載のステント補綴具。
180. 補強要素のうちの少なくともいくつかは、非変形可能領域のうちの少なくともいくつかに結合される、付記179に記載のステント補綴具。
181. 拡張領域は、曲線状であり、非変形可能領域は、直線状である、付記179に記載のステント補綴具。
182. 曲線状拡張領域は、実質的にC字形、V字形、またはU字形ヒンジであり、非変形可能領域は、支柱である、付記181に記載のステント補綴具。
183. 補強要素のうちの少なくともいくつかは、拡張領域および非変形可能領域の両方に結合される、付記179に記載のステント補綴具。
184. 補強要素のうちの少なくともいくつかは、拡張領域のうちの少なくともいくつかに埋め込まれる、付記168に記載のステント補綴具。
185. 補強要素のうちの少なくともいくつかは、少なくとも部分的に拡張領域のうちの少なくともいくつかの外部の上に配置される、付記168または175に記載のステント補綴具。
186. 補強要素のうちの少なくともいくつかは、拡張領域のうちの少なくともいくつかおよび隣接する非変形可能領域に跨架し、それに埋め込まれる、付記179に記載のステント補綴具。
187. 個々の補強要素は、拡張領域のうちの少なくともいくつかおよび隣接する非変形可能領域に跨架し、少なくとも部分的にその外部の上に配置される、付記168に記載のステント補綴具。
188. 円周方向足場は、複数の隣接するリングを備え、拡張領域は、足場が半径方向に拡張されるにつれて直線状になる曲線状領域をリングに備え、曲線状領域は、リング内の実質的に直線状の非変形可能領域を継合する、付記168に記載のステント補綴具。
189. 足場リングは、蛇行リングである、付記188に記載のステント補綴具。
190. 足場リングは、ジグザグリングである、付記188に記載のステント補綴具。
191. 個々の補強要素は、曲線状領域に結合され、直線状の非変形可能領域に跨架しない、付記188に記載のステント補綴具。
192. 足場パターンは、閉鎖セルパターンである、付記188に記載のステント補綴具。
193. 個々の補強要素は、曲線および直線状の非変形可能領域の両方に跨架する、付記188に記載のステント補綴具。
194. 個々の補強要素は、曲線状領域および非変形可能領域のうちの少なくともいくつかに跨架する、付記188に記載のステント補綴具。
195. 少なくとも1つの補強要素は、リングのうちの少なくともいくつかの実質的に円周方向長全体を取り囲むが、各リングに少なくとも1つの切れ目を有する、付記188に記載のステント補綴具。
196. リングあたりの少なくとも1つの補強要素は、リングのうちの少なくともいくつかの実質的に円周方向長全体を取り囲むが、各リングに少なくとも1つの切れ目を有する、付記188に記載のステント補綴具。
197. 隣接するリングは、リンクによって少なくとも1つの領域中で接続され、リンクのうちの少なくとも1つは、少なくとも1つの補強要素に結合される、付記188に記載のステント補綴具。
198. 少なくとも1つの補強要素は、リングのうちの少なくともいくつかの実質的に円周方向長全体を取り囲むが、円周方向足場の分解性材料が少なくとも1つの場所で分解した後に少なくとも1つの切れ目を有する、付記188に記載のステント補綴具。
199. 少なくとも1つの補強要素は、リングのうちの少なくともいくつかの実質的に円周方向長全体を取り囲むが、円周方向足場の分解性材料が少なくとも1つの切れ目領域中で分解した後に少なくとも1つの切れ目を有する、付記188に記載のステント補綴具。
200. リングのうちの少なくともいくつかの実質的に円周方向長全体を取り囲む複数の補強要素があるが、各補強要素は、少なくとも1つの切れ目を有する、付記188に記載のステント補綴具。
201. リングのうちの少なくともいくつかの実質的に円周方向長全体を取り囲む複数の補強要素があるが、各補強要素は、円周方向足場が分解した後に少なくとも1つの切れ目を有する、付記188に記載のステント補綴具。
202. 少なくとも1つの切れ目は、半径方向拡張に対する補強要素の抵抗を減少させる、付記195-201のいずれかに記載のステント補綴具。
203. 少なくとも1つの切れ目は、半径方向拡張に対する補強要素の抵抗を減退させる、付記195-201のいずれかに記載のステント補綴具。
204. 円周方向足場はさらに、隣接するリングをともに保持し、閉鎖セルを形成する、軸方向リンクを備える、付記188に記載のステント補綴具。
205. 補強要素のうちの少なくともいくつかは、少なくともいくつかの軸方向リンクに結合される、付記198に記載のステント補綴具。
206. 個々の補強要素は、2つの実質的に平行なリングおよび2つの実質的に平行な軸方向リンクに結合される、ボックス構造を備える、付記205に記載のステント補綴具。
207. 生分解性材料は、本明細書に記載されるような群から選択されるポリマー材料である、付記168に記載のステント補綴具。
208. 生分解性材料は、本明細書に記載されるような群から選択される金属または金属合金材料である、付記168に記載のステント補綴具。
209. 補強要素は、非分解性材料を備える、付記168に記載のステント補綴具。
210. 補強要素は、分解性材料を備え、該分解性材料は、足場パターン化生分解性材料よりも剛性である、付記168に記載のステント補綴具。
211. 補強要素は、非分解性ポリマーを備える、付記168に記載のステント補綴具。
212. 補強要素は、金属または金属合金を備える、付記168に記載のステント補綴具。
213. 金属または金属合金は、ステンレス鋼、形状記憶合金、コバルトクロム合金、白金クロム合金、および本明細書に記載されるようなその他から成る群から選択される、付記212に記載のステント補綴具。
214. 補強要素は、拡張領域に結合され、円周方向足場が展開された後に拡張領域を開放するように付勢される、弾性材料を備える、付記212に記載のステント補綴具。
215. 補強要素は、2つの隣接する実質的に非変形可能な領域に結合され、円周方向足場が展開された後に2つの隣接する非変形可能領域を継合する拡張領域を開放するように付勢される、弾性材料を備え、補強要素は、拡張領域形状を有する、付記212に記載のステント補綴具。
216. 補強要素は、拡張領域に実質的に類似する形状を有する、付記168に記載のステント補綴具。
217. ステントはさらに、放射線不透過性マーカを備える、付記168に記載のステント補綴具。
218. ステントはさらに、薬物およびポリマー基質コーティングを備える、付記168に記載のステント補綴具。
219. ステントはさらに、ステントの少なくとも1つの表面上にコーティングを備える、付記168に記載のステント補綴具。
220. ステントはさらに、ステントの少なくとも1つの表面上に分解性コーティングを備える、付記219に記載のステント補綴具。
221. パターン化された生分解性足場材料は、1ヶ月~3年に及ぶ周期で分解する、付記168または付記のいずれかに記載のステント補綴具。
222. 補強要素は、ステント材料の分解後に実質的に無傷のままである、付記168または付記のいずれかに記載のステント補綴具。
223. 拡張後のステントは、血管拡張、血管収縮、1.5%~5%の半径方向歪み、該拡張からの反跳後により大きい構成までさらに拡張することのうちの1つまたはそれを上回るものを呈する、付記168に記載のステント補綴具。
224. 補強要素は、ステント生分解性パターン化材料よりも剛性の分解性材料であり、該補強要素の分解性材料は、ステント分解性材料よりも遅い速度で分解する、付記168または付記のいずれかに記載のステント補綴具。
225. パターン化された分解性材料の分解後のステントは、円周方向および/または縦方向に複数の隣接する補強要素を備える、付記168または付記のいずれかに記載のステント補綴具。付記168に記載のステント。
226. 体温におけるステントは、展開直径まで拡張され、身体管腔を支持するために十分な強度を有する、付記168に記載のステント。
227. パターン化された材料の分解後のステントは、補強要素を備え、該ステントは、身体管腔を支持するために十分な強度を有していない、付記168に記載のステント。
228. パターン化された材料の分解後のステントは、身体管腔を支持するために十分な強度を有していないが、身体管腔を支持するために十分なパターンで補強要素を備える、付記168に記載のステント。
229. 補強要素は、V字形拡張領域に結合されるV字形ばね、C字形拡張領域に取り付けられるC字形ばね、またはU字形拡張領域に取り付けられるU字形ばねを備える、付記168に記載のステント補綴具。
230. 非分解性材料からパターン化される円周方向リングを有する、足場であって、圧着構成から拡張構成まで拡張するように構成される、足場を備え、円周方向リングのうちの少なくともいくつかは、展開後に分離領域に印加されるエネルギーに応答して、該円周方向リングに不連続性を形成するように構成される、分離領域を有する、ステント補綴具。
231. ステントは、生理学的条件下で拡張される、付記230に記載のステント補綴具。
232. 不連続性は、身体管腔内の該補綴具の埋込後に形成され、それによって、不連続性は、足場が該初期拡張からの反跳後にさらに拡張することを可能にする、付記230に記載のステント補綴具。
233. 分離領域は、疲労し、ステント補綴具が埋め込まれた血管の脈動に応答して分離するように構成される、付記230に記載のステント補綴具。
234. 分離領域は、分離後に分離領域を実質的に含有し続けるスリーブによって含有される、付記233に記載のステント補綴具。
235. 分離領域は、疲労し、ステント補綴具が埋め込まれた血管の生理学的圧力に応答して分離するように構成される、付記230に記載のステント補綴具。
236. 不連続性は、生理学的条件下で該足場の拡張後に形成され、それによって、不連続性は、足場が1%~5%に及ぶ半径方向コンプライアンスを有することを可能にする、付記230に記載のステント補綴具。
237. 不連続性は、生理学的条件下で該足場の拡張後に形成され、それによって、不連続性は、足場が血管拡張剤または血管収縮剤に応答して拡張もしくは制限することを可能にする、付記230に記載のステント補綴具。
238. 分離領域は、外部から印加されたエネルギー源に応答して疲労するように構成される、付記230に記載のステント補綴具。
239. 印加されるエネルギーは、生理学的条件である、付記230または233に記載のステント補綴具。
240. 分離領域は、印加されたエネルギーに応答して優先的に疲労および破損する、切り欠き、空洞化拡張領域、または薄膜化領域を円周方向リングに備える、付記233または238に記載のステント補綴具。
241. 分離領域は、エネルギーに応答して、循環して開閉し、疲労および破損する、リビングヒンジを備える、付記233または238に記載のステント補綴具。
242. 分離領域は、印加されたエネルギーに応答して優先的に疲労および破損する、修正された粒界を金属円周方向リングに備える、付記233または238に記載のステント補綴具。
243. 分離領域は、それらの円周にわたって1つまたはそれを上回る部位において円周方向リングを破壊し、印加されたエネルギーに応答して開放するように構成されるコネクタを用いて切れ目を再継合することによって、形成される、付記233または238に記載のステント補綴具。
244. コネクタは、超音波、熱、および磁性から成る群から選択される、外部から印加されたエネルギーに応答して破損するであろう、付記243に記載のステント補綴具。
245. 分離領域は、円周方向リングに形成されるキーおよびロック接合点を備え、該キーおよびロック接合点は、拡張中に固定化されるが、印加されたエネルギーに応答して開放または分離するように構成される、付記233または238に記載のステント補綴具。
246. 分離領域は、円周方向要素の中の切れ目を継合し、印加されたエネルギーに応答して開放するように構成される、リベットまたは他の締結具を備える、付記233または238に記載のステント補綴具。
247. 円周方向リングは、蛇行リングを備える、付記230に記載のステント補綴具。
248. 円周方向リングは、ジグザグリングを備える、付記230に記載のステント補綴具。
249. リングは、閉鎖セルパターンを備える、付記230に記載のステント補綴具。
250. 非分解性材料は、金属または金属合金を備える、付記230に記載のステント補綴具。
251. 金属は、ステンレス鋼、コバルトクロム合金、白金クロム合金、および本明細書に記載される他の金属から成る群から選択される、付記250に記載のステント補綴具。
252. 分解性材料からパターン化される円周方向リングを有する、足場であって、圧着構成から拡張構成まで拡張するように構成される、足場を備え、円周方向リングのうちの少なくともいくつかは、生理学的条件下のステントの展開後に該円周方向リングに不連続性を形成するように構成される、分離領域を有する、ステント補綴具。
253. 分解性材料は、ポリマー材料または金属材料を備える、付記252に記載のステント補綴具。
254. 分解性材料は、以下のうちの1つまたはそれを上回るもの、すなわち、ラクチド、カプロラクトン、トリメチレンカーボネート、グリコリド、ポリ(L-ラクチド)、ポリ-DL-ラクチド、ポリラクチド-co-グリコリド(例えば、ポリ(L-ラクチド-co-グリコリド)、ポリ(L-ラクチド-co-イプシロン-カプロラクトン)(例えば、約50~約95%L-ラクチド対約50~約5%カプロラクトンの重量比)、ポリ(L-ラクチド-co-トリメチレンカーボネート)、ポリトリメチレンカーボネート、ポリ-カプロラクトン、ポリ(グリコリド-トリメチレンカーボネート)、ポリ(ラクチド-グリコリド-トリメチレンカーボネート)、または同等物、ポリ(3-ヒドロキシ酪酸)およびポリ(4-ヒドロキシ酪酸)等のポリヒドロキシ酪酸、ポリヒドロキシ吉草酸、ポリヒドロキシ酪酸/ポリヒドロキシ吉草酸コポリマー(PHV/PHB)、ポリヒドロキシアルカノエート、ポリオルトエステル、ポリ酸無水物、ポリイミノカーボネート、チロシン由来ポリカーボネート、チロシン由来ポリアクリレート、ヨウ化および/または臭素化チロシン由来ポリカーボネート、ヨウ化および/または臭素化チロシン由来ポリアクリレートポリエステルアミド、ポリカーボネートコポリマー、ポリ(フマル酸プロピレン-co-エチエレングリコール)コポリマー(別名フマル酸無水物)等のラクトンベースのポリマー、ポリ酸無水物エステル、ポリオルトエステル、シルクエラスチンポリマー、ポリホスファゼン、脂肪族ポリウレタン、ポリヒドロキシ酸、ポリエーテルエステル、ポリエステル、ポリデプシペプチド、ポリ(アルキレンオキサラート)、ポリアスパラギン酸、ポリグルタル酸ポリマー、ポリ-p-ジオキサノン、ポリ-ベータジオキサノン、非対称3,6-置換ポリ-1,4-ジオキサン-2,5-ジオノン、ポリアルキル-2-シアノアクリレート、ポリデプシペプチド(グリシン-DL-ラクチドコポリマー)、ポリジヒドロピラン、ポリアルキル-2-シアノアクリレート、ポリ-ベータ-マレイン酸(PMLA)、ポリアルカノエート、ポリ-ベータ-アルカン酸、ポリマー、ブレンド、および/またはコポリマー、もしくはそれらの組み合わせ、ニッケル、コバルト、タングステン、レニウム、コバルト、鉄、ジルコニウム、亜鉛、チタンのタングステン合金、マグネシウム、マグネシウム合金AZ31、20重量%未満の亜鉛またはアルミニウムを伴い、3%未満の鉄、シリコーン、マンガン、コバルト、ニッケル、イットリウム、スカンジウム、または他の希土類金属の1つもしくはそれを上回る不純物を伴わない、または伴うマグネシウム合金、亜鉛またはその合金、ビスマスまたはその合金、インジウムまたはその合金、スズまたはスズ鉛等のその合金、銀または銀スズ合金等のその合金、コバルト鉄合金、鉄、80-55-06グレード延性鋳鉄、他の延性鋳鉄、AISI 1010鋼、AISI 1015鋼、AISI 1430鋼、AISI 8620鋼、AISI 5140鋼、または他の鋼鉄等の鉄含有合金、溶融可融合金(40%ビスマス-60%スズ、58%ビスマス-42%スズ、ビスマス・スズ・インジウム合金等)、ビスマス、インジウム、コバルト、タングステン、ビスマス、銀、銅、鉄、亜鉛、マグネシウム、ジルコニウム、モリブデン、インジウム、スズのうちの1つまたはそれを上回るものを含む合金、または他の材料、もしくはそれらの組み合わせである、付記252または253に記載のステント補綴具。
255. 非分解性材料からパターン化される円周方向リングを有する、足場であって、圧着構成から拡張構成まで拡張するように構成される、足場を備え、円周方向リングのうちの少なくともいくつかは、生理学的環境内の拡張後に該円周方向リングに不連続性を形成するように構成される、少なくとも1つの分離領域を有する、ステント補綴具。
256. 不連続性は、足場が初期拡張を超えてさらに拡張する、1.5%~5%に及ぶ半径方向歪みを有する、または血管拡張剤に応答してさらに拡張することを可能にする、付記255に記載のステント補綴具。
257. 生理学的環境は、水槽、37℃の水、圧力脈動、または身体管腔である、付記256に記載のステント補綴具。
258. 生理学的環境は、身体管腔である、付記255に記載のステント補綴具。
259. 身体管腔は、血管である、付記255に記載のステント補綴具。
260. リングの中の不連続性は、血管が積極的に再形成するにつれて、足場が円周方向に開放することを可能にする、付記255に記載のステント補綴具。
261. 不連続性は、生理学的環境内の円周方向足場の初期拡張から30日~6ヶ月後に形成される、付記255に記載のステント補綴具。
262. 分離領域は、拡張中に固定化されるが、生理学的環境内の初期拡張後に分離するように構成される、キーおよびロック接合点を備える、付記255に記載のステント補綴具。
263. キーおよびロック接合点は、生理学的環境内で分解する材料によってセメント接着される、付記262に記載のステント補綴具。
264. 分離領域は、生理学的環境内で分解する接着剤またはコネクタによって継合される、突き合わせ継手を備える、付記255に記載のステント補綴具。
265. 分離領域は、生理学的環境内で優先的に浸食する切り欠きまたは薄膜化区分を円周方向リングに備える、付記255に記載のステント補綴具。
266. 分離領域は、生理学的環境内で優先的に浸食する修正された粒界を金属円周方向リングに備える、付記255に記載のステント補綴具。
267. 分離領域は、それらの円周にわたって1つまたはそれを上回る部位において円周方向リングを破壊し、生理学的環境内で浸食するように構成される接着剤もしくはポリマーを用いて切れ目を再継合することによって、形成される、付記255に記載のステント補綴具。
268. コネクタは、切れ目に跨架するスリーブまたはリングを備える、付記267に記載のステント補綴具。
269. 分離領域は、円周方向リングの中の切れ目を継合する、リベットまたは他の締結具を備え、締結具は、生理学的実施形態内で浸食する、付記255に記載のステント補綴具。
270. 円周方向リングは、蛇行リングを備える、付記255に記載のステント補綴具。
271. 円周方向リングは、ジグザグリングを備える、付記250に記載のステント補綴具。
272. 非分解性材料は、金属または金属合金を備える、付記255に記載のステント補綴具。
273. 金属は、ステンレス鋼および本明細書に記載される金属から成る群から選択される、付記255に記載のステント補綴具。
274. 少なくともいくつかのリングの上に1つまたはそれを上回る分離領域があり、分離領域は、クラウンおよび/または支柱の上に位置する、付記255に記載のステント補綴具。
275. 分離領域の場所および数は、積極的な管腔再形成を可能にするように構成される、付記255に記載の管腔内補綴具。
276. 加えて、生理学的環境内の展開後のステント補綴具の重量は、積極的な管腔再形成を可能にする、付記274に記載の管腔内補綴具。
277. 分離領域は、生理学的環境内の展開後にステント補綴具の離脱を提供する、付記255に記載の管腔内補綴具。
278. ステント補綴具は、円周方向に離脱する、付記277に記載の管腔内補綴具。
279. 分解性材料からパターン化される円周方向リングを有する、足場であって、圧着構成から拡張構成まで拡張するように構成される、足場を備え、円周方向リングのうちの少なくともいくつかは、生理学的環境内の拡張後に該円周方向リングに不連続性を形成するように構成される、少なくとも1つの分離領域を有する、ステント補綴具。
280. ステントは、3ヶ月~10年に及ぶ周期で分解する、付記279に記載のステント補綴具。
281. ポリマーまたは金属材料からパターン化される円周方向リングを有する、足場であって、圧着構成から拡張構成まで拡張するように構成される、足場を備え、円周方向リングのうちの少なくともいくつかは、生理学的環境内の拡張に先立って該円周方向リングに不連続性を形成する、少なくとも1つの分離領域を有する、ステント補綴具。
282. 非分解性材料からパターン化される円周方向リングを有する、足場を備え、該足場は、圧着構成から拡張構成まで展開するように構成され、該円周方向リングは、足場が展開されるにつれて開放するヒンジを有し、リングのうちの少なくともいくつかの上のヒンジのうちの少なくともいくつかは、展開中に拡張を妨げられ、展開後に、または展開後の内部もしくは外部エネルギーの印加に応答して、生理学的環境内で開放するように構成される、ステント補綴具。
283. 足場は、該ヒンジが開放された後に円周方向にさらに拡張するように解放される、付記282に記載のステント補綴具。
284. 生理学的環境は、水槽、37℃の水、または身体管腔である、付記282に記載のステント補綴具。
285. 生理学的環境は、身体管腔である、付記282に記載のステント補綴具。
286. 身体管腔は、血管である、付記285に記載のステント補綴具。
287. 足場は、血管が積極的に再形成するにつれて開放するように円周方向に解放される、付記286に記載のステント補綴具。
288. ヒンジは、円周方向足場の初期拡張から30日~6ヶ月後に開放する、付記282に記載のステント補綴具。
289. ヒンジは、接着剤、ポリマーフィラメント、およびポリマースリーブのうちの1つまたはそれを上回るものによって締め付けられる、付記282に記載のステント補綴具。
290. 非分解性材料は、本明細書に記載されるような金属または金属合金を備える、付記282に記載のステント補綴具。
291. 非分解性材料からパターン化される円周方向リングを有する、足場を備え、該足場は、圧着構成から拡張構成まで展開するように構成され、該円周方向リングは、足場が展開されるにつれて開放する継手によって接続される支柱を含み、継手のうちの少なくともいくつかは、その拡張構成時の足場がさらに拡張することを可能にするように枢動される、ステント補綴具。
292. ステント補綴具はさらに、非分解性放射線不透過性マーカを備える、独立付記のいずれかに記載のステント補綴具。
293. ステントは、ステントの少なくとも1つの表面上に少なくとも1つのコーティングを備える、独立付記のいずれかに記載のステント補綴具。
294. ステント補綴具は、少なくとも1つの薬物を備える、独立付記のいずれかに記載のステント補綴具。
295. ステントに隣接する組織中薬物濃縮は、ステントを離脱させる時間周期を超えて持続し、ステントの不連続性および/または切れ目を形成する、付記294に記載のステント補綴具。
296. 非分解性材料からパターン化される1つまたはそれを上回る円周方向リングを有する、足場であって、圧着構成から拡張されたより大きい構成まで拡張するように構成される、足場を備え、円周方向リングのうちの1つまたはそれを上回るものは、クラウンによって継合される複数の支柱を備え、支柱および/またはクラウン領域のうちの少なくとも1つは、生理学的環境内の拡張後に該円周方向リングに不連続性を形成するように構成される、少なくとも1つの分離領域を有する、ステント補綴具。
297. 不連続性は、足場が該初期拡張からの反跳後にさらに拡張することを可能にする、付記296に記載のステント補綴具。
298. 生理学的環境は、約37℃の水槽または身体管腔である、付記296に記載のステント補綴具。
299. 生理学的環境は、身体管腔である、付記296に記載のステント補綴具。
300. 身体管腔は、血管または弁輪を備える、付記296に記載のステント補綴具。
301. リングの中の不連続性は、展開後に足場の少なくとも一部が身体管腔内で円周方向に開放することを可能にする、付記300に記載のステント補綴具。
302. 不連続性は、生理学的環境内の円周方向足場の初期拡張から30日~6ヶ月後に形成される、付記296に記載のステント補綴具。
303. 分離領域は、拡張中に固定化されるが、生理学的環境内の初期拡張後に開放するように構成される、キーおよびロック接合点を支柱に備える、付記296に記載のステント補綴具。
304. キーおよびロック接合点は、それらが固定化された後のみ、支柱の継合された区画が半径方向に相互から分離することを可能にするように構成される、付記303に記載のステント補綴具。
305. キーおよびロック接合点は、それらが固定化された後に、支柱の継合された区画が半径方向および軸方向の両方に相互から分離することを可能にするように構成される、付記303に記載のステント補綴具。
306. キーおよびロック接合点は、それらが固定化された後に、支柱の継合された区画が軸方向に相互から分離することを可能にするように構成される、付記303に記載のステント補綴具。
307. キーおよびロック接合点は、生理学的環境内で分解するはんだ、接着剤、またはポリマーによって固定化される、付記303に記載のステント補綴具。
308. キーおよびロック接合点は、生理学的環境内で分解または疲労する材料をともに融合することによって固定化される、付記303に記載のステント補綴具。
309. キーおよびロック接合点は、生理学的環境内で分解する、上を覆うスリーブによって固定化される、付記303に記載のステント補綴具。
310. 分離領域は、
生理学的環境内で分解または疲労する接着剤、はんだ、ポリマー、スリーブ、材料を融合すること、もしくはコネクタによって継合される、突き合わせ継手を備える、付記296に記載のステント補綴具。
311. 分離領域は、生理学的環境内で優先的に浸食または疲労する、切り欠きもしくは薄膜化区分を円周方向リングに備える、付記296に記載のステント補綴具。
312. 分離領域は、生理学的環境内で優先的に浸食または疲労する修正された粒界を金属円周方向リングに備える、付記296に記載のステント補綴具。
313. 分離領域は、それらの円周にわたって1つまたはそれを上回る部位において円周方向リングを破壊し、生理学的環境内で浸食するように構成される接着剤もしくはポリマーを用いて切れ目を再継合することによって、形成される、付記296に記載のステント補綴具。
314. コネクタは、切れ目に跨架するスリーブまたはリングを備える、付記313に記載のステント補綴具。
315. 分離領域は、円周方向リングの中の切れ目を継合する、リベットまたは他の締結具を備え、締結具は、生理学的実施形態内で浸食する、付記296に記載のステント補綴具。
316. 円周方向リングは、蛇行リングを備える、付記296に記載のステント補綴具。
317. 円周方向リングは、ジグザグリングを備える、付記296に記載のステント補綴具。
318. 円周方向リングは、閉鎖リングタイプ設計を備える、付記296に記載のステント補綴具。
319. 非分解性材料は、金属または金属合金を備える、付記296に記載のステント補綴具。
320. 足場はさらに、足場の少なくとも1つの表面上にコーティングを備える、付記296に記載のステント補綴具。
321. 足場はさらに、足場の少なくとも1つの表面上にコーティングを備え、コーティングは、薬物を備える、付記296に記載のステント補綴具。
322. 拡張構成時の足場は、身体管腔を支持するために十分な強度を有する、付記296に記載のステント補綴具。
323. 非分解性材料からパターン化される円周方向リングを有する、足場であって、圧着構成から拡張されたより大きい構成まで拡張するように構成される、足場を備え、円周方向リングのうちの少なくともいくつかは、クラウンによって継合される複数の支柱を備え、支柱および/またはクラウンのうちの少なくともいくつかは、少なくとも1つの分離領域を有し、支柱は、生理学的環境内で分解するであろう、はんだ、ポリマー、スリーブ、または接着剤によって固定化される、事前形成された切れ目を有する、ステント補綴具。
324. 分離領域は、拡張中に固定化されるが、生理学的環境内の初期拡張後に開放するように構成される、キーおよびロック接合点を支柱ならびに/またはクラウンに備える、付記323に記載のステント補綴具。
325. キーおよびロック接合点は、それらが固定化された後のみ、支柱ならびに/またはクラウンの継合された区画が半径方向に相互から分離することを可能にするように構成される、付記324に記載のステント補綴具。
326. キーおよびロック接合点は、それらが固定化された後に、支柱ならびに/またはクラウンの継合された区画が半径方向および/もしくは軸方向に相互から分離することを可能にするように構成される、付記324に記載のステント補綴具。
327. キーおよびロック接合点は、生理学的環境内で分解するセメントによって固定化される、付記324に記載のステント補綴具。
328. キーおよびロック接合点は、生理学的環境内で分解する、上を覆うスリーブによって固定化される、付記324に記載のステント補綴具。
329. 円周方向リングは、蛇行リングを備える、付記323に記載のステント補綴具。
330. 円周方向リングは、ジグザグリングを備える、付記323に記載のステント補綴具。
331. 円周方向リングは、閉鎖セル(リング)タイプ設計を備える、付記323に記載のステント補綴具。
332. 非分解性材料は、金属または金属合金を備える、付記323に記載のステント補綴具。
333. 金属または金属合金は、ステンレス鋼、コバルトクロム合金、白金合金、および本明細書に記載される他の金属ならびに金属合金から成る群から選択される、付記323に記載のステント補綴具。
334. 各リング上の少なくとも1つの支柱および/またはクラウンは、分離領域を有する、付記323に記載のステント補綴具。
335. 各リング上の少なくとも2つの支柱および/またはクラウンは、分離領域を有する、付記323に記載のステント補綴具。
336. 各リング上の少なくとも3つの支柱および/またはクラウンは、分離領域を有する、付記323に記載のステント補綴具。
337. 各リング上の少なくとも4つの支柱および/またはクラウンは、分離領域を有する、付記323に記載のステント補綴具。
338. 各リング上の実質的に全ての支柱および/またはクラウンは、分離領域を有する、付記323に記載のステント補綴具。
339. 全てのクラウンおよびリンクは、分離領域を含まない、付記334に記載のステント補綴具。
340. 全てのリンクは、分離領域を含まない、付記334に記載のステント補綴具。
341. 各2つの隣接するリングを接続する、少なくとも1つのリンクは、分離領域を含まない、付記334に記載のステント補綴具。
342. 各2つの隣接するリングを接続する、少なくとも2つのリンクは、分離領域を含まない、付記334に記載のステント補綴具。
343. 各2つの隣接するリングを接続する、少なくとも3つのリンクは、分離領域を含まない、付記334に記載のステント補綴具。
344. 各2つの隣接するリングを接続する、少なくとも4つのリンクは、分離領域を含まない、付記334に記載のステント補綴具。
345. 各リングは、2~4つのリンクに及ぶリンクによって隣接するリングに接続され、該リンクは、分離領域を含まない、付記334に記載のステント補綴具。
346. 各リングの少なくとも1つのクラウン領域は、はんだ、融合、または溶融によって、別のリング上の隣接するクラウン領域に継合され、該クラウン領域は、少なくとも1つのリングを離脱させる、分離領域を有する、付記334に記載のステント補綴具。
347. 各リングの少なくとも2つのクラウン領域は、はんだ、融合、または溶融によって、別のリング上の隣接するクラウン領域に継合され、該クラウン領域は、円周方向に2つの隣接するリングを離脱させる、分離領域を有する、付記334に記載のステント補綴具。
348. 隣接するリングは、1つまたはそれを上回る場所で継合もしくは連結され、リンクは、分離領域が分離するときに無傷である、付記334に記載のステント補綴具。
349. 隣接するリングは、リンクが閉鎖セル設計を形成しないように、全てではないが1つまたはそれを上回る場所で継合もしくは連結され、リンクは、分離領域が分離するときに無傷である、付記334に記載のステント補綴具。
350. 各リング上の少なくとも1つの支柱および/またはクラウンは、分離領域を有し、ステントは、円周方向に離脱し、かつステント縦方向に離脱する一方で、リンクは、実質的に無傷である、付記323に記載のステント補綴具。
351. 各リング上の少なくとも1つの支柱および/またはクラウンは、分離領域を有し、ステントの各リングは、円周方向に離脱し、ステントは、縦方向に離脱し、ステント補綴具は、1~4つの縦方向区分から分離する、付記323に記載のステント補綴具。
352. 各リング上の少なくとも1つの支柱および/またはクラウンは、分離領域を有し、ステントは、円周方向に離脱し、かつ軸方向リンクを実質的に無傷に保ちながらステント縦方向に離脱し、ステント補綴具は、1~4つの縦方向区分から分離する、付記323に記載のステント補綴具。
353. 各リング上の少なくとも1つの支柱および/またはクラウンは、分離領域を有し、ステントは、円周方向に離脱し、軸方向リンクを実質的に無傷に保ちながら、1~5つの隣接するリングに跨架する縦方向にステントを分離し、ステントは、該隣接するリングの2~4つの区分から分離する、付記323に記載のステント補綴具。
354. 各リング上の少なくとも1つの支柱および/またはクラウンは、分離領域を有し、ステントは、円周方向に離脱し、縦方向におけるステントは、実質的に無傷のままである、付記323に記載のステント補綴具。
355. 各リング上の少なくとも1つの支柱および/またはクラウンは、分離領域を有し、ステントは、円周方向に離脱し、縦方向におけるステントは、実質的に無傷のままであり、軸方向リンクは、維持される、付記323に記載のステント補綴具。
356. 各リング上の少なくとも1つの支柱および/またはクラウンは、分離領域を有し、各リング上の少なくとも1つの分離領域は、各リングに不連続性を形成し、縦方向におけるステントは、実質的に無傷のままであり、軸方向リンクは、維持される、付記323に記載のステント補綴具。
357. 各リング上の少なくとも2つの支柱および/またはクラウンは、分離領域を有し、各リング上の少なくとも2つの分離領域は、各リングに少なくとも2つの不連続性を形成し、縦方向におけるステントは、実質的に無傷のままである、付記323に記載のステント補綴具。
358. 各リング上の少なくとも3つの支柱および/またはクラウンは、分離領域を有し、各リング上の少なくとも3つの分離領域は、各リングに少なくとも3つの不連続性を形成し、縦方向におけるステントは、実質的に無傷のままである、付記323に記載のステント補綴具。
359. 各リング上の少なくとも1つの支柱および/またはクラウンは、分離領域を有し、各リング上の少なくとも1つの分離領域は、該リングに不連続性を形成し、該ステントは、1つまたはそれを上回る別個の縦方向区分を有し、リンクは、縦方向にステントを接続して実質的に無傷である、付記323に記載のステント補綴具。
360. 分離領域の場所および数は、1%~5%のステント半径方向歪み、第1の拡張構成からの内向き反跳後のステントのさらなる拡張、円周方向へのステントの離脱、ステントが血管拡張剤または血管収縮剤に応答する(拡張もしくは収縮する)ことを可能にすること、または積極的な管腔再形成のうちの1つもしくはそれを上回るものを可能にするように構成される、付記334に記載のステント補綴具。
361. 加えて、生理学的環境内の展開後のステント補綴具の重量は、積極的な管腔再形成を可能にする、付記339に記載のステント補綴具。
362. 分離領域は、生理学的環境内の展開後にステント補綴具の離脱を提供する、付記323に記載のステント補綴具。
363. ステント補綴具は、円周方向に離脱する、付記362に記載のステント補綴具。
364. 非分解性材料からパターン化される円周方向リングを有する、足場であって、圧着構成から拡張構成まで拡張するように構成される、足場を備え、円周方向リングのうちの少なくともいくつかは、クラウンによって継合される複数の支柱を備え、クラウンのうちの少なくともいくつかは、生理学的環境内で分解するであろう、スリーブまたは接着剤によって固定化される、少なくとも1つの分離領域を有する、ステント補綴具。
365. 分離領域は、スリーブまたは接着剤材料の分解後に足場が離脱することを可能にする、薄膜化領域をクラウンに備える、付記364に記載のステント補綴具。
366. 分離領域は、スリーブまたは接着剤材料の分解後に足場が離脱することを可能にする、切れ目をクラウンに備える、付記362に記載のステント補綴具。
367. 分解性材料からパターン化される円周方向リングを有する、足場であって、圧着構成から拡張構成まで拡張するように構成される、足場を備え、円周方向リングのうちの少なくともいくつかは、クラウンによって継合される複数の支柱を備え、支柱および/またはクラウンのうちの少なくともいくつかは、生理学的環境内で分解するであろう、はんだ、ポリマー、スリーブ、もしくは接着剤によって固定化される、少なくとも1つの分離領域を有する、ステント補綴具。
368. 分解性材料は、ポリマーまたは金属である、付記367に記載のステント補綴具。
369. 分解性材料は、金属または金属合金である、付記367に記載のステント補綴具。
370. 足場の円周を画定する複数のリングを有する、非分解性材料を備える足場であって、圧着構成から拡張されたより大きい構成まで拡張するように構成される、足場を備え、円周方向リングのうちの少なくとも1つは、足場の円周を中心として円周方向経路を辿り、足場がその拡張構成であるときに、該経路に少なくとも1つの間隙を有し、隣接するリングは、足場がその拡張構成であるときに、足場の全ての部分が接続されたままであるように軸方向に連結される、ステント補綴具。
371. 各リングは、足場の円周を画定する、付記370に記載のステント補綴具。
372. 円周方向リングのうちの少なくともいくつかは、足場の円周を中心として円周方向経路を辿り、各リングの該経路に少なくとも1つの間隙を有する、付記370に記載のステント補綴具。
373. 間隙は、足場がその圧着構成であるときにリング内で開放している、付記370に記載のステント補綴具。
374. リング内の間隙は、足場がその拡張構成であるときにさらに開放する、付記373に記載のステント補綴具。
375. 間隙は、足場がその拡張構成であった後のみ、リング内で開放している、付記370に記載のステント補綴具。
376. 円周方向リング内の間隙は、回転交互配置される、付記370に記載のステント補綴具。
377. 各リング内で対称に離間される1つを上回る間隙が円周方向リングのそれぞれの中にある、付記370に記載のステント補綴具。
378. 隣接するリングから回転オフセットされる1つを上回る間隙が円周方向リングのそれぞれの中にある、付記370に記載のステント補綴具。
379. 隣接するリングから45度~90度だけ回転オフセットされる1つを上回る間隙が円周方向リングのそれぞれの中にある、付記370に記載のステント補綴具。
380. 円周方向リングは、交互配置間隙パターンから回転オフセットされる、交互配置パターンで軸方向に連結される、付記375に記載の血管内補綴具。
381. 円周方向リングは、蛇行リングを備える、付記370に記載の血管内補綴具。
382. 円周方向リングは、ジグザグリングを備える、付記370に記載の血管内補綴具。
383. 円周方向リングは、閉鎖セルリングを備える、付記370に記載の血管内補綴具。
384. 非分解性材料は、金属または金属合金を備える、付記370に記載の血管内補綴具。
385. 円周方向リングは、クラウンによって継合される複数の支柱を備える、付記370に記載の血管内補綴具。
386. 間隙は、クラウン領域の中に存在する、付記385に記載の血管内補綴具。
387. 間隙は、支柱領域の中に存在する、付記370に記載の血管内補綴具。
388. 間隙は、クラウンおよび支柱領域に跨架する、付記370に記載の血管内補綴具。
389. 間隙は、支柱領域の中に存在し、間隙に隣接する支柱端部領域は、丸みを帯びている、付記370に記載のステント補綴具。
390. 間隙は、支柱領域の中に存在し、間隙に隣接する少なくとも1つの支柱領域は、同一または隣接するリングに接続される、付記370に記載のステント補綴具。
391. 間隙は、支柱領域の中に存在し、間隙に隣接する支柱は、少なくともある支柱長に沿って重複する、付記370に記載のステント補綴具。
392. 間隙は、クラウンおよび/または支柱領域の中に存在する、付記385に記載のステント補綴具。
393. 間隙は、クラウン領域の中に存在し、間隙に隣接するクラウンは、少なくともあるクラウンの長に沿って重複する、付記385に記載のステント補綴具。
394. 間隙は、クラウン領域の中に存在し、間隙に隣接する少なくとも1つのクラウン領域は、同一または隣接するリングに接続される、付記385に記載のステント補綴具。
395. 拡張構成時のステントは、身体管腔を支持するために十分な強度を有する、付記370に記載のステント補綴具。
396. 拡張構成までの展開後のステント強度は、実質的に同一のままである、付記370に記載のステント。
397. 展開後のステントパターンは、実質的に同一のままである、付記370に記載のステント補綴具。
398. ステントはさらに、放射線不透過性マーカを備える、付記370に記載のステント補綴具。
399. ステントは、展開後に身体管腔を離脱させる、付記370に記載のステント補綴具。
400. ステントは、展開後に血管拡張または血管収縮が可能である、付記370に記載のステント補綴具。
401. 足場は、収縮期/拡張期圧力循環を受けたときに、1%~5%のコンプライアンス(半径方向歪み)を示す、付記370に記載のステント補綴具。
402. 足場の円周を画定する複数のリングを有する、分解性材料を備える足場であって、圧着構成から拡張されたより大きい構成まで拡張するように構成される、足場を備え、円周方向リングのうちの少なくとも1つは、足場の円周を中心として円周方向経路を辿り、足場がその拡張構成であるときに、該経路に少なくとも1つの間隙を有し、隣接するリングは、足場がその拡張構成であるときに、足場の全ての部分が接続されたままであるように軸方向に連結される、ステント補綴具。
403. 分解性材料は、ポリマーまたは金属材料である、付記402に記載のステント補綴具。
404. 軸方向リンクのうちの少なくともいくつかは、間隙に隣接する支柱および/またはクラウン領域を同一もしくは異なるリングに接続する、付記370または402に記載のステント補綴具。
405. 足場は、収縮期/拡張期圧力循環を受けたときに、0.1mm~0.5mmに及ぶ半径方向収縮および/または拡張変位を示す、付記370に記載のステント補綴具。
406. 軸方向リンクは、隣接するリング上で、支柱領域を支柱領域に、支柱領域をクラウン領域に、クラウン領域をクラウン領域に接続する、付記370または402に記載のステント補綴具。
407. 足場の円周を画定する複数のリングを有する、非分解性材料を備える足場であって、圧着構成から拡張されたより大きい構成まで拡張するように構成される、足場を備え、円周方向リングのうちの少なくとも1つは、足場の円周を中心として円周方向経路を辿り、該経路に少なくとも1つの生分解性区画を有し、隣接するリングは、足場内の生分解性区画が分解した後に、足場の全ての部分が接続されたままであるように軸方向に連結される、ステント補綴具。
408. 生分解性区画は、架橋要素である、付記407に記載のステント補綴具。
409. 各リングは、足場の円周を画定する、付記407に記載のステント補綴具。
410. 円周方向リングのうちの少なくとも1つは、足場の円周を中心として円周方向経路を辿り、各リングの該経路に少なくとも1つの間隙を有する、付記407に記載のステント補綴具。
411. 該生分解性区画を伴わない少なくとも1つのリングは、該リング経路に間隙または不連続性を有するであろう、付記407に記載のステント補綴具。
412. 生分解性区画は、足場が拡張されている間に無傷のままであるように、かつ区画が分解した後にリングに間隙または不連続性を形成するように構成される、付記407に記載のステント補綴具。
413. 足場は、血管環境内で拡張され、区画が血管環境内で分解した後にリングに間隙を形成する、付記407に記載のステント補綴具。
414. 生分解性区画は、30日~2年の範囲内の時間周期にわたって血管環境内で実質的に分解するように構成される、付記407に記載のステント補綴具。
415. 生分解性区画は、30日~1年の範囲内の時間周期にわたって血管環境内で実質的に分解するように構成される、付記407に記載のステント補綴具。
416. 生分解性区画は、30日~9ヶ月の範囲内の時間周期にわたって血管環境内で実質的に分解するように構成される、付記407に記載のステント補綴具。
417. 円周方向リング内の生分解性区画は、回転交互配置される、付記407に記載のステント補綴具。
418. 円周方向リングは、交互配置間隙パターンから回転オフセットされる、交互配置パターンで軸方向に連結される、付記417に記載のステント補綴具。
419. 円周方向リングは、蛇行リングを備える、付記407に記載のステント補綴具。
420. 円周方向リングは、ジグザグリングを備える、付記407に記載のステント補綴具。
421. 円周方向リングは、閉鎖セル設計を備える、付記407に記載のステント補綴具。
422. 非分解性材料は、金属または金属合金を備える、付記407に記載のステント補綴具。
423. 生分解性区画は、生分解性ポリマーを備える、付記422に記載のステント補綴具。
424. 円周方向リングは、クラウンによって継合される複数の支柱を備える、付記407に記載のステント補綴具。
425. 生分解性区画は、クラウン領域の中に存在する、付記423に記載のステント補綴具。
426. 生分解性区画は、支柱領域の中に存在する、付記407に記載のステント補綴具。
427. 生分解性区画は、クラウンおよび支柱に跨架する、付記407に記載のステント補綴具。
428. 生分解性区画は、支柱領域中の間隙または不連続性に架橋する、付記407に記載のステント補綴具。
429. 生分解性区画は、クラウン領域中の間隙または不連続性に架橋する、付記407に記載のステント補綴具。
430. 生分解性区画は、少なくとも1つの支柱領域およびクラウン領域に跨架する間隙または不連続性に架橋する、付記407に記載のステント補綴具。
431. 支柱および/またはクラウン領域中の間隙もしくは不連続性に架橋する生分解性区画は、非分解性支柱および/またはクラウン領域の少なくとも一部に重複する、付記407に記載のステント補綴具。
432. 支柱および/またはクラウン領域中の間隙もしくは不連続性に架橋する生分解性区画は、非分解性支柱および/またはクラウン領域の少なくとも一部を含有する、付記407に記載のステント補綴具。
433. 非分解性支柱および/またはクラウン領域は、生分解性区画の少なくとも一部を含有する、付記407に記載のステント補綴具。
434. 支柱および/またはクラウン領域中の間隙もしくは不連続性に架橋する生分解性区画は、非分解性支柱および/またはクラウン領域と突き合わせ継手を形成する、付記407に記載のステント補綴具。
435. 支柱および/またはクラウン領域中の間隙もしくは不連続性に架橋する生分解性区画は、非分解性支柱および/またはクラウン領域と分離領域を形成する、付記407に記載のステント補綴具。
436. 支柱および/またはクラウン領域中の間隙もしくは不連続性に架橋する生分解性区画は、非分解性支柱および/またはクラウン領域と分離領域を形成し、分離領域は、キーおよびロック分離領域またはキータイプ分離領域を備える、付記407に記載のステント補綴具。
437. 足場は、収縮期/拡張期圧力循環を受けたときに、生分解性区画を伴わないその拡張構成時に、1%~5%のコンプライアンスを示す、付記407に記載のステント補綴具。
438. 足場は、収縮期/拡張期圧力循環を受けたときに、生分解性区画が分解した後のその拡張構成時に、1%~5%のコンプライアンスを示す、付記407に記載のステント補綴具。
439. 足場は、収縮期/拡張期圧力循環を受けたときに、定位置に生分解性区画を伴うその拡張構成時に、1.2%~5%、多くの場合、1.5%~3%のコンプライアンスを示す、付記407に記載のステント補綴具。
440. 軸方向リンクのうちの少なくともいくつかは、隣接するリング上の生分解性区画に隣接する支柱および/またはクラウン領域を接続する、付記407に記載のステント補綴具。
441. 足場は、収縮期/拡張期圧力循環を受けたときに、0.1mm~0.5mmに及ぶ半径方向収縮および/または拡張変位を示す、付記407に記載のステント補綴具。
442. 軸方向リンクは、2つの隣接するリング上で、支柱領域を支柱領域に、支柱領域をクラウン領域に、クラウン領域をクラウン領域に接続する、付記407に記載のステント補綴具。
443. 2つの隣接するクラウンを接続する軸方向リンクは、両方のクラウンの頂点領域を接続することによって形成される、付記407に記載のステント補綴具。
444. 軸方向リンクは、2つの隣接するクラウン領域を継合することによって形成される、付記407に記載のステント補綴具。
445. 足場の円周を画定する複数のリングを有する、分解性材料を備える足場であって、圧着構成から拡張されたより大きい構成まで拡張するように構成される、足場を備え、円周方向リングのうちの少なくとも1つは、足場の円周を中心として円周方向経路を辿り、該経路に少なくとも1つの生分解性区画を有し、隣接するリングは、ステントの展開に応じて、足場の全ての部分が接続されたままであるように軸方向に連結される、ステント補綴具。
446. 分解性材料は、ポリマー、金属、または金属合金を備える、付記445に記載のステント補綴具。
447. 分解性材料は、生分解性区画よりも遅い速度で分解する、付記445に記載のステント補綴具。
448. 分解性材料が、2年~10年に及ぶ周期で分解する一方で、生分解性区画は、30日~1年に及ぶ周期で分解する、付記445に記載のステント補綴具。
449. 拡張構成時のステントは、身体管腔を支持するために十分な強度を有する、付記407に記載のステント補綴具。
450. 生分解性区画の分解後のステント強度は、減少する、付記407に記載のステント補綴具。
451. 生分解性区画の分解後のステントパターンは、実質的に類似のままである、付記407に記載のステント補綴具。
452. ステントはさらに、放射線不透過性マーカを備える、付記407に記載のステント補綴具。
453. ステントは、生分解性区画の分解後に身体管腔を離脱させる、付記407に記載のステント補綴具。
454. ステントは、展開後または生分解性区画の分解後に血管拡張もしくは血管収縮が可能である、付記407に記載のステント補綴具。
455. 少なくともいくつかのリングは、それぞれ少なくとも2つの生分解性区画を有する、付記407に記載のステント補綴具。
456. 少なくともいくつかのリングは、それぞれ少なくとも3つの生分解性区画を有する、付記407に記載のステント補綴具。
457. 実質的に全てのリングは、少なくとも1つの生分解性区画を有する、付記407に記載のステント補綴具。
458. 生分解性区画長は、隣接する支柱および/またはクラウン領域と実質的に同一である、それよりも長い、もしくはそれよりも短い、付記407に記載のステント補綴具。
459. 生分解性区画は、クラウン形状、支柱形状、クラウン領域形状、または支柱領域形状を有する、付記407に記載のステント補綴具。
460. 生分解性区画は、不連続性または間隙に架橋し、不連続性または間隙規模は、0~2mmに及ぶ、付記407に記載のステント補綴具。
461. コーティングは、生分解性区画の少なくとも一部を被覆する、付記407に記載のステント補綴具。
462. ステントは、少なくとも1つの薬物を備える、付記407に記載のステント補綴具。
463. スリーブは、生分解性区画および非分解性材料の少なくとも一部を被覆する、付記407に記載のステント補綴具。
464. 血管内補綴具を作製する方法であって、足場の円周を画定する複数のリングを有する、第1の足場を加工するステップであって、複数のリングは、非分解性材料から形成される、ステップと、足場の円周を画定する複数のリングを有する、第2の足場を加工するステップであって、複数のリングは、生分解性材料から形成され、第1および第2の足場は、同じ幾何学形状を有する、ステップと、第1の足場のリングのうちの少なくともいくつかの一部に間隙を形成するステップと、第2の足場から区画を切断するステップであって、区画は、第1の足場内の間隙を充填するように選択される、ステップと、第2の足場から切断される区画を第1の足場に形成される間隙の中へ固着するステップとを含む、方法。
465. 生分解性区画は、足場が血管環境内で拡張されている間に無傷のままであるように、かつ区画が血管環境内で分解した後にリングに間隙を形成するように構成される、付記464に記載の血管内補綴具を作製する方法。
466. 生分解性区画は、30日~2年の範囲内の時間周期にわたって血管環境内で分解するように選択される、付記464に記載の血管内補綴具を作製する方法。
467. 第1の足場の円周方向リング内の間隙は、回転交互配置される、付記464に記載の血管内補綴具を作製する方法。
468. 第1の足場内の円周方向リングは、交互配置間隙パターンから回転オフセットされる、交互配置パターンで軸方向に連結される、付記467に記載の血管内補綴具を作製する方法。
469. 第1の足場内の円周方向リングは、蛇行リングを備える、付記464に記載の血管内補綴具を作製する方法。
470. 第1の足場内の円周方向リングは、ジグザグリングを備える、付記464に記載の血管内補綴具を作製する方法。
471. 非分解性材料は、金属を備える、付記464に記載の血管内補綴具を作製する方法。
472. 生分解性材料は、生分解性ポリマーを備える、付記472に記載の血管内補綴具を作製する方法。
473. 円周方向リングは、クラウンによって継合される複数の支柱を備える、付記464に記載の血管内補綴具を作製する方法。
474. 間隙は、クラウンの中に存在する、付記473に記載の血管内補綴具を作製する方法。
475. 間隙は、支柱の中に存在する、付記464に記載の血管内補綴具を作製する方法。
476. 間隙は、クラウンおよび支柱に跨架する、付記464に記載の血管内補綴具を作製する方法。
477. 足場は、収縮期/拡張期圧力循環を受けたときに、生分解性区画を伴わないその拡張構成時に、1%~5%、多くの場合、1.5%~3%のコンプライアンスを示す、付記464に記載の血管内補綴具を作製する方法。
478. 足場は、収縮期/拡張期圧力循環を受けたときに、定位置に生分解性区画を伴うその拡張構成時に、1.2%~5%のコンプライアンスを示す、付記477に記載の血管内補綴具。
螺旋ステント
479. 複数のクラウンによって継合される複数の支柱を有する、螺旋骨格を備え、螺旋骨格は、複数の隣接する巻目を含み、隣接する巻目のうちの少なくともいくつかは、分離領域によって相互に取り付けられる、管腔内補綴具。
480. 分離領域は、螺旋骨格の直接隣接する巻目の間に配置される、付記479に記載の管腔内補綴具。
481. 分離領域は、隣接するクラウン対の間に配置される、付記480に記載の管腔内補綴具。
482. 分離領域は、1つの巻目上のクラウンと隣接する巻目上の支柱との間で支柱の上に配置される、付記480に記載の管腔内補綴具。
483. 分離領域は、隣接する支柱対の間で支柱の上に配置される、付記480に記載の管腔内補綴具。
484. 螺旋骨格は、蛇行配列を有する、付記479に記載の管腔内補綴具。
485. 螺旋骨格は、ジグザグ配列を有する、付記479に記載の管腔内補綴具。
486. 螺旋骨格は、屈曲ワイヤから形成される、付記479に記載の管腔内補綴具。
487. 螺旋骨格は、パターン化された管から形成される、付記479に記載の管腔内補綴具。
488. 分離領域は、本明細書に説明される分離領域のうちのいずれかを備える、付記479に記載の管腔内補綴具。
重複平行要素
489. 非分解性材料から形成される円周方向リングを有する、足場であって、圧着構成から拡張構成まで拡張するように構成される、足場を備え、円周方向リングのうちの少なくともいくつかは、足場がその圧着構成であるときに、重複し、相互に隣接して位置する、分割領域を有する、構造要素から形成される、管腔内補綴具。
490. 重複し、相互に隣接して位置する、隣接する領域は、直線状である、付記490に記載の管腔内補綴具。
491. 直線状の隣接する領域は、足場がその拡張構成まで拡張されるときに、相互から分離する、付記490に記載の管腔内補綴具。
492. 直線状の隣接する領域は、生理学的環境内の展開に先立って、足場がその圧着構成であるときに、生理学的環境内で分解するであろうスリーブまたは接着剤によって固定化される、付記490に記載の管腔内補綴具。
493. 直線状の隣接する領域は、クラウンによって継合される複数の支柱を備える、付記490に記載の管腔内補綴具。
494. 重複し、相互に隣接して位置する、隣接する領域は、曲線状である、付記489に記載の管腔内補綴具。
495. 相互に重複および隣接する、曲線状の隣接する領域は、足場がその拡張構成まで拡張されるときに、変形する、付記489に記載の管腔内補綴具。
496. 曲線状の隣接する領域は、生理学的環境内の展開に先立って、足場がその圧着構成であるときに、生理学的環境内で分解するであろうスリーブまたは接着剤によって固定化される、付記494に記載の管腔内補綴具。
497. 曲線状の隣接する領域は、支柱によって継合される複数のクラウンを備える、付記490に記載の管腔内補綴具。
円周方向に連結された閉鎖セル
498. 非分解性材料から形成される円周方向リングを有する、足場であって、圧着構成から拡張構成まで拡張するように構成される、足場を備え、円周方向リングのうちの少なくともいくつかは、拡張可能閉鎖セル構造として形成され、該拡張可能閉鎖セル構造は、円周方向に継合され、円周方向リングのうちの少なくともいくつかは、管腔環境内の展開後に該円周方向リングに不連続性を形成するように構成される分離領域を有する、管腔内補綴具。
499. 閉鎖セルは、対向軸方向側面および対向円周方向側面を有する、四角形を備え、円周方向に隣接する閉鎖セルの軸方向側面を継合する、円周方向コネクタをさらに備え、分離領域は、円周方向コネクタの中にある、付記498に記載の管腔内補綴具。
500. 軸方向に隣接する円周方向リング内の閉鎖セルのうちの少なくともいくつかは、軸方向リンクによって継合される、付記498に記載の管腔内補綴具。
501. 足場内の各一対の軸方向に隣接する円周方向リングの間の少なくとも1つの軸方向リンクは、管腔環境内の展開後に、不連続性が円周方向コネクタ内の分離領域に形成された後に、足場の全ての円周方向リングが継合されたままであるように、埋込後に無傷のままであるように構成される、付記498に記載の管腔内補綴具。
502. 身体管腔内の該補綴具の埋込後に形成する不連続性は、血管内の埋込後に収縮期/拡張期圧力循環を受けたときに、足場が、1%~5%、多くの場合、1.2%~3%のコンプライアンスを示すことを可能にする、付記498に記載の管腔内補綴具。
503. 閉鎖セルは、共通交差部材から形成される、密接に充塞した四角形を備え、分離領域は、共通交差部材の中にある、付記498に記載の管腔内補綴具。
504. 分離領域は、管腔環境内の埋込に応答して分解するように構成される、付記498に記載の管腔内補綴具。
505. 分離領域は、血管内の埋込後の収縮期/拡張期圧力循環に応答して疲労および分解するように構成される、付記504に記載の管腔内補綴具。
506. 分離領域は、印加されたエネルギーに応答して優先的に疲労および破損する、切り欠きまたは薄膜化領域を円周方向リングに備える、付記505に記載の管腔内補綴具。
507. 分離領域は、外部から印加されたエネルギー源に応答して疲労するように構成される、付記498に記載の管腔内補綴具。
508. 分離領域は、円周方向リングに形成されるキーおよびロック接合点を備え、該キーおよびロック接合点は、拡張中に固定化されるが、印加されたエネルギーに応答して開放するように構成される、付記498に記載の管腔内補綴具。
509. 分離領域は、円周方向要素の中の切れ目を継合し、印加されたエネルギーに応答して開放するように構成される、リベットまたは他の締結具を備える、付記498に記載の管腔内補綴具。
510. 非分解性材料は、金属または金属合金を備える、付記498に記載の管腔内補綴具。
511. 構造要素を含む、非分解性パターン化円周方向足場を備え、該構造要素は、足場が圧着構成から第1の拡張構成まで半径方向に拡張されるにつれて塑性的に変形するように構成される拡張領域を有し、構造要素は、第1の拡張構成からの内向き反跳後に、足場が第2のより大きい構成まで受動的に拡張することを可能にするように構成され、足場は、少なくとも初期時間周期にわたって身体管腔を支持するために十分な強度を留保する、ステント補綴具。
512. 時間周期は、30日~9ヶ月に及ぶ、付記511に記載のステント補綴具。
513. 時間周期は、少なくとも30日である、付記511に記載のステント補綴具。
514. 時間周期は、展開日の後から9ヶ月の範囲内である、付記511に記載のステント補綴具。
515. 拡張領域は、分離領域を備える、付記511に記載のステント補綴具。
516. 分離領域は、間隙、架橋要素、制御された切れ目、スリーブによって継合される隣接する支柱、スリーブによって継合される隣接するクラウン、ならびに/またはキーおよびロック領域のうちの1つもしくはそれを上回るものから成る群から選択される、付記515に記載のステント補綴具。
517. 拡張領域は、生理学的循環の下で脆弱化するように構成される、付記511に記載のステント補綴具。
518. 生理学的循環の下で脆弱化するように構成される拡張領域は、空洞化クラウン領域、空洞化支柱領域、および予測可能疲労特性を有する金属から成る群から選択される、付記517に記載のステント補綴具。
519. 生理学的循環の下で脆弱化するように構成される拡張領域は、分解性材料で充填される空洞化クラウン領域、または分解性材料で充填される空洞化支柱領域を備える、付記518に記載のステント補綴具。
520. 構造要素は、収縮期/拡張期循環後に足場が第2のより大きい構成まで受動的に拡張することを可能にするように構成される、付記511に記載のステント補綴具。
521. 収縮期/拡張期循環は、2~30Hzの割合で少なくとも40mmHGの圧力差を備える、付記520に記載のステント補綴具。
522. パターン化円周方向足場は、複数の軸方向に継合された円周方向リングを備える、付記511に記載のステント補綴具。
523. 円周方向リングは、蛇行またはジグザグパターンでクラウンによって継合される支柱を備える、付記522に記載のステント補綴具。
524. パターン化円周方向足場は、複数の円周方向に継合された閉鎖セルを備える、付記511に記載のステント補綴具。
525. 第2のより大きい構成は、第1の拡張構成よりも大きい、付記511に記載のステント補綴具。
526. 足場は、バルーン展開可能である、付記511に記載のステント補綴具。
527. 足場は、体温において展開可能である、付記511に記載のステント補綴具。
528. ステントは、近位区画と、中間区画と、遠位区画とを備え、ステントは、ステントの少なくとも1つの区画内で第2のより大きい構成まで拡張する、付記511に記載のステント補綴具。
529. 拡張領域のうちの少なくともいくつかは、非分解性金属または金属合金を備える、付記511に記載のステント補綴具。
530. ステントはさらに、放射線不透過性マーカを備える、付記511に記載のステント補綴具。
531. ステントは、少なくとも1つの薬物を備える、付記511に記載のステント補綴具。
532. ステントは、ステントの少なくとも1つの表面上に少なくとも1つのコーティングを備える、付記511に記載のステント補綴具。
533. 足場は、管状本体からパターン化されている、付記511に記載のステント補綴具。
534. 足場は、3ヶ月~3年の範囲内の周期にわたって管腔環境内で分解する材料を備える、付記511に記載のステント補綴具。
535. 分解性材料は、ポリマー材料を備える、付記534に記載のステント補綴具。
536. 分解性材料は、金属または金属合金を備える、付記534に記載のステント補綴具。
537. 足場は、ステントが身体管腔内で拡張された後に、患者への血管拡張剤の導入に応答して、第2のより大きい構成まで拡張するように構成される、少なくとも1つの区画を有する、付記511に記載のステント補綴具。
538. 足場は、患者への血管拡張剤の導入後に、より大きい第2の構成が実質的に維持されるように構成される、付記537に記載のステント補綴具。
539. 第2の拡張構成は、0.05mm~1mmの範囲内の距離だけ第1の拡張構成よりも大きい、付記511に記載のステント補綴具。
540. 構造要素を含む、非分解性パターン化円周方向足場を備え、該構造要素は、足場が圧着構成から第1の拡張構成まで半径方向に拡張されるにつれて塑性的に変形するように構成される拡張領域を有し、足場は、ステントが体内で拡張された後に1.2%~7%の範囲内の半径方向歪みを有するように、かつ身体管腔を支持するために十分な強度を留保するように構成される、ステント補綴具。
541. 足場は、1.5%~7%の範囲内の展開後の内向き反跳を有するように構成される、付記540に記載のステント補綴具。
542. 足場は、該範囲内の半径方向歪みまで増加する前に、1%またはそれ未満の展開後の初期半径方向歪みを有するように構成される、付記540に記載のステント補綴具。
543. 半径方向歪みは、展開後の2ヶ月~1年以内に該範囲内の値に達する、付記540に記載のステント補綴具。
544. 半径方向歪みの規模は、0.1mm~0.5mmの範囲内である、付記540に記載のステント補綴具。
545. パターン化円周方向足場は、複数の軸方向に継合された円周方向リングを備える、付記540に記載のステント補綴具。
546. 円周方向リングは、蛇行またはジグザグパターンでクラウンによって継合される支柱を備える、付記545に記載のステント補綴具。
547. パターン化円周方向足場は、複数の円周方向に継合された閉鎖セルを備える、付記540に記載のステント補綴具。
548. 第2のより大きい構成は、第1の拡張構成よりも大きい、付記540に記載のステント補綴具。
549. 足場は、バルーン展開可能である、付記540に記載のステント補綴具。
550. 足場は、体温において展開可能である、付記540に記載のステント補綴具。
551. ステントは、近位区画と、中間区画と、遠位区画とを備え、ステントは、ステントの少なくとも1つの区画内で第2のより大きい構成まで拡張する、付記540に記載のステント補綴具。
552. 拡張領域のうちの少なくともいくつかは、非分解性金属または金属合金を備える、付記540に記載のステント補綴具。
553. ステントはさらに、放射線不透過性マーカを備える、付記540に記載のステント補綴具。
554. ステントは、少なくとも1つの薬物を備える、付記540に記載のステント補綴具。
555. ステントは、ステントの少なくとも1つの表面上に少なくとも1つのコーティングを備える、付記540に記載のステント補綴具。
556. 足場は、管状本体からパターン化されている、付記540に記載のステント補綴具。
557. 足場は、3ヶ月~3年の範囲内の周期にわたって管腔環境内で分解する材料を備える、付記540に記載のステント補綴具。
558. 分解性材料は、ポリマー材料を備える、付記557に記載のステント補綴具。
559. 分解性材料は、金属または金属合金を備える、付記557に記載のステント補綴具。
560. 足場は、ステントが身体管腔内で拡張された後に、患者への血管拡張剤の導入に応答して、第2のより大きい構成まで拡張するように構成される、少なくとも1つの区画を有する、付記540に記載のステント補綴具。
561. 足場は、患者への血管拡張剤の導入後に、より大きい第2の構成が実質的に維持されるように構成される、付記560に記載のステント補綴具。
562. 第2の拡張構成は、0.05mm~1mmの範囲内の距離だけ第1の拡張構成よりも大きい、付記540に記載のステント補綴具。
563. 構造要素を含む、非分解性パターン化円周方向足場を備え、該構造要素は、足場が圧着構成から第1の拡張構成まで半径方向に拡張されるにつれて塑性的に変形するように構成される拡張領域を有し、展開構成時の足場は、身体管腔を支持するために十分な強度を有し、足場は、身体管腔内の血管拡張剤および/または血管収縮剤の存在下で、身体管腔内のステント留置区画が血管拡張ならびに/もしくは血管収縮することを可能にするように構成される、ステント補綴具。
564. 身体管腔のステント留置区画は、0.05mm~0.5mmの範囲内で血管拡張する、付記563に記載のステント補綴具。
565. 身体管腔のステント留置区画は、0.1mm~0.3mmの範囲内で血管拡張する、付記563に記載のステント補綴具。
566. パターン化円周方向足場は、複数の軸方向に継合された円周方向リングを備える、付記563に記載のステント補綴具。
567. 円周方向リングは、蛇行またはジグザグパターンでクラウンによって継合される支柱を備える、付記565に記載のステント補綴具。
568. パターン化円周方向足場は、複数の円周方向に継合された閉鎖セルを備える、付記563に記載のステント補綴具。
569. 第2のより大きい構成は、第1の拡張構成よりも大きい、付記563に記載のステント補綴具。
570. 足場は、バルーン展開可能である、付記563に記載のステント補綴具。
571. 足場は、体温において展開可能である、付記563に記載のステント補綴具。
572. ステントは、近位区画と、中間区画と、遠位区画とを備え、ステントは、ステントの少なくとも1つの区画内で第2のより大きい構成まで拡張する、付記563に記載のステント補綴具。
573. 拡張領域のうちの少なくともいくつかは、非分解性金属または金属合金を備える、付記563に記載のステント補綴具。
574. ステントはさらに、放射線不透過性マーカを備える、付記563に記載のステント補綴具。
575. ステントは、少なくとも1つの薬物を備える、付記563に記載のステント補綴具。
576. ステントは、ステントの少なくとも1つの表面上に少なくとも1つのコーティングを備える、付記563に記載のステント補綴具。
577. 足場は、管状本体からパターン化されている、付記563に記載のステント補綴具。
578. 足場は、3ヶ月~3年の範囲内の周期にわたって管腔環境内で分解する材料を備える、付記563に記載のステント補綴具。
579. 分解性材料は、ポリマー材料を備える、付記578に記載のステント補綴具。
580. 分解性材料は、金属または金属合金を備える、付記578に記載のステント補綴具。
581. 足場は、ステントが身体管腔内で拡張された後に、患者への血管拡張剤の導入に応答して、第2のより大きい構成まで拡張するように構成される、少なくとも1つの区画を有する、付記563に記載のステント補綴具。
582. 足場は、患者への血管拡張剤の導入後に、より大きい第2の構成が実質的に維持されるように構成される、付記581に記載のステント補綴具。
583. 第2の拡張構成は、0.05mm~1mmの範囲内の距離だけ第1の拡張構成よりも大きい、付記563に記載のステント補綴具。
584. 構造要素を含む、非分解性パターン化円周方向足場を備え、該構造要素は、足場が圧着構成から第1の拡張構成まで半径方向に拡張されるにつれて塑性的に変形するように構成される拡張領域を有し、展開構成時の足場は、身体管腔を支持するために十分な強度を有し、足場は、生理学的条件下の身体管腔内の展開後に収縮および/または拡張するように構成される、ステント補綴具。
585. 拡張および/または収縮は、受動的に起こる、付記584に記載のステント補綴具。
586. 拡張および/または収縮は、血管拡張ならびに/もしくは血管収縮に応答して起こる、付記584に記載のステント補綴具。
587. 拡張および/または収縮は、生理学的脈動下で起こる、付記584に記載のステント補綴具。
588. 拡張および/または収縮は、身体管腔の展開直径もしくは平均直径から0.05mm~0.5mmの範囲内の規模を有する、付記584に記載のステント補綴具。
589. 拡張および/または収縮は、身体管腔の展開直径もしくは平均直径から0.1mm~0.4mmの範囲内の規模を有する、付記584に記載のステント補綴具。
590. 足場は、1.2%~5%の範囲内の半径方向コンプライアンスを有する、付記584に記載のステント補綴具。
591. 足場は、1.5%~5%の範囲内の半径方向コンプライアンスを有する、付記584に記載のステント補綴具。
592. 構造要素を含む、非分解性パターン化円周方向足場を備え、該構造要素は、足場が圧着構成から第1の拡張構成まで半径方向に拡張されるにつれて塑性的に変形するように構成される拡張領域を有し、足場は、身体管腔を支持するために十分な強度を有し、分離領域の数、場所、およびパターンは、ステント構造要素上の応力を制御するように構成され、ステント構造要素は、生理学的条件下の展開後に破砕しない、ステント補綴具。
593. 複数の軸方向に継合された円周方向リングを含む、非分解性パターン化円周方向足場を備え、円周方向リングのうちの少なくともいくつかは、クラウンによって継合される支柱を備え、展開後に該リングに不連続性を形成する、少なくとも1つの分離領域を有し、足場は、破砕を伴わずに生理学的条件下で1億の疲労サイクルに耐えるように構成される、ステント補綴具。
594. 複数の軸方向に継合された円周方向リングを含む、非分解性パターン化円周方向足場を備え、円周方向リングのうちの少なくともいくつかは、クラウンによって継合される支柱を備え、展開後に該リングに不連続性を形成する、少なくとも1つの分離領域を有し、不連続性が形成された後、リングの実質的に全ての結果として生じる区画は、軸方向に継合されたままである、ステント補綴具。
595. 複数の軸方向に継合された円周方向リングを含む、非分解性パターン化円周方向足場を備え、円周方向リングのうちの少なくともいくつかは、クラウンによって継合される支柱を備え、展開後に該リングに不連続性を形成する、少なくともいくつかの分離領域を有し、展開構成時の足場は、身体管腔を支持するために十分な強度を有し、ステント強度は、少なくともいくつかの分離領域が不連続性を形成した後に減少する、ステント補綴具。
596. ステント強度減少は、30日~9ヶ月に及ぶ周期で15%~75%に及ぶ、付記595に記載のステント補綴具。
597. ステントは、1%~10%に及ぶ展開後の内向き反跳を有する、付記595に記載のステント補綴具。
598. 内向き反跳後のステントは、不連続性の形成後にさらに拡張する、付記595に記載のステント補綴具。
599. 展開後のステントは、1.2%~5%に及ぶ半径方向歪みを有する、付記595に記載のステント補綴具。
600. 展開後のステントは、0.1%~1%に及ぶ半径方向歪みを有し、半径方向歪みは、不連続性の形成後に1.2%~5%の範囲まで増加する、付記595に記載のステント補綴具。
601. 少なくともいくつかの分離領域が不連続性を形成した後のステント強度は、身体管腔を支持するために不十分である、付記595に記載のステント補綴具。
602. 少なくともいくつかの分離領域が不連続性を形成した後のステントは、管腔組織によって定位置で保持される、付記595に記載のステント補綴具。
603. 骨格と、骨格の長さに沿って分配される複数の円周方向リングとを備え、円周方向リングのうちの少なくともいくつかは、間隙を有し、軸方向に連続的な間隙のうちの少なくともいくつかは、ステント足場の円周方向強度の一様性を増進するように回転交互配置される、ステント足場。
604. 骨格は、ステント足場の全長にわたって延在する、軸方向連続構造を有する、付記1600に記載のステント補綴具。
605. 骨格は、ステント足場の全長にわたって回転交互配置される、複数の区を備える、付記1600に記載のステント補綴具。
円周方向変位領域を伴うステント足場
606. ポリマーまたは金属材料からパターン化される円周方向リングを有する、足場であって、圧着構成から拡張構成まで拡張するように構成される、足場を備え、円周方向リングのうちの少なくともいくつかは、円周方向リングが生理学的管腔環境内で円周方向に拡張および収縮することを可能にする、少なくとも1つの円周方向変位領域を有する、ステント補綴具。
607. 少なくとも1つの円周方向変位領域は、円周方向リングが、動脈管腔内の収縮期/拡張期調律に応答して円周方向に拡張および収縮することを可能にする、付記606に記載のステント補綴具。
608. 足場は、軸に沿ってともに結合される複数の円周方向リングを含み、円周方向リングのうちの少なくともいくつかは、クラウンによって継合される支柱を備え、支柱またはクラウンのうちの少なくともいくつかは、円周方向リングが、動脈管腔内の収縮期/拡張期調律に応答して円周方向に拡張および収縮することを可能にする、不連続性を有する、付記607に記載のステント補綴具。
609. 円周方向リングが、動脈管腔内の収縮期/拡張期調律に応答して円周方向に拡張および収縮することを可能にする、不連続性は、支柱またはクラウンの対向区画の間に間隙を備える、付記608に記載のステント補綴具。
610. 間隙は、支柱の2つの対向区画の間によって画定され、1つの支柱区画上の一対の対向束縛壁を備える、メス型結合要素と、対向支柱区画上に配置され、1つの支柱区画上の一対の対向束縛壁の間に位置する、オス型結合要素とを備え、オス型要素は、円周方向リングの対向壁の間で自由に円周方向に移動し、円周方向に拡張および収縮する、付記609に記載のステント補綴具。
611. 2つの対向区画の間によって画定される間隙は、開放している、付記610に記載のステント補綴具。
612. 2つの対向区画の間によって画定される間隙は、円周方向リングの対向壁の間のオス型要素の円周方向移動を抑制するエラストマクッション材料で充填される、付記610に記載のステント補綴具。
613. 間隙は、支柱の2つの対向区画の離間端の間に画定される、付記609に記載のステント補綴具。
614. 支柱の2つの対向区画の離間端の間に画定される間隙は、対向区画の相対円周方向移動を抑制するエラストマクッション材料で充填される、付記613に記載のステント補綴具。
615. 2つの対向区画の間によって画定される間隙は、開放している、付記613に記載のステント補綴具。
616. 間隙は、支柱の2つの対向区画の間によって画定され、1つの支柱区画上に一対の対向束縛壁および底面を備える、チャネルを有する結合要素と、対向支柱区画上に配置され、1つの支柱区画上で一対の対向束縛壁の間で底面にわたって位置する、オス型結合要素とを備え、オス型要素は、円周方向リングの対向壁の間で自由に円周方向に移動し、円周方向に拡張および収縮する、付記609に記載のステント補綴具。
617. 支柱の2つの対向区画の離間端の間に画定される間隙は、対向区画の相対円周方向移動を抑制するエラストマクッション材料で充填される、付記616に記載のステント補綴具。
618. 2つの対向区画の間によって画定される間隙は、開放している、付記615に記載のステント補綴具。
619. 間隙は、支柱の2つの対向区画の間によって画定され、2つの対向区画を枢動継合するピンを有する、結合要素を備える、付記609に記載のステント補綴具。
平坦パネルからのステントの加工
620. ステント補綴具を作製する方法であって、2つまたはそれを上回るパネルをパターン化するステップであって、各パネルは、複数の部分リング構造を含み、各部分リング構造は、2つまたはそれを上回る取付端で終端する、ステップと、2つまたはそれを上回るパネル構造を、1つのパネル上の各取付端が別のパネル上の取付構造に隣接している、円筒形アセンブリに形成するステップと、端部構造をともに継合し、その円周を中心として複数の連続リング構造を有する円筒形足場を形成するステップとを含む、方法。
621. 部分リング構造のうちの少なくともいくつかは、クラウンによって継合される支柱を備える、付記620に記載の方法。
622. 取付端は、その間の間隙と噛合し、円周方向足場が生理学的管腔環境内で円周方向に拡張および収縮することを可能にするように構成される、オス型およびメス型要素としてパターン化される、付記620に記載の方法。
623. 間隙をエラストマ材料で充填し、取付端の間に弾性取付部を提供するステップをさらに含む、付記622に記載の方法。
624. 形成するステップは、円筒形マンドレルにわたってパネルを屈曲するステップを含む、付記620に記載の方法。
625. 端部構造をともに継合するステップは、隣接する端部構造の間にエラストマ材料を適用するステップを含む、付記620に記載の方法。
626. 端部構造をともに継合するステップは、隣接する端部構造にわたってエラストマ材料を適用するステップを含む、付記620に記載の方法。
627. 端部構造をともに継合するステップは、隣接する端部構造にわたってエラストマスリーブを適用するステップを含む、付記620に記載の方法。
半径方向に配向されたタブ設計
628. ポリマーまたは金属材料からパターン化される円周方向リングを有する、足場であって、圧着構成から拡張構成まで拡張するように構成される、足場を備え、円周方向リングのうちの少なくともいくつかは、軸方向リンクによって継合され、軸方向リンクのうちの少なくともいくつかは、円周方向リングが生理学的管腔環境内で円周方向に拡張および収縮することを可能にする、円周方向変位領域によって、隣接する円周方向リングに継合される、ステント補綴具。
629. 少なくとも1つの円周方向変位領域は、円周方向リングが、動脈管腔内の収縮期/拡張期調律に応答して円周方向に拡張および収縮することを可能にする、付記628に記載のステント補綴具。
630. 足場は、軸方向リンクによって軸に沿ってともに結合される複数の円周方向リングを含み、円周方向リングのうちの少なくともいくつかは、クラウンによって継合される支柱を備え、隣接する円周方向リング上の支柱は、軸方向リンクに継合される円周方向変位領域で終端する、付記629に記載のステント補綴具。
631. 円周方向リングが、動脈管腔内の収縮期/拡張期調律に応答して円周方向に拡張および収縮することを可能にする、不連続性は、支柱またはクラウンの対向区画の間に間隙を備える、付記630に記載のステント補綴具。
632. 円周方向変位領域は、オス型区画と、メス型結合要素とを備える、付記630に記載のステント補綴具。
633. オス型区画は、支柱の末端にあり、メス型結合要素は、軸方向リンク上にある、付記632に記載のステント補綴具。
634. メス型区画は、支柱の末端にあり、オス型結合要素は、軸方向リンク上にある、付記632に記載のステント補綴具。
635. オス型要素は、メス型結合部材の対向壁間で自由に円周方向に移動し、ステント補綴具を円周方向に拡張および収縮させる、付記632に記載のステント補綴具。
636. オス型区画およびメス型結合要素は、間隙によって分離される、付記632に記載のステント補綴具。
637. 間隙は、円周方向リングの対向壁の間のオス型要素の円周方向移動を抑制するエラストマクッション材料で充填される、付記611に記載のステント補綴具。
弁付記
638. パターン化構造要素を備える、ステント補綴具を備え、該ステントは、圧着構成から拡張されたより大きい構成まで拡張可能であり、拡張構成時に身体輪を支持するために十分な強度を有し、少なくとも1つの弁は、ステント補綴具に結合され、血液が心周期中に実質的に1つの方向に弁を通して流動することを可能にし、ステントの少なくとも1つの区画は、該区画が生理学的条件下で拡張ステント構成時の隣接するステント区画よりも大きい変位を有することを可能にする、1つまたはそれを上回る離脱要素を備える、弁修復または置換用のステント補綴具。
639. 変位は、半径方向、円周方向、縦方向、弁を付勢して閉鎖する方向、輪コンプライアンスに適応する方向、またはそれらの組み合わせのうちの1つもしくはそれを上回るものを備える、付記638に記載のステント補綴具。
640. 離脱要素は、分離領域、架橋要素、補強要素、接合点、継手、ヒンジ、間隙、不連続性のうちの1つまたはそれを上回るものを備える、付記638に記載のステント。
641. 離脱要素における強度は、隣接する区画よりも低い、付記638に記載のステント補綴具。
642. ステントは、バルーン拡張型または自己拡張型補綴具である、付記638に記載のステント補綴具。
643. ステントはさらに、ステント補綴具の少なくとも1つの表面上に少なくとも1つのスカートを備え、スカートは、変位に適応する、付記638に記載のステント補綴具。
644. ステントは、管、編組された1つまたはそれを上回るワイヤ、ワイヤ、もしくはそれらの組み合わせから形成される、付記638に記載のステント補綴具。
645. ステント補綴具パターンは、閉鎖セルパターン、および開放セルパターン、またはそれらの組み合わせである、付記638に記載のステント補綴具。
646. ステントは、非分解性金属またはポリマー材料から形成される、付記638に記載のステント補綴具。
647. ステントは、分解性金属またはポリマー材料から形成される、付記638に記載のステント補綴具。
648. 構造要素のうちの少なくともいくつかは、離脱要素を含有する、付記638に記載のステント補綴具。
649. 離脱要素は、ステントへの弁の少なくとも1つの結合された領域に隣接する、付記638に記載のステント補綴具。
650. 少なくとも1つの区画の半径方向歪みは、0.1%~20%に及ぶ、好ましくは、0.2%~10%に及ぶ、より好ましくは、0.5%~10%に及ぶ規模だけ隣接する区画よりも大きい、付記638に記載のステント補綴具。
651. 少なくとも1つの区画は、0.3%~20%に及ぶ、好ましくは、0.5%~10%に及ぶ、より好ましくは、1%~10%に及ぶ半径方向歪みを有する、付記638に記載のステント補綴具。
652. 離脱要素のパターンは、輪のパターンに共形化する、付記638に記載のステント補綴具。
653. 少なくとも1つの区画は、隣接する区画よりも大きい拡張ステント構成時の半径方向収縮および/または拡張を有する、付記638に記載のステント補綴具。
654. 少なくとも1つの区画は、少なくとも10%だけ隣接する区画よりも大きい、好ましくは、少なくとも20%だけ大きい、拡張ステント構成時の半径方向収縮および/または拡張を有する、付記638に記載のステント補綴具。
655. パターン化構造要素は、1つまたはそれを上回るワイヤ、編組された1つまたはそれを上回るワイヤ、支柱、クラウン、円周方向リンク、軸方向リンクのうちの1つもしくはそれを上回るものを備える、付記638に記載のステント補綴具。
656. 離脱要素は、ステント補綴具の拡張後により大きい変位を可能にする、付記638に記載のステント補綴具。
657. 離脱要素は、身体輪内の展開(または拡張)後の3ヶ月~3年に及ぶ周期でより大きい変位を可能にする、付記638に記載のステント補綴具。
658. パターン化構造要素を備える、ステント補綴具を備え、該ステントは、圧着構成から拡張されたより大きい構成まで拡張可能であり、拡張構成時に身体輪を支持するために十分な強度を有し、少なくとも1つの弁は、ステント補綴具に結合され、血液が心周期中に実質的に1つの方向に弁を通して流動することを可能にし、ステントの少なくとも1つの区画は、生理学的条件下の拡張ステント構成時の隣接するステント区画と比較して、該区画の強度を低減させる、1つまたはそれを上回る離脱要素を備える、弁修復または置換用のステント補綴具。
659. 少なくとも1つの区画は、心室の最近傍の区画である、付記658に記載のステント補綴具。
660. 少なくとも1つの区画の離脱は、ペーシング結節または冠状静脈洞への損傷を最小限にする、付記658に記載のステント補綴具。
661. 少なくとも1つの区画は、少なくとも10%だけ低い強度を有する、付記658に記載のステント補綴具。
662. 少なくとも1つの区画は、拡張構成時の隣接する区画よりも低く、ステントの最大拡構成未満である強度を有する、付記658に記載のステント補綴具。
663. 長さ、幅、および厚さのうちの1つまたはそれを上回るものをそれぞれ有する、1つまたはそれを上回る要素を備える、構造要素を備え、該構造要素は、弁輪に隣接して位置付けられ、定位置で添着され、構造要素は、弁輪の中で展開される弁を含有するステントに結合され、構造要素の少なくとも1つの区画は、該区画が構造要素の隣接する区画よりも大きい変位を有することを可能にする離脱要素を有するように構成される、弁修復または置換用のインプラント。
664. 少なくとも1つのステント区画は、少なくとも1つの区画の変位中に収縮および/または拡張する、付記663に記載のインプラント。
665. 弁は、少なくとも1つの区画の変位中に閉鎖または開放する、付記663に記載のインプラント。
666. 構造要素は、弁輪の周囲の少なくとも一部を輪郭形成する、付記663に記載のインプラント。
667. 構造要素は、輪に隣接して、輪の上位に、または輪の下位に位置付けられる、付記663に記載のインプラント。
668. 構造要素は、輪を実質的に囲む、付記663に記載のインプラント。
669. 構造要素は、1つまたはそれを上回る構造要素を備える、付記663に記載のインプラント。
670. 長さ、幅、および厚さのうちの1つまたはそれを上回るものをそれぞれ有する、1つまたはそれを上回る要素を備える、構造要素を備え、該構造要素は、弁輪に隣接して位置付けられ、定位置で添着され、構造要素は、埋め込まれた弁に結合され、構造要素の少なくとも1つの区画は、該区画が構造要素の隣接する区画よりも大きい変位を有することを可能にする離脱要素を有するように構成される、弁修復または置換用のインプラント。
671. 少なくとも1つの弁区画は、少なくとも1つの区画の変位中に半径方向に収縮および/または拡張する、付記670に記載のインプラント。
672. 弁は、少なくとも1つの区画の変位中に閉鎖および/または開放する、付記670に記載のステント補綴具。
673. 構造要素は、弁輪の周囲の少なくとも一部を輪郭形成する、付記670に記載のステント補綴具。
674. 構造要素は、輪に隣接して、輪の上位に、または輪の下位に位置付けられる、付記670に記載のステント補綴具。
ステント補綴具付記
675. 非分解性金属または金属合金材料を備える、ステント補綴具であって、該材料は、圧着構成から拡張されたより大きい構成まで拡張可能であることができる、実質的に円筒形の構造にパターン化され、身体管腔を支持するために拡張構成時に十分な強度を有し、該構造は、複数の円周方向リングを備える構造要素を備え、各リングは、1つまたはそれを上回る軸方向リンクを介して、および/もしくは該各リング上の少なくとも1つの構造要素領域を該隣接するリング上の構造要素領域に接続することを介して、隣接するリングに接続され、各リングは、クラウンによって継合される支柱を備え、少なくともいくつかの円周方向リングは、該リングの円周方向経路に沿って1つまたはそれを上回る分離領域を有し、該分離領域は、拡張後に不連続性を形成し、該不連続性の形成後の該ステントおよび/または該少なくともいくつかのリングは、以下のうちの1つもしくはそれを上回るもの、すなわち、生理学的条件下で、1%~5%に及ぶ半径方向歪み、0.05mm~1.5mmに及ぶ半径方向変位、該拡張構成からの内向き反跳後により大きい拡張構成までさらに拡張すること、0.05mm~0.5mmに及ぶ規模の血管拡張および/または血管収縮、ステント拡張後の強度の低減、円周方向に離脱すること、もしくはフープ応力の低減を呈し、1つまたはそれを上回る分離領域を有する、少なくともいくつかのリングは、拡張後に隣接するリングに実質的に接続されたままである、ステント補綴具。
676. 少なくともいくつかのリングは、2つまたはそれを上回る軸方向リンクを介して、および/もしくは少なくともいくつかのリング上の2つまたはそれを上回る構造要素領域を該隣接するリング上の2つまたはそれを上回る構造要素領域に接続することを介して、隣接するリングに接続され、少なくともいくつかのリングは、拡張後に該隣接するリングに実質的に接続されたままである、付記675に記載のステント補綴具。
677. 少なくともいくつかのリングは、3つまたはそれを上回る軸方向リンクを介して、および/もしくは少なくともいくつかのリング上の3つまたはそれを上回る構造要素領域を該隣接するリング上の3つまたはそれを上回る構造要素領域に接続することを介して、隣接するリングに接続され、少なくともいくつかのリングは、拡張後に該隣接するリングに実質的に接続されたままである、付記675に記載のステント補綴具。
678. 各リングは、拡張後に該隣接するリングに実質的に接続されたままである、付記675に記載のステント補綴具。
679. 少なくともいくつかの分離領域は、30日~9ヶ月に及ぶ拡張後に不連続性を形成する、付記675に記載のステント補綴具。
680. 少なくともいくつかの分離領域は、1日~30日に及ぶ拡張後に不連続性を形成する、付記675に記載のステント補綴具。
681. 半径方向歪みは、非束縛管腔または管が約5%の半径方向歪みを有する、生理学的条件下で1.5%~5%に及ぶ、付記675に記載のステント補綴具。
682. 半径方向変位は、0.1mm~0.3mmに及ぶ、付記675に記載のステント補綴具。
683. 血管拡張および/または血管収縮規模は、0.07mm~0.3mmに及ぶ、付記675に記載のステント補綴具。
684. 強度の低減は、初期拡張構成強度の10%~90%に及ぶ、付記675に記載のステント補綴具。
685. 拡張後のフープ応力の低減は、初期拡張構成フープ応力の10%~90%に及ぶ、付記675に記載のステント補綴具。
686. 実質的に全てのリングは、1つまたはそれを上回る分離領域を有する、付記675に記載のステント補綴具。
687. 少なくともいくつかの分離領域は、拡張中に不連続性を形成する、付記675に記載のステント補綴具。
688. 少なくともいくつかの分離領域は、拡張前に不連続性を形成する、付記675に記載のステント補綴具。
689. 少なくともいくつかの分離領域は、圧着構成から拡張されたより大きい構成までの展開(拡張)中にともに保持される、付記675に記載のステント補綴具。
690. 少なくともいくつかの分離領域は、圧着構成から拡張されたより大きい構成までの展開(拡張)中にともに保持され、分離領域は、継手構成、キーおよびロックタイプ構成、ポリマー材料、接着剤材料、はんだ、構造要素を融合すること、またはそれらの組み合わせによって、ともに保持される、付記675に記載のステント補綴具。
691. 実質的に全てのリングは、拡張後に隣接するリングに接続されたままである、付記675に記載のステント補綴具。
692. ステントは、実質的に円筒形である、付記675に記載のステント補綴具。
693. 各リングは、ステントの長手軸と角度を形成してステントの円周の周囲に延在する、付記675に記載のステント補綴具。
694. ステント補綴具は、圧着構成から拡張されたより大きい構成まで拡張されたときに塑性的に変形される、付記675に記載のステント補綴具。
695. ステントは、ステントの少なくとも1つの表面上に少なくとも1つのポリマーコーティングを備える、付記675に記載のステント補綴具。
696. ステントは、ステントの少なくとも1つの表面上に少なくとも1つの薬物を備える、付記675に記載のステント補綴具。
697. ステントは、バルーン展開可能である、付記675に記載のステント補綴具。
698. ステントは、管から形成され、次いで、パターン化される、1つまたはそれを上回るワイヤからパターン化される、もしくは丸められたパターン化シートから形成される、付記675に記載のステント補綴具。
699. ステントは、実質的に円筒形である、付記675に記載のステント補綴具。
700. 非分解性金属または金属合金は、ステンレス鋼、コバルトクロム、白金イリジウムの1つを備える、付記675に記載のステント補綴具。
701. 該不連続性の形成後の少なくともいくつかのリングは、少なくともいくつかのリングが隣接するリングに実質的に接続されたままである間に、ステント補綴具の長さに沿って少なくとも2つのストリップに分離する、付記675に記載のステント補綴具。
702. 各リングは、1つまたはそれを上回る分離領域を有し、該不連続性の形成後のステントは、リングが隣接するリングに接続されたままである間に、ステント補綴具の長さに沿って少なくとも2つのストリップに分離する、付記675に記載のステント補綴具。
703. 4mmまでの拡張後のステントの初期半径方向歪みは、0.1%~1%に及び、生理学的条件下で、拡張後の1日~9ヶ月に及ぶ周期内で1.1%~3.5%の範囲まで増加し、管腔内の該拡張は、4%~5%に及ぶ非束縛半径方向歪みを有する、付記675に記載のステント補綴具。
704. 4mmまでの拡張後のステントの初期半径方向歪みは、0.1%~1%に及び、生理学的条件下で、拡張後の1日~9ヶ月に及ぶ周期内で1.1%~3.5%の範囲まで増加し、管腔内の該拡張は、4%~5%に及ぶ非束縛半径方向歪みを有し、ステントは、増加した半径方向歪み構成で構造を維持し、それが管腔の非束縛半径方向歪みに合致しないように防止する、付記675に記載のステント補綴具。
705. ステント補綴具は、拡張後に初期半径方向歪みを有し、半径方向歪みは、生理学的条件下で変化する、付記675に記載のステント補綴具。
706. ステント補綴具は、拡張後に初期半径方向歪みを有し、ステント半径方向歪みは、生理学的条件下で増加する、付記675に記載のステント補綴具。
707. ステント補綴具は、拡張後に初期半径方向歪みを有し、ステントの半径方向歪みは、1日~1年に及ぶ周期で、生理学的条件下で実質的に増加する、付記675に記載のステント補綴具。
708. ステントは、拡張後に初期半径方向歪みを有し、半径方向拡張は、不連続性の形成後に初期半径方向歪みの1.2~15倍に及ぶ倍数だけ増加する、付記675に記載のステント補綴具。
709. ステントは、拡張後に初期半径方向歪みを有し、半径方向拡張は、不連続性の形成後に初期半径方向歪みの1.5~15倍に及ぶ倍数だけ増加する、付記675に記載のステント補綴具。
710. ステントは、拡張後に初期半径方向歪みを有し、半径方向拡張は、不連続性の形成後に初期半径方向歪みの1.7~15倍に及ぶ倍数だけ増加する、付記675に記載のステント補綴具。
711. 拡張後のステントの半径方向歪みは、ステント留置区画に隣接する非ステント留置管腔の半径方向歪みの0.15%~0.75%に及ぶ、付記675に記載のステント補綴具。
712. 拡張後のステントの半径方向歪みは、ステント留置区画に隣接する非ステント留置管腔の半径方向歪みの0.25%~0.75%に及ぶ、付記675に記載のステント補綴具。
713. 拡張後のステントの半径方向歪みは、ステント留置区画に隣接する非ステント留置管腔の半径方向歪みの0.30%~0.75%に及び、ステントは、不連続性の形成後にパターン化構造を留保する、付記675に記載のステント補綴具。
714. ステントは、拡張後に初期強度を有し、強度は、該不連続性の形成後に該初期強度の少なくとも25%だけ減少する、付記675に記載のステント補綴具。
715. ステントは、拡張後に初期強度を有し、強度は、少なくともいくつかの不連続性の形成後に該初期強度の25%~75%だけ減少する、付記675に記載のステント補綴具。
716. ステントは、拡張後に初期強度を有し、強度は、少なくともいくつかの不連続性の形成後に該初期強度の50%~85%だけ減少する、付記675に記載のステント補綴具。
717. ステントは、拡張後に初期強度を有し、強度は、少なくともいくつかの不連続性または実質的に全ての不連続性の形成後に減退し、ステント補綴具は、長さに沿って実質的に相互接続された1~5つのパターン化ストリップを留保し、身体管腔を支持する、付記675に記載のステント補綴具。
718. 分離領域は、円周方向構造要素の円周方向経路に沿って位置付けられ、分離領域の数は、該円周方向構造要素に不連続性を形成するために十分である、付記675に記載のステント補綴具。
719. 少なくともいくつかのリングは、2つの支柱を接続する1つ毎のクラウンのためのわずか1つの分離領域を有する、付記675に記載のステント補綴具。
720. 少なくともいくつかのリングは、合計3つの支柱を接続する2つ毎のクラウンのためのわずか1つの分離領域を有する、付記675に記載のステント補綴具。
721. 少なくともいくつかのリングは、リング区画あたりわずか1つの分離領域を有し、リング区画は、2つのクラウンに接続される1つの支柱を備える、付記675に記載のステント補綴具。
722. 少なくともいくつかのリングは、リング区画あたりわずか1つの分離領域を有し、リング区画は、2つのクラウンに接続される1つの支柱を備え、分離領域は、実質的に非変形可能な支柱領域中に位置する、付記675に記載のステント補綴具。
723. 少なくともいくつかのリングは、リング区画あたりわずか1つの分離領域を有し、リング区画は、3つの支柱を接続する3つのクラウンを備え、分離領域は、支柱のうちのいずれかの実質的に非変形可能な支柱領域上に位置する、付記675に記載のステント補綴具。
724. 少なくともいくつかのリングは、リング区画あたりわずか1つの分離領域を有し、リング区画は、4つの支柱を接続する3つのクラウンを備え、分離領域は、支柱のうちのいずれかの実質的に非変形可能な支柱領域上に位置する、付記675に記載のステント補綴具。
725. 身体管腔の半径方向歪みは、約5%である、付記675に記載のステント。
726. 身体管腔の半径方向歪みは、3.5%~10%に及ぶ、付記675に記載のステント。
727. 少なくともいくつかのリングは、少なくともいくつかのリングあたりわずか4つの分離領域を有する、付記675に記載のステント補綴具。
728. 少なくともいくつかのリングは、少なくともいくつかのリングあたりわずか5つの分離領域を有する、付記675に記載のステント補綴具。
729. 少なくともいくつかのリングは、リングあたりわずか6つの分離領域を有する、付記675に記載のステント補綴具。
730. 少なくともいくつかのリングは、リングあたりわずか3つの分離領域を有する、付記675に記載のステント補綴具。
731. 軸方向リンクは、クラウンを備える円周方向リングを有するステントパターンに関して、1~4つのリンクに及び、クラウンの数は、3つのクラウン~9つのクラウンに及ぶ、付記675に記載のステント補綴具。
732. 少なくともいくつかのリングを接続するリンクは、クラウン毎、1つおきのクラウン、2つおきのクラウン、または3つおきのクラウンに離間される、付記675に記載のステント補綴具。
733. 少なくともいくつかの円周方向リング上の少なくともいくつかの分離領域の場所は、リンクに隣接する支柱またはクラウンの上に位置する、付記675に記載のステント補綴具。
734. 少なくともいくつかの円周方向リング上の少なくともいくつかの分離領域の場所は、リンクに隣接しない支柱またはクラウンの上に位置する、付記675に記載のステント補綴具。
735. 構造要素領域は、クラウンおよび/または支柱領域を備える、付記675に記載のステント補綴具。
736. 分離領域は、少なくともいくつかのリングまたはステントの円周方向構造完全性を破壊する、付記675に記載のステント補綴具。
737. ステントは、拡張構成時に初期剛性を有し、剛性は、拡張後の1日~9ヶ月に及ぶ周期内に10%~100%に及ぶ規模だけ減少する、付記675に記載のステント補綴具。
738. ステントは、拡張構成時に初期強度を有し、強度は、拡張後の1日~9ヶ月に及ぶ周期内に10%~100%に及ぶ規模だけ減少する、付記675に記載のステント補綴具。
739. ステントは、拡張後に初期強度を有し、強度は、少なくともいくつかの不連続性の形成後に減少し、減少したステント強度は、身体管腔を開放した状態で実質的に維持するために十分である、付記675に記載のステント補綴具。
740. ステントは、拡張後に初期強度を有し、強度は、少なくともいくつかの不連続性の形成後に減少し、減少したステント強度は、身体管腔を支持するために十分である、付記675に記載のステント補綴具。
741. ステントは、拡張後に初期強度を有し、強度は、少なくともいくつかの不連続性の形成後に減少し、ステントは、身体管腔を支持するために十分なパターン化構造を留保する、付記675に記載のステント補綴具。
742. ステントは、拡張後に初期強度を有し、強度は、該不連続性の形成後に減退し、ステントは、身体管腔を支持するために十分なステント構造を留保する、付記675に記載のステント補綴具。
743. ステントは、拡張後に初期強度を有し、強度は、該不連続性の形成後に減退し、ステントは、脆弱な身体管腔を支持するために十分なステント構造を留保する、付記675に記載のステント補綴具。
744. 分離領域のうちの少なくともいくつかは、該分離領域に隣接する構造要素が1つまたはそれを上回る方向に移動することを可能にする、付記675に記載のステント補綴具。
745. 分離領域のうちの少なくともいくつかは、該分離領域に隣接する構造要素が、半径方向もしくは円周方向を備える、1つまたはそれを上回る方向に移動することを可能にする、付記675に記載のステント補綴具。
746. 少なくともいくつかの分離領域は、ステントの拡張を促進するように、キーおよびロック接合点によってステント圧着構成時にともに保持される、付記675に記載のステント補綴具。
747. 少なくともいくつかの分離領域は、接着剤、ポリマー、またはそれらの組み合わせによってともに保持される、付記675に記載のステント補綴具。
748. 少なくともいくつかの分離領域は、間隙を有し、該間隙規模は、0.05mm~0.2mmに及び、間隙は、該分離領域に隣接する構造要素が不連続性の形成後に円周方向に移動することを可能にし、移動は、0.05mm~2mmに及ぶ、付記675に記載のステント補綴具。
749. 少なくともいくつかの分離領域は、円周方向リングの非変形可能または実質的に非変形可能な領域上に位置する、付記675に記載のステント補綴具。
750. 実質的に全ての分離領域は、円周方向リングの非変形可能または実質的に非変形可能な領域上に位置する、付記675に記載のステント補綴具。
751. 実質的に全ての分離領域は、円周方向リングの支柱領域上に位置する、付記675に記載のステント補綴具。
752. 少なくともいくつかの分離領域は、円周方向リングのクラウン領域上に位置し、分離領域は、クラウン領域を破壊することなく、ステントの拡張に応じて、クラウン領域が変形することを可能にする、付記675に記載のステント補綴具。
753. ステント縦方向構造は、該不連続性の形成後に実質的に維持される、付記675に記載のステント補綴具。
754. ステントの縦方向構造は、該不連続性の形成後に実質的に接続されたままである、付記675に記載のステント補綴具。
755. 縦方向におけるステントは、該不連続性の形成後に1つまたはそれを上回るリンクによって縦方向に接続される1~4つの半円形ストリップを形成し、ステントは、パターン化構造を実質的に維持する、付記675に記載のステント補綴具。
756. 全リング上のクラウンおよび支柱領域のうちの少なくともいくつかは、分離領域を有していない、付記675に記載のステント補綴具。
757. 少なくともいくつかのリング上の実質的に全てのクラウン領域は、分離領域を有していない、付記675に記載のステント補綴具。
758. 少なくともいくつかのリング上の実質的に全ての変形可能領域は、分離領域を有していない、付記675に記載のステント補綴具。
759. 分離領域は、支柱および/またはクラウン領域よりも小さい、付記675に記載のステント補綴具。
760. 分離領域は、圧着ステント構成時に間隙を形成する、付記675に記載のステント補綴具。
761. 少なくともいくつかのリング上の分離領域の数は、該リング上のクラウンの数の1/2に等しいもしくはそれ未満であり、少なくとも該リング上の分離領域の数は、該リング上の支柱の数の1/4に等しいもしくはそれ未満であり、不連続性の形成後のステント補綴具は、身体管腔を支持するために十分なパターン化構造を実質的に維持する、付記675に記載のステント補綴具。
762. 各リング上の分離領域の数は、該リング上のクラウンの数の1/2に等しいもしくはそれ未満であり、および/または各リング上の分離領域の数は、該リング上の支柱の数の1/4に等しいもしくはそれ未満であり、不連続性の形成後のステント補綴具は、身体管腔を支持するために十分なパターン化構造を実質的に維持する、付記675に記載のステント補綴具。
763. 各リング上の分離領域の数は、該リング上のクラウンの数の4/6に等しいもしくはそれ未満であり、および/または各リング上の分離領域の数は、該リング上の支柱の数の1/2に等しいもしくはそれ未満であり、不連続性の形成後のステント補綴具は、身体管腔を支持するために十分なパターン化構造を実質的に維持する、付記675に記載のステント補綴具。
764. 各リング上の分離領域の数は、該リング上のクラウンの数の4/6に等しいもしくはそれ未満であり、および/または各リング上の分離領域の数は、該リング上の支柱の数の1/2に等しいもしくはそれ未満であり、不連続性の形成後のステント補綴具は、身体管腔を支持するために十分なパターン化構造を実質的に維持し、該ステント補綴具の半径方向歪みは、ステント補綴具に隣接する非ステント留置管腔の半径方向歪み未満である、付記675に記載のステント補綴具。
765. ステントは、金属または金属合金から形成され、レーザによってステントにパターン化される、付記675に記載のステント補綴具。
766. 少なくともいくつかのリングは、少なくともいくつかの分離領域を含有し、分離領域は、該少なくともいくつかのリングの円周方向経路に沿って間隙領域を備え、間隙は、分離領域の2つの端部を接続し、圧着構成時にそれらをともに保持する、生分解性材料を備え、ポリマー材料は、ステントの拡張後に分解し、該円周方向リングに不連続性を形成する、付記675に記載のステント補綴具。
767. ステントは、開放セル設計、閉鎖セル設計、螺旋タイプ設計、コイルタイプ設計、またはそれらの組み合わせを備える、付記675に記載のステント補綴具。
768. 少なくともいくつかの隣接するリングの間の距離は、0.05mm~3mmに及ぶ、好ましくは、0.1mm~2mmに及ぶ、より好ましくは、0.2mm~1mmに及ぶ、付記675に記載のステント補綴具。
769. 任意の隣接するリングの間の距離は、0.05mm~3mmに及ぶ、好ましくは、0.1mm~2mmに及ぶ、より好ましくは、0.2mm~1mmに及ぶ、付記675に記載のステント補綴具。
770. 任意の隣接するリングの間の最短距離は、0.01mm~1mmに及ぶ、好ましくは、0.05mm~1mmに及ぶ、より好ましくは、0.1mm~1mmに及ぶ、付記675に記載のステント補綴具。
771. 任意の隣接するリングの間の最長距離は、0.1mm~3mmに及ぶ、好ましくは、0.15mm~2.5mmに及ぶ、より好ましくは、0.15mm~2.3mmに及ぶ、付記675に記載のステント補綴具。
772. 分離領域がない場合の少なくともいくつかのリングは、拡張ステント構成時に円周方向連続リングを形成する、付記675に記載のステント補綴具。
773. 少なくともいくつかの分離領域は、圧着構成時にともに保持され、該圧着構成からのステント補綴具の拡張に応じて、ともに保持されたままである、付記675に記載のステント補綴具。
774. 該圧着構成から該拡張されたより大きい構成までのステント補綴具の拡張は、該分離領域に不連続性を形成しない、付記675に記載のステント補綴具。
775. 不連続性は、生理学的条件下で受動的に形成される、付記675に記載のステント補綴具。
776. 不連続性は、拡張構成までのステントの拡張後に、該不連続性を形成するいかなるデバイスの補助もなく、形成される、付記675に記載のステント補綴具。
777. 圧着構成時のステント構造要素は、重複しない、付記675に記載のステント補綴具。
778. 圧着構成時の実質的に全てのステント構造要素は、少なくともいくつかの分離領域を除いて、重複しない、付記675に記載のステント補綴具。
779. 拡張構成時のステント構造要素は、重複しない、付記675に記載のステント補綴具。
780. 拡張構成時の実質的に全てのステント構造要素は、少なくともいくつかの分離領域を除いて、重複しない、付記675に記載のステント補綴具。
781. ステント構造要素は、圧着構成時に巻き上がらない、付記675に記載のステント補綴具。
782. ステント構造要素は、送達システムにわたって1つの層として圧着される、付記675に記載のステント補綴具。
783. ステント構造要素は、送達システム内の1つの層として圧着される、付記675に記載のステント補綴具。
784. ステントは、拡張構成時に実質的に円筒形の構造であり、ステントは、少なくともいくつかの分離領域を除いて、連続円周方向要素を有し、ステントは、圧着構成から拡張構成まで半径方向に拡張する、付記675に記載のステント補綴具。
785. ステントは、拡張構成時に実質的に円筒形の構造であり、ステントは、分離領域を除いて、連続円周方向要素を有し、ステントは、半径方向ではなく、圧着構成から拡張構成まで拡張する、付記675に記載のステント補綴具。
786. ステントは、拡張構成時に実質的に円筒形の構造であり、ステントは、摺動手段によってではなく、圧着構成から拡張構成まで拡張する、付記675に記載のステント補綴具。
787. 分離領域は、ステント補綴具の拡張時に不連続性を形成せず、不連続性は、ステントの拡張後に形成される、付記675に記載のステント補綴具。
788. 分離領域は、ステントの長さに沿って不連続性の実質的に直線状の線を形成しない、付記675に記載のステント補綴具。
789. 分離領域は、実質的にステントの長さに沿って不連続性の実質的に直線状の線を形成しない、付記675に記載のステント補綴具。
790. 不連続性の形成後のステント補綴具は、少なくともいくつかの隣接するリングを接続する実質的に全ての軸方向リンクが実質的に無傷である間に、拡張構成時に改良された縦方向可撓性を有する、付記675に記載のステント補綴具。
791. 非分解性金属または金属合金材料を備える、ステント補綴具であって、該材料は、圧着構成から拡張されたより大きい構成まで拡張可能であることができる、実質的に円筒形の構造にパターン化され、身体管腔を支持するために拡張構成時に十分な強度を有し、該構造は、複数の円周方向リングを備える構造要素を備え、少なくともいくつかの円周方向リングは、1つまたはそれを上回る軸方向リンクを介して、および/もしくは該少なくともいくつかのリング上の少なくともいくつかの構造要素領域を該隣接するリング上の構造要素領域に接続することを介して、隣接するリングに接続され、各リングは、クラウンによって継合される支柱を備え、少なくともいくつかの円周方向リングは、該リングの円周方向経路に沿って1つまたはそれを上回る分離領域を有し、該分離領域は、拡張後に不連続性を形成し、該不連続性の形成後の該ステントおよび/または該少なくともいくつかのリングは、以下のうちの1つもしくはそれを上回るもの、すなわち、生理学的条件下で、1%~5%に及ぶ半径方向歪み、0.05mm~1.5mmに及ぶ半径方向変位、該拡張構成からの内向き反跳後により大きい拡張構成までさらに拡張すること、0.05mm~0.3mmに及ぶ規模の血管拡張および/または血管収縮、強度の低減、円周方向に離脱すること、もしくはフープ応力の低減を呈し、1つまたはそれを上回る分離領域を有する、少なくともいくつかのリングは、拡張後に隣接するリングに実質的に接続されたままである、ステント補綴具。
792. 分解性金属または金属合金材料を備える、ステント補綴具であって、該材料は、圧着構成から拡張されたより大きい構成まで拡張可能であることができる円筒形構造にパターン化され、身体管腔を支持するために拡張構成時に十分な強度を有し、該構造は、複数の円周方向リングを備える構造要素を備え、少なくともいくつかの円周方向リングは、1つまたはそれを上回る軸方向リンクを介して、および/もしくは該少なくともいくつかのリング上の少なくともいくつかの構造要素領域を該隣接するリング上の構造要素領域に接続することを介して、隣接するリングに接続され、各リングは、クラウンによって継合される支柱を備え、少なくともいくつかの円周方向リングは、該リングの円周方向経路に沿って1つまたはそれを上回る分離領域を有し、該分離領域は、拡張後に不連続性を形成し、該不連続性の形成後の該ステントおよび/または該少なくともいくつかのリングは、以下のうちの1つもしくはそれを上回るもの、すなわち、生理学的条件下で、1%~5%に及ぶ半径方向歪み、0.05mm~1.5mmに及ぶ半径方向変位、該拡張構成からの内向き反跳後により大きい拡張構成までさらに拡張すること、0.05mm~0.3mmに及ぶ規模の血管拡張および/または血管収縮、強度の低減、円周方向に離脱すること、もしくはフープ応力の低減を呈し、1つまたはそれを上回る分離領域を有する、少なくともいくつかのリングは、拡張後に隣接するリングに実質的に接続されたままであり、分解性材料は、マグネシウム、タングステン、または本明細書に説明されるような他の分解性金属もしくは金属合金のうちの1つまたはそれを上回るものを備える、ステント補綴具。
793. 管または1つもしくはそれを上回るワイヤから形成され、圧着構成から拡張されたより大きい構成までの拡張が可能な実質的に円筒形のステントにパターン化され、身体管腔を支持するために拡張構成時に十分な強度を有する、非分解性金属または金属合金を備える、ステント補綴具であって、該ステントは、複数の円周方向リングを備える構造要素を備え、少なくともいくつかのリングは、該リングの円周方向経路に沿って1~5つの分離領域を有し、分離領域は、拡張後に不連続性を形成し、該ステント強度を低減させるが、該身体管腔を開放した状態で実質的に維持し、該ステントは、初期半径方向歪みを有し、該半径方向歪みは、不連続性の形成後に増加する、ステント補綴具。
794. 非分解性金属または金属合金から形成され、圧着構成から拡張されたより大きい構成までの拡張が可能な実質的に円筒形の構造にパターン化され、身体管腔を支持するために拡張構成時に十分な強度を有する、ステント補綴具であって、該ステント構造は、複数の円周方向リングを備える構造要素を備え、少なくともいくつかのリングは、該リングの円周方向経路に沿って1~5つの分離領域を有し、分離領域は、ステントの拡張後に不連続性を形成し、生理学的条件下で該少なくともいくつかのリングの半径方向歪みを増加させながら、該少なくともいくつかのリングの強度を低減させる、ステント補綴具。
795. 非分解性金属または金属合金から形成され、圧着構成から拡張されたより大きい構成までの拡張が可能な実質的に円筒形の構造にパターン化され、身体管腔を支持するために拡張構成時に十分な強度を有する、ステント補綴具であって、該ステント構造は、複数の円周方向リングを備える構造要素を備え、少なくともいくつかのリングは、該リングの円周方向経路に沿って1~5つの分離領域を有し、分離領域は、ステントの拡張後に不連続性を形成し、生理学的条件下で該少なくともいくつかのリングの少なくとも1つの軸における変位を増加させる、ステント補綴具。
796. 非分解性金属または金属合金から形成され、圧着構成から拡張されたより大きい構成までの拡張が可能な実質的に円筒形の構造にパターン化され、身体管腔を支持するために拡張構成時に十分な強度を有する、ステント補綴具であって、該ステント構造は、複数の円周方向リングを備える構造要素を備え、少なくともいくつかのリングは、該リングの円周方向経路に沿って1~5つの分離領域を有し、分離領域は、ステントの拡張後に不連続性を形成し、生理学的条件下で該少なくともいくつかのリングの少なくとも1つの方向への変位を増加させる、ステント補綴具。
797. 非分解性金属または金属合金から形成され、圧着構成から拡張されたより大きい構成までの拡張が可能な実質的に円筒形の構造にパターン化され、身体管腔を支持するために拡張構成時に十分な強度を有する、ステント補綴具であって、該ステント構造は、複数の円周方向リングを備える構造要素を備え、少なくともいくつかのリングは、該リングの円周方向経路に沿って1~5つの分離領域を有し、分離領域は、ステントの拡張後に不連続性を形成し、生理学的条件下で、該少なくともいくつかのリングの軸方向、円周方向、半径方向、または縦方向のうちの少なくとも1つもしくはそれを上回る方向への変位を増加させる、ステント補綴具。
可変コンプライアンス付記
798. 圧着構成から拡張されたより大きい構成まで拡張可能な非分解性金属または金属合金足場を備え、拡張後に、足場は、血管管腔を支持するために十分な強度を有し、即時であるが拡張後の1時間以内に、足場は、模擬血管内で測定されたときに1%と同程度である複合コンプライアンスを有し、拡張および血管条件への暴露後に、模擬血管内で測定されたときの複合コンプライアンスは、少なくとも1.5%まで増加する、可変的に柔軟なステント補綴具。
799. 圧着構成から拡張されたより大きい構成まで拡張可能な非分解性金属または金属合金足場を備え、拡張後に、足場は、血管管腔を支持するために十分な強度を有し、即時であるが拡張後の1時間以内に、足場は、模擬血管内で測定されたときに初期複合コンプライアンスを有し、拡張および血管条件への暴露後に、模擬血管内で測定されたときの複合コンプライアンスは、少なくとも2倍増加する、可変的に柔軟なステント補綴具。
800. 非分解性金属または金属合金足場は、閾値時間周期にわたる血管条件への暴露後に分離する、分離領域を備える、付記798または799に記載の可変的に柔軟なステント補綴具。
801. 分離領域のうちの少なくともいくつかは、最初に、血管条件に暴露されたときに経時的に分解する生体吸収性材料によって分離することを妨げられる、付記800に記載の可変的に柔軟なステント補綴具。
802. 生体吸収性材料は、コーティング、スリーブ、または接着剤の形態である、付記801に記載の可変的に柔軟なステント補綴具。
803. 生体吸収性材料は、血管条件に暴露されたときに30日~12ヶ月の範囲内の時間周期にわたって分解する、付記801に記載の可変的に柔軟なステント補綴具。
804. 非分解性金属または金属合金足場は、補強材料で補強される領域を備え、補強材料は、閾値時間周期にわたる血管条件への暴露後に分解する、付記798または799に記載の可変的に柔軟なステント補綴具。
805. 補強材料は、血管条件に暴露されたときに経時的に分解する生体吸収性材料を備える、付記804に記載の可変的に柔軟なステント補綴具。
806. 補強材料は、非分解性金属または金属合金足場のクラウンおよび/もしくは支柱内の空隙を充填する、付記804に記載の可変的に柔軟なステント補綴具。
807. 補強材料は、非分解性金属または金属合金足場の表面の少なくとも一領域を被覆もしくはコーティングする、付記805に記載の可変的に柔軟なステント補綴具。
808. 即時であるが拡張後の1時間以内に、足場は、1ミリメートルのステント長あたり0.035ニュートン~1ミリメートルのステント長あたり0.1ニュートンの範囲内の強度(初期強度)を有する、付記798または799に記載の可変的に柔軟なステント補綴具。
809. ステント足場の半径方向強度は、拡張および血管条件への暴露後に減少する、付記808に記載の可変的に柔軟なステント補綴具。
810. ステント足場の半径方向強度は、拡張および血管条件への暴露後に減少する前に初期強度から増加する、付記808に記載の可変的に柔軟なステント補綴具。
811. ステント足場の半径方向強度は、拡張および血管条件への暴露後に20%~100%だけ、随意に、20%~80%だけ減少する、付記809に記載の可変的に柔軟なステント補綴具。
812. 非分解性金属または金属合金足場は、公称拡張直径を有し、強度および複合コンプライアンスは、ステントが、公称拡張直径の80%~120%の直径まで、随意に、公称拡張直径の100%において、拡張された後に測定される、付記798または799に記載の可変的に柔軟なステント補綴具。
好ましい実施例では、足場は、ステントであり、ステントは、軸方向に継合される1つまたはそれを上回る円周方向リングを備え、1つまたはそれを上回るリングは、支柱と、クラウンとを備える。ステントは、ステントグラフト、体内補綴具、外部補綴具(血管もしくは他の身体管腔の外部を囲繞する補綴具)、および血管、輪、または他の身体管腔に埋め込まれることを意図している他の管腔補綴具を含む。足場は、通常、パターン化された円筒形、実質的に円筒形、管状、または実質的に管状の円周方向構造であり、「圧着」構成時に、すなわち、足場の外面が身体管腔の内壁に接触し、および/またはそれを支持し、開存性を維持する、「拡張構成」まで足場が拡張される、身体管腔内の標的場所まで足場が前進されることを可能にする、薄型または縮小外形で、血管、輪、もしくは他の身体管腔の中に導入されることができるように構築される。「裸」ステントを用いる等のある場合には、足場は、典型的には、管から、シートから、または1つもしくはそれを上回るワイヤからパターン化されており、圧着構成時に解剖学的血管または導管の管腔もしくは他の管腔の中に挿入されるように構成される、金属、金属合金、プラスチック、または他の従来のステント材料を備えてもよい。挿入後、足場は、管腔通路を開放した状態で保つように、または閉鎖した、典型的には罹患した通路を開放するように、拡張構成まで半径方向に拡大されてもよい。他の場合では、足場は、1つまたはそれを上回る付加的材料(ポリマー材料等)および/もしくは1つまたはそれを上回る薬物を備えてもよく、例えば、足場は、加えて、ステントの少なくとも1つの表面上に1つまたはそれを上回るコーティングを有してもよく、足場は、薬物コーティングされたステントまたは同等物であるように、薬物もしくは他の活性物質で少なくとも1つの表面上にコーティングされてもよい。なおも他の事例では、足場は、人工心臓弁、静脈弁、または他の埋込型弁の一部を形成してもよい。
別の好ましい実施例では、分離領域は、生理学的条件への暴露および不連続性の形成に先立って、足場が血管または他の類似もしくは同等生理学的環境または条件内で拡張されている間に無傷のままであるために十分な構造完全性および強度を有するであろう、足場内の場所である。そのような拡張は、典型的には、足場に有意なフープ応力を印加し得る、足場の中心管腔内の展開バルーンの膨張によって達成されるであろう。分離領域は、例えば、足場拡張中に無傷のままであるが、続いて、生理学的環境内で分解し、または別様に足場から取り外し、不連続性の形成を可能にするであろう材料を用いて、分離領域を継合する、被覆する、埋め込まれる、粘着する、または別様に固定化することによって、そのような応力に耐えるように形成されるであろう。代替として、足場は、自己拡張式であり得るが、分離領域は、自己拡張に起因する応力に耐えるように依然として形成されるであろう。
別の好ましい実施例では、不連続性は、足場の拡張および血管または他の類似もしくは同等生理学的環境または条件への足場の暴露後に、分離領域の場所において足場に形成される、開口部、間隙、継手、弾性接合点、または同等物を備える。不連続性は、足場またはその少なくとも一部の半径方向コンプライアンスを増加させるであろう。不連続性は、不連続性が形成された後に拡張された足場のフープ強度を減少させる、拡張された足場内の場所にあろう。例えば、不連続性は、足場の円周方向リング内にあってもよく、リングの円周方向拡張に対する抵抗を減少させ、本願の他の場所で詳細に議論されるように、リングおよび足場の半径方向コンプライアンスを増加させるであろう。対照的に、隣接する円周方向リングをともに保持する、軸方向リンクまたは他の軸方向接続内の不連続性もしくは切れ目は、本発明の目的であるように、典型的には、不連続性が形成された後に、拡張されたリングまたは足場のフープもしくは半径方向強度を減少させず、典型的には、リングまたは足場の半径方向コンプライアンスを増加させないであろう。
別の好ましい実施例では、語句「全ての不連続性が形成された後」は、足場の中の全ての分離領域が分離し、全ての不連続性が形成されたときの足場を指す。たとえ分離領域が足場内の各分離領域において不連続性を形成するように構成され得たとしても、不連続性は、血管または他の生理学環境内の埋込後に足場の中の全ての分離領域に常に形成されるわけではない場合があるが、分離領域の全ては、足場が本明細書で請求される物理的特性を満たすかどうかを判定するために、生体外試験実行中に形成させられ得る。したがって、足場が「全ての不連続性が形成される」という判定を要求する請求項の要件を満たすかどうかを判定する目的のために、足場は、足場内の各分離領域において不連続性の形成をもたらすことが予期されるであろう、塩分、温度、圧力、不連続性の形成を引き起こす作用物質または材料の追加、および同等物等の模擬生体内生理学的条件によって、全ての不連続性を形成するように選択される生体外条件への暴露後に検査および試験され得る。そのような生体外生理学的条件の実施例は、本明細書の以下の実施例の節の中で提供される。
別の好ましい実施例では、言葉「パターン」は、足場の構造要素の幾何学的配列を指す。最も一般的なパターンは、軸方向リンクによって、または円周方向リング上の軸方向に隣接する領域の直接取付によってのいずれかで、軸方向に継合される、複数の「円周方向リング」を備える。本発明の足場はまた、螺旋パターン、菱形および他の閉鎖または開放セルパターン、ならびに血管および他のステント加工技術分野で公知である他のパターンを有してもよい。円周方向リングは、通常、クラウンによって継合される支柱を備える、蛇行またはジグザグ構造として形成され、支柱は、通常、直線状となり(但し、非直線状であり得る)、クラウンは、継手またはヒンジとして作用し、支柱が開放すること、および円周方向リングが円周方向ならびに半径方向の両方に拡張することを可能にするであろう。すなわち、円周方向リングの円周または周囲の周辺の距離は、足場の軸方向中心からのリング周囲の半径方向距離と同様に増加するであろう。
別の好ましい実施例では、足場の個々の円周方向リングは、通常、「無傷」となり、通常、拡張または不連続性の形成に先立って、足場がその圧着構成であるときに「軸方向に継合される」であろう。「無傷」とは、円周方向リングが、不連続性を含まない、連続蛇行、ジグザグ、正弦曲線、または他の円周方向構造を有するであろうことを意味する。「軸方向に継合される」とは、軸方向に隣接する円周方向リングが、軸方向リンクによって、または例えば、融合もしくははんだ付けによる直接クラウン・クラウン取付によって、継合されるであろうことを意味する。足場の拡張および生理学的環境への暴露後に、不連続性は、リングのうちの少なくともいくつかに形成され、典型的には、リング構造がもはや連続的ではないようにリングの周辺経路または周囲を形成する、支柱またはクラウン領域もしくは他の構造構成要素内の間隙、切れ目、または2等分であろう。たとえ個々の円周方向リングが、このようにして、不連続性の形成後に2つまたはそれを上回る分離された部分(部分円周方向リング)に分割し得ても、それらはまた、その語句が本明細書および請求項で使用されるため「円周方向リング」と称され得、具体的には、たとえ円周方向リングの継合された部分が不連続性によって同一のリングの他の部分から分離されたとしても、1つのリングの少なくとも一部が隣接するリングの少なくとも一部に接続されたままである限り、隣接する円周方向リングは、「軸方向に継合された」(無傷)ままであると見なされるであろう。
別の好ましい実施例では、「半径方向コンプライアンス」は、100mmHgの圧力変化におけるコンプライアンスまたは半径方向歪み(約176mmHg等の他の圧力変化におけるコンプライアンス測定)を測定するASTM F2477-07R13に従って、模擬血管(もしくは管)内で生体外の複合コンプライアンスとして測定される、足場、ステント、補綴具、または他の構造の複合コンプライアンスであるが、試験はまた、100mmHg以外の所与の圧力の変化におけるコンプライアンスを試験するための方法を提供することもできる。
別の好ましい実施例では、「区画」および語句「足場の区画」は、全ての不連続性が足場に形成された後に継合された、または無傷のままであろう、足場の構造構成要素を指す。例えば、円周方向リングは、区画ならびに閉鎖セル構造である。多くの事例では、足場の2つまたはそれを上回る区画は、全ての不連続性が足場に形成された後に継合されたままであろう。したがって、区画は、常に、継合された、または無傷のままであろうが(無傷は、構造がいかなる不連続性も伴わずに継合されることを含意する)、最初に継合される区画は、全ての不連続性が足場に形成された後に継合されたままである場合もあり、そうではない場合もある。
別の好ましい実施例では、「円周方向リング」は、全360度にわたって延在する連続周囲または周辺を伴うリング、ならびにそれらの周囲または周辺にオフセットを有する不連続リングの両方を指す。そのような不連続円周方向リングは、多くの場合、足場の長さの全体または一部に沿って螺旋パターンをともに形成するように、連続的に端から端まで継合されるであろう。個々の円周方向リングは、したがって、螺旋足場の連続的巻目を形成するであろう。一実施例では、円周方向リングパターンは、圧着および/または拡張構成時のステントの長手軸と垂直であり得る。別の実施例では、円周方向リングパターンは、圧着構成および/または拡張構成時のステント長手軸と垂直と、圧着および/または拡張構成時のステント長手軸との間の角度にあり得る。
別の好ましい実施例では、「生理学的環境」は、自然または内因性環境、典型的には、患者血管系もしくは他の管腔環境、ならびに内因性血管または他の天然管腔環境を模倣することを意図している人工もしくは生体外環境の両方を指す。具体的には、人工または生体外環境は、37℃等の同一温度、水溶液(水槽)、約100mmHgまたは約200mmHgの圧力変化、3.0mmの内径および約5%のコンプライアンスを有する模擬管、不連続性の形成を加速する作用物質、ならびに本発明の原理によると、足場を試験し、分離領域が不連続性を形成する、伸張する、もしくは増進したコンプライアンスを有するであろうかどうかを確認するために使用されることができる、内因性環境の他の特性のうちの少なくともいくつかを有するであろう。具体的には、足場が分離領域を有するかどうかを判定するために、足場は、そのような分離領域に関して検査され、および/または本明細書に説明されるような生体外の生理学的条件に暴露され、不連続性が形成されるかどうかを確認する、または増進した複合コンプライアンスに関して足場を試験する、もしくは初期コンプライアンスおよび増加した複合コンプライアンスに関して足場を試験する、または足場の初期半径方向強度を試験する、もしくは不連続性の形成後の半径方向強度を試験するように、観察されることができ、足場は、3.0mmの内径、約5%の管コンプライアンス、37℃の水槽内、および100mmHgの圧力変化を有する、管「模擬血管」の中で拡張され、管内径の約110%まで足場の内径を拡張して管の中への良好な嵌合を確実にし、初期複合コンプライアンスを測定し、不連続性を形成する分離領域をともに保持する材料を溶解させ、ステント留置区画の中間区画におけるステント留置区画のコンプライアンスである、複合コンプライアンスを再測定することができ、本発明によるコンプライアンスは、不連続性の形成後に初期複合コンプライアンスから増加し、典型的には、初期複合コンプライアンスの200%~500%だけ増加する、または通常、200%~300%だけ増加する、もしくは初期複合コンプライアンスの少なくとも200%だけ増加する、または少なくとも300%だけ増加する。
1つの好ましい実施例では、不連続性の形成後のステントは、ステントの長さに沿って、2つ、または3つ、もしくは4つの別個のステント区分に分離し、各区分は、複数の部分円周方向リングを備え、各部分リングは、隣接する部分リングに軸方向に接続された(無傷)ままであり、2、3、または4つの別個の区分は、各円周方向リングの中の全ての分離領域が不連続性を形成した後に形成される。
好ましい実施例では、語句「ステントコンプライアンス」、「ステント留置区画コンプライアンス」、および「ステント血管系コンプライアンス」は全て、複合コンプライアンス試験方法で説明されるようなステント留置/足場付き区画の複合コンプライアンスを指す。
好ましい実施例では、半径方向強度は、本願に説明される半径方向試験方法で説明されるような平坦プレート(10%圧縮)試験を使用して測定される。
好ましい実施例では、本発明の足場またはステントの少なくともいくつかのリングは、好ましくは、非分解性金属または金属合金から形成され、身体管腔(もしくは模擬血管)内の圧着構成から拡張構成までの拡張後に、不連続性の形成前と比較して、不連続性の形成後に、以下のうちの1つまたはそれを上回るものを呈する、すなわち、心臓の収縮性および/または圧力の変化を含む生理学的条件下で、(1)少なくともいくつか、好ましくは、全ての円周方向リング(ステント)、またはステント留置区画を離脱させる、(2)ステント留置区画の少なくともいくつかのリング、好ましくは、全てのリングの構成または直径の変化を示す、(3)ステント留置区画の少なくともいくつかのリングのさらなる拡張を示す、(4)ステント留置区画の少なくともいくつかのリング、通常、全ては、0.1mm~0.5mmの範囲内で拡張および/または収縮することができる。生理学的条件はまた、シミュレーションされた生理学的条件を含み得る。上記の実施例は、少なくともいくつかのリングに不連続性を形成し、円周方向に該リングを離脱させる、分離領域のOCT画像を示す、(分離領域を含有する)少なくともいくつかの支柱の反対端が不連続性の形成後に分離し、半径方向および/または円周方向に(相互と比較して平面の外に)移動することを示す、ならびに/もしくは少なくともいくつかのリングの構成または直径の変化、またはステントが、図100B-Dもしくは101A-Bに示されるように、拡張およびいずれかの拡張からの初期内向き反跳後により大きい直径または構成までさらに拡張することを示す、実施例22に示されている。上記はまた、台上、生体外、または生体内の他の試験でも示され得る。
本発明は、例えば、以下を提供する。
(項目1)
非分解性材料からパターン化される複数の円周方向リングを有する、足場であって、圧着構成から拡張構成まで拡張するように構成される、足場を備え、
前記円周方向リングのうちの少なくともいくつかは、生理学的環境内の拡張後に前記円周方向リングに少なくとも1つの不連続性を形成するように構成される、少なくとも1つの分離領域を有し、前記円周方向リングのうちの2つの少なくとも一部は、不連続性が形成された後に軸方向に継合されたままである、管腔内補綴具。
(項目2)
全ての円周方向リングは、全ての不連続性が形成された後に軸方向に継合されたままである、項目1に記載の管腔内補綴具。
(項目3)
任意の不連続性の形成に先立って、各円周方向リングは、初期半径方向コンプライアンスを有し、不連続性の形成後に、少なくともいくつかの円周方向リングは、増加した半径方向コンプライアンスを有する、項目1に記載の管腔内補綴具。
(項目4)
前記足場は、全ての不連続性が形成された後に、区画に分離しない、項目1に記載の管腔内補綴具。
(項目5)
前記足場は、全ての不連続性が形成された後に、2つまたはそれを上回る区画に分離する、項目1に記載の管腔内補綴具。
(項目6)
前記2つまたはそれを上回る区画のうちの少なくともいくつかは、円周方向リングを備える、項目5に記載の管腔内補綴具。
(項目7)
前記2つまたはそれを上回る区画のうちの少なくともいくつかは、閉鎖セル区画を備える、項目5に記載の管腔内補綴具。
(項目8)
前記2つまたはそれを上回る区画のうちの少なくともいくつかは、前記足場の第1の端部から前記足場の第2の端部まで延在する分離線に沿って、円周方向に分離する、項目5に記載の管腔内補綴具。
(項目9)
前記分離線は、軸方向または渦巻状幾何学形状を有する、項目8に記載の管腔内補綴具。
(項目10)
前記円周方向リングのうちの少なくともいくつかは、連続円形周囲を有し、隣接する連続リングは、軸方向に継合される、項目1に記載の管腔内補綴具。
(項目11)
前記円周方向リングのうちの少なくともいくつかは、継合して螺旋足場を形成する端部領域を伴う不連続周囲を有する、項目1に記載の管腔内補綴具。
(項目12)
前記円周方向リングのうちの少なくともいくつかは、クラウンによって継合される複数の支柱を備える、項目1に記載の管腔内補綴具。
(項目13)
少なくとも1つの分離領域は、円周方向リングの支柱の中に位置する、項目12に記載の管腔内補綴具。
(項目14)
各円周方向リングは、分離領域を有する1~5つの支柱を有する、項目13に記載の管腔内補綴具。
(項目15)
少なくとも1つの分離領域は、円周方向リングのクラウンの中に位置する、項目12に記載の管腔内補綴具。
(項目16)
円周方向リングの少なくとも1つのクラウンは、分離領域を含まない、項目12に記載の管腔内補綴具。
(項目17)
前記円周方向リングのうちの少なくともいくつかの前記支柱およびクラウンは、連続円周方向経路を形成し、前記分離領域は、全ての不連続性が形成された後に、前記経路に不連続性を形成するように位置する、項目12に記載の管腔内補綴具。
(項目18)
前記材料は、スリーブ、はんだ、および/または接着剤として形成される生分解性ポリマーを含む、項目17に記載の管腔内補綴具。
(項目19)
前記分離領域は、前記リングに形成される間隙の中に、それにわたって、および/またはそれに隣接して配置される、弾性材料を含み、前記弾性材料は、生理学的環境内の拡張後に無傷のままである、項目1に記載の管腔内補綴具。
(項目20)
前記分離領域は、拡張中に固定化されるが、前記生理学的環境内の前記初期拡張後に分離するように構成される、キーおよびロック接合点を備える、項目1に記載の管腔内補綴具。
(項目21)
前記キーおよびロック接合点は、円周方向ならびに/または半径方向への分離を可能にするが、軸方向への分離を阻止する、くし状もしくは鋸歯状表面を有する、項目20に記載の管腔内補綴具。
(項目22)
前記キーおよびロック接合点は、円周方向、半径方向ならびに/または軸方向への分離を可能にする、平滑表面を有する、項目20に記載の管腔内補綴具。
(項目23)
前記分離領域は、前記生理学的環境内で分解する材料によって継合されるか、それによって被覆されるか、またはそれに埋め込まれる、突き合わせ継手を備える、項目1に記載の管腔内補綴具。
(項目24)
非分解性材料は、金属または金属合金材料を含む、項目1に記載の管腔内補綴具。
(項目25)
前記不連続性は、前記足場が初期拡張からの反跳後にさらに拡張することを可能にするように構成される、項目1に記載の管腔内補綴具。
(項目26)
前記不連続性は、前記足場が初期拡張直径よりも大きい拡張直径まで拡張することを可能にするように構成される、項目1に記載の管腔内補綴具。
(項目27)
前記円周方向リングは、前記圧着構成における前記足場の長手軸と実質的に垂直に整合される、項目1に記載の管腔内補綴具。
(項目28)
前記円周方向リングは、前記圧着構成における前記足場の長手軸に対する角度で傾斜している、項目1に記載の管腔内補綴具。
(項目29)
前記足場は、管状または平坦基板からパターン化される、項目1に記載の管腔内補綴具。
(項目30)
前記足場は、屈曲ワイヤから形成される、項目1に記載の管腔内補綴具。
図1は、複数の拡張可能リングを有する円周方向足場を備える、従来技術の管腔内補綴具を図示する。
図2Aおよび2Bは、図1の管腔内補綴具の「広げられた」説明図である。
図3Aおよび3Bは、リングがジグザグリングではなく蛇行リングであることを除いて、図1、2A、および2Bのものに類似する従来技術の管腔内補綴具の「広げられた」説明図である。
図4Aおよび4Bは、第1の補強パターン実施例で本発明の補強要素を伴って修正または構成された図3Aおよび3Bの蛇行円周方向足場を図示する。
図5Aおよび5Bは、補強要素ならびに第2の補強パターン実施例を伴う図3Aおよび3Bの蛇行円周方向足場を図示する。
図6Aおよび6Bは、第3の補強パターン実施例で補強要素を伴う図3Aおよび3Bの円周方向足場を図示する。
図7Aおよび7Bは、第4の補強パターン実施例で補強要素を伴う図3Aおよび3Bの蛇行円周方向足場を図示する。
図8Aおよび8Bは、第5の補強パターン実施例で補強要素を伴う図3Aおよび3Bの蛇行円周方向足場を図示する。
図9A-9Cは、本発明の原理による、蛇行リング、例えば、円周方向足場の他の構成要素または構造要素の中へ補強要素を結合する(取り付けるおよび/もしくは埋め込む)ことの種々の実施例を図示する。 図9A-9Cは、本発明の原理による、蛇行リング、例えば、円周方向足場の他の構成要素または構造要素の中へ補強要素を結合する(取り付けるおよび/もしくは埋め込む)ことの種々の実施例を図示する。 図9A-9Cは、本発明の原理による、蛇行リング、例えば、円周方向足場の他の構成要素または構造要素の中へ補強要素を結合する(取り付けるおよび/もしくは埋め込む)ことの種々の実施例を図示する。
図9Dは、蛇行リング区画への外部補強要素の結合(取付)を図示する。
図10は、図1、2A、および2Bの管腔内補綴具の円周方向足場の部分リングを示す、単一のジグザグの拡大図である。
図11Aおよび11Bは、本発明の原理による、切れ目、不連続性、および/または取外の形成を助長するために好適である、例えば、図10の蛇行リングのヒンジの修正を図示する。
図12Aおよび12Bは、切れ目、不連続性、および/または取外の形成を助長するための、例えば、図10のジグザグリングの支柱の修正を図示する。
図13Aおよび13Bは、本発明の原理による、ヒンジ領域中の不連続性および取外の形成を助長するための、図10のジグザグリングの軸方向リンクの近傍のヒンジ領域への修正を図示する。
図14Aおよび14Bは、本発明の原理による、切れ目、分離、不連続性、および/または取外の形成を助長するために、例えば、蛇行リング構造で使用され得る、代替的ヒンジもしくは継手構造を図示する。
図15Aおよび15Bは、本発明の原理による、切れ目、不連続性、および/または取外の形成を助長する、図10のジグザグリングのヒンジ領域の粒状構造の修正実施例を図示する。
図16A-16Dは、本発明の円周方向リング内の支柱分離のために好適な分離領域の異なる実施例を図示する。
図16E-1-図16E-3は、生分解性スリーブによって、または生分解性接着剤もしくは生分解性ポリマーによって継合され得、好ましくは、半径方向のみへの支柱変位または移動によって分離するが、ある場合には、円周方向および/もしくは軸方向に移動することもできる、代替的分離領域パターン実施例を図示する。
図16F-1-図16F-5は、生分解性スリーブによって、または生分解性接着剤もしくは生分解性ポリマーによって継合され得、半径方向、円周方向、および/または軸方向への支柱変位もしくは移動によって分離する、別の代替的分離領域パターンを図示する。 図16F-1-図16F-5は、生分解性スリーブによって、または生分解性接着剤もしくは生分解性ポリマーによって継合され得、半径方向、円周方向、および/または軸方向への支柱変位もしくは移動によって分離する、別の代替的分離領域パターンを図示する。
図16G-1-図16G-3は、生分解性接着剤を用いて継合するために特に好適であるが、生分解性スリーブまたは生分解性ポリマーによっても継合され得、半径方向、円周方向、および/または軸方向への支柱変位もしくは移動によって分離する、当接支柱区画の間に延在軸方向界面を有する、なおも別の代替的分離領域パターン実施例を図示する。 図16G-1-図16G-3は、生分解性接着剤を用いて継合するために特に好適であるが、生分解性スリーブまたは生分解性ポリマーによっても継合され得、半径方向、円周方向、および/または軸方向への支柱変位もしくは移動によって分離する、当接支柱区画の間に延在軸方向界面を有する、なおも別の代替的分離領域パターン実施例を図示する。
図16G-4-図16G-10は、本発明の原理に従って構築される実施例として、管状補綴具のための例示的分離パターンを図示する。 図16G-4-図16G-10は、本発明の原理に従って構築される実施例として、管状補綴具のための例示的分離パターンを図示する。 図16G-4-図16G-10は、本発明の原理に従って構築される実施例として、管状補綴具のための例示的分離パターンを図示する。 図16G-4-図16G-10は、本発明の原理に従って構築される実施例として、管状補綴具のための例示的分離パターンを図示する。 図16G-4-図16G-10は、本発明の原理に従って構築される実施例として、管状補綴具のための例示的分離パターンを図示する。 図16G-4-図16G-10は、本発明の原理に従って構築される実施例として、管状補綴具のための例示的分離パターンを図示する。 図16G-4-図16G-10は、本発明の原理に従って構築される実施例として、管状補綴具のための例示的分離パターンを図示する。 図16G-4-図16G-10は、本発明の原理に従って構築される実施例として、管状補綴具のための例示的分離パターンを図示する。 図16G-4-図16G-10は、本発明の原理に従って構築される実施例として、管状補綴具のための例示的分離パターンを図示する。 図16G-4-図16G-10は、本発明の原理に従って構築される実施例として、管状補綴具のための例示的分離パターンを図示する。
図16G-11は、ステントの開放を制御および/または支援するように構成される弾力性補強要素と組み合わせて、分離領域を有する、ステントを図示する。
図16H-1-図16H-5は、軸方向および/または半径方向(もしくは円周方向)への支柱変位によって優先的に分離する、隣接する支柱区画内の中空領域またはレセプタクルの中で受容されるコア部材に依拠する、分離領域パターンのなおもさらなる実施例を図示する。
図16I-1-図16I-4は、隣接する支柱区画上に異なる形状の界面を有する、分離領域の付加的実施例を図示する。
図16I-5および図16I-6は、接着剤、セメント、ポリマー、スリーブ、または他の固定化構成要素を用いた分解性固定化を増進するための表面特徴を有する、分離領域のなおもさらなる実施例を図示する。 図16I-5および図16I-6は、接着剤、セメント、ポリマー、スリーブ、または他の固定化構成要素を用いた分解性固定化を増進するための表面特徴を有する、分離領域のなおもさらなる実施例を図示する。
図16I-7-図16I-16A/Cは、支柱および/またはクラウン内の間隙によって特徴付けられる、ならびに/もしくは随意に、間隙に分解性架橋を有する、および/または架橋要素を伴う分離領域を有する、分離領域を図示する。 図16I-7-図16I-16A/Cは、支柱および/またはクラウン内の間隙によって特徴付けられる、ならびに/もしくは随意に、間隙に分解性架橋を有する、および/または架橋要素を伴う分離領域を有する、分離領域を図示する。 図16I-7-図16I-16A/Cは、支柱および/またはクラウン内の間隙によって特徴付けられる、ならびに/もしくは随意に、間隙に分解性架橋を有する、および/または架橋要素を伴う分離領域を有する、分離領域を図示する。 図16I-7-図16I-16A/Cは、支柱および/またはクラウン内の間隙によって特徴付けられる、ならびに/もしくは随意に、間隙に分解性架橋を有する、および/または架橋要素を伴う分離領域を有する、分離領域を図示する。 図16I-7-図16I-16A/Cは、支柱および/またはクラウン内の間隙によって特徴付けられる、ならびに/もしくは随意に、間隙に分解性架橋を有する、および/または架橋要素を伴う分離領域を有する、分離領域を図示する。 図16I-7-図16I-16A/Cは、支柱および/またはクラウン内の間隙によって特徴付けられる、ならびに/もしくは随意に、間隙に分解性架橋を有する、および/または架橋要素を伴う分離領域を有する、分離領域を図示する。 図16I-7-図16I-16A/Cは、支柱および/またはクラウン内の間隙によって特徴付けられる、ならびに/もしくは随意に、間隙に分解性架橋を有する、および/または架橋要素を伴う分離領域を有する、分離領域を図示する。 図16I-7-図16I-16A/Cは、支柱および/またはクラウン内の間隙によって特徴付けられる、ならびに/もしくは随意に、間隙に分解性架橋を有する、および/または架橋要素を伴う分離領域を有する、分離領域を図示する。 図16I-7-図16I-16A/Cは、支柱および/またはクラウン内の間隙によって特徴付けられる、ならびに/もしくは随意に、間隙に分解性架橋を有する、および/または架橋要素を伴う分離領域を有する、分離領域を図示する。 図16I-7-図16I-16A/Cは、支柱および/またはクラウン内の間隙によって特徴付けられる、ならびに/もしくは随意に、間隙に分解性架橋を有する、および/または架橋要素を伴う分離領域を有する、分離領域を図示する。 図16I-7-図16I-16A/Cは、支柱および/またはクラウン内の間隙によって特徴付けられる、ならびに/もしくは随意に、間隙に分解性架橋を有する、および/または架橋要素を伴う分離領域を有する、分離領域を図示する。 図16I-7-図16I-16A/Cは、支柱および/またはクラウン内の間隙によって特徴付けられる、ならびに/もしくは随意に、間隙に分解性架橋を有する、および/または架橋要素を伴う分離領域を有する、分離領域を図示する。
図17は、本発明の円周方向足場の中で一対の隣接する円周方向リングの間に位置し得る、分離領域のさらなる実施例を図示する。
図18は、本発明の原理による、分離領域中の整合ピンの随意の使用を図示する。
図19は、本発明の円周方向リングで使用するための磁気的に継合された分離領域を図示する。
図20は、本発明の原理による、支柱の中の分離領域のための接続の代替的実施例を図示する。
図21は、本発明の原理による、管状支柱構造の中の整合ピンの実施例を図示する。
図22は、本発明の原理による、円周方向リングの中のヒンジ領域を束縛するためのスリーブ等の犠牲束縛の使用を図示する。
図22Aおよび図22Bは、円周方向リングの中の一対の隣接する支柱が並行して分離および圧潰され、随意に、分解性スリーブを用いてともに保持される、さらなるタイプの分離領域を図示する。
図23Aおよび23Bは、本発明の原理による、円周方向リングのヒンジの中に設置された継手または分離領域の実施例を図示する。
図23Cおよび23Dは、本発明の原理による、円周方向リングの支持特徴を用いてヒンジの中に設置された継手または分離領域の実施例を図示する。 図23Cおよび23Dは、本発明の原理による、円周方向リングの支持特徴を用いてヒンジの中に設置された継手または分離領域の実施例を図示する。
図23E-1-23E-3は、分岐領域において開口を優先的に開放するステントを形成する分離領域の使用を図示する。 図23E-1-23E-3は、分岐領域において開口を優先的に開放するステントを形成する分離領域の使用を図示する。
図24A、24B、25A-25C、26A-26C、27A、27B、28-31、32、32A、32B、33、33A、33B、34、および35は、本発明の原理に従って加工ならびに試験されたステントを図示する。図35は、ステント区画の疲労試験、半径方向歪み(コンプライアンス)試験、変位規模試験、展開構成試験時のステントの収縮および/または拡張、ならびにその他のための試験装置の実施例である。 図24A、24B、25A-25C、26A-26C、27A、27B、28-31、32、32A、32B、33、33A、33B、34、および35は、本発明の原理に従って加工ならびに試験されたステントを図示する。図35は、ステント区画の疲労試験、半径方向歪み(コンプライアンス)試験、変位規模試験、展開構成試験時のステントの収縮および/または拡張、ならびにその他のための試験装置の実施例である。 図24A、24B、25A-25C、26A-26C、27A、27B、28-31、32、32A、32B、33、33A、33B、34、および35は、本発明の原理に従って加工ならびに試験されたステントを図示する。図35は、ステント区画の疲労試験、半径方向歪み(コンプライアンス)試験、変位規模試験、展開構成試験時のステントの収縮および/または拡張、ならびにその他のための試験装置の実施例である。 図24A、24B、25A-25C、26A-26C、27A、27B、28-31、32、32A、32B、33、33A、33B、34、および35は、本発明の原理に従って加工ならびに試験されたステントを図示する。図35は、ステント区画の疲労試験、半径方向歪み(コンプライアンス)試験、変位規模試験、展開構成試験時のステントの収縮および/または拡張、ならびにその他のための試験装置の実施例である。 図24A、24B、25A-25C、26A-26C、27A、27B、28-31、32、32A、32B、33、33A、33B、34、および35は、本発明の原理に従って加工ならびに試験されたステントを図示する。図35は、ステント区画の疲労試験、半径方向歪み(コンプライアンス)試験、変位規模試験、展開構成試験時のステントの収縮および/または拡張、ならびにその他のための試験装置の実施例である。 図24A、24B、25A-25C、26A-26C、27A、27B、28-31、32、32A、32B、33、33A、33B、34、および35は、本発明の原理に従って加工ならびに試験されたステントを図示する。図35は、ステント区画の疲労試験、半径方向歪み(コンプライアンス)試験、変位規模試験、展開構成試験時のステントの収縮および/または拡張、ならびにその他のための試験装置の実施例である。 図24A、24B、25A-25C、26A-26C、27A、27B、28-31、32、32A、32B、33、33A、33B、34、および35は、本発明の原理に従って加工ならびに試験されたステントを図示する。図35は、ステント区画の疲労試験、半径方向歪み(コンプライアンス)試験、変位規模試験、展開構成試験時のステントの収縮および/または拡張、ならびにその他のための試験装置の実施例である。 図24A、24B、25A-25C、26A-26C、27A、27B、28-31、32、32A、32B、33、33A、33B、34、および35は、本発明の原理に従って加工ならびに試験されたステントを図示する。図35は、ステント区画の疲労試験、半径方向歪み(コンプライアンス)試験、変位規模試験、展開構成試験時のステントの収縮および/または拡張、ならびにその他のための試験装置の実施例である。 図24A、24B、25A-25C、26A-26C、27A、27B、28-31、32、32A、32B、33、33A、33B、34、および35は、本発明の原理に従って加工ならびに試験されたステントを図示する。図35は、ステント区画の疲労試験、半径方向歪み(コンプライアンス)試験、変位規模試験、展開構成試験時のステントの収縮および/または拡張、ならびにその他のための試験装置の実施例である。 図24A、24B、25A-25C、26A-26C、27A、27B、28-31、32、32A、32B、33、33A、33B、34、および35は、本発明の原理に従って加工ならびに試験されたステントを図示する。図35は、ステント区画の疲労試験、半径方向歪み(コンプライアンス)試験、変位規模試験、展開構成試験時のステントの収縮および/または拡張、ならびにその他のための試験装置の実施例である。 図24A、24B、25A-25C、26A-26C、27A、27B、28-31、32、32A、32B、33、33A、33B、34、および35は、本発明の原理に従って加工ならびに試験されたステントを図示する。図35は、ステント区画の疲労試験、半径方向歪み(コンプライアンス)試験、変位規模試験、展開構成試験時のステントの収縮および/または拡張、ならびにその他のための試験装置の実施例である。 図24A、24B、25A-25C、26A-26C、27A、27B、28-31、32、32A、32B、33、33A、33B、34、および35は、本発明の原理に従って加工ならびに試験されたステントを図示する。図35は、ステント区画の疲労試験、半径方向歪み(コンプライアンス)試験、変位規模試験、展開構成試験時のステントの収縮および/または拡張、ならびにその他のための試験装置の実施例である。 図24A、24B、25A-25C、26A-26C、27A、27B、28-31、32、32A、32B、33、33A、33B、34、および35は、本発明の原理に従って加工ならびに試験されたステントを図示する。図35は、ステント区画の疲労試験、半径方向歪み(コンプライアンス)試験、変位規模試験、展開構成試験時のステントの収縮および/または拡張、ならびにその他のための試験装置の実施例である。 図24A、24B、25A-25C、26A-26C、27A、27B、28-31、32、32A、32B、33、33A、33B、34、および35は、本発明の原理に従って加工ならびに試験されたステントを図示する。図35は、ステント区画の疲労試験、半径方向歪み(コンプライアンス)試験、変位規模試験、展開構成試験時のステントの収縮および/または拡張、ならびにその他のための試験装置の実施例である。 図24A、24B、25A-25C、26A-26C、27A、27B、28-31、32、32A、32B、33、33A、33B、34、および35は、本発明の原理に従って加工ならびに試験されたステントを図示する。図35は、ステント区画の疲労試験、半径方向歪み(コンプライアンス)試験、変位規模試験、展開構成試験時のステントの収縮および/または拡張、ならびにその他のための試験装置の実施例である。 図24A、24B、25A-25C、26A-26C、27A、27B、28-31、32、32A、32B、33、33A、33B、34、および35は、本発明の原理に従って加工ならびに試験されたステントを図示する。図35は、ステント区画の疲労試験、半径方向歪み(コンプライアンス)試験、変位規模試験、展開構成試験時のステントの収縮および/または拡張、ならびにその他のための試験装置の実施例である。 図24A、24B、25A-25C、26A-26C、27A、27B、28-31、32、32A、32B、33、33A、33B、34、および35は、本発明の原理に従って加工ならびに試験されたステントを図示する。図35は、ステント区画の疲労試験、半径方向歪み(コンプライアンス)試験、変位規模試験、展開構成試験時のステントの収縮および/または拡張、ならびにその他のための試験装置の実施例である。 図24A、24B、25A-25C、26A-26C、27A、27B、28-31、32、32A、32B、33、33A、33B、34、および35は、本発明の原理に従って加工ならびに試験されたステントを図示する。図35は、ステント区画の疲労試験、半径方向歪み(コンプライアンス)試験、変位規模試験、展開構成試験時のステントの収縮および/または拡張、ならびにその他のための試験装置の実施例である。 図24A、24B、25A-25C、26A-26C、27A、27B、28-31、32、32A、32B、33、33A、33B、34、および35は、本発明の原理に従って加工ならびに試験されたステントを図示する。図35は、ステント区画の疲労試験、半径方向歪み(コンプライアンス)試験、変位規模試験、展開構成試験時のステントの収縮および/または拡張、ならびにその他のための試験装置の実施例である。 図24A、24B、25A-25C、26A-26C、27A、27B、28-31、32、32A、32B、33、33A、33B、34、および35は、本発明の原理に従って加工ならびに試験されたステントを図示する。図35は、ステント区画の疲労試験、半径方向歪み(コンプライアンス)試験、変位規模試験、展開構成試験時のステントの収縮および/または拡張、ならびにその他のための試験装置の実施例である。 図24A、24B、25A-25C、26A-26C、27A、27B、28-31、32、32A、32B、33、33A、33B、34、および35は、本発明の原理に従って加工ならびに試験されたステントを図示する。図35は、ステント区画の疲労試験、半径方向歪み(コンプライアンス)試験、変位規模試験、展開構成試験時のステントの収縮および/または拡張、ならびにその他のための試験装置の実施例である。 図24A、24B、25A-25C、26A-26C、27A、27B、28-31、32、32A、32B、33、33A、33B、34、および35は、本発明の原理に従って加工ならびに試験されたステントを図示する。図35は、ステント区画の疲労試験、半径方向歪み(コンプライアンス)試験、変位規模試験、展開構成試験時のステントの収縮および/または拡張、ならびにその他のための試験装置の実施例である。
図35Aは、実施例20に説明されるようなブタモデルの冠動脈に埋め込まれたステントの中間区画の血管直径の変化率を示す、グラフである。
図36は、従来技術で見出され、螺旋状巻回蛇行骨格(リング)を有する、螺旋ステント構造を図示する。
図37は、本発明の原理に従って構築されるステントリングの個々の巻目の間に分離領域を含み、加えて、リングのクラウンおよび支柱に分離領域を含む、螺旋骨格(リング)を伴うステントの第1の実施例または実施形態を図示する。
図38は、本発明の原理に従って構築されるステントリングの個々の巻目内の分離領域(図示せず)と、巻目の間の分離領域とを含む、螺旋骨格を伴うステントの第2の実施例または実施形態を図示する。
図39は、本発明の原理に従って構築されるステントの個々の巻目の間に分離領域を含む、螺旋骨格を伴うステントの第3の実施例または実施形態を図示する。
図40は、本発明の原理に従って構築されるステントリングの個々の巻目の間に分離領域を含む、螺旋骨格を伴うステントの第4の実施例または実施形態を図示する。
図41は、本発明の原理に従って構築されるステントリングの個々の巻目の間に分離領域を含む、螺旋骨格を伴うステントの第5の実施例または実施形態を図示する。
図42は、本発明の原理に従って構築されるステントリングの個々の巻目の間に分離領域を含む、螺旋骨格を伴うステントの第6の実施例または実施形態を図示する。
図43は、本発明の原理による、分離領域がリングおよび支柱の円周方向コネクタの中に位置する、円周方向分離領域によって継合される閉鎖セルステント足場の第1の実施例または実施形態を図示する。
図44は、本発明の原理による、分離領域がリングおよびクラウンの円周方向コネクタの中に位置する、円周方向分離領域によって継合される閉鎖セルステント足場の第2の実施例または実施形態を図示する。
図45は、本発明の原理による、分離領域がリングおよび支柱の円周方向コネクタの中に位置する、円周方向分離領域によって継合される閉鎖セルステント足場の第3の実施例または実施形態を図示する。
図46は、本発明の原理による、分離領域によって継合される閉鎖セルステント足場の第4の実施例または実施形態を図示する。
図46Aおよび46Bは、好ましくは、中間リンク要素を伴わずに、クラウンを直接取り付けることによって継合されるジグザグ円周方向リングを有する、ステント足場の実施例または実施形態を図示する。
図47は、その長さにわたって分配された交互配置間隙を有する、複数の円周方向リングを伴う直線状骨格を有する、足場を図示する。
図48は、足場1239と、交互配置間隙を有する複数の円周方向リングを継合する、非整合骨格区画を有する襞とを図示する。
図49は、その個々の支柱に一対の円周方向変位領域を含むように修正されたステント補綴具の例示的円周方向リングを図示する。
図50-52は、図49の円周方向変位領域をさらに詳細に図示する。 図50-52は、図49の円周方向変位領域をさらに詳細に図示する。 図50-52は、図49の円周方向変位領域をさらに詳細に図示する。
図53および54は、図49の円周方向リングで採用され得るタイプの円周方向変位領域の第1の代替的構造を図示する。 図53および54は、図49の円周方向リングで採用され得るタイプの円周方向変位領域の第1の代替的構造を図示する。
図55は、図49の円周方向リングで採用され得るタイプの円周方向変位領域等の変位領域の第2の代替的構造を図示する。
図56、57、58A、および58Bは、図49の円周方向リングで利用され得るタイプの円周方向変位領域等の変位領域の第4の代替的構造を図示する。 図56、57、58A、および58Bは、図49の円周方向リングで利用され得るタイプの円周方向変位領域等の変位領域の第4の代替的構造を図示する。 図56、57、58A、および58Bは、図49の円周方向リングで利用され得るタイプの円周方向変位領域等の変位領域の第4の代替的構造を図示する。
図59および60は、図49の円周方向リングで採用され得るタイプの円周方向変位領域等の変位領域の第5の代替的構造を図示する。 図59および60は、図49の円周方向リングで採用され得るタイプの円周方向変位領域等の変位領域の第5の代替的構造を図示する。
図61、62Aおよび62Bは、隣接する円周方向ステントリングを接合する軸方向リンク上に存在する円周方向変位領域等の変位領域を有する、代替的ステント補綴具構造を図示する。 図61、62Aおよび62Bは、隣接する円周方向ステントリングを接合する軸方向リンク上に存在する円周方向変位領域等の変位領域を有する、代替的ステント補綴具構造を図示する。
図63は、完全なステントへの後続の組立のために意図される3つの別個のパネルとして加工されたステント構造を図示する。
図64A-64Dは、図63のパネルを完全なステント構造に加工するための例示的ステップを図示する。 図64A-64Dは、図63のパネルを完全なステント構造に加工するための例示的ステップを図示する。
図65は、図61、62Aおよび62Bのステント補綴具に対応する代替的構造を有する、3つのステント加工パネルを図示する。
図66および67は、隣接する円周方向ステントリングを接合する軸方向リンクに隣接して存在する円周方向変位領域等の変位領域を有する、第2の代替的ステント補綴具構造を図示する。 図66および67は、隣接する円周方向ステントリングを接合する軸方向リンクに隣接して存在する円周方向変位領域等の変位領域を有する、第2の代替的ステント補綴具構造を図示する。
図68は、「C字形」開放ステントを形成する、円周の中の単一の不連続性を図示する。
図69は、隣接するリングの間の接続(軸方向リンク)を維持しながら、ステント長に沿って3つのステントストリップ(ステント区分またはステント区画)を形成する、円周の中の3つの不連続性を図示する。
図70は、隣接するリングの間の接続(軸方向リンク)を維持しながら、ステント長に沿って5つのステントストリップ(ステント区分またはステント区画)を形成する、円周の中の5つの不連続性を図示する。
図71は、弛緩位置における管腔内のステントを示す。
図72は、外向き撓曲位置における管腔内のステントを示す。
図73および図74は、隣接するリングの間のステントの中心区分を図示する。 図73および図74は、隣接するリングの間のステントの中心区分を図示する。
図75は、定位置にステントを伴う動脈変位の周期性を図示する。
図76および77は、動脈の別の区分において作動される代替的FEAモデルを図示する。本区分は、リングの中央の近傍に位置する。 図76および77は、動脈の別の区分において作動される代替的FEAモデルを図示する。本区分は、リングの中央の近傍に位置する。
図78は、リングの中間およびリング区分の間の動脈(管腔)変位の周期性を図示する。
図79および80は、異なるステント設計に関する管腔最大直径および管腔面積の比較を図示する。 図79および80は、異なるステント設計に関する管腔最大直径および管腔面積の比較を図示する。
図81は、修正されたステントの半径方向強度を対照ステントの強度と比較する。
図82-83は、リングあたり異なる数の不連続性を伴うステントおよび対照ステントに関する管腔最大直径ならびに管腔面積の比較を図示する。 図82-83は、リングあたり異なる数の不連続性を伴うステントおよび対照ステントに関する管腔最大直径ならびに管腔面積の比較を図示する。
図84は、圧着構成時に約45度の角度で存在する円周方向変位領域等の変位領域(分離領域または不連続性)を有する、ステント補綴具構造の代替的実施例を図示する。
図85は、広範囲の整合を可能にする構成で存在する円周方向変位領域等の変位領域(分離領域または不連続性)を有する、ステント補綴具構造の代替的実施例を図示する。
図86A-86Cは、天然大動脈弁を置換するように大動脈弁輪内の設置のために三尖弁に結合された従来技術のステント補綴具の実施例を図示する。
図87A-87Dは、少なくとも1つのリング円周方向経路に沿って4つの分離領域または継手を有する、少なくとも1つのリングを示す、正弦曲線パターンを有する弁置換用のステント補綴具の実施例を図示する。結合された弁要素は、示されていない。
図88A-88Dは、少なくとも1つのリングの1つの区画(もしくは領域)に沿ってクラスタ化された、3つの分離領域または継手を有する、少なくとも1つのリングを示す、正弦曲線パターンを有する弁置換(もしくは修復)用のステント補綴具の実施例を図示する。結合された弁要素は、示されていない。
図89A-89Dは、対称に設置された分離領域または継手を伴う閉鎖セルステントパターンを有する、弁置換(もしくは修復)用のステント補綴具の実施例を図示する。
図90A-90Dは、クラスタ化分離領域または継手を伴う閉鎖セルステントパターンを有する、弁置換(もしくは修復)用のステントの閉鎖セルパターンの実施例を図示する。
図91A-91Eは、拡張後に、少なくとも1つの方向への変位および形状構成の変化を可能にする、少なくとも1つの継手を有する固定インプラントの実施例を図示する。 図91A-91Eは、拡張後に、少なくとも1つの方向への変位および形状構成の変化を可能にする、少なくとも1つの継手を有する固定インプラントの実施例を図示する。 図91A-91Eは、拡張後に、少なくとも1つの方向への変位および形状構成の変化を可能にする、少なくとも1つの継手を有する固定インプラントの実施例を図示する。
図92A-92Fは、拡張後に、少なくとも1つの方向(または次元)への変位および形状構成の変化を可能にする、2つの継手を有する固定インプラントの実施例を図示する。 図92A-92Fは、拡張後に、少なくとも1つの方向(または次元)への変位および形状構成の変化を可能にする、2つの継手を有する固定インプラントの実施例を図示する。 図92A-92Fは、拡張後に、少なくとも1つの方向(または次元)への変位および形状構成の変化を可能にする、2つの継手を有する固定インプラントの実施例を図示する。
図93A-93Eは、フープの平面に直交する軸において変位(または移動)を可能にする2つの継手を有する、固定インプラントの実施例を図示する。 図93A-93Eは、フープの平面に直交する軸において変位(または移動)を可能にする2つの継手を有する、固定インプラントの実施例を図示する。
図94A-94Bは、少なくとも1つの方向への移動および形状構成の変化を可能にする3つの継手を有する、固定インプラントを図示する。
図95A-95Cは、フープの平面に直交する軸にある少なくとも1つの方向(または次元)における移動(もしくは変位)を可能にする3つの継手を有する、固定インプラントを図示する。
図96A-96Bは、分離領域(または継手)を有し、穿孔を有するステントの外側にスカートを有する、弁置換用のステントを図示する。ステントは、弁(図示せず)に結合される。
図97A-97Gは、異なる幾何学形状を伴う空隙を有する、ステントクラウンを図示する。
図98Aおよび98Bは、チャネル(図98A)ならびにスロット(図98B)として形成される空隙を有する、ステントクラウン、支柱、およびリンクを図示する。
図99A-99Cは、薄膜化および/またはテーパ状領域を伴うステントクラウンを図示する。
図100A-100Dは、ブタ動脈内の埋込後に本発明の足場に不連続性を形成する分離領域を示す、本発明のステントのOCT画像である。
図101Aおよび101Bは、ブタ動脈内の埋込後の本発明の試験足場および対照足場(分離領域を有していない)に関するステントならびに管腔平均面積のプロットである。
図1-3を参照すると、従来の管腔内補綴具10は、ジグザグリング14を含む、略管状足場12を備える。各ジグザグリング14は、曲線状ヒンジ(拡張領域)42によって継合される、複数の略直線状支柱40を含む。補綴具10が「広げられた」構成である、図2Aに示されるように、ヒンジ42は、比較的ともに接近し、補綴具の直径は、典型的には、未拡張または「圧着」と称される、小さい直径もしくは最小直径にある。図2Bに示されるように、対照的に、ステントは、ヒンジ42が開放しており、支柱40が円周方向に離れているように、半径方向に拡張されている。そのようなジグザグステント構造は、金属およびポリマー材料の両方において当技術分野で周知である。
図3Aおよび3Bは、「蛇行」ステントと一般的に称される、第2のタイプの従来の管腔内補綴具を図示する。蛇行ステントまたは管腔内補綴具16は、複数の蛇行リング20を伴う円周方向足場18を備える。各リング20は、曲線状または屈曲ヒンジ22によって継合される、複数の略線形支柱21を含む。ヒンジ22は、概して、ジグザグステントの中のヒンジ42の直径よりも大きい直径を有し、支柱21は、概して、ジグザグステントの支柱40のわずかにオフセットしたまたは非平行配向とは対照的に、図3Aの未拡張もしくは圧着構成時に相互と平行に位置するであろう。蛇行ステント16はさらに、最外蛇行リングを円周方向足場の隣接する本体に継合する、第1のタイプの軸方向リンク23を含む。軸方向リンク23は、ヒンジがリンクの全長によって離間されるように、隣接するヒンジ22の外径を継合する。しかしながら、円周方向足場18の本体内で、リンク24は、第1の蛇行リング20の外径から隣接する蛇行リング20の内径まで継合される。このように、ヒンジ22は、図3Aに示されるように、ステントがその圧着または小直径構成であるときに、ともに接近するが位相がずれて離間される。蛇行ステント16が、図3Bに示されるように、バルーンまたは別様に拡張されるとき、ヒンジ22は、広がり、支柱21は、ジグザグ管腔内補綴具10の中の支柱40で示されるよりもはるかに大きく分岐する。一実施例では、拡張領域によって継合される、2つの隣接する支柱の間の角度は、圧着構成時の実質的にゼロから完全拡張構成時の約160°またはそれを上回る角度まで及ぶことができる。
本発明は、限定されないが、前述のようなジグザグ構造および蛇行構造を伴う補綴具を含む、多くのタイプのバルーン拡張型ならびに自己拡張式管腔内補綴具のための方法および構造修正を対象とする。方法および構造修正はまた、ワイヤ、シート、または管、もしくはその他から形成されるかどうかにかかわらず、数例を挙げると、閉鎖リングタイプ、閉鎖セルタイプ、開放セルタイプ、螺旋コイルまたはワイヤタイプ、ワイヤメッシュタイプ、バルーン拡張型タイプ、自己拡張式タイプ等の種々のタイプのステントも対象とする。埋込に応じて、もしくは埋込後に、および/または経時的に、身体管腔を離脱させ、1%~5%に及ぶ半径方向歪み(コンプライアンス)を有し、身体管腔を支持するために展開構成時に十分な強度を有する一方で、0.05mm~1mmに及んで展開構成時に拡張ならびに/もしくは収縮し、初期拡張からの内向き反跳後により大きい直径までさらに拡張し、治療薬に応答して血管収縮および/または血管拡張を呈し、血管ならびに他の身体管腔内の管腔再形成に適応するためにステントの円周方向拡張に対する抵抗を減少させるであろう、補綴具を提供することが、本発明の目的である。いくつかの具体的実施形態または実施例では、本発明の補綴具は、もはや血管拡張および再形成を阻止しなくなるように、経時的に実質的に分解するであろう、生分解性(分解性)ポリマーまたは分解性金属から成る、もしくは主に成るであろう。そのような生分解性ステントでは、本発明は、展開中に、または展開もしくは治癒プロセス後に、身体管腔のための十分な構造支持を提供するが、治癒プロセスの後期中に管腔の後続の再形成への干渉を限定することができるように、ステントの強度または初期強度を増加させる修正を提供するであろう。本発明の他の実施例または実施形態では、管腔内補綴具は、管腔環境内で非分解性もしくは徐々に分解性である、金属または硬質プラスチック等の高強度材料から形成もしくは加工される円周方向足場を備えるであろう。本質的に高い強度を有する補綴具を用いると、本発明は、血管再形成への最小干渉があるように、治癒プロセスの後期中等、展開に応じて、または展開後に、ステントが部品に分かれる、もしくは区画に分かれる、またはパターン化構造に分かれる、もしくは不連続性を形成する分離領域を有することを可能にする、修正を提供するであろう。なおも他の実施形態または実施例では、本発明の管腔内補綴具は、無傷のままであり、展開後に血管拡張を可能にする一方で、血管圧縮に対する抵抗を提供する、能動継手等の継手を提供されてもよい。さらに他の実施例または実施形態では、本発明の補綴具は、ステントの拡張に応じて、高い半径方向強度(破砕抵抗)を提供する、非分解性材料を備えてもよく、材料は、埋込後に脆弱化し、ステントの抵抗を下げ、血管または管腔再形成に応答してさらに拡張する。
I. 補強要素を伴うポリマーまたは金属補綴具
ここで図4-9を参照すると、本発明の管腔内補綴具は、任意の従来のステントパターンで生分解性ポリマー材料(または生分解性金属材料)からパターン化されてもよい。例えば、支柱21、ヒンジ22、およびリンク23ならびに24のパターンを有する、蛇行管腔内補綴具16は、具体的には図4Aおよび4Bに示されるように、補強要素26を提供されてもよい。図4Aでは、補綴具は、その圧着または小直径構成であり、典型的には、曲線または三日月形として形成されるが、種々の形状、サイズ、および幾何学形状を有し得る、第1のタイプの補強要素26が、ヒンジ22のうちの選択されるもの中で提供される。ヒンジが、図4Bに示されるように、ステントの開放中に応力を加えられ、拡張されたヒンジが血管または他の身体管腔内の初期拡張後に存在し得る圧縮力への降伏に抵抗することに補強が役立つであろうため、ヒンジ内に補強を提供することが特に望ましい。
しかしながら、補強要素は、ヒンジ領域22に限定される必要はなく、図4Aおよび4Bの補強要素28で示されるように、概して、2つ、3つ、4つ、またはそれを上回る隣接ヒンジ22および支柱24に沿って延在してもよい。
補強要素26および28は、多くの場合、可鍛性となり、典型的には、可鍛性金属または金属合金から形成され、ヒンジ、支柱、またはある場合にはリンクの本体内に埋め込まれてもよい、もしくは別様に結合されてもよい、または取り付けられてもよい。他の場合では、補強要素26および28は、形状記憶合金またはばねステンレス鋼等の弾力性金属から形成され得る。そのような場合において、補強要素26および28は、典型的には、図4Bに示されるように、補強要素22または28が、ヒンジ22および円周方向足場18の開放を助長するために付勢されるように、図4Aに示されるように、ステントがその閉鎖パターンであるときに束縛構成であろう。多くの場合、補強要素26および28は、付勢されたヒンジが、治癒プロセスの後期中に管腔再形成に適応するようにステントの開放を助長し続けることができるように、図4Bに示されるように、足場が完全または部分的に拡張されたパターンであるときでさえも付勢された(部分的に閉鎖された)ままであろう。形状記憶またはばね補強要素は、拡張領域に結合される、および/または(拡張領域/ヒンジとして)2つの隣接する支柱に結合されることができ、そのような補強要素は、ステントの埋込後(展開後)に、およびステントの実質的な分解前に、ステントをさらに拡張する、または埋込後およびステントの完全な分解前にステントをさらに拡張する、もしくは埋込後にステントをさらに拡張することができる。ステントのさらなる拡張の量は、補強要素の数によって制御され、そのような補強要素の開放角度は、補強要素の開放に対する血管または管腔抵抗、すなわち、補強要素に結合される分解性材料がその時に提供する抵抗に対して開放するようにプログラムされる。典型的には、そのような形状記憶またはばね材料は、埋込後に0.05mm~0.5mmだけステント直径をさらに増加させることができる。
図5Aおよび5Bに示されるように、補強要素30は、支柱21およびヒンジ22に加えて、軸方向リンク24を横断して延在するように、蛇行体内補綴具16の中に設置されてもよい。このように、補強要素30は、足場18の円周および軸方向長の両方に跨架するであろう。
図6Aおよび6Bに示されるように、補強要素32は、補強要素の円周に単一のみまたは少なくとも単一の切れ目もしくは他の不連続性33を伴って、実質的に蛇行リング20全体の周囲に延在する。このように、最大の補強が、蛇行リング20に提供される一方で、残りの開口部または間隙33は、補強(概して、分解しないであろう、または生分解性材料ほど迅速に分解しないであろう)が開放し、身体管腔が治癒プロセスの後期にある際に身体管腔の閉じ込めもしくは拘束を回避することを可能にする。切れ目領域中の補強要素の反対端は、(図6Aおよび6Bに示されるように)接触しているか、または離れているかのいずれかである。補強要素の端部の間の切れ目領域の距離は、多くの場合、5ミクロン~1mmに及ぶことができ、典型的には、10ミクロン~0.5mmに及ぶ、より典型的には、15ミクロン~0.2mmに及ぶ。補強要素の端部は、血管壁への外傷を最小限にするために、デバリングされる、丸みを帯びさせる、球状に作製される、または他の形状、幾何学形状、もしくはサイズに構成されることができる。
ここで図7Aおよび7Bを参照すると、ボックス形状の補強要素34が、支柱21、ヒンジ22、およびリンク24を被覆し、強力な支持を提供するため、ならびに生分解性ステント材料が分解した後に、構造、パターン化構造、または比較的大型の構造を後に残すための両方で、提供されてもよい。そのような比較的大型のボックス構造の利点は、生分解性円周方向足場18が分解もしくは消滅した後に、不注意に血液循環の中で失われないであろう、および/またはステントが分解した後に、管腔支持を提供できることである。
図8Aおよび8Bに示されるように、補強要素36は、円周方向足場18の構造内に埋め込まれる必要がなく、支柱21およびヒンジ22のパターンに従う必要さえない。補強要素36は、本明細書の以降の図9Dの実施例でさらに詳細に示されるように、円周方向足場18の外部にあり、選択された場所のみにおいて支柱およびヒンジに結合される、または取り付けられる。
ここで図9Aを参照すると、金属または他の補強要素26が、以下でさらに詳細に説明されるように、ヒンジ本体の中へ要素を埋め込むまたは別様に取り付けることによって、ヒンジ22に結合されてもよい。図4Aおよび4Bに示されるように、ヒンジ22に埋め込まれた短い補強要素26を伴って図示されているが、ヒンジの中へ補強要素を埋め込むためのそのような技法はまた、生分解性円周方向足場の支柱、軸方向リンク、または任意の他の構成要素の中へそのような補強要素を埋め込むことにも適用されるであろうことが理解されるであろう。
ここで図9Bを参照すると、ある時は好ましい他の事例では、補強要素26は、ロッドとして形成されてもよく、補強要素のいかなる部分もヒンジの表面上で可視ではないように、完全にヒンジ22の中に埋め込まれてもよい。
図9Cに図示されるように、補強要素26は、生分解性ポリマーまたは生分解性金属円周方向足場のヒンジ22もしくは任意の他の部分の上に搭載された表面であってもよい。補強要素は、ポリマー生分解性円周方向足場または金属生分解性ステントのヒンジ、支柱、リンク、および他の構成要素の上に搭載された表面であってもよい。
ここで図9Dを参照すると、図8Aおよび8Bに図示される外部補強要素36は、例えば、ピン38を用いて取り付けることによって、生分解性円周方向足場18の支柱21、ヒンジ22、または他の構成要素に取り付けられてもよい。図示されるように、1つのピン38は、外部補強要素36の各端部において取り付けられるが、付加的なピンは、補強要素が支柱21またはヒンジ22にわたって横断する、中間場所において追加され得る。
一実施例では、溝、裂溝、スロットが、ポリマーまたは金属材料に形成され、補強材料は、次いで、該溝、スロット、裂溝の中に圧入、嵌合、および/または挿入される。先の実施例とは別個に、または加えて、別の実施例では、コーティング、接着剤、または他の間隙を接合、保持、充填、もしくは除去する手段が、金属またはポリマーフレーム(主要ポリマー材料)および補強材料をともに保持、充填、もしくは添着するように、ポリマー材料(もしくは金属材料)および/または補強材料に追加される。別の実施例では、補強材料は、ポリマー材料の溶融温度を上回る温度まで加熱され、ポリマー材料と結合され、次いで、その上または中に圧入される。さらに別の実施例では、ポリマー材料は、ポリマー材料を軟化させる(または部分的に溶融もしくは部分的に溶解させる)溶剤で処置され、次いで、軟化した(または部分的に溶融した)ポリマー材料の上もしくは中に補強材料を挿入または嵌合する。別の実施例では、補強材料は、(分解性ポリマー材料とともに補強材料を浸漬、噴霧、成形、および/または押出することによって形成される)ポリマー材料層の間に挟持され、補強材料は、ポリマー材料および補強材料を備える管状構造をパターン化する前に、間隙ならびに/もしくは不連続性のいずれかを有する、またはそのような間隙ならびに/もしくは不連続性は、管状構造をパターン化した後またはその間に形成される。いったん管状構造がパターン化されると、付加的ポリマー、接着剤、または他の手段が、パターン化構造をともに保持するように適用されることができる。
II. 分離領域、環境応答性および/またはエネルギー応答性分離領域を伴うリングを有する、非分解性もしくは分解性(拡張に応じて高い初期強度を有する)補綴具
ここで図10を参照すると、部分リング14を示す拡張可能ジグザグが、軸方向リンク44によって相互に取り付けられたヒンジ42および隣接するリングによって継合された複数の支柱40とともに詳細に図示されている。以下の議論および実施例の目的のために、ジグザグリング14は、金属または他の非分解性材料から形成され(但し、ステントの拡張に応じて高い剛性を有する金属またはポリマー材料等の分解性材料から形成されることもできる)、材料は、経時的に、および/または拡張後に、これらの場所(分離領域)において、もしくはこれらの領域中に、不連続性または分離を形成するように、材料を脆弱化するために(もしくは接合点を形成するために)特定の場所または領域において修正されるであろう。ある場合には、不連続性または転位は、補綴具が埋め込まれている管腔環境の結果として生じるであろう。例えば、血管系に埋め込まれたとき、血管は、自然に脈動し、連続機械的応力を、管腔内補綴具、または心臓の鼓動中に収縮および拡張する(もしくは広がる)弁輪に提供するであろう。特定の場所または分離領域における円周方向足場の物理的性質を修正することによって、これらの場所は、経時的に優先的に破損(崩壊および/または分離)し、展開後ならびに/もしくは血管壁に組み込まれた後に、円周方向足場が離脱および/またはさらに拡張することを可能にするであろう。このように、血管または他の身体管腔もしくはステント留置区画の望ましくない閉じ込めまたは拘束が、防止されることができる。他の事例では、円周方向足場上のある場所または分離領域の優先的破損は、磁性、超音波エネルギー、熱、高周波数エネルギー、血管拡張剤もしくは血管収縮剤等の後続の治療薬、身体管腔内のバルーン拡張、または同等物を含む、種々の源のうちのいずれか1つからの外部エネルギーの印加によって誘発または増進されることができる。以下の議論では、円周方向足場への特定の構造または物理的修正の殆どもしくは全てが、身体管腔内の生理学的環境および/または外部エネルギーの印加のいずれかに応答するように構成もしくは適合され得ることを理解されたい。
ここで図11Aおよび11Bを参照すると、第1の構造修正は、一対の隣接する支柱40を継合するヒンジ42内に形成される切り欠き46を備える。図11Aに示されるような圧着直径構成では、V字形の切り欠き46は、比較的大きい角度で開放している。バルーン拡張等によって円周方向足場が拡張された後、切り欠き46は、図11Bに示されるように部分的に閉鎖するであろう。より小さいが残留する開口部を切り欠き46に残すことによって、円周方向足場が管腔脈動に起因して繰り返し拡張および収縮すると、ヒンジの残留する取り付けられた部分は、経時的にそれを破損させるであろう集中応力を受ける「リビングヒンジ」として作用するであろう。ヒンジ42の中に残される材料の量を適切に選択することによって、ヒンジの期待耐用年数が選択またはプログラムされることができる。したがって、特定の管腔内補綴具は、血管または他の身体管腔内で無傷のままであるが、拡張後、典型的には、身体管腔が十分な量で治癒し、無傷の足場からの支持を有することがもはや必要ではなくなった後に、開放するための予測可能な耐用年数を伴って加工されてもよい。血管または他の身体管腔の機械的脈動、もしくは体外のシミュレーションされた脈動に応答するために主に意図されているが、図11Aおよび11Bに示されるような切り欠き46によるヒンジ42の脆弱化もまた、ヒンジを、身体管腔内の生理学的環境および/または外部エネルギーの印加ならびに/もしくは破損という他の条件からの疲労または浸食の影響をより受けやすくさせるであろうことが理解されるであろう。
円周方向足場のヒンジ領域の中に切り欠き46を設置することの代替として、またはそれに加えて、切り欠き48は、図12Aおよび12Bに図示されるように、円周方向足場の支柱、ビーム、または他の略非変形可能領域の中に設置されてもよい。支柱40はまた、管腔内環境からの応力を受け、経時的に管腔脈動に応答して破損するようにプログラムされることができる。
ここで図13Aおよび13Bを参照すると、切り欠き50はまた、円周方向足場のヒンジ領域42を接合する軸方向リンク44に隣接して(示されるように)設置されてもよい。軸方向リンク44に隣接するヒンジ42は、これらの場所がステント破損をプログラムするための代替的能力を提供し得るように、生理学的環境内で事前プログラムされた近似持続時間で疲労もしくは浸食する、または他のヒンジ領域中の切り欠きよりもさらに大きい応力を受けるであろう。また、リング14を解放して半径方向に拡張する、および/または離脱させることに加えて、クラウン上、支柱上、および(クラウン上の)リンク44に隣接する足場を開放することは、足場の円周方向開放を増進するであろう。そのような切り欠き、溝、または他の特徴は、これらの図および実施例では、材料でコーティングされる、もしくはポリマー材料等のスリーブとともに含有されることができ、コーティングまたはスリーブは、それらが破損するときに、そのような切り欠きの任意の非外傷性構成要素から血管壁を保護することに役立つであろうことが理解され得る。スリーブまたはコーティングは、非分解性もしくは分解性であり得、好ましい実施例では、分解性コーティングまたはスリーブは、リングが破損した後に分解するであろう。パリレン等の非分解性材料の場合、これは、切り欠きが破損した後に切り欠きを含有するであろう。いずれの場合にも、コーティングおよび/またはスリーブは、リングもしくは円周方向構造要素が、離脱させられる、または少なくとも半径方向、円周方向、ならびに/もしくは縦方向に移動できることを可能にするであろう。
ここで図14Aおよび14Bを参照すると、2つの蛇行リング52および54を示し、各リングは、それらの隣接する支柱の間に分離領域56を形成する、2つの部分リングを含有する。分離領域56は、ともに取り付けられた、または保持されたままである中心領域62等の領域を除いて、リング52およびリング54上の2つの部分リングのそれぞれを完全に分離する、2つの隣接するリング52および54の間に延在する。リング52および54が半径方向に拡張されると、分離領域は、図14Bに示されるように、4つの区画56a、56b、56c、および56dが開放してXパターン等のパターンを形成するように開放する。
52の部分リングおよび54の部分リングは、本実施例では、望ましい時間周期後または展開後に、破損して、52の2つの隣接する部分リングを完全に分離し、リング54の2つの隣接する部分リングを完全に分離するように構成されることができる、中心区分62のみによって保持されたままである。具体的には、中心部分の幅および厚さは、脈動応力、他の管腔内条件、および/または外部エネルギーの印加、ならびにそれらの組み合わせに応答して、破損もしくは分離するように選定されることができる。典型的には、中心区分62の破損は、52の2つの部分リングの間および54の2つの部分リングの間の分離領域の存在がないと、リング52および54に不連続性を形成しないであろう。
ここで図15Aおよび15Bを参照すると、ヒンジ領域42中(但し、支柱等の他の領域中でもあり得る)の金属等の材料の性質は、管腔内環境内の所定の時間後および/または外部エネルギーへの暴露後に、破損もしくは分離する、または不連続性を形成するように、これらの分離領域を脆弱化するように修正されてもよい。例えば、ヒンジ領域内の粒界は、そのようなプログラムされた破損または分離を提供するように修正されることができる。粒界は、例えば、高温で材料を焼鈍し、粒径を修正し、焼鈍された面積をより弱くし、所望の時間周期内に破損しやすくすることによって、修正されることができる。議論されるように、スリーブまたはコーティングは、該領域の破損まで、もしくは破損後のより長時間まで、ヒンジ領域の少なくとも一部を含有するように領域の少なくとも一部にわたって設置されることができる。
ここで図16A-16Dを参照すると、クラウン、支柱、またはその他等の非分解性円周方向足場構造要素(但し、拡張に応じて高い初期強度を有する金属または金属合金等の分解性材料でもあり得る)は、示されるように事前切断もしくはパターン化される、または分離され、次いで、再継合される、および/または管腔内補綴具の展開中ならびにその後の所望の時間周期にわたって無傷のままであるようにともに保持されることができる。足場構成要素の切断/切離(分離領域不連続性)端が再継合される方法を適切に選定することによって、これらの領域の破損(分離、間隙形成、係止解除、および/または分解、不連続性)は、本願の全体を通して説明されるように、選択された時間周期内に達成されることができる。例えば、図16Aに示されるように、突き合わせ継手68は、ある場所において支柱40を切断し、次いで、例えば、接着剤またはポリマーを使用して、継手の端部を再継合することによって、形成されてもよい。接着剤は、望ましい初期周期にわたって無傷のままであるが、その時間が経過した後に破損するように選定されることができる。
代替物として、または接着剤に加えて、生分解性スリーブ70は、支柱40の中の切離場所の周囲に設置されてもよい。生分解性スリーブは、管腔環境に応答して経時的に分解する、および/または外部エネルギーの印加に応答して分解し、不連続性を形成し、構造要素の隣接するリングを離脱させる、ポリマーもしくは他の材料から形成されてもよい。スリーブはまた、非分解性であり得るが、拡張後に、半径方向、円周方向、および縦方向等の1つまたはそれを上回る方向への構造要素(端部を含む)の移動を可能にしてもよい。この場合のスリーブは、伸張可能であり得、少なくとも部分的に劣化または弛緩し、構造要素の端部の移動を可能にする。
図16Cに示されるように、キーおよびロック接合点72は、支柱50の2つの隣接区画に形成されてもよい。キーおよびロックは、次いで、所定の時間にわたって管腔内環境内で分解する、および/または外部エネルギーの印加によって浸食されるであろう、接着剤、ポリマー材料、もしくは他の物質のいずれかである、接着剤、スリーブ、セメント、またはポリマー74によって、定位置で保持されてもよい。別の実施例では、キーおよびロックは、隣接区画が機能するため、またはステントの拡張のためにともに保持されるために接着剤もしくはポリマーを要求せず、身体管腔を支持するために十分な強度を有して、緊密に嵌合される(または実質的に緊密に嵌合される)。緊密嵌合端は、最終的に、特に血管脈動に応答して、好ましくは、半径方向に分離するであろうが、円周方向に移動する、および/または最終的に縦方向に移動することもできる。
図16Dに示される、さらに別の代替物として、リベット76が、支柱40の隣接する区画を継合するように形成されてもよい。例えば、支柱の端部は、重複要素77を有するように形成されてもよく、リベットは、それを通して設置されてもよい。リベットは、経時的に浸食される(分解または腐食することを含む)、本明細書で議論される生分解性材料のうちのいずれかから形成されることができる。
ここで図16E-1-図16E-3を参照すると、さらなる例示的「キーおよびロック」分離領域80は、第1の支柱区画81と、第2の支柱区画82とを含む。キーおよびロック分離領域80は、第1の支柱区画81の一方の端部において形成される拡大ヘッド83ならびに第2の支柱区画82の一方の端部において形成されるスロットまたはレセプタクル領域84によって形成される。拡大ヘッド83およびスロットレセプタクル領域84は、「ジグソー」パズルのピースに類似する様式で取外可能に継合され、拡大ヘッド81は、本構成で形成もしくはパターン化され、またはスロットもしくはレセプタクル領域84に押し込まれてもよく、いったん継合されると、支柱区画81および82は、軸方向に引き離され得ない。それらは、好ましくは、図16E-3の矢印によって示されるように、相対的「垂直」または半径方向移動のみによって分離されてもよい。
便宜上、拡大ヘッド83およびスロットまたはレセプタクル領域84は、ステントもしくは他の管腔補綴具の足場構造の残りの部分が加工されている間に、管のレーザ切断によって支柱区画81および82に形成されてもよい。拡大ヘッド83とスロットまたはレセプタクル84との間の物理的切れ目もしくは不連続性は、通常、最小限の材料が結果として生じる補綴具構造から除去されるように、単一の切断線から形成されるであろう。代替として、軸方向分離が軸方向張力下で阻止されるように、好ましくは、締まり嵌めが拡大ヘッド83とスロットまたはレセプタクル84との間に残留する限り、付加的材料が(複数の切断線によって)除去され得る。
個々の支柱81および82が開始管から切断され、スロットまたはレセプタクル領域84から拡大ヘッド83を分離する切断線もしくは空間が形成された後、支柱区画81および82の結果として生じる遊離端は、通常、補綴具の展開および拡大(拡張)中に継手の開放を阻止するために、相互に対して垂直に変位されることができないように、一時的に固定化されるであろう。例えば、拡大ヘッド83およびスロットまたはレセプタクル領域84は、ヘッドとスロットとの間の間隙または領域の中に導入され、典型的には、それを充填する、接着剤もしくはポリマーを用いて継合されてもよい。具体的には、接着剤または糊もしくはポリマーは、典型的には、ヘッド83およびスロット84の隣接する当接表面をともに継合し、その間の任意の剪断運動を阻止するように作用するであろう。接着剤またはポリマーは、通常、ステント区画の端部を解放し、図16E-3に図示される垂直運動/移動を可能にするために、本願の他の場所に記載されるように、経時的に分解するように、生分解性であろうが、非分解性でもあり得、その上、足場の離脱を可能にする、または垂直もしくは半径方向または円周方向移動を可能にする。代替として、または加えて、拡大ヘッド83およびスロットまたはレセプタクル領域84は、図16E-2の破線で示されるように、生分解性スリーブ85を用いてヘッドおよびスロット領域を取り囲む、もしくはカプセル化することによって、固定化されてもよい。これらの図中のスロットレセプタクルはまた、ステントの拡張後に広がり、拡大ヘッドが縦方向および/または半径方向に移動することを可能にするように構成されることもできる。スロットレセプタクルは、心臓の脈動または材料疲労等の生理学的条件の結果として開放することができる。スロットレセプタクルは、一実施例では、拡大ヘッドの周囲に実質的に小さい幅を有し、脈動環境または移動におけるスロットレセプタクルの開放を促進するように構成されることができる。
生分解性スリーブ85は、押出、噴霧、浸漬コーティング、ブラッシング、成形、または同等物、もしくはそれらの組み合わせによって、支柱の中の切断線、空間、または他の切れ目にわたって形成されることができる。スリーブ、セメント、ポリマー、接着剤のための好適な材料は、本願の全体を通して説明される、および/または限定されないが、ラクチド、カプロラクトン、トリメチレンカーボネート、ならびに/もしくはポリラクチド、ポリ(L-ラクチド)、ポリ-DL-ラクチド、ポリラクチド-co-グリコリド(例えば、85%L-ラクチド対15%グリコリドを伴うポリ(L-ラクチド-co-グリコリド))、ポリ(L-ラクチド-co-イプシロン-カプロラクトン)のコポリマー(例えば、約50~約95%L-ラクチド対約50~約5%カプロラクトンの重量比)、ポリ(L-ラクチド-co-トリメチレンカーボネート)、ポリトリメチレンカーボネート、ポリ(グリコリド-トリメチレンカーボネート)、ポリ(ラクチド-グリコリド-トリメチレンカーボネート)、または同等物等のグリコリド、ポリ(3-ヒドロキシ酪酸)およびポリ(4-ヒドロキシ酪酸)等のポリヒドロキシ酪酸、ポリヒドロキシ吉草酸、ポリヒドロキシ酪酸/ポリヒドロキシ吉草酸コポリマー(PHV/PHB)、ポリヒドロキシアルカノエート、ポリオルトエステル、ポリ酸無水物、ポリイミノカーボネート、チロシン由来ポリカーボネート、チロシン由来ポリアクリレート、ヨウ化および/または臭素化チロシン由来ポリカーボネート、ヨウ化および/または臭素化チロシン由来ポリアクリレートポリエステルアミド、ポリカーボネートコポリマー、ポリ(フマル酸プロピレン-co-エチエレングリコール)コポリマー(別名フマル酸無水物)等のラクトンベースのポリマー、ポリ酸無水物エステル、ポリオルトエステル、シルクエラスチンポリマー、ポリホスファゼン、脂肪族ポリウレタン、ポリヒドロキシ酸、ポリエーテルエステル、ポリエステル、ポリデプシペプチド、ポリ(アルキレンオキサラート)、ポリアスパラギン酸、ポリグルタル酸ポリマー、ポリ-p-ジオキサノン、ポリ-ベータジオキサノン、非対称3,6-置換ポリ-1,4-ジオキサン-2,5-ジオノン、ポリアルキル-2-シアノアクリレート、ポリデプシペプチド(グリシン-DL-ラクチドコポリマー)、ポリジヒドロピラン、ポリアルキル-2-シアノアクリレート、ポリ-ベータ-マレイン酸(PMLA)、ポリアルカノエート、ポリ-ベータ-アルカン酸、エラスチン、フィブリン、コラーゲン、糖タンパク質、ゼラチン、またはペクチン等のタンパク質、ポリ-セリン、ポリカプロラクタム、シクロデキストリン、キトサンおよびヒアルロナン等の多糖類、アルギネート、ポリケタール、脂肪酸ベースのポリ酸無水物、アミノ酸ベースのポリ酸無水物、ポリ(エステル無水物)、またはそれらの組み合わせを含む。
さらなる例示的「キーおよびロック」分離領域87が、図16F-1-16F-4に図示されている。キーおよびロック領域87は、第1の支柱区画88ならびに第2の支柱区画89を継合する。キーおよびロック分離領域80の好ましいと分離方向は対照的に、キーおよびロック分離領域87は、図16F-3の矢印によって示されるような相対的垂直方向ならびに図16F-4の矢印によって示されるような相対的軸方向の両方で、支柱区画88および89の分離を可能にする。そのような異なる性能は、一実施例では、スロット91に対して拡大外形を有していない、凸部90に起因する。そのようにして、凸部90およびスロット91は、相互に対して軸方向または垂直のいずれかで自由に移動することができる。
しかしながら、キーおよびロック分離領域80と同様に、キーおよびロック領域87はまた、それが一部を形成する補綴具の埋込および/または拡張中に安定させられるように、固定化されるであろう。固定化は、接着剤、ポリマー、またはスリーブ92を使用することであってもよく、両方とも本明細書の他の場所でさらに詳細に説明される。また、領域を保持する他の手段は、支柱区画の表面上に溝、フック、または他の特徴を含み、ステントが圧着構成から拡張されたより大きい構成まで拡張するにつれて、摩擦および/または固定を作成することができる。
(スリーブまたは接着剤分解後に)分離領域87および95によって提供されるような垂直ならびに軸方向の両方への移動度は、埋込後に半径方向に拡大するステントの能力を最大限にするため有益である。しかしながら、軸方向への移動度は、ステントが送達カテーテルまたは他の手段によって半径方向に拡張されるにつれて、分離領域が分離するであろう、例えば、スリーブ92または99が、本実施例では、剪断下よりも張力下で隣接する支柱区画をともに保持することがあまりできなくなるであろう可能性を増加させる。対照的に、好ましくは、分離領域80等の半径方向または円周方向移動度を伴う分離領域は、ステントが半径方向に拡張されている間に、分離力により良好に抵抗することができるであろうが、スリーブが分解した後に、若干あまり自由にはステント拡張を可能にしないであろう。しかしながら、通常、両方の設計は、スリーブが分解した、または分解された後に、組織および血管収縮に応答して分離を可能にするであろう。
キーおよびロック領域80ならびに87は両方とも、好ましくは、例えば、蛇行パターンを示す図16F-5に示されるように、蛇行またはジグザグステントパターンもしくは他のステント設計タイプでクラウンによって継合される、あるタイプの支柱の線形領域に、または中央領域を中心として組み込まれるであろう(但し、支柱の任意の場所に位置付けられることができる)。図16F-5に示されるステントパターンは、クラウン94bによって継合される、支柱要素94a(キーおよびロック分離領域を含む場合もあり、含まない場合もある)を備える、複数の円周方向リング93を含む。軸方向に隣接する蛇行リング93は、隣接するクラウン領域94bの間に配置される軸方向リンク94cによって継合される。図16F-5に示される具体的実施例上で、円周方向リング93はそれぞれ、2つまたは3つのキーおよびロック分離領域87を含む。しかしながら、キーおよびロック分離領域の同一パターンはまた、上記で説明されるキーおよびロック領域80、または本明細書の以下で説明されるキーおよびロック領域95、または他のタイプもしくはパターンの分離領域も利用し得る。図16F-5に図示されるステントパターンは、平坦に見え、より観察しやすいように、「広げられた」構成で示されている。しかしながら、実際のステント切断パターンは、典型的には、管状構造上に描かれ、次いで、所望のパターンにレーザ切断される、またはパターンはまた、ワイヤもしくはコイルから始めて形成され、ステントにパターン化されることができる。図16F-5の実施例のリングは、具体的パターンで分離領域(リングあたり2または3つの分離領域)を有する、全てのリングを示す。分離領域は、圧着構成から拡張されたより大きい構成までのステントの拡張に応じて、ともに保持され、拡張構成時のステントが身体管腔を支持するために十分な強度を有することを可能にする。分離領域は、拡張後、通常、30日~1年、好ましくは、3ヶ月~9ヶ月後に不連続性を形成するが、ある時は、そのような分離領域が、一実施例では、ステントが身体管腔を支持するために十分な強度を有することを可能にすることを前提として、ステントの拡張の直後に不連続性を形成することもでき、分離領域は、例えば、そのような分離領域をともに保持する材料の量(もしくは厚さ)、分離領域をともに保持する材料の分解時間、分離領域をともに保持する材料のタイプおよび性質、ならびにリング上の分離領域の場所および数を備える、種々の方法を利用し、分離領域上の分離力、分離領域上の応力の規模および頻度、分離領域が上にある構造要素および/または隣接するクラウンの寸法、角度、ならびに厚さ、および該クラウン領域もしくは支柱領域上の分離領域の場所、またはその他を制御して、ほぼ同時に不連続性を形成するように、または異なる時間に不連続性を形成するように構成されることができる。各リングは、本実施例の図16F-5では、各リングの中の少なくとも1つの分離領域が不連続性を形成するときに離脱する。ある時は、分離領域の形成後にリング上で応力をより一様に分配するため、および/またはより大きい離脱規模を提供するために、各リング上もしくは少なくともいくつかのリング上に複数の分離領域を有することが望ましい。ステントタイプは、ワイヤ、シート、または管、もしくはその他から形成されるかどうかにかかわらず、数例を挙げると、閉鎖リングタイプ、閉鎖セルタイプ、開放セルタイプ、螺旋コイルまたはワイヤタイプ、ワイヤメッシュタイプ、バルーン拡張型タイプ、自己拡張式タイプを含む。いくつかの閉鎖セルタイプ設計、例えば、菱形閉鎖セル設計等のステントタイプのうちのいくつかでは、セルまたはリングあたり少なくとも2つの分離領域を有し、(該リングの円周方向経路に不連続性を作成するために)そのようなリングを離脱させることが必要である、または他の実施例では、(該リングの円周方向経路の中の少なくとも1つの不連続性が該リングを離脱させ、そうでなければ、不連続性の十分な数および場所が該リングを離脱させるために十分になるまで、少なくとも1つまたはそれを上回る不連続性がリングを離脱させるために要求されること等を前提として、そのような少なくとも1つの不連続性を作成することによって)セルまたはリングあたり3つの分離領域を有し、そのようなリングを離脱させることが必要であり得る。いくつかの閉鎖セルタイプ設計、例えば、いくつかの菱形タイプは、同一リング上の隣接する閉鎖セルを連結する円周方向コネクタ(支柱、クラウン、支柱またはクラウン領域に隣接する)を有する。該円周方向コネクタ上に分離領域を有することは、そのような円周方向コネクタに不連続性を形成し、リングを離脱させるであろう、または菱形閉鎖セル上に2つの分離領域を有することは、リング円周方向閉鎖経路の中に少なくとも1つの切れ目を提供することによって、リングを離脱させるであろう。これはまた、複数の隣接するリングを有する開放セル設計に適用されることもでき、隣接するリングは、円周方向コネクタ(ステントの圧着および/または拡張構成時に円周方向に延在するコネクタ)によって、継合(もしくは連結)され、典型的には、そのようなコネクタは、クラウン領域中にある、またはクラウン領域に隣接する。該円周方向コネクタ上に1つまたはそれを上回る分離領域を有することは、そのような円周方向支柱に不連続性を形成し、リングを離脱させるであろう。図16F-5はまた、2つの隣接するリングを接続する、2つのリンクも示す。軸方向リンクの数をリングあたりのクランの数未満にさせることが望ましく、ステントの軸方向可撓性を改良するために、軸方向リンクの数をクラウンの数の1/3またはそれ未満にさせることがより望ましい。また、ステント構造(またはステント構造の一部)が少なくとも縦方向にともに保持される(もしくは無傷のままである)ように、分離領域が不連続性を形成した後に、2つの隣接するリングを継合する少なくとも1つのリンクを無傷のままにさせる(または1つのリング上の少なくとも1つのクラウン領域が、隣接するリング上の隣接するクラウン領域に継合される)ことも望ましい。ステント構造(またはステント構造の一部)が縦方向にともに保持されるように、分離領域が不連続性を形成した後に、2つの隣接するリングを継合する少なくとも2つのリンクを無傷のままにさせる(または1つのリング上の少なくとも2つのクラウン領域を隣接するリング上の2つの隣接するクラウン領域に継合させる)ことが、より望ましい。少なくとも2つの軸方向リンクを有することが、魚の鱗のように剥がれることおよび/またはクラウン衝突を最小限にするために所望される。不連続性の形成後に(ステントの円周方向の離脱後に)、少なくともいくつかの隣接するリングに関してステント構造を軸方向にともに保持させ(または無傷にさせ)、該少なくともいくつかの隣接するリングの2つおきの隣接するリングを接続する少なくとも1つのリンクを有する一方で(もしくは有することによって)、または該少なくともいくつかの隣接するリングの2つおきの隣接するリングを接続する少なくとも2つのリンクを有する一方で(もしくは有することによって)、無傷のままである、または該少なくともいくつかの隣接するリングの全ての隣接するリングを接続する実質的に全ての軸方向リンクを有する一方で(もしくは有することによって)、無傷のままであることが望ましい。これは(ステントの少なくとも一部を軸方向に接続させる、好ましくは、ステントの全長を軸方向に接続させる)、支持を身体管腔(または血管)に提供し、血液流の中への構造要素の潜在的遊離を防止することに役立つであろう。いくつかの実施例では、少なくともいくつかのリング上の全てではないが少なくともいくつかの分離領域は、該リング上の他の分離領域を分離させ、該リングのそれぞれの円周方向経路に沿って少なくとも1つの不連続性を作成する結果として、該リングの離脱に影響を及ぼすことなく、(定位置で)ともに保持され、分離されていないまままである。
ここで図16G-1-16G-3を参照すると、キーおよびロック分離領域95のさらなる実施例が図示されている。キーおよびロック分離領域95は、第1の支柱区画96a上の凸部97が支柱区画88上の凸部90よりも有意に長いことを除いて、キーおよびロック分離領域87に類似する。例えば、凸部90が、典型的には、0.15mm~0.90mm、通常、0.3mm~0.70mmの範囲内の長さを有するであろう一方で、凸部97は、0.3mm~2mm、通常、0.4mm~0.9mmの範囲内の長さを有するであろう。第2の支柱96bの端部における対応するスロット98は、通常、凸部97のものに合致する長さを有するであろうが、いくつかの実施例では、ステントまたは他の補綴具が完全に組み立てられたときに、スロット内の間隙もしくは開放領域を可能にするようにより長くあり得る。キーおよびロック分離領域87と同様に、キーおよびロック領域95は、図16G-2の矢印によって示されるように、軸方向および垂直または半径方向もしくは円周方向の両方で分離を可能にする。凸部97およびスロット98は、概して、上記のキーおよびロック分離領域80ならびに87で説明されるように、接着剤、ポリマー、または外部スリーブ99のいずれかを使用して、ともに固定化もしくは保持されてもよい。キーおよびロック分離領域95を有するステント150が、図16G-3に図示されている。個々の支柱152内のキーおよびロック分離領域95のパターンは、上記の図16F-5のステントに関して示されるものに略類似する。
図16G-1-16G-3のより長いキーおよびロック(または凸部およびスロット)要素は、より短い区画よりも接着もしくは摩擦のために広い表面積を提供し、時期尚早な分離を防止するため、有利である。そのような伸長要素はまた、分離中に隣接する組織を損傷することからキー/凸部を保護する。対照的に、より短いキーおよびロック分離領域は、ある時は、時期尚早に分離することができ、加工中に、間隙が、接着剤またはスリーブの適用の前に、キー(凸部)とロック(スロット)との間に形成されてもよく、それをより接着しにくくし、さらなる加工を要求する。より短い凸部およびスロット区画は、より軽量で、より可動性または可撓性であるように、より長い区画よりも少ない材料を有する。より短い凸部は、より厚いコーティングまたはスリーブを有し、分離領域をともに保持することができ、例えば、分離領域の上のスリーブ厚さが、10ミクロン~50ミクロンに及ぶことができる一方で、より長い凸部を有する分離領域の上のスリーブ厚さは、より薄く、5ミクロン~20ミクロンに及ぶことができる。
図16G-4-図16G-6は、黒い線で示されるように、ステント長の少なくとも1つの軸方向に連続的な分離領域線(または経路)に沿って完全に開放するもしくは広がることを可能にする、足場設計実施例を図示する。図はまた、少なくとも3つのリングを備える、部分的ステント長の軸方向に連続的な分離領域線(または経路)に沿って開放する(もしくは開く)ことを可能にする、実施例も図示する。他の実施例では、分離領域は、(分離領域のある配列を選択し、分離領域の数を制御し、同一のリングおよび/または隣接するリングを接続する軸方向リンクの場所に関係して分離領域の適切な場所を選定することによって)少なくとも2つリングまたはそれを上回るものを備える、もしくはその上、別の実施例では、少なくとも1つのリングまたはそれを上回るものを備える、ステント長の少なくとも一部の軸方向に連続的な分離領域線(または経路)に沿って開放する(もしくは開く)ことを可能にするように、構成されることができる。軸方向リンクは、実施例の多くでは、縦方向へのステント(ステントの少なくとも2つまたはそれを上回るリング、好ましくは、ステントの実質的に全てのリング)の構造の無傷性を維持する。同様に、閉鎖セルタイプ設計は、例えば、類似結果を達成するように構成されることができる。
図16G-4に示されるように、足場600は、クラウン608によって継合される支柱606を有する、円周方向リング604に形成された分離領域602を有する。隣接する円周方向リング604は、ボックス612の中に示される軸方向リンクによって継合される。各リング604の中の1つの分離領域602’は、本実施例では、分離領域が、円周方向に隣接する「ボックス状」分離領域の間の経路の外側に行かない、連続的で不規則な分離線614に沿って位置するように、隣接する軸方向リンク(ボックス612の中に示される)の間に位置付けられる。図はまた、軸方向リンクに接続されるクラウンに関係して支柱上の分離領域の場所の実施例を示す(但し、クラウンに適用されることもできる)。一実施例では、一方または両方のクラウンが、軸方向リンクによって隣接するリングに接続される、同一リング上の2つのクラウンの間の(もしくはそれを接続する)支柱上の分離領域、または図に示されるような別の実施例では、クラウンのうちのいずれも軸方向リンクに接続されない、同一リング上の2つのクラウンの間の(もしくはそれを接続する)支柱上の分離領域がある。明確にするために、図示されるボックスは、足場構造の一部ではなく、隣接する分離領域のうちのいずれかがステント長に沿って軸方向分離経路を画定する、少なくとも1つの経路を示すためのみに示されている。
図16G-5に示されるように、足場600は、クラウン708によって継合される支柱706を有する、円周方向リング704に形成された分離領域702を有する。隣接する円周方向リング704は、軸方向リンク710によって継合される。ステント長614全体に沿った単一の軸方向線(経路)に沿って開放し、分離領域中の不連続性の形成後に「C字形」交差区分を形成する、足場600とは対照的に、各リング704が、3つの分離領域702および軸方向に隣接する軸方向リンク710の間に並ぶ線714に沿って配列される全ての分離リングを有するため、足場700は、ステント長全体に沿った3つの軸方向分離線714(または経路)に沿って開放するであろう。したがって、分離領域702が埋込後に全て分離した後、足場は、不連続性の形成後に相互に後続的に接続されない、部分リングの3つの別個の接続された軸方向ストリップ(区分または区画)から成るであろう。図16G-5に示されるステントはまた、少なくともいくつかのリングを継合するが、少なくとも2つの隣接するリング上で軸方向リンクを維持する、全ての軸方向リンク上の分離領域を有することによって、いくつかのリング上に付加的な複数のより短い接続された軸方向区分(またはストリップ)を有することもできる。
足場600および700は、略軸方向線に沿って分離するが、足場600の場合のように、線は、ある場合には、蛇行し得る。他の場合では、図16G-6に示されるように、足場800は、足場が3つの螺旋または渦巻状分離線(もしくは経路)814に沿って開放することを可能にする、円周方向リング804の中に配列された分離領域802を有してもよい。足場800は、クラウン808によって継合される支柱806を含み、隣接する円周方向リング804は、軸方向リンク810によって継合される。分離線は、図16G-6では線形であるように見えるが、図が螺旋切断線に沿って広げられているためである。したがって、足場パターンがその管状形態に戻るように丸められるとき、分離線814は、管またはステント構造にわたって形成される3つの平行渦巻もしくは螺旋であろう。ステント軸方向長またはステント軸方向長の一部に沿って、分離線(経路)の単一のみ(または2つもしくは4つまたはそれを上回る)直線状、渦巻状もしくは螺旋、または他の規則的もしくは不規則的パターンまたは幾何学形状を有する、他の足場もまた、離脱後にステントが開く所望のパターンおよび数の区分(またはストリップ)を達成するように、適切なステントリングパターン、リングを継合する適切な数のリンク、リング内の適切な数の分離領域ならびに場所を構成すること、および/または軸方向リンクの位置をリング上の分離領域の場所に再整合させることによって、加工されることができる。
ここで図16G-7Aおよび7Bを参照すると、足場1000は、足場の円周方向リング1004に形成された複数の分離領域1002を有する。先の実施例と同様に、足場のリング1004のうちの少なくともいくつかは、クラウン1008によって接続される支柱1006から形成されてもよい。分離領域は、前述で説明されるように、キーおよびロック接合点であることが示されているが、以下の図16G-7A-16G-10で開示されるパターンは、本明細書に説明される任意のタイプの分離領域に適用されてもよい。分離領域1002は、図16G-7Aでは、それらの閉鎖または部分的閉鎖構成で、その円周方向拡張構成時の足場1000を図示する図16G-7Bでは、それらの部分的開放または軸方向分離構成で示されている。
図16G-7Bに示されるように、足場1000の拡張に応じて、分離領域1002は、破線1010、1012、および1014によって図示される曲折経路を辿る。区画1016、1018、および1020は、したがって、本明細書の他の場所で説明されるように、典型的には、バルーンによる、円周方向拡張に応じて、足場に形成される。区画は、図16G-7Bで丸く囲まれているリンク1008によって、ともに保持される。しかしながら、所望される分離パターンに応じて、異なる分離およびセグメンテーションパターンが足場にプログラムされ得ることを理解されたい。異なる利用可能な分離パターンの実施例が、異なる図に関して以下で議論される。
図16G-8Aおよび8Bに示されるように、足場1030は、分離領域1032と、円周方向リング1034と、支柱136と、クラウン138と、隣接するリングを接続する軸方向リンク144とを備える。これらの基本的構成要素は、足場1000に関して同一であるが、分離領域1032および隣接するリングを接続する軸方向リンク144の配列は、図16G-8Bに示されるように、円周方向拡張に応じて、または円周方向拡張後に、螺旋分離境界1040が、足場を中心として形成され、拡張後および円周方向への離脱後に、無傷のままである(図16G-8Bでは丸く囲まれた軸方向リンクによってともに保持された)単一の螺旋構造区画1042を形成するように、選択される。足場1030では、分離領域1032および隣接するリングを接続する軸方向リンク144は両方とも、半径方向拡張後にステント要素の螺旋分離および残りの螺旋接続を両方とも確実にするように、補完的螺旋パターンで配列される。
図16G-9Aおよび9Bを参照すると、足場1050は、その中に形成された単一の分離領域1052をそれぞれ有する、リング1054を備える。リング1054は、支柱1056およびクラウン1058から形成され、3つの軸方向リンク1060が、図16G-9Bの丸く囲まれた領域で最良に見られるように、各隣接する一対の円周方向リング1054の間に形成される。分離領域1052および隣接するリングを接続する軸方向リンク1060の本特定パターンは、拡張後に形成される、離散的な分離された区画がない(ステントの軸方向長に沿って開かない)ように、足場の全ての要素が相互接続されたままである間に、足場1050が円周方向に拡張することを可能にする。しかしながら、各リングは、各リングの円周方向経路に少なくとも1つの不連続性を形成し、したがって、ステントを離脱させることによって、離脱する。
ステントは、拡張構成時に低い半径方向歪み(コンプライアンス)を有する傾向があり、特に、ステンレス鋼合金、コバルトクロム合金、および白金イリジウム合金等の非分解性金属ならびに金属合金等の塑性的に変形可能であるものである。これは、管腔または血管に刺激を引き起こし得る、動的に(または常に)動く環境内で実質的に剛性構造を有することの結果として、経時的にステントまたは管腔もしくは血管の疲労を引き起こし得る、かつ経時的に有害事象をもたらし得るため、ステントが埋め込まれる生体構造にとって有害であり得る。冠動脈に関する典型的半径方向歪み(コンプライアンス)近似率は、3%~5%に及ぶ。ステント技術は、管腔(または模擬管)内で拡張されたとき、通常、0.1%~0.5%、典型的には、0.1%~0.3%の範囲内の半径方向歪み(複合コンプライアンス)率を有する傾向がある。本発明によると、内側ステント直径が、生理学的条件下で、管腔(または模擬管)の内径の約110%まで管腔(または模擬管)内で拡張されるときに、圧着構成から拡張構成までのステント補綴具の拡張後に、もしくは円周方向不連続性の形成後に、0.5%~5%に及ぶ、好ましくは、1%~5%に及ぶ、より好ましくは、1%~5%に及ぶ、最も好ましくは、1.2%~5%もしくは1.5%~5%に及ぶ、半径方向歪み(または複合コンプライアンス)率を有するようにステントを構成することが、本発明の目的であり、管腔(または模擬管)は、4%~5%に及ぶコンプライアンスを有する、もしくは管腔(または模擬管)内の拡張後の本発明のステントは、ステントが埋め込まれる生体構造のものに実質的に類似する半径方向歪み(または複合コンプライアンス)を有するであろう、もしくは本発明のステントは、そのような生体構造(管腔または模擬血管等)内のステントの拡張後、または不連続性の形成後に、ステントが埋め込まれる生体構造の半径方向歪み(コンプライアンス)の少なくとも25%の複合コンプライアンスを有するように構成される、もしくは本発明のステントは、そのような生体構造(管腔または模擬血管等)内のステントの拡張後、または不連続性の形成後に、ステントが埋め込まれる生体構造の半径方向歪み(コンプライアンス)の少なくとも1/3の複合コンプライアンスを有するように構成される、または拡張されたステントは、生理学的条件下で、ステントが埋め込まれる生体構造の半径方向歪み(コンプライアンス)の少なくとも50%の複合コンプライアンス、もしくはステントが埋め込まれる生体構造の半径方向歪み(コンプライアンス)の少なくとも65%の複合コンプライアンスを有し得る。好ましい実施例では、本発明のステントは、身体管腔(または模擬管)内の拡張後もしくは不連続性の形成後に、0.7%~4%に及ぶ、または0.9%~4%に及ぶ、もしくは1%~4%に及ぶ、または1.1%~4%に及ぶ、もしくは1.2%~4%に及ぶ、または1.5%~4%に及ぶ、もしくは2%~4%に及ぶ、複合コンプライアンスを有するように構成され、管腔(または模擬管)は、生理学的条件下で約5%のコンプライアンスを有する。別の好ましい実施例では、0.1%~0.5%に及ぶ、本発明のステントは、身体管腔(もしくは模擬管)内の拡張後にの初期複合コンプライアンスを有するように構成され、0.7%~4%に及ぶ、初期コンプライアンス後もしくは不連続性の形成後の第2の複合コンプライアンスを有し、またはステントは、0.1%~0.7%に及ぶ、身体管腔(もしくは模擬管)内の拡張後の初期複合コンプライアンスを有するように構成され、1%~4%に及ぶ、初期コンプライアンス後もしくは不連続性の形成後の第2の複合コンプライアンスを有し、またはステントは、0.1%~1%に及ぶ、身体管腔(もしくは模擬管)内の拡張後の初期複合コンプライアンスを有するように構成され、1.2%~4%に及ぶ、または1.5%~4%に及ぶ、もしくは2%~4%に及ぶ、初期コンプライアンス後もしくは不連続性の形成後の第2の複合コンプライアンスを有し、管腔(または模擬管)コンプライアンスは、約5%である。別の好ましい実施例では、本発明のステントは、管腔(または模擬管)内の拡張後に初期複合コンプライアンス規模を有するように構成され、管腔直径は、2.5mm~3.5mmに及び、管腔(または模擬管)は、約5%のコンプライアンスを有し、拡張後の初期ステント複合コンプライアンス規模は、0.01mm~0.05mmに及び、または0.01mm~0.06mmに及び、もしくは0.01mm~0.07mmに及び、ステントは、生理学的条件下で、0.07mm~0.15mmに及ぶ、または0.08~0.15mmに及ぶ、もしくは0.1mm~0.15mmに及ぶ、初期コンプライアンス後または不連続性の形成後の第2の複合コンプライアンス規模を有する。本発明による足場は、円周方向に離脱し、ステントおよび管腔が上記で説明されるような半径方向コンプライアンス率を有することを可能にするように構成される。足場はまた、それらの長さに沿って半径方向コンプライアンス(半径方向歪み)の異なる領域を有するように形成されてもよい。例えば、図16G-10に示されるように、足場1070は、前述に説明された実施例と同様に、支柱1074およびクラウン1076から形成される複数のリングを含む。隣接するリングは、軸方向リンク178によって継合され、分離領域1072は、リングのそれぞれに形成される。足場1070の第1の端部領域(または区画)1080では、リングはそれぞれ、3つの分離領域1072を有し、拡張および不連続性の形成後に、その領域を高度に柔軟にする。第2または中央領域(もしくは区画)1082では、各リングは、単一の分離領域のみを含み、その領域を第1の領域1083および第3の領域(または区画)1084ほど柔軟ではなくし、各リングは、一対の分離領域1072を有し、(円周方向リングの全ての他の特性が類似すると仮定して)第3の領域のコンプライアンスを、第1の領域1080のものと第2の領域1082のものとの間のいずれかのコンプライアンスにする。半径方向歪み(コンプライアンス)率は、例えば、生理学的条件の半径方向歪み(コンプライアンス)率または変位近似を選択し、生理学的条件下で、インプラント、ステント、またはステント区画の半径方向歪み(複合コンプライアンス)を測定するために調節可能である、図35の試験装置を利用して、測定されることができる。実質的に全てのリングを離脱させることによって、ステントの実質的に全ての区画を離脱させることが望ましい。ステントは、ステントリング区画全体に沿って実質的に類似する半径方向歪み(コンプライアンス)を有してもよい、またはステントの種々のリング区画もしくは領域の間で可変半径方向歪み(コンプライアンス)を有することができる。半径方向歪み(コンプライアンス)は、例えば、以下のうちの1つまたはそれを上回るもの、すなわち、数例を挙げると、リングあたりの分離領域の数、ステント設計もしくはパターンのタイプ、各リング上の分離領域の場所、分離領域がリング上に位置する構造要素の長さ、幅、および/または厚さ、ステント長もしくは区画に沿った分離領域のパターンを構成することによって、増加または減少させられ得る。一実施例では、所望の半径方向コンプライアンス率を有する、生理学的環境内の本発明のステントの拡張ステント構成時の変位(拡張および/または収縮)の規模は、0.1mm~1mmに及ぶ、好ましくは、0.15mm~0.5mmに及ぶ、より好ましくは、0.2mm~0.5mmに及ぶ。変位(収縮および/または拡張)規模ならびに率は、典型的には、心臓の鼓動、ステント留置区画に隣接する圧力もしくは平均圧力、および/または心筋の収縮性、もしくは他の生理学的条件と結合される(または同期される、もしくは対応する)。拡張ステント構成時に身体管腔を支持するために十分な高い初期強度を有する、ステントを有することが望ましく、同時に、該ステントは、ステントリングの長さ(または区画もしくは領域)に沿って、1つまたはそれを上回る半径方向歪み(コンプライアンス)率の値もしくは範囲を有するように構成される。形状記憶ステントは、材料の性質および処理に起因して、より弱い強度(または破砕力)を有する傾向がある。形状記憶合金から形成されるステントは、そのような強度の弱さを補償する閉鎖セル設計を有する傾向がある。しかしながら、拡張構成時に強度を有し、少なくともいくつかのリング上に分離領域を有して、リングを離脱させる(該リングを離脱させるために十分な1つまたはそれを上回る不連続性を円周方向リング経路に形成する)、形状記憶合金から形成されるステントを有することが望ましい。形状記憶合金から形成されるステントは、したがって、拡張構成時に高い破砕抵抗と、上記で説明されるように、ステントリングの種々の区画に沿って所望の変位または半径方向歪み(コンプライアンス)とを有し、ステントが埋め込まれる生体構造の半径方向歪み(コンプライアンス)に適応するように構成されることができる、またはステントは、所望の半径方向歪み(もしくはコンプライアンス)を有するように構成される。ある場合には、拡張構成時に高い破砕強度を有するステントを有し、ステントリングの円周方向経路に沿って分離領域または破損区分を形成し、ステントもしくは1つまたはそれを上回るステント区画を離脱させ、ステントリングまたはステント区画に関して所望のレベルもしくは範囲の変位または半径方向歪み(コンプライアンス)を達成することによって、半径方向歪み(コンプライアンス)または半径方向変位規模(より大きいもしくはより小さい)を有することが、望ましい。他または同一の場合には、拡張構成時に高い破砕強度を有するステントを有し、ステントリングの円周方向経路に沿って分離領域または破損区分を形成し、ステントまたはステント区画を離脱させ、ステントリングまたはステント区画に関して所望のレベルもしくは範囲の変位または半径方向歪みを達成することによって、半径方向歪みまたは半径方向変位規模(より大きいもしくはより小さい)を有する、および/または拡張規模と異なる収縮規模を有することが、望ましい。加えて、図23Cおよび23Dに説明される支持特徴等の他のステント設計構成が、所望の半径方向歪み、拡張規模、および/または収縮規模を達成するために利用されることができる。ある場合には、本発明のステントは、ステントの他の区画内で、ある所望の半径方向歪み値または変位規模を達成しながら(ステントの他の区画に類似する破砕抵抗、またはより低い破砕抵抗を有しながら)、拡張構成時にステントのいくつかの区画内で高い破砕抵抗を有し、そのような区画内で実質的に低い半径方向歪み率を有するように、構成されることができる。これは、ある区画が、ステントの係留を要求し、したがって、高い破砕抵抗を要求する一方で、ステントの他の区画が、通常、ステントリング区画内で、またはステント弁を含有する区画に隣接して、より高い半径方向歪み(コンプライアンス)率もしくは収縮性規模を要求する、臓弁ステントに特に適し得る。円周方向リング経路内で離脱するように構成される、分離領域を伴って形成されるステントは、それが必要である輪または管腔の収縮性に適応することによって、利点を有し、それが必要ではない、またはインプラント構造を係留もしくは添着することが重要である、面積もしくは区画内で強度および低い半径方向歪み(コンプライアンス)を有し得る。
ここで図16G-11を参照すると、複数の円周方向リング1090を備える、足場1086は、概して、上記で説明されるように、支柱1092およびクラウン1094から形成される。円周方向リング1090はそれぞれ、一対の分離領域1088を含み、隣接する円周方向リング1090は、軸方向リンク1096によって継合される。足場1086は、少なくとも、それらがクラウン1094またはクラウン領域もしくは支柱領域の中へ継合される場所の近傍の隣接する支柱1092に取り付けられた、複数の補強要素または特徴1098を含むという点で、前述に説明されたものと異なる。足場1086の支柱およびクラウンは、説明される非分解性材料(または高い破砕抵抗を有する分解性材料)のうちのいずれかから形成され、典型的には、バルーン拡張のために意図されるステントタイプであろうが、形状記憶ステントタイプに使用されることもできる。すなわち、足場1086の主要な材料は、一実施例では、可鍛性の非弾性金属または他の材料から形成されるであろう。対照的に、補強特徴1098は、典型的には、弾力性または弾性材料、通常、形状記憶金属合金、ばねステンレス鋼、または同等物から形成されるであろう。図示されるように、補強特徴1098は、ばねとして作用し、その圧着構成(図示せず)からその開放構成(図16G-11に示されるような)までステントを開放することに役立つであろう。足場1086が圧着されるとき、ばね様補強特徴1098は、ばねを圧縮し、バルーンまたは他の拡張中に足場を開放することに役立つばね力を付与するように、閉鎖されるであろう。図示されるように、ばね様補強特徴1098は、分離領域1088に隣接して位置することができる。このように、補強特徴によって提供される開放力は、バルーン拡張によって分離特徴に付与される張力の少なくとも一部を相殺するであろう。加えて、ばね様保定特徴は、開放足場の弾力性を増進し、血管または他の身体管腔内のそのコンプライアンスを増加させるであろう。補強要素はまた、第1の拡張構成からの内向き反跳後に、ステントを第2のより大きい構成までさらに拡張することにも役立ち得る。ステントは、本実施例では、展開構成までのステントの拡張後に不連続性を形成し、ステント留置区画に沿ってステントを離脱させる、分離領域を有する。
ここで図16H-1-16H-5を参照すると、付加的タイプの分離領域160が図示されている。分離領域160は、第1の中空支柱区画162と第2の中空支柱区画164との間に形成される。コア166は、第1の中空支柱区画162の中心通路168の中で受容される1つの端部と、第2の中空支柱区画164の中心通路170の中で受容される第2の端部とを有する。支柱区画162および164が、通常、非分解性、典型的には、本明細書の他の場所で説明されるような金属であろう一方で、コア166は、分解性または非分解性のいずれかであり得る。コア166が非分解性である場合において、分離領域160は、典型的には、展開および拡張中に、接着剤ならびに/またはスリーブもしくは他のカプセル化を用いて最初に安定させられるであろう。埋込後、生分解性接着剤および/またはカプセル化は、分解し、最終的に、中空支柱区画162および164のいずれか一方または両方がコア166に対して軸方向に摺動することを可能にし、したがって、拡張継手を形成し、ならびに/もしくはステントがさらに拡張することを可能にする。
代替として、コア166は、それ自体が生分解性であり得、その場合、コアは、中空支柱区画62および64の一方もしくは両方に取り付けられてもよい、または中空支柱区画62および64のいずれか一方もしくは両方に対して軸方向に自由に平行移動してもよい。コア166が生分解性であるとき、埋込後のコアの生分解は、一実施例では、主に区画162および164の分離を達成するために依拠されるであろう。
さらなる代替物として、生分解性コア166は、生分解性接着剤を使用して、中空支柱区画62および64のいずれか一方または両方内で継合されてもよい。そのような設計は、支柱区画の生分解および解放のためのさらなるフェイルセーフ機構を提供してもよい。代替として、コアおよび周辺の接着剤の中の複数の生分解パターンの使用は、異なる要素の順次生分解を可能にし、支柱区画の間で異なるレベルの拡張および分離を達成し得る。
図16H-2に示されるように、展開および拡張に関して、中空支柱区画162および164は、最初に、リンクまたは安定化バーもしくは要素としての役割を果たすコア166を用いて、当接様式で継合されるであろう。コア166は、部分的に、コア166自体が生分解性であるかどうかに応じて、生分解性または非生分解性接着剤によって中空支柱162および164に継合されてもよい。代替として、または加えて、支柱162および164は、図16H-3に示されるように、生分解性外部スリーブ172によって継合されてもよい。
図16H-4にさらに示されるように、コア174は、縮径状領域176を含んでもよい。縮径状領域176のサイズまたは断面積を適切に選択することによって、特定の生分解性材料から形成されるコアの生分解時間は、コア174にプログラムされてもよい。
なおもさらに代替として、コア178は、それ自体が、図16H-5に示されるように、孔または通路186の中で受容されるピン184によって継合されるコア区画180および182に分離されてもよい。ピン184は、それ自体がコア区画180の一部として形成されてもよい、または孔186および第1のコア区画180内の第2の孔(図示せず)の両方の中で自由に摺動する、別個の要素もしくは構成要素であってもよい。
図16H-1-16H-3のコア設計を伴う分離領域は、通常、完全には分離せず、コア166のある部分は、血管が埋込後再形成および拡張を完了した後でさえも通路170の中に残留するであろう。これは、設計が組織を支持する足場構造の中に空隙を残さないため、有利である。しかしながら、そのような設計は、半径方向への隣接する支柱区画の分離を限定し、これは、全体としてステントの拡張を限定し、血管再形成に応答して拡張を低減させ得る。コアの中の分解性領域176(図16H-4)またはピン184および孔186(図16H-5)の提供は、ある状況下で、ステントの完全移動度を増進し、血管再形成への応答を増進し得る、完全分離を可能にし得る。
なおもさらなる分離領域が、図16I-1-16I-4に図示されている。支柱区画202および204を接続する突き合わせ継手200は、図16I-1に図示されるように、各支柱区画の末端において拡大インターフェース要素206および208を有する。個別のインターフェース要素の対向表面は、接着剤、セメント、ポリマー、または本明細書に説明される他の分解性固定化材料9のうちのいずれかを用いて継合される。代替として、末端は、本明細書の他の場所で説明されるスリーブ様固定化要素のうちのいずれかによって継合されてもよい。支柱区画212および214を接続するフック継手210は、図16I-2に図示されるように、各支柱区画の末端においてフック様インターフェース要素216および218を有する。個別のインターフェース要素上の対向フック表面は、結果として生じる継手の引張強度(および足場リングのフープ強度)を増進するようにともに握り締められてもよく、接着剤、セメント、ポリマー、または本明細書に説明される他の分解性固定化材料のうちのいずれかを用いてさらに固定化されてもよい。図示されるように、末端は、本明細書の他の場所で説明されるように形成されてもよい、スリーブ様固定化要素219によって継合される。図16I-3は、図16I-1の継手220の突き合わせ継手の変形例である、継手220を図示する。継手220は、各支柱区画の末端において入れ子曲面を有する、拡大インターフェース要素226および228を伴う接続する支柱区画222および224を有する。曲面は、神経シナプスに類似する幾何学形状を有し、固定化要素(図示せず)が分解する前および後に、分離領域中である程度の屈曲可撓性を可能にする。可撓性は、支柱区画が不整合された場合に接触を改良し、これは、ステントまたは他の補綴具の破砕抵抗を増進し得る。継手230は、支柱区画の共通軸に対して角度を成す、または傾斜している、各支柱区画の末端における平面を有する、拡大インターフェース要素236および238を伴う接続する支柱区画232および234を有する。傾斜表面は、円周方向リングが拡張または収縮するにつれて、相互に対して摺動することができ、これは、ステントまたは他の補綴具のコンプライアンスを改良し得る。インターフェース要素236および238は、接着剤、セメント、ポリマー、スリーブ、または本明細書の他の場所で説明される他の固定化構成要素によって、一時的に固定化されることができる。
隣接する支柱区画の末端の接着および固定化(クラウン領域にも適用され得る)はまた、これらの端部上に表面特徴を作成することによって増進されることもできる。例えば、図16I-5に図示されるように、足場400の一部は、クラウン408によって継合される支柱406を有する、円周方向リング404に形成された短いロックおよびキー分離領域402を有する。分離領域402によって継合される、隣接する支柱区画のうちの少なくともいくつかの末端は、足場400が展開されている間に分離領域を取り囲む、分解性スリーブ412または他の固定化要素のための取付点を提供する、孔、細孔、穿孔、隆起、または他の表面特徴を有する。短いロックおよびキー分離領域402上に図示されているが、そのような係留表面特徴の使用は、長いロックおよびキー分離領域ならびにスリーブまたは他の外接固定化要素によって固定化される全てのタイプの分離領域とともに用途を見出すであろう。
さらなる実施形態または実施例として、ロックおよびキー分離領域上の隣接する支柱区画の末端の固定化は、ロックおよびキーの「凸部」ならびに「スロット」の界面接触表面上に特徴を作成することによって、増進されることができる。例えば、図16I-6に図示されるように、足場500の一部は、クラウン508によって継合される支柱506を有する、円周方向リング504に形成された長いロックおよびキー分離領域502を有する。凸部510およびスロット512の対向表面は、接着剤、セメント、ポリマー、糊、または同等物を用いた接合のために利用可能である表面を増加させる、起伏もしくは「波形」トポグラフィを有する。接合のための利用可能な表面積を増加させることに加えて、これらの表面特徴は、物理的に相互係止し、支柱区画の軸方向分離をさらに防止することができる。図示されるような起伏に加えて、好適なインターフェース特徴は、鋸歯状の縁、鋸歯状パターン、山形パターン、斜面、および同等物を含む。そのような相互係止特徴は、好適に配向された対向表面を有し、初期固定化が分解した後に半径方向分離または移動を可能にする、全てのロックおよびキーならびに他の分離領域設計とともに使用されることができる。
本発明の離脱ステントのなおもさらなる実施例では、足場1100は、図16I-7に図示されるように、個々の円周方向リングの構造内に開口部、間隙、または切れ目を有し、開口部、間隙、または切れ目に架橋する架橋要素を形成もしくは設置するように加工または修正されてもよい。足場1100は、それぞれ、概して、本明細書の前述で説明されるように配列される、支柱1104およびクラウン1106を備える、複数の隣接する円周方向リング1102を備える。隣接する円周方向リング1102は、軸方向リンク1108によって継合され、開口部または切れ目は、1110において示されるように支柱および/もしくは1112において示されるようにクラウンのいずれかに形成されてもよく、架橋要素が、該開口部または切れ目に架橋するように形成される。例示的開口部および切れ目は、典型的には、以下でさらに詳細に説明されるであろうように、間隙の形態である。架橋要素は、分解性ポリマー材料または分解性金属材料等の分解性材料から形成されることができ、分解性材料は、支柱もしくはクラウン領域をカプセル化する、または非分解性材料支柱もしくはクラウン領域の内側に(もしくは内に)挿入される、または端部(もしくは接合点)または開放接合点における非分解性ステント材料、もしくは図16I-A-C等の他の取付の方法を用いて、突き合わせ継手として継合される。分解性材料は、1ヶ月~3年で分解する、好ましくは、2ヶ月~2年で分解する、より好ましくは、2ヶ月~18ヶ月で分解する。ステントは、本実施例では、該リングを十分に離脱させるためにリングあたり少なくとも1つの架橋要素を有するであろう(リングあたり2つの架橋要素が図に示されている)。リングあたりの架橋要素の長さおよび数は、ステントが離脱後に実施することが可能である、さらなる拡張の規模および/または変位規模を判定することができる。そのようなステント構成の利点は、圧着構成から拡張されたより大きい構成までの拡張後に離脱するステントを有し、拡張構成時に高い破砕抵抗を有し、その上、拡張後および/またはリングあたり少なくとも1つの架橋要素の分解後に離脱できることである。図16I-16A、16I-16B、および16I-16Cは、架橋要素の他の実施例を図示する。架橋要素は、例えば、クラウンまたはクラウン領域の全体もしくは一部、および/または支柱もしくは支柱領域の全体または一部に架橋することができる。架橋要素は、一実施例では、架橋されている構造要素に類似する、または異なる、サイズ、形状、および寸法を有することができる。他の実施例では、架橋要素のサイズ、形状、および寸法は、本願の他の節でさらに詳細に説明される補強要素の説明に類似する。別の実施例では、架橋要素は、支柱もしくは支柱領域、クラウンもしくはクラウン領域の形状、または他の形状を有する。
ここで図16I-8Aおよび8Bを参照すると、間隙の形態の分離領域1118は、図16I-8Aに示されるように、足場がその圧着構成であるときに接触する、触れる、または衝合するように構成されてもよい。これらの最初に閉鎖されている間隙1118は、次いで、開放し、図16I-8Bに示されるように、足場1116が半径方向に拡張されるときに、または足場が拡張された後に、その間に空間もしくは間隙を残すであろう。典型的には、足場1116の拡張に先立って、間隙1118は、本発明の他の実施例で採用されている、接着剤、スリーブ、または他の一時保定特徴を含まないであろう。「閉鎖」間隙1118の配列は、増進したレベルのコンプライアンス(半径方向歪み)を可能にし、埋込後に、身体管腔、典型的には、血管または心臓弁の閉じ込めを低減もしくは排除しながら、拡張された足場1116が、血管または他の身体管腔の開存性を維持するために十分なフープ強度(もしくは耐破砕力)を有するように、足場1118が拡張されるにつれて、またはバルーンによる、もしくは別様の足場拡張後に、「開放」間隙1120が形成されるように選択される。該間隙を有するステントは、展開後に、ステント留置区画内の血管拡張および/またはさらなる拡張を可能にする。別の実施例では、(間隙がある)遊離端は、圧着構成から展開構成までの足場の拡張に応じて、「閉鎖」位置で間隙を保持するように、接着剤またはポリマー、もしくは他の手段でコーティングされる。これは、例えば、間隙が、間隙領域中の改良された血管(または管腔)支持、間隙領域中の改良された拡張の一様性、および新生内膜増殖を抑制するための間隙に隣接する組織への改良された薬物送達を有するように位置する、構造要素を可能にする。間隙は、足場が拡張構成であるときに即時に、または拡張後に経時的に広がり、血管もしくは管腔を離脱させることができる。種々の接着剤、ポリマー、および他の一時保持手段が、本願の全体を通して説明される。図16I-8AおよびBに示されるように、間隙パターンは、隣接するリング上の間隙が回転オフセットされるようなものである。これは、各リングに不連続性を有することの影響を低減させ、足場長の任意の軸方向経路(または線)に沿って魚の鱗のように剥がれることを低減させ、被覆されていない血管または管腔面積(もしくは広い被覆されていない面積)を有することを低減させ、拡張後の足場の反跳を低下させることによって、拡張足場構成時の改良されたステント強度または破砕抵抗を可能にする。間隙は、(図16I-8AおよびBに示されるように)支柱が軸方向リンクに隣接する、支柱等の構造要素上に形成されることができ、または2つの異なる軸方向リンクに隣接する支柱上に形成されることもでき、各軸方向リンクは、間隙が存在するリングを隣接するリング(図示せず)に接続する。間隙はまた、軸方向リンクに隣接しない支柱または他の構造要素上に形成されることもできる。他の実施例で議論されるように、1つのリングから別のリングの間隙の数は、変動し得る。一実施例では、分岐ステントが、例えば、ステントの中間区画内の1つまたはそれを上回るリングにいくつかの間隙、およびステントの他の区画内のリングにより少ない数の間隙を有することが所望され得る。1つの好ましい実施例では、隣接するリング上の間隙が回転オフセットされる、少なくともいくつかのリング上に1つまたはそれを上回る間隙を有し、隣接するリングを接続するリンクのうちの少なくともいくつかが回転オフセットされる、少なくともいくつかのリングを接続する1つまたはそれを上回る軸方向リンクを有する。1つの好ましい実施例では、隣接するリング上の間隙が回転オフセットされる、少なくともいくつかのリング上に1つまたはそれを上回る間隙を有し、隣接するリングを接続するリンクが回転オフセットされる、少なくともいくつかのリングを接続する1つまたはそれを上回る軸方向リンクを有する。一実施例では、隣接するリング上のわずか2つの間隙が軸方向に整合される、少なくともいくつかのリング上に1つまたはそれを上回る間隙を有し、隣接するリングを接続するリンクが回転オフセットされる、少なくともいくつかのリングを接続する1つまたはそれを上回る軸方向リンクを有する。一実施例では、隣接するリング上のわずか3つの間隙が軸方向に整合される、少なくともいくつかのリング上に1つまたはそれを上回る間隙を有し、いくつかの隣接するリングを接続する1つまたはそれを上回るリンクが回転オフセットされる、少なくともいくつかのリングを接続する1つまたはそれを上回る軸方向リンクを有する。一実施例では、隣接するリング上のわずか3つの間隙が軸方向に整合される、少なくともいくつかのリング上に1つまたはそれを上回る間隙を有し、隣接するリングを接続する少なくとも2つのリンクを有する。一実施例では、隣接するリング上のわずか3つの間隙が軸方向に整合される、少なくともいくつかのリング上に1つまたはそれを上回る間隙を有し、隣接するリングを接続する少なくとも3つのリンクを有する。間隙はまた、閉鎖セル設計、自己拡張式等、および本願の全体を通して議論されるような他のタイプ等の他のステント設計タイプにも適用可能である。間隙の遊離端は、例えば、数例を挙げると、非外傷性端であるために、さらなる強度を有するために、被覆率を改良するために、さらなる表面積を有するために、種々の形状および寸法を有することができる。一実施例では、少なくともいくつかのリングに関してわずか1つの間隙があり、他の実施例では、少なくともいくつかのリングに関して2つまたはそれを上回る間隙があり、隣接するリング上の間隙は、回転オフセットされる。図16I-8Aの遊離端は、遊離端において接触している2つの遊離端を示すが、それらはまた、遊離端に隣接する領域でも接触し得る。
最初に閉鎖され、拡張に応じて、または足場の拡張後に開放する、間隙構造の他の実施例が、図16I-9および10に図示されている。図16I-9では、各間隙1124は、足場が閉鎖されるときに軸方向線に沿って相互に係合する先端を有する、一対の短い蛇行区画を備える。図16I-10に示されるように、各間隙構造1126は、足場がその圧着構成であるときに、区画の端部が相互と略平行に位置する(但し、他の構成も有し得る)、短い蛇行区画を備える。間隙構造1124が、触れている端部を示す一方で、間隙構造1126は、わずかに離れた端部空間を示す。
ここで図16I-11Aおよび11Bを参照すると、足場1128は、前述で説明されるように、円周方向リングを備える。間隙領域1130は、図16I-11Aに示されるように、ステントがその圧着または未拡張構成であるときに間隙が最初に開放している、足場の円周方向リングに形成される。間隙領域は、ステントがその半径方向拡張構成であるときに、図16I-11Bで1132において示されるように、さらに開放する。そのようなものを伴うステントは、展開後に、ステント留置区画内の血管拡張および/またはさらなる拡張を可能にする。別の実施例では、(間隙がある)遊離端は、圧着構成から展開構成までの足場の拡張に応じて、支柱をともに保持するように、縫合糸または他の一時的手段を用いて接続される。これは、例えば、間隙が、間隙領域中の改良された血管(または管腔)支持、間隙領域中の改良された拡張の一様性、および新生内膜増殖を抑制するための間隙に隣接する組織への改良された薬物送達を有するように位置する、構造要素を可能にする。間隙は、足場が拡張構成であるときに即時に、または拡張後に経時的に広がり、血管もしくは管腔を離脱させる。図16I-11AおよびBに示されるように、間隙パターンは、隣接するリング上の間隙が回転オフセットされるようなものである。これは、各リングに不連続性を有することの影響を低減させ、足場長の任意の軸方向経路(または線)に沿って魚の鱗のように剥がれることを低減させ、被覆されていない血管または管腔面積(もしくは広い被覆されていない面積)を有することを低減させ、拡張後の足場の反跳を低下させることによって、拡張足場構成時の改良されたステント強度または破砕抵抗を可能にする。間隙は、(図16I-8AおよびBに示されるように)支柱が軸方向リンクに隣接する、支柱等の構造要素上に形成されることができ、または2つの異なる軸方向リンクに隣接する支柱上に形成されることもでき、各軸方向リンクは、間隙が存在するリングを隣接するリング(図示せず)に接続する。間隙はまた、軸方向リンクに隣接しない支柱または他の構造要素上に形成されることもできる。他の実施例で議論されるように、1つのリングから別のリングの間隙の数は、変動し得る。一実施例では、分岐ステントが、例えば、ステントの中間区画内の1つまたはそれを上回るリングにいくつかの間隙、およびステントの他の区画内のリングにより少ない数の間隙を有することが所望され得る。1つの好ましい実施例では、隣接するリング上の間隙が回転オフセットされる、少なくともいくつかのリング上に1つまたはそれを上回る間隙を有し、隣接するリングを接続するリンクのうちの少なくともいくつかが回転オフセットされる、少なくともいくつかのリングを接続する1つまたはそれを上回る軸方向リンクを有する。1つの好ましい実施例では、隣接するリング上の間隙が回転オフセットされる、少なくともいくつかのリング上に1つまたはそれを上回る間隙を有し、隣接するリングを接続するリンクが回転オフセットされる、少なくともいくつかのリングを接続する1つまたはそれを上回る軸方向リンクを有する。一実施例では、隣接するリング上のわずか2つの間隙が軸方向に整合される、少なくともいくつかのリング上に1つまたはそれを上回る間隙を有し、隣接するリングを接続するリンクが回転オフセットされる、少なくともいくつかのリングを接続する1つまたはそれを上回る軸方向リンクを有する。一実施例では、隣接するリング上のわずか3つの間隙が軸方向に整合される、少なくともいくつかのリング上に1つまたはそれを上回る間隙を有し、いくつかの隣接するリングを接続するリンクが回転オフセットされる、少なくともいくつかのリングを接続する1つまたはそれを上回る軸方向リンクを有する。一実施例では、隣接するリング上のわずか3つの間隙が軸方向に整合される、少なくともいくつかのリング上に1つまたはそれを上回る間隙を有し、隣接するリングを接続する少なくとも2つのリンクを有する。一実施例では、隣接するリング上のわずか3つの間隙が軸方向に整合される、少なくともいくつかのリング上に1つまたはそれを上回る間隙を有し、隣接するリングを接続する少なくとも3つのリンクを有する。間隙はまた、閉鎖セル設計、自己拡張式等、および本願の全体を通して議論されるような他のタイプ等の他のステント設計タイプにも適用可能である。間隙の遊離端は、例えば、数例を挙げると、非外傷性端であるために、さらなる強度を有するために、被覆率を改良するために、さらなる表面積を有するために、種々の形状および寸法を有することができる。一実施例では、少なくともいくつかのリングに関してわずか1つの間隙があり、他の実施例では、少なくともいくつかのリングに関して2つまたはそれを上回る間隙があり、隣接するリング上の間隙は、回転オフセットされる。
間隙はまた、図16I-12Aおよび12Bに示されるように、重複構造を伴って形成されてもよい。足場1126は、そのように形成されている、または形成され、相互から取り外されている、支柱の遊離もしくは開放端が、足場1136が円周方向に開放されるにつれて、またはその後に、相互に隣接して摺動し得るように重複することが示されている、分離領域1138を備える。
種々の異なる重複間隙構造が、図16I-13A-13Fに図示されている。重複球状末端を伴う曲線状支柱を備える、分離領域1140が、図16I-13Aに図示されている。テーパ状端を有する平行支柱を備える、分離領域1142が、図16I-13Bに示されている。対向ラチェッティング表面を有する支柱を備える、分離領域1144が、図16I-13Cに示されている。緩く相互係止する単純な曲線状支柱を備える、分離領域1146が、図16I-13Dに示されている。相互係止するフック状または曲線状端を支柱区画上に備える、分離領域1148が、図16I-3Eに示されている。分離領域1148の相互係止端は、概して、分離領域の他の実施形態に関して前述で説明されるように、軸方向ではなく、好ましくは、半径方向に分離を可能にするであろうが、ある場合には、両方で分離することができる。被覆率および結果として生じる間隙を増加させる充填材支柱を伴う分離領域1150が、図16I-13Fに示されている。
ここで図16I-14Aおよび14Bを参照すると、重複オフセット支柱区画を備える、分離領域1154は、図16I-14Aに示されるように、足場が拡張されるにつれて、区画が相互に対して摺動することを可能にするように遊離した状態にされることができる。代替として、スリーブ1156は、図16K-14Bに示されるように、平行支柱区画にわたって形成されてもよい。代替として、接着剤材料は、圧着構成から拡張されたより大きい構成までの拡張(または展開)中に、区画をともに保持することができる。材料は、通常、ステントの拡張前からステントの拡張後まで及ぶ周期にわたって、典型的には、30日~6ヶ月に及ぶ時間周期で、一時的に分解している。
本発明の間隙構造は、主に足場の支柱領域中に図示されているが、それらはまた、クラウン領域に形成されてもよい。例えば、図16I-15Aに示されるように、分離領域1160は、その中に間隙を有するクラウンをともに形成する、一対の入れ子J字形支柱端を備えてもよい。そのような入れ子構造は、足場が半径方向に拡張されるにつれて、支柱をともに保つことに役立つであろうが、拡張後の足場のコンプライアンスを増進するために、支柱(クラウン)が少なくとも部分的に分離する(または完全に分離する)ことを可能にするであろう。随意に、図16I-15Bに示されるように、スリーブ1162は、足場が拡張されるにつれてクラウン領域の強度を増進するため、または拡張後の強度を増進するために、入れ子クラウン1160にわたって設置されてもよい。スリーブは、典型的には、スリーブが分解した後に、分離領域が、支柱端が相互に対して移動することを可能にするように、生分解性であろう。
ここで図16I-16A-16Cを参照すると、足場1170は、円周方向リングのクラウン内に生分解性架橋要素1172の形態の分離領域を伴って形成されてもよい。具体的には、図16I-16Bに示されるように、生分解性架橋領域1174は、クラウン(または図示されていないが支柱)の隣接する構造上の取付構造1176に固着されてもよい。架橋要素1174は、したがって、足場1170の円周方向リング1102に生分解性クラウン1172を形成する。「クラウン」ブリッジ1172は、したがって、足場が半径方向に拡張されるにつれて存在し、埋込後の周期においてフープ強度および破砕抵抗を提供するであろう。しかしながら、分解性ブリッジ1172は、経時的に強度が低下し、最終的に完全に分解し、埋込後に足場を「離脱させる」ために、足場1170のコンプライアンスを増進するであろう。図16I-16Cは、本発明の方法によって加工されている足場1170の画像である。前述で説明されるような架橋要素は、パターン化ステント構造の端部を含有する、または内側に含有される、もしくは突き合わせ継手として取り付けられることができる。図16I-16Aは、架橋要素を通常は非分解性のフレームに取り付け、分解性架橋要素が分解するときに不連続性を提供し、リングおよびステントを離脱させる別の実施例である。
ここで図17を参照すると、蛇行リング80および82は、リングの一方の端部に継合される上部要素86と、リングの他方の端部に継合される下部要素86bとを有する、分岐継手84を伴って形成されてもよい。継手は、管腔内環境および/または外部エネルギーの印加に応答して、経時的に浸食もしくは疲労する、スリーブ、コイル、リベット、または本明細書に説明される他の要素のうちのいずれかであり得る、分解性収縮要素88によってともに保持される。
図18に示されるように、上記で説明される突き合わせ継手は、支柱の他方の区画90bの中に受容されるレセプタクル94の中に受容される、支柱90の一方の区画90a上に受容されるピンを含んでもよい。ピンは、端部を保持する接着剤または他の要素の破壊に先立って、継手の構造完全性を維持することに役立つ。
ここで図19を参照すると、円周方向足場の事前形成された分離区画をともに保持することができる、接着剤および他の生分解性要素の代替物として、本発明は、磁石を使用してもよい。例えば、図17に図示されるものに類似する分岐継手102では、磁石102は、上部要素100上にN極102aと、継手の下部区画上に磁石のS極102bとを有する。磁石は、円周方向足場を拡張する力を含む、実質的な力に対抗することができるタイプの高可撓性磁石を備えてもよい。しかしながら、磁石は、区画を解放し、円周方向足場のリングを開放するように、例えば、MRIユニットからのより大きい外部磁場の印加によって解放されることができる。
図20は、より少ない応力面積を有し、したがって、その構造完全性を維持して強度を提供しながら、ステント足場が拡張することを可能にする、支柱104の中の異なるキーおよびロック接合点106を図示する。
本発明の円周方向足場は、支柱110等の管状要素から形成されてもよく、管状要素は、隣接する支柱区画の管腔またはレセプタクル114の中に受容されることができるピン112を含んでもよい。これは、ステントが拡張に応じて十分な強度を有するための構造完全性を有することを促進する。
当業者は、該破損区分の場所、数、および分布が、ステント補綴具がより大きい構成まで展開されること、拡張構成時に構造完全性を有すること、ならびに身体管腔を支持するために十分な強度を有することを可能にするように構成されると理解することができる。これは、少なくともいくつかのリングおよび/またはヒンジならびに/もしくは支柱上の破損区分(または分離領域)を含む。
III. 束縛されたヒンジを伴うリングを有する非分解性補綴具(または高い破砕抵抗を伴って分解性である)
ここで図22を参照すると、蛇行リング14の隣接する支柱40は、スリーブ118または類似生分解性束縛具によって束縛されてもよい。生分解性束縛具は、円周方向足場の拡張中に隣接する支柱区画をともに保持するであろう。埋込後、スリーブ118または他の束縛具は、経時的に浸食もしくは分解し、支柱42は、拡張するように解放され、したがって、補綴具を離脱させる、または非拘束するであろう。別の実施例では、接着剤は、2つの隣接する要素を継合して、ステントの展開後にそれらをともに保持し、次いで、接着剤は、分解して2つの隣接する要素を解放し、さらに拡張して、血管を離脱させる。
図22の束縛されたヒンジの変形例では、分離領域1200が、図22Aに示されるように、足場の蛇行リングの隣接する支柱1202の間に形成されてもよい。隣接する支柱1202は、概して、図示されるように、従来のクラウン1204によって継合される。しかしながら、リングの中のある場所では、隣接する支柱は、1206において示されるように、圧潰および分割されてもよい。分割は、足場が拡張されるにつれて、以前の実施形態で説明されるように、蛇行リングが開放して間隙を形成することを可能にする。随意に、分割構造1206は、図22Bに示されるように、生分解性スリーブ1208で被覆されてもよい。スリーブが定位置にあると、分割支柱1206は、スリーブが分解した後まで分離しないであろう。代替として、接着剤材料が、隣接する1206支柱を継合し、ステントの拡張に応じて、または拡張ステント構成時に区画をともに保持するために使用される。接着剤は、経時的に分解し、円周方向リングの経路に沿って1つまたはそれを上回る不連続性を作成もしくは形成することの結果として、区画を解放し、リングを離脱させる。
IV. 能動継手を伴うリングを有する非分解性補綴具(または高い破砕抵抗を伴って分解性である)
ここで図23Aおよび23Bを参照すると、枢動ピン126上で支柱124を継合する能動ヒンジ122が、形成されてもよい。枢動部126は、下部ポート支柱区画の一方の端部にパターン化され、上部支柱区画内のスロット128の中に受容される。スロットは、非対称であり、枢動ピン126に隣接して形成される下面132に対して角度を成す面130を有する。そのような能動継手を含む円周方向足場が拡張された後、継手は、図23Aの構成を成すことができるように、身体管腔によって圧縮されるであろう。しかしながら、経時的に、管腔再形成が管腔直径を拡張すると、継手は、図23Bに図示されるように、開放し、したがって、補綴具の結果として、任意の拘束または閉じ込めを減少させることができるであろう。一実施例では、能動ヒンジは、ポリマー材料で、または展開に応じて定位置でヒンジを保持する接着剤材料でコーティングされる。能動ヒンジ材料はまた、または代わりに、支柱上のリングの直線状区分の中に設置されることもできる。
ここで図23Cおよび23Dを参照すると、分離領域を有する支持特徴を伴う能動ヒンジが説明されている。支持特徴を伴う能動ヒンジは、その完全な開示が参照することによって本明細書に組み込まれる、本願と同一の出願人による第US2008/0177373号(米国出願第12/016,077号)で説明されている。
第1の蛇行リング300(図23C)および第2の蛇行リング302(図23D)の一部は、軸方向リンク314によって隣接する蛇行リング(図示せず)に継合される。各蛇行リング300は、各端部においてヒンジ様クラウン318によって継合される、軸方向支柱対316を備える。支持特徴320は、隣接する軸方向支柱316のうちの少なくともいくつかの間に配置され、蛇行リング300が展開中に拡張されるにつれて、支柱が分離すると、特徴が円周方向に拡張するように接続される。支持特徴20は、図23Cおよび23Dに示されるように、拡張に先立って、略閉鎖U字形構成であり、蛇行リング300の半径方向拡張中に、クラウン318を中心とした軸方向支柱316の開放とともに、浅いV字形に開放する。支持特徴は、本明細書で上記に説明されるように、種々の形状、接点、場所等をとることができる。支持特徴320は、半径方向拡張後のステントの破砕抵抗を増進し、反跳に抵抗することに役立ち、血管または他の管腔壁を支持するため、随意に、管腔壁の中へ薬物を送達するための付加的面積を提供する。
支持特徴は、破砕抵抗を増進するが、それらはまた、本願の他の場所で詳細に議論される、望ましくない閉じ込め効果に寄与する、フープ強度も増進する。フープ強度を制御するために、破砕抵抗を有意に減退させることなく、分離領域は、支持特徴320(図23C)および/または蛇行リング(図23D)のクラウンに、もしくは支柱に形成されることができる。図23Cに示されるように、支持特徴のうちのいくつかまたは全てのクラウンは、分離領域330を有してもよい。図示されるように、分離領域330は、実施例として、隣接するクラウン区画の対向表面にわたって形成される分解性スリーブによって固定化されるクラウンの中に、切れ目または不連続性を備えるが、これらの分離領域は、血管または他の生理学的環境内の分離のために、本明細書の他の場所で説明される構造のうちのいずれかを有し得る。図23Dに示されるように、分離領域332は、蛇行リング300のクラウン316のうちのいくつかまたは全ての中にある(支柱の中にもあり得る)。図示されるように、分離領域332は、隣接するクラウン区画の対向表面の間または表面上で、接着剤、セメント、もしくはポリマーによって固定化されるクラウンの中に、切れ目または不連続性を備えるが、これらの分離領域は、血管または他の生理学的環境内の分離のために、本明細書の他の場所で説明される構造のうちのいずれかを有し得る。他の実施例では、分離領域はまた、または代わりに、支持特徴320の支柱上に形成されることもできる。
説明されるように、本発明の分離領域は、血管または弁輪等の他の身体管腔内の埋込後のステントもしくは他の管腔補綴具のコンプライアンス(半径方向歪み)を増進するために採用されている。しかしながら、図23E-1-23E-3に示されるように、分離領域は、他の有用性も提供することができる。例えば、支柱1224と、クラウン1226とを含む、円周方向リング1222を備える足場1220は、血管内の分岐にアクセスするための開放を増進するように、分離領域を伴って修正されてもよい。足場1220の中の円周方向リング1222の大部分は、非分離軸方向リンク1128によって継合されるが、ステント内の少なくとも1つの場所では、隣接する円周方向リング1222は、分離領域を備える軸方向リンク1230によって継合されてもよい。通常、分離軸方向リンク1230の各側面上の円周方向リングはまた、少なくともいくつかの場所に存在する分離領域1232も有するであろう。このように、図23E-3に示されるように、足場1120が分岐血管(BV)に隣接する主血管(MV)の中に設置された後、足場1120内のバルーン1240の拡張は、分岐血管と整合されるステントの中央区分にわたって優先的開口部1238を引き起こすであろう。そのような優先的開口部は、バルーンが(本明細書の前述で説明されるように)半径方向に優先的に分離するタイプである軸方向リンク1230を分離することができるため、生じるであろう。加えて、開口部1238に直接隣接する円周方向リングはまた、これらの隣接する円周方向リングの中の分離領域1232により、開口部の中へ部分的に拡張することができるであろう。
いくつかの実施例では、補強要素の形状は、実質的に円形(中実円形ワイヤもしくは中空円形ワイヤ)、長方形、正方形、卵形、または他の形状および幾何学形状であり得る。補強要素のサイズは、一実施例では、それらが結合されるヒンジおよび/または支柱と実質的に同一のサイズ/幾何学形状、ならびに/もしくはより小さいサイズ/幾何学形状、および/またはより大きいサイズ/幾何学形状である。一実施例では、補強要素の端部は、非外傷性および/または平滑である、ならびに/もしくは球根形または丸い形、および取り付けられたもしくは隣接する構造要素と比較してより広い断面積を有する。一実施例では、補強要素の表面仕上げは、研磨された血管金属ステンに類似する。別の実施例では、表面仕上げは、テクスチャ加工表面である。好ましい実施例では、ステント補綴具は、冠状動脈ステント補綴具である。別の実施例では、ステント補綴具は、血管ステント補綴具である。別の実施例では、ステント補綴具は、非血管ステント補綴具である。
V. 構築の材料
典型的には、一実施例では、非分解性材料は、304V、304L、および316LVステンレス鋼等のステンレス鋼、軟鋼等の鋼合金、コバルトクロム等のコバルトベースの合金、L605、Elgiloy(登録商標)、Phynox(登録商標)、白金クロム、白金イリジウム、および白金ロジウム等の白金ベースの合金、スズベースの合金、ロジウム、ロジウムベースの合金、パラジウム、パラジウムベースの合金、アルミニウムベースの合金、チタンまたはそれらの合金、50:50レニウムモリブデン等のレニウムベースの合金、モリブデンベースの合金、タンタル、金またはそれらの合金、形状記憶金属または合金、クロムベースの合金、線形弾性および/または超弾性ニチノール等のニッケルチタン合金、ニッケル・クロム・モリブデン合金(例えば、INCONEL 625、Hastelloy C-22、Hatelloy C276、Monel 400、Nickelvac 400、および同等物)等のニッケル合金、MP35-N等のニッケル・コバルト・クロム・モリブデン合金、ニッケルモリブデン合金、白金濃縮ステンレス鋼、それらの組み合わせ、もしくは同等物、ならびにステントおよび補綴具製造で一般的に採用されるタイプの他の可鍛性金属、または圧着構成から拡張構成まで拡張されたときに塑性的に変形可能な金属等の金属および金属合金を含むか、またはそれらから形成される。しかしながら、他の実施例では、非分解性材料は、ポリアリールエーテルケトン、ポリエーテルエーテルケトン、ポリイミド、UHMW、HDPE、LDPE、またはその他等のポリエチレン、ポリプロピレン、ポリエステル、ポリエチレンテレフタレート、ポリカーボネート、ポリスルホン、ポリフェニルスルホン、ポリエーテルスルホン、Ultem、ポリエーテルイミド、ポリウレタン、ポリアミド、ナイロン12、ナイロン6、ナイロン6-6、またはその他等のナイロン、ポリ塩化ビニル、PTFE、FEP、ETFE、PFA、PVDF、ポリ塩化ビニル、アクリロブタジエンスチレン、デルリン、ポリメチルメタクリレート、ポリスチレン、ポリアクリルアミド、ポリフェニルスルフィド、PEBAX、または他の材料等の非分解性ポリマーを含んでもよい。なおも他の実施例では、非分解性材料は、形状もしくは熱記憶合金、形状記憶ポリマー、または超弾性材料、典型的には、ニッケルチタン合金、ばねステンレス鋼、Ni50-Mn28-Ga22、銅・アルミニウム・ニッケル、亜鉛、銅、金、および鉄の合金、Fe-Mn-Si等の鉄ベースの合金、Cu-Zn-AlおよびCu-Al-Ni等の銅ベースの合金、ポリ(ε-カプロラクトン)ジメタクリレート、PVDF/PMMA、PVDF/PVA、PLA/PVAc、またはその他、もしくは同等物等の弾性金属を含んでもよい。
金属および金属合金の実施例では、304V、304L、および316LVステンレス鋼等のステンレス鋼、軟鋼等の合金鋼、コバルトクロム等のコバルトベースの合金、L605、Elgiloy(登録商標)、Phynox(登録商標)、白金クロム、白金イリジウム、および白金ロジウム等の白金ベースの合金、スズベースの合金、ロジウム、ロジウムベースの合金、パラジウム、パラジウムベースの合金、アルミニウムベースの合金、チタンまたはそれらの合金、50:50レニウムモリブデン等のレニウムベースの合金、モリブデンベースの合金、タンタル、金またはそれらの合金、銀またはそれらの合金、形状記憶金属または合金、クロムベースの合金、線形弾性および/または超弾性ニチノール等のニッケルチタン合金、ニッケル・クロム・モリブデン合金(例えば、INCONEL
625、Hastelloy C-22、Hatelloy C276、Monel 400、Nickelvac 400、および同等物)等のニッケル合金、MP35-N等のニッケル・コバルト・クロム・モリブデン合金、ニッケルモリブデン合金、タングステンまたはそれらの合金、白金濃縮ステンレス鋼、マグネシウム、20重量%未満の亜鉛またはアルミニウムを伴い、3%未満の鉄、シリコーン、マンガン、コバルト、ニッケル、イットリウム、スカンジウム、または他の希土類金属の1つもしくはそれを上回る不純物を伴わない、または伴うマグネシウム合金、亜鉛またはその合金、ビスマスまたはその合金、インジウムまたはその合金、スズまたはスズ鉛等のその合金、銀または銀スズ合金等のその合金、コバルト鉄合金、鉄、80-55-06グレード延性鋳鉄、他の延性鋳鉄、AISI 1010鋼、AISI 1015鋼、AISI 1430鋼、AISI 8620鋼、AISI 5140鋼、または他の鋼等の鉄含有合金、溶融可融合金(40%ビスマス-60%スズ、58%ビスマス-42%スズ、ビスマス・スズ・インジウム合金等)、ビスマス、インジウム、コバルト、タングステン、ビスマス、銀、銅、鉄、亜鉛、マグネシウム、ジルコニウム、モリブデン、インジウム、スズのうちの1つまたはそれを上回るものを含む合金、または他の材料、もしくは同等物を含むか、またはそれらから構成成される。
ポリマー材料の実施例では、ポリアリールエーテルケトン、ポリエーテルエーテルケトン、ポリイミド、UHMW、HDPE、LDPE、またはその他等のポリエチレン、ポリプロピレン、ポリエステル、ポリエチレンテレフタレート、ポリカーボネート、ポリスルホン、ポリフェニルスルホン、ポリエーテルスルホン、Ultem、ポリエーテルイミド、ポリウレタン、ポリアミド、ナイロン12、ナイロン6、ナイロン6-6、またはその他等のナイロン、ポリ塩化ビニル、PTFE、FEP、ETFE、PFA、PVDF、ポリ塩化ビニル、アクリロブタジエンスチレン、デルリン、ポリメチルメタクリレート、ポリスチレン、ポリアクリルアミド、ポリフェニルスルフィド、PEBAX、ラクチド、カプロラクトン、トリメチレンカーボネート、および/またはポリラクチド、ポリ(L-ラクチド)、ポリ-DL-ラクチド、ポリラクチド-co-グリコリド(例えば、85%L-ラクチド対15%グリコリドを伴うポリ(L-ラクチド-co-グリコリド))、ポリ(L-ラクチド-co-イプシロン-カプロラクトン)のコポリマー(例えば、約50~約95%L-ラクチド対約50~約5%カプロラクトンの重量比)、ポリ(L-ラクチド-co-トリメチレンカーボネート)、ポリトリメチレンカーボネート、ポリ(グリコリド-トリメチレンカーボネート)、ポリ(ラクチド-グリコリド-トリメチレンカーボネート)、または同等物等のグリコリドのターポリマー、ブレンド、混合物、もしくはそれらの組み合わせ、ポリ(3-ヒドロキシ酪酸)およびポリ(4-ヒドロキシ酪酸)等のポリヒドロキシ酪酸、ポリヒドロキシ吉草酸、ポリヒドロキシ酪酸/ポリヒドロキシ吉草酸コポリマー(PHV/PHB)、ポリヒドロキシアルカノエート、ポリオルトエステル、ポリ酸無水物、ポリイミノカーボネート、チロシン由来ポリカーボネート、チロシン由来ポリアクリレート、ヨウ化および/または臭素化チロシン由来ポリカーボネート、ヨウ化および/または臭素化チロシン由来ポリアクリレートポリエステルアミド、ポリカーボネートコポリマー、ポリ(フマル酸プロピレン-co-エチエレングリコール)コポリマー(別名フマル酸無水物)等のラクトンベースのポリマー、ポリ酸無水物エステル、ポリオルトエステル、シルクエラスチンポリマー、ポリホスファゼン、脂肪族ポリウレタン、ポリヒドロキシ酸、ポリエーテルエステル、ポリエステル、ポリデプシペプチド、ポリ(アルキレンオキサラート)、ポリアスパラギン酸、ポリグルタル酸ポリマー、ポリ-p-ジオキサノン、ポリ-ベータジオキサノン、非対称3,6-置換ポリ-1,4-ジオキサン-2,5-ジオノン、ポリアルキル-2-シアノアクリレート、ポリデプシペプチド(グリシン-DL-ラクチドコポリマー)、ポリジヒドロピラン、ポリアルキル-2-シアノアクリレート、ポリ-ベータ-マレイン酸(PMLA)、ポリアルカノエート、ポリ-ベータ-アルカン酸、エラスチン、フィブリン、コラーゲン、糖タンパク質、ゼラチン、またはペクチン等のタンパク質、ポリ-セリン、ポリカプロラクタム、シクロデキストリン、キトサンおよびヒアルロナン等の多糖類、アルギンネート、ポリケタール、脂肪酸ベースのポリ酸無水物、アミノ酸ベースのポリ酸無水物、ポリ(エステル無水物)、それらの組み合わせを含むか、またはそれらから構成される。
いくつかの実施例または実施形態では、ステントおよび管腔内補綴具の足場ならびに他の構成要素は、本願の全体を通して説明されるように、鋭い金属縁を防止するコーティングを含む、種々の目的のためにコーティングされてもよく、および/またはコーティング材料は、ポリアリールエーテルケトン、ポリエーテルエーテルケトン、ポリイミド、UHMW、HDPE、LDPE、またはその他等のポリエチレン、ポリプロピレン、ポリエステル、ポリエチレンテレフタレート、ポリカーボネート、ポリスルホン、ポリフェニルスルホン、ポリエーテルスルホン、Ultem、ポリエーテルイミド、ポリウレタン、ポリアミド、ナイロン12、ナイロン6、ナイロン6-6、またはその他等のナイロン、ポリ塩化ビニル、PTFE、FEP、ETFE、PFA、PVDF、ポリ塩化ビニル、アクリロブタジエンスチレン、デルリン、ポリメチルメタクリレート、ポリスチレン、ポリアクリルアミド、ポリフェニルスルフィド、PEBAX、ラクチド、カプロラクトン、トリメチレンカーボネート、および/またはポリラクチド、ポリ(L-ラクチド)、ポリ-DL-ラクチド、ポリラクチド-co-グリコリド(例えば、85%L-ラクチド対15%グリコリドを伴うポリ(L-ラクチド-co-グリコリド))、ポリ(L-ラクチド-co-イプシロン-カプロラクトン)のコポリマー(例えば、約50~約95%L-ラクチド対約50~約5%カプロラクトンの重量比)、ポリ(L-ラクチド-co-トリメチレンカーボネート)、ポリトリメチレンカーボネート、ポリ(グリコリド-トリメチレンカーボネート)、ポリ(ラクチド-グリコリド-トリメチレンカーボネート)、または同等物等のグリコリドのターポリマー、ブレンド、混合物、もしくはそれらの組み合わせ、ポリ(3-ヒドロキシ酪酸)およびポリ(4-ヒドロキシ酪酸)等のポリヒドロキシ酪酸、ポリヒドロキシ吉草酸、ポリヒドロキシ酪酸/ポリヒドロキシ吉草酸コポリマー(PHV/PHB)、ポリヒドロキシアルカノエート、ポリオルトエステル、ポリ酸無水物、ポリイミノカーボネート、チロシン由来ポリカーボネート、チロシン由来ポリアクリレート、ヨウ化および/または臭素化チロシン由来ポリカーボネート、ヨウ化および/または臭素化チロシン由来ポリアクリレートポリエステルアミド、ポリカーボネートコポリマー、ポリ(フマル酸プロピレン-co-エチエレングリコール)コポリマー(別名フマル酸無水物)等のラクトンベースのポリマー、ポリ酸無水物エステル、ポリオルトエステル、シルクエラスチンポリマー、ポリホスファゼン、脂肪族ポリウレタン、ポリヒドロキシ酸、ポリエーテルエステル、ポリエステル、ポリデプシペプチド、ポリ(アルキレンオキサラート)、ポリアスパラギン酸、ポリグルタル酸ポリマー、ポリ-p-ジオキサノン、ポリ-ベータジオキサノン、非対称3,6-置換ポリ-1,4-ジオキサン-2,5-ジオノン、ポリアルキル-2-シアノアクリレート、ポリデプシペプチド(グリシン-DL-ラクチドコポリマー)、ポリジヒドロピラン、ポリアルキル-2-シアノアクリレート、ポリ-ベータ-マレイン酸(PMLA)、ポリアルカノエート、ポリ-ベータ-アルカン酸、エラスチン、フィブリン、コラーゲン、糖タンパク質、ゼラチン、またはペクチン等のタンパク質、ポリ-セリン、ポリカプロラクタム、シクロデキストリン、キトサンおよびヒアルロナン等の多糖類、アルギネート、ポリケタール、脂肪酸ベースのポリ酸無水物、アミノ酸ベースのポリ酸無水物、ポリ(エステル無水物)、それらの組み合わせ、もしくは同等物を含むか、またはそれらから構成される。
一実施例では、腐食性または分解性金属もしくは金属合金材料は、ニッケル、コバルト、タングステンおよびタングステン合金、レニウム、コバルト、鉄、ジルコニウム、亜鉛、チタンのタングステン合金、マグネシウム、マグネシウム合金AZ31、20重量%未満の亜鉛またはアルミニウムを伴い、3%未満の鉄、シリコーン、マンガン、コバルト、ニッケル、イットリウム、スカンジウム、または他の希土類金属の1つもしくはそれを上回る不純物を伴わない、または伴うマグネシウム合金、亜鉛またはその合金、ビスマスまたはその合金、インジウムまたはその合金、スズまたはスズ鉛等のその合金、銀または銀スズ合金等のその合金、コバルト鉄合金、鉄、80-55-06グレード延性鋳鉄、他の延性鋳鉄、AISI 1010鋼、AISI 1015鋼、AISI 1430鋼、AISI 8620鋼、AISI 5140鋼、または他の鋼鉄等の鉄含有合金、溶融可融合金(40%ビスマス-60%スズ、58%ビスマス-42%スズ、ビスマス・スズ・インジウム合金等)、ビスマス、インジウム、コバルト、タングステン、ビスマス、銀、銅、鉄、亜鉛、マグネシウム、ジルコニウム、モリブデン、インジウム、スズのうちの1つまたはそれを上回るものを含む合金、または他の材料、もしくは同等物の金属または金属合金を含む。
別の実施例では、ポリマーおよび金属(分解性または非分解性)、接着剤、コーティング、はんだ、スリーブ、封止剤、封止剤、ポッティング化合物、固定材料、セメント、エネルギー固定、エラストマ、ならびに他のタイプの材料を含む、好適なステント材料を含み、好適な材料は、限定されないが、ポリアルキル-2-シアノアクリレート、メチル-2-シアノアクリレート、エチル-2-アクリレート、n-ブチルシアノアクリレート、2-オクチルシアノアクリレート、またはその他等のシアノアクリレート、ゴリラグルー、TissueGlu、Sylys外科用封止剤、またはその他等のリシンベースの接着剤、フィブリン接着剤、蜜ろう等の接着剤を含む。エポキシ、エポキシアミン、Loctite、Dymax、Master Bond、またはその他からの紫外線硬化性物質、アクリル、シリコーン、熱溶融物、ポリウレタン、ポリエステル等の非分解性接着剤、封止剤、およびポッティング化合物、分解性スリーブ材料、ステント材料、およびコーティング、ポリラクチドおよびそれらのコポリマーならびにブレンド、ラクチド、カプロラクトン、トリメチレンカーボネート、グリコリドのコポリマー、ポリ(L-ラクチド)、ポリ-DL-ラクチド、ポリラクチド-co-グリコリド(例えば、ポリ(L-ラクチド-co-グリコリド)、ポリ(L-ラクチド-co-イプシロン-カプロラクトン)のコポリマー(例えば、約50~約95%L-ラクチド対約50~約5%カプロラクトンの重量比)、ポリ(L-ラクチド-co-トリメチレンカーボネート)、ポリトリメチレンカーボネート、ポリ-カプロラクトン、ポリ(グリコリド-トリメチレンカーボネート)、ポリ(ラクチド-グリコリド-トリメチレンカーボネート)、または同等物、ポリ(3-ヒドロキシ酪酸)およびポリ(4-ヒドロキシ酪酸)等のポリヒドロキシ酪酸、ポリヒドロキシ吉草酸、ポリヒドロキシ酪酸/ポリヒドロキシ吉草酸コポリマー(PHV/PHB)、ポリヒドロキシアルカノエート、ポリオルトエステル、ポリ酸無水物、ポリイミノカーボネート、チロシン由来ポリカーボネート、チロシン由来ポリアクリレート、ヨウ化および/または臭素化チロシン由来ポリカーボネート、ヨウ化および/または臭素化チロシン由来ポリアクリレートポリエステルアミド、ポリカーボネートコポリマー、ポリ(フマル酸プロピレン-co-エチエレングリコール)コポリマー(別名フマル酸無水物)等のラクトンベースのポリマー、ポリ酸無水物エステル、ポリオルトエステル、シルクエラスチンポリマー、ポリホスファゼン、脂肪族ポリウレタン、ポリヒドロキシ酸、ポリエーテルエステル、ポリエステル、ポリデプシペプチド、ポリ(アルキレンオキサラート)、ポリアスパラギン酸、ポリグルタル酸ポリマー、ポリ-p-ジオキサノン、ポリ-ベータジオキサノン、非対称3,6-置換ポリ-1,4-ジオキサン-2,5-ジオノン、ポリアルキル-2-シアノアクリレート、ポリデプシペプチド(グリシン-DL-ラクチドコポリマー)、ポリジヒドロピラン、ポリアルキル-2-シアノアクリレート、ポリ-ベータ-マレイン酸(PMLA)、ポリアルカノエート、ポリ-ベータ-アルカン酸、エラスチン、フィブリン、コラーゲン、糖タンパク質、ゼラチン、またはペクチン等のタンパク質、ポリ-セリン、ポリカプロラクタム、シクロデキストリン、キトサンおよびヒアルロナン等の多糖類、アルギネート、ポリケタール、脂肪酸ベースのポリ酸無水物、アミノ酸ベースのポリ酸無水物、ポリ(エステル無水物)、ポリマーブレンド、および/またはコポリマー、もしくはそれらの組み合わせ、または同等物等。Sn97Cu3、Sn50Zn49Cu1、Sn95.5Cu4Ag0.5、Sn90Zn7Cu3、Sn98Ag2、Sn96.5Ag3Cu0.5、Sn91Zn9、Sn85Zn15、Sn70Zn30、Sn89Zn8Bi3、Sn83.6Zn7.6In8.8、Sn86.9In10Ag3.1、Sn95Ag3.5Zn1Cu0.5、Sn86.5Zn5.5In4.5Bi3.5、Sn95Sb5、Sn96.2Ag2.5Cu0.8Sb0.6、Sn90Au10、またはその他等のスズもしくはその合金、In97Ag3、In90Ag10、In50Sn50、In52Sn48またはその他等のインジウムもしくはその合金、Zn95Al5、Zn60Sn40、Zn95Sn5、またはその他等の亜鉛もしくはその合金、Bi57Sn42Ag1、Bi58Sn52、またはその他等のビスマスもしくはその合金等の腐食性はんだまたは可融合金。Au80Sn20、Au98Si2、Au87.5Ge12.5、Au82In18等の金もしくはその合金等の非腐食性はんだまたは可融合金。分解性および非分解性ポリマーは、ポリエステル、ポリラクチドおよびそれらのコポリマーならびにブレンド、ラクチド、カプロラクトン、トリメチレンカーボネート、グリコリドのコポリマー、ポリ(L-ラクチド)、ポリ-DL-ラクチド、ポリラクチド-co-グリコリド(例えば、ポリ(L-ラクチド-co-グリコリド)、ポリ(L-ラクチド-co-イプシロン-カプロラクトン)のコポリマー(例えば、約50~約95%L-ラクチド対約50~約5%カプロラクトンの重量比)、ポリ(L-ラクチド-co-トリメチレンカーボネート)、ポリトリメチレンカーボネート、ポリ-カプロラクトン、ポリ(グリコリド-トリメチレンカーボネート)、ポリ(ラクチド-グリコリド-トリメチレンカーボネート)、または同等物、ポリ(3-ヒドロキシ酪酸)およびポリ(4-ヒドロキシ酪酸)等のポリヒドロキシ酪酸、ポリヒドロキシ吉草酸、ポリヒドロキシ酪酸/ポリヒドロキシ吉草酸コポリマー(PHV/PHB)、ポリヒドロキシアルカノエート、ポリオルトエステル、ポリ酸無水物、ポリイミノカーボネート、チロシン由来ポリカーボネート、チロシン由来ポリアクリレート、ヨウ化および/または臭素化チロシン由来ポリカーボネート、ヨウ化および/または臭素化チロシン由来ポリアクリレートポリエステルアミド、ポリカーボネートコポリマー、ポリ(フマル酸プロピレン-co-エチエレングリコール)コポリマー(別名フマル酸無水物)等のラクトンベースのポリマー、ポリ酸無水物エステル、ポリオルトエステル、シルクエラスチンポリマー、ポリホスファゼン、脂肪族ポリウレタン、ポリヒドロキシ酸、ポリエーテルエステル、ポリエステル、ポリデプシペプチド、ポリ(アルキレンオキサラート)、ポリアスパラギン酸、ポリグルタル酸ポリマー、ポリ-p-ジオキサノン、ポリ-ベータジオキサノン、非対称3,6-置換ポリ-1,4-ジオキサン-2,5-ジオノン、ポリアルキル-2-シアノアクリレート、ポリデプシペプチド(グリシン-DL-ラクチドコポリマー)、ポリジヒドロピラン、ポリアルキル-2-シアノアクリレート、ポリ-ベータ-マレイン酸(PMLA)、ポリアルカノエート、ポリ-ベータ-アルカン酸、エラスチン、フィブリン、コラーゲン、糖タンパク質、ゼラチン、またはペクチン等のタンパク質、ポリ-セリン、ポリカプロラクタム、シクロデキストリン、キトサンおよびヒアルロナン等の多糖類、アルギネート、ポリケタール、脂肪酸ベースのポリ酸無水物、アミノ酸ベースのポリ酸無水物、ポリ(エステル無水物)、ポリマーブレンド、および/またはコポリマー、もしくはそれらの組み合わせ、または同等物、ポリビニルアルコール、ポリ酢酸ビニル、エチレン-酢酸ビニル(熱溶融性接着剤)、フェノールホルムアルデヒド樹脂、ナイロン12、ナイロン6、ナイロン6-6、またはその他等のポリアミド、ポリエステル樹脂、ポリエチレン(熱溶融性接着剤)、UHMW、HDPE、LDPE、またはその他、ポリクロロプレン、ポリアリールエーテルケトン、ポリエーテルエーテルケトン、ポリプロピレン、ポリスチレン、ポリエステル、ポリエチレンテレフタレート、ポリカーボネート、ポリスルホン、ポリフェニルスルホン、ポリエーテルスルホン、Ultem、ポリエーテルイミド、ポリウレタン、ポリ塩化ビニル、PTFE、FEP、ETFE、PFA、PVDF、ポリ塩化ビニル、アクリロブタジエンスチレン、デルリン等のポリアセタール、ポリメチルメタクリレート、ポリスチレン、ポリアクリルアミド、ポリフェニルスルフィド、PEBAX、および/またはコポリマー、ならびに/もしくはそれらの組み合わせを含む。シリコーンゴム、C-フレックス、ポリ(n-ブチルメタクリレート)、ポリ(メタメタクリレート)、ポリ(ヘキシルメタクリレート)、およびポリビニルピロリドンと混合されたポリ(n-ブチルメタクリレート)、クレイトン、ポリ(スチレン-エチレン/ブチレン-スチレン)(SEBS)、ポリ(スチレン-エチレン/プロピレン-スチレン)(SEPS)、ポリ(アクリル酸-b-スチレン-b-イソブチレン-b-スチレン-b-アクリル酸)、ポリ(スチレン-b-イソブチレン-b-スチレン)、ポリブタジエン、PVDF-HFPポリ(フッ化ビニリデン-ヘキサフルオロプロピレン)、ポリビニルピロリドン、ポリ(エチレン-co-酢酸ビニル)、ホスホリルコリン、PEBAX、ポリウレタンエラストマ、Tecoflex、Biomer、Pellethane、corethane、シリコーンゴム、ゴム、エラストマ、ブレンド、コポリマー、それらの組み合わせ、または同等物等の弾性非吸収性ポリマーもしくはエラストマ。形状もしくは熱記憶合金、形状記憶ポリマー、または超弾性材料、典型的には、ニッケルチタン合金、ばねステンレス鋼、Ni50-Mn28-Ga22、銅・アルミニウム・ニッケル、亜鉛、銅、金、および鉄の合金、Fe-Mn-Si等の鉄ベースの合金、Cu-Zn-AlおよびCu-Al-Ni等の銅ベースの合金、または同等物等の非腐食性弾性金属もしくは金属合金。高い初期強度を有し、経時的に脆弱化する、金属または金属合金は、Ti6Al4V、Ti5Al2.5Sn、またはTi-10V-Fe-3Al、SAF2507等のステンレス鋼、Zn5al、Zn10Al、Zn18Al、Zn30Al等の亜鉛合金、白金金属およびその合金、Sn3.9Ag0.6Cu、Sn-3.8Ag-0.7Cu、SnPb、またはSnPbAt等のスズ合金、Al1.7Fe、Al0.7Cu、A1.5MgScZr、Al6Mg0.2Sc0.15Zr、3004、8090、7075、6061、または5056等のアルミニウム合金、Zr55Al10Ni5Cu30等のジルコニウム合金、AZ31BまたはMG11li5Al1Zn0.034Sc(LAZ1151)等のマグネシウム合金、Fe29.7Mn8.7Al1C、30HGSA合金鋼、4140、C45鋼、Fe36Ni、または低炭素鋼等の鉄合金、Ni21Cr17MoまたはHaynes 230等のニッケル合金を含む。Ti6Al4V、Ti5Al2.5Sn、またはTi-10V-Fe-3Al等の従来のチタン合金、SAF2507等のステンレス鋼、白金金属およびその合金、Al1.7Fe、Al0.7Cu、A1.5MgScZr、Al6Mg0.2Sc0.15Zr、3004、8090、7075、6061、または5056等のアルミニウム合金、Zr55Al10Ni5Cu30等のジルコニウム合金、304V、304L、および316LVステンレス鋼、軟鋼等の合金鋼、コバルトクロム等のコバルトベースの合金、L605、Elgiloy(登録商標)、Phynox、白金クロム、白金イリジウム、および白金ロジウム等の白金ベースの合金、スズベースの合金、ロジウム、ロジウムベースの合金、パラジウム、パラジウムベースの合金、アルミニウムベースの合金、チタンまたはそれらの合金、50:50レニウムモリブデン等のレニウムベースの合金、モリブデンベースの合金、タンタル、金またはそれらの合金、銀またはそれらの銀合金、形状記憶金属または合金、クロムベースの合金、線形弾性および/または超弾性ニチノール等のニッケルチタン合金、ニッケル・クロム・モリブデン合金(例えば、INCONEL 625、Hastelloy C-22、Hatelloy C27


6、Monel 400、Nickelvac 400、および同等物)等のニッケル合金、MP35-N等のニッケル・コバルト・クロム・モリブデン合金、Ni21Cr17MoまたはHaynes 230等のニッケル合金、もしくはその他、ニッケルモリブデン合金、白金濃縮ステンレス鋼、それらの組み合わせ、または同等物等の非腐食性(非分解性)金属もしくは金属合金。腐食性金属または金属合金(分解性)は、ニッケル、コバルト、タングステン、レニウム、コバルト、鉄、ジルコニウム、亜鉛、チタンのタングステン合金、マグネシウム、マグネシウム合金、マグネシウム合金AZ31、20重量%未満の亜鉛またはアルミニウムを伴い、3%未満の鉄、シリコーン、マンガン、コバルト、ニッケル、イットリウム、スカンジウム、または他の希土類金属の1つもしくはそれを上回る不純物を伴わない、または伴うマグネシウム合金、AZ31BもしくはMG11li5Al1Zn0.034Sc(LAZ1151)、亜鉛またはZn5al、Zn10Al、Zn18Al、Zn30Al等の亜鉛合金等のその合金、ビスマスまたはその合金、インジウムまたはその合金、スズまたはスズ鉛、Sn3.9Ag0.6Cu、Sn-3.8Ag-0.7Cu、SnPb、もしくはSnPbAt等のその合金、銀または銀スズ合金等のその合金、コバルト鉄合金、鉄または80-55-06グレード延性鋳鉄、他の延性鋳鉄、AISI 1010鋼、AISI 1015鋼、AISI 1430鋼、AISI
8620鋼、AISI 5140鋼、Fe29.7Mn8.7Al1C、30HGSA合金鋼、4140、C45鋼、Fe36Ni、低炭素鋼、もしくは他の鋼鉄等のその合金、溶融可融合金(40%ビスマス-60%スズ、58%ビスマス-42%スズ、ビスマス・スズ・インジウム合金等)、ビスマス、インジウム、コバルト、タングステン、ビスマス、銀、銅、鉄、亜鉛、マグネシウム、ジルコニウム、モリブデン、インジウム、スズのうちの1つまたはそれを上回るものを含む合金、もしくは他の材料、または同等物を含む。他の非分解性ポリマー材料は、パリレンおよびC-フレックス材料を含む。
さらなる実施例または実施形態では、デバイスの本体、またはステント、もしくはデバイスの本体を備える材料、またはデバイスの本体の1つもしくはそれを上回る層を備える材料は、1つまたはそれを上回る生物学的活性剤を備える。いくつかの実施形態では、生物学的活性剤は、抗増殖剤、抗有糸分裂剤、細胞増殖抑制剤、抗移動剤、免疫調節剤、免疫抑制剤、抗炎症剤、抗凝固剤、抗血栓剤、血栓溶解剤、抗トロンビン剤、抗フィブリン剤、抗血小板剤、抗虚血剤、降圧剤、抗脂質異常症剤、抗糖尿病剤、抗癌剤、抗腫瘍剤、血管新生阻害剤、血管形成剤、抗菌剤、抗真菌剤、抗ケモカイン剤、および治癒助長剤から成る群から選択される。ある実施形態では、デバイスの本体は、抗増殖剤、抗有糸分裂剤、細胞増殖抑制剤、または抗移動剤を備える。さらなる実施形態では、デバイスの本体は、抗増殖剤、抗有糸分裂剤、細胞増殖抑制剤、または抗移動剤に加えて、抗凝固剤、抗血栓剤、血栓溶解剤、抗トロンビン剤、抗フィブリン剤、または抗血小板剤を備える。本明細書で開示される生物学的活性剤の具体的実施例は、1つを上回る生物学的効果を及ぼし得ることが理解される。
抗増殖剤、抗有糸分裂剤、細胞増殖抑制剤、および抗移動剤の実施例は、限定ではないが、ラパマイシンの哺乳類標的の阻害剤(mTOR)、ラパマイシン(シロリムスとも呼ばれる)、重水素化ラパマイシン、TAFA93、40-O-アルキル-ラパマイシン誘導体、40-O-ヒドロキシアルキル-ラパマイシン誘導体、エベロリムス{40-O-(2-ヒドロキシエチル)-ラパマイシン}、40-O-(3-ヒドロキシ)プロピル-ラパマイシン、40-O-[2-(2-ヒドロキシ)エトキシ]エチル-ラパマイシン、40-O-アルコキシアルキル-ラパマイシン誘導体、バイオリムス{-40-O-(2-エトキシエチル)-ラパマイシン}、40-O-アシル-ラパマイシン誘導体、テムシロリムス{-40-(3-ヒドロキシ-2-ヒドロキシメチル-2-メチルプロパノエート)-ラパマイシン、またはCCI-779}、40-O-リン含有ラパマイシン誘導体、リダフォロリムス(40-ジメチルホスフィナート-ラパマイシン、またはAP23573)、40(RまたはS)-ヘテロシクリルもしくはヘテロアリール含有ラパマイシン誘導体、ゾタロリムス{-40-エピ-(N1-テトラゾリル)-ラパマイシン、またはABT-578}、40-エピ-(N2-テトラゾリル)-ラパマイシン、32(RまたはS)-ヒドロキシ-ラパマイシン、ミオリムス(32-デオキソ-ラパマイシン)、ノボリムス(16-O-デスメチル-ラパマイシン)、AP20840、AP23464、AP23675、AP23841、タキサン、パクリタキセル、ドセタキセル、サイトカラシン、サイトカラシンA-J、ラトランクリン、およびそれらの塩、異性体、類似体、誘導体、代謝産物、プロドラッグ、ならびに断片を含む。ラパマイシン用のIUPAC番号付与システムが、本明細書で使用される。ある実施形態では、デバイスの本体は、ミオリムスまたはノボリムスを備える。他の薬物は、例えば、数例を挙げると、メテルギン、アセチルコリン、およびニトログリセリン、それらの類似体、誘導体、ならびに代謝産物を含む、血管拡張剤および血管収縮剤を含む血管作用剤を含む。
足場上で、および本発明の方法で使用するために好適な他の具体的薬物は、その完全な開示が参照することによって本明細書に組み込まれる、同一出願人による第US9,119,905号で説明されている。
VI. 螺旋骨格を有するステント
ここで図36を参照すると、従来技術の螺旋ステント1300は、螺旋骨格1302を有する足場を備える。螺旋骨格1302は、個々の巻目が支柱1308によって継合されるクラウン1306を備える、複数の隣接する巻目(リング)1304を備える。従来技術のステントでは、そのような螺旋ステントの中の隣接する巻目のうちの少なくともいくつかは、恒久軸方向コネクタ1310によって継合されてもよい。螺旋骨格は、典型的には、マンドレルの周囲にワイヤを屈曲することによって形成され、軸方向コネクタ1310は、典型的には、対向クラウン1306が相互に直接隣接して位置する点において、隣接する巻目をともに溶接または別様に融合することによって形成される。
ここで図37を参照すると、本発明の原理に従って構築される螺旋ステント足場1312は、クラウン1316および支柱1318とを有する、複数の巻目(リング)1314を備える。隣接するクラウンは、本願の中の他の場所で説明される分離領域のうちのいずれかとして形成され得る、分離領域1320によって接続されてもよい。便宜上、軸方向に対向するクラウン1316の凸状領域が、図37に示されるように、相互に密接に隣接して位置するとき、クラウンは、その間の間隙に架橋する、生分解性接着剤、リンク、または他の材料1316もしくは構造によって継合されてもよい。生分解性接着剤、リンク、または他の材料1316は、本明細書の他の場所で説明される分離機構のうちのいずれかによって、ステント足場1312の埋込後に分離するように構成されるであろう。代替として、または連続的巻目1314の間の分離領域1320に加えて、ステント足場1312は、それぞれ、支柱1318およびクラウン1316のうちの少なくともいくつかの中に分離領域1320aならびに1320bを備えてもよい。選択される分離領域1320、1320a、および1320bの特定のパターンに応じて、ステント足場1312は、(支柱またはクラウン領域中の)少なくともいくつかの円周方向巻目上に位置する分離領域に不連続性を形成すること、および/またはリングの変形、例えば、クラウンの開放によって、ならびに/もしくはステントの螺旋骨格の巻解によって、拡張および収縮することが可能であり得る。
ここで図38を参照すると、別の螺旋ステント足場1322は、隣接するクラウン1326が、クラウンに巻着する架橋区画1330に継合され得る、クラウン1326および支柱1328を含む、複数の巻目(リング)1324を備えてもよい。そのような架橋区画は、本発明の原理によると、本明細書の他の場所で説明されるような生分解性または他の脆弱な材料から形成されてもよい。ステント足場1312と同様に、ステント足場1322は、それぞれ、支柱およびクラウン(図示せず)のうちの少なくともいくつかの中に付加的分離領域を有してもよい。選択される分離領域の特定のパターンに応じて、ステント足場1322は、(支柱またはクラウン領域中の)少なくともいくつかの円周方向巻目上に位置する分離領域に不連続性を形成すること、および/またはリングの変形、例えば、クラウンの開放によって、ならびに/もしくはステントの螺旋骨格の巻解によって、拡張および収縮することが可能であり得る。
図36-38に示されるように、足場の各連続的巻目(リング)のクラウンは、クラウンのうちの少なくとも殆どの凸面が軸方向に対向し、接触している、または非常に短い間隙によって分離されるように、「位相がずれている」。ここで図39を参照すると、螺旋ステント足場1332は、軸方向コネクタ1340が1つのクラウンの凸状側面の間に跨架し、隣接するクラウンの凹状側面の中へ延在し得るように、クラウン1336および支柱1338が「同相」である、隣接する巻目1334を備えてもよい。コネクタ1340は、本願の中の他の場所で説明される分離領域のうちのいずれかとして形成され得る、分離領域1341を備える。しかしながら、分離領域1341は、典型的には、円周方向巻目(またはリング)を離脱させるために十分ではなく、むしろ、巻目のそれぞれの支柱および/またはクラウン領域(図示せず)の中に1つもしくはそれを上回る分離領域を有することが、巻目(リング)を円周方向に離脱させるために必要とされる。
ここで図40を参照すると、螺旋ステント足場1342は、複数の巻目1324を備え、そのうちの少なくともいくつかは、図39を参照して前述で説明されるように「同相」であろう。1つのクラウンの凸状側面から別のクラウンの凹状側面まで延在する代わりに、コネクタ1350は、図示されるように、2つの「位相がずれた」クラウン1346の凸状側面の間に延在してもよい。再度、コネクタ1350は、本明細書の他の場所で説明される分離領域のうちのいずれかを備え得る、分離領域1351を含む。しかしながら、分離領域1351は、典型的には、円周方向巻目(またはリング)を離脱させるために十分ではなく、むしろ、巻目のそれぞれの支柱および/またはクラウン領域(図示せず)の中に1つもしくはそれを上回る分離領域を有することが、巻目(リング)を円周方向に離脱させるために必要とされる。
図41に示されるように、クラウン1356および支柱1358を有する、巻目1354を備える螺旋ステント足場1352は、軸方向に離間した支柱1358の間に延在するコネクタ1360を備えてもよい。再度、コネクタ1360は、本明細書の他の場所で説明される分離領域のうちのいずれかを備え得る、分離領域1361を含む。しかしながら、分離領域1361は、典型的には、円周方向巻目(またはリング)を離脱させるために十分ではなく、むしろ、巻目のそれぞれの支柱および/またはクラウン領域(図示せず)の中に1つもしくはそれを上回る分離領域を有することが、巻目(リング)を円周方向に離脱させるために必要とされる。
最終的に、図42に図示されるように、螺旋ステント足場1362は、コネクタ1370が1つのクラウン1368の凸状側面と隣接する支柱1366との間に延在する、支柱1336およびクラウン1368を有する、巻目1364を備えてもよい。再度、コネクタ1370は、本明細書の他の場所で説明される分離領域のうちのいずれかを備え得る、分離領域1371を含む。しかしながら、分離領域1371は、典型的には、円周方向巻目(またはリング)を離脱させるために十分ではなく、むしろ、巻目のそれぞれの支柱および/またはクラウン領域(図示せず)の中に1つもしくはそれを上回る分離領域を有することが、巻目(リング)を円周方向に離脱させるために必要とされる。
ステント足場1312と同様に、ステント足場1332、1342、1352、および1352は、それぞれ、支柱およびクラウン(図示せず)のうちの少なくともいくつかの中に付加的分離領域を有してもよい。選択される分離領域の特定のパターンに応じて、ステント足場はそれぞれ、(支柱またはクラウン領域中の)少なくともいくつかの巻目の中に1つもしくはそれを上回る分離領域を有すること、および/またはリングの変形、例えば、クラウンの開放によって、ならびに/もしくはステントの螺旋骨格の巻解によって、拡張および収縮することが可能であり得る。
VII. 円周方向に連結された閉鎖セルステント
本発明の分離領域技術はまた、ステントおよび他の管腔補綴具上の閉鎖セル足場に適用されてもよい。例えば、図43に示されるように、閉鎖セルステント足場1400は、複数の円周方向リング1402を備える。各リングは、軸方向リンク1406によって継合される、いくつかの四角形閉鎖セル1404を備える。各円周方向リング1402内の四角形閉鎖セル1404は、円周方向コネクタ1408によって継合される。
本発明によると、分離領域1410および1411は、足場が血管または他の身体管腔に埋め込められた後に足場のコンプライアンスを増進するために、円周方向リング1402のうちの少なくともいくつかに形成される。例えば、分離領域1410は、円周方向コネクタ1408のうちの1つまたはそれを上回るものの中に位置してもよく、埋込後に生理学的力に応答して、隣接する四角形閉鎖セル1404が円周方向に分離することを可能にする。代替として、分離領域1411は、四角形閉鎖セル自体の支柱または他の要素内に位置してもよい。典型的には、足場1400の円周方向リング1402は、典型的には、分離領域が不連続性を形成した後に無傷のままである、軸方向に整合されたリンク1406または他の要素によって継合される。
別の閉鎖セル足場1416が、図44に図示され、各セルが、蛇行または「波形」軸方向要素1424と、横方向に配向された端部要素1420とを有する、「密接に充塞した」四角形セル1418を含む。端部区画1420は、典型的には、埋込後にステントの円周方向コンプライアンスを増進するために、分離領域1426を備えるであろう。しかしながら、軸方向要素1424に形成される分離領域1427は、単独では、典型的には、足場を円周方向に離脱させないであろう。分離領域1426および/または1427は、本願の中の他の場所で説明される分離領域のタイプのうちのいずれかであってもよい。
図45に図示される閉鎖セルステント足場1430は、複数の密接に充塞した菱形セル1432を備える。分離領域1438は、菱形セル1432の円周方向コネクタの中に提供されてもよい。代替として、分離領域1439は、菱形閉鎖セル1432の支柱要素の中に提供されてもよい。
図46に示されるようなさらに別の実施例では、閉鎖セルステント足場1450は、接合点1454において相互に交差する、支柱1453によって画定される菱形セル1452を備える。分離領域1456は、接合点1454において提供されてもよい、および/または分離領域1457は、接合点の間で支柱1453の中に提供されてもよい。菱形セルを伴うそのような閉鎖セルステント足場1450は、典型的には、従来の様式で管状基礎構造からレーザ切断またはエッチングすることによってパターン化される。分離領域は、次いで、本明細書の他の場所で説明される分離領域のうちのいずれかを備えてもよい。
図46Aおよび46Bに示されるような、なおもさらなる実施例では、ステント足場1460は、クラウン1466において継合される支柱1464によって形成される、ジグザグ円周方向リング1462を備える(または蛇行リング等の他のパターンであってもよい)。軸方向に隣接するリング1462の中の全てではないがいくつかの軸方向に隣接するクラウンは、隣接するリングを継合する、4方向接合点の中へ継合される。接合点1468は、分離領域として作用し、または分離領域であるように構成されてもよく、かつ場所1470において不連続性、切れ目、もしくは2等分を形成し、図46Bに示されるように、リングの円周方向分離を可能にするように形成されることができる。このように、隣接するリング1462は、円周方向に解放されている間に(または本明細書の他の場所で説明されるように円周方向コンプライアンスを増加させるために)、軸方向に継合されたままであろう。接合点1468は、前述で説明された方法のうちのいずれかで形成されてもよく、例えば、分解性スリーブまたは接着剤によって継合される、事前形成された切れ目を有する、管腔脈動もしくはその他によって引き起こされる疲労に応答して破損する、脆弱化した領域である、または同等物である。
図47では、足場1600は、軸方向に配向された骨格1604に取り付けられた複数の円周方向リング1602を備える。各リングは、間隙1606を有し、連続的リングのうちの少なくともいくつかの中の間隙は、相互に対して回転交互配置される。回転交互配置の目的は、間隙によって提供される弾性を維持しながら、より一様に円周方向支持を分配することである。すなわち、間隙が軸方向に整合される設計では、円周方向支持は、間隙が整合される側面に沿って減退されるであろう。そのような減退した支持は、間隙を交互配置することによって低減または排除される。図示されるように、連続的リングの中の間隙1606は、90°によって交互配置されるが、交互配置の程度およびパターンは、円周方向支持が維持される限り変動され得る。図示されていない、さらなる代替物として、足場1600は、平行に、足場の連続的軸方向領域中に位置してのいずれかで、2つ、3つ、またはそれを上回る軸方向骨格を有し得る。
図48では、足場1620は、複数の交互配置されたリンクまたは骨格区画1624によって軸方向に継合される、複数の円周方向リング1602を備える。複数の区画またはリンク1624は、図47の骨格1604に取って代わり、足場1620の軸方向完全性を維持する。単一のリンクまたは区画1624が、各連続的な一対のリング1622の間に示されているが、2つ、3つ、またはそれを上回る区画もしくはリンクが、隣接するリング1622のうちの少なくともいくつかの間に位置し得ることが理解されるであろう。足場1600と同様に、足場1620の中の各リング1622は、間隙1626を有し、連続的リング1622のうちの少なくともいくつかの中の間隙は、相互に対して回転交互配置される。回転交互配置の目的は、足場1620と同一であり、すなわち、間隙によって提供される弾性を維持しながら、より一様に円周方向支持を分配することである。図示されるように、間隙1626は、少なくとも1つの区画またはリンク1624の取付場所と180°反対に位置するが、他の配向もまた、用途を見出すであろう。
ステント足場1600および1620は、材料のうちのいずれかから、ならびに本明細書の他の場所で説明される加工プロトコルのうちのいずれかによって、形成されてもよい。具体的には、足場は、金属または他の管をパターン化することによって形成されてもよい。代替として、足場は、図示されるパターンに1つまたはそれを上回るワイヤを屈曲することによって、例えば、パターンに単一のワイヤを屈曲し、一方の端部においてワイヤを旋回させ、次いで、以前に屈曲したワイヤと平行なパターンでワイヤを再び屈曲することによって、形成され得る。
一実施例では、ヒトまたはブタモデルにおいて、血管運動(収縮もしくは拡張)、ステント収縮および/または拡張、血管拡大、もしくは他の試験を測定することは、以下の通りであり得る。ブタモデルで、注入カテーテルが、誘導カテーテルを通過させられ、デバイス埋込の部位の近位に位置付けられる。シリンジポンプを使用して、アセチルコリンの増分用量レベル(10-7、10-6、および10-5M)が、各用量の間に最低5分のウォッシュアウト周期を伴って、必要に応じてゆっくりと投与される(3分にわたって1.0ml/分)。血圧および心拍数が、アセチルコリン誘導性虚血を予防するために、各注入中に監視される。増分投与計画は、収縮が視覚的に明確であり、後続の用量が虚血事象を誘発する可能性が最も高いであろうときに中断される。血管造影画像が、オフラインQCA測定に関してアセチルコリンの効果を捕捉するために、各用量に先立って、およびその後に取得される。アセチルコリン注入の有効用量に続いて、ニトログリセリンのボーラス(300mg)が、血管拡張応答を査定するために投与され、血管造影図が、オフラインQCA分析のために捕捉される。アセチルコリン注入の場合、遠位非デバイス埋込区画内の血管収縮は、デバイス埋込区画内の血管直径の人工縮小をもたらす、血流の低減に起因して、遠位区画ならびにデバイス埋込区画内の造影剤流の低減をもたらすであろう。本アーチファクトを回避するために、デバイス埋込区画の中間区分における管腔直径は、より良好な正確度のために、全ての分析に関して選定された。ヒトに関して、10-8M~10-8Mの増加する用量においてマイクロカテーテルを通して注入される、基準生理食塩水注入およびアセチルコリンの副選択的冠動脈内投与後に、QCAによって平均管腔直径を測定する。メテルギン試験に関して、QCAは、メテルギンの静脈内ボーラス注射(0.4mg)から5分後に測定される。両方の試験は、200μgのニトログリセリンの冠動脈内投与によって終了される。血管作用物質を用いた治療後の管腔直径の変化が、投与前、アセチルコリンまたはメテルギン後、およびニトログリセリン注入後の間に、オフライン拡張終末QCA血管造影取得を使用して測定される。動脈の副区画分析が、デバイス埋込区画および5mm近位ならびに遠位縁の平均管腔直径(MLD)変化を判定するように実施される。絶対MLD差(デルタ)(注入後-注入前)ならびに相対的MLD変化率(注入後-注入前/再注入×100%)が、査定される。データは、血管運動(血管拡張および/または血管収縮)を受ける埋め込まれたデバイスならびに/もしくは血管の測定および規模、ステントの拡張、および/またはステントの収縮、ならびに/もしくはステント留置血管区画の拡大、および/またはステント留置血管区画の収縮を提供する。IVUSによる血管運動の評価の実施例:血管運動はまた、拡張終期および収縮終期状態で同一位置において、好ましくは、デバイス埋込区画および/または動脈の埋込区画の中間区分内で、IVUSによって管腔面積の測定を通して、ブタモデルならびにヒトにおいて査定され得る。デバイス埋込区画の中間区分内の収縮期から拡張期に観察される管腔断面積の絶対差(ΔLA)は、血管運動(血管拡張および/または血管収縮)を受ける埋め込まれたデバイスならびに/もしくは血管の能力および規模、ステントの拡張、および/またはステントの収縮、ならびに/もしくはステント留置血管区画の拡大、および/またはステント留置血管区画の収縮を評価するために必要な情報を提供するであろう。
VIII. 円周方向変位領域等の変位領域を有するステント補綴具
図49は、支柱のうちの2つが、本発明の原理に従って構築される円周方向変位領域1710等の変位領域を有する、支柱1704およびクラウン1706から形成されたステント補綴具1700の単一の部分円周方向リング1702を図示する。円周方向部分リング1702は、軸方向リンク1708によって軸方向に隣接する円周方向リング(完全には示されていない)に接続される。前述で説明された分離領域とは対照的に、これらの変位領域1710は、前述で説明されたような分離だけではなく、円周方向リングの円周方向寸法を拡張および/または収縮するための弾性領域を提供するように構成されてもよい。
図50は、隣接する支柱区画1704の末端においてフォークもしくはクレビスとして形成されたメス型端末または取付領域1714から分離された、支柱区画1704上のオス型端末または取付領域1712とともに示される、円周方向変位領域1710の斜視図である。メス型取付領域1714中の開口部または空洞1715は、オス型取付領域とメス型取付領域との間に緩衝ゾーン1713を作成するように、図51で最良に見られるように、支柱1704のオス型領域1712の幅と比較して大き過ぎる。図51の破線は、支柱が図51に示される矢印の方向に移動することを可能にする、支柱1704のオス型取付領域1712に利用可能な横運動の範囲を示す。図52は、オス型取付領域1712がまた、同様に破線で示され、かつ図52の矢印によって示されるように、支柱1704の水平面に対して上下に移動できることを示す。類似「ロックおよびキー」分離領域が、本願で前述に示されているが、円周方向変位領域として使用されるとき、オス型要素1712の外面とメス型領域1714の内面との間の自由空間または緩衝領域は、概して、さらなる移動の自由を可能にするように、より大きいであろう。
ここで図53および54を参照すると、オス型要素1712の外面とメス型領域1714の内面との間の緩衝ゾーン1713は、随意に、弾性クッション材料1716で充填されてもよい。好適なクッション材料は、限定されないが、シリコーン、シリコーンゴム、C-フレックス、ポリ(n-ブチルメタクリレート)、ポリ(メタメタクリレート)、ポリ(ヘキシルメタクリレート)、およびポリビニルピロリドンと混合されたポリ(n-ブチルメタクリレート)、クレイトン、ポリ(スチレン-エチレン/ブチレン-スチレン)(SEBS)、ポリ(スチレン-エチレン/プロピレン-スチレン)(SEPS)、ポリ(アクリル酸-b-スチレン-b-イソブチレン-b-スチレン-b-アクリル酸)、ポリ(スチレン-b-イソブチレン-b-スチレン)、ポリブタジエン、ポリイソプレン、ポリスチレンブタジエンゴム(SBR)、ポリエチレンプロピレンジエン(EPDM)、PVDF-HFPポリ(フッ化ビニリデン-ヘキサフルオロプロピレン)、ポリビニルピロリドン、ポリ(エチレン-co-酢酸ビニル)、ホスホリルコリン、PEBAX、ポリウレタンエラストマ、Tecoflex、Biomer、Pellethane、corethane、シリコーンゴム、天然ゴム、エラストマ、ブレンド、コポリマー、それらの組み合わせ、または同等物を含む。クッション材料が、通常、恒久または長期的相互接続を提供するように、クッション材料は、典型的には、オス型取付領域1712およびメス型取付領域1714の両方に接着するであろう。しかしながら、材料の弾性は、クッションが弾性コネクタとして作用し、2つの隣接する支柱区画1704の間で制御された弾性相互作用を提供することを可能にする。
図55に示されるように、ある場合には、隣接する支柱区画1704の2つの突き合わせ端が、2つの支柱を弾性的に連結するように作用し、弾性変位領域としての役割を果たす、弾性材料の領域1720と直接接続されてもよい。
ここで図56、57、および58Aならびに58Bを参照すると、円周方向変位領域1710等の変位領域のさらなる実施形態は、頂面にわたって形成されたチャネル1718を伴うメス型取付領域1720を有する支柱区画1704を備える。オス型取付領域1722は、隣接する支柱区画1704の端部において形成され、支柱が支柱端1720に対して側方ならびに上向きに移動し得るように、図57および58Aで最良に見られるように、チャネル1718の中で受容されるように構成される。しかしながら、支柱端1718の下向きの移動は、チャネル1718の閉鎖底部によって限定されるであろう。支柱端1722とチャネル1718の内壁と間の間隙または空虚な空間は、概して、以前の実施例もしくは実施形態で説明されるように、空虚(図58A)であり得る、または弾性材料1728(図58B)で充填されてもよい。
ここで図59および60を参照すると、本発明の原理に従って構築される変位領域のさらなる実施例が説明されるであろう。第1の支柱区画1704は、クレビス1714の対向壁内に一対の整合された孔または開口1730を伴うクレビスタイプ端部領域714を有する。他方の支柱区画1704のオス型取付端1712もまた、それを通して形成された孔1732を有する。いったん支柱1714のオス型端1712が、図60に示されるようにメス型クレビス1714の中に入ると、ピン1726は、枢動配列を提供するように、整合された孔を通過させられてもよい。オス型端1712とメス型クレビス1714の内部との間の間隙は、図60に図示されるように開放してもよい、または他の実施形態で前述に説明されたようにエラストマ材料で充填されてもよい。
ここで図61、62Aおよび62Bを参照すると、代替的ステント構造1782は、図62Aで最良に見られるように、軸方向に隣接する円周方向リングが軸方向リンク1790によって継合される、複数の円周方向リング1784を備える。軸方向リンク1790は、隣接する円周方向リング上の単一の支柱1789に取り付けられている間に、1つの円周方向リング上のクラウン1788から延在するであろう。隣接する円周方向リングはさらに、図62Aで見られるように、短いピン1794にわたって受容されるキャップ1792によって、軸方向リンク1790に取り付けられる。本ロックおよびキー接合点は、隣接する円周方向リングの間の変位および可撓性を可能にする。軸方向リンク1790上の短い直線状区画の存在が図62Aに示されているが、リンク1790がメス型結合要素1796を担持し得る一方で、図62Bに示されるように、単一の支柱1789が短いピン要素1798で終端し得ることが理解されるであろう。軸方向リンク1790は、典型的には、不連続性の形成後に無傷のままである。
ここで図63を参照すると、本発明によるステント補綴具は、2つまたはそれを上回る分離パネルを形成し、その後、円筒形ステント構造の中へこれらのパネルを継合することによって加工されてもよい。図示されるように、ステント補綴具1760は、最初に、別個のパネル1762、1764、および1766を形成することによって加工されてもよい。別個のパネルは、典型的には、周知のレーザ切断または化学エッチング技法によって、金属もしくはポリマー材料のシートから形成またはパターン化されるであろう。各パネルは、例えば、各リング区画がさらに、多くの先の実施形態に関して説明されるように支柱およびクラウンを備え得る、複数の円周方向リング区画1768を備えてもよい。しかしながら、各パネルでは、円周方向リングの端部は、取付要素で終端するであろう。具体的には、図示されるように、取付要素のうちのいくつかは、オス型取付要素1770であってもよく、その他は、メス型取付要素1772であってもよい。具体的には、これらは、本明細書で前述に説明されたキーおよびロック取付要素を備えてもよい。
各パネル上の取付要素は、パネルがステント補綴具への形成のためにともに取り付けられ得るように、具体的に配列されるであろう。例えば、円周方向リング区画1768の末端が、オス型およびメス型取付要素を有してもよい一方で、隣接するパネル上の隣接する末端は、要素が継合され得るように、噛合メス型またはオス型要素を有するであろう。
図64Aおよび64Bで概略的に示されるように、1764、1766、および1768の中のパネルは、円筒形マンドレル1776にわたって形成されてもよく、個々の円周方向リング区画の末端は、次いで、図64Cおよび64Dに示されるように、結合要素1778によって継合される。結合要素は、スリーブ、接着剤、弾性クッション材料、または同等物であってもよい。代替として、円周方向リング区画の末端は、いかなるさらなる糊、接着剤、または充填材料も用いることなく、端部を機械的に相互係止することによって継合されてもよい。
ここで図65を参照すると、図61のステントパターンは、64A-64Dに関して説明されるものに類似する様式でステントに加工され得る、3つの別個のパネル1740、1742、および1744を備えるように修正されてもよい。具体的には、各個々のリング区画1746は、パネル1740、1742、および1744が集結されるにつれて噛合するように配列される、複数のメス型取付要素1748およびオス型取付要素1750で終端するであろう。したがって、メス型取付要素1748およびオス型取付要素1750は両方とも、組み立てられたステント補綴具上の円周方向変位領域として完全なステント補綴具を組み立てるための取付点として作用することができる。
ここで図66および67を参照すると、第2の代替的ステント構造1800は、隣接する円周方向リング1806の間の軸方向リンク1804上に、またはそれに隣接して形成された変位領域1802を有する。軸方向リンク1804は、隣接する円周方向リング上の単一の支柱1812に取り付けられている間に、1つの円周方向リング上のクラウン1810から延在するであろう。隣接する円周方向リングはさらに、図67で見られるように、円盤1816にわたって受容されるキャップ1814によって軸方向リンク1804に取り付けられる。そのような「ロックおよびキー」接合点は、円周方向リングの中で変位または不連続性を可能にする。
ここで図84を参照すると、代替的ステント構造1900は、1つまたはそれを上回る相互係止歯1904を伴う相互係止コームを備える、分離領域1902を有する。相互係止コームは、分離の方向に対する制御を可能にする。分離領域は、圧着ステント位置でステントの円周に対して約60°(またはステントの長手軸に対して30°)の角度αにおいて配向されるが、ステントが圧着構成から拡張構成まで拡張されるときに、それらが分離に抵抗することを可能にする。しかしながら、拡張後、分離領域1902は、円周方向整合に向かって移動し、コームの歯1904がそれらの位置の中および外へ摺動することを可能にする。圧着構成時の相互係止コームの角度は、0°~75°、好ましくは、20°~65°、より好ましくは、30°~60°であることができる。ステント縦方向長と比較した、拡張ステント構成時の相互係止コーム分離領域の角度は、約90°であるが、65°~120°に及ぶこともでき、好ましくは、75°~110°に及ぶ、より好ましくは、80°~100°に及ぶ。本タイプの分離領域は、好ましくは、拡張ステント構成時のステントの円周と実質的に整合される。
ここで図85を参照すると、ステント構造2000は、テーパ状幾何学形状を伴う「ロックおよびキー」構造を有する、分離領域2002を備える。破線で示されるように、テーパ状幾何学形状は、要素が引き離されると、オス型要素とメス型要素との間で非テーパ状要素の場合よりも大きい側方分離を可能にする。本増加した側方分離は、キーストーンまたは台形等の広範囲の整合において、ステントリングの支柱および他の構造要素に、相互に対してより自由な移動を許容する。これは、構造要素が円周方向に完璧に整合されていないときでさえも、好ましくは、円周方向に、構造要素のより寛大な移動を可能にする。例えば、キーストーン要素上のテーパが約10°である場合、要素は、円周方向の10°以内に整合された場合、より容易に(またはより自由に)円周方向に移動し続けるであろう。台形等の他の形状も有益であり得る。
ここで図86を参照すると、弁置換用の従来技術のステントの実施例は、開放位置に弁を伴う図86A、開放位置86Bに弁を伴うステントの上面図、および閉鎖位置86Cに弁(三尖弁)を伴うステントの上面図で、ステントならびにステントパターンを示す。弁は、ステントに結合され、スカートは、ステントの少なくとも1つの円周方向区画を被覆する。ステントは、典型的には、1つまたはそれを上回る円周方向リング、正弦曲線パターン、閉鎖セルパターン、もしくは複合パターン、またはその他を有する。ステントは、典型的には、バルーン拡張型または自己拡張式ステント補綴具であり、埋込前に回収可能または調節可能であり得るが、外科的に展開されることができ、典型的には、経皮的に身体の中に挿入される、または例えば、心尖アプローチもしくは経中隔アプローチ等の心房領域、心室領域を介して、弁領域の中に導入される。弁は、二尖弁、三尖弁、または他のタイプの弁であることができる。置換または修復される弁は、大動脈弁、僧帽弁、三尖弁、または体内の他の弁であることができる。
ここで図87A-Dを参照すると、弁置換(弁は示されていない)用のステント2100は、1つまたはそれを上回る正弦曲線円周方向リングを備える、ステントパターンを有する。1つまたはそれを上回るリングのうちの少なくともいくつかは、4つのロックおよびキー分離領域2102が図示されている、1つまたはそれを上回る分離領域、不連続性、ならびに/もしくは継手を有する。図示される分離領域2102は、ステント2100の単一のリング2104を中心として対称様式で位置する。しかしながら、他の実施例では、分離領域は、非対称に位置してもよく、1つを上回るリングの上に設置されてもよく、ステントの1つまたはそれを上回るリングの円周方向経路に沿って種々のパターンで位置付けられてもよい(もしくは設置される)。なおも他の実施例では、分離領域は、2つまたはそれを上回る非隣接リングである2つまたはそれを上回る隣接するリングの上に、1つおきのリングの上に、2つおきのリングの上に、もしくは他のパターンで設置されてもよい。分離領域は、不連続性等を含む、本願に説明されるタイプのうちのいずれかであることができる。別の実施例では、図87Dに示されるように、1つまたはそれを上回るヒンジ2106もしくは他の継手は、上記で説明されるように、少なくとも1つのリング上に設置されることができる。また、ラチェット、ヒンジ、サドル、顆状、ボールおよびソケット、平面、またはその他等の他のタイプの継手が、利用されることができる。ステント補綴具分離領域または継手は、種々のパターンで構成されることができ、円周方向リング分離領域のうちの少なくともいくつかは、隣接するリング上で縦方向に(縦方向ステント長)整合され、ステントが拡張構成であるときに、1つまたはそれを上回るリングの離脱、形状構成、変位方向および/もしくは規模の変化のうちの1つまたはそれを上回るものを達成するために、他のタイプのパターンで整合される。一実施例では、弁材料の少なくとも1つの領域は、ステント補綴具上の1つの分離領域または継手に結合される。別の実施例では、少なくとも2つの弁材料領域は、ステント補綴具上の2つの分離領域または継手に結合され、第3の実施例では、少なくとも3つの弁領域は、ステント補綴具上の3つの分離領域または継手に結合される。別の実施例では、少なくとも1つの弁領域は、ステント上の分離領域または継手に隣接するステント円周方向構造要素に結合(もしくは接続)される。別の実施例では、少なくとも1つの弁材料領域は、ステントリング上の分離領域または継手の上方および/もしくは下方の円周方向構造要素に接続される。別の実施例では、弁材料は、ステント上に1つまたはそれを上回る分離領域もしくは継手を有する、1つの円周方向リングに実質的に接続される。別の実施例では、弁材料は、ステント上に1つまたはそれを上回る分離領域もしくは継手を有する、少なくとも2つの円周方向リングに実質的に接続される。別の実施例では、弁材料は、ステント上に1つまたはそれを上回る分離領域もしくは継手を有するリングに隣接する、1つの円周方向リングに実質的に接続される。ステントは、弁輪または身体管腔を支持するために拡張構成時に十分な強度を有する。ステントは、随意に、図23C、23Dに説明されるもの、または他のタイプの特徴等の支持特徴を有し、拡張構成時のステント補綴具の強度をさらに増進することができる。ステント補綴具の少なくとも1つのリング(または円周方向要素)上の1つもしくはそれを上回る分離領域および/または継手は、ステント拡張後に、該少なくとも1つのリング(または円周方向要素)ならびに/もしくはステントに、以下のうちの1つまたはそれを上回るもの、すなわち、半径方向歪みを増加させる、初期展開強度から強度を減少させながら半径方向歪みを増加させる、ステントの拡張後の半径方向歪み規模の変化、ステントの拡張後の強度規模の変化、拡張後の強度の減少、ステント形状構成の変化、少なくとも1つの方向への変位および/または規模の変化、少なくとも1つの方向への変位の増加、少なくとも1つの方向への変位の減少、埋込後の弁漏出の防止もしくは最小限化、埋込後の弁逆流の防止もしくは最小限化、涙形構成、縦長形構成、卵形構成、フットボール形構成、サドルタイプ形状構成、ステント拡張後または該弁輪が形状構成を変化させた後の弁輪に輪郭形成する(またはより適合する、もしくは適している)構成、他のタイプの形状構成のうちの1つもしくはそれを上回るものへの拡張後の少なくとも1つのリング形状および/またはステント形状の変化を可能にするように構成される。一実施例では、少なくとも1つのリングおよび/または拡張構成時のステントは、初期形状を有し、形状は、拡張後またはステント拡張後に弁輪形状構成が変化した後に変化し、もしくは少なくとも1つのリングおよび/または拡張構成時のステントは、初期形状を有し、形状は、実質的に管状であり、形状構成は、拡張後に実質的に非管状に変化する。1つもしくはそれを上回る分離領域および/または継手は、本願の全体を通して説明されるように構成され、該領域および/または継手は、圧着構成から拡張構成までのステントの拡張に応じて、ともに保持され、分離領域および/または継手は、拡張後に、好ましくは、拡張後の1日~1年に及ぶ時間周期で、より好ましくは、拡張後の1ヶ月~9ヶ月に及ぶ時間周期で、不連続性を有する、ならびに/もしくは少なくとも1つの方向に移動することを可能にされる。分離領域および/または継手をともに保持して移動もしくは分離を防止する手段が、本願の全体を通して説明される。別の実施例では、分離領域および/または継手は、圧着構成から拡張されたより大きい構成までの拡張に応じて、ともに保持されないように構成される。別の実施例では、より典型的には、ステント補綴具が形状記憶合金からパターン化される場合に、ステントは、輪領域に対して力を印加し続け、潜在的にそれを損傷し、またはステントは、輪の形状に良好に共形化せず、ある程度の血液漏出を引き起こし、そのような実施例では、少なくとも1つのリング(および/またはステント)上の1つもしくはそれを上回る分離領域は、そのような力を低減させ、輪形状により良好に共形化することに役立ち得る。少なくとも1つのリングおよび/またはステント強度は、減少し、それによって、輪(もしくは管腔)上の力を低減させる。半径方向歪み、変位、および他のパラメータは、本願で前述に説明されている。一実施例では、ステント補綴具は、分離領域および/または継手のうちの少なくともいくつかが不連続性を有した、ならびに/もしくは移動することを可能にされた後に、付加的支持または強度をステント補綴具に提供するように、輪の中もしくは輪に隣接する固定インプラントに固着される。
ここで図88A-88Dを参照すると、人工弁を形成する際に使用するためのステント2120は、図87A-87Dのステント2100と同様に構築される。しかしながら、分離領域2122を対称に離間させる代わりに、ステント2120は、単一の蛇行リング2126上で緊密にクラスタ化された3つの分離領域2122を有し、分離領域は、随意に、図88Dに示されるヒンジ2124または他の継手を有してもよい。1つまたはそれを上回るステント区画(もしくは領域)の周囲にクラスタ化された分離領域を有することは、本発明の目的のうちの1つまたはそれを上回るものを果たすと理解されることができる。
ここで図89A-89Dを参照すると、人工弁を形成する際に使用するための閉鎖セルステント2130は、ステント2130の単一のリング2134を中心として対称に位置する4つのロックおよびキー分離領域2132を有する。分離領域は、随意に、図89Dに示されるヒンジ2136または他の継手を有してもよい。
ここで図90A-90Dを参照すると、人工弁を形成する際に使用するためのステント2140は、図88A-88Dのステント2130と同様に構築される。しかしながら、分離領域2142を対称に離間させる代わりに、ステント2122は、単一の蛇行リング2144上で緊密にクラスタ化された3つの分離領域2142を有し、分離領域は、随意に、図90Dに示されるヒンジ2146または他の継手を有してもよい。
ここで図91Aを参照すると、固定インプラント2200は、1つまたはそれを上回る継手2204をそれぞれ有する、1つまたはそれを上回るリング2206を備える。インプラント2200は、弁形成術を実施するため、弁を埋め込むため、または任意の他の目的のために、弁輪に、弁輪に隣接して、弁輪の上方に(上位)、弁輪の下方に(下位)、またはそれらのある組み合わせで、結合されてもよい。リングのスタックの中の各リングは、類似形状および幾何学形状を有することができる、または2つもしくはそれを上回るリングは、1つまたは複数のリングが、輪、輪の上位領域、もしくは輪の下位領域内の埋込のために好適である限り、異なる形状または幾何学形状を有することができる。リングおよび/またはリングのスタックは、縫合糸、クリップ、フック等の種々の方法で、輪、輪組織、もしくは輪に隣接する組織に取り付けられるように構成される。固定要素2202は、リングのうちのいくつかまたは全ての上に提供されてもよく、複数のそのような要素は、固定インプラントの長さに沿って提供されてもよい。固定インプラント2200は、弁または身体の天然欠陥弁(図面に示されていない)を置換する弁を含有するステントを受容する(もしくはそれに結合される)ように構成されることができる。ステントは、一実施例では、1つもしくはそれを上回る分離領域および/または継手を有する、少なくとも1つのリングを有することができる。代替として、固定インプラントは、天然弁に、天然弁の1つまたはそれを上回る領域に取り付けられ(またはそれと結合され)、弁もしくは弁領域に隣接する1つまたはそれを上回る領域(腱索等)に取り付けられ、天然弁の機能を改良する、弁の逆流を低減させる、および/または弁の血液漏出を低減させることができる。固定インプラントリングおよび/またはリングのスタックは、本願の原理によると、分離領域ならびに/もしくは継手を有し、以下のうちの1つまたはそれを上回るものを可能にする、すなわち、図91Bおよび91Cの単一のリングに関して、かつ図91Dおよび91Eの3リングインプラントに関して示されるように、該リングおよび/またはリングのスタックの埋込後の形状構成変化を可能にする、少なくとも1つの方向への変位を可能にする、もしくは少なくとも1つの方向への変位変化を可能にする、固定インプラントの埋込後にD1およびD2への変位の変化を可能にする、半径方向歪みの増加を可能にする、ならびに本願に説明されるようなその他を可能にするように構成される。
種々の図は、いくつかの実施例を図示するが、そのような実施例に限定されず、形状または変位の変化は、x軸、y軸、平面軸に直交する、またはそれらの組み合わせ等である。分離領域および/または継手の種々の構成は、種々の形状タイプ構成、変位方向、ならびに変位規模を達成するために可能であり、弁の機能性が改良され、弁の逆流が最小限にされ、もしくは防止され、および/または血液漏出が最小限にされる、もしくは防止されるように、固定インプラントが、弁輪および/または弁尖ならびに/もしくは弁領域により良好に共形化することを可能にする。輪、輪弁、もしくは輪に隣接する組織への適応コンプライアンス、変位、および/または形状構成は、固定インプラントの埋込後ならびに/もしくは輪形状または構成への変化後の天然弁の機能性を改良する。スタック可能構成の一実施例では、固定インプラントの形状構成の変化、方向への変位、および/または半径方向歪みの1つもしくはそれを上回るものを可能にするように、分離領域および/または継手の数は、異なり得る、もしくは同一であり得る、分離領域および/または継手の場所は、異なり得る、もしくは同一であり得る。典型的には、固定インプラントは、固定インプラントを該組織に固着するように複数の場所で組織に添着され、形状構成変化、変位変化、もしくは半径方向コンプライアンス変化は、該分離領域および/または継手を中心として、もしくはそれに隣接して生じる。一実施例では、スタック可能リングは、1つのリングから隣接するリングで、変動する形状変化構成、変位、および/または半径方向コンプライアンスを有し得る。リングおよび/またはスタック可能リングはまた、弁置換用のステント補綴具を受容するように構成されることもできる。一実施例では、リングおよび/またはスタック可能リングは、リングおよび/またはスタック可能リングの形状、変位、ならびに/もしくはコンプライアンスの変化の結果として、ステントの形状、変位、または半径方向コンプライアンスに影響を及ぼし得る。代替として、リングおよび/またはスタック可能リングは、1つもしくはそれを上回る分離領域および/または継手を有する、ステント補綴具を受容するように適合されることができる。この場合、リングおよび/またはスタック可能リングは、ステント補綴具(ならびに/もしくはステント補綴具内に含有される弁)の形状変化、変位規模、および/またはコンプライアンスを増幅することができる、またはさらに固着し、強度をステント補綴具に提供することができる。一実施例では、リングおよび/またはスタック可能リングは、リングの円周方向長の経路に沿って複数の折り畳み継手を有することによって、経皮的に埋め込まれ、継手は、開放または拡張されたときに、開放位置でリングを提供する。継手のうちのいくつかが、いったん開放すると定位置で保持されるように構成される一方で、その他は、開放している間に定位置で保持され、埋込後に、1つまたはそれを上回る方向に移動する、もしくは変位を有するように構成される。分離領域および/または継手を保持する手段は、本願の中の他の場所で説明される。
ここで図92A-92Fを参照すると、固定インプラント2210は、1つのリング2212(図92A)または3つのリング2212(図92B)を備え、各リングは、2つの正反対の継手2214を有する。インプラント2210は、弁形成術を実施するため、弁を埋め込むため、または任意の他の目的のために、弁輪に、弁輪に隣接して、弁輪の上方に(上位)、弁輪の下方に(下位)、またはそれらのある組み合わせで、結合されてもよい。各リング2214は、単一のリングに関して図92Cおよび92Dで、ならびに3リングスタックに関して図92Eおよび92Fで、矢印D1およびD2によって示されるように、各継手2214において半径方向内向きならびに外向きに屈曲することが可能である。固定要素2216は、通常、最後に各スタックの中の端末リング上に提供される。
ここで図93A-93Eを参照すると、固定インプラント2220は、1つのリング2222(図93A)または3つのリング2222(図93B)を備え、各リングは、2つの正反対の継手2224を有する。インプラント2220は、弁形成術を実施するため、弁を埋め込むため、または任意の他の目的のために、弁輪に、弁輪に隣接して、弁輪の上方に(上位)、弁輪の下方に(下位)、またはそれらのある組み合わせで、結合されてもよい。各リング2224は、単一のリングに関して図92Cおよび92Dならびに3リングスタックに関して図92Eおよび92Fに示されるように、各継手2214において側方面内で屈曲することが可能である。固定要素2216は、通常、最後に各スタックの中の端末リング上に提供される。
ここで図94Aおよび93Bを参照すると、固定インプラント2230は、1つのリング2232(図94A)または3つのリング2232(図94B)を備え、各リングは、その円周を中心として対称に離間された3つの継手2234を有する。インプラント2230は、弁形成術を実施するため、弁を埋め込むため、または任意の他の目的のために、弁輪に、弁輪に隣接して、弁輪の上方に(上位)、弁輪の下方に(下位)、またはそれらのある組み合わせで、結合されてもよい。各リング22234は、半径方向内向きおよび外向きに屈曲することが可能である。固定要素2236は、通常、最後に各スタックの中の端末リング上に提供される。
ここで図95A-95Cを参照すると、固定インプラント2240は、1つのリング2242(図95A)または3つのリング2242(図95B)を備え、各リングは、その円周を中心として対称に離間された3つの2234を有する。インプラント2240は、弁形成術を実施するため、弁を埋め込むため、または任意の他の目的のために、弁輪に、弁輪に隣接して、弁輪の上方に(上位)、弁輪の下方に(下位)、またはそれらのある組み合わせで、結合されてもよい。各リング2234は、図95Cに示されるように、側方面内で屈曲することが可能である。固定要素2246は、通常、最後に各スタックの中の端末リング上に提供される。
ここで図96Aおよび96Bを参照すると、例えば、穿孔を有するポリマー材料から形成されるスカート2250は、示されるように外側で、または内側(図示せず)でステント補綴具の少なくとも1つの円周方向領域(もしくは区画)を被覆するように構成される。便宜上、スカート2250は、図89A-89Dに図示され、上記で説明される閉鎖セルステント2130を被覆するように示されている。別の実施例(図示せず)では、第2のスカートは、第1のスカートの同一表面領域(外面領域、外面領域)上または他方の表面領域(内面領域、外面領域)上のいずれかで、第1のスカートの少なくとも1つの区画もしくは領域を被覆してもよい。一実施例では、不連続性の形成もしくは移動することを可能にされた後の分離領域および/または継手は、血液が、1つのスカートと輪組織(示される図)との間ならびに/もしくは2つのスカートの間で流動することを可能にし、その間に血液を補足し、埋込後の血液の漏出を防止する。
蛇行または他の足場リングのクラウンの屈曲もしくは開放抵抗は、種々の方法で調節されることができる。例えば、共通クラウンに接続される支柱を開放または分離するために要求される力は、クラウンに開口部もしくは空隙を形成し、随意に、その開口部もしくは空隙を補強材料で充填することによって制御されることができる。図97A-97Gに示されるように、第1の支柱2302および第2の支柱2304を継合するクラウン領域2300は、その中に形成された種々の空隙のうちのいずれか1つを有することができる。空隙は、レーザ切断、化学エッチング、または同等物等の任意の従来のステント加工技法によって形成されることができる。好適な幾何学形状は、図97Aに示されるような長方形空隙2306、図97Bに示されるような三角形空隙2308、図97Cに示されるような三日月形空隙2310、および図97Dに示されるような4等分輪空隙2312を含む。他の事例では、図97Eに示されるような複数の円形空隙2314等の複数の空隙が提供されてもよい。なおも他の事例では、図97Fに示されるような円形空隙2316および三日月形空隙2318等の異なる幾何学形状を有する空隙が、単一のクラウンの中に提供されることができる。加えて、空隙は、必ずしも管腔・反管腔側方向に配向される必要はない。ある事例では、それらは、図97Gの空隙2320と同様に円周方向に配向されることができる。
本発明の足場の中の空隙は、ステント足場の厚さまたは幅を完全に通して延在する必要はない。他の事例では、それらは、ステントの全てまたは一部にチャネルとして形成されてもよい。具体的には、図98Aに図示されるステント足場2330は、支柱2332と、クラウン2334と、軸方向リンク2336とを含んでもよく、そのうちのいくつかまたは全ては、その長さもしくは湾曲に沿って形成されたチャネル2338を有する。これらのチャネルは、随意に、本明細書の他の場所で説明されるように、補強材料で充填されてもよい。
なおもさらに代替として、図98Bに図示されるような足場構造2340は、支柱2342と、クラウン2344と、隣接するリングを接続する軸方向リンク2346とを含んでもよく、そのそれぞれは、それを通して形成された1つまたは複数のスロット2348を含んでもよい。スロット2348は、支柱、クラウン、ある場合には、随意に、軸方向リンクの厚さを完全に通して貫通するように示されている。しかしながら、スロットは、ステント構成要素の厚さを完全には貫通しないが、複数の分離壁2350によって分離される、チャネルに変更され得ることが理解されるであろう。ここで図99A-99Cを参照すると、第1の支柱2352および第2の支柱2354を継合するクラウン領域2350は、種々の方法で終端する。例えば、図99Aでは、各支柱2352および2354は、最初に、斜面2356を形成し、クラウン2350の中へ継合する前に支柱の厚さを縮小することによって、テーパ化されてもよい。クラウン2350はさらに、矢印Wによって示されるように、終端し得る、またはその幅を縮小されてもよい。代替として、図99Bに示されるように、クラウン2350は、幅Wのみにおいて終端し得る。代替として、図99Cに示されるように、クラウン2350は、斜面2358の遷移によって厚さを縮小されるが、幅のさらなる縮小はない。全てのこれらの実施形態では、クラウンは、より少ない開放力で開放しているように、低減した強度を有し、クラウン領域が薄膜化されていない場合、強度の少なくとも一部は、コーティング、層化、積層、または別様に本明細書の他の場所で説明されるようにクラウンの薄膜化領域の全体もしくは一部にわたって補強材料を追加することによって戻され得ることが理解されるであろう。補強材料は、典型的には、クラウンのコンプライアンスが関連付けられるステント足場の埋込後に増加され得るように、血管または他の管腔もしくは生理学的環境内で経時的に分解するように選択されるであろう。
以下の実施例は、限定ではなく、例証として提供される。
実施例1:約0.004インチの壁厚を有する、長さ9mm、0.063インチ外径の焼鈍L605コバルトクロム管が、キーおよびロック設計を有する、「より短い凸部を伴う図16G-4に類似する」ステントパターンでマークされた。キーおよびロック設計は、取外または不連続性の形成後に、(1)半径方向に中もしくは外への変位方向に分離を制限する閉鎖端構成(図24A)、または(2)半径方向に中もしくは外への変位方向によって、および/または軸方向変位方向によっての両方で分離を可能にする開放端構成(図24B)のいずれかを有した。フェムト秒レーザを用いて開放端構成をレーザ切断した後(図25A)、ステントは、支柱の間に落ちていない島、薄片および残渣を除去するように、2分にわたって塩酸溶液中で清浄化され、残留酸を除去するように水で洗い流された。マンドレルが、ステントの内側に設置され、残っている任意の島が除去された。ステントは、次いで、約40秒にわたって20アンペアにおいて、エチエレングリコール中の10%硫酸で電気研磨された。電気研磨後(図25B)、ステント支柱の隣接する区画の遊離端を継合する短いスリーブが、0.007インチ内径および0.0018インチの厚さを伴う生分解性50:50ポリ(DL-ラクチド-co-グリコリド)から作製された0.3mm長の管類から作製された。これらのスリーブは、各キーおよびロック要素にわたって滑動され、ステントは、次いで、ポリマー管類を溶融するように10分にわたってオーブンの中で120℃において加熱され、溶融ポリマーが、キーおよびロック要素に隣接する要素の中へ、かつそれにわたって流動することを可能にした(図25C)。図示されるように、キーおよびロック構成要素は、ポリマーとの接合後に取付を改良するスタブ、ウィング、アンカ、または同等物を有した。キーおよびロックに隣接し、かつこれらの構成要素の表面に隣接する本ポリマーは、スリーブがもはやキーおよびロックをともに保持することができなくなり、またはポリマー接着が生理学的条件下で牽引力によって克服され得、支柱の分離およびステント(または少なくともステントの領域/区画)の離脱、ステントまたは少なくともステントの区画/領域のさらなる拡張、および/または血管拡大(または少なくとも血管の区画もしくは領域)、ならびに/もしくは血管運動を可能にすることをもたらす時点まで、ポリマーが事前選択された時間周期にわたって、典型的には、1~3ヶ月で、分解するまで、効果的にキーをロックにともに係止した。ステントは、バルーンが展開構成まで拡張された後に十分な半径方向強度を有し、拡張後に動脈を支持するために十分なフープ強度を有する。キーおよびロックは、それがもはやキーおよびロックをともに保持することができなくなり、またはポリマー接着が生理学的条件下で牽引力によって克服され、それらの取外または分離をもたらす、もしくは不連続性を形成する時点まで、ポリマーが分解または軟化するまで、実質的にともに保持される。ステントは、組織狭窄および/または再狭窄を低減させるm-tor阻害剤である、ノボリムスを含有する薬物ポリマー基質でコーティングされた。切断された際の3×9mmステントは、0.063インチ外径を有した(図26A)。切断/パターン化されたステントは、3.0mmバルーンカテーテル上に圧着され、包装され、電子ビームを使用して滅菌された。ステントは、3mmバルーンカテーテルを用いて拡張され、キーおよびロック要素の取外を伴わない平坦プレート圧縮力に関して、生理学的条件をシミュレーションする条件下で試験された(図26Bおよび26C)。圧縮後、ステントは、拡張後に3mm直径に戻り、生分解性50:50ポリ(DL-ラクチド-co-グリコリド)を分解/溶解するようにジクロロメタンに浸された(表1参照)。これは、ステント上のロックから全てのキー(の分離した形成された不連続性)を効果的に取り外した。ステントは、平坦プレート圧縮に関して再試験された(表1参照)。ステントは、本実施例では、取外後(分離領域中の不連続性の形成後)、減少した強度を有するが、身体管腔を支持するために十分な強度を有し続ける。しかしながら、不連続性を形成した後のステント(複合コンプライアンス)の半径方向歪み(コンプライアンス)は、拡張に応じた場合(または拡張の直後)と比較して改良(または増加)し、ステント留置区画が離脱することを可能にし、ステント留置区画がステント埋込に先立って管腔により近い半径方向コンプライアンスを有することを可能にし、および/またはステントがさらに拡張ならびに/もしくは収縮することを可能にし、および/または管腔拡大を可能にする。展開に応じた高い半径方向強度は、プラークを押し開き、開放した管腔を維持するために所望される。
Figure 0007586848000001
実施例2:約0.004インチの壁厚を有する、長さ14mm、0.063インチ外径の焼鈍L605コバルトクロム管が、上記の図16g-1-16G-3に示されるものに類似する「長い」キーおよびロック設計を有する、ステントパターンでマークされた。本設計は、キーがロックから外へ摺動するにつれて、同時に長いキーおよびロックが隣接する組織を保護する一方で、キーおよびロック設計が上下(管状軸に対して半径方向)ならびに内外(管状軸と平行)の両方の方向(図27A)に移動することを可能にした。切断/パターン化後、ステントは、支柱の間に落ちていない島、薄片および残渣を除去するように、2分にわたって20%1N塩酸溶液中で清浄化され、残留酸を除去するように水で洗い流された。マンドレルが、ステントの内側に設置され、残っている任意の島が除去された。ステントは、次いで、約40秒にわたって20アンペアにおいて、エチエレングリコール中の10%硫酸で電気研磨された。電気研磨後、ジクロロメタン溶剤中の50:50ポリ(DL-ラクチド-co-グリコリド)の150mg/mL溶液が、各長いキーおよびロック要素に隣接して適用された。
溶剤の部分的蒸発を可能にする数秒後、はんだごての先端は、キーおよびロックとロックの上部との間にポリマーを再流動させる要素に隣接して設置される。ステントは、次いで、ポリマー管類を溶融するように10分にわたって120℃のオーブンにおいて加熱され、それがキーおよびロック要素に隣接する要素の中へ、かつそれにわたって流動することを可能にした(図27B)。キーおよびロックに加えて、キーおよびロック構成要素は、ロックによって突き刺されることから隣接する組織を保護するとともにポリマーとの接合後に取付を改良するスタブ、ウィング、アンカ、または同等物を有した。キーおよびロックの間にあり、かつこれらの構成要素の表面に隣接する本ポリマーは、それがもはやキーおよびロックをともに保持することができなくなり、または分解するポリマー接着が生理学的条件下で牽引力によって克服され、それらの取外ならびにステントおよび/または血管の離脱をもたらす、ならびに/もしくは取外後に血管運動を可能にする、および/またはステントがさらに拡張することを可能にする時点まで、ポリマーが1~3ヶ月で分解するまで、効果的にキーをロックにともに係止し、分離領域を形成する。ステントは、十分な強度を有し、拡張の直後に動脈を支持することができる。ステントは、組織狭窄および/または再狭窄を低減させる免疫抑制剤である、ノボリムスを含有する薬物ポリマー基質でコーティングされる。切断された際の3×14mmステントは、0.063インチ外径を有する(図28)。切断されたステントは、3.0mmバルーン上に圧着され、包装され、電子ビームを使用して滅菌された。ステントは、3mmバルーンカテーテルを用いて拡張され、平坦プレート圧縮強度に関して試験された(図29Bおよび30)。圧縮後、ステントは、拡張後に3mm直径に戻り、生分解性50:50ポリ(DL-ラクチド-co-グリコリド)を溶解し、生理学的条件をシミュレーションして不連続性を形成するようにジクロロメタンに浸された(表1参照)。これは、ステント上のロックから全てのキーを効果的に取り外した。ステントは、平坦プレート圧縮強度に関して再試験された(表1参照)。ステントは、別個に、または細い管の内壁の中へ細い管内で拡張され(細い管の内壁の中へ埋め込むように十分に拡張され)、いずれかで試験される。細い管の使用は、ステントが2つまたはそれを上回る縦方向区画に分離するように構成されるときに特に重要であり、管は、したがって、ステント留置区画の複合コンプライアンスを模倣する、ステント留置管の複合強度または複合(ステントおよび管一緒の)コンプライアンスを試験することによって、強度もしくはコンプライアンス試験を実施する含有手段を提供する。
Figure 0007586848000002
実施例3:約0.004インチの壁厚を有する、長さ9mm、0.063インチ外径の焼鈍L605コバルトクロム管が、上記の図16g-1-16G-3に示されるものに類似する「長い」キーおよびロック設計を有する、ステントパターンでマークされた。本設計は、キーがロックから外へ摺動するにつれて、同時に長いキーおよびロックが隣接する組織を保護する一方で、キーおよびロック設計が上下ならびに内外の両方の方向(図31)に移動することを可能にした。レーザ切断後、ステントは、支柱の間に落ちていない島、薄片および残渣を除去するように、2分にわたって20%1N塩酸溶液中で清浄化され、残留酸を除去するように水で洗い流された。マンドレルが、ステントの内側に設置され、残っている任意の島が除去された。ステントは、次いで、約40秒にわたって20アンペアにおいて、エチエレングリコール中の10%硫酸で電気研磨された。電気研磨後(図32A/B)、ステント全体は、不連続性形成(または取外)時間(埋込後の持続時間)を制御するために、異なる厚さ(図33A/B)において、ポリマー、すなわち、ポリ(ラクチド-co-カプロラクトン)でコーティングされる。キーおよびロックの周辺にあり、かつこれらの構成要素の表面に隣接するポリマーは、それがもはやキーおよびロックをともに保持することができなくなり、またはポリマー接着が脆性になっため生理学的条件下で牽引力によって克服され、それらの取外ならびにステントおよび/または血管の離脱をもたらす、ならびに/もしくは取外(不連続性の形成)後に血管運動を可能にする時点まで、ポリマーが約1~6ヶ月で分解し始める、および/または分解ならびに/もしくは軟化するまで、効果的にキーをロックにともに係止し(それらをともに保持し)、分離領域を提供する。しかしながら、ステントは、拡張後に動脈を支持するために十分な強度を有する。全てのステントは、3.5×14mmバルーンカテーテルを覆って設置され、以下のパラメータ、すなわち、45℃温度、50psi圧着圧力、45秒間の中程度の速度、次いで、2分の高温保持を使用する、絞りクリンパを使用して圧着された。ステントは、約0.048インチ外径まで圧着された。ステントは、包装され、次いで、電子ビームを使用して滅菌された。それらは、外形に関して測定され、次いで、バルーンを8気圧まで膨張させることによって拡張された。ステントは、平坦プレート圧縮および半径方向強度絞り試験を使用して、半径方向強度に関して試験された(表3)。
Figure 0007586848000003
実施例3.5:本実施例では、実施例3によるステントが、生理学的条件での展開後に分離領域が取り外されるためのより長い持続時間を提供するように、種々の厚さでポリ(ラクチド-co-カプロラクトン)にわたる別のポリマーコーティング(PLLA)の追加を伴って構築された。取外のための持続時間は、2ヶ月~1年に及ぶ。
実施例4:0.005インチの厚さを伴う0.065インチ外径の304ステンレス鋼管が、フェムト秒レーザを用いて、リングあたり8つのクラウンを伴う14個のリングを伴うステントパターンにレーザ切断された。各リングは、2つの切り欠きを有する3つのクラウンを有した(図32および33)。これらの切り欠きは、拡張後のある時間に、動脈の収縮期および拡張期収縮による疲労による破砕または分離を助長するために存在した。切断後、ステントは、支柱の間に落ちていない島、薄片および残渣を除去するように、2分にわたって20%1N塩酸溶液中で清浄化され、残留酸を除去するように水で洗い流された。マンドレルが、ステントの内側に設置され、残っている任意の島が除去された。ステントは、次いで、約40秒にわたって30アンペアにおいて、エチエレングリコール中の10%硫酸で電気研磨された。3mmシリコーン管類内の拡張に応じて、図35に示される疲労試験装置を使用して、加速された疲労を受けると、98日後に破砕または分離する切り欠きを伴う少なくとも1つのクラウンがあった。拡張の直後のステント(図34)は、15psiの絞り半径方向強度と、1.19Nの平坦プレート圧縮10%強度を使用した半径方向強度とを有した。
実施例5:実施例1に従って構築され、市販のDESyne対照非分解性金属ステントに対して試験されたサンプルステントがそれぞれ、生体外モデルにおいてそれらの半径方向歪み(複合コンプライアンス)を比較するために試験された。使用された材料および機器は、(1)レーザマイクロメータを伴うE0215 Bose Electroforce 9110-12ステントグラフト試験装置、(2)3.2mm内径×0.5mm壁、10Aデュロメータの透明弾性シリコーン模擬動脈、および(3)顕微鏡であった。各ステントは、動脈に対してステントを着座させるために十分な10気圧の圧力において模擬動脈の中へ展開された。ステントの間に約2cmの間隙があった。試験ステントは、分離領域をともに保持するコーティングを実質的に分解/溶解し、したがって、不連続性を形成し、ステントを離脱させる(分離領域に不連続性を形成する生理学的条件をシミュレーションする)ように、約1分にわたってジクロロメタンの中に浸漬された。ステントを伴う管は、次いで、図35に示されるように、Bose Electroforceステントグラフト試験装置の中へ装填された。Bose Electroforceステントグラフト試験装置は、約5%内径膨張(コンプライアンス)において血管を起動し、生理学的条件をほぼシミュレーションするように設定された。出版された文献は、冠動脈に関して、健康な血管膨張(コンプライアンス)が3.0%~5.0%の範囲内であることを示す。ステントは、約2Hz~5Hzにおいて約1,000,000サイクルにわたって循環させられた。試験中、管の非ステント留置区分および両方のステントの内径膨張が、レーザマイクロメータを用いて測定された。管半径方向歪み(血管コンプライアンスをシミュレーションする)は、非ステント留置区分中で5%であると測定された。DESyneステント半径方向歪み(コンプライアンス)は、即時に約5%~約1%低減し、1%において複合コンプライアンスを維持した。これは、これらのステントが半径方向歪み(複合コンプライアンス)において0.2~0.3%に及ぶことを示した、ステントの半径方向歪みに関して行われた非分解性金属および/または金属合金市販ステントの以前の試験と一致している(以前の試験では、非ステント留置管区分の半径方向歪み(コンプライアンス)は、4.4%、DESyneステントは、0.3%、Synergyステントは、0.2%、Orisiroステントは、0.3%の半径方向歪み(複合コンプライアンスであった))。試験サンプルステントは、最初に、半径方向歪み(複合コンプライアンス)を1%まで低減させた(分離領域中の不連続性が完全には形成されなかった、または取り外されなかった)が、不連続性が形成されるにつれて約2~3%の半径方向歪みまで増加させられ、そこで安定させられた。本発明に従って構成される試験サンプルは、ステント(管コンプライアンスを含むステント留置区画)の初期複合コンプライアンスが、初期コンプライアンスを有し、分離領域が不連続性を形成した後にコンプライアンスが増加することを示した。試験はまた、現在の対照初期複合コンプライアンス(ステント留置区画コンプライアンス)が経時的に変化しないことも示した。試験サンプルはまた、不連続性が不連続性を形成した際の複合コンプライアンスは、対照サンプル(リング内に分離領域を有していない)の複合コンプライアンスよりも約200%~300%大きいことも示した。
実施例6:0.156インチ内径単位および150ミクロン壁厚を伴うPLLAベースのポリマー管が、構造要素を備えるステントフレームにレーザパターン化される。構造要素は、複数の正弦曲線リングから成り、各リングは、クラウンによって継合される支柱から成る。各リングは、180°離れた2つのリンクを介して、隣接するリングに接続される。構造要素は、4つの表面領域、すなわち、反管腔側表面領域、管腔表面領域、および2つの側面領域を有する。ステント構造要素の厚さは、約50ミクロン(金属補強要素の部品に適応する)~150ミクロン(嵌合金属部品に隣接するポリマー材料の厚さ)に及び、構造要素の幅は、約150ミクロンである。ステント支柱長は、長さが約1mmである。ステントパターンは、全てのリング上で、全てのクラウンのクラウン領域上にスロットをさらに作成することを含む。スロットは、反管腔側表面領域から作成され、各クラウンに隣接する2つの支柱の中へ延在する。マンドレルが、支持のためにステントの中に挿入され、顕微鏡および圧入器具の下に設置される。80ミクロンの直径および約1.5mmの長さを有する、L605Co/Cr中実ワイヤ補強要素の部品が、クラウン領域に輪郭形成し、各クラウンの2つの隣接する支柱領域の中へ少なくとも部分的に延在するレーザパターンによって作成される、スロットのそれぞれに圧入される。隣接するリングを接続するリンクのうちの少なくとも1つはまた、金属ワイヤ補強要素の部品を(別個の金属部品または隣接するクラウン金属部品の同一金属部品のいずれかを)を装着される。ワイヤの反管腔側は、各スロットの中へワイヤを圧入した後に反管腔側表面領域から部分的に突出している(約10ミクロン)。ステントは、回転させられ、金属の部品は、全てのスロットがワイヤで占有されるまで全てのスロットの中に挿入される。ワイヤ部品の端部は、ポリマーが分解された後に、丸みを帯び、隣接する組織にとって非外傷性であるように、デバリングまたは電気研磨される。ステントは、次いで、3:2のポリマー対薬物基質の濃度でPLLA-PGAポリマーコーティングおよびラパマイシン薬物を備える、ポリマー薬物基質でコーティングされる。薬物の量は、ステントの1mm長さあたり約5マイクログラムである。ステントは、3.0mmステント直径×14mm長さを形成するようにパターン化される。ステントは、次いで、熱(約45℃)および圧力を使用して、15mm作業長バルーン送達システムによって3.0mm直径上に圧着される。ユニットは、包装され、電子ビーム滅菌のために送られる。ユニットは、圧着構成から3.0mm直径(ステントの標識直径)まで、約37℃の水中で拡張される。これは、展開(拡張)後の内向き反跳に関して試験され、また、2つの平坦プレートの間で10%圧縮を取得する半径方向強度に関して試験され(平坦プレート10%圧縮試験)、構造要素寸法が120ミクロン厚さ×150ミクロン幅である(スロットが形成されない)ように、非スロット付きクラウン領域中に金属部品を有していないサンプルに対して比較される。PLLAベースのポリマー材料ステント強度の平坦プレート10%圧縮試験が、約0.17N(または0.012N/mmステント長)である一方で、ワイヤ補強PLLAステント平坦プレートは、約0.25N(または0.018N/mmステント長)である。ポリマー材料ステントの内向き反跳は、約5%であり、拡張後に約7%まで経時的に増加させられる。ワイヤ補強ステントの反跳は、約4%であり、拡張後に約4%のままである。ポリマー材料フレームは、3ヶ月~2年の間に分解し、血管壁の中に金属ワイヤ(補強要素)の非外傷性部品を残し、展開後に補強要素のパターンを実質的に維持するように構成される。ポリマー材料フレームが分解した後の補強要素は、本実施例では、全リング上の支柱領域中に不連続性を有し、ステントおよび/または血管壁(もしくは身体管腔)を離脱させるであろう。本実施例では、補強要素を伴うステントは、補強要素を伴わないステントの約1.47倍の増加した強度を有する。典型的には、強度の範囲は、20%~300%増加し、より典型的には、補強要素を伴うステントの強度は、10%平坦プレート圧縮試験を使用して、0.25N/mmステント長~0.07N/mmステント長に及び、より典型的な実施例の寸法が、80ミクロン厚さ~120ミクロン厚さに及ぶ一方で、幅寸法は、80ミクロン幅~150ミクロン幅に及ぶ。内向き反跳は、本実施例では、より低い反跳を伴って、または展開(拡張)後に実質的に維持される低い反跳を有することによって、いずれかで改良される。
実施例7:少なくともいくつかのリングの中のクラウンのうちの少なくとも1つが補強要素を含有しない、実施例6に類似する実施例。これらのクラウンでは、スロットが形成されていない。
実施例8:補強要素が(クラウンおよび支柱領域中に)完全に埋め込まれる、実施例6に類似する実施例。フレームの同一ポリマー材料を備えるポリマーコーティングが、薬物コーティング基質が適用される前に補強要素を完全に被覆するように、約10ミクロンの厚さを有する補強要素の上にコーティングされる。
実施例9:0.063インチ内径および120ミクロン壁厚の金属管を伴うマグネシウムベースの合金が、構造要素を備えるステントフレームにレーザパターン化される。構造要素は、複数の正弦曲線リングから成り、各リングは、クラウンによって継合される支柱から成る。各リングは、180°離れた2つのリンクを介して、隣接するリングに接続される。構造要素は、4つの表面領域、すなわち、反管腔側表面領域、管腔表面領域、および2つの側面領域を有する。ステント構造要素の厚さは、約50ミクロン(金属補強要素の部品に適応する)~120ミクロン(嵌合金属部品に隣接するポリマー材料の厚さ)に及び、構造要素の幅は、約150ミクロンである。ステント支柱長は、約1mmである。ステントパターンは、全てのリング上で、全てのクラウンのクラウン領域上にスロットをさらに作成することを含む。スロットは、反管腔側表面領域から作成され、各クラウンに隣接する2つの支柱の中へ延在する。マンドレルが、支持のためにステントの中に挿入され、顕微鏡および圧入器具の下に設置される。70ミクロンの直径および約1.5mmの長さを有する、L605Co/Cr中実ワイヤ補強要素の部品が、クラウン領域に輪郭形成し、各クラウンの2つの隣接する支柱領域の中へ少なくとも部分的に延在するレーザパターンによって作成される、スロットのそれぞれに圧入される。2つのリングを接続するリンクのうちの少なくとも1つはまた、本実施例では、金属ワイヤの部品(または隣接するクラウンからの部品)を装着される。補強要素の反管腔側表面領域は、補強要素を圧入した後に反管腔側表面領域内に実質的に含有される(またはステントフレームの反管腔側表面領域と同一表面である)。ステントは、回転させられ、金属補強要素の部品は、全てのスロットが補強要素で占有されるまで全てのスロットの中に挿入される。ワイヤ部品の端部は、ステントスロットの中へそれらを圧入する前に、丸みを帯び、隣接する組織にとって非外傷性であるように、デバリングまたは電気研磨される。ステントは、次いで、ステントフレームスロットの中で補強要素をさらに固着するように、厚さ5ミクロンのPLLAベースのポリマー材料コーティングでコーティングされる。ステントは、次いで、3:2のポリマー対薬物基質の濃度でPLLA-PGAポリマーコーティングおよびラパマイシン薬物を備える、ポリマー薬物基質でコーティングされる。薬物の量は、ステントの1mm長さあたり約5マイクログラムである。ステントは、3.0mmステント直径×14mm長さを形成するようにパターン化される。ステントは、次いで、熱および圧力を使用してバルーン送達システム上に圧着され、バルーン送達システム上に圧着される。ユニットは、包装され、電子ビーム滅菌のために送られる。ユニットは、空中で拡張される。サンプルは、内向き反跳および2つの平坦プレートの間で10%圧縮を取得する力に関して試験され(平坦プレート10%圧縮試験)、構造要素が120ミクロン厚さ×150ミクロン幅であるように、金属部品(補強要素)およびスロット付きクラウン領域を有していないサンプルに対して比較される。マグネシウムベースの材料ステント強度の平坦プレート10%圧縮試験が、約0.2N(または0.014N/mm長さ)である一方で、補強マグネシウムステント平坦プレートは、約0.25N(または0.018N/mmステント長)である。マグネシウム材料ステントの内向き反跳は、約5%であり、拡張後に約7%まで経時的に増加させられる。補強ステントの反跳は、約4%であり、拡張後に約4%で維持されたままである。ステントマグネシウム合金材料フレームは、1ヶ月~2年に及ぶ周期で分解し、血管壁の中に金属ワイヤ(補強要素)の非外傷性部品を残すように構成される。PLLAポリマー材料および薬物コーティング基質は、3ヶ月~3年に及ぶ周期で分解するように構成される。本実施例では、補強要素を伴うステントは、補強要素を伴わないステントの約1.25倍の増加した強度を有する。典型的には、強度の範囲は、20%~300%増加し、より典型的には、補強要素を伴うステントの強度は、10%平坦プレート圧縮試験を使用して、0.25N/mmステント長~0.07N/mmステント長に及び、より典型的な実施例の寸法が、80ミクロン厚さ~120ミクロン厚さに及ぶ一方で、幅寸法は、80ミクロン幅~150ミクロン幅に及ぶ。内向き反跳は、本実施例では、より低い反跳を伴って、または展開(拡張)後に実質的に維持される低い反跳を有することによって、いずれかで改良される。
実施例10:補強要素が、76ミクロン厚さ×約64ミクロン幅を測定する実質的に長方形の断面を有する扁平なワイヤである、実施例6または9に類似する実施例。
実施例11:補強要素が、Dymax 1161-M、Loctite 3525、または同等物等の紫外線硬化性接着剤、Masterbond EP41SMed等の低粘度エポキシ、J&J Dermabond Advance Topical Skin Adhesive、Ferndale Laboratories Mastisol Liquid Adhesive、Loctite Super Glue Gel、それらの組み合わせ、もしくは同等物等のシアノアクリレートを使用して、マグネシウムクラウンおよび/または支柱領域の外面(反管腔側表面領域)に取り付けられる、実施例9に類似する実施例。これらの接着剤材料は、一時クラウンを組織に取り付ける、外科的切開からの創傷の容易に接近させられる皮膚縁を閉鎖した状態で保持する局所適用、一時縫合糸、および他の適用のために使用される。接着剤は、補強要素とマグネシウム構造要素との間、および/またはその上に適用される。ステントフレームは、本実施例では、スロットを含有しない。
実施例12:補強要素が、パルスYAGレーザ、ダイオード励起ファイバレーザ、ファイバレーザ、または他のレーザを使用するレーザ溶接によって、マグネシウムクラウンおよび/もしくは支柱領域の外面(反管腔側)に取り付けられる、実施例9に類似する実施例。ステントフレームは、本実施例では、スロットを含有しない。
実施例13:ステントが管から形成される実施例は、マグネシウム合金層の間に、の上に(反管腔側)、または底部(管腔)上のいずれかで挟持される、コバルトクロム合金層を備える。管類は、ステントにパターン化される。少なくともいくつかのリング上の少なくともいくつかの領域(または少なくともいくつかのリング上の少なくともいくつかのクラウン領域および/もしくは支柱領域)は、生理学的条件下の拡張後に該リングの中で(またはそれにわたって)離脱するステントを提供するように、レーザ、化学的手段、または機械的手段によって実質的に除去される、コバルトクロム合金層を有し、コバルトクロム合金は、補強要素を提供し、ステントは、マグネシウム合金層が分解した後に分解する。随意に、ステント補綴具は、ステント補綴具の分解を制御するように、またはステント補綴具の分解をさらに制御するように、ポリマーの層でコーティングされる。ステントは、随意に、薬物ポリマー基質でコーティングされる。代替として、マグネシウム合金層およびコバルトクロム合金層の層化は、パターン化後に行われることができる。
実施例14:ステントが管から形成される実施例は、PLLAベースのポリマー材料層の上(反管腔側)または内側(管腔側)にあるコバルトクロム合金を備える。管は、ステントにパターン化される。少なくともいくつかのリング上の少なくともいくつかの領域(または少なくともいくつかのリング上の少なくともいくつかのクラウン領域および/もしくは支柱領域)は、生理学的条件下の拡張後に該リングの中で(またはそれにわたって)、身体管腔内もしくは37℃の水中の拡張後に離脱するステントを提供するように、レーザ、化学的手段、または機械的手段によって実質的に除去される、コバルトクロム合金層を有し、コバルトクロム合金は、補強要素を提供し、ステントは、PLLAベースのポリマー材料層が分解した後に離脱する。随意に、ステントは、随意に、薬物ポリマー基質でコーティングされる。代替として、LLAベースのポリマー層およびコバルトクロム合金層の層化は、パターン化後に行われることができる。
実施例15:ステントが、シート層(コバルトクロム層の上に、または底部に分解性材料層を有する)として形成されるコバルトクロム合金層から形成され、シートが、パターン化され、次いで、少なくともいくつかのクラウンおよび/または支柱領域からコバルトクロム材料層を除去するように処置される、実施例。シートは、丸められて取り付けられ(または融合され)、パターン化ステントを形成する。CoCr層の除去は、ステントを丸めて取り付ける前、またはその後に行われることができる。
実施例16:少なくともいくつかのリング上(好ましくは、各リング上)の少なくとも1つの(好ましくは、少なくとも2つの)クラウンが、ステンレスばね鋼、超弾性ニチノール、または形状記憶ニチノール材料の補強要素を含有する、実施例1もしくは4に類似する実施例。ばね鋼または超弾性ニチノールは、最初に、ステントへの取付に先立ってステントクラウン(もしくは拡張領域)の輪郭に屈曲され、空中、周囲温度、体温、またはその他等の種々の条件において開放するバイアスを有するように構成される。これらの補強要素は、外向きに跳ね(または開放し)、展開(拡張)後にステントをさらに拡張する傾向を有する。形状記憶ニチノールに関して、それらは、プログラム温度(ほぼ体温等)に到達(または実質的に到達)するときに開放し、したがって、ステントが展開後に、または分解性材料が分解するにつれて、さらに拡張するように付勢される。ステントの拡張後、ばね、超弾性、または形状記憶材料は、さらに拡張するようにクラウン(補強要素が取り付けられる、もしくは埋め込まれるクラウン)を付勢し、該拡張は、展開後からフレーム材料(該補強要素を含有する、または取り付けられた)の実質的な分解までの範囲の時間周期に起こり、さらなる拡張は、直径が0.05mm~0.5mmに及ぶ。代替として、補強要素は、補強要素クラウンの端部が、2つの隣接する支柱に接続され(取り付けられ、または埋め込まれ)(好ましくは、補強要素クラウンの内面は、2つの支柱を継合するクラウンの内面に対面している)、補強要素クラウンが、支柱の任意の領域に沿って取り付けられる、好ましくは、支柱のほぼ中間領域に取り付けられる、拡張領域(クラウン)形状で成形されることができる。
実施例17:ワイヤが80ミクロンの直径を有する、コバルトクロム合金を備える、ワイヤまたは複数のワイヤから形成される非分解性ステント。ワイヤは、複数の正弦曲線リング(または巻目)であって、クラウンおよび支柱を備える、リングを備える、ステントパターンに成形される。各リングは、180°離れている2つの場所で隣接するリングに接続され、各場所は、隣接するクラウンの区分間領域にある、またはそれに隣接する。少なくともいくつかのリング上の少なくとも1つ、好ましくは、少なくともいくつかのクラウン領域および/または少なくともいくつかの支柱領域は、切断領域を分離する(もしくは不連続性を形成する)レーザを使用して切断(または切離)され、切断構造要素の各端部は、デバリングされ、丸みを帯びている。切断領域の2つの端部は、切断構造要素のそれぞれの2つの端部にわたってLLAベースの分解性ポリマースリーブを適用または設置することによって、ともに保持(もしくは含有)され、材料が軟化(または溶融)し、定位置で該構造要素の端部をともに保持するように、ポリマー分解性材料の融点に近い、もしくはそれを上回る温度まで加熱される。切断構造要素の2つの端部は、当接している(他の実施例では、2つの端部は、1ミクロン~200ミクロンに及ぶ間隙を形成して離れている)。随意に、シアノアクリレート等の分解性接着剤が、切断領域において適用され、該少なくともいくつかのリング上の支柱および/またはクラウンの2つの切断領域端部を継合する。身体管腔内(または37℃の水中)の拡張(展開)後のステントは、身体管腔を支持するために十分な強度を有する。ステントは、少なくともいくつかのリングにわたって(好ましくは、ステント留置区画全体にわたって)離脱し、および/またはさらに拡張し、ならびに/もしくは治療用血管拡張剤に応答し、および/またはステント留置区画内の身体管腔を拡大する。
実施例18:ワイヤが100ミクロンの直径を有する、コバルトクロム合金を備える、ワイヤまたは複数のワイヤから形成される非分解性ステント。ワイヤは、複数の正弦曲線リングであって、クラウンおよび支柱を備える、リングを備える、ステントパターンに成形される。各リングは、180°離れている2つの場所で隣接するリングに接続され、各場所は、隣接するクラウンの区分間領域にある、またはそれに隣接する。全てのリング上の180°離れた(後続のリング切断支柱が90°オフセットされている)2つの支柱領域は、切断領域を分離する(または不連続性を形成する)レーザを使用して切断(もしくは切離)され、切断構造要素の各端部は、デバリングされ、縁が丸みを帯びている。切断領域の2つの端部は、長さが1ミクロン~50ミクロンに及ぶ切断ワイヤ領域に中空コアを作成または形成するように機械的に処置される。中空ワイヤコア直径は、約45ミクロンである。約40ミクロンの直径および約25ミクロンの長さを有する、分解性PLLAベースのポリマーフィラメント架橋要素は、構造要素の2つの切断端部に架橋する切断領域において中空ワイヤコア領域の中へ嵌合される。領域は、ポリマーを溶融または軟化するように加熱され、接合点をさらに固着する(もしくは接合点をともに保持する)。随意に、接合点は、切断構造要素および架橋要素LLAベースの分解性フィラメントの2つの端部にわたってLLAベースの分解性ポリマースリーブ(長さが約100ミクロン、厚さが15ミクロンに延在する)を適用または設置することによって、ともに保持(もしくは含有)され、材料が軟化(または溶融)し、定位置で該構造要素の端部をともに保持するように、ポリマー分解性材料のTgを上回り、かつTmを下回る温度、またはTm+/-20℃まで加熱される。架橋要素は、各方向(長さ)に中空ワイヤコアの中へ約20ミクロン延在しており、(2つの切断構造要素端部の間の)架橋要素間隙は、約5ミクロンである。形成されたステントは、3.5mm×18mm長さである。
代替として、切断構造要素の2つの端部は、当接し得る(一方で、架橋要素は、2つの切断端を継合する中空ワイヤコアの実質的に内側にある)。
代替として、中空ワイヤコア切断領域を含有するスリーブはまた、構造要素の2つの切断端の間の架橋要素であり得る。
随意に、シアノアクリレート等の分解性接着剤は、該少なくともいくつかのリング上の支柱および/またはクラウンの2つの切断領域端部を継合して、切断領域において適用される。
代替として、少なくともいくつかのリング上の少なくともいくつかのクラウンは、クラウン領域中で切断される。代替として、少なくともいくつかのリング上の少なくとも1つのクラウンおよび/または支柱は、クラウンならびに/もしくは支柱領域中で切断される。
代替として、ステント補綴具は、コバルトクロム合金を備える管状本体から形成され、ステントにパターン化されることができ、切断される構造要素は、パターン化され、次いで、除去(もしくは切断)されるように処置されるか、またはステントは、切断(もしくは除去)される構造要素を伴ってパターン化されるかのいずれかである。
代替として、ステントは、パターン化され、ステントに丸められる、または管に丸められ、ステントにパターン化される、コバルトクロムを備えるシートから形成される。除去(または切断)される構造要素は、管に丸める、および/またはパターン化する前、ならびに/もしくはパターン化した後に、ステップのうちのいずれかで生じることができる。
ステントは、次いで、3:2のポリマー対薬物基質の濃度でPLLA-PGAポリマーコーティングおよびラパマイシン薬物を備える、ポリマー薬物基質でコーティングされる。薬物の量は、ステントの1mm長さあたり約5マイクログラムである。代替として、薬物は、ポリマーを伴わずにステント補綴具上にコーティングされることができる。代替として、薬物は、中空ワイヤコアの中へ充填されることができ、好ましくは、ステントの支柱領域または実質的に非変形可能な領域上に設置される孔を通して、放出されるように構成される。架橋要素はまた、薬物を含有することもでき、経時的に薬物を放出する。
3.5mm×18mm長さステントは、3.5mm×20mm長さ送達システム上に圧着され、包装され、電子ビーム滅菌を使用して滅菌される。ステントは、空中(または37℃の水中)で展開され、強度および反跳について試験される。ステント補綴具の平坦プレート半径方向強度10%圧縮試験は、約1N(または0.057N/mmステント長)である。ステントの内向き反跳は、約5%であり、展開後に実質的に同一のままである。ステント架橋要素は、1ヶ月~2年に及ぶ周期で分解し、リング毎に2つの別個の(中断した)支柱を伴うパターン化ステントを残すように構成される。身体管腔内(または37℃の水中)の拡張(展開)後のステントは、身体管腔を支持するために十分な強度を有する。ステントは、離脱し、および/またはさらに拡張し、ならびに/もしくは治療用血管拡張剤に応答し、および/またはステント留置区画内で(ステント留置区画全体にわたって)身体管腔を拡大する。
実施例19:ワイヤが100ミクロンの直径を有する、コバルトクロム合金を備える、ワイヤまたは複数のワイヤから形成される非分解性ステント。ワイヤは、複数の正弦曲線リングであって、クラウンおよび支柱を備える、リングを備える、ステントパターンに成形される。各リングは、180°離れている2つの場所で隣接するリングに接続され、各場所は、隣接するクラウンの区分間領域にある、またはそれに隣接する。全てのリング上の180°離れた(後続のリング切断支柱が90°オフセットされている)2つの支柱領域は、切断領域を分離し、不連続性(間隙)を形成するレーザを使用して切断(もしくは切離)され、切断構造要素の各端部は、デバリングされ、縁が丸みを帯びている。形成されるステントは、3.5mm×18mm長さである。
代替として、少なくともいくつかのリング上の少なくともいくつかのクラウンは、クラウン領域中で切断され、間隙を形成する。代替として、少なくともいくつかのリング上の少なくとも1つのクラウンおよび/または支柱は、クラウンならびに/もしくは支柱領域中で切断され、間隙を形成する。代替として、ステント補綴具は、コバルトクロム合金を備える管状本体から形成され、ステントにパターン化されることができ、切断される構造要素は、パターン化され、次いで、除去(もしくは切断)されるように処置されるか、またはステントは、切断(もしくは除去)される構造要素を伴ってパターン化され、不連続性(もしくは間隙)を形成するかのいずれかである。
代替として、ステントは、パターン化され、管状ステントに丸められる、または管に丸められ、ステントにパターン化される、コバルトクロムを備えるシートから形成される。除去(または切断)される構造要素は、管に丸める、および/またはパターン化する前、ならびに/もしくはパターン化し、間隙を形成した後に、ステップのうちのいずれかで生じることができる。ステントは、次いで、3:2のポリマー対薬物基質の濃度でPLLA-PGAポリマーコーティングおよびラパマイシン薬物を備える、ポリマー薬物基質でコーティングされる。薬物の量は、ステントの1mm長さあたり約5マイクログラムである。代替として、薬物は、ポリマーを伴わずにステント補綴具上にコーティングされることができる。代替として、薬物は、中空ワイヤコアの中へ充填されることができ、好ましくは、ステントの支柱領域または実質的に非変形可能な領域上に設置される孔を通して、放出されるように構成される。
3.5mm×18mm長さステントは、3.5mm×20mm長さ送達システム上に圧着され、包装され、電子ビーム滅菌を使用して滅菌される。ステントは、空中(または37℃の水中)で展開され、強度および反跳について試験される。
好ましい代替案では、ステントは、切断支柱が圧着構成時に相互と入れ子平行構成で整合される、管状ステントとして形成される。支柱は、くぼみ(または溝)と、他方の支柱上のフックとを有するように構成される。展開構成までの拡張に応じたステントは、実質的に一様なパターンで拡張され、支柱は、溝およびフックにより、実質的に一様な構成で開放するように相互を支持し、最大円形直径を使用する、拡張ステント構成時の間隙領域中の構造要素の被覆は、0.7mm~1.5mmに及ぶ。
別の好ましい代替物では、ステントは、切断支柱が圧着構成時に相互と入れ子平行構成で整合される、管状ステントとして形成される。展開構成までの拡張に応じたステントは、実質的に一様なパターンで拡張され、支柱は、実質的に一様な構成で開放するように相互を支持し、最大円形直径を使用する、拡張ステント構成時の間隙領域中の構造要素の被覆は、0.7mm~1.5mmに及ぶ。
拡張構成時のステント補綴具の平坦プレート10%圧縮試験は、約0.6N(または0.033N/mmステント長)である。ステントの内向き反跳は、約6%であり、展開後に実質的に同一のままである。ステント分解性ポリマーコーティングは、3ヶ月~2年に及ぶ周期で分解するように構成される。
ステントは、不連続性(間隙)を有して形成される。ステントは、圧着構成から拡張されたより大きい構成まで拡張可能であり、身体管腔を支持するために十分な強度を有する。ステントは、展開後に(もしくは展開に応じて)身体管腔を離脱させ、血管拡張能力(もしくは管腔血管拡張)を呈し、および/またはより大きいステント拡張構成までさらに拡張するように構成される。ステント構造は、実質的にリング毎に2つの別個の(中断した)支柱を伴うパターン化ステント構成で、身体管腔(または管腔壁)の中に残留する。
身体管腔内(または37℃の水中)の拡張(展開)後のステントは、身体管腔を支持するために十分な強度を有する。ステントは、離脱し、および/またはさらに拡張し、ならびに/もしくは治療用血管拡張剤に応答し、および/またはステント留置区画内で(ステント留置区画全体にわたって)身体管腔を拡大する。
本願の全体を通した本開示の実施例および/または側面ならびに/もしくは実施形態の種々の組み合わせは、全体または部分的に組み合わせられ、本開示ならびに本願の範囲内に留まり得ることが理解される。
実施例20:リング毎に3つの分離領域を有する、本発明に従って構成された試験ステント、すなわち、3.25×14mm、3.5×14mmのサイズで入手可能であった、Elixir Medical用ノボリムス薬物溶出冠動脈ステント「PR44」が、前臨床動物実験で評価された。ステントは、「Resolute」、すなわち、3.0×15mmのサイズで入手可能であった、Medtronic(USA)からのFDA承認ゾタロリムス薬物溶出ステントであった。試験および対照ステントは、1:1.1のバルーン対動脈比(10%過伸張)において家畜ブタの冠動脈に埋め込まれた。デバイス埋込血管中でアセチルコリンを用いた血管運動試験が、デバイス埋込後の60および90日時点で以下に説明されるように実施された。アセチルコリンが、以下の順序、すなわち、a)対照(食塩水中の5%ブドウ糖)、b)2つの増分アセチルコリン注入、すなわち、10-6および10-5Mの濃度、ならびにc)ボーラス冠動脈内注射としての0.5mg/mlのニトログリセリンにおいて、カテーテルを介して冠動脈の中へ3分にわたって1.25ml/分で注入された。基準血管造影後に、血管造影が、ニトログリセリンの注射(指定されたニトロ後血管造影後)を除いて、各注入の直後に繰り返された(指定されたブドウ糖後、ACH1後およびACH2後血管造影)。ニトロ後血管造影に関して、少なくとも3分の周期が、造影が実施される前に経過することを可能にされた。少なくとも3分の時間周期が、各血管造影図と以降の注入との間で経過することを可能にされた。いったん試験が第1の血管に関して完了すると、試験は、次の血管の中で繰り返された。少なくとも5分の時間周期が、各動脈の間で経過することを可能にされた。血管造影測定が、血管運動試験の種々のステップにおいて動脈毎に実施された。測定が、ステント区画において(少なくとも3つの場所、すなわち、近位区画、中間区画、および遠位区画で、ならびに少なくとも1つの非ステント留置区画上(ステント(足場)の遠位)で)行われた。中間区画は、ステントの近位または遠位区画に影響を及ぼす、非ステント留置区画からのより少ない雑音もしくは干渉を有するため、より正確な測定を生じることができる。選択された血管造影図毎に、平均管腔直径が、測定され、管腔直径の変化率が、血管活性物質の注入後の血管運動の存在または不在を判定するように計算された。血管運動試験が、試験および対照デバイス埋込血管中で60および90日時点において実施され、アセチルコリンおよびニトログリセリンの注入後の管腔直径の変化率が、図35Aに示されている。結果は、対照Resoluteステントで観察される変化なしまたは最小限の変化(公開された研究でも観察される)とは対照的に、アセチルコリン(10-5M)およびボーラスニトログリセリン注射後の試験PR44デバイスの中間区画内の管腔直径の有意な変化を示した。PR44ステントは、埋込から60日以内および90日の時間周期以内にステントの離脱を呈し、2ヶ月周期以内および3ヶ月周期以内に血管再形成を可能にし、アセチルコリンおよび/またはニトログリセリン注入後に、(血管作用剤もしくは物質の導入後の)血管収縮ならびに血管拡張への血管応答を可能にした。最小限の変化を呈した、または全く変化を呈しなかった、閉じ込められたResoluteステントとは対照的に、PR44に関するアセチルコリン治療後の基準からの変化が、+0.21mm~0.3mmであった一方で、Resolute対照は、+0.06mm~-0.01mmであった。PR44に関するニトログリセリン治療後の基準からの変化が、+0.17mm~-0.2mmであった一方で、Resolute対照は、+0.05mm~-0.02mmであった。
ステント埋込後の約6ヶ月において、血管運動試験後に、PR44埋込血管(n=3)のステント留置区画のほぼ中間長における血管造影平均直径変化は、0.17mmであった。対照Resoluteステント埋込血管区画(n=3)の場合、ステント留置区画のほぼ中間長における血管造影平均直径変化は、0.03mmであった。これらのデータは、本発明による、円周方向リング内に分離領域を有するように構成されるステントが、分離領域を伴わない対照ステントの血管運動の約5.67倍の血管運動を呈したことを実証する。本発明のステントはまた、ステントまたはステント留置血管区画の離脱も実証し、分離領域を伴わない対照ステントと比較すると、実質的により大きい血管運動を可能にした。対照ステントは、わずかな血管運動を呈した。
実施例21:ステントは、一般的に、哺乳類の解剖学的構造内の身体管腔を開放した状態で保持するために使用される。そのようなステントは、典型的には、非分解性ステントであり、展開(ステントの拡張)後に身体管腔を支持する、または開放した状態で保持するために十分な強度を有し、拡張後にそのような強度を実質的に維持し、および/もしくは少なくとも10年またはそれを上回る長時間にわたって、もしくはより通常は、ステントの寿命にわたって、拡張後にそのような高い強度を実質的に維持する。しかしながら、そのようなステントは、ステント円周の周囲に延在する円周方向構造要素(例えば、リング等)を有し、したがって、円周方向構造要素を用いて管腔を閉じ込め、ステントとステント留置管腔との間の大きなコンプライアンス(または半径方向歪み)不一致を引き起こし、ステント留置区画内で小さい(管腔およびステントよりも小さい)複合コンプライアンス、またはステントと管腔との間の大きな剛性不一致を引き起こし、それによって、管腔を悪化させ、経時的に身体管腔の炎症および再閉塞を引き起こし得る。加えて、そのような大きな不一致は、生理学的条件で、血管運動を呈することからステント留置区画にわたる管腔の能力を有意に減退させ、および/またはさらなる拡張から管腔能力を減退させ、ならびに/もしくはさらなる拡張および/または収縮から管腔能力を減退させる。
本発明のステントは、上記で説明される問題のうちの1つまたはそれを上回るものに対処するように構成される。ステントが、身体管腔を支持するために拡張後に最初に十分な(または高い)強度を有することが重要であるが、そのような(高い)強度は、一実施例では、身体管腔への連続刺激に起因して、および/または大きいコンプライアンスもしくは剛性不一致に起因して、長期的に管腔にとって有害であり得る。本願の中の実施例のうちのいくつかで説明されるように、高い初期強度および拡張後(初期強度後)の減少した強度を有するように構成されるステントを有することが、そのような実施例で所望される。ステントは、ステントの拡張後、および/または身体管腔が開放した後、ならびに/もしくは管腔が治癒し始めた後、および/または管腔が治癒した後、ならびに/もしくは少なくともいくつかの細胞または組織がステント支柱のうちの少なくともいくつかを被覆した後に、減少した強度を有するように構成される。たとえステント強度が拡張後に減少しても、ステントは依然として、開放した状態で管腔を保持するために十分な強度を有する、または開放した状態で管腔を実質的に維持するために十分な強度を有する、もしくは身体管腔を支持するために十分な強度を有する。十分である縮小ステントを有するための1つまたはそれを上回る理由は、ステントが、初期強度規模を必要とすることなく拡張構成を実質的に維持することが可能である、および/または管腔が治癒し始め、もしくは治癒し、ステントにより少ない破砕力を及ぼした、ならびに/または拡張後の管腔が拡張構成に再形成し、開放構成でそれを維持するために、より少ない支持もしくはより少ないステント強度を要求することである。さらに、ステントは、本発明のいくつかの実施例では、従来技術と比較して、拡張後のより高い半径方向歪み(コンプライアンス)を有する、および/またはステント留置前の管腔コンプライアンスにより近い、拡張後のより高い半径方向歪み(コンプライアンス)を有する、ならびに/もしくはステントと身体管腔との間により少ない半径方向歪み不一致を有するように構成され、および/または生理学的条件で、拡張構成時の初期剛性と比較して、拡張後にあまり剛性ではない、ならびに/もしくは初期内向き反跳後にさらに拡張することができる、および/またはさらなる拡張ならびに/もしくは収縮を呈する、および/またはステント留置区画内で血管運動を呈する。
本発明におけるステントは、1つまたはそれを上回る不連続性、もしくは構造要素(リング等)の円周方向経路に沿った1つまたはそれを上回る不連続性を有するようにステントを構成し、それによって、円周方向要素(またはステント)を離脱させ、身体管腔により近いコンプライアンス(もしくは半径方向歪み)または剛性を提供することによって、離脱する、もしくは円周方向に離脱するように構成される。ステントは、好ましい実施例では、拡張後および/または不連続性の形成後にパターン化ステント構造を通して管腔支持を提供(もしくは維持)し続ける。ステント構造は、別の好ましい実施例では、拡張後に実質的に全ての隣接するリングの1つもしくはそれを上回る接続を維持する、または別の実施例では、少なくともいくつかの隣接するリングの1つもしくはそれを上回る接続を維持する。別の好ましい実施例では、拡張後の初期ステント強度は、拡張に応じて(もしくは拡張の直後に)、初期のより高い強度の後に低減され、および/またはコンプライアンス(もしくは半径方向歪み)が増加するにつれて(もしくはその間に)低減される。
不連続性は、本実施例では、円周方向構造要素の中の分離領域として図示されている。不連続性はまた、別の実施例では、(例えば)材料性質、またはステント拡張後に少なくともいくつかのステント区画内で増加した運動を可能にする他の機械的性質における不連続性であることもできる。
1つまたはそれを上回る不連続性を有する構成は、ステント材料上の応力に影響を及ぼす。連続管状ステントは、材料の実質的に剛性の「フープ」を形成することによって管腔を開放した状態で保持し、一実施例では、不連続性の面積が自由に撓曲または屈曲するにつれて、リングの中の不連続性が、ステントの応力状態をフープ応力から屈曲応力に変化させ(ある程度の接線応力が動脈内のフープ応力によって誘発される)、ステントの残りの半円形部分は、本撓曲に反応する。
実施例として、ステント1820は、図68に図示されるように、単一の不連続性1822を有し、ステントに最長モーメントアームを生成することができ、したがって、大きな撓曲または屈曲応力を生成する可能性を有する。リングの中の複数の不連続性は、モーメントアームを短縮し、ステント区画内の撓曲および/または屈曲応力を低減させながら、実質的にそれらのコンプライアンスの元の状態に、もしくはそれにより近い状態に戻す、管腔の複数の領域を提供する。3つの不連続性1824が、図69に図示され、5つの不連続性1826が、図70に図示されている。
図68-70は、ステント1820の断面図であり、不連続性の円周方向位置は、(例えば)ステント長に沿った不連続性の直線、ステント長に沿った不連続性のジグザグパターン、ステント長に沿った不連続性の渦巻状パターン、またはステント長に沿った不連続性の無作為配列を含むパターンで、ステントの長さの全体を通して変動し得る。好ましい実施例では、ストリップは、隣接するリングの間でそれらの接続を維持する。
3つの不連続性1824を伴うステント1800等の縦方向不連続性を伴うステントは、図71-72に示されるように、ステント区画が半径方向に拡張および収縮することを可能にし、ひいては、動脈壁AWが円周方向に拡張/収縮することを可能にし、解剖学的管腔内でより自然な移動をもたらす。本増加した運動は、例えば、増加した管腔運動および/または管腔の増加した断面積を可能にすることによって、増加した血流を可能にし得る。
それらが脈動血圧下等の生理学的条件で反応する方法において、(不連続性を有していない従来技術のステントと比較した)不連続性を伴うステントの構成の(例えば、半径方向歪みまたはコンプライアンス、剛性、最大変位、および断面積の変化の)差を評価するために、動脈およびステントの有限要素モデルが構築ならびに分析された。FEAは、種々の構成を比較し、台上もしくは生体内試験に類似および/または比較的類似する結果を生成する強力なツールである。FEAモデルは、血圧分散の全サイクル(拡張期から収縮期)をシミュレーションする80mmHgの圧力を受けるが、176mmHg(3.4psi)等の異なる圧力変化においてモデル化されることもできる。動脈は、80mmHg圧力下で4%の動脈コンプライアンスに接近するために、0.45のポアソン比および362psiの弾性係数を伴う弾性部材として、0.25mmの厚さを伴ってモデル化された。他の動脈コンプライアンスおよび/またはシミュレーションされた圧力レベルを含む、他の生理学的条件が、他の実施例で利用されてもよい。全ての試験サンプルおよび分析に使用されるステント材料は、ステントにパターン化され、関連パラメータに関して表3のように構成される、同一の非分解性ステンレス鋼合金材料であった。
Figure 0007586848000004
上記の表3の中のステントは、(記述されるような)厚さおよび記述されるような)クラウンの数、ならびに(記述されるような)それらが不連続性を有するかどうか、および(記述されるような)それらが軸方向リンクを有するかどうか(記述されるようなリンクの数)、ならびに(記述されるような)長さを除いて、実質的に同一である。ステント円周方向リングは、ステントの縦方向長に対する角度にある(またはオフセットされる)円周方向リングを有する渦巻状パターンを除いて、全ての試験サンプルにおいてステント長手軸と実質的に垂直であった。
各設計の変形または変位を特徴付けるために、近似中心を通したスライスが得られ、動脈壁の内径の節点変位が、図73および74に示されるように調査された。これらのスライスは、設計の中のリンクの場所(存在するとき)にほぼ対応し(これはまた、隣接するリングの間および隣接するリング上の隣接するクラウンの間の場所でもある)、ステントの中央の近くに位置してステントの端部の任意の局所効果を排除し、結果を恣意的な長さのステントに適用可能にした。
FEAモデルが起動され、以下が結果であった。異なる設計に関する最大直径、および半径方向歪み、ならびに血管運動が、以下に提示される。(ステントのリングの間の区分からの)有限要素分析からの変位データが、(最も遠く離れた内径上の2つの点によって画定されるような)動脈の内径の最大直径を判定するように分析され、変形した形状の面積が、動脈形状の円周の周囲の動径座標を使用する数値積分によって判定された。面積は、同等の円の半径を計算し、それから同等の半径方向歪みを計算するために使用される。半径方向歪みは、次いで、以下の表4に表記されるように、留保される血管運動の割合を判定するように、非ステント留置動脈内の半径方向歪みと比較される。
Figure 0007586848000005
図75は、定位置にステントを伴う動脈変位の周期性を図示する。例えば、「0の不連続性」を有する従来技術のステントに関して、および「0の不連続性」を有し、軸方向リンクステントを有していないステントに関して、それらの曲線は、殆ど重畳し、変位曲線の低い点は、円周方向不連続性を有していないことの結果として比較的強固に保持される、調査を受けている(2つの隣接するリングの間にある)区分の近傍でリングのクラウンに近接近する点に対応する。たとえ第2のサンプルが隣接するリングを接続する軸方向リンクを有していなくても、ステント/動脈システムの剛性および半径方向コンプライアンスは、従来技術のステント/動脈システムの剛性および半径方向コンプライアンスに類似することが、注目に値する。ピークは、ステントのクラウン(中間リング区画)から最も遠い点にある。
FEAモデルはまた、図76および77に示されるように、動脈の別の区分において起動された。上記で使用された区分は、隣接するリングの間であったが、第2の着目区分は、リングの中央にあろう(「中間リング」区分)。渦巻状ステントを通した直線状区分は、隣接するリングの間から中間リングまで、かつ(渦巻の次の巻目に関して)隣接するリングの間に戻って、異なる位置における7つのクラウンのそれぞれに衝打することに留意されたい。
中間リング対隣接するリングの間の結果
FEAモデル結果は、不連続性を有していない「従来技術」(対照)のステントおよび不連続性ならびに軸方向リンクを有していないサンプル2が、本実施例で評価される全てのパラメータに関して実質的に同一であることを示した。中間リング結果の分析を図示する目的のために、「従来技術」(対照)のステント対4つの不連続性を有するステントが選定された。対照(0の不連続性)と4つの不連続性のグラフとの間の変位の差を図式的に見ると、図78において定性的ならびに定量的の両方で、隣接するリングの間(隣接するクラウンの間)でとられる区分と中間リング区画との間の差を示す。
これらの区分内の動脈が、(例えば、6つのクラウンに接近することから、12個の支柱を横断することまで)より多くの回数でステントに触れるため、各グラフの周期性は、リング区分の間から中間リング区画まで2倍になることに留意されたい。不連続性を伴うステントでは、本周期的性は、不連続性の(より大きい)周期的半径方向拡張によって覆われる。本理由により、区分場所は、従来技術の0不連続性ステント(対照)と比較して、変位(ピークおよび平均の両方)により大きい影響を及ぼす。以下の表5は、半径方向歪みおよび断面積(血管運動)に関して、中間リングデータをリングの区分の間の表からのデータと比較する。
Figure 0007586848000006
図79および80は、上記の設計毎に、管腔最大直径および管腔面積の比較を図示する。
最終的に、中間リングはまた、半径方向強度データ比較を生じることもできる。すなわち、所与の量だけ動脈/ステントシステムを圧縮するために要求される圧力は、(中間リング変位によって近似される)ステントにおける直径変化と反比例する。図81を参照されたい。
FEAモデルはまた、等しい区画またはストリップの異なる数の不連続性を有するように構成される対照ステントを分析するためにも使用された。例えば、単一の不連続性は、2つの不連続性が分離し、ステントの長さに沿って2つのストリップを形成することができる、開放し得る(またはステントを離脱させ得る)、ステント長に沿った「C字」形不連続性等を形成することができる。各構成の最大直径および断面積が、図82ならびに83に示されている。
2つの不連続性によって誘発される運動は、3つの不連続性を伴う設計と比較して、より大きい直径の増加をもたらした、(以下に図示されるような)直径の線に沿っていることが、注目に値する。しかしながら、管腔面積の変化は、不連続性の数とともに一貫してより大きくなり、管腔面積が2つの不連続性と比較して3つの不連続性があるとより大きいことを示した。
実施例で参照されるステントまたはステント動脈システムのコンプライアンスは、複合コンプライアンスであることに留意されたい。
実施例21は、軸方向リンクの有無別のステントが、同程度の複合コンプライアンスおよび同程度の半径方向強度を有し、拡張されたリングまたは足場の半径方向強度もしくは複合コンプライアンスの差を殆どまたは全く有していないことを実証した。したがって、軸方向リンクがないステント(または足場)は、軸方向リンクを伴うステントと比較して、複合コンプライアンスおよび半径方向強度の変化を殆どもしくは全く有していなかった。対照的に、本発明による、円周方向リング構造内に分離領域を有する足場は、不連続性の形成後に、拡張されたリングまたは足場の増加した複合コンプライアンスおよび減少した半径方向強度を有した。
実施例22:対照足場(DESyne, Elixir Medical Inc,)と、隣接するリングを接続する軸方向リンクとともに、リングあたり3つの均等に離間した分離領域を有する、6クラウン・3リンクパターンを有する(PR100RG)の試験足場とを有する、ブタが、試験され、最大約5ヶ月にわたって追跡調査された。試験デバイスは、分離領域内の間隙を含む分離領域を被覆し、ステント表面(管腔、反管腔側、および2つの側面)を被覆する、高速分解ラクチドコポリマーでコーティングされた。コーティングは、約10ミクロンの反管腔側厚さを有した。ステントはまた、ノボリムスおよびラクチドコポリマー薬物基質のトップコーティングでコーティングされた。試験足場および対照足場(DESyne, Elixir Medical Inc,)は、家畜ブタの冠動脈に埋め込まれ、その後、基準からの時点(拡張(埋込)後、2、3、および約5ヶ月)において血管造影および光干渉断層撮影(OCT)によって連続的に撮像された。デバイスは、リング内のデバイス不連続性の形成、離脱、ステント留置区画の離脱、ならびにデバイス面積および管腔面積の変化を査定するように、OCT撮像によって複数の時点において生体内で評価された(研究参照:ELX080)。OCT撮像は、デバイス埋込後(基準)および上記の追跡調査時点において実施された。基準および追跡調査時点における試験デバイス埋込血管区画のOCT引き戻しからの静止画像が、図100A-100Dに示されている。不連続性は、(図100B-D)に示されるように、2ヶ月追跡調査時点には早くも、および後続の追跡調査時点において、デバイスで観察された。OCT画像内の不連続性の実施例は、OCT画像の丸く囲まれた面積内に示されている。不連続性は、間隙の形成、または相互に平面外の支柱(または画像の中心から、もしくは相互に対して異なる半径を有する支柱)を示す。リング内に分離領域を有していない、対照ステント(図に示されていない)は、不連続性の形成を有していなかった。
ブタ動脈内の埋込後の本発明の試験足場および対照足場(分離領域を有していない)に関してステントならびに管腔平均面積を示す、基準、2、3、および約5ヶ月追跡調査時点に関して示される、追跡調査時点毎に平均値として平均化された、各足場の長さに沿った3つの無作為な点で(足場長のほぼ近位、ほぼ中間、およびほぼ遠位点で)得られたOCT測定を使用する、本発明の試験足場(PR100RG)および対照ステント(DESyne)の試験結果のグラフ表示が、図101Aおよび101Bに示されている。試験足場は、血管が損傷から治癒しつつある時間周期である、2ヶ月時点における平均足場面積のある程度の縮小を示した。しかしながら、試験足場平均面積は、3ヶ月時点において増加し、5ヶ月時点においてさらに増加した。本実施例では、3ヶ月および5ヶ月時間周期における足場平均面積は、基準平均足場面積よりも大きかった。約5ヶ月時間周期における足場平均面積は、基準における平均管腔面積から増加した。対照足場平均面積は、2ヶ月時点において類似縮小を示したが、5ヶ月時点において実質的に同一のままであった。試験足場に関する平均足場面積は、基準から5ヶ月追跡調査時点まで増加し、不連続性の形成、ステントの離脱、または分離領域を有するリングの離脱を示した。対照的に、対照足場平均面積は、基準から5ヶ月追跡調査時点まで実質的に同一またはわずかにより小さいままであった。
図101Aは、新生内膜細胞増殖および治癒プロセスに起因する2ヶ月追跡調査時の平均管腔面積の初期縮小後に、3ヶ月時点から5ヶ月時点まで試験足場に関して増加する平均管腔面積を示す。対照的に、対照ステントは、新生内膜細胞増殖および治癒プロセスに起因する2ヶ月追跡調査時の類似初期縮小後に、3ヶ月時点から5ヶ月時点まで実質的に同一の平均管腔面積を有する。試験足場平均管腔面積は、5ヶ月追跡調査時点にわたって、治癒段階に起因する初期縮小後に、さらなる拡張(または継続的拡張)を実証し、足場区画(ステント留置血管区画)の離脱を示した。対照的に、対照ステントは、新生内膜細胞増殖および治癒プロセスに起因する初期縮小後に、3ヶ月時点においてある程度の平均管腔面積回復(増加)を有した。しかしながら、3ヶ月における治癒段階からの回復後の平均管腔面積は、5ヶ月追跡調査時点において実質的に同一のままであり、血管(または血管のステント留置区画)の継続的閉じ込めを示した。
実施例23:本発明による、分離領域を伴わない従来の3.5mm直径対照ステントおよび分離領域を伴う3.5mm直径試験ステントの複合コンプライアンスは、複合ならびに比較を測定するための上記に記載される具体的プロトコルに従って試験された。調査を受けている従来のステントは、約0.08mmの支柱厚さを伴う8クラウン、不連続性なしのコバルトクロムステントであった。分離領域を有するステントは、ステントの長さに沿って渦巻状パターンで配列された、リングあたり3つの不連続性を伴う6クラウンステントであった。コバルトクロム支柱厚さは、約0.01mmのコーティング厚さを伴って約0.075mmであった。参照動脈測定は、両方の試験にわたって平均化され、ステント留置区画のコンプライアンスは、参照動脈のコンプライアンスと比較された。結果は、以下の表6に示されている。
Figure 0007586848000007
本発明に従って構成される、不連続性を伴うステントは、不連続性を伴わない対照ステントの直径変化の約3倍を示し、不連続性を伴うステント留置区画を、不連続性を伴わない対照ステント留置区画よりも基準動脈に近く挙動させる、コンプライアンスの増加を示した。176mmHgにおける試験ステントの複合コンプライアンスは、176mmHgにおける対照ステントのコンプライアンスの約3倍であった。
本開示のある実施形態または実施例が詳細に説明されているが、本明細書に説明される全ての特徴および利益を提供するわけではない場合がある実施形態または実施例を含む、変形例および修正が、当業者に明白となるであろう。本開示は、具体的に開示される実施形態または実施例を超えて、他の代替的または付加的実施例もしくは実施形態および/または用途ならびに明白な修正およびそれらの均等物まで拡張することが、当業者によって理解されるであろう。加えて、いくつかの変形例が、変動する詳細で示され、説明されているが、本開示の範囲内である他の修正が、本開示に基づいて当業者に容易に明白となるであろう。また、実施形態および実施例の具体的特徴ならびに側面の種々の組み合わせまたは副次的組み合わせが行われ、依然として本開示の範囲内に入り得ることも考慮される。故に、開示される実施形態の種々の特徴および側面は、本開示の変動する様態または実施例を形成するために、相互と組み合わせられ得る、もしくは相互に代用され得ることを理解されたい。すなわち、本明細書に開示される本開示の範囲は、上記で説明される特定の開示される実施形態または実施例によって限定されるべきではないことが意図される。上記で説明される実施形態および実施例の全てに関して、例えば、任意の方法のステップは、連続的に実施される必要はない。

Claims (29)

  1. 管腔内補綴具であって、
    非分解性材料からパターン化される複数の円周方向リングを有する足場を備え、前記足場は、圧着構成から展開構成まで拡張するように構成され、
    前記円周方向リングのうちの少なくともいくつかは、クラウンによって継合される支柱を備え、前記円周方向リングのうちの少なくともいくつかは、隣接する円周方向リングに軸方向に継合され、前記円周方向リングのうちの少なくともいくつかは、少なくとも1つの分離領域を有し、
    前記少なくとも1つの分離領域は、キーおよびキー孔接合点を備え、前記キーおよびキー孔は、非分解性材料であり、
    前記円周方向リング内の前記少なくとも1つの分離領域は、前記円周方向リング内に事前形成された切れ目を備え、前記キーは、前記切れ目の一端上にあり、前記キー孔は、前記切れ目の他端上にあり、前記キーは、前記キー孔の中に嵌合するように構成され、
    前記キーおよびキー孔は、拡張中にともに保持されるように構成され、かつ、生理学的環境内で前記展開構成への前記足場の拡張後に分離するように構成され、前記キーおよびキー孔が、分離し前記少なくとも1つの円周方向リング内の不連続性を形成するのを可能にし、前記少なくとも1つの円周方向リング内の前記不連続性は、軸方向、半径方向、円周方向、またはそれらの組み合わせにおける互いに対する前記キーおよびキー孔の移動を可能にする、管腔内補綴具。
  2. 前記事前形成された切れ目内の前記キーおよびキー孔の間の間隙は、0ミクロン~50ミクロンに及ぶ、請求項1に記載の管腔内補綴具。
  3. 前記事前形成された切れ目内の前記キーおよびキー孔の間の前記間隙は、0ミクロン~30ミクロンに及ぶ、請求項2に記載の管腔内補綴具。
  4. 前記少なくとも1つの分離領域は、前記少なくとも1つの円周方向リングの支柱内にある、請求項1に記載の管腔内補綴具。
  5. 前記分離領域を含む前記少なくとも1つの支柱は、円周方向リング上で2つのクラウンを継合する、請求項2に記載の管腔内補綴具。
  6. 前記展開構成への拡張後、前記少なくともいくつかの円周方向リングは、軸方向に継合されたままである2つ以上の区画に分離する、請求項1に記載の管腔内補綴具。
  7. 前記展開構成への拡張後、前記足場は、軸方向に継合される2つまたは3つの区画に分離する、請求項6に記載の管腔内補綴具。
  8. 前記足場は、蛇行、ジグザグ、螺旋、開放セル設計、または閉鎖セル設計を含むパターンを有する、請求項1に記載の管腔内補綴具。
  9. 前記円周方向リング内の前記事前形成された切れ目または間隙は、拡張後に前記生理学的環境内で分解する生分解性ポリマーおよび/または接着剤によって継合され、前記生分解性ポリマーおよび/または接着剤によって被覆され、または、前記生分解性ポリマーおよび/または接着剤に埋め込まれる、請求項1に記載の管腔内補綴具。
  10. 前記少なくとも1つのキーおよびキー孔接合点は、オス型部分とメス型部分とを備える、請求項1に記載の管腔内補綴具。
  11. 前記オス型部分は、前記メス型部分のアームの間のスロットまたはチャネルに嵌合し、前記オス型部分の長さおよび前記メス型部分のチャネルのスロットは、前記オス型部分および前記メス型部分を含有する前記支柱の幅より長い、請求項10に記載の管腔内補綴具。
  12. 少なくともいくつかの円周方向リングの全てのクラウンは、分離領域を含まない、請求項1に記載の管腔内補綴具。
  13. 拡張に応じて、前記分離領域は、展開後の前記分離領域の分離前に、いくつかの移動を可能にする、請求項1に記載の管腔内補綴具。
  14. 前記少なくともいくつかの円周方向リングは、各々、1~4つの分離領域を含む、請求項1に記載の管腔内補綴具。
  15. 少なくとも1つの円周方向リングは、支柱内に位置する前記少なくとも1つの分離領域を含み、前記支柱は、同一のリング上でクラウンを継合し、前記支柱およびクラウンは、隣接する円周方向リングに継合されない、請求項1に記載の管腔内補綴具。
  16. 少なくとも1つの円周方向リングは、支柱内に位置する前記少なくとも1つの分離領域を含み、前記支柱は、同一のリング上でクラウンを継合し、前記支柱およびクラウンは、軸方向リンクを介して、隣接する円周方向リングに継合されない、請求項1に記載の管腔内補綴具。
  17. 少なくとも1つの円周方向リングは、支柱内に位置する前記少なくとも1つの分離領域を含み、前記支柱は、同一のリング上でクラウンを継合し、前記支柱またはクラウンは、隣接する円周方向リングに継合される、請求項1に記載の管腔内補綴具。
  18. 少なくとも1つの円周方向リングは、各々が支柱内に位置する1~4つの分離領域を含み、前記支柱は、同一のリング上でクラウンを継合し、前記支柱またはクラウンは、軸方向リンクによって、隣接する円周方向リングに継合される、請求項1に記載の管腔内補綴具。
  19. 1つまたは複数の分離領域を含む前記少なくともいくつかの円周方向リングは、隣接する円周方向リングに軸方向に継合され、前記円周方向リングは、生理学的環境内で前記足場の展開後、軸方向に継合されたままである、請求項1に記載の管腔内補綴具。
  20. 生理学的環境内での圧着構成から展開構成への拡張の後の前記補綴具は、身体管腔を支持するための十分な強度および前記拡張構成からの低い反跳を有する、請求項1に記載の管腔内補綴具。
  21. 前記足場は、前記足場の少なくとも1つの表面上にポリマーコーティングを備え、前記ポリマーコーティングは、ポリラクチド、ポリ-L-乳酸、ポリ-DL-ラクチド、ポリラクチド-co-グリコリド、ポリ(乳酸-co-グリコリド)、ポリ(n-ブチルメタクリレート)、エチレン酢酸ビニル、ポリ(エチレン-co-酢酸ビニル)、ポリビニルピロリドン、パリレン、PVDF-HFPポリ(フッ化ビニリデンヘキサフルオロプロピレン)、ポリスチレン、ポリ(L-ラクチド-co-イプシロン-カプロラクトン)、または、ポリ(スチレン-b-イソブチレン-b-スチレン)を含む、請求項1に記載の管腔内補綴具。
  22. 前記キーおよびキー孔は、1対の構造を備え、前記1対の構造は、スロット内凸部、相互係止コーム、または相互係止歯のうちの1つまたは複数を備える、請求項1に記載の管腔内補綴具。
  23. 前記足場は、管、平坦基板、または、屈曲ワイヤからパターン化される、請求項1に記載の管腔内補綴具。
  24. 前記生分解性ポリマーおよび/または接着剤は、ポリラクチド、ポリ-L-ラクチド、ポリ-DL-ラクチド、ポリラクチド-co-グリコリド、ポリ(L-乳酸-co-グリコリド)、ポリ(エチレン-co-酢酸ビニル)、ポリ(L-ラクチド-co-イプシロン-カプロラクトン)、ポリ(DL-ラクチド-co-グリコリド)、ポリ(ラクチド-co-カプロラクトン)、ポリ(D-ラクチド)、ポリグリコリド、ポリカプロラクトン、ポリヒドロキシアルカノエート、ポリビニルアルコール、ポリ酢酸ビニル、または、シアノアクリレートを含む、請求項9に記載の管腔内補綴具。
  25. 前記足場は、シロリムス、ノボリムス、バイオリムス、エベロリムス、リダフォロリムス、テムシロリムス、またはゾタロリムスを含むm-TOR阻害剤を含む少なくとも1つの薬物をさらに備える、請求項1に記載の管腔内補綴具。
  26. 前記非分解性材料は、金属または金属合金を含む、請求項1に記載の管腔内補綴具。
  27. 前記金属または金属合金は、ステンレス鋼、コバルト合金、コバルトクロム、白金、白金イリジウム、白金クロム、白金ロジウム、または、ニッケルチタンを含む、請求項26に記載の管腔内補綴具。
  28. 前記円周方向リングの前記分離領域は、無作為なパターンを有し、または円周方向リングの間で回転可能にオフセットされている、請求項1に記載の管腔内補綴具。
  29. 前記補綴具は、バルーン拡張可能であるように構成される、請求項1に記載の管腔内補綴具。
JP2022051468A 2016-05-16 2022-03-28 アンケージングステント Active JP7586848B2 (ja)

Applications Claiming Priority (13)

Application Number Priority Date Filing Date Title
US201662337255P 2016-05-16 2016-05-16
US62/337,255 2016-05-16
US201662374689P 2016-08-12 2016-08-12
US62/374,689 2016-08-12
US201662414593P 2016-10-28 2016-10-28
US62/414,593 2016-10-28
US201662424994P 2016-11-21 2016-11-21
US62/424,994 2016-11-21
US201662430843P 2016-12-06 2016-12-06
US62/430,843 2016-12-06
US201762480121P 2017-03-31 2017-03-31
US62/480,121 2017-03-31
JP2021039952A JP7478110B2 (ja) 2016-05-16 2021-03-12 アンケージングステント

Related Parent Applications (1)

Application Number Title Priority Date Filing Date
JP2021039952A Division JP7478110B2 (ja) 2016-05-16 2021-03-12 アンケージングステント

Publications (2)

Publication Number Publication Date
JP2022076014A JP2022076014A (ja) 2022-05-18
JP7586848B2 true JP7586848B2 (ja) 2024-11-19

Family

ID=60325521

Family Applications (7)

Application Number Title Priority Date Filing Date
JP2018560073A Active JP6963566B2 (ja) 2016-05-16 2017-05-15 アンケージングステント
JP2021039952A Active JP7478110B2 (ja) 2016-05-16 2021-03-12 アンケージングステント
JP2021179301A Active JP7029019B2 (ja) 2016-05-16 2021-11-02 アンケージングステント
JP2022051468A Active JP7586848B2 (ja) 2016-05-16 2022-03-28 アンケージングステント
JP2023169649A Pending JP2023165987A (ja) 2016-05-16 2023-09-29 アンケージングステント
JP2025011857A Pending JP2025062612A (ja) 2016-05-16 2025-01-28 アンケージングステント
JP2025139627A Pending JP2025172814A (ja) 2016-05-16 2025-08-25 アンケージングステント

Family Applications Before (3)

Application Number Title Priority Date Filing Date
JP2018560073A Active JP6963566B2 (ja) 2016-05-16 2017-05-15 アンケージングステント
JP2021039952A Active JP7478110B2 (ja) 2016-05-16 2021-03-12 アンケージングステント
JP2021179301A Active JP7029019B2 (ja) 2016-05-16 2021-11-02 アンケージングステント

Family Applications After (3)

Application Number Title Priority Date Filing Date
JP2023169649A Pending JP2023165987A (ja) 2016-05-16 2023-09-29 アンケージングステント
JP2025011857A Pending JP2025062612A (ja) 2016-05-16 2025-01-28 アンケージングステント
JP2025139627A Pending JP2025172814A (ja) 2016-05-16 2025-08-25 アンケージングステント

Country Status (6)

Country Link
US (5) US9943426B2 (ja)
EP (2) EP3861961B1 (ja)
JP (7) JP6963566B2 (ja)
CN (2) CN109561955B (ja)
ES (1) ES2873887T3 (ja)
WO (1) WO2017200956A1 (ja)

Families Citing this family (71)

* Cited by examiner, † Cited by third party
Publication number Priority date Publication date Assignee Title
US8579964B2 (en) 2010-05-05 2013-11-12 Neovasc Inc. Transcatheter mitral valve prosthesis
US9554897B2 (en) 2011-04-28 2017-01-31 Neovasc Tiara Inc. Methods and apparatus for engaging a valve prosthesis with tissue
US9308087B2 (en) 2011-04-28 2016-04-12 Neovasc Tiara Inc. Sequentially deployed transcatheter mitral valve prosthesis
US9345573B2 (en) 2012-05-30 2016-05-24 Neovasc Tiara Inc. Methods and apparatus for loading a prosthesis onto a delivery system
US10561509B2 (en) 2013-03-13 2020-02-18 DePuy Synthes Products, Inc. Braided stent with expansion ring and method of delivery
US9572665B2 (en) 2013-04-04 2017-02-21 Neovasc Tiara Inc. Methods and apparatus for delivering a prosthetic valve to a beating heart
US10206796B2 (en) 2014-08-27 2019-02-19 DePuy Synthes Products, Inc. Multi-strand implant with enhanced radiopacity
US12465324B2 (en) 2015-02-12 2025-11-11 Foundry Innovation & Research 1, Ltd. Patient fluid management systems and methods employing integrated fluid status sensing
EP3389557B1 (en) 2015-12-15 2022-07-13 Neovasc Tiara Inc. Transseptal delivery system
US10143573B2 (en) * 2015-12-17 2018-12-04 Abbott Cardiovascular Systems Inc. Thin-walled scaffolds having flexible distal end
CN113633435B (zh) 2016-01-29 2024-11-29 内奥瓦斯克迪亚拉公司 用于防止流出阻塞的假体瓣膜
JP6607586B2 (ja) * 2016-02-16 2019-11-20 株式会社Pentas ステント
WO2017146080A1 (ja) * 2016-02-25 2017-08-31 株式会社Pentas ステント
JP2017164323A (ja) * 2016-03-16 2017-09-21 テルモ株式会社 ステント
EP3861961B1 (en) 2016-05-16 2025-11-12 Elixir Medical Corporation Uncaging stent
US11622872B2 (en) 2016-05-16 2023-04-11 Elixir Medical Corporation Uncaging stent
WO2019033121A1 (en) * 2017-08-11 2019-02-14 Elixir Medical Corporation RELEASE OF STENT
US11701018B2 (en) * 2016-08-11 2023-07-18 Foundry Innovation & Research 1, Ltd. Wireless resonant circuit and variable inductance vascular monitoring implants and anchoring structures therefore
EP3496606A1 (en) 2016-08-11 2019-06-19 Foundry Innovation & Research 1, Ltd. Systems and methods for patient fluid management
US11206992B2 (en) 2016-08-11 2021-12-28 Foundry Innovation & Research 1, Ltd. Wireless resonant circuit and variable inductance vascular monitoring implants and anchoring structures therefore
US10076428B2 (en) 2016-08-25 2018-09-18 DePuy Synthes Products, Inc. Expansion ring for a braided stent
US10292851B2 (en) 2016-09-30 2019-05-21 DePuy Synthes Products, Inc. Self-expanding device delivery apparatus with dual function bump
US10182927B2 (en) * 2016-10-21 2019-01-22 DePuy Synthes Products, Inc. Expansion ring for a braided stent
CN113893064A (zh) 2016-11-21 2022-01-07 内奥瓦斯克迪亚拉公司 用于快速收回经导管心脏瓣膜递送系统的方法和系统
USD854172S1 (en) * 2016-12-31 2019-07-16 Woori Material Inc. Cast
US10966849B2 (en) * 2017-03-08 2021-04-06 Yamaguchi University Indwelling medical device having bistable structure in lumen organ
EP3629937A1 (en) 2017-05-31 2020-04-08 Foundry Innovation & Research 1, Ltd. Implantable ultrasonic vascular sensor
US11779238B2 (en) 2017-05-31 2023-10-10 Foundry Innovation & Research 1, Ltd. Implantable sensors for vascular monitoring
US10842654B2 (en) * 2017-07-19 2020-11-24 Cook Medical Technologies Llc Stent with segments capable of uncoupling during expansion
US10806564B2 (en) * 2017-08-23 2020-10-20 Asahi Kasei Kabushiki Kaisha Catheter systems and methods of treating a vascular disease using the same
WO2019036810A1 (en) 2017-08-25 2019-02-28 Neovasc Tiara Inc. TRANSCATHETER MITRAL VALVULE PROSTHESIS WITH SEQUENTIAL DEPLOYMENT
US11357650B2 (en) * 2019-02-28 2022-06-14 Vesper Medical, Inc. Hybrid stent
US10271977B2 (en) 2017-09-08 2019-04-30 Vesper Medical, Inc. Hybrid stent
US11628076B2 (en) 2017-09-08 2023-04-18 Vesper Medical, Inc. Hybrid stent
US10500078B2 (en) 2018-03-09 2019-12-10 Vesper Medical, Inc. Implantable stent
EP3801203A1 (en) * 2018-05-30 2021-04-14 Foundry Innovation & Research 1, Ltd. Wireless resonant circuit and variable inductance vascular monitoring implants and anchoring structures therefore
AU2019204522A1 (en) 2018-07-30 2020-02-13 DePuy Synthes Products, Inc. Systems and methods of manufacturing and using an expansion ring
US10278848B1 (en) 2018-08-06 2019-05-07 DePuy Synthes Products, Inc. Stent delivery with expansion assisting delivery wire
US10456280B1 (en) 2018-08-06 2019-10-29 DePuy Synthes Products, Inc. Systems and methods of using a braided implant
CN113271890B (zh) 2018-11-08 2024-08-30 内奥瓦斯克迪亚拉公司 经导管二尖瓣假体的心室展开
EP3880120A4 (en) * 2018-11-16 2022-08-24 Microvention, Inc. RADIOPAQUE VASCULAR PROSTHESIS
US11925570B2 (en) 2018-12-19 2024-03-12 Boston Scientific Scimed, Inc. Stent including anti-migration capabilities
US11039944B2 (en) 2018-12-27 2021-06-22 DePuy Synthes Products, Inc. Braided stent system with one or more expansion rings
US11998447B2 (en) 2019-03-08 2024-06-04 Neovasc Tiara Inc. Retrievable prosthesis delivery system
EP3714914A1 (en) * 2019-03-29 2020-09-30 Picosun Oy Spring loaded medical device
JP7438236B2 (ja) 2019-04-01 2024-02-26 ニオバスク ティアラ インコーポレイテッド 制御可能に展開可能な補綴弁
CN113924065A (zh) 2019-04-10 2022-01-11 内奥瓦斯克迪亚拉公司 具有自然血流的假体瓣膜
DE102019112971A1 (de) * 2019-05-16 2020-11-19 Optimed Medizinische Instrumente Gmbh Stent
CA3140925A1 (en) 2019-05-20 2020-11-26 Neovasc Tiara Inc. Introducer with hemostasis mechanism
US11311376B2 (en) 2019-06-20 2022-04-26 Neovase Tiara Inc. Low profile prosthetic mitral valve
CN114502086A (zh) * 2019-07-19 2022-05-13 万能医药公司 用于抽吸血栓的装置及方法
CN110433016A (zh) * 2019-08-08 2019-11-12 郑州铁路职业技术学院 直型肠胃用消化道支架
JP6967571B2 (ja) * 2019-11-15 2021-11-17 株式会社Biomedical Solutions ステント
US12279948B2 (en) * 2020-02-27 2025-04-22 Cephea Valve Technologies, Inc. Valve retention supplemented with a wire hoop
WO2021182475A1 (ja) * 2020-03-12 2021-09-16 株式会社ジェイ・エム・エス ステント
US12383246B2 (en) 2020-10-12 2025-08-12 Abbott Cardiovascular Systems, Inc. Vessel closure device with improved safety and tract hemostasis
KR102532990B1 (ko) * 2021-01-28 2023-05-15 경북대학교 산학협력단 레이저를 이용한 의료용 스텐트 제조방법
DE112021007342T5 (de) * 2021-03-23 2023-12-28 Japan Lifeline Co., Ltd. Stent
EP4391970A1 (en) * 2021-08-25 2024-07-03 Boston Scientific Scimed, Inc. Replacement heart valve implant and expandable framework for replacement heart valve implant
CN119343096A (zh) 2022-03-28 2025-01-21 万能医药公司 带有可扩展远侧尖端的抽吸导管
CN114601608B (zh) * 2022-04-20 2025-08-01 首都医科大学附属北京天坛医院 一种血管支架及支架组件
DE102022111893A1 (de) * 2022-05-12 2023-11-16 Acandis Gmbh Medizinische Vorrichtung zur intravaskulären Behandlung und Herstellungsverfahren
US20230414385A1 (en) * 2022-06-24 2023-12-28 Kamal Ramzipoor Implantable scaffolds having biodegradable components and methods of manufacturing and use thereof
WO2024023791A1 (en) 2022-07-29 2024-02-01 Foundry Innovation & Research 1, Ltd. Multistranded conductors adapted to dynamic in vivo environments
CN115568989A (zh) * 2022-10-24 2023-01-06 上海励楷科技有限公司 显影支架
CN115891135B (zh) * 2022-11-24 2024-10-25 中国科学院深圳先进技术研究院 一种形状记忆复合材料及其制备方法和应用
CN118267204B (zh) * 2022-12-29 2025-12-16 先健科技(深圳)有限公司 凹槽支架
WO2024194102A1 (en) * 2023-03-17 2024-09-26 Koninklijke Philips N.V. Self-locking stent
CN116271502B (zh) * 2023-04-26 2024-04-23 心擎医疗(苏州)股份有限公司 导管泵
US20240374305A1 (en) * 2023-05-10 2024-11-14 Biosense Webster (Israel) Ltd. Multi-piece basket catheter comprising hinges
CN116919652B (zh) * 2023-09-18 2024-01-19 北京心祐医疗科技有限公司 可降解滤器

Citations (4)

* Cited by examiner, † Cited by third party
Publication number Priority date Publication date Assignee Title
WO2009041664A1 (ja) 2007-09-27 2009-04-02 Terumo Kabushiki Kaisha ステントおよび生体器官拡張器具
JP2009530060A (ja) 2006-03-20 2009-08-27 エックステント・インコーポレーテッド 連結されたプロテーゼセグメントの展開装置及び方法
US20110060401A1 (en) 2007-02-16 2011-03-10 Universität Zürich Tubular Supporting Prosthesis Capable of Growing
US20110224777A1 (en) 2008-09-15 2011-09-15 Randolf Von Oepen Stent with independent stent rings and transitional attachments

Family Cites Families (344)

* Cited by examiner, † Cited by third party
Publication number Priority date Publication date Assignee Title
US1027197A (en) 1912-05-21 Goodwin Car Company Drop-door-operating mechanism for dumping-cars.
US1007643A (en) 1910-09-14 1911-10-31 Frederick Clare Radiator.
US1038375A (en) 1911-04-17 1912-09-10 Emil Jacobson Means for heating water.
US1607708A (en) 1924-10-22 1926-11-23 Air Reduction Separation of the constituents of gaseous mixtures
US3867190A (en) 1971-10-18 1975-02-18 American Cyanamid Co Reducing capillarity of polyglycolic acid sutures
US5059211A (en) 1987-06-25 1991-10-22 Duke University Absorbable vascular stent
WO1991017724A1 (en) 1990-05-17 1991-11-28 Harbor Medical Devices, Inc. Medical device polymer
US5298276A (en) 1990-08-24 1994-03-29 Swaminathan Jayaraman Process for producing artificial blood vessels of controlled permeability and product produced thereby
NL9001984A (nl) 1990-09-10 1992-04-01 Stamicarbon Werkwijze voor het produceren van een voorwerp van een copolymeer van lactide en epsilon-caprolacton voor medische toepassingen.
CA2060635A1 (en) 1991-02-12 1992-08-13 Keith D'alessio Bioabsorbable medical implants
US5500013A (en) 1991-10-04 1996-03-19 Scimed Life Systems, Inc. Biodegradable drug delivery vascular stent
ES2086633T3 (es) 1992-02-03 1996-07-01 Schneider Europ Ag Cateter con un sustentaculo vascular.
US5683448A (en) 1992-02-21 1997-11-04 Boston Scientific Technology, Inc. Intraluminal stent and graft
US5449384A (en) 1992-09-28 1995-09-12 Medtronic, Inc. Dynamic annulus heart valve employing preserved porcine valve leaflets
US5441483A (en) 1992-11-16 1995-08-15 Avitall; Boaz Catheter deflection control
US5383926A (en) 1992-11-23 1995-01-24 Children's Medical Center Corporation Re-expandable endoprosthesis
JP3553067B2 (ja) 1993-04-13 2004-08-11 ボストン・サイエンティフィック・リミテッド 拡張先端を有するプロテーゼ導入装置
US5441515A (en) 1993-04-23 1995-08-15 Advanced Cardiovascular Systems, Inc. Ratcheting stent
US5556413A (en) * 1994-03-11 1996-09-17 Advanced Cardiovascular Systems, Inc. Coiled stent with locking ends
US5741329A (en) 1994-12-21 1998-04-21 Board Of Regents, The University Of Texas System Method of controlling the pH in the vicinity of biodegradable implants
US6039755A (en) 1997-02-05 2000-03-21 Impra, Inc., A Division Of C.R. Bard, Inc. Radially expandable tubular polytetrafluoroethylene grafts and method of making same
US7550005B2 (en) 1995-06-07 2009-06-23 Cook Incorporated Coated implantable medical device
US6774278B1 (en) 1995-06-07 2004-08-10 Cook Incorporated Coated implantable medical device
US5797951A (en) * 1995-08-09 1998-08-25 Mueller; Edward Gene Expandable support member
FI98136C (fi) 1995-09-27 1997-04-25 Biocon Oy Kudosolosuhteissa hajoava materiaali ja menetelmä sen valmistamiseksi
US5741293A (en) 1995-11-28 1998-04-21 Wijay; Bandula Locking stent
US5843117A (en) 1996-02-14 1998-12-01 Inflow Dynamics Inc. Implantable vascular and endoluminal stents and process of fabricating the same
US5695516A (en) 1996-02-21 1997-12-09 Iso Stent, Inc. Longitudinally elongating balloon expandable stent
NZ331269A (en) 1996-04-10 2000-01-28 Advanced Cardiovascular System Expandable stent, its structural strength varying along its length
US6241760B1 (en) 1996-04-26 2001-06-05 G. David Jang Intravascular stent
US5670161A (en) 1996-05-28 1997-09-23 Healy; Kevin E. Biodegradable stent
US5922020A (en) 1996-08-02 1999-07-13 Localmed, Inc. Tubular prosthesis having improved expansion and imaging characteristics
US20030093143A1 (en) 1999-03-01 2003-05-15 Yiju Zhao Medical device having surface depressions containing nitric oxide releasing compound
US5868781A (en) * 1996-10-22 1999-02-09 Scimed Life Systems, Inc. Locking stent
JP2001506146A (ja) 1996-12-13 2001-05-15 データ サイエスシズ インターナショナル,インコーポレイティド ポリウレタン表面を有する生物適合性医用装置
US5961545A (en) 1997-01-17 1999-10-05 Meadox Medicals, Inc. EPTFE graft-stent composite device
US8663311B2 (en) * 1997-01-24 2014-03-04 Celonova Stent, Inc. Device comprising biodegradable bistable or multistable cells and methods of use
US5911732A (en) 1997-03-10 1999-06-15 Johnson & Johnson Interventional Systems, Co. Articulated expandable intraluminal stent
US5824053A (en) 1997-03-18 1998-10-20 Endotex Interventional Systems, Inc. Helical mesh endoprosthesis and methods of use
US8172897B2 (en) 1997-04-15 2012-05-08 Advanced Cardiovascular Systems, Inc. Polymer and metal composite implantable medical devices
US5843172A (en) 1997-04-15 1998-12-01 Advanced Cardiovascular Systems, Inc. Porous medicated stent
US10028851B2 (en) 1997-04-15 2018-07-24 Advanced Cardiovascular Systems, Inc. Coatings for controlling erosion of a substrate of an implantable medical device
US6610764B1 (en) 1997-05-12 2003-08-26 Metabolix, Inc. Polyhydroxyalkanoate compositions having controlled degradation rates
DE19722384A1 (de) 1997-05-28 1998-12-03 Gfe Ges Fuer Forschung Und Ent Flexible expandierbare Gefäßstütze
EP0884029B1 (en) 1997-06-13 2004-12-22 Gary J. Becker Expandable intraluminal endoprosthesis
CA2241558A1 (en) 1997-06-24 1998-12-24 Advanced Cardiovascular Systems, Inc. Stent with reinforced struts and bimodal deployment
US5980564A (en) 1997-08-01 1999-11-09 Schneider (Usa) Inc. Bioabsorbable implantable endoprosthesis with reservoir
US6245103B1 (en) 1997-08-01 2001-06-12 Schneider (Usa) Inc Bioabsorbable self-expanding stent
US5824059A (en) * 1997-08-05 1998-10-20 Wijay; Bandula Flexible stent
US5935119A (en) 1997-08-06 1999-08-10 United States Surgical Corporation Perfusion structure
US5957975A (en) 1997-12-15 1999-09-28 The Cleveland Clinic Foundation Stent having a programmed pattern of in vivo degradation
US5964798A (en) 1997-12-16 1999-10-12 Cardiovasc, Inc. Stent having high radial strength
US6626939B1 (en) 1997-12-18 2003-09-30 Boston Scientific Scimed, Inc. Stent-graft with bioabsorbable structural support
US6623521B2 (en) * 1998-02-17 2003-09-23 Md3, Inc. Expandable stent with sliding and locking radial elements
US20020038146A1 (en) 1998-07-29 2002-03-28 Ulf Harry Expandable stent with relief cuts for carrying medicines and other materials
US6547814B2 (en) 1998-09-30 2003-04-15 Impra, Inc. Selective adherence of stent-graft coverings
US6293967B1 (en) 1998-10-29 2001-09-25 Conor Medsystems, Inc. Expandable medical device with ductile hinges
US20050033399A1 (en) * 1998-12-03 2005-02-10 Jacob Richter Hybrid stent
US6340366B2 (en) * 1998-12-08 2002-01-22 Bandula Wijay Stent with nested or overlapping rings
US6336937B1 (en) 1998-12-09 2002-01-08 Gore Enterprise Holdings, Inc. Multi-stage expandable stent-graft
US6120847A (en) 1999-01-08 2000-09-19 Scimed Life Systems, Inc. Surface treatment method for stent coating
EP1020166A1 (en) 1999-01-12 2000-07-19 Orbus Medical Technologies, Inc. Expandable intraluminal endoprosthesis
NL1011903C2 (nl) * 1999-02-05 2000-08-08 Surgical Innovations Vof Verwijderbare stent.
US6248363B1 (en) 1999-11-23 2001-06-19 Lipocine, Inc. Solid carriers for improved delivery of active ingredients in pharmaceutical compositions
US6251134B1 (en) 1999-02-28 2001-06-26 Inflow Dynamics Inc. Stent with high longitudinal flexibility
US6325825B1 (en) 1999-04-08 2001-12-04 Cordis Corporation Stent with variable wall thickness
US6258117B1 (en) * 1999-04-15 2001-07-10 Mayo Foundation For Medical Education And Research Multi-section stent
US6224803B1 (en) 1999-04-28 2001-05-01 Advanced Cardiovascular Systems, Inc. Method of forming a thin walled member by extrusion and medical device produced thereby
US6156373A (en) 1999-05-03 2000-12-05 Scimed Life Systems, Inc. Medical device coating methods and devices
US6761784B1 (en) 1999-05-05 2004-07-13 Vision-Ease Lens, Inc. Temporary protective layer on polymeric articles
JP2002543875A (ja) 1999-05-07 2002-12-24 サルヴィアック・リミテッド 塞栓防止器具用の改良型フィルタエレメント
US6409754B1 (en) 1999-07-02 2002-06-25 Scimed Life Systems, Inc. Flexible segmented stent
US6596235B2 (en) 1999-09-30 2003-07-22 Therox, Inc. Method for blood oxygenation
US6338739B1 (en) 1999-12-22 2002-01-15 Ethicon, Inc. Biodegradable stent
EP1132058A1 (en) 2000-03-06 2001-09-12 Advanced Laser Applications Holding S.A. Intravascular prothesis
US20160287708A9 (en) 2000-03-15 2016-10-06 Orbusneich Medical, Inc. Progenitor Endothelial Cell Capturing with a Drug Eluting Implantable Medical Device
DE10012460A1 (de) 2000-03-15 2001-09-20 Biotronik Mess & Therapieg Stent
US6527801B1 (en) 2000-04-13 2003-03-04 Advanced Cardiovascular Systems, Inc. Biodegradable drug delivery material for stent
US6602282B1 (en) 2000-05-04 2003-08-05 Avantec Vascular Corporation Flexible stent structure
US6776796B2 (en) 2000-05-12 2004-08-17 Cordis Corportation Antiinflammatory drug and delivery device
US6395326B1 (en) 2000-05-31 2002-05-28 Advanced Cardiovascular Systems, Inc. Apparatus and method for depositing a coating onto a surface of a prosthesis
WO2001095834A1 (en) 2000-06-13 2001-12-20 Scimed Life Systems, Inc. Disintegrating stent and method of making same
US6805898B1 (en) 2000-09-28 2004-10-19 Advanced Cardiovascular Systems, Inc. Surface features of an implantable medical device
US6764507B2 (en) 2000-10-16 2004-07-20 Conor Medsystems, Inc. Expandable medical device with improved spatial distribution
US20030033007A1 (en) 2000-12-22 2003-02-13 Avantec Vascular Corporation Methods and devices for delivery of therapeutic capable agents with variable release profile
US20030050692A1 (en) 2000-12-22 2003-03-13 Avantec Vascular Corporation Delivery of therapeutic capable agents
US6565599B1 (en) * 2000-12-28 2003-05-20 Advanced Cardiovascular Systems, Inc. Hybrid stent
DE10103000B4 (de) * 2001-01-24 2007-08-30 Qualimed Innovative Medizinprodukte Gmbh Radial reexpandierbare Gefäßstütze
US20040220660A1 (en) 2001-02-05 2004-11-04 Shanley John F. Bioresorbable stent with beneficial agent reservoirs
US6964680B2 (en) * 2001-02-05 2005-11-15 Conor Medsystems, Inc. Expandable medical device with tapered hinge
DE10105160B4 (de) 2001-02-06 2005-09-01 Osypka, Peter, Dr.-Ing. Implantierbare Gefäßstütze
US6540777B2 (en) * 2001-02-15 2003-04-01 Scimed Life Systems, Inc. Locking stent
US6623518B2 (en) * 2001-02-26 2003-09-23 Ev3 Peripheral, Inc. Implant delivery system with interlock
AU2002244164A1 (en) 2001-03-06 2002-09-19 Board Of Regents, The University Of Texas System Apparatus for stent deployment with delivery of bioactive agents
US7048939B2 (en) 2001-04-20 2006-05-23 The Board Of Trustees Of The Leland Stanford Junior University Methods for the inhibition of neointima formation
US6551352B2 (en) 2001-05-03 2003-04-22 Bionx Implants, Inc. Method for attaching axial filaments to a self expanding stent
BR0103255A (pt) 2001-05-16 2003-05-20 Christiane Dias Maues Dispositivo protético tubular cilìndrico; e dispositivo protético com envoltório de capa biológica para liberação de fármacos; e respectivo sistema de delivramento intraluminal
US7862495B2 (en) 2001-05-31 2011-01-04 Advanced Cardiovascular Systems, Inc. Radiation or drug delivery source with activity gradient to minimize edge effects
US6562067B2 (en) * 2001-06-08 2003-05-13 Cordis Corporation Stent with interlocking elements
US6656216B1 (en) 2001-06-29 2003-12-02 Advanced Cardiovascular Systems, Inc. Composite stent with regioselective material
US6585755B2 (en) 2001-06-29 2003-07-01 Advanced Cardiovascular Polymeric stent suitable for imaging by MRI and fluoroscopy
US20030050687A1 (en) 2001-07-03 2003-03-13 Schwade Nathan D. Biocompatible stents and method of deployment
CN1131074C (zh) 2001-08-10 2003-12-17 中国人民解放军总医院 一种用于微创快速血管吻合技术的速溶支架的制备方法
US7285304B1 (en) 2003-06-25 2007-10-23 Advanced Cardiovascular Systems, Inc. Fluid treatment of a polymeric coating on an implantable medical device
US6863683B2 (en) * 2001-09-19 2005-03-08 Abbott Laboratoris Vascular Entities Limited Cold-molding process for loading a stent onto a stent delivery system
EP1304092B1 (en) 2001-10-22 2007-12-05 Terumo Kabushiki Kaisha Stent and method of producing the same
US7572287B2 (en) 2001-10-25 2009-08-11 Boston Scientific Scimed, Inc. Balloon expandable polymer stent with reduced elastic recoil
US8740973B2 (en) 2001-10-26 2014-06-03 Icon Medical Corp. Polymer biodegradable medical device
US20030088307A1 (en) 2001-11-05 2003-05-08 Shulze John E. Potent coatings for stents
JP2003153639A (ja) 2001-11-19 2003-05-27 Kao Corp ペット用トイレ
US7892273B2 (en) 2001-12-03 2011-02-22 Xtent, Inc. Custom length stent apparatus
US20030135266A1 (en) 2001-12-03 2003-07-17 Xtent, Inc. Apparatus and methods for delivery of multiple distributed stents
US20040186551A1 (en) * 2003-01-17 2004-09-23 Xtent, Inc. Multiple independent nested stent structures and methods for their preparation and deployment
US6866805B2 (en) 2001-12-27 2005-03-15 Advanced Cardiovascular Systems, Inc. Hybrid intravascular stent
US6981985B2 (en) * 2002-01-22 2006-01-03 Boston Scientific Scimed, Inc. Stent bumper struts
US7029493B2 (en) 2002-01-25 2006-04-18 Cordis Corporation Stent with enhanced crossability
US7354450B2 (en) 2002-01-30 2008-04-08 Boston Scientific Scimed, Inc. Stent with wishbone connectors and serpentine bands
ATE362741T1 (de) 2002-01-31 2007-06-15 Radi Medical Systems Sich auflösender stent
US20030153971A1 (en) 2002-02-14 2003-08-14 Chandru Chandrasekaran Metal reinforced biodegradable intraluminal stents
US7144420B2 (en) * 2002-03-14 2006-12-05 Boston Scientific Scimed, Inc. Segmented spine
GB0206061D0 (en) * 2002-03-14 2002-04-24 Angiomed Ag Metal structure compatible with MRI imaging, and method of manufacturing such a structure
EP1348402A1 (en) 2002-03-29 2003-10-01 Advanced Laser Applications Holding S.A. Intraluminal endoprosthesis, radially expandable, perforated for drug delivery
US20030195609A1 (en) 2002-04-10 2003-10-16 Scimed Life Systems, Inc. Hybrid stent
US7261734B2 (en) 2002-04-23 2007-08-28 Boston Scientific Scimed, Inc. Resorption-controllable medical implants
US7141063B2 (en) * 2002-08-06 2006-11-28 Icon Medical Corp. Stent with micro-latching hinge joints
US6945995B2 (en) * 2002-08-29 2005-09-20 Boston Scientific Scimed, Inc. Stent overlap point markers
US7758636B2 (en) 2002-09-20 2010-07-20 Innovational Holdings Llc Expandable medical device with openings for delivery of multiple beneficial agents
US20060100695A1 (en) 2002-09-27 2006-05-11 Peacock James C Iii Implantable stent with modified ends
US7223283B2 (en) 2002-10-09 2007-05-29 Boston Scientific Scimed, Inc. Stent with improved flexibility
US7794494B2 (en) 2002-10-11 2010-09-14 Boston Scientific Scimed, Inc. Implantable medical devices
JP3988619B2 (ja) 2002-10-31 2007-10-10 東レ株式会社 ポリ乳酸系樹脂組成物およびそれからなる成形品
US20050187615A1 (en) 2004-02-23 2005-08-25 Williams Michael S. Polymeric endoprostheses with enhanced strength and flexibility and methods of manufacture
US20040111144A1 (en) 2002-12-06 2004-06-10 Lawin Laurie R. Barriers for polymeric coatings
US6863757B1 (en) 2002-12-19 2005-03-08 Advanced Cardiovascular Systems, Inc. Method of making an expandable medical device formed of a compacted porous polymeric material
US7455687B2 (en) 2002-12-30 2008-11-25 Advanced Cardiovascular Systems, Inc. Polymer link hybrid stent
US20040147999A1 (en) 2003-01-24 2004-07-29 Kishore Udipi Stent with epoxy primer coating
US20040167610A1 (en) * 2003-02-26 2004-08-26 Fleming James A. Locking stent
US20080051866A1 (en) * 2003-02-26 2008-02-28 Chao Chin Chen Drug delivery devices and methods
US6920677B2 (en) 2003-02-27 2005-07-26 Medtronic Vascular, Inc. Method for manufacturing an endovascular support device
US7001421B2 (en) 2003-02-28 2006-02-21 Medtronic Vascular, Inc. Stent with phenoxy primer coating
US6932930B2 (en) 2003-03-10 2005-08-23 Synecor, Llc Intraluminal prostheses having polymeric material with selectively modified crystallinity and methods of making same
US20050070996A1 (en) 2003-04-08 2005-03-31 Dinh Thomas Q. Drug-eluting stent for controlled drug delivery
DE602004023708D1 (de) 2003-04-24 2009-12-03 Cook Inc Künstliche klappe für blutgefäss mit verbessertem fliessverhalten
GB0310300D0 (en) 2003-05-06 2003-06-11 Univ Belfast Nanocomposite drug delivery composition
US7235093B2 (en) * 2003-05-20 2007-06-26 Boston Scientific Scimed, Inc. Mechanism to improve stent securement
EP1633410B1 (de) 2003-06-13 2017-05-17 Helmholtz-Zentrum Geesthacht Zentrum für Material- und Küstenforschung GmbH Bioabbaubare stents
AU2004253463B2 (en) 2003-06-16 2010-12-09 Loma Linda University Medical Center Deployable multifunctional hemostatic agent
US20050021131A1 (en) 2003-06-16 2005-01-27 Subramanian Venkatraman Polymeric stent and method of manufacture
WO2005009523A1 (en) 2003-07-18 2005-02-03 Boston Scientific Limited Medical devices
US8029755B2 (en) 2003-08-06 2011-10-04 Angstrom Medica Tricalcium phosphates, their composites, implants incorporating them, and method for their production
US20050060020A1 (en) 2003-09-17 2005-03-17 Scimed Life Systems, Inc. Covered stent with biologically active material
US7247166B2 (en) 2003-09-29 2007-07-24 Advanced Cardiovascular Systems, Inc. Intravascular stent with extendible end rings
US20070219613A1 (en) * 2003-10-06 2007-09-20 Xtent, Inc. Apparatus and methods for interlocking stent segments
US7377939B2 (en) 2003-11-19 2008-05-27 Synecor, Llc Highly convertible endolumenal prostheses and methods of manufacture
US8157855B2 (en) * 2003-12-05 2012-04-17 Boston Scientific Scimed, Inc. Detachable segment stent
US7258697B1 (en) 2003-12-22 2007-08-21 Advanced Cardiovascular Systems, Inc. Stent with anchors to prevent vulnerable plaque rupture during deployment
DE10361940A1 (de) 2003-12-24 2005-07-28 Restate Patent Ag Degradationssteuerung biodegradierbarer Implantate durch Beschichtung
GB0400571D0 (en) * 2004-01-12 2004-02-11 Angiomed Gmbh & Co Implant
DE102004003093B4 (de) * 2004-01-21 2009-01-29 Admedes Schuessler Gmbh Stent zum Einsetzen und Expandieren in einem Lumen
US20050182479A1 (en) * 2004-02-13 2005-08-18 Craig Bonsignore Connector members for stents
US20050222671A1 (en) 2004-03-31 2005-10-06 Schaeffer Darin G Partially biodegradable stent
JP4665109B2 (ja) 2004-04-02 2011-04-06 アルテリアル リモデリング テクノロジーズ, インコーポレイテッド ポリマーベースのステントアセンブリ
US7709570B2 (en) 2004-04-02 2010-05-04 Alps South, LLC Surface modification of triblock copolymer elastomers
JP2005298617A (ja) 2004-04-09 2005-10-27 Mitsubishi Plastics Ind Ltd 射出成形体
US7582110B2 (en) 2004-04-13 2009-09-01 Cook Incorporated Implantable frame with variable compliance
US8007737B2 (en) 2004-04-14 2011-08-30 Wyeth Use of antioxidants to prevent oxidation and reduce drug degradation in drug eluting medical devices
CN1569270B (zh) 2004-04-29 2011-06-29 上海瑞邦生物材料有限公司 一种表面设有药物涂层的心血管支架的制备方法
US20050261757A1 (en) 2004-05-21 2005-11-24 Conor Medsystems, Inc. Stent with contoured bridging element
DE102004027108B4 (de) 2004-06-03 2009-01-22 Osypka, Peter, Dr. Ing. Implantierbare Gefäßstütze, die in zumindest zwei Schritten aufweitbar ist
US8568469B1 (en) * 2004-06-28 2013-10-29 Advanced Cardiovascular Systems, Inc. Stent locking element and a method of securing a stent on a delivery system
US8241554B1 (en) 2004-06-29 2012-08-14 Advanced Cardiovascular Systems, Inc. Method of forming a stent pattern on a tube
US7763065B2 (en) 2004-07-21 2010-07-27 Reva Medical, Inc. Balloon expandable crush-recoverable stent device
US7971333B2 (en) 2006-05-30 2011-07-05 Advanced Cardiovascular Systems, Inc. Manufacturing process for polymetric stents
US8747878B2 (en) 2006-04-28 2014-06-10 Advanced Cardiovascular Systems, Inc. Method of fabricating an implantable medical device by controlling crystalline structure
US8778256B1 (en) 2004-09-30 2014-07-15 Advanced Cardiovascular Systems, Inc. Deformation of a polymer tube in the fabrication of a medical article
US8501079B2 (en) 2009-09-14 2013-08-06 Abbott Cardiovascular Systems Inc. Controlling crystalline morphology of a bioabsorbable stent
US8268228B2 (en) 2007-12-11 2012-09-18 Abbott Cardiovascular Systems Inc. Method of fabricating stents from blow molded tubing
US8747879B2 (en) 2006-04-28 2014-06-10 Advanced Cardiovascular Systems, Inc. Method of fabricating an implantable medical device to reduce chance of late inflammatory response
US7731890B2 (en) 2006-06-15 2010-06-08 Advanced Cardiovascular Systems, Inc. Methods of fabricating stents with enhanced fracture toughness
US20060025852A1 (en) 2004-08-02 2006-02-02 Armstrong Joseph R Bioabsorbable self-expanding endolumenal devices
US7323008B2 (en) * 2004-08-09 2008-01-29 Medtronic Vascular, Inc. Flexible stent
US8366762B2 (en) 2004-08-31 2013-02-05 Advanced Cardiovascular Systems, Inc. Method of making a medical device with regioselective structure-property distribution
US8864820B2 (en) 2004-08-31 2014-10-21 Advanced Cardiovascular Systems, Inc. Selective coating of an implantable medical device
DE102004045224B4 (de) * 2004-09-17 2010-12-30 Thilo Dr. Fliedner Stützprothese
US20060069424A1 (en) * 2004-09-27 2006-03-30 Xtent, Inc. Self-constrained segmented stents and methods for their deployment
US8173062B1 (en) 2004-09-30 2012-05-08 Advanced Cardiovascular Systems, Inc. Controlled deformation of a polymer tube in fabricating a medical article
US8043553B1 (en) 2004-09-30 2011-10-25 Advanced Cardiovascular Systems, Inc. Controlled deformation of a polymer tube with a restraining surface in fabricating a medical article
US7875233B2 (en) 2004-09-30 2011-01-25 Advanced Cardiovascular Systems, Inc. Method of fabricating a biaxially oriented implantable medical device
US20060122694A1 (en) 2004-12-03 2006-06-08 Stinson Jonathan S Medical devices and methods of making the same
US7632307B2 (en) 2004-12-16 2009-12-15 Advanced Cardiovascular Systems, Inc. Abluminal, multilayer coating constructs for drug-delivery stents
US8292944B2 (en) 2004-12-17 2012-10-23 Reva Medical, Inc. Slide-and-lock stent
JP4820551B2 (ja) 2005-01-14 2011-11-24 テルモ株式会社 生体内留置物
EP2361630A1 (en) 2005-02-03 2011-08-31 Intarcia Therapeutics, Inc Implantable drug delivery device comprising particles and an osmotic pump
US8420113B2 (en) 2005-02-10 2013-04-16 Cordis Corporation Biodegradable medical devices with enhanced mechanical strength and pharmacological functions
US8025694B2 (en) * 2005-02-25 2011-09-27 Abbott Laboratories Vascular Enterprises Limited Modular vascular prosthesis and methods of use
US8002818B2 (en) * 2005-02-25 2011-08-23 Abbott Laboratories Vascular Enterprises Limited Modular vascular prosthesis having axially variable properties and improved flexibility and methods of use
US20070213810A1 (en) * 2005-03-14 2007-09-13 Richard Newhauser Segmented endoprosthesis
JP4824747B2 (ja) 2005-03-24 2011-11-30 メドトロニック カルディオ ヴァスキュラー インコーポレイテッド 血管内ステントおよび血管内ステント搬送システム
EP1871383B1 (en) 2005-04-04 2017-11-15 Intersect ENT, Inc. Device and methods for treating paranasal sinus conditions
EP3225216A1 (en) 2005-04-05 2017-10-04 Elixir Medical Corporation Degradable implantable medical devices
US7402168B2 (en) 2005-04-11 2008-07-22 Xtent, Inc. Custom-length stent delivery system with independently operable expansion elements
EP1903999B1 (en) 2005-04-25 2018-11-21 Covidien LP Controlled fracture connections for stents
US7291166B2 (en) 2005-05-18 2007-11-06 Advanced Cardiovascular Systems, Inc. Polymeric stent patterns
US20060271170A1 (en) 2005-05-31 2006-11-30 Gale David C Stent with flexible sections in high strain regions
US20110118827A1 (en) 2005-06-06 2011-05-19 Dr. Tim Wu Biodegradable stent formed with polymer-bioceramic nanoparticle composite and method of making the same
US7622070B2 (en) 2005-06-20 2009-11-24 Advanced Cardiovascular Systems, Inc. Method of manufacturing an implantable polymeric medical device
ATE531345T1 (de) * 2005-07-25 2011-11-15 Invatec Spa Endoluminale prothese
US7658880B2 (en) 2005-07-29 2010-02-09 Advanced Cardiovascular Systems, Inc. Polymeric stent polishing method and apparatus
US9149378B2 (en) * 2005-08-02 2015-10-06 Reva Medical, Inc. Axially nested slide and lock expandable device
US9192494B2 (en) * 2005-08-29 2015-11-24 Advanced Cardiovascular Systems, Inc. Locking polymer stents
US8562666B2 (en) 2005-09-28 2013-10-22 Nitinol Development Corporation Intraluminal medical device with nested interlocking segments
US7563277B2 (en) 2005-10-24 2009-07-21 Cook Incorporated Removable covering for implantable frame projections
US20070100431A1 (en) * 2005-11-03 2007-05-03 Craig Bonsignore Intraluminal medical device with strain concentrating bridge
US8435284B2 (en) * 2005-12-14 2013-05-07 Boston Scientific Scimed, Inc. Telescoping bifurcated stent
EP1976558B1 (en) 2005-12-29 2017-03-15 Boehringer Ingelheim Vetmedica, Inc. Pcv2 immunogenic composition for lessening clinical symptoms in pigs
US8840660B2 (en) 2006-01-05 2014-09-23 Boston Scientific Scimed, Inc. Bioerodible endoprostheses and methods of making the same
CA2640750C (en) 2006-02-07 2013-12-17 Tepha, Inc. Polymeric, degradable drug-eluting stents and coatings comprising copolymers or homopolymers of 4-hydroxybutyrate
US20090076594A1 (en) 2006-03-14 2009-03-19 Patrick Sabaria Method of monitoring positioning of polymer stents
WO2007112064A2 (en) 2006-03-24 2007-10-04 Prescient Medical Inc Conformable vascular prosthesis delivery system
US7964210B2 (en) 2006-03-31 2011-06-21 Abbott Cardiovascular Systems Inc. Degradable polymeric implantable medical devices with a continuous phase and discrete phase
US8652192B2 (en) 2006-03-31 2014-02-18 St. Jude Medical, Cardiology Division, Inc. Stent and system and method for deploying a stent
AU2007237116B2 (en) 2006-04-12 2012-09-27 Sahajanand Medical Technologies Private Limited Improved methods of polymeric stent surface smoothing and resurfacing to reduce biologically active sites
US20130190676A1 (en) 2006-04-20 2013-07-25 Limflow Gmbh Devices and methods for fluid flow through body passages
US8003156B2 (en) 2006-05-04 2011-08-23 Advanced Cardiovascular Systems, Inc. Rotatable support elements for stents
US7594928B2 (en) 2006-05-17 2009-09-29 Boston Scientific Scimed, Inc. Bioabsorbable stents with reinforced filaments
US7761968B2 (en) 2006-05-25 2010-07-27 Advanced Cardiovascular Systems, Inc. Method of crimping a polymeric stent
US7842737B2 (en) 2006-09-29 2010-11-30 Abbott Cardiovascular Systems Inc. Polymer blend-bioceramic composite implantable medical devices
US8343530B2 (en) 2006-05-30 2013-01-01 Abbott Cardiovascular Systems Inc. Polymer-and polymer blend-bioceramic composite implantable medical devices
US20070282434A1 (en) 2006-05-30 2007-12-06 Yunbing Wang Copolymer-bioceramic composite implantable medical devices
US7959940B2 (en) 2006-05-30 2011-06-14 Advanced Cardiovascular Systems, Inc. Polymer-bioceramic composite implantable medical devices
US20070281117A1 (en) 2006-06-02 2007-12-06 Xtent, Inc. Use of plasma in formation of biodegradable stent coating
US20070286941A1 (en) 2006-06-13 2007-12-13 Bin Huang Surface treatment of a polymeric stent
US8535372B1 (en) 2006-06-16 2013-09-17 Abbott Cardiovascular Systems Inc. Bioabsorbable stent with prohealing layer
US20070290412A1 (en) 2006-06-19 2007-12-20 John Capek Fabricating a stent with selected properties in the radial and axial directions
WO2008002441A2 (en) 2006-06-23 2008-01-03 Boston Scientific Limited Bifurcated stent with twisted hinges
US9072820B2 (en) 2006-06-26 2015-07-07 Advanced Cardiovascular Systems, Inc. Polymer composite stent with polymer particles
US20080001330A1 (en) 2006-06-28 2008-01-03 Bin Huang Fabricating polymer stents with injection molding
US7740791B2 (en) 2006-06-30 2010-06-22 Advanced Cardiovascular Systems, Inc. Method of fabricating a stent with features by blow molding
US20080077231A1 (en) 2006-07-06 2008-03-27 Prescient Medical, Inc. Expandable vascular endoluminal prostheses
US20080243243A1 (en) 2006-07-07 2008-10-02 Williams Stuart K Implantable medical articles having pro-healing coatings
GB0613670D0 (en) * 2006-07-10 2006-08-16 Angiomed Ag Tubular metal prosthesis and method of making it
US9089627B2 (en) 2006-07-11 2015-07-28 Abbott Cardiovascular Systems Inc. Stent fabricated from polymer composite toughened by a dispersed phase
US7794495B2 (en) 2006-07-17 2010-09-14 Advanced Cardiovascular Systems, Inc. Controlled degradation of stents
US8460364B2 (en) * 2006-07-20 2013-06-11 Orbusneich Medical, Inc. Bioabsorbable polymeric medical device
US20080033540A1 (en) 2006-08-01 2008-02-07 Yunbing Wang Methods to prepare polymer blend implantable medical devices
US8016879B2 (en) 2006-08-01 2011-09-13 Abbott Cardiovascular Systems Inc. Drug delivery after biodegradation of the stent scaffolding
US9265866B2 (en) 2006-08-01 2016-02-23 Abbott Cardiovascular Systems Inc. Composite polymeric and metallic stent with radiopacity
EP2054537A2 (en) 2006-08-02 2009-05-06 Boston Scientific Scimed, Inc. Endoprosthesis with three-dimensional disintegration control
US8062465B1 (en) 2006-08-02 2011-11-22 Abbott Cardiovascular Systems Inc. Methods for improved stent retention
US7923022B2 (en) 2006-09-13 2011-04-12 Advanced Cardiovascular Systems, Inc. Degradable polymeric implantable medical devices with continuous phase and discrete phase
US8057534B2 (en) 2006-09-15 2011-11-15 Boston Scientific Scimed, Inc. Bioerodible endoprostheses and methods of making the same
WO2008051867A2 (en) 2006-10-20 2008-05-02 Elixir Medical Corporation Luminal prostheses and methods for coating thereof
JP5327971B2 (ja) 2006-10-21 2013-10-30 セロノヴァ・ステント・インコーポレーテッド 変形可能な内腔支持器具及びその使用方法
US20080097580A1 (en) 2006-10-23 2008-04-24 Vipul Bhupendra Dave Morphological structures for polymeric drug delivery devices
US20080103584A1 (en) 2006-10-25 2008-05-01 Biosensors International Group Temporal Intraluminal Stent, Methods of Making and Using
US8636787B2 (en) 2006-10-25 2014-01-28 Arterial Remodeling Technologies, S.A. Method for expansion and deployment of polymeric structures including stents
US9192471B2 (en) 2007-01-08 2015-11-24 Millipede, Inc. Device for translumenal reshaping of a mitral valve annulus
FR2911063B1 (fr) 2007-01-09 2009-03-20 Stentys S A S Soc Par Actions Structure de pont ruptible pour un stent, et stent incluant de telles structures de pont.
CN100586520C (zh) 2007-01-18 2010-02-03 赖英光 组合式滑梯与爬梯
US20150374521A1 (en) 2008-01-17 2015-12-31 Elixir Medical Corporation Biodegradable endoprostheses and methods for their fabrication
US20080177373A1 (en) 2007-01-19 2008-07-24 Elixir Medical Corporation Endoprosthesis structures having supporting features
US8814930B2 (en) 2007-01-19 2014-08-26 Elixir Medical Corporation Biodegradable endoprosthesis and methods for their fabrication
US20160213499A1 (en) * 2007-01-19 2016-07-28 Elixir Medical Corporation Biodegradable endoprostheses and methods for their fabrication
US20130150943A1 (en) 2007-01-19 2013-06-13 Elixir Medical Corporation Biodegradable endoprostheses and methods for their fabrication
US7704275B2 (en) * 2007-01-26 2010-04-27 Reva Medical, Inc. Circumferentially nested expandable device
US20080249608A1 (en) 2007-04-04 2008-10-09 Vipul Dave Bioabsorbable Polymer, Bioabsorbable Composite Stents
US8002817B2 (en) 2007-05-04 2011-08-23 Abbott Cardiovascular Systems Inc. Stents with high radial strength and methods of manufacturing same
US8128679B2 (en) 2007-05-23 2012-03-06 Abbott Laboratories Vascular Enterprises Limited Flexible stent with torque-absorbing connectors
US7829008B2 (en) 2007-05-30 2010-11-09 Abbott Cardiovascular Systems Inc. Fabricating a stent from a blow molded tube
US8328867B2 (en) 2007-06-08 2012-12-11 Medtronic Vascular, Inc. Drug loaded implantable medical device
EP2166983A4 (en) * 2007-06-22 2012-08-22 Bard Inc C R ADVANCED STENT PROSTHESIS WITH BLOCKED SEGMENTS
US7666342B2 (en) 2007-06-29 2010-02-23 Abbott Cardiovascular Systems Inc. Method of manufacturing a stent from a polymer tube
US20110130822A1 (en) * 2007-07-20 2011-06-02 Orbusneich Medical, Inc. Bioabsorbable Polymeric Compositions and Medical Devices
DE102007034364A1 (de) 2007-07-24 2009-01-29 Biotronik Vi Patent Ag Degradierbarer Metallstent mit wirkstoffhaltiger Beschichtung
US9566178B2 (en) * 2010-06-24 2017-02-14 Edwards Lifesciences Cardiaq Llc Actively controllable stent, stent graft, heart valve and method of controlling same
US7988723B2 (en) * 2007-08-02 2011-08-02 Flexible Stenting Solutions, Inc. Flexible stent
WO2009020520A1 (en) 2007-08-03 2009-02-12 Boston Scientific Scimed, Inc. Coating for medical device having increased surface area
US20090076584A1 (en) * 2007-09-19 2009-03-19 Xtent, Inc. Apparatus and methods for deployment of multiple custom-length prostheses
US8709071B1 (en) 2007-09-28 2014-04-29 Abbott Cardiovascular Systems Inc. Stent with preferential coating
US8066757B2 (en) 2007-10-17 2011-11-29 Mindframe, Inc. Blood flow restoration and thrombus management methods
US20090111787A1 (en) 2007-10-31 2009-04-30 Florencia Lim Polymer blends for drug delivery stent matrix with improved thermal stability
US7824601B1 (en) 2007-11-14 2010-11-02 Abbott Cardiovascular Systems Inc. Process of making a tubular implantable medical device
WO2009069113A1 (en) * 2007-11-28 2009-06-04 The Provost, Fellows And Scholars Of The College Of The Holy And Undivided Trinity Of Queen Elizabeth Near Dublin A luminal prosthesis
EP2211773A4 (en) * 2007-11-30 2015-07-29 Reva Medical Inc AXIAL-RADIAL NESTED EXPANDABLE DEVICE
US20090234429A1 (en) * 2008-02-07 2009-09-17 Lilip Lau Self-restraining endoluminal prosthesis
US9004182B2 (en) * 2008-02-15 2015-04-14 Baker Hughes Incorporated Expandable downhole actuator, method of making and method of actuating
US8414638B2 (en) * 2008-03-12 2013-04-09 Abbott Cardiovascular Systems Inc. Method for fabricating a polymer stent with break-away links for enhanced stent retenton
US8252215B2 (en) 2008-03-31 2012-08-28 Abbott Cardiovascular Systems Inc. Method for fabricating a stent with nucleating agent
WO2009147653A1 (en) * 2008-06-05 2009-12-10 Provost Fellows And Scholars Of The College Of The Holy And Undivided Trinity Of Queen Elizabeth Near Dublin A delivery system for multiple stents
WO2009152376A1 (en) 2008-06-12 2009-12-17 Elixir Medical Corporation Intravascular stent
US20110260352A1 (en) 2010-04-21 2011-10-27 Fuh-Wei Tang Stabilizing Semi-Crystalline Polymers To Improve Storage Performance Of Medical Devices
US8394317B2 (en) 2008-08-11 2013-03-12 Abbott Cardiovascular Systems Inc. Method of improving fracture toughness of implantable medical devices through annealing
US8765040B2 (en) 2008-08-11 2014-07-01 Abbott Cardiovascular Systems Inc. Medical device fabrication process including strain induced crystallization with enhanced crystallization
US8372332B2 (en) 2008-08-11 2013-02-12 Abbott Cardiovascular Systems Inc. Fabricating an implantable medical device from an amorphous or very low crystallinity polymer construct
US8337739B2 (en) 2008-08-12 2012-12-25 Abbott Cardiovascular Systems Inc. Improving fracture toughness of medical devices with a stereocomplex nucleating agent
DE102008038367A1 (de) 2008-08-19 2010-02-25 Biotronik Vi Patent Ag Stent und Verfahren und Vorrichtung zur Herstellung des Stents
EP2331014B1 (en) * 2008-10-10 2017-08-09 Reva Medical, Inc. Expandable slide and lock stent
US9572692B2 (en) 2009-02-02 2017-02-21 Abbott Cardiovascular Systems Inc. Bioabsorbable stent that modulates plaque geometric morphology and chemical composition
US8872062B2 (en) 2009-02-03 2014-10-28 Abbott Cardiovascular Systems Inc. Laser cutting process for forming stents
US20100217370A1 (en) 2009-02-20 2010-08-26 Boston Scientific Scimed, Inc. Bioerodible Endoprosthesis
US8435281B2 (en) 2009-04-10 2013-05-07 Boston Scientific Scimed, Inc. Bioerodible, implantable medical devices incorporating supersaturated magnesium alloys
US9492587B2 (en) 2009-04-13 2016-11-15 Abbott Cardiovascular Systems Inc. Stent made from an ultra high molecular weight bioabsorbable polymer with high fatigue and fracture resistance
EP3858299B1 (en) 2009-05-20 2025-10-08 Lyra Therapeutics, Inc. Method of loading a self-expanding implant
US8119704B2 (en) 2009-07-21 2012-02-21 Abbott Cardiovascular Systems Inc. Implantable medical device comprising copolymer of L-lactide with improved fracture toughness
WO2011025945A1 (en) 2009-08-27 2011-03-03 Medtronic Inc. Transcatheter valve delivery systems and methods
DE202009012562U1 (de) * 2009-09-16 2009-12-17 Bentley Surgical Gmbh Stent mit Dehnelementen
US8425587B2 (en) * 2009-09-17 2013-04-23 Abbott Cardiovascular Systems Inc. Method of treatment with a bioabsorbable stent with time dependent structure and properties and regio-selective degradation
US8562670B2 (en) 2010-04-01 2013-10-22 Abbott Cardiovascular Systems Inc. Implantable prosthesis with depot retention feature
US8613880B2 (en) 2010-04-21 2013-12-24 Abbott Cardiovascular Systems Inc. Post electron beam conditioning of polymeric medical devices
US20130178928A1 (en) * 2010-09-13 2013-07-11 Rajnikant Gandalal Vyas Stents with low strut thickness and variable strut geometry
US9345602B2 (en) 2010-09-23 2016-05-24 Abbott Cardiovascular Systems Inc. Processes for making crush recoverable polymer scaffolds
US8956403B2 (en) 2010-10-18 2015-02-17 Boston Scientific Scimed, Inc. Medical implant including a magnesium-based tie layer
US20120191177A1 (en) * 2011-01-20 2012-07-26 Medtronic Vascular, Inc. Tubular Helical Stent With Rotatable Connections and Method of Making
US9220615B2 (en) * 2011-02-23 2015-12-29 Celonova Stent, Inc. Stent having at least one connecting member configured to controllably sever in vivo
DE202011003403U1 (de) * 2011-03-01 2011-05-19 Osypka Ag, 79618 Gefäßstütze mit Sollbruchstelle
US8834776B2 (en) 2011-05-10 2014-09-16 Abbott Cardiovascular Systems Inc. Control of degradation profile of bioabsorbable poly(l-lactide) scaffold
US8709070B2 (en) 2011-05-10 2014-04-29 Abbott Cardiovascular Systems Inc. Bioabsorbable scaffold with particles providing delayed acceleration of degradation
US8545546B2 (en) 2011-05-13 2013-10-01 Abbott Cardiovascular Systems Inc. Bioabsorbable scaffolds made from composites
EP2726015B1 (en) * 2011-06-30 2019-06-19 Elixir Medical Corporation Biodegradable endoprostheses and methods for their fabrication
US20130085564A1 (en) 2011-10-03 2013-04-04 Abbott Cardiovascular Systems Inc. Modified scaffolds for peripheral applications
DE202012002340U1 (de) 2012-03-03 2012-04-16 Peter Osypka Gefäßstütze hoher Flexibilität mit Sollbruchstelle
US9498359B2 (en) 2012-07-13 2016-11-22 Abbott Cardiovascular Systems Inc. Polymer scaffolds for peripheral vessels
US8968387B2 (en) 2012-07-23 2015-03-03 Abbott Cardiovascular Systems Inc. Shape memory bioresorbable polymer peripheral scaffolds
US8834556B2 (en) 2012-08-13 2014-09-16 Abbott Cardiovascular Systems Inc. Segmented scaffold designs
KR101231197B1 (ko) 2012-09-20 2013-02-07 썬텍 주식회사 고분자 스텐트
GB2512016A (en) 2012-09-24 2014-09-24 Arterius Ltd Methods
US9956097B2 (en) 2012-10-23 2018-05-01 Abbott Cardiovascular Systems Inc. Methods for vascular restoration therapy
WO2014091438A2 (en) 2012-12-12 2014-06-19 Shalya Medical Technologies, (India) Pvt. Ltd An improved bioresorbable polymeric vascular stent device
US9655756B2 (en) * 2012-12-21 2017-05-23 Cook Medical Technologies Llc Systems and methods for deploying a portion of a stent using an auger-style device
EP2799036A1 (de) * 2013-04-02 2014-11-05 Biotronik AG Intraluminale Endoprothese und Verfahren zur Herstellung desselbe
US10039656B2 (en) * 2013-06-05 2018-08-07 Abbott Cardiovascular Systems Inc. Coupled scaffold segments
US10143572B2 (en) 2013-09-04 2018-12-04 Abbott Cardiovascular Systems Inc. Assessment of a drug eluting bioresorbable vascular scaffold
JP6082472B2 (ja) * 2013-09-27 2017-02-15 テルモ株式会社 ステント
JP6632143B2 (ja) * 2014-07-04 2020-01-15 国立大学法人山口大学 ラチェット付きポリマーステント
US9180005B1 (en) 2014-07-17 2015-11-10 Millipede, Inc. Adjustable endolumenal mitral valve ring
US9855156B2 (en) 2014-08-15 2018-01-02 Elixir Medical Corporation Biodegradable endoprostheses and methods of their fabrication
US9259339B1 (en) 2014-08-15 2016-02-16 Elixir Medical Corporation Biodegradable endoprostheses and methods of their fabrication
US9730819B2 (en) 2014-08-15 2017-08-15 Elixir Medical Corporation Biodegradable endoprostheses and methods of their fabrication
US9480588B2 (en) 2014-08-15 2016-11-01 Elixir Medical Corporation Biodegradable endoprostheses and methods of their fabrication
AU2016225552B2 (en) * 2015-02-27 2018-05-17 Terumo Kabushiki Kaisha Stent and method of manufacturing stent
JP2017164323A (ja) * 2016-03-16 2017-09-21 テルモ株式会社 ステント
WO2019033121A1 (en) 2017-08-11 2019-02-14 Elixir Medical Corporation RELEASE OF STENT
EP3861961B1 (en) 2016-05-16 2025-11-12 Elixir Medical Corporation Uncaging stent
JP2018046934A (ja) * 2016-09-20 2018-03-29 テルモ株式会社 ステント

Patent Citations (4)

* Cited by examiner, † Cited by third party
Publication number Priority date Publication date Assignee Title
JP2009530060A (ja) 2006-03-20 2009-08-27 エックステント・インコーポレーテッド 連結されたプロテーゼセグメントの展開装置及び方法
US20110060401A1 (en) 2007-02-16 2011-03-10 Universität Zürich Tubular Supporting Prosthesis Capable of Growing
WO2009041664A1 (ja) 2007-09-27 2009-04-02 Terumo Kabushiki Kaisha ステントおよび生体器官拡張器具
US20110224777A1 (en) 2008-09-15 2011-09-15 Randolf Von Oepen Stent with independent stent rings and transitional attachments

Also Published As

Publication number Publication date
CN109561955B (zh) 2021-04-16
US20170290686A1 (en) 2017-10-12
JP2021087886A (ja) 2021-06-10
JP2019520116A (ja) 2019-07-18
US10076431B2 (en) 2018-09-18
EP3457985A4 (en) 2020-01-22
EP3861961B1 (en) 2025-11-12
JP6963566B2 (ja) 2021-11-10
JP2022017452A (ja) 2022-01-25
EP3457985B1 (en) 2021-02-17
JP2022076014A (ja) 2022-05-18
JP2023165987A (ja) 2023-11-17
CN113143536B (zh) 2022-08-30
JP2025062612A (ja) 2025-04-14
US20190365548A1 (en) 2019-12-05
US10786374B2 (en) 2020-09-29
JP7029019B2 (ja) 2022-03-02
JP7478110B2 (ja) 2024-05-02
EP3457985A1 (en) 2019-03-27
US10271976B2 (en) 2019-04-30
CN109561955A (zh) 2019-04-02
JP2025172814A (ja) 2025-11-26
CN113143536A (zh) 2021-07-23
US20180200091A1 (en) 2018-07-19
EP3861961A1 (en) 2021-08-11
ES2873887T3 (es) 2021-11-04
US9943426B2 (en) 2018-04-17
WO2017200956A1 (en) 2017-11-23
US10383750B1 (en) 2019-08-20
US20180318113A1 (en) 2018-11-08
US20190231564A1 (en) 2019-08-01

Similar Documents

Publication Publication Date Title
JP7586848B2 (ja) アンケージングステント
JP7220201B2 (ja) 離脱式ステント
US12011378B2 (en) Uncaging stent
US20230201014A1 (en) Uncaging stent

Legal Events

Date Code Title Description
A621 Written request for application examination

Free format text: JAPANESE INTERMEDIATE CODE: A621

Effective date: 20220328

A131 Notification of reasons for refusal

Free format text: JAPANESE INTERMEDIATE CODE: A131

Effective date: 20221202

A521 Request for written amendment filed

Free format text: JAPANESE INTERMEDIATE CODE: A523

Effective date: 20230301

A02 Decision of refusal

Free format text: JAPANESE INTERMEDIATE CODE: A02

Effective date: 20230628

A521 Request for written amendment filed

Free format text: JAPANESE INTERMEDIATE CODE: A523

Effective date: 20231011

A911 Transfer to examiner for re-examination before appeal (zenchi)

Free format text: JAPANESE INTERMEDIATE CODE: A911

Effective date: 20231018

A912 Re-examination (zenchi) completed and case transferred to appeal board

Free format text: JAPANESE INTERMEDIATE CODE: A912

Effective date: 20231222

A61 First payment of annual fees (during grant procedure)

Free format text: JAPANESE INTERMEDIATE CODE: A61

Effective date: 20241107

R150 Certificate of patent or registration of utility model

Ref document number: 7586848

Country of ref document: JP

Free format text: JAPANESE INTERMEDIATE CODE: R150