JP7584573B2 - ラチェット式安全タブ、ラチェット式安全タブ注射器システム、ラチェット式安全タブ注射器システムを動作させる方法、注射器から投与された流体の流れパラメータを決定する方法、一体型一方向弁デュアルステージ注射器、および、一体型一方向弁デュアルステージ注射器を操作する方法 - Google Patents

ラチェット式安全タブ、ラチェット式安全タブ注射器システム、ラチェット式安全タブ注射器システムを動作させる方法、注射器から投与された流体の流れパラメータを決定する方法、一体型一方向弁デュアルステージ注射器、および、一体型一方向弁デュアルステージ注射器を操作する方法 Download PDF

Info

Publication number
JP7584573B2
JP7584573B2 JP2023097742A JP2023097742A JP7584573B2 JP 7584573 B2 JP7584573 B2 JP 7584573B2 JP 2023097742 A JP2023097742 A JP 2023097742A JP 2023097742 A JP2023097742 A JP 2023097742A JP 7584573 B2 JP7584573 B2 JP 7584573B2
Authority
JP
Japan
Prior art keywords
syringe
plunger
dual
stage
primary
Prior art date
Legal status (The legal status is an assumption and is not a legal conclusion. Google has not performed a legal analysis and makes no representation as to the accuracy of the status listed.)
Active
Application number
JP2023097742A
Other languages
English (en)
Other versions
JP2023113944A (ja
Inventor
アケレレ-アレ,オラディポ・ピーター
ヘバート,ケイシー・タイラー
キングマン,アマンダ
パーマー,アレックス
パーメンティア,ビル
シモンズ,ブランドン・デービッド
ライト,マーク・ニコラス
Original Assignee
バード・ペリフェラル・バスキュラー・インコーポレーテッド
Priority date (The priority date is an assumption and is not a legal conclusion. Google has not performed a legal analysis and makes no representation as to the accuracy of the date listed.)
Filing date
Publication date
Priority claimed from PCT/US2019/032983 external-priority patent/WO2019222699A1/en
Application filed by バード・ペリフェラル・バスキュラー・インコーポレーテッド filed Critical バード・ペリフェラル・バスキュラー・インコーポレーテッド
Publication of JP2023113944A publication Critical patent/JP2023113944A/ja
Priority to JP2024136972A priority Critical patent/JP2024161511A/ja
Application granted granted Critical
Publication of JP7584573B2 publication Critical patent/JP7584573B2/ja
Active legal-status Critical Current
Anticipated expiration legal-status Critical

Links

Images

Classifications

    • AHUMAN NECESSITIES
    • A61MEDICAL OR VETERINARY SCIENCE; HYGIENE
    • A61MDEVICES FOR INTRODUCING MEDIA INTO, OR ONTO, THE BODY; DEVICES FOR TRANSDUCING BODY MEDIA OR FOR TAKING MEDIA FROM THE BODY; DEVICES FOR PRODUCING OR ENDING SLEEP OR STUPOR
    • A61M39/00Tubes, tube connectors, tube couplings, valves, access sites or the like, specially adapted for medical use
    • A61M39/10Tube connectors; Tube couplings
    • A61M39/1011Locking means for securing connection; Additional tamper safeties
    • AHUMAN NECESSITIES
    • A61MEDICAL OR VETERINARY SCIENCE; HYGIENE
    • A61KPREPARATIONS FOR MEDICAL, DENTAL OR TOILETRY PURPOSES
    • A61K51/00Preparations containing radioactive substances for use in therapy or testing in vivo
    • A61K51/12Preparations containing radioactive substances for use in therapy or testing in vivo characterised by a special physical form, e.g. emulsion, microcapsules, liposomes, characterized by a special physical form, e.g. emulsions, dispersions, microcapsules
    • A61K51/1241Preparations containing radioactive substances for use in therapy or testing in vivo characterised by a special physical form, e.g. emulsion, microcapsules, liposomes, characterized by a special physical form, e.g. emulsions, dispersions, microcapsules particles, powders, lyophilizates, adsorbates, e.g. polymers or resins for adsorption or ion-exchange resins
    • AHUMAN NECESSITIES
    • A61MEDICAL OR VETERINARY SCIENCE; HYGIENE
    • A61KPREPARATIONS FOR MEDICAL, DENTAL OR TOILETRY PURPOSES
    • A61K51/00Preparations containing radioactive substances for use in therapy or testing in vivo
    • A61K51/12Preparations containing radioactive substances for use in therapy or testing in vivo characterised by a special physical form, e.g. emulsion, microcapsules, liposomes, characterized by a special physical form, e.g. emulsions, dispersions, microcapsules
    • A61K51/1241Preparations containing radioactive substances for use in therapy or testing in vivo characterised by a special physical form, e.g. emulsion, microcapsules, liposomes, characterized by a special physical form, e.g. emulsions, dispersions, microcapsules particles, powders, lyophilizates, adsorbates, e.g. polymers or resins for adsorption or ion-exchange resins
    • A61K51/1244Preparations containing radioactive substances for use in therapy or testing in vivo characterised by a special physical form, e.g. emulsion, microcapsules, liposomes, characterized by a special physical form, e.g. emulsions, dispersions, microcapsules particles, powders, lyophilizates, adsorbates, e.g. polymers or resins for adsorption or ion-exchange resins microparticles or nanoparticles, e.g. polymeric nanoparticles
    • AHUMAN NECESSITIES
    • A61MEDICAL OR VETERINARY SCIENCE; HYGIENE
    • A61KPREPARATIONS FOR MEDICAL, DENTAL OR TOILETRY PURPOSES
    • A61K51/00Preparations containing radioactive substances for use in therapy or testing in vivo
    • A61K51/12Preparations containing radioactive substances for use in therapy or testing in vivo characterised by a special physical form, e.g. emulsion, microcapsules, liposomes, characterized by a special physical form, e.g. emulsions, dispersions, microcapsules
    • A61K51/1241Preparations containing radioactive substances for use in therapy or testing in vivo characterised by a special physical form, e.g. emulsion, microcapsules, liposomes, characterized by a special physical form, e.g. emulsions, dispersions, microcapsules particles, powders, lyophilizates, adsorbates, e.g. polymers or resins for adsorption or ion-exchange resins
    • A61K51/1244Preparations containing radioactive substances for use in therapy or testing in vivo characterised by a special physical form, e.g. emulsion, microcapsules, liposomes, characterized by a special physical form, e.g. emulsions, dispersions, microcapsules particles, powders, lyophilizates, adsorbates, e.g. polymers or resins for adsorption or ion-exchange resins microparticles or nanoparticles, e.g. polymeric nanoparticles
    • A61K51/1251Preparations containing radioactive substances for use in therapy or testing in vivo characterised by a special physical form, e.g. emulsion, microcapsules, liposomes, characterized by a special physical form, e.g. emulsions, dispersions, microcapsules particles, powders, lyophilizates, adsorbates, e.g. polymers or resins for adsorption or ion-exchange resins microparticles or nanoparticles, e.g. polymeric nanoparticles micro- or nanospheres, micro- or nanobeads, micro- or nanocapsules
    • AHUMAN NECESSITIES
    • A61MEDICAL OR VETERINARY SCIENCE; HYGIENE
    • A61KPREPARATIONS FOR MEDICAL, DENTAL OR TOILETRY PURPOSES
    • A61K51/00Preparations containing radioactive substances for use in therapy or testing in vivo
    • A61K51/12Preparations containing radioactive substances for use in therapy or testing in vivo characterised by a special physical form, e.g. emulsion, microcapsules, liposomes, characterized by a special physical form, e.g. emulsions, dispersions, microcapsules
    • A61K51/1241Preparations containing radioactive substances for use in therapy or testing in vivo characterised by a special physical form, e.g. emulsion, microcapsules, liposomes, characterized by a special physical form, e.g. emulsions, dispersions, microcapsules particles, powders, lyophilizates, adsorbates, e.g. polymers or resins for adsorption or ion-exchange resins
    • A61K51/1255Granulates, agglomerates, microspheres
    • AHUMAN NECESSITIES
    • A61MEDICAL OR VETERINARY SCIENCE; HYGIENE
    • A61MDEVICES FOR INTRODUCING MEDIA INTO, OR ONTO, THE BODY; DEVICES FOR TRANSDUCING BODY MEDIA OR FOR TAKING MEDIA FROM THE BODY; DEVICES FOR PRODUCING OR ENDING SLEEP OR STUPOR
    • A61M25/00Catheters; Hollow probes
    • A61M25/0009Making of catheters or other medical or surgical tubes
    • A61M25/0012Making of catheters or other medical or surgical tubes with embedded structures, e.g. coils, braids, meshes, strands or radiopaque coils
    • AHUMAN NECESSITIES
    • A61MEDICAL OR VETERINARY SCIENCE; HYGIENE
    • A61MDEVICES FOR INTRODUCING MEDIA INTO, OR ONTO, THE BODY; DEVICES FOR TRANSDUCING BODY MEDIA OR FOR TAKING MEDIA FROM THE BODY; DEVICES FOR PRODUCING OR ENDING SLEEP OR STUPOR
    • A61M25/00Catheters; Hollow probes
    • A61M25/0021Catheters; Hollow probes characterised by the form of the tubing
    • AHUMAN NECESSITIES
    • A61MEDICAL OR VETERINARY SCIENCE; HYGIENE
    • A61MDEVICES FOR INTRODUCING MEDIA INTO, OR ONTO, THE BODY; DEVICES FOR TRANSDUCING BODY MEDIA OR FOR TAKING MEDIA FROM THE BODY; DEVICES FOR PRODUCING OR ENDING SLEEP OR STUPOR
    • A61M25/00Catheters; Hollow probes
    • A61M25/0021Catheters; Hollow probes characterised by the form of the tubing
    • A61M25/0023Catheters; Hollow probes characterised by the form of the tubing by the form of the lumen, e.g. cross-section, variable diameter
    • A61M25/0026Multi-lumen catheters with stationary elements
    • A61M25/003Multi-lumen catheters with stationary elements characterized by features relating to least one lumen located at the distal part of the catheter, e.g. filters, plugs or valves
    • AHUMAN NECESSITIES
    • A61MEDICAL OR VETERINARY SCIENCE; HYGIENE
    • A61MDEVICES FOR INTRODUCING MEDIA INTO, OR ONTO, THE BODY; DEVICES FOR TRANSDUCING BODY MEDIA OR FOR TAKING MEDIA FROM THE BODY; DEVICES FOR PRODUCING OR ENDING SLEEP OR STUPOR
    • A61M25/00Catheters; Hollow probes
    • A61M25/0067Catheters; Hollow probes characterised by the distal end, e.g. tips
    • A61M25/0068Static characteristics of the catheter tip, e.g. shape, atraumatic tip, curved tip or tip structure
    • A61M25/0071Multiple separate lumens
    • AHUMAN NECESSITIES
    • A61MEDICAL OR VETERINARY SCIENCE; HYGIENE
    • A61MDEVICES FOR INTRODUCING MEDIA INTO, OR ONTO, THE BODY; DEVICES FOR TRANSDUCING BODY MEDIA OR FOR TAKING MEDIA FROM THE BODY; DEVICES FOR PRODUCING OR ENDING SLEEP OR STUPOR
    • A61M25/00Catheters; Hollow probes
    • A61M25/0067Catheters; Hollow probes characterised by the distal end, e.g. tips
    • A61M25/008Strength or flexibility characteristics of the catheter tip
    • AHUMAN NECESSITIES
    • A61MEDICAL OR VETERINARY SCIENCE; HYGIENE
    • A61MDEVICES FOR INTRODUCING MEDIA INTO, OR ONTO, THE BODY; DEVICES FOR TRANSDUCING BODY MEDIA OR FOR TAKING MEDIA FROM THE BODY; DEVICES FOR PRODUCING OR ENDING SLEEP OR STUPOR
    • A61M25/00Catheters; Hollow probes
    • A61M25/0067Catheters; Hollow probes characterised by the distal end, e.g. tips
    • A61M25/0082Catheter tip comprising a tool
    • AHUMAN NECESSITIES
    • A61MEDICAL OR VETERINARY SCIENCE; HYGIENE
    • A61MDEVICES FOR INTRODUCING MEDIA INTO, OR ONTO, THE BODY; DEVICES FOR TRANSDUCING BODY MEDIA OR FOR TAKING MEDIA FROM THE BODY; DEVICES FOR PRODUCING OR ENDING SLEEP OR STUPOR
    • A61M25/00Catheters; Hollow probes
    • A61M25/01Introducing, guiding, advancing, emplacing or holding catheters
    • A61M25/0105Steering means as part of the catheter or advancing means; Markers for positioning
    • A61M25/0108Steering means as part of the catheter or advancing means; Markers for positioning using radio-opaque or ultrasound markers
    • AHUMAN NECESSITIES
    • A61MEDICAL OR VETERINARY SCIENCE; HYGIENE
    • A61MDEVICES FOR INTRODUCING MEDIA INTO, OR ONTO, THE BODY; DEVICES FOR TRANSDUCING BODY MEDIA OR FOR TAKING MEDIA FROM THE BODY; DEVICES FOR PRODUCING OR ENDING SLEEP OR STUPOR
    • A61M25/00Catheters; Hollow probes
    • A61M25/01Introducing, guiding, advancing, emplacing or holding catheters
    • A61M25/0105Steering means as part of the catheter or advancing means; Markers for positioning
    • A61M25/0133Tip steering devices
    • A61M25/0147Tip steering devices with movable mechanical means, e.g. pull wires
    • AHUMAN NECESSITIES
    • A61MEDICAL OR VETERINARY SCIENCE; HYGIENE
    • A61MDEVICES FOR INTRODUCING MEDIA INTO, OR ONTO, THE BODY; DEVICES FOR TRANSDUCING BODY MEDIA OR FOR TAKING MEDIA FROM THE BODY; DEVICES FOR PRODUCING OR ENDING SLEEP OR STUPOR
    • A61M25/00Catheters; Hollow probes
    • A61M25/01Introducing, guiding, advancing, emplacing or holding catheters
    • A61M25/09Guide wires
    • AHUMAN NECESSITIES
    • A61MEDICAL OR VETERINARY SCIENCE; HYGIENE
    • A61MDEVICES FOR INTRODUCING MEDIA INTO, OR ONTO, THE BODY; DEVICES FOR TRANSDUCING BODY MEDIA OR FOR TAKING MEDIA FROM THE BODY; DEVICES FOR PRODUCING OR ENDING SLEEP OR STUPOR
    • A61M39/00Tubes, tube connectors, tube couplings, valves, access sites or the like, specially adapted for medical use
    • A61M39/10Tube connectors; Tube couplings
    • AHUMAN NECESSITIES
    • A61MEDICAL OR VETERINARY SCIENCE; HYGIENE
    • A61MDEVICES FOR INTRODUCING MEDIA INTO, OR ONTO, THE BODY; DEVICES FOR TRANSDUCING BODY MEDIA OR FOR TAKING MEDIA FROM THE BODY; DEVICES FOR PRODUCING OR ENDING SLEEP OR STUPOR
    • A61M5/00Devices for bringing media into the body in a subcutaneous, intra-vascular or intramuscular way; Accessories therefor, e.g. filling or cleaning devices, arm-rests
    • A61M5/14Infusion devices, e.g. infusing by gravity; Blood infusion; Accessories therefor
    • A61M5/1407Infusion of two or more substances
    • A61M5/1409Infusion of two or more substances in series, e.g. first substance passing through container holding second substance, e.g. reconstitution systems
    • AHUMAN NECESSITIES
    • A61MEDICAL OR VETERINARY SCIENCE; HYGIENE
    • A61MDEVICES FOR INTRODUCING MEDIA INTO, OR ONTO, THE BODY; DEVICES FOR TRANSDUCING BODY MEDIA OR FOR TAKING MEDIA FROM THE BODY; DEVICES FOR PRODUCING OR ENDING SLEEP OR STUPOR
    • A61M5/00Devices for bringing media into the body in a subcutaneous, intra-vascular or intramuscular way; Accessories therefor, e.g. filling or cleaning devices, arm-rests
    • A61M5/14Infusion devices, e.g. infusing by gravity; Blood infusion; Accessories therefor
    • A61M5/142Pressure infusion, e.g. using pumps
    • A61M5/14212Pumping with an aspiration and an expulsion action
    • A61M5/14216Reciprocating piston type
    • AHUMAN NECESSITIES
    • A61MEDICAL OR VETERINARY SCIENCE; HYGIENE
    • A61MDEVICES FOR INTRODUCING MEDIA INTO, OR ONTO, THE BODY; DEVICES FOR TRANSDUCING BODY MEDIA OR FOR TAKING MEDIA FROM THE BODY; DEVICES FOR PRODUCING OR ENDING SLEEP OR STUPOR
    • A61M5/00Devices for bringing media into the body in a subcutaneous, intra-vascular or intramuscular way; Accessories therefor, e.g. filling or cleaning devices, arm-rests
    • A61M5/14Infusion devices, e.g. infusing by gravity; Blood infusion; Accessories therefor
    • A61M5/142Pressure infusion, e.g. using pumps
    • A61M5/145Pressure infusion, e.g. using pumps using pressurised reservoirs, e.g. pressurised by means of pistons
    • A61M5/1452Pressure infusion, e.g. using pumps using pressurised reservoirs, e.g. pressurised by means of pistons pressurised by means of pistons
    • A61M5/1456Pressure infusion, e.g. using pumps using pressurised reservoirs, e.g. pressurised by means of pistons pressurised by means of pistons with a replaceable reservoir comprising a piston rod to be moved into the reservoir, e.g. the piston rod is part of the removable reservoir
    • AHUMAN NECESSITIES
    • A61MEDICAL OR VETERINARY SCIENCE; HYGIENE
    • A61MDEVICES FOR INTRODUCING MEDIA INTO, OR ONTO, THE BODY; DEVICES FOR TRANSDUCING BODY MEDIA OR FOR TAKING MEDIA FROM THE BODY; DEVICES FOR PRODUCING OR ENDING SLEEP OR STUPOR
    • A61M5/00Devices for bringing media into the body in a subcutaneous, intra-vascular or intramuscular way; Accessories therefor, e.g. filling or cleaning devices, arm-rests
    • A61M5/14Infusion devices, e.g. infusing by gravity; Blood infusion; Accessories therefor
    • A61M5/142Pressure infusion, e.g. using pumps
    • A61M5/145Pressure infusion, e.g. using pumps using pressurised reservoirs, e.g. pressurised by means of pistons
    • A61M5/1452Pressure infusion, e.g. using pumps using pressurised reservoirs, e.g. pressurised by means of pistons pressurised by means of pistons
    • A61M5/14566Pressure infusion, e.g. using pumps using pressurised reservoirs, e.g. pressurised by means of pistons pressurised by means of pistons with a replaceable reservoir for receiving a piston rod of the pump
    • AHUMAN NECESSITIES
    • A61MEDICAL OR VETERINARY SCIENCE; HYGIENE
    • A61MDEVICES FOR INTRODUCING MEDIA INTO, OR ONTO, THE BODY; DEVICES FOR TRANSDUCING BODY MEDIA OR FOR TAKING MEDIA FROM THE BODY; DEVICES FOR PRODUCING OR ENDING SLEEP OR STUPOR
    • A61M5/00Devices for bringing media into the body in a subcutaneous, intra-vascular or intramuscular way; Accessories therefor, e.g. filling or cleaning devices, arm-rests
    • A61M5/14Infusion devices, e.g. infusing by gravity; Blood infusion; Accessories therefor
    • A61M5/168Means for controlling media flow to the body or for metering media to the body, e.g. drip meters, counters ; Monitoring media flow to the body
    • A61M5/16804Flow controllers
    • A61M5/16809Flow controllers by repeated filling and emptying of an intermediate volume
    • AHUMAN NECESSITIES
    • A61MEDICAL OR VETERINARY SCIENCE; HYGIENE
    • A61MDEVICES FOR INTRODUCING MEDIA INTO, OR ONTO, THE BODY; DEVICES FOR TRANSDUCING BODY MEDIA OR FOR TAKING MEDIA FROM THE BODY; DEVICES FOR PRODUCING OR ENDING SLEEP OR STUPOR
    • A61M5/00Devices for bringing media into the body in a subcutaneous, intra-vascular or intramuscular way; Accessories therefor, e.g. filling or cleaning devices, arm-rests
    • A61M5/178Syringes
    • A61M5/1785Syringes comprising radioactive shield means
    • AHUMAN NECESSITIES
    • A61MEDICAL OR VETERINARY SCIENCE; HYGIENE
    • A61MDEVICES FOR INTRODUCING MEDIA INTO, OR ONTO, THE BODY; DEVICES FOR TRANSDUCING BODY MEDIA OR FOR TAKING MEDIA FROM THE BODY; DEVICES FOR PRODUCING OR ENDING SLEEP OR STUPOR
    • A61M5/00Devices for bringing media into the body in a subcutaneous, intra-vascular or intramuscular way; Accessories therefor, e.g. filling or cleaning devices, arm-rests
    • A61M5/178Syringes
    • A61M5/19Syringes having more than one chamber, e.g. including a manifold coupling two parallelly aligned syringes through separate channels to a common discharge assembly
    • AHUMAN NECESSITIES
    • A61MEDICAL OR VETERINARY SCIENCE; HYGIENE
    • A61MDEVICES FOR INTRODUCING MEDIA INTO, OR ONTO, THE BODY; DEVICES FOR TRANSDUCING BODY MEDIA OR FOR TAKING MEDIA FROM THE BODY; DEVICES FOR PRODUCING OR ENDING SLEEP OR STUPOR
    • A61M5/00Devices for bringing media into the body in a subcutaneous, intra-vascular or intramuscular way; Accessories therefor, e.g. filling or cleaning devices, arm-rests
    • A61M5/178Syringes
    • A61M5/20Automatic syringes, e.g. with automatically actuated piston rod, with automatic needle injection, filling automatically
    • A61M5/204Automatic syringes, e.g. with automatically actuated piston rod, with automatic needle injection, filling automatically connected to external reservoirs for multiple refilling
    • AHUMAN NECESSITIES
    • A61MEDICAL OR VETERINARY SCIENCE; HYGIENE
    • A61MDEVICES FOR INTRODUCING MEDIA INTO, OR ONTO, THE BODY; DEVICES FOR TRANSDUCING BODY MEDIA OR FOR TAKING MEDIA FROM THE BODY; DEVICES FOR PRODUCING OR ENDING SLEEP OR STUPOR
    • A61M5/00Devices for bringing media into the body in a subcutaneous, intra-vascular or intramuscular way; Accessories therefor, e.g. filling or cleaning devices, arm-rests
    • A61M5/178Syringes
    • A61M5/24Ampoule syringes, i.e. syringes with needle for use in combination with replaceable ampoules or carpules, e.g. automatic
    • A61M5/2448Ampoule syringes, i.e. syringes with needle for use in combination with replaceable ampoules or carpules, e.g. automatic comprising means for injection of two or more media, e.g. by mixing
    • AHUMAN NECESSITIES
    • A61MEDICAL OR VETERINARY SCIENCE; HYGIENE
    • A61MDEVICES FOR INTRODUCING MEDIA INTO, OR ONTO, THE BODY; DEVICES FOR TRANSDUCING BODY MEDIA OR FOR TAKING MEDIA FROM THE BODY; DEVICES FOR PRODUCING OR ENDING SLEEP OR STUPOR
    • A61M5/00Devices for bringing media into the body in a subcutaneous, intra-vascular or intramuscular way; Accessories therefor, e.g. filling or cleaning devices, arm-rests
    • A61M5/178Syringes
    • A61M5/31Details
    • AHUMAN NECESSITIES
    • A61MEDICAL OR VETERINARY SCIENCE; HYGIENE
    • A61MDEVICES FOR INTRODUCING MEDIA INTO, OR ONTO, THE BODY; DEVICES FOR TRANSDUCING BODY MEDIA OR FOR TAKING MEDIA FROM THE BODY; DEVICES FOR PRODUCING OR ENDING SLEEP OR STUPOR
    • A61M5/00Devices for bringing media into the body in a subcutaneous, intra-vascular or intramuscular way; Accessories therefor, e.g. filling or cleaning devices, arm-rests
    • A61M5/178Syringes
    • A61M5/31Details
    • A61M5/3129Syringe barrels
    • AHUMAN NECESSITIES
    • A61MEDICAL OR VETERINARY SCIENCE; HYGIENE
    • A61MDEVICES FOR INTRODUCING MEDIA INTO, OR ONTO, THE BODY; DEVICES FOR TRANSDUCING BODY MEDIA OR FOR TAKING MEDIA FROM THE BODY; DEVICES FOR PRODUCING OR ENDING SLEEP OR STUPOR
    • A61M5/00Devices for bringing media into the body in a subcutaneous, intra-vascular or intramuscular way; Accessories therefor, e.g. filling or cleaning devices, arm-rests
    • A61M5/178Syringes
    • A61M5/31Details
    • A61M5/315Pistons; Piston-rods; Guiding, blocking or restricting the movement of the rod or piston; Appliances on the rod for facilitating dosing ; Dosing mechanisms
    • AHUMAN NECESSITIES
    • A61MEDICAL OR VETERINARY SCIENCE; HYGIENE
    • A61MDEVICES FOR INTRODUCING MEDIA INTO, OR ONTO, THE BODY; DEVICES FOR TRANSDUCING BODY MEDIA OR FOR TAKING MEDIA FROM THE BODY; DEVICES FOR PRODUCING OR ENDING SLEEP OR STUPOR
    • A61M5/00Devices for bringing media into the body in a subcutaneous, intra-vascular or intramuscular way; Accessories therefor, e.g. filling or cleaning devices, arm-rests
    • A61M5/178Syringes
    • A61M5/31Details
    • A61M5/315Pistons; Piston-rods; Guiding, blocking or restricting the movement of the rod or piston; Appliances on the rod for facilitating dosing ; Dosing mechanisms
    • A61M5/31511Piston or piston-rod constructions, e.g. connection of piston with piston-rod
    • AHUMAN NECESSITIES
    • A61MEDICAL OR VETERINARY SCIENCE; HYGIENE
    • A61MDEVICES FOR INTRODUCING MEDIA INTO, OR ONTO, THE BODY; DEVICES FOR TRANSDUCING BODY MEDIA OR FOR TAKING MEDIA FROM THE BODY; DEVICES FOR PRODUCING OR ENDING SLEEP OR STUPOR
    • A61M5/00Devices for bringing media into the body in a subcutaneous, intra-vascular or intramuscular way; Accessories therefor, e.g. filling or cleaning devices, arm-rests
    • A61M5/178Syringes
    • A61M5/31Details
    • A61M5/315Pistons; Piston-rods; Guiding, blocking or restricting the movement of the rod or piston; Appliances on the rod for facilitating dosing ; Dosing mechanisms
    • A61M5/31565Administration mechanisms, i.e. constructional features, modes of administering a dose
    • A61M5/31566Means improving security or handling thereof
    • A61M5/31571Means preventing accidental administration
    • AHUMAN NECESSITIES
    • A61MEDICAL OR VETERINARY SCIENCE; HYGIENE
    • A61NELECTROTHERAPY; MAGNETOTHERAPY; RADIATION THERAPY; ULTRASOUND THERAPY
    • A61N5/00Radiation therapy
    • A61N5/10X-ray therapy; Gamma-ray therapy; Particle-irradiation therapy
    • A61N5/1001X-ray therapy; Gamma-ray therapy; Particle-irradiation therapy using radiation sources introduced into or applied onto the body; brachytherapy
    • AHUMAN NECESSITIES
    • A61MEDICAL OR VETERINARY SCIENCE; HYGIENE
    • A61NELECTROTHERAPY; MAGNETOTHERAPY; RADIATION THERAPY; ULTRASOUND THERAPY
    • A61N5/00Radiation therapy
    • A61N5/10X-ray therapy; Gamma-ray therapy; Particle-irradiation therapy
    • A61N5/1001X-ray therapy; Gamma-ray therapy; Particle-irradiation therapy using radiation sources introduced into or applied onto the body; brachytherapy
    • A61N5/1002Intraluminal radiation therapy
    • AHUMAN NECESSITIES
    • A61MEDICAL OR VETERINARY SCIENCE; HYGIENE
    • A61NELECTROTHERAPY; MAGNETOTHERAPY; RADIATION THERAPY; ULTRASOUND THERAPY
    • A61N5/00Radiation therapy
    • A61N5/10X-ray therapy; Gamma-ray therapy; Particle-irradiation therapy
    • A61N5/1001X-ray therapy; Gamma-ray therapy; Particle-irradiation therapy using radiation sources introduced into or applied onto the body; brachytherapy
    • A61N5/1007Arrangements or means for the introduction of sources into the body
    • GPHYSICS
    • G16INFORMATION AND COMMUNICATION TECHNOLOGY [ICT] SPECIALLY ADAPTED FOR SPECIFIC APPLICATION FIELDS
    • G16HHEALTHCARE INFORMATICS, i.e. INFORMATION AND COMMUNICATION TECHNOLOGY [ICT] SPECIALLY ADAPTED FOR THE HANDLING OR PROCESSING OF MEDICAL OR HEALTHCARE DATA
    • G16H20/00ICT specially adapted for therapies or health-improving plans, e.g. for handling prescriptions, for steering therapy or for monitoring patient compliance
    • G16H20/10ICT specially adapted for therapies or health-improving plans, e.g. for handling prescriptions, for steering therapy or for monitoring patient compliance relating to drugs or medications, e.g. for ensuring correct administration to patients
    • G16H20/17ICT specially adapted for therapies or health-improving plans, e.g. for handling prescriptions, for steering therapy or for monitoring patient compliance relating to drugs or medications, e.g. for ensuring correct administration to patients delivered via infusion or injection
    • GPHYSICS
    • G16INFORMATION AND COMMUNICATION TECHNOLOGY [ICT] SPECIALLY ADAPTED FOR SPECIFIC APPLICATION FIELDS
    • G16HHEALTHCARE INFORMATICS, i.e. INFORMATION AND COMMUNICATION TECHNOLOGY [ICT] SPECIALLY ADAPTED FOR THE HANDLING OR PROCESSING OF MEDICAL OR HEALTHCARE DATA
    • G16H40/00ICT specially adapted for the management or administration of healthcare resources or facilities; ICT specially adapted for the management or operation of medical equipment or devices
    • G16H40/60ICT specially adapted for the management or administration of healthcare resources or facilities; ICT specially adapted for the management or operation of medical equipment or devices for the operation of medical equipment or devices
    • G16H40/63ICT specially adapted for the management or administration of healthcare resources or facilities; ICT specially adapted for the management or operation of medical equipment or devices for the operation of medical equipment or devices for local operation
    • AHUMAN NECESSITIES
    • A61MEDICAL OR VETERINARY SCIENCE; HYGIENE
    • A61BDIAGNOSIS; SURGERY; IDENTIFICATION
    • A61B18/00Surgical instruments, devices or methods for transferring non-mechanical forms of energy to or from the body
    • A61B2018/00315Surgical instruments, devices or methods for transferring non-mechanical forms of energy to or from the body for treatment of particular body parts
    • A61B2018/00529Liver
    • AHUMAN NECESSITIES
    • A61MEDICAL OR VETERINARY SCIENCE; HYGIENE
    • A61MDEVICES FOR INTRODUCING MEDIA INTO, OR ONTO, THE BODY; DEVICES FOR TRANSDUCING BODY MEDIA OR FOR TAKING MEDIA FROM THE BODY; DEVICES FOR PRODUCING OR ENDING SLEEP OR STUPOR
    • A61M5/00Devices for bringing media into the body in a subcutaneous, intra-vascular or intramuscular way; Accessories therefor, e.g. filling or cleaning devices, arm-rests
    • A61M5/178Syringes
    • A61M2005/1787Syringes for sequential delivery of fluids, e.g. first medicament and then flushing liquid
    • AHUMAN NECESSITIES
    • A61MEDICAL OR VETERINARY SCIENCE; HYGIENE
    • A61MDEVICES FOR INTRODUCING MEDIA INTO, OR ONTO, THE BODY; DEVICES FOR TRANSDUCING BODY MEDIA OR FOR TAKING MEDIA FROM THE BODY; DEVICES FOR PRODUCING OR ENDING SLEEP OR STUPOR
    • A61M5/00Devices for bringing media into the body in a subcutaneous, intra-vascular or intramuscular way; Accessories therefor, e.g. filling or cleaning devices, arm-rests
    • A61M5/178Syringes
    • A61M5/24Ampoule syringes, i.e. syringes with needle for use in combination with replaceable ampoules or carpules, e.g. automatic
    • A61M2005/2403Ampoule inserted into the ampoule holder
    • A61M2005/2414Ampoule inserted into the ampoule holder from the side
    • AHUMAN NECESSITIES
    • A61MEDICAL OR VETERINARY SCIENCE; HYGIENE
    • A61MDEVICES FOR INTRODUCING MEDIA INTO, OR ONTO, THE BODY; DEVICES FOR TRANSDUCING BODY MEDIA OR FOR TAKING MEDIA FROM THE BODY; DEVICES FOR PRODUCING OR ENDING SLEEP OR STUPOR
    • A61M5/00Devices for bringing media into the body in a subcutaneous, intra-vascular or intramuscular way; Accessories therefor, e.g. filling or cleaning devices, arm-rests
    • A61M5/178Syringes
    • A61M5/24Ampoule syringes, i.e. syringes with needle for use in combination with replaceable ampoules or carpules, e.g. automatic
    • A61M5/2455Ampoule syringes, i.e. syringes with needle for use in combination with replaceable ampoules or carpules, e.g. automatic with sealing means to be broken or opened
    • A61M5/2466Ampoule syringes, i.e. syringes with needle for use in combination with replaceable ampoules or carpules, e.g. automatic with sealing means to be broken or opened by piercing without internal pressure increase
    • A61M2005/247Ampoule syringes, i.e. syringes with needle for use in combination with replaceable ampoules or carpules, e.g. automatic with sealing means to be broken or opened by piercing without internal pressure increase with fixed or steady piercing means, e.g. piercing under movement of ampoule
    • AHUMAN NECESSITIES
    • A61MEDICAL OR VETERINARY SCIENCE; HYGIENE
    • A61MDEVICES FOR INTRODUCING MEDIA INTO, OR ONTO, THE BODY; DEVICES FOR TRANSDUCING BODY MEDIA OR FOR TAKING MEDIA FROM THE BODY; DEVICES FOR PRODUCING OR ENDING SLEEP OR STUPOR
    • A61M5/00Devices for bringing media into the body in a subcutaneous, intra-vascular or intramuscular way; Accessories therefor, e.g. filling or cleaning devices, arm-rests
    • A61M5/178Syringes
    • A61M5/31Details
    • A61M5/315Pistons; Piston-rods; Guiding, blocking or restricting the movement of the rod or piston; Appliances on the rod for facilitating dosing ; Dosing mechanisms
    • A61M5/31596Pistons; Piston-rods; Guiding, blocking or restricting the movement of the rod or piston; Appliances on the rod for facilitating dosing ; Dosing mechanisms comprising means for injection of two or more media, e.g. by mixing
    • A61M2005/31598Pistons; Piston-rods; Guiding, blocking or restricting the movement of the rod or piston; Appliances on the rod for facilitating dosing ; Dosing mechanisms comprising means for injection of two or more media, e.g. by mixing having multiple telescopically sliding coaxial pistons encompassing volumes for components to be mixed
    • AHUMAN NECESSITIES
    • A61MEDICAL OR VETERINARY SCIENCE; HYGIENE
    • A61MDEVICES FOR INTRODUCING MEDIA INTO, OR ONTO, THE BODY; DEVICES FOR TRANSDUCING BODY MEDIA OR FOR TAKING MEDIA FROM THE BODY; DEVICES FOR PRODUCING OR ENDING SLEEP OR STUPOR
    • A61M25/00Catheters; Hollow probes
    • A61M2025/0004Catheters; Hollow probes having two or more concentrically arranged tubes for forming a concentric catheter system
    • AHUMAN NECESSITIES
    • A61MEDICAL OR VETERINARY SCIENCE; HYGIENE
    • A61MDEVICES FOR INTRODUCING MEDIA INTO, OR ONTO, THE BODY; DEVICES FOR TRANSDUCING BODY MEDIA OR FOR TAKING MEDIA FROM THE BODY; DEVICES FOR PRODUCING OR ENDING SLEEP OR STUPOR
    • A61M25/00Catheters; Hollow probes
    • A61M25/0021Catheters; Hollow probes characterised by the form of the tubing
    • A61M25/0023Catheters; Hollow probes characterised by the form of the tubing by the form of the lumen, e.g. cross-section, variable diameter
    • A61M25/0026Multi-lumen catheters with stationary elements
    • A61M25/003Multi-lumen catheters with stationary elements characterized by features relating to least one lumen located at the distal part of the catheter, e.g. filters, plugs or valves
    • A61M2025/0031Multi-lumen catheters with stationary elements characterized by features relating to least one lumen located at the distal part of the catheter, e.g. filters, plugs or valves characterized by lumina for withdrawing or delivering, i.e. used for extracorporeal circuit treatment
    • AHUMAN NECESSITIES
    • A61MEDICAL OR VETERINARY SCIENCE; HYGIENE
    • A61MDEVICES FOR INTRODUCING MEDIA INTO, OR ONTO, THE BODY; DEVICES FOR TRANSDUCING BODY MEDIA OR FOR TAKING MEDIA FROM THE BODY; DEVICES FOR PRODUCING OR ENDING SLEEP OR STUPOR
    • A61M25/00Catheters; Hollow probes
    • A61M25/0021Catheters; Hollow probes characterised by the form of the tubing
    • A61M25/0023Catheters; Hollow probes characterised by the form of the tubing by the form of the lumen, e.g. cross-section, variable diameter
    • A61M25/0026Multi-lumen catheters with stationary elements
    • A61M2025/0036Multi-lumen catheters with stationary elements with more than four lumina
    • AHUMAN NECESSITIES
    • A61MEDICAL OR VETERINARY SCIENCE; HYGIENE
    • A61MDEVICES FOR INTRODUCING MEDIA INTO, OR ONTO, THE BODY; DEVICES FOR TRANSDUCING BODY MEDIA OR FOR TAKING MEDIA FROM THE BODY; DEVICES FOR PRODUCING OR ENDING SLEEP OR STUPOR
    • A61M25/00Catheters; Hollow probes
    • A61M25/0021Catheters; Hollow probes characterised by the form of the tubing
    • A61M25/0023Catheters; Hollow probes characterised by the form of the tubing by the form of the lumen, e.g. cross-section, variable diameter
    • A61M25/0026Multi-lumen catheters with stationary elements
    • A61M2025/004Multi-lumen catheters with stationary elements characterized by lumina being arranged circumferentially
    • AHUMAN NECESSITIES
    • A61MEDICAL OR VETERINARY SCIENCE; HYGIENE
    • A61MDEVICES FOR INTRODUCING MEDIA INTO, OR ONTO, THE BODY; DEVICES FOR TRANSDUCING BODY MEDIA OR FOR TAKING MEDIA FROM THE BODY; DEVICES FOR PRODUCING OR ENDING SLEEP OR STUPOR
    • A61M25/00Catheters; Hollow probes
    • A61M25/0021Catheters; Hollow probes characterised by the form of the tubing
    • A61M2025/0042Microcatheters, cannula or the like having outside diameters around 1 mm or less
    • AHUMAN NECESSITIES
    • A61MEDICAL OR VETERINARY SCIENCE; HYGIENE
    • A61MDEVICES FOR INTRODUCING MEDIA INTO, OR ONTO, THE BODY; DEVICES FOR TRANSDUCING BODY MEDIA OR FOR TAKING MEDIA FROM THE BODY; DEVICES FOR PRODUCING OR ENDING SLEEP OR STUPOR
    • A61M25/00Catheters; Hollow probes
    • A61M25/0067Catheters; Hollow probes characterised by the distal end, e.g. tips
    • A61M25/0068Static characteristics of the catheter tip, e.g. shape, atraumatic tip, curved tip or tip structure
    • A61M2025/0073Tip designed for influencing the flow or the flow velocity of the fluid, e.g. inserts for twisted or vortex flow
    • AHUMAN NECESSITIES
    • A61MEDICAL OR VETERINARY SCIENCE; HYGIENE
    • A61MDEVICES FOR INTRODUCING MEDIA INTO, OR ONTO, THE BODY; DEVICES FOR TRANSDUCING BODY MEDIA OR FOR TAKING MEDIA FROM THE BODY; DEVICES FOR PRODUCING OR ENDING SLEEP OR STUPOR
    • A61M25/00Catheters; Hollow probes
    • A61M25/0067Catheters; Hollow probes characterised by the distal end, e.g. tips
    • A61M25/0074Dynamic characteristics of the catheter tip, e.g. openable, closable, expandable or deformable
    • A61M25/0075Valve means
    • A61M2025/0076Unidirectional valves
    • AHUMAN NECESSITIES
    • A61MEDICAL OR VETERINARY SCIENCE; HYGIENE
    • A61MDEVICES FOR INTRODUCING MEDIA INTO, OR ONTO, THE BODY; DEVICES FOR TRANSDUCING BODY MEDIA OR FOR TAKING MEDIA FROM THE BODY; DEVICES FOR PRODUCING OR ENDING SLEEP OR STUPOR
    • A61M25/00Catheters; Hollow probes
    • A61M25/0067Catheters; Hollow probes characterised by the distal end, e.g. tips
    • A61M25/008Strength or flexibility characteristics of the catheter tip
    • A61M2025/0081Soft tip
    • AHUMAN NECESSITIES
    • A61MEDICAL OR VETERINARY SCIENCE; HYGIENE
    • A61MDEVICES FOR INTRODUCING MEDIA INTO, OR ONTO, THE BODY; DEVICES FOR TRANSDUCING BODY MEDIA OR FOR TAKING MEDIA FROM THE BODY; DEVICES FOR PRODUCING OR ENDING SLEEP OR STUPOR
    • A61M25/00Catheters; Hollow probes
    • A61M25/01Introducing, guiding, advancing, emplacing or holding catheters
    • A61M25/06Body-piercing guide needles or the like
    • A61M25/0662Guide tubes
    • A61M2025/0681Systems with catheter and outer tubing, e.g. sheath, sleeve or guide tube
    • AHUMAN NECESSITIES
    • A61MEDICAL OR VETERINARY SCIENCE; HYGIENE
    • A61MDEVICES FOR INTRODUCING MEDIA INTO, OR ONTO, THE BODY; DEVICES FOR TRANSDUCING BODY MEDIA OR FOR TAKING MEDIA FROM THE BODY; DEVICES FOR PRODUCING OR ENDING SLEEP OR STUPOR
    • A61M25/00Catheters; Hollow probes
    • A61M25/01Introducing, guiding, advancing, emplacing or holding catheters
    • A61M25/09Guide wires
    • A61M2025/09058Basic structures of guide wires
    • A61M2025/09075Basic structures of guide wires having a core without a coil possibly combined with a sheath
    • AHUMAN NECESSITIES
    • A61MEDICAL OR VETERINARY SCIENCE; HYGIENE
    • A61MDEVICES FOR INTRODUCING MEDIA INTO, OR ONTO, THE BODY; DEVICES FOR TRANSDUCING BODY MEDIA OR FOR TAKING MEDIA FROM THE BODY; DEVICES FOR PRODUCING OR ENDING SLEEP OR STUPOR
    • A61M25/00Catheters; Hollow probes
    • A61M25/01Introducing, guiding, advancing, emplacing or holding catheters
    • A61M25/09Guide wires
    • A61M2025/09166Guide wires having radio-opaque features
    • AHUMAN NECESSITIES
    • A61MEDICAL OR VETERINARY SCIENCE; HYGIENE
    • A61MDEVICES FOR INTRODUCING MEDIA INTO, OR ONTO, THE BODY; DEVICES FOR TRANSDUCING BODY MEDIA OR FOR TAKING MEDIA FROM THE BODY; DEVICES FOR PRODUCING OR ENDING SLEEP OR STUPOR
    • A61M39/00Tubes, tube connectors, tube couplings, valves, access sites or the like, specially adapted for medical use
    • A61M39/10Tube connectors; Tube couplings
    • A61M2039/1027Quick-acting type connectors
    • AHUMAN NECESSITIES
    • A61MEDICAL OR VETERINARY SCIENCE; HYGIENE
    • A61MDEVICES FOR INTRODUCING MEDIA INTO, OR ONTO, THE BODY; DEVICES FOR TRANSDUCING BODY MEDIA OR FOR TAKING MEDIA FROM THE BODY; DEVICES FOR PRODUCING OR ENDING SLEEP OR STUPOR
    • A61M39/00Tubes, tube connectors, tube couplings, valves, access sites or the like, specially adapted for medical use
    • A61M39/10Tube connectors; Tube couplings
    • A61M2039/1033Swivel nut connectors, e.g. threaded connectors, bayonet-connectors
    • AHUMAN NECESSITIES
    • A61MEDICAL OR VETERINARY SCIENCE; HYGIENE
    • A61MDEVICES FOR INTRODUCING MEDIA INTO, OR ONTO, THE BODY; DEVICES FOR TRANSDUCING BODY MEDIA OR FOR TAKING MEDIA FROM THE BODY; DEVICES FOR PRODUCING OR ENDING SLEEP OR STUPOR
    • A61M39/00Tubes, tube connectors, tube couplings, valves, access sites or the like, specially adapted for medical use
    • A61M39/10Tube connectors; Tube couplings
    • A61M2039/1072Tube connectors; Tube couplings with a septum present in the connector
    • AHUMAN NECESSITIES
    • A61MEDICAL OR VETERINARY SCIENCE; HYGIENE
    • A61MDEVICES FOR INTRODUCING MEDIA INTO, OR ONTO, THE BODY; DEVICES FOR TRANSDUCING BODY MEDIA OR FOR TAKING MEDIA FROM THE BODY; DEVICES FOR PRODUCING OR ENDING SLEEP OR STUPOR
    • A61M2202/00Special media to be introduced, removed or treated
    • A61M2202/0007Special media to be introduced, removed or treated introduced into the body
    • AHUMAN NECESSITIES
    • A61MEDICAL OR VETERINARY SCIENCE; HYGIENE
    • A61MDEVICES FOR INTRODUCING MEDIA INTO, OR ONTO, THE BODY; DEVICES FOR TRANSDUCING BODY MEDIA OR FOR TAKING MEDIA FROM THE BODY; DEVICES FOR PRODUCING OR ENDING SLEEP OR STUPOR
    • A61M2205/00General characteristics of the apparatus
    • A61M2205/05General characteristics of the apparatus combined with other kinds of therapy
    • A61M2205/051General characteristics of the apparatus combined with other kinds of therapy with radiation therapy
    • AHUMAN NECESSITIES
    • A61MEDICAL OR VETERINARY SCIENCE; HYGIENE
    • A61MDEVICES FOR INTRODUCING MEDIA INTO, OR ONTO, THE BODY; DEVICES FOR TRANSDUCING BODY MEDIA OR FOR TAKING MEDIA FROM THE BODY; DEVICES FOR PRODUCING OR ENDING SLEEP OR STUPOR
    • A61M2205/00General characteristics of the apparatus
    • A61M2205/07General characteristics of the apparatus having air pumping means
    • A61M2205/071General characteristics of the apparatus having air pumping means hand operated
    • A61M2205/073Syringe, piston type
    • AHUMAN NECESSITIES
    • A61MEDICAL OR VETERINARY SCIENCE; HYGIENE
    • A61MDEVICES FOR INTRODUCING MEDIA INTO, OR ONTO, THE BODY; DEVICES FOR TRANSDUCING BODY MEDIA OR FOR TAKING MEDIA FROM THE BODY; DEVICES FOR PRODUCING OR ENDING SLEEP OR STUPOR
    • A61M2205/00General characteristics of the apparatus
    • A61M2205/14Detection of the presence or absence of a tube, a connector or a container in an apparatus
    • AHUMAN NECESSITIES
    • A61MEDICAL OR VETERINARY SCIENCE; HYGIENE
    • A61MDEVICES FOR INTRODUCING MEDIA INTO, OR ONTO, THE BODY; DEVICES FOR TRANSDUCING BODY MEDIA OR FOR TAKING MEDIA FROM THE BODY; DEVICES FOR PRODUCING OR ENDING SLEEP OR STUPOR
    • A61M2205/00General characteristics of the apparatus
    • A61M2205/32General characteristics of the apparatus with radio-opaque indicia
    • AHUMAN NECESSITIES
    • A61MEDICAL OR VETERINARY SCIENCE; HYGIENE
    • A61MDEVICES FOR INTRODUCING MEDIA INTO, OR ONTO, THE BODY; DEVICES FOR TRANSDUCING BODY MEDIA OR FOR TAKING MEDIA FROM THE BODY; DEVICES FOR PRODUCING OR ENDING SLEEP OR STUPOR
    • A61M2205/00General characteristics of the apparatus
    • A61M2205/33Controlling, regulating or measuring
    • AHUMAN NECESSITIES
    • A61MEDICAL OR VETERINARY SCIENCE; HYGIENE
    • A61MDEVICES FOR INTRODUCING MEDIA INTO, OR ONTO, THE BODY; DEVICES FOR TRANSDUCING BODY MEDIA OR FOR TAKING MEDIA FROM THE BODY; DEVICES FOR PRODUCING OR ENDING SLEEP OR STUPOR
    • A61M2205/00General characteristics of the apparatus
    • A61M2205/33Controlling, regulating or measuring
    • A61M2205/3306Optical measuring means
    • AHUMAN NECESSITIES
    • A61MEDICAL OR VETERINARY SCIENCE; HYGIENE
    • A61MDEVICES FOR INTRODUCING MEDIA INTO, OR ONTO, THE BODY; DEVICES FOR TRANSDUCING BODY MEDIA OR FOR TAKING MEDIA FROM THE BODY; DEVICES FOR PRODUCING OR ENDING SLEEP OR STUPOR
    • A61M2205/00General characteristics of the apparatus
    • A61M2205/33Controlling, regulating or measuring
    • A61M2205/3317Electromagnetic, inductive or dielectric measuring means
    • AHUMAN NECESSITIES
    • A61MEDICAL OR VETERINARY SCIENCE; HYGIENE
    • A61MDEVICES FOR INTRODUCING MEDIA INTO, OR ONTO, THE BODY; DEVICES FOR TRANSDUCING BODY MEDIA OR FOR TAKING MEDIA FROM THE BODY; DEVICES FOR PRODUCING OR ENDING SLEEP OR STUPOR
    • A61M2205/00General characteristics of the apparatus
    • A61M2205/33Controlling, regulating or measuring
    • A61M2205/3327Measuring
    • AHUMAN NECESSITIES
    • A61MEDICAL OR VETERINARY SCIENCE; HYGIENE
    • A61MDEVICES FOR INTRODUCING MEDIA INTO, OR ONTO, THE BODY; DEVICES FOR TRANSDUCING BODY MEDIA OR FOR TAKING MEDIA FROM THE BODY; DEVICES FOR PRODUCING OR ENDING SLEEP OR STUPOR
    • A61M2205/00General characteristics of the apparatus
    • A61M2205/33Controlling, regulating or measuring
    • A61M2205/3331Pressure; Flow
    • AHUMAN NECESSITIES
    • A61MEDICAL OR VETERINARY SCIENCE; HYGIENE
    • A61MDEVICES FOR INTRODUCING MEDIA INTO, OR ONTO, THE BODY; DEVICES FOR TRANSDUCING BODY MEDIA OR FOR TAKING MEDIA FROM THE BODY; DEVICES FOR PRODUCING OR ENDING SLEEP OR STUPOR
    • A61M2205/00General characteristics of the apparatus
    • A61M2205/33Controlling, regulating or measuring
    • A61M2205/3331Pressure; Flow
    • A61M2205/3334Measuring or controlling the flow rate
    • AHUMAN NECESSITIES
    • A61MEDICAL OR VETERINARY SCIENCE; HYGIENE
    • A61MDEVICES FOR INTRODUCING MEDIA INTO, OR ONTO, THE BODY; DEVICES FOR TRANSDUCING BODY MEDIA OR FOR TAKING MEDIA FROM THE BODY; DEVICES FOR PRODUCING OR ENDING SLEEP OR STUPOR
    • A61M2205/00General characteristics of the apparatus
    • A61M2205/50General characteristics of the apparatus with microprocessors or computers
    • AHUMAN NECESSITIES
    • A61MEDICAL OR VETERINARY SCIENCE; HYGIENE
    • A61MDEVICES FOR INTRODUCING MEDIA INTO, OR ONTO, THE BODY; DEVICES FOR TRANSDUCING BODY MEDIA OR FOR TAKING MEDIA FROM THE BODY; DEVICES FOR PRODUCING OR ENDING SLEEP OR STUPOR
    • A61M2205/00General characteristics of the apparatus
    • A61M2205/50General characteristics of the apparatus with microprocessors or computers
    • A61M2205/502User interfaces, e.g. screens or keyboards
    • AHUMAN NECESSITIES
    • A61MEDICAL OR VETERINARY SCIENCE; HYGIENE
    • A61MDEVICES FOR INTRODUCING MEDIA INTO, OR ONTO, THE BODY; DEVICES FOR TRANSDUCING BODY MEDIA OR FOR TAKING MEDIA FROM THE BODY; DEVICES FOR PRODUCING OR ENDING SLEEP OR STUPOR
    • A61M2205/00General characteristics of the apparatus
    • A61M2205/50General characteristics of the apparatus with microprocessors or computers
    • A61M2205/502User interfaces, e.g. screens or keyboards
    • A61M2205/505Touch-screens; Virtual keyboard or keypads; Virtual buttons; Soft keys; Mouse touches
    • AHUMAN NECESSITIES
    • A61MEDICAL OR VETERINARY SCIENCE; HYGIENE
    • A61MDEVICES FOR INTRODUCING MEDIA INTO, OR ONTO, THE BODY; DEVICES FOR TRANSDUCING BODY MEDIA OR FOR TAKING MEDIA FROM THE BODY; DEVICES FOR PRODUCING OR ENDING SLEEP OR STUPOR
    • A61M2205/00General characteristics of the apparatus
    • A61M2205/82Internal energy supply devices
    • A61M2205/8206Internal energy supply devices battery-operated
    • AHUMAN NECESSITIES
    • A61MEDICAL OR VETERINARY SCIENCE; HYGIENE
    • A61MDEVICES FOR INTRODUCING MEDIA INTO, OR ONTO, THE BODY; DEVICES FOR TRANSDUCING BODY MEDIA OR FOR TAKING MEDIA FROM THE BODY; DEVICES FOR PRODUCING OR ENDING SLEEP OR STUPOR
    • A61M2206/00Characteristics of a physical parameter; associated device therefor
    • A61M2206/10Flow characteristics
    • A61M2206/11Laminar flow
    • AHUMAN NECESSITIES
    • A61MEDICAL OR VETERINARY SCIENCE; HYGIENE
    • A61NELECTROTHERAPY; MAGNETOTHERAPY; RADIATION THERAPY; ULTRASOUND THERAPY
    • A61N5/00Radiation therapy
    • A61N5/10X-ray therapy; Gamma-ray therapy; Particle-irradiation therapy
    • A61N5/1001X-ray therapy; Gamma-ray therapy; Particle-irradiation therapy using radiation sources introduced into or applied onto the body; brachytherapy
    • A61N2005/1019Sources therefor
    • AHUMAN NECESSITIES
    • A61MEDICAL OR VETERINARY SCIENCE; HYGIENE
    • A61NELECTROTHERAPY; MAGNETOTHERAPY; RADIATION THERAPY; ULTRASOUND THERAPY
    • A61N5/00Radiation therapy
    • A61N5/10X-ray therapy; Gamma-ray therapy; Particle-irradiation therapy
    • A61N5/1048Monitoring, verifying, controlling systems and methods
    • A61N2005/1074Details of the control system, e.g. user interfaces
    • AHUMAN NECESSITIES
    • A61MEDICAL OR VETERINARY SCIENCE; HYGIENE
    • A61NELECTROTHERAPY; MAGNETOTHERAPY; RADIATION THERAPY; ULTRASOUND THERAPY
    • A61N5/00Radiation therapy
    • A61N5/10X-ray therapy; Gamma-ray therapy; Particle-irradiation therapy
    • A61N2005/1085X-ray therapy; Gamma-ray therapy; Particle-irradiation therapy characterised by the type of particles applied to the patient
    • A61N2005/1089Electrons

Landscapes

  • Health & Medical Sciences (AREA)
  • Life Sciences & Earth Sciences (AREA)
  • Engineering & Computer Science (AREA)
  • Biomedical Technology (AREA)
  • Public Health (AREA)
  • General Health & Medical Sciences (AREA)
  • Animal Behavior & Ethology (AREA)
  • Veterinary Medicine (AREA)
  • Heart & Thoracic Surgery (AREA)
  • Hematology (AREA)
  • Anesthesiology (AREA)
  • Vascular Medicine (AREA)
  • Pulmonology (AREA)
  • Chemical & Material Sciences (AREA)
  • Biophysics (AREA)
  • Epidemiology (AREA)
  • Medicinal Chemistry (AREA)
  • Pathology (AREA)
  • Nuclear Medicine, Radiotherapy & Molecular Imaging (AREA)
  • Radiology & Medical Imaging (AREA)
  • Dispersion Chemistry (AREA)
  • Pharmacology & Pharmacy (AREA)
  • Optics & Photonics (AREA)
  • Physics & Mathematics (AREA)
  • Medical Informatics (AREA)
  • Primary Health Care (AREA)
  • Nanotechnology (AREA)
  • Bioinformatics & Cheminformatics (AREA)
  • Mechanical Engineering (AREA)
  • Business, Economics & Management (AREA)
  • General Business, Economics & Management (AREA)
  • Infusion, Injection, And Reservoir Apparatuses (AREA)
  • Media Introduction/Drainage Providing Device (AREA)

Description

関連出願の相互参照
[0001]本出願は、その開示が参照により本明細書に組み込まれる、2018年5月18日に出願された「RADIOEMBOLIZATION DELIVERY DEVICE」という名称の米国仮出願第62/673,632号、およびその開示が参照により本明細書に組み込まれる、2018年5月18日に出願された「DUAL-STAGE SYRINGES WITH LOCKING MECHANISM」という名称の米国仮出願第62/673,628号の優先権の利益を主張するものである。
[0002]本開示は、一般に、注射器に関し、より詳細には、複数の流体を独立して送達するデュアルステージ(二段式)注射器に関する。
[0003]放射線療法を伴う癌治療において、放射性治療薬からの放射線に対する不注意なまたは過剰な被曝は、患者または医療関係者にとって有害および潜在的に命取りであり得る。したがって、放射線療法のための医療器具は、患者の身体の特定のエリアへ放射性物質の送達を局所化するとともに、放射線に他のものが不必要に曝されることを遮蔽するように構成されなければならない。
[0004]経動脈的放射線塞栓療法は、画像下治療によって行われる経カテーテル動脈内手技であるとともに、悪性腫瘍の治療のために一般的に用いられている。この医療処置中、マイクロカテーテルが患者の肝臓の中に誘導され、イットリウム-90(90YまたはY90)などの放射性化合物を載せた放射線塞栓微小球が標的の腫瘍へ送達される。微小球は、腫瘍に血液を供給する血管に塞栓を形成するとともに放射線も送達して腫瘍細胞を殺す。
[0005]一般に、放射線塞栓処置を行う医療デバイスは、複数の注射器と、外部管と、放射性化合物を収納するバイアルと、放射性バイアルを収納および遮蔽する嵩張った遮蔽組立体とを必要とする。典型的には、そのようなデバイスは、時間がかかり、大きな労働力を要するセットアップ手順を伴う。複雑なデバイスは、一般的に据え置き型であり、それによって手術室内の内科医の移動性をデバイスのある程度近くの範囲内に制限する。
[0006]放射線塞栓処置中に放射性物質を格納する製品容器のルーチン操作は、一般に、鉗子またはピンセットを用いて物質を取り扱う核医学技師を必要とする。このプロセスは、さらなる医療関係者を放射能に曝露させ、手術室を汚染するさらなる潜在性を伴う。放射性化合物を手動で投与するための注射器は、一貫性のない流速および圧力となる傾向がある。不十分な注入速度はビーズ分散の減少をもたらし、これは治療の有効性に影響を及ぼし得る。
[0007]本開示の各実施形態は、悪性肝臓腫瘍の治療のための経動脈的放射線塞栓療法の最中などに2つの別々で隔離された媒体を送達する必要がある任意の技術的な状況で使用されるものである。経動脈的放射線塞栓療法の処置中、マイクロカテーテルは肝臓の中に誘導され、微小球に含まれる放射性治療薬などの治療薬が標的の腫瘍へ送達され得る。この処置全体を通して、生理的食塩水/D5W、造影剤、および微小球を含む異なる媒体が使用され得る。結果として、最低限3つの異なる注射器が必要であり、セットアップおよび操作の時間が増加する結果となる。別の問題点は、デバイス作動中に2つ以上の別々の注射器が必要とされるので、伝統的なスタイルの注射器を使用するとき、経動脈的放射線塞栓療法の処置中に生じる。第1の注射器は、空の注射器、またはポンピングのために生理的食塩水が事前に充填された注射器であり得る。2つ以上の独立した注射器を取り換える最中に、空気がシステムに入る危険がある。
[0008]本開示は、2つの別々の媒体を注入または分配するために単一のプランジャを介して直列に係合されている2つの独立した貯槽を有するデュアルステージ注射器を説明する。各実施形態では、本明細書に開示された前記デュアルステージ注射器は、手動で駆動することができる。
[0009]本開示の上記デュアルステージ注射器は、両チャンバを作動させるために用いられる単一のプランジャ機構を備えることができ、各チャンバ内の媒体は、独立して送達される。本開示のデュアルステージ注射器は、前記外側または遠位チャンバを作動させることなく、前記内側または近位チャンバが複数回充填および一掃されることを可能にすることができる。さらに、本明細書に開示された前記デュアルステージ注射器のいくつかの実施形態は、様々な媒体が取り換えられるときのために、触覚および可聴フィードバックおよび保証を与えることができる1つまたは複数のロック機構を備えることができる。
[0010]本開示の各実施形態は、注射器を押して液体を加圧して前記マイクロカテーテルを通して流すことの難しさ、処置を遅らせるとともに不要な放射線被曝を引き起こす多数の面倒なステップ(例えば、止水栓の回転、針の高さの調整、捕捉した球を除去するための管セットの調整など)、ビーズ流、送達容積、および送達速度を制御することができないこと、品質保証ステップの一部として前記収納されたY90の放射能を簡単に分析することができないこと、異なる腫瘍部位で治療することを可能にするために治療量を容易に分けることができないこと、前記粒子または微小球の球を混合することができないことによる容器または管内の粒子または微小球のセッティング、ならびに前記手術室内の貴重な場所およびアクセスを占める経動脈的放射線塞栓療法に使用されるデバイスの邪魔な全体サイズといった既存のシステムの欠点のうちの1つまたは複数について対処することもできる。
[0011]本明細書に開示された例示の各実施形態は、ロック機構型デュアルステージ注射器に向けられている。
[0012]本開示のこれらおよび他の特徴、態様、および利点は、以下の説明および添付の特許請求の範囲を参照してより良く理解されよう。
[0013]本明細書に記載された各実施形態のさらなる特徴および利点は、後に続く詳細な説明に記載され、一部はこの記載から当業者に容易に明らかであり、または後続の詳細な説明、特許請求の範囲、および添付図面を含む本明細書に記載された各実施形態を実施することによって認識されよう。
[0014]前述の概要と以下の詳細な説明の両方は、権利主張される主題の本質および特徴を理解するために、様々な実施形態を説明し、概観または枠組みを与えることが意図されていると理解されたい。添付図面は、様々な実施形態のさらなる理解を与えるために含まれ、本明細書の一部に組み込まれ、本明細書の一部を構成する。図面は、本明細書に記載された様々な実施形態を示し、明細書と共に、権利主張される主題の原理および動作を説明する役割を果たす。
[0015]各実施形態によるデュアルステージ注射器の概略図である。 [0016]各実施形態によるデュアルステージ注射器の外筒の側面図である。 [0017]各実施形態によるデュアルステージ注射器の外筒の上面斜視図である。 [0018]各実施形態によるデュアルステージ注射器の外筒の底面斜視図である。 [0019]各実施形態によるデュアルステージ注射器の外筒の側面斜視図である。 [0020]各実施形態によるデュアルステージ注射器の一次プランジャの側面図である。 [0021]各実施形態によるデュアルステージ注射器の一次プランジャの上面斜視図である。 [0022]各実施形態によるデュアルステージ注射器の一次プランジャの側面斜視図である。 [0023]各実施形態による、遠位端に封止部材を備えたデュアルステージ注射器の一次プランジャの側面斜視図である。 [0024]各実施形態による、遠位端に封止部材を備えたデュアルステージ注射器の一次プランジャの側面斜視図である。 [0025]各実施形態によるスリーブ付きデュアルステージ注射器の分解組立図である。 [0026]各実施形態によるロッキングスリーブの側面斜視図である。 [0027]各実施形態によるロッキングスリーブの底面斜視図である。 [0028]各実施形態によるロッキングスリーブのロック機構の底面図である。 [0029]各実施形態によるロッキングスリーブの上面斜視図である。 [0030]各実施形態によるロック機構と遠位端に封止部材を有する一次プランジャとを備える組立体の側面斜視図である。 [0031]各実施形態によるロック機構と遠位端に封止部材を有する一次プランジャとを備える組立体の正面図である。 [0032]各実施形態によるデュアルステージ注射器の二次プランジャの側面図である。 [0033]出荷構成における各実施形態によるスリーブ付きロック式デュアルステージ注射器の斜視図である。 [0034]一次プランジャおよびロック機構が外筒を通して見えている、出荷構成における図16のスリーブ付きロック式デュアルステージ注射器の斜視図である。 [0035]出荷構成における図19および図20のスリーブ付きロック式デュアルステージ注射器の縦断面図である。 [0036]一次プランジャおよびロック機構が外筒を通して見えている、フラッシュ構成における各実施形態によるスリーブ付きロック式デュアルステージ注射器斜視図である。 [0037]フラッシュ構成における図22のスリーブ付きロック式デュアルステージ注射器の縦断面図である。 [0038]一次プランジャおよびロック機構が外筒を通して見えている、突き刺された構成における各実施形態によるスリーブ付きロック式デュアルステージ注射器の斜視図である。 [0039]突き刺された構成における図23のスリーブ付きロック式デュアルステージ注射器の縦断面図である。 [0040]一次プランジャおよびロック機構が外筒を通して見えている、プライム構成における各実施形態によるスリーブ付きロック式デュアルステージ注射器の破断図である。 [0041]プライム構成における図26のスリーブ付きロック式デュアルステージ注射器の縦断面図である。 [0042]送達構成における各実施形態によるスリーブ付きロック式デュアルステージ注射器の斜視図である。 [0043]送達構成における図28のスリーブ付きロック式デュアルステージ注射器の縦断面図である。 [0044]各実施形態によるターンキーロック式デュアルステージ注射器の側面斜視図である。 [0045]図30のターンキーロック式デュアルステージ注射器の二次プランジャおよび封止部材の側面斜視図である。 [0046]図30のターンキーロック式デュアルステージ注射器の一次プランジャ、二次プランジャ、および封止部材の組立体の側面斜視図である。 [0047]各実施形態による一体型一方向弁注射器の側断面図である。 [0048]各実施形態による第1のステージにおける図33の一体型一方向弁注射器の側断面図である。 [0049]各実施形態による第2のステージにおける図33の一体型一方向弁注射器の側断面図である。 [0050]各実施形態による第3のステージにおける図33の一体型一方向弁注射器の側断面図である。 [0051]各実施形態による一体型一方向弁注射器の側断面図である。 [0052]各実施形態による第1のステージにおける図35の一体型一方向弁注射器の側断面図である。 [0053]各実施形態による第2のステージにおける図35の一体型一方向弁注射器の側断面図である。 [0054]各実施形態による第3のステージにおける図35の一体型一方向弁注射器の側断面図である。 [0055]各実施形態による膜部材を備えたスリーブ付きロック式デュアルステージ注射器の概略図である。 [0056]各実施形態によるラチェット式安全タブを備えた注射器の側面図である。 [0057]各実施形態によるラチェット式安全タブを備えた注射器の側断面図である。 [0058]各実施形態によるテレメータ化された注射器プランジャキャップの平面図である。 [0059]各実施形態によるテレメータ化された注射器プランジャキャップの断面図である。 [0060]各実施形態による注射器プランジャ上に組み立てられるテレメータ化された注射器プランジャキャップの断面図である。 [0061]スリーブ付きロック式デュアルステージ注射器と流体連通している送達カテーテルを通じて放射線塞栓ビード溶液を患者へ送達するために、放射線塞栓送達システムの一例に組み込まれる各実施形態によるスリーブ付きロック式デュアルステージ注射器の概略図である。
[0062]次に、デュアルステージ注射器の各実施形態についてより詳細に言及する。詳細には、本明細書に開示されたデュアルステージ注射器の各実施形態は、ロック機構型デュアルステージ注射器、および一体型一方向弁を有するデュアルステージ注射器に向けられ得る。続いてより詳細に説明されるように、ロック機構型デュアルステージ注射器の各実施形態は、スリーブ付きデュアルステージ注射器を含み得る。続いてより詳細に説明されるように、他のロック機構型デュアルステージ注射器の各実施形態は、ターンキーデュアルステージ注射器を含み得る。本明細書に記載されたデュアルステージ注射器の他の各実施形態では、1つまたは複数の一体型一方向弁を有するデュアルステージ注射器が、続いてより詳細に説明される。
[0063]デュアルステージ注射器は、治療薬、フラッシュ溶液、賦形剤溶液、等張性滅菌溶液、造影剤、またはそれらの組合せなどの複数の流体の送達を伴う医療処置を含む複数の流体を送達または混合することを伴う任意のシステムに組み込まれ得る。いくつかの実施形態では、デュアルステージ注射器は、癌治療のための送達システム、例えば、化学治療薬または放射性治療薬のための送達システムなどに組み込まれ得る。いくつかの実施形態では、デュアルステージ注射器は、療法を必要としている患者への送達に備えて、化学塞栓療法または放射線塞栓療法のための送達システム、例えば、1つまたは複数のキャリア溶液または造影剤と混合される放射線塞栓ビーズを含有する流体のための送達システムに組み込まれてもよい。いくつかの実施形態では、デュアルステージ注射器は、腫瘍治療、例えば、肝臓腫瘍治療などのために経動脈的放射線塞栓療法のための送達システムに組み込まれてもよい。
[0064]デュアルステージ注射器の各実施形態に関して本明細書で使用されるとき、相対的な用語「遠位」は、プランジャをデュアルステージ注射器のバレルに挿入し、デュアルステージ注射器の操作中に流体をデュアルステージ注射器から吐き出す方向を意味する。同様に、相対的な用語「近位」は、プランジャをデュアルステージ注射器のバレルに挿入し、デュアルステージ注射器の操作中に流体をデュアルステージ注射器からから吐き出す方向の反対を意味する。概して、本明細書で使用されるとき方向の用語(例えば、上、下、右、左、前、後、上部、底部、遠位、および近位)は、描かれた図を参照してのみなされ、全体として任意のデバイス、任意のデバイス部品、または任意の実施形態の絶対的な向きを示唆することは意図されていないと理解されたい。
ロック機構型デュアルステージ注射器
[0065]次に、ロック機構型デュアルステージ注射器の各実施形態について詳細に言及する。各実施形態では、ロック機構型デュアルステージ注射器は、外筒と、一次プランジャと、1つまたは複数のロック機構とを備えることができる。
[0066]1つまたは複数のロック機構は、第1の境界、第2の境界、および少なくとも3つのステージを定めるように構成され得る。第2の境界は、第1の境界の遠位とすることができる。少なくとも3つのステージは、第1ステージ、中間ステージ、および最終ステージを含むことができる。第1ステージにおいて、一次プランジャは、第1の境界の近位側に挿入され、遠位方向または近位方向に自由に移動可能であり得る。中間ステージにおいて、一次プランジャは、第1の境界の遠位に挿入され、第1の境界を越えて近位方向に移動するのが防がれる。最終ステージにおいて、一次プランジャは、第2の境界の遠位に挿入され、第2の境界を越えて近位方向に移動するのが防がれる。
[0067]いくつかの実施形態では、1つまたは複数のロック機構は、外筒、一次プランジャ、1つまたは複数のさらなる構成要素、あるいはそれらの組合せに組み込まれ得る。さらなる各実施形態では、1つまたは複数のロック機構は、外筒、一次プランジャ、1つまたは複数のさらなる構成要素、あるいはそれらの組合せの表面上の特徴として組み込まれ得る。そのような特徴は、1つまたは複数の先端、突起部、突出部、またはそれらの組合せを含む凸部であり得る。各実施形態では、そのような特徴は、1つまたは複数の溝、軌道、くぼみ、へこみ、他の表面修飾、またはそれらの組合せを含む凹部であり得る。いくつかの実施形態では、凸部は、対応する凹部を有することができる。いくつかの実施形態では、1つまたは複数のロック機構は、スリーブ付きロック機構、ターンキーロック機構、または他のロック機構を含み得る。
[0068]図1には、各実施形態によるロック機構型デュアルステージ注射器100が開示されている。図1に例示された実施形態では、ロック機構型デュアルステージ注射器100は、外筒10、一次プランジャ(ピストン)50を含むことができ、一次プランジャ(ピストン)50は、二次プランジャ70を収容する。図1の分解組立図では、ロック機構型デュアルステージ注射器100は、完全に組み立てられたときに、個々の構成要素10、50、70、およびロック機構型デュアルステージ注射器100自体によって共有される長手方向軸1に沿って位置合わせされるように示されている。完全に組み立てられたロック機構型デュアルステージ注射器100の各実施形態では、その特定の構成は続いてより詳細に説明され、一次プランジャ50の少なくとも一部は外筒10内に収容され、二次プランジャの少なくとも一部は一次プランジャ50内に収容され得る。ロック機構型デュアルステージ注射器100の各実施形態による前述の個々の構成要素10、50、70、1つまたは複数のロック機構、およびそれらの様々な特徴の各々は、次に、より詳細に説明される。
[0069]ロック機構型デュアルステージ注射器100は、外筒10を含むことができる。次に、図1~図5を参照すると、外筒10は、外筒10の近位開口部から外筒10の遠位開口部までにわたり外筒10内に画定された一次チャンバ90を有することができる。
[0070]各実施形態では、外筒10は、例えば、ポリマー、プラスチック、または金属などの様々な材料で作製することができる。外筒のための非限定の例のポリマーには、ポリカーボネート(PC)、ポリエチレン(PE)、ポリエチレンテレフタレート(PET)が含まれる。外筒10のための非限定の例のプラスチックには、ポリ(メタクリル酸メチル)(PMMA)、およびタングステンを担持したポリカーボネートなどの複合樹脂が含まれる。外筒10のための非限定の例の金属および金属合金には、ステンレス鋼、チタン、銅、タングステン、アルミニウム、ピューター、およびこれらのいずれかの様々な合金が含まれる。いくつかの実施形態では、外筒10は、先に挙げたプラスチックまたは金属などの放射線遮蔽材料で作製される。放射線遮蔽材料は、1つまたは複数のロック機構を有するデュアルステージ注射器100内の放射性治療物質からの放射線が、環境まで貫通することができないまたは人々がロック機構型デュアルステージ注射器100を操作することについての安全性への懸念を引き起こし得ないことを確実にするのに十分な厚さを有することができる。各実施形態では、適切な放射線遮蔽材料は、ベータ線、X線、または両方からスリーブ付きロック機構を有するデュアルステージ注射器100の操作者を遮蔽することができる。
[0071]次に図2~図4を参照すると、外筒10の一例示的実施形態が与えられる。図2~図4に与えられる全ての例示的な各実施形態では、ロック機構型デュアルステージ注射器100の外筒10は、外側近位開口部11と、この外側近位開口部11の周りの近位フランジ付き縁部13と、外側近位開口部11の反対側の外側遠位開口部19と、近位フランジ付き縁部13と外側遠位開口部19との間の本体部15とを含むことができる。図2を参照すると、外筒10は、本体部15と外側遠位開口部19との間の首部17を含むことができる。
[0072]図3を参照すると、外筒10は、適宜、続いてより詳細に説明されるように、一次プランジャ50の対応する特徴部を収容するように構成することができる近位凹部12を備えることができる。外筒10の外側近位開口部11は、外側近位開口部11を通じて一次プランジャ50を収容するのに十分広いものであり得る。続いてより詳細に説明されるように、各実施形態では、外筒10の外側近位開口部11は、外側近位開口部11を通じてスリーブ付きロック機構などのロック機構を収容するのに十分広いものであり得る。図3をさらに参照すると、外筒10は、内部に画定された一次チャンバ90を有する。一次プランジャ50は、一次チャンバ90に挿入可能であり得る。いくつかの実施形態では、ロック機構は、一次チャンバ90に挿入可能であり得る。
[0073]図4を参照すると、外筒10は、適宜、近位フランジ付き縁部13の遠位側に向いている側に握持用特徴部14を備えることができる。
[0074]前述したように、ロック機構型デュアルステージ注射器100のいくつかの実施形態では、1つまたは複数のロック機構は、外筒10に組み込まれ得る。そのような各実施形態では、1つまたは複数のロック機構は、凸部および/または凹部などの外筒10の表面上の1つまたは複数の特徴として外筒10に組み込まれる。凸部には、限定するものではないが、先端、突起部、突出部、またはそれらの組合せが含まれ得る。凹部には、限定するものではないが、溝、軌道、くぼみ、凹部、他の表面修飾、およびそれらの組合せが含まれ得る。
[0075]各実施形態では、外筒10は、外筒10の表面上の1つまたは複数の凸部を備えることができる。さらなる各実施形態では、外筒10の表面上の1つまたは複数の凸部は、一次プランジャ50上の対応する1つまたは複数の凹部、1つまたは複数のさらなる構成要素、あるいはそれらの組合せを有することができる。他の各実施形態では、外筒10は、外筒10の表面上の1つまたは複数の凹部を備えることができる。さらなる各実施形態では、外筒10の表面上の1つまたは複数の凹部は、一次プランジャ上の対応する1つまたは複数の凸部、1つまたは複数のさらなる構成要素、あるいはそれらの組合せを有することができる。いくつかの実施形態では、外筒10は、外筒10の表面上の凸部と凹部の組合せを備えることができ、これは、それぞれ一次プランジャ上の対応する凹部と凸部、1つまたは複数のさらなる構成要素、あるいはそれらの組合せを有することができる。
[0076]図5は、外筒410に組み込まれた1つまたは複数のロック機構を有する一例示的実施形態のロック機構型デュアルステージ注射器100を示す。次に図5を参照すると、外筒410の各実施形態は、外筒410内に第1ステージ軌道412と、中間ステージ軌道414と、最終ステージ軌道416とを含むことができる。第1ステージ軌道412、中間ステージ軌道414、および最終ステージ軌道416は、外筒410の表面上の全ての凹部である。図5では、くぼみ418は、外筒410の表面上の凹部でもある。集合的に、第1ステージ軌道412、中間ステージ軌道414、最終ステージ軌道416、およびくぼみ418は、図5に示された実施形態のロック機構の凹部と呼ばれ得る。続いてより詳細に説明されるように、図5に示された実施形態のロック機構の凹部は、図5に示された実施形態の一次プランジャ上の対応する凸部を有する。集合的に、図5に示された実施形態のロック機構の凸部および凹部は、図5に示された実施形態のターンキーロック機構と集合的に呼ばれ得る。したがって、図5に示された実施形態は、ロック機構型デュアルステージ注射器100のターンキー実施形態とも呼ばれ得る。他の各実施形態では、ロック機構型デュアルステージ注射器100は、第1ステージ軌道412、中間ステージ軌道414、および最終ステージ軌道416だけを含み、くぼみ418を含まないターンキーロック機構を備えてもよい。さらに他の各実施形態では、ロック機構型デュアルステージ注射器100は、第1ステージ軌道412、中間ステージ軌道414、最終ステージ軌道416、くぼみ418、および1つまたは複数のさらなるロック機構を含むターンキーロック機構を備えてもよい。
[0077]図5をさらに参照すると、第1ステージ軌道412と中間ステージ軌道414の交差点は、一次プランジャの第1ステージに対応する。第1ステージでは、一次プランジャは、第1ステージ軌道412の近位側に挿入され、遠位方向または近位方向に自由に移動可能であり得る。中間ステージ軌道414は、一次プランジャの中間ステージに対応する。中間ステージでは、一次プランジャは、中間ステージ軌道を横断することができ、中間ステージ軌道を越えて近位方向に移動することができないようになっている。最終ステージ軌道416と中間ステージ軌道414の交差点は、一次プランジャの最終ステージに対応する。 最終ステージでは、一次プランジャは、中間ステージ軌道の遠位側に挿入され、最終ステージ軌道の遠位端を越えて近位方向に移動するのが防がれる。他の各実施形態では、ロック機構型デュアルステージ注射器100は、1つまたは複数のさらなるステージを画定する外筒410の表面に1つまたは複数のさらなる軌道を含むターンキーロック機構を備えることができる。
[0078]外筒10の他の各実施形態のように、外筒410は、前に挙げたポリマー、プラスチック、金属、または合金のいずれかを含むことができ、または外筒410は、ナイロンなどの他の材料を含んでもよい。
[0079]次に、ロック機構型デュアルステージ注射器100の一次プランジャ50の各実施形態について言及する。図1に戻って参照すると、一次プランジャ50は、一次プランジャ50の近位開口部から一次プランジャ50の封止された遠位端までにわたり一次プランジャ50内に画定された二次チャンバを有することができ、一次プランジャ50は、一次プランジャ50の近位開口部を通じて二次プランジャ(ピストン)70を受け入れるように構成されている。各実施形態では、一次プランジャ50は、外筒10に収容されるのに十分に狭いものであり得る。
[0080]各実施形態では、一次プランジャ50は、例えば、ポリマー、プラスチック、または金属などの様々な材料で作製することができる。外筒のための非限定の例のポリマーには、ポリカーボネート(PC)、ポリエチレン(PE)、ポリエチレンテレフタレート(PET)が含まれる。一次プランジャ50のための非限定の例のプラスチックには、ポリ(メタクリル酸メチル)(PMMA)、およびタングステンを担持したポリカーボネートなどの複合樹脂が含まれる。一次プランジャ50のための非限定の例の金属および金属合金には、ステンレス鋼、鉛、銅、タングステン、アルミニウム、ピューター、およびこれらのいずれかの様々な合金が含まれる。いくつかの実施形態では、一次プランジャ50は、先に挙げたプラスチックまたは金属などの放射線遮蔽材料で作製される。放射線遮蔽材料は、1つまたは複数のロック機構を有するデュアルステージ注射器100内の放射性治療物質からの放射線が、環境まで貫通することができないまたは人々がロック機構型デュアルステージ注射器100を操作することについての安全性への懸念を引き起こし得ないことを確実にするのに十分な厚さを有することができる。各実施形態では、適切な放射線遮蔽材料は、ベータ線、X線、または両方からスリーブ付きロック機構を有するデュアルステージ注射器100の操作者を遮蔽することができる。
[0081]次に、図6~図9を参照すると、一次プランジャ50の一例示的実施形態が与えられる。図6~図9では、一次プランジャ50は、近位翼部51と、遠位プランジャ開口部53と、プランジャ本体部55とを備えることができる。一次プランジャは、近位翼部51から遠位プランジャ開口部53まで内部に画定された二次チャンバ95を備えることができる。適宜、一次プランジャ50は、近位翼部51にハンドルロック部52を備えてもよい。二次チャンバ95は、続いてより詳細に説明される二次プランジャ70を収容することができる。プランジャ本体部55は、遠位止め輪56および近位止め輪58などの1つまたは複数の止め輪を備えることができる。いくつかの実施形態では、遠位止め輪56と近位止め輪58の両方は、一次プランジャ50が移動するときに、続いてより詳細に説明されるロック機構の各実施形態と相互作用するように構成することができる。
[0082]次に、図8~図9を参照すると、各実施形態では、一次プランジャ50は、プランジャ・シール60を取り付けるためのシール設置部59を備えることができる。プランジャ・シール60は、一方向弁、フラップ、または流れチャネル(流路)を含むことができる。図9に示されるように、各実施形態では、より詳細に説明されるように、プランジャ・シール60は、一次プランジャに取り付けることができ、ロック機構型デュアルステージ注射器100の動作における適切なステージまで遠位プランジャ開口部53を通じて流体が流れることを防ぐためにプランジャ・シール60が遠位プランジャ開口部53を覆うようになっている。
[0083]ロック機構型デュアルステージ注射器100のいくつかの実施形態では、1つまたは複数のロック機構は、一次プランジャに組み込まれ得る。そのような各実施形態では、一次プランジャに組み込まれる1つまたは複数のロック機構は、凸部および/または凹部などの一次プランジャの表面上の1つまたは複数の特徴部を含むことができる。凸部には、限定するものではないが、先端、突起部、突出部、またはそれらの組合せが含まれ得る。凹部には、限定するものではないが、溝、軌道、くぼみ、へこみ、他の表面構成、およびそれらの組合せが含まれ得る。
[0084]各実施形態では、一次プランジャ50は、一次プランジャ50の表面上の1つまたは複数の凸部を備えることができる。さらなる各実施形態では、一次プランジャ50の表面上の1つまたは複数の凸部は、外筒上の対応する1つまたは複数の凹部、1つまたは複数のさらなる構成要素、あるいはそれらの組合せを有することができる。他の各実施形態では、一次プランジャ50は、一次プランジャ50の表面上の1つまたは複数の凹部を備えることができる。さらなる各実施形態では、一次プランジャ50の表面上の1つまたは複数の凹部は、外筒上に対応する1つまたは複数の凸部、1つまたは複数のさらなる構成要素、あるいはそれらの組合せを有することができる。いくつかの実施形態では、一次プランジャ50は、一次プランジャ50の表面上の凸部と凹部の組合せを備えることができ、これは、それぞれ外筒上の対応する凹部と凸部、1つまたは複数のさらなる構成要素、あるいはそれらの組合せを有することができる。
[0085]図10は、一次プランジャに組み込まれるロック機構型デュアルステージ注射器の一例示的実施形態を示す。次に図10を参照すると、一次プランジャ450の各実施形態は、先に説明された図5のターンキーロック機構の凹部に対応するように適切に成形およびサイズ決定される凸部(先端)465を含む。各実施形態では、凸部は、外筒410の軌道412、414、416内に移動するように適切に成形およびサイズ決定することができる。
[0086]前述したように、ロック機構型デュアルステージ注射器100の1つまたは複数のロック機構は、第1の境界、第2の境界、および少なくとも3つのステージを定めるように構成することができる。第2の境界は、第1の境界の遠位側とすることができる。少なくとも3つのステージは、第1ステージ、中間ステージ、および最終ステージを含むことができる。第1ステージにおいて、一次プランジャは、第1の境界の近位側に挿入され、遠位方向または近位方向に自由に移動可能であり得る。中間ステージにおいて、一次プランジャは、第1の境界の遠位側に挿入され、第1の境界を越えて近位方向に移動するのが防がれる。最終ステージにおいて、一次プランジャは、第2の境界の遠位側に挿入され、第2の境界を越えて近位側に移動するのが防がれる。
[0087]いくつかの実施形態では、1つまたは複数のロック機構は、一次チャンバ90内に配設されたスリーブに組み込まれ得る。例えば、一次チャンバ90内に配設されたスリーブに組み込まれる1つまたは複数のロック機構は、先端、突起部、突出部、溝、軌道、くぼみ、または他の表面構成などの一次チャンバ90内に配設されたスリーブの表面上の特徴を含み得る。一次チャンバ90内に配設されたスリーブに組み込まれたロック機構の一例は、スリーブ付きロック機構を含むことができ、これは、次に、より詳細に説明される。
[0088]次に、図11~図15を参照してスリーブ付きロック機構を有するデュアルステージ注射器の各実施形態を説明する。図11を参照すると、各実施形態によるスリーブ付きロック機構200を有するデュアルステージ注射器は、外筒210、ロッキングスリーブ230、および二次プランジャ270を収容する一次プランジャ250を備えることができる。図11の分解組立図では、スリーブ付きロック機構300を有するデュアルステージ注射器の構成要素は、完全に組み立てられたときに、個々の構成要素210、230、250、270、およびスリーブ付きロック機構200を有するデュアルステージ注射器自体によって共有される長手方向軸31に沿って位置合わせされるように示されている。完全に組み立てられたスリーブ付きロック機構200を有するデュアルステージ注射器では、その特定の構成は続いてより詳細に説明され、ロッキングスリーブ230は外筒210内に収容され、一次プランジャ250の少なくとも一部はロッキングスリーブ230および外筒210内に収容され、二次プランジャ270の少なくとも一部は一次プランジャ250内に収容され得る。
[0089]図11~図15を再び参照すると、スリーブ付きロック機構200を有するデュアルステージ注射器の各実施形態は、ロッキングスリーブ230を含むことができる。図11~図15を参照すると、各実施形態によるロック機構230は、外筒10の形状に適合する形状を有する本体部235を備えることができる。ロック機構230は、外筒10の外側近位開口部11にロック機構を設置するように構成された近位リッジ232などの一体的な組立てに使用することができる1つまたは複数の特徴部を備えることができる。ロック機構230は、遠位爪部材(遠位留め部材とも言う)240を備えることができる。遠位爪部材240は、続いてより詳細に説明されるように、ロック機能を実行するのに適した様々な形状および寸法を有してもよい。説明されるように、遠位爪部材240は、一次プランジャ50が遠位方向にロック機構を通過することを可能にするのに十分な弾力性を有するが、外向きに偏向し(しなり又は反り)、一次プランジャ50の近位方向への移動を防ぐことができる。
[0090]図11~図15の実施形態では、遠位爪部材240は、本体部235の遠位端で本体部235の周囲に沿って交互になる長い爪242および短い爪246として構成される。長い爪242は、スリーブ付きロック式デュアルステージ注射器200のわずかに内向きに(すなわち、長手方向軸1(図11参照)の方へ)角度付けられた長い爪端部244を備える。短い爪246は、やはりわずかに内向きに角度付けられた短い爪端部248を備える。長い爪242の長さは、遠位止めレベル243を画定する。同様に、短い爪246の長さは、近位止めレベル247を画定する。続いてより詳細に説明されるように、遠位止めレベル243および近位止めレベル247は、位置を定め、一次プランジャ50が外筒10に挿入されるとともにロック機構30によって囲まれるとき、一次プランジャ50がそれを越えて近位方向へ移動することが防がれる。
[0091]図16~図17を参照すると、一次プランジャ250は、ロッキングスリーブ230に挿入可能である。一次プランジャ250がロッキングスリーブ230を通じて遠位方向に挿入されるとき、遠位止め輪256および続いて近位止め輪258は、遠位爪部材40(例えば、長い爪42および短い爪46)を遠位に通り越す。次いで、遠位爪部材40は、内向きに偏向し、近位止め輪58が遠位爪部材40を通じて(すなわち、長い爪端部44を越えて)近位方向に戻るある点を越えて一次プランジャ50が近位に取り出されるのを防ぐように一次プランジャ50をロックする。他の各実施形態では、遠位爪部材240は、本体部235の遠位端で本体部235の周囲に沿った様々な長さの爪であり得る。他の各実施形態では、長い爪242は、スリーブ付きロック式デュアルステージ注射器200のわずかに外向きに(すなわち、長手方向軸1(図11参照)から離れるように)角度付けられる得る長い爪端部244を備える。さらなる各実施形態では、短い爪246は、わずかに外向きに角度付けられ得る短い爪端部248を備える。
[0092]図18を参照すると、二次プランジャ70は、細長部74と、ハンドル部75と、二次シール80とを備えることができる。二次プランジャ70の細長部74は、細長部74に安定性を与えるとともに二次プランジャ70を一次プランジャ50の二次チャンバ95に挿入するのを容易にするために、細長部74に直角をなすリブ状部材76を備えることができる。二次プランジャ70は、一次プランジャ50の二次チャンバ95に二次プランジャ70が挿入され得る最大範囲を定める挿入止め72を備えることができる。挿入止め72、細長部74、ハンドル部75、およびリブ状部材76(もしあれば)は、様々な形状、サイズ、または構成を有することができ、図18の特定の構成に限定されないことを理解されたい。
[0093]スリーブ付きロック機構200を有するデュアルステージ注射器の主要な構成要素が、ロッキングスリーブ230の一般的な動作原理と共に説明されている。この主要な構成要素および一般的な動作原理により、スリーブ付きロック機構200を有するデュアルステージ注射器は少なくとも5つの動作ステージとなり、次に、これらの各々を図19~図29を参照して説明する。詳細には、動作ステージは、出荷構成(又は出荷時の状態)(図19~図21)、フラッシュ構成(図22~図23)、突き刺された構成(図24~図25)、プライム構成(図26~図27)、および送達構成(図28~図29)を含む。これらの動作ステージに関する説明は、スリーブ付きロック式デュアルステージ注射器200の動作の1つを例示し、スリーブ付きロック式デュアルステージ注射器200を動作させるやり方の1つを例示することによって、スリーブ付きロック式デュアルステージ注射器200の主要な構成要素の機能および相乗効果をさらに明らかにすることが意図されていると理解されたい。
[0094]各実施形態では、スリーブ付きロック式デュアルステージ注射器200の図19~図21の出荷構成は、スリーブ付きロック式デュアルステージ注射器200が放射線塞栓などの処置のためにスリーブ付きロック式デュアルステージ注射器200を送達システムに組み込もうとする資格を持っている医療従事者によって受け取られ得る構成である。出荷構成では、ロック機構230、一次プランジャ250、および二次プランジャ270は全て、外筒210に様々な程度まで挿入される。詳細には、ロック機構230は、近位リッジ232が外筒210の外側近位開口部211内で封止されるように外筒210に完全に挿入される。一次プランジャ250は、外筒210に部分的にだけ挿入され、それによってプランジャ本体部255のいくらかの量は外筒210の外側のままである。さらに、一次プランジャ250は、ロック機構を通じて十分遠くにだけ挿入され、遠位止め輪256は、ロック機構230の長い爪242の長い爪端部244を越えて遠位に通っていないようになっている。
[0095]スリーブ付きロック式デュアルステージ注射器200の出荷構成では、一次プランジャ250によって満たされていない一次チャンバ290の部分は、最初、生理的食塩水などの流体を収納しており、この流体は、放射線塞栓処置の始めに空気系をフラッシュする(押し流す)ためのものである。単に例示するために、送り針150が、一次チャンバ290の中に突出するものとして示される。いくつかの実施形態では、送り針150は、出荷構成において、スリーブ付きロック式デュアルステージ注射器200に取り付けられ得る。他の各実施形態では、送り針150は、送達システムの構成要素であり得る。いくつかの実施形態は、遠位固定具5を備えることができる。いくつかの実施形態では、遠位特徴部5は、送り針150を通じた場合を除いて一次チャンバ290と外筒210の外側との間で流体連通するのを防ぐための外筒210の外側遠位開口部217を封止するガスケットであり得る。他の各実施形態では、遠位特徴部5は、ロック式デュアルステージ注射器200を送達デバイスに接続するために使用することができるルアー接続であり得る。さらなる各実施形態では、ルアー接続は、送達デバイス上に対応する雌ルアー接続を有する雄ルアー接続であり得る。他の各実施形態では、遠位特徴部5は、スリップフィット、ニードルレス接続ポート、または送達デバイスへの取り付けに適した任意の他の接続などの別の接続部であり得る。
[0096]スリーブ付きロック式デュアルステージ注射器200の出荷構成では、二次プランジャ270が、挿入止め272が一次プランジャ250の近位翼部251に当接する程度まで二次チャンバ295に挿入される。二次プランジャ270によって占有されていない二次チャンバ295の部分は、放射線塞栓ビーズ(図示せず)で充填される。放射線塞栓ビーズは、プランジャ・シール260によって二次チャンバ内で封止される。一次チャンバ290と二次チャンバ295との間に流体連通は存在しない。
[0097]各実施形態では、スリーブ付きロック式デュアルステージ注射器200を出荷構成に受け入れ、適宜、スリーブ付きロック式デュアルステージ注射器200を送り針150に流体的に接続されている貯槽(リザーバ;図示せず)を含む適切な送達システムに接続すると、施術者は、二次プランジャ270を近位に引っ張って一次プランジャ250と二次プランジャ70の両方を近位方向に移動させることができ、それによって一次チャンバ290を拡張し、貯槽内の流体を吸引力によって一次チャンバ290に引き込む。次いで、施術者(医療従事者)は、二次プランジャを遠位側に押して、一次チャンバ290内の流体を貯槽の方へ戻し、スリーブ付きロック式デュアルステージ注射器200をフラッシュ構成におくことができる。
[0098]各実施形態では、スリーブ付きロック式デュアルステージ注射器200の図22~図23のフラッシュ構成では、近位止め輪258は、短い爪端部248を通しており、長い爪端部244とほぼ等しくするが、長い爪端部244を遠位方向に通していない。近位止め輪258が短い爪端部を通すので、短い爪端部248は、内向きにスナップすることができ、フラッシュ構成が到達したことを施術者に知らせるために音が聞こえるクリックを伴う。音が聞こえるクリックが聞こえると、一次プランジャは、短い爪端部48が近位止め輪258に対して当接する点を越えて近位方向に移動することができない。スリーブ付きロック式デュアルステージ注射器200のフラッシュ構成では、送り針150は、一次プランジャ250のプランジャ封止部(または、プランジャ・シール)260を貫通してしない。しかしながら、一次プランジャ250を遠位方向に続けて移動させることによって、スリーブ付きロック式デュアルステージ注射器200は、突き刺された構成に到達し、それによって一次プランジャ250の二次チャンバ295内の放射線塞栓ビーズと送達システムの貯槽に押し入れられた流体の混合が始まり得る。
[0099]各実施形態では、スリーブ付きロック式デュアルステージ注射器200の図24~図25の突き刺された構成では、一次プランジャ250は、最大限に外筒210に挿入されており、それによって送り針150は、プランジャ・シール260を貫通し、送り針150の突き刺し端155は、放射線塞栓ビーズを収納する二次チャンバ295内に配設される。さらに、突き刺された構成に到達したとき、近位止め輪258は、ロック機構230の長い爪端部244を通す。今度は、長い爪端部244は、その弾力性によって内向きに偏向し、その結果として 第2の音が聞こえるクリックにより突き刺された構成に到達し、二次チャンバ295がスリーブ付きロック式デュアルステージ注射器100の外側の送達システムの貯槽と流体連通していることを施術者に知らせる。したがって、一次プランジャ250は、第2の時間でロックされ、一次プランジャ250の近位方向への移動は完全に防がれる。
[00100]処置中に突き刺された構成が達成されると、施術者は、例えば、二次プランジャ270を回転させることによって二次プランジャ270をロック解除することができる。次いで、施術者は、二次プランジャ270を近位方向に引っ張って二次チャンバ295を拡張し、送達システムの貯槽から二次チャンバ295に流体を引き込むことができ、それによって二次チャンバ295内の放射線塞栓ビーズと密接に混合される。二次プランジャ270を二次チャンバ295から取り除くことなく、二次プランジャ270がその最大範囲まで近位に引っ張られるとき、スリーブ付きロック式デュアルステージ注射器200は、プライム構成にある。
[00101]いくつかの実施形態では、スリーブ付きロック式デュアルステージ注射器200の図26~図27のプライム構成では、二次チャンバ295は、その最大容積を有し、例えば、放射線塞栓ビーズの混合物などの治療混合物、および、例えば、生理的食塩水などの適切なキャリア流体を収納する。この混合物は、送達用混合物であり、患者に注入する準備ができている。
[00102]各実施形態では、スリーブ付きロック式デュアルステージ注射器200の図28~図29の送達構成では、施術者は、患者に注入するために、二次プランジャ270遠位方向に押して、スリーブ付きロック式デュアルステージ注射器200が先に説明されたプライム構成におかれたときに生成された送達用混合物を送り針150を通じて送達システムの中に遠位に吐き出す。二次プランジャ270の挿入止め272を一次プランジャ250の近位翼部251に当接させることで、二次プランジャ270が完全に押し込まれ、送達混合物の投与が完了したことを施術者に合図する。代替として、施術者は、二次プランジャ270を複数回ポンプして、二次チャンバ295を流体で再び満たし、二次チャンバ295の内容物を吐き出す複数のサイクルを達成することでき、それによって完全な投与の放射線塞栓ビーズが送達システムへ送られたことを確実にする。
[00103]スリーブ付きロック式デュアルステージ注射器200の各実施形態の詳細な説明が完了したので、次に、図30~図32を参照してターンキーロック式デュアルステージ注射器400の各実施形態を説明する。外筒410および一次プランジャ450を含むターンキーロック式デュアルステージ注射器400の一実施形態の個々の構成要素は、前に説明している。
[00104]図30に示されるように、完全に組み立てられた ターンキーロック式デュアルステージ注射器400の一例示的実施形態は、外筒410と、(外筒410内に収容される)一次プランジャ450と、二次プランジャ470とを備える。
[00105]先に説明されたスリーブ付きロック式デュアルステージ注射器200のロッキングスリーブ230の代わりに、スリーブ付きロック機構を有するデュアルステージ注射器の各実施形態を比較として、ターンキーロック式デュアルステージ注射器400は、ターンキーロック機構を備える。図30~図32に例示された実施形態に示されるように、ターンキーロック機構は、外筒410内に第1ステージ軌道412と、中間ステージ軌道414と、最終ステージ軌道416とを備えることができる。他の各実施形態では、ターンキーロック式デュアルステージ注射器400は、1つまたは複数のさらなる軌道を備えることができる。先に説明されたスリーブ付きロック式デュアルステージ注射器200のように、ターンキーロック式デュアルステージ注射器400は、前に挙げたポリマー、プラスチック、金属、または合金のいずれかを含むことができ、またはそれは、ナイロンなどの他の材料を含んでもよい。次に図10を参照すると、一次プランジャ450の各実施形態は、先に説明された図5のターンキーロック機構の凹部に対応するように適切に成形およびサイズ決定される凸部465を備える。各実施形態では、凸部465は、外筒410の軌道412、414、416内に移動するように適切に成形およびサイズ決定することができる。
[00106]第1ステージ軌道412と中間ステージ軌道414の交差点は、一次プランジャの第1ステージに対応する。第1ステージ軌道412と中間ステージ軌道414の交差点は、前述したスリーブ付きロック式デュアルステージ注射器200のフラッシュ構成に類似する一次プランジャ450の位置に対応する。第1ステージでは、一次プランジャは、第1ステージ軌道412の近位側に挿入され、遠位方向または近位方向に自由に移動可能であり得る。中間ステージ軌道414は、一次プランジャの中間ステージに対応する。中間ステージでは、一次プランジャは、中間ステージ軌道を横断することができ、中間ステージ軌道を越えて近位方向に移動するのが防がれる。医師は、二次プランジャ470を回転させて中間ステージ軌道414にわたって凸部465をずらし、ターンキーロック式デュアルステージ注射器400が送達構成に入るために用意する。最終ステージ軌道416と中間ステージ軌道414の交差点は、一次プランジャの最終ステージに対応する。二次プランジャ470を遠位方向に最終的に押すことによって、凸部465は、送り針に一次プランジャ450の二次シール80を突き刺させるのに十分遠くへ最終ステージ軌道416を滑り降りる。最終ステージでは、一次プランジャは、中間ステージ軌道の遠位側に挿入され、最終ステージ軌道の遠位端を越えて近位方向に移動するのが防がれる。他の各実施形態では、ターンキーロック式デュアルステージ注射器400は、1つまたは複数のさらなるステージを定めることができる外筒410の表面に1つまたは複数のさらなる軌道を含むターンキーロック機構を備えることができる。
1つまたは複数の一体型(又は統合型)一方向弁を有するデュアルステージ注射器
[00107]いくつかの実施形態では、本明細書に記載されたデュアルステージ注射器は、一体型一方向弁デュアルステージ注射器を含む。いくつかの実施形態では、一体型一方向弁デュアルステージ注射器は、一体化された一方向弁および針を有するデュアルステージ注射器であり得る。いくつかの実施形態では、一体型一方向弁デュアルステージ注射器は、2つの一体化された一方向弁を有するデュアルステージ注射器であり得る。一体型一方向弁デュアルステージ注射器の各実施形態は、悪性肝臓腫瘍の治療のための経動脈的放射線塞栓療法の最中などに2つの別々で隔離された媒体を送達する必要がある任意の技術的な状況で使用され得る。
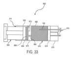
[00108]次に、図33~図36Cを参照すると、一体型一方向弁デュアルステージ注射器600の各実施形態が与えられる。いくつかの実施形態では、一体型一方向弁デュアルステージ注射器600は、少なくとも2つの媒体を独立して送達するように構成され得る一次プランジャ650を備えることができる。
[00109]図33および図35を参照すると、各実施形態による一体型一方向弁デュアルステージ注射器600が与えられる。図33に例示された実施形態では、一体型一方向弁デュアルステージ注射器600は、一次プランジャ650を収容する外筒610を備えることができる。外筒610は、外筒610の近位開口部から外筒610の遠位開口部619までにわたり外筒610内に画定された一次チャンバ690を有することができる。各実施形態では、浮動隔壁プランジャ674は、外筒610の一次チャンバ690内に配設することができる。各実施形態では、仕切り672は、外筒610の一次チャンバ690内に配設することができ、これは、二次チャンバ606と一次チャンバ690を分割する。
[00110]各実施形態では、外筒610は、例えば、ポリマー、プラスチック、または金属などの様々な材料で作製することができる。外筒のための非限定の例のポリマーには、ポリカーボネート(PC)、ポリエチレン(PE)、ポリエチレンテレフタレート(PET)が含まれる。外筒610のための非限定の例のプラスチックには、ポリ(メタクリル酸メチル)(PMMA)、およびタングステンを担持したポリカーボネートなどの複合樹脂が含まれる。外筒610のための非限定の例の金属および金属合金には、ステンレス鋼、鉛、銅、タングステン、アルミニウム、ピューター、およびこれらのいずれかの様々な合金が含まれる。いくつかの実施形態では、外筒610は、先に挙げたプラスチックまたは金属などの放射線遮蔽材料で作製される。放射線遮蔽材料は、一体型一方向弁デュアルステージ注射器600内の放射性治療物質からの放射線が、環境まで貫通することができないまたは人々が一体型一方向弁デュアルステージ注射器600を操作することについての安全性への懸念を引き起こし得ないことを確実にするのに十分な厚さを有することができる。各実施形態では、適切な放射線遮蔽材料は、ベータ線、X線、または両方から一体型一方向弁デュアルステージ注射器600の操作者を遮蔽することができる。
[00111]次に、図33および図35をさらに参照すると、外筒610は、外側近位開口部611と、この外側近位開口部611の反対側の外側遠位開口部619と、外側近位開口部611と外側遠位開口部619との間の本体部615とを含むことができる。
[00112]一体型一方向弁デュアルステージ注射器600のいくつかの実施形態は、前述したものなどの1つまたは複数のロック機構を含むことができる。例えば、一体型一方向弁デュアルステージ注射器600は、ロッキングスリーブを備えることができる。ロッキングスリーブ630を備える一体型一方向弁デュアルステージ注射器600の一例は、図33および図36に与えられる。ロッキングスリーブ630は、ロッキングスリーブ230と同様であり得る。したがって、ロッキングスリーブ230のように、遠位爪部材を備え得るロッキングスリーブ630は、ロッキングスリーブ630の遠位端で本体部の周囲に沿って交互になる長い爪および短い爪として構成される。さらなる各実施形態では、1つまたは複数のロック機構630は、より優れた送達制御を可能にすることができ、媒体が変更されたときを確認するための触覚および音声のフィードバックを与えることができる。各実施形態では、一体型一方向弁デュアルステージ注射器600のロック機構は、一時的または永久であり得る。
[00113]次に、図33および図35をさらに参照すると、一体型一方向弁デュアルステージ注射器600は、ロック機構型デュアルステージ注射器100の一次プランジャ650を備えることができる。一次プランジャ650は、二次チャンバ606を定める封止された遠位端604を有することができる。各実施形態では、一次プランジャ650は、外筒610によって収容されるのに十分に狭いものであり得る。一次プランジャ650は、二次チャンバ606に係合し、二次チャンバ606を外筒610に対するプランジャとして機能させることができる。これは、外筒610の作動中に、二次チャンバ606内の媒体に圧力がほとんどまたは全くかけられ得ないことを保証することができる。
[00114]各実施形態では、一次プランジャ650は、例えば、ポリマー、プラスチック、または金属などの様々な材料で作製することができる。外筒のための非限定の例のポリマーには、ポリカーボネート(PC)、ポリエチレン(PE)、ポリエチレンテレフタレート(PET)が含まれる。一次プランジャ650のための非限定の例のプラスチックには、ポリ(メタクリル酸メチル)(PMMA)、およびタングステンを担持したポリカーボネートなどの複合樹脂が含まれる。一次プランジャ650のための非限定の例の金属および金属合金には、ステンレス鋼、鉛、銅、タングステン、アルミニウム、ピューター、およびこれらのいずれかの様々な合金が含まれる。いくつかの実施形態では、一次プランジャ650は、先に挙げたプラスチックまたは金属などの放射線遮蔽材料で作製される。放射線遮蔽材料は、一体型一方向弁デュアルステージ注射器600内の放射性治療物質からの放射線が、周囲環境に漏れないまたは人が一体型一方向弁デュアルステージ注射器600を操作することについての安全性への懸念を引き起こし得ないことを確実にするのに十分な厚さを有することができる。各実施形態では、適切な放射線遮蔽材料は、ベータ線、X線、または両方から一体型一方向弁デュアルステージ注射器600の操作者を遮蔽することができる。
[00115]一体型一方向弁デュアルステージ注射器600の各実施形態は、二次チャンバ606から一次チャンバ690へとなり得る一方向にだけ流れることを可能にするように構成される一方向弁682を備えることができる。一方向弁682は、二次チャンバ606内の媒体が一次チャンバ690からの流体と混合されることを可能にすることができる。さらなる各実施形態では、一体型一方向弁デュアルステージ注射器600は、二次チャンバ606内の媒体が一次チャンバ690からの流体と複数回混合され、一次チャンバ690が複数回一掃(パージ)されることを可能にすることができる。詳細には、一体型一方向弁デュアルステージ注射器600は、一方向にだけ流れることを可能にするようにそれぞれ構成される1つまたは複数のさらなる一方向弁を備えることができる。詳細には、一方向弁は、1つまたは複数のさらなる注射器との二次または外部接続などの二次または外部接続の必要性をなくしつつ、一次チャンバ690内に収納された媒体と二次チャンバ606内の媒体とを混合する流路を可能にすることができる。各実施形態では、チャンバの個数およびサイズを変えることができる。
[00116]次に図33を参照すると、いくつかの実施形態では、一体型一方向弁デュアルステージ注射器600は、浮動隔壁プランジャ674を通過し、一次チャンバ690の中に入る針150を備えることができる。この実施形態は、針150の遠位端に一方向弁681を備えることができる。図33では、仕切り672は、ポート673を備えることができる。いくつかの実施形態では、ポート673は、針150と位置合わせすることができる。他の各実施形態では、一次プランジャ650、外筒610、または他の構成要素は、ポート673を針150と位置合わせするために回転することができる。
[00117]図34A、図34B、および図34Cは、図33の一体型一方向弁デュアルステージ注射器600の実施形態の動作を例示する。図34Aでは、一次プランジャ650が、遠位方向に進められ、これにより二次チャンバ606および封止された遠位端604を遠位方向に進ませる。図34Bでは、ロッキングスリーブ630の第1のロックは、係合されてもよく、バレルは、ロッキングスリーブ630の第2のロックに係合し、針150および封止されたポート673を位置合わせするように回転することができる。図34Cでは、ロッキングスリーブ630の第2のロックは、係合されてもよく、針150は、ポート673を突き刺すことができる。図34Cでは、一次チャンバ690からの媒体は、一次チャンバ690から一方向弁682を通じて二次チャンバ606に流れ込み、一次チャンバ690からの流体と混合されることができる。次いで、混合された流体は、ポート673を通り、中空の針150を通り、一方向弁681を通って、外側遠位開口部619から外へ流れることができる。
[00118]次に図35を参照すると、いくつかの実施形態では、一体型一方向弁デュアルステージ注射器600は、二次チャンバ606から外筒610の側壁629内に配設されたチャネル627へ流れることを可能にすることができる一方向弁683を外筒610の一方の側に備えることができる。
[00119]図36A、図36B、および図36Cは、図35の一体型一方向弁デュアルステージ注射器600の実施形態の動作を例示する。 図35Aでは、一次プランジャ650は、遠位方向に進められ、これにより二次チャンバ606および封止された遠位端604を遠位方向に進ませる。図34Bでは、ロッキングスリーブ630の第1のロックは、係合されてもよく、バレルは、ロッキングスリーブ630の第2のロックに係合し、開口部677(図35参照)を一方向弁683と位置合わせするように回転することができる。図34Cでは、ロッキングスリーブ630の第2のロックは、係合されてもよく、一方向弁683は、二次チャンバ606が筒610の側壁629内配設されたチャネル627と流体連通しているように位置合わせされてもよい。図34Cでは、一次チャンバ690からの媒体は、一次チャンバ690から一方向弁682を通じて二次チャンバ606に流れ込み、一次チャンバ690からの流体と混合され得る。次いで、混合された流体は、一方向弁683を通って、チャネル627を通って、一方向弁681を通って、および外側遠位開口部619から外へ流れることができる。
[00120]各実施形態では、一体型一方向弁デュアルステージ注射器600は、金属、金属合金、およびポリマーなどの任意の生体適合材料を含む。いくつかの実施形態では、一体型一方向弁デュアルステージ注射器600は、ポリカーボネート、ポリエチレン、およびポリエチレンテレフタレートなどのポリマーを含むことができる。いくつかの実施形態では、一体型一方向弁デュアルステージ注射器600は、熱可塑性エラストマー、熱可塑性加硫物、シリコーンなどの任意の適切な材料から作製された封止を備えることができる。いくつかの実施形態では、一体型一方向弁デュアルステージ注射器600は、鉛、ステンレス鋼、および銅などの金属を含むことができる。他の各実施形態では、一体型一方向弁デュアルステージ注射器600は、例えば、熱可塑性エラストマー、熱可塑性加硫物、またはシリコーンなどの材料でオーバーモールドされてもよい。
[00121]ロック機構型デュアルステージ注射器、および一体型一方向弁を有するデュアルステージ注射器を含み得る本明細書に記載されたデュアルステージ注射器の各実施形態では、1つまたは複数の安全性のための特徴は、遠位特徴部5(図21参照)、例えば、ガスケット、ルアー接続、スリップフィット、ニードルレス接続ポート、または送達デバイスへの取り付けに適した任意の他の接続部を含み得る。例えば、ロック機構型デュアルステージ注射器、および一体型一方向弁を有するデュアルステージ注射器を含み得る本明細書に記載されたデュアルステージ注射器の各実施形態は、送り針を通じた場合を除いて一次チャンバと外筒の外側との間で流体連通するのを防ぐための外筒の外側遠位開口部を封止する図21の遠位特徴部5に類似するガスケットを備え得る。他のロック機構型デュアルステージ注射器、および一体型一方向弁を有するデュアルステージ注射器を含み得る本明細書に記載されたデュアルステージ注射器の各実施形態は、送達デバイスに接続するために使用することができる遠位特徴部5(図21参照)に類似するルアー接続部を含み得る。さらなる各実施形態では、ルアー接続部は、送達デバイス上に対応する雌ルアー接続を有する雄ルアー接続部であり得る。他の各実施形態では、遠位特徴部5は、スリップフィット、ニードルレス接続ポート、または送達デバイスへの取り付けに適した任意の他の接続などの別の接続特徴であり得る。
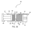
[00122]ロック機構型デュアルステージ注射器、および一体型一方向弁を有するデュアルステージ注射器を含み得る本明細書に記載されたデュアルステージ注射器の各実施形態では、デュアルステージ注射器は、本明細書に記載されたデュアルステージ注射器の各実施形態を危険な治療物質の安全かつ有効な送達に適したものにさせるのに貢献し得る1つまたは複数の安全性のための特徴を備えることができる。続いてより詳細に説明されるように、本明細書に記載されたデュアルステージ注射器の各実施形態に適宜組み込まれ得る安全性のための特徴は、膜技術、安全タブ、テレメータ化された(遠隔測定機能を有する、または、テレメータを備えた)注射器プランジャキャップ、針特徴、磁性壁、およびそれらの組合せを備えることができる。いくつかの実施形態では、次に図4を参照すると、遠位端19は、取り外し可能または突き刺し可能な材料で封止することができる。同様に、遠位端419(図5参照)および遠位端610(図33、図35参照)は、取り外し可能または突き刺し可能な材料で封止することができる。
[00123]ロック機構型デュアルステージ注射器、および一体型一方向弁を有するデュアルステージ注射器を含み得る本明細書に記載されたデュアルステージ注射器の各実施形態では、1つまたは複数の安全性のための特徴は、例えば、一次プランジャが遠位方向に進められるときに、注射器内から圧力を逃す役割を果たすことができる逃し弁またはベントを含むことができる。いくつかの実施形態では、図21に示されるように、逃し弁またはベント(空気・液体等を抜くための孔)3は、外筒の遠位端に組み込まれ得る。
[00124]次に、図37を参照すると、ロック機構型デュアルステージ注射器、および一体型一方向弁を有するデュアルステージ注射器を含み得る本明細書に記載されたデュアルステージ注射器の各実施形態では、デュアルステージ注射器は、適宜、システムから空気をパージ(除去)するのを助けるために膜部材800を含んでもよい。図37に示されるように、一例示的実施形態は、膜部材800と流体連通している突き刺された構成でスリーブ付きロック式デュアルステージ注射器200を含む。いくつかの実施形態では、膜部材800は、表面汚染を減少させるとともに微生物進入を防ぐ乾燥、密封接続、気密膨張チャンバを形成するように共に働く構成要素を含むことができる。さらなる各実施形態では、膜構成要素は、危険な薬剤バイアルならびに静脈注射用の接続および管の全ての標準的なサイズに適合する規格に適合し得る。
[00125]次に、図38~図39を参照すると、ロック機構型デュアルステージ注射器、および一体型一方向弁を有するデュアルステージ注射器を含み得る本明細書に記載されたデュアルステージ注射器の各実施形態では、デュアルステージ注射器は、適宜、一定量の溶液内で製薬および粒子を混合または混濁させるのを助けるためにラチェット式安全タブ900を備えることができる。
[00126]放射線塞栓の文脈では、微小球などの放射性粒子は、本明細書に記載されたデュアルステージ注射器の各実施形態など、事前に充填された注射器内で医療施設へ輸送され得る。この時間の間、放射性粒子は、注射器の底に沈降し得る。したがって、粒子を含む治療液が有効な送達のための適切な濃度を有するように、粒子を再混濁させるのを助けるために、医療専門家が、所与の量の生理的食塩水を注射器の中に引き上げることが必要とされる。この懸濁が行われない場合、粒子が大きい塊で患者へ送達されるという危険があり得、かつ/または大きい塊が投薬用チュービングセットを詰まらせ得、これによって投薬失敗という結果になり得る危険がある。
[00127]したがって、ラチェット式安全タブ900は、一定量の溶液内で製薬および粒子を混合または混濁させるのを助けるために本明細書に記載されたデュアルステージ注射器の各実施形態に組み込まれ得る。次に、図38を参照すると、ラチェット式安全タブ900の各実施形態は、安全タブ910を含むことができ、安全タブ910は、プランジャ取付部940によって一次プランジャ50へ安全タブ910の一端で接続され、一次プランジャ50は、ラチェット式安全タブ900の遠位端930で1つまたは複数の角度付きの歯920を含むことができる。
[00128]図39は、本明細書に記載されたデュアルステージ注射器の各実施形態に構成されたラチェット式安全タブ900の断面側面図を示す。各実施形態では、1つまたは複数の角度付きの歯920は、一次プランジャ50に取り付けられた1つまたは複数の保持クリップを係合することができる。他の各実施形態では、一次プランジャ50に取り付けられた1つまたは複数の保持クリップを係合することができるピンまたはロットなどの様々な嵌合機構が使用され得る。
[00129]図39を参照すると、一次プランジャ50が近位側に引っ張られるとき、タブ910上の1つまたは複数の角度付きの歯920が、保持クリップ11を過ぎて摺動する。さらに、ラチェット式安全タブ900上の角度付きの歯920が保持クリップ11を過ぎて近位方向に摺動するようになっており、また、一次プランジャ50を遠位方向に進めようとすると、しっかりと止まるようになっている。各実施形態では、一次プランジャ50は、安全タブ910上の1つまたは複数の角度付きの歯920の各々が摺動して保持クリップ11を越すまで近位側に引っ張られ得る。他の各実施形態では、ジオメトリ(形状、構造等)は、安全タブ910を取り除くことができる前に所定の距離だけ一次プランジャ50が引っ張られなければならないようないずれかの構成であり得る。安全タブ910が取り除かれると、次いで、一次プランジャ50を押し込むことができ、治療が投与され得る。他の各実施形態では、安全タブ910は、治療が投与されるために一次プランジャ50から取り除かれる必要がなくてもよい。一次プランジャ50が所定の距離を越えて引っ張られると、使用者は、「ロック解除」または「送達」位置まで安全タブ910を回転させることができる。安全タブ910がロック解除されると、次いで、一次プランジャ50を押し込むことができ、治療が投与され得る。安全タブ910がロックされるとき、一次プランジャ50は押し込むことができず、治療を投与することができない。
[00130]各実施形態では、ラチェット式安全タブ900は、金属、金属合金、およびポリマーなどの任意の生体適合材料を含むことができる。いくつかの実施形態では、ラチェット式安全タブ900は、ポリカーボネート、ポリエチレン、ポリプロピレン、およびポリエチレンテレフタレートなどのポリマーを含むことができる。いくつかの実施形態では、ラチェット式安全タブ900は、例えば、熱可塑性エラストマー、熱可塑性加硫物、またはシリコーンなどの任意の適切な材料から作製された封止部材(シール)を備えることができる。いくつかの実施形態では、ラチェット式安全タブ900は、鉛、アルミニウム、ステンレス鋼、および銅などの金属を含むことができる。
[00131]次に、図40A、図40B、および図40Cを参照すると、いくつかの実施形態では、本明細書に記載されたデュアルステージ注射器は、テレメータ化された注射器プランジャキャップ1000を備えることができる。
[00132]経動脈的放射線塞栓療法処置中、注入圧および流速の変化は、医療デバイスおよびシステムの安全性、有効性、および患者の快適さに影響を及ぼし得る。前述したように、例えば、肝臓癌は、化学療法に関連して塞栓形成ビーズを用いて治療され得る。このシナリオでは、血管系は、化学療法により構造的に弱まっている。したがって、内科医が安全に使用できる注入圧は、制限され得る。しかしながら、塞栓形成ビーズの有効性および分散は、注入圧および流速の増加に相関する。
[00133]したがって、いくつかの実施形態では、本明細書に記載されたデュアルステージ注射器は、テレメータ化された注射器プランジャキャップ1000を備えることができ、テレメータ化された注射器プランジャキャップ1000は、デュアルステージ注射器から送達される塞栓形成ビーズの注入圧および流速を監視および記録し、血管系に損傷を与えることなく、所望の分散が実現されることを可能にすることができる。各実施形態では、テレメータ化された注射器プランジャキャップは、リアルタイムフィードバックを医療専門家に与えることができ、得られたデータは、患者の転帰(治療後の経過や結果)と相関され、トレーニングの数量化するのに役立ち、自動化システムおよび人間工学的デバイスへ入力を与えることができる。いくつかの実施形態では、テレメータ化された注射器プランジャキャップの圧力センサおよび/または変位センサの1つまたは複数は、注射器プランジャの対応する移動を感知されたプランジャ移動として感知することができ、注射器プランジャが並進方向に並進移動されるときに、並進方向の移動が近位方向または遠位方向の一方に注射器プランジャを進めさせるようになっている。各実施形態では、次いで、これは、テレメータ化された注射器プランジャキャップの圧力センサおよび変位センサの1つまたは複数によって、感知されたプランジャ移動に基づいて、1つまたは複数の出力信号を生成する。次いで、これは、プロセッサによって、1つまたは複数の出力信号に基づいて、投与された流体の流速、投与された流体の流量、投与された流体の圧力、注射器プランジャに加えられる圧力、または注射器に対する注射器プランジャの移動の並進方向の少なくとも1つを生成する。いくつかの実施形態では、与された流体の流速、投与された流体の流量、投与された流体の圧力、または注射器に対する注射器プランジャの移動の並進方向の少なくとも1つは、注射器に通信可能に結合されたディスプレイ(表示装置)に表示することができる。
[00134]図40Aは、テレメータ化された注射器プランジャキャップ1000の平面図を示す。各実施形態では、テレメータされる注射器プランジャキャップ1000は、プランジャまたは注射器100の近位端に取り付けられるキャップ内に収められる無線送信機1008、圧力センサ1005、および変位センサ1001を備えてもよい。図40Bは、図40Aに示されたA-Aに沿った断面図を示す。図40Cは、プランジャまたは注射器100の近位端に取り付けられたテレメータ化された注射器プランジャキャップ1000を示す。他の各実施形態では、テレメータ化された注射器プランジャキャップ1000と注射器100との間で係合するための機構は、例えば、機械的、化学的、または磁気的であり得る。いくつかの実施形態では、無線送信機1008は、Bluetooth送信機であり得る。いくつかの実施形態では、変位センサ1001は、加速度計を含み得る。いくつかの実施形態では、キャップは、ポリエチレンから作製され得る。
[00135]一例示的実施形態では、テレメータ化された注射器プランジャキャップ1000は、微小球などの放射性物質を収納するプランジャまたは注射器100の近位端に取り付けられ得る。内科医が注射器の上部に圧力を加えるとき、テレメータ化された注射器プランジャキャップ1000は偏向し、圧力は、内部圧力センサ1005によって測定される。注射器100が前方へ並進するとき、変位センサ1001は、動きを記録する。圧力センサ1005と変位センサ1001の両方からの情報は、コンピュータまたはスマートデバイスにリアルタイムで無線送信されてもよく、そこで情報は、閲覧および記憶され得る。処理が完了すると、テレメータ化された注射器プランジャキャップ1000は、滅菌および再利用のために廃棄または回収され得る。いくつかの実施形態では、テレメータ化された注射器プランジャキャップ1000は、Bluetooth、WiFi、および有線接続を含む様々な通信手段によって他のデバイスと通信することができる。
[00136]他の各実施形態では、テレメータ化された注射器プランジャキャップ1000は、先に説明された同じ出力を発生させることができる静電容量センサ、抵抗センサ、レーザセンサ、および光学センサなどの様々なタイプの任意の個数のセンサを含むことができる。他の各実施形態では、テレメータ化された注射器プランジャキャップ1000は、さらなる出力または標識付け(ラベル表示)を生成することができるRFIDタグおよび温度センサなどの様々なタイプの任意の個数のセンサを備えることができる。いくつかの実施形態では、さらなるセンサは、引き抜き力、圧力、または速度を監視するために加えられてもよい。
[00137]テレメータ化された注射器プランジャキャップ1000は、LED、突起部、および触覚表示モダリティなどの異なる表示モダリティ(または、表示様式)を含むことができる。他の各実施形態では、テレメータ化された注射器プランジャキャップ1000は、点滅光、音、振動などの警報特徴を含むことができる。
[00138]各実施形態では、テレメータ化された注射器プランジャキャップ1000は、金属、金属合金、およびポリマーなどの任意の生体適合材料を含むことができる。いくつかの実施形態では、テレメータ化された注射器プランジャキャップ1000は、ポリカーボネート、ポリエチレン、ポリプロピレン、およびポリエチレンテレフタレートなどのポリマーを含むことができる。いくつかの実施形態では、テレメータ化された注射器プランジャキャップ1000は、熱可塑性エラストマー、熱可塑性加硫物、シリコーンなどの任意の適切な材料から作製された封止を備えることができる。いくつかの実施形態では、テレメータ化された注射器プランジャキャップ1000は、ポリオキシメチレン、およびアクリロニトリル・ブタジエン・スチレンを含み得る。いくつかの実施形態では、テレメータ化された注射器プランジャキャップ1000は、鉛、アルミニウム、ステンレス鋼、および銅などの金属を含むことができる。
[00139]いくつかの実施形態では、本明細書に記載されたデュアルステージ注射器の各実施形態の外筒10は、外筒10の外側遠位開口部19の近くで外筒に取り付けられ得るまたはこれに装着され得る1つまたは複数の針を備えることができる。
[00140]いくつかの実施形態では、磁気構成要素、そのような個々の構成要素が、1つまたは複数の磁場を生成することができるように、磁気構成要素は、デュアルステージ注射器の1つまたは複数の個々の構成要素に組み込まれ得る。例えば、いくつかの実施形態では、一次プランジャは、1つまたは複数の磁気構成要素を備えることができる。図7に戻って参照すると、一次プランジャ50は、一次プランジャ50の近位開口部から一次プランジャ50の封止された遠位端までにわたり一次プランジャ50内に画定された二次チャンバを有することができる。一次プランジャ50は、プランジャ本体部55内に1つまたは複数の磁気構成要素を備えることができ、それによってプランジャ本体部55内に備えられた磁気構成要素は、磁場を発生させることができる。続いてより詳細に説明されるように、1つまたは複数の磁気構成要素は、複数の微小球の反磁性材料に反発する磁場を発生させることができる。1つまたは複数の磁性構成要素と複数の微小球の反磁性材料との間のこの斥力によって、複数の微小球をデュアルステージ注射器の各実施形態内で浮上させることができる。結果として、本明細書に記載されたデュアルステージ注射器の各実施形態に組み込まれた磁気構成要素は、本明細書に記載されたデュアルステージ注射器の各実施形態を形成するために使用される材料の褐変および/または脆化を防ぐことができるデュアルステージ注射器を用いて、放射線治療微小球の相互作用または結合を減少させることができる。さらに、いくつかの実施形態では、本明細書に記載されたデュアルステージ注射器の構成要素に組み込まれる磁気構成要素は、例えば、一次プランジャ50のプランジャ本体部55に沿って不均一な磁場を発生させることができ、これは、生理的食塩水などの懸濁媒体内の放射線治療微小球の混合を助けることができる。
[00141]各実施形態では、デュアルステージ注射器は、任意の適切なガンマ線適合性材料を含むことができる。ガンマ線適合性材料は、任意の放射線が安定した医療グレードのポリマー材料であり得る。ガンマ線適合性材料の放射線安定性は、特定のタイプの医療グレードポリマー材料の許容範囲に依存し得る。容器材料が容器材料の許容範囲を超える放射線量を吸収すると、デュアルステージ注射器の褐変または脆化が生じ得る。例示的なガンマ線適合性材料は、アクリロニトリル/ブタジエン/スチレン、芳香族ポリエステルセルロース誘導体、フッ素重合体、ポリアセタール、ポリアクリル酸、ポリアミド、ポリエチレンポリイミド、ポリメチルペンテン、ポリフェニレンスルファイド、ポリプロピレン、ポリスチレン、ポリスルホン、ポリウレタン、ポリビニルブチラール、ポリ塩化ビニル、ポリ塩化ビニリデン、スチレン/アクリロニトリル;アリルジギルコールカーボネート、エポキシ、フェノール、ポリエステル、ポリウレタン、ならびにブチル、エチレン-プロピレンジエンモノマー、フルオロエラストマー、天然ゴム、ニトリル、ポリアクリル酸、ポリアクリル酸、ポリクロロプレン、シリコーン、スチレン-ブタジエン、およびウレタンを含むエラストマーを含む熱硬化性を含む熱可塑性物質を含んでいるが、これらに限定されない。エラストマーの放射線耐性は、使用されるベースポリマーおよび硬化システムによって影響を受け得る。いくつかの実施形態では、デュアルステージ注射器は、約5kGyから約100,000kGyまで、約5kGyから約10,000kGyまで、約5kGyから約5,000kGyまで、約5kGyから約1,000kGyまで、約5kGyから約500kGyまで、約5kGyから約100kGyまで、約100kGyから約100,000kGyまで、約100kGyから約10,000kGyまで、約100kGyから約5,000kGyまで、約100kGyから約1,000kGyまで、約100kGyから約500kGyまで、約500kGyから約100,000kGyまで、約500kGyから約10,000kGyまで、約500kGyから約5,000kGyまで、約500kGyから約1,000kGyまで、約1000kGyから約100,000kGyまで、約1,000kGyから約10,000kGyまで、約1,000kGyから約5,000kGyまで、約5,000kGyから約100,000kGyまで、約5,000kGyから約10,000kGyまで、または約10,000kGyから約100,000kGyまでの許容範囲を有するガンマ線適合性材料から作製することができる。
[00142]各実施形態では、デュアルステージ注射器は、1つまたは複数の磁場を含むことができる。デュアルステージ注射器の1つまたは複数の磁場は、複数の微小球とデュアルステージ注射器の直接接触を防ぐやり方で複数の微小球と相互作用し得る。いくつかの実施形態では、デュアルステージ注射器の1つまたは複数の磁場は、複数のマイクロビーズの混合を助けるやり方で複数の微小球と相互作用することができる。混合は、デュアルステージ注射器の形状によって少なくとも一部助けられ得る。各実施形態では、デュアルステージ注射器の1つまたは複数の磁場の強度、位置、およびパターンは、変化し得る。磁場は、デュアルステージ注射器の表面から複数の微小球を浮上または反発させて離すのに十分な大きさであり得る。この大きさは、デュアルステージ注射器に含まれる材料の放射線耐性、微小球内の治療薬の量、より具体的には、微小球内の放射線治療物質の量、微小球内の治療薬のタイプ、より具体的には、小球内の放射線治療物質の量、微小球物質の量(質量)、微小球物質のタイプ、微小球内の反磁性材料の量(質量)、微小球内の反磁性材料のタイプ、およびこれらの要因の組合せを含む様々な要因に依存し得る。磁場は、デュアルステージ注射器の褐変または脆化を防ぐのに十分な高さに複数の微小球を浮上または反発させるのに十分な大きさであり得る。理論によって束縛されることなく、投与量は1/Rだけ減少するので、距離の比較的小さい変化は、デュアルステージ注射器によって吸収される投与量にかなりの影響を与え得る。
[00143]いくつかの実施形態では、磁気構成要素がデュアルステージ注射器の特徴内に組み込まれる結果として、複数の磁場がデュアルステージ注射器内に存在し得る。複数の磁場は、様々な強度を有することができる。例えば、デュアルステージ注射器の磁場の少なくとも一部は、より小さい強度であり得るとともに、デュアルステージ注射器の磁場の少なくとも一部は、より大きい強度であり得る。デュアルステージ注射器の磁場の様々な強度は、デュアルステージ注射器内の複数の微小球の混合を助けることができる。
[00144]各実施形態では、デュアルステージ注射器の磁場は、1つまたは複数の磁気構
成要素をデュアルステージ注射器の個々の構成要素の壁に組み込むことによって生成され得る。他の各実施形態では、デュアルステージ注射器の磁場は、デュアルステージ注射器を1つまたは複数の磁気構成要素で囲むことによって生成され得る。本明細書に記載された容器の壁が1つまたは複数の磁気構成要素を備えるとき、壁は、任意の個数の個々の磁気構成要素(例えば、1個、2個、3個、4個、5個、6個、7個、または8個以上)を備えることができる。各磁気構成要素は、任意の適切な方法によってデュアルステージ注射器内またはその上に固定することができる。例えば、いくつかの変形例では、1つまたは複数の磁気構成要素が、1つまたは複数の磁気構成要素をデュアルステージ注射器上へペイント、オーバーモード、印刷、または糊付けすることを含む任意の適切な製造方法によってデュアルステージ注射器に埋め込み、デュアルステージ注射器へ接着、またはデュアルステージ注射器内で摩擦嵌めされ得る。1つまたは複数の磁気構成要素がデュアルステージ注射器を囲む各実施形態では、各磁気構成要素は、デュアルステージ注射器内またはその上に固定されなくてもよく、したがって、磁気構成要素によって生成される磁場は、可動性であり得る。1つまたは複数の磁気構成要素がデュアルステージ注射器を囲むさらなる各実施形態では、各磁気構成要素は、ケーシング、カバー、またはデュアルステージ注射器の少なくとも一部を囲む他の外部構成要素内に埋め込み、そこへ接着、またはその内で摩擦嵌めされ得る。
[00145]各実施形態では、磁気構成要素は、永久磁石を備えてもよい。磁石は、磁場を発生させることができる任意の適切な材料で作製され得る。いくつかの実施形態では、磁気構成要素は、強磁性材料から作製された永久磁石であってもよい。例えば、いくつかの変形例では、磁気構成要素は、アルニコなどの他の金属、フェライトなどの化合物、またはこれらの金属またはそれらの合金のいずれかの組合せである場合もそうでない場合も、1つまたは複数の希土類磁石、コバルト、ガドリニウム、鉄、ニッケル、これらの金属の合金を含み得る。さらなる各実施形態では、希土類磁石は、サマリウムコバルト磁石、またはネオジウム磁石を含み得る。
[00146]各実施形態では、磁気構成要素は、電磁石を含み得る。磁気構成要素が電磁石を備えるとき、電磁石は、磁場を生成するために選択的に作動され得る。例えば、デュアルステージ注射器の各実施形態が、1つまたは複数の電磁石を備えるとき、電磁石は、複数の微小球がデュアルステージ注射器内に装填される前に作動することができ、電磁石は、複数の微小球を浮上させ、デュアルステージ注射器内でセッティングからそれらを保つように複数の微小球の格納中は作動されたままとすることができ、次いで、電磁石は、複数の微小球がデュアルステージ注射器から取り除かれた後、または放射線塞栓処置が完了した後に作動することができる。デュアルステージ注射器が複数の電磁石を備えるとき、これらの磁気構成要素は、独立して作動されてもよく、またはグループとして作動されてもよい。各実施形態では、1つまたは複数の電磁石は、電子的相互作用によって、例えば、バッテリおよびスイッチ、または他の適切な作動手段によって、選択的に作動されてもよい。いくつかの実施形態では、1つまたは複数の電磁石が、1つまたは複数のパルス磁場を生成するやり方で選択的に作動されてもよい。さらなる各実施形態では、複数の電磁石が、大きさを変えることで複数のパルス磁場を生成するやり方で選択的に作動されてもよい。
[00147]各実施形態では、デュアルステージ注射器は、複数の磁気構成要素を備えることができる。さらなる各実施形態では、複数の磁気構成要素は、永久磁石、強磁性構成要素、または電磁石の任意の組合せであり得る。一例示的実施形態では、デュアルステージ注射器の側壁だけが、永久磁石を備えることができる。これらの変形例では、ベース壁は、永久磁石だけ、強磁性構成要素だけ、電磁石だけ、またはこれらの要素のいくつかもしくは全部の混合を含むことができる。デュアルステージ注射器の側壁には永久磁石を備えてもよく、ベース壁または蓋は、複数の微小球がデュアルステージ注射器に装填された後に作動され得る電磁石だけを備えることができる。
[00148]各実施形態では、各磁気構成要素は、任意の適切なサイズおよび形状を有してもよい。例えば、各磁気構成要素は円筒形、半円筒形、管状、箱状、平坦、球状などであってもよい。概して、磁気構成要素の寸法は、磁気構成要素を保持するデュアルステージ注射器のサイズによって制約を受け得、これは、放射線塞栓処置自体によって制約を受け得る。例えば、放射線塞栓処置は、特定の投与量または送達デバイスを必要とする場合があり。この場合には、デュアルステージ注射器は、上記送達デバイス内に上記投与量を収容するまたは嵌まるように特別にサイズ決定され得る。各磁気構成要素は、任意の適切な長さを有することができる。いくつかの実施形態では、各磁気構成要素は、約5mm、約10mm、約15mm、約20mm、または各磁気構成要素の長さを有してもよく、デュアルステージ注射器の1つの壁の全長に沿って延びてもよい。
[00149]図41は、例示的な送達システム2000の概略図であり、この中にスリーブ付きロック式デュアルステージ注射器200が組み込まれ得る。さらなる例示的な送達システムは、本開示と同時に出願された「放射線塞栓送達デバイス」と題された米国出願第[弁護士整理番号P-18891]に開示されたものを含み、この出願は、全体として参照により本明細書に組み込まれる。例示的な送達システム2000では、例示的な送達システム2000の構成要素を囲む破線で図40に概略的に示されるように、スリーブ付きロック式デュアルステージ注射器200、およびさらなる構成要素が、システムハウジング内に収められ得る。いくつかの実施形態では、スリーブ付きロック式デュアルステージ注射器200は、外形的又は構造的に(方向を定めるための)特徴のある部分を備えることができ、このような外形的又は構造的特徴部により、スリーブ付きロック式デュアルステージ注射器200が例示的な送達システム2000に受け入れられることができるようになっている。外形的又は構造的特徴部の非限定の例として、例示的な送達システム2000内でスリーブ付きロック式デュアルステージ注射器200の方向を定めるための部分(方向決め部)、またはスリーブ付きロック式デュアルステージ注射器200を例示的な送達システム2000内の所定の位置にロックする部分が含まれる。
[00150]例示的な送達システム2000では、スリーブ付きロック式デュアルステージ注射器200が、突き刺された構成で示されており、そこで針マウント(又は、針台)2100によって所定の位置に保持された送り針150は、システム貯槽(リザーバ)2200とスリーブ付きロック式デュアルステージ注射器200の二次チャンバ95との間で流体連通を行う。1つまたは複数のさらなる流体貯槽2300(そのうち、1つだけが、例示のために図41に示されている)は、さらなる流体を、先に説明されたようなスリーブ付きロック式デュアルステージ注射器200に形成された送達混合物へ加えるために、例示的な送達システム2000内に含まれ得る。システム貯槽2200およびさらなる流体貯槽2300は、結合配管2250、2400を通じて混合弁2500に流体結合され得る。今度は、混合弁は、出口配管2600を通じて送出弁2700に流体結合され得る。送出弁2700は、例えば、治療を受けている患者に静脈内で流体結合されているカテーテルまたはマイクロカテーテルなどの送達デバイス2800に流体結合され得る。
[00151]別段定めがない限り、本明細書に使用された全ての科学技術用語は、本開示が属する分野の当業者によって一般的に理解されている用語と同じ意味を有する。本明細書中の説明に使用された専門用語は、特定の実施形態を説明するためのものに過ぎず、限定であることが意図されていない。本明細書および添付の特許請求の範囲に使用されるとき、文脈上別段明確に示すのでない限り、単数形「a」、「an」、および「the」は、複数形も含むことが意図される。
[00152]本明細書で使用されるとき、用語「水平」および「垂直」は、相対的な用語に過ぎず、一般的な相対的向きだけを示し、必ずしも鉛直を示すのではない。これらの用語も、図に使用される向きを指すために便宜上使用されてもよく、この向きは、慣例として使用されるものに過ぎず、図示されたデバイスの特徴として意図されていない。本明細書に記載される本開示およびその各実施形態は、任意の所望の向きで使用されてもよい。また、水平および垂直の壁は、概して交差する壁でありさえすればよく、直角である必要はない。
[00153]本開示を説明および定義するために、「実質的に」という用語は、任意の定量的比較、値、測定、またはその他の表現に起因し得る固有の不確実度を表すために本明細書で使用されることに留意されたい。「実質的に」という用語は、本明細書において、問題における主題の基本的機能の変化をもたらすことなく、定量的表現が述べた基準から変化し得る程度を表すのにも使用される。したがって、それは、任意の定量的比較、値、測定、またはその他の表現に起因し得る固有の不確定度を表すために使用され、理論では正確な対応または挙動を示すことが期待されるが、実際にはわずかに不正確に何かを具体化することができる要素または特徴の配置を指す。
[00154]特定の各実施形態が本明細書に例示および記載されているが、他の様々な変更例および修正例が、権利主張される主題の要旨および範囲から逸脱することなくなされ得ることを理解されたい。また、権利主張される主題の様々な態様が本明細書に記載されているが、そのような態様は、組み合わせて利用される必要はない。したがって、権利主張される主題の範囲内にあるそのような変形例および修正例を添付の特許請求の範囲が全て含むことと意図される。本発明は以下の形態を含む。
(形態1)
スリーブ付きデュアルステージ注射器であって、当該スリーブ付きデュアルステージ注射器は、
外筒であって、前記外筒の近位開口部から前記外筒の遠位開口部までにわたり前記外筒内に画定された一次チャンバを有する外筒と、
一次ピストンであって、前記一次ピストン近位開口部から前記一次ピストンの封止された遠位端までにわたり前記一次ピストン内に画定された二次チャンバを有し、前記一次ピストンの前記近位開口部を通じて二次ピストンを受け入れるように構成されている一次ピストンと、
前記一次チャンバ内に配設されるロッキングスリーブと、
を備えており、
前記一次ピストンおよび前記ロッキングスリーブはロック機構を備え、前記ロック機構は、第1の境界、前記第1の境界の遠位側にある第2の境界、および少なくとも3つのステージを画定するように構成されており、前記少なくとも3つのステージは、
前記一次ピストンが前記第1の境界の近位に挿入され、遠位方向または近位方向に自由に移動可能である、第1ステージと、
前記一次ピストンが前記第1の境界の遠位側に挿入されており、前記一次ピストンが前記第1の境界を越えて近位方向に移動しないようになっている、中間ステージと、
前記一次ピストンが前記第2の境界の遠位側に挿入されており、前記一次ピストンが前記第2の境界を越えて近位方向に移動しないようになっている、最終ステージと、
を備える、スリーブ付きデュアルステージ注射器。
(形態2)
形態1に記載のスリーブ付きデュアルステージ注射器であって、前記ロック機構は、前記外筒の形状に適合する形状を有する本体部を備える、スリーブ付きデュアルステージ注射器。
(形態3)
形態1に記載のスリーブ付きデュアルステージ注射器であって、前記ロック機構は、一体的な組立てのための1つまたは複数の特徴部を備える、スリーブ付きデュアルステージ注射器。
(形態4)
形態3に記載のスリーブ付きデュアルステージ注射器であって、前記ロック機構は、前記外筒の外側近位開口部内に前記ロック機構を設置するように構成された近位リッジを備える、スリーブ付きデュアルステージ注射器。
(形態5)
形態1に記載のスリーブ付きデュアルステージ注射器であって、前記ロック機構は、遠位爪部材を備える、スリーブ付きデュアルステージ注射器。
(形態6)
形態5に記載のスリーブ付きデュアルステージ注射器であって、前記遠位爪部材は、本体部の遠位端で前記本体部の周囲に沿って様々な長さの爪を備える、スリーブ付きデュアルステージ注射器。
(形態7)
形態5に記載のスリーブ付きデュアルステージ注射器であって、本体部の遠位端で前記遠位爪部材は、前記本体部の周囲に沿って交互に配置された長い爪および短い爪を備える、スリーブ付きデュアルステージ注射器。
(形態8)
形態7に記載のスリーブ付きデュアルステージ注射器であって、前記長い爪の長い爪端部、前記短い爪の短い爪端部、または両方は、前記スリーブ付きロック式デュアルステージ注射器の内向きに角度付けられる、スリーブ付きデュアルステージ注射器。
(形態9)
形態7に記載のスリーブ付きデュアルステージ注射器であって、前記長い爪の長い爪端部、前記短い爪の短い爪端部、または両方は、前記スリーブ付きロック式デュアルステージ注射器の外向きに角度付けられる、スリーブ付きデュアルステージ注射器。
(形態10)
形態1に記載のスリーブ付きデュアルステージ注射器であって、1つまたは複数のセンサをさらに備える、スリーブ付きデュアルステージ注射器。
(形態11)
形態1に記載のスリーブ付きデュアルステージ注射器であって、前記外筒は、遮蔽をさらに備える、スリーブ付きデュアルステージ注射器。
(形態12)
ターンキーデュアルステージ注射器であって、当該ターンキーデュアルステージ注射器は、
外筒であって、前記外筒の近位開口部から前記外筒の遠位開口部までにわたり前記外筒内に画定された一次チャンバを有する外筒と、
一次ピストンであって、前記一次ピストン近位開口部から前記一次ピストンの封止された遠位端までにわたり前記一次ピストン内に画定された二次チャンバを有し、前記一次ピストンの前記近位開口部を通じて二次ピストンを受け入れるように構成されている一次ピストンと、
前記外筒内に配設される第1ステージ軌道、中間ステージ軌道、および最終ステージ軌道と、
を備えるており、
前記第1ステージ軌道、前記中間ステージ軌道、および前記最終ステージ軌道は、第1の境界、前記第1の境界の遠位側にある第2の境界、および少なくとも3つのステージを定めるように構成され、前記少なくとも3つのステージは、
前記一次ピストンが前記第1の境界の近位側に挿入され、遠位方向または近位方向に自由に移動可能である、第1ステージと、
前記一次ピストンが前記第1の境界の遠位側に挿入されており、前記一次ピストンが前記第1の境界を越えて近位方向に移動しないようになっている、中間ステージと、
前記一次ピストンが前記第2の境界の遠位側に挿入されており、前記一次ピストンが前記第2の境界を越えて近位方向に移動しないようになっている、最終ステージと
を備える、ターンキーデュアルステージ注射器。
(形態13)
形態12に記載のターンキーデュアルステージ注射器であって、1つまたは複数のさらなる軌道をさらに備える、ターンキーデュアルステージ注射器。
(形態14)
形態12に記載のターンキーデュアルステージ注射器であって、一次プランジャは、前記第1ステージ軌道、前記中間ステージ軌道、および前記最終ステージ軌道内で移動するように構成された1つまたは複数のプランジャ先端をさらに備える、ターンキーデュアルステージ注射器。
(形態15)
形態12に記載のターンキーデュアルステージ注射器であって、1つまたは複数のセンサをさらに備える、ターンキーデュアルステージ注射器。
(形態16)
送達システムであって、当該送達システムは、
システムハウジングと、
前記システムハウジング内に収められるデュアルステージ注射器と
を備え、前記デュアルステージ注射器は、
外筒であって、前記外筒の近位開口部から前記外筒の遠位開口部までにわたり前記外筒内に画定された一次チャンバを有する外筒と、
一次ピストンであって、前記一次ピストン近位開口部から前記一次ピストンの封止された遠位端までにわたり前記一次ピストン内に画定された二次チャンバを有し、前記一次ピストンの前記近位開口部を通じて二次ピストンを受け入れるように構成されている一次ピストンと、
前記一次チャンバ内に配設されるロッキングスリーブと、
を備え、
前記一次ピストンおよび前記ロッキングスリーブは、第1の境界、前記第1の境界の遠位側にある第2の境界、および少なくとも3つのステージを定めるように構成されたロック部を備え、前記少なくとも3つのステージは、
前記一次ピストンが前記第1の境界の近位側に挿入され、遠位方向または近位方向に自由に移動可能である、第1ステージと、
前記一次ピストンが前記第1の境界の遠位側に挿入されており、前記一次ピストンが前記第1の境界を越えて近位方向に移動しないようになっている、中間ステージと、
前記一次ピストンが前記第2の境界の遠位側に挿入されており、前記一次ピストンが前記第2の境界を越えて近位方向に移動しないようになっている、最終ステージと
を備える、送達システム。
(形態17)
形態16に記載の送達システムであって、前記システムハウジング内で前記デュアルステージ注射器の方向を定めるように構成された方向決め部をさらに備える、送達システム。
(形態18)
形態16に記載の送達システムであって、前記システムハウジング内で前記デュアルステージ注射器を所定の位置にロックするように構成された係止部をさらに備える、送達システム。
(形態19)
形態16に記載の送達システムであって、膜部材をさらに備える、送達システム。
(形態20)
形態16に記載の送達システムであって、1つまたは複数のセンサをさらに備える、送達システム。
(形態21)
形態1に記載のスリーブ付きデュアルステージ注射器の実施を含む治療方法。
(形態22)
形態12に記載のターンキーの実施を含む治療方法。
(形態23)
形態16に記載の送達システムの実施を含む治療方法。
(形態24)
形態21から23のいずれかに記載の治療方法であって、放射線塞栓ビーズを送達するステップを含む、治療方法。
(形態25)
ラチェット式安全タブであって、当該ラチェット式安全タブは、
遠位端および近位端によって画定された本体部を有する細長いタブを備え、1つまたは複数のタブ係合部は、前記細長いタブの前記本体部の長さに沿って延び、
前記1つまたは複数のタブ係合部は、取付部における注射器のプランジャ上の1つまたは複数の対応するプランジャ係合部に係合するように構成され、
前記1つまたは複数のタブ係合部は、前記プランジャが近位方向に移動することを可能にするが、前記プランジャが遠位方向に移動しないようにするように構成されている、
ラチェット式安全タブ。
(形態26)
形態25に記載のラチェット式安全テーブルであって、前記1つまたは複数のタブ係合部は、角度付きの歯を備える、ラチェット式安全タブ。
(形態27)
形態25に記載のラチェット式安全タブであって、注射器のプランジャから取り外し可能であるように構成されているラチェット式安全タブ。
(形態28)
形態25に記載のラチェット式安全タブであって、第1の位置と第2の位置の間で注射器の前記プランジャに対して長手方向に摺動可能であるように構成されており、前記第1の位置では、前記プランジャの近位方向への移動が可能になっており、前記第2の位置では、前記プランジャの遠位方向への移動が阻止されるようになっている、ラチェット式安全タブ。
(形態29)
ラチェット式安全タブ注射器システムであって、
プランジャを備える注射器であって、前記プランジャは1つまたは複数のプランジャ係合部を備える、注射器と、
取付部を有する細長いタブから延びる1つまたは複数のタブ係合部と、を備え、前記1つまたは複数のタブ係合部は、前記細長いタブの取付部で前記1つまたは複数のプランジャ係合部と係合し、
前記1つまたは複数のタブ係合部は、前記プランジャの近位方向への移動を可能にするとともに、前記プランジャの遠位方向への移動を阻止するように構成されている、ラチェット式安全タブ注射器システム。
(形態30)
形態29に記載のラチェット式安全タブ注射器システムであって、前記1つまたは複数のタブ係合部は、角度付きの歯を備える、ラチェット式安全タブ注射器システム。
(形態31)
形態29に記載のラチェット式安全タブ注射器システムであって、前記ラチェット式安全タブは、注射器のプランジャから取り外し可能であるように構成されている、ラチェット式安全タブ注射器システム。
(形態32)
形態29に記載のラチェット式安全タブ注射器システムであって、前記ラチェット式安全タブは、第1の位置と第2の位置の間で注射器の前記プランジャに対して長手方向に摺動可能であるように構成されており、前記第1の位置では、前記プランジャの近位方向への移動を可能にするようになっており、前記第2の位置では、前記プランジャの遠位方向への移動を阻止するようになっている、ラチェット式安全タブ注射器システム。
(形態33)
形態29に記載の前記ラチェット式安全タブ注射器システムを動作させる方法であって、前記プランジャを近位方向に引っ張るステップを含む、方法。
(形態34)
注射器から投与された流体の流れパラメータを決定する方法であって、
前記注射器の注射器プランジャを並進方向に並進移動させるステップであって、前記並進方向の移動により近位側または遠位側の一方に前記注射器プランジャを前進させるようになっている、ステップと、
テレメータ化された注射器プランジャキャップの圧力センサおよび変位センサの1つまたは複数によって、前記注射器プランジャの対応する移動を感知されたプランジャ移動として感知するステップと、
前記テレメータ化された注射器プランジャキャップの圧力センサおよび変位センサの前記1つまたは複数によって、前記感知されたプランジャ移動に基づいて1つまたは複数の出力信号を生成するステップと、
プロセッサによって、前記1つまたは複数の出力信号に基づいて、前記投与された流体の流速、前記投与された流体の流量、前記投与された流体の圧力、前記注射器プランジャに加えられる圧力、または前記注射器に対する前記注射器プランジャの移動の前記並進方向のうちの少なくとも1つを生成するステップと
を含む方法。
(形態35)
形態34に記載の方法であって、前記投与された流体の前記流速、前記投与された流体の前記流量、前記投与された流体の前記圧力、または前記注射器に対する前記注射器プランジャの移動の前記並進方向のうちの少なくとも1つを、前記注射器に通信可能に結合された表示装置に表示するステップをさらに含む、方法。
(形態36)
形態34に記載の方法であって、前記注射器プランジャの遠位方向への前進は、前記注射器から血管中に前記流体を投与するように構成されている、方法。
(形態37)
一体型一方向弁デュアルステージ注射器であって、
近位開口部および遠位端によって画定された本体部を有する外筒と、
仕切り近位端および仕切り遠位端によって画定された仕切り本体部を有し、前記外筒の前記本体部内に固定された仕切りであって、前記仕切り遠位端から前記外筒の前記遠位端までにわたり一次チャンバを画定する仕切りと、
プランジャ近位端および封止された遠位端を有する一次プランジャであって、二次チャンバは前記封止された遠位端と前記仕切り近位端の間で前記外筒の前記本体部を通じて画定される、一次プランジャと、
前記仕切り内配設された一方向弁であって、前記一次チャンバから前記二次チャンバへ流路となるように構成される一方向弁と
を備える、一体型一方向弁デュアルステージ注射器。
(形態38)
形態37に記載の一体型一方向弁デュアルステージ注射器であって、針近位端および針遠位端を有する中空の針をさらに備え、前記中空の針は、前記一次チャンバ内に配設され、前記中空の針の前記遠位端によって前記外筒の前記遠位端に固定され、前記中空の針は、前記中空の針の前記遠位端で前記二次チャンバから外側遠位開口部へ第2の流路となるように構成される、一体型一方向弁デュアルステージ注射器。
(形態39)
形態38に記載の一体型一方向弁デュアルステージ注射器であって、前記外側遠位開口部の近位側の前記中空の針の前記遠位端で第2の一方向弁をさらに備える、一体型一方向弁デュアルステージ注射器。
(形態40)
形態37に記載の一体型一方向弁デュアルステージ注射器であって、前記外筒の前記本体部の側壁内に配設された第2の一方向弁をさらに備え、前記第2の一方向弁は、前記外筒の前記遠位端で前記二次チャンバから外側遠位開口部へ第2の流路となるように構成される、一体型一方向弁デュアルステージ注射器。
(形態41)
形態37に記載の一体型一方向弁デュアルステージ注射器を操作する方法であって、
前記封止された遠位端、前記二次チャンバ、および前記一次チャンバを遠位方向に前進させるように前記一次プランジャを遠位方向に前進させるステップであって、前記一次チャンバ内の流体の少なくとも一部は、前記外筒の前記遠位端で外側遠位開口部を通じて吐き出される、ステップと、
前記一次プランジャを近位方向に前進させるステップであって、前記一次プランジャを近位方向に前進させるステップにより、前記封止された遠位端、前記二次チャンバ、および前記一次チャンバを近位方向に前進させ、前記一次チャンバ内に残っている前記流体の少なくとも一部は、前記一次チャンバから前記二次チャンバへ前記流路を通じて移動し、前記二次チャンバ内の流体と混合して混合流体を生成する、ステップと
を含む方法。
(形態42)
形態41に記載の方法であって、形態38に記載の前記第2の一方向弁を通じて前記混合流体を前進させるように前記一次プランジャを遠位方向に前進させるステップをさらに含んでおり、前記混合流体は、前記中空の針の前記遠位端で前記外側遠位開口部を通じて吐出される、方法。
(形態43)
形態42に記載の方法であって、前記中空の針と前記仕切り内配設されたポートとを位置合わせするように前記外筒を長手方向で回転させるステップをさらに含む、方法。
(形態44)
形態43に記載の方法であって、前記混合流体を前進させるように前記一次プランジャを遠位方向に前進させるステップにより、前記中空の針が前記ポートを突き刺して第2の流路を作り出すように前記仕切りを遠位方向に前進させる、方法。
(形態45)
形態41に記載の方法であって、形態39に記載の前記第2の一方向弁を通じて前記混合流体を前進させるように前記一次プランジャを遠位方向に前進させるステップをさらに含み、前記混合流体は、前記外筒の前記遠位端で前記外側遠位開口部を通じて吐出される、方法。
(形態46)
形態45に記載の方法であって、側部開口部を前記第2の一方向弁と位置合わせするように前記外筒を長手方向で回転させるステップをさらに含む、方法。
(形態47)
形態46に記載の方法であって、前記混合流体を前進させるように前記一次プランジャを遠位方向に前進させるステップにより、前記外筒の前記遠位端で前記二次チャンバから外側遠位開口部へ前記第2の流路を通じて前記混合流体を遠位方向に前進させる、方法。

Claims (6)

  1. ラチェット式安全タブであって、当該ラチェット式安全タブは、
    遠位端および近位端によって画定された本体部を有する細長いタブを備え、1つまたは複数のタブ係合部は、前記細長いタブの前記本体部の長さに沿って延び、
    前記1つまたは複数のタブ係合部は、取付部における注射器のプランジャ上の1つまたは複数の対応するプランジャ係合部に係合するように構成され、
    前記1つまたは複数のタブ係合部は、前記プランジャが近位方向に移動することを可能にするが、前記プランジャが遠位方向に移動しないようにするように構成され、
    前記ラチェット式安全タブは、前記プランジャの近位方向への移動を可能にすると共に前記プランジャの遠位方向への移動を阻止するように前記プランジャ上の前記1つまたは複数の対応する前記プランジャ係合部を越えて注射器の前記プランジャに対して近位方向に摺動可能に引っ張られるように構成されている、ラチェット式安全タブ。
  2. 請求項1に記載のラチェット式安全テーブルであって、前記1つまたは複数のタブ係合部は、角度付きの歯を備える、ラチェット式安全タブ。
  3. 請求項1に記載のラチェット式安全タブであって、注射器のプランジャから取り外し可能であるように構成されているラチェット式安全タブ。
  4. ラチェット式安全タブ注射器システムであって、
    プランジャを備える注射器であって、前記プランジャは1つまたは複数のプランジャ係合部を備える、注射器と、
    取付部を有する細長いタブから延びる1つまたは複数のタブ係合部と、を備え、前記1つまたは複数のタブ係合部は、前記細長いタブの取付部で前記1つまたは複数のプランジャ係合部と係合し、
    前記1つまたは複数のタブ係合部は、前記プランジャの近位方向への移動を可能にするとともに、前記プランジャの遠位方向への移動を阻止するように構成され、
    ラチェット式安全タブは、前記プランジャの近位方向への移動を可能にすると共に前記プランジャの遠位方向への移動を阻止するように前記プランジャ上の前記1つまたは複数の対応する前記プランジャ係合部を越えて注射器の前記プランジャに対して近位方向に摺動可能に引っ張られるように構成されている、ラチェット式安全タブ注射器システム。
  5. 請求項に記載のラチェット式安全タブ注射器システムであって、前記1つまたは複数のタブ係合部は、角度付きの歯を備える、ラチェット式安全タブ注射器システム。
  6. 請求項に記載のラチェット式安全タブ注射器システムであって、前記ラチェット式安全タブは、注射器のプランジャから取り外し可能であるように構成されている、ラチェット式安全タブ注射器システム。
JP2023097742A 2018-05-18 2023-06-14 ラチェット式安全タブ、ラチェット式安全タブ注射器システム、ラチェット式安全タブ注射器システムを動作させる方法、注射器から投与された流体の流れパラメータを決定する方法、一体型一方向弁デュアルステージ注射器、および、一体型一方向弁デュアルステージ注射器を操作する方法 Active JP7584573B2 (ja)

Priority Applications (1)

Application Number Priority Date Filing Date Title
JP2024136972A JP2024161511A (ja) 2018-05-18 2024-08-16 2種類以上の流体を独立して送達するためのデュアルステージ注射器

Applications Claiming Priority (6)

Application Number Priority Date Filing Date Title
US201862673632P 2018-05-18 2018-05-18
US201862673628P 2018-05-18 2018-05-18
US62/673,632 2018-05-18
US62/673,628 2018-05-18
JP2020564538A JP7482789B2 (ja) 2018-05-18 2019-05-17 2種類以上の流体を独立して送達するためのデュアルステージ注射器
PCT/US2019/032983 WO2019222699A1 (en) 2018-05-18 2019-05-17 Dual-stage syringes for independent delivery of two or more fluids

Related Parent Applications (1)

Application Number Title Priority Date Filing Date
JP2020564538A Division JP7482789B2 (ja) 2018-05-18 2019-05-17 2種類以上の流体を独立して送達するためのデュアルステージ注射器

Related Child Applications (1)

Application Number Title Priority Date Filing Date
JP2024136972A Division JP2024161511A (ja) 2018-05-18 2024-08-16 2種類以上の流体を独立して送達するためのデュアルステージ注射器

Publications (2)

Publication Number Publication Date
JP2023113944A JP2023113944A (ja) 2023-08-16
JP7584573B2 true JP7584573B2 (ja) 2024-11-15

Family

ID=66691078

Family Applications (4)

Application Number Title Priority Date Filing Date
JP2020564538A Active JP7482789B2 (ja) 2018-05-18 2019-05-17 2種類以上の流体を独立して送達するためのデュアルステージ注射器
JP2020564539A Active JP7361724B2 (ja) 2018-05-18 2019-05-17 フレアチップを有するカテーテル
JP2023097742A Active JP7584573B2 (ja) 2018-05-18 2023-06-14 ラチェット式安全タブ、ラチェット式安全タブ注射器システム、ラチェット式安全タブ注射器システムを動作させる方法、注射器から投与された流体の流れパラメータを決定する方法、一体型一方向弁デュアルステージ注射器、および、一体型一方向弁デュアルステージ注射器を操作する方法
JP2024136972A Pending JP2024161511A (ja) 2018-05-18 2024-08-16 2種類以上の流体を独立して送達するためのデュアルステージ注射器

Family Applications Before (2)

Application Number Title Priority Date Filing Date
JP2020564538A Active JP7482789B2 (ja) 2018-05-18 2019-05-17 2種類以上の流体を独立して送達するためのデュアルステージ注射器
JP2020564539A Active JP7361724B2 (ja) 2018-05-18 2019-05-17 フレアチップを有するカテーテル

Family Applications After (1)

Application Number Title Priority Date Filing Date
JP2024136972A Pending JP2024161511A (ja) 2018-05-18 2024-08-16 2種類以上の流体を独立して送達するためのデュアルステージ注射器

Country Status (7)

Country Link
US (3) US12036373B2 (ja)
EP (2) EP3793659A1 (ja)
JP (4) JP7482789B2 (ja)
CN (6) CN112423822B (ja)
AU (2) AU2019269705B2 (ja)
IL (2) IL278811B2 (ja)
WO (1) WO2019222687A1 (ja)

Families Citing this family (6)

* Cited by examiner, † Cited by third party
Publication number Priority date Publication date Assignee Title
WO2019222680A1 (en) 2018-05-18 2019-11-21 Bard Peripheral Vascular, Inc. Microsphere containment systems and methods
US11179518B2 (en) * 2020-02-27 2021-11-23 Jubilant Draximage Inc. Syringe shield assembly for housing and transporting a syringe containing radioactive drug
US11933401B2 (en) * 2020-10-09 2024-03-19 Enplas Corporation Plunger, instrument, and mold
CN113509238A (zh) * 2021-07-19 2021-10-19 江苏迈得诺医疗集团有限公司 一种取栓导管
WO2024226962A1 (en) * 2023-04-27 2024-10-31 Clearstream Technologies Limited Mixing syringe assemblies and methods
TW202525349A (zh) * 2023-12-28 2025-07-01 白金科技股份有限公司 微球及其製備方法

Citations (1)

* Cited by examiner, † Cited by third party
Publication number Priority date Publication date Assignee Title
JP2015144676A (ja) 2014-01-31 2015-08-13 テルモ株式会社 シリンジ連結体

Family Cites Families (118)

* Cited by examiner, † Cited by third party
Publication number Priority date Publication date Assignee Title
US4313440A (en) * 1980-09-08 1982-02-02 Ashley Sheldon J Multipurpose double barrel syringe and method of manufacture of same
DE3035290A1 (de) 1980-09-18 1982-04-22 Wolfgang Dr. Igl Vorrichtung zum automatischen aufziehen und messen von nuklearmedizinisch aktiven loesungen
US4367738A (en) * 1981-10-28 1983-01-11 Janssen Pharmaceutica Inc. Pre-filled syringe for abusable drugs
EP0112574A1 (fr) * 1982-12-27 1984-07-04 Meditec S.A. Seringue préremplie à double compartiment
US5203772A (en) * 1989-01-09 1993-04-20 Pilot Cardiovascular Systems, Inc. Steerable medical device
US5192286A (en) * 1991-07-26 1993-03-09 Regents Of The University Of California Method and device for retrieving materials from body lumens
JPH08509135A (ja) * 1993-01-29 1996-10-01 エス・セ・エ・エル セキュリンギュ (ソシエテ シヴィル) 所定の数の注射液を管理するための注射器
US5478323A (en) 1993-04-02 1995-12-26 Eli Lilly And Company Manifold for injection apparatus
DE4318101A1 (de) 1993-06-01 1994-12-08 Sterimed Gmbh Schlauchkupplung
US5496284A (en) 1994-09-27 1996-03-05 Waldenburg; Ottfried Dual-chamber syringe & method
JPH08164206A (ja) * 1994-12-09 1996-06-25 Material Eng Tech Lab Inc 注射器のプロテクター
US5571085A (en) * 1995-03-24 1996-11-05 Electro-Catheter Corporation Steerable open lumen catheter
US5620427A (en) 1995-04-27 1997-04-15 David R. Kipp Luer lock system
GB9801261D0 (en) 1998-01-21 1998-03-18 Peters Joseph L Couplings for medical cannulae
US6293958B1 (en) * 1998-07-27 2001-09-25 Acist Medical Systems, Inc. Catheter having flow diffusing tip
US6669671B1 (en) * 1998-12-22 2003-12-30 Owais Mohammad Retractable needle with dual locking mechanisms
TW373505U (en) * 1999-01-28 1999-11-01 Perfect Medical Industry Co Ltd Improved structure for the safety syringe barrel
US6231551B1 (en) 1999-03-01 2001-05-15 Coaxia, Inc. Partial aortic occlusion devices and methods for cerebral perfusion augmentation
DE19933131A1 (de) 1999-07-19 2001-02-01 Kasprowicz Stanislaw System zur Aufbewahrung und Transport von Antimaterie
US6238374B1 (en) 1999-08-06 2001-05-29 Proxima Therapeutics, Inc. Hazardous fluid infuser
US6793660B2 (en) * 2001-08-20 2004-09-21 Synthes (U.S.A.) Threaded syringe for delivery of a bone substitute material
US6911025B2 (en) 2002-01-25 2005-06-28 Jms Co., Ltd. Connector system for sterile connection
US6723074B1 (en) 2002-04-09 2004-04-20 Thor R. Halseth Sequential delivery syringe
US6722705B2 (en) 2002-04-25 2004-04-20 Ab Korkor Medical, Inc. Medical tubing connector
US20030212371A1 (en) * 2002-05-10 2003-11-13 Martin E. Smith Disposable safety syringe
JP2006507032A (ja) 2002-07-16 2006-03-02 アプライド メディカル リソーシーズ コーポレイション 排出カテーテル
US7594903B2 (en) * 2002-09-25 2009-09-29 Abbott Cardiovascular Systems Inc. Controlling shaft bending moment and whipping in a tendon deflection or other tendon system
US20050015048A1 (en) * 2003-03-12 2005-01-20 Chiu Jessica G. Infusion treatment agents, catheters, filter devices, and occlusion devices, and use thereof
WO2004091688A2 (en) 2003-04-08 2004-10-28 Medrad, Inc. Fluid delivery systems, devices and methods for delivery of hazardous fluids
EP1641507B1 (en) * 2003-06-18 2012-03-21 Q-Med AB A medical pump
US20040258614A1 (en) 2003-06-20 2004-12-23 University Of Maryland, Baltimore Microparticles for microarterial imaging and radiotherapy
US20050154353A1 (en) * 2004-01-09 2005-07-14 Alheidt Thomas A. Positive displacement flush syringe
US6989001B2 (en) * 2004-05-28 2006-01-24 Huang-Chuan Chen Breakable syringe with a safety sleeve
US7727195B2 (en) * 2004-07-01 2010-06-01 West Pharmaceutical Services, Inc. Syringe device having venting system
IL162854A (en) * 2004-07-04 2011-08-31 Igal Sharon Syringe assembly
JP2006017660A (ja) 2004-07-05 2006-01-19 Universal Giken:Kk 放射能量検出センサー、このセンサーを用いた放射能量測定方法、及び放射性薬剤自動投与装置
US8357147B2 (en) 2005-08-17 2013-01-22 Spinal Restoration, Inc. Method for repairing intervertebral discs
DE202004012714U1 (de) 2004-08-12 2004-11-04 Smiths Medical Deutschland Gmbh Luer-Lock-Verbinder für medizinische Geräte
JP4624821B2 (ja) 2004-11-01 2011-02-02 安西メディカル株式会社 放射性試料ホルダ
US7947017B2 (en) 2004-11-22 2011-05-24 Intelliject, Inc. Devices, systems and methods for medicament delivery
DK1830909T3 (da) * 2004-12-21 2010-11-01 Becton Dickinson Co Sprøjteindretning med deaktiveringsmekanisme
EP1861194A2 (en) 2005-03-04 2007-12-05 The President and Fellows of Harvard College Method and apparatus for forming multiple emulsions
US8075533B2 (en) * 2005-05-02 2011-12-13 Preventiv, Inc. Autoflush syringe
JP5068254B2 (ja) * 2005-05-09 2012-11-07 メデイカル コンポーネンツ,インコーポレーテツド 血管カテーテルのための安全なチップ
EP1896098A2 (en) 2005-05-16 2008-03-12 Mallinckrodt, Inc. Radiopharmaceutical pigs and portable powered injectors
US7414254B2 (en) 2005-06-28 2008-08-19 United Pharmacy Partners, Inc. Tungsten pig for radio-pharmaceuticals
US20070088292A1 (en) 2005-07-06 2007-04-19 Fangrow Thomas F Jr Medical connector with closeable male luer
US7806860B2 (en) 2005-11-15 2010-10-05 Global Medisafe Holdings Limited Safety syringe with plunger locking means
CN101360527A (zh) * 2005-11-15 2009-02-04 麦迪塞弗环球控股有限公司 具有柱塞锁定装置的安全注射器
US7473918B2 (en) 2005-12-07 2009-01-06 Vulcan Global Manufacturing Solutions, Inc. Radiation-shielding container
US7501179B2 (en) 2005-12-21 2009-03-10 Boston Scientific Scimed, Inc. Block copolymer particles
US7674247B2 (en) * 2006-10-24 2010-03-09 Control Medical Technology, Llc Double barrel syringe and handles for use with double barrel syringes
WO2008154615A1 (en) * 2007-06-12 2008-12-18 Becton, Dickinson And Company Syringe assembly including reuse prevention mechanism
AU2008261631B2 (en) * 2007-06-12 2013-06-06 Becton, Dickinson And Company Syringe with disabling mechanism
FR2917981B1 (fr) 2007-06-28 2010-05-28 Novapten Procede et systeme d'injection d'un produit radioactif dans le corps d'un patient
WO2009039203A2 (en) 2007-09-17 2009-03-26 Satish Sundar High precision infusion pump controller
US9107828B2 (en) 2007-10-05 2015-08-18 Boston Scientific Scimed, Inc. Multi-component particles for injection and processes for forming the same
US8346224B2 (en) 2008-03-13 2013-01-01 Christoph Jahr Method and apparatus for creating a rating system for mobile subscribers based on wireless subscriber specific credentials
BRPI0909316B1 (pt) 2008-03-25 2021-08-10 Saint-Gobain Performance Plastics Corporation Conjunto de conexão e método de formação de conexão estéril
EP2280751B1 (en) 2008-05-14 2021-12-01 Biolyph, Llc Reagent mixture preparation and dispensing devices and methods for the same
CN104587552B (zh) 2008-06-06 2017-11-14 拜耳医药保健有限公司 用于向患者递送流体注射药丸以及处理有害流体的装置和方法
WO2010011930A2 (en) * 2008-07-24 2010-01-28 Boston Scientific Scimed, Inc. Various catheter devices for myocardial injections or other uses
DK2361646T3 (da) 2008-09-12 2013-06-17 Hoffmann La Roche Doseringsenhed og indretning til ambulant indsprøjtning med doseringsenheden
US7825392B2 (en) 2008-10-08 2010-11-02 Rodney Wayne Prosser Cleaning process for radiopharmaceutical reusable pigs
IT1395063B1 (it) 2008-10-10 2012-09-05 Tema Sinergie Srl Dispositivo e apparato pe ril frazionamento e la infusione di radiofarmaci.
US9149605B2 (en) 2009-07-28 2015-10-06 Clement Kleinstreuer Methods and devices for targeted injection of microspheres
WO2011062971A2 (en) * 2009-11-17 2011-05-26 Brigham And Women's Hospital, Inc. Catheter device with local magnetic resonance imaging coil and methods for use thereof
US8500775B2 (en) * 2009-12-02 2013-08-06 Surefire Medical, Inc. Protection device and method against embolization agent reflux
US8696698B2 (en) * 2009-12-02 2014-04-15 Surefire Medical, Inc. Microvalve protection device and method of use for protection against embolization agent reflux
US20110144576A1 (en) * 2009-12-14 2011-06-16 Voyage Medical, Inc. Catheter orientation control system mechanisms
JP2013531525A (ja) * 2010-06-13 2013-08-08 アンジオメトリックス コーポレーション 血管内腔の情報を決定し、医療用デバイスをガイドするための方法およびシステム
WO2012006555A1 (en) 2010-07-09 2012-01-12 Preventiv, Inc. Two chamber syringe with locking mechanism
EP2595676A4 (en) * 2010-07-23 2014-01-01 Safeshot Technologies Llc RETRACTABLE MULTI-CHAMBER SECURITY SYRINGE
WO2012061657A2 (en) * 2010-11-03 2012-05-10 Biocardia, Inc. Steerable endoluminal devices and methods
US9662458B2 (en) * 2010-12-23 2017-05-30 Richard A. Schatz Injection needle insertion barrier
FR2971425B1 (fr) 2011-02-10 2014-05-02 Lemer Prot Anti X Par Abreviation Soc Lemer Pax Dispositif de radioprotection pour seringue
WO2012118687A1 (en) 2011-02-28 2012-09-07 Merck Sharp & Dohme Corp. Manually operated injector with restricted injection sequence
CA2835048C (en) * 2011-05-23 2019-07-30 Nitiloop Ltd. Deployment mechanism for body vessel insertion devices
DK2714138T3 (en) 2011-05-25 2018-06-18 Sanofi Aventis Deutschland PATTERN HOLDER, MEDICAL DEVICE INCLUDING SUCH A PATTERN HOLDER AND PROCEDURE FOR INSTALLING A PHARMACEUTICAL RESERVE
GB201113606D0 (en) 2011-08-05 2011-09-21 Norbrook Lab Ltd Dual chamber syringe
BR112014018127B1 (pt) 2012-01-23 2021-03-23 Bee Sight Limited Seringa
JP5947592B2 (ja) * 2012-03-30 2016-07-06 富士フイルムRiファーマ株式会社 注射器、ピストン及び注射器用シリンジ
WO2013153722A1 (ja) 2012-04-13 2013-10-17 テルモ株式会社 チューブ接続構造
US9393441B2 (en) 2012-06-07 2016-07-19 Bayer Healthcare Llc Radiopharmaceutical delivery and tube management system
WO2014040143A1 (en) 2012-09-17 2014-03-20 Gray Bruce N Method of treating cancer
US9174003B2 (en) * 2012-09-28 2015-11-03 Bayer Medical Care Inc. Quick release plunger
US8671817B1 (en) * 2012-11-28 2014-03-18 Hansen Medical, Inc. Braiding device for catheter having acuately varying pullwires
US9486643B2 (en) 2012-12-07 2016-11-08 Emory University Methods, systems and computer readable storage media storing instructions for image-guided treatment planning and assessment
US9408981B2 (en) 2013-03-10 2016-08-09 Bayer Healthcare Llc Adjustable volume syringe
US9114215B2 (en) * 2013-03-13 2015-08-25 Bayer Medical Care Inc. Multiple compartment syringe
WO2014145548A2 (en) * 2013-03-15 2014-09-18 Concert Medical, Llc Method and system for controllably administering fluid to a patient and/or for controllably withdrawing fluid from the patient
US10071222B2 (en) * 2013-03-16 2018-09-11 Clph, Llc Electrode catheters and methods for making them
JP2014200361A (ja) 2013-04-02 2014-10-27 テルモ株式会社 医療用カテーテルおよびその使用方法
WO2015112636A1 (en) 2014-01-21 2015-07-30 The Trustees Of Columbia University In The City Of New York Compositions for radiotherapy and uses thereof
CN116712572A (zh) 2014-05-08 2023-09-08 斯尔泰克斯医药有限公司 用于治疗肾细胞癌的方法
ES2723999T3 (es) 2014-09-30 2019-09-05 Sirtex Medical Ltd Un dispositivo de transferencia para transferir una sustancia tóxica
WO2016049685A1 (en) 2014-09-30 2016-04-07 Sirtex Medical Limited An administering device for administering a therapeutic substance
CR20170245A (es) * 2014-12-05 2017-09-14 Edwards Lifesciences Corp Cateter dirigible con cable de tracción
US10765811B2 (en) 2014-12-08 2020-09-08 Genentech, Inc. Versatile syringe platform
WO2016110824A1 (en) * 2015-01-09 2016-07-14 Accurate Medical Therapeutics Ltd. Embolization microcatheter
AU2016244004B2 (en) 2015-04-01 2020-11-12 Osprey Medical, Inc. Syringe volume monitoring systems with hall sensor
WO2016157974A1 (ja) 2015-04-02 2016-10-06 光陽産業株式会社 医療用接続構造
US11260182B2 (en) * 2015-04-16 2022-03-01 Nemoto Kyorindo Co., Ltd. Chemical liquid injector, method for controlling chemical liquid injector, and computer program
WO2016180873A1 (en) * 2015-05-12 2016-11-17 Novo Nordisk A/S Rotary sensor arrangement for drug delivery device
US20170065731A1 (en) 2015-09-06 2017-03-09 Medical Theranostics Inc. Method, Apparatus, and System for Radiation Therapy
WO2017053398A1 (en) * 2015-09-21 2017-03-30 Board Of Regents, The University Of Texas System Single catheter device for transvascular delivery of particulate and non particulate agents
US20170106170A1 (en) * 2015-10-19 2017-04-20 Biocardia, Inc. Multi-Directional Steerable Catheter
US10500340B2 (en) * 2015-10-20 2019-12-10 Truinject Corp. Injection system
CN108135591B (zh) * 2016-02-24 2021-05-28 禾木(中国)生物工程有限公司 柔性增强的神经血管导管
EP3429687B1 (en) 2016-03-16 2019-08-28 Koninklijke Philips N.V. System for assisting in performing an interventional procedure
CN107376093B (zh) * 2016-11-18 2024-07-19 苏州恒瑞迪生医疗科技有限公司 导丝扭控装置
US20170189569A1 (en) 2017-03-16 2017-07-06 Omid Souresrafil Biodegradable microspheres incorporating radionuclides technical field
EP3645085A1 (en) * 2017-06-26 2020-05-06 V.V.T. Med Ltd. Actuator and device for synchronized injection and aspiration
WO2019006099A1 (en) 2017-06-28 2019-01-03 The Regents Of The University Of California COMPOSITE EMBOLIZATION BALLS
WO2019222699A1 (en) 2018-05-18 2019-11-21 Bard Peripheral Vascular, Inc. Dual-stage syringes for independent delivery of two or more fluids
US20210177997A1 (en) 2018-05-18 2021-06-17 Bard Peripheral Vascular, Inc. Microspheres containing radioactive isotopes and other markers and associated methods
CA3099976A1 (en) 2018-05-18 2019-11-21 Bard Peripheral Vascular, Inc. Radioembolization delivery device
WO2019222680A1 (en) 2018-05-18 2019-11-21 Bard Peripheral Vascular, Inc. Microsphere containment systems and methods

Patent Citations (1)

* Cited by examiner, † Cited by third party
Publication number Priority date Publication date Assignee Title
JP2015144676A (ja) 2014-01-31 2015-08-13 テルモ株式会社 シリンジ連結体

Also Published As

Publication number Publication date
AU2019269701A1 (en) 2021-01-14
IL278811B1 (en) 2023-12-01
EP3793659A1 (en) 2021-03-24
IL278804B1 (en) 2024-09-01
IL278804A (en) 2021-01-31
JP2021524308A (ja) 2021-09-13
IL278804B2 (en) 2025-01-01
JP2024161511A (ja) 2024-11-19
JP7482789B2 (ja) 2024-05-14
CN118356553A (zh) 2024-07-19
WO2019222687A1 (en) 2019-11-21
JP2023113944A (ja) 2023-08-16
AU2019269701B2 (en) 2024-11-14
US12036373B2 (en) 2024-07-16
JP2021524307A (ja) 2021-09-13
AU2019269705A1 (en) 2021-01-07
US20210205584A1 (en) 2021-07-08
US12011552B2 (en) 2024-06-18
CN112423822A (zh) 2021-02-26
JP7361724B2 (ja) 2023-10-16
CN112384988B (zh) 2024-12-27
EP3794608A1 (en) 2021-03-24
US20210213301A1 (en) 2021-07-15
CN112423822B (zh) 2023-04-14
IL278811B2 (en) 2024-04-01
NZ770991A (en) 2024-05-31
CN118662732A (zh) 2024-09-20
IL278811A (en) 2021-01-31
AU2019269705B2 (en) 2024-10-24
CN118356554A (zh) 2024-07-19
CN118512685A (zh) 2024-08-20
NZ770696A (en) 2024-05-31
US20240325692A1 (en) 2024-10-03
CN112384988A (zh) 2021-02-19

Similar Documents

Publication Publication Date Title
JP7584573B2 (ja) ラチェット式安全タブ、ラチェット式安全タブ注射器システム、ラチェット式安全タブ注射器システムを動作させる方法、注射器から投与された流体の流れパラメータを決定する方法、一体型一方向弁デュアルステージ注射器、および、一体型一方向弁デュアルステージ注射器を操作する方法
US11839738B2 (en) Medication infusion device
WO2019222699A1 (en) Dual-stage syringes for independent delivery of two or more fluids
US6589158B2 (en) Radiation shield for a syringe
JP6069481B2 (ja) 回転する注射針マガジン
US5704921A (en) Prefilled hypodermic syringe system
JP5524973B2 (ja) 薬剤の皮内注入用のペン針アセンブリ
JP2005508656A (ja) 予充填式の安全な薬瓶インジェクタ
CN112512631A (zh) 放射性栓塞递送装置
US10426891B2 (en) Disposable cassette for storing and delivering a medical drug
KR20180050288A (ko) 약물 패키징
CN105530964A (zh) 用于注射药筒药物的单次使用装置
JP2022534182A (ja) 針貯蔵容器、針マガジン、ペンアセンブリ、および針マガジン格納の複数針の使用方法
WO2021255045A1 (en) Administering medicament
KR101479258B1 (ko) 일회용 주사기
CN115996770A (zh) 用于优化混合的药瓶几何结构
JP2025516954A (ja) 放射線収容構成要素、密閉アセンブリ、および使用の方法
WO2020205531A1 (en) Syringe assembly
CN117957026A (zh) 可注射材料的输送装置、系统和方法
CN119585010A (zh) 用于颗粒输送装置的多肋隔膜、小瓶和小瓶组件
CN119630441A (zh) 用于最佳流动的小瓶组件系统和方法
CN116897059A (zh) 用于颗粒材料输送组件的适配器部件和使用方法
CN120693187A (zh) 可注射材料的输送装置、系统和方法

Legal Events

Date Code Title Description
A521 Request for written amendment filed

Free format text: JAPANESE INTERMEDIATE CODE: A523

Effective date: 20230614

A621 Written request for application examination

Free format text: JAPANESE INTERMEDIATE CODE: A621

Effective date: 20230614

A131 Notification of reasons for refusal

Free format text: JAPANESE INTERMEDIATE CODE: A131

Effective date: 20240517

A521 Request for written amendment filed

Free format text: JAPANESE INTERMEDIATE CODE: A523

Effective date: 20240819

TRDD Decision of grant or rejection written
A01 Written decision to grant a patent or to grant a registration (utility model)

Free format text: JAPANESE INTERMEDIATE CODE: A01

Effective date: 20241016

A61 First payment of annual fees (during grant procedure)

Free format text: JAPANESE INTERMEDIATE CODE: A61

Effective date: 20241105

R150 Certificate of patent or registration of utility model

Ref document number: 7584573

Country of ref document: JP

Free format text: JAPANESE INTERMEDIATE CODE: R150