JP7573166B2 - 弁付き針組立体 - Google Patents

弁付き針組立体 Download PDF

Info

Publication number
JP7573166B2
JP7573166B2 JP2023076707A JP2023076707A JP7573166B2 JP 7573166 B2 JP7573166 B2 JP 7573166B2 JP 2023076707 A JP2023076707 A JP 2023076707A JP 2023076707 A JP2023076707 A JP 2023076707A JP 7573166 B2 JP7573166 B2 JP 7573166B2
Authority
JP
Japan
Prior art keywords
plunger
connector
base end
tip
outer peripheral
Prior art date
Legal status (The legal status is an assumption and is not a legal conclusion. Google has not performed a legal analysis and makes no representation as to the accuracy of the status listed.)
Active
Application number
JP2023076707A
Other languages
English (en)
Other versions
JP2023087108A (ja
JP2023087108A5 (ja
Inventor
慎吾 阪本
Current Assignee (The listed assignees may be inaccurate. Google has not performed a legal analysis and makes no representation or warranty as to the accuracy of the list.)
Nipro Corp
Original Assignee
Nipro Corp
Priority date (The priority date is an assumption and is not a legal conclusion. Google has not performed a legal analysis and makes no representation as to the accuracy of the date listed.)
Filing date
Publication date
Application filed by Nipro Corp filed Critical Nipro Corp
Priority to JP2023076707A priority Critical patent/JP7573166B2/ja
Publication of JP2023087108A publication Critical patent/JP2023087108A/ja
Publication of JP2023087108A5 publication Critical patent/JP2023087108A5/ja
Application granted granted Critical
Publication of JP7573166B2 publication Critical patent/JP7573166B2/ja
Active legal-status Critical Current
Anticipated expiration legal-status Critical

Links

Images

Landscapes

  • Infusion, Injection, And Reservoir Apparatuses (AREA)
  • Media Introduction/Drainage Providing Device (AREA)

Description

本発明は、血管に穿刺されて輸液や採血などに供される針組立体に係り、特に内部に弾性弁体と当該弾性弁体を押し開く押し子が設けられる弁付きの針組立体に関するものである。
従来から、輸液や採血などを行う際に用いられる針組立体が知られている。この針組立体は中空針と当該中空針の基端側に設けられる針ハブとを備えており、中空針が患者の血管に穿刺されるとともに針ハブに外部流路が接続されることで、血管から針組立体の内部を通じて外部流路に至る流体流路が構成されて、当該流体流路を通じて輸液や採血などが実施されるようになっている。
ところで、針組立体の流体流路上に弾性弁体と軸方向に移動可能な押し子とを設けて、押し子の先端側および基端側への移動により弾性弁体を開閉せしめ、それに伴い流体流路を連通および遮断可能とした弁付きの針組立体があり、かかる弁付き針組立体が、特開2008-173206号公報(特許文献1)において提案されている。特に、特許文献1に記載の弁付き針組立体では、針ハブと押し子との間にばね部材(コイルばね16)が設けられており、外部流路の抜去時にばね部材の弾性的な復元力により押し子が後方(基端側)に押し戻されるようになっている。
すなわち、上記特許文献1では、押し子の基端側から外部流路を押し込んで押し子を先端側に移動させることで、ばね部材が圧縮変形せしめられるとともに、当該押し子が弾性弁体に挿入されて弾性弁体が押し開かれるようになっている。これにより、流体流路が連通されて輸液や採血などが実施される。一方、輸液や採血の終了時や中断時には、外部流路が抜去されることで、ばね部材の弾性的な復元変形により押し子が基端側に押し戻されて、弾性弁体が閉塞されるとともに流体流路が遮断されるようになっている。これにより、外部流路の抜去時における血液などの漏出が防止される。
特開2008-173206号公報
ところが、上記特許文献1では、ばね部材(コイルばね)の復元力のみにより押し子を基端側へ押し戻すことから、より確実に押し子を基端側に押し戻すために、より大きな復元力が必要であった。それ故、ばね部材が大型となり、弁付き針組立体においてばね部材の収容スペースを大きく確保する必要があったり、外部流路の挿入接続時に使用者が大きな抵抗感(ばね部材の反発感)を感じることがあって、特に女性が使用しにくいものであった。また、大きなばね力が局所的に針ハブや押し子に作用することから、ばね部材を支持する(大きなばね力を受ける)針ハブや押し子も大型とする必要があったり、小型の針ハブや押し子を設ける場合には、強度の観点において問題が生じるおそれがあった。
本発明は、上述の事情を背景に為されたものであって、その解決課題は、ばね部材、ひいては針組立体における大型化や大きなばね力の局所的な作用に伴う部材強度の問題を回避することができると共に、操作性に優れた、新規な構造の弁付き針組立体を提供することにある。
本発明の第1の態様は、中空針の基端側に設けられた硬質の針ハブの内部に弾性弁体が配されており、前方への移動で該弾性弁体を押し開く筒状の押し子が設けられた弁付き針組立体において、前記弾性弁体の押し開き状態で該弾性弁体へ挿し入れられる前記押し子の挿入領域の外周面が先細状とされて、該弾性弁体の弾性による後方への押し戻し力が該押し子へ及ぼされるようになっていると共に、該押し子の前方への移動により変形されるばね部材が設けられて、該弾性弁体の押し開き状態で変形された該ばね部材の復元力が該押し子に対して後方への戻し力として及ぼされるようになっており、且つ、前記ばね部材としてのコイルスプリングが前記押し子への外挿状態で装着されて、前記針ハブと該押し子との径方向間に該コイルスプリングが配されていると共に、該コイルスプリングが該押し子において先細状とされた外周面の形成部分よりも後方に位置しており、且つ、該針ハブの内周面に突出する前方支持部と該押し子の外周面に突出する後方支持部との間に配されており、該コイルスプリングが全長に亘って該針ハブの内周面よりも該押し子の外周面に接近して配設されていることを特徴とするものである。
本態様に従う構造とされた弁付き針組立体によれば、外部流路の抜去時において、弾性弁体の弾性的な復元力(押し戻し力)が押し子に及ぼされるとともに、ばね部材の弾性的な復元力が押し子に及ぼされることから、弾性弁体の復元力とばね部材の復元力とが協働して、押し子を基端側に戻すようになっている。これにより、前記特許文献1のようにばね部材の復元力のみで押し子を基端側に移動させることがなく、大きなばね部材の復元力を必要とすることが回避される。それ故、ばね部材の大型化やばね部材を支持する部材への影響が回避されるとともに、外部流路の挿入接続時において使用者が抵抗感(反発感)を感じるおそれも回避されて、良好な操作性が発揮され得る。
また、押し子の挿入領域が先細状とされていることから、例えば前記特許文献1のように押し子の外周面が略直線状とされている場合に比べて、弾性弁体の弾性的な復元力が押し子に対して基端側への押し戻し力として及ぼされ易く、押し子をスムーズ、且つ安定して基端側へ移動させることができる。
本発明の第2の態様は、前記第1の態様に係る弁付き針組立体において、前記押し子の外周面に設けられた外周突部と、前記針ハブの内周面に設けられた内周突部とが相互に当接することで該押し子の基端側への移動端が規定されるようになっているものである。
本態様に従う構造とされた弁付き針組立体によれば、押し子が弾性弁体とばね部材との弾性的な復元力により基端側へ戻されることとなるが、特に、例えばばね部材が勢いよく復元変形することに伴う針ハブからの押し子の脱落などが効果的に防止され得る。
本発明の第の態様は、前記第1又は第2の態様に係る弁付き針組立体において、前記押し子の挿入領域の外周面が先細状のテーパ面とされており、該テーパ面の傾斜角度が、1~75度の範囲内に設定されているものである。
本態様に従う構造とされた弁付き針組立体によれば、テーパ面の傾斜角度が上記範囲内に設定されることで、弾性弁体の弾性的な復元力が押し子の基端側への押し戻し力として効果的に及ぼされ得る。
本発明の第の態様は、前記第1~第の何れかの態様に係る弁付き針組立体において、前記押し子の外周面には先細状のテーパ面が設けられていると共に、該押し子の先端部分には、前記弾性弁体の押し開き状態で該弾性弁体を貫通して前方に突出する貫通先端部が設けられており、該貫通先端部の外周面を含んで該テーパ面が形成されているものである。
本態様に従う構造とされた弁付き針組立体によれば、貫通先端部の外周面が先細状のテーパ面とされることから、押し子が基端側に移動する際にも、貫通先端部の外周面と弾性弁体とが相互に当接することで押し子に対して基端側への押し戻し力が安定して及ぼされ得る。
本発明に従う構造とされた弁付き針組立体によれば、弾性弁体の弾性的な復元力とばね部材の弾性的な復元力とが協働して押し子を基端側に戻すことから、押し子の基端側への移動が安定して実現され得る。また、ばね部材の復元力を従来より小さく設定することも可能であり、ばね部材、ひいては針組立体の小型化が促進されるとともに、ばね部材を支持する部材の強度なども小さく設定することが可能であり、操作性に優れた弁付き針組立体が提供され得る。
本発明の1実施形態としての弁付き針組立体を外部流路の接続前の状態で示す斜視図。 図1に示された弁付き針組立体の縦断面図。 図2における要部を拡大して示す縦断面図。 図1に示された弁付き針組立体を外部流路の接続状態で示す縦断面図。 図4における要部を拡大して示す縦断面図。
以下、本発明を更に具体的に明らかにするために、本発明の実施形態について、図面を参照しつつ、詳細に説明する。
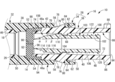
先ず、図1~3には、本発明の1実施形態としての弁付き針組立体10が示されている。この弁付き針組立体10は、先端側に中空針としてのカニューラ12を備えているとともに、当該カニューラ12の基端側に、弾性弁体としてのディスク弁14が内部に収容配置される針ハブ16を備えている。そして、これらカニューラ12と針ハブ16の内部を含んで内部流路18が構成されている。かかるカニューラ12が患者の血管に経皮的に挿し入れられて留置されることにより、内部流路18を通じて輸液や採血が行われるようになっているとともに、針ハブ16への外部流路の接続と抜去に伴い、ディスク弁14の開放と閉塞、即ち内部流路18の連通と遮断とが切り換えられるようになっている。なお、以下の説明において、軸方向とは、各部材の中心軸方向であって、中空針であるカニューラ12の針軸方向に略相当し、長さ方向である図2中の左右方向をいう。また、先端側とは、カニューラ12の穿刺される側である図2中の左側をいう一方、基端側とは、使用者が操作する側である図2中の右側をいう。
より詳細には、カニューラ12は、本実施形態では、軟質の合成樹脂により形成されており、先端部分の外周面は、先端側に向かって次第に外径寸法が小さくなるテーパ状外周面20とされている。また、カニューラ12の先端部分の周壁には、複数の貫通孔22が形成されており、当該貫通孔22を通じて血液などがカニューラ12内へ流入し易くされている。なお、カニューラ12の材質は、軟質の合成樹脂に限定されるものではなく、例えば金属製であってもよい。
かかるカニューラ12の基端部分は、針ハブ16により固定支持されている。本実施形態の針ハブ16は、カニューラ12の基端部分が直接固定される針ハブ本体24と、当該針ハブ本体24の基端側に接続される弾性チューブ26と、当該弾性チューブ26の基端側に接続される接続コネクタ28とを含んで構成されている。即ち、本実施形態の針ハブ16は、針ハブ本体24と弾性チューブ26と接続コネクタ28とが、軸方向で直列的に連結されている。
針ハブ本体24は略筒状の周壁30を備えており、例えば硬質の合成樹脂により形成される。そして、かかる針ハブ本体24にカニューラ12が挿通されて、カニューラ12の基端部分が針ハブ本体24に接着や溶着などにより固着されることで、針ハブ本体24から先端側にカニューラ12が延び出している。
この針ハブ本体24の基端側には弾性チューブ26が接続されている。当該弾性チューブ26は、例えば軟質の合成樹脂により形成されて、弾性チューブ26の先端部分が、針ハブ本体24の基端側開口部において針ハブ本体24の周壁30とカニューラ12とにより挟まれて、必要に応じて接着や溶着が施されることにより、針ハブ本体24の基端側に弾性チューブ26が接続されている。これにより、針ハブ本体24に対してカニューラ12や弾性チューブ26が強固に固定されている。
かかる弾性チューブ26の基端部分が、接続コネクタ28の先端部分に固着されている。この接続コネクタ28は、全体として略筒形状とされており、接続コネクタ28の先端側開口部から弾性チューブ26の基端部分が挿入されて、必要に応じて接着や溶着の処理が施されることにより、弾性チューブ26と接続コネクタ28とが相互に接続されている。すなわち、かかる接続コネクタ28の先端部分が、弾性チューブ26が接続されるチューブ接続部32とされている。
そして、これらカニューラ12、弾性チューブ26、接続コネクタ28(特に接続コネクタ28の内部に設けられる後述する押し子100)のそれぞれの内孔を含んで、カニューラ12から接続コネクタ28に至る内部流路18が構成されている。
本実施形態の接続コネクタ28は、何れも略円筒形状とされた外周コネクタ34と内周コネクタ36とが相互に内外挿されて固定された形状とされている。すなわち、外周コネクタ34の基端側に内周コネクタ36の先端側が挿し入れられて組み付けられることで、内周コネクタ36の外周側に外周コネクタ34が外挿された状態で固定されて、接続コネクタ28が構成されている。したがって、接続コネクタ28の周壁が、外周コネクタ34の周壁38と内周コネクタ36の周壁40とから構成されている。また、内周コネクタ36の周壁40において、外周コネクタ34に挿し入れられる先端側の部分が、略円筒状の挿入部42とされている一方、外周コネクタ34の周壁38において、内周コネクタ36の挿入部42が挿し入れられる基端側の部分が、略円筒状の被挿入部44とされている。なお、これら挿入部42と被挿入部44は相互に逆に設けられてもよく、基端側に位置する外周コネクタ34に、内周コネクタ36の基端部分が挿入されてもよい。
そして、かかる内周コネクタ36の基端が、外周コネクタ34よりも、所定の軸方向寸法をもって基端側に延び出している。それ故、接続コネクタ28の周壁は、外周コネクタ34と内周コネクタ36との連結部分である挿入部42と被挿入部44との内外挿部分で二重壁構造とされている一方、接続コネクタ28の先端側の周壁が外周コネクタ34の周壁38で構成されているとともに、接続コネクタ28の基端側の周壁が内周コネクタ36の周壁40で構成されている。すなわち、外周コネクタ34の内周面46における基端部分(被挿入部44における内周面)46aと内周コネクタ36の外周面48における先端部分(挿入部42における外周面)48aとが相互に重ね合わされることで、上記外周コネクタ34と内周コネクタ36とが内外挿されて二重壁構造とされている部分が構成されている。
外周コネクタ34は、硬質の合成樹脂により形成されており、略筒状の周壁38を備えている。かかる周壁38の軸方向中間部分における内周面46には、環状壁部50が内周側に突出して形成されている。そして、外周コネクタ34の先端側開口部から挿入された弾性チューブ26の基端が、軸直角方向に広がる環状壁部50の先端側端面に当接しており、外周コネクタ34における環状壁部50よりも先端側の部分により、弾性チューブ26が接続されるチューブ接続部32が構成されている。また、環状壁部50の基端側端面が軸直角方向に広がっており、これにより、外周コネクタ34の内周面46には、環状の段差面52が形成されている。
かかる外周コネクタ34において、先端側であるチューブ接続部32では、内径寸法が、軸方向の略全長に亘って略一定とされている。また、基端側である被挿入部44では、内径寸法が、チューブ接続部32よりも僅かに大きくされており、軸方向の略全長に亘って略一定とされている。なお、本実施形態では、外周コネクタ34の内周面46において、被挿入部44の先端部分、即ち環状壁部50に対して基端側に隣接する部分には、内周側に突出する押圧リブ54が、周方向の全長に亘って、または周上で部分的に形成されている。
さらに、外周コネクタ34の周壁38における被挿入部44において、径方向1方向の両側(図2中の上下方向両側)には、周壁38を厚さ方向(径方向)で貫通する一対の係合孔56,56が形成されている。これらの係合孔56,56は、それぞれ平面視における形状が略矩形状とされており、1/2周に満たない周方向寸法をもって形成されている。また、外周コネクタ34の周壁38において、これら一対の係合孔56,56を周方向で外れた位置には、基端側開口部58の開口縁から軸方向内方(先端側)に向かって延びる切欠き60が形成されている。本実施形態では、一対の係合孔56,56の対向方向と直交する方向の両側(図2中の紙面手前奥方向両側)に一対の切欠き60,60が、所定の幅寸法をもって形成されている。なお、かかる切欠き60の個数は2つ(一対)に限定されるものではなく、周上で1つまたは3つ以上設けられてもよい。
更にまた、外周コネクタ34の被挿入部44における内周面46において、基端側開口部58には、一対の傾斜面62,62が形成されている。これら傾斜面62,62は、係合孔56,56の対向する方向と同方向(図2中の上下方向両側)に形成されており、基端側開口部58に向かって周壁38の厚さ寸法が次第に小さくなっている。そして、かかる傾斜面62,62と、当該傾斜面62,62の周方向両側の壁部により、外周コネクタ34の基端側開口部58には、内周側に開口する一対の傾斜溝64,64が形成されている。なお、傾斜面62,62の幅方向寸法は、係合孔56,56の幅方向寸法と略等しくされており、係合孔56,56と傾斜溝64,64とが、外周コネクタ34の周壁38において、周上の対応する位置で周上部分的に形成されている。すなわち、傾斜溝64,64の先端側に係合孔56,56が形成されている。
一方、内周コネクタ36は、硬質の合成樹脂により形成されており、外周コネクタ34の周壁38よりも小径の周壁40を備えている。この周壁40は、内径寸法および外径寸法が軸方向の略全長に亘って略一定とされている。
すなわち、内周コネクタ36(周壁40)の内周面66において、軸方向中間部分には、環状の内周突部としての係合突部68が内周側に突出して形成されている。そして、かかる内周コネクタ36の内周面66において、係合突部68よりも先端側は、後述する押し子100の軸方向移動をガイドする案内面70とされており、内径寸法が略一定とされている。一方、係合突部68よりも基端側は、内径寸法が基端側へ向かって次第に大きくなるテーパ状面72とされている。
また、内周コネクタ36の外周面48における先端部分48a、即ち挿入部42における外周面48aは、その最先端部分において外径寸法が小さくされており、これにより、内周コネクタ36の先端部分には、先端側に突出する略筒状の支持筒部74が形成されている。
更にまた、挿入部42の外周面48aには、外周側に突出する係合突起76が設けられている。本実施形態では、径方向1方向の両側(図2中の上下方向両側)に、一対の係合突起76,76が形成されている。これら係合突起76,76の平面視における形状は、外周コネクタ34における係合孔56,56と略対応する略矩形状とされている。そして、係合突起76,76の先端側端面が、先端側に向かって係合突起76,76の突出高さが次第に小さくなる傾斜面78,78とされている一方、基端側端面が、略軸直角方向に広がる垂直面80,80とされている。なお、係合突起76,76における傾斜面78,78の軸方向に対する傾斜方向は、傾斜溝64,64における傾斜面62,62の軸方向に対する傾斜方向と等しくされている。本実施形態では、これら両傾斜面62,78の軸方向に対する傾斜角度も略等しくされており、傾斜面62と傾斜面78とが軸方向で相互に略平行とされている。かかる係合突起76や係合孔56の個数は、2つ(一対)に限定されるものではなく、周上で1つまたは3つ以上設けられてもよい。
さらに、挿入部42の外周面48aにおいて、一対の係合突起76,76の対向する方向と直交する方向の両側(図2中の紙面手前奥方向の両側)には、外周コネクタ34における切欠き60,60と略対応する形状とされた一対の位置決め突起82,82が突出形成されている。
なお、内周コネクタ36において、挿入部42よりも基端側は、挿入部42と略等しいか僅かに小さい外径寸法をもって略ストレートに延びているとともに、基端側開口部84には、外周側に突出する略環状のフランジ部86が形成されている。当該フランジ部86の外周面には雄ねじが形成されており、後述する外部流路(シリンジ124)の接続時において、ルアーロックタイプの外部流路を接続することが可能とされている。また、本実施形態では、かかるフランジ部86の周上の一部(図2中の上方)において、軸方向に延びる位置決め凹溝88が形成されている。これにより、例えば本実施形態の弁付き針組立体10を外針ユニットとして、図示しない内針ユニットと組み合わせて留置針組立体として使用する際に、内針ユニットを構成する内針ハブから先端側に突出する位置決め凸部が位置決め凹溝88に差し入れられることで、内針ユニットと外針ユニット(弁付き針組立体10)との相対回転が防止されるようになっている。
ここで、接続コネクタ28の内部において、外周コネクタ34と内周コネクタ36との間には、ディスク弁14が収容配置されている。このディスク弁14は、略円板形状とされており、ゴムやエラストマーなどの弾性を有する材質により形成されている。そして、当該ディスク弁14の中央部分90には、軸方向で貫通するスリット92が形成されている。このスリット92の形状は限定されるものではないが、本実施形態では、周方向の三方に略均等(略120°毎)に延びる放射状とされている。
なお、接続コネクタ28に組み付けられる以前のディスク弁14の単品状態では、ディスク弁14の外径寸法が外周コネクタ34の、特に押圧リブ54の形成位置における内径寸法より大きくされており、接続コネクタ28に組み付けられることで、押圧リブ54によりディスク弁14に対して外周側から内周側に向かって径方向の押圧力が及ぼされて、スリット92が安定して閉塞状態とされるようになっている。すなわち、外周コネクタ34の内周面46(46a)に設けられた押圧リブ54により、ディスク弁14の外周面が内周側に圧縮されるようになっている。
かかるディスク弁14の外周部分には、基端側に延びる筒状支持部94が設けられている。また、ディスク弁14の基端側面96における外周部分において、筒状支持部94よりも内周側には、周方向の全周に亘って連続して延びるとともに基端側に開口する環状の周溝98が形成されている。尤も、かかる筒状支持部94は必須なものではない。また、周溝98は必須なものではなく、ディスク弁14の基端側面96に支持筒部74の先端を押し込むことで周溝98が形成されるようになっていてもよい。
ここで、内周コネクタ36の内周側において、ディスク弁14よりも基端側には、筒状の押し子100が収容されており、当該押し子100の中央には、軸方向に貫通する内孔102が形成されている。
かかる押し子100の内径寸法は、軸方向の略全長に亘って略一定とされている一方、押し子100の外周面103には、軸方向中間部分において、軸直角方向に広がる環状の段差面104が形成されている。すなわち、押し子100の外径寸法は、当該段差面104に対して先端側に隣接する部分が、基端側に隣接する部分よりも大径とされており、段差面104よりも基端側が、略一定の外径寸法とされたストレート状外周面106とされている。一方、段差面104よりも先端側は、当該段差面104に対して先端側に隣接する部分を最大外径部分として、先端側に向かって次第に小径となるテーパ面としてのテーパ状外周面108とされている。したがって、押し子100の外周面103が、段差面104とストレート状外周面106とテーパ状外周面108とを含んで構成されている。また、かかるテーパ状外周面108の形成部位における基端部分が、それよりも基端側に位置するストレート状外周面106よりも外周側に突出する環状の外周突部110とされており、即ち当該外周突部110の基端側端面が段差面104とされている。
なお、本実施形態の押し子100では、段差面104よりも先端側における内径寸法が、先端側に向かって次第に小径となっている。これにより、先細形状とされる押し子100の先端部分においてもある程度の径方向寸法を確保することができて、後述するディスク弁14への挿入時における破損が回避されるなど、押し子100の先端部分における耐久性の向上が図られている。
そして、本実施形態では、後述するように、押し子100における段差面104よりも先端側、即ちテーパ状外周面108の先端部分が、外部流路(シリンジ124)の接続時において押し子100が先端側に移動せしめられた際にディスク弁14に挿入される挿入先端部分(図5参照)とされている。また、本実施形態では、内部流路18の連通状態(押し子100が先端側に移動してディスク弁14が押し開かれた状態)下において、押し子100の最先端部(後述する貫通先端部128)がディスク弁14から更に先端側に突出している。これにより、かかる弾性弁体(ディスク弁14)の押し開き状態下において、ディスク弁14に対して当接状態とされた挿入領域112は、押し子100においてテーパ状外周面108とされた先端部分のうち、軸方向中間部分に設定されている(図5参照)。
本発明では、後述するように、かかる挿入領域112においてテーパ面や段差面などにより先細状とされた部分が設けられて、押し開き状態に保持されたディスク弁14が、これらテーパ面および/または段差面と当接するようになっていればよい。なお、本実施形態では、テーパ状外周面108における基端側傾斜面116(後述)の軸方向中間部分から先端側傾斜面114(後述)の軸方向中間部分においてが、弾性変形せしめられたディスク弁14に当接する挿入領域112とされており、当該挿入領域112の外周面が、全体として先細状のテーパ面113(図5参照)とされている。そして、かかる挿入領域112の外周面(テーパ面113)を含んでテーパ状外周面108が構成されている。なお、かかる挿入領域112と後述する貫通先端部128を含めた部分(図5中の挿入先端部分)の軸方向寸法は何等限定されるものではないが、押し子100の先端から2mm以上であることが好ましく、より好ましくは4mm以上において外周面がテーパ状とされる。また、押し子100の先端から2mm~8mmの範囲内の外周面がテーパ状とされることが好適であり、より好適には4mm程度、例えば5mm~6mmの範囲内とされる。
すなわち、本実施形態では、テーパ状外周面108が、全体として先細形状として形成されており、それぞれ先細形状とされた先端側傾斜面114と基端側傾斜面116と、これら両傾斜面114,116をテーパ状外周面108(挿入領域112)の軸方向中間部分において接続する先細形状の急傾斜面118とを含んで構成されている。要するに、テーパ状外周面108において、急傾斜面118よりも先端側には相対的に小径とされた先細形状の先端側傾斜面114が設けられているとともに、急傾斜面118よりも基端側には相対的に大径とされた先細形状の基端側傾斜面116が設けられている。これら先端側傾斜面114、基端側傾斜面116、急傾斜面118は、それぞれ周方向の全周に亘って延びる環状テーパ面とされている。なお、基端側傾斜面116が先端側傾斜面114よりも外周側に突出していることから、例えばテーパ状外周面108が先端側傾斜面114の傾斜角度と等しい単一の傾斜角度を有する場合に比して、ディスク弁14への押し子100の挿入時におけるシール性の向上も図られ得る。
これら先端側傾斜面114、基端側傾斜面116、急傾斜面118の軸方向に対する傾斜角度α,β,γ(図3参照)は、何れも何等限定されるものではないが、本実施形態では、各傾斜角度α,β,γが、それぞれ0度~90度の範囲内に設定されている。特に、急傾斜面118における軸方向に対する傾斜角度γが、先端側傾斜面114および基端側傾斜面116における軸方向に対する傾斜角度α,βよりも大きくされている(α<γ,β<γ)。また、先端側傾斜面114における軸方向に対する傾斜角度αが、基端側傾斜面116における軸方向に対する傾斜角度βよりも大きくされている(β<α)。さらに、これら先端側傾斜面114、基端側傾斜面116、急傾斜面118が、軸方向でそれぞれ略一定の傾斜角度を有している。
なお、かかる挿入領域112の外周面(テーパ面113)において、水平方向に対する傾斜角度θ(図5参照)は、1度~75度の範囲内に設定されることが好適であり、より好適には、5度~75度の範囲内に設定される。テーパ面113の傾斜角度θが上記範囲内に設定されることにより、後述するように、シリンジ124の抜去時において押し子100に対して基端側への移動力を有効に及ぼすことができる。ここで、テーパ面113の傾斜角度θとは、挿入領域112の先端と基端とを仮想的に結ぶ直線の傾斜角度であって、例えば先端側傾斜面114や基端側傾斜面116、急傾斜面118の傾斜角度α,β,γの何れか1つまたは複数が部分的に上記範囲内から外れていてもよい。
尤も、テーパ状外周面108は、本実施形態のように軸方向で傾斜角度を異ならせる必要はなく、軸方向の略全長に亘って略一定の傾斜角度を有していてもよい。また、本実施形態では、先端側傾斜面114と急傾斜面118、および急傾斜面118と基端側傾斜面116とが、それぞれ滑らかな湾曲面で接続されており、これにより、テーパ状外周面108の略全体が、滑らかに連続している。なお、先端側傾斜面114と急傾斜面118、および/または急傾斜面118と基端側傾斜面116とは、屈曲して接続されていてもよい。
このように、テーパ状外周面108に比較的傾斜角度の大きい急傾斜面118が設けられることで、シリンジ124の抜去時において、急傾斜面118に及ぼされるディスク弁14の弾性的な復元力における軸方向成分を増大させることができることから、押し子100をより安定して基端側に移動させることができる。
また、押し子100の外周面103における軸方向中間部分、即ちストレート状外周面106には、外周側に突出する後方支持部120が設けられている。かかる後方支持部120は、周方向の略全周に亘って延びる略環状とされており、当該後方支持部120の先端側端面が軸直角方向に広がる環状面とされている。
そして、かかる押し子100が接続コネクタ28(内周コネクタ36)に収容配置された状態において、内周コネクタ36における係合突部(内周突部)68と押し子100における後方支持部120との軸方向間には、ばね部材として金属製のコイルスプリング122が、ストレート状外周面106の外周側に外挿されている。すなわち、かかるコイルスプリング122の先端側端部(前端部)が係合突部68に固定されて支持されているとともに、コイルスプリング122の基端側端部(後端部)が後方支持部120に固定されて支持されている。したがって、本実施形態では、コイルスプリング122の前端部を支持する前方支持部が、係合突部(内周突部)68により構成されている。そして、図2,3などに示されるシリンジ124の接続以前の初期状態において、かかるコイルスプリング122が、略非圧縮状態(略自然長)で配されている。
以上の如き構造とされた外周コネクタ34と内周コネクタ36とを含んで接続コネクタ28が構成されており、当該接続コネクタ28の内部に、ディスク弁14および押し子100が収容配置されている。
すなわち、内周コネクタ36の先端側開口部から押し子100が挿入されて配設される。その際、押し子100の基端位置は、内周コネクタ36の内周面66に設けられた係合突部68と、押し子100の外周面103に設けられた段差面104とが相互に当接することで規定される。また、かかる押し子100の収容状態では、押し子100のストレート状外周面106と係合突部68の内周面とが当接しているか僅かに離隔しているとともに、押し子100のテーパ状外周面108の基端部分(基端側傾斜面116の基端部分、即ちテーパ状外周面108の最大外径部分)における外周面と内周コネクタ36の案内面70とが当接しているか僅かに離隔している。これにより、押し子100が、内周コネクタ36の内周面66に案内されつつ、軸方向で移動可能とされている。
そして、かかる内周コネクタ36の先端部分において、ディスク弁14の筒状支持部94が被せられて支持されている。すなわち、ディスク弁14の基端側面96に設けられた周溝98内に、内周コネクタ36の先端となる支持筒部74の先端部分が挿入されている。本実施形態では、支持筒部74の先端部分の内外周面が、周溝98の内面を構成する内外周面にそれぞれ当接しているか、僅かに離隔している。なお、支持筒部74の先端面と周溝98の溝底面との軸方向間には隙間が設けられてもよい。
また、ディスク弁14の筒状支持部94における内周面が支持筒部74の外周面に当接しており、ディスク弁14の基端側に対して内周コネクタ36の先端部分が嵌め入れられている。そして、本実施形態では、かかるディスク弁14の支持状態において、ディスク弁14の基端側面96に対して押し子100の先端が当接しており、押し子100が、ディスク弁14と係合突部68との軸方向間で位置決めされている。なお、押し子100の先端は、必ずしもディスク弁14の基端側面96と当接する必要はなく、押し子100の先端とディスク弁14の基端側面96とが軸方向で相互に離隔していてもよい。
かかるディスク弁14の先端側から外周コネクタ34が組み付けられている。すなわち、先端にディスク弁14を被せて支持した状態で内周コネクタ36の先端部分を外周コネクタ34の基端側開口部58から挿入して、内周コネクタ36の係合突起76,76を外周コネクタ34の係合孔56,56に係合させることにより、外周コネクタ34と内周コネクタ36とが内外挿状態で、且つ軸方向で直列して略同一中心軸上で連結固定される。
本実施形態では、係合突起76,76の先端側端面が傾斜面78,78とされていることから、係合孔56,56内への係合突起76,76の嵌まり込みが容易とされている。また、係合突起76,76の基端側端面が垂直面80,80とされていることから、係合孔56,56からの係合突起76,76の抜出し、即ち外周コネクタ34からの内周コネクタ36の抜出しが防止されている。
また、本実施形態では、外周コネクタ34の基端側開口部58には、傾斜面62,62を含んで構成される傾斜溝64,64が形成されていることから、外周コネクタ34への内周コネクタ36の挿入に際して、傾斜溝64,64に係合突起76,76が差し入れられることで、外周コネクタ34と内周コネクタ36との周方向の相対回転が防止され得る。また、傾斜面62,62の案内作用によって係合突起76,76が安定して係合孔56,56まで案内されることから、係合突起76,76がより確実に係合孔56,56に係合され得る。
更にまた、内周コネクタ36を外周コネクタ34に挿入する際、外周コネクタ34の基端側開口部58に設けられた切欠き60,60に内周コネクタ36の位置決め突起82,82を挿入することにより、外周コネクタ34と内周コネクタ36とが周方向で容易に位置決めされて、係合突起76,76が一層確実に係合孔56,56に係合され得る。
そして、かかる外周コネクタ34と内周コネクタ36との組付状態では、ディスク弁14の外周部分が、相互に組み付けられた外周コネクタ34と内周コネクタ36との間で軸方向および軸直角方向に位置決めされて保持されることにより、ディスク弁14が、外周コネクタ34と内周コネクタ36とに嵌め合わされた嵌合状態で組み付けられている。すなわち、ディスク弁14の外周部分が、外周コネクタ34に設けられた環状壁部50の基端側端面である段差面52と内周コネクタ36の先端部分である支持筒部74との軸方向間で挟持されている。また、ディスク弁14において基端側に突出する筒状支持部94が、外周コネクタ34の周壁38と支持筒部74との径方向間において、好適には圧縮状態で挟持されている。さらに、ディスク弁14が、外周コネクタ34の周壁38の、特に押圧リブ54により、径方向内方に圧縮されて組み付けられている。
なお、これら外周コネクタ34、内周コネクタ36、ディスク弁14および押し子100の組付けを、例えば先端側を上方にして組み付けることにより、組付時における内周コネクタ36からのディスク弁14の脱落などが効果的に防止されて、組付効率の向上が図られ得るが、これらの部材を組み付ける際の方向などは何等限定されるものではない。
以上の如きカニューラ12と針ハブ本体24と弾性チューブ26と内部にディスク弁14および押し子100を備える接続コネクタ28とを軸方向で連結することにより、本実施形態の弁付き針組立体10が構成されている。かかる弁付き針組立体10は、例えば弁付き針組立体10を外針ユニットとして、針先を備える内針を含んで構成される図示しない内針ユニットが挿通されることで止血弁付きの留置針組立体として使用される。すなわち、外針ユニット(弁付き針組立体)10に内針ユニットが挿通された状態で患者の皮膚に穿刺された後、外針ユニット10から内針ユニットを基端側に引き抜くことにより、患者の血管に外針ユニット10が経皮的に挿し入れられた状態で留置される。または、カニューラ12が、針先を有する金属製などの中空針とされることで、弁付き針組立体10を患者の血管に直接穿刺して留置することも可能である。なお、かかる血管への留置状態では、弁付き針組立体10の内部流路18がディスク弁14により遮断されている。
そして、かかる弁付き針組立体10における接続コネクタ28の基端側開口部(内周コネクタ36の基端側開口部)84に、外部流路として、例えばシリンジ124が接続される。これにより、図4,5に示されるように、シリンジ124などの雄ルアー126が押し子100を先端側へ押し込んで、当該押し子100の先端部分がディスク弁14に挿入されることで、ディスク弁14の中央部分90が先端側に押し広げられつつディスク弁14のスリット92が開放されて、内部流路18が連通状態とされるようになっている。これにより、カニューラ12の内孔、弾性チューブ26の内孔および押し子100の内孔102を含んで構成される内部流路18を通じて、輸液や採血、血液透析などが実施され得る。
本実施形態では、押し子100の先端部分において基端側傾斜面116の軸方向中間部分から先端側がディスク弁14に挿入されて中央部分90が押し開かれるようになっており、かかる押し子100の先端部分においてディスク弁14と当接する部分が挿入領域112とされている。すなわち、押し子100がディスク弁14に挿入されることで、先端側に弾性変形せしめられたディスク弁14と押し子100の挿入領域112の外周面(テーパ面113)とが相互に当接するようになっており、挿入領域112の外周面(テーパ面113)、要するに先端側傾斜面114から基端側傾斜面116に跨って、ディスク弁14の弾性的な復元力が及ぼされるようになっている。この結果、ディスク弁14の弾性的な復元力により、押し子100にはディスク弁14(および当該ディスク弁14を保持する接続コネクタ28)に対して基端側に向かう方向の付勢力が及ぼされている。
特に、本実施形態では、かかるディスク弁14の押し開き状態において、押し子100の先端部分がディスク弁14を貫通して当該ディスク弁14から先端側(前方)に突出するようになっており、押し子100の先端部分においてディスク弁14を貫通する貫通先端部128が設けられている。すなわち、かかる貫通先端部128の外周面130は、先端側傾斜面114の先端部分により構成されており、貫通先端部128の外周面130を含んで押し子100の先端部分の外周面であるテーパ状外周面108が構成されている。
また、かかるシリンジ124の接続状態、即ち押し子100が先端側に移動した状態では、内周コネクタ36における係合突部68と押し子100における後方支持部120とが軸方向で相互に接近せしめられることから、これら係合突部68および後方支持部120間に設けられるコイルスプリング122が軸方向で圧縮される。したがって、このように押し子100が先端側に移動した状態(ディスク弁14を押し開いた状態)では、コイルスプリング122の弾性的な復元力により、押し子100には、接続コネクタ28に対して基端側に向かう方向の付勢力が及ぼされている。
一方、輸液や採血、血液透析の終了時または中断時において、接続コネクタ28からシリンジ124を抜去することで、ディスク弁14およびコイルスプリング122により及ぼされる付勢力に従い、押し子100が基端側に移動せしめられるようになっている。すなわち、ディスク弁14およびコイルスプリング122の弾性的な復元作用によりディスク弁14およびコイルスプリング122が初期形状に復元変形せしめられるとともに、復元変形したディスク弁14およびコイルスプリング122に押し戻されて、押し子100が前記図1~3に示される初期位置まで基端側に移動させられるようになっている。これにより、ディスク弁14のスリット92が閉塞せしめられて、内部流路18が遮断状態とされるようになっている。なお、本実施形態では、かかる押し子100の基端側への移動端が、押し子100の外周面103に設けられた段差面104と、接続コネクタ28(内周コネクタ36)の内周面66に設けられた係合突部68との当接によって規定されるようになっている。
すなわち、本実施形態では、シリンジ124の抜去に伴い、ディスク弁14の弾性的な復元力が押し子100に対して基端側への押し戻し力として及ぼされるとともに、コイルスプリング122の弾性的な復元力が押し子100に対して基端側への押し戻し力として及ぼされるようになっている。これにより、ディスク弁14の復元力とコイルスプリング122の復元力とが協働して押し子100を基端側に押し戻すことから、押し子100が安定して基端側に移動するようになっている。
特に、コイルスプリング122による復元力を小さく抑えることができることから、コイルスプリング122、ひいては弁付き針組立体10の小型化が図られる。それに加えて、コイルスプリング122を支持する接続コネクタ28(内周コネクタ36)や押し子100に及ぼされるコイルスプリング122の復元力も小さく抑えられることから、接続コネクタ28や押し子100において必要とされる部材強度も小さく抑えられて、接続コネクタ28や押し子100の小型化も図られ得る。さらに、コイルスプリング122の復元力を小さく抑えることで、シリンジ124の挿入接続時に使用者が抵抗感(反発感)を感じるおそれも低減されて、操作性の向上が図られ得る。具体的には、ISO規格の医療用雄テーパコネクタがISO規格の医療用雌テーパコネクタである接続コネクタ28(内周コネクタ36)に挿入されてテーパ嵌合した際(本実施形態では、弾性弁体(ディスク弁14)の押し開き状態)のコイルスプリング122の反発力Fが、従来構造の弁付き針組立体では約300gfより大きくされる(約300gf<F)のに対して、本実施形態では、10gf<F<200gfの範囲内とすることができる。すなわち、本実施形態では、押し子100のテーパ状外周面108にディスク弁14が当接した状態でのコイルスプリング122の反発力Fが10gf<F<200gfの範囲内に設定されている。具体的には、針ハブ16の基端側端面から押し子100の基端側端面までの距離が6mmとなる押し子100の先端側への移動位置において、圧縮せしめられたコイルスプリング122の反発力Fが、10gf<F<200gfの範囲内に設定されている。
また、押し子100の先端部分(挿入領域112)における外周面(テーパ面113)が先細のテーパ形状とされることから、ディスク弁14の弾性的な復元力が、押し子100の基端側への移動力として有効に及ぼされ得る。すなわち、前記特許文献1に記載された弁付き針組立体のように押し子の先端部分の外周面が略直線状とされる場合、相互に当接する押し子の外周面と弾性弁体(ディスク弁)との摩擦により押し子が基端側に戻りにくく、それ故にコイルスプリングの反発力を大きくしなければならないという問題があったが、本実施形態のように押し子100の先端部分を先細のテーパ形状とすることで、ディスク弁14の弾性的な復元力を、押し子100の基端側への押し戻し力として効率的に得ることができる。特に、本実施形態では、押し子100が、先端側への移動時にディスク弁14を貫通して先端側へ突出する貫通先端部128を備えており、当該貫通先端部128の外周面130が先細のテーパ形状とされていることから、押し子100の基端側への移動時にディスク弁14と貫通先端部128の外周面130とが相互に当接することで、ディスク弁14の弾性的な復元力を押し子100の基端側への移動力として有効に得ることができる。
更にまた、上記の如き構成を採用することで、押し子100が基端側に移動し易くなるが、押し子100と接続コネクタ28とが外周突部110および内周突部(係合突部)68において相互に当接することで押し子100の基端側への移動端が規定されることから、接続コネクタ28からの押し子100の脱落が効果的に防止され得る。
また、本実施形態では、接続コネクタ28の係合突部68と押し子100の後方支持部120との軸方向間、即ち押し子100における基端側にコイルスプリング122を配設していることから、例えば押し子100の先端部分の外周側にコイルスプリング122が配設されることが回避される。それ故、ディスク弁14に挿入される押し子100の先端部分(挿入領域112)における形状設計自由度が向上されて、挿入領域112を適切な形状に設計することが可能となる。
特に、本実施形態では、接続コネクタ28(内周コネクタ36)の内周面66から内周側に突出する係合突部68を巧く利用して、上記の如き押し子100の基端側への移動規制とコイルスプリング122の先端部の支持が両立して実現され得る。
さらに、本実施形態の針ハブ16は接続コネクタ28を含んで構成されており、当該接続コネクタ28が、外周コネクタ34と内周コネクタ36とを相互に内外挿することで構成されている。そして、これら外周コネクタ34と内周コネクタ36との間にディスク弁14が挟まれて支持されていることから、ディスク弁14の接続コネクタ28(内周コネクタ36)への組付けが容易とされ得る。特に、ディスク弁14には基端側に突出する筒状支持部94が設けられており、当該筒状支持部94が外周コネクタ34と内周コネクタ36との径方向間で圧縮状態で支持されることで、シリンジ124接続時、即ち押し子100が先端側に移動した際の接続コネクタ28からのディスク弁14の先端側への抜落ちが効果的に防止され得る。
以上、本発明の実施形態について説明してきたが、本発明はかかる実施形態における具体的な記載によって限定的に解釈されるものでなく、当業者の知識に基づいて種々なる変更、修正、改良などを加えた態様で実施可能である。
たとえば、前記実施形態では、押し子100の基端部分(ストレート状外周面106の形成部分)においてコイルスプリング(ばね部材)122が外挿されていたが、押し子100の先端部分(テーパ状外周面108の形成部分)においてコイルスプリング122が外挿されてもよい。すなわち、例えば押し子100の軸方向中間部分の外周面103に設けられた後方支持部120と、内周コネクタ36の先端部分(例えば、支持筒部74)の内周面(案内面70)に設けられた前方支持部との軸方向間にコイルスプリング122が設けられてもよいし、かかるコイルスプリング122の先端側端部がディスク弁14の基端側面96に固定されてもよい。なお、かかる場合において、後方支持部120は押し子100の基端側への移動を規制する外周突部110によって構成されてもよいし、外周突部110とは別個に形成されてもよい。尤も、かかるコイルスプリング122は、例えば前方支持部がディスク弁14の基端側面96によって構成されるとともに、後方支持部120が押し子100の基端部分の外周面103に設けられることで、押し子100の軸方向略全長に亘る長さ寸法をもって形成されてもよい。なお、コイルスプリング122の先端側端部がディスク弁14に固定される場合、ディスク弁14の弾性変形に伴いコイルスプリング122が傾いたりして安定しないおそれがあることから、コイルスプリング122の先端側端部は、内周コネクタ36や押し子100など硬質の部材に固定されることが好ましい。
また、ばね部材は、前記実施形態の如き金属製のコイルスプリング122に限定されるものではなく、ゴムやエラストマーによって形成されてもよい。さらに、ばね部材は、前記実施形態の如き線状(コイル状)に限定されるものではなく、蛇腹筒状やブロック状などであってもよい。
更にまた、前記実施形態では、シリンジ124が接続されることで(押し子100が先端側に移動することで)ばね部材(コイルスプリング122)が圧縮変形する態様を例示したが、引張変形とされてもよい。すなわち、シリンジ124を抜去することでばね部材が初期形状に弾性的に復元変形せしめられて、これにより押し子100に対して引き戻し力が及ぼされるようになっていてもよい。かかるシリンジ124の接続に伴い引張変形せしめられるコイルスプリング122は、例えば押し子100の外周突部110と内周コネクタ36の係合突部68との軸方向間に設けられる。
さらに、前記実施形態では、テーパ状外周面108が、それぞれ傾斜角度の異なる先端側傾斜面114と基端側傾斜面116と急傾斜面118とを含んで構成されていたが、かかる態様に限定されるものではなく、例えば先端側傾斜面114または基端側傾斜面116と急傾斜面118との傾斜角度が等しくされて実質的に2つの傾斜面により構成されるようにしてもよいし、先端側傾斜面114と基端側傾斜面116の傾斜角度が等しくされてもよい。あるいは、各傾斜面114,116,118の傾斜角度がそれぞれ等しくされて、テーパ状外周面108が、実質的に単一の傾斜面から構成されるようになっていてもよい。尤も、急傾斜面118は軸直角方向に広がって段差状面とされてもよく(γ=90°)、かかる場合であっても、押し開かれたディスク弁14が段差状面(急傾斜面118)に当接してディスク弁14の弾性的な復元力が段差状面(急傾斜面118)に及ぼされることで、押し子100に対して安定して基端側への押し戻し力が及ぼされる。すなわち、押し子100の先端部分(挿入領域112)には段差状面が設けられてもよく、全体として先細形状となっていればよい。
なお、前記実施形態では、シリンジ124が接続された状態(押し子100が先端側に移動した状態)において、押し子100の最先端部が貫通先端部128とされてディスク弁14を貫通して当該ディスク弁14よりも先端側まで突出するようにされていたが、押し子100の最先端部はディスク弁14を貫通することなく、ディスク弁14を押し開くようになっていてもよい。
また、前記実施形態では、急傾斜面118よりも先端側および基端側にそれぞれ先細状の先端側傾斜面114および基端側傾斜面116が設けられており、即ち先端側傾斜面114の傾斜角度αおよび基端側傾斜面116の傾斜角度βがそれぞれ0度~90度の範囲内とされていたが、かかる態様に限定されるものではない。たとえば、先端側傾斜面114の傾斜角度αおよび/または基端側傾斜面116の傾斜角度βは0度とされてもよく、即ち急傾斜面118よりも先端側および/または基端側は軸方向と平行に延びていてもよい。かかる場合であっても、少なくとも押し開かれたディスク弁14と急傾斜面118とが当接して急傾斜面118にディスク弁14の弾性的な復元力が及ぼされることで、押し子100が安定して基端側に押し戻され得る。
なお、前記実施形態では、押し子100の先端部分において先細形状を呈するテーパ状外周面108が、押し子100の先端から軸方向で所定長さに亘って設けられていたが、例えば押し子100の外周面103は、軸方向の略全長に亘る先細のテーパ形状とされてもよいし、1つまたは複数の段差状面を有する階段状とされてもよい。
また、前記実施形態では、針ハブ16が、針ハブ本体24と弾性チューブ26と接続コネクタ28とを含んで構成されていたが、例えば弾性チューブ26は必須なものではなく、針ハブ本体24と接続コネクタ28とは一体的に形成されてもよい。すなわち、例えば接続コネクタ28の先端からカニューラ12が突出していてもよい。
さらに、前記実施形態では、接続コネクタ28が、相互に内外挿される外周コネクタ34と内周コネクタ36とを含んで構成されていたが、例えば一体として形成されてもよい。また、別体の部材を相互に固定して形成する場合であっても、相互に内外挿される態様に限定されるものではなく、例えば軸方向で連結固定されてもよい。更にまた、別体の部材を相互に固定する固定手段は、前記実施形態の如き凹凸係合に限定されるものではなく、接着や溶着など従来公知の固定手段が何れも採用され得る。
また、本発明は、もともと以下(i)~(v)に記載の各発明を何れも含むものであり、その構成および作用効果に関して、付記しておく。
本発明は、
(i) 中空針の基端側に設けられた針ハブの内部に弾性弁体が配されており、前方への移動で該弾性弁体を押し開く筒状の押し子が設けられた弁付き針組立体において、前記弾性弁体の押し開き状態で該弾性弁体へ挿し入れられる前記押し子の挿入領域の外周面が先細状とされて、該弾性弁体の弾性による後方への押し戻し力が該押し子へ及ぼされるようになっていると共に、該押し子の前方への移動により変形されるばね部材が設けられて、該弾性弁体の押し開き状態で変形された該ばね部材の復元力が該押し子に対して後方への戻し力として及ぼされるようになっていることを特徴とする弁付き針組立体、
(ii) 前記押し子の外周面に設けられた外周突部と、前記針ハブの内周面に設けられた内周突部とが相互に当接することで該押し子の基端側への移動端が規定されるようになっている(i)に記載の弁付き針組立体、
(iii) 前記針ハブの内周面に突出する前方支持部が設けられている一方、前記押し子の軸方向中間部分には外周面に突出する後方支持部が設けられており、該前方支持部と該後方支持部との軸方向間に前記ばね部材が配されている(i)又は(ii)に記載の弁付き針組立体、
(iv) 前記押し子の挿入領域の外周面が先細状のテーパ面とされており、該テーパ面の傾斜角度が、1~75度の範囲内に設定されている(i)~(iii)の何れか1項に記載の弁付き針組立体、
(v) 前記押し子の外周面には先細状のテーパ面が設けられていると共に、該押し子の先端部分には、前記弾性弁体の押し開き状態で該弾性弁体を貫通して前方に突出する貫通先端部が設けられており、該貫通先端部の外周面を含んで該テーパ面が形成されている(i)~(iv)の何れか1項に記載の弁付き針組立体、
に関する発明を含む。
上記(i)に記載の発明では、外部流路の抜去時において、弾性弁体の弾性的な復元力(押し戻し力)が押し子に及ぼされるとともに、ばね部材の弾性的な復元力が押し子に及ぼされることから、弾性弁体の復元力とばね部材の復元力とが協働して、押し子を基端側に戻すようになっている。これにより、前記特許文献1のようにばね部材の復元力のみで押し子を基端側に移動させることがなく、大きなばね部材の復元力を必要とすることが回避される。それ故、ばね部材の大型化やばね部材を支持する部材への影響が回避されるとともに、外部流路の挿入接続時において使用者が抵抗感(反発感)を感じるおそれも回避されて、良好な操作性が発揮され得る。
また、押し子の挿入領域が先細状とされていることから、例えば前記特許文献1のように押し子の外周面が略直線状とされている場合に比べて、弾性弁体の弾性的な復元力が押し子に対して基端側への押し戻し力として及ぼされ易く、押し子をスムーズ、且つ安定して基端側へ移動させることができる。
上記(ii)に記載の発明では、押し子が弾性弁体とばね部材との弾性的な復元力により基端側へ戻されることとなるが、特に、例えばばね部材が勢いよく復元変形することに伴う針ハブからの押し子の脱落などが効果的に防止され得る。
上記(iii)に記載の発明では、例えば押し子の先端部分の外周側にばね部材を配設することを回避することも可能となる。これにより、弾性弁体に挿入される挿入領域の形状がばね部材の配設によって制限されることがなく、挿入領域の形状設計自由度が向上され得る。
上記(iv)に記載の発明では、テーパ面の傾斜角度が上記範囲内に設定されることで、弾性弁体の弾性的な復元力が押し子の基端側への押し戻し力として効果的に及ぼされ得る。
上記(v)に記載の発明では、貫通先端部の外周面が先細状のテーパ面とされることから、押し子が基端側に移動する際にも、貫通先端部の外周面と弾性弁体とが相互に当接することで押し子に対して基端側への押し戻し力が安定して及ぼされ得る。
10:弁付き針組立体、12:カニューラ(中空針)、14:ディスク弁(弾性弁体)、16:針ハブ、34:外周コネクタ、36:内周コネクタ、66:針ハブ(内周コネクタ)の内周面、68:係合突部(内周突部、前方支持部)、94:筒状支持部、100:押し子、103:押し子の外周面、108:テーパ状外周面(テーパ面)、110:外周突部、112:挿入領域、113:テーパ面(挿入領域の外周面)、120:後方支持部、122:コイルスプリング(ばね部材)、128:貫通先端部、130:貫通先端部の外周面

Claims (4)

  1. 中空針の基端側に設けられた硬質の針ハブの内部に弾性弁体が配されており、前方への移動で該弾性弁体を押し開く筒状の押し子が設けられた弁付き針組立体において、
    前記弾性弁体の押し開き状態で該弾性弁体へ挿し入れられる前記押し子の挿入領域の外周面が先細状とされて、該弾性弁体の弾性による後方への押し戻し力が該押し子へ及ぼされるようになっていると共に、
    該押し子の前方への移動により変形されるばね部材が設けられて、該弾性弁体の押し開き状態で変形された該ばね部材の復元力が該押し子に対して後方への戻し力として及ぼされるようになっており、且つ、
    前記ばね部材としてのコイルスプリングが前記押し子への外挿状態で装着されて、前記針ハブと該押し子との径方向間に該コイルスプリングが配されていると共に、
    該コイルスプリングが該押し子において先細状とされた外周面の形成部分よりも後方に位置しており、且つ、
    該針ハブの内周面に突出する前方支持部と該押し子の外周面に突出する後方支持部との間に配されており、
    該コイルスプリングが全長に亘って該針ハブの内周面よりも該押し子の外周面に接近して配設されていることを特徴とする弁付き針組立体。
  2. 前記押し子の外周面に設けられた外周突部と、前記針ハブの内周面に設けられた内周突部とが相互に当接することで該押し子の基端側への移動端が規定されるようになっている請求項1に記載の弁付き針組立体。
  3. 前記押し子の挿入領域の外周面が先細状のテーパ面とされており、該テーパ面の傾斜角度が、1~75度の範囲内に設定されている請求項1又は2に記載の弁付き針組立体。
  4. 前記押し子の外周面には先細状のテーパ面が設けられていると共に、該押し子の先端部分には、前記弾性弁体の押し開き状態で該弾性弁体を貫通して前方に突出する貫通先端部が設けられており、該貫通先端部の外周面を含んで該テーパ面が形成されている請求項1~の何れか1項に記載の弁付き針組立体。
JP2023076707A 2017-11-09 2023-05-08 弁付き針組立体 Active JP7573166B2 (ja)

Priority Applications (1)

Application Number Priority Date Filing Date Title
JP2023076707A JP7573166B2 (ja) 2017-11-09 2023-05-08 弁付き針組立体

Applications Claiming Priority (2)

Application Number Priority Date Filing Date Title
JP2017216742A JP7381189B2 (ja) 2017-11-09 2017-11-09 弁付き針組立体
JP2023076707A JP7573166B2 (ja) 2017-11-09 2023-05-08 弁付き針組立体

Related Parent Applications (1)

Application Number Title Priority Date Filing Date
JP2017216742A Division JP7381189B2 (ja) 2017-11-09 2017-11-09 弁付き針組立体

Publications (3)

Publication Number Publication Date
JP2023087108A JP2023087108A (ja) 2023-06-22
JP2023087108A5 JP2023087108A5 (ja) 2024-01-17
JP7573166B2 true JP7573166B2 (ja) 2024-10-25

Family

ID=66761751

Family Applications (2)

Application Number Title Priority Date Filing Date
JP2017216742A Active JP7381189B2 (ja) 2017-11-09 2017-11-09 弁付き針組立体
JP2023076707A Active JP7573166B2 (ja) 2017-11-09 2023-05-08 弁付き針組立体

Family Applications Before (1)

Application Number Title Priority Date Filing Date
JP2017216742A Active JP7381189B2 (ja) 2017-11-09 2017-11-09 弁付き針組立体

Country Status (1)

Country Link
JP (2) JP7381189B2 (ja)

Families Citing this family (1)

* Cited by examiner, † Cited by third party
Publication number Priority date Publication date Assignee Title
CN113080956B (zh) * 2021-04-09 2023-05-02 自贡市第一人民医院 一种采血留置针

Citations (3)

* Cited by examiner, † Cited by third party
Publication number Priority date Publication date Assignee Title
JP2011115630A (ja) 2011-03-15 2011-06-16 Medikit Kk 留置用カテーテル
JP2016013360A (ja) 2014-07-03 2016-01-28 ニプロ株式会社 隔壁付きハブ組立体
JP2017514575A (ja) 2014-04-18 2017-06-08 ベクトン・ディキンソン・アンド・カンパニーBecton, Dickinson And Company 複数回使用血液制御安全カテーテルアセンブリ

Family Cites Families (3)

* Cited by examiner, † Cited by third party
Publication number Priority date Publication date Assignee Title
DE3809127C1 (ja) * 1988-03-18 1989-04-13 B. Braun Melsungen Ag, 3508 Melsungen, De
US5156596A (en) * 1991-02-04 1992-10-20 Menlo Care, Inc. Catheter with changeable number of lumens
JP4909097B2 (ja) * 2007-01-17 2012-04-04 日本コヴィディエン株式会社 留置針

Patent Citations (3)

* Cited by examiner, † Cited by third party
Publication number Priority date Publication date Assignee Title
JP2011115630A (ja) 2011-03-15 2011-06-16 Medikit Kk 留置用カテーテル
JP2017514575A (ja) 2014-04-18 2017-06-08 ベクトン・ディキンソン・アンド・カンパニーBecton, Dickinson And Company 複数回使用血液制御安全カテーテルアセンブリ
JP2016013360A (ja) 2014-07-03 2016-01-28 ニプロ株式会社 隔壁付きハブ組立体

Also Published As

Publication number Publication date
JP2019084260A (ja) 2019-06-06
JP7381189B2 (ja) 2023-11-15
JP2023087108A (ja) 2023-06-22

Similar Documents

Publication Publication Date Title
JP7584742B2 (ja) 弁付き針組立体および留置針組立体
JP7482382B2 (ja) 止血弁付留置針および留置針組立体
JP6925319B2 (ja) バルブを備えたカテーテル装置および関連方法
EP3058976A1 (en) Needle safety device and assembly
EP3893984B1 (en) Catheter devices with blood control systems and related methods
JP6617397B2 (ja) 隔壁部材付きハブ組立体
CN110290827B (zh) 具有阀的导管装置及相关方法
JP6718604B2 (ja) 留置針組立体
JP7573166B2 (ja) 弁付き針組立体
JP2023080198A (ja) 弁付き針組立体
JP7112019B2 (ja) 弁付き針組立体
JP6678379B2 (ja) 隔壁付きハブ組立体
JPWO2015141365A1 (ja) カテーテル組立体
JP6858942B2 (ja) 隔壁付きハブ組立体
JP6827698B2 (ja) カテーテル組立体
JP7410453B2 (ja) 弁付き針組立体
JP2024069819A (ja) 雄コネクタ
HK40063750A (en) Catheter devices with blood control systems and related methods
HK40063750B (en) Catheter devices with blood control systems and related methods
HK40014580A (en) Catheter devices with valves and related methods
HK40014580B (en) Catheter devices with valves and related methods

Legal Events

Date Code Title Description
A621 Written request for application examination

Free format text: JAPANESE INTERMEDIATE CODE: A621

Effective date: 20230607

A521 Request for written amendment filed

Free format text: JAPANESE INTERMEDIATE CODE: A523

Effective date: 20240109

A131 Notification of reasons for refusal

Free format text: JAPANESE INTERMEDIATE CODE: A131

Effective date: 20240514

A521 Request for written amendment filed

Free format text: JAPANESE INTERMEDIATE CODE: A523

Effective date: 20240710

TRDD Decision of grant or rejection written
A01 Written decision to grant a patent or to grant a registration (utility model)

Free format text: JAPANESE INTERMEDIATE CODE: A01

Effective date: 20240912

A61 First payment of annual fees (during grant procedure)

Free format text: JAPANESE INTERMEDIATE CODE: A61

Effective date: 20240925

R150 Certificate of patent or registration of utility model

Ref document number: 7573166

Country of ref document: JP

Free format text: JAPANESE INTERMEDIATE CODE: R150