JP7541454B2 - 半導体装置およびその製造方法 - Google Patents

半導体装置およびその製造方法 Download PDF

Info

Publication number
JP7541454B2
JP7541454B2 JP2020148586A JP2020148586A JP7541454B2 JP 7541454 B2 JP7541454 B2 JP 7541454B2 JP 2020148586 A JP2020148586 A JP 2020148586A JP 2020148586 A JP2020148586 A JP 2020148586A JP 7541454 B2 JP7541454 B2 JP 7541454B2
Authority
JP
Japan
Prior art keywords
layer
type
main surface
dislocation suppression
silicon substrate
Prior art date
Legal status (The legal status is an assumption and is not a legal conclusion. Google has not performed a legal analysis and makes no representation as to the accuracy of the status listed.)
Active
Application number
JP2020148586A
Other languages
English (en)
Other versions
JP2022042904A (ja
Inventor
朋弘 今井
芳人 中沢
克己 永久
Current Assignee (The listed assignees may be inaccurate. Google has not performed a legal analysis and makes no representation or warranty as to the accuracy of the list.)
Renesas Electronics Corp
Original Assignee
Renesas Electronics Corp
Priority date (The priority date is an assumption and is not a legal conclusion. Google has not performed a legal analysis and makes no representation as to the accuracy of the date listed.)
Filing date
Publication date
Application filed by Renesas Electronics Corp filed Critical Renesas Electronics Corp
Priority to JP2020148586A priority Critical patent/JP7541454B2/ja
Priority to US17/405,648 priority patent/US11876127B2/en
Priority to CN202111019390.3A priority patent/CN114141854A/zh
Publication of JP2022042904A publication Critical patent/JP2022042904A/ja
Application granted granted Critical
Publication of JP7541454B2 publication Critical patent/JP7541454B2/ja
Active legal-status Critical Current
Anticipated expiration legal-status Critical

Links

Images

Classifications

    • HELECTRICITY
    • H10SEMICONDUCTOR DEVICES; ELECTRIC SOLID-STATE DEVICES NOT OTHERWISE PROVIDED FOR
    • H10DINORGANIC ELECTRIC SEMICONDUCTOR DEVICES
    • H10D12/00Bipolar devices controlled by the field effect, e.g. insulated-gate bipolar transistors [IGBT]
    • H10D12/01Manufacture or treatment
    • H10D12/031Manufacture or treatment of IGBTs
    • H10D12/032Manufacture or treatment of IGBTs of vertical IGBTs
    • H10D12/038Manufacture or treatment of IGBTs of vertical IGBTs having a recessed gate, e.g. trench-gate IGBTs
    • HELECTRICITY
    • H10SEMICONDUCTOR DEVICES; ELECTRIC SOLID-STATE DEVICES NOT OTHERWISE PROVIDED FOR
    • H10DINORGANIC ELECTRIC SEMICONDUCTOR DEVICES
    • H10D12/00Bipolar devices controlled by the field effect, e.g. insulated-gate bipolar transistors [IGBT]
    • H10D12/411Insulated-gate bipolar transistors [IGBT]
    • H10D12/441Vertical IGBTs
    • H10D12/461Vertical IGBTs having non-planar surfaces, e.g. having trenches, recesses or pillars in the surfaces of the emitter, base or collector regions
    • H10D12/481Vertical IGBTs having non-planar surfaces, e.g. having trenches, recesses or pillars in the surfaces of the emitter, base or collector regions having gate structures on slanted surfaces, on vertical surfaces, or in grooves, e.g. trench gate IGBTs
    • HELECTRICITY
    • H10SEMICONDUCTOR DEVICES; ELECTRIC SOLID-STATE DEVICES NOT OTHERWISE PROVIDED FOR
    • H10DINORGANIC ELECTRIC SEMICONDUCTOR DEVICES
    • H10D62/00Semiconductor bodies, or regions thereof, of devices having potential barriers
    • H10D62/10Shapes, relative sizes or dispositions of the regions of the semiconductor bodies; Shapes of the semiconductor bodies
    • H10D62/102Constructional design considerations for preventing surface leakage or controlling electric field concentration
    • HELECTRICITY
    • H10SEMICONDUCTOR DEVICES; ELECTRIC SOLID-STATE DEVICES NOT OTHERWISE PROVIDED FOR
    • H10DINORGANIC ELECTRIC SEMICONDUCTOR DEVICES
    • H10D62/00Semiconductor bodies, or regions thereof, of devices having potential barriers
    • H10D62/10Shapes, relative sizes or dispositions of the regions of the semiconductor bodies; Shapes of the semiconductor bodies
    • H10D62/102Constructional design considerations for preventing surface leakage or controlling electric field concentration
    • H10D62/103Constructional design considerations for preventing surface leakage or controlling electric field concentration for increasing or controlling the breakdown voltage of reverse-biased devices
    • H10D62/105Constructional design considerations for preventing surface leakage or controlling electric field concentration for increasing or controlling the breakdown voltage of reverse-biased devices by having particular doping profiles, shapes or arrangements of PN junctions; by having supplementary regions, e.g. junction termination extension [JTE] 
    • H10D62/106Constructional design considerations for preventing surface leakage or controlling electric field concentration for increasing or controlling the breakdown voltage of reverse-biased devices by having particular doping profiles, shapes or arrangements of PN junctions; by having supplementary regions, e.g. junction termination extension [JTE]  having supplementary regions doped oppositely to or in rectifying contact with regions of the semiconductor bodies, e.g. guard rings with PN or Schottky junctions
    • HELECTRICITY
    • H10SEMICONDUCTOR DEVICES; ELECTRIC SOLID-STATE DEVICES NOT OTHERWISE PROVIDED FOR
    • H10DINORGANIC ELECTRIC SEMICONDUCTOR DEVICES
    • H10D62/00Semiconductor bodies, or regions thereof, of devices having potential barriers
    • H10D62/10Shapes, relative sizes or dispositions of the regions of the semiconductor bodies; Shapes of the semiconductor bodies
    • H10D62/124Shapes, relative sizes or dispositions of the regions of semiconductor bodies or of junctions between the regions
    • H10D62/126Top-view geometrical layouts of the regions or the junctions
    • H10D62/127Top-view geometrical layouts of the regions or the junctions of cellular field-effect devices, e.g. multicellular DMOS transistors or IGBTs
    • HELECTRICITY
    • H10SEMICONDUCTOR DEVICES; ELECTRIC SOLID-STATE DEVICES NOT OTHERWISE PROVIDED FOR
    • H10DINORGANIC ELECTRIC SEMICONDUCTOR DEVICES
    • H10D62/00Semiconductor bodies, or regions thereof, of devices having potential barriers
    • H10D62/10Shapes, relative sizes or dispositions of the regions of the semiconductor bodies; Shapes of the semiconductor bodies
    • H10D62/13Semiconductor regions connected to electrodes carrying current to be rectified, amplified or switched, e.g. source or drain regions
    • H10D62/141Anode or cathode regions of thyristors; Collector or emitter regions of gated bipolar-mode devices, e.g. of IGBTs
    • H10D62/142Anode regions of thyristors or collector regions of gated bipolar-mode devices
    • HELECTRICITY
    • H10SEMICONDUCTOR DEVICES; ELECTRIC SOLID-STATE DEVICES NOT OTHERWISE PROVIDED FOR
    • H10DINORGANIC ELECTRIC SEMICONDUCTOR DEVICES
    • H10D64/00Electrodes of devices having potential barriers
    • H10D64/111Field plates
    • H10D64/117Recessed field plates, e.g. trench field plates or buried field plates
    • HELECTRICITY
    • H10SEMICONDUCTOR DEVICES; ELECTRIC SOLID-STATE DEVICES NOT OTHERWISE PROVIDED FOR
    • H10DINORGANIC ELECTRIC SEMICONDUCTOR DEVICES
    • H10D62/00Semiconductor bodies, or regions thereof, of devices having potential barriers
    • H10D62/60Impurity distributions or concentrations

Landscapes

  • Electrodes Of Semiconductors (AREA)

Description

本発明は、半導体装置およびその製造方法に関し、特にIE(njection nhanced)型IGBT(nsulated ate ipolar ransistor)を有する半導体装置およびその製造方法に適用して有効な技術である。
IE型IGBTの構造の一例として、n型エミッタ層及びp型ベース層を平面視で囲むように形成されたストライプ状のトレンチゲートと、トレンチゲートの外側に配置され、かつ、その一端がトレンチゲートの側面に接するように形成されたp型フローティング層と、p型ベース層の下部に形成されたn型ホールバリア層とを有する構造が知られている(例えば、特許文献1参照)。
また、特許文献1には、IGBTのスイッチング損失を抑制するため、p型フローティング層に蓄積された正孔を排出する経路を供給する目的で、p型フローティング層の他端に接するように形成されたストライプ形状のトレンチエミッタを有する構造が開示されている。更に、特許文献1には、p型ベース層の下部に配置されたn型ドリフト層の下面にn型フィールドストップ層と、p型コレクタ層とを有する構造が開示されている。
特開2017-157733号公報
本発明者は、IGBTの高速スイッチング時のリーク電流の低減、又は、逆バイアス時のリーク電流の低減の観点から、IGBTの裏面側に形成されたn型フィールドストップ層とp型コレクタ層に関して、以下の懸念があることを見出した。
図1Aに示すように、n型単結晶シリコンからなる基板SUBの裏面BSにIGBTのn型フィールドストップ層とp型コレクタ層を形成するために、例えば、n型不純物であるリン(P)とp型不純物であるホウ素(B)を順次シリコン基板の裏面BSにイオン注入し、n型不純物注入層NIと、p型不純物注入層PIを形成する。その後、基板SUBの裏面にレーザアニールLAを施すことにより、不純物注入層NI及びPIを活性化させることによって、図1Bに示すように、n型フィールドストップ層FSLとp型コレクタ層CLを形成する。
このレーザアニールLAにおけるレーザ照射時に、基板SUBの裏面BSの最表面の厚さ0.2μm程度のシリコンが一旦溶融し、溶融層MLが形成される。レーザ照射後、基板SUBの温度が低下し、溶融層MLが再結晶化する。この時、溶融層MLの表面にパーティクルPTLが存在すると、図1Cに示すように、再結晶化時に、パーティクルPTLが起点となり基板SBの裏面BSに転位欠陥DILが形成されることを本発明者は見出した。
この転位欠陥DILがn型フィールドストップ層FSLまで伸びると、IGBTのコレクタ・エミッタ間のリーク不良や逆バイアスリーク不良の懸念になる。IGBTの裏面構造形成プロセスおいて、パーティクルPTLを完全に無くすことができれば、転位欠陥は解決できる。しかしながら、特に高電圧、大電流を扱うIGBTは、通常のLSIチップと比較してチップ面積が大きいので(例えば10mm2以上)、パーティクルPTLを完全に無くすことは、現実的に非常に困難である。
また、IGBTはオン抵抗を低減するために、ドリフト層となるn型シリコン基板の裏面を、研削、研磨することによって薄型化している。このため、基板の裏面に形成されるn型フィールドストップ層及びp型コレクタ層は、基板の主面側にn型エミッタ層、p型ベース層、p型フローティング層、n型ホールバリア層等を順次形成した後に、薄型化された基板の裏面に形成することになる。n型エミッタ層、p型ベース層等の不純物プロファイルを維持するために、n型フィールドストップ層及びp型コレクタ層を形成するための高温の熱処理は、基板全体に施すことが制限される。従って、基板に対して部分的に熱処理を施すことが可能なレーザアニールは、IBGTの製造において、近年、有効な技術となっている。
その他の課題および新規な特徴は、本明細書および図面の記載から明らかになるであろう。
一実施の形態に係る半導体装置は、シリコン基板の裏面にp型コレクタ層を有するIGBTを有し、p型コレクタ層中に、シリコンとヘテロ接合を形成する転位抑制層を有する。転位抑制層は、シリコンゲルマニウム(SiGe)層を有する。
一実施の形態に係る半導体装置によれば、IGBTを有する半導体装置のリーク電流を低減し、高速スイッチングに対応可能なIGBTを提供することができる。
図1Aは、本発明者が検討したIGBTを有する半導体装置の裏面側の製造方法を説明する要部断面図である。 図1Bは、図1Aに続く製造方法を説明する要部断面図である。 図1Cは、図1Bに続く製造方法を説明する要部断面図である。 図2は、一実施の形態に係るIGBTを有する半導体装置の裏面側構造を示す要部断面図である。 図3は、一実施の形態に係るIGBTを有する半導体装置の他の裏面側構造を示す要部断面図である。 図4は、一実施の形態に係るIGBTを有する半導体装置のセル構造を説明する要部断面図である。 図5は、一実施の形態に係るIGBTを有する半導体装置の平面構造を説明する平面図である。 図6は、セル形成領域を説明する図である、図5の領域RRの模式的な拡大平面図である。 図7は、図5のA-A線に沿う模式的な断面図である。 図8は、IGBTを有する半導体装置の裏面側の製造方法を説明する断面図である。 図9は、図8に続く製造方法を説明する断面図である。 図10は、図9に続く製造方法を説明する断面図である。 図11は、図10に続く製造方法を説明する断面図である。 図12は、IGBTを有する半導体装置の裏面側の製造方法を説明する断面図である。 図13は、図12に続く製造方法を説明する断面図である。 図14は、変形例1に係るIGBTを有する半導体装置の裏面側構造を説明する断面図である。 図15は、変形例1に係るIGBTを有する半導体装置の平面図である。 図16は、変形例1に係るIGBTを有する半導体装置の裏面側の製造方法を説明する断面図である。 図17は、図16に続く製造方法を説明する断面図である。 図18は、変形例2に係るIGBTを有する半導体装置の裏面側構造を説明する断面図である。 図19は、変形例2に係るIGBTを有する半導体装置の平面図である。 図20は、変形例2に係るIGBTを有する半導体装置の裏面側の製造方法を説明する断面図である。 図21は、図20に続く製造方法を説明する断面図である。 図22は、変形例3に係るIGBTを有する半導体装置の裏面側構造を説明する断面図である。 図23は、変形例3に係るIGBTを有する半導体装置の平面図である。 図24は、変形例4に係るIGBTを有する半導体装置の裏面側構造を説明する断面図である。 図25は、変形例4に係るIGBTを有する半導体装置の平面図である。 図26は、裏面構造が異なる3つのIGBTの出力特性を示すグラフである。 図27は、シミュレーションに用いたスイッチング回路を示す回路図である。 図28は、シミュレーションにより求めたスイッチング損失の値を説明する図である。 図29は、転位抑制層DSL1aの幅L1と転位抑制層DSL1aの間の幅L2との比(L1/L2)を変えて計算した各IGBTの出力特性の結果である。 図30は、モータ駆動回路の一例を示す回路ブロック図である。 図31は、図30のU相に対応するIGBTとダイオードの動作を説明する回路図である。 図32は、IGBT内に構成された寄生ダイオードを説明する断面図である。 図33は、図31のハイサイド側のIGBTに構成された寄生ダイオードを説明する等価回路図である。
以下、一実施の形態に係る半導体装置について、図面を参照して詳細に説明する。なお、明細書および図面において、同一の構成要件または対応する構成要件には、同一の符号を付し、重複する説明は省略する。また、実施の形態と各変形例との少なくとも一部は、互いに任意に組み合わされてもよい。
図2を用いて、IGBTの裏面側構造を説明する。図2は、一実施の形態に係るIGBTを有する半導体装置の裏面側構造を示す要部断面図である。ここでは、基板SUBの表面US側に形成されるn型エミッタ層、p型ベース層、トレンチゲート、トレンチエミッタ、p型フローティング層及びn型ホールバリア層等は省略して説明する。基板SUBの表面USは第1主面と見做すことができ、基板SUBの裏面BSは第1主面と対向する第2主面と見做すことができる。
図2に示すように、n型シリコンからなる基板SUBの裏面BSにn型半導体層からなるフィールドストップ層FSLと、p型半導体層からなるコレクタ層CLが形成されている。コレクタ層CL中には、シリコンゲルマニウム(SiGe)層からなる転位抑制層DSL1が形成されている。転位抑制層DSL1は、コレクタ層CL中にシリコン層とシリコンゲルマニウム(SiGe)層とで形成されたヘテロ接合HJを供給するように形成される。このヘテロ接合HJにより、基板SUBの裏面BSに図1Bに示したパーティクルPTLが存在したとしても、転位欠陥DILがフィールドストップ層FSL側に延びることを抑制することができるので、エミッタ・コレクタ間の電流リーク、逆バイアス時の電流リークを抑制することができる。
転位抑制層DSL1は、基板SUBの裏面BSの最表面からの深さが、0.2μmより深い位置に配置される。これは、レーザアニールLAにおけるレーザ照射時に、基板SUBの裏面BSの最表面の厚さ0.2μm程度のシリコンが一旦溶融し、溶融層MLが形成されるため、この溶融層MLの影響を避けるためである。このように転位抑制層DSL1をコレクタ層CLの比較的深い位置に配置することによって、転位抑制層DSL1の上下面の両方にヘテロ接合HJを形成することができるので、転位欠陥DILの抑制効果が高い。
また、図3に示すように、転位抑制層の位置を基板SUBの裏面BSの表面の近傍に配置してもよい。この場合、転位抑制層DSL2の裏面BSに近い側は、溶融層MLと重なってヘテロ接合を形成できないが、転位抑制層DSL2の不純物プロファイルは、図2に示した転位抑制層DSL1と比較して、シャープに設定することが可能であるので、IGBTの出力特性を向上することができる。
転位抑制層は、ゲルマニウム(Ge)を基板SUBの裏面BSからイオン注入することで形成するが、図3に示した転位抑制層DSL2は、裏面BSから浅い位置に形成するので、低加速エネルギーのイオン注入(たとえば、150~500keVの範囲)で形成することが可能である。そのため、転位抑制層DSL2の厚さを薄く形成できるので、IGBTの出力特性を向上することができる。
一方、図2に示した転位抑制層DSL1は、転位抑制層DSL2と比較的して、高加速のイオン注入(たとえば、600~900keV)で形成するのでイオン散乱が大きくなり不純物プロファイルがブロードになり、IGBTの出力特性が低下するが、コレクタ層CL中にヘテロ接合HJを2面形成できるので、リーク電流を抑制する効果が高い。すなわち、シリコンゲルマニウム(SiGe)とシリコン(Si)のバンドギャップには差があり、このバンドギャップの差が裏面からのホール注入を阻害する。イオン注入されたゲルマニウム(Ge)の不純物プロファイルがブロードになるということは、バンドギャップが不均一な領域が広がることと同義であり、ホール注入を阻害する効果が強まる。よって、IGBTの出力特性が低下することになる。
図4に、図2で説明した転位抑制層DSL1を有するIE型IGBTの一例を示す。図4に示すように、IE型IGBT100は、n型シリコンで形成された基板SUBの主面側に、トレンチゲートTG、トレンチエミッタTE、p型ベース層BL、n型エミッタ層EL、p型フローティング層FL及びn型ホールバリア層HBLを有する。IE型IGBT100は、更に、n型ホールバリア層HBLの下部に配置されたn型ドリフト層DLと、n型ドリフト層DLの下部に配置されたn型フィールドストップ層FSLと、n型フィールドストップ層FSLの下部に配置されたp型コレクタ層CLと、p型コレクタ層CLの下部に配置されたコレクタ電極CEを有する。コレクタ層CL中には、シリコンゲルマニウム(SiGe)層からなる転位抑制層DSL1が形成されている。p型ベース層BLとn型エミッタ層ELには、層間絶縁膜ILに形成された接続孔CH1を介して、エミッタ電極EEが電気的に接続されている。尚、符号BCは、p型ベース層BLの表面に形成された高濃度のp型ベースコンタクト層である。また、エミッタ電極EEは、層間絶縁膜ILに形成された接続孔CH2を介して、トレンチエミッタTE間に形成されたp型ベース層BLと、トレンチエミッタTEとに電気的に接続されている。絶縁膜FPFがエミッタ電極EEの上側に形成されている。絶縁膜FPFは、例えばポリイミドを主要な成分とする有機絶縁膜などからなるファイナルパッシべーション膜である。
IE型IGBT100は、p型フローティング層FLをソース領域、p型ベース層BLをドレイン領域、トレンチエミッタTEをゲート電極とする寄生Pチャネル型MOSFETを内蔵している。n型ホールバリア層HBLは、寄生Pチャネル型MOSFETのチャネル形成領域を構成する。この寄生Pチャネル型MOSFETによって、IGBTのターンオフ時にp型フローティング層FLに蓄積されたホールが、エミッタ電極EEに短い経路で排出されることにより、スイッチング時間を短縮することができる。また、p型フローティング層FLの電位変動が抑制されるので、トレンチゲートTGの電位が安定化し、スイッチング損失を抑制することができる。これらの効果に加えて、IE型IGBT100は、転位抑制層DSL1を有しているので、エミッタ・コレクタ間の電流リーク、逆バイアス時の電流リークを抑制することができる。
以下、IE型IGBT100を構成する半導体層、絶縁膜、電極の材料及び形状を簡単に説明する。
まず、基板SUBは、リン(P)等のn型不純物が導入された単結晶シリコンで形成され、不純物濃度は、例えば2×1014cm-3程度であり、この濃度がドリフト層DLの不純物濃度となっている。また、基板SUBの厚さは、例えば450μm~1,000μm程度である。
n型ホールバリア層HBLは、基板SUBの表面US側からn型不純物を導入することによって形成される。このn型不純物の導入は、例えばイオン種をリンとし、ドーズ量を6×1012cm-2程度とし、注入エネルギーを200keV程度としたイオン注入を好適なものとして例示することができる。また、n型ホールバリア層HBLは、IE型IGBTの動作時に、正孔がp型ベース層BLに達して排出されることを抑制し、正孔に対しバリアとして機能する。n型ホールバリア層HBLの不純物濃度は、n型ドリフト層DLにおけるn型の不純物濃度よりも高く、かつ、後述するn型エミッタ層ELのn型の不純物濃度よりも低く設定される。
p型フローティング層FLは、基板SUBの表面US側からp型不純物を導入することによって形成される。このp型不純物の導入は、例えばイオン種をボロン(B)とし、ドーズ量を3.5×1013cm-2程度とし、注入エネルギーを75keV程度としたイオン注入を好適なものとして例示することができる。
トレンチゲートTG及びトレンチエミッタTEは、基板SUBの主面にエッチングによって形成されたトレンチ内に埋め込むように形成されたn型不純物ドープの多結晶シリコン層で構成されている。トレンチゲートTG及びトレンチエミッタTEは、ゲート絶縁膜GIによって、基板SUBに形成された半導体層と電気的に分離されている。ゲート絶縁膜GIの厚さは、例えば0.12μm程度である。
トレンチの深さ及び幅は、例えば、3.0μm及び0.5~1.0μmを好適な値として例示することができる。また、トレンチは、平面視において、ストライプ状に形成され、トレンチゲートTG及びトレンチエミッタTEの各々は、ホールバリア層HBLを挟むように互い対向するように配置され、トレンチゲートTGとトレンチエミッタTEの間にp型フローティング層FLが配置される。p型フローティング層FLの厚さ(または、深さ)は、例えば、4~5μmを好適な値として例示することができ、p型フローティング層FLの底面部はトレンチの底面部を覆うように形成され、トレンチゲートTGの底面における電界集中を緩和する。
p型ベース層BLは、基板SUBの表面US側からp型不純物を導入することによって形成される。このp型不純物の導入は、例えばイオン種をボロンとし、ドーズ量を3×1013cm-2程度とし、注入エネルギー75keV程度とするイオン注入を好適なものとして例示することができる。
p型ベース層BLは、トレンチゲートTGの一側面にゲート絶縁膜GIを介して接するように、nホールバリア層HBL上に形成される。また、p型ベース層BLは、トレンチエミッタTEの一側面にゲート絶縁膜GIを介して接するように、nホールバリア層HBL上に形成される。
n型エミッタ層ELは、p型ベース層BLの表面にn型不純物を導入することによって形成される。このn型不純物の導入は、例えばイオン種を砒素とし、ドーズ量を5×1015cm-2程度とし、注入エネルギー80keV程度のイオン注入を好適なものとして例示することができる。
層間絶縁膜ILは、n型エミッタ層EL、p型ベース層BL、p型フローティング層FLを覆うように基板SUBの主面上に形成される。層間絶縁膜ILは、例えばCVD法等により形成されたPSG(Phosphorus Silicate Glass)膜である。層間絶縁膜ILの厚さは、例えば0.6μm程度である。この層間絶縁膜ILの材料としては、PSG膜のほか、BPSG(Boron Phosphorus Silicate Glass)膜、NSG(Non-doped Silicate Glass)膜、SOG(Spin On Glass)膜、またはこれらの複合膜等を好適なものとして例示することができる。
層間絶縁膜ILには、接続孔CH1及びCH2が形成されている。接続孔CH1及びCH2は、例えば、例えばArガス、CHFガス等を使用する異方性ドライエッチングで形成することができる。異方性ドライエッチングにより、接続孔CH1及びCH2から露出する基板SUBの主面の一部がエッチングされ、p型ベース層BLおよびトレンチエミッタTEの途中まで達する接続孔CH1及びCH2が形成される。
p型ベースコンタクト層BCは、接続孔CH1及びCH2を通して、基板SUBの表面にp型不純物を導入することにより形成することができる。このp型不純物の導入は、例えばイオン種をボロンとし、ドーズ量を1×1015cm-2程度とし、注入エネルギー100keV程度とするイオン注入を好適なものとして例示することができる。
エミッタ電極EEは、接続孔CH1及びCH2の内部を含む層間絶縁膜IL上に形成される。エミッタ電極EEは、例えば以下のような手順で、積層膜として形成される。まず、例えばスパッタリング法により、基板SUBの主面上に、バリアメタル膜としてチタンタングステン膜を形成する。チタンタングステン膜の厚さは、例えば0.2μm程度である。
次に、例えば600℃程度、10分程度のシリサイドアニールを窒素雰囲気において実行した後、チタンタングステン膜上の全面に、接続孔CH1及びCH2の内部を埋め込むように、例えばスパッタリング法により、アルミニウム系金属膜を形成する。アルミニウム系金属膜は、例えば数%シリコンが添加されたアルミニウム膜で構成され、厚さは、5μm程度である。
次に、レジストパターンをマスクとしたドライエッチング法により所定のパターンに加工することによって、チタンタングステン膜とアルミニウム系金属膜の積層膜からなるエミッタ電極EEを形成することができる。このドライエッチングのガスとしては、例えばCl/BClガス等を、好適なものとして例示することができる。
エミッタ電極EEは、層間絶縁膜ILを介して、n型エミッタ層EL、p型ベースコンタクト層BC及びトレンチエミッタTEの夫々に電気的に接続される。
次に、ファイナルパッシベーション膜FPFがエミッタ電極EEの上側および層間絶縁膜ILの上側に形成される。ファイナルパッシベーション膜FPFは、たとえば、ポリイミドを主要な成分とする有機膜であり、たとえば、厚さ10μm程度である。ファイナルパッシベーション膜FPFは、この有機膜をエミッタ電極EEの上側および層間絶縁膜ILの上側へ全面的に塗布し、通常のリソグラフィによって、後述される図5に示す様に、エミッタパッドEPの部分とゲートパッドGPの部分とを開口することによって形成される。
ファイナルパッシベーション膜FPFの形成の後、基板SUBの裏面BS側は、例えば以下のような処理が施される。
基板SUBの裏面BSに対して、バックグラインディング処理を施すことによって、基板SUBの最初の厚さである800μm程度の厚さを、必要に応じて、例えば30μm~200μm程度に薄型化する。IE型IGBT100の耐圧を例えば600V程度に設計する場合、基板SUBの最終的な厚さを70μm程度に設定することが好ましい。また、必要に応じて、バックグラインディング処理のダメージ除去のために、ケミカルエッチングを裏面BSに施すことができる。
次に、薄型化された基板SUBの裏面BSに、例えばイオン注入法により、P型不純物およびゲルマニウムGeを導入することによって、P型コレクタ層CLおよび転位抑制層DSL1を形成する。P型コレクタ層CLを形成するためのイオン注入条件としては、例えばイオン種をボロンとし、ドーズ量を1×1012~3×1013cm-2程度とし、注入エネルギー100~500keV程度を、好適なものとして例示することができる。転位抑制層DSL1を形成するためのイオン注入条件としては、例えばイオン種をゲルマニウムGeとし、ドーズ量を1×1016~1×1017cm-2程度とし、注入エネルギー200~900keV程度(より好ましくは、600~900keV程度)を、好適なものとして例示することができる。その後、必要に応じて、不純物活性化のために、基板SUBの裏面BSに対して、レーザアニールを実施する。
次に、薄型化された基板SUBの裏面BSに、例えばイオン注入法により、N型不純物を導入することによって、フィールドストップ層FSLを形成する。このときのイオン注入条件としては、例えばイオン種を水素Hとし、ドーズ量を1×1014~1×1015cm-2程度とし、注入エネルギー300~400keV程度を、好適なものとして例示することができる。その後、基板SUBを炉体の内部に設置し、炉体で350~550°C程度の低温アニールを行い、フィールドストップ層FSLを形成する。フィールドストップ層FSLを形成する方法は、他にも、イオン種として酸素を用い、同じく低温アニールでサーマルドナー化によりフィールドストップ層FSLを形成する方法もある。
次に、例えばスパッタリング法により、P型コレクタ層CLの表面に、コレクタ電極CEを形成する。コレクタ電極CEは、例えば、基板SUBの裏面BSから順にアルミニウム(Al)層、チタン(Ti)層、ニッケル(Ni)層および金(Au)層等の積層膜により、形成することができる。
上記プロセスにより、図4に示したIE型IGBTを製造することができる。ここで、デバイス構造をより具体的に例示するために、デバイス各部の主要寸法の一例を示す。
トレンチエミッタTEとトレンチゲートTGとの間隔TPPは約2μm~3μm程度、p型フローティング層FLの幅FLPは約6~9μm程度であり、夫々は、所謂セルピッチ及びセル間ピッチである。また、n型エミッタ層ELの深さは、200nm程度、p型ベース層BLの深さは、0.6~1.0μm程度、p型フローティング層FLの深さは、4~5μm程度である。また、n型フィールドストップ層FSLの厚さは、2~5μm程度、p型コレクタ層CLの厚さは、1.0μm程度である。なお、基板SUBの厚さは求められる耐圧に応じて変えることが可能である。基板SUBの厚さは、例えば、耐圧1200ボルトでは、120μm程度、耐圧600ボルトでは、70μm程度を好適な値として例示できる。
図5は、一実施の形態に係るIGBTを有する半導体装置の平面図である。図6は、セル形成領域を説明する図である、図5の領域RRの模式的な拡大平面図である。図7は、図5のA-A線に沿う模式的な断面図である。
IE型IGBT100は、図5に示すように、矩形形状の半導体チップCHIPの外周部(チップ外周領域部とも言う)PERの上面には、環状のチャネルストッパー(PG)と接続された環状のガードリングGRが設けられている。ガードリングGRの内側には、環状のフローティングフィールドリング(P1、P2、P3、P4、P5)などと接続された数本(単数または複数)の環状のフィールドプレートFP(FP1、FP2、FP3、FP4、FP5)が設けられている。ガードリングGRおよびフィールドプレートFPは、例えばアルミニウムを主要な構成要素とする金属膜により構成される。図5では、図面の簡素化の為、環状のフィールドプレートFPの内、FP4、FP5の図示は省略されている。
環状のフィールドプレートFPの内側であって、半導体チップCHIPの活性部の主要部には、セル形成領域RCLが設けられており、半導体チップCHIPの活性部の上面には、半導体チップCHIPの外周部PERの近傍までエミッタ電極EEが設けられている。エミッタ電極EEは、例えばアルミニウムを主要な構成要素とする金属膜により構成される。エミッタ電極EEの中央部は、ボンディングワイヤなどを接続するためのエミッタパッドEPとなっている。エミッタパッドEPは、ファイナルパッシベーション膜FPFに開口部を設けることにより、形成されている。
ゲート配線GLがエミッタ電極EEとエミッタ電極EEとの間等に配置されており、ゲート配線GLは、ゲート抵抗Rgを介してゲート電極GEに接続されている。ゲート配線GLおよびゲート電極GEは、例えばアルミニウムを主要な構成要素とする金属膜により構成される。ゲート電極GEの中央部は、ボンディングワイヤなどを接続するためのゲートパッドGPとなっている。ゲートパッドGPは、ファイナルパッシベーション膜FPFに開口部を設けることにより、形成されている。ゲート抵抗Rgは、例えば所望の濃度の不純物が導入された多結晶シリコンを主要な構成要素とする抵抗膜により構成される。
図5に示す構成例では、3本のゲート配線GLが第1方向Xに沿う様に延在して配置され、この第1方向Xに延在する3本のゲート配線GLが第1方向Xと交差する第2方向Yに沿って延在して配置され2本のゲート配線GLに接続されるようになっている。第1方向Xに延在する3本のゲート配線GLは、図示されていないが、この3本のゲート配線GLの形成領域の下側において、トレンチゲートTGのトレンチ内に埋め込まれたn型不純物ドープの多結晶シリコン層に電気的に接続されている。
次に、図6を用いて、セル形成領域RCLの構成例を説明する。図6のB-B線に沿う断面図は、図4に示すIE型IGBTの断面図に対応する。セル形成領域RCLは、活性セル領域RCaと、非活性領域Riaと、ホールコレクタセル領域RCcと、を含む。活性セル領域RCa、非活性領域Ria、ホールコレクタセル領域RCcのおのおのは、第2方向Yに沿う様に、ストライプ状に設けられている。また、活性セル領域RCa、非活性領域Ria、ホールコレクタセル領域RCc、非活性領域Riaの4つがこの順で1つのレイアウト単位とされて、第1方向Xに繰り返し配置されている。
活性セル領域RCaには、活性セルCaが形成される。図6では、活性セルCaとして、第2方向Yに、ストライプ状に形成され一対のトレンチゲートTGと、一対のトレンチゲートTGの間に設けられたn型エミッタ層ELとが模式的に描かれている。ホールコレクタセル領域RCcには、ホールコレクタセルCcが形成される。ホールコレクタセルCcは、図4で説明したように、p型フローティング層FLをソース領域、p型ベース層BLをドレイン領域、n型ホールバリア層HBLをチャネル形成領域、トレンチエミッタTEをゲート電極とする寄生Pチャネル型MOSFETである。図6では、ホールコレクタセルCcとして、第2方向Yに、ストライプ状に形成され一対のトレンチエミッタTEと、一対のトレンチエミッタTEの間を接続する接続用トレンチエミッタTEaとが模式的に描かれている。非活性領域Riaは、図6では、p型フローティング層FLが模式的に描かれている。図4に示す接続孔CH2のようにコンタクト取る場合、接続用トレンチエミッタTEaは不要である。図4に示す接続孔CH2を接続孔CH1のようにコンタクトを取る場合、エミッタトレンチTEとエミッタ電極EEを接続する接続用トレンチエミッタTEaのようなコンタクトを設けるのが良い。
次に、図7を用いてには、IE型IGBT100の断面図を説明する。なお、図7では、ファイナルパッシベーション膜FPF、コレクタ電極CEの図示を省略している。また、セル形成領域RCLについては、図面の複雑さを避けるため、トレンチエミッタTE、トレンチゲートTG、および、p型フローティング層FLの3つの層のみ描いている。
セル形成領域RCLの周辺外部領域には、たとえば、これを取り巻くように、環状のP型ウエル領域P0が設けられている部分RP0(たとえばセル周辺接合領域とも言う)があり、このP型ウエル領域P0は、エミッタ電極EEに電気的に接続されている。環状のP型ウエル領域P0の外側には、環状の複数のp型フローティングフィールドリングP1、P2、P3、P4、P5が設けられている。フローティングフィールドリングP1、P2、P3、P4、P5のそれぞれは、フィールドプレートFP1、FP2、FP3、FP4、FP5に接続されている。p型フローティングフィールドリングP1、P2、P3、P4、P5の外側には、環状のn型チャネルストッパーPGが設けられている。チャネルストッパーPGは、ガードリングGRに接続されている。チャネルストッパーPGは、コレクタ電位とされている。半導体チップCHIPの外周部PERとセル周辺接合領域RP0とは、セル形成領域RCLを囲む様に設けられた周辺領域と言うこともできる。
図7に示す様に、P型コレクタ層CLの内部には、転位抑制層DSL1が形成されている。転位抑制層DSL1は、平面視において、図5の半導体チップCHIPの全体に設けられている。言い換えるならば、転位抑制層DSL1は、平面視において、半導体チップCHIPの外周部PER、セル周辺接合領域RP0、セル形成領域RCLに設けられている。図7に示す転位抑制層DSL1は、図3に示す転位抑制層DSL2に置き換えることが可能である。
(半導体装置の製造方法)
次に、半導体装置の製造方法を説明する。半導体装置の製造方法は、以下の工程を含む。
(基板準備工程)n型エミッタ層EL、p型ベース層BL、トレンチゲートTG、トレンチエミッタTE、p型フローティング層FL、n型ホールバリア層HBL、ゲート電極GEおよびエミッタ電極EEが第1主面US側に形成されたシリコン基板SUBを準備する工程。
(p型コレクタ層形成工程:第1工程)シリコン基板SUBの第1主面USと対向する第2主面BSに、p型コレクタ層CLを形成する工程。
(転位抑制層形成工程:第2工程)p型コレクタ層CL中に、シリコン基板SUBとヘテロ接合HJを形成する転位抑制層(DSL1、DSL2)を形成する工程。
(n型フィールドストップ層形成工程:第3工程)p型コレクタ層CLの第1主面US側にn型フィールドストップ層FSLを形成する工程。
(コレクタ電極形成工程:第4工程)p型コレクタ層CLに接続されたコレクタ電極CEを形成する工程。
上記工程において、p型コレクタ層形成工程と転位抑制層形成工程とは一体的な工程と見做すことも可能である。以下、p型コレクタ層CLおよび転位抑制層を形成する製造工程について説明する。
(転位抑制層DSL1を有するIGBTの製造方法)
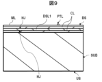
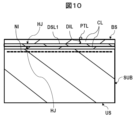
次に、図8~図11を用いて、転位抑制層DSL1を有するIE型IGBTの製造方法を説明する。図8は、IGBTを有する半導体装置の裏面側の製造方法を説明する断面図である。図9は、図8に続く製造方法を説明する断面図である。図10は、図9に続く製造方法を説明する断面図である。図11は、図10に続く製造方法を説明する断面図である。ここでは、基板SUBの表面US側に形成されるn型エミッタ層EL、p型ベース層BL、p型ベースコンタクト層BC、トレンチゲートTG、トレンチエミッタTE、p型フローティング層FL及びn型ホールバリア層HBL、層間絶縁膜IL、エミッタ電極EE、ファイナルパッシベーション膜FPF等は省略して説明する。
図8に示す様に、バックグラインディング処理の後、P型コレクタ層CLおよび転位抑制層DSL1を形成するため、基板SUBの裏面BSに、例えばイオン注入法により、P型不純物およびゲルマニウムGeを導入し、P型不純物注入層PIとゲルマニウム注入層GEIとを形成する。その後、基板SUBの裏面BSに対して、レーザアニールを実施し、P型不純物注入層PIとゲルマニウム注入層GEIとを活性化させる。P型コレクタ層CLを形成するためのイオン注入条件としては、例えばイオン種をボロンとし、ドーズ量を1×1012~3×1013cm-2程度とし、注入エネルギー100~500keV程度である。転位抑制層DSL1を形成するためのイオン注入条件としては、例えばイオン種をゲルマニウムGeとし、ドーズ量を1×1016~1×1017cm-2程度とし、注入エネルギー600~900keV程度である。
図9に示す様に、基板SUBの裏面にレーザアニールLAを施すことにより、不純物注入層PI及びGEIを活性化させて、P型コレクタ層CLおよび転位抑制層DSL1を形成する。このレーザアニールLAにおけるレーザ照射時に、基板SUBの裏面BSの最表面の厚さ0.2μm程度のシリコンが一旦溶融し、溶融層MLが形成される。レーザ照射後、基板SUBの温度が低下し、溶融層MLが再結晶化する。転位抑制層DSL1の上下面の両方には、シリコン層とシリコンゲルマニウム(SiGe)層とで形成されたヘテロ接合HJが形成されている。
図10に示すように、この時、溶融層MLの表面にパーティクルPTLが存在すると、再結晶化時に、パーティクルPTLが起点となり基板SBの裏面BSに転位欠陥DILが形成される場合がある。転位抑制層DSL1の上下面に形成されたヘテロ接合HJは、転位欠陥DILが転位抑制層DSL1の下側に延びることを抑制する。
次に、基板SUBの裏面BSに、例えばイオン注入法により、N型不純物を導入することによって、フィールドストップ層FSLを形成する。このときのイオン注入条件としては、例えばイオン種を水素Hとし、ドーズ量を1×1014~1×1015cm-2程度とし、注入エネルギー300~400keV程度である。なお、先にフィールドストップ層FSLを形成し、その後、転位抑制層DSL1しても良い。つまり、転位抑制層DSL1を形成するためのレーザアニールLAは、製造方法の最後の方で行うのが好ましい。
その後、基板SUBを炉体の内部に設置し、炉体内で基板SUBに350~550°C程度の低温アニールを行い、図11に示す様に、フィールドストップ層FSLを形成する。その後、図示しないが、コレクタ電極CEが、スパッタリング法により、P型コレクタ層CLの表面に形成される。これにより、IGBTを有する半導体装置が形成される。
(転位抑制層DSL2を有するIGBTの製造方法)
次に、図12~図13を用いて、転位抑制層DSL2を有するIE型IGBTの製造方法を説明する。図12は、IGBTを有する半導体装置の裏面側の製造方法を説明する断面図である。図13は、図12に続く製造方法を説明する断面図である。ここでは、基板SUBの表面US側に形成されるn型エミッタ層EL、p型ベース層BL、p型ベースコンタクト層BC、トレンチゲートTG、トレンチエミッタTE、p型フローティング層FL及びn型ホールバリア層HBL、層間絶縁膜IL、エミッタ電極EE、ファイナルパッシベーション膜FPF等は省略して説明する。
図12に示す様に、バックグラインディング処理の後、P型コレクタ層CLおよび転位抑制層DSL2を形成するため、基板SUBの裏面BSに、例えばイオン注入法により、P型不純物およびゲルマニウムGeを導入し、P型不純物注入層PIとゲルマニウム注入層GEI2とを形成する。その後、基板SUBの裏面BSに対して、レーザアニールを実施し、P型不純物注入層PIとゲルマニウム注入層GEI2とを活性化させる。P型コレクタ層CLを形成するためのイオン注入条件としては、例えばイオン種をボロンとし、ドーズ量を1×1012~3×1013cm-2程度とし、注入エネルギー100~500keV程度である。転位抑制層DSL2を形成するためのイオン注入条件としては、例えばイオン種をゲルマニウムGeとし、ドーズ量を1×1016~1×1017cm-2程度とし、注入エネルギーは、たとえば150~500keV程度であり、転位抑制層DSL1を形成するための注入エネルギー(たとえば600~900keV程度)と比較して低くてよい。つまり、転位抑制層DSL2は、裏面BSから浅い位置に形成するので、低加速エネルギーのイオン注入で形成することが可能である。
図13に示す様に、基板SUBの裏面にレーザアニールLAを施すことにより、不純物注入層GEI2及びPIを活性化させて、転位抑制層DSL2およびP型コレクタ層CLを形成する。このレーザアニールLAにおけるレーザ照射時に、基板SUBの裏面BSの最表面の厚さ0.2μm程度のシリコンが一旦溶融し、溶融層MLが形成される。レーザ照射後、基板SUBの温度が低下し、溶融層MLが再結晶化する。転位抑制層DSL2の裏面BSに近い側(図13では、転位抑制層DSL2の上面)は、溶融層MLと重なってヘテロ接合を形成できないが、転位抑制層DSL2の裏面BSに遠い側(図13では、転位抑制層DSL2の下面)には、シリコン層とシリコンゲルマニウム(SiGe)層とで形成されたヘテロ接合HJが形成されている。
この時、溶融層MLの表面にパーティクルPTLが存在すると、再結晶化時に、パーティクルPTLが起点となり基板SBの裏面BSに転位欠陥が形成される場合がある。転位抑制層DSL2の下面に形成されたヘテロ接合HJは、転位欠陥が転位抑制層DSL2の下側に延びることを抑制する。
図13の後は、図10および図11で説明した製造工程と同様な製造工程が実施され、その後、コレクタ電極CEがP型コレクタ層CLの表面に形成される。これにより、IGBTを有する半導体装置が形成される。
(変形例)
次に、いくつかの変形例を説明する。
(変形例1)
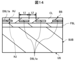
図14は、変形例1に係るIGBTを有する半導体装置の裏面側構造を説明する断面図である。図15は、変形例1に係るIGBTを有する半導体装置の平面図である。図16は、変形例1に係るIGBTを有する半導体装置の裏面側の製造方法を説明する断面図である。図17は、図16に続く製造方法を説明する断面図である。
図14が図11と異なる点は、図14および図15に示す様に、転位抑制層DSL1aが複数に分割されている点である。転位抑制層DSL1aのおのおのは、第1方向Xにおいて、幅L1とされ、複数の転位抑制層DSL1aが幅L2の間隔(スペース)で配置されている。図15に示す様に、複数の転位抑制層DSL1aのおのおのは、平面視において、シリコン基板SUB中に選択的に形成されている。図15の例では、複数の転位抑制層DSL1aのおのおのは、第2方向Yに沿って、ストライプ形状に延在して設けられ、第1方向Xに並んで配列されている。図15に示す例では、複数の転位抑制層DSL1aの平面視における形状はストライプ形状(細長形状)に形成されているがそれに限定されない。複数の転位抑制層DSL1aの平面視における形状は、矩形形状、円形形状、楕円形形状、多角形形状等であってもよい。
図16に示す様に、複数に分割された転位抑制層DSL1aを形成する為、ゲルマニウム注入層GEI1aは複数に分割されて形成される(ゲルマニウム注入層GEI1aの形成は、図8のゲルマニウム注入層GEIの説明を参照できる)。この場合、フォトリソグラフィ工程によって、不純物導入阻止用マスクを形成し、そして、不純物導入阻止用マスクをイオン注入のマスクに利用して、ゲルマニウムGeをイオン注入してゲルマニウム注入層GEI1aを形成し、その後、不純物導入阻止用マスクを除去するマスク除去工程等が行われる。
P型不純物注入層PI(図8の説明参照)とゲルマニウム注入層GEI1aを形成した後、基板SUBの裏面BSに対して、レーザアニールを実施し、P型不純物注入層PIとゲルマニウム注入層GEI1aとを活性化させる。そして、図17に示す様に、基板SUBの裏面にレーザアニールLAを施すことにより、不純物注入層GEI1a及びPIを活性化させて、シリコンゲルマニウム層により構成される転位抑制層DSL1aおよびP型コレクタ層CLをそれぞれ形成する。図17の後は、図10および図11で説明した製造工程と同様な製造工程が実施され、その後、コレクタ電極CEがP型コレクタ層CLの表面に形成される。これにより、IGBTを有する半導体装置が形成される。
図17に示す様に、パーティクルPTLが転位抑制層DSL1aの上側にある場合、パーティクルPTLを起点とする転位欠陥は、転位抑制層DSL1aの上下面に形成されたヘテロ接合HJにより、転位抑制層DSL1aの下側に延びることを抑制することができる。
しかし、パーティクルPTLが転位抑制層DSL1aと転位抑制層DSL1aの間にある場合、パーティクルPTLを起点とする転位欠陥が転位抑制層DSL1aと転位抑制層DSL1aの間(幅L2の間)を通って、P型コレクタ層CLの下方まで伸びてしまい、リーク不良となる場合も考えられる。次に説明する変形例2は、この問題の解決するものである。
(変形例2)
図18は、変形例2に係るIGBTを有する半導体装置の裏面側構造を説明する断面図である。図19は、変形例2に係るIGBTを有する半導体装置の平面図である。図20は、変形例2に係るIGBTを有する半導体装置の裏面側の製造方法を説明する断面図である。図21は、図20に続く製造方法を説明する断面図である。
図18が図14と異なる点は、図18および図19に示す様に、転位抑制層DSL1aの間の幅L2の領域において、基板SUBの裏面BSの近傍に、転位抑制層DSL2aが設けられている点である。転位抑制層DSL1aのおのおのは、第1方向Xにおいて、幅L1とされ、複数の転位抑制層DSL1aが幅L2の間隔で配置されている。シリコンゲルマニウム層から構成される転位抑制層DSL2aのおのおのは、第1方向Xにおいて、幅L2とされ、複数の転位抑制層DSL2aが幅L1の間隔で配置されている。図19に示す様に、複数の転位抑制層DSL1aと複数の転位抑制層DSL2aとは、平面視において、第2方向Yに沿ってストライプ形状に延在して設けられ、第1方向Xに並んで交互に配列されている。
これにより、パーティクルPTLを起点とする転位欠陥が転位抑制層DSL1aと転位抑制層DSL1aの間(幅L2の間)を通って、P型コレクタ層CLの下方まで伸びてしまう様な問題を解決する。つまり、転位抑制層DSL1aと転位抑制層DSL1aの間に設けた転位抑制層DSL2aにおいて、図13で説明したと同様に、転位抑制層DSL2aの裏面BSに遠い側(図18では、転位抑制層DSL2の下面)には、シリコン層とシリコンゲルマニウム(SiGe)層とで形成されたヘテロ接合HJが形成されている。転位抑制層DSL2aの下面に形成されたヘテロ接合HJは、転位欠陥が転位抑制層DSL2aの下側に延びることを抑制する。
したがって、パーティクルPTLを起点とする転位欠陥は、転位抑制層DSL1aの上下面に形成されたヘテロ接合HJ、および、転位抑制層DSL2aの下面に形成されたヘテロ接合HJは、転位欠陥が転位抑制層DSL1aおよび転位抑制層DSL2aの下側に延びることを抑制する。
複数の転位抑制層DSL1aの平面視における形状は、三角形形状、矩形形状、円形形状、楕円形形状、多角形形状等であってもよい。この場合、転位抑制層DSL2aの平面視における形状は、複数の転位抑制層DSL1aの形成されていない領域を覆う様な形状されている。また、複数の転位抑制層DSL2aの平面視における形状は、三角形形状、矩形形状、円形形状、楕円形形状、多角形形状等であってもよい。この場合、転位抑制層DSL1aの平面視における形状は、複数の転位抑制層DSL2aの形成されていない領域を覆う様な形状されている。
図20に示す様に、複数に分割された転位抑制層DSL1aおよび転位抑制層DSL2aを形成する為、ゲルマニウム注入層GEI1aは複数に分割されて形成され、ゲルマニウム注入層GEI2aは複数に分割されて形成される(ゲルマニウム注入層GEI2aは、図12のゲルマニウム注入層GEI2の説明を参照できる)。ゲルマニウム注入層GEI1aおよびゲルマニウム注入層GEI2aは、図16で説明した様に、フォトリソグラフィ工程による不純物導入阻止用マスクを用いて形成することができる。
P型不純物注入層PI(図8の説明参照)、ゲルマニウム注入層GEI1aおよびゲルマニウム注入層GEI2aを形成した後、基板SUBの裏面BSに対して、レーザアニールを実施し、P型不純物注入層PI、ゲルマニウム注入層GEI1aおよびゲルマニウム注入層GEI2aを活性化させる。そして、図21に示す様に、基板SUBの裏面にレーザアニールLAを施すことにより、不純物注入層GEI1a、GEI2a及びPIを活性化させて、転位抑制層DSL1a、転位抑制層DSL2aおよびP型コレクタ層CLを形成する。図21の後は、図10および図11で説明した製造工程と同様な製造工程が実施され、その後、コレクタ電極CEがP型コレクタ層CLの表面に形成される。これにより、IGBTを有する半導体装置が形成される。
(変形例3)
図22は、変形例3に係るIGBTを有する半導体装置の裏面側構造を説明する断面図である。図23は、変形例3に係るIGBTを有する半導体装置の平面図である。
変形例1では、平面視において、半導体チップCHIPに、複数の転位抑制層DSL1aをストライプ状に設けた構成例を説明した。変形例3では、図22に示す様に、転位抑制層DSL1bは、セル形成領域RCLの下側部分を除く領域部分に、つまり、半導体チップCHIPのチップ外周領域部PERおよびセル周辺接合領域RP0の下側の領域部分に、選択的に形成したものである。図23に示す様に、転位抑制層DSL1bは、平面視において、セル形成領域RCLの周りを取り囲むように設けられたセル周辺接合領域RP0およびセル周辺接合領域RP0の周りを取り囲むように設けられたチップ外周領域部PERの下側に位置するP型コレクタ層CLの内部に設けられている。転位抑制層DSL1bの製造方法は、変形例1の説明を参照できる。
図23に示す様に転位抑制層DSL1bを導入すれば、逆バイアス時の電流リークを抑制することができる。さらに、セル形成領域RCLには転位抑制層DSL1bが無いので、IGBTの特性に影響しない。
(変形例4)
図24は、変形例4に係るIGBTを有する半導体装置の裏面側構造を説明する断面図である。図25は、変形例4に係るIGBTを有する半導体装置の平面図である。
図24が図22と異なる点は、セル形成領域RCLの下側部分に位置するP型コレクタ層CLの内部に、転位抑制層DSL2bが設けられている点である。図25に示す様に、転位抑制層DSL2bは、平面視において、セル形成領域RCLの下側部分に位置する領域に配置されている。転位抑制層DSL2bの製造方法は、変形例2の説明を参照できる。
変形例4によれば、IE型IGBT100は、転位抑制層DSL1b、DSL2bを有しているので、エミッタ・コレクタ間の電流リーク、逆バイアス時の電流リークを抑制することができる。
(変形例5)
図18において、ゲルマニウムGeを導入して形成した転位抑制層DSL1aの代わりに、カーボンC、シリコンSi、アルゴンAr、フッ素F、窒素N等のいずれか1つのイオン種をイオン注入して基板SUB内のシリコンSiとの格子間距離歪層(拡張欠陥)による転位抑制層を設けることもできる。図18においては、転位抑制層DSL2aを通ってホールが注入されるので、これらのイオン種で、転位抑制層DSL2aの形成領域以外の位置の転位抑制層を形成しても、IGBTの出力特性は悪化することはない。
(変形例6)
図22において、ゲルマニウムGeを導入して形成した転位抑制層DSL1bの代わりに、カーボンC、シリコンSi、アルゴンAr、フッ素F、窒素N等のいずれか1つのイオン種をイオン注入して基板SUB内のシリコンSiとの格子間距離歪層(拡張欠陥)による転位抑制層を設けることもできる。図22において、セル形成領域RCLの下側には転位抑制層が形成されていないので、これらのイオン種(カーボンC、シリコンSi、アルゴンAr、フッ素F、窒素N)で、転位抑制層DSL1bの形成領域の位置に転位抑制層を形成しても、IGBTの出力特性は悪化することはない。なお、図24において、転位抑制層DSL1bも、これらのイオン種を用いた転位抑制層で構成することができる。
(発明者による検討の説明)
次に発明者による検討結果を説明する。
図26は、裏面構造が異なる3つのIGBTの出力特性を示すグラフである。図26には、図1Cに示すIGBT(Siと記す)、図3に示すIGBT(パターン1と記す)、および、図2に示すIGBT(パターン2と記す)のおのおのの出力特性が示されている。図26において、横軸はコレクタ電位(Vc)のボルトVであり、縦軸はコレクタ電流Icの電流Aである。なお、各IGBTの表面側の構成は、図4に示すIGBTの表面側の構造と同じである。
図26が示すように、パターン1(図3のIGBT)はSi(図1CのIGBT)と特性はほぼ同じであるが、パターン2(図2のIGBT)は出力低下が見られる。例えば、コレクタ電圧Vc:1.5Vにおいて、パターン2(図2のIGBT)は、Si(図1CのIGBT)と比較して、20%程度の電流低下が確認できる。
前提として、裏面側に、Geをイオン注入することで、SiGe層からなる転位抑制層DSL1、DSL2を形成すると裏面からのホール注入が阻害される結果になる。これは、シリコンSiとSiGeではバンド構造が異なるためである。
パターン1(図3の転位抑制層DSL2)は浅く、つまり裏面BSの表面側にSiGe層を形成するので、比較的、低加速エネルギー(150~500keV)でイオン注入を行う。そのため、SiGe層(転位抑制層DSL2)の深さ方向の幅を狭く形成できる(つまり、Geのインプラプロファイルがシャープになる)。
パターン2(図2の転位抑制層DSL1)は、比較的高加速エネルギー(600~900keV)でGeをイオン注入するので、SiGe層の深さ方向の幅が広くなる。これはイオン注入の特性上、高加速であるほど、イオン散乱が大きくなりプロファイルがブロードになってしまうためである。この結果、SiGe層(転位抑制層DSL1)が広くなるパターン2(図2のIGBT)では、出力特性が悪化したものと考えられる。
次に、IGBTのスイッチング特性をシミュレーションで評価した。シミュレーションに用いたトレンチ絶縁ゲート型バイポーラトランジスタを含むスイッチング回路の主要部分の一例について簡単に説明する。図27は、シミュレーションに用いたスイッチング回路を示す回路図である。図28は、シミュレーションにより求めたスイッチング損失の値を説明する図である。
図27に示すように、スイッチング回路SWCでは、IGBT100が、たとえば、主負荷MOLとしてのモータに電気的に直列に接続されている。その主負荷MOLに、還流用ダイオードDiが電気的に並列に接続されている。主負荷MOLには、電源電圧VCCが電気的に接続されている。IGBT100が評価対象である。スイッチング回路SWCに電流200Aの電流が流れている状態で、IGBT100のゲート電位Vgを制御してIGBT100をON/OFFさせた。その時のスイッチング損失を図28に示す。図28において、Eonはターンオン時のスイッチング損失を示し、Eoffはターンオフ時のスイッチング損失を示している。
パターン1(図3のIGBT)はスイッチング特性も、参考として示されるSi(Ref.(Si):図1CのIGBT)とほぼ同じであることが確認できた。一方、パターン2(図2のIGBT)はEoffが15%程度良い。これは図26が示すように、パターン2のON電圧が高いため、バルク内キャリア密度が低いためである。単純に出力特性とスイッチング特性のトレードオフになっている。
以上の結果から、裏面にSiGe層を導入しても、パターン1(図3のIGBT)のように形成すれば、IGBT特性を維持できることが分かった。
但し、パターン1とパターン2では、パターン2の方がパターン1よりロバスト性が高い。これは、パターン2ではSiGe層の上下面がヘテロ界面(ヘテロ接合HJ)になるので、転位ストッパーとされるヘテロ接合HJが2層存在することを意味する。一方、パターン1はSiGe層の下面しかヘテロ界面(ヘテロ接合HJ)にならないからである。
変形例1(図14)の転位抑制層DSL1aは、パターン2(図2)の転位抑制層DSL1を複数に分割して、転位抑制層DSL1aの間に、幅L2のスペースを設けた構造である。基板SUBの裏面BS側に設けたコレクタ電極CEからのホールが転位抑制層DSL1aの間の幅L2のスペースを通り抜けるので、出力特性の改善が見込まれる。図29は転位抑制層DSL1aの幅L1と転位抑制層DSL1aの間の幅L2との比(L1/L2)を変えて計算した各IGBTの出力特性の結果である。図29には、Si(図1CのIGBT)の場合と、パターン2(図2のIGBT)の場合と、L1/L2=1/1(SiGe L/S=1/1として示される)の場合と、L1/L2=1/3(SiGe L/S=1/3として示される)の場合との4つのIGBTについて示されている。
転位抑制層DSL1aの間にスペース(L2)を設けた構造では出力特性が改善できていることが分かる。また、当然だが、スペース幅(L2)が広い方が出力特性が改善することを確認した。
一方、このままの構造では、スペース(L2)の領域に転位欠陥DILが発生した場合、スペース(L2)の領域に転位ストッパーとしてのヘテロ接合HJが無いのでリーク不良になってしまう場合も考えられる。図26により、パターン1の場合はIGBTの出力特性が悪化しないことが分かっているので、図14のスペース(L2)の領域にパターン1の転位抑制層DSL2を形成すれば、IGBTの出力特性とロバスト性向上の両立ができることが今までの結果から推定できる。そこで、変形例2(図18)に示すパターン3を新たに提案できる。変形例2(図18)に示すパターン3は、ロバスト性を高めつつ、図1CのIGBTとほぼ同じ性能(出力特性、スイッチング損出)を維持することが可能である。
(逆バイアスリークについて)
図30はモータ駆動回路の一例を示す回路ブロック図である。図31は図30のU相に対応するIGBTとダイオードの動作を説明する回路図である。図32は、IGBT内に構成された寄生ダイオードを説明する断面図である。図33は図31のハイサイド側のIGBTに構成された寄生ダイオードを説明する等価回路図である。
図30に示すように、モータ駆動回路は、モータMOT等の負荷と、インバータINVとを有する。モータMOTは、U相U、V相VおよびW相Wからなる3相モータである。そのため、インバータINVも、U相U、V相VおよびW相Wからなる3相に対応したものである。このような3相に対応したインバータINVは、IGBT100と還流ダイオードDiとの組を合計6組有する。U相U、V相VおよびW相Wからなる3相の各相において、インバータINVに電源電位(VCC)を供給する電源配線VCLとモータMOTの入力電位(インバータINVの出力端子に相当する)との間、すなわち、ハイサイドに、IGBT100と還流ダイオードDiとが逆並列に接続されている。また、U相U、V相VおよびW相Wからなる3相の各相において、モータMOTの入力電位(インバータINVの出力端子に相当する)とインバータINVに接地電位(GND)を供給する接地配線GNLとの間、すなわち、ロウサイドに、IGBT100と還流ダイオードDiとが逆並列に接続されている。ここで、逆並列とは、IGBT100のコレクタが還流ダイオードDiのカソードに接続され、IGBT100のエミッタが還流ダイオードDiのアノードに接続される様な接続構成である。
還流ダイオードDiのそれぞれは、SiC-SBD(Silicon carbide-Schottky Barrier Diode)を利用することができる。近年はSiC-SBDとSi-IGBTからなるハイブリッドモジュールが一般的になりつつある。SiC-SBDはユニポーラなので逆回復時間trrが短くなる。そのため、IGBTのVceサージがより急峻になりやすく、逆バイアスリークによるIGBTの破壊が起きやすくなる。これは、以下で詳細は記載しているが、dV/dtが急峻になり、ハイサイド側のIGBT100Hでインパクトイオン化が起きやすくなるからである。IGBTのIces不良はもちろん、逆バイアスリークを増大させる裏面転位欠陥は見過ごすことが出来ない状況になりつつある。
インバータINVは、各相の上下のIGBT100の負荷短絡を防止するためデットタイム(Dead time)が設けられており、このDead timeの期間の間、上下のIGBTはオフ状態とされている。
図31に示す様に、このDead timeの期間の時、電流Iiは上側(ハイサイド側)のIGBT100Hではなく、ハイサイド側の還流ダイオードDiHを流れる。上側(ハイサイド側)のIGBT100Hに注目すると、還流ダイオードDiHが動作するため、IGBT100Hのエミッタ側の電圧がコレクタより高い逆バイアス状態になる。この逆バイアス電圧(-VCE)は通常-2~-3V程度である。
Dead time状態から、下側(ロウサイド側)のIGBT100Lをオンさせると、IGBT100Lのコレクタ電圧(=IGBT100Hのエミッタ電圧)が動作電圧まで落ちる。つまり、IGBT100Hは逆バイアス状態から順バイアス状態に切り替わる。このとき、IGBT100HがdV/dt:10~40kV/μsでコレクタ・エミッタ間電位VCEが上昇すると、破壊することがあることが判明した。通常、IGBTはコレクタ・エミッタ間電位VCEをdV/dt:2~7kV/μs程度で動作させる場合が多い。
IGBT100は、基板SUBの裏面BS側に、p型コレクタ層CLがあるため、MOSFETのようにボディダイオードは存在しない。しかし、図32に示す様に、基板SUBの裏面BS側のn型フィールドストップ層FSLとp型コレクタ層CLから構成されるPN接合がパーティクルPTLを起点とする転位欠陥DILによってリークしていると、逆バイアス時に寄生ダイオードDsが動作してしまうことが分かった。この寄生ダイオードDsは、内蔵抵抗Rgの形成部分の下側に位置する環状のP型領域P0とn型ドリフト層DLとのPN接合によって構成されている。寄生ダイオードDsのアノードは、P型領域P0の左右の側に接続するエミッタ電極EEに接続される。n型フィールドストップ層FSLはn型ドリフト層DLより濃度が高いので、寄生ダイオードDsのカソードは、P型領域P0の下側のn型ドリフト層DLからn型フィールドストップ層FSLを経由して、コレクタ電極CEに接続される。これにより、エミッタ電極EEとコレクタ電極CEとに間に、寄生ダイオードDsを含む電流経路PTHが形成されることになる。
図33に示す様に、寄生ダイオードDsはIGBT100Hのエミッタとコレクタとの間に接続されるように構成されている。IGBT100Hに注目すると、Dead timeの期間の時、還流ダイオードDiに電流Iiが流れているので、IGBT100Hのエミッタ電圧はそのコレクタ電圧よりも高くなっている(逆バイアス状態)。IGBT100Hの裏面のPN接合部分にリークパスがあると、寄生ダイオードDsが動作してしまい、IGBT100Hの寄生ダイオードDsにも電流Isが流れることになる。
この状態で、ロウサイド側のIGBT100Lをオンさせると、ロウサイド側のIGBT100Lのコレクタ電圧、つまりハイサイド側のIGBT100Hのエミッタ電圧がIGBT100Lの動作電圧まで低下する。たとえば、IGBT100Hのエミッタ電圧が、インバータ駆動電圧(VCC)、例えば800V、から2V程度に落ちる。この時、高dV/dtでロウサイド側のIGBT100Lをオンさせると、ハイサイド側のIGBT100Hが破壊する。ハイサイド側のIGBT100Hの破壊のメカニズムは次の通りである。
1.裏面側にリークパスがあることで、dead time時にハイサイド側のIGBT100Hの寄生ダイオードDsが動作する。
2.ロウサイド側のIGBT100LをONさせると、ハイサイド側のIGBT100Hにコレクタ・エミッタ電位Vceが印加される。つまり、ハイサイド側のIGBT100Hのコレクタ・エミッタ電位Vceが逆バイアスから順バイアス状態に切り替わる(ハイサイド側のIGBT100Hのゲート電圧はOFFのまま)。
3.逆バイアス時、寄生ダイオードDsの動作によって、バルク内に多数のキャリアが存在している。
4.この状態で、高dV/dtでハイサイド側のIGBT100Hのコレクタ・エミッタ電位Vceが上昇すると、寄生ダイオードDsのPN接合部分でインパクトイオン化が容易に起きる。
5.このインパクトイオン化により発生する多数のホールキャリアが、内蔵抵抗Rgの下側に位置するP型領域P0を通って、エミッタコンタクトを介してエミッタ電極EEへと流れる。
6.この時、P型領域P0で電圧降下が起こるため、P型領域P0と内蔵抵抗Rg間の酸化膜OXLに高電界が生じ、酸化膜OXLが絶縁破壊に至る。
酸化膜OXLが絶縁破壊する部分は、P型領域P0の左右の側に接続されたエミッタ電極EEのコンタクト部分の間の中間部分MIDのあたりである。なお、図32において、セル周辺接合領域RP0の第1方向Xの幅、つまり、P型領域P0の第1方向Xの幅は、例えば1~3mm程度であり、外周部PERの第1方向Xの幅は、例えば400~600μm程度である。つまり、P型領域P0の第1方向Xの幅は比較的長く、エミッタ電極EEのコンタクト部分の間隔が広くなるので、P型領域P0による電圧降下は比較的大きくなる。これにより、高電界が生じてしまう。
したがって、変形例3(図22)や変形例4(図24)で説明した様に、転位抑制層DSL1b、または、転位抑制層DSL1b、DSL2bを形成することにより、逆バイアス時の電流リークを抑制することができる。また、変形例4で説明した様に、転位抑制層DSL1b、DSL2bを形成することにより、エミッタ・コレクタ間の電流リーク、逆バイアス時の電流リークを抑制することができる。また、変形例3や変形例4によれば、逆バイアス時の電流リークを抑制しつつ、高速スイッチングに対応可能なIGBTを提供できる。
また、図30に示すモータ駆動回路において、各IGBTを本開示の転位抑制層を有するIGBT100とし、各還流ダイオードDiをSiC-SBDとしたインバータを含むハイブリッドモジュールを構成するのが良い。この構成によれば、IGBTの逆バイアス時の電流リークによる破壊を防止しつつ、高速スイッチングに対応可能なモータ駆動回路を提供することができる。
以上、本発明者によってなされた発明を実施の形態に基づき具体的に説明した。しかしながら、本発明は、上記実施の形態に限定されるものではなく、その要旨を逸脱しない範囲で種々変更され得る。
例えば、半導体基板SUBは、高不純物濃度のN型半導体基板上に低不純物濃度のN型エピタキシャル層を形成した基板でもよい。
100:IGBT
SUB:シリコン基板
FSL:n型フィールドストップ層
CL:p型コレクタ層
DSL1、DSL2、DSL1a、DSL2a、DSL1b、DSL2b:転位抑制層(シリコンゲルマニウム層)
HJ:ヘテロ接合

Claims (16)

  1. 第1主面及び前記第1主面に対向する第2主面を有するシリコン基板と、
    前記第1主面に形成されたp型ベース層と、
    前記p型ベース層中に形成されたn型エミッタ層と、
    前記第2主面に形成されたp型コレクタ層と、
    前記p型コレクタ層中に形成され、前記シリコン基板とヘテロ接合を形成する転位抑制層と、を有し、
    前記転位抑制層は、シリコンゲルマニウム層を有し、
    前記シリコンゲルマニウム層は、平面視において、前記シリコン基板に選択的に形成されている、
    半導体装置。
  2. 請求項1において、
    前記第1主面に形成され、互いに対向するように形成されたストライプ状のトレンチゲートと、
    前記第1主面に形成され、前記p型ベース層の下部に形成されたn型ホールバリア層と、
    前記第1主面に形成され、前記ストライプ状のトレンチゲートと所定の間隔で配置され、かつ、互いに対向するように形成されたストライプ状のトレンチエミッタと、
    前記トレンチゲートと前記トレンチエミッタの間に配置され、かつ、その一端が前記トレンチゲートの側面に接するように形成され、かつ、その他端が前記トレンチエミッタの側面に接するように形成されたp型フローティング層と、
    前記第2主面に形成され、前記p型コレクタ層よりも内側に形成されたn型フィールドストップ層と、
    前記n型フィールドストップ層と前記n型ホールバリア層との間に配置されたn型ドリフト層と、
    を含み、
    前記p型ベース層は、前記ストライプ状のトレンチゲートで囲まれた領域に形成される、半導体装置。
  3. 請求項1において、
    前記シリコンゲルマニウム層は、平面視において、ストライプ形状を有する、半導体装置。
  4. 請求項1において、
    前記シリコンゲルマニウム層は、前記第1主面側に形成された上面と、前記第2主面側に形成された下面と、を有し、
    前記上面は、前記ヘテロ接合を有し、前記下面は前記ヘテロ接合を有さない、半導体装置。
  5. 第1主面及び前記第1主面に対向する第2主面を有するシリコン基板と、
    前記第1主面に形成されたp型ベース層と、
    前記p型ベース層中に形成されたn型エミッタ層と、
    前記第2主面に形成されたp型コレクタ層と、
    前記p型コレクタ層中に形成され、前記シリコン基板とヘテロ接合を形成する転位抑制層と、を有し、
    前記転位抑制層は、シリコンゲルマニウム層を有し、
    前記シリコンゲルマニウム層は、前記第1主面側に形成された上面と、前記第2主面側に形成された下面と、を有し、
    前記上面および前記下面のおのおのは、前記ヘテロ接合を有する、半導体装置。
  6. 請求項5において、
    前記シリコンゲルマニウム層は、平面視において、前記シリコン基板の全体に形成されている、半導体装置。
  7. 第1主面及び前記第1主面に対向する第2主面を有するシリコン基板と、
    前記第1主面に形成されたp型ベース層と、
    前記p型ベース層中に形成されたn型エミッタ層と、
    前記第2主面に形成されたp型コレクタ層と、
    前記p型コレクタ層中に形成され、前記シリコン基板とヘテロ接合を形成する転位抑制層と、を有し、
    前記転位抑制層は、第1転位抑制層と第2転位抑制層とを含み、
    前記第1転位抑制層は、断面視において、前記第2転位抑制層より前記第1主面側に形成され、
    前記第2転位抑制層は、平面視において、前記第1転位抑制層の形成されていない領域に形成される、半導体装置。
  8. 第1主面及び前記第1主面に対向する第2主面を有するシリコン基板と、
    前記第1主面に形成されたp型ベース層と、
    前記p型ベース層中に形成されたn型エミッタ層と、
    前記第2主面に形成されたp型コレクタ層と、
    前記p型コレクタ層中に形成された転位抑制層と、を有し、
    前記シリコン基板は、平面視において、セル形成領域と、前記セル形成領域を囲む様に設けられた周辺領域とを含み、
    前記転位抑制層は、平面視において、前記周辺領域の下側に設けられ、
    前記転位抑制層は、カーボン、シリコン、アルゴン、フッ素、窒素のいずれか1つを含む格子間距離歪層を有する、半導体装置。
  9. 第1主面及び前記第1主面に対向する第2主面を有するシリコン基板と、
    前記第1主面に形成されたp型ベース層と、
    前記p型ベース層中に形成されたn型エミッタ層と、
    前記第2主面に形成されたp型コレクタ層と、
    前記p型コレクタ層中に形成され、前記シリコン基板とヘテロ接合を形成する転位抑制層と、を有し、
    前記シリコン基板は、平面視において、セル形成領域と、前記セル形成領域を囲む様に設けられた周辺領域とを含み、
    前記転位抑制層は、平面視において、前記周辺領域の下側に設けられ、
    前記転位抑制層は、第1転位抑制層と第2転位抑制層とを含み、
    前記第1転位抑制層は、断面視において、前記第2転位抑制層より前記第1主面側に形成され、
    前記第1転位抑制層は、平面視において、前記周辺領域の下側に設けられ、
    前記第2転位抑制層は、平面視において、前記セル形成領域の下側に設けられる、半導体装置。
  10. 請求項7またはにおいて、
    前記第1転位抑制層および前記第2転位抑制層は、シリコンゲルマニウム層を有する、半導体装置。
  11. 請求項7またはにおいて、
    前記第1転位抑制層は、カーボン、シリコン、アルゴン、フッ素、窒素のいずれか1つを含む格子間距離歪層を有し、
    前記第2転位抑制層は、シリコンゲルマニウム層を有する、半導体装置。
  12. n型エミッタ層、p型ベース層、トレンチゲート、トレンチエミッタ、p型フローティング層、n型ホールバリア層、ゲート電極およびエミッタ電極が第1主面側に形成されたシリコン基板を準備する工程と、
    前記シリコン基板の前記第1主面と対向する第2主面に、p型コレクタ層を形成する第1工程と、
    前記p型コレクタ層中に、前記シリコン基板とヘテロ接合を形成する第1転位抑制層を形成する第2工程と、
    前記p型コレクタ層の前記第1主面側にn型フィールドストップ層を形成する第3工程と、
    前記p型コレクタ層に接続されたコレクタ電極を形成する第4工程と、を含み、
    前記第1工程と前記第2工程とは、
    前記シリコン基板の前記第2主面に、イオン注入法により、P型不純物を導入して、P型不純物注入層を形成する第1注入層形成工程と、
    前記シリコン基板の前記第2主面に、イオン注入法により、ゲルマニウムを導入して、第1ゲルマニウム注入層を形成する第2注入層形成工程と、
    その後、前記シリコン基板の前記第2主面に対して、アニールを実施し、前記P型不純物注入層と前記第1ゲルマニウム注入層とを活性化させて、前記p型コレクタ層と前記第1転位抑制層とを形成するアニール工程と、を含み、
    前記第1転位抑制層は、前記第1主面側に形成された上面と、前記第2主面側に形成された下面と、を有し、
    前記上面および前記下面のおのおのが前記ヘテロ接合を有する、
    半導体装置の製造方法。
  13. 請求項12において、
    前記シリコン基板は、平面視において、前記n型エミッタ層、前記p型ベース層、前記トレンチゲート、前記トレンチエミッタ、前記p型フローティング層および前記n型ホールバリア層を含むセル形成領域と、前記セル形成領域を囲む様に設けられた周辺領域と、を含み、
    前記第1転位抑制層は、平面視において、前記周辺領域の下側に設けられている、半導体装置の製造方法。
  14. n型エミッタ層、p型ベース層、トレンチゲート、トレンチエミッタ、p型フローティング層、n型ホールバリア層、ゲート電極およびエミッタ電極が第1主面側に形成されたシリコン基板を準備する工程と、
    前記シリコン基板の前記第1主面と対向する第2主面に、p型コレクタ層を形成する第1工程と、
    前記p型コレクタ層中に、前記シリコン基板とヘテロ接合を形成する第1転位抑制層を形成する第2工程と、
    前記p型コレクタ層の前記第1主面側にn型フィールドストップ層を形成する第3工程と、
    前記p型コレクタ層に接続されたコレクタ電極を形成する第4工程と、を含み、
    前記第1工程と前記第2工程とは、
    前記シリコン基板の前記第2主面に、イオン注入法により、P型不純物を導入して、P型不純物注入層を形成する第1注入層形成工程と、
    前記シリコン基板の前記第2主面に、イオン注入法により、ゲルマニウムを導入して、第1ゲルマニウム注入層を形成する第2注入層形成工程と、
    その後、前記シリコン基板の前記第2主面に対して、アニールを実施し、前記P型不純物注入層と前記第1ゲルマニウム注入層とを活性化させて、前記p型コレクタ層と前記第1転位抑制層とを形成するアニール工程と、を含み、
    前記シリコン基板の前記第2主面に、イオン注入法により、ゲルマニウムを導入して、前記第1ゲルマニウム注入層と比較して、前記第2主面に近い部分に、第2ゲルマニウム注入層を形成する第3注入層形成工程を含み、
    前記第2注入層形成工程では、前記第1ゲルマニウム注入層の1または複数が形成され、
    前記第3注入層形成工程では、平面視において、前記第1ゲルマニウム注入層の1または複数が形成されていない領域に、前記第2ゲルマニウム注入層の1または複数が形成され、
    前記アニール工程により、前記1または前記複数の第2ゲルマニウム注入層を活性化させて、1または複数の第2転位抑制層を形成する、半導体装置の製造方法。
  15. 請求項14において、
    前記第1転位抑制層の複数のおのおのは、平面視において、ストライプ形状とされ、
    前記第2転位抑制層の複数のおのおのは、平面視において、ストライプ形状とされる、半導体装置の製造方法。
  16. 請求項14において、
    前記シリコン基板は、平面視において、前記n型エミッタ層、前記p型ベース層、前記トレンチゲート、前記トレンチエミッタ、前記p型フローティング層および前記n型ホールバリア層を含むセル形成領域と、前記セル形成領域を囲む様に設けられた周辺領域と、を含み、
    前記第1転位抑制層は、平面視において、前記周辺領域の下側に設けられ、
    前記第2転位抑制層は、平面視において、前記セル形成領域の下側に設けられる、半導体装置の製造方法。
JP2020148586A 2020-09-03 2020-09-03 半導体装置およびその製造方法 Active JP7541454B2 (ja)

Priority Applications (3)

Application Number Priority Date Filing Date Title
JP2020148586A JP7541454B2 (ja) 2020-09-03 2020-09-03 半導体装置およびその製造方法
US17/405,648 US11876127B2 (en) 2020-09-03 2021-08-18 Semiconductor device and method of manufacturing the same
CN202111019390.3A CN114141854A (zh) 2020-09-03 2021-09-01 半导体器件及其制造方法

Applications Claiming Priority (1)

Application Number Priority Date Filing Date Title
JP2020148586A JP7541454B2 (ja) 2020-09-03 2020-09-03 半導体装置およびその製造方法

Publications (2)

Publication Number Publication Date
JP2022042904A JP2022042904A (ja) 2022-03-15
JP7541454B2 true JP7541454B2 (ja) 2024-08-28

Family

ID=80357091

Family Applications (1)

Application Number Title Priority Date Filing Date
JP2020148586A Active JP7541454B2 (ja) 2020-09-03 2020-09-03 半導体装置およびその製造方法

Country Status (3)

Country Link
US (1) US11876127B2 (ja)
JP (1) JP7541454B2 (ja)
CN (1) CN114141854A (ja)

Families Citing this family (4)

* Cited by examiner, † Cited by third party
Publication number Priority date Publication date Assignee Title
CN116404039B (zh) * 2023-06-08 2023-10-31 安建科技(深圳)有限公司 一种功率半导体器件及其制造方法
CN119230600B (zh) * 2023-06-29 2025-10-17 上海鼎阳通半导体科技有限公司 Fs-igbt器件及其制造方法
CN119230601B (zh) * 2023-06-29 2025-10-10 上海鼎阳通半导体科技有限公司 Fs-igbt器件及其制造方法
CN119230599B (zh) * 2023-06-29 2025-10-10 上海鼎阳通半导体科技有限公司 Fs-igbt器件及其制造方法

Citations (8)

* Cited by examiner, † Cited by third party
Publication number Priority date Publication date Assignee Title
JP2000058819A (ja) 1998-08-06 2000-02-25 Mitsubishi Electric Corp 電力用半導体装置
JP2004039893A (ja) 2002-07-04 2004-02-05 Toyota Central Res & Dev Lab Inc 異種材料を利用した半導体装置
JP2011066341A (ja) 2009-09-18 2011-03-31 Toyota Motor Corp 半導体装置の製造方法
CN105552121A (zh) 2016-02-14 2016-05-04 西安工程大学 基于锗硅集电区的igbt结构
JP2017022311A (ja) 2015-07-14 2017-01-26 ルネサスエレクトロニクス株式会社 半導体装置
JP2017034040A (ja) 2015-07-30 2017-02-09 ルネサスエレクトロニクス株式会社 半導体装置
JP2019140186A (ja) 2018-02-07 2019-08-22 株式会社東芝 半導体装置、基板、半導体装置の製造方法、及び、基板の製造方法。
JP2020115550A (ja) 2016-03-28 2020-07-30 ローム株式会社 半導体装置および半導体装置の製造方法

Family Cites Families (6)

* Cited by examiner, † Cited by third party
Publication number Priority date Publication date Assignee Title
JP2576574B2 (ja) * 1988-03-10 1997-01-29 富士通株式会社 バイポーラトランジスタ
JP2007005723A (ja) * 2005-06-27 2007-01-11 Toshiba Corp 半導体装置
JP6311723B2 (ja) * 2013-12-16 2018-04-18 富士電機株式会社 半導体装置および半導体装置の製造方法
CN105521210A (zh) 2014-10-27 2016-04-27 王涛 一种用于滋阴益气的中药配方
JP6624973B2 (ja) 2016-03-03 2019-12-25 ルネサスエレクトロニクス株式会社 半導体装置
JP6673502B2 (ja) * 2016-12-08 2020-03-25 富士電機株式会社 半導体装置

Patent Citations (8)

* Cited by examiner, † Cited by third party
Publication number Priority date Publication date Assignee Title
JP2000058819A (ja) 1998-08-06 2000-02-25 Mitsubishi Electric Corp 電力用半導体装置
JP2004039893A (ja) 2002-07-04 2004-02-05 Toyota Central Res & Dev Lab Inc 異種材料を利用した半導体装置
JP2011066341A (ja) 2009-09-18 2011-03-31 Toyota Motor Corp 半導体装置の製造方法
JP2017022311A (ja) 2015-07-14 2017-01-26 ルネサスエレクトロニクス株式会社 半導体装置
JP2017034040A (ja) 2015-07-30 2017-02-09 ルネサスエレクトロニクス株式会社 半導体装置
CN105552121A (zh) 2016-02-14 2016-05-04 西安工程大学 基于锗硅集电区的igbt结构
JP2020115550A (ja) 2016-03-28 2020-07-30 ローム株式会社 半導体装置および半導体装置の製造方法
JP2019140186A (ja) 2018-02-07 2019-08-22 株式会社東芝 半導体装置、基板、半導体装置の製造方法、及び、基板の製造方法。

Also Published As

Publication number Publication date
CN114141854A (zh) 2022-03-04
JP2022042904A (ja) 2022-03-15
US20220069111A1 (en) 2022-03-03
US11876127B2 (en) 2024-01-16

Similar Documents

Publication Publication Date Title
JP6119577B2 (ja) 半導体装置
JP7541454B2 (ja) 半導体装置およびその製造方法
US10998432B2 (en) Semiconductor device and method of manufacturing the same
JP4403366B2 (ja) 半導体装置およびその製造方法
US9614106B2 (en) Semiconductor device
US9054154B2 (en) Semiconductor device
US10115793B2 (en) Semiconductor device
US7759711B2 (en) Semiconductor device with substrate having increased resistance due to lattice defect and method for fabricating the same
US12166111B2 (en) Reverse conducting IGBT with controlled anode injection
JP4840551B2 (ja) Mosトランジスタ
KR100880231B1 (ko) 반도체 소자 및 그의 제조 방법
JP4910894B2 (ja) 半導体装置の製造方法および半導体装置
US10134887B2 (en) Semiconductor device and manufacturing method thereof
CN114391184B (zh) 半导体装置以及电力转换装置
JP3935343B2 (ja) 絶縁ゲート型バイポーラトランジスタ及びその製造方法
JP7488153B2 (ja) 半導体装置およびその製造方法
WO2025192748A1 (ja) 半導体装置
JP2009158643A (ja) 半導体装置
JP2020004864A (ja) 半導体装置

Legal Events

Date Code Title Description
A621 Written request for application examination

Free format text: JAPANESE INTERMEDIATE CODE: A621

Effective date: 20230105

A977 Report on retrieval

Free format text: JAPANESE INTERMEDIATE CODE: A971007

Effective date: 20231031

A131 Notification of reasons for refusal

Free format text: JAPANESE INTERMEDIATE CODE: A131

Effective date: 20231114

A521 Request for written amendment filed

Free format text: JAPANESE INTERMEDIATE CODE: A523

Effective date: 20240110

A131 Notification of reasons for refusal

Free format text: JAPANESE INTERMEDIATE CODE: A131

Effective date: 20240409

A521 Request for written amendment filed

Free format text: JAPANESE INTERMEDIATE CODE: A523

Effective date: 20240522

TRDD Decision of grant or rejection written
A01 Written decision to grant a patent or to grant a registration (utility model)

Free format text: JAPANESE INTERMEDIATE CODE: A01

Effective date: 20240806

A61 First payment of annual fees (during grant procedure)

Free format text: JAPANESE INTERMEDIATE CODE: A61

Effective date: 20240816

R150 Certificate of patent or registration of utility model

Ref document number: 7541454

Country of ref document: JP

Free format text: JAPANESE INTERMEDIATE CODE: R150