JP7536601B2 - 研磨ヘッドおよび研磨装置 - Google Patents

研磨ヘッドおよび研磨装置 Download PDF

Info

Publication number
JP7536601B2
JP7536601B2 JP2020184268A JP2020184268A JP7536601B2 JP 7536601 B2 JP7536601 B2 JP 7536601B2 JP 2020184268 A JP2020184268 A JP 2020184268A JP 2020184268 A JP2020184268 A JP 2020184268A JP 7536601 B2 JP7536601 B2 JP 7536601B2
Authority
JP
Japan
Prior art keywords
elastic membrane
polishing
side wall
support portions
pressure chamber
Prior art date
Legal status (The legal status is an assumption and is not a legal conclusion. Google has not performed a legal analysis and makes no representation as to the accuracy of the status listed.)
Active
Application number
JP2020184268A
Other languages
English (en)
Other versions
JP2022074321A (ja
Inventor
裕一 加藤
治 鍋谷
Current Assignee (The listed assignees may be inaccurate. Google has not performed a legal analysis and makes no representation or warranty as to the accuracy of the list.)
Ebara Corp
Original Assignee
Ebara Corp
Priority date (The priority date is an assumption and is not a legal conclusion. Google has not performed a legal analysis and makes no representation as to the accuracy of the date listed.)
Filing date
Publication date
Application filed by Ebara Corp filed Critical Ebara Corp
Priority to JP2020184268A priority Critical patent/JP7536601B2/ja
Priority to TW110139198A priority patent/TW202233359A/zh
Priority to KR1020210144349A priority patent/KR102803187B1/ko
Priority to US17/511,944 priority patent/US11752590B2/en
Priority to CN202111281272.XA priority patent/CN114434316A/zh
Publication of JP2022074321A publication Critical patent/JP2022074321A/ja
Application granted granted Critical
Publication of JP7536601B2 publication Critical patent/JP7536601B2/ja
Active legal-status Critical Current
Anticipated expiration legal-status Critical

Links

Images

Classifications

    • BPERFORMING OPERATIONS; TRANSPORTING
    • B24GRINDING; POLISHING
    • B24BMACHINES, DEVICES, OR PROCESSES FOR GRINDING OR POLISHING; DRESSING OR CONDITIONING OF ABRADING SURFACES; FEEDING OF GRINDING, POLISHING, OR LAPPING AGENTS
    • B24B37/00Lapping machines or devices; Accessories
    • B24B37/27Work carriers
    • B24B37/30Work carriers for single side lapping of plane surfaces
    • B24B37/32Retaining rings
    • BPERFORMING OPERATIONS; TRANSPORTING
    • B24GRINDING; POLISHING
    • B24BMACHINES, DEVICES, OR PROCESSES FOR GRINDING OR POLISHING; DRESSING OR CONDITIONING OF ABRADING SURFACES; FEEDING OF GRINDING, POLISHING, OR LAPPING AGENTS
    • B24B37/00Lapping machines or devices; Accessories
    • B24B37/11Lapping tools
    • B24B37/20Lapping pads for working plane surfaces
    • BPERFORMING OPERATIONS; TRANSPORTING
    • B24GRINDING; POLISHING
    • B24BMACHINES, DEVICES, OR PROCESSES FOR GRINDING OR POLISHING; DRESSING OR CONDITIONING OF ABRADING SURFACES; FEEDING OF GRINDING, POLISHING, OR LAPPING AGENTS
    • B24B37/00Lapping machines or devices; Accessories
    • B24B37/04Lapping machines or devices; Accessories designed for working plane surfaces
    • B24B37/07Lapping machines or devices; Accessories designed for working plane surfaces characterised by the movement of the work or lapping tool
    • B24B37/10Lapping machines or devices; Accessories designed for working plane surfaces characterised by the movement of the work or lapping tool for single side lapping
    • BPERFORMING OPERATIONS; TRANSPORTING
    • B24GRINDING; POLISHING
    • B24BMACHINES, DEVICES, OR PROCESSES FOR GRINDING OR POLISHING; DRESSING OR CONDITIONING OF ABRADING SURFACES; FEEDING OF GRINDING, POLISHING, OR LAPPING AGENTS
    • B24B37/00Lapping machines or devices; Accessories
    • B24B37/27Work carriers
    • B24B37/30Work carriers for single side lapping of plane surfaces
    • BPERFORMING OPERATIONS; TRANSPORTING
    • B24GRINDING; POLISHING
    • B24BMACHINES, DEVICES, OR PROCESSES FOR GRINDING OR POLISHING; DRESSING OR CONDITIONING OF ABRADING SURFACES; FEEDING OF GRINDING, POLISHING, OR LAPPING AGENTS
    • B24B37/00Lapping machines or devices; Accessories
    • B24B37/34Accessories
    • HELECTRICITY
    • H01ELECTRIC ELEMENTS
    • H01LSEMICONDUCTOR DEVICES NOT COVERED BY CLASS H10
    • H01L21/00Processes or apparatus adapted for the manufacture or treatment of semiconductor or solid state devices or of parts thereof
    • H01L21/67Apparatus specially adapted for handling semiconductor or electric solid state devices during manufacture or treatment thereof; Apparatus specially adapted for handling wafers during manufacture or treatment of semiconductor or electric solid state devices or components ; Apparatus not specifically provided for elsewhere
    • H01L21/67005Apparatus not specifically provided for elsewhere
    • H01L21/67011Apparatus for manufacture or treatment
    • H01L21/67092Apparatus for mechanical treatment

Landscapes

  • Engineering & Computer Science (AREA)
  • Mechanical Engineering (AREA)
  • Physics & Mathematics (AREA)
  • Condensed Matter Physics & Semiconductors (AREA)
  • General Physics & Mathematics (AREA)
  • Manufacturing & Machinery (AREA)
  • Computer Hardware Design (AREA)
  • Microelectronics & Electronic Packaging (AREA)
  • Power Engineering (AREA)
  • Finish Polishing, Edge Sharpening, And Grinding By Specific Grinding Devices (AREA)
  • Mechanical Treatment Of Semiconductor (AREA)

Description

本発明は、ウェーハ、基板、パネルなどのワークピースを研磨パッドに押し付けて該ワークピースを研磨する研磨ヘッドに関し、特にワークピースを囲むように配置されたリテーナリングの押圧構造に関する。
化学機械研磨(CMP:Chemical Mechanical Polishing)は、シリカ(SiO)等の砥粒を含んだ研磨液を研磨パッドの研磨面上に供給しつつワークピースを研磨面に摺接させて研磨を行う技術である。図9に示すように、CMPを行うための研磨装置は、研磨パッド500を支持する研磨テーブル501と、ワークピースWを保持するための研磨ヘッド505と、研磨パッド500に研磨液を供給する研磨液ノズル508を備えている。
このような研磨装置を用いたワークピースWの研磨は次のようにして行われる。研磨テーブル501を研磨パッド500とともに回転させながら、研磨液ノズル508から研磨パッド500上に研磨液を供給する。研磨ヘッド505はワークピースWを回転させながら、該ワークピースWを研磨パッド500に対して押し付ける。ワークピースWは研磨液の存在下で研磨パッド500に摺接されながら、ワークピースWの表面は、研磨液の化学的作用と、研磨液に含まれる砥粒および研磨パッド500の機械的作用との組み合わせにより平坦化される。
ワークピースWの研磨中、ワークピースWの表面は回転する研磨パッド500に摺接されるため、ワークピースWには摩擦力が作用する。そこで、ワークピースWの研磨中にワークピースWが研磨ヘッド505から外れないようにするために、研磨ヘッド505はリテーナリング510を備えている。このリテーナリング510は、ワークピースWを囲むように配置されており、ワークピースWの研磨中、リテーナリング510は回転しながらワークピースWの外側で研磨パッド500を押し付けている。
図10は、図9に示す研磨ヘッド505の一部を示す断面図である。図10に示すように、研磨ヘッド505は、リテーナリング510を研磨パッド500に押し付けるための環状の弾性膜512を有している。弾性膜512の内側には圧力室513が形成されている。加圧気体(例えば加圧空気)が圧力室513内に供給されると、圧力室513内の流体圧力を受けた弾性膜512は、リテーナリング510を研磨パッド500に対して押圧する。したがって、ワークピースWの研磨中、リテーナリング510はワークピースWが研磨ヘッド505から飛び出すことを防止することができる。
研磨ヘッド505は、ワークピースWを研磨パッド500に対して押し付けるための弾性膜514をさらに有している。弾性膜514の内側には圧力室515が形成されている。加圧気体(例えば加圧空気)が圧力室515内に供給されると、圧力室515内の流体圧力を受けた弾性膜514は、ワークピースWを研磨パッド500に対して押圧する。したがって、ワークピースWは、研磨パッド500上に研磨液が存在した状態で、研磨パッド500と摺接される。
ワークピースWの研磨が終了すると、図11(a)に示すように、ワークピースWを保持した研磨ヘッド505は、研磨パッド500から離れ、ワークピースWとともに、所定のリリース位置まで移動される。さらに、図11(b)に示すように、圧力室513に負圧を形成し、リテーナリング510をワークピースWに対して相対的に上昇させる。そして、図11(c)に示すように、リリースノズル519から液体(例えば純水)の噴流を弾性膜514とワークピースWとの接触部分に向けて放出し、ワークピースWを弾性膜514からリリースさせる。
特開2006-128582号公報 特開2009-131946号公報
しかしながら、図12に示すように、圧力室513内に負圧を形成すると、弾性膜512の両側壁が真空によって引き寄せられて互いに接触することがある。この場合は、リテーナリング510を所定の位置まで上昇させることができず、リテーナリング510がリリースノズル519からの液体の噴流を妨げてしまう。また、弾性膜512の損傷が進みやすく、弾性膜512の寿命が短くなる。
そこで、本発明は、弾性膜により形成された圧力室内に負圧を形成したときに、弾性膜の両側壁同士の接触を防止することができる研磨ヘッドを提供する。また、本発明は、そのような研磨ヘッドを備えた研磨装置を提供する。
一態様では、ワークピースを研磨パッドに押し付けて該ワークピースを研磨するための研磨ヘッドであって、前記ワークピースを前記研磨パッドに押し付けるための第1弾性膜と、前記第1弾性膜を囲むように配置されたリテーナリングと、前記リテーナリングを前記研磨パッドに押し付けるための第2弾性膜と、前記第1弾性膜が固定されたキャリアと、前記第2弾性膜によって形成された圧力室内に配置され、かつ前記第2弾性膜を前記キャリアに固定する取り付け部材と、前記第2弾性膜を前記リテーナリングに連結する連結部材を備え、前記第2弾性膜は、前記連結部材に接続された底壁と、前記底壁に接続された側壁を有しており、前記取り付け部材は、前記側壁に沿って前記リテーナリングに向かって延びるサポート部を有している、研磨ヘッドが提供される。
一態様では、前記側壁は、互いに離れた第1側壁および第2側壁であり、前記サポート部は、前記第1側壁および前記第2側壁に沿ってそれぞれ延びる2つのサポート部であり、前記取り付け部材は、前記2つのサポート部の間に位置する窪み部を有し、前記連結部材は、該連結部材が前記取り付け部材に向かって移動したときに、前記窪み部内に収容される突起部を有している。
一態様では、前記底壁は、前記リテーナリングに向かって湾曲した断面形状を有しており、前記連結部材が前記取り付け部材に向かって移動したときに、前記サポート部の少なくとも一部は、前記湾曲した底壁内に収容される。
一態様では、前記取り付け部材は、前記サポート部に沿って前記第2弾性膜の周方向に延びる溝を有している。
一態様では、前記取り付け部材は、前記サポート部を貫通する複数の通孔を有しており、前記複数の通孔は前記第2弾性膜の周方向に沿って配列されている。
一態様では、前記サポート部の少なくとも外側の面には摩擦低減処理が施されている。
一態様では、研磨パッドを支持するための研磨テーブルと、ワークピースを前記研磨パッドに押し付けて該ワークピースを研磨するための上記研磨ヘッドを備えている、研磨装置が提供される。
本発明によれば、サポート部は、弾性膜の側壁の内側を支え、両側壁同士が接触することを防止することができる。
研磨装置の一実施形態を示す模式図である。 研磨ヘッドの断面図である。 リテーナリングおよびリテーナリング押圧機構の拡大断面図である。 第2圧力室に負圧が形成されたときのリテーナリングおよびリテーナリング押圧機構を示す拡大断面図である。 取り付け部材の他の実施形態を示す拡大断面図である。 取り付け部材のさらに他の実施形態を示す拡大断面図である。 取り付け部材のさらに他の実施形態を示す拡大断面図である。 取り付け部材のさらに他の実施形態を示す拡大断面図である。 従来の研磨装置を示す模式図である。 図9に示す研磨ヘッドの一部を示す断面図である。 図11(a)乃至図11(c)は、従来の研磨ヘッドの動作を説明する図である。 従来の研磨ヘッドの問題点を説明する図である。
以下、本発明の実施形態について図面を参照して説明する。図1は、研磨装置の一実施形態を示す模式図である。研磨装置1は、ウェーハ、基板、パネルなどワークピースWを化学機械的に研磨する装置である。図1に示すように、この研磨装置1は、研磨面2aを有する研磨パッド2を支持する研磨テーブル5と、ワークピースWを研磨面2aに対して押し付ける研磨ヘッド7と、研磨液(例えば、砥粒を含むスラリー)を研磨面2aに供給する研磨液供給ノズル8を備えている。研磨ヘッド7は、その下面にワークピースWを保持できるように構成されている。
研磨装置1は、支軸14と、支軸14の上端に連結された研磨ヘッド揺動アーム16と、研磨ヘッド揺動アーム16の自由端に回転可能に支持された研磨ヘッドシャフト18をさらに備えている。研磨ヘッド7は、研磨ヘッドシャフト18の下端に固定されている。研磨ヘッド揺動アーム16内には、電動機などを備えた研磨ヘッド回転機構(図示せず)が配置されている。この研磨ヘッド回転機構は、研磨ヘッドシャフト18に連結されており、研磨ヘッドシャフト18および研磨ヘッド7を矢印で示す方向に回転させるように構成されている。
研磨ヘッドシャフト18は、図示しない研磨ヘッド昇降機構(ボールねじ機構などを含む)に連結されている。この研磨ヘッド昇降機構は、研磨ヘッドシャフト18を研磨ヘッド揺動アーム16に対して相対的に上下動させるように構成されている。この研磨ヘッドシャフト18の上下動により、研磨ヘッド7は、矢印で示すように、研磨ヘッド揺動アーム16および研磨テーブル5に対して相対的に上下動可能となっている。
研磨装置1は、研磨パッド2および研磨テーブル5をそれらの軸心を中心に回転させるテーブル回転モータ21をさらに備えている。テーブル回転モータ21は研磨テーブル5の下方に配置されており、研磨テーブル5は、テーブル軸5aを介してテーブル回転モータ21に連結されている。研磨テーブル5および研磨パッド2は、テーブル回転モータ21によりテーブル軸5aを中心に矢印で示す方向に回転されるようになっている。研磨パッド2は、研磨テーブル5の上面に貼り付けられている。研磨パッド2の露出面は、ウェーハなどのワークピースWを研磨する研磨面2aを構成している。
ワークピースWの研磨は次のようにして行われる。ワークピースWは、その被研磨面が下を向いた状態で、研磨ヘッド7に保持される。研磨ヘッド7および研磨テーブル5をそれぞれ回転させながら、研磨テーブル5の上方に設けられた研磨液供給ノズル8から研磨液(例えば、砥粒を含むスラリー)を研磨パッド2の研磨面2a上に供給する。研磨パッド2はその中心軸線を中心に研磨テーブル5と一体に回転する。研磨ヘッド7は研磨ヘッド昇降機構(図示せず)により所定の高さまで移動される。さらに、研磨ヘッド7は上記所定の高さに維持されたまま、ワークピースWを研磨パッド2の研磨面2aに押し付ける。ワークピースWは研磨ヘッド7と一体に回転する。研磨液が研磨パッド2の研磨面2a上に存在した状態で、ワークピースWは研磨面2aに摺接される。ワークピースWの表面は、研磨液の化学的作用と、研磨液に含まれる砥粒および研磨パッド2の機械的作用との組み合わせにより、研磨される。
次に、研磨ヘッド7の詳細について説明する。図2は、研磨ヘッド7の断面図である。研磨ヘッド7は、ヘッド本体30とリテーナリング33とを備えている。ヘッド本体30は、研磨ヘッドシャフト18に連結されたキャリア35と、キャリア35の下面に取り付けられた第1弾性膜38を備えている。
第1弾性膜38の下面は押圧面38aを構成しており、この押圧面38aはワークピースWの上面(被研磨面とは反対側の面)に接触している。第1弾性膜38には複数の通孔(図示せず)が形成されている。キャリア35と第1弾性膜38との間には複数の第1圧力室41が形成されている。中央の第1圧力室41は円形であり、外側の第1圧力室41は環状である。これらの第1圧力室41は、第1流体ラインF1,F2,F3を通じて圧力調整装置(図示せず)に接続されている。第1圧力室41に加圧流体(例えば、加圧空気)が供給されると、第1圧力室41内の流体圧力を受けた第1弾性膜38の押圧面38aは、ワークピースWを研磨パッド2の研磨面2aに対して押圧する。第1圧力室41内に負圧が形成されると、ワークピースWは第1弾性膜38の押圧面38aに真空吸引により保持される。第1圧力室41の数は、図2に示す実施形態に限られない。一実施形態では、単一の第1圧力室41がキャリア35と第1弾性膜38との間に設けられてもよい。
リテーナリング33は、ワークピースWおよび第1弾性膜38を囲むように配置されている。より具体的には、リテーナリング33は、ワークピースWの外周縁および第1弾性膜38の押圧面38aを囲むように配置されている。リテーナリング33の上部は、環状のリテーナリング押圧機構45に連結されている。このリテーナリング押圧機構45は、リテーナリング33の上面の全体に均一な下向きの荷重を与え、リテーナリング33の下面を研磨パッド2の研磨面2aに対して押圧するように構成されている。
リテーナリング押圧機構45は、リテーナリング33の上部に固定された連結部材47と、連結部材47に接続された環状の第2弾性膜50と、第2弾性膜50をキャリア35に取り付ける取り付け部材53を備えている。連結部材47の具体的構成は特に限定されず、連結部材47は、上側リテーナリングであってもよい。第2弾性膜50の内部には第2圧力室58が形成されている。この第2圧力室58は第2流体ラインF4を通じて圧力調整装置(図示せず)に接続されている。取り付け部材53は、第2圧力室58内に配置されている。第2流体ラインF4は、取り付け部材53を貫通して延びており、第2圧力室58に連通している。本実施形態では、取り付け部材53は、リテーナリング33に沿って延びる環状である。
第2圧力室58に加圧流体(例えば、加圧空気)が第2流体ラインF4を通じて供給されると、第2圧力室58内の流体圧力を受けた第2弾性膜50は、連結部材47を下方に押し下げ、さらに、連結部材47はリテーナリング33の全体を下方に押し下げる。このようにして、リテーナリング押圧機構45は、リテーナリング33の下面を研磨パッド2の研磨面2aに対して押圧する。
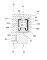
図3は、リテーナリング33およびリテーナリング押圧機構45の拡大断面図である。図3に示すように、第2弾性膜50は、2つの側壁50A,50Bと、一方の側壁50Aに接続された底壁50Cと、他方の側壁50Bに接続された底壁50Dを有している。側壁50Aは、他方の側壁50Bの内側に位置しており、底壁50Cは、他方の底壁50Dの内側に位置している。第2弾性膜50の上端、すなわち2つの側壁50A,50Bの上端は、取り付け部材53によってキャリア35に固定されている。取り付け部材53は、図示しないねじによってキャリア35に固定される。連結部材47は、2つの底壁50C,50Dに接続されている。連結部材47は可動部材であり、第2圧力室58内の圧力に応じて上下動する。連結部材47は、取り付け部材53に向かって突出する(すなわち上方に突出する)突出部47aを有している。
本実施形態における第2弾性膜50は、下方に湾曲した断面を有する2つの底壁50C,50Dを有するローリングダイヤフラムである。このローリングダイヤフラム型の第2弾性膜50は、第2圧力室58内の圧力の変化に応じて、第2弾性膜50が連結部材47およびキャリア35の内面に擦れることなく、第2弾性膜50が滑らかに変形できるという利点がある。ただし、第2弾性膜50は、本実施形態の形状に限定されず、下方に湾曲した底壁を持たない非ローリングダイヤフラム型であってもよい。
取り付け部材53は、2つの側壁50A,50Bに沿ってリテーナリング33に向かって突出する2つのサポート部54A,54Bを有している。これらサポート部54A,54Bは、下方に延びており、第2圧力室58内に位置している。サポート部54A,54Bは互いに離れており、サポート部54A,54Bの間には、窪み部55が形成されている。本実施形態の窪み部55は環状である。この窪み部55は、連結部材47の突出部47aの幅よりも大きな幅を有している。取り付け部材53の材料の例としては、金属(例えばステンレス鋼)、硬質の樹脂、セラミックなどが挙げられる。
サポート部54A,54Bは、2つの側壁50A,50Bの内面に沿って延びている。第2圧力室58内に加圧流体(例えば加圧気体)が供給されたとき、サポート部54A,54Bは、2つの側壁50A,50Bの内面に接触してもよく、または離れてもよい。サポート部54A,54Bは、第2圧力室58内に負圧が形成されたときに、これら側壁50A,50Bを内側から支えることができる。すなわち、図4に示すように、第2圧力室58内に負圧が形成されたとき、側壁50A,50Bは負圧によって互いに近づく方向に引き寄せられる一方で、サポート部54A,54Bにより側壁50A,50Bの内側への移動が制限される。結果として、サポート部54A,54Bは、2つの側壁50A,50Bが互いに接触することを防止することができる。
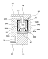
さらに、本実施形態によれば、図4に示すように、第2圧力室58内に負圧が形成されると、連結部材47が取り付け部材53に向かって移動し(すなわち上昇し)、連結部材47の突出部47aが取り付け部材53の窪み部55内に収容される。同時に、サポート部54A,54Bの下部は、下方に湾曲した底壁50C,50D内にそれぞれ収容される。したがって、連結部材47およびリテーナリング33の大きなストローク(すなわち、長い移動距離)が確保される。リテーナリング33は、第1弾性膜38とワークピースWとの接触部分よりも高い位置まで上昇することができる。したがって、リリースノズル60は、液体(例えば純水)の噴流を第1弾性膜38とワークピースWとの接触部分に向けて放出して、ワークピースWを第1弾性膜38からリリースさせることができる。さらに、サポート部54A,54Bは、第2弾性膜50の側壁50A,50Bが大きく変形することを防ぐことができるので、第2弾性膜50の寿命を長くすることができる。
図5は、取り付け部材53の他の実施形態を示す拡大断面図である。特に説明しない本実施形態の構成は、図1乃至図4を参照して説明した実施形態と同じであるので、その重複する説明を省略する。図5に示すように、取り付け部材53は、サポート部54A,54Bに沿って第2弾性膜50の周方向に延びる溝62A,62Bを有している。本実施形態では、環状の2つの溝62A,62Bが2つのサポート部54A,54Bの内側に沿って延びている。これらの溝62A,62Bは、第2流体ラインF4を通じて第2圧力室58内の気体を排気したときに、環状の第2圧力室58の全体に速やかに負圧を形成することができる。したがって、リテーナリング33の全体が滑らかにかつ速やかに上昇することができる。
図5に示す実施形態では、溝62A,62Bはサポート部54A,54Bの上端に沿って形成されている。しかしながら、溝62A,62Bの位置は、図5に示す実施形態に限られない。例えば、図6に示すように、溝62A,62Bは、サポート部54A,54Bの上端と下端との間に位置してもよい。
一実施形態では、図7に示すように、溝62A,62Bは、サポート部54A,54Bの外側(外面)に形成されてもよい。図7に示す実施形態では、環状の2つの溝62A,62Bが2つのサポート部54A,54Bの外側に沿って延びている。第2圧力室58内に加圧流体(例えば加圧空気)を供給したときに、加圧流体は溝62A,62Bに流入し、第2弾性膜50の側壁50A,50Bをサポート部54A,54Bから離すように側壁50A,50Bに作用する。結果として、第2弾性膜50は第2圧力室58内の圧力に応じて滑らかに変形することができ、リテーナリング33を滑らかに移動させることができる。一実施形態では、取り付け部材53は、図5または図6に示す溝(第1溝)62A,62Bと、図7に示す溝(第2溝)62A,62Bの両方を備えてもよい。
図8は、取り付け部材53の他の実施形態を示す拡大断面図である。特に説明しない本実施形態の構成は、図1乃至図4を参照して説明した実施形態と同じであるので、その重複する説明を省略する。図8に示すように、取り付け部材53は、サポート部54A,54Bを貫通する複数の通孔63A,63Bを有している。図8では、サポート部54Aに形成された1つの通孔63Aと、サポート部54Bに形成された1つの通孔63Bのみが描かれているが、複数の通孔63A,63Bは第2弾性膜50の周方向に沿って配列されている。各通孔63A,63Bは、サポート部54A,54Bを第2弾性膜50の半径方向に貫通している。
図7を参照して説明した実施形態と同じように、第2圧力室58内に加圧流体(例えば加圧空気)を供給したときに、加圧流体は複数の通孔63A,63Bに流入し、第2弾性膜50の側壁50A,50Bをサポート部54A,54Bから離すように側壁50A,50Bに作用する。結果として、第2弾性膜50は第2圧力室58内の圧力に応じて滑らかに変形することができ、リテーナリング33を滑らかに移動させることができる。一実施形態では、取り付け部材53は、図5または図6に示す溝62A,62Bと、図8に示す複数の通孔63A,63Bの両方を備えてもよい。
図2乃至図8に示す各実施形態において、サポート部54A,54Bの少なくとも外側の面に摩擦低減処理を施してもよい。摩擦低減処理は、サポート部54A,54Bと第2弾性膜50との摩擦を低減させることができる処理である。摩擦低減処理の例としては、フッ素樹脂(例えばポリテトラフルオロエチレン)によるサポート部54A,54Bの被覆、サポート部54A,54Bの表面の粗面加工(例えば、ブラスト処理、エンボス加工)が挙げられる。
摩擦低減処理が施されたサポート部54A,54Bは、第2弾性膜50が第2圧力室58内の圧力に応じて滑らかに変形することを可能とする。結果として、リテーナリング33を滑らかに移動させることができる。
上述した実施形態は、本発明が属する技術分野における通常の知識を有する者が本発明を実施できることを目的として記載されたものである。上記実施形態の種々の変形例は、当業者であれば当然になしうることであり、本発明の技術的思想は他の実施形態にも適用しうる。したがって、本発明は、記載された実施形態に限定されることはなく、特許請求の範囲によって定義される技術的思想に従った最も広い範囲に解釈されるものである。
1 研磨装置
2 研磨パッド
2a 研磨面
5 研磨テーブル
7 研磨ヘッド
8 研磨液供給ノズル
14 支軸
16 研磨ヘッド揺動アーム
18 研磨ヘッドシャフト
21 テーブル回転モータ
30 ヘッド本体
33 リテーナリング
35 キャリア
38 第1弾性膜
38a 押圧面
41 第1圧力室
45 リテーナリング押圧機構
47 連結部材
47a 突出部
50 第2弾性膜
50A,50B 側壁
50C,50D 底壁
53 取り付け部材
54A,54B サポート部
55 窪み部
58 第2圧力室
62A,62B 溝
63A,63B 通孔
F1,F2,F3 第1流体ライン
F4 第2流体ライン

Claims (4)

  1. ワークピースを研磨パッドに押し付けて該ワークピースを研磨するための研磨ヘッドであって、
    前記ワークピースを前記研磨パッドに押し付けるための第1弾性膜と、
    前記第1弾性膜を囲むように配置されたリテーナリングと、
    前記リテーナリングを前記研磨パッドに押し付けるための第2弾性膜と、
    前記第1弾性膜が固定されたキャリアと、
    前記第2弾性膜によって形成された圧力室内に配置され、かつ前記第2弾性膜を前記キャリアに固定する取り付け部材と、
    前記第2弾性膜を前記リテーナリングに連結する連結部材を備え、
    前記第2弾性膜は、
    前記連結部材に接続された底壁と、
    前記底壁に接続され、互いに離れた第1側壁および第2側壁を有しており、
    前記取り付け部材は、前記圧力室内に負圧が形成されたときに、前記第1側壁および前記第2側壁をその内側から支える2つのサポート部を有しており、
    前記2つのサポート部は、前記第1側壁および前記第2側壁に沿って前記リテーナリングに向かって延び、
    前記2つのサポート部は互いに離れており、前記2つのサポート部の間には窪み部が形成されており、
    前記連結部材は、該連結部材が前記取り付け部材に向かって移動したときに、前記窪み部内に収容される突起部を有しており、
    前記2つのサポート部および前記窪み部は、前記圧力室内に位置しており、
    前記取り付け部材は、前記2つのサポート部に沿って前記第2弾性膜の周方向に延びる2つの環状の溝を有しており、前記2つの環状の溝は前記圧力室に連通している、研磨ヘッド。
  2. ワークピースを研磨パッドに押し付けて該ワークピースを研磨するための研磨ヘッドであって、
    前記ワークピースを前記研磨パッドに押し付けるための第1弾性膜と、
    前記第1弾性膜を囲むように配置されたリテーナリングと、
    前記リテーナリングを前記研磨パッドに押し付けるための第2弾性膜と、
    前記第1弾性膜が固定されたキャリアと、
    前記第2弾性膜によって形成された圧力室内に配置され、かつ前記第2弾性膜を前記キャリアに固定する取り付け部材と、
    前記第2弾性膜を前記リテーナリングに連結する連結部材を備え、
    前記第2弾性膜は、
    前記連結部材に接続された底壁と、
    前記底壁に接続され、互いに離れた第1側壁および第2側壁を有しており、
    前記取り付け部材は、前記圧力室内に負圧が形成されたときに、前記第1側壁および前記第2側壁をその内側から支える2つのサポート部を有しており、
    前記2つのサポート部は、前記第1側壁および前記第2側壁に沿って前記リテーナリングに向かって延び、
    前記2つのサポート部は互いに離れており、前記2つのサポート部の間には窪み部が形成されており、
    前記連結部材は、該連結部材が前記取り付け部材に向かって移動したときに、前記窪み部内に収容される突起部を有しており、
    前記2つのサポート部および前記窪み部は、前記圧力室内に位置しており、
    前記取り付け部材は、前記2つのサポート部のそれぞれを貫通する複数の通孔を有しており、前記複数の通孔は前記第2弾性膜の周方向に沿って配列されており、前記複数の通孔は前記圧力室に連通している、研磨ヘッド。
  3. ワークピースを研磨パッドに押し付けて該ワークピースを研磨するための研磨ヘッドであって、
    前記ワークピースを前記研磨パッドに押し付けるための第1弾性膜と、
    前記第1弾性膜を囲むように配置されたリテーナリングと、
    前記リテーナリングを前記研磨パッドに押し付けるための第2弾性膜と、
    前記第1弾性膜が固定されたキャリアと、
    前記第2弾性膜によって形成された圧力室内に配置され、かつ前記第2弾性膜を前記キャリアに固定する取り付け部材と、
    前記第2弾性膜を前記リテーナリングに連結する連結部材を備え、
    前記第2弾性膜は、
    前記連結部材に接続された底壁と、
    前記底壁に接続され、互いに離れた第1側壁および第2側壁を有しており、
    前記取り付け部材は、前記圧力室内に負圧が形成されたときに、前記第1側壁および前記第2側壁をその内側から支える2つのサポート部を有しており、
    前記2つのサポート部は、前記第1側壁および前記第2側壁に沿って前記リテーナリングに向かって延び、
    前記2つのサポート部は互いに離れており、前記2つのサポート部の間には窪み部が形成されており、
    前記連結部材は、該連結部材が前記取り付け部材に向かって移動したときに、前記窪み部内に収容される突起部を有しており、
    前記2つのサポート部および前記窪み部は、前記圧力室内に位置しており、
    前記2つのサポート部の少なくとも外側の面には摩擦低減処理が施されている、研磨ヘッド。
  4. 研磨パッドを支持するための研磨テーブルと、
    ワークピースを前記研磨パッドに押し付けて該ワークピースを研磨するための、請求項1乃至のいずれか一項に記載の研磨ヘッドを備えている、研磨装置。
JP2020184268A 2020-11-04 2020-11-04 研磨ヘッドおよび研磨装置 Active JP7536601B2 (ja)

Priority Applications (5)

Application Number Priority Date Filing Date Title
JP2020184268A JP7536601B2 (ja) 2020-11-04 2020-11-04 研磨ヘッドおよび研磨装置
TW110139198A TW202233359A (zh) 2020-11-04 2021-10-22 研磨頭及研磨裝置
KR1020210144349A KR102803187B1 (ko) 2020-11-04 2021-10-27 연마 헤드 및 연마 장치
US17/511,944 US11752590B2 (en) 2020-11-04 2021-10-27 Polishing head and polishing apparatus
CN202111281272.XA CN114434316A (zh) 2020-11-04 2021-11-01 研磨头及研磨装置

Applications Claiming Priority (1)

Application Number Priority Date Filing Date Title
JP2020184268A JP7536601B2 (ja) 2020-11-04 2020-11-04 研磨ヘッドおよび研磨装置

Publications (2)

Publication Number Publication Date
JP2022074321A JP2022074321A (ja) 2022-05-18
JP7536601B2 true JP7536601B2 (ja) 2024-08-20

Family

ID=81362244

Family Applications (1)

Application Number Title Priority Date Filing Date
JP2020184268A Active JP7536601B2 (ja) 2020-11-04 2020-11-04 研磨ヘッドおよび研磨装置

Country Status (5)

Country Link
US (1) US11752590B2 (ja)
JP (1) JP7536601B2 (ja)
KR (1) KR102803187B1 (ja)
CN (1) CN114434316A (ja)
TW (1) TW202233359A (ja)

Citations (4)

* Cited by examiner, † Cited by third party
Publication number Priority date Publication date Assignee Title
JP2006159392A (ja) 2004-12-10 2006-06-22 Ebara Corp 基板保持装置および研磨装置
JP2008147646A (ja) 2006-11-22 2008-06-26 Applied Materials Inc 保持リング及びキャリアリングを持つキャリアヘッド
JP2013082069A (ja) 2008-02-13 2013-05-09 Ebara Corp 研磨装置
JP2022546273A (ja) 2019-08-22 2022-11-04 アプライド マテリアルズ インコーポレイテッド 化学機械研磨のための二重膜キャリアヘッド

Family Cites Families (19)

* Cited by examiner, † Cited by third party
Publication number Priority date Publication date Assignee Title
US5964653A (en) * 1997-07-11 1999-10-12 Applied Materials, Inc. Carrier head with a flexible membrane for a chemical mechanical polishing system
DE10009656B4 (de) * 2000-02-24 2005-12-08 Siltronic Ag Verfahren zur Herstellung einer Halbleiterscheibe
KR100470227B1 (ko) * 2001-06-07 2005-02-05 두산디앤디 주식회사 화학기계적 연마장치의 캐리어 헤드
US20030124963A1 (en) * 2001-12-27 2003-07-03 Applied Materials, Inc. Carrier head with a non-stick membrane
JP2006324413A (ja) * 2005-05-18 2006-11-30 Ebara Corp 基板保持装置および研磨装置
JP4597634B2 (ja) 2004-11-01 2010-12-15 株式会社荏原製作所 トップリング、基板の研磨装置及び研磨方法
US8454413B2 (en) * 2005-12-29 2013-06-04 Applied Materials, Inc. Multi-chamber carrier head with a textured membrane
JP5464820B2 (ja) 2007-10-29 2014-04-09 株式会社荏原製作所 研磨装置
JP2009131920A (ja) * 2007-11-29 2009-06-18 Ebara Corp 研磨装置及び方法
US20110104997A1 (en) * 2009-11-03 2011-05-05 Jeong In-Kwon Apparatuses and methods for polishing and cleaning semiconductor wafers
US20120021673A1 (en) * 2010-07-20 2012-01-26 Applied Materials, Inc. Substrate holder to reduce substrate edge stress during chemical mechanical polishing
JP6073222B2 (ja) * 2010-08-06 2017-02-01 アプライド マテリアルズ インコーポレイテッドApplied Materials,Incorporated 保定リングを用いた基板縁部調整
JP5677004B2 (ja) * 2010-09-30 2015-02-25 株式会社荏原製作所 研磨装置および方法
TWI639485B (zh) * 2012-01-31 2018-11-01 日商荏原製作所股份有限公司 Substrate holding device, polishing device, and polishing method
JP5875950B2 (ja) * 2012-06-29 2016-03-02 株式会社荏原製作所 基板保持装置および研磨装置
KR102160328B1 (ko) * 2017-02-01 2020-09-25 강준모 화학기계적연마장치용 캐리어헤드
CN111266993B (zh) * 2018-12-05 2023-06-30 凯斯科技股份有限公司 化学机械式研磨装置用承载头的卡环及具备其的承载头
KR20200087982A (ko) * 2019-01-14 2020-07-22 주식회사 케이씨텍 화학 기계적 연마 장치용 캐리어 헤드의 리테이너 링 및 이를 구비한 캐리어 헤드
US11623321B2 (en) * 2020-10-14 2023-04-11 Applied Materials, Inc. Polishing head retaining ring tilting moment control

Patent Citations (4)

* Cited by examiner, † Cited by third party
Publication number Priority date Publication date Assignee Title
JP2006159392A (ja) 2004-12-10 2006-06-22 Ebara Corp 基板保持装置および研磨装置
JP2008147646A (ja) 2006-11-22 2008-06-26 Applied Materials Inc 保持リング及びキャリアリングを持つキャリアヘッド
JP2013082069A (ja) 2008-02-13 2013-05-09 Ebara Corp 研磨装置
JP2022546273A (ja) 2019-08-22 2022-11-04 アプライド マテリアルズ インコーポレイテッド 化学機械研磨のための二重膜キャリアヘッド

Also Published As

Publication number Publication date
US11752590B2 (en) 2023-09-12
CN114434316A (zh) 2022-05-06
US20220134506A1 (en) 2022-05-05
JP2022074321A (ja) 2022-05-18
KR20220060481A (ko) 2022-05-11
KR102803187B1 (ko) 2025-05-07
TW202233359A (zh) 2022-09-01

Similar Documents

Publication Publication Date Title
US6277010B1 (en) Carrier head with a flexible membrane for a chemical mechanical polishing system
US7001260B2 (en) Carrier head with a compressible film
US9815171B2 (en) Substrate holder, polishing apparatus, polishing method, and retaining ring
US6450868B1 (en) Carrier head with multi-part flexible membrane
JP4427191B2 (ja) 化学機械研磨用可撓メンブレン付キャリアヘッド
US6165058A (en) Carrier head for chemical mechanical polishing
US6872130B1 (en) Carrier head with non-contact retainer
US6361419B1 (en) Carrier head with controllable edge pressure
JP2001054854A (ja) 加圧可能な袋状部を有するキャリアヘッド
KR20160013461A (ko) 캐리어 헤드 및 화학적 기계식 연마 장치
JP5384992B2 (ja) 研磨装置に用いる基板保持ヘッド
JP7536601B2 (ja) 研磨ヘッドおよび研磨装置
JPH10286758A (ja) ポリッシング装置
KR20040056634A (ko) 화학적 기계적 연마 장치
JP4907298B2 (ja) 研磨ヘッド及び研磨装置並びにワークの剥離方法
JP2023516869A (ja) 接点延長部又は調節可能な止め具を有する基板研磨装置
JP5495525B2 (ja) 研磨ヘッドにおけるウェーハ回転安定化構造
JP4313337B2 (ja) ポリッシング装置
JP2000263419A (ja) ウェーハ研磨装置及びウェーハ製造方法
JP2000263424A (ja) ウェーハ研磨装置及びウェーハ製造方法

Legal Events

Date Code Title Description
A621 Written request for application examination

Free format text: JAPANESE INTERMEDIATE CODE: A621

Effective date: 20230403

A977 Report on retrieval

Free format text: JAPANESE INTERMEDIATE CODE: A971007

Effective date: 20240124

A131 Notification of reasons for refusal

Free format text: JAPANESE INTERMEDIATE CODE: A131

Effective date: 20240305

A521 Request for written amendment filed

Free format text: JAPANESE INTERMEDIATE CODE: A523

Effective date: 20240419

TRDD Decision of grant or rejection written
A01 Written decision to grant a patent or to grant a registration (utility model)

Free format text: JAPANESE INTERMEDIATE CODE: A01

Effective date: 20240730

A61 First payment of annual fees (during grant procedure)

Free format text: JAPANESE INTERMEDIATE CODE: A61

Effective date: 20240807

R150 Certificate of patent or registration of utility model

Ref document number: 7536601

Country of ref document: JP

Free format text: JAPANESE INTERMEDIATE CODE: R150