JP7512349B2 - 回折格子の製造 - Google Patents

回折格子の製造 Download PDF

Info

Publication number
JP7512349B2
JP7512349B2 JP2022178867A JP2022178867A JP7512349B2 JP 7512349 B2 JP7512349 B2 JP 7512349B2 JP 2022178867 A JP2022178867 A JP 2022178867A JP 2022178867 A JP2022178867 A JP 2022178867A JP 7512349 B2 JP7512349 B2 JP 7512349B2
Authority
JP
Japan
Prior art keywords
substrate
angled
hard mask
mesas
forming
Prior art date
Legal status (The legal status is an assumption and is not a legal conclusion. Google has not performed a legal analysis and makes no representation as to the accuracy of the status listed.)
Active
Application number
JP2022178867A
Other languages
English (en)
Other versions
JP2023022053A (ja
Inventor
ルドヴィーク ゴデット,
ウェイン マクミラン,
ティマーマン タイセン, ラトガー マイヤー
Current Assignee (The listed assignees may be inaccurate. Google has not performed a legal analysis and makes no representation or warranty as to the accuracy of the list.)
Applied Materials Inc
Original Assignee
Applied Materials Inc
Priority date (The priority date is an assumption and is not a legal conclusion. Google has not performed a legal analysis and makes no representation as to the accuracy of the date listed.)
Filing date
Publication date
Application filed by Applied Materials Inc filed Critical Applied Materials Inc
Publication of JP2023022053A publication Critical patent/JP2023022053A/ja
Application granted granted Critical
Publication of JP7512349B2 publication Critical patent/JP7512349B2/ja
Active legal-status Critical Current
Anticipated expiration legal-status Critical

Links

Images

Classifications

    • GPHYSICS
    • G02OPTICS
    • G02BOPTICAL ELEMENTS, SYSTEMS OR APPARATUS
    • G02B5/00Optical elements other than lenses
    • G02B5/18Diffraction gratings
    • GPHYSICS
    • G02OPTICS
    • G02BOPTICAL ELEMENTS, SYSTEMS OR APPARATUS
    • G02B27/00Optical systems or apparatus not provided for by any of the groups G02B1/00 - G02B26/00, G02B30/00
    • G02B27/09Beam shaping, e.g. changing the cross-sectional area, not otherwise provided for
    • G02B27/0938Using specific optical elements
    • G02B27/0944Diffractive optical elements, e.g. gratings, holograms
    • GPHYSICS
    • G02OPTICS
    • G02BOPTICAL ELEMENTS, SYSTEMS OR APPARATUS
    • G02B5/00Optical elements other than lenses
    • G02B5/18Diffraction gratings
    • G02B5/1847Manufacturing methods
    • G02B5/1857Manufacturing methods using exposure or etching means, e.g. holography, photolithography, exposure to electron or ion beams
    • GPHYSICS
    • G02OPTICS
    • G02BOPTICAL ELEMENTS, SYSTEMS OR APPARATUS
    • G02B6/00Light guides; Structural details of arrangements comprising light guides and other optical elements, e.g. couplings
    • G02B6/10Light guides; Structural details of arrangements comprising light guides and other optical elements, e.g. couplings of the optical waveguide type
    • G02B6/12Light guides; Structural details of arrangements comprising light guides and other optical elements, e.g. couplings of the optical waveguide type of the integrated circuit kind
    • G02B6/122Basic optical elements, e.g. light-guiding paths
    • G02B6/124Geodesic lenses or integrated gratings
    • GPHYSICS
    • G02OPTICS
    • G02BOPTICAL ELEMENTS, SYSTEMS OR APPARATUS
    • G02B6/00Light guides; Structural details of arrangements comprising light guides and other optical elements, e.g. couplings
    • G02B6/10Light guides; Structural details of arrangements comprising light guides and other optical elements, e.g. couplings of the optical waveguide type
    • G02B6/12Light guides; Structural details of arrangements comprising light guides and other optical elements, e.g. couplings of the optical waveguide type of the integrated circuit kind
    • G02B6/13Integrated optical circuits characterised by the manufacturing method
    • G02B6/136Integrated optical circuits characterised by the manufacturing method by etching
    • GPHYSICS
    • G03PHOTOGRAPHY; CINEMATOGRAPHY; ANALOGOUS TECHNIQUES USING WAVES OTHER THAN OPTICAL WAVES; ELECTROGRAPHY; HOLOGRAPHY
    • G03FPHOTOMECHANICAL PRODUCTION OF TEXTURED OR PATTERNED SURFACES, e.g. FOR PRINTING, FOR PROCESSING OF SEMICONDUCTOR DEVICES; MATERIALS THEREFOR; ORIGINALS THEREFOR; APPARATUS SPECIALLY ADAPTED THEREFOR
    • G03F1/00Originals for photomechanical production of textured or patterned surfaces, e.g., masks, photo-masks, reticles; Mask blanks or pellicles therefor; Containers specially adapted therefor; Preparation thereof
    • G03F1/68Preparation processes not covered by groups G03F1/20 - G03F1/50
    • G03F1/80Etching
    • GPHYSICS
    • G03PHOTOGRAPHY; CINEMATOGRAPHY; ANALOGOUS TECHNIQUES USING WAVES OTHER THAN OPTICAL WAVES; ELECTROGRAPHY; HOLOGRAPHY
    • G03FPHOTOMECHANICAL PRODUCTION OF TEXTURED OR PATTERNED SURFACES, e.g. FOR PRINTING, FOR PROCESSING OF SEMICONDUCTOR DEVICES; MATERIALS THEREFOR; ORIGINALS THEREFOR; APPARATUS SPECIALLY ADAPTED THEREFOR
    • G03F7/00Photomechanical, e.g. photolithographic, production of textured or patterned surfaces, e.g. printing surfaces; Materials therefor, e.g. comprising photoresists; Apparatus specially adapted therefor
    • G03F7/0002Lithographic processes using patterning methods other than those involving the exposure to radiation, e.g. by stamping
    • GPHYSICS
    • G03PHOTOGRAPHY; CINEMATOGRAPHY; ANALOGOUS TECHNIQUES USING WAVES OTHER THAN OPTICAL WAVES; ELECTROGRAPHY; HOLOGRAPHY
    • G03FPHOTOMECHANICAL PRODUCTION OF TEXTURED OR PATTERNED SURFACES, e.g. FOR PRINTING, FOR PROCESSING OF SEMICONDUCTOR DEVICES; MATERIALS THEREFOR; ORIGINALS THEREFOR; APPARATUS SPECIALLY ADAPTED THEREFOR
    • G03F7/00Photomechanical, e.g. photolithographic, production of textured or patterned surfaces, e.g. printing surfaces; Materials therefor, e.g. comprising photoresists; Apparatus specially adapted therefor
    • G03F7/20Exposure; Apparatus therefor
    • G03F7/2022Multi-step exposure, e.g. hybrid; backside exposure; blanket exposure, e.g. for image reversal; edge exposure, e.g. for edge bead removal; corrective exposure
    • HELECTRICITY
    • H10SEMICONDUCTOR DEVICES; ELECTRIC SOLID-STATE DEVICES NOT OTHERWISE PROVIDED FOR
    • H10PGENERIC PROCESSES OR APPARATUS FOR THE MANUFACTURE OR TREATMENT OF DEVICES COVERED BY CLASS H10
    • H10P14/00Formation of materials, e.g. in the shape of layers or pillars
    • H10P14/60Formation of materials, e.g. in the shape of layers or pillars of insulating materials
    • H10P14/63Formation of materials, e.g. in the shape of layers or pillars of insulating materials characterised by the formation processes
    • H10P14/6326Deposition processes
    • H10P14/6328Deposition from the gas or vapour phase
    • H10P14/6329Deposition from the gas or vapour phase using physical ablation of a target, e.g. physical vapour deposition or pulsed laser deposition
    • HELECTRICITY
    • H10SEMICONDUCTOR DEVICES; ELECTRIC SOLID-STATE DEVICES NOT OTHERWISE PROVIDED FOR
    • H10PGENERIC PROCESSES OR APPARATUS FOR THE MANUFACTURE OR TREATMENT OF DEVICES COVERED BY CLASS H10
    • H10P14/00Formation of materials, e.g. in the shape of layers or pillars
    • H10P14/60Formation of materials, e.g. in the shape of layers or pillars of insulating materials
    • H10P14/63Formation of materials, e.g. in the shape of layers or pillars of insulating materials characterised by the formation processes
    • H10P14/6326Deposition processes
    • H10P14/6328Deposition from the gas or vapour phase
    • H10P14/6334Deposition from the gas or vapour phase using decomposition or reaction of gaseous or vapour phase compounds, i.e. chemical vapour deposition
    • H10P14/6339Deposition from the gas or vapour phase using decomposition or reaction of gaseous or vapour phase compounds, i.e. chemical vapour deposition deposition by cyclic CVD, e.g. ALD, ALE or pulsed CVD
    • HELECTRICITY
    • H10SEMICONDUCTOR DEVICES; ELECTRIC SOLID-STATE DEVICES NOT OTHERWISE PROVIDED FOR
    • H10PGENERIC PROCESSES OR APPARATUS FOR THE MANUFACTURE OR TREATMENT OF DEVICES COVERED BY CLASS H10
    • H10P50/00Etching of wafers, substrates or parts of devices
    • HELECTRICITY
    • H10SEMICONDUCTOR DEVICES; ELECTRIC SOLID-STATE DEVICES NOT OTHERWISE PROVIDED FOR
    • H10PGENERIC PROCESSES OR APPARATUS FOR THE MANUFACTURE OR TREATMENT OF DEVICES COVERED BY CLASS H10
    • H10P76/00Manufacture or treatment of masks on semiconductor bodies, e.g. by lithography or photolithography
    • H10P76/40Manufacture or treatment of masks on semiconductor bodies, e.g. by lithography or photolithography of masks comprising inorganic materials
    • H10P76/408Manufacture or treatment of masks on semiconductor bodies, e.g. by lithography or photolithography of masks comprising inorganic materials characterised by their sizes, orientations, dispositions, behaviours or shapes
    • H10P76/4085Manufacture or treatment of masks on semiconductor bodies, e.g. by lithography or photolithography of masks comprising inorganic materials characterised by their sizes, orientations, dispositions, behaviours or shapes characterised by the processes involved to create the masks

Landscapes

  • Physics & Mathematics (AREA)
  • General Physics & Mathematics (AREA)
  • Optics & Photonics (AREA)
  • Engineering & Computer Science (AREA)
  • Microelectronics & Electronic Packaging (AREA)
  • Manufacturing & Machinery (AREA)
  • Optical Integrated Circuits (AREA)
  • Diffracting Gratings Or Hologram Optical Elements (AREA)
  • Exposure Of Semiconductors, Excluding Electron Or Ion Beam Exposure (AREA)
  • Shaping Of Tube Ends By Bending Or Straightening (AREA)
  • Exposure And Positioning Against Photoresist Photosensitive Materials (AREA)

Description

[0001] 本開示の実施形態は、概して、種々のタイプの導波路で使用されるような光学素子構造、および光学素子構造を製造するシステムならびに方法に関する。
関連技術の説明
[0002] 導波路は、信号の拡がりを1次元または2次元に制限し、最小のエネルギー損失での信号の伝播を可能にすることによって、電磁波または音波を導く構造である。波は3次元的に伝播し、音波や電磁波などの波の生成源から伝播して離れるにつれて、波は出力を失うことがある。波が1次元または2次元で伝搬するように波を閉じ込めることによって、波の出力は保存される。導波路はこのように、波が伝搬する間、波の出力を保持する。
[0003] 導波路結合器は、複数の入力信号を受け入れ、入力信号の組み合わせである単一の出力信号を生成することによって、RF信号などの信号を組み合わせるために使用される。導波路に対する需要が増大するにつれて、例えば、光ファイバ用途、レーダ用途、科学的計装、および拡張現実において、導波路に対する需要が増大しており、現在の技術は、格子を形成するためのマスターパターンの作製およびインプリント複製の実行を包含するもので、インプリント可能な材料のみが導波路製造に使用可能である。
[0004] そのため、改良された導波路製造のシステムおよび方法が依然として必要とされている。
[0005] 本明細書に記載のシステムおよび方法は、格子を形成する方法を対象としている。一実施例では、基板をパターニングする方法は、基板の第1の面上にハードマスク層を形成することであって、基板が透明な材料から形成され、基板の幅に沿った垂直面によって規定される、ハードマスク層を形成することと、ナノインプリントリソグラフィによって、ハードマスク層上にパターニングされた層を形成することとを含む。この実施例では、本方法は、パターニングされた層およびハードマスク層をエッチングして、基板の第1の面を露出することと、パターニングされた層を除去することと、基板の第1の面をエッチングして、基板の第1の面に第1の複数の傾斜メサ(angled mesas)を形成することとをさらに含む。第1の複数の傾斜メサの各傾斜メサは、垂直面に対して20度から70度の角度でエッチングされる。さらにこの方法では、基板の第1の面をエッチングした後、ハードマスク層を除去する。
[0006] 別の実施例では、格子を形成する方法は、第1の基板の第1の面上に形成されるターゲットスタック上にハードマスク層を形成することと、ハードマスク層内の複数の開口をエッチングすることと、ターゲットスタックをエッチングして、第1の基板の第1の面上のターゲットスタック内に第1の複数の傾斜メサを形成することとを含む。第1の複数の傾斜メサの各傾斜メサは、垂直面に対して20度から70度の第1の角度でエッチングされる。
[0007] 別の実施例では、格子を形成する方法は、第1の基板の第1の面上に形成されるターゲットスタック上にハードマスク層を形成することと、ハードマスク層内の複数の開口をエッチングすることと、ターゲットスタックをエッチングして、第1の基板の第1の面上のターゲットスタック内に第1の複数の傾斜メサを形成することとを含む。複数の傾斜メサの各傾斜メサは、垂直面に対して20度から70度の角度でエッチングされる。本方法はさらに、基板の幅に沿った垂直面によって規定される第1の基板の第2の面上にハードマスク層を形成することと、ナノインプリントリソグラフィによって、ハードマスク層上にパターニングされた層を形成することとを含む。
[0008] 本開示の上述の特徴を詳細に理解しうるように、上記で簡単に要約された本開示のより具体的な説明が、実施形態を参照することによって得られ、一部の実施形態は、添付の図面に例示されている。しかしながら、添付図面は例示的な実施形態のみを示すものであり、したがって、本開示の範囲を限定すると見なすべきではなく、その他の等しく有効な実施形態も許容されうることに留意されたい。
本開示の実施形態による、透明基板上に格子構造を直接形成する方法のフロー図である。 本開示の実施形態による、格子構造の形成操作の部分概略図である。 本開示の実施形態による、格子構造の形成操作の部分概略図である。 本開示の実施形態による、格子構造の形成操作の部分概略図である。 本開示の実施形態による、格子構造の形成操作の部分概略図である。 本開示の実施形態による、格子構造の形成操作の部分概略図である。 本開示の実施形態による、格子構造の形成操作の部分概略図である。 本開示の実施形態による、透明基板上に格子構造を直接形成する方法のフロー図である。 本開示の実施形態による、格子構造の形成の部分概略図である。 本開示の実施形態による、格子構造の形成の部分概略図である。 本開示の実施形態による、格子構造の形成の部分概略図である。 本開示の実施形態による、格子構造の形成の部分概略図である。 本開示の実施形態による、格子構造の形成の部分概略図である。 本開示の実施形態による、第1の基板から第2の基板に格子構造を転写する方法である。 本開示の実施形態による、格子構造の形成の部分概略図である。 本開示の実施形態による、格子構造の形成の部分概略図である。 本開示の実施形態による、格子構造の形成の部分概略図である。 本開示の実施形態による、格子構造の形成の部分概略図である。 本開示の実施形態による、格子構造の形成の部分概略図である。 本開示の実施形態による、第1の基板から第2の基板に格子構造を転写する方法である。 本開示の実施形態による、格子構造の形成の部分概略図である。 本開示の実施形態による、格子構造の形成の部分概略図である。 本開示の実施形態による、格子構造の形成の部分概略図である。 本開示の実施形態による、格子構造の形成の部分概略図である。 本開示の実施形態による、格子構造の形成の部分概略図である。 本開示の実施形態による、透明基板に格子構造を直接エッチングする方法である。 本開示の実施形態による、格子構造の形成の部分概略図である。 本開示の実施形態による、格子構造の形成の部分概略図である。 本開示の実施形態による、格子構造の形成の部分概略図である。 本開示の実施形態による、格子構造の形成の部分概略図である。 本開示の実施形態による、格子構造の形成の部分概略図である。 本開示の実施形態による、格子構造の形成の部分概略図である。 本開示の実施形態による、導波路結合器を製造するために使用される方法のフロー図である。 本開示の実施形態による、導波路結合器を製造するために使用される方法のフロー図である。 本開示の実施形態による、導波路結合器を製造するために使用される方法のフロー図である。 本開示の実施形態にしたがって製造された導波路結合器構造の部分概略図である。
[0021] 理解を容易にするために、可能な場合には、図に共通する同一の要素を指し示すのに同一の参照番号を使用した。一実施形態の要素および特徴は、さらなる記述がなくても、他の実施形態に有益に組み込むことができると考えられている。
[0022] 本明細書で説明されているシステムおよび方法は、導波路に使用される回折格子の大量生産を含むことができる。拡張現実表面レリーフ導波路結合器は、マスタリングおよび複製のプロセスによって作製される。現在、これらの導波路結合器は数千の単位でしか製造されていないが、将来的に予測される数量は数千万以上の単位となる。現在の製造プロセスにおける課題には、特に大量生産におけるように、複製された形状の再現性を含み、ナノインプリントリソグラフィ(NIL)プロセスにおける歩留まりに関する懸念が含まれる。さらに、格子が垂直面に対して45度以上の角度で形成され得るので、高角度格子のNILインプリント後の取り外しも課題となる。
[0023] 本明細書で説明されるように、低い屈折率を有する材料である「低屈折率」材料は、二酸化ケイ素(SiO)、ドープされたSiO、フッ素化ポリマー、または多孔質材料を含み得る。高い屈折率を有する材料である「高屈折率」材料は、アモルファスおよび結晶性Si、窒化ケイ素(SiN)、二酸化チタン(TiO)、リン酸ガリウム(GaP)、五酸化タンタル(Ta)、または硫化材料およびポリマーを含み得る。
[0024] 本明細書で説明するのは、直接エッチングおよびNILを使用して導波路デバイスを製造するためのシステムおよび方法である。導波路結合器を含む導波路デバイスは、低屈折率材料、高屈折率材料、または低屈折率材料と高屈折率材料との組合せに形成された複数の回折格子と、ポリマーまたはガラスなどの光学的に透明な基板に形成された複数の格子とを含む。本明細書で説明しているように、「透明」基板は、導波路結合器が動作することが意図される所定の波長範囲において光学的に透明な基板である。本明細書で説明しているように、回折格子は、「格子」とも称されるが、歯またはフィンとも称される複数の傾斜メサと、隣接する傾斜メサ間に形成される複数のトラフ(溝)とを含み得る。いくつかの実施例では、格子のトラフは、充填材料を含まず、他の実施例では、格子のトラフは、様々な材料で充填される。一実施例では、格子のメサは低屈折率材料から形成することができ、格子のトラフは高屈折率材料で充填される。別の実施例では、格子の傾斜メサは、高屈折率材料から形成することができ、格子のトラフは、低屈折率材料で充填される。格子内の傾斜メサおよびトラフは、基板の垂直面に対して幅、長さ、間隔、または角度のうちの1つまたは複数において均一になり得る。別の実施例では、格子の傾斜メサおよびトラフは、基板の垂直面に対して幅、長さ、間隔、または角度のうちの1つまたは複数において異なり得る。
[0025] 本明細書の様々な実施形態で説明されるように、NILは直接エッチングと共に使用して、導波路結合器を製造することができる。いくつかの実施例では、両面処理法を使用して導波路結合器を製造する。両面製造法は、透明基板上にNILを使用することによって、低屈折率材料または高屈折率材料のうちの少なくとも1つから形成されるターゲットスタック内に第1の格子を形成することと、同じ基板の他方の面に直接エッチングを使用して第2の格子を形成することとを含む。直接エッチングにおける課題の1つは、ガラス基板上にリソグラフィを行うことである。例えば、従来のリソグラフィ処理は、リソグラフィスキャナパラメータにより、最大厚さ775μmの基板を受け入れるように構成することができる。導波路結合器は、現在、設計に応じた厚さを有するガラス基板を使用して作製されているが、典型的には、0.5mmまたは0.8mmの厚さであり、これは、リソグラフィスキャナが処理するように構成されているものよりも著しく薄い。
[0026] 一実施形態では、格子は、シリコンから形成することができる一時的な基板上にNILおよび直接エッチングを使用して形成される。次いで、格子は、一時的な基板から剥離され、ガラスを含み得る第2の透明基板に転写される。別の実施形態では、格子は、NILを介して形成され、ガラスまたは他の透明基板上に配置済みのターゲット層上に直接エッチングされる。また、NILおよび透明基板での直接エッチングを使用して格子を形成することができる。本明細書で説明されているシステムおよび方法を使用して、高角度格子が形成され、その角度は、基板に平行な垂直面から20度から70度の範囲とすることができる。本明細書で説明される導波路および導波路構成要素は、デバイスの直接エッチングによって形成され、NILと組み合わせて、一時的な結合または永続的な結合を使用して製造することができる。
[0027] 他の実施例では、広範囲のデューティサイクル(DC)(すなわち、メサピッチに対するメサ幅の比率)を有する導波路設計が望ましい。インプリント材料の収縮により、この範囲のデューティサイクルをNILで製造することは困難であろう。しかしながら、いくつかの実施形態では、この課題は、低屈折率かつ低デューティサイクル格子をインプリントし、次いで、高屈折率材料で低デューティサイクル格子を充填し、高デューティサイクルおよび高屈折率格子で格子を形成することによって克服される。
[0028] 図1は、透明基板上に格子構造を直接形成する方法100のフロー図である。図2A~図2Fは、方法100の操作の部分概略図である。図1および図2A~図2Fは、以下に共に参照される。
[0029] 方法100の操作102では、図2Aの構造200Aに示すように、ターゲットスタック204が基板202上に形成される。基板202は、ガラスまたはポリマー基板などの透明基板から形成することができ、これらは0.5mmから0.8mmで形成され得る。操作104では、図2Aに示すように、ハードマスク層206がターゲットスタック204上に形成される。ターゲットスタック204は、SiN、TiO、GaP、または別の高屈折率材料で製造することができ、操作102で、CVD、PVD、スピニングオン、または別の適切な方法によって堆積される。一実施形態では、ターゲットスタック204の厚さは、完成した導波路結合器デバイスにおいて使用される屈折率および光波長に応じて、100nmから500nmまでとすることができる。ハードマスク層206は、操作104において、TiN、TaN、Cr、またはCVD、PVD、ALD、または別の薄膜堆積処理によって堆積された別のエッチング耐性材料から製造することができる。ハードマスク層206は、操作104で、約10nmから約50nmの厚さに形成することができる。いくつかの実施例では、25nm未満の厚さのハードマスク層206を採用して、その後のエッチング操作中のシャドウイングを低減または回避することができる。
[0030] 方法100の操作106では、図2Bの構造200Bに示したように、NILを使用してハードマスク層206上にパターン層208が形成される。パターン層208は、インプリント可能なレジスト材料から形成される。パターン層は、複数の隆起フィーチャ210から形成され、複数のギャップ212が、隣接する隆起フィーチャ210のペアの間に形成される。複数のギャップ212の各ギャップは、パターン層208の底部残留層214を有する。一実施形態では、操作106において、ハードマスクのNILは、隆起フィーチャ210の各々と基板202との間の角度δで実行される。角度δは、90度よりも大きくすることができ、これは、本明細書で説明するように、コストを低下させ、指向性エッチング中に後続のフィーチャの形成を促進することができる。
[0031] 続いて、操作108において、および図2Cの構造200Cに示したように、ハードマスク層206およびパターン層208の一部は、エッチングによって除去される。このように、各ギャップ212の底部216がターゲットスタック204を露出し、複数のハードマスクメサ218が形成される。方法100の操作110において、図2Dの構造200Dに示したように、パターン層208が除去され、複数のハードマスクメサ218を露出させる。操作112では、図2Eの構造200Eに示したように、ターゲットスタック204がエッチングされて、複数の傾斜メサ222と、傾斜メサ222の間に複数のトラフ220が形成され、操作112でのエッチングによって、基板202が露出される。複数の傾斜メサ222は、基板202の垂直面224から角度αで形成することができる。操作112でのエッチングは、指向性エッチングと呼ぶことができる。角度αは、20度から70度とすることができる。
[0032] 操作114では、図2Fの構造200Fに示したように、ハードマスク層206の残りの部分が除去され、複数の傾斜メサ222および複数のトラフ220が深さ226まで形成されたまま残される。本明細書で説明されている指向性エッチングは、一実施例では、エッチングチャンバ内のイオンビームの経路の第1の位置に、プラテン上に保持される基板202の第1の部分を配置することによって実行される。イオンビームは、リボンビーム、スポットビーム、または第1のエッジから第1のエッジに平行な第2のエッジまで基板を横切って延在する完全な基板サイズのビームとすることができる。イオンビームは、ターゲットスタック204などのターゲット材料の上面に接触するように構成され、傾斜メサ222を含む第1の格子を形成する。イオンビーム角度は、0度から90度(すなわち、所望の任意の角度)になり得るが、イオンビームは、典型的には、イオンビームが所望の最大角度でターゲットスタック204をアタックするように、基板202の垂直面に対して所望のエッチング角度(例えば、20度から70度)に設定される。イオンビーム方向によって設定される最大角度よりも低い角度を有するエッチングを得るために、プラテン上に保持された基板202は、プラテンの軸を中心として所定の回転角度まで回転させることができる。回転の結果、イオンビームがターゲットスタック204の上面に異なる角度で接触し、第2の格子または他の後続の格子を形成する。基板の回転量、例えば、使用される所定の回転角度を計算して、所望の正確な格子エッチング角度を生成することができる。
[0033] 代替の実施形態では、操作112での指向性エッチングは、本明細書で説明されている種々の格子にわたるハードマスク厚を調整することによって、制御(例えば、エッチング深さ、エッチング角度、およびエッチング速度の制御)可能である。ハードマスク厚の調整は、ハードマスクのエッチングおよび/またはNILによって達成することができ、いくつかの実施例では、NILは、より費用対効果の高いものとなり得る。この実施例では、操作112での指向性エッチングが実行されるとき、図2Fの226によって示されるような複数のトラフ220の最終的な深さは、格子上の異なる位置で(操作106でNILによって形成される)ハードマスク層206の厚さに応じて変化し得る。
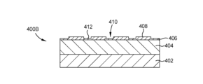
[0034] 図3は、透明基板上に格子構造を直接形成する方法300のフロー図である。図4A~図4Eは、方法300の部分概略図である。図3および図4A~図4Eは共に、以下に説明される。
[0035] 方法300の操作302では、図4Aの構造400Aに示したように、ターゲットスタック404が基板402上に形成される。基板402は透明であり、ポリマー、ガラス、セラミック、または他の光学的に透明な材料から形成することができる。ターゲットスタック404は、化学気相成長(CVD)によって100nmから500nmの厚さに形成される。代替的な実施形態では、PVD、スピニングオン、またはALDを使用して、ターゲットスタック404を形成することができる。操作304では、図4Bの構造400Bに示したように、ターゲットスタック404上にNILを介してハードマスク406が形成される。ハードマスク406は、フィーチャ408と、隣接するフィーチャ408間のギャップ410との層として形成される。各ギャップ410の底部412は、その上に形成されるハードマスク406を有する。ハードマスク406は、金属または金属酸化物、TiNまたはTaNを含む金属窒化物、炭素から、あるいは別のエッチング耐性ナノインプリント可能材料から製造することができる。操作306では、図4Cの構造400Cに示したように、各ギャップ410内のハードマスク406の下部412層は、エッチングを介して除去され、ターゲットスタック404を露出させる。操作308では、図4Dの構造400Dに示したように、ターゲットスタック404は、複数の傾斜メサ414を形成するようにエッチングされる。複数の傾斜メサ414は、基板402の垂直面418から角度αで形成することができる。角度αは、20度から70度とすることができる。複数の傾斜メサ414の各々は、同様の幅420で図4Dに示されているが、他の実施例では、傾斜メサ414の間の幅またはその他の寸法は、角度αを含め、変化し得る。傾斜メサ414は、ターゲットスタック404に対してある角度でエッチャントを向けるように構成されたツーリングを用いた指向性エッチングによって形成することができる。操作310では、図4Eの構造400Eに示したように、ハードマスク406が除去される。方法300は、第1の操作でハードマスクが堆積され、次いで第2の操作でパターニングされる本明細書で説明される方法とは対照的に、操作304でハードマスク406を形成することが望ましい場合に使用することができる。
[0036] 図5は、本開示の実施形態による、第1の基板から第2の基板に格子構造を転写する方法500である。図6A~図6Eは、方法500の部分概略図である。図5および図6A~図6Eは、以下で共に説明される。
[0037] 図6Aは、上述の図1の方法100および図3の方法300にしたがって製造された構造と同様に製造された構造を示す。しかしながら、図6Aは、上述のように透明基板上に形成される代わりに、シリコンを含む第1の基板602上に形成された格子606を含む構造600Aを示す。デボンディング層604は、CVDを使用して二酸化ケイ素の薄い層を成長させることによって、または第1の基板602と格子606との間の薄い接着剤上でスピニングすることによって形成される。格子606は、複数の傾斜メサ608と、隣接する傾斜メサ608の各ペア間の複数のトラフ610とを含む。第1の基板602は、シリコンから形成することができる。本明細書の他の実施例と組み合わせることができる別の実施例では、格子606は、高屈折率材料から形成することができ、デボンディング層604は、熱応答性接着剤またはSiOの層から形成することができる。方法500の操作502では、図6Aの構造がプロセスチャンバ内に受け入れられる。操作504では、充填層612が、図6Bの構造600Bに示したように、トラフ610内および格子606の傾斜メサ608の上に堆積される。いくつかの実施例では、操作504中に、充填層612は、傾斜メサ608の上部に層614を形成する。低屈折率材料のこの層614は、図6Cの構造600Cに示したように、機械的手段、化学的手段、またはこれらの組み合わせを介して、操作506で除去される。図6Dの構造600Dに示した操作508において、構造600Dは、第1の基板602が結合された場所とは反対側のガラス基板618に結合される。図6Eの構造600Eに示した操作510では、第1の基板602は、デボンディング層604が格子606から解放されるように、熱手段を介して除去されるか、またはシリコンウェハを研磨してSiO上に停止させることによって除去される。
[0038] 図7は、本開示の実施形態による、第1の基板から第2の基板に格子構造を転写する方法700である。図8A~図8Eは、方法700の部分概略図である。図7および図8A~図8Eは、以下で共に参照される。
[0039] 図8Aは、上述の図1の方法100および図3の方法300にしたがって製造された構造と同様に製造された構造800Aを示す。しかしながら、図8Aは、上述のように透明基板上に形成される代わりに、第1の基板802上に形成された格子806を示す。一実施例では、第1の基板802はシリコンから形成される。デボンディング層804は、第1の基板802と格子806との間に形成される。格子806は、複数の傾斜メサ808と、傾斜メサ808の間にある複数のトラフ810とを備える。一実施例では、第1の基板802は、シリコンから形成することができる。本明細書の他の実施例と組み合わせることができる別の実施例では、格子806は、低屈折率材料から形成することができる。デボンディング層804は、熱応答性接着剤から形成することができる。方法700の操作702では、図8Aの構造が処理チャンバ内に受け入れられる。操作704では、図8Bの構造800Bに示したように、充填層812が、トラフ810内および格子806の傾斜メサ608の上に堆積される。いくつかの実施例では、操作704中に、充填層812は、傾斜メサ808の上部に層814を含む。高屈折率材料のこの層814は、図8Cの構造800Cに示したように、機械的手段、化学的手段、またはこれらの組み合わせを介して、操作706で除去される。操作708では、図8Dの構造800Dに示したように、第1の基板802は、デボンディング層804が格子806から取り外されるように、熱手段によって除去される。操作710では、図8Eの構造800Eに示したように、図8Dの構造800Dは、第1の基板802が結合された側とは反対側のガラス基板818に結合される。
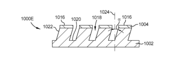
[0040] 図9は、透明基板に格子構造を直接エッチングする方法900である。図10A~図10Fは、方法900の部分概略図である。図9および図10A~図10Fは、以下で共に参照される。
[0041] 方法900では、図10Aの構造1000Aに示したように、操作902で、ハードマスク1004が透明基板1002上に形成される。透明基板1002は、ガラス、ポリマー、または光学的に透明な他の材料から形成することができる。ハードマスク1004は、TiN、TaN、Cr、または他のエッチング耐性材料から形成することができ、操作902において、CVD、PVD、ALD、または他の方法を介して、10nmから50nmの厚さで形成される。操作904では、図10Bの構造1000Bに示したように、層1006を生成するため、NILによってパターンが形成される。層1006は、複数のメサ1010およびトラフ1012として形成される。各トラフ1012の底部1008は、層1006の材料の残留層から形成される。層1006は、実施形態に応じて、低屈折率材料または高屈折率材料とすることができる。層1006は、図10Cに示した構造1000Cを形成するため、操作906で、ハードマスク1004と共にエッチングされる。操作906で層1006およびハードマスク1004をエッチングすることによって、トラフ1012の底部1014において透明基板1002が露出される。操作908では、図10Dの構造1000Dに示したように、層1006が除去され、複数のハードマスクアイランド1016が残る。操作910では、図10Eの構造1000に示したように、透明基板1002は、エッチングされて、複数の傾斜メサ1022を形成し、複数のトラフ1018は、各隣接する傾斜メサ1022のペア間に形成される。複数の傾斜メサ1022の各傾斜メサ1022は、垂直面1024からαの角度にある。各トラフ1018の底部1020は、基板材料である。操作912では、図10Fに示したように、ハードマスク1004が除去され、ハードマスクアイランド1016が除去され、透明基板1002の構造1000Fが残される。
[0042] 図11A~図11Cは、本開示の実施形態による導波路結合器を製造するために使用される方法のフロー図である。
[0043] 図11Aは、本開示の実施形態による、導波路結合器において使用可能な回折格子を形成する方法1100Aを示す。操作1102では、シリコン(Si)から形成され得る第1の基板に取り付けられたデボンディング層上に、パターニングされたターゲット層が形成される。操作1102は、図5の方法500または図7の方法700の一部または要素をそれぞれ含むことができ、これらの各々は、Si基板上にパターンを形成し、基板を取り外し、ガラス、プラスチック、または別の光学的に透明な材料の透明基板を取り付ける。操作1102は、実施形態に応じて、高屈折率層と低屈折率層との組み合わせから形成することができるパターニングされたターゲット層の転写を含む。一実施例では、操作1102は、パターニングされたターゲット層を透明基板の第1の面に転写することを含む。操作1104では、透明基板の第2の面が、例えば、図9の方法900にしたがってパターニングされ、操作1106で導波路結合器を形成する。
[0044] 図11Bは、本開示の実施形態による、導波路結合器において使用可能な1つまたは複数の回折格子を形成する方法1100Bを示す。操作1108では、図1の方法100および図3の方法300に記載されているものと同様に、パターニングされたターゲット層が透明基板として形成される。操作1110では、透明基板の第2の面は、例えば、図9の方法900にしたがって、操作1112で導波路結合器を形成するようにパターニングされる。
[0045] 図11Cは、本開示の実施形態による、導波路結合器において使用可能な1つまたは複数の回折格子を形成する方法1100Cを示す。操作1114では、ガラスまたはポリマーから形成することができる透明基板の第1の面にパターニングされた層が形成され、図9の方法900にしたがって操作1114が実行され得る。操作1118で導波路結合器を形成するため、操作1116では、図1および図3に示した方法100または方法300にしたがって、パターニングされたターゲット層が透明基板の第2の面上に形成される。
[0046] 図12は、図11A~図11Cの方法によって製造された導波路結合器構造1200の部分概略図である。図12は、透明基板1202と、図1、図3、図5、および図7の方法100、300、500、および700をそれぞれ含む本開示の実施形態により形成された第1の格子構造1204とを備える、導波路結合器構造1200を示す。第1の格子構造1204は、図12の実施例では、それぞれが垂直面1228に対してαの角度で形成された傾斜メサ1208を備えるものとして示されている。角度αは、20度から70度とすることができる。各傾斜メサ1208は、実施形態に応じて、低屈折率材料または高屈折率材料から形成することができる。図12では、複数のトラフ1210が、材料を含まないものとして、隣接する傾斜メサ1208の各ペア間に示されているが、代替的な実施形態では、トラフ1210は、低屈折率材料または高屈折率材料で充填される。傾斜メサ1208が低屈折率材料から形成される場合、トラフ1210は高屈折率材料で充填することができ、傾斜メサ1208が高屈折率材料から形成される場合、トラフ1210は低屈折率材料で充填することができる。各傾斜メサ1208は、幅1212と、長さ1214と、隣接する傾斜メサ1218間の間隔1216とを有する。幅1212、長さ1214、および間隔1216の各々は、実施例の導波路結合器構造1200では、角度αでほぼ同じになるように示されている。しかし、他の実施例では、これらの寸法のうちの1つまたは複数は、個々の傾斜メサ1208の間で、あるいは行、列、またはこれらの組合せからなる群の間で、変化することがあり得る。
[0047] 導波路結合器構造1200は、透明基板1202に形成された、複数の傾斜メサ1218を備える第2のゲート構造1206をさらに含む。複数のトラフ1220が、隣接する傾斜メサ1218の各ペア間に形成され、傾斜メサ1218は垂直面1228に対してβの角度で形成される。角度βは、約45度以下とすることができる。各傾斜メサ1218は、隣接する傾斜メサ1218から距離1222だけ離れて形成され、幅1226および長さ1224を有する。傾斜メサ1218の間の距離1222、ならびに幅1226、長さ1224は、傾斜メサ1218間でほぼ同じであることが示されている。しかしながら、代替的な実施形態では、これらの寸法のうちの1つまたは複数は、個々の傾斜メサ1218の間で、あるいは行、列、またはこれらの組合せからなる群の間で、変化することがあり得る。
[0048] したがって、本明細書で説明される導波路および導波路結合器のためのシステムおよび方法を使用して、広範囲のデューティサイクル(DC)(すなわち、メサピッチに対するメサ幅の比率)を有する導波路および導波路結合器が製造される。一実施例では、インプリントされた材料の収縮の問題は、低屈折率かつ低デューティサイクル格子をインプリントすることによって克服される。次いで、インプリントされた構造体に高屈折率材料を充填して、高デューティサイクルかつ高屈折率格子を有する格子を形成する。本明細書で説明される回折格子形成の実施例は、本明細書の他の実施例と組み合わせて、導波路および導波路結合器に含まれる回折格子を形成することができる。
[0049] 本発明の教示を組み込んだ様々な実施形態が、本明細書で詳細に示され、説明されてきたが、当業者は、これらの教示をさらに組み込んだ多くの他の様々な実施形態を容易に考案することができる。

Claims (17)

  1. 基板をパターニングする方法であって、
    基板の第1の面上にハードマスク層を形成することであって、前記基板は、透明な材料から形成され、前記基板の幅に沿った垂直面によって規定される、ハードマスク層を形成することと、
    前記ハードマスク層上に、パターニングされた層を形成することと、
    前記パターニングされた層および前記ハードマスク層をエッチングして、前記基板の前記第1の面を露出させることと、
    前記パターニングされた層を除去することと、
    前記基板の前記第1の面をエッチングして、前記基板の前記第1の面に第1の複数の傾斜メサを形成することであって、前記第1の複数の傾斜メサの各傾斜メサは、前記垂直面に対して20度から70度の角度でエッチングされる、第1の複数の傾斜メサを形成することと、
    その後、前記ハードマスク層を除去することと、
    前記第1の面とは反対側の前記基板の第2の面上に、前記第1の複数の傾斜メサとは異なる角度の第2の複数の傾斜メサを形成することと、
    を含む、方法。
  2. 前記基板の前記第1の面上に前記ハードマスク層を形成することは、化学気相堆積(CVD)、物理的気相堆積(PVD)、または原子層堆積(ALD)を使用することを含む、請求項1に記載の方法。
  3. 前記透明な材料がガラスまたはポリマーを含む、請求項1に記載の方法。
  4. 前記基板の前記第2の面上に前記第2の複数の傾斜メサを形成するのに、ナノインプリントリソグラフィが使用される、請求項1に記載の方法。
  5. 回折格子を形成する方法であって、
    ターゲットスタック上に第1のハードマスク層を形成することであって、前記ターゲットスタックは、第1の基板の第1の面上に形成されている、第1のハードマスク層を形成することと、
    前記第1のハードマスク層に複数の開口をエッチングすることと、
    前記ターゲットスタックをエッチングして、前記第1の基板の前記第1の面上の前記ターゲットスタックに第1の複数の傾斜メサを形成することであって、前記第1の複数の傾斜メサの各傾斜メサは、垂直面に対して20度から70度の第1の角度でエッチングされる、第1の複数の傾斜メサを形成することと、
    エッチングされた前記ターゲットスタックから、前記第1の基板を除去することと、
    第2の基板の第1の面に、エッチングされた前記ターゲットスタックを取り付けることと、
    前記第2の基板の前記第1の面とは反対側の、前記第2の基板の第2の面上に第2のハードマスク層を形成することであって、前記第2の基板は、透明な材料を含み、前記第2の基板の幅に沿った垂直面によって規定される、第2のハードマスク層を形成することと、
    前記第2のハードマスク層上に、パターニングされた層を形成することと、
    前記パターニングされた層および前記第2のハードマスク層をエッチングして、前記第2の基板の前記第2の面を露出させることと、
    前記パターニングされた層を除去することと、
    前記第2の基板の前記第2の面をエッチングすることと、
    前記エッチングに応答して、前記第2の基板の前記第2の面に第2の複数の傾斜メサを形成することであって、前記第2の複数の傾斜メサの各傾斜メサは、前記垂直面に対して20度から70度の第2の角度でエッチングされる、第2の複数の傾斜メサを形成することと、
    を含む、方法。
  6. 前記パターニングされた層を形成することが、ナノインプリントリソグラフィを使用することを含む、請求項に記載の方法。
  7. 前記第2の基板が透明基板である、請求項に記載の方法。
  8. 前記ターゲットスタックは、デボンディング層を介して前記第1の基板に結合され、前記第1の基板を除去することは、前記デボンディング層を介して前記ターゲットスタックから前記第1の基板を取り外すことを含む、請求項に記載の方法。
  9. 前記パターニングされた層を形成することが、ナノインプリントリソグラフィを使用することを含む、請求項に記載の方法。
  10. 指向性エッチングを使用して、前記ターゲットスタックおよび前記第2の基板の前記第2の面の各々をエッチングすることをさらに含む、請求項に記載の方法。
  11. 前記ターゲットスタックに対する指向性エッチングは、
    前記第1の基板の前記垂直面に対して前記第1の角度をなすイオンビームの経路に前記ターゲットスタックの第1の部分を位置付けることであって、前記ターゲットスタックの前記第1の部分をエッチングすることは、前記ターゲットスタックの前記第1の部分を前記イオンビームに露出して、前記第1の角度で前記第1の複数の傾斜メサを形成することを含む、第1の部分を位置付けることと、
    前記第1の基板を、前記垂直面に対して垂直な中心軸の周りに所定の回転角度まで回転させることと、
    を含む、請求項10に記載の方法。
  12. 回折格子を形成する方法であって、
    ターゲットスタック上に第1のハードマスク層を形成することであって、前記ターゲットスタックは、第1の基板の第1の面上に形成されている、第1のハードマスク層を形成することと、
    前記第1のハードマスク層に複数の開口をエッチングすることと、
    前記ターゲットスタックをエッチングして、前記第1の基板の前記第1の面上の前記ターゲットスタックに、第1の複数の傾斜メサを形成することであって、前記第1の複数の傾斜メサの各傾斜メサは、垂直面に対して20度から70度の角度でエッチングされる、傾斜メサを形成することと、
    前記第1の面とは反対側の前記第1の基板の第2の面上に、第2のハードマスク層を形成することであって、前記第1の基板は、前記第1の基板の幅に沿った垂直面によって規定される、第2のハードマスク層を形成することと、
    前記第2のハードマスク層上に、パターニングされた層を形成することと、
    前記パターニングされた層および前記第2のハードマスク層をエッチングして、前記第1の基板の前記第2の面を露出させることと、
    前記パターニングされた層を除去することと、
    前記第1の基板の前記第2の面をエッチングすることと、
    を含む方法。
  13. 前記パターニングされた層を形成することが、ナノインプリントリソグラフィを使用することを含む、請求項12に記載の方法。
  14. 前記第1の基板の前記第2の面の前記エッチングに応答して、前記第1の基板の前記第2の面に第2の複数の傾斜メサを形成することをさらに含む、請求項12に記載の方法。
  15. 前記第2の複数の傾斜メサの各傾斜メサは、前記垂直面に対して20度から70度の角度でエッチングされる、請求項14に記載の方法。
  16. 第1のハードマスク層および/または前記第2のハードマスク層を形成することは、化学気相堆積(CVD)、物理的気相堆積(PVD)、または原子層堆積(ALD)を使用することを含む、請求項15に記載の方法。
  17. 前記第1の基板が光学的に透明であり、ガラスまたはポリマーを含んでいる、請求項12に記載の方法。
JP2022178867A 2018-06-28 2022-11-08 回折格子の製造 Active JP7512349B2 (ja)

Applications Claiming Priority (6)

Application Number Priority Date Filing Date Title
US201862691421P 2018-06-28 2018-06-28
US62/691,421 2018-06-28
US201862692286P 2018-06-29 2018-06-29
US62/692,286 2018-06-29
PCT/US2019/039615 WO2020006308A1 (en) 2018-06-28 2019-06-27 Fabrication of diffraction gratings
JP2020571759A JP7176013B2 (ja) 2018-06-28 2019-06-27 回折格子の製造

Related Parent Applications (1)

Application Number Title Priority Date Filing Date
JP2020571759A Division JP7176013B2 (ja) 2018-06-28 2019-06-27 回折格子の製造

Publications (2)

Publication Number Publication Date
JP2023022053A JP2023022053A (ja) 2023-02-14
JP7512349B2 true JP7512349B2 (ja) 2024-07-08

Family

ID=68987556

Family Applications (2)

Application Number Title Priority Date Filing Date
JP2020571759A Active JP7176013B2 (ja) 2018-06-28 2019-06-27 回折格子の製造
JP2022178867A Active JP7512349B2 (ja) 2018-06-28 2022-11-08 回折格子の製造

Family Applications Before (1)

Application Number Title Priority Date Filing Date
JP2020571759A Active JP7176013B2 (ja) 2018-06-28 2019-06-27 回折格子の製造

Country Status (7)

Country Link
US (2) US11333896B2 (ja)
EP (1) EP3814840B1 (ja)
JP (2) JP7176013B2 (ja)
KR (2) KR102650642B1 (ja)
CN (2) CN118732110A (ja)
TW (1) TWI710016B (ja)
WO (1) WO2020006308A1 (ja)

Families Citing this family (18)

* Cited by examiner, † Cited by third party
Publication number Priority date Publication date Assignee Title
KR102650642B1 (ko) * 2018-06-28 2024-03-21 어플라이드 머티어리얼스, 인코포레이티드 회절 격자들의 제조
US11111176B1 (en) * 2020-02-27 2021-09-07 Applied Materials, Inc. Methods and apparatus of processing transparent substrates
US11662524B2 (en) * 2020-03-13 2023-05-30 Applied Materials, Inc. Forming variable depth structures with laser ablation
EP4147081B1 (en) * 2020-05-08 2025-06-11 Nil Technology ApS Methods for manufacturing multi-level structures
US12013513B2 (en) * 2020-06-02 2024-06-18 National Taiwan University Metasurface based device for generating abrupt autofocusing beam
US20220011471A1 (en) * 2020-07-09 2022-01-13 Applied Materials, Inc. Air-gap encapsulation of nanostructured optical devices
US11543584B2 (en) * 2020-07-14 2023-01-03 Meta Platforms Technologies, Llc Inorganic matrix nanoimprint lithographs and methods of making thereof with reduced carbon
US11487058B2 (en) 2020-08-13 2022-11-01 Applied Materials, Inc. Method for manufacturing optical device structures
EP4020024A1 (en) 2020-12-22 2022-06-29 Paul Scherrer Institut Method for producing high aspect ratio fan-shaped optics
US12360292B2 (en) * 2021-03-16 2025-07-15 Boe Technology Group Co., Ltd. Lens array and manufacturing method thereof
WO2023064094A1 (en) * 2021-10-15 2023-04-20 Applied Materials, Inc. Multilayer transmission structures for waveguide display
US11835763B2 (en) * 2021-10-22 2023-12-05 Northrop Grumman Systems Corporation Nanoimprinted photonic integrated circuits
US11892676B2 (en) * 2022-01-10 2024-02-06 Applied Materials, Inc. Self-aligned formation of angled optical device structures
TW202405489A (zh) * 2022-04-20 2024-02-01 美商應用材料股份有限公司 在製造光學元件結構中降低粗糙度之方法
TW202432449A (zh) * 2022-10-18 2024-08-16 日商東京威力科創股份有限公司 繞射光柵之形成方法
CN115598755A (zh) * 2022-11-07 2023-01-13 杭州探真纳米科技有限公司(Cn) 一种高折射率斜齿光栅的制造方法
CN121399511A (zh) * 2023-06-27 2026-01-23 应用材料公司 用于制造光学装置结构的方法
US20250067937A1 (en) * 2023-08-25 2025-02-27 Applied Materials, Inc. Individual grating fabrication and assembly

Citations (4)

* Cited by examiner, † Cited by third party
Publication number Priority date Publication date Assignee Title
JP2005004068A (ja) 2003-06-13 2005-01-06 Dainippon Printing Co Ltd スラント凹凸パターンの形成方法及びスラント凹凸パターンを有する基板
JP2005149594A (ja) 2003-11-13 2005-06-09 Ricoh Co Ltd 偏光回折光学素子、光ピックアップ及び光ディスクドライブ装置
JP2006318568A (ja) 2005-05-12 2006-11-24 Enplas Corp 光学素子およびこれを備えた光ピックアップ装置ならびに不要光の除去方法
JP2009516225A (ja) 2005-11-18 2009-04-16 ナノコンプ オイ リミテッド 回折格子の製造方法

Family Cites Families (26)

* Cited by examiner, † Cited by third party
Publication number Priority date Publication date Assignee Title
JPH1096807A (ja) * 1996-09-19 1998-04-14 Dainippon Printing Co Ltd ホログラフィック光学素子及びその作製方法
JP3877444B2 (ja) 1998-09-02 2007-02-07 富士通株式会社 回折格子
US6570753B2 (en) * 2001-05-25 2003-05-27 University Of Houston Capacitor and method of storing energy
JP3955066B2 (ja) * 2002-04-03 2007-08-08 東邦エンジニアリング株式会社 研磨パッドと該研磨パッドの製造方法および該研磨パッドを用いた半導体基板の製造方法
US7164532B2 (en) * 2002-04-19 2007-01-16 Ricoh Company, Ltd. Diffraction grating, light source unit applying the same therein, and optical head device employing the same
JP4478398B2 (ja) * 2002-04-19 2010-06-09 株式会社リコー 偏光光学素子、光学素子ユニット、光ヘッド装置及び光ディスクドライブ装置
US6716737B2 (en) * 2002-07-29 2004-04-06 Hewlett-Packard Development Company, L.P. Method of forming a through-substrate interconnect
US7670758B2 (en) 2004-04-15 2010-03-02 Api Nanofabrication And Research Corporation Optical films and methods of making the same
US20050275944A1 (en) * 2004-06-11 2005-12-15 Wang Jian J Optical films and methods of making the same
JP2007316270A (ja) * 2006-05-25 2007-12-06 Sony Corp 光学部品の製造方法、位相差素子および偏光子
WO2008071830A1 (en) * 2006-12-14 2008-06-19 Nokia Corporation Display device having two operating modes
JP5724213B2 (ja) * 2010-05-13 2015-05-27 セイコーエプソン株式会社 検出装置
US20120257490A1 (en) * 2011-04-07 2012-10-11 Seagate Technology Llc Gratings For Waveguide Coupling
KR101966622B1 (ko) 2012-04-05 2019-04-09 삼성전자주식회사 나노 임프린트 리소그래피용 템플리트의 제조 및 보정 방법
GB2502818A (en) * 2012-06-08 2013-12-11 Nanogan Ltd Epitaxial growth of semiconductor material such as Gallium Nitride on oblique angled nano or micro-structures
CN103675969B (zh) * 2013-12-04 2016-01-20 中国科学院上海光学精密机械研究所 高效率斜双层光栅
US20160033784A1 (en) * 2014-07-30 2016-02-04 Tapani Levola Optical Components
US20160035539A1 (en) * 2014-07-30 2016-02-04 Lauri SAINIEMI Microfabrication
WO2016133161A1 (ja) 2015-02-20 2016-08-25 日本碍子株式会社 光学素子の製造方法
KR102329363B1 (ko) 2015-04-20 2021-11-19 보드 오브 레젼츠, 더 유니버시티 오브 텍사스 시스템 대면적 다단 나노구조의 제조
US10267970B2 (en) 2016-08-22 2019-04-23 Magic Leap, Inc. Thermal dissipation for wearable device
US11327218B2 (en) 2017-11-29 2022-05-10 Applied Materials, Inc. Method of direct etching fabrication of waveguide combiners
US10845596B2 (en) * 2018-01-23 2020-11-24 Facebook Technologies, Llc Slanted surface relief grating for rainbow reduction in waveguide display
US10302826B1 (en) 2018-05-30 2019-05-28 Applied Materials, Inc. Controlling etch angles by substrate rotation in angled etch tools
KR102650642B1 (ko) * 2018-06-28 2024-03-21 어플라이드 머티어리얼스, 인코포레이티드 회절 격자들의 제조
EP3899615A4 (en) * 2018-12-17 2023-01-04 Applied Materials, Inc. ELECTRON BEAM DEVICE FOR THE MANUFACTURE OF AN OPTICAL DEVICE

Patent Citations (4)

* Cited by examiner, † Cited by third party
Publication number Priority date Publication date Assignee Title
JP2005004068A (ja) 2003-06-13 2005-01-06 Dainippon Printing Co Ltd スラント凹凸パターンの形成方法及びスラント凹凸パターンを有する基板
JP2005149594A (ja) 2003-11-13 2005-06-09 Ricoh Co Ltd 偏光回折光学素子、光ピックアップ及び光ディスクドライブ装置
JP2006318568A (ja) 2005-05-12 2006-11-24 Enplas Corp 光学素子およびこれを備えた光ピックアップ装置ならびに不要光の除去方法
JP2009516225A (ja) 2005-11-18 2009-04-16 ナノコンプ オイ リミテッド 回折格子の製造方法

Also Published As

Publication number Publication date
US11733533B2 (en) 2023-08-22
JP7176013B2 (ja) 2022-11-21
TW202002047A (zh) 2020-01-01
US20200004029A1 (en) 2020-01-02
KR20210016062A (ko) 2021-02-10
US11333896B2 (en) 2022-05-17
JP2023022053A (ja) 2023-02-14
CN118732110A (zh) 2024-10-01
EP3814840A4 (en) 2022-03-23
EP3814840A1 (en) 2021-05-05
JP2021530862A (ja) 2021-11-11
KR20230070541A (ko) 2023-05-23
KR102535740B1 (ko) 2023-05-26
EP3814840B1 (en) 2025-11-05
KR102650642B1 (ko) 2024-03-21
TWI710016B (zh) 2020-11-11
CN112368639A (zh) 2021-02-12
CN112368639B (zh) 2024-07-09
US20220276498A1 (en) 2022-09-01
WO2020006308A1 (en) 2020-01-02

Similar Documents

Publication Publication Date Title
JP7512349B2 (ja) 回折格子の製造
CN105353506B (zh) 垂直梳齿驱动moems微镜及其制作方法
KR100632510B1 (ko) 와이어 그리드 편광자 및 그 제조 방법
US7727410B2 (en) Process for formation of three-dimensional photonic crystal
US7256938B2 (en) Method for making large scale multilayer dielectric diffraction gratings on thick substrates using reactive ion etching
JP5742517B2 (ja) サンプルドグレーティングの形成方法及び半導体レーザの製造方法
JP7474103B2 (ja) 光学素子の製造方法、及び、光学素子
JP5644192B2 (ja) 積層樹脂膜の形成方法及び半導体デバイスの製造方法
KR20090085552A (ko) 광학 소자 및 광학 소자의 제조방법
KR102873571B1 (ko) 나노구조 광학 디바이스들의 에어-갭 캡슐화
CN117631110A (zh) 一种掩埋型反射式全介质衍射光栅及其制备方法
CN116953864B (zh) 一种适合激光与波导直接耦合的硅光芯片及其制造方法
KR20050112494A (ko) 회절형 박막 압전 마이크로 미러 및 그 제조 방법
CN110426777B (zh) 一种可实现宽频带圆偏振的耦合腔光子晶体异质结构
KR100501247B1 (ko) 아조벤젠 물질을 이용한 에칭 마스크
JPS6314321B2 (ja)
WO2025033058A1 (ja) 透過型回折格子およびその製造方法
TW202522051A (zh) 製造具有二元及閃耀光柵結構的光學裝置的方法
CN121532349A (zh) 弯曲表面上的元光学元件
CN120507826A (zh) 光栅制作方法及光波导产品
CN117518323A (zh) 闪耀光栅的制备方法及闪耀光栅

Legal Events

Date Code Title Description
A521 Request for written amendment filed

Free format text: JAPANESE INTERMEDIATE CODE: A523

Effective date: 20221207

A621 Written request for application examination

Free format text: JAPANESE INTERMEDIATE CODE: A621

Effective date: 20221207

A977 Report on retrieval

Free format text: JAPANESE INTERMEDIATE CODE: A971007

Effective date: 20231120

A131 Notification of reasons for refusal

Free format text: JAPANESE INTERMEDIATE CODE: A131

Effective date: 20231128

A521 Request for written amendment filed

Free format text: JAPANESE INTERMEDIATE CODE: A523

Effective date: 20240228

TRDD Decision of grant or rejection written
A01 Written decision to grant a patent or to grant a registration (utility model)

Free format text: JAPANESE INTERMEDIATE CODE: A01

Effective date: 20240528

A61 First payment of annual fees (during grant procedure)

Free format text: JAPANESE INTERMEDIATE CODE: A61

Effective date: 20240626