JP7446202B2 - 電池および電池の製造方法 - Google Patents

電池および電池の製造方法 Download PDF

Info

Publication number
JP7446202B2
JP7446202B2 JP2020190182A JP2020190182A JP7446202B2 JP 7446202 B2 JP7446202 B2 JP 7446202B2 JP 2020190182 A JP2020190182 A JP 2020190182A JP 2020190182 A JP2020190182 A JP 2020190182A JP 7446202 B2 JP7446202 B2 JP 7446202B2
Authority
JP
Japan
Prior art keywords
terminal
battery case
external terminal
internal
internal terminal
Prior art date
Legal status (The legal status is an assumption and is not a legal conclusion. Google has not performed a legal analysis and makes no representation as to the accuracy of the status listed.)
Active
Application number
JP2020190182A
Other languages
English (en)
Other versions
JP2022079172A (ja
Inventor
優文 門井
Current Assignee (The listed assignees may be inaccurate. Google has not performed a legal analysis and makes no representation or warranty as to the accuracy of the list.)
Prime Planet Energy and Solutions Inc
Original Assignee
Prime Planet Energy and Solutions Inc
Priority date (The priority date is an assumption and is not a legal conclusion. Google has not performed a legal analysis and makes no representation as to the accuracy of the date listed.)
Filing date
Publication date
Application filed by Prime Planet Energy and Solutions Inc filed Critical Prime Planet Energy and Solutions Inc
Priority to JP2020190182A priority Critical patent/JP7446202B2/ja
Priority to CN202111325510.2A priority patent/CN114512775A/zh
Priority to US17/525,972 priority patent/US12294096B2/en
Publication of JP2022079172A publication Critical patent/JP2022079172A/ja
Application granted granted Critical
Publication of JP7446202B2 publication Critical patent/JP7446202B2/ja
Active legal-status Critical Current
Anticipated expiration legal-status Critical

Links

Images

Classifications

    • HELECTRICITY
    • H01ELECTRIC ELEMENTS
    • H01MPROCESSES OR MEANS, e.g. BATTERIES, FOR THE DIRECT CONVERSION OF CHEMICAL ENERGY INTO ELECTRICAL ENERGY
    • H01M50/00Constructional details or processes of manufacture of the non-active parts of electrochemical cells other than fuel cells, e.g. hybrid cells
    • H01M50/10Primary casings; Jackets or wrappings
    • H01M50/172Arrangements of electric connectors penetrating the casing
    • H01M50/174Arrangements of electric connectors penetrating the casing adapted for the shape of the cells
    • H01M50/176Arrangements of electric connectors penetrating the casing adapted for the shape of the cells for prismatic or rectangular cells
    • HELECTRICITY
    • H01ELECTRIC ELEMENTS
    • H01MPROCESSES OR MEANS, e.g. BATTERIES, FOR THE DIRECT CONVERSION OF CHEMICAL ENERGY INTO ELECTRICAL ENERGY
    • H01M50/00Constructional details or processes of manufacture of the non-active parts of electrochemical cells other than fuel cells, e.g. hybrid cells
    • H01M50/10Primary casings; Jackets or wrappings
    • H01M50/102Primary casings; Jackets or wrappings characterised by their shape or physical structure
    • H01M50/103Primary casings; Jackets or wrappings characterised by their shape or physical structure prismatic or rectangular
    • HELECTRICITY
    • H01ELECTRIC ELEMENTS
    • H01MPROCESSES OR MEANS, e.g. BATTERIES, FOR THE DIRECT CONVERSION OF CHEMICAL ENERGY INTO ELECTRICAL ENERGY
    • H01M50/00Constructional details or processes of manufacture of the non-active parts of electrochemical cells other than fuel cells, e.g. hybrid cells
    • H01M50/50Current conducting connections for cells or batteries
    • H01M50/543Terminals
    • HELECTRICITY
    • H01ELECTRIC ELEMENTS
    • H01MPROCESSES OR MEANS, e.g. BATTERIES, FOR THE DIRECT CONVERSION OF CHEMICAL ENERGY INTO ELECTRICAL ENERGY
    • H01M10/00Secondary cells; Manufacture thereof
    • H01M10/05Accumulators with non-aqueous electrolyte
    • H01M10/052Li-accumulators
    • H01M10/0525Rocking-chair batteries, i.e. batteries with lithium insertion or intercalation in both electrodes; Lithium-ion batteries
    • HELECTRICITY
    • H01ELECTRIC ELEMENTS
    • H01MPROCESSES OR MEANS, e.g. BATTERIES, FOR THE DIRECT CONVERSION OF CHEMICAL ENERGY INTO ELECTRICAL ENERGY
    • H01M10/00Secondary cells; Manufacture thereof
    • H01M10/05Accumulators with non-aqueous electrolyte
    • H01M10/058Construction or manufacture
    • HELECTRICITY
    • H01ELECTRIC ELEMENTS
    • H01MPROCESSES OR MEANS, e.g. BATTERIES, FOR THE DIRECT CONVERSION OF CHEMICAL ENERGY INTO ELECTRICAL ENERGY
    • H01M50/00Constructional details or processes of manufacture of the non-active parts of electrochemical cells other than fuel cells, e.g. hybrid cells
    • H01M50/10Primary casings; Jackets or wrappings
    • H01M50/147Lids or covers
    • H01M50/155Lids or covers characterised by the material
    • H01M50/16Organic material
    • HELECTRICITY
    • H01ELECTRIC ELEMENTS
    • H01MPROCESSES OR MEANS, e.g. BATTERIES, FOR THE DIRECT CONVERSION OF CHEMICAL ENERGY INTO ELECTRICAL ENERGY
    • H01M50/00Constructional details or processes of manufacture of the non-active parts of electrochemical cells other than fuel cells, e.g. hybrid cells
    • H01M50/10Primary casings; Jackets or wrappings
    • H01M50/172Arrangements of electric connectors penetrating the casing
    • HELECTRICITY
    • H01ELECTRIC ELEMENTS
    • H01MPROCESSES OR MEANS, e.g. BATTERIES, FOR THE DIRECT CONVERSION OF CHEMICAL ENERGY INTO ELECTRICAL ENERGY
    • H01M50/00Constructional details or processes of manufacture of the non-active parts of electrochemical cells other than fuel cells, e.g. hybrid cells
    • H01M50/10Primary casings; Jackets or wrappings
    • H01M50/183Sealing members
    • H01M50/184Sealing members characterised by their shape or structure
    • HELECTRICITY
    • H01ELECTRIC ELEMENTS
    • H01MPROCESSES OR MEANS, e.g. BATTERIES, FOR THE DIRECT CONVERSION OF CHEMICAL ENERGY INTO ELECTRICAL ENERGY
    • H01M50/00Constructional details or processes of manufacture of the non-active parts of electrochemical cells other than fuel cells, e.g. hybrid cells
    • H01M50/10Primary casings; Jackets or wrappings
    • H01M50/183Sealing members
    • H01M50/186Sealing members characterised by the disposition of the sealing members
    • H01M50/188Sealing members characterised by the disposition of the sealing members the sealing members being arranged between the lid and terminal
    • HELECTRICITY
    • H01ELECTRIC ELEMENTS
    • H01MPROCESSES OR MEANS, e.g. BATTERIES, FOR THE DIRECT CONVERSION OF CHEMICAL ENERGY INTO ELECTRICAL ENERGY
    • H01M50/00Constructional details or processes of manufacture of the non-active parts of electrochemical cells other than fuel cells, e.g. hybrid cells
    • H01M50/50Current conducting connections for cells or batteries
    • H01M50/531Electrode connections inside a battery casing
    • H01M50/533Electrode connections inside a battery casing characterised by the shape of the leads or tabs
    • HELECTRICITY
    • H01ELECTRIC ELEMENTS
    • H01MPROCESSES OR MEANS, e.g. BATTERIES, FOR THE DIRECT CONVERSION OF CHEMICAL ENERGY INTO ELECTRICAL ENERGY
    • H01M50/00Constructional details or processes of manufacture of the non-active parts of electrochemical cells other than fuel cells, e.g. hybrid cells
    • H01M50/50Current conducting connections for cells or batteries
    • H01M50/543Terminals
    • H01M50/552Terminals characterised by their shape
    • H01M50/553Terminals adapted for prismatic, pouch or rectangular cells
    • HELECTRICITY
    • H01ELECTRIC ELEMENTS
    • H01MPROCESSES OR MEANS, e.g. BATTERIES, FOR THE DIRECT CONVERSION OF CHEMICAL ENERGY INTO ELECTRICAL ENERGY
    • H01M50/00Constructional details or processes of manufacture of the non-active parts of electrochemical cells other than fuel cells, e.g. hybrid cells
    • H01M50/50Current conducting connections for cells or batteries
    • H01M50/543Terminals
    • H01M50/552Terminals characterised by their shape
    • H01M50/553Terminals adapted for prismatic, pouch or rectangular cells
    • H01M50/557Plate-shaped terminals
    • HELECTRICITY
    • H01ELECTRIC ELEMENTS
    • H01MPROCESSES OR MEANS, e.g. BATTERIES, FOR THE DIRECT CONVERSION OF CHEMICAL ENERGY INTO ELECTRICAL ENERGY
    • H01M50/00Constructional details or processes of manufacture of the non-active parts of electrochemical cells other than fuel cells, e.g. hybrid cells
    • H01M50/50Current conducting connections for cells or batteries
    • H01M50/543Terminals
    • H01M50/564Terminals characterised by their manufacturing process
    • HELECTRICITY
    • H01ELECTRIC ELEMENTS
    • H01MPROCESSES OR MEANS, e.g. BATTERIES, FOR THE DIRECT CONVERSION OF CHEMICAL ENERGY INTO ELECTRICAL ENERGY
    • H01M50/00Constructional details or processes of manufacture of the non-active parts of electrochemical cells other than fuel cells, e.g. hybrid cells
    • H01M50/50Current conducting connections for cells or batteries
    • H01M50/543Terminals
    • H01M50/564Terminals characterised by their manufacturing process
    • H01M50/567Terminals characterised by their manufacturing process by fixing means, e.g. screws, rivets or bolts
    • HELECTRICITY
    • H01ELECTRIC ELEMENTS
    • H01MPROCESSES OR MEANS, e.g. BATTERIES, FOR THE DIRECT CONVERSION OF CHEMICAL ENERGY INTO ELECTRICAL ENERGY
    • H01M50/00Constructional details or processes of manufacture of the non-active parts of electrochemical cells other than fuel cells, e.g. hybrid cells
    • H01M50/50Current conducting connections for cells or batteries
    • H01M50/572Means for preventing undesired use or discharge
    • H01M50/584Means for preventing undesired use or discharge for preventing incorrect connections inside or outside the batteries
    • H01M50/588Means for preventing undesired use or discharge for preventing incorrect connections inside or outside the batteries outside the batteries, e.g. incorrect connections of terminals or busbars
    • HELECTRICITY
    • H01ELECTRIC ELEMENTS
    • H01MPROCESSES OR MEANS, e.g. BATTERIES, FOR THE DIRECT CONVERSION OF CHEMICAL ENERGY INTO ELECTRICAL ENERGY
    • H01M50/00Constructional details or processes of manufacture of the non-active parts of electrochemical cells other than fuel cells, e.g. hybrid cells
    • H01M50/50Current conducting connections for cells or batteries
    • H01M50/572Means for preventing undesired use or discharge
    • H01M50/584Means for preventing undesired use or discharge for preventing incorrect connections inside or outside the batteries
    • H01M50/59Means for preventing undesired use or discharge for preventing incorrect connections inside or outside the batteries characterised by the protection means
    • H01M50/591Covers
    • HELECTRICITY
    • H01ELECTRIC ELEMENTS
    • H01MPROCESSES OR MEANS, e.g. BATTERIES, FOR THE DIRECT CONVERSION OF CHEMICAL ENERGY INTO ELECTRICAL ENERGY
    • H01M50/00Constructional details or processes of manufacture of the non-active parts of electrochemical cells other than fuel cells, e.g. hybrid cells
    • H01M50/50Current conducting connections for cells or batteries
    • H01M50/543Terminals
    • H01M50/547Terminals characterised by the disposition of the terminals on the cells
    • H01M50/55Terminals characterised by the disposition of the terminals on the cells on the same side of the cell
    • YGENERAL TAGGING OF NEW TECHNOLOGICAL DEVELOPMENTS; GENERAL TAGGING OF CROSS-SECTIONAL TECHNOLOGIES SPANNING OVER SEVERAL SECTIONS OF THE IPC; TECHNICAL SUBJECTS COVERED BY FORMER USPC CROSS-REFERENCE ART COLLECTIONS [XRACs] AND DIGESTS
    • Y02TECHNOLOGIES OR APPLICATIONS FOR MITIGATION OR ADAPTATION AGAINST CLIMATE CHANGE
    • Y02EREDUCTION OF GREENHOUSE GAS [GHG] EMISSIONS, RELATED TO ENERGY GENERATION, TRANSMISSION OR DISTRIBUTION
    • Y02E60/00Enabling technologies; Technologies with a potential or indirect contribution to GHG emissions mitigation
    • Y02E60/10Energy storage using batteries
    • YGENERAL TAGGING OF NEW TECHNOLOGICAL DEVELOPMENTS; GENERAL TAGGING OF CROSS-SECTIONAL TECHNOLOGIES SPANNING OVER SEVERAL SECTIONS OF THE IPC; TECHNICAL SUBJECTS COVERED BY FORMER USPC CROSS-REFERENCE ART COLLECTIONS [XRACs] AND DIGESTS
    • Y02TECHNOLOGIES OR APPLICATIONS FOR MITIGATION OR ADAPTATION AGAINST CLIMATE CHANGE
    • Y02PCLIMATE CHANGE MITIGATION TECHNOLOGIES IN THE PRODUCTION OR PROCESSING OF GOODS
    • Y02P70/00Climate change mitigation technologies in the production process for final industrial or consumer products
    • Y02P70/50Manufacturing or production processes characterised by the final manufactured product

Landscapes

  • Chemical & Material Sciences (AREA)
  • Chemical Kinetics & Catalysis (AREA)
  • Electrochemistry (AREA)
  • General Chemical & Material Sciences (AREA)
  • Engineering & Computer Science (AREA)
  • Manufacturing & Machinery (AREA)
  • Materials Engineering (AREA)
  • Connection Of Batteries Or Terminals (AREA)
  • Sealing Battery Cases Or Jackets (AREA)

Description

本発明は、電池および電池の製造方法に関する。
特開2012-245665号公報には、熱可塑性樹脂と金属又はセラミックスからなる部材とを一体に成形する成形法が開示されている。ここで開示される成形法では、金属又はセラミックスからなる部材の、熱可塑性樹脂と接する全面に、Bステージ化又はプレゲル化したエポキシ樹脂接着剤層が予め形成された後、熱可塑性樹脂が上記部材と一体に成形される。この成形法は、例えば、金属又はセラミックスからなるインサート部材を金型内で溶融熱可塑性樹脂により包囲し、固化させ、インサート部材と熱可塑性樹脂とを一体化した成形品を製造する、インサート成形法であってもよい。あるいは、金属又はセラミックスからなるアウトサート部材の表面の一部に溶融熱可塑性樹脂を金型で成形し、固化させ、アウトサート部材と熱可塑性樹脂とを一体化した成形品を製造する、アウトサート成形法であってもよい。この成形法によれば、リチウムイオン電池の蓋体をはじめ、各種の熱可塑性樹脂と金属やセラミックスからなる部材との一体化成形品の気密性、液密性を向上させ、かつ耐熱応力性能に優れた製品を従来の成形方法を用いて製造することができる、とされている。
特開2012-245665号公報
ところで、本発明者は、インサート成形によって、樹脂を介在させつつ電極端子と電池ケース部材とに一体化することを検討している。電極端子は、ケース内部の集電側の端子に用いられる材料と、ケース外部に用いられる材料とに異種金属を用いることを検討している。車載用の二次電池では、電極端子には、走行時の振動などが作用する。インサート成形によって、樹脂を介在させつつ電極端子と電池ケース部材とに一体化される場合、それぞれの部材のヤング率が異なる。このため、電極端子に掛かる応力を電極端子と電池ケース部材と樹脂との界面に大きな応力が作用する場合がある。このため、一体化された構造をより強固なものとしたい。そして、かかる構成が採用された電池の良品率を向上させたい。
ここで開示される電池は、電池ケースと、内部端子と、外部端子と、絶縁樹脂とを備えている。電池ケースは、端子取付孔を有している。内部端子は、電池ケースの内側に電池ケースとは間隔を空けて配置されている。外部端子は、電池ケースの外側に電池ケースとは間隔を空けて配置され、かつ、端子取付孔を通じて内部端子に接続されている。絶縁樹脂は、電池ケースと内部端子との間、および、電池ケースと外部端子との間を埋めるように配置され、電池ケースと内部端子と外部端子に接合されている。内部端子と外部端子とのうち少なくとも一方は、端子取付孔に突出した突出部を有し、突出部の先端で内部端子と外部端子とが接合されている。
ここで開示された電池によれば、電池ケースのリーク検査不良や、抵抗検査での不良が低減され、良品率が向上する。電池ケースに内部端子と外部端子43が取り付けられた部位の部品点数が少なくなる。
内部端子は、プレート状の部材であってもよい。この場合、内部端子は、内側から凹みが設けられて端子取付孔に入り込み、かつ、先端が平坦になった突出部を有していてもよい。そして、突出部の先端の平坦になった部位が外部端子に接合されていてもよい。
また、外部端子は、プレート状の部材であってもよい。外部端子は、外側から凹みが設けられて端子取付孔に入り込み、かつ、先端が平坦になった突出部を有していてもよい。そして、突出部の先端の平坦になった部位が内部端子に接合されていてもよい。
また、内部端子は、プレート状の部材であり、内側から凹みが設けられて前記端子取付孔に向けて突出し、かつ、先端が平坦になった突出部を有していてもよい。外部端子は、プレート状の部材であり、外側から凹みが設けられて端子取付孔に向けて突出し、かつ、先端が平坦になった突出部を有していてもよい。そして、内部端子の突出部の先端の平坦になった部位と、外部端子の突出部の先端が平坦になった部位とが接合されていてもよい。
電池ケースと内部端子と外部端子とに絶縁樹脂が接合された部分のうち少なくとも一部には、算術平均粗さが500nm~30nmの粗面が形成されていてもよい。
少なくとも内部端子と外部端子とが接合された部位では、電池ケースの内側に向けられた内側面が絶縁樹脂によって覆われていてもよい。
電池ケースに収容された電極体をさらに備え、絶縁樹脂の少なくとも一部は、電極体に当たっていてもよい。
電池の製造方法は、端子取付孔を有する電池ケース部材を用意する工程と、少なくとも何れか一方に端子取付孔に入り込む突出部を有する内部端子と外部端子とを用意する工程と、電池ケース部材の端子取付孔に突出部を入り込ませた状態で、突出部を介して内部端子と外部端子とを接合する工程と、内部端子および外部端子と、電池ケース部材との間に間隙が形成されるように、金型内に電池ケース部材と内部端子と外部端子とを配置し、間隙に絶縁樹脂を充填する工程とが含まれていてもよい。
電池の製造方法には、内部端子と外部端子とを接合する工程よりも前に、電池ケース部材と内部端子と外部端子とのうち少なくともいずれかの部材の、絶縁樹脂が充填される領域を形成する部位に、粗面加工が施される工程が含まれていてもよい。
図1は、電池10の部分断面図である。 図2は、内部端子42と外部端子43とが電池ケース41に取り付けられた部分を示す部分断面図である。 図3は、他の形態に係る電池10Aの部分断面図である。 図4は、他の形態に係る電池10Bの部分断面図である。 図5は、電池10Cの製造方法を模式的に説明する斜視図である。 図6は、電池10Cの製造方法を模式的に説明する斜視図である。 図7は、電池10Cの製造方法を模式的に説明する斜視図である。
以下、ここで開示される電池および電池の製造方法の一実施形態を説明する。ここで説明される実施形態は、当然ながら特に本発明を限定することを意図したものではない。本発明は、特に言及されない限りにおいて、ここで説明される実施形態に限定されない。各図面は模式的に描かれており、必ずしも実物を反映していない。また、同一の作用を奏する部材・部位には、適宜に同一の符号を付し、重複する説明を省略する。本明細書において数値範囲を示す「X~Y」などの表記は、特に言及されない限りにおいて「X以上Y以下」を意味する。
《電池10》
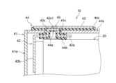
図1は、電池10の部分断面図である。図1では、略直方体の電池ケース41の片側の幅広面に沿って、内部を露出させた状態が描かれている。図2は、内部端子42と外部端子43とが電池ケース41に取り付けられた部分を示す部分断面図である。図1および図2に示された電池10は、いわゆる密閉型電池である。ここでは、かかる密閉型電池を例に電池および電池の製造方法を説明する。電池10は、図1および図2に示されているように、電極体20と、電池ケース41と、内部端子42と、外部端子43と、絶縁樹脂44とを備えている。
〈電極体20〉
電極体20は、絶縁フィルム(図示は省略)などで覆われた状態で、電池ケース41に収容されている。電極体20は、正極要素としての正極シート21と、負極要素としての負極シート22と、セパレータとしてのセパレータシート31,32とを備えている。正極シート21と、第1のセパレータシート31と、負極シート22と、第2のセパレータシート32とは、それぞれ長尺の帯状の部材である。
正極シート21は、予め定められた幅および厚さの正極集電箔21a(例えば、アルミニウム箔)に、幅方向の片側の端部に一定の幅で設定された未形成部21a1を除いて、正極活物質を含む正極活物質層21bが両面に形成されている。正極活物質は、例えば、リチウムイオン二次電池では、リチウム遷移金属複合材料のように、充電時にリチウムイオンを放出し、放電時にリチウムイオンを吸収しうる材料である。正極活物質は、一般的にリチウム遷移金属複合材料以外にも種々提案されており、特に限定されない。
負極シート22は、予め定められた幅および厚さの負極集電箔22a(ここでは、銅箔)に、幅方向の片側の縁に一定の幅で設定された未形成部22a1を除いて、負極活物質を含む負極活物質層22bが両面に形成されている。負極活物質は、例えば、リチウムイオン二次電池では、天然黒鉛のように、充電時にリチウムイオンを吸蔵し、充電時に吸蔵したリチウムイオンを放電時に放出しうる材料である。負極活物質は、一般的に天然黒鉛以外にも種々提案されており、特に限定されない。
セパレータシート31,32には、例えば、所要の耐熱性を有する電解質が通過しうる多孔質の樹脂シートが用いられる。セパレータシート31,32についても種々提案されており、特に限定されない。
ここで、負極活物質層22bの幅は、例えば、正極活物質層21bよりも広く形成されている。セパレータシート31,32の幅は、負極活物質層22bよりも広い。正極集電箔21aの未形成部21a1と、負極集電箔22aの未形成部22a1とは、幅方向において互いに反対側に向けられる。また、正極シート21と、第1のセパレータシート31と、負極シート22と、第2のセパレータシート32とは、それぞれ長さ方向に向きを揃え、順に重ねられて捲回されている。負極活物質層22bは、セパレータシート31,32を介在させた状態で正極活物質層21bを覆っている。負極活物質層22bは、セパレータシート31,32に覆われている。正極集電箔21aの未形成部21a1は、セパレータシート31,32の幅方向の片側にはみ出ている。負極集電箔22aの未形成部22a1は、幅方向の反対側においてセパレータシート31,32からはみ出ている。
上述した電極体20は、図1に示されているように、電池ケース41のケース本体41aに収容されうるように、捲回軸を含む一平面に沿った扁平な状態とされる。そして、電極体20の捲回軸に沿って、片側に正極集電箔21aの未形成部21a1が配置され、反対側に負極集電箔22aの未形成部22a1が配置されている。正極集電箔21aの未形成部21a1と、負極集電箔22aの未形成部22a1とは、蓋41bの長手方向の両側部にそれぞれ取り付けられた内部端子42に取り付けられている。電極体20は、このように蓋41bに取り付けられた内部端子42に取付けられた状態で、電池ケース41に収容される。なお、ここでは、捲回型の電極体が例示されているが、電極体の構造はかかる形態に限定されない。電極体20の構造は、例えば、正極シートと負極シートとが、セパレータシートとを介在させて交互に積層された積層構造でもよい。
〈電池ケース41〉
電池ケース41は、端子取付孔41c(図2参照)を有している。この実施形態では、電池ケース41は、ケース本体41aと、蓋41bとを備えている。電池ケースには、アルミ1000番系、3000番系などのアルミニウムまたはアルミニウム合金が用いられうる。この実施形態では、ケース本体41aは、扁平な略直方体の容器形状を有しており、長辺と短辺からなる一面が開口している。蓋41bは、当該ケース本体41aの開口に応じた形状で、当該開口に装着されるプレート状の部材である。蓋41bの長手方向の両側部には、内部端子42と外部端子43とを取付けるための端子取付孔41cが形成されている。ここでは、端子取付孔41cは、蓋41bに形成されている。
〈内部端子42〉
ここで、内部端子42は、図1および図2に示されているように、電池ケース41の内側に電池ケース41とは間隔を空けて配置されている。この実施形態では、内部端子42は、図2に示されているように、プレート状の部材である。内部端子42は、電池ケース41の内部において端子取付孔41cが設けられた蓋41bに間隔を空けて配置されている。内部端子42は、基部42aと、集電部42bと、突出部42cとを備えている。基部42aは、電池ケース41の蓋41bに沿って延びた部位である。集電部42bは、基部42aの一端から電極体20の捲回軸方向の片側に沿って延びた部位である。突出部42cは、基部42aに設けられて蓋41bの端子取付孔41cに入り込む部位である。突出部42cは、基部42aの内側から凹みが設けられ、外側に突出している。突出部42cの先端には、平坦面42c1を有する。
〈外部端子43〉
外部端子43は、電池ケース41の外側に電池ケース41とは間隔を空けて配置され、かつ、端子取付孔41cを通じて内部端子42に接続される部材である。この実施形態では、図2に示されているように、外部端子43は、平らなプレート状の部材であり、端子取付孔41cが設けられた蓋41bに対して間隔を空けて配置されている。外部端子43は、端子取付孔41cに入り込んだ内部端子42の突出部42cの平坦面42c1に重ねられており、当該部位が接合されている。このように、この実施形態では、内部端子42は、プレート状の部材である。内部端子42の基部42aは、内側から凹みが設けられて端子取付孔41cに入り込み、かつ、先端が平坦になった突出部42cを有している。突出部42cの先端の平坦になった部位(平坦面42c1)は、外部端子43に接合されている。
内部端子42と外部端子43との接合は、例えば、固相接合によるとよい。固相接合によれば、内部端子42と外部端子43とが接合された接合部分45の電気的な抵抗が低く抑えられる。固相接合は、例えば、超音波接合が採用されうる。超音波接合では、内部端子42と外部端子43を重ね、ホーンとアンビルで挟み、ホーンを振動させる。これによって、重ねられた内部端子42と外部端子43が溶融することなく固相(固体)状態のまま加熱され軟化され、さらに加圧されて塑性変形が与えられることによって接合される。固相接合による接合方法には、超音波接合の他、冷間圧接、熱間圧接、摩擦圧接などが採用されうる。なお、内部端子42と外部端子43の接合は、ここで例示されるものに限定されず、種々の方法が採用されうる。例えば、内部端子42と外部端子43は、溶接されていてもよい。
〈絶縁樹脂44〉
絶縁樹脂44は、電池ケース41と内部端子42との間、および、電池ケース41と外部端子43との間を埋めるように配置され、かつ、電池ケース41と内部端子42と外部端子43に接合されている。ここで絶縁樹脂44には、例えば、ポリフェニレンサルファイド樹脂(PPS:Poly Phenylene Sulfide )樹脂が用いられうる。かかるPPS樹脂は、耐熱性、耐薬品性、自己消火性、寸法安定性などの点で優れている。なお、ここでは、絶縁樹脂44の好適な材料として、PPS樹脂が例示されているが、特に言及されない限りにおいて、絶縁樹脂44は、PPS樹脂に限定されない。
図2に示された形態では、内部端子42と外部端子43の接合部分45では、電池ケース41の内側に向けられた内部端子42の内側面が絶縁樹脂44によって覆われている。この実施形態では、内部端子42の内側面に沿って絶縁樹脂44が形成されている。そして、内部端子42と外部端子43の接合部分45の内側面が絶縁樹脂44によって覆われている。このため、内部端子42と外部端子43の接合部分45が絶縁樹脂44によって電池ケース41内の雰囲気や電解液に曝されない。このため、内部端子42と外部端子43とが接合された部位が劣化しにくい。このように、絶縁樹脂44は、電池ケース41の内部で、内部端子42と外部端子43の接合部分45を覆う部分44aを備えているとよい。
また、絶縁樹脂44の少なくとも一部は、電極体20に当たっていてもよい。図2に示された形態では、内部端子42の内側面を覆う絶縁樹脂44の一部に電池ケース41内に向けて盛り上がった当接部位44bを備えている。かかる当接部位44bによって、内部端子42に取り付けられた電極体20が押さえ付けられる。このため、電池ケース41内で電極体20が安定する。
この実施形態では、絶縁樹脂44を通じて蓋41bに固定された内部端子42の集電部42bに、電極体20が取り付けられる。これにより、蓋41bに固定された内部端子42に電極体20が取り付けられたアッセンブリが用意される。絶縁樹脂44の形状は、図2に示されているように、絶縁樹脂44の少なくとも一部が電極体20に当たるように定められているとよい。当該アッセンブリは、電極体20をケース本体41aに収容する。この際、内部端子42に取り付けられた電極体20が絶縁樹脂44によって押さえ付けられている。このため、電極体20が適当な姿勢でケース本体41aに収容されやすい。
また、この実施形態では、絶縁樹脂44は、外部端子43の外周縁を囲っている。このため、蓋41bに対して外部端子43がずれにくい。このように、絶縁樹脂44は、外部端子43の外周縁を規制する規制部位44cを備えていてもよい。この実施形態では、規制部位44cは、外部端子43の外周縁に沿って立ち上がっており、外部端子43の外周縁を全周に亘って囲っている。規制部位44cは、外部端子43の外周縁を周方向において部分的に規制するものでもよい。
ここで開示される電池10は、電池ケース41と、内部端子42と、外部端子43と、絶縁樹脂44とを備えている。電池ケース41は、端子取付孔41cを有している。内部端子42は、電池ケース41の内側に電池ケース41とは間隔を空けて配置されている。外部端子43は、電池ケース41の外側に電池ケース41とは間隔を空けて配置され、かつ、端子取付孔41cを通じて内部端子42に接続されている。絶縁樹脂44は、電池ケース41と内部端子42との間、および、電池ケース41と外部端子43との間を埋めるように配置され、電池ケース41と内部端子42と外部端子43に接合されている。内部端子42と外部端子43とのうち少なくとも一方は、端子取付孔41cに突出した突出部42cを有し、突出部42cの先端で内部端子42と外部端子43とが接合されている。
ここで開示された電池10によれば、電池ケース41に内部端子42と外部端子43が取り付けられた部位が、絶縁樹脂44によって覆われる。このため、電池ケース41と内部端子42と外部端子43との接合部位に作用する応力が絶縁樹脂44全体で受けられる。このため、電池ケース41のリーク検査不良や、抵抗検査での不良が低減され、良品率が向上する。電池ケース41に内部端子42と外部端子43が取り付けられた部位の部品点数が少なくなる。
電池10の構造は、かかる形態に限定されない。図3は、他の形態に係る電池10Aの部分断面図である。図3に示されているように、電池10Aの外部端子43は、プレート状の部材であり、外側から凹みが設けられて端子取付孔41cに入り込み、かつ、先端が平坦になった突出部43cを有している。他方で、内部端子42の基部42aは、平らなプレート状で構成されている。突出部43cの先端の平坦になった部位43c1は、内部端子42に重ねられて接合されている。図3に示された形態では、内部端子42の内側面は、絶縁樹脂44で覆われている。特に、絶縁樹脂44は、電池ケース41の内側で、内部端子42と外部端子43の接合部分45を覆う部分44aを備えている。また、絶縁樹脂44の一部に、電池ケース41内に向けて盛り上がり、電極体20に当たる当接部位44bが設けられている。
図4は、他の形態に係る電池10Bの部分断面図である。図4に示されているように、電池10Bの内部端子42は、プレート状の部材であり、内側から凹みが設けられて端子取付孔41cに向けて突出し、かつ、先端が平坦になった突出部42cを有している。外部端子43は、プレート状の部材であり、外側から凹みが設けられて端子取付孔41cに向けて突出し、かつ、先端が平坦になった突出部43cを有している。そして、内部端子42の突出部42cの先端の平坦になった部位42c1と、外部端子43の突出部43cが平坦になった部位43c1とが接合されている。図4に示された形態では、内部端子42の内側面は、絶縁樹脂44で覆われている。特に、絶縁樹脂44は、電池ケース41の内側で、内部端子42と外部端子43の接合部分45を覆う部分44aを備えている。また、絶縁樹脂44の一部に、電池ケース41内に向けて盛り上がり、電極体20に当たる当接部位44bが設けられている。このように、内部端子42および外部端子43の構造には、種々の形態が採用されうる。
〈粗面加工〉
電池ケース41(この実施形態では、蓋41b)と内部端子42と外部端子43の絶縁樹脂44が接合された部分のうち少なくとも一部には、算術平均粗さが500nm~30nmの粗面が形成されていてもよい。ここで、樹脂が接合された部分に形成される粗面は、例えば、レーザー照射やケミカルエッチング処理による粗面加工によって微細な凹凸が形成されているとよい。絶縁樹脂44が接合される部位に粗面が形成されていることによって、電池ケース41(この実施形態では、蓋41b)、内部端子42および外部端子43と、絶縁樹脂44との接合強度が向上する。絶縁樹脂44の接合強度を向上させるとの観点において、粗面加工における凹凸の算術平均粗さは、500nm~30nm程度であるとよい。例えば、本発明者の知見によれば、粗面加工における凹凸の算術平均粗さは、450nm以下、より好ましくは400nm以下、40nm以上、より好ましくは50nm以上であるとよい。また、例えば、銅からなる部材では、算術平均粗さが240nm~60nm程度であるとよい。アルミニウムからなる部材では、算術平均粗さが435nm~48nm程度であるとよい。このように絶縁樹脂44が接合される部位に粗面加工を施す処理は、ナノアンカー処理とも称することができる。
《電池10の製造方法》
かかる電池10の製造方法では、電池ケース部材を用意する工程と、内部端子と外部端子とを用意する工程と、粗面加工が施される工程と、内部端子と外部端子とを接合する工程と、絶縁樹脂を充填する工程とが含まれうる。
図5から図7は、それぞれ電池10Cの製造方法を模式的に説明する斜視図である。ここで図示された電池10Cは、図1から図4に示された形態と異なる。図5には、用意された内部端子42に粗面加工が施される工程が示されている。図6には、内部端子42と外部端子43とを接合する工程が示されている。図7には、絶縁樹脂を充填する工程が示されている。なお、ここでは、電池の製造方法の一例が示されているに過ぎず、当該製造方法が適用される電池の構造は、ここで例示される構造に限定されない。
電池ケース部材を用意する工程では、端子取付孔41cを有する電池ケース部材が用意される。この実施形態では、図7に示されているように、用意される電池ケース部材は、蓋41bでありうる。蓋41bには、プレート状の部材である。蓋41bには、所要の大きさの端子取付孔41cが予め定められた位置に設けられている。
内部端子42と外部端子43とを用意する工程では、少なくとも何れか一方に端子取付孔41cに入り込む突出部を有する内部端子42と外部端子43とが用意される。この実施形態では、図7に示されているように、外部端子43に端子取付孔41cに入り込む突出部43cが設けられている。他方で、内部端子42の基部42aは、平らなプレート状で構成されている。
粗面加工が施される工程では、図5に示されているように、内部端子42と外部端子43とを接合する工程よりも前に、電池ケース部材(ここでは、蓋41b)と内部端子42と外部端子43とのうち少なくともいずれかの部材の、絶縁樹脂44が充填される領域を形成する部位に、粗面加工が施される。図5では、内部端子42にレーザー光60が照射され、絶縁樹脂44が充填される領域を形成する部位、つまり、絶縁樹脂44が接合される部位に予め定められた粗さの粗面加工が施される。ここでは、内部端子42が図示されているが、外部端子43や蓋41bも同様に、絶縁樹脂44が接合される部位に予め定められた粗さの粗面加工が施されるとよい。なお、粗面加工は、レーザー光を照射することに限らず、ケミカルエッチング処理によってもよい。
内部端子42と外部端子43とを接合する工程では、図6に示されているように、外部端子43の突出部43cの先端の平坦になった部位43c1が、内部端子42に重ねられて接合される。ここで、内部端子42と外部端子43との接合には、上述した超音波接合のような固相接合や溶接が採用されるとよい。
絶縁樹脂を充填する工程では、内部端子42および外部端子43と、電池ケース部材(ここでは、蓋41b)との間に間隙50(図6参照)が形成されるように、金型(図示省略)内に蓋41bと内部端子42と外部端子43とが配置される。そして、内部端子42および外部端子43と、電池ケース部材(ここでは、蓋41b)との間の間隙に絶縁樹脂44(図7参照)が充填される。かかる絶縁樹脂44を充填する工程では、絶縁樹脂44が充填されるキャビティ空間を有する金型内に、蓋41bと、内部端子42と、外部端子43とを所定の配置で固定される。図示は省略するが、金型には、絶縁樹脂44が充填される領域(キャビティ空間)を定める壁面が設けられている。
また、金型には、キャビティ空間に樹脂を充填するためのスプール、ランナー、ゲートなどが設けられている。金型に設置される際には、内部端子42と外部端子43とは、既に接合されている。そして、この状態で、金型内に絶縁樹脂44を充填し、絶縁樹脂44が所定の形状に成形される。これにより、内部端子42および外部端子43と、蓋41bとの間の間隙50(図6参照)が絶縁樹脂44によって埋められる。そして、内部端子42および外部端子43と、蓋41bとが絶縁樹脂44によって固定される。
この実施形態では、蓋41b、内部端子42および外部端子43において、絶縁樹脂44が充填される領域を形成する部位に粗面加工が施されている。このため、蓋41b、内部端子42および外部端子43の微細な凹凸に絶縁樹脂44が入り込む。蓋41b、内部端子42および外部端子43の微細な凹凸に絶縁樹脂44が入り込むことによって、微細な凹凸に入り込んだ絶縁樹脂44が、いわゆるナノアンカーとして機能する。このため、蓋41b、内部端子42および外部端子43と、絶縁樹脂44との接合がより強固になる。なお、内部端子42および外部端子43と、蓋41bとが絶縁樹脂44によって十分な強度で固定される場合には、かかる粗面加工は省略されうる。
絶縁樹脂44の少なくとも一部には、図7に示されているように、電極体20に当たる当接部位44bが設けられているとよい。この実施形態では、絶縁樹脂44は、蓋41bの内側面に沿って内部端子42と蓋41bとの間隙からはみ出ている。そして、当該内部端子42と蓋41bとの間隙からはみ出た部位に、電池ケース41の内方に突出する突起が設けられている。かかる突起は、電池ケース41内で電極体20に当たるように設けられているとよい。このように、絶縁樹脂44には、電極体20に当たる当接部位44bが設けられているとよい。電極体20に当たる当接部位44bが設けられる位置や形状は、種々変更されうる。例えば、図7に示された電池10Cでは、採用されていないが、絶縁樹脂44は、電池ケース41の内部で、内部端子42と外部端子43の接合部分45を覆う部分44a(図2参照)を備えていてもよい。
以上、ここで開示される電池について、種々説明した。特に言及されない限りにおいて、ここで挙げられた電池の実施形態などは本発明を限定しない。また、ここで開示される電池は、種々変更でき、特段の問題が生じない限りにおいて、各構成要素やここで言及された各処理は適宜に省略され、または、適宜に組み合わされうる。
10,10A,10B,10C 電池
20 電極体
21 正極シート
21a 正極集電箔
21a1 未形成部
21b 正極活物質層
22 負極シート
22a 負極集電箔
22a1 未形成部
22b 負極活物質層
31,32 セパレータシート
41 電池ケース
41a ケース本体
41b 蓋
41c 端子取付孔
42 内部端子
42a 基部
42b 集電部
42c 突出部
42c1 平坦になった部位(平坦面)
43 外部端子
43c 突出部
43c1 平坦になった部位
44 絶縁樹脂
44a 接合部分を覆う部分
44b 当接部位
44c 規制部位
45 接合部分
50 間隙
60 レーザー光

Claims (10)

  1. 端子取付孔を有する電池ケースと、
    前記電池ケースの内側に前記電池ケースとは間隔を空けて配置された内部端子と、
    前記電池ケースの外側に前記電池ケースとは間隔を空けて配置され、かつ、前記端子取付孔を通じて前記内部端子に接続された外部端子と、
    前記電池ケースと前記内部端子との間、および、前記電池ケースと前記外部端子との間を埋めるように配置され、前記電池ケースと前記内部端子と前記外部端子に接合された絶縁樹脂と
    を備え、
    前記内部端子は、プレート状の部材であり、内側から凹みが設けられて前記端子取付孔に入り込み、かつ、先端が平坦になった突出部を有し、
    前記内部端子の突出部は、前記端子取付孔に突出し、前記外部端子に重ねられ、当該突出部の先端で前記内部端子と前記外部端子とが固相接合または溶接されている、
    電池。
  2. 端子取付孔を有する電池ケースと、
    前記電池ケースの内側に前記電池ケースとは間隔を空けて配置された内部端子と、
    前記電池ケースの外側に前記電池ケースとは間隔を空けて配置され、かつ、前記端子取付孔を通じて前記内部端子に接続された外部端子と、
    前記電池ケースと前記内部端子との間、および、前記電池ケースと前記外部端子との間を埋めるように配置され、前記電池ケースと前記内部端子と前記外部端子に接合された絶縁樹脂と
    を備え、
    前記外部端子は、プレート状の部材であり、外側から凹みが設けられて前記端子取付孔に入り込み、かつ、先端が平坦になった突出部を有し、
    前記外部端子の突出部は、前記端子取付孔に入り込み、前記内部端子に重ねられ、当該突出部の先端で前記内部端子と前記外部端子とが固相接合または溶接されている
    池。
  3. 端子取付孔を有する電池ケースと、
    前記電池ケースの内側に前記電池ケースとは間隔を空けて配置された内部端子と、
    前記電池ケースの外側に前記電池ケースとは間隔を空けて配置され、かつ、前記端子取付孔を通じて前記内部端子に接続された外部端子と、
    前記電池ケースと前記内部端子との間、および、前記電池ケースと前記外部端子との間を埋めるように配置され、前記電池ケースと前記内部端子と前記外部端子に接合された絶縁樹脂と
    を備え、
    前記内部端子は、プレート状の部材であり、内側から凹みが設けられて前記端子取付孔に向けて突出し、かつ、先端が平坦になった突出部を有し、
    前記外部端子は、プレート状の部材であり、外側から凹みが設けられて前記端子取付孔に向けて突出し、かつ、先端が平坦になった突出部を有し、
    前記内部端子の突出部と前記外部端子の突出部とは、それぞれ前記端子取付孔に入り込み、前記内部端子の突出部の先端の平坦になった部位と、前記外部端子の突出部の先端が平坦になった部位とが固相接合または溶接されている
    池。
  4. 前記電池ケースと前記内部端子と前記外部端子とに前記絶縁樹脂が接合された部分のうち少なくとも一部には、算術平均粗さが30nm以上500nm以下の粗面が形成されている、請求項1から3までの何れか一項に記載された電池。
  5. 少なくとも前記内部端子と前記外部端子とが固相接合または溶接された部位では、前記電池ケースの内側に向けられた内側面が前記絶縁樹脂によって覆われている、請求項1から4までの何れか一項に記載された電池。
  6. 前記電池ケースに収容された電極体をさらに備え、
    前記絶縁樹脂の少なくとも一部は、前記電極体に当たっている、請求項1から5までの何れか一項に記載された電池。
  7. 端子取付孔を有する電池ケース部材を用意する工程と、
    プレート状の部材であり、凹みが設けられ、先端が平坦になっており、かつ、前記端子取付孔に入り込むように形成された突出部を有する内部端子と、外部端子とを用意する工程と、
    前記電池ケース部材の端子取付孔に前記突出部を入り込ませた状態で、前記突出部の先端の平坦になった部位を前記外部端子に重ね、前記突出部を介して前記内部端子と前記外部端子とを固相接合または溶接する工程と、
    前記内部端子および前記外部端子と、前記電池ケース部材との間に間隙が形成されるように、金型内に前記電池ケース部材と前記内部端子と前記外部端子とを配置し、前記間隙に絶縁樹脂を充填する工程と
    が含まれた、電池の製造方法。
  8. 端子取付孔を有する電池ケース部材を用意する工程と、
    プレート状の部材であり、凹みが設けられ、先端が平坦になっており、かつ、前記端子取付孔に入り込むように形成された突出部を有する外部端子と、内部端子とを用意する工程と、
    前記電池ケース部材の端子取付孔に前記突出部を入り込ませた状態で、前記突出部の先端の平坦になった部位を前記内部端子に重ね、前記突出部を介して前記内部端子と前記外部端子とを固相接合または溶接する工程と、
    前記内部端子および前記外部端子と、前記電池ケース部材との間に間隙が形成されるように、金型内に前記電池ケース部材と前記内部端子と前記外部端子とを配置し、前記間隙に絶縁樹脂を充填する工程と
    が含まれた、
    電池の製造方法。
  9. 端子取付孔を有する電池ケース部材を用意する工程と、
    プレート状の部材であり、凹みが設けられ、先端が平坦になっており、かつ、前記端子取付孔に入り込むように形成された突出部を有する内部端子と、プレート状の部材であり、凹みが設けられ、先端が平坦になっており、かつ、前記端子取付孔に入り込むように形成された突出部を有する外部端子とを用意する工程と、
    前記電池ケース部材の端子取付孔に前記内部端子の突出部と前記外部端子の突出部を入り込ませた状態で、前記内部端子の突出部の先端と前記外部端子の突出部の先端と重ね、前記内部端子の突出部の先端の平坦になった部位と、前記外部端子の突出部の先端が平坦になった部位とを固相接合または溶接する工程と、
    前記内部端子および前記外部端子と、前記電池ケース部材との間に間隙が形成されるように、金型内に前記電池ケース部材と前記内部端子と前記外部端子とを配置し、前記間隙に絶縁樹脂を充填する工程と
    が含まれた、
    電池の製造方法。
  10. 前記内部端子と前記外部端子とを固相接合または溶接する工程よりも前に、前記電池ケース部材と前記内部端子と前記外部端子とのうち少なくともいずれかの部材の、前記絶縁樹脂が充填される領域を形成する部位に、粗面加工が施される工程を含む、請求項7から9までの何れか一項に記載された電池の製造方法。
JP2020190182A 2020-11-16 2020-11-16 電池および電池の製造方法 Active JP7446202B2 (ja)

Priority Applications (3)

Application Number Priority Date Filing Date Title
JP2020190182A JP7446202B2 (ja) 2020-11-16 2020-11-16 電池および電池の製造方法
CN202111325510.2A CN114512775A (zh) 2020-11-16 2021-11-10 电池以及电池的制造方法
US17/525,972 US12294096B2 (en) 2020-11-16 2021-11-15 Battery and method of manufacturing same

Applications Claiming Priority (1)

Application Number Priority Date Filing Date Title
JP2020190182A JP7446202B2 (ja) 2020-11-16 2020-11-16 電池および電池の製造方法

Publications (2)

Publication Number Publication Date
JP2022079172A JP2022079172A (ja) 2022-05-26
JP7446202B2 true JP7446202B2 (ja) 2024-03-08

Family

ID=81548396

Family Applications (1)

Application Number Title Priority Date Filing Date
JP2020190182A Active JP7446202B2 (ja) 2020-11-16 2020-11-16 電池および電池の製造方法

Country Status (3)

Country Link
US (1) US12294096B2 (ja)
JP (1) JP7446202B2 (ja)
CN (1) CN114512775A (ja)

Families Citing this family (15)

* Cited by examiner, † Cited by third party
Publication number Priority date Publication date Assignee Title
CN114097116A (zh) * 2019-05-09 2022-02-25 A123系统有限责任公司 用于阴极材料的干表面掺杂的方法和系统
JP7675691B2 (ja) * 2022-08-30 2025-05-13 プライムプラネットエナジー&ソリューションズ株式会社 電池セルおよびその製造方法
JP7716381B2 (ja) * 2022-11-29 2025-07-31 プライムプラネットエナジー&ソリューションズ株式会社 蓄電デバイス
JP7713923B2 (ja) * 2022-11-29 2025-07-28 プライムプラネットエナジー&ソリューションズ株式会社 蓄電デバイス
JP2024115248A (ja) * 2023-02-14 2024-08-26 プライムプラネットエナジー&ソリューションズ株式会社 電池用蓋および電池
JP7688666B2 (ja) * 2023-02-21 2025-06-04 プライムプラネットエナジー&ソリューションズ株式会社 金属樹脂複合体及び金属樹脂複合体の製造方法
CN219677389U (zh) * 2023-03-17 2023-09-12 湖北省泰璞电子有限公司 一种电池盖板及其电池
JP2025009081A (ja) * 2023-07-07 2025-01-20 プライムプラネットエナジー&ソリューションズ株式会社 金属部材ならびに金属樹脂複合体、金属部材の製造方法および金属樹脂複合体の製造方法
JP7724262B2 (ja) * 2023-08-07 2025-08-15 プライムプラネットエナジー&ソリューションズ株式会社 蓄電デバイス及び蓄電デバイスの製造方法
JP7736748B2 (ja) * 2023-08-09 2025-09-09 プライムプラネットエナジー&ソリューションズ株式会社 蓄電デバイス及び蓄電デバイスの製造方法
JP2025040785A (ja) * 2023-09-12 2025-03-25 プライムプラネットエナジー&ソリューションズ株式会社 蓄電デバイス及び蓄電デバイスの製造方法
CN120693728A (zh) * 2023-09-28 2025-09-23 宁德时代新能源科技股份有限公司 电池单体、电池及用电装置
JP2025075661A (ja) * 2023-10-31 2025-05-15 プライムプラネットエナジー&ソリューションズ株式会社 蓄電デバイス及び蓄電デバイスの製造方法
KR20250097327A (ko) * 2023-12-21 2025-06-30 삼성에스디아이 주식회사 이차 전지
JP2025116589A (ja) 2024-01-29 2025-08-08 プライムプラネットエナジー&ソリューションズ株式会社 蓄電デバイス及び蓄電デバイスの製造方法

Citations (6)

* Cited by examiner, † Cited by third party
Publication number Priority date Publication date Assignee Title
JP2002231197A (ja) 2001-02-02 2002-08-16 Matsushita Electric Ind Co Ltd 電池の封口構造および電池並びにその製造方法
JP2010089156A (ja) 2008-10-10 2010-04-22 Toyota Motor Corp 接合方法およびその利用
JP2011216396A (ja) 2010-04-01 2011-10-27 Hitachi Vehicle Energy Ltd 角形二次電池
WO2017056733A1 (ja) 2015-09-30 2017-04-06 日立オートモティブシステムズ株式会社 二次電池
JP2018139190A (ja) 2017-02-24 2018-09-06 リチウム エナジー アンド パワー ゲゼルシャフト ミット ベシュレンクテル ハフッング ウント コンパニー コマンディトゲゼルシャフトLithium Energy and Power GmbH & Co. KG 蓄電素子
JP2019192520A (ja) 2018-04-26 2019-10-31 Smk株式会社 電池端子ユニット及び電池端子ユニットの製造方法

Family Cites Families (15)

* Cited by examiner, † Cited by third party
Publication number Priority date Publication date Assignee Title
JP5476794B2 (ja) 2009-05-20 2014-04-23 株式会社Gsユアサ 電池
JP5481178B2 (ja) 2009-12-08 2014-04-23 日立ビークルエナジー株式会社 組電池および単電池
US20110300414A1 (en) * 2010-06-07 2011-12-08 Woonseong Baek Cap assembly and rechargeable battery having the same
KR20120028078A (ko) * 2010-09-14 2012-03-22 에스비리모티브 주식회사 이차전지
JP2012245665A (ja) 2011-05-26 2012-12-13 Nagase Chemtex Corp 成形法
WO2014157191A1 (ja) 2013-03-26 2014-10-02 株式会社Gsユアサ 蓄電素子、及び前記蓄電素子を備える蓄電装置
JP6327818B2 (ja) * 2013-09-19 2018-05-23 株式会社貴匠技研 コネクタ端子構造の第1端子部材
JP5916678B2 (ja) 2013-10-03 2016-05-11 古河電気工業株式会社 アルミニウム・樹脂複合体、アルミニウム絶縁電線及びフラットケーブル並びにそれらの製造方法
KR102284569B1 (ko) * 2014-10-07 2021-08-03 삼성에스디아이 주식회사 이차 전지 및 그 제조 방법
KR101959565B1 (ko) 2017-01-18 2019-07-02 삼육구 주식회사 이차전지 및 이의 제조방법
CN109659454B (zh) * 2017-10-10 2020-11-10 宁德时代新能源科技股份有限公司 二次电池的顶盖组件以及二次电池
JP7064695B2 (ja) 2017-12-15 2022-05-11 トヨタ自動車株式会社 密閉型電池、組電池、密閉型電池の製造方法および組電池の製造方法
JP7169521B2 (ja) * 2019-02-28 2022-11-11 トヨタ自動車株式会社 密閉型電池および組電池
CN209880723U (zh) * 2019-04-26 2019-12-31 宁德时代新能源科技股份有限公司 电池模组、二次电池及其顶盖组件
CN209880742U (zh) * 2019-06-28 2019-12-31 江苏时代新能源科技有限公司 二次电池

Patent Citations (6)

* Cited by examiner, † Cited by third party
Publication number Priority date Publication date Assignee Title
JP2002231197A (ja) 2001-02-02 2002-08-16 Matsushita Electric Ind Co Ltd 電池の封口構造および電池並びにその製造方法
JP2010089156A (ja) 2008-10-10 2010-04-22 Toyota Motor Corp 接合方法およびその利用
JP2011216396A (ja) 2010-04-01 2011-10-27 Hitachi Vehicle Energy Ltd 角形二次電池
WO2017056733A1 (ja) 2015-09-30 2017-04-06 日立オートモティブシステムズ株式会社 二次電池
JP2018139190A (ja) 2017-02-24 2018-09-06 リチウム エナジー アンド パワー ゲゼルシャフト ミット ベシュレンクテル ハフッング ウント コンパニー コマンディトゲゼルシャフトLithium Energy and Power GmbH & Co. KG 蓄電素子
JP2019192520A (ja) 2018-04-26 2019-10-31 Smk株式会社 電池端子ユニット及び電池端子ユニットの製造方法

Also Published As

Publication number Publication date
JP2022079172A (ja) 2022-05-26
US12294096B2 (en) 2025-05-06
US20220158279A1 (en) 2022-05-19
CN114512775A (zh) 2022-05-17

Similar Documents

Publication Publication Date Title
JP7446202B2 (ja) 電池および電池の製造方法
CN114223096B (zh) 二次电池及其制造方法
US11664560B2 (en) Secondary battery and method of manufacturing the same
EP3800718B1 (en) Secondary battery, device, and manufacturing method for secondary battery
US10950916B2 (en) Battery and battery manufacturing method
US11552373B2 (en) Battery and method of manufacturing battery
CN114223088B (zh) 二次电池及其制造方法
US20190221822A1 (en) Secondary battery
US11024925B2 (en) Secondary battery and method of manufacturing the same
JP7426356B2 (ja) 端子部品ならびに該端子部品を備える二次電池および組電池
JPWO2018062338A1 (ja) 角形二次電池及びその製造方法
JP2020017376A (ja) 蓄電装置及び蓄電装置の製造方法
JP7599967B2 (ja) 端子部品、二次電池および組電池
CN111433935A (zh) 蓄电元件
US20240021964A1 (en) Battery and electrode terminal
JP7611875B2 (ja) 電池
US20240014479A1 (en) Sealed battery and method for manufacturing the same
JP7713923B2 (ja) 蓄電デバイス
US20250233260A1 (en) Power storage device
EP4478498A1 (en) Electricity storage device
US20240014477A1 (en) Sealed battery and method for manufacturing the same
JP2025167946A (ja) 二次電池の製造方法及び二次電池
JP2024015661A (ja) 電池
CN118117222A (zh) 蓄电装置

Legal Events

Date Code Title Description
A621 Written request for application examination

Free format text: JAPANESE INTERMEDIATE CODE: A621

Effective date: 20211203

A977 Report on retrieval

Free format text: JAPANESE INTERMEDIATE CODE: A971007

Effective date: 20221013

A131 Notification of reasons for refusal

Free format text: JAPANESE INTERMEDIATE CODE: A131

Effective date: 20221208

A521 Request for written amendment filed

Free format text: JAPANESE INTERMEDIATE CODE: A523

Effective date: 20230131

A131 Notification of reasons for refusal

Free format text: JAPANESE INTERMEDIATE CODE: A131

Effective date: 20230511

A521 Request for written amendment filed

Free format text: JAPANESE INTERMEDIATE CODE: A523

Effective date: 20230706

A131 Notification of reasons for refusal

Free format text: JAPANESE INTERMEDIATE CODE: A131

Effective date: 20231005

A521 Request for written amendment filed

Free format text: JAPANESE INTERMEDIATE CODE: A523

Effective date: 20231026

TRDD Decision of grant or rejection written
A01 Written decision to grant a patent or to grant a registration (utility model)

Free format text: JAPANESE INTERMEDIATE CODE: A01

Effective date: 20240201

A61 First payment of annual fees (during grant procedure)

Free format text: JAPANESE INTERMEDIATE CODE: A61

Effective date: 20240227

R150 Certificate of patent or registration of utility model

Ref document number: 7446202

Country of ref document: JP

Free format text: JAPANESE INTERMEDIATE CODE: R150