JP7366498B2 - 物品供給装置及びそれを備えた計量システム - Google Patents

物品供給装置及びそれを備えた計量システム Download PDF

Info

Publication number
JP7366498B2
JP7366498B2 JP2019207815A JP2019207815A JP7366498B2 JP 7366498 B2 JP7366498 B2 JP 7366498B2 JP 2019207815 A JP2019207815 A JP 2019207815A JP 2019207815 A JP2019207815 A JP 2019207815A JP 7366498 B2 JP7366498 B2 JP 7366498B2
Authority
JP
Japan
Prior art keywords
article
conveyor
speed
supply
input
Prior art date
Legal status (The legal status is an assumption and is not a legal conclusion. Google has not performed a legal analysis and makes no representation as to the accuracy of the status listed.)
Active
Application number
JP2019207815A
Other languages
English (en)
Other versions
JP2021080049A (ja
Inventor
拓也 山中
忠信 田中
Current Assignee (The listed assignees may be inaccurate. Google has not performed a legal analysis and makes no representation or warranty as to the accuracy of the list.)
Yamato Scale Co Ltd
Original Assignee
Yamato Scale Co Ltd
Priority date (The priority date is an assumption and is not a legal conclusion. Google has not performed a legal analysis and makes no representation as to the accuracy of the date listed.)
Filing date
Publication date
Application filed by Yamato Scale Co Ltd filed Critical Yamato Scale Co Ltd
Priority to JP2019207815A priority Critical patent/JP7366498B2/ja
Publication of JP2021080049A publication Critical patent/JP2021080049A/ja
Application granted granted Critical
Publication of JP7366498B2 publication Critical patent/JP7366498B2/ja
Active legal-status Critical Current
Anticipated expiration legal-status Critical

Links

Images

Landscapes

  • Branching, Merging, And Special Transfer Between Conveyors (AREA)
  • Control Of Conveyors (AREA)

Description

本発明は、物品を供給先に供給する物品供給装置及びそれを備える計量システムに関し、更に詳しくは、物品の供給が人手によって行われる半自動式の組合せ秤への物品の供給に好適な物品供給装置及びそれを備えた計量システムに関する。
組合せ秤は、複数の計量部を有し、各計量部に供給された物品の重量を種々組合せた合計重量である組合せ重量が、所定重量範囲となる計量部の組合せを選択し、選択した計量部の物品を排出するものである。
この組合せ秤には、当該組合せ秤への物品の供給を人手によって行い、物品の排出を自動で行う、いわゆる、半自動式の組合せ秤がある(例えば、特許文献1参照)。
この半自動式の組合せ秤では、人手で物品を組合せ秤に供給するので、単体重量が比較的大きく不定形な物品や機械によるハンドリングが難しい物品、例えば、粘着性のある鶏肉などの肉片や魚介類などを取り扱う上で好適である。
しかし、半自動式の組合せ秤では、該組合せ秤の物品投入口へ作業者が物品を掴んで投入しなければならず、多量の物品の計量処理には、多大な労力を要することになる。
かかる労力を軽減するために、本出願人は、半自動式の組合せ秤の物品投入口などへ物品を自動で分配供給できる物品供給装置及びそれを備えた計量システムを既に提案している(例えば、特許文献2参照)。
特開2011-80895号公報 特開2018-118835号公報
上記特許文献2では、物品を一定方向に振動搬送する振動フィーダやベルトコンベヤ等の搬送機構によって、半自動式の組合せ秤の物品投入口へ物品を搬送して供給している。
高速な計量処理を行うためには、半自動式の組合せ秤から物品の供給要求があった場合に、その要求から半自動式の組合せ秤の物品投入口へ物品を供給するまでに要する時間を短縮する必要がある。
そのためには、物品をベルトコンベヤによって搬送する場合には、その速度を高速にすることが考えられるが、ベルトコンベヤの速度を高速にするだけでは、物品を、半自動式の組合せ秤の物品投入口に確実に投入できない場合がある。
本発明は、このような点に着目してなされたものであって、供給先に、物品を確実に供給できると共に、供給に要する時間を可及的に短縮することを目的とする。
上記目的を達成するために、本発明では次のように構成している。
(1)本発明に係る物品供給装置は、物品を搬送して供給先へ供給する搬送コンベヤと、該搬送コンベヤの駆動を制御する制御部とを備え、 前記制御部は、前記搬送コンベヤを第1速度で駆動して、前記搬送コンベヤの物品の搬送方向の終端部へ前記物品を搬送し、前記搬送コンベヤを第2速度で駆動して、前記終端部の物品を前記供給先へ供給するものであって、前記第1速度が、前記第2速度より高速であり、
前記制御部は、前記供給先から与えられる物品の供給要求に応じて、前記搬送コンベヤの駆動を制御するものであり、前記制御部は、前記搬送コンベヤの前記終端部へ前記物品を搬送した場合に、前記供給先から物品の供給要求があるときには、前記搬送コンベヤを停止させることなく、前記第1速度から前記第2速度に切換えて駆動して、前記物品を前記供給先へ供給し、前記供給先から物品の供給要求がないときには、前記搬送コンベヤを停止させて前記物品を前記供給先へ供給しない待機状態とする。
本発明の物品供給装置によると、物品を、搬送コンベヤの終端部へ高速な第1速度で搬送するので、終端部まで物品を搬送するのに要する時間を短縮することができる。
また、搬送コンベヤの終端部に達した物品は、第1速度より低速の第2速度で供給先へ供給されるので、供給先へ確実に供給することができ、例えば、高速で物品を供給する場合のように、物品が、供給先を飛び越えてしまうといったことがない。
これによって、物品を、供給先へ確実に供給できると共に、供給に要する時間を短縮することができる。
更に、物品を、高速の第1速度で搬送コンベヤの終端部へ搬送した時点までに、供給先から物品の供給要求があるときには、搬送コンベヤを停止させることなく、第1速度から低速の第2速度に切換えて物品を供給先へ供給するので、物品の供給要求があった時点から物品を供給先へ供給するまでに要する時間を一層短縮することができる。
また、供給先から物品の供給要求がないときにも、物品を、高速の第1速度で搬送コンベヤの終端部へ搬送するので、物品を終端部まで搬送するのに要する時間を短縮することができる。
(2)本発明の一実施態様では、前記制御部は、前記搬送コンベヤの前記終端部に物品が無いときに、前記搬送コンベヤを前記第1速度で駆動して、前記物品を前記終端部へ搬送する。
この実施態様によると、搬送コンベヤの終端部に物品が無いときには、前記物品を、高速な第1速度で前記終端部へ搬送するので、搬送コンベヤの終端部に物品が無く、供給先へ物品を供給できない状態が継続するのを防止することができる。
(3)本発明の好ましい実施態様では、前記搬送コンベヤの前記終端部の物品を検知する物品検知センサを備え、前記制御部は、前記物品検知センサの検知出力に基づいて、前記搬送コンベヤの駆動を制御する。
この実施態様によると、制御部は、物品検知センサの検知出力に基づいて、搬送コンベヤの終端部における物品の有無を判断できるので、搬送コンベヤの終端部に物品が有るときには、低速の第2速度で物品を供給先へ確実に供給することができる一方、搬送コンベヤの終端部に物品が無いときには、高速な第1速度で物品を前記終端部へ短時間で搬送することができる。
)本発明の更に他の実施態様では、前記制御部は、前記待機状態において、前記供給先から物品の供給要求があると、前記搬送コンベヤを前記第2速度で駆動して、前記終端部の物品を前記供給先へ供給する。
この実施形態によると、搬送コンベヤの終端部へ物品を搬送した待機状態において、供給先から物品の供給要求があると、搬送コンベヤを低速な第2速度で駆動して、物品を直ちに、かつ、確実に供給先に供給することができる。
)本発明の他の実施態様では、前記搬送コンベヤを複数備え、前記複数の搬送コンベヤの前段には、前段搬送機構、物品排出機構及び分配搬送機構が設けられ、前記前段搬送機構は、供給される物品を搬送するものであり、前記物品排出機構は、前記前段搬送機構による前記物品の搬送経路の複数個所において、搬送されてきた物品の通過を許容する許容状態と、搬送されてきた物品を前記搬送径路外に排出する排出状態とに切換え可能であり、前記分配搬送機構は、前記物品排出機構で前記搬送経路外へ排出された物品を、前記複数の前記搬送コンベヤに振分け搬送する。
この実施態様によると、前段搬送機構の搬送方向の上手側において物品を供給すると、前段搬送機構によって搬送される物品は、その搬送径路の複数個所において物品排出機構によって搬送経路外に排出され、排出された物品は、分配搬送機構によって更に複数の搬送コンベヤに振り分けられ、複数の搬送コンベヤに振り分けられた物品は、各搬送コンベヤによって、複数の各供給先へ搬送されて供給される。
したがって、例えば、物品排出機構を搬送径路の3箇所に配備すると共に、分配搬送機構で更に3台の搬送コンベヤに分配するようにすると、前段搬送機構の上手側の1箇所で供給した物品を、所定の9箇所の供給先へ物品を分配供給することが可能となる。
)本発明に係る計量システムは、上記()の物品供給装置と、複数の計量部を有し、各計量部に供給された前記物品の重量を組合せた組合せ重量が、所定重量範囲となる前記計量部の組合せを選択する組合せ演算を行って、選択した計量部から前記物品を排出する組合せ秤とを備え、前記組合せ秤には、前記物品供給装置の前記複数の前記搬送コンベヤによって前記物品が供給される。
本発明の計量システムによると、物品供給装置は、前段搬送機構の搬送経路の上手側において供給した物品を、分配搬送して、複数の搬送コンベヤから組合せ秤へ供給することができるので、従来のように、作業者が、物品を一々掴んで半自動式の組合せ秤へ投入する必要がなく、作業者の労力が大幅に軽減される。
更に、物品を、半自動式の組合せ秤へ確実に供給できると共に、供給に要する時間を短縮することができる。
本発明によれば、物品を、搬送コンベヤの終端部へ高速な第1速度で搬送するので、終端部まで物品を搬送するのに要する時間を短縮することができると共に、搬送コンベヤの終端部に達した物品は、第1速度より低速の第2速度で供給先へ供給されるので、供給先へ物品を確実に供給することができる。
図1は計量システムの一実施形態の全体斜視図である。 図2は図1の計量システムの平面図である。 図3は図1の計量システムの側面図である。 図4は一組の物品分配箇所を示す概略斜視図である。 図5は組合せ秤の概略側面図である。 図6は物品を検知する物品検知センサの配置状態を示す概略平面図である。 図7は図1の計量システムの制御構成を示すブロック図である。 図8は物品供給装置の全体制御の一例を示すフローチャートである。 図9は旋回コンベヤ、投入コンベヤ及び半自動式の組合せ秤等を模式的に示す図である。 図10は物品を高速搬送した状態の模式図である。 図11は実施形態の搬送速度を示す模式図である。 図12は投入コンベヤの搬送制御を示すフローチャートである。
以下、本発明の一実施形態に係る物品供給装置及びそれを備えた計量システムを図面に基づいて説明する。
図1は、本発明の一実施形態に係る計量システムの全体構成を示す斜視図、図2はその平面図、図3はその側面図である。この実施形態の計量システムは、物品供給を行う物品供給装置1と、従来では、物品の供給が人手によって行われていた半自動式の組合せ秤2とを備えている。
この計量システムは、半自動式の組合せ秤2に対して、物品供給装置1によって物品を、自動で供給するものであり、全体として、物品の供給及び排出を自動で行う、自動式の組合せ秤と称することもできる。
この実施形態では、単体重量が比較的大きく不定形で、機械によるハンドリングが難しい粘着性を有する物品、例えば、ブロイラー(肉用鶏)を解体したモモ肉あるいはムネ肉といったブロック状の肉片を計量対象としている。
この実施形態の計量システムは、ブロイラーの解体ラインの計量工程に好適なシステムである。
物品供給装置1は、水平に配備した前段搬送機構3と、その搬送径路の複数箇所、この例では3箇所に配備した物品排出機構4と、各物品排出機構4にそれぞれ対応する3台の分配搬送機構5と、各分配搬送機構5に対応して複数台ずつ、この例では3台ずつ並列配備した搬送コンベヤとしての投入コンベヤ6とを備えている。
前段搬送機構3は、水平に巻回した搬送ベルト7を、図2において、矢符Aで示されるように、右方から左方に一定の速度で回転駆動されるベルトコンベヤで構成されている。前段搬送機構3の搬送ベルト7の右方の始端側において、
解体されたブロイラーの肉片が、物品wとして供給される。
物品排出機構4は、前段搬送機構3における搬送径路を挟む一方側に設置されて縦支点aを中心にして、揺動駆動可能な長板状のガイド部材8を備えている。このガイド部材8は、図2中の実線で示すように、搬送径路の前記一方側に外れて搬送方向に沿った退避姿勢となる許容状態では、前段搬送機構3による搬送径路上の物品wの通過が許容される。ガイド部材8が駆動されて、図2中の仮想線で示すように、前記縦支点aを中心に搬送経路側へ揺動すると、長板状のガイド部材8が、平面視で搬送径路に斜めに交差した排出姿勢の排出状態となる。この排出状態では、搬送径路に沿って搬送される物品wは、搬送経路を斜めに横切るように交差しているガイド部材8の板面に沿って、徐々に搬送径路の他方側の外方へ案内されて、搬送経路から排出される。
前段搬送機構3の排出側には、下窄まりの傾斜した排出シュート9が固定配備されており、ガイド部材8によって案内排出された物品wは、排出シュート9を介して前記他方側の下方に滑落案内される。
このように物品排出機構4は、長板状のガイド部材8を、前段搬送機構3の搬送経路に対して傾斜するように交差させて、前段搬送機構3によって搬送される物品wを、ガイド部材8の板面に沿って案内して排出するので、粘着性を有するブロイラーの肉片である物品wを確実に所定の箇所で排出することができる。
前記分配搬送機構5は、物品排出機構4によって排出されてきた物品wを受け取る上拡がり漏斗状の投入ファネル10と、投入ファネル10に投入された物品wを搬送すると共に、所定角度だけ回動駆動可能な旋回コンベヤ14とを備えている。旋回コンベヤ14は、投入ファネル10で滑落案内された物品wを載置して水平に搬送する搬送ベルト11と、搬送ベルト11の両脇に起立配備された左右の側板12と、両側板12の終端部に取付けられた平面形状がU形の排出カバー13とを備えている。
排出カバー13は、搬送ベルト11で載置搬送されてきた物品wを、搬送方向へ飛び出させることなく落下させる落下口を形成するものであり、図4に示されるように、両側板12に対して搬送方向に沿って位置調節可能にボルト締め連結されている。この排出カバー13の位置調節によって物品wの大きさに対応して落下口の搬送方向の開口長さを変更し、物品wが詰まることなく的確に所定位置に落下排出されるようになっている。
旋回コンベヤ14は、投入ファネル10からの物品が滑落する搬送ベルト11の搬送始端側に設定された縦支点bを中心として、サーボモータによって所定角度だけ回動駆動可能である。この旋回コンベヤ14は、回動範囲における中央位置とその両側の回動端位置の3位置において、搬送ベルト11の搬送終端の落下口が、各投入コンベヤ6の直上方に位置するようになっている。すなわち、旋回コンベヤ14は、縦支点bを中心として、所定角度だけ旋回して、物品wを、3台の各投入コンベヤ6に振分ける。
上記のように旋回コンベヤ14は、投入ファネル10からの物品が滑落する搬送ベルト11の搬送始端側に設定された縦支点bを中心として回動するので、旋回コンベヤ14がどの回動位置にあっても、前段搬送機構3によって搬送される物品wを、物品排出機構4のガイド部材8によって排出して、旋回コンベヤ14の搬送始端側に供給することができる。したがって、旋回コンベヤ14の搬送始端側へ物品を供給する必要があるときには、旋回コンベヤ14の回動位置に拘わらず、前段搬送機構3の物品を物品排出機構4によって排出して、旋回コンベヤ14へ迅速に物品を供給することができる。
投入コンベヤ6は、水平に巻回した搬送ベルト15が、半自動式の組合せ秤2に向けて回転駆動されるベルトコンベヤで構成されており、搬送ベルト15の幅方向の両側には、物品wの移動を規制する側板16が設けられている。
1台の分配搬送機構5の旋回コンベヤ14に対して、投入コンベヤ6が3台ずつ並列配備され、旋回コンベヤ14の中央位置及びその両側の回動端位置への切換え回動に応じて、各旋回コンベヤ14から3台の各投入コンベヤ6に物品wをそれぞれ供給することができる。したがって、全体として、直線状に並列配備された9台の投入コンベヤ6によって、9箇所へ物品wを搬送することができる。
各投入コンベヤ6では、その駆動を制御することによって、物品wの搬送を制御することができるので、物品wを、例えば、投入コンベヤ6の搬送方向の終端部まで搬送して待機させるように制御し、組合せ秤2の物品投入口25への投入要求に応じたタイミングで物品wを、組合せ秤2へ供給することができる。
3台一組の投入コンベヤ6群のうち、中央の投入コンベヤ6とその両側の投入コンベヤ6との中間箇所には、分配搬送機構5の旋回コンベヤ14の終端回動軌跡に臨むように遊転ローラ20が、図示されていない固定台を介して搬送方向に水平に回転可能に支持されている。この遊転ローラ20は、分配搬送機構5の旋回コンベヤ14が回動作動している途中で、中央の投入コンベヤ6と、その両側の一方側、すなわち、左または右の投入コンベヤ6との中間箇所に、不所望に落下した物品wを受け止めて、その自重によって中央の投入コンベヤ6または左右いずれかの投入コンベヤ6に回転落下させるものである。
また、図4などに示すように、3台一組の投入コンベヤ6群の内、両側の左右の投入コンベヤ6の横外側における搬送始端部には、投入コンベヤ6の内方に向けて傾斜する山形の傾斜案内板21が、図示されていない固定台を介して設置されており、左または右の投入コンベヤ6に投入される物品wが、投入コンベヤ6の外方の側板16に引っ掛かることなく投入コンベヤ6内に落とし込み案内されるようになっている。
図1,図2に示すように、半自動式の組合せ秤2の上面には、多数個、この例では9個の物品投入口25が左右に直線状に列設されており、これら物品投入口25が物品供給装置1の分配排出部、すなわち、投入コンベヤ6群の搬送方向の終端に臨むよう組合せ秤2が設置される。また、各物品投入口25には、内開き観音扉状に開閉される左右一対の投入ゲート26が駆動開閉可能に備えられている。各投入ゲート26は、物品の投入を要求している期間は開放される。
この実施形態の計量システムでは、半自動式の組合せ秤2の物品の計量処理量が、物品供給装置1の前段搬送機構3への物品の供給量を上回るように、物品の供給量や組合せ秤2の運転速度等が設定される。
なお、物品供給装置1の前段搬送機構3への物品の供給量が、一時的に、組合せ秤2の計量処理量を超えるような場合には、前段搬送機構3によって搬送される物品を、物品排出機構4のガイド部材8で排出させることなく、通過させることで対応することができる。
図5は、半自動式の組合せ秤2の概略側面図である。
この組合せ秤2は、基本的に従来の半自動式の組合せ秤と同様である。組合せ秤2の各物品投入口25の投入ゲート26の直下には、供給ホッパ40が配設され、各々の供給ホッパ40の下方には、2つの収納室41-1、41-2を有する計量部としての計量ホッパ41が配設されている。
各供給ホッパ40は、独立して開閉可能な2つの排出ゲート40a、40bを備え、一方の排出ゲート40aを開放することによって、計量ホッパ41の一方の収納室41-1に物品を排出し、他方の排出ゲート40bを開放することによって、計量ホッパ41の他方の収納室41-2に物品を排出することが可能である。
各計量ホッパ41は、その一方の収納室41-1に排出ゲート41aが設けられると共に、他方の収納室41-2に排出ゲート41bが設けられ、各排出ゲート41a、41bを開放することにより、各収納室41-1,41-2から別々に物品を排出することが可能である。
各計量ホッパ41には、ロードセル等の重量センサ42が取り付けられており、この重量センサ42によって計量ホッパ41内の物品の重量が検出され、その出力が、後述の組合せ秤2の制御部に送られる。これにより組合せ秤2の制御部は、計量ホッパ41内の物品の重量の変化に基づいて、計量ホッパ41の各々の収納室41-1,41-2内の物品の重量を算出し、各計量ホッパ41の各々の収納室41-1,41-2内の物品の重量に基づいて、後述の組合せ演算を行う。
計量ホッパ41の下方には、計量ホッパ41から排出された物品を受けて搬送する集合コンベヤ43が配設されている。この集合コンベヤ43によって搬送された物品は、図示しない包装機へ供給される。包装機では、所定重量範囲となる物品を真空包装する。
組合せ秤2の制御部は、物品を保持している計量ホッパ41の各収納室41-1、41-2内の物品の重量を種々組合せた合計重量である組合せ重量が、所定重量範囲内となる収納室41-1、41-2の組合せを1つ選択する組合せ演算を行い、選択された収納室41-1、41-2の物品を、集合コンベヤ43へ排出する。
上記のような構成を有する本実施形態の計量システムでは、前段搬送機構3の搬送方向の上手側である始端部に供給された物品wは、物品排出機構4によって搬送方向の3箇所から排出されて夫々の分配搬送機構5に送り込まれる。各分配搬送機構5に送り込まれた物品wは、更に3箇所に分配されて投入コンベヤ6に送り込まれ、都合、9台の投入コンベヤ6によって分配搬送された物品wが、組合せ秤2の各物品投入口25に供給される。なお、3台の物品排出機構4を通過して前段搬送機構3の終端に至った物品wは、搬出されて回収容器などに回収され、適時、人手によって再び前段搬送機構3の始端部に供給される。
上記のような物品の供給においては、各箇所における物品wの有無、及び、組合せ秤2の各物品投入口25、各投入コンベヤ6、各分配搬送機構5、物品排出機構4での物品の要求状況に応じて、各物品排出機構4、各分配搬送機構5、及び、各投入コンベヤ6が制御されることになる。
図6は、物品wを検知する物品検知センサの設置状態の一例を示す図2に対応する概略平面図である。
この実施形態の各物品検知センサSa(1)~Sa(3),Sb(1)~Sb(3),Sc(1)~Sc(3),Sd(1)~Sd(3),Se(1)~Se(9),Sf(1)~Sf(9)は、例えば、投光器と受光器を備える透過形の光電センサであり、対向配置された投光器と受光器の間の検知領域を通過する物品wを検知して検知出力を与える。
前段搬送機構3の搬送経路には、各物品排出機構4の直前における検知領域を通過する物品wをそれぞれ検知する前段物品検知センサSa(1)~Sa(3)が配置されている。
また、各物品排出機構4によって排出された物品wが通過する各排出シュート9の基部には、排出された物品を検知する排出物品検知センサSb(1)~Sb(3)がそれぞれ配置されている。なお、各排出シュート9の基部には、各排出物品検知センサSb(1)~Sb(3)の光路を遮らないように透孔が形成されている。
各分配搬送機構5の旋回コンベヤ14の、搬送方向の上手側である始端部及び下手側である終端部には、始端部及び終端部における物品wをそれぞれ検知する分配始端物品検知センサSc(1)~Sc(3)及び分配終端物品検知センサSd(1)~Sd(3)がそれぞれ配置されている。なお、旋回コンベヤ14の側板12及び排出カバー13には、分配始端物品検知センサSc(1)~Sc(3)及び分配終端物品検知センサSd(1)~Sd(3)の光路を遮らないように透孔が形成されている。
各投入コンベヤ6の搬送方向の上手側である始端部及び下手側である終端部には、始端部及び終端部における物品wをそれぞれ検知する後段始端物品検知センサSe(1)~Se(9)及び後段終端物品検知センサSf(1)~Sf(9)が、それぞれ配置されている。なお、投入コンベヤ6の側板16には、後段始端物品検知センサSe(1)~Se(9)及び後段終端物品検知センサSf(1)~Sf(9)の光路を遮らないように、透孔が形成されている。
図7は、この実施形態の計量システムの制御構成を示すブロック図である。
この実施形態の計量システムは、全体を制御する制御装置として、プログラマブルコントローラ(以下、「PLC」と略記する)27を備えている。
このPLC27には、操作表示端末であるプログラマブル表示器29が接続されており、このプログラマブル表示器29では、前段搬送機構3や旋回コンベヤ14の搬送の速度及び投入コンベヤ6の搬送の速度等の各種の設定操作及び各種の表示が行われる。
また、PLC27には、半自動式の組合せ秤2の制御部28から9個の各物品投入口25への物品の供給をそれぞれ要求するときに、物品の供給要求としての投入要求信号(1)~(9)がそれぞれ入力されると共に、上記の各物品検知センサSa(1)~Sa(3),Sb(1)~Sb(3),Sc(1)~Sc(3),Sd(1)~Sd(3),Se(1)~Se(9),Sf(1)~Sf(9)の検知出力が入力される。
PLC27は、前段搬送機構3を、前段搬送機構駆動制御回路30を介して制御し、物品排出機構4の各ガイド部材8を、ガイド部材駆動回路31を介して制御する。また、PLC27は、各分配搬送機構5の各旋回コンベヤ14を、旋回コンベヤ駆動制御回路32及び旋回コンベヤ旋回駆動制御回路33を介して制御し、各投入コンベヤ6を、投入コンベヤ駆動制御回路34を介して制御する。
PLC27及び投入コンベヤ駆動制御回路34は、各投入コンベヤの駆動を制御する制御部を構成する。
PLC27は、基本的に、組合せ秤2から各物品投入口25への物品の投入要求があると、投入要求のあった物品投入口25に直ちに物品を投入できるように制御するものであり、各投入コンベヤ6の終端部へ物品を搬送して待機できるように制御する。
すなわち、投入コンベヤ6では、その終端部に物品がないときには、その始端部で検知された物品を、終端部まで搬送し、始端部で検知された物品がないときには、分配搬送機構5の旋回コンベヤ14に対して物品の供給を要求する。
分配搬送機構5の旋回コンベヤ14では、物品の供給要求のあった投入コンベヤ6へ物品を直ちに供給できるように、旋回コンベヤ14の終端部に物品を搬送すると共に、回動位置が制御される。旋回コンベヤ14の終端部に物品がないときには、旋回コンベヤ14の始端部で検知された物品を終端部へ搬送し、旋回コンベヤ14の始端部で検知された物品がないとときには、物品排出機構4に対して物品の排出を要求する。
物品の排出要求があった物品排出機構4では、物品排出機構4の直前の検知領域を通過する物品が検知されると、ガイド部材8を駆動して搬送経路に進出する排出姿勢とし、搬送される物品を、搬送経路外の分配搬送機構5の旋回コンベヤ14へ供給する。
次に、PLC27による制御の一例について説明する。
図8は、この実施形態の物品供給装置1の全体制御の一例を示す概略フローチャートである。
先ず、プログラマブル表示器29の運転スイッチがONされたか否か判断し(ステップS1)、ONされたときには、運転が開始され、半自動式の組合せ秤2から9個の物品投入口25に対応する投入要求信号(1)~(9)の入力があると(ステップS2)、物品供給装置1における物品の搬送方向の最も下手となる投入コンベヤ6の制御を行い(ステップS3)、次に、その上手となる分配搬送機構5の制御を行い(ステップS4)、更に、その上手となる物品排出機構4の制御を行い(ステップS5)、運転スイッチがOFFされたか否かを判断し(ステップS6)、運転スイッチがOFFされたときには、終了する。
上記ステップS3の投入コンベヤ6の制御では、後段終端物品検知センサSf(1)~Sf(9)で物品が検知されていない、すなわち、投入コンベヤ6の終端部に、物品がないときには、始端部にある物品を終端部へ搬送する。後段始端物品検知センサSe(1)~Se(9)で物品が検知されていないとき、すなわち、投入コンベヤ6の始端部に物品がないときには、投入コンベヤ6への物品の供給を要求する。
後段終端物品検知センサSf(1)~Sf(9)で物品が検知され、投入コンベヤ6の終端部に物品がある待機状態で、半自動式の組合せ秤2から物品の投入要求信号の入力があると、投入コンベヤ6を一定時間駆動して、投入コンベヤ6の終端部にある物品を、基本的には1個ずつ半自動式の組合せ秤2の物品投入口25へ供給する。なお、一定時間の駆動に代えて、後段終端物品検知センサSf(1)~Sf(9)で物品が検知されなくなるまで、駆動してもよい。
上記ステップS4の分配搬送機構の制御では、投入コンベヤ6の始端部に物品が無くなれば、すなわち、後段始端物品検知センサSe(1)~Se(9)で物品が検知されなくなると、投入コンベヤ6の始端部に物品を直ちに供給できるように、分配搬送機構5の旋回コンベヤ14の終端部に物品を搬送しておくものである。
分配終端物品検知センサSd(1)~Sd(3)で物品が検知されていない、すなわち、物品が分配搬送機構5の旋回コンベヤ14の終端部に無ければ、旋回コンベヤ14の始端部の物品を、旋回コンベヤ14の終端部に搬送する。
分配始端物品検知センサSc(1)~Sc(3)で物品が検知されていない、すなわち、旋回コンベヤ14の始端部に物品が無ければ、旋回コンベヤ14へ物品を排出するように要求する。
また、投入コンベヤ6の始端部に物品がなく、分配搬送機構5の旋回コンベヤ14の終端部に物品がある場合に、旋回コンベヤ14の回動位置が、前記投入コンベヤ6の物品の投入位置ないときには、旋回コンベヤ14を、前記投入コンベヤ6の投入位置に回動して、旋回コンベヤ14を駆動して投入コンベヤ6の始端部へ物品を投入する。投入コンベヤ6の始端部に物品がなく、分配搬送機構5の旋回コンベヤ14の終端部に物品がある場合に、旋回コンベヤ14の回動位置が、前記投入コンベヤ6の物品の投入位置にあるときには、旋回コンベヤ14を駆動し、旋回コンベヤ14から前記投入コンベヤ6の始端部へ投入する。
上記ステップS5の物品排出機構の制御では、上記分配搬送機構5の制御において、物品排出機構4への物品の排出要求があると、分配搬送機構5の旋回コンベヤ14へ物品を排出するために、前段物品検知センサSa(1)~Sa(3)で物品を検知すると、物品排出機構4のガイド部材8を駆動して搬送経路に進出する排出姿勢とする。これによって、物品は、排出姿勢のガイド部材8に案内されて前段搬送機構3の搬送ベルト7から排出シュート9側へ落下し、この落下する物品が、排出物品検知センサSb(1)~Sb(3)で検知される。排出物品検知センサSb(1)~Sb(3)によって排出される物品が検知されている物品検知時間が、所定時間継続すると、物品排出機構4のガイド部材8を搬送経路から退避する退避姿勢に復帰させることで、適量の物品を、分配搬送機構5へ排出することができる。
この実施形態の計量システムでは、上記のように、半自動式の組合せ秤2の物品の計量処理量が、物品供給装置1の前段搬送機構3への物品の供給量を上回るように、物品の供給量や組合せ秤2の運転速度等が設定される。
また、半自動式の組合せ秤2の物品の計量処理量が、物品供給装置1の前段搬送機構3への物品の供給量と略等しくなるように、物品の供給量や組合せ秤2の運転速度等が設定されても、前段搬送機構3では、上記のように単一の搬送ベルト7によって搬送される物品を、三箇所の物品排出機構4によって、3台の分配搬送機構5にそれぞれ排出するようにしている。
このため、3台の分配搬送機構5の中には、物品排出機構4によって排出される物品の量、すなわち、供給される物品の量が、要求量に比べて少ない分配搬送機構5が生じる場合がある。このように供給される物品の量が少ない分配搬送機構5の旋回コンベヤ14から物品が供給される投入コンベヤ6では、物品の供給量が少なく、このため、物品が隙間なく連続的に搬送されるのではなく、物品間に間隔が空いた状態で搬送されることになる。
図9は、物品の搬送状態を説明するための旋回コンベヤ14、投入コンベヤ6及び半自動式の組合せ秤2等を模式的に示す図であり、この図9では、1台の投入コンベヤ6と、これに対応する旋回コンベヤ14及び後段終端物品検知センサSfを代表的に示している。
この図9に示されるように、物品の供給量が少ない分配搬送機構5の旋回コンベヤ14から物品が供給された投入コンベヤ6では、先行の物品w1と後行の物品w2との間に間隔Dが空いた状態で搬送される。
このように先行の物品w1と後行の物品w2との間に広い間隔Dがあると、投入コンベヤ6の終端部に達した先行の物品w1を、組合せ秤2の物品投入口25へ投入した直後には、後行の物品w2は、投入コンベヤ6の終端部まで達しておらず、このため、後行の物品w2を投入コンベヤ6の終端部まで搬送する必要がある。
投入要求のあった組合せ秤2の物品投入口25に物品を直ちに投入するためには、後行の物品w2を、投入コンベヤ6の終端部まで搬送するのに要する時間を可及的に短縮する必要がある。
後行の物品w2を、投入コンベヤ6の終端部へ搬送するのに要する時間を短縮するために、投入コンベヤ6の搬送の速度を高速にすることが考えられる。しかし、投入コンベヤ6の搬送の速度を高速にすると、物品wが、図10に示されるように、組合せ秤2の物品投入口25を飛び越えてしまい、物品投入口25に投入することができない場合がある。
この実施形態では、投入要求のあった組合せ秤2の物品投入口25に物品を投入するまでに要する時間を可及的に短縮すると共に、組合せ秤2の物品投入口25に確実に物品を投入できるように次のようにしている。
すなわち、投入コンベヤ6の終端部に物品がないとき、すなわち、後段終端物品検知センサSfで物品が検知されないときには、図11に示されるように、投入コンベヤ6の終端部に物品が到達して後段終端物品検知センサSfで検知されるまで、投入コンベヤ6を高速の第1速度V1で駆動する、すなわち、搬送の速度を高速にする。
第1速度V1は、この第1速度V1で搬送した物品が、後段終端物品検知センサSfで検知されたときに、第1速度V1よりも低速な後述の第2速度V1に切換えて、物品を、組合せ秤2の物品投入口25へ確実に供給できる速度である。
また、この第1速度V1は、投入コンベヤ6上の物品がスリップしない程度の高速であって、かつ、第1速度V1で搬送した物品が、後段終端物品検知センサSfで検知されたときに、物品を、組合せ秤2の物品投入口25へ投入することなく、投入コンベヤ6の終端部に停止させることができる速度である。
このように後段終端物品検知センサSfで物品が検知されないときには、投入コンベヤ6の終端部に物品が到達して後段終端物品検知センサSfで検知されるまで、投入コンベヤ6を高速の第1速度V1で駆動するので、後行の物品w2が、投入コンベヤ6の終端部に搬送されて、後段終端物品検知センサSfで検知されるまでに要する時間を短縮することができる。
後行の物品w2が、投入コンベヤ6の終端部に到達して後段終端物品検知センサSfで検知される時点までに、組合せ秤2の物品投入口25への物品の投入要求があるときには、図11に示すように、投入コンベヤ6の搬送の速度を、高速の第1速度V1から低速の第2速度V2に切換え、低速で物品を、組合せ秤2の物品投入口25へ供給する。
このように高速の第1速度V1で搬送される物品w2が、後段終端物品検知センサSfで検知される時点までに、組合せ秤2の物品投入口25への物品の投入要求があるときには、投入コンベヤ6を停止させることなく、その速度を、高速の第1速度V1から低速の第2速度V2に切換えて、物品w2を、組合せ秤2の物品投入口25へ供給するので、物品w2の投入要求があった時点から、物品w2を物品投入口25へ供給するまでに要する時間を短縮できると共に、物品w2が、組合せ秤2の物品投入口25を飛び越えることなく、物品投入口25へ確実に投入される。
また、後行の物品w2が、投入コンベヤ6の終端部に到達して後段終端物品検知センサSfで検知される時点までに、組合せ秤2の物品投入口25への物品の投入要求がないときには、投入コンベヤ6の駆動を停止し、物品の投入要求があるまで待機する。この待機状態で、物品の投入要求があると、投入コンベヤ6を、前記低速の第2速度V2で駆動して、物品を組合せ秤2の物品投入口25へ投入する。
このように投入コンベヤ6の終端部の待機状態の物品を、投入コンベヤ6を低速の第2速度V2で駆動して組合せ秤2の物品投入口25へ供給するので、物品投入口25へ確実に物品を投入することができる。
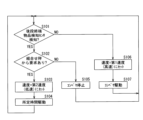
図12は、以上の投入コンベヤ6の搬送制御を示すフローチャートであり、この図12では、1台の投入コンベヤ6の制御を代表的に示している。
先ず、後段終端物品検知センサSfで物品を検知したか否かを判断し(ステップS101)、物品を検知してないときには、投入コンベヤ6の速度を高速の第1速度V1にセットし(ステップS106)、投入コンベヤ6を高速の第1速度V1で駆動してステップS101に戻る(ステップS107)。
ステップS101において、後段終端物品検知センサSfで物品を検知したときには、組合せ秤2から物品投入口25への物品の投入要求があるか否かを判断し(ステップS102)、投入要求があるときには、投入コンベヤ6の速度を低速の第2速度V2にセットし(ステップS103)、投入コンベヤ6を、停止させることなく、高速の第1速度V1から低速の第2速度V2に切換えて物品の投入に必要な所定時間に亘って駆動し(ステップS104)、ステップS101に戻る。
ステップS102において、組合せ秤2から対応する物品投入口25への物品の投入要求がないときには、投入コンベヤ6の駆動を停止して待機状態とし、ステップS101に移る(ステップS105)。
この実施形態では、第1速度V1から切換えられる投入コンベヤ6の速度と、待機状態の投入コンベヤ6を駆動する速度とは、同じ低速の第2速度V2であったが、同じ速度でなく、異なる速度であってもよい。
上記のように、前段搬送機構3の搬送方向の上手側において物品を供給すると、その搬送径路の3箇所において、物品排出機構4のガイド部材8によって搬送経路外の3台の各分配搬送機構5の各旋回コンベヤ14へ排出され、各旋回コンベヤ14によって、3台の投入コンベヤ6にそれぞれ振分け搬送される。すなわち、前段搬送機構3の搬送方向の上手側1箇所で供給した物品を、9台の投入コンベヤ6に振分け搬送し、各投入コンベヤ6によって、組合せ秤2の9個の物品投入口25へ供給することができる。
したがって、粘着性を有するブロイラーの肉片である物品wを、組合せ秤2の9個の物品投入口25へ自動で供給することができ、作業者が、物品を一々掴んで半自動式の組合せ秤の物品投入口へ投入する作業を行う必要がなく、大幅に作業者の労力を軽減することができる。
更に、投入コンベヤ6では、終端部に物品がないとき、すなわち、後段終端物品検知センサSfで物品が検知されないときには、投入コンベヤ6の終端部に物品が到達して後段終端物品検知センサSfで検知されるまで、投入コンベヤ6を高速の第1速度V1で駆動するので、物品が、投入コンベヤ6の終端部に搬送されるまでに要する時間を短縮することができる。
また、物品が、投入コンベヤ6の終端部に到達して後段終端物品検知センサSfで検知される時点までに、組合せ秤2の物品投入口25への物品の投入要求があるときには、投入コンベヤ6の速度を、高速の第1速度V1から低速の第2速度V2に切換え、低速で物品を、組合せ秤2の物品投入口25へ投入するので、物品を、組合せ秤2の物品投入口25へ投入するまでの時間を短縮できると共に、物品が、組合せ秤2の物品投入口25を飛び越えることがなく、確実に物品投入口25へ投入することができる。
[その他の実施形態]
本発明は、以下のような形態で実施することもできる。
(1)上記のように、後段終端物品検知センサSfで物品を検知していないときには、投入コンベヤ6の速度を高速の第1速度V1にして物品を搬送するが、この第1速度V1の搬送を開始してから一定時間が経過しても、後段終端物品検知センサSfで物品が検知されないときには、投入コンベヤ6上で物品がスリップしているとして、第1速度V1を、第1速度V1より低速の第3速度V3に切換えるようにしてもよい。この第3速度V3は、物品がスリップしにくい速度であって、第2速度V2より高速であるのが好ましい。
また、投入コンベヤ6の搬送ベルト15には、ブロイラーを解体した肉片である物品の表面の油分が付着して物品がスリップし易くなるので、当該計量システムの運転を開始してからの経過時間によって、高速な第1速度V1を、第1速度V1より低速な速度に変更するようにしてもよい。
(2)上記実施形態の物品供給装置は、半自動式の組合せ秤へ物品を供給したが、組合せ秤に限らず、他の装置へ物品を供給するようにしてもよい。
また、物品供給装置の投入コンベヤへの物品の供給は、分配搬送機構に限らず、投入コンベヤの始端部に物品を供給するものであればよい。
前段搬送機構、物品排出機構及び分配搬送機構は省略してもよい。
(3)物品検知センサとしては、上記のような透過形の光電センサに限らず、反射形の光電センサ、超音波センサ、等の他のセンサを利用することもできる。
1 物品供給装置
2 組合せ秤
3 前段搬送機構
4 物品排出機構
5 分配搬送機構
6 投入コンベヤ(搬送コンベヤ)
8 ガイド部材
14 旋回コンベヤ
27 PLC(制御装置)
w 物品
Sf 後段終端物品検知センサ

Claims (6)

  1. 物品を搬送して供給先へ供給する搬送コンベヤと、該搬送コンベヤの駆動を制御する制御部とを備え、
    前記制御部は、前記搬送コンベヤを第1速度で駆動して、前記搬送コンベヤの物品の搬送方向の終端部へ前記物品を搬送し、前記搬送コンベヤを第2速度で駆動して、前記終端部の物品を前記供給先へ供給するものであって、前記第1速度が、前記第2速度より高速であり、
    前記制御部は、前記供給先から与えられる物品の供給要求に応じて、前記搬送コンベヤの駆動を制御するものであり、
    前記制御部は、前記搬送コンベヤの前記終端部へ前記物品を搬送した場合に、前記供給先から物品の供給要求があるときには、前記搬送コンベヤを停止させることなく、前記第1速度から前記第2速度に切換えて駆動して、前記物品を前記供給先へ供給し、前記供給先から物品の供給要求がないときには、前記搬送コンベヤを停止させて前記物品を前記供給先へ供給しない待機状態とする、
    ことを特徴とする物品供給装置。
  2. 前記制御部は、前記搬送コンベヤの前記終端部に物品が無いときに、前記搬送コンベヤを前記第1速度で駆動して、前記物品を前記終端部へ搬送する、
    請求項1に記載の物品供給装置。
  3. 前記搬送コンベヤの前記終端部の物品を検知する物品検知センサを備え、
    前記制御部は、前記物品検知センサの検知出力に基づいて、前記搬送コンベヤの駆動を制御する、
    請求項1または2に記載の物品供給装置。
  4. 前記制御部は、前記待機状態において、前記供給先から物品の供給要求があると、前記搬送コンベヤを前記第2速度で駆動して、前記終端部の物品を前記供給先へ供給する、
    請求項1ないし3のいずれか一項に記載の物品供給装置。
  5. 前記搬送コンベヤを複数備え、前記複数の搬送コンベヤの前段には、前段搬送機構、物品排出機構及び分配搬送機構が設けられ、
    前記前段搬送機構は、供給される物品を搬送するものであり、
    前記物品排出機構は、前記前段搬送機構による前記物品の搬送経路の複数個所において、搬送されてきた物品の通過を許容する許容状態と、搬送されてきた物品を前記搬送径路外に排出する排出状態とに切換え可能であり、
    前記分配搬送機構は、前記物品排出機構で前記搬送経路外へ排出された物品を、前記複数の前記搬送コンベヤに振分け搬送する、
    請求項1ないし4のいずれか一項に記載の物品供給装置。
  6. 前記請求項5に記載の物品供給装置と、複数の計量部を有し、各計量部に供給された前記物品の重量を組合せた組合せ重量が、所定重量範囲となる前記計量部の組合せを選択する組合せ演算を行って、選択した計量部から前記物品を排出する組合せ秤とを備え、
    前記組合せ秤には、前記物品供給装置の前記複数の前記搬送コンベヤによって前記物品が供給される、
    ことを特徴とする計量システム。
JP2019207815A 2019-11-18 2019-11-18 物品供給装置及びそれを備えた計量システム Active JP7366498B2 (ja)

Priority Applications (1)

Application Number Priority Date Filing Date Title
JP2019207815A JP7366498B2 (ja) 2019-11-18 2019-11-18 物品供給装置及びそれを備えた計量システム

Applications Claiming Priority (1)

Application Number Priority Date Filing Date Title
JP2019207815A JP7366498B2 (ja) 2019-11-18 2019-11-18 物品供給装置及びそれを備えた計量システム

Publications (2)

Publication Number Publication Date
JP2021080049A JP2021080049A (ja) 2021-05-27
JP7366498B2 true JP7366498B2 (ja) 2023-10-23

Family

ID=75964073

Family Applications (1)

Application Number Title Priority Date Filing Date
JP2019207815A Active JP7366498B2 (ja) 2019-11-18 2019-11-18 物品供給装置及びそれを備えた計量システム

Country Status (1)

Country Link
JP (1) JP7366498B2 (ja)

Families Citing this family (1)

* Cited by examiner, † Cited by third party
Publication number Priority date Publication date Assignee Title
JP2023175545A (ja) * 2022-05-30 2023-12-12 大和製衡株式会社 コンベヤ搬送装置及び物品供給装置

Citations (1)

* Cited by examiner, † Cited by third party
Publication number Priority date Publication date Assignee Title
JP2018118835A (ja) 2017-01-27 2018-08-02 大和製衡株式会社 物品供給装置及びそれを備えた計量システム

Family Cites Families (1)

* Cited by examiner, † Cited by third party
Publication number Priority date Publication date Assignee Title
JPH06179519A (ja) * 1992-12-14 1994-06-28 Itoki Crebio Corp 移動体の加減速制御検出装置

Patent Citations (1)

* Cited by examiner, † Cited by third party
Publication number Priority date Publication date Assignee Title
JP2018118835A (ja) 2017-01-27 2018-08-02 大和製衡株式会社 物品供給装置及びそれを備えた計量システム

Also Published As

Publication number Publication date
JP2021080049A (ja) 2021-05-27

Similar Documents

Publication Publication Date Title
CN110191851B (zh) 物品供给装置及具备该物品供给装置的计量系统
US20110108329A1 (en) Inline conveyor scale
RU2735964C1 (ru) Устройство управления предметами и оснащенный им аппарат для подачи предметов
JP6858628B2 (ja) 物品振分け装置及びそれを備えた物品供給装置
JP2003214936A (ja) 組合せ計量装置
JP7366498B2 (ja) 物品供給装置及びそれを備えた計量システム
JP6866218B2 (ja) 物品供給装置及びそれを備えた計量システム
CN112955718B (zh) 组合计量装置
JPH0360049B2 (ja)
JP7220949B2 (ja) 物品供給装置
JP7023591B2 (ja) 物品供給装置
JP7479751B2 (ja) 物品供給装置及びそれを備えた計量システム
KR102427602B1 (ko) 중량선별 배제장치
JP2003156383A (ja) 組合せ計量装置
JPH0692318A (ja) 農産物のパック詰装置及びパック詰方法
JP2760042B2 (ja) 選果施設における秤量箱詰部への果実供給装置
JP2006194722A (ja) 組合せ計量装置
JP6494342B2 (ja) 計量装置
US20090087533A1 (en) Automatic doughballer and method
JPH06198252A (ja) 多段階重量選別機
JPH06316317A (ja) 棒状物の落下姿勢制御装置
JPH0716543A (ja) 重量選別機
JPH06323893A (ja) 自動計量装置
JPH06321331A (ja) バケットコンベア装置
JPH11263317A (ja) 物品の供給システム

Legal Events

Date Code Title Description
A621 Written request for application examination

Free format text: JAPANESE INTERMEDIATE CODE: A621

Effective date: 20220906

A977 Report on retrieval

Free format text: JAPANESE INTERMEDIATE CODE: A971007

Effective date: 20230623

A131 Notification of reasons for refusal

Free format text: JAPANESE INTERMEDIATE CODE: A131

Effective date: 20230718

A521 Request for written amendment filed

Free format text: JAPANESE INTERMEDIATE CODE: A523

Effective date: 20230908

TRDD Decision of grant or rejection written
A01 Written decision to grant a patent or to grant a registration (utility model)

Free format text: JAPANESE INTERMEDIATE CODE: A01

Effective date: 20231010

A61 First payment of annual fees (during grant procedure)

Free format text: JAPANESE INTERMEDIATE CODE: A61

Effective date: 20231010

R150 Certificate of patent or registration of utility model

Ref document number: 7366498

Country of ref document: JP

Free format text: JAPANESE INTERMEDIATE CODE: R150