JP6996496B2 - Los-mimo復調装置、通信装置、los-mimo伝送システム、los-mimo復調方法及びプログラム - Google Patents
Los-mimo復調装置、通信装置、los-mimo伝送システム、los-mimo復調方法及びプログラム Download PDFInfo
- Publication number
- JP6996496B2 JP6996496B2 JP2018513185A JP2018513185A JP6996496B2 JP 6996496 B2 JP6996496 B2 JP 6996496B2 JP 2018513185 A JP2018513185 A JP 2018513185A JP 2018513185 A JP2018513185 A JP 2018513185A JP 6996496 B2 JP6996496 B2 JP 6996496B2
- Authority
- JP
- Japan
- Prior art keywords
- phase
- los
- phase noise
- mimo
- signal
- Prior art date
- Legal status (The legal status is an assumption and is not a legal conclusion. Google has not performed a legal analysis and makes no representation as to the accuracy of the status listed.)
- Active
Links
Images
Classifications
-
- H—ELECTRICITY
- H04—ELECTRIC COMMUNICATION TECHNIQUE
- H04B—TRANSMISSION
- H04B7/00—Radio transmission systems, i.e. using radiation field
- H04B7/02—Diversity systems; Multi-antenna system, i.e. transmission or reception using multiple antennas
- H04B7/04—Diversity systems; Multi-antenna system, i.e. transmission or reception using multiple antennas using two or more spaced independent antennas
- H04B7/0413—MIMO systems
-
- H—ELECTRICITY
- H04—ELECTRIC COMMUNICATION TECHNIQUE
- H04B—TRANSMISSION
- H04B7/00—Radio transmission systems, i.e. using radiation field
- H04B7/005—Control of transmission; Equalising
-
- H—ELECTRICITY
- H04—ELECTRIC COMMUNICATION TECHNIQUE
- H04B—TRANSMISSION
- H04B7/00—Radio transmission systems, i.e. using radiation field
- H04B7/02—Diversity systems; Multi-antenna system, i.e. transmission or reception using multiple antennas
- H04B7/04—Diversity systems; Multi-antenna system, i.e. transmission or reception using multiple antennas using two or more spaced independent antennas
- H04B7/08—Diversity systems; Multi-antenna system, i.e. transmission or reception using multiple antennas using two or more spaced independent antennas at the receiving station
- H04B7/0837—Diversity systems; Multi-antenna system, i.e. transmission or reception using multiple antennas using two or more spaced independent antennas at the receiving station using pre-detection combining
- H04B7/0842—Weighted combining
- H04B7/0848—Joint weighting
- H04B7/0854—Joint weighting using error minimizing algorithms, e.g. minimum mean squared error [MMSE], "cross-correlation" or matrix inversion
-
- H—ELECTRICITY
- H04—ELECTRIC COMMUNICATION TECHNIQUE
- H04L—TRANSMISSION OF DIGITAL INFORMATION, e.g. TELEGRAPHIC COMMUNICATION
- H04L25/00—Baseband systems
- H04L25/02—Details ; arrangements for supplying electrical power along data transmission lines
- H04L25/03—Shaping networks in transmitter or receiver, e.g. adaptive shaping networks
- H04L25/03006—Arrangements for removing intersymbol interference
- H04L25/03159—Arrangements for removing intersymbol interference operating in the frequency domain
-
- H—ELECTRICITY
- H04—ELECTRIC COMMUNICATION TECHNIQUE
- H04L—TRANSMISSION OF DIGITAL INFORMATION, e.g. TELEGRAPHIC COMMUNICATION
- H04L27/00—Modulated-carrier systems
- H04L27/01—Equalisers
-
- H—ELECTRICITY
- H04—ELECTRIC COMMUNICATION TECHNIQUE
- H04L—TRANSMISSION OF DIGITAL INFORMATION, e.g. TELEGRAPHIC COMMUNICATION
- H04L27/00—Modulated-carrier systems
- H04L27/26—Systems using multi-frequency codes
- H04L27/2601—Multicarrier modulation systems
- H04L27/2647—Arrangements specific to the receiver only
- H04L27/2655—Synchronisation arrangements
- H04L27/2657—Carrier synchronisation
- H04L27/266—Fine or fractional frequency offset determination and synchronisation
-
- H—ELECTRICITY
- H04—ELECTRIC COMMUNICATION TECHNIQUE
- H04L—TRANSMISSION OF DIGITAL INFORMATION, e.g. TELEGRAPHIC COMMUNICATION
- H04L27/00—Modulated-carrier systems
- H04L27/32—Carrier systems characterised by combinations of two or more of the types covered by groups H04L27/02, H04L27/10, H04L27/18 or H04L27/26
- H04L27/34—Amplitude- and phase-modulated carrier systems, e.g. quadrature-amplitude modulated carrier systems
- H04L27/38—Demodulator circuits; Receiver circuits
-
- H—ELECTRICITY
- H04—ELECTRIC COMMUNICATION TECHNIQUE
- H04L—TRANSMISSION OF DIGITAL INFORMATION, e.g. TELEGRAPHIC COMMUNICATION
- H04L27/00—Modulated-carrier systems
- H04L27/26—Systems using multi-frequency codes
- H04L27/2601—Multicarrier modulation systems
- H04L27/2647—Arrangements specific to the receiver only
Landscapes
- Engineering & Computer Science (AREA)
- Computer Networks & Wireless Communication (AREA)
- Signal Processing (AREA)
- Physics & Mathematics (AREA)
- Mathematical Physics (AREA)
- Power Engineering (AREA)
- Radio Transmission System (AREA)
Description
本発明は、日本国特許出願:特願2016-083552号(2016年4月19日出願)の優先権主張に基づくものであり、同出願の全記載内容は引用をもって本書に組み込み記載されているものとする。
本発明は、多入力多出力(MIMO;Multiple-Input Multiple-Output)無線通信システムに用いる復調装置、通信装置、LOS-MIMO伝送システム、LOS-MIMO復調方法及びプログラムに関し、特に、マイクロ波帯及びミリ波帯を用いた見通し内(LOS;Line-Of-Sight)MIMO無線通信システムに用いる復調装置、通信装置、LOS-MIMO伝送システム、LOS-MIMO復調方法及びプログラムに関する。
マイクロ波帯又はミリ波帯(以下、マイクロ波とミリ波を特に区別しない場合、「マイクロ波/ミリ波帯」と記す。)を利用した見通し内固定無線通信においては、前記の様に、通信容量増大のため1024値以上の信号多値数を利用した超多値伝送が既に使用されている。従って、さらなる大容量化を達成するためには、LOS-MIMO伝送技術は、このような超多値変調と併用して適用可能である必要がある。ところが、マイクロ波/ミリ波帯固定無線通信においてLOS-MIMO伝送を行う場合、各送信アンテナ(及び受信アンテナ)間隔の制約から、各アンテナに付随する位相雑音はアンテナ毎に独立と仮定するのが自然であり、この独立な位相雑音はLOS-MIMO伝送の通信品質を著しく劣化させるという問題がある。このような位相雑音による劣化に加え、LOS-MIMO伝送における信号の多重化によって生じる干渉、さらにはフェージングによって生じる符号間干渉が受信時の信号品質を劣化させる主な要因となる。
続いて、本発明の第1の実施形態について図面を参照して詳細に説明する。はじめに、LOS-MIMO復調装置100を含む無線伝送方式について説明する。以下の説明においては、位相情報をデータの識別に使用する変調方式を対象とし、一例として直交振幅変調(QAM:Quadrature Amplitude Modulation)である場合を説明する。
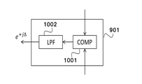
続いて、位相雑音推定部に変更を加えた第2の実施形態について、図10を用いて説明する。図10は、本発明の第2の実施形態の位相雑音推定部の構成を示すブロック図である。図10の位相雑音推定部における構成要素は、位相差分算出部901の違いを除いて、図3に示した第1の実施形態の位相雑音推定部の構成と同一である。図10の位相雑音推定部101aは、伝送する信号フレームの信号フォーマット中に(図7)、位相雑音補償用のパイロット信号を含む場合に好適である。
[第1の形態]
(上記第1の視点によるLOS-MIMO復調装置参照)
[第2の形態]
第1の形態のLOS-MIMO復調装置において、
前記位相雑音推定部は、前記受信信号の組、又は、前記周波数領域等化処理後の信号を位相ロックループに入力して得られた信号の組から算出した位相差分を、前記第1の位相雑音情報として出力する位相差分算出部を備えるLOS-MIMO復調装置。
[第3の形態]
第1の形態のLOS-MIMO復調装置において、
前記第1の位相雑音情報は、第1の受信アンテナに付随する位相雑音と、第2の受信アンテナに付随する位相雑音を、それぞれφR (1)、φR (2)としたとき、次式を満たしているLOS-MIMO復調装置。
[式1]
[第4の形態]
第1から第3いずれか一の形態のLOS-MIMO復調装置において、
前記位相雑音推定部は、
受信信号からMIMO干渉成分を除去した後の信号を入力として、前記第2の位相雑音情報を出力する位相ロックループを備えるLOS-MIMO復調装置。
[第5の形態]
第1から第3いずれか一の形態のLOS-MIMO復調装置において、
前記第2の位相雑音情報は、2つの送信アンテナ及び2つの受信アンテナに付随する位相雑音を、それぞれφT (1)、φT (2)、φR (1)、φR (2)としたとき、次式を満たしているLOS-MIMO復調装置。
[式2]
[第6の形態]
第1から第5いずれか一の形態のLOS-MIMO復調装置において、
前記位相雑音推定部は、前記第二の位相雑音情報を算出する前記受信アンテナの数と同数の位相ロックループと、該位相ロックループの出力から第1の位相雑音情報を算出する位相差分算出部と、前記受信信号を重み付けして加算する乗算器、加算器、及び乗算係数生成部と、を有し、
前記複数の受信アンテナで受信した受信信号の各々の位相を、前記位相差分算出部の出力である第1の位相雑音情報によって補正し、該補正した受信信号の各々を前記重み付け加算処理した後、前記位相ロックループによって送信側の位相雑音に受信側の位相雑音の平均を加算した第二の位相雑音情報を算出するLOS-MIMO復調装置。
[第7の形態]
第1から第5いずれか一の形態のLOS-MIMO復調装置において、
前記位相雑音推定部は、前記受信信号から前記第1の位相雑音情報を算出する位相差分算出部と、前記第2の位相雑音情報を算出する前記受信アンテナの数と同数の位相ロックループと、前記受信信号を重み付けして加算する乗算器、加算器、及び乗算係数生成部と、を有し、
前記複数の受信アンテナで受信した受信信号の各々の位相を、前記位相差分算出部の出力である第1の位相雑音情報によって補正し、該補正した受信信号の各々を前記重み付け加算処理した後、前記位相ロックループによって前記第2の位相雑音情報を算出するLOS-MIMO復調装置。
[第8の形態]
第1から第7いずれか一の形態のLOS-MIMO復調装置において、
前記通信路状態推定部は、前記送信アンテナ毎に送信される長さNのトレーニング信号の複素共役からなる信号系列と、該トレーニング信号をLOS-MIMO伝送路への送信信号とし等倍でサンプリングした長さNの受信信号とを、畳込み演算して得られる長さNの信号系列において、そのうち半数のN/2個の信号をゼロにマスクした長さNの信号系列を算出する手段と、
該長さNの信号系列をフーリエ変換した信号を生成する手段と、
該フーリエ変換した信号をLOS-MIMO伝送路の周波数応答として、平均自乗誤差が最小となる等倍サンプリング周波数等化のタップ係数を算出する手段と、を備えるLOS-MIMO復調装置。
[第9の形態]
第1から第7いずれか一の形態のLOS-MIMO復調装置において、
前記通信路状態推定部は、前記送信アンテナ毎に送信される長さNのトレーニング信号の複素共役からなる信号系列と、該トレーニング信号をLOS-MIMO伝送路への送信信号とし2倍でサンプリングした長さ2Nの受信信号とを、Nを法として畳込み演算して得られる長さ2Nの信号系列において、そのうち半数のN個の信号をゼロにマスクした長さ2Nの信号系列を算出する手段と、
該長さ2Nの信号系列をフーリエ変換した信号を生成する手段と、
該フーリエ変換した信号をLOS-MIMO伝送路の周波数応答として、平均自乗誤差が最小となる2倍サンプリング周波数等化のタップ係数を算出する手段と、を備えるLOS-MIMO復調装置。
[第10の形態]
複数の固定的に配置された送信アンテナと受信アンテナを使い、アンテナ間の離隔距離によって調整された伝送遅延の差を利用して伝送路の多重化を行う見通し内多入力多出力(LOS-MIMO;Line of Sight Multiple Input Multiple Output)無線通信システムにおいて使用され、前記複数の受信アンテナにおいてそれぞれ受信された受信信号から送信データを推定するLOS-MIMO復調装置であって、
前記複数の受信アンテナで受信した受信信号の各々から干渉による歪を補償する周波数領域等化部と、前記周波数領域等化のタップ係数を算出する通信路状態推定部と、前記複数の受信アンテナで受信した受信信号の各々から、前記送信アンテナ及び受信アンテナにおいて生じた位相雑音に関連した第1の位相雑音情報と第2の位相雑音情報を算出する位相雑音推定部と、を有し、
前記複数の受信アンテナで受信した受信信号の各々の位相を、前記第1の位相雑音情報によって補正し、該補正した受信信号の各々を長さNの離散フーリエ変換によって周波数領域に変換して周波数領域等化処理を行った後、長さNの離散逆フーリエ変換によって時間領域に戻した周波数領域等化後の信号の位相を、前記第2の位相雑音情報によって補正するLOS-MIMO復調装置。
[第11の形態]
(上記第2の視点による通信装置参照)
[第12の形態]
(上記第3の視点によるLOS-MIMO伝送システム参照)
[第13の形態]
(上記第4の視点によるLOS-MIMO復調方法参照)
[第14の形態]
(上記第5の視点によるプログラム参照)
なお、上記第11~第14の形態は、第1の形態と同様に、第2~第10の形態に展開乃至変形することが可能である。
11 第1の補正部
12、101、101a 位相雑音推定部
13 周波数領域等化部
14 第2の補正部
15 復号処理部
102 通信路状態推定部
103、108、201、501 位相回転用乗算器
104 高速フーリエ変換器
105 周波数領域等化器
106、702 加算器
107 逆高速フーリエ変換器
109 誤り訂正復号部
202 MIMO干渉除去用乗算器
203 乗算係数生成部
204 MIMO干渉除去用加算器
205 位相ロックループ
206 位相差分算出部
301 屋内装置(IDU)
302 屋外装置(ODU)
401 変調器
402 送信側位相雑音源
403 2x2 LOS-MIMO伝送路
404 フェージング通信路
405 MIMO干渉
406 受信側位相雑音源
407 熱雑音源
701 乗算器
703、1001 位相比較器
704、1002 ローパスフィルタ
801、802、803、1101、1102、1103 通信路状態推定方法における演算手順
901 位相差分算出部
1200 DSP
1201 プロセッサ
1202 作業メモリ
1203 メモリ
Claims (15)
- 見通し内多入力多出力(LOS-MIMO;Line of Sight Multiple Input Multiple Output)により送信されたデータを受信する複数の受信アンテナと、
前記複数の受信アンテナで受信した受信信号の各々から、送信アンテナ及び前記受信アンテナにおいて生じた位相雑音に関連した第1の位相雑音情報と第2の位相雑音情報を算出する位相雑音推定部と、
前記複数の受信アンテナで受信した受信信号の各々の位相を、前記第1の位相雑音情報によって補正する第1の補正部と、
前記補正後の受信信号に対し、前記複数の受信アンテナで受信した受信信号の各々から干渉による歪を補償する周波数領域等化処理を行う周波数領域等化部と、
離散逆フーリエ変換によって前記周波数領域等化処理後の信号を時間領域に戻した信号の位相を、前記第2の位相雑音情報によって補正する第2の補正部と、
前記補正後のデータの復号処理を行う復号処理部と、
を備えたLOS-MIMO復調装置。 - 前記位相雑音推定部は、前記受信信号の組、又は、前記周波数領域等化処理後の信号を位相ロックループに入力して得られた信号の組から算出した位相差分を、前記第1の位相雑音情報として出力する位相差分算出部を備える請求項1のLOS-MIMO復調装置。
- 前記位相雑音推定部は、
受信信号からMIMO干渉成分を除去した後の信号を入力として、前記第2の位相雑音情報を出力する位相ロックループを備える請求項1から3いずれか一のLOS-MIMO復調装置。 - 前記位相雑音推定部は、前記第2の位相雑音情報を算出する前記受信アンテナの数と同数の位相ロックループと、該位相ロックループの出力から第1の位相雑音情報を算出する位相差分算出部と、前記受信信号を重み付けして加算する乗算器、加算器、及び乗算係数生成部と、を有し、
前記複数の受信アンテナで受信した受信信号の各々の位相を、前記位相差分算出部の出力である第1の位相雑音情報によって補正し、該補正した受信信号の各々を前記重み付け加算処理した後、前記位相ロックループによって送信側の位相雑音に受信側の位相雑音の平均を加算した第2の位相雑音情報を算出すること、を特徴とする請求項1から5いずれか一のLOS-MIMO復調装置。 - 前記位相雑音推定部は、前記受信信号から前記第1の位相雑音情報を算出する位相差分算出部と、前記第2の位相雑音情報を算出する前記受信アンテナの数と同数の位相ロックループと、前記受信信号を重み付けして加算する乗算器、加算器、及び乗算係数生成部と、を有し、
前記複数の受信アンテナで受信した受信信号の各々の位相を、前記位相差分算出部の出力である第1の位相雑音情報によって補正し、該補正した受信信号の各々を前記重み付け加算処理した後、前記位相ロックループによって前記第2の位相雑音情報を算出すること、を特徴とする請求項1から5いずれか一のLOS-MIMO復調装置。 - 通信路状態推定部として、前記送信アンテナ毎に送信される長さNのトレーニング信号の複素共役からなる信号系列と、該トレーニング信号をLOS-MIMO伝送路への送信信号とし等倍でサンプリングした長さNの受信信号とを、畳込み演算して得られる長さNの信号系列において、そのうち半数のN/2個の信号をゼロにマスクした長さNの信号系列を算出する手段と、
該長さNの信号系列をフーリエ変換した信号を生成する手段と、
該フーリエ変換した信号をLOS-MIMO伝送路の周波数応答として、平均自乗誤差が最小となる等倍サンプリング周波数等化のタップ係数を算出する手段と、を備える請求項1から7いずれか一のLOS-MIMO復調装置。 - 通信路状態推定部として、前記送信アンテナ毎に送信される長さNのトレーニング信号の複素共役からなる信号系列と、該トレーニング信号をLOS-MIMO伝送路への送信信号とし2倍でサンプリングした長さ2Nの受信信号とを、Nを法として畳込み演算して得られる長さ2Nの信号系列において、そのうち半数のN個の信号をゼロにマスクした長さ2Nの信号系列を算出する手段と、
該長さ2Nの信号系列をフーリエ変換した信号を生成する手段と、
該フーリエ変換した信号をLOS-MIMO伝送路の周波数応答として、平均自乗誤差が最小となる2倍サンプリング周波数等化のタップ係数を算出する手段と、を備える請求項1から7いずれか一のLOS-MIMO復調装置。 - 複数の固定的に配置された送信アンテナと受信アンテナを使い、アンテナ間の離隔距離によって調整された伝送遅延の差を利用して伝送路の多重化を行う見通し内多入力多出力(LOS-MIMO;Line of Sight Multiple Input Multiple Output)無線通信システムにおいて使用され、複数の受信アンテナにおいてそれぞれ受信された受信信号から送信データを推定するLOS-MIMO復調装置であって、
前記複数の受信アンテナで受信した受信信号の各々から干渉による歪を補償する周波数領域等化部と、前記周波数領域等化のタップ係数を算出する通信路状態推定部と、前記複数の受信アンテナで受信した受信信号の各々から、前記送信アンテナ及び受信アンテナにおいて生じた位相雑音に関連した第1の位相雑音情報と第2の位相雑音情報を算出する位相雑音推定部と、を有し、
前記複数の受信アンテナで受信した受信信号の各々の位相を、前記第1の位相雑音情報によって補正し、該補正した受信信号の各々を長さNの離散フーリエ変換によって周波数領域に変換して周波数領域等化処理を行った後、長さNの離散逆フーリエ変換によって時間領域に戻した周波数領域等化後の信号の位相を、前記第2の位相雑音情報によって補正すること、を特徴としたLOS-MIMO復調装置。 - 請求項1から10いずれか一に記載のLOS-MIMO復調装置を含む通信装置。
- 請求項1から10いずれか一に記載のLOS-MIMO復調装置を含み、
複数の固定的に配置された送信アンテナと受信アンテナを使い、アンテナ間の離隔距離によって調整された伝送遅延の差を利用して伝送路の多重化を行うLOS-MIMO伝送システム。 - 前記LOS-MIMO復調装置で算出された前記第2の位相雑音情報を送信側にフィードバックする機能を有し、
送信側が、複数の送信アンテナから送信される信号の各々に対し、前記第2の位相雑音情報を使用して位相回転処理を行った後、送信することを特徴とした請求項12のLOS-MIMO伝送システム。 - 見通し内多入力多出力(LOS-MIMO;Line of Sight Multiple Input Multiple Output)を構成するLOS-MIMO復調装置の複数の受信アンテナで受信した受信信号の各々から、送信アンテナ及び前記受信アンテナにおいて生じた位相雑音に関連した第1の位相雑音情報と第2の位相雑音情報を算出するステップと、
前記複数の受信アンテナで受信した受信信号の各々の位相を、前記第1の位相雑音情報によって補正するステップと、
前記補正後の受信信号に対し、前記複数の受信アンテナで受信した受信信号の各々から干渉による歪を補償する周波数領域等化処理を行うステップと、
離散逆フーリエ変換によって前記周波数領域等化処理後の信号を時間領域に戻した信号の位相を、前記第2の位相雑音情報によって補正するステップと、
を含むLOS-MIMO復調方法。 - 見通し内多入力多出力(LOS-MIMO;Line of Sight Multiple Input Multiple Output)を構成するLOS-MIMO復調装置を構成するコンピュータに、
複数の受信アンテナで受信した受信信号の各々から、送信アンテナ及び前記受信アンテナにおいて生じた位相雑音に関連した第1の位相雑音情報と第2の位相雑音情報を算出する処理と、
前記複数の受信アンテナで受信した受信信号の各々の位相を、前記第1の位相雑音情報によって補正する処理と、
前記補正後の受信信号に対し、前記複数の受信アンテナで受信した受信信号の各々から干渉による歪を補償する周波数領域等化処理を行う処理と、
離散逆フーリエ変換によって前記周波数領域等化処理後の信号を時間領域に戻した信号の位相を、前記第2の位相雑音情報によって補正する処理と、
を実行させるプログラム。
Applications Claiming Priority (3)
| Application Number | Priority Date | Filing Date | Title |
|---|---|---|---|
| JP2016083552 | 2016-04-19 | ||
| JP2016083552 | 2016-04-19 | ||
| PCT/JP2017/015562 WO2017183631A1 (ja) | 2016-04-19 | 2017-04-18 | Los-mimo復調装置、通信装置、los-mimo伝送システム、los-mimo復調方法及びプログラム |
Publications (2)
| Publication Number | Publication Date |
|---|---|
| JPWO2017183631A1 JPWO2017183631A1 (ja) | 2019-02-21 |
| JP6996496B2 true JP6996496B2 (ja) | 2022-01-17 |
Family
ID=60116109
Family Applications (1)
| Application Number | Title | Priority Date | Filing Date |
|---|---|---|---|
| JP2018513185A Active JP6996496B2 (ja) | 2016-04-19 | 2017-04-18 | Los-mimo復調装置、通信装置、los-mimo伝送システム、los-mimo復調方法及びプログラム |
Country Status (3)
| Country | Link |
|---|---|
| US (1) | US10523283B2 (ja) |
| JP (1) | JP6996496B2 (ja) |
| WO (1) | WO2017183631A1 (ja) |
Families Citing this family (7)
| Publication number | Priority date | Publication date | Assignee | Title |
|---|---|---|---|---|
| US10425182B2 (en) * | 2017-09-29 | 2019-09-24 | Futurewei Technologies, Inc. | Inter-band distortion and interference mitigation within communication systems |
| JP7044972B2 (ja) * | 2018-07-04 | 2022-03-31 | 日本電信電話株式会社 | 無線通信装置及び無線通信方法 |
| US20220190894A1 (en) * | 2019-04-25 | 2022-06-16 | Nec Corporation | Modulation apparatus and demodulation apparatus |
| US10708107B1 (en) * | 2019-09-10 | 2020-07-07 | Huawei Technologies Co., Ltd. | Method and decoder for suppressing phase noise in an orthogonal frequency division multiplexing signal |
| WO2023191669A1 (en) * | 2022-03-28 | 2023-10-05 | Telefonaktiebolaget Lm Ericsson (Publ) | Los-mimo microwave radio link channel estimation for rank deficient channels |
| US12088370B2 (en) * | 2022-09-27 | 2024-09-10 | Qualcomm Incorporated | Parallel shift estimation for LOS MIMO communication |
| CN119484208B (zh) * | 2024-09-27 | 2026-03-20 | 北京理工大学 | 基于los mimo的近场通信测距一体化方法 |
Citations (2)
| Publication number | Priority date | Publication date | Assignee | Title |
|---|---|---|---|---|
| JP2005252602A (ja) | 2004-03-03 | 2005-09-15 | Nippon Telegr & Teleph Corp <Ntt> | 位相雑音補正装置および空間多重信号受信装置 |
| JP2006197132A (ja) | 2005-01-12 | 2006-07-27 | Sony Corp | 無線通信装置及び無線通信方法 |
Family Cites Families (9)
| Publication number | Priority date | Publication date | Assignee | Title |
|---|---|---|---|---|
| US8805282B2 (en) | 2007-02-16 | 2014-08-12 | Nec Corporation | Radio transmission system and interference compensation method |
| EP2219310A4 (en) | 2007-11-30 | 2014-02-19 | Nec Corp | WIRELESS COMMUNICATION SYSTEM, RECEIVER, TRANSMITTER, WIRELESS COMMUNICATION METHOD, RECEIVING METHOD, AND TRANSMITTING METHOD |
| CN102047582B (zh) | 2008-06-20 | 2014-07-30 | 日本电信电话株式会社 | 接收装置、通信系统、以及接收方法 |
| JP5246771B2 (ja) | 2008-11-11 | 2013-07-24 | 国立大学法人東京工業大学 | 位相雑音補償受信機 |
| JP5452174B2 (ja) * | 2009-10-30 | 2014-03-26 | 三菱電機株式会社 | Mimo受信装置 |
| US8767575B2 (en) * | 2010-08-06 | 2014-07-01 | Futurewei Technologies, Inc. | Method and apparatus for broadband carrier frequency and phase recovery in coherent optical system |
| US9136979B2 (en) | 2012-04-24 | 2015-09-15 | Nec Corporation | Carrier wave reproduction device and carrier wave reproduction method |
| US9077407B2 (en) * | 2012-05-15 | 2015-07-07 | Broadcom Corporation | Geometrical closed loop line of sight (LOS) multiple-input-multiple-output (MIMO) |
| US9391817B2 (en) * | 2014-03-24 | 2016-07-12 | Tensorcom, Inc. | Method and apparatus of an architecture to switch equalization based on signal delay spread |
-
2017
- 2017-04-18 US US16/081,076 patent/US10523283B2/en active Active
- 2017-04-18 JP JP2018513185A patent/JP6996496B2/ja active Active
- 2017-04-18 WO PCT/JP2017/015562 patent/WO2017183631A1/ja not_active Ceased
Patent Citations (2)
| Publication number | Priority date | Publication date | Assignee | Title |
|---|---|---|---|---|
| JP2005252602A (ja) | 2004-03-03 | 2005-09-15 | Nippon Telegr & Teleph Corp <Ntt> | 位相雑音補正装置および空間多重信号受信装置 |
| JP2006197132A (ja) | 2005-01-12 | 2006-07-27 | Sony Corp | 無線通信装置及び無線通信方法 |
Non-Patent Citations (1)
| Title |
|---|
| Rui Lv, Meng Cai, Zihuan Chen, Jun Ma, Xiaodong Li,Phase noise suppression for realistic LOS-MIMO microwave backhaul systems,2013 Asia-Pacific Microwave Conference Proceedings(APMC),2013年11月08日,p.794-796 |
Also Published As
| Publication number | Publication date |
|---|---|
| US20190020384A1 (en) | 2019-01-17 |
| US10523283B2 (en) | 2019-12-31 |
| JPWO2017183631A1 (ja) | 2019-02-21 |
| WO2017183631A1 (ja) | 2017-10-26 |
Similar Documents
| Publication | Publication Date | Title |
|---|---|---|
| JP6996496B2 (ja) | Los-mimo復調装置、通信装置、los-mimo伝送システム、los-mimo復調方法及びプログラム | |
| CN101647251B (zh) | 频率偏移校正 | |
| US10237095B2 (en) | Linear equalization for use in low latency high speed communication systems | |
| KR101062049B1 (ko) | 수신 장치 및 수신 방법 | |
| JP7201075B2 (ja) | 復調装置 | |
| JP2008017143A (ja) | 無線受信装置および方法 | |
| JP6583292B2 (ja) | Mimo復調装置及び方法、並びに見通し内mimo無線通信システム | |
| TWI381669B (zh) | 多入多出正交頻分多工通信系統中的接收機與估計相位誤差的方法 | |
| JP6019298B2 (ja) | 無線通信システム、無線送信装置および無線通信方法 | |
| JP7180514B2 (ja) | 無線通信システム、無線通信方法、送信局装置および受信局装置 | |
| JP7196686B2 (ja) | 無線通信システム、無線通信方法、送信局装置および受信局装置 | |
| JP2007110664A (ja) | Mimoプリコーディング方式 | |
| JPWO2008156133A1 (ja) | Cfoとdcoを有するofdm信号の補償方法、プログラム、記録媒体および受信機 | |
| JP7298695B2 (ja) | 無線通信システム、無線通信方法、送信局装置および受信局装置 | |
| US10103906B2 (en) | Method and apparatus for attenuating interference or cancelling interference in filter bank multicarrier system | |
| WO2020085253A1 (ja) | 無線通信システム、無線通信方法、送信局装置および受信局装置 | |
| WO2017167386A1 (en) | A transmitter for transmitting and a receiver for receiving a plurality of multicarrier modulation signals | |
| JP4925418B2 (ja) | 送信装置及び通信システム | |
| EP2244432A1 (en) | Compensating carrier frequency offsets in OFDM systems | |
| JP7302734B2 (ja) | 無線通信システム、無線通信方法及び送信装置 | |
| JP6209087B2 (ja) | 受信装置及びプログラム | |
| JP7107271B2 (ja) | 無線通信システム、無線通信方法、送信局装置および受信局装置 | |
| WO2022102063A1 (ja) | 無線通信システム、無線通信方法、および受信装置 | |
| JP2013150271A (ja) | 受信装置及び受信方法 | |
| JP2008135888A (ja) | Cfoとdcoの補償機能を有するofdm受信機 |
Legal Events
| Date | Code | Title | Description |
|---|---|---|---|
| A621 | Written request for application examination |
Free format text: JAPANESE INTERMEDIATE CODE: A621 Effective date: 20200304 |
|
| A131 | Notification of reasons for refusal |
Free format text: JAPANESE INTERMEDIATE CODE: A131 Effective date: 20210525 |
|
| A521 | Request for written amendment filed |
Free format text: JAPANESE INTERMEDIATE CODE: A523 Effective date: 20210621 |
|
| TRDD | Decision of grant or rejection written | ||
| A01 | Written decision to grant a patent or to grant a registration (utility model) |
Free format text: JAPANESE INTERMEDIATE CODE: A01 Effective date: 20211116 |
|
| A61 | First payment of annual fees (during grant procedure) |
Free format text: JAPANESE INTERMEDIATE CODE: A61 Effective date: 20211129 |
|
| R150 | Certificate of patent or registration of utility model |
Ref document number: 6996496 Country of ref document: JP Free format text: JAPANESE INTERMEDIATE CODE: R150 |



