JP6910879B2 - 吐出器 - Google Patents

吐出器 Download PDF

Info

Publication number
JP6910879B2
JP6910879B2 JP2017148579A JP2017148579A JP6910879B2 JP 6910879 B2 JP6910879 B2 JP 6910879B2 JP 2017148579 A JP2017148579 A JP 2017148579A JP 2017148579 A JP2017148579 A JP 2017148579A JP 6910879 B2 JP6910879 B2 JP 6910879B2
Authority
JP
Japan
Prior art keywords
cylinder
suction
piston
suction piston
contents
Prior art date
Legal status (The legal status is an assumption and is not a legal conclusion. Google has not performed a legal analysis and makes no representation as to the accuracy of the status listed.)
Active
Application number
JP2017148579A
Other languages
English (en)
Other versions
JP2019026342A (ja
Inventor
角田 義幸
義幸 角田
Current Assignee (The listed assignees may be inaccurate. Google has not performed a legal analysis and makes no representation or warranty as to the accuracy of the list.)
Yoshino Kogyosho Co Ltd
Original Assignee
Yoshino Kogyosho Co Ltd
Priority date (The priority date is an assumption and is not a legal conclusion. Google has not performed a legal analysis and makes no representation as to the accuracy of the date listed.)
Filing date
Publication date
Application filed by Yoshino Kogyosho Co Ltd filed Critical Yoshino Kogyosho Co Ltd
Priority to JP2017148579A priority Critical patent/JP6910879B2/ja
Publication of JP2019026342A publication Critical patent/JP2019026342A/ja
Application granted granted Critical
Publication of JP6910879B2 publication Critical patent/JP6910879B2/ja
Active legal-status Critical Current
Anticipated expiration legal-status Critical

Links

Images

Landscapes

  • Closures For Containers (AREA)

Description

本発明は、吐出器に関する。
従来、下記特許文献1に示されるような吐出器が知られている。吐出器は、内容物が収容される容器本体の口部に装着される装着キャップと、装着キャップ内に上方付勢状態で下方移動可能に立設されたステムを有するポンプと、ステムの上端部に装着され、内容物を吐出する吐出口を有する押下ヘッドと、を備える。
特開2014−28639号公報
従来の吐出器では、押下ヘッドを押下操作して内容物を吐出した後、吐出口内に溜まった内容物が垂れ落ちるおそれがあった。
本発明は、このような事情に鑑み、押下ヘッドの吐出口から内容物が垂れることを防止できる吐出器を提供することを目的とする。
本発明の一態様の吐出器は、内容物が収容される容器本体の口部に装着される装着キャップと、前記装着キャップ内に上方付勢状態で下方移動可能に立設されたステムを有するポンプと、前記ステムの上端部に装着され、内容物を吐出する吐出口を有する押下ヘッドと、を備え、前記押下ヘッドは、上下方向に延び、内部を内容物が流通する内筒と、前記内筒の径方向外側を囲う外筒と、前記内筒の外周面と前記外筒の内周面との間に上下摺動自在に設けられた吸引ピストンと、前記吸引ピストンの上方に位置して前記吸引ピストンに対向し、前記吐出口に連通する吸引孔が形成された頂壁と、前記内筒、前記外筒、前記吸引ピストンおよび前記頂壁により形成された吸引室と、を備え、前記押下ヘッドが前記ステムとともに下方移動したときに、前記吸引ピストンが前記頂壁に対して接近移動し、前記押下ヘッドが前記ステムとともに上方に復元移動したときに、前記吸引ピストンが前記頂壁に対して離間移動し、前記内筒の外周面または前記外筒の内周面に、径方向に突出する押上げ突起が備えられ、前記押上げ突起は、前記吸引ピストンに対して下方から当接可能であり、前記装着キャップは、前記内筒と前記外筒との間で上下方向に延び、前記吸引ピストンの下方に設けられたガイド筒を備え、前記ガイド筒は、径方向に突出するとともに前記吸引ピストンの周壁部に当接され、前記吸引ピストンの上方移動を抑止する抑止部を備え、前記押上げ突起が前記吸引ピストンに対して下方から当接し、前記吸引ピストンを上方へ押し上げたときに、前記ガイド筒に対して前記吸引ピストンが上方移動することを特徴とする。
この吐出器は、押下ヘッドが吸引室を備える。吸引室の頂壁には吸引孔が形成され、この吸引孔を通して、吸引室内と吐出口とが連通する。押下ヘッドを押下操作し、内容物を吐出口から吐出させる際には、押下ヘッドにおいて吸引室の吸引ピストンが頂壁に対して接近移動し、吸引室の容積が減る。また、押下ヘッドの押下操作を解除し、ステムの上方付勢により押下ヘッドが上方に復元移動すると、押下ヘッドにおいて吸引室の吸引ピストンが頂壁に対して離間移動し、吸引室の容積が増える。この際、吸引室内が負圧になることでバックサクション作用が得られ、吸引孔を通して吐出口の内部から吸引室内に内容物が吸引される。これにより、吐出口内の内容物が垂れ落ちることを抑制できる。
次回の吐出時に、押下ヘッドを押下操作して内容物を吐出させる際には、吸引室の容積が減ることにより、吸引室内に残されていた内容物が吸引孔を通して吐出口に流出させられる。そして、押下ヘッドの押下操作を解除すると、再び吸引室の容積が増えて、吐出口内の内容物が吸引孔を通して吸引室内に吸引される。したがって、上述した作用効果を繰り返し得ることができる。
以上より本発明によれば、押下ヘッドの吐出口から内容物が垂れることを防止できる。
また上記吐出器において、前記内筒の外周面または前記外筒の内周面に、径方向に突出する押上げ突起が備えられ、前記押上げ突起は、前記吸引ピストンに対して下方から当接可能である。
押下ヘッドの押下操作が解除された際、内筒または外筒に備えられた押上げ突起が、吸引ピストンに対して下方から当接し、吸引ピストンを上方へ向けて押し上げる。これにより、吸引ピストンが押下操作時の下降端位置に残ってしまう不具合を防止できる。つまり、吸引ピストンが押下操作前の上昇端位置に確実に戻される。したがって、上述した作用効果が安定して得られる。
また上記吐出器において、前記装着キャップは、前記内筒と前記外筒との間で上下方向に延び、前記吸引ピストンの下方に設けられたガイド筒を備え、前記ガイド筒は、径方向に突出するとともに前記吸引ピストンの周壁部に当接され、前記吸引ピストンの上方移動を抑止する抑止部を備え、前記押上げ突起が前記吸引ピストンに対して下方から当接し、前記吸引ピストンを上方へ押し上げたときに、前記ガイド筒に対して前記吸引ピストンが上方移動する。
押下ヘッドが押下操作され、吸引室の頂壁に対して吸引ピストンが接近移動すると、これにともない、内筒または外筒に設けられた押上げ突起は、吸引ピストンに対して下方に移動させられる。次いで、押下ヘッドの押下操作を解除すると、押下ヘッドとともに吸引ピストンが上方移動しようとするが、吸引ピストンの周壁部にガイド筒の抑止部が当接しているので、吸引ピストンの上方移動が抑止される。つまり吸引ピストンは、ガイド筒の抑止部に抑止された位置にとどまる。
このため、押下ヘッドが上方に復元移動するときに、押下ヘッドとともに上方移動する吸引室の頂壁に対して、吸引ピストンを相対的に下方に離間させることができる。したがって、吸引室の容積を確実に増やすことができ、吐出口内の内容物を安定して吸引室内に吸引できる。
次いで、押上げ突起が吸引ピストンに対して下方から当接し、吸引ピストンを上方へ押し上げる。押上げ突起による押し上げ力が、吸引ピストンの周壁部に対する抑止部の抑止力を上回ることで、吸引ピストンは上方移動する。これにより、吸引ピストンが押下操作前の上昇端位置に戻る。したがって、上述した作用効果を繰り返し得ることができる。
また上記吐出器において、前記ガイド筒は、前記吸引ピストンに対して下方から当接可能であることとしてもよい。
この場合、押下ヘッドを押下操作したときに、ガイド筒が吸引ピストンに対して下方から当接する。ガイド筒に当接された吸引ピストンは、それ以降の下方移動が規制される。このため、押下ヘッドとともに下方移動する吸引室の頂壁に対して、吸引ピストンが確実に接近移動させられる。したがって、上述した作用効果が安定して得られる。
また上記吐出器において、前記ポンプは、前記ステムに連係して上下動する空気用ピストンおよび液用ピストンと、内部に前記空気用ピストンが上下摺動自在に設けられた空気用シリンダと、内部に前記液用ピストンが上下摺動自在に設けられた液用シリンダと、前記空気用シリンダから移送される空気と前記液用シリンダから移送される内容物とを混合する気液混合室と、前記気液混合室で混合された気液混合体を発泡させて内容物を泡状にする発泡部材と、を備えたこととしてもよい。
この場合、吐出器が、内容物を泡状に吐出するように構成された泡吐出器である。従来、このような泡吐出器では、吐出後の時間経過によって泡が液化し、通常の内容物(例えば粘性を有する液状のもの)よりも液化した内容物が吐出口から垂れ落ちやすい状態となる。本発明は、内容物を泡状に吐出する構成を備えた吐出器に対し、特に顕著な効果を奏する。
本発明の吐出器によれば、押下ヘッドの吐出口から内容物が垂れることを防止できる。
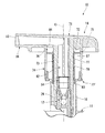
図1は、本発明の第1実施形態の吐出器を示す縦断面図である。 図2は、第1実施形態の吐出器の押下ヘッドを拡大して示す縦断面図であり、押下ヘッドを押下操作したときの押下ヘッドの下降端位置の状態を表す。 図3は、図2のIII部を拡大して示す図である。 図4は、第1実施形態の吐出器の押下ヘッドを拡大して示す縦断面図であり、押下ヘッドの押下操作を解除した直後(押下ヘッドの上昇し始め)の状態を表す。 図5は、図4のV部を拡大して示す図である。 図6は、第1実施形態の吐出器の押下ヘッドを拡大して示す縦断面図であり、押下ヘッドが上昇端位置へ向けて上方移動している途中の状態を表す。 図7は、図6のVII部を拡大して示す図である。 図8は、本発明の第2実施形態の吐出器を示す縦断面図である。 図9は、第2実施形態の吐出器の押下ヘッドを拡大して示す縦断面図であり、押下ヘッドを押下操作したときの押下ヘッドの下降端位置の状態を表す。 図10は、図9のX部を拡大して示す図である。 図11は、第2実施形態の吐出器の押下ヘッドを拡大して示す縦断面図であり、押下ヘッドの押下操作を解除した直後(押下ヘッドの上昇し始め)の状態を表す。 図12は、図11のXII部を拡大して示す図である。 図13は、第2実施形態の吐出器の押下ヘッドを拡大して示す縦断面図であり、押下ヘッドが上昇端位置へ向けて上方移動している途中の状態を表す。 図14は、図13のXIV部を拡大して示す図である。 図15は、図8のXV部を拡大して示す図であり、第2実施形態の吐出器の変形例を表す。
<第1実施形態>
以下、本発明の第1実施形態に係る吐出器1について、図1〜図7を参照して説明する。本実施形態の吐出器1は、内容物が収容される有底筒状の容器本体2の口部3に着脱可能に装着される。本実施形態の例では、吐出器1が、泡吐出器(フォーマポンプ)である。すなわち、吐出器1は、容器本体2内の液状の内容物を空気と混合し泡状にして、押下ヘッド14の吐出口15から吐出させる。
図1に示すように、吐出器1は、容器本体2の口部3に装着される装着キャップ11と、ステム12を有するポンプ13と、内容物を吐出する吐出口15を有する押下ヘッド14と、を備える。
容器本体2の口部3、装着キャップ11、ステム12および押下ヘッド14は、それぞれの中心軸線が共通軸上に配置される。本実施形態では、この共通軸をポンプ軸Oと呼ぶ。
本実施形態では、ポンプ軸Oに沿う方向(ポンプ軸Oが延在する方向)をポンプ軸O方向と呼ぶ。ポンプ軸O方向に沿って容器本体2の底部から押下ヘッド14へ向かう方向を上方と呼び、押下ヘッド14から容器本体2の底部へ向かう方向を下方と呼ぶ。
ポンプ軸O方向から見た平面視で、ポンプ軸Oに直交する方向を径方向と呼ぶ。径方向に沿ってポンプ軸Oへ接近する方向を径方向内側と呼び、ポンプ軸Oから離間する方向を径方向外側と呼ぶ。ポンプ軸O回りに周回する方向を周方向と呼ぶ。
装着キャップ11は、容器本体2の口部3に装着される有頂筒状の装着筒17と、装着筒17の天壁から上方へ延びるガイド筒18と、を備える。
図示の例では、装着筒17が、口部3に対して着脱可能に螺着される。ガイド筒18は、装着筒17の天壁の中央部に立設される。ガイド筒18には、押下ヘッド14の下方移動を規制する規制部材8が着脱可能に装着される。規制部材8は、ポンプ軸Oに垂直な断面(横断面)がC字状をなしており、ガイド筒18から取り外し可能に、ガイド筒18に設けられる。ガイド筒18の上端は、径方向外側へ向けて突出する。ガイド筒18については、別途後述する。
ポンプ13は、装着キャップ11内に上方付勢状態で下方移動可能に立設されたステム12と、ステム12に連係して上下動する空気用ピストン22および液用ピストン23と、内部に空気用ピストン22が上下摺動自在に設けられた空気用シリンダ24と、内部に液用ピストン23が上下摺動自在に設けられた液用シリンダ25と、空気用シリンダ24から移送される空気と液用シリンダ25から移送される内容物とを混合する気液混合室26と、気液混合室26で混合された気液混合体を発泡させて内容物を泡状にする発泡部材54と、を備える。
なお、空気用ピストン22、液用ピストン23、空気用シリンダ24および液用シリンダ25は、いずれもポンプ軸Oと同軸の筒状である。
空気用シリンダ24は、装着筒17の天壁の外端部と容器本体2の口部3の上端部との間に上下方向(ポンプ軸O方向)から挟まれる環状の取り付け部27と、取り付け部27の内周に接続し、この接続部分から下方に向けて延びる筒状の周壁部と、周壁部の下端に接続し、この接続部分から径方向内側へ延びる底壁部と、を備える。
液用シリンダ25は、空気用シリンダ24の底壁部の内端部から下方に向けて延びる基筒部30と、基筒部30の下端から下方に向かうにしたがい徐々に縮径するテーパ部31と、を備える。液用シリンダ25の内周における基筒部30とテーパ部31との接続部分には、上下方向に延びる縦リブ32が設けられる。縦リブ32は、周方向に互いに間隔をあけて複数配置される。テーパ部31の下端には、この下端から下方へ向けて延びる垂下筒33が設けられる。垂下筒33内には、吸い上げパイプが嵌合する。
液用ピストン23は、液用シリンダ25内に上下摺動自在に嵌合する大径部と、大径部の内周に接続し、この接続部分から上方へ向けて延びる小径部と、を備える。液用ピストン23は、付勢部材36により上方に付勢される。付勢部材36は、液用ピストン23の大径部と小径部との接続部分と、液用シリンダ25の縦リブ32と、の間に配置される。付勢部材36は、例えばコイルスプリングや樹脂バネ等である。
液用ピストン23、液用シリンダ25および付勢部材36の径方向内側には、弁部材37が設けられる。弁部材37は、上下方向に延びる軸状である。弁部材37の上端部には、上部弁体39が設けられる。上部弁体39は、中空逆円錐状である。上部弁体39は、液用ピストン23の上端部に設けられた弁座部38に対して、該弁座部38の上方から当接する。
弁部材37の下端部には、下部弁体40が設けられる。下部弁体40は、液用シリンダ25のテーパ部31から上方に離間して配置される。弁部材37が下方移動したときに、下部弁体40は、テーパ部31に当接する。下部弁体40の外周には、ガイド凸部41が突設される。ガイド凸部41は、液用シリンダ25の縦リブ32同士の間に配置される。
ステム12は、上下方向に延びる筒状である。ステム12は、装着キャップ11の径方向内側に配置される。ステム12は、空気用シリンダ24内を上下方向に延びる。押下ヘッド14が押下操作されたときに、ステム12は、液用シリンダ25内に挿入される。ステム12の下方部分は、液用ピストン23の小径部に対して、径方向外側に嵌合する。
ステム12は、フランジ部42と、台座部43と、摺動部51と、を備える。
フランジ部42は、ステム12の外周面から径方向外側へ向けて突出し周方向に延びる環状である。台座部43は、ステム12の内周面から径方向内側へ向けて突出し周方向に延びる環状である。図示の例では、フランジ部42が、ステム12における上下方向の中央部に配置される。台座部43は、フランジ部42から上方に離れた位置に配置される。ステム12のうち、台座部43よりも上方に位置する上端部は、装着キャップ11のガイド筒18の径方向内側に配置される。
摺動部51は、ステム12の外周のうち、フランジ部42よりも上方に位置し、台座部43よりも下方に位置する。摺動部51の外周面には、上下方向に延びる第1連通溝66が形成される。第1連通溝66は、上方に向けて開口する。第1連通溝66は、空気用シリンダ24の後述する下室49に連通可能である。
気液混合室26は、ステム12内に設けられる。図示の例では、気液混合室26が、ステム12の上端部内に配置される。気液混合室26内には、球状の逆止弁44が設けられる。逆止弁44は、台座部43に対して上方から当接する。逆止弁44は、台座部43に対して上方へ離間可能である。
空気用ピストン22は、ステム12に対して径方向外側に嵌合する内筒部45と、空気用シリンダ24内に嵌合する外筒部46と、内筒部45と外筒部46とを連結する連結部47と、を備える。
連結部47は、内筒部45の外周面と外筒部46の内周面とを連結する環状である。連結部47は、内筒部45および外筒部46における上下方向の各中央部同士を、全周にわたって連結する。連結部47によって、空気用シリンダ24の内部が、上室48と下室49とに分かれる。連結部47には、貫通孔50が形成される。貫通孔50は、連結部47の上方に位置する上室48と、連結部47の下方に位置する下室49と、を連通する。
内筒部45は、ステム12の外周の摺動部51に対して、上下摺動自在に嵌合する。内筒部45の下端は、フランジ部42に対して上方から当接する。内筒部45の下端は、フランジ部42に対して上方へ離間可能である。内筒部45がフランジ部42に当接することにより、第1連通溝66と下室49との連通が遮断される。
内筒部45の外周面のうち、連結部47との接続部分よりも下方に位置する部分には、弁筒部が嵌合される。弁筒部の外周面には、外気導入弁53が突設される。外気導入弁53は、弁筒部の外周面から径方向外側へ向けて突出し周方向に延びる環状である。外気導入弁53は、貫通孔50を通した上室48と下室49との連通を遮断する。外気導入弁53の外周端部は、連結部47の下面に離間可能に当接する。外気導入弁53は、貫通孔50を開放可能に閉塞する。
発泡部材54は、ステム12の上端部に装着された筒状のケーシング55と、ケーシング55内に装着された2つの発泡エレメント56と、を備える。
ケーシング55は、発泡エレメント56が収容される大径部と、大径部の下方に位置する小径部と、大径部と小径部とを接続する段部と、を備える。小径部は、ステム12の上端部内に嵌合する。小径部の外周面および段部には、第2連通溝67が形成される。第2連通溝67は、気液混合室26に連通し、径方向の外側へ向けて開口する。
2つの発泡エレメント56は、それぞれ筒状であり、上下方向に並んで配置される。2つの発泡エレメント56のうち、下方の発泡エレメント56の下端開口は、メッシュ体により流体を通過可能に塞がれる。上方の発泡エレメント56の上端開口は、メッシュ体により流体を通過可能に塞がれる。
押下ヘッド14は、ステム12の上端部に装着される。押下ヘッド14は、有頂筒状である。押下ヘッド14は、天壁部71と、天壁部71の下面に形成された頂壁72と、ステム12に固定されて上下方向に延び、内部を内容物が流通する内筒73と、内筒73の径方向外側を囲う外筒74と、内筒73の外周面と外筒74の内周面との間に上下摺動自在に設けられた吸引ピストン75と、吸引室76と、を備える。
内筒73は、装着キャップ11のガイド筒18内に挿入される。内筒73は、発泡部材54のケーシング55における大径部およびステム12の上端部に対して、径方向外側に嵌合し、固定される。内筒73の下端部の内径は、内筒73のうち、この下端部の上方に隣接する部分の内径よりも大きい。内筒73のうち下端部の上方に隣接する部分は、ステム12の上端部に対して径方向外側に嵌合する外嵌部64である。内筒73の下端部は、空気用ピストン22の内筒部45の上端部に対して、径方向外側に嵌合する。内筒73の下端部と、空気用ピストン22の内筒部45の上端部とは、上下摺動自在に嵌合する。内筒73の下端は、空気用ピストン22における内筒部45と連結部47との接続部分よりも上方に位置する。内筒73の下端と連結部47との間には、上下方向に隙間が設けられる。
外嵌部64の内周面には、上下方向に延びる第3連通溝68が形成される。第3連通溝68の上端部は、第2連通溝67に開口する。第3連通溝68の下端部は、第1連通溝66に開口する。第1連通溝66、第2連通溝67および第3連通溝68は、下室49と気液混合室26とを連通可能な空気導入路65を形成する。
内筒73の内部のうち、外嵌部64よりも上方に位置する部分は、ステム12内に連通する流通路62である。流通路62は、上下方向に延びる。流通路62の下端部は、発泡部材54を通してステム12内に連通する。流通路62の上端部は、吐出筒16の吐出口15内に連通する。
内筒73の外周面と、ガイド筒18の内周面との間には、隙間が設けられる。内筒73の外周面とガイド筒18の内周面との間を通して、外部から空気用シリンダ24内へと空気が流入可能である。
図2に示すように、内筒73の外周面には、径方向に突出する押上げ突起77が備えられる。つまり押上げ突起77は、内筒73の外周面から径方向外側へ向けて突出する。
図1に示すように、外筒74は、内筒73の径方向外側に隙間をあけて配置される。外筒74は、ポンプ軸Oを中心とした筒状であり、内筒73と同軸に配置される。外筒74は、内筒73のうち上方部分をその径方向外側から囲う。外筒74の下端部は、径方向内側へ向けて突出する。外筒74の下端部の径方向内端と、ガイド筒18の上端の径方向外端とは、互いに径方向に接近して配置され、または当接する。
図2および図3に示すように、吸引ピストン75は、リング板状の吸引壁部78と、吸引壁部78の径方向内側の端部に接続される筒状の周壁部79と、を備える。
吸引壁部78は、ポンプ軸Oに交差する板面(図示の例では垂直な板面)を有し、周方向に延びる円形リング板状である。
吸引壁部78の径方向内側の端部には、筒状の内摺動部80が設けられる。内摺動部80は、内筒73の外周面に上下摺動自在に嵌合する。内摺動部80は、吸引壁部78のうち、内摺動部80の径方向外側に隣接する部分から上方へ向けて延びる。
吸引壁部78の径方向外側の端部には、筒状の外摺動部81が設けられる。外摺動部81は、外筒74の内周面に上下摺動自在に嵌合する。外摺動部81は、吸引壁部78のうち、外摺動部81の径方向内側に隣接する部分から上方へ向けて延びる。
周壁部79は、吸引壁部78の径方向内側の端部から下方へ向けて延びる。周壁部79の外周面には、径方向に突出する乗り越え突起82が形成される。周壁部79の下端部は、この下端部よりも上方に位置する部分に比べて、肉厚が厚い。本実施形態では、図1に示すように、押下ヘッド14を押下操作する前の状態において、吸引ピストン75が、ガイド筒18から上方に離間して配置される。
図1、図6および図7に示すように、内筒73の押上げ突起77は、吸引ピストン75に対して下方から当接可能である。本実施形態では、押上げ突起77が、吸引ピストン75の周壁部79の下端部に対して、下方から当接する。
吸引ピストン75の下方には、装着キャップ11のガイド筒18が設けられる。ガイド筒18は、内筒73と外筒74との間で上下方向に延びる。つまりガイド筒18は、径方向に沿う内筒73と外筒74との間に配置される。
図6および図7に示すように、ガイド筒18は、径方向に突出する抑止部83を備える。抑止部83は、ガイド筒18の内周面から径方向内側へ向けて突出する突起状である。抑止部83は、吸引ピストン75の周壁部79の乗り越え突起82に対して、下方から当接する。つまりガイド筒18は、吸引ピストン75に対して下方から当接可能である。
図2および図3に示すように、乗り越え突起82は、抑止部83を下方に向けて乗り越え可能である。図3において、本実施形態の例では、乗り越え突起82が抑止部83を下方に乗り越えた状態で、乗り越え突起82と抑止部83との間に、上下方向に隙間が設けられる。つまり乗り越え突起82は、抑止部83に対して下方から当接可能な状態になる。
また、図4および図5に示すように、抑止部83は、吸引ピストン75の周壁部79に当接され、吸引ピストン75の上方移動を抑止する。本実施形態では、抑止部83が、吸引ピストン75の周壁部79の乗り越え突起82により、下方から当接される。そして、吸引ピストン75に対して所定以上の押上げ力(上方へ向けた力)が作用するまでの間、抑止部83は、吸引ピストン75の上方移動を抑止する。吸引ピストン75に対して所定以上の押上げ力が作用したときに、図6および図7に示すように、乗り越え突起82は、抑止部83を上方に向けて乗り越える。つまり、抑止部83による吸引ピストン75の上方移動の抑止が解除される。
押上げ突起77が吸引ピストン75に対して下方から当接し、吸引ピストン75を上方へ押し上げたときに、ガイド筒18に対して吸引ピストン75が上方移動する。本実施形態では、図4および図5に示す状態から、押上げ突起77が吸引ピストン75の周壁部79の下端に対して下方から当接し、押上げ突起77が周壁部79を上方へ押し上げる押上げ力が、抑止部83が乗り越え突起82の上昇を抑える抑止力(抑止部83と乗り越え突起82との嵌合力)を上回ったときに、図6および図7に示すように、ガイド筒18に対して吸引ピストン75が上方移動する。
図1および図2に示すように、天壁部71は、内筒73の上端部および外筒74の上端部に接続される。天壁部71は、内筒73の内部および外筒74の内部を上方から塞ぐ。天壁部71は、吐出口15が形成された吐出筒16と、吸引ピストン75の上方に位置して吸引ピストン75に対向し、吐出口15に連通する吸引孔84が形成された頂壁72と、を備える。
吐出筒16は、内筒73の上端部に接続し、この上端部から径方向外側へ向けて延びる。吐出筒16の内部に形成された吐出口15は、径方向外側へ向けて開口する。吐出筒16の吐出口15内と、内筒73の流通路62内とは、互いに連通する。
頂壁72は、天壁部71の下面のうち、少なくとも内筒73と外筒74との間に位置する部分を含む。図3に示すように、頂壁72のうち、吸引ピストン75の内摺動部80の上方に位置する部分には、上方へ向けて窪み周方向に延びる環状の内溝部85が形成される。内溝部85には、内摺動部80が収容される。頂壁72のうち、吸引ピストン75の外摺動部81の上方に位置する部分には、上方へ向けて窪み周方向に延びる環状の外溝部86が形成される。外溝部86には、外摺動部81が収容される。頂壁72のうち、内溝部85と外溝部86との間に位置する部分が、吸引ピストン75の吸引壁部78に対して、上方から当接可能である。
図2に示すように、吸引孔84は、頂壁72のうち、内筒73と外筒74との間において吐出筒16の下方に位置する部分に配置される。吸引孔84は、上下方向に開口する貫通孔である。吸引孔84の上方には、吐出口15が配置される。吸引孔84の下方には、後述する吸引室76が配置される。
図4に示すように、吸引室76は、内筒73、外筒74、吸引ピストン75および頂壁72により形成された室である。吸引室76は、周方向に延びる環状の室である。吸引室76は、内筒73の外周面、外筒74の内周面、吸引ピストン75の吸引壁部78の上面、および、頂壁72のうち内筒73と外筒74との間に位置する部分により囲まれた室である。
そしてこの吐出器1は、図2および図3に示すように、押下ヘッド14がステム12とともに下方移動したときに、吸引ピストン75が頂壁72に対して接近移動する。つまり、吸引ピストン75と頂壁72とが、上下方向に相対的に接近移動する。また、図4および図5に示すように、押下ヘッド14がステム12とともに上方に復元移動したときに、吸引ピストン75が頂壁72に対して離間移動する。つまり、吸引ピストン75と頂壁72とが、上下方向に相対的に離間移動する。
次に、吐出器1による内容物の吐出について説明する。
図1において、吐出器1の使用前は、押下ヘッド14の下方移動が規制部材8により規制された状態である。まず、装着キャップ11のガイド筒18から規制部材8を取り外す。
押下ヘッド14の天壁部71を下方へ向けて押し下げると、ステム12および液用ピストン23が一体的に押し下げられる。このとき、空気用ピストン22の内筒部45が、ステム12の摺動部51の外周面上を摺動する。また内筒部45の上端部が、内筒73の下端部の内周面上を摺動する。これにより、空気用シリンダ24に対する空気用ピストン22の上下方向の位置が保持されて、ステム12のフランジ部42と、空気用ピストン22の内筒部45の下端との間に、図示しない隙間(以下、連通隙間と呼ぶ)が設けられる。連通隙間は、第1連通溝66と下室49とを連通する。つまり、連通隙間および空気導入路65を通して、下室49と気液混合室26とが連通される。
またこのとき、弁部材37も下方に移動させられ、弁部材37の下部弁体40が液用シリンダ25のテーパ部31に当接して、液用シリンダ25の下端開口が閉塞される。
さらに、内筒73の下端が空気用ピストン22の連結部47に当接するまで押下ヘッド14を押し下げると、押下ヘッド14とともに空気用ピストン22が下方に移動し、空気用ピストン22の外筒部46が、空気用シリンダ24の周壁部の内周面上を下方に向けて摺動する。このとき、空気用ピストン22の弁筒部の外気導入弁53は連結部47の下面に当接した状態であり、貫通孔50は閉塞されている。このため、下室49内の空気が圧縮され、この空気が、前記連通隙間および空気導入路65を通して、気液混合室26に移送される。
またこのとき、液用シリンダ25の下端開口が閉塞された状態で、付勢部材36を圧縮変形させつつ液用ピストン23が下方移動する。液用ピストン23の弁座部38は、弁部材37の上部弁体39から下方へ離間され、液用シリンダ25の内部とステム12の内部とが連通される。これにより、液用シリンダ25内の内容物が、弁座部38の径方向内側および上部弁体39の径方向外側を通して、ステム12内の気液混合室26に移送される。
気液混合室26に空気および内容物がそれぞれ移送されると、これらが気液混合室26で合流して混合される。この気液混合体は、発泡部材54のケーシング55内に移送され、下方の発泡エレメント56のメッシュ体および上方の発泡エレメント56のメッシュ体をこの順に通過し発泡させられて、泡体(泡状の内容物)になる。泡体は、流通路62および吐出口15を流通して、吐出筒16の先端(径方向外端)から外部に吐出される。
次いで、押下ヘッド14の押し下げを解除すると、付勢部材36の弾性復元力により、液用ピストン23が上方へ押し上げられる。これにより、液用ピストン23の弁座部38が弁部材37の上部弁体39に当接し、弁座部38と上部弁体39との間の隙間が閉じられて、気液混合室26への内容物の移送が停止される。
また、液用ピストン23とともに、ステム12および押下ヘッド14が一体的に上昇する。ステム12のフランジ部42が、空気用ピストン22の内筒部45の下端に当接し、空気導入路65を通した下室49と気液混合室26との連通が遮断されて、気液混合室26への空気の移送が停止される。さらに、付勢部材36の弾性復元力により空気用ピストン22が押し上げられ、下室49内が負圧状態となり、空気用ピストン22の弁筒部の外気導入弁53が下方に弾性変形させられて、貫通孔50が開放される。これにより、貫通孔50および上室48を通して、下室49内に外気が吸入される。
以上説明した本実施形態の吐出器1は、押下ヘッド14が吸引室76を備える。吸引室76の頂壁72には吸引孔84が形成され、この吸引孔84を通して、吸引室76内と吐出口15とが連通する。図1に示す吐出器1の押下ヘッド14を押下操作し、内容物を吐出口15から吐出させる際には、図2および図3に示すように、押下ヘッド14において吸引室76の吸引ピストン75が頂壁72に対して接近移動し、吸引室76の容積が減る。また図4〜図7に示すように、押下ヘッド14の押下操作を解除し、ステム12の上方付勢により押下ヘッド14が上方に復元移動すると、押下ヘッド14において吸引室76の吸引ピストン75が頂壁72に対して離間移動し、吸引室76の容積が増える。この際、吸引室76内が負圧になることでバックサクション作用が得られ、吸引孔84を通して吐出口15の内部から吸引室76内に内容物が吸引される。これにより、吐出口15内の内容物が吐出筒16の先端から垂れ落ちることを抑制できる。
次回の吐出時に、押下ヘッド14を押下操作して内容物を吐出させる際には、図2に示すように吸引室76の容積が減ることにより、吸引室76内に残されていた内容物が吸引孔84を通して吐出口15に流出させられる。そして、押下ヘッド14の押下操作を解除すると、再び吸引室76の容積が増えて、吐出口15内の内容物が吸引孔84を通して吸引室76内に吸引される。したがって、上述した作用効果を繰り返し得ることができる。
以上より本実施形態によれば、押下ヘッド14の吐出口15から内容物が垂れることを防止できる。
また本実施形態では、吐出器1が、内容物を泡状に吐出するように構成された泡吐出器である。従来、このような泡吐出器では、吐出後の時間経過によって泡が液化し、通常の内容物(例えば粘性を有する液状のもの)よりも液化した内容物が吐出口15から垂れ落ちやすい状態となる。本発明は、内容物を泡状に吐出する構成を備えた吐出器1に適用した場合に、特に顕著な効果を奏する。
さらに本実施形態においては、吐出口15の内容物が液化する前に吸引することが可能となるため、その後、時間経過によって液化した場合であっても、内容物が垂れ落ちることを効果的に防止できる。
また本実施形態では、押下ヘッド14の押下操作が解除された際、図6および図7に示すように、内筒73に備えられた押上げ突起77が、吸引ピストン75の周壁部79の下端部に対して下方から当接し、吸引ピストン75を上方へ向けて押し上げる。これにより、吸引ピストン75が押下操作時の下降端位置に残ってしまう不具合を防止できる。つまり、吸引ピストン75が押下操作前の上昇端位置に確実に戻される。したがって、上述した作用効果が安定して得られる。
また本実施形態では、ガイド筒18が、吸引ピストン75の周壁部79に当接して吸引ピストン75の上方移動を抑止する抑止部83を備えており、押上げ突起77が吸引ピストン75に対して下方から当接し、吸引ピストン75を上方へ押し上げたときに、ガイド筒18に対して吸引ピストン75が上方移動するので、下記の作用効果が得られる。
すなわち、図2に示すように押下ヘッド14が押下操作され、吸引室76の頂壁72に対して吸引ピストン75が接近移動すると、これにともない、内筒73に設けられた押上げ突起77は、吸引ピストン75の周壁部79の下端部に対して下方に移動させられる。またこのとき、図3に示すように、吸引ピストン75の乗り越え突起82が、ガイド筒18の抑止部83を下方へ向けて乗り越える。
次いで、押下ヘッド14の押下操作を解除すると、押下ヘッド14とともに吸引ピストン75が上方移動しようとするが、図4および図5に示すように、吸引ピストン75の周壁部79の乗り越え突起82に対して、ガイド筒18の抑止部83が上方から当接しているので、吸引ピストン75の上方移動が抑止される。つまり吸引ピストン75は、ガイド筒18の抑止部83に抑止された位置にとどまる。
このため、押下ヘッド14が上方に復元移動するときに、押下ヘッド14とともに上方移動する吸引室76の頂壁72に対して、吸引ピストン75を相対的に下方に離間させることができる。したがって、吸引室76の容積を確実に増やすことができ、吐出口15内の内容物を安定して吸引室76内に吸引できる。
次いで、押上げ突起77が吸引ピストン75の周壁部79の下端部に対して下方から当接し、吸引ピストン75を上方へ押し上げる。押上げ突起77による押し上げ力が、吸引ピストン75の周壁部79に対する抑止部83の抑止力を上回ることで、図6および図7に示すように、吸引ピストン75は上方移動する。これにより、吸引ピストン75が押下操作前の上昇端位置に戻る。したがって、上述した作用効果を繰り返し得ることができる。
また本実施形態では、押下ヘッド14を押下操作したときに、ガイド筒18が吸引ピストン75に対して下方から当接する。ガイド筒18に当接された吸引ピストン75は、それ以降の下方移動が規制される。このため、押下ヘッド14とともに下方移動する吸引室76の頂壁72に対して、吸引ピストン75が確実に接近移動させられる。したがって、上述した作用効果が安定して得られる。
詳しくは、ガイド筒18の抑止部83が、吸引ピストン75の周壁部79の乗り越え突起82に対して、下方から当接可能であり、この当接により吸引ピストン75の下方移動が規制(抑止)される。さらに押下ヘッド14が下方移動させられることで、吸引ピストン75の吸引壁部78に対して、頂壁72が上方から当接する。吸引ピストン75は頂壁72により下方へと押し下げられ、これにより図3に示すように、乗り越え突起82が抑止部83を下方へ乗り越える。つまりこの乗り越え時には、吸引ピストン75の下方移動の規制が解除される。
また本実施形態では、吸引ピストン75の吸引壁部78における径方向内側の端部に内摺動部80が設けられ、径方向外側の端部に外摺動部81が設けられる。このため、吸引室76の密閉性を良好に維持できる。また頂壁72には、内摺動部80を収容する内溝部85と、外摺動部81を収容する外溝部86と、が形成される。このため、内摺動部80および外摺動部81によって吸引室76の密閉性を高めつつも、吸引室76の減容時の容積(最小容積)を小さく抑えることができる。これにより、吸引室76の容積が減ったときに、吸引室76内の内容物を吸引孔84を通して吐出口15内へ概ねすべて流出させることができ、吸引室76内に内容物が溜まり続けることを抑えられる。
<第2実施形態>
次に、本発明の第2実施形態に係る吐出器10について、図8〜図14を参照して説明する。なお、前述の第1実施形態と同じ構成要素については詳細な説明を省略し、主として異なる点についてのみ、下記に説明する。
図8に示すように、本実施形態では、吸引ピストン75の周壁部79の下端部が、ガイド筒18内に配置される。そして、吸引ピストン75の周壁部79が、ガイド筒18の抑止部83に対して、常に当接する。すなわち、押下ヘッド14を押下操作したときと、押下操作を解除したときとに係わらず、図8、図9、図11および図13に示すように、ガイド筒18の抑止部83は、吸引ピストン75の周壁部79の外周面に当接される。なお抑止部83は、ガイド筒18の内周面に周方向に互いに間隔をあけて複数形成される。抑止部83が間欠に設けられることで、周方向に隣り合う抑止部83同士の間の隙間部分が外気の導入通路として作用する。また本実施形態では、吸引ピストン75の周壁部79に乗り越え突起82は設けられない。抑止部83は、周壁部79の外周面との間の摩擦抵抗(滑り抵抗)により、吸引ピストン75の上方移動および下方移動を抑止する。
また本実施形態では、内筒73の押上げ突起77が、吸引ピストン75の周壁部79の内周面に設けられた係止突起87に対して、下方から当接可能である。そして、押上げ突起77が吸引ピストン75の係止突起87に対して下方から当接し、吸引ピストン75を上方へ押し上げたときに、ガイド筒18に対して吸引ピストン75が上方移動する。
本実施形態においても、前述の第1実施形態と同様の作用効果が得られる。
すなわち、図8に示す吐出器10の押下ヘッド14を押下操作し、内容物を吐出口15から吐出させる際には、図9および図10に示すように、押下ヘッド14において吸引室76の吸引ピストン75が頂壁72に対して接近移動し、吸引室76の容積が減る。また図11〜図14に示すように、押下ヘッド14の押下操作を解除し、ステム12の上方付勢により押下ヘッド14が上方に復元移動すると、押下ヘッド14において吸引室76の吸引ピストン75が頂壁72に対して離間移動し、吸引室76の容積が増える。この際、吸引室76内が負圧になることでバックサクション作用が得られ、吸引孔84を通して吐出口15の内部から吸引室76内に内容物が吸引される。これにより、吐出口15内の内容物が吐出筒16の先端から垂れ落ちることを抑制できる。
また本実施形態では、押下ヘッド14の押下操作が解除された際、図13および図14に示すように、内筒73に備えられた押上げ突起77が、吸引ピストン75の周壁部79の係止突起87に対して下方から当接し、吸引ピストン75を上方へ向けて押し上げる。これにより、吸引ピストン75が押下操作時の下降端位置に残ってしまう不具合を防止できる。つまり、吸引ピストン75が押下操作前の上昇端位置に確実に戻される。したがって、上述した作用効果が安定して得られる。
また本実施形態では、図9に示すように押下ヘッド14が押下操作され、吸引室76の頂壁72に対して吸引ピストン75が接近移動すると、これにともない、内筒73に設けられた押上げ突起77は、吸引ピストン75の係止突起87に対して下方に移動させられる。
次いで、押下ヘッド14の押下操作を解除すると、押下ヘッド14とともに吸引ピストン75が上方移動しようとするが、図11および図12に示すように、吸引ピストン75の周壁部79の外周面に対して、ガイド筒18の抑止部83が当接しているので、これらの摩擦抵抗により吸引ピストン75の上方移動が抑止される。つまり吸引ピストン75は、ガイド筒18の抑止部83に抑止された位置にとどまる。
このため、押下ヘッド14が上方に復元移動するときに、押下ヘッド14とともに上方移動する吸引室76の頂壁72に対して、吸引ピストン75を相対的に下方に離間させることができる。したがって、吸引室76の容積を確実に増やすことができ、吐出口15内の内容物を安定して吸引室76内に吸引できる。
次いで、押上げ突起77が吸引ピストン75の周壁部79の係止突起87に対して下方から当接し、吸引ピストン75を上方へ押し上げる。押上げ突起77による押し上げ力が、吸引ピストン75の周壁部79に対する抑止部83の抑止力(摩擦抵抗)を上回ることで、図13および図14に示すように、吸引ピストン75は上方移動する。これにより、吸引ピストン75が押下操作前の上昇端位置に戻る。したがって、上述した作用効果を繰り返し得ることができる。
また本実施形態では、ガイド筒18の抑止部83が、吸引ピストン75の周壁部79の外周面に常に当接しているため、押下ヘッド14を押下操作したときに、吸引ピストン75の下方移動が抑止される。このため、押下ヘッド14とともに下方移動する吸引室76の頂壁72に対して、吸引ピストン75が確実に接近移動させられる。したがって、上述した作用効果が安定して得られる。
詳しくは、ガイド筒18の抑止部83が、吸引ピストン75の周壁部79に対して径方向に押圧されることで、吸引ピストン75の下方移動が規制される。さらに押下ヘッド14が下方移動させられることで、吸引ピストン75の吸引壁部78に対して、頂壁72が上方から当接する。頂壁72が吸引ピストン75を下方へ押し下げる押下げ力が、抑止部83が周壁部79の下降を抑える抑止力(抑止部83と周壁部79との間の摩擦抵抗力)を上回ったときに、図9および図10に示すように、吸引ピストン75は頂壁72により下方へと押し下げられる。
なお、本発明は前述の実施形態に限定されず、例えば下記に説明するように、本発明の趣旨を逸脱しない範囲において種々の変更を加えることが可能である。
前述の第2実施形態において、図15に示すように、吸引ピストン75の周壁部79の外周面の下端部に、ガイド筒18の抑止部83から径方向内側へ離間する非接触部88を形成してもよい。この場合、押下ヘッド14を押下操作した際、押し下げ開始直後については、押下ヘッド14とともに吸引ピストン75を下方移動させることができる。そして押し下げ途中から、抑止部83を周壁部79に作用させて、吸引ピストン75の下方移動を抑止できる。
また、前述の第1、第2実施形態では、内筒73の外周面に、径方向外側に向けて突出する押上げ突起77が備えられるとしたが、これに限定されない。例えば吸引ピストン75が、吸引壁部78の径方向外側の端部から下方へ向けて延びる筒状の周壁部を備える場合には、外筒74の内周面に、径方向内側に向けて突出する押上げ突起が備えられてもよい。そしてこの押上げ突起が、吸引ピストン75の前記周壁部に対して下方から当接可能であってもよい。
また、前述の第1、第2実施形態では、吐出器1、10が泡吐出器であるとしたが、これに限定されず、泡吐出器以外の吐出器1、10であってもよい。
その他、本発明の趣旨を逸脱しない範囲で、上述した実施形態における構成要素を周知の構成要素に置き換えることは適宜可能であり、また、上述した実施形態および変形例を適宜組み合わせてもよい。
1,10…吐出器、2…容器本体、3…口部、11…装着キャップ、12…ステム、13…ポンプ、14…押下ヘッド、15…吐出口、72…頂壁、73…内筒、74…外筒、75…吸引ピストン、76…吸引室、84…吸引孔

Claims (3)

  1. 内容物が収容される容器本体の口部に装着される装着キャップと、
    前記装着キャップ内に上方付勢状態で下方移動可能に立設されたステムを有するポンプと、
    前記ステムの上端部に装着され、内容物を吐出する吐出口を有する押下ヘッドと、を備え、
    前記押下ヘッドは、
    上下方向に延び、内部を内容物が流通する内筒と、
    前記内筒の径方向外側を囲う外筒と、
    前記内筒の外周面と前記外筒の内周面との間に上下摺動自在に設けられた吸引ピストンと、
    前記吸引ピストンの上方に位置して前記吸引ピストンに対向し、前記吐出口に連通する吸引孔が形成された頂壁と、
    前記内筒、前記外筒、前記吸引ピストンおよび前記頂壁により形成された吸引室と、を備え、
    前記押下ヘッドが前記ステムとともに下方移動したときに、前記吸引ピストンが前記頂壁に対して接近移動し、
    前記押下ヘッドが前記ステムとともに上方に復元移動したときに、前記吸引ピストンが前記頂壁に対して離間移動し、
    前記内筒の外周面または前記外筒の内周面に、径方向に突出する押上げ突起が備えられ、
    前記押上げ突起は、前記吸引ピストンに対して下方から当接可能であり、
    前記装着キャップは、前記内筒と前記外筒との間で上下方向に延び、前記吸引ピストンの下方に設けられたガイド筒を備え、
    前記ガイド筒は、径方向に突出するとともに前記吸引ピストンの周壁部に当接され、前記吸引ピストンの上方移動を抑止する抑止部を備え、
    前記押上げ突起が前記吸引ピストンに対して下方から当接し、前記吸引ピストンを上方へ押し上げたときに、前記ガイド筒に対して前記吸引ピストンが上方移動する、吐出器。
  2. 請求項1に記載の吐出器であって、
    前記ガイド筒は、前記吸引ピストンに対して下方から当接可能である、吐出器。
  3. 請求項1または2に記載の吐出器であって、
    前記ポンプは、
    前記ステムに連係して上下動する空気用ピストンおよび液用ピストンと、
    内部に前記空気用ピストンが上下摺動自在に設けられた空気用シリンダと、
    内部に前記液用ピストンが上下摺動自在に設けられた液用シリンダと、
    前記空気用シリンダから移送される空気と前記液用シリンダから移送される内容物とを混合する気液混合室と、
    前記気液混合室で混合された気液混合体を発泡させて内容物を泡状にする発泡部材と、を備えた、吐出器。
JP2017148579A 2017-07-31 2017-07-31 吐出器 Active JP6910879B2 (ja)

Priority Applications (1)

Application Number Priority Date Filing Date Title
JP2017148579A JP6910879B2 (ja) 2017-07-31 2017-07-31 吐出器

Applications Claiming Priority (1)

Application Number Priority Date Filing Date Title
JP2017148579A JP6910879B2 (ja) 2017-07-31 2017-07-31 吐出器

Publications (2)

Publication Number Publication Date
JP2019026342A JP2019026342A (ja) 2019-02-21
JP6910879B2 true JP6910879B2 (ja) 2021-07-28

Family

ID=65477467

Family Applications (1)

Application Number Title Priority Date Filing Date
JP2017148579A Active JP6910879B2 (ja) 2017-07-31 2017-07-31 吐出器

Country Status (1)

Country Link
JP (1) JP6910879B2 (ja)

Family Cites Families (2)

* Cited by examiner, † Cited by third party
Publication number Priority date Publication date Assignee Title
JP4846560B2 (ja) * 2006-11-07 2011-12-28 プレスコ株式会社 流動体吐出ポンプ
JP2014028639A (ja) * 2012-07-31 2014-02-13 Yoshino Kogyosho Co Ltd 吐出器

Also Published As

Publication number Publication date
JP2019026342A (ja) 2019-02-21

Similar Documents

Publication Publication Date Title
US8393500B2 (en) Discharge container
JP5873247B2 (ja) ポンプ式泡吐出容器
JP6144209B2 (ja) ポンプ式吐出容器
WO1999008800A1 (en) Manual liquid sprayer
JP6226763B2 (ja) ポンプ式吐出容器
JP6745186B2 (ja) 吐出器用アタッチメント及び吐出器
JP4716462B2 (ja) ポンプ式泡出し容器
JP7493201B2 (ja) ポンプディスペンサー
CN110694152B (zh) 具有防止细菌渗入功能的药剂分配器
JP5126815B2 (ja) 泡付着用噴出容器
JP6910879B2 (ja) 吐出器
JP5283159B2 (ja) ポンプの押下ヘッド
JP6594256B2 (ja) 吐出器
JP4931057B2 (ja) 泡噴出容器
JP6240498B2 (ja) フォーマディスペンサ
JP6359876B2 (ja) 吐出器
JP2002102753A (ja) 液体噴出ポンプ
JP6190695B2 (ja) フォーマポンプ
JP5000200B2 (ja) 吐出容器
JP7386696B2 (ja) 泡吐出器
JP7792792B2 (ja) 吐出器
JP7099927B2 (ja) 泡吐出器
JP7076304B2 (ja) 泡吐出器
JP7438081B2 (ja) 吐出器
JP2021037999A (ja) 泡吐出器

Legal Events

Date Code Title Description
A621 Written request for application examination

Free format text: JAPANESE INTERMEDIATE CODE: A621

Effective date: 20200206

A977 Report on retrieval

Free format text: JAPANESE INTERMEDIATE CODE: A971007

Effective date: 20201210

A131 Notification of reasons for refusal

Free format text: JAPANESE INTERMEDIATE CODE: A131

Effective date: 20201222

A521 Request for written amendment filed

Free format text: JAPANESE INTERMEDIATE CODE: A523

Effective date: 20210222

A02 Decision of refusal

Free format text: JAPANESE INTERMEDIATE CODE: A02

Effective date: 20210420

A521 Request for written amendment filed

Free format text: JAPANESE INTERMEDIATE CODE: A523

Effective date: 20210518

C60 Trial request (containing other claim documents, opposition documents)

Free format text: JAPANESE INTERMEDIATE CODE: C60

Effective date: 20210518

A911 Transfer to examiner for re-examination before appeal (zenchi)

Free format text: JAPANESE INTERMEDIATE CODE: A911

Effective date: 20210603

C21 Notice of transfer of a case for reconsideration by examiners before appeal proceedings

Free format text: JAPANESE INTERMEDIATE CODE: C21

Effective date: 20210608

TRDD Decision of grant or rejection written
A01 Written decision to grant a patent or to grant a registration (utility model)

Free format text: JAPANESE INTERMEDIATE CODE: A01

Effective date: 20210629

A61 First payment of annual fees (during grant procedure)

Free format text: JAPANESE INTERMEDIATE CODE: A61

Effective date: 20210707

R150 Certificate of patent or registration of utility model

Ref document number: 6910879

Country of ref document: JP

Free format text: JAPANESE INTERMEDIATE CODE: R150