JP6826552B2 - 電磁コイルユニット - Google Patents

電磁コイルユニット Download PDF

Info

Publication number
JP6826552B2
JP6826552B2 JP2018093118A JP2018093118A JP6826552B2 JP 6826552 B2 JP6826552 B2 JP 6826552B2 JP 2018093118 A JP2018093118 A JP 2018093118A JP 2018093118 A JP2018093118 A JP 2018093118A JP 6826552 B2 JP6826552 B2 JP 6826552B2
Authority
JP
Japan
Prior art keywords
terminal portion
internal terminal
electromagnetic coil
bobbin
coil unit
Prior art date
Legal status (The legal status is an assumption and is not a legal conclusion. Google has not performed a legal analysis and makes no representation as to the accuracy of the status listed.)
Active
Application number
JP2018093118A
Other languages
English (en)
Other versions
JP2019201039A (ja
Inventor
大一郎 剱持
大一郎 剱持
祐 小山
祐 小山
石井 聡
聡 石井
Current Assignee (The listed assignees may be inaccurate. Google has not performed a legal analysis and makes no representation or warranty as to the accuracy of the list.)
Saginomiya Seisakusho Inc
Original Assignee
Saginomiya Seisakusho Inc
Priority date (The priority date is an assumption and is not a legal conclusion. Google has not performed a legal analysis and makes no representation as to the accuracy of the date listed.)
Filing date
Publication date
Application filed by Saginomiya Seisakusho Inc filed Critical Saginomiya Seisakusho Inc
Priority to JP2018093118A priority Critical patent/JP6826552B2/ja
Priority to CN201910334131.6A priority patent/CN110491653B/zh
Publication of JP2019201039A publication Critical patent/JP2019201039A/ja
Application granted granted Critical
Publication of JP6826552B2 publication Critical patent/JP6826552B2/ja
Active legal-status Critical Current
Anticipated expiration legal-status Critical

Links

Images

Classifications

    • HELECTRICITY
    • H01ELECTRIC ELEMENTS
    • H01FMAGNETS; INDUCTANCES; TRANSFORMERS; SELECTION OF MATERIALS FOR THEIR MAGNETIC PROPERTIES
    • H01F27/00Details of transformers or inductances, in general
    • H01F27/28Coils; Windings; Conductive connections
    • H01F27/29Terminals; Tapping arrangements for signal inductances

Landscapes

  • Engineering & Computer Science (AREA)
  • Power Engineering (AREA)
  • Electromagnets (AREA)
  • Magnetically Actuated Valves (AREA)
  • Coils Of Transformers For General Uses (AREA)

Description

本発明は、ボビンに導線(巻き線)を巻き付けた電磁コイル部を備えた電磁コイルユニットに関する。
従来、この種の電磁コイルユニットとして、例えば特開2000−55513号公報(特許文献1)及び特開2014−229805号公報(特許文献2)に開示されたものがある。これらの電磁コイルユニットは電磁弁の電磁駆動部を構成するものであり、ボビンに導線を巻き付けた電磁コイルをモールドカバーで封止したものである。また、導線に接続された端子をコネクタ部に配置して外部との接続を可能としたものである。
特開2000−55513号公報 特開2014−229805号公報
特許文献1の電磁コイルユニットは、電磁コイルを樹脂で封止したモールドコイルが氷点下温度になった場合など、モールドコイルの表面やリード線引き出し部の結露等が生じるので、リード線引き出し部を電磁コイル部から離れた位置に引き出すようにしている。このため、封止材に接続部を延設し、この接続部内に電磁コイル部からの導線を配置し、この導線に、外部との接続を行うコネクタを構成する端子を接続している。このように、電磁コイル部の導線を外部に接続するための端子部材を簡単に組み付ける技術が要求される。なお、特許文献2には帯状の端子に曲げ加工を施したものが開示されているが、このように帯状の端子の曲げ加工では、コネクタに対する繰り返しの嵌め付けにより変形し易いという問題がある。
本発明は、電磁コイル部をモールド樹脂部で封止するようにした電磁コイルユニットにおいて、電磁コイル部と接続するコネクタの端子部材を改良し、この端子部材の組み付けが容易で端子部材が変形しにくい電磁コイルユニットを提供することを課題とする。
請求項1の電磁コイルユニットは、ボビンに導線を巻回してなる電磁コイル部と、前記電磁コイル部の前記導線に接続される導電板からなる端子部材の一部とが、モールド樹脂部で封止された電磁コイルユニットであって、前記端子部材は、前記ボビンに固定されて前記導線に接続される内部端子部と前記モールド樹脂部のコネクタ部に配置される外部端子部とを一体にして構成され、前記内部端子部と前記外部端子部とは、それぞれが長手方向と短手方向とを有する長板状の形状であり、前記外部端子部の長手方向の端部がその短手方向を前記内部端子部の長手方向と平行にして該内部端子部の長手方向の縁辺の範囲内に結合された構造となっており、前記内部端子部の前記ボビンに対する固定端とは反対側の端部に、当該内部端子部の長板状の板面と角度を成す曲げ起こし部を有し、前記内部端子部の前記固定端とは反対側の端面と、前記曲げ起こし部の前記固定端とは反対側の端面とが、同一平面内に位置する平坦端面であることを特徴とする。
請求項2の電磁コイルユニットは、請求項1に記載の電磁コイルユニットであって、前記内部端子部が前記ボビンの嵌合孔に対して長手方向に圧入されて該ボビンに固定されていることを特徴とする。
請求項3の電磁コイルユニットは、請求項1または2に記載の電磁コイルユニットであって、前記内部端子部が平板状で前記ボビンに対する固定端とは反対側の端部に、前記ボビンの嵌合孔の深さ方向と直行する平坦な端面を有することを特徴とする。
請求項の電磁コイルユニットは、請求項1乃至のいずれか一項に記載の電磁コイルユニットであって、前記導線が、前記内部端子部の前記ボビンに対する固定端とは反対側の端部にて該内部端子部に電気的に接続されていることを特徴とする。
請求項の電磁コイルユニットは、請求項に記載の電磁コイルユニットであって、前記内部端子部の前記長手方向の縁辺に、前記導線が巻き付けられて当該導線をずれ止めする凹凸部が形成されていることを特徴とする。
請求項の電磁コイルユニットは、請求項1乃至のいずれか一項に記載の電磁コイルユニットであって、前記外部端子部が前記電磁コイル部の軸と平行に配置されていることを特徴とする。
請求項1乃至の電磁コイルユニットによれば、コネクタ部に配置される外部端子部が内部端子部の長手方向の縁辺の範囲内に結合されているので、内部端子部のボビンに対する固定端とは反対側の端部は短手方向に幅を有する端部となるので、例えばこの端部を押圧して内部端子部をボビンに圧入するなど簡単に組み付けることができる。また、外部端子部は短手方向が内部端子部の長手方向になっているので、外部端子部と内部端子部との長手方向は略直角になり、コネクタ接続される外部端子部に長手方向に応力が加えられても、この応力は内部端子部の長手方向に分散されるので、内部端子部に対する応力の作用を低減できて、変形しにくくなる。
また、内部端子部のボビンに対する固定端とは反対側の端部の断面二次モーメントが大きくなるので、内部端子部をボビンに容易に圧入することができる。
請求項の電磁コイルユニットによれば、内部端子部の長手方向の縁辺に形成された凹凸部により、この内部端子部に巻き付けられた導線がずれ止めされるので、モールド樹脂部による樹脂成形が容易になる。
本発明の実施形態の電磁コイルユニットの側面における部分断面図である。 実施形態の電磁コイルユニットにおける端子部材の3面図である。 実施形態の電磁コイルユニットにおけるボビンに端子部材を取り付けた状態を示す平面図である。 実施形態の電磁コイルユニットにおけるボビンに端子部材を取り付けた状態を示す側断面図である。 実施形態の電磁コイルユニットにおけるボビンに端子部材を取り付けた状態を示す正面図である。 実施形態の電磁コイルユニットにおけるボビン及び端子部材に導線を巻回及び接続した状態を示す平面図である。 実施形態の電磁コイルユニットにおけるボビン及び端子部材に導線を巻回及び接続した状態を示す側断面図である。 実施形態の電磁コイルユニットにおけるボビン及び端子部材に導線を巻回及び接続した状態を示す側面図である。
次に、本発明の電磁コイルユニットの実施形態について図面を参照して説明する。図1は実施形態の電磁コイルユニットの側面における部分断面図、図2は実施形態の電磁コイルユニットにおける端子部材の3面図、図3は実施形態の電磁コイルユニットにおけるボビンに端子部材を取り付けた状態を示す平面図、図4は実施形態の電磁コイルユニットにおけるボビンに端子部材を取り付けた状態を示す側断面図、図5は実施形態の電磁コイルユニットにおけるボビンに端子部材を取り付けた状態を示す正面図、図6は実施形態の電磁コイルユニットにおけるボビン及び端子部材に導線を巻回及び接続した状態を示す平面図、図7は実施形態の電磁コイルユニットにおけるボビン及び端子部材に導線を巻回及び接続した状態を示す側断面図、図8は実施形態の電磁コイルユニットにおけるボビン及び端子部材に導線を巻回及び接続した状態を示す側面図である。
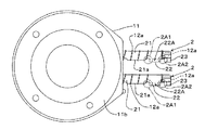
この実施形態の電磁コイルユニットは、電磁コイル部1と、一対の端子部材2,2と、モールド樹脂部3とを有している。電磁コイル部1は、樹脂製のボビン11と、ボビン11にエナメル被覆された導線を巻回したコイル12とからなる。ボビン11は円筒状の筒部11aと、筒部11の両端に形成されたフランジ部11b,11bとからなり、コイル12はフランジ部11b,11bの間で筒部11aに導線を巻回したものである。また、端子部材2はボビン11の片側のフランジ部11bに圧入により固定され、この電磁コイル部1と端子部材2の一部とがモールド樹脂部3で封止されている。さらに、モールド樹脂部3は電磁コイル部1の軸(筒部の中心軸)と平行に伸びる円筒状のコネクタ部31を有している。
図2に示すように、端子部材2は板金材のプレス加工及び曲げ加工により形成されたものであり、ボビン11に固定される内部端子部21と、内部端子部21の縁辺で折り曲げられた外部端子部22と、内部端子部21の端部に曲げ起こされた「曲げ起こし部」としてのヒュージング用の爪部23とを有している。内部端子部21と外部端子部22とは、それぞれが長手方向と短手方向とを有する長板状の形状である。
そして、外部端子部22は、その長手方向の端部22Aにおいて内部端子部21に対して折り曲げられている。すなわち、外部端子部22は端部22Aにおいて内部端子部21に結合され、外部端子部22の短手方向(端部22Aの幅方向)が内部端子部21の長手方向と平行になっている。また、この外側端子部22の端部22Aは、内部端子部21の長手方向の縁辺の範囲内となっている。
図3及び図4に示すように、端子部材2は、内部端子部21の爪部23とは反対側の端部が、ボビン11のフランジ部11bに形成された嵌合孔11c内に圧入されている。すなわち、内部端子部21は嵌合孔11c内にその長手方向に圧入されてボビン11に固定されている。これにより、モールド樹脂部3で封止する成形時に、溶融樹脂の圧力により一対の端子部材2、2の相対位置がずれることが抑制される。また、図2に示すように、内部端子部21の爪部23側の端部21Aは、短手方向の幅を有する平坦な端面21Pとなっており、また、「曲げ起こし部」としての爪部23は端部21Aの板面と角度を成している。そして、内部端子部21の端面21Pに平行に爪部23の端面23Pも位置しており、上記の端面21Pと端面23Pとは概ね面一となっている。したがって、これらの端面21P,23Pの部分を押圧することにより、押圧力が内部端子部21の長手方向に作用し、この内部端子部21を嵌合孔11cに容易に圧入することができる。すなわち、端部21Aと爪部23とにより、この端部21Aにおける断面二次モーメントが大きくなっている。したがって、端部21A及び爪部23は上記長手方向の軸に対して変形しにくく、端面21P,23Pに加わる押圧力は上記長手方向の軸から殆どずれることなく作用するので、内部端子部21を嵌合孔11cに容易に圧入することができる。このことは内部端子部21と外部端子部22との結合部分についても同様である。
内部端子部21の長手方向の縁辺には短手方向に幅を拡げた膨出部21aが形成されている。そして、長手方向の縁辺の一部が膨出部21aと外部端子部22の端部22Aとに挟まれることにより第1の凹凸部2A1が形成されている。また、長手方向の縁辺の一部が外部端子部22の端部22Aと爪部23とに挟まれることによりと第2の凹凸部2A2が形成されている。図6及び図7に示すように、内部端子部21には、コイル12から引き出された導線12aが巻き付けられ、導線12aの端部が、爪部23の部分でヒュージング(抵抗溶接)により内部端子部21に接続されている。すなわち、導線12aは、内部端子部21のボビン11に対する固定端(嵌合孔11c側)とは反対側の端部にて内部端子部21に電気的に接続されている。
さらに、導線12aは、内部端子部21に巻き付けられるとき、第1の凹凸部2A1の段差にかかるように巻き付けられる。これにより、導線12aは内部端子部21の長手方向にずれるのを止めることができる。したがって、モールド樹脂部3で封止する成形時に、導線12aがずれたり切断したりするのを防止することができる。また、第2の凹凸部2A2の段差にも同様に導線12aがかかるように巻き付けられる。なお、この実施形態では、凹凸部は外部端子部及び爪部の一部により構成されているが、導線をずれ止めする凹凸部は、内部端子部の短手方向の幅を変化させるだけで形成するようにしてもよい。
以上のように構成され電磁コイルユニットでは、図1に示すように、端子部材2の外部端子部22が、モールド樹脂部3のコネクタ部31内に配置される。そして、図示しない雄コネクタがコネクタ部31内に嵌合されることにより、外部端子部22(端子部材2)を介して、コイル12に給電される。なお、この電磁コイルユニットが例えば電磁弁に装着されるときは、例えば、図1における下方側からボビン11の筒部11a内に電磁弁のプランジャ及び吸引子を内蔵するプランジャ装置が挿入される。
以上のように、実施形態の電磁コイルユニットによれば、コネクタ部31に配置される外部端子部22が内部端子部21の長手方向の縁辺の範囲内に結合されているので、内部端子部21のボビン11に対する固定端とは反対側端部である爪部23側の端部は、短手方向に幅を有する端部となる。したがって、この端部を押圧して内部端子部21をボビン11に圧入するなど簡単に組み付けることができる。また、外部端子部22は短手方向が内部端子部21の長手方向に平行になっているので、外部端子部22と内部端子部21との長手方向は略直角になり、コネクタ部31においてコネクタ接続される外部端子部22に長手方向に応力が加えられても、この応力は内部端子部21に対してねじりを与える方向であるので、この応力は内部端子部21の長手方向に分散されることとなる。これにより内部端子部21に対する応力の作用を低減できて、変形しにくくなる。
なお、実施形態では、導線12aと内部端子部21との接続をヒュージングにより行う例について説明したが、例えば内部端子21の爪部23を無くして、内部端子部21のボビン11に対する固定端とは反対側の端部22Aにて導線12aを巻き付け、この巻き付けた部分に半田付けを施すことで導線12aと内部端子部21との接続を行ってもよい。また、この半田付けを施す場合でも、内部端子が平板状で固定端とは反対側の端部が平坦であれば、前記同様に内部端子部21を嵌合孔11cに容易に圧入することができる。
以上、本発明の実施の形態について図面を参照して詳述してきたが、具体的な構成はこれらの実施の形態に限られるものではなく、本発明の要旨を逸脱しない範囲の設計の変更等があっても本発明に含まれる。
1 電磁コイル部
11 ボビン
11a 筒部
11b フランジ部
11c 嵌合孔
12 コイル
12a 導線
2 端子部材
21 内部端子部
21A 端部
2A1 第1の凹凸部
2A2 第2の凹凸部
22 外部端子部
22A 端部
23 爪部(曲げ起こし部)
3 モールド樹脂部
31 コネクタ部

Claims (6)

  1. ボビンに導線を巻回してなる電磁コイル部と、前記電磁コイル部の前記導線に接続される導電板からなる端子部材の一部とが、モールド樹脂部で封止された電磁コイルユニットであって、
    前記端子部材は、前記ボビンに固定されて前記導線に接続される内部端子部と前記モールド樹脂部のコネクタ部に配置される外部端子部とを一体にして構成され、前記内部端子部と前記外部端子部とは、それぞれが長手方向と短手方向とを有する長板状の形状であり、前記外部端子部の長手方向の端部がその短手方向を前記内部端子部の長手方向と平行にして該内部端子部の長手方向の縁辺の範囲内に結合された構造となっており、
    前記内部端子部の前記ボビンに対する固定端とは反対側の端部に、当該内部端子部の長板状の板面と角度を成す曲げ起こし部を有し、前記内部端子部の前記固定端とは反対側の端面と、前記曲げ起こし部の前記固定端とは反対側の端面とが、同一平面内に位置する平坦端面であることを特徴とする電磁コイルユニット。
  2. 前記内部端子部が前記ボビンの嵌合孔に対して長手方向に圧入されて該ボビンに固定されていることを特徴とする請求項1に記載の電磁コイルユニット。
  3. 前記内部端子部が平板状で前記ボビンに対する固定端とは反対側の端部に、前記ボビンの嵌合孔の深さ方向と直行する平坦な端面を有することを特徴とする請求項1または2に記載の電磁コイルユニット。
  4. 前記導線が、前記内部端子部の前記ボビンに対する固定端とは反対側の端部にて該内部端子部に電気的に接続されていることを特徴とする請求項1乃至のいずれか一項に記載の電磁コイルユニット。
  5. 前記内部端子部の前記長手方向の縁辺に、前記導線が巻き付けられて当該導線をずれ止めする凹凸部が形成されていることを特徴とする請求項に記載の電磁コイルユニット。
  6. 前記外部端子部が前記電磁コイル部の軸と平行に配置されていることを特徴とする請求項1乃至のいずれか一項に記載の電磁コイルユニット。
JP2018093118A 2018-05-14 2018-05-14 電磁コイルユニット Active JP6826552B2 (ja)

Priority Applications (2)

Application Number Priority Date Filing Date Title
JP2018093118A JP6826552B2 (ja) 2018-05-14 2018-05-14 電磁コイルユニット
CN201910334131.6A CN110491653B (zh) 2018-05-14 2019-04-24 电磁线圈单元

Applications Claiming Priority (1)

Application Number Priority Date Filing Date Title
JP2018093118A JP6826552B2 (ja) 2018-05-14 2018-05-14 電磁コイルユニット

Publications (2)

Publication Number Publication Date
JP2019201039A JP2019201039A (ja) 2019-11-21
JP6826552B2 true JP6826552B2 (ja) 2021-02-03

Family

ID=68545865

Family Applications (1)

Application Number Title Priority Date Filing Date
JP2018093118A Active JP6826552B2 (ja) 2018-05-14 2018-05-14 電磁コイルユニット

Country Status (2)

Country Link
JP (1) JP6826552B2 (ja)
CN (1) CN110491653B (ja)

Families Citing this family (1)

* Cited by examiner, † Cited by third party
Publication number Priority date Publication date Assignee Title
JP7120275B2 (ja) * 2020-07-07 2022-08-17 株式会社デンソーエレクトロニクス 電磁継電器

Family Cites Families (6)

* Cited by examiner, † Cited by third party
Publication number Priority date Publication date Assignee Title
JPH0442903Y2 (ja) * 1986-01-31 1992-10-12
JPH0726806Y2 (ja) * 1992-01-30 1995-06-14 愛知電機株式会社 電気機器のコイルボビン
JP3538625B2 (ja) * 1998-08-07 2004-06-14 株式会社鷺宮製作所 冷凍サイクルにおける結露防止構造
US7902954B2 (en) * 2009-04-09 2011-03-08 Eaton Corporation Dual sided connector block
JP2012156188A (ja) * 2011-01-24 2012-08-16 Saginomiya Seisakusho Inc コイルおよびコイルを用いた電磁弁
JP5286374B2 (ja) * 2011-02-04 2013-09-11 株式会社鷺宮製作所 モールドコイルおよびモールドコイルを用いた電磁弁

Also Published As

Publication number Publication date
JP2019201039A (ja) 2019-11-21
CN110491653B (zh) 2021-09-14
CN110491653A (zh) 2019-11-22

Similar Documents

Publication Publication Date Title
US10297381B2 (en) Common mode choke coil
US9935529B2 (en) Method for manufacturing laminated core for motor
CN102629510B (zh) 模制线圈及使用模制线圈的电磁阀
JP6446725B2 (ja) 圧着強度とインピーダンス性能を高めた同軸ケーブルコネクタ
JP6826552B2 (ja) 電磁コイルユニット
JPH09185972A (ja) プラグ組立体
EP2919251B1 (en) Coil terminal and electromagnetic relay
CN107039769A (zh) 一种天线装置以及该天线装置的制造方法
CN109980370B (zh) 连接器
JP6442740B2 (ja) 不連続部分を有する外部導体シェルを有した同軸ケーブルコネクタ
US9312056B2 (en) Coil assembly
US10770252B2 (en) Magnetic system of electromagnetic relay
CN111210984A (zh) 点火线圈单元
JP6081807B2 (ja) 電磁弁
JPH0599362A (ja) 電磁弁
CN112600004A (zh) 端子配件
CN113540850A (zh) 端子化电线及端子化电线的制造方法
EP1278270A2 (en) Connector terminal
JP7440549B2 (ja) 接続端子
JP6552757B2 (ja) コイル装置並びにそれを用いた電動弁及び電磁弁
JP7596999B2 (ja) 内燃機関用の点火コイル
JP7708076B2 (ja) リアクトル部品とその製造方法
JPH06295828A (ja) トランス
JP3415041B2 (ja) コネクタ
CN111448741A (zh) 定子铁心和具备该定子铁心的电动机

Legal Events

Date Code Title Description
A621 Written request for application examination

Free format text: JAPANESE INTERMEDIATE CODE: A621

Effective date: 20191204

A977 Report on retrieval

Free format text: JAPANESE INTERMEDIATE CODE: A971007

Effective date: 20200817

A131 Notification of reasons for refusal

Free format text: JAPANESE INTERMEDIATE CODE: A131

Effective date: 20200825

A521 Written amendment

Free format text: JAPANESE INTERMEDIATE CODE: A523

Effective date: 20201021

TRDD Decision of grant or rejection written
A01 Written decision to grant a patent or to grant a registration (utility model)

Free format text: JAPANESE INTERMEDIATE CODE: A01

Effective date: 20201222

A61 First payment of annual fees (during grant procedure)

Free format text: JAPANESE INTERMEDIATE CODE: A61

Effective date: 20210115

R150 Certificate of patent or registration of utility model

Ref document number: 6826552

Country of ref document: JP

Free format text: JAPANESE INTERMEDIATE CODE: R150