JP6777591B2 - 凝縮水処理装置 - Google Patents

凝縮水処理装置 Download PDF

Info

Publication number
JP6777591B2
JP6777591B2 JP2017112745A JP2017112745A JP6777591B2 JP 6777591 B2 JP6777591 B2 JP 6777591B2 JP 2017112745 A JP2017112745 A JP 2017112745A JP 2017112745 A JP2017112745 A JP 2017112745A JP 6777591 B2 JP6777591 B2 JP 6777591B2
Authority
JP
Japan
Prior art keywords
passage
condensed water
valve
water treatment
intercooler
Prior art date
Legal status (The legal status is an assumption and is not a legal conclusion. Google has not performed a legal analysis and makes no representation as to the accuracy of the status listed.)
Expired - Fee Related
Application number
JP2017112745A
Other languages
English (en)
Other versions
JP2018204568A (ja
Inventor
聡 福長
聡 福長
健太郎 内原
健太郎 内原
Current Assignee (The listed assignees may be inaccurate. Google has not performed a legal analysis and makes no representation or warranty as to the accuracy of the list.)
Hino Motors Ltd
Original Assignee
Hino Motors Ltd
Priority date (The priority date is an assumption and is not a legal conclusion. Google has not performed a legal analysis and makes no representation as to the accuracy of the date listed.)
Filing date
Publication date
Application filed by Hino Motors Ltd filed Critical Hino Motors Ltd
Priority to JP2017112745A priority Critical patent/JP6777591B2/ja
Publication of JP2018204568A publication Critical patent/JP2018204568A/ja
Application granted granted Critical
Publication of JP6777591B2 publication Critical patent/JP6777591B2/ja
Expired - Fee Related legal-status Critical Current
Anticipated expiration legal-status Critical

Links

Images

Classifications

    • YGENERAL TAGGING OF NEW TECHNOLOGICAL DEVELOPMENTS; GENERAL TAGGING OF CROSS-SECTIONAL TECHNOLOGIES SPANNING OVER SEVERAL SECTIONS OF THE IPC; TECHNICAL SUBJECTS COVERED BY FORMER USPC CROSS-REFERENCE ART COLLECTIONS [XRACs] AND DIGESTS
    • Y02TECHNOLOGIES OR APPLICATIONS FOR MITIGATION OR ADAPTATION AGAINST CLIMATE CHANGE
    • Y02TCLIMATE CHANGE MITIGATION TECHNOLOGIES RELATED TO TRANSPORTATION
    • Y02T10/00Road transport of goods or passengers
    • Y02T10/10Internal combustion engine [ICE] based vehicles
    • Y02T10/12Improving ICE efficiencies

Landscapes

  • Supercharger (AREA)
  • Exhaust-Gas Circulating Devices (AREA)

Description

本発明は、排気ガスの一部がインタークーラーの上流に還流されるEGR装置を備えたエンジンシステムに搭載される凝縮水処理装置に関する。
従来から、ターボチャージャーを備えたエンジンシステムに関して、排気ガスの一部を吸気側に還流する排気再循環(EGR:Exhaust Gas Recirculation)装置を備えたエンジンシステムが知られている。EGR装置の一例は、タービンを通過した排気ガスの一部をEGRガスとしてコンプレッサーの上流へ還流する。
こうしたエンジンシステムでは、EGRガスと空気との混合気体がコンプレッサーによって圧縮され、その後、インタークーラーによって冷却される。そのため、インタークーラーでは、EGRガス中の水分が凝縮した凝縮水が生成される。この凝縮水は、EGRガス中の硫黄成分などが溶解することによって高い腐食性を有する。そのため、特許文献1では、そうした凝縮水をインタークーラーの下流を流れる作動ガスに添加してエンジンに供給することで凝縮水を処理する技術が開示されている。
特開2015−25394号公報
しかしながら、特許文献1では、インタークーラーで生成された凝縮水が直ちに作動ガスに添加される。そのため、凝縮水を効果的に処理するうえで改善の余地がある。
本発明は、インタークーラーにて生成される凝縮水の処理を効果的に行うことができる凝縮水処理装置を提供することを目的とする。
上記課題を解決する凝縮水処理装置は、エンジンの吸気通路に配設されたインタークーラーと、排気ガスの一部を前記吸気通路における前記インタークーラーの上流に還流するEGR装置と、を備えたエンジンシステムに搭載される凝縮水処理装置であって、前記インタークーラーに接続された流入通路を通じて前記インタークーラー内の凝縮水が流入可能に構成された貯留部と、前記貯留部の内部空間に第1導入口を有して前記エンジンと前記インタークーラーとを繋ぐ流通通路に連通する第1通路と、前記第1通路を開閉可能に構成された第1バルブと、前記貯留部の内部空間において前記第1導入口よりも上方に位置する第2導入口を有して前記流通通路に連通する第2通路と、前記貯留部における前記凝縮水の水位が所定値に到達すると前記第2通路を閉鎖する第2バルブと、前記第1バルブの開閉を制御する制御部と、を備える。
上記構成によれば、流通通路を流れるガスによるベンチュリ効果によって、第1バルブが閉状態にあるときには第2通路を通じて貯留部内のガスをエンジンに供給することが可能であり、第1バルブが開状態にあるときには第1通路を通じて貯留部内の凝縮水をエンジンに供給することが可能である。そして、エンジンへの凝縮水あるいはガスの供給により貯留部内の圧力が低下するため、流入通路を通じてインタークーラー内の凝縮水が貯留部に吸い上げられる。すなわち、上記構成の凝縮水処理装置は、第1バルブの開閉にかかわらず第2バルブが閉弁するまでインタークーラー内の凝縮水が流入通路を通じて貯留部に吸い上げられ続ける構成となっている。そして、制御部による第1バルブの開閉の制御によって凝縮水をエンジンに供給するタイミングを制御することが可能である。すなわち、上記構成によれば、凝縮水を貯留しつつエンジンに凝縮水を供給するタイミングが制御可能であることから、凝縮水の処理を効果的に行うことができる。
上記凝縮水処理装置において、前記第2バルブがフロートバルブであるとよい。
上記構成によれば、凝縮水の水位が所定値に到達すると第2バルブが自動で閉弁するため、第2バルブの構成のみならず凝縮水処理装置の構成を簡素化することができる。
上記凝縮水処理装置において、前記第1通路および前記第2通路は、共通の通路を通じて前記流通通路に連通していることが好ましい。
上記構成によれば、第1通路と第2通路とが各別に流通通路に対して連通する構成に比べて配管の複雑化を抑えることができる。
上記凝縮水処理装置において、前記流通通路は、複数のシリンダーの各々に対応する吸気ポートを有しており、前記第1通路および前記第2通路は、前記吸気ポートの各々に連通していることが好ましい。
上記構成によれば、凝縮水が各吸気ポートに供給されるため、各シリンダーに供給される凝縮水量の均一化を図ることができる。
上記凝縮水処理装置において、前記制御部は、前記エンジンの運転状態に関する情報を取得し、前記取得した情報に基づく前記運転状態が高負荷状態であるときに前記第1バルブを開状態に制御することが好ましい。
上記構成によれば、高負荷状態にあるエンジンに対して凝縮水が供給されることから、筒内圧力の過度な上昇を抑えることができる。
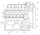
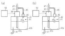
凝縮水処理装置の一実施形態を搭載したエンジンシステムの概略構成を示す図。 凝縮水処理装置の一実施形態の概略構成を示す図。 共通通路の接続先の一例を模式的に示す図。 (a)第1バルブが閉状態にある凝縮水処理装置の作動態様を模式的に示す図、(b)第1バルブが開状態にある凝縮水処理装置の作動態様を模式的に示す図。 凝縮水処理装置の電気的な構成の一例を示す機能ブロック図。
図1〜図5を参照して凝縮水処理装置の一実施形態について説明する。まず、図1を参照して凝縮水処理装置を搭載したエンジンシステムの概要について説明する。
図1に示すように、エンジンシステムは、エンジン10を備えている。エンジン10のシリンダーブロック11には複数のシリンダー12が形成されている。各シリンダー12においては、吸入した作動ガスに対してインジェクター13から燃料が噴射され、作動ガスと燃料との混合気が燃焼する。こうした混合気の燃焼が所定の順番で各シリンダー12において行われることにより、エンジン10のクランクシャフト10aが駆動される。
シリンダーブロック11には、各シリンダー12に作動ガスを分配するインテークマニホールド14と、各シリンダー12から排気ガスが排出されるエキゾーストマニホールド15とが接続されている。インテークマニホールド14に接続される吸気通路16は、上流側から順に図示されないエアクリーナー、ターボチャージャー17のコンプレッサー18、インタークーラー19を備えている。コンプレッサー18で圧縮された作動ガスは、インタークーラー19の上流側タンク19aに流入したのちコア部19bにて冷却され、下流側タンク19cを通じてインタークーラー19から流出する。吸気通路16は、インタークーラー19の下流であって、かつ、後述する高圧EGR通路31の合流部分よりも上流に、吸気通路16の流路断面積を変更可能なスロットル20を備えている。エンジン10とインタークーラー19とを繋ぐ流通通路16Aは、作動ガスが流通する通路であり、吸気通路16におけるインタークーラー19よりも下流の部分と、インテークマニホールド14とによって構成される。エキゾーストマニホールド15に接続される排気通路21は、コンプレッサー18にタービンシャフトを介して連結されたタービン23と、タービン23を通過した排気ガスを浄化する排気浄化装置25とを備えている。
エンジンシステムは、高圧EGR(Exhaust Gas Recirculation)装置30と低圧EGR装置35とを備えている。
高圧EGR装置30は、タービン23を通過するまえの排気ガスの一部を高圧EGRガスとして吸気通路16におけるスロットル20の下流に還流する。高圧EGR装置30は、高圧EGR通路31と、高圧EGRクーラー32と、高圧EGR弁33とを有している。高圧EGR通路31は、エキゾーストマニホールド15と吸気通路16におけるスロットル20の下流とを接続する。高圧EGRクーラー32は、高圧EGR通路31に配設されており、高圧EGRガスを冷却することにより高圧EGRガスの密度を高める。高圧EGR弁33は、高圧EGR通路31における高圧EGRクーラー32の下流に配設されており、高圧EGR通路31の流路断面積を変更可能に構成されている。高圧EGR装置30は、例えば、エンジン10に対するドライバーの要求負荷が高負荷であるときに作動状態に制御される。
低圧EGR装置35は、タービン23および排気浄化装置25を通過した排気ガスの一部を低圧EGRガスとしてコンプレッサー18の上流に還流する。低圧EGR装置35は、低圧EGR通路36と、低圧EGRクーラー37と、低圧EGR弁38とを有している。低圧EGR通路36は、排気通路21における排気浄化装置25の下流と吸気通路16におけるコンプレッサー18の上流とを接続する。低圧EGRクーラー37は、低圧EGR通路36に配設されており、低圧EGRガスを冷却することにより低圧EGRガスの密度を高める。低圧EGR弁38は、低圧EGR通路36における低圧EGRクーラー37の下流に配設されており、低圧EGR通路36の流路断面積を変更可能に構成されている。低圧EGR装置35は、例えば、エンジン10に対するドライバーの要求負荷が低負荷あるいは中負荷であるときに作動状態に制御される。
低圧EGR装置35の作動中、インタークーラー19においては、低圧EGRガスと空気との混合気体が作動ガスとして流通する。そのため、インタークーラー19においては、低圧EGRガス中の水蒸気が凝縮し、その凝縮した水分に低圧EGRガス中の硫黄成分や未燃燃料成分が溶解することにより高い腐食性を有する凝縮水が生成される。エンジンシステムは、凝縮水を処理する凝縮水処理装置40を備えている。
図2〜図5を参照して凝縮水処理装置40について説明する。図2に示すように、凝縮水処理装置40は、流入通路41、貯留部42、第1通路43、第1バルブ44、第2通路45、第2バルブ46、および、共通通路47を有している。
流入通路41は、凝縮水による腐食に対する耐性が高い材料、例えばステンレスなどの高耐食性材料を中心に構成される。流入通路41は、インタークーラー19と貯留部42とを接続している。流入通路41は、インタークーラー19で生成された凝縮水が流入しやすいように、インタークーラー19に対して下流側タンク19cの底部に接続されている。また、流入通路41は、貯留部42に対して貯留部42の底部に接続されており、貯留部42の底面42bに開口している。
貯留部42は、流入通路41を通じて流入した凝縮水を貯留する。貯留部42は、例えばステンレスなどの高耐食性材料を中心に構成される。貯留部42には、第1通路43と第2通路45とが接続されている。貯留部42は、流入通路41、第1通路43、および、第2通路45が接続された密閉容器である。第1通路43および第2通路45は、共通通路47に接続されている。
第1通路43は、貯留部42の内部空間における底面42b寄りに第1導入口43aを有している。第1通路43は、第1導入口43aから上方に向かって延びており、貯留部42の頂部を貫通している。第1通路43は、貯留部42の外部で共通通路47に接続されている。第1通路43には、貯留部42の外部に、制御装置50によって制御される電子制御式の第1バルブ44が配設されている。第1バルブ44は、第1通路43の流路断面積を変更可能に構成されており、例えば、第1通路43を開閉するノーマリークローズ型の電磁弁である。すなわち、第1バルブ44が開状態にあるとき、貯留部42の内部空間は、第1通路43を通じて共通通路47に連通する。第1通路43および第1バルブ44は、例えばステンレスなどの高耐食性材料を中心に構成される。
第2通路45は、貯留部42の内部空間における第1導入口43aよりも上方に第2導入口45aを有しており、その下流端が第1通路43と共通通路47との接続部分に接続されている。第2通路45は、第1通路43よりも流路抵抗が大きい通路であり、例えば、第1通路43よりも小さい流路断面積が連続する通路である。第2通路45には、第2バルブ46が配設されている。第2バルブ46は、貯留部42における水位が所定値(満水)に到達すると閉弁するように構成されており、例えば、浮力により弁体が移動するフロートバルブである。すなわち、凝縮水の水位が所定値未満であり第2バルブ46が開状態にあるとき、貯留部42の内部空間は、第2通路45を通じて共通通路47に連通する。これら第2通路45および第2バルブ46は、例えばステンレスなどの高耐食性材料を中心に構成される。
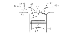
図3に示すように、流通通路16Aを構成するインテークマニホールド14は、各シリンダー12に対応する吸気ポート14aを有している。吸気ポート14aは、吸気バルブ60によって開閉される。また、エキゾーストマニホールド15は、各シリンダー12に対応する排気ポート15aを有している。排気ポート15aは、排気バルブ61によって開閉される。そして、共通通路47は、例えばステンレスなどの高耐食性材料を中心に構成されており、インテークマニホールド14の各吸気ポート14aに対して接続されている。すなわち、第1通路43および第2通路45は、共通通路47を通じて流通通路16Aの一部である各吸気ポート14aに連通している。共通通路47は、吸気バルブ60が開状態(吸気行程)にあるシリンダー12に対応する吸気ポート14aを流れる作動ガス62のベンチュリ効果により、貯留部42内の凝縮水や貯留部42内のガス(以下、貯留部42内のガスを貯留ガスという。)を吸気ポート14aに供給する。
例えば、図4(a)に示すように、凝縮水の水位が第1導入口43aよりも高く、かつ、第1バルブ44が閉状態、第2バルブ46が開状態にあるとき、共通通路47は、第2通路45から流入してくる貯留部42内の貯留ガスを各吸気ポート14aに供給する。また例えば、図4(b)に示すように、凝縮水の水位が第1導入口43aよりも高く、かつ、第1バルブ44が開状態にあるとき、共通通路47は、第2バルブ46の開閉にかかわらず、第1通路43から流入してくる貯留部42内の凝縮水を各吸気ポート14aに供給する。そして、図4(a)および図4(b)に示すように、各吸気ポート14aに対する貯留ガスの供給あるいは凝縮水の供給によって貯留部42の圧力P1が低下する。この圧力P1の低下により、流入通路41を通じてインタークーラー19内の凝縮水が貯留部42へと吸い上げられることとなる。すなわち、凝縮水処理装置40においては、第1バルブ44および第2バルブ46の双方が閉状態にあるときを除き、インタークーラー19内の凝縮水が流入通路41を通じて貯留部42に吸い上げられ続ける構成となっている。
このように凝縮水処理装置40は、貯留部42に貯留された凝縮水を各吸気ポート14aに供給することにより凝縮水を処理する。凝縮水は、作動ガスとともにエンジン10の各シリンダー12に導入されたのち、排気ガスの一部として排気ポート15aに排出される。凝縮水は、作動ガスの比熱比を低下させるとともに、吸熱により作動ガスの温度を低下させることにより密度を増大させ、シリンダー12に導入される作動ガスを増量させる。シリンダー12に導入された凝縮水は、混合気の燃焼時に燃焼熱の一部を吸熱することにより燃焼温度を低下させる。凝縮水は、こうした作動ガスの比熱比の低下、作動ガスの増量、および、燃焼温度の低下により、燃焼時におけるシリンダー12内の圧力である筒内圧力を低下させる。凝縮水は、燃料噴射量や吸入空気量など、同じ燃焼条件のもとでは温度が低いほど燃焼温度および筒内圧力を低下させる。
図5に示すように、凝縮水処理装置40は、第1バルブ44を制御対象とする制御装置50を備えている。制御装置50は、プロセッサ、メモリー、入力インターフェース、および、出力インターフェース等がバスを介して互いに接続された1以上のマイクロコンピューターを中心に構成される。制御装置50は、入力インターフェースを介して取得した各種情報、ならびに、メモリーに格納された各種制御プログラムおよび各種データに基づいて各種処理を実行する。制御装置50は、各種処理の結果に基づく制御信号を出力インターフェースを介して制御対象に出力する。
制御装置50は、各種機能部として、エンジン10の運転状態に関する情報を取得する取得部51と、第1バルブ44の開閉を制御するバルブ制御部52とを有している。
取得部51は、上記情報として、例えば、エンジン10を制御するエンジンECU55からの制御信号を通じて燃料噴射量Gfを取得する。バルブ制御部52は、取得部51が取得した燃料噴射量Gfがエンジン10の運転状態が高負荷状態にあることを示す高負荷噴射量Gf1以上である場合には第1バルブ44を開状態に制御する。また、バルブ制御部52は、燃料噴射量Gfが上記高負荷噴射量Gf1未満である場合には第1バルブ44を閉状態に制御する。
上記実施形態の凝縮水処理装置40によれば、以下に列挙する作用効果が得られる。
(1)凝縮水処理装置40は、貯留部42における凝縮水の水位、および、第1バルブ44の開閉状態にかかわらず、第2バルブ46が閉弁するまでインタークーラー19内の凝縮水を流入通路41を通じて貯留部42に吸い上げ続ける構成となっている。これにより、インタークーラー19内の凝縮水を貯留部42に効率よく貯留させることができる。そして、制御装置50による第1バルブ44の開閉の制御によって、エンジンに対する凝縮水の供給タイミングが制御可能である。これらのことから、凝縮水の処理を効果的に行うことができる。
(2)第2バルブ46がフロートバルブである。そのため、例えば、貯留部42の水位を計測するレベルセンサー等からの検出信号に基づいて電子制御式の第2バルブ46の開閉を制御しなくとも、凝縮水の水位が所定値に到達すると自動で第2通路45が閉鎖される。そのため、第2バルブ46の構成のみならず、凝縮水処理装置40の構成の簡素化を図ることができる。
(3)第1通路43および第2通路45は、共通通路47を通じて各吸気ポート14aに連通している。そのため、第1通路43および第2通路45が各吸気ポート14aに対して各別に連通している構成に比べて配管構成の簡素化を図ることができる。
(4)第1通路43および第2通路45が共通通路47を通じて各吸気ポート14aに連通している。これにより、各シリンダー12に供給される凝縮水量の均一化を図ることができる。その結果、高負荷状態にあるエンジン10においてシリンダー12ごとの出力のばらつきを抑えつつ凝縮水を処理することができる。
(5)高負荷状態にあるエンジン10においては筒内圧力が高くなるため、シリンダーブロック11などに対する機械的な負荷が大きくなる。この点、制御装置50は、エンジン10が高負荷状態にある場合に第1バルブ44を開状態に制御する。こうした構成によれば、筒内圧力の過度な上昇を抑えることができる。また、凝縮水の供給によって筒内圧力の抑制が図られることから、筒内圧力の抑制のためにエンジン10が吸入する作動ガス量を減らす必要がない。すなわち、高負荷状態にあるエンジン10に供給される空気量が確保されやすくなることから、黒煙の排出量を抑えることができる。また、低負荷状態や中負荷状態にあるエンジン10に対する凝縮水の供給を回避することにより、これらの運転状態における各シリンダー12での燃焼を安定させることができる。
なお、上記実施形態は、以下のように適宜変更して実施することもできる。
・制御装置50は、燃料噴射量Gfに限らず、例えば、エンジン回転数Neやアクセル開度ACC等をエンジン10の運転状態に関する情報として取得し、その取得した情報に基づいてエンジン10の運転状態を判断してもよい。
・制御装置50は、エンジン10の運転状態が高負荷状態にあるときに限らず、例えば、エンジン10の運転状態が低中負荷状態にあるときやアイドリング状態にあるときに第1バルブ44を開状態に制御してもよい。
・第1通路43および第2通路45は、流通通路16Aに連通していればよく、その連通先は吸気ポート14aに限られない。例えば、第1通路43および第2通路45は、吸気通路16におけるスロットル20の直下流に連通していてもよいし、高圧EGR通路31における高圧EGR弁33の下流を通じて吸気通路16に連通していてもよい。
・第1通路43と第2通路45とが互いに異なる経路で流通通路16Aに連通していてもよく、例えば第1通路43は吸気ポート14aに連通し、第2通路45は吸気通路16におけるスロットル20の直下流に連通していてもよい。
・第2バルブ46は、凝縮水の水位が所定値に到達したときに閉弁するバルブであればよく、フロートバルブに限られない。例えば、第2バルブ46は、貯留部42の水位を計測するレベルセンサー等からの検出信号に基づいて制御装置50によって開閉が制御される電子制御式の開閉弁であってもよい。
・凝縮水処理装置40が搭載可能なエンジンシステムは、インタークーラー19と低圧EGR装置35とを有していればよく、例えば、スロットル20や高圧EGR装置30を備えていなくともよい。
10…エンジン、10a…クランクシャフト、11…シリンダーブロック、12…シリンダー、13…インジェクター、14…インテークマニホールド、14a…吸気ポート、15…エキゾーストマニホールド、15a…排気ポート、16…吸気通路、16A…流通通路、17…ターボチャージャー、18…コンプレッサー、19…インタークーラー、19a…上流側タンク、19b…コア部、19c…下流側タンク、20…スロットル、21…排気通路、23…タービン、25…排気浄化装置、30…高圧EGR装置、31…高圧EGR通路、32…高圧EGRクーラー、33…高圧EGR弁、35…低圧EGR装置、36…低圧EGR通路、37…低圧EGRクーラー、38…低圧EGR弁、40…凝縮水処理装置、41…流入通路、42…貯留部、42b…底面、43…第1通路、43a…第1導入口、44…第1バルブ、45…第2通路、45a…第2導入口、46…第2バルブ、47…共通通路、50…制御装置、51…取得部、52…バルブ制御部、55…エンジンECU、60…吸気バルブ、61…排気バルブ、62…作動ガス。

Claims (5)

  1. エンジンの吸気通路に配設されたインタークーラーと、排気ガスの一部を前記吸気通路における前記インタークーラーの上流に還流するEGR装置と、を備えたエンジンシステムに搭載される凝縮水処理装置であって、
    前記インタークーラーに接続された流入通路を通じて前記インタークーラー内の凝縮水が流入可能に構成された貯留部と、
    前記貯留部の内部空間に第1導入口を有して前記エンジンと前記インタークーラーとを繋ぐ流通通路に連通する第1通路と、
    前記第1通路を開閉可能に構成された第1バルブと、
    前記貯留部の内部空間において前記第1導入口よりも上方に位置する第2導入口を有して前記流通通路に連通する第2通路と、
    前記貯留部における前記凝縮水の水位が所定値に到達すると前記第2通路を閉鎖する第2バルブと、
    前記第1バルブの開閉を制御する制御部と、を備える
    凝縮水処理装置。
  2. 前記第2バルブがフロートバルブである
    請求項1に記載の凝縮水処理装置。
  3. 前記第1通路および前記第2通路は、共通の通路を通じて前記流通通路に連通している
    請求項1または2に記載の凝縮水処理装置。
  4. 前記流通通路は、複数のシリンダーの各々に対応する吸気ポートを有しており、
    前記第1通路および前記第2通路は、前記吸気ポートの各々に連通している
    請求項1〜3のいずれか一項に記載の凝縮水処理装置。
  5. 前記制御部は、前記エンジンの運転状態に関する情報を取得し、前記取得した情報に基づく前記運転状態が高負荷状態であるときに前記第1バルブを開状態に制御する
    請求項1〜4のいずれか一項に記載の凝縮水処理装置。
JP2017112745A 2017-06-07 2017-06-07 凝縮水処理装置 Expired - Fee Related JP6777591B2 (ja)

Priority Applications (1)

Application Number Priority Date Filing Date Title
JP2017112745A JP6777591B2 (ja) 2017-06-07 2017-06-07 凝縮水処理装置

Applications Claiming Priority (1)

Application Number Priority Date Filing Date Title
JP2017112745A JP6777591B2 (ja) 2017-06-07 2017-06-07 凝縮水処理装置

Publications (2)

Publication Number Publication Date
JP2018204568A JP2018204568A (ja) 2018-12-27
JP6777591B2 true JP6777591B2 (ja) 2020-10-28

Family

ID=64955399

Family Applications (1)

Application Number Title Priority Date Filing Date
JP2017112745A Expired - Fee Related JP6777591B2 (ja) 2017-06-07 2017-06-07 凝縮水処理装置

Country Status (1)

Country Link
JP (1) JP6777591B2 (ja)

Families Citing this family (1)

* Cited by examiner, † Cited by third party
Publication number Priority date Publication date Assignee Title
KR102895443B1 (ko) * 2019-06-26 2025-12-04 현대자동차주식회사 인터쿨러 드레인장치

Family Cites Families (7)

* Cited by examiner, † Cited by third party
Publication number Priority date Publication date Assignee Title
JPS63146124U (ja) * 1987-03-16 1988-09-27
JPH1182182A (ja) * 1997-09-04 1999-03-26 Nippon Soken Inc 排気ガス再循環システム
US9010112B2 (en) * 2009-10-27 2015-04-21 Ford Global Technologies, Llc Condensation trap for charge air cooler
JP6119976B2 (ja) * 2013-03-01 2017-04-26 三菱自動車工業株式会社 凝縮水排出装置
JP6115347B2 (ja) * 2013-06-20 2017-04-19 三菱自動車工業株式会社 凝縮水処理機構
JP6132155B2 (ja) * 2013-07-25 2017-05-24 マツダ株式会社 エンジンの吸気装置
JP2016084716A (ja) * 2014-10-23 2016-05-19 トヨタ自動車株式会社 内燃機関

Also Published As

Publication number Publication date
JP2018204568A (ja) 2018-12-27

Similar Documents

Publication Publication Date Title
CN103906901B (zh) 内燃机的换气控制装置
CN105705747B (zh) 缸内喷射式内燃机的冷凝水供给控制装置
CN105247177B (zh) 内燃机的冷凝水处理装置
CN110410237B (zh) Egr集成系统及其进气歧管
US20150369179A1 (en) Temperature control apparatus for intercooler
JP5440799B2 (ja) エンジンの制御装置
JP5288046B2 (ja) 内燃機関の制御装置
CN105683553A (zh) 缸内喷射式内燃机的水供给控制装置
CN105164396B (zh) 多气缸内燃机
JP2016050500A (ja) 内燃機関
JP6119976B2 (ja) 凝縮水排出装置
JP6777591B2 (ja) 凝縮水処理装置
JP5769402B2 (ja) 内燃機関の制御装置
JP2018204569A (ja) エンジンシステム
JP5204614B2 (ja) ディーゼル機関におけるNOx低減方法およびディーゼル機関
JP2016056767A (ja) エンジンの排気還流制御装置
JP2017115647A (ja) 吸気温度制御装置
JP2017115646A (ja) 吸気温度制御装置
JP2022081155A (ja) Egrクーラ及びegr装置
JP2004060539A (ja) 内燃機関の制御装置
JP2015004293A (ja) 凝縮水処理機構
JP2018193956A (ja) 内燃機関の制御装置
JP2026008034A (ja) Egrシステム
JP2023180044A (ja) 水供給装置の制御装置
JP2022167350A (ja) エンジンの停止制御装置

Legal Events

Date Code Title Description
A621 Written request for application examination

Free format text: JAPANESE INTERMEDIATE CODE: A621

Effective date: 20191226

A977 Report on retrieval

Free format text: JAPANESE INTERMEDIATE CODE: A971007

Effective date: 20200907

TRDD Decision of grant or rejection written
A01 Written decision to grant a patent or to grant a registration (utility model)

Free format text: JAPANESE INTERMEDIATE CODE: A01

Effective date: 20200915

A61 First payment of annual fees (during grant procedure)

Free format text: JAPANESE INTERMEDIATE CODE: A61

Effective date: 20201008

R150 Certificate of patent or registration of utility model

Ref document number: 6777591

Country of ref document: JP

Free format text: JAPANESE INTERMEDIATE CODE: R150

LAPS Cancellation because of no payment of annual fees