JP6770448B2 - 揚収装置 - Google Patents

揚収装置 Download PDF

Info

Publication number
JP6770448B2
JP6770448B2 JP2017009586A JP2017009586A JP6770448B2 JP 6770448 B2 JP6770448 B2 JP 6770448B2 JP 2017009586 A JP2017009586 A JP 2017009586A JP 2017009586 A JP2017009586 A JP 2017009586A JP 6770448 B2 JP6770448 B2 JP 6770448B2
Authority
JP
Japan
Prior art keywords
seat member
boat
wire
winch
undulating
Prior art date
Legal status (The legal status is an assumption and is not a legal conclusion. Google has not performed a legal analysis and makes no representation as to the accuracy of the status listed.)
Active
Application number
JP2017009586A
Other languages
English (en)
Other versions
JP2018118545A (ja
Inventor
佳則 駒田
佳則 駒田
Current Assignee (The listed assignees may be inaccurate. Google has not performed a legal analysis and makes no representation or warranty as to the accuracy of the list.)
Kayaba System Machinery Co Ltd
Original Assignee
Kayaba System Machinery Co Ltd
Priority date (The priority date is an assumption and is not a legal conclusion. Google has not performed a legal analysis and makes no representation as to the accuracy of the date listed.)
Filing date
Publication date
Application filed by Kayaba System Machinery Co Ltd filed Critical Kayaba System Machinery Co Ltd
Priority to JP2017009586A priority Critical patent/JP6770448B2/ja
Publication of JP2018118545A publication Critical patent/JP2018118545A/ja
Application granted granted Critical
Publication of JP6770448B2 publication Critical patent/JP6770448B2/ja
Active legal-status Critical Current
Anticipated expiration legal-status Critical

Links

Images

Landscapes

  • Load-Engaging Elements For Cranes (AREA)

Description

この発明は、揚収装置に関する。
揚収装置は、艦船の船体の舷側に開口を設けて作業艇などの搭載艇を収容する収容レセスと称される格納スペースに設置されており、この収容レセスから搭載艇を船体外へ振りだして海面へ降下させて着水させたり、海面上の搭載艇を吊り上げて収容レセス内へ揚収させるものである。
従来の揚収装置としては、例えば、ワイヤーロープを介して搭載艇を吊り下げ可能なダビットと、当該ワイヤーロープを繰り出しおよび巻上げするウィンチとを備える。そして、搭載艇の揚収時にはダビットを搭載艇側に振りだして、ワイヤーロープを搭載艇の前後にフックを介して接続する、いわゆる玉掛けを乗組員が行い、ウィンチでワイヤーロープを巻き取って所定の位置まで上昇させてから、ダビットを収容レセス内に振り込んで、搭載艇を揚収している(たとえば、特許文献1参照)。
特開2000−335479
ところで、無人探査機でデータ収集を行う場合など、搭載艇を遠隔操作が可能な無人機としたいニーズがある。
しかしながら、海上に浮かぶ搭載艇は波に揺られるため、無人の搭載艇に遠隔からダビットより吊り下げられたワイヤーロープを玉掛けするのは難しく、従来の玉掛け方式の揚収装置では無人の搭載艇を揚収するのは困難であった。
そこで、本発明においては、搭載艇が無人機であっても、搭載艇の海への投入と収容レセス内への揚収が可能な揚収装置の提供を目的とする。
前記課題を解決するための手段は、搭載艇を下方から支持可能なシート部材と、前記シート部材を吊り下げる吊下ワイヤーを繰り出しおよび巻上げ可能な吊索ウィンチと、前記シート部材に起伏可能に取り付けられて前記搭載艇の船体を保持可能なガイドアームと、前記ガイドアームに接続される起伏ワイヤーを繰り出しおよび巻上げすることで前記ガイドアームを起伏させる起伏ウィンチとを備えることを特徴とする。
また、前記ガイドアームが、前記搭載艇の進行方向に対して前後に設けられるようにしてもよい。この構成によると、搭載艇の揚収時には搭載艇を吊下ワイヤーおよび起伏ワイヤー間に前進で進入させられ、投入時には搭載艇を吊下ワイヤーおよび起伏ワイヤー間から前進で発進させられる。
また、前記起伏ウィンチが前記起伏ワイヤーの張力を自動調整するオートテンションウィンチであるとしてもよい。この構成によると、起伏ワイヤーに常に一定の張力が与えられるため、ガイドアームが搭載艇の動揺に自動的に追従して起伏して、搭載艇を常に保持できる。
また、前記揚収装置が、前記シート部材に設けられ前記吊下ワイヤーが挿通される挿通孔を有するストッパ受部材と、前記吊下ワイヤーの先端に設けられ前記吊下ワイヤーが前記挿通孔から抜けるのを防止するストッパを備えるとしてもよい。この構成によると、吊下ワイヤーをシート部材から絶縁できるため、絶縁された状態の吊下ワイヤーは、シート部材が波に合わせて浮き沈みするのを邪魔しない。したがって、上記揚収装置では、波が穏やかになるタイミングや、搭載艇が波の頂点に在るタイミングなど搭載艇を揚収しやすいタイミングを見計らって搭載艇を揚収できる。
また、艦船の船体の舷側に設けられた収容レセスに設けられて前記吊下ワイヤーを介して前記シート部材を収容レセス内外へ出入りさせるダビットを備え、前記吊下ワイヤーが、前記シート部材を前後左右の四点で吊るようにしてもよい。この構成によると、シート部材を前後左右の四点で吊るため、二点で吊り上げる場合に比べて搭載艇の投入および揚収作業が安定する。
本発明の揚収装置によれば、搭載艇側からワイヤーロープを玉掛けする必要がないため、搭載艇が無人機であっても搭載艇の投入および揚収ができる。
本実施の形態に係る揚収装置を示す側面図である。 本実施の形態に係る揚収装置において、搭載艇が収容レセス内に収容された状態を示す正面図である。 本実施の形態に係る揚収装置において、搭載艇が収容レセス外に振りだされた状態を示す正面図である 図1のシート部材及びガイドアームを上から見た図である。 図1のシート部材及びガイドアームを拡大して示す図であって、ガイドアームが倒れている状態を示す側面図である。 図1のシート部材及びガイドアームを拡大して示す背面図である。 図1の揚収装置を上から見た図である。 本実施の形態に係るシート部材に設けられた連通孔を拡大して示す拡大断面図である。
以下に、図面を参照しながら本実施の形態について説明する。いくつかの図面を通して付された同じ符号は、同じ部品を示す。
図1に示すように、本実施の形態に係る揚収装置1は、艦船に搭載された搭載艇2を下方から支持可能なシート部材3と、シート部材3を吊り下げる吊下ワイヤーW1と、吊下ワイヤーW1を繰り出しおよび巻上げ可能な吊索ウィンチ4と、シート部材3に起伏可能に取り付けられて搭載艇2の船体を保持可能なガイドアーム5,6と、ガイドアーム5,6に接続される起伏ワイヤーW2を繰り出しおよび巻上げすることでガイドアーム5,6を起伏させる起伏ウィンチ7とを備える。
そして、シート部材3は、図2,図3に示すように、艦船の船体Sの舷側に設けられた収容レセスRに設置されたダビット11によって収容レセスRの内外へ出入りさせられる。なお、ここで言う、収容レセスRは、艦船の船体Sの側面である舷側に開口を設けて船体S内に設けられた搭載艇2を格納する格納室である。
次に各部について詳細に説明する。本例のシート部材3は、図1−図4に示すように、互いに平行に配置された一対のサイドフレーム31,31と、サイドフレーム31よりも短尺であって、これらのサイドフレーム31,31間に架け渡される一対の連結フレーム32,32を備えて矩形枠状に形成されている。
また、図2−4に示すように各連結フレーム32,32には、連結フレーム32から上方へ突出するC型の台座部34が所定の間隔でそれぞれ二箇所ずつ設けられており、これらの台座部34の上面は、搭載艇2の船底に沿って傾斜している。そして、台座部34の上面には、台座部34の上面に沿ってゴムなどの弾性体で形成されたクッション部35が設けられている。これにより、本例のシート部材3に搭載艇2を載せる際には、搭載艇2の船底がクッション部35を介して搭載艇2の船底に沿う台座部34に四点支持されるため、搭載艇2がシート部材3にガタなく支持されるとともに、搭載艇2の船底がクッション部35によって保護されて傷つかないようになっている。
さらに、図1−図3に示すように、シート部材3の下端には、シート部材3から下向きに延びる脚部37がシート部材3の前後左右の四箇所にそれぞれ設けられており、図2に示すように、当該脚部37は、シート部材3が収容レセスR内に収容されている間、シート部材3を支持する。
また、図4に示すように、搭載艇2の進行方向に対して前後であるシート部材3の図中左側端部と右側端部には、搭載艇2の船体を保持可能なガイドアーム5,6がそれぞれ起伏可能に取り付けられている。
本実施の形態における図4中右側に設けられた前側ガイドアーム5は、連結フレーム32に対して平行に延びる軸状の基部5aと、基部5aの図中上側端部と下側端部の両端部にそれぞれ設けられるとともに搭載艇2の船底に当接可能な一対のU字状の船底保持バー5b,5bと、各船底保持バー5bの基部側端から垂直に突出するようにそれぞれ設けられた連結ブラケット5cとを備えて構成される。そして、この連結ブラケット5cは、サイドフレーム31,31の図4中右端にそれぞれヒンジ結合されている。これにより、連結ブラケット5cが上方向に回転すると、基部5aと船底保持バー5b,5bも回動して、図1に示すように、前側ガイドアーム5がシート部材3に対して起き上がり、反対に連結ブラケット5cが下方向に回転すると、図5に示すように、前側ガイドアーム5がシート部材3に対して倒れるようになっている。
また、上述したように、本例の船底保持バー5b,5bは、軸状の基部5aの中央を避けて基部5aの両端部にそれぞれ設けられるようになっている。そのため、本例の船底保持バー5b,5bは、前側ガイドアーム5の起立時に、搭載艇2の船首を避けて船底を保持できる。
また、本例の連結ブラケット5cは船底保持バー5bから垂直に突出するように設けられているため、前側ガイドアーム5が連結ブラケット5cと船底保持バー5bとによって側方から見てL字状となっている。そのため、図5に示すように、前側ガイドアーム5を倒すと、基部5aと船底保持バー5bがシート部材3よりも鉛直方向に低い位置に配置される。したがって、搭載艇2がシート部材3上に進入あるいはシート部材3上から発進をする際に、シート部材3が波に大きく揺られたとしても、搭載艇2の船底が前側ガイドアーム5に接触しにくくなっている。
また、図1−5に示すように、各船底保持バー5bの搭載艇2の船底に当接する部分には、それぞれゴム等で形成されたクッション5dが設けられており、前側ガイドアーム5が搭載艇2の船体を保持する際に、船底を傷つけないようになっている。
他方、本実施の形態における図4中左側に設けられた後側ガイドアーム6は、シート部材3の各サイドフレーム31,31の図中左端にそれぞれヒンジ結合される一対の回動アーム6a,6aと、回動アーム6a,6aの反ヒンジ連結側端同士の間に架け渡された軸状の基部6bと、基部6bに所定の間隔を空けて設けられ基部6bから反シート部材側に向けて突出する一対の押え部6c,6cとを備えて構成される。
そして、回動アーム6a,6aが上方向に回転すると、基部6bと押え部6c,6cも回動して、図1に示すように、後側ガイドアーム6がシート部材3に対して起き上がり、反対に回動アーム6a,6aが下方向に回転すると、図5に示すように、後側ガイドアーム6がシート部材3に対して倒れるようになっている。
また、図6に示すように、本例の一対の押え部6c,6cは、所定の間隔を空けて、基部6bの図中右端側と左端側にそれぞれ設けられているため、後側ガイドアーム6の起立時に、押え部6c,6cが搭載艇2の船尾の中央付近に設けられたスクリュー40や舵41に干渉しないようになっている。
また、本例の押え部6cは回動アーム6aの反ヒンジ連結側に設けられた基部6bから反シート部材側に向けて突出するように設けられているため、後側ガイドアーム6が回動アーム6aと押え部6cとによって側方から見てV字状となっている。そのため、図5に示すように、後側ガイドアーム6を倒すと、基部6bと押え部6cがシート部材3よりも鉛直方向に低い位置に配置される。したがって、搭載艇2がシート部材3上に進入あるいはシート部材3上から発進をする際に、シート部材3が波に大きく揺られたとしても、搭載艇2の船底が後側ガイドアーム6に接触しにくくなっている。
また、図1,図4−6に示すように、基部6bと押え部6cの搭載艇2の船底に当接する部分には、それぞれゴム等で形成されたクッション6d,6eが設けられており、後側ガイドアーム6が搭載艇2の船体を保持する際に、船底を傷つけないようになっている。
なお、本例のガイドアーム5,6の構造は、本例の搭載艇2の構造に合わせた一例であって、ガイドアーム5,6の構造は、シート部材3に対して起伏できるようになっていれば、搭載艇2の構造に合わせて任意に決定できる。
また、図2,図3に示すように、収容レセスRの床10には、ダビット11が設置されている。本例のダビット11は、ダビットフレーム12と、当該ダビットフレーム12を支持するとともにダビットフレーム12を収容レセスR内外へ振り出し可能なダビットアーム13と、当該ダビットアーム13を駆動させる駆動源としての油圧シリンダ14とを備える。
本例のダビットフレーム12は、図7に示すように、互いに平行に配置される一対の短手フレーム15,15と、これらの短手フレーム15,15間に架け渡されて設けられる一対の長手フレーム16,16とを備えて枠状に形成されている。また、図7に示すように、各短手フレーム15,15には、ダビットフレーム12の外側に向けて張り出すように突出する突出部15aが設けられている。
さらに、ダビットフレーム12には、一対の長手フレーム16,16の下面に上端が固定されて長手フレーム16,16間に架け渡される一対の梁22,22と、一対の長手フレーム16,16間に架け渡される一対の梁23,23が設けられている。そして、梁22,22には吊索ウィンチ4が、梁23,23には起伏ウィンチ7がそれぞれ固定されている。
また、図7に示すように、ダビットフレーム12の各長手フレーム16,16の内側部には、吊索用シーブ17と起伏用シーブ18が、長手フレーム16の長手方向に沿って所定の間隔でそれぞれ二つずつ並べて設けられている。また、ダビットフレーム12には、詳細には図示しないがブラケットを介して複数の方向転換用シーブ19,20が回転可能に取り付けられている。
ここで、本例の吊索ウィンチ4は、吊下ワイヤーW1が巻き回されたドラムを四つ備えて四本の吊下ワイヤーW1を同時に繰り出しおよび巻上げができるものである。
本例の吊下ワイヤーW1は、図7に示すように、ダビットフレーム12に取り付けられた複数の方向転換用シーブ19を介して、各吊索用シーブ17に掛け回されて、ダビットフレーム12の前後左右の四カ所から吊り下げられている。
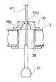
ここで、本例のサイドフレーム31の吊下ワイヤーW1の吊下位置に対応する位置には開口38が設けられている。また、本例の開口38は、図8に示すように、ストッパ受部材39によって蓋がされている。そして、このストッパ受部材39には挿通孔39aが設けられており、この挿通孔39aには吊下ワイヤーW1が挿通されている。
さらに、本例の吊下ワイヤーW1の先端には、ストッパ受部材39によって吊下ワイヤーW1の移動が規制される鐘状のストッパ21が設けられている。
よって、本例の吊下ワイヤーW1が巻上げられると、ストッパ21がストッパ受部材39に当接するため、ストッパ21を介してシート部材3を吊持できる。
これにより、ダビット11は、ダビットフレーム12の前後左右の四カ所から吊り下げられた吊下ワイヤーW1を介してシート部材3を吊っている。
また、本例のストッパ受部材39の開口38に対向する側には、図8に示すように、凹部39bが形成されている。この凹部39bは、ストッパ21のストッパ受部材39と対向する側である上側の球面の曲率に沿って湾曲している。これにより、吊下ワイヤーW1が巻上げられて、ストッパ21がストッパ受部材39に当接する際に、ストッパ21が凹部39bにならって当接するため、吊下ワイヤーW1を介してシート部材3を吊りあげる際にストッパ21がガタつかない。
なお、本例のストッパ21は縦長の楕円体を半分に切ったような鐘状となっているが、ストッパ受部材39と対向する側である上側の面がストッパ受部材39の凹部に沿う形状になっていれば、ストッパ21の形状は特に限定されない。
ただし、吊下ワイヤーW1とシート部材3を連結する構成は上記構成に限定されず、図示しないが例えば、吊下ワイヤーW1の先端にフックを設け、当該フックをシート部材3の四隅に設けられたリング状の取付部に引っ掛けて、吊下ワイヤーW1でシート部材3を吊るようにしてもよい。
本例の起伏ウィンチ7は、起伏ワイヤーW2が巻き回されたドラムを二つずつ備える二個のウィンチ7a,7aで構成され、各ウィンチ7aはそれぞれ二本の起伏ワイヤーW2を同時に繰り出しおよび巻上げできるものである。また、本例の起伏ウィンチ7の張力は、搭載艇2の重量の約2分の1から3分の1程度と吊索ウィンチ4よりも弱く設定されている。また、本例の起伏ウィンチ7としては、起伏ワイヤーW2に与える張力を自動調整するオートテンションウィンチが用いられている。
また、本例の起伏ワイヤーW2は、図7に示すように、ダビットフレーム12に取り付けられた複数の方向転換用シーブ20を介して、各起伏用シーブ18に掛け回されて、ダビットフレーム12の前後左右の四カ所から吊り下げられており、先端がガイドアーム5,6に接続されている。
これにより、起伏ウィンチ7によって起伏ワイヤーW2を繰り出しあるいは巻上げすると、前後のガイドアーム5,6が起伏するようになっている。
この際、本例の起伏ウィンチ7は、二個のウィンチ7a,7aを備えて、各ウィンチ7a,7aがそれぞれ前側ガイドアーム5と後側ガイドアーム6に接続されている起伏ワイヤーW2の繰り出しおよび巻上げをしている。そのため、本例の起伏ウィンチ7は、前側ガイドアーム5と後側ガイドアーム6をそれぞれ独立して起伏させられる。
なお、本例では、吊索ウィンチ4と起伏ウィンチ7がそれぞれ四本のドラムを備えて、四本ずつワイヤーW1,W2を繰り出しているが、一本のワイヤーW1,W2毎に一個ずつウィンチを設置するようにしてもよい。
また、本例では、ダビット11に吊索ウィンチ4と起伏ウィンチ7を設けているが、艦船側、つまり収容レセスR内に吊索ウィンチ4と起伏ウィンチ7を設けてもよい。その場合、ダビット11側には、シーブのみを設けておき、艦船側の吊索ウィンチ4と起伏ウィンチ7によって各シーブに掛け回されたワイヤーW1,W2の繰り出しおよび巻上げがされる。
ただし、本例では、ダビット11に吊索ウィンチ4と起伏ウィンチ7を設けているから、ダビット11を収容レセスR外に振り出す際に、各ワイヤーW1,W2を繰り出しあるいは巻上げする必要がない。
戻って、本例のダビットアーム13は、図2,図3に示すように、各短手フレーム15,15の図中右端と床10との間に介装される一対の第一ダビットアーム13a,13aと、各短手フレーム15,15の中間位置と床10との間に介装される一対の第二ダビットアーム13b,13bを備える。
そして、これらの第一ダビットアーム13a,13aおよび第二ダビットアーム13b,13bは、それぞれ短手フレーム15と床10にヒンジ連結されており、平行リンクを構成してダビットフレーム12を揺動可能に支持している。
さらに、油圧シリンダ14は、各短手フレーム15から突出する突出部15aと床10にそれぞれ介装されて、上端と下端がそれぞれ突出部15aと床10にヒンジ連結されており、伸縮することでダビットアーム13を駆動してダビットフレーム12を揺動するようになっている。具体的には、油圧シリンダ14が最伸長状態であると、図2に示すように、ダビットアーム13が収容レセスR内に引き込まれた状態とされ、ダビットフレーム12に吊下ワイヤーW1を介して吊られているシート部材3とシート部材3の前後に連結されたガイドアーム5,6が収容レセスR内に引き込まれた状態とされる。
反対に油圧シリンダ14が最収縮状態になると、ダビットアーム13が図2に示す状態から反時計回りに回転して、図3に示すように、シート部材3とシート部材3の前後に連結されたガイドアーム5,6を収容レセスRの外へ平行に振り出すようになっている。なお、本例では、ダビット11の駆動に際して駆動源として油圧シリンダ14を利用しているが、電動や他の流体を用いた直動型のアクチュエータを用いてもよい。
また、ダビット11は、シート部材3とガイドアーム5,6を収容レセスR内外へ平行に出入りさせるものであれば本例の構成には特に限定されない。図示しないが、例えば、ダビット11をモータにより伸縮可能なブームとし、当該ブームの先端から吊下ワイヤーW1と起伏ワイヤーW2を介してシート部材3と前後のガイドアーム5,6を吊り下げてブームを伸縮させることによってシート部材3とシート部材3の前後に連結されたガイドアーム5,6を収容レセスR内外に出入りさせるようにしてもよい。
つづいて、本実施の形態に係る揚収装置1によって、搭載艇2を投入および揚収する際の手順について説明する。
搭載艇2を収容レセスRから海へ投入する際には、まず、図2,図3に示すように、ダビット11により吊下ワイヤーW1を介して吊下げられたシート部材3に搭載艇2を載置した状態で、油圧シリンダ14を収縮させてシート部材3を収容レセスR外に振り出す。この際、シート部材3の前後に設けられたガイドアーム5,6は、起伏ウィンチ7によって起立しており、搭載艇2の船底の前後はガイドアーム5,6によって押えられている。これにより、搭載艇2の船底の前後は、ガイドアーム5,6によってガイドされ、舷側はダビットフレーム12から吊るされる四本の吊下ワイヤーW1によってガイドされるため、搭載艇2がシート部材3にしっかりと保持される。
次にシート部材3を振りだした後、吊索ウィンチ4によって四本の吊下ワイヤーW1を繰り出して搭載艇2を着水させる。この際、本例の起伏ウィンチ7は、オートテンションウィンチであるため、吊下ワイヤーW1が繰り出されると、起伏ワイヤーW2も自動的に繰り出される。そして、搭載艇2が着水した後も、吊下ワイヤーW1を繰り出すと搭載艇2は海上に浮き、シート部材3は海中に沈むので、シート部材3と搭載艇2を分離できる。
最後に、図5に示すように、起伏ワイヤーW2をさらに繰り出してガイドアーム5,6を倒せば、搭載艇2が解放されて、搭載艇2を収容レセスRから海へ投入できる。
反対に海を航行する搭載艇2を収容レセスR内に揚収する場合には、まず、図5に示すように、シート部材3を収容レセスR外に振りだしたシート部材3を海中に沈むまで吊下ワイヤーW1を繰り出すとともに、起伏ワイヤーW2もさらに繰り出してガイドアーム5,6を倒しておく。この際、吊下ワイヤーW1は、図5に示すように、開口38と挿通孔39aを通ってシート部材3に対して下方に移動しており、吊下ワイヤーW1の先端に設けられたストッパ21がストッパ受部材39に当接しないようになっている。これにより、この状態では吊下ワイヤーW1が、シート部材3に干渉しないように絶縁されており、シート部材3が波に合わせて浮き沈みするのを邪魔しない。
その後、搭載艇2を各ワイヤーW1,W2間に進入させてから、起伏ワイヤーW2のみを巻上げてガイドアーム5,6を起立させた状態でさらに巻上げて、シート部材3とガイドアーム5,6とで搭載艇2を囲い込む。これにより、搭載艇2は、ガイドアーム5,6によって保持されてシート部材3上に位置決めされる。
さらに、前述したように、本例のガイドアーム5,6を吊っている起伏ワイヤーW2の繰り出しおよび巻上げを行っている起伏ウィンチ7は張力を自動的に調整するオートテンションウィンチである。そのため、ダビット11が設けられている艦船の動揺や波によって搭載艇2が動揺する場合にあっても、起伏ウィンチ7が起伏ワイヤーW2を自動的に繰り出したり巻上げたりして、前側ガイドアーム5と後側ガイドアーム6をそれぞれ搭載艇2の動揺に追従して起伏させて搭載艇2を常に保持できる。
そして、波が穏やかになるタイミングや搭載艇2が波の頂点に在るタイミングなど搭載艇2を揚収しやすいタイミングを見計らって、四本の吊下ワイヤーW1を同時に巻上げ、ストッパ21がシート部材3のストッパ受部材39に当接したら、搭載艇2をシート部材3ごと掬い上げるようにして持ち上げる。この際、本例の起伏ウィンチ7は、オートテンションウィンチであるため、吊下ワイヤーW1が巻上げられると、起伏ワイヤーW2も自動的に巻上げされる。
最後に、シート部材3をダビット11により収容レセスR内に引き込めば、搭載艇2を収容レセスR内に揚収できる。
このように、本例の揚収装置1では、搭載艇2を支持可能なシート部材3と、シート部材3に起伏可能に取り付けられて搭載艇2の船体を保持可能なガイドアーム5,6を備えている。この構成によると、搭載艇2をガイドアーム5,6でシート部材3上に位置決めできるため、搭載艇2の揚収作業及び投入作業時に、搭載艇2に人が乗って玉掛けなどの作業をする必要がない。したがって、本例の揚収装置1では、搭載艇2が遠隔操作可能な無人機であっても、搭載艇2の投入および揚収ができる。
さらに、上述した本例の揚収装置1では、ガイドアーム5,6が搭載艇2の船体を保持して、搭載艇2をシート部材3に拘束できるため、搭載艇2を投入あるいは揚収する際に搭載艇2が落下するのも防止される。
また、本例のシート部材3は、枠状に形成されている。そのため、海中に沈められても受圧面積が少なく、波の影響を受けにくい。したがって、本例のシート部材3は沈めても海中で動きにくく、搭載艇2をシート部材3の上に進入させやすい。
また、本例の揚収装置1では、ガイドアーム5,6が、搭載艇2の進行方向に対して前後に設けられている。この構成によると、搭載艇2の揚収時には搭載艇2を吊下ワイヤーW1および起伏ワイヤーW2間に前進で進入させられ、投入時には搭載艇2を前進で発進させられる。
なお、本例では、シート部材3の前後に前側ガイドアーム5と後側ガイドアーム6の二つのガイドアーム5,6を取り付けているが、例えば、シート部材3の前後のいずれか一方に起倒式ではなく常に起立した壁部材を設けて、反対側に起伏可能な前側ガイドアーム5あるいは後側ガイドアーム6のいずれか一方を設けるようにしてもよい。シート部材3に前側ガイドアーム5のみを設ける場合には、搭載艇2の揚収時には搭載艇2をシート部材3上に後進で進入させて、搭載艇2の投入時にはシート部材3上から前進で発進させればよい。反対に、シート部材3に後側ガイドアーム6のみを設ける場合には、搭載艇2の揚収時には搭載艇2をシート部材3上に前進で進入させ、搭載艇2の投入時にはシート部材3上から後進で発進させればよい。
また、本例の揚収装置1では、起伏ウィンチ7が起伏ワイヤーW2の張力を自動調整するオートテンションウィンチとされている。この構成によると、ガイドアーム5,6を吊っている起伏ワイヤーW2に常に一定の張力が与えられるため、ガイドアーム5,6が、搭載艇2の動揺に自動的に追従して起伏する。そのため、搭載艇2を揚収あるいは投入する際に搭載艇2が動揺しても、本例のガイドアーム5,6によれば、搭載艇2を常に保持できる。
さらに、本例では、起伏ウィンチ7がオートテンションウィンチであるため、吊索ウィンチ4が吊下ワイヤーW1を巻上げたり繰り出したりする際に、起伏ワイヤーW2についても自動的に巻上げや繰り出しが行われる。したがって、本例の起伏ウィンチ7は、吊索ウィンチ4に自動的に同期するため、起伏ウィンチ7を吊索ウィンチ4に同期させる制御を行う必要がない。
また、本例の起伏ウィンチ7は吊索ウィンチ4に同期してワイヤーの巻上げと繰り出しが行われるため、本例の揚収装置1では、シート部材3を着水させる際に、吊索ワイヤーW1のみが繰り出されることでガイドアーム5,6が窄むように駆動して、ガイドアーム5,6が搭載艇2を押圧してしまうようなことがない。
また、起伏ウィンチ7をオートテンションウィンチでない通常のウィンチとした場合には、搭載艇2が動揺してシート部材3上で前側ガイドアーム5または後側ガイドアーム6のいずれか一方を押しても、起伏ワイヤーW2が自動的に繰り出されないので、搭載艇2に押されたガイドアームは倒れない。そのため、搭載艇2が動揺すると、ガイドアーム5,6が搭載艇2の荷重を受けて、ガイドアーム5,6には搭載艇2の荷重が、搭載艇2にはその反力がそれぞれ作用してしまう。
これに対して、本例の起伏ウィンチ7では、搭載艇2が動揺すると、搭載艇2に押された側のガイドアームを吊っている起伏ワイヤーW2が自動的に繰り出されて、搭載艇2に押されたガイドアームが倒れる。そのため、本例のように、起伏ウィンチ7をオートテンションウィンチとすると、搭載艇2の揺動時にガイドアームに作用する搭載艇2の荷重を逃がすことができ、搭載艇2とガイドアーム5,6に余計な力が作用しない。
ただし、起伏ウィンチ7が通常のウィンチであったとしても、搭載艇2をシート部材3上に保持はできるため、起伏ウィンチ7はオートテンションウィンチに限定されるものではない。
また、本例の揚収装置1は、シート部材3に設けられ吊下ワイヤーW1が挿通される挿通孔39aを有するストッパ受部材39と、吊下ワイヤーW1の先端に設けられ吊下ワイヤーW1が挿通孔39aから抜けるのを防止するストッパ21とを備える。この構成によると、シート部材3を着水させた後も吊下ワイヤーW1を繰り出し続けると、吊下ワイヤーW1をシート部材3から絶縁できる。そして、シート部材3から絶縁した状態の吊下ワイヤーW1は、シート部材3が波に合わせて浮き沈みするのを邪魔しない。したがって、本例の揚収装置1によれば、波が穏やかになるタイミングや、搭載艇2が波の頂点に在るタイミングなどの搭載艇2を揚収しやすい任意のタイミングを見計らって搭載艇2を揚収できる。
また、本例に揚収装置1では、吊下ワイヤーW1が、シート部材3を前後左右の四点で吊っている。この構成によると、従来のように前後二点のワイヤーで吊持する場合に比べて、搭載艇2の投入や揚収作業中にシート部材3が動揺しづらくなる。そのため、搭載艇2の投入や揚収を行う際に、シート部材3が風に煽られたり、艦船が波によって揺られたりしても、シート部材3あるいはシート部材3に載置された搭載艇2が艦船に接触する可能性が大幅に低減される。
その上、本例のシート部材3は、吊下ワイヤーW1によって前後左右の四点で吊られているため、吊下ワイヤーW1によってシート部材3に載置された搭載艇2の舷側がガイドされる。したがって、本例では、シート部材3に搭載艇2の舷側をガイドするガイド部を設ける必要がなくなる。
なお、本例においては、揚収装置1が収容レセスRに設置されているが、設置箇所は収容レセスRに限られず、例えば、艦船の船尾側から開口する格納室や、艦船の甲板に設置されてもよい。
以上、本発明の好ましい実施の形態を詳細に説明したが、特許請求の範囲から逸脱なく改造、変形及び変更ができるのは当然である。
1・・・揚収装置、2・・・搭載艇、3・・・シート部材、4・・・吊索ウィンチ、5・・・前側ガイドアーム、6・・・後側ガイドアーム、7・・・起伏ウィンチ、11・・・ダビット、21・・・ストッパ、39・・・ストッパ受部材、39a・・・挿通孔、R・・・収容レセス、W1・・・吊下ワイヤー、W2・・・起伏ワイヤー

Claims (5)

  1. 艦船に搭載される搭載艇を下方から支持可能なシート部材と、
    前記シート部材を吊り下げる吊下ワイヤーと、
    前記吊下ワイヤーを繰り出しおよび巻上げ可能な吊索ウィンチと、
    前記シート部材に起伏可能に取り付けられて前記搭載艇の船体を保持可能なガイドアームと、
    前記ガイドアームに接続される起伏ワイヤーと、
    前記起伏ワイヤーを繰り出しおよび巻上げすることで前記ガイドアームを起伏させる起伏ウィンチとを備える
    ことを特徴とする揚収装置。
  2. 前記ガイドアームが、前記搭載艇の進行方向に対して前後に設けられる
    ことを特徴とする請求項1に記載の揚収装置。
  3. 前記起伏ウィンチが前記起伏ワイヤーの張力を自動調整するオートテンションウィンチである
    ことを特徴とする請求項1または2に記載の揚収装置。
  4. 前記シート部材に設けられ前記吊下ワイヤーが挿通される挿通孔を有するストッパ受部材と、
    前記吊下ワイヤーの先端に設けられ前記吊下ワイヤーが前記挿通孔から抜けるのを防止するストッパとを備える
    ことを特徴とする請求項1から3のいずれか一項に記載の揚収装置。
  5. 前記艦船に設けられて前記吊下ワイヤーを介して前記シート部材を内外へ出入りさせるダビットを備え、
    前記吊下ワイヤーが、前記シート部材を前後左右の四点で吊る
    ことを特徴とする請求項1から4のいずれか一項に記載の揚収装置。
JP2017009586A 2017-01-23 2017-01-23 揚収装置 Active JP6770448B2 (ja)

Priority Applications (1)

Application Number Priority Date Filing Date Title
JP2017009586A JP6770448B2 (ja) 2017-01-23 2017-01-23 揚収装置

Applications Claiming Priority (1)

Application Number Priority Date Filing Date Title
JP2017009586A JP6770448B2 (ja) 2017-01-23 2017-01-23 揚収装置

Publications (2)

Publication Number Publication Date
JP2018118545A JP2018118545A (ja) 2018-08-02
JP6770448B2 true JP6770448B2 (ja) 2020-10-14

Family

ID=63044708

Family Applications (1)

Application Number Title Priority Date Filing Date
JP2017009586A Active JP6770448B2 (ja) 2017-01-23 2017-01-23 揚収装置

Country Status (1)

Country Link
JP (1) JP6770448B2 (ja)

Families Citing this family (5)

* Cited by examiner, † Cited by third party
Publication number Priority date Publication date Assignee Title
KR102282440B1 (ko) * 2021-02-24 2021-07-27 엘아이지넥스원 주식회사 플립 타입의 무인수상정 회수용 케이지 및 이를 포함하는 무인수상정 회수 시스템
CN113335449B (zh) * 2021-06-24 2024-12-03 珠海云洲智能科技股份有限公司 一种水下设备收放装置及航行设备
CN113401283B (zh) * 2021-06-30 2022-12-20 中国船舶工业集团公司第七0八研究所 双门架收放装置及其作业方法
CN113636021B (zh) * 2021-10-13 2021-12-24 山东奥维特智能科技有限公司 一种海洋工程救助艇的升降装置
CN116729564B (zh) * 2023-06-15 2025-10-28 上海大学 一种三角型布局角架式多无人艇布放回收装置

Also Published As

Publication number Publication date
JP2018118545A (ja) 2018-08-02

Similar Documents

Publication Publication Date Title
JP6770448B2 (ja) 揚収装置
JP5759246B2 (ja) 水中航走体の着水揚収方法および水中航走体の着水揚収に用いる保持金具
US6152065A (en) Apparatus for launching and recovery of boats
KR101833987B1 (ko) 텔레스코픽 보트 데빗
JP3258493B2 (ja) 船舶の起倒式フレームによる吊荷の振れ止め装置
JP4541678B2 (ja) 搭載艇揚降装置
KR20160039022A (ko) 구명정용 대빗장치
JP6942312B2 (ja) 揚収装置
JPH0971292A (ja) ボート揚降装置
CN110382345A (zh) 船只转移系统
KR20140131406A (ko) 해상구조물의 구명정 진수 장치 및 진수 방법
JP2005206039A (ja) 救命艇積載装置
JP7074733B2 (ja) 船舶
JP4404466B2 (ja) ダビット式揚艇装置
KR200436987Y1 (ko) 선박후방경사면으로의 보트 인양 및 하강장치
JP4562422B2 (ja) 小型艇の揚収装置
JP2000335479A (ja) 短艇揚収装置
JP2005330087A (ja) フローティングクレーン
EP2714505A1 (en) A launch and retrieval system
JP2581964B2 (ja) グラブ船の移動装置
JPH0113036Y2 (ja)
CN119705729B (zh) 一种用于小型无人艇的引缆自动回收系统及回收方法
EP0414321A1 (en) A tilting gravity davit for a free-fall boat
JP4431448B2 (ja) 揚艇装置
JP2009061813A (ja) 揚艇装置

Legal Events

Date Code Title Description
A621 Written request for application examination

Free format text: JAPANESE INTERMEDIATE CODE: A621

Effective date: 20190920

A977 Report on retrieval

Free format text: JAPANESE INTERMEDIATE CODE: A971007

Effective date: 20200729

TRDD Decision of grant or rejection written
A01 Written decision to grant a patent or to grant a registration (utility model)

Free format text: JAPANESE INTERMEDIATE CODE: A01

Effective date: 20200901

A61 First payment of annual fees (during grant procedure)

Free format text: JAPANESE INTERMEDIATE CODE: A61

Effective date: 20200925

R150 Certificate of patent or registration of utility model

Ref document number: 6770448

Country of ref document: JP

Free format text: JAPANESE INTERMEDIATE CODE: R150

S111 Request for change of ownership or part of ownership

Free format text: JAPANESE INTERMEDIATE CODE: R313111

R350 Written notification of registration of transfer

Free format text: JAPANESE INTERMEDIATE CODE: R350

S533 Written request for registration of change of name

Free format text: JAPANESE INTERMEDIATE CODE: R313533

R350 Written notification of registration of transfer

Free format text: JAPANESE INTERMEDIATE CODE: R350