JP6720008B2 - 表示装置および表示装置の駆動方法 - Google Patents

表示装置および表示装置の駆動方法 Download PDF

Info

Publication number
JP6720008B2
JP6720008B2 JP2016144719A JP2016144719A JP6720008B2 JP 6720008 B2 JP6720008 B2 JP 6720008B2 JP 2016144719 A JP2016144719 A JP 2016144719A JP 2016144719 A JP2016144719 A JP 2016144719A JP 6720008 B2 JP6720008 B2 JP 6720008B2
Authority
JP
Japan
Prior art keywords
light
pixel
color
sub
color filter
Prior art date
Legal status (The legal status is an assumption and is not a legal conclusion. Google has not performed a legal analysis and makes no representation as to the accuracy of the status listed.)
Active
Application number
JP2016144719A
Other languages
English (en)
Other versions
JP2018013718A (ja
Inventor
矢田 竜也
竜也 矢田
Current Assignee (The listed assignees may be inaccurate. Google has not performed a legal analysis and makes no representation or warranty as to the accuracy of the list.)
Japan Display Inc
Original Assignee
Japan Display Inc
Priority date (The priority date is an assumption and is not a legal conclusion. Google has not performed a legal analysis and makes no representation as to the accuracy of the date listed.)
Filing date
Publication date
Application filed by Japan Display Inc filed Critical Japan Display Inc
Priority to JP2016144719A priority Critical patent/JP6720008B2/ja
Priority to US15/651,367 priority patent/US10657908B2/en
Publication of JP2018013718A publication Critical patent/JP2018013718A/ja
Application granted granted Critical
Publication of JP6720008B2 publication Critical patent/JP6720008B2/ja
Active legal-status Critical Current
Anticipated expiration legal-status Critical

Links

Images

Classifications

    • GPHYSICS
    • G09EDUCATION; CRYPTOGRAPHY; DISPLAY; ADVERTISING; SEALS
    • G09GARRANGEMENTS OR CIRCUITS FOR CONTROL OF INDICATING DEVICES USING STATIC MEANS TO PRESENT VARIABLE INFORMATION
    • G09G3/00Control arrangements or circuits, of interest only in connection with visual indicators other than cathode-ray tubes
    • G09G3/20Control arrangements or circuits, of interest only in connection with visual indicators other than cathode-ray tubes for presentation of an assembly of a number of characters, e.g. a page, by composing the assembly by combination of individual elements arranged in a matrix no fixed position being assigned to or needed to be assigned to the individual characters or partial characters
    • G09G3/34Control arrangements or circuits, of interest only in connection with visual indicators other than cathode-ray tubes for presentation of an assembly of a number of characters, e.g. a page, by composing the assembly by combination of individual elements arranged in a matrix no fixed position being assigned to or needed to be assigned to the individual characters or partial characters by control of light from an independent source
    • G09G3/36Control arrangements or circuits, of interest only in connection with visual indicators other than cathode-ray tubes for presentation of an assembly of a number of characters, e.g. a page, by composing the assembly by combination of individual elements arranged in a matrix no fixed position being assigned to or needed to be assigned to the individual characters or partial characters by control of light from an independent source using liquid crystals
    • G09G3/3611Control of matrices with row and column drivers
    • G09G3/3648Control of matrices with row and column drivers using an active matrix
    • GPHYSICS
    • G09EDUCATION; CRYPTOGRAPHY; DISPLAY; ADVERTISING; SEALS
    • G09GARRANGEMENTS OR CIRCUITS FOR CONTROL OF INDICATING DEVICES USING STATIC MEANS TO PRESENT VARIABLE INFORMATION
    • G09G3/00Control arrangements or circuits, of interest only in connection with visual indicators other than cathode-ray tubes
    • G09G3/20Control arrangements or circuits, of interest only in connection with visual indicators other than cathode-ray tubes for presentation of an assembly of a number of characters, e.g. a page, by composing the assembly by combination of individual elements arranged in a matrix no fixed position being assigned to or needed to be assigned to the individual characters or partial characters
    • G09G3/34Control arrangements or circuits, of interest only in connection with visual indicators other than cathode-ray tubes for presentation of an assembly of a number of characters, e.g. a page, by composing the assembly by combination of individual elements arranged in a matrix no fixed position being assigned to or needed to be assigned to the individual characters or partial characters by control of light from an independent source
    • G09G3/36Control arrangements or circuits, of interest only in connection with visual indicators other than cathode-ray tubes for presentation of an assembly of a number of characters, e.g. a page, by composing the assembly by combination of individual elements arranged in a matrix no fixed position being assigned to or needed to be assigned to the individual characters or partial characters by control of light from an independent source using liquid crystals
    • G09G3/3607Control arrangements or circuits, of interest only in connection with visual indicators other than cathode-ray tubes for presentation of an assembly of a number of characters, e.g. a page, by composing the assembly by combination of individual elements arranged in a matrix no fixed position being assigned to or needed to be assigned to the individual characters or partial characters by control of light from an independent source using liquid crystals for displaying colours or for displaying grey scales with a specific pixel layout, e.g. using sub-pixels
    • GPHYSICS
    • G02OPTICS
    • G02FOPTICAL DEVICES OR ARRANGEMENTS FOR THE CONTROL OF LIGHT BY MODIFICATION OF THE OPTICAL PROPERTIES OF THE MEDIA OF THE ELEMENTS INVOLVED THEREIN; NON-LINEAR OPTICS; FREQUENCY-CHANGING OF LIGHT; OPTICAL LOGIC ELEMENTS; OPTICAL ANALOGUE/DIGITAL CONVERTERS
    • G02F1/00Devices or arrangements for the control of the intensity, colour, phase, polarisation or direction of light arriving from an independent light source, e.g. switching, gating or modulating; Non-linear optics
    • G02F1/01Devices or arrangements for the control of the intensity, colour, phase, polarisation or direction of light arriving from an independent light source, e.g. switching, gating or modulating; Non-linear optics for the control of the intensity, phase, polarisation or colour 
    • G02F1/13Devices or arrangements for the control of the intensity, colour, phase, polarisation or direction of light arriving from an independent light source, e.g. switching, gating or modulating; Non-linear optics for the control of the intensity, phase, polarisation or colour  based on liquid crystals, e.g. single liquid crystal display cells
    • G02F1/133Constructional arrangements; Operation of liquid crystal cells; Circuit arrangements
    • G02F1/1333Constructional arrangements; Manufacturing methods
    • G02F1/1335Structural association of cells with optical devices, e.g. polarisers or reflectors
    • G02F1/133509Filters, e.g. light shielding masks
    • G02F1/133514Colour filters
    • GPHYSICS
    • G02OPTICS
    • G02FOPTICAL DEVICES OR ARRANGEMENTS FOR THE CONTROL OF LIGHT BY MODIFICATION OF THE OPTICAL PROPERTIES OF THE MEDIA OF THE ELEMENTS INVOLVED THEREIN; NON-LINEAR OPTICS; FREQUENCY-CHANGING OF LIGHT; OPTICAL LOGIC ELEMENTS; OPTICAL ANALOGUE/DIGITAL CONVERTERS
    • G02F1/00Devices or arrangements for the control of the intensity, colour, phase, polarisation or direction of light arriving from an independent light source, e.g. switching, gating or modulating; Non-linear optics
    • G02F1/01Devices or arrangements for the control of the intensity, colour, phase, polarisation or direction of light arriving from an independent light source, e.g. switching, gating or modulating; Non-linear optics for the control of the intensity, phase, polarisation or colour 
    • G02F1/13Devices or arrangements for the control of the intensity, colour, phase, polarisation or direction of light arriving from an independent light source, e.g. switching, gating or modulating; Non-linear optics for the control of the intensity, phase, polarisation or colour  based on liquid crystals, e.g. single liquid crystal display cells
    • G02F1/133Constructional arrangements; Operation of liquid crystal cells; Circuit arrangements
    • G02F1/1333Constructional arrangements; Manufacturing methods
    • G02F1/1335Structural association of cells with optical devices, e.g. polarisers or reflectors
    • G02F1/133553Reflecting elements
    • GPHYSICS
    • G02OPTICS
    • G02FOPTICAL DEVICES OR ARRANGEMENTS FOR THE CONTROL OF LIGHT BY MODIFICATION OF THE OPTICAL PROPERTIES OF THE MEDIA OF THE ELEMENTS INVOLVED THEREIN; NON-LINEAR OPTICS; FREQUENCY-CHANGING OF LIGHT; OPTICAL LOGIC ELEMENTS; OPTICAL ANALOGUE/DIGITAL CONVERTERS
    • G02F1/00Devices or arrangements for the control of the intensity, colour, phase, polarisation or direction of light arriving from an independent light source, e.g. switching, gating or modulating; Non-linear optics
    • G02F1/01Devices or arrangements for the control of the intensity, colour, phase, polarisation or direction of light arriving from an independent light source, e.g. switching, gating or modulating; Non-linear optics for the control of the intensity, phase, polarisation or colour 
    • G02F1/13Devices or arrangements for the control of the intensity, colour, phase, polarisation or direction of light arriving from an independent light source, e.g. switching, gating or modulating; Non-linear optics for the control of the intensity, phase, polarisation or colour  based on liquid crystals, e.g. single liquid crystal display cells
    • G02F1/133Constructional arrangements; Operation of liquid crystal cells; Circuit arrangements
    • G02F1/1333Constructional arrangements; Manufacturing methods
    • G02F1/1335Structural association of cells with optical devices, e.g. polarisers or reflectors
    • G02F1/1336Illuminating devices
    • G02F1/133621Illuminating devices providing coloured light
    • GPHYSICS
    • G09EDUCATION; CRYPTOGRAPHY; DISPLAY; ADVERTISING; SEALS
    • G09GARRANGEMENTS OR CIRCUITS FOR CONTROL OF INDICATING DEVICES USING STATIC MEANS TO PRESENT VARIABLE INFORMATION
    • G09G3/00Control arrangements or circuits, of interest only in connection with visual indicators other than cathode-ray tubes
    • G09G3/20Control arrangements or circuits, of interest only in connection with visual indicators other than cathode-ray tubes for presentation of an assembly of a number of characters, e.g. a page, by composing the assembly by combination of individual elements arranged in a matrix no fixed position being assigned to or needed to be assigned to the individual characters or partial characters
    • G09G3/34Control arrangements or circuits, of interest only in connection with visual indicators other than cathode-ray tubes for presentation of an assembly of a number of characters, e.g. a page, by composing the assembly by combination of individual elements arranged in a matrix no fixed position being assigned to or needed to be assigned to the individual characters or partial characters by control of light from an independent source
    • G09G3/3406Control of illumination source
    • G09G3/3413Details of control of colour illumination sources
    • GPHYSICS
    • G02OPTICS
    • G02FOPTICAL DEVICES OR ARRANGEMENTS FOR THE CONTROL OF LIGHT BY MODIFICATION OF THE OPTICAL PROPERTIES OF THE MEDIA OF THE ELEMENTS INVOLVED THEREIN; NON-LINEAR OPTICS; FREQUENCY-CHANGING OF LIGHT; OPTICAL LOGIC ELEMENTS; OPTICAL ANALOGUE/DIGITAL CONVERTERS
    • G02F1/00Devices or arrangements for the control of the intensity, colour, phase, polarisation or direction of light arriving from an independent light source, e.g. switching, gating or modulating; Non-linear optics
    • G02F1/01Devices or arrangements for the control of the intensity, colour, phase, polarisation or direction of light arriving from an independent light source, e.g. switching, gating or modulating; Non-linear optics for the control of the intensity, phase, polarisation or colour 
    • G02F1/13Devices or arrangements for the control of the intensity, colour, phase, polarisation or direction of light arriving from an independent light source, e.g. switching, gating or modulating; Non-linear optics for the control of the intensity, phase, polarisation or colour  based on liquid crystals, e.g. single liquid crystal display cells
    • G02F1/133Constructional arrangements; Operation of liquid crystal cells; Circuit arrangements
    • G02F1/1333Constructional arrangements; Manufacturing methods
    • G02F1/133342Constructional arrangements; Manufacturing methods for double-sided displays
    • GPHYSICS
    • G02OPTICS
    • G02FOPTICAL DEVICES OR ARRANGEMENTS FOR THE CONTROL OF LIGHT BY MODIFICATION OF THE OPTICAL PROPERTIES OF THE MEDIA OF THE ELEMENTS INVOLVED THEREIN; NON-LINEAR OPTICS; FREQUENCY-CHANGING OF LIGHT; OPTICAL LOGIC ELEMENTS; OPTICAL ANALOGUE/DIGITAL CONVERTERS
    • G02F1/00Devices or arrangements for the control of the intensity, colour, phase, polarisation or direction of light arriving from an independent light source, e.g. switching, gating or modulating; Non-linear optics
    • G02F1/01Devices or arrangements for the control of the intensity, colour, phase, polarisation or direction of light arriving from an independent light source, e.g. switching, gating or modulating; Non-linear optics for the control of the intensity, phase, polarisation or colour 
    • G02F1/13Devices or arrangements for the control of the intensity, colour, phase, polarisation or direction of light arriving from an independent light source, e.g. switching, gating or modulating; Non-linear optics for the control of the intensity, phase, polarisation or colour  based on liquid crystals, e.g. single liquid crystal display cells
    • G02F1/133Constructional arrangements; Operation of liquid crystal cells; Circuit arrangements
    • G02F1/1333Constructional arrangements; Manufacturing methods
    • G02F1/1335Structural association of cells with optical devices, e.g. polarisers or reflectors
    • G02F1/1336Illuminating devices
    • G02F1/133618Illuminating devices for ambient light
    • GPHYSICS
    • G02OPTICS
    • G02FOPTICAL DEVICES OR ARRANGEMENTS FOR THE CONTROL OF LIGHT BY MODIFICATION OF THE OPTICAL PROPERTIES OF THE MEDIA OF THE ELEMENTS INVOLVED THEREIN; NON-LINEAR OPTICS; FREQUENCY-CHANGING OF LIGHT; OPTICAL LOGIC ELEMENTS; OPTICAL ANALOGUE/DIGITAL CONVERTERS
    • G02F2201/00Constructional arrangements not provided for in groups G02F1/00 - G02F7/00
    • G02F2201/52RGB geometrical arrangements
    • GPHYSICS
    • G02OPTICS
    • G02FOPTICAL DEVICES OR ARRANGEMENTS FOR THE CONTROL OF LIGHT BY MODIFICATION OF THE OPTICAL PROPERTIES OF THE MEDIA OF THE ELEMENTS INVOLVED THEREIN; NON-LINEAR OPTICS; FREQUENCY-CHANGING OF LIGHT; OPTICAL LOGIC ELEMENTS; OPTICAL ANALOGUE/DIGITAL CONVERTERS
    • G02F2202/00Materials and properties
    • G02F2202/02Materials and properties organic material
    • G02F2202/022Materials and properties organic material polymeric
    • GPHYSICS
    • G02OPTICS
    • G02FOPTICAL DEVICES OR ARRANGEMENTS FOR THE CONTROL OF LIGHT BY MODIFICATION OF THE OPTICAL PROPERTIES OF THE MEDIA OF THE ELEMENTS INVOLVED THEREIN; NON-LINEAR OPTICS; FREQUENCY-CHANGING OF LIGHT; OPTICAL LOGIC ELEMENTS; OPTICAL ANALOGUE/DIGITAL CONVERTERS
    • G02F2203/00Function characteristic
    • G02F2203/03Function characteristic scattering
    • GPHYSICS
    • G09EDUCATION; CRYPTOGRAPHY; DISPLAY; ADVERTISING; SEALS
    • G09GARRANGEMENTS OR CIRCUITS FOR CONTROL OF INDICATING DEVICES USING STATIC MEANS TO PRESENT VARIABLE INFORMATION
    • G09G2300/00Aspects of the constitution of display devices
    • G09G2300/02Composition of display devices
    • G09G2300/023Display panel composed of stacked panels
    • GPHYSICS
    • G09EDUCATION; CRYPTOGRAPHY; DISPLAY; ADVERTISING; SEALS
    • G09GARRANGEMENTS OR CIRCUITS FOR CONTROL OF INDICATING DEVICES USING STATIC MEANS TO PRESENT VARIABLE INFORMATION
    • G09G2300/00Aspects of the constitution of display devices
    • G09G2300/04Structural and physical details of display devices
    • G09G2300/0404Matrix technologies
    • G09G2300/0413Details of dummy pixels or dummy lines in flat panels
    • GPHYSICS
    • G09EDUCATION; CRYPTOGRAPHY; DISPLAY; ADVERTISING; SEALS
    • G09GARRANGEMENTS OR CIRCUITS FOR CONTROL OF INDICATING DEVICES USING STATIC MEANS TO PRESENT VARIABLE INFORMATION
    • G09G2300/00Aspects of the constitution of display devices
    • G09G2300/04Structural and physical details of display devices
    • G09G2300/0421Structural details of the set of electrodes
    • G09G2300/0426Layout of electrodes and connections
    • GPHYSICS
    • G09EDUCATION; CRYPTOGRAPHY; DISPLAY; ADVERTISING; SEALS
    • G09GARRANGEMENTS OR CIRCUITS FOR CONTROL OF INDICATING DEVICES USING STATIC MEANS TO PRESENT VARIABLE INFORMATION
    • G09G2300/00Aspects of the constitution of display devices
    • G09G2300/04Structural and physical details of display devices
    • G09G2300/0439Pixel structures
    • G09G2300/0452Details of colour pixel setup, e.g. pixel composed of a red, a blue and two green components

Landscapes

  • Physics & Mathematics (AREA)
  • Nonlinear Science (AREA)
  • General Physics & Mathematics (AREA)
  • Engineering & Computer Science (AREA)
  • Crystallography & Structural Chemistry (AREA)
  • Chemical & Material Sciences (AREA)
  • Optics & Photonics (AREA)
  • Mathematical Physics (AREA)
  • Theoretical Computer Science (AREA)
  • Computer Hardware Design (AREA)
  • Liquid Crystal (AREA)
  • Control Of Indicators Other Than Cathode Ray Tubes (AREA)
  • Devices For Indicating Variable Information By Combining Individual Elements (AREA)
  • Liquid Crystal Display Device Control (AREA)

Description

本発明の実施形態は、表示装置および表示装置の駆動方法に関する。
透明ディスプレイは、観察者側から反対側が視認できる表示装置である。透明ディスプレイは、様々な構成が検討されており、例えば、偏光フィルタを備えた液晶表示パネルや、有機発光ダイオード等の自発光素子を備えた表示パネルなどを備えた構成が開示されている。ところで、透明ディスプレイが一方の面に画像を表示した場合、他方の面に反転した画像が表示されてしまう恐れがある。
特開2013−80646号公報
本実施形態の目的は、光透過性を有し裏面側からの情報取得が困難な表示装置を提供することにある。
本実施形態によれば、
光透過性を有する表示パネルを備え、前記表示パネルは、第1色を表示する第1副画素と、第2色を表示する第2副画素と、第3色を表示する第3副画素と、前記第1乃至第3色よりも明度の低い第4色を表示するダミー画素と、前記第1乃至第3副画素および前記ダミー画素のそれぞれに対応する領域の光透過性と光散乱性とを切り替え可能な光変調層と、を備えている、表示装置、が提供される。
本実施形態によれば、
第1色を表示する第1副画素と、第2色を表示する第2副画素と、第3色を表示する第3副画素と、光透過性を有する第1基板と、前記第1基板と対向し光透過性を有する第2基板と、前記第2基板の前記第1副画素に配置され前記第1色の光を透過させる第1カラーフィルタと、前記第2基板の前記第2副画素に配置され前記第2色の光を透過させる第2カラーフィルタと、前記第2基板の前記第3副画素に配置され前記第3色の光を透過させる第3カラーフィルタと、前記第1基板と前記第2基板との間に位置し、光透過性を示す透過モードと光散乱性を示す散乱モードとを変調可能な光変調層と、前記光変調層を照明し、前記第1副画素を駆動する第1フィールドで前記第1色の光を出射し、前記第2副画素を駆動する第2フィールドで前記第2色の光を出射し、前記第3副画素を駆動する第3フィールドで前記第3色の光を出射する光源ユニットと、を備え、第1フィールドでは、前記光源ユニットから前記第1色の光を出射させ、前記第2および第3副画素の少なくとも一方を散乱モードとして前記第2および第3カラーフィルタで前記第1色の光を吸収させると共に前記第1基板から前記第1色の光を出射させる、表示装置の駆動方法。
図1は、第1実施形態に係る表示装置DSPの一構成例を示す図である。 図2は、図1に示した第1基板SUB1の一構成例を示す図である。 図3は、図1に示した表示パネルPNLの一構成例を示す断面図である。 図4は、図1に示した表示パネルPNLの他の構成例を示す断面図である。 図5は、図1に示した表示パネルPNLの他の構成例を示す断面図である。 図6は、図1に示した光源ユニットLUの一構成例を示す図である。 図7は、光変調層OMが散乱性を示す時の表示パネルPNLの模式図である。 図8は、光変調層OMが透過性を示す時の表示パネルPNLの模式図である。 図9は、カラーフィルタの一配置例を示す図である。 図10は、図9に示したカラーフィルタの配置例に対応するデータ線Sおよび走査線Gの一構成例を示す図である。 図11は、図9に示したカラーフィルタの配置例に対応するデータ線Sおよび走査線Gの他の構成例を示す図である。 図12は、図9に示したカラーフィルタの配置例に対応するデータ線Sおよび走査線Gの他の構成例を示す図である。 図13は、カラーフィルタの他の配置例を示す図である。 図14は、カラーフィルタの他の配置例を示す図である。 図15は、主画素PX中のカラーフィルタの構成例を示した図である。 図16は、カラーフィルタの他の配置例を示す図である。 図17は、カラーフィルタの他の配置例を示す図である。 図18は、表示装置DSPの表示モードの切り替えを制御する際のデータの流れを示すブロック図である。 図19は、表示装置DSPの表示モードの一例を示す図である。 図20は、図19に示した第2表示モードにおける表示装置DSPの挙動を説明する図である。 図21は、図19に示した第2表示モードにおける表示装置DSPの挙動を説明する図である。 図22は、図19に示した第3表示モードにおける表示装置DSPの挙動を説明する図である。 図23は、図22で説明した第3表示モードの応用例を示す図である。 図24は、光源23からの出射光の色と、その出射光によって表示装置DSPが表現可能な色と、を示す表である。 図25は、散乱強度の補正を説明する図である。 図26は、スキャン駆動を説明する図である。 図27は、本実施形態に係る表示装置DSPの第1変形例を示す図である。 図28は、図27に示した第1基板SUB1の構成例を示す図である。 図29は、本実施形態に係る表示装置DSPの第2変形例を示す図である。 図30は、図29に示した第1基板SUB1の構成例を示す図である。 図31は、本実施形態に係る表示装置DSPの第3変形例を示す図である。 図32は、第2実施形態に係る表示装置DSPの一構成例、およびその表示モードを示す図である。
以下、本実施形態について、図面を参照しながら説明する。なお、開示はあくまで一例に過ぎず、当業者において、発明の主旨を保っての適宜変更について容易に想到し得るものについては、当然に本発明の範囲に含有されるものである。また、図面は、説明をより明確にするため、実際の態様に比べて、各部の幅、厚さ、形状等について模式的に表される場合があるが、あくまで一例であって、本発明の解釈を限定するものではない。また、本明細書と各図において、既出の図に関して前述したものと同一又は類似した機能を発揮する構成要素には同一の参照符号を付し、重複する詳細な説明を適宜省略することがある。
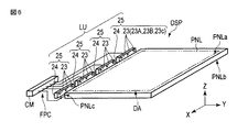
図1は、第1実施形態に係る表示装置DSPの一構成例を示す図である。
図示した例において、第1方向Xは、表示パネルPNLの短辺方向である。また、第2方向Yは、表示パネルPNLの長辺方向であり、第1方向Xと直交する方向である。また、第3方向Zは、第1方向Xおよび第2方向Yと直交する方向であり、表示パネルPNLの法線方向である。なお、第1方向X、第2方向Y、および第3方向Zは、互いに直交する方向に限定されるものではなく、互いに90°以外の角度で交差していてもよい。
図示した例において、表示装置DSPは、光透過性を有する表示パネルPNLと、表示パネルPNLを照明する光源ユニットLUと、を備えている。表示パネルPNLは、画像を表示する表示領域DAと、表示領域DAの周囲に位置する非表示領域NDAと、を備えている。表示パネルPNLは、例えば、四角形状のパネルであり、表面に相当する一方の主面PNLaと、裏面に相当する他方の主面PNLbと、主面PNLaおよびPNLbと交差する側面PNLcおよびPNLdと、を備えている、主面PNLaと主面PNLbとは、互いに第3方向Zで対向している。側面PNLcと側面PNLdとは、互いに第2方向Yで対向している。
光源ユニットLUは、表示パネルPNLの内部を照明するものである。光源ユニットLUは、表示装置DSPの表示領域DAにおける透明性を確保する観点から、表示領域DAと第3方向Zで対向する位置の外側に位置している。図示した例では、光源ユニットLUは、側面PNLcと第2方向Yで対向しており、側面PNLcに向かって光を出射し、光変調層OMを照明する。なお、光源ユニットLUは、1つに限定されるものではなく、2つ以上が配置されてもよく、例えば側面PNLcおよびPNLdのそれぞれに対向配置されていてもよい。光源ユニットLUは、必ずしも側面PNLcと第2方向Yで対向していなくてもよく、例えば、表示パネルPNLの法線方向に対して斜めの位置に配置され、主面PNLbに向かって光を出射するものであってもよい。
表示パネルPNLは、第1基板SUB1、第2基板SUB2、および光変調層OMを備えている。第1基板SUB1および第2基板SUB2は、それぞれ光透過性を有している。第1基板SUB1および第2基板SUB2は、互いに第3方向Zで対向しており、第1基板SUB1は主面PNLa側に配置され、第2基板SUB2は主面PNLb側に配置されている。光変調層OMは、第1基板SUB1と第2基板SUB2との間に位置している。光変調層OMは、表示領域DAの一部または全部において、光透過性を有する状態と、光散乱性を有する状態と、を可逆的に切り替えることができる。すなわち、光変調層OMは、光散乱性の強度を変調することができる。
表示領域DAには、複数の主画素PX(PX11、…、PXnm)が配置されている。主画素PXは、表示の最小単位に相当する。例えば、主画素PX11を基準にすると、主画素PX11、…、PXn1が、この順で第1方向Xに並んでいる。また、主画素PX11、…、PX1mが、この順で第2方向Yに並んでいる。主画素PX11は側面PNLdに近接する側に位置し、主画素PX1mは、側面PNLcに近接する側に位置している。主画素PXxyは、図示した例では、4つの副画素PAxy、PBxy、PCxy、およびPDxyを備えている。なお、xは、1〜nの正の整数であり、yは、1〜mの正の整数である。以下の説明において、副画素PAxy、PBxy、PCxy、およびPDxyを、それぞれ総称して、副画素PA、PB、PC、およびPDと称する場合がある。
主画素PXxyは例えば四角形状であり、副画素PAxyは、第1方向Xで副画素PBxyと隣り合い、第2方向Yで副画素PDxyと隣り合っている。副画素PCxyは、主画素PXxyにおける副画素PAxyの対角に位置し、第1方向Xで副画素PDxyと隣り合い、第2方向Yで副画素PBxyと隣り合っている。但し、副画素PA、PB、PC、およびPDは、互いの位置関係を上記に限定されるものではなく、互いの位置が入れ替わっていてもよい。
副画素PAxyに対応する領域には、カラーフィルタFAxyが配置されている。同様に、副画素PBxyに対応する領域にカラーフィルタFBxyが配置され、副画素PCxyに対応する領域にカラーフィルタFCxyが配置され、副画素PDxyに対応する領域にカラーフィルタFDxyが配置されている。各カラーフィルタFAxy、FBxy、FCxy、およびFDxyは、例えば、それぞれ、第2基板SUB2の副画素PAxy乃至PDxyに配置されている。すなわち、主画素PXxyは、カラーフィルタFAxy、FBxy、FCxy、およびFDxyを備えている。カラーフィルタFAxy、FBxy、FCxy、およびFDxyの互いの位置関係は、副画素PAxy、PBxy、PCxy、およびPDxyの互いの位置関係と同様である。なお、以下の説明において、カラーフィルタFAxy、FBxy、FCxy、およびFDxyを、それぞれ総称して、カラーフィルタFA、FB、FC、およびFDと称する場合がある。
一例では、副画素PAは、主面PNLaに赤色を表示するレッド(R)画素であり、カラーフィルタFAは、赤色光を透過させるレッド(R)カラーフィルタである。また、副画素PBは、主面PNLaに緑色光を表示するグリーン(G)画素であり、カラーフィルタFBは、緑色を透過させるグリーン(G)カラーフィルタである。また、副画素PCは、主面PNLaに青色を表示するブルー(B)画素であり、カラーフィルタFCは、青色光を透過させるブルー(B)カラーフィルタである。カラーフィルタFA、FB、およびFCは、図示した例では第2基板SUB2に配置されているが、これに限定されるものではなく、例えば第1基板SUB1に配置されてもよい。
一例では、副画素PDは、主面PNLaに黒色を表示するブラック(N)画素であり、カラーフィルタFDは、白色光を吸収するブラック(N)カラーフィルタである。このとき、副画素PDはダミー画素に相当し、カラーフィルタFDは光吸収層に相当する。カラーフィルタFDは、第2基板SUB2側に配置されているため、副画素PDは、駆動時に主面PNLbに白色を表示することができる。ダミー画素は、図示した例では主画素PXに含まれているが、例えば、主画素PXから独立して配置され、主画素PXの間に位置してもよい。
但し、副画素PA、PB、およびPCが表示する色は、上記に限定されるものではなく、それぞれ、互いに異なる第1乃至第3色であればよい。また、副画素PDが表示する色も、黒色に限定されるものではなく、第1乃至第3色よりも明度の低い第4色であればよい。この場合、カラーフィルタFA乃至FCは、それぞれ、第1乃至第3色を透過させるものであり、カラーフィルタFDは、カラーフィルタFA乃至FCよりも透過率が低く、第4色を透過させるものである。
なお、複数の主画素PXのうち少なくとも1つの画素において、副画素PA、PB、PCおよびPDのいずれか1つが白色を表示するホワイト(W)画素であってもよい。W画素に配置されるカラーフィルタは、白色光を透過させるホワイト(W)カラーフィルタである。但し、ここでいうW画素は、白色を表示するものに限定されるものではなく、第1乃至第3色よりも明度の高い第5色を表示するものであればよい。この場合、Wカラーフィルタは、表示パネルPNLを透過する光の色味を調整する目的で、薄く色付いた光を透過させるものであってもよい。
R、G、B、およびNカラーフィルタは、例えば、それぞれ赤色、緑色、青色、および黒色の色材によって着色された樹脂によって形成される。Wカラーフィルタは、無着色の透明な樹脂、または薄く着色された樹脂によって形成される。また、W画素は、白色を表示できればそれでよいため、Wカラーフィルタは、省略されてもよい。
図2は、図1に示した第1基板SUB1の一構成例を示す図である。
図示した表示パネルPNLは、いわゆるアクティブマトリクス型の表示パネルである。第1基板SUB1は、表示領域DAに対応する領域に複数の電極を有し、非表示領域NDAに対応する領域に駆動部DRを備えている。
副画素PAxyに対応する領域に、電極EAxyが配置されている。同様に、副画素PBxyに対応する領域に電極EBxyが配置され、副画素PCxyに対応する領域に電極ECxyが配置され、副画素PDxyに対応する領域に電極EDxyが配置されている。すなわち、主画素PXxyには、電極EAxy、EBxy、ECxy、およびEDxyが配置されている。また、電極EAxyは、図1に示したカラーフィルタFAxyと対向し、電極EBxyは、図1に示したカラーフィルタFBxyと対向し、電極ECxyは、図1に示したカラーフィルタFCxyと対向し、電極EDxyは、図1に示したカラーフィルタFDxyと対向している。なお、以下の説明において、電極EAxy、EBxy、ECxy、およびEDxyを、それぞれ総称して、電極EA、EB、EC、およびEDと称する場合がある。
駆動部DRは、第1ドライバDr1および第2ドライバDr2を備えている。第1ドライバDr1は、画像を表示するためのデータ信号を電極EA乃至EDに供給するデータ線駆動回路に相当する。第1ドライバDr1からは、i本のデータ線S(S1、S2、…、Si)が表示領域DAに向かい引き出されている。複数のデータ線Sは、表示領域DAにおいて、例えば、第2方向Yに延在し、第1方向Xに並んでいる。第2ドライバDr2は、電極EA乃至EDへのデータ信号の入力を制御する走査信号を供給する走査線駆動回路に相当する。第2ドライバDr2からは、j本の走査線G(G1、G2、…、Gj)が表示領域DAに向かい引き出されている。複数の走査線Gは、表示領域DAにおいて、例えば、第1方向Xに延在し、第2方向Yに並んでいる。一例として、データ線S1は、画素電極EA11、EB11、…、EAn1、EBn1のそれぞれにデータ信号を伝達する。また、走査線G1は、画素電極EA11、ED11、…、EA1m、ED1mのそれぞれに走査信号を伝達する。但し、データ線Sおよび走査線Gの延在方向は、特に限定されるものではなく、それぞれ一部が屈曲していてもよい。また、データ線Sが第1方向Xに延在し、走査線Gが第2方向Yに延在していてもよい。
図3は、図1に示した表示パネルPNLの一構成例を示す断面図である。
なお、本図に示した断面は、第2方向Yに隣り合う主画素PX11およびPX13を含む領域であり、副画素PAおよびPDを含む第2方向Yに沿った断面の一例である。主画素PX11には、カラーフィルタFA11、FD11、および電極EA11、ED11が配置され、主画素PX13には、カラーフィルタFA13、FD13および電極EA13、ED13が配置されている。
第1基板SUB1は、絶縁基板10、電極EA11、ED11、EA13、ED13、および配向膜AL1を備えている。絶縁基板10は、光透過性を有するガラス基板や樹脂基板によって形成されている。電極EA11、ED11、EA13、およびED13は、絶縁基板10の第2基板SUB2に近接する側に配置され、第2方向Yに沿ってこの順に並んでいる。電極EA11、ED11、EA13、およびED13は、互いに第2方向Yに離間している。そして、電極ED11と電極EA13との間隔は、電極EA11と電極ED11との間隔よりも大きい。電極EA、EDは、透明導電材料によって形成されており、例えば、インジウム錫酸化物(ITO)やインジウム亜鉛酸化物(IZO)によって形成されている。配向膜AL2は、絶縁基板10、および電極EA、EDの第2基板SUB2に近接する側に配置されており、例えば電極EA、EDを覆っている。
第2基板SUB2は、絶縁基板20、カラーフィルタFA11、FD11、FA13、FD13、オーバーコート層OC、共通電極CE、および配向膜AL2を備えている。また、図示した例では、複数の光反射層RFを備えている。絶縁基板20は、光透過性を有するガラス基板や樹脂基板によって形成されている。
カラーフィルタFA11、FD11、FA13、およびFD13は、絶縁基板20の第1基板SUB1に近接する側に配置され、それぞれ電極EA11、ED11、EA13、およびED13と第3方向Zで対向している。カラーフィルタFA11とカラーフィルタFD11とは、第2方向YにおいてピッチPT1で隣り合っており、図示した例では互いに接触している。カラーフィルタFD11とカラーフィルタFA13とは、第2方向YにおいてピッチPT1よりも大きいピッチPT2で隣り合い、互いに離間している。カラーフィルタFD11とカラーフィルタFA13との間には、例えばオーバーコート層OCが位置している。カラーフィルタFA13とカラーフィルタFD13とも、第2方向YにおいてピッチPT1で隣り合っている。なお、ここで言うピッチとは、隣り合う夫々のカラーフィルタの中心同士の間隔を意味するものとする。但し、ピッチとは、隣り合う夫々のカラーフィルタの第2方向Yの矢印が位置する側(またはその反対側)の端部同士の間隔を意味するものであってもよい。つまり、ピッチPT1は、電極EA11の中心と電極ED11の中心との第2方向Yにおける間隔に相当する。また、ピッチPT2は、電極ED11の中心と電極EA13の中心との第2方向Yにおける間隔に相当する。
図示した例では、カラーフィルタFDが光吸収層に相当し、光吸収層と光変調層OMとの間に、光反射層RFが配置されている。光反射層RFは、カラーフィルタFDの主面PNLb側に配置されていればよい。光反射層RFは、光反射性の高い金属材料によって形成されており、主面PNLa側へ向かう光を主面PNLb側へ反射する。従って、ダミー画素に相当する副画素PDの主画素PNLa側の輝度を抑制し、主画素PNLb側の輝度を向上させることができる。第2基板SUB2に光反射層RFが配置されている場合、ダミー画素の光変調層OMから主面PNLaへの光は光反射層RFが遮光することができる。このため、カラーフィルタFDは、Nカラーフィルタに限定されず、黒色よりも明度の高い色であってもよい。カラーフィルタFDは、光反射層RFのカラーフィルタFD側での反射光を低減できる色であれば、主面PNLaに表示される画像のぎらつきを抑制することができる。
オーバーコート層OCは、絶縁基板20およびカラーフィルタFA、FDの第1基板SUB1に近接する側に配置され、例えばカラーフィルタFAおよび光反射層RFを覆っている。もしもカラーフィルタFD11がWカラーフィルタであるとすると、カラーフィルタFD11は省略され、カラーフィルタFD11の位置にはオーバーコート層が配置されていてもよい。
共通電極CEは、オーバーコート層OCの第1基板SUB1に近接する側に配置され、例えばオーバーコート層OCを覆っている。共通電極CEは、第3方向Zで複数の電極EA11、EA13、ED11、およびED13と対向している。また、共通電極CEは、主画素PX11と主画素PX13との間の領域にも延在しており、電極ED11と電極EA13との間の領域にも配置されている。共通電極CEは、ITOやIZOなどの透明導電材料によって形成されている。配向膜AL2は、共通電極CEの第1基板SUB1と対向する側に配置され、例えば共通電極CEを覆っている。
光変調層OMは、第1基板SUB1と第2基板SUB2との間に位置し、配向膜AL1およびAL2に隣接している。光変調層OMは、電極EA、EB、EC、およびEDのそれぞれによって生じる電場の大きさや向きに応じて、副画素PA、PB、PC、およびPDのそれぞれに対応する領域の光散乱性を変調することができる。例えば、光変調層OMは、電極EAに電圧が印加されていない時にカラーフィルタFAに対応する領域に入射する光を散乱させ、電極EAに電圧が印加されている時にカラーフィルタFAに対応する領域に入射する光を透過させる。光変調層OMは、例えば、バルク31と、バルク31内に分散配置された複数の微粒子32とを含んだ複合層となっている。微粒子32は第1領域に相当し、バルク31は第2領域に相当する。
バルク31および微粒子32は、光学率異方性を有している。例えば、微粒子32に含まれる液晶材料(後述する液晶分子LM)の屈折率異方性の大きさは、バルク31の高分子材料を構成するモノマーの屈折率異方性の大きさと等しい。また、バルク31および微粒子32は、電場に対する応答速度が互いに異なっている。例えば、バルク31は、電場に対して応答しない筋状構造もしくは多孔質構造となっている。または、バルク31は、微粒子32の応答速度よりも遅い応答速度を有する筋状構造もしくは棒状構造となっている。バルク31は、例えば、配向性および重合性を有する低分子のモノマーを熱および光の少なくとも一方によって重合化することにより得られる固形の高分子材料によって構成されている。一方、微粒子32は、例えば、液晶材料を主に含んで構成されており、バルク31よりも分子自由度の高い液状である。つまり、微粒子32は、バルク31の応答速度よりも十分に早い応答速度を有している。
バルク31のモノマーや微粒子32の液晶材料は、配向膜AL1およびAL2から配向規制力を受けて配向する。配向膜AL1およびAL2は、垂直配向膜や水平配向膜であるが、モノマーや液晶材料を配向させるものであれば特に限定されるものではなく、例えばポリイミドやポリアミドイミドによって形成される。モノマーが配向した状態で重合されることで、バルク31(高分子材料)の分子配向が固定化される。なお、配向膜AL1およびAL2を用いることなくモノマーを配向させることが可能な場合には、配向膜AL1およびAL2は省略されてもよい。例えば、電極EAと共通電極CEとの間、または電極EDと共通電極CEとの間に電場や磁場を印加することによっても、光変調層OMに用いられる液晶材料やモノマーを配向させることが可能である。つまり、電極EA(EB、EC、およびED)と共通電極CEとの間に電場や磁場を印加させながらモノマーを重合することで、バルク31(高分子材料)の分子配向を固定化することができる。液晶材料やモノマーの配向に電場を用いる場合には、配向用と駆動用とで別々の電極を形成するか、液晶材料に周波数によって誘電率異方性の符号が反転する二周波液晶などを用いることができる。また、液晶材料やモノマーの配向に磁場を用いる場合、液晶材料やモノマーとして磁化率異方性の大きい材料を用いることが好ましく、例えば、ベンゼン環の多い材料を用いることが好ましい。
バルク31を形成する配向性および重合性を有するモノマーとしては、光学的に異方性を有しており、かつ液晶と複合する材料であればよいが、本実施の形態では紫外線で硬化する低分子モノマーであることが好ましい。微粒子32として液晶材料が用いられる場合に、その液晶材料が棒状分子であるときには、使用するモノマー材料の形状も棒状であることが好ましい。以上のことから、モノマー材料としては重合性と液晶性を併せ持つ材料を用いることが好ましく、例えば、重合性官能基として、アクリレート基、メタクリレート基、アクリロイルオキシ基、メタクリロイルオキシ基、ビニルエーテル基およびエポキシ基からなる群から選ばれた少なくとも1つの官能基を有することが好ましい。これらの官能基は、紫外線、赤外線または電子線を照射したり、加熱したりすることによって重合させることができる。紫外線照射時の配向度低下を抑制するために、多官能基をもつ液晶性材料を添加することもできる。バルク31を上述した筋状構造とする場合には、バルク31の原料として、2官能液晶性モノマーを用いることが好ましい。また、バルク31の原料に対して、液晶性を示す温度の調整を目的に単官能モノマーを添加したり、架橋密度向上を目的に3官能以上のモノマーを添加したりすることもできる。
ところで、光変調層OMで散乱された光は、主面PNLa側と主面PNLb側との両方に向かって散乱される。従って、上記の様な、R、G、B、およびNカラーフィルタが第2基板SUB2に配置されている構成では、駆動時(後述する散乱モード)のR画素は、主面PNLaに赤色を表示すると共に、主面PNLbに薄い赤色を表示する。これは、R画素の光変調層OMにおいて主面PNLaへ向かって散乱された光の一部が、Rカラーフィルタを透過した後に第2基板SUB2の各部材の界面で反射されて主面PNLbへ向かうためである。第2基板SUB2での反射光が弱い場合、駆動時のR画素は、主面PNLbに白色を表示する。同様に、駆動時のG画素も、主面PNLbに薄い緑色または白色を表示し、駆動時のB画素も、主面PNLbに薄い青色または白色を表示する。駆動時のダミー画素は、主面PNLbに白色を表示する。
図4は、図1に示した表示パネルPNLの他の構成例を示す断面図である。
図示した構成例は、共通電極CEが不連続である点で、図3に示した構成例と相違している。すなわち、共通電極CEは、互いに第2方向Yで離間する共通電極CE1およびCE2を備えている。
共通電極CE1は、電極EA11およびED11と対向している。共通電極CE2は、電極EA13およびED13と対向している。電極ED11と電極EA13との間の領域に対向する位置、すなわち主画素PX11と主画素PX13との間の領域には、共通電極CEが配置されていない。このため、主画素PX間の光透過率が向上し、表示パネルPNLの光透過率を向上させることができる。
図5は、図1に示した表示パネルPNLの他の構成例を示す断面図である。
図示した構成例は、複数の遮光層BMを備えている点で、図3に示した構成例と相違している。遮光層BMは、遮光性を有しており、例えば黒色樹脂や黒色金属によって形成されている。遮光層BMは、絶縁基板20の第1基板SUB1と対向する側に配置されている。複数の遮光層BMは、それぞれ、カラーフィルタFA11、FD11、FA13、およびFD13の第2方向Yにおける端部と、第3方向Zで対向している。また、遮光層BMは、例えば、電極EA11、ED11、EA13、およびED13の第2方向Yにおける端部と、第3方向Zで対向していてもよい。遮光層BMは、図示しないデータ線Sや走査線Gと第3方向Zで対向し、配線における反射光を遮光することができる。また、1つの電極に対応する領域において変調された光が別の電極と第3方向Zで対向するカラーフィルタを透過することで生じる混色を抑制することができる。
図6は、図1に示した光源ユニットLUの一構成例を示す図である。
光源ユニットLUは、例えば、複数の光源23を第2方向Yに一列に配置して構成されている。各光源23は、側面PNLcに向かって光を射出するようになっており、例えば、側面PNLcとの対向面に発光スポットを有する発光素子からなる。そのような発光素子としては、例えば、発光ダイオード(LED;Light Emitting Diode)、またはレーザダイオード(LD;Laser Diode)などが挙げられる。
複数の光源23は、例えば、互いに色の異なる光を出射する2個以上の光源23ごとに、共通の基板24上に配置されている。この場合、1つの基板24と、その基板24上に配置された複数の光源23とにより、光源ブロック25が構成されている。光源ブロック25は、例えば、白色光を照明可能に構成されている。図示した例では、光源ブロック25は、3つの光源23A、23B、および23Cを備えている。光源23A、23B、および23Cは、それぞれ、赤色光を出射するレッド(R)光源、緑色光を出射するグリーン(G)光源、青色光を出射するブルー(B)光源であり、全てを点灯することで、光源ブロック25を白色光源として機能させることができる。
基板24は、例えば、光源23、光源23の駆動を制御する駆動回路CM(後述する制御部100の一部)と、を電気的に接続する配線が形成された回路基板であり、各光源23は、この回路基板上に実装されている。共通の基板24上に配置された各光源23(光源ブロック25内の各光源23A、23B、23C)は、駆動回路CMによって互いに独立に駆動されるようになっているが、一括で(非独立に)駆動されるようになっていてもよい。また、互いに異なる基板24上に配置された光源23(各光源ブロック25内の光源23)は、例えば、駆動回路CMによって互いに独立に駆動されるようになっており、例えば、互いに異なる電流経路に接続されている。互いに異なる基板24上に設けられた光源23(各光源ブロック25内の光源23)は、例えば、駆動回路CMによって一括で(非独立に)駆動されるようになっていてもよい。各々の基板24に配置された複数の光源23A、複数の23B、および複数の23Cが、それぞれ一括で駆動されてもよい。
表示装置DSPは、図示した例では、外光Loutおよび照明光Linのうち少なくとも一方を利用することで主面PNLaに画像を表示する。外光Loutは、主面PNLbから表示パネルPNLに入射する光であり、例えば、太陽光や外部照明などの環境光に相当する。外光Loutの入射面は、主面PNLbである。照明光Linは、光源ユニットLUから表示パネルPNLに入射する光である。照明光Linの入射面は、例えば側面PNLcである。表示装置DSPは、画像の表示において、外光Loutまたは照明光Linのいずれか一方のみを利用する構成であってもよく、両方を利用する構成であってもよい。また、表示装置DSPは、外部環境に応じて、外光Loutおよび照明光Linを適宜選択して、画像を表示するものであってもよい。但し、表示装置DSPは、外光Loutのみを利用して画像を表示する構成であってもよく、この時には光源ユニットLUは省略される。
表示パネルPNLは、外光Loutまたは照明光Linを、表示領域DAの一部または全部で、透過または散乱させることで画像を表示する。光変調層OMが光散乱性を示す状態を散乱モードと呼び、光変調層OMが光散乱性を示さず散乱モードよりも光透過の高い状態と透過モードと呼ぶこととする。表示パネルPNLは、表示に寄与する副画素を散乱モードとし、表示に寄与しない副画素を透過モードとすることで、画像を表示する。図7および図8を参照して、光変調層OMの光散乱性の変化の原理を模式的に説明する。図7は、電場が形成されていない状態の光変調層OMを示し、図8は、電場が形成されている状態の光変調層OMを示している。
図7は、光変調層OMが散乱性を示す時の表示パネルPNLの模式図である。
ここでは、電源PSは共通電極CEと電気的に接続されているが、電極EAと電源PSとを結ぶ配線のスイッチSWが開いている。すなわち、電極EAに電圧が印加されておらず、電極EAと共通電極CEとの間に電位差が生じていない。
微粒子32(液晶滴LQ)内に含まれる液晶材料(液晶分子LM)は、例えば棒状分子である。液晶分子LMは、液晶滴LQの中において、ランダムに配向している。この時、外光Loutおよび照明光Linに対するバルク31の屈折率と微粒子32の屈折率とは、互いに異なっている。従って、外光Loutおよび照明光Linは、バルク31と微粒子32との界面において屈折する。これにより、外光Loutおよび照明光Linは、光変調層OMにおいて散乱され、外光Loutおよび照明光Linの散乱光は、主面PNLaおよびPNLbから出射される。
図8は、光変調層OMが透過性を示す時の表示パネルPNLの模式図である。
ここでは、スイッチSWが閉じており、電極EAに電源PSから電圧が印加され、電極EAと共通電極CEとの間に電位差が生じている。
図示した例では、液晶分子LMは、正の誘電率異方性を有する、いわゆるポジ型液晶である。このため、液晶分子LMは、液晶滴LQの中において、光変調層OMに形成される電場の方向である第3方向Zに配向する。この時、例えばバルク31を構成する高分子の屈折率異方性と液晶分子LMの屈折率異方性とが一致して、外光Loutおよび照明光Linに対するバルク31の屈折率と微粒子32の屈折率とが、互いに同等となる。従って、外光Loutは、光変調層OMを殆ど散乱されずに透過し、主面PNLaから出射される。また照明光Linも、光変調層OMを殆ど散乱されずに透過する。
以上説明した様に、光変調層OMは、電極EAへの印加電圧のオンオフ、すなわち光変調層OMに形成される電場の有無によって、光透過性と光散乱性とを切り替えることができる。
なお、光変調層OMは、図7および図8において説明した構成では電場が形成されていない時に散乱性を示しているが、これは一例に過ぎず、電場が形成されている時に散乱性を示す構成であってもよい。電場が形成されている時に光変調層OMが散乱性を示す構成としては、例えば、バルク31が高分子の分子配向に沿って第2方向Yに延在する筋状構造を有し、液晶分子LMがバルク31の筋状構造に沿って配向する負の誘電率異方性を有するネガ型液晶である構成が考えられる。この様な構成においては、電場が形成されない時に、液晶分子LMが第2方向Yに配向し、バルク31と微粒子32との屈折率異方性が一致する。そして、電場が形成されている時に、液晶分子LMが第3方向Zに配向し、バルク31と微粒子32との屈折率異方性が相違する。
以上の様に本構成例において、表示装置DSPは、外光Loutまたは照明光Linを透過または散乱させることで、画像を表示する。主画素PXは、R画素、B画素、G画素およびダミー画素を備えているため、主面PNLaに画像をカラー表示することができる。このとき、主面PNLbには反転画像がモノクロまたは薄いカラーで表示されるが、複数のダミー画素を不規則、または規則的(例えば格子状)に駆動することで、表示装置DSPは、主面PNLaに表示される画像の視認性を低下させることなく、主面PNLbに表示される反転画像の視認性を低下させることができる。
また、ダミー画素に光反射層RFが配置されている場合、ダミー画素の主面PNLb側の輝度が向上するため、主面PNLbに表示される反転画像の視認性をより低下させることができる。光吸収層がNカラーフィルタである場合、ダミー画素を駆動した際の主面PNLa側への光漏れを抑制することができるため、主面PNLaに表示される画像の表示品位の低下を抑制するこができる。
また、上記の構成例では、R、G、Bカラーフィルタ、および光吸収層が第2基板SUB2に配置されているため、表示装置DSPは、主面PNLbから表示パネルPNLに入射する外光Loutを利用して画像を表示する場合だけではなく、側面PNLcから表示パネルPNLに入射する照明光Linを利用して画像を表示する場合でも、同様の効果を得ることができる。
したがって、本実施形態によれば、裏面側からの情報取得が困難な表示装置を提供することができる。
表示装置DSPは、カラーフィルタの密度を変更することで、表示パネルPNLの透明性を変更するこができる。つまり、ピッチPT2をピッチPT1よりも大きく設定することにより、必要な解像度が得られる範囲で、表示パネルPNLの透過率を向上させることができる。また、ダミー画素の位置は、主画素PX内に限定されるものではなく、主画素PXの間であってもよい。このようなカラーフィルタの配置例について、以下に説明する。なお、以下の配置例では一例として、第1色のカラーフィルタはレッドカラーフィルタCFRとし、第2色のカラーフィルタはグリーンカラーフィルタCFGとし、第3色のカラーフィルタはブルーカラーフィルタCFBとし、第4色のカラーフィルタ(光吸収層)はブラックカラーフィルタCFNとし、第5色のカラーフィルタはホワイトカラーフィルタCFWとして説明するが、これらに限定されるものではく、第1色乃至第5色は、図1で説明した様な他の色であってもよい。第1乃至第5色のカラーフィルタの位置および面積は、それぞれ第1乃至第5色の副画素の位置および面積に相当する。このため、以下の説明において、R、G、B、N、Wカラーフィルタは、それぞれ、R、G、B、N、W画素と読み変えることが可能である。
図9は、カラーフィルタの一配置例を示す図である。
主画素PX(PX11,PX31,PX22,PX13,PX33)は、それぞれ、図1に図示した様に、レッドカラーフィルタCFR、グリーンカラーフィルタCFG、ブルーカラーフィルタCFB、およびブラックカラーフィルタ(光吸収層)CFNを備えている。レッドカラーフィルタCFRは右下がりの斜線パターンで示す領域であり、グリーンカラーフィルタCFGは右上がりの斜線パターンで示す領域であり、ブルーカラーフィルタCFBは格子パターンで示す領域であり、ブラックカラーフィルタCFNはドットパターンで示す領域である。
図示した例において、主画素PXは、第2方向Yの幅W1、および第1方向Xの幅W3を有する四角形の画素である。主画素PX11および主画素PX31は、第1方向Xに沿った同一直線上に、間隔W4を空けて並んでいる。主画素PX11および主画素PX13は、第2方向Yに沿った同一直線上に、間隔W2を空けて並んでいる。つまり、主画素PX31のレッドカラーフィルタCFRと、主画素PX11のグリーンカラーフィルタCFGと、の互いに対向する側の端部は、間隔W4を空けて対向している。また、主画素PX13のグリーンカラーフィルタCFGと、主画素PX11のブルーカラーフィルタCFBと、の互いに対向する側の端部は、間隔W2を空けて対向している。なお、主画素PX13および主画素PX33も、第1方向Xに沿った同一直線上に、間隔W4を空けて並んでいる。主画素PX31および主画素PX33も、第2方向Yに沿った同一直線上に、間隔W2を空けて並んでいる。夫々の主画素PXの間の領域は、カラーフィルタの配置されていない透明な領域である。
一例では、間隔W4は、幅W3と等しく、間隔W2は、幅W1と等しい。つまり主画素PXは、それぞれ、第1方向Xおよび第2方向Yに、一画素分の間隔を空けて並んでいる。間隔W2は、幅W1よりも大きくてもよく、間隔W4は、幅W3よりも大きくてもよい。カラーフィルタのピッチという観点から見ると、互いに異なる画素に配置され第2方向Yに隣り合うカラーフィルタのピッチPT2は、同一画素内に配置され第2方向Yに隣り合うカラーフィルタのピッチPT1の3倍以上である。また、互いに異なる画素に配置され第1方向Xに隣り合うカラーフィルタのピッチPT4は、同一画素内に配置され第1方向Xに隣り合うカラーフィルタのピッチPT3の3倍以上である。
主画素PX22は、主画素PX11と主画素PX33との間に位置し、主画素PX31と主画素PX13との間に位置している。主画素PX22のレッドカラーフィルタCFRの角は、主画素PX11のブルーカラーフィルタCFBの角と隣接している。主画素PX22のグリーンカラーフィルタCFGの角は、主画素PX31のブラックカラーフィルタCFNの角と隣接している。主画素PX22のブルーカラーフィルタCFBの角は、主画素PX33のレッドカラーフィルタCFRの角と隣接している。主画素PX22のブラックカラーフィルタCFNの角は、主画素PX13のグリーンカラーフィルタCFGの角と隣接している。つまり、主画素PX22は、主画素PX11と主画素PX31との間、主画素PX11と主画素PX13との間、主画素PX33と主画素PX31との間、および、主画素PX33と主画素PX13との間、には位置していない。
この様な千鳥状に主画素PXが配置された構成においては、光源ユニットLUから出射されて主画素PX11に対応する領域を照明する光が、主画素PX22に対応する領域において散乱されて減衰することを抑制可能である。つまり、表示領域DAにおいて光源ユニットLUから表示箇所までの距離に応じた輝度の勾配(表示ムラ)の発生を抑制し、表示装置DSPの表示品位を向上させることができる。
図10は、図9に示したカラーフィルタの配置例に対応するデータ線Sおよび走査線Gの一構成例を示す図である。
レッドカラーフィルタCFR、グリーンカラーフィルタCFG、ブルーカラーフィルタCFB、およびブラックカラーフィルタCFNのそれぞれに対向する電極として、主画素PX11は電極EA11、EB11、EC11、およびED11を備え、主画素PX31は電極EA31、EB31、EC31、およびED31を備え、主画素PX22は電極EA22、EB22、EC22、およびED22を備え、主画素PX13は電極EA13、EB13、EC13、およびED13を備え、主画素PX33は電極EA33、EB33、EC33、およびED33を備えている。
電極EA11、ED11、EA13、およびED13は、データ線S1によってデータ信号を供給される。電極EB11、EC11、EB13、およびEC13は、データ線S2によってデータ信号を供給される。電極EA22およびED22は、データ線S3によってデータ信号を供給される。電極EB22およびEC22は、データ線S4によってデータ信号を供給される。電極EA31、ED31、EA33、およびED33は、データ線S5によってデータ信号を供給される。電極EB31、EC31、EB33、およびEC33は、データ線S6によってデータ信号を供給される。
電極EA11、EB11、EA31、およびEB31は、走査線G1によって駆動を制御される。電極ED11、EC11、ED31、およびEC31は、走査線G2によって駆動を制御される。電極EA22およびEB22は、走査線G3によって駆動を制御される。電極ED22およびEC22は、走査線G4によって駆動を制御される。電極EA13、EB13、EA33、およびEB33は、走査線G5によって駆動を制御される。電極ED13、EC13、ED33、およびEC33は、走査線G6によって駆動を制御される。
図11は、図9に示したカラーフィルタの配置例に対応するデータ線Sおよび走査線Gの他の構成例を示す図である。
本構成例は、データ線S4および走査線G3が配置されていない点で、図10に示した構成例と相違している。図示した例では、電極ED11、EA11、EB11、ED31、EA31、及びEB31は、走査線G1によって駆動を制御される。電極EC11、EA22、EB22、及びEC31は、走査線G2によって駆動を制御される。電極ED22及びEC22は、走査線G4によって駆動を制御される。電極ED13、EA13、EB13、ED33、EA33、及びEB33は、走査線G5によって駆動を制御される。電極EC13及びEC33は、走査線G6によって駆動を制御される。また、電極ED11及びED13は、データ線S1によってデータ信号を供給される。電極EA11、EC11、EA13、及びEC13は、データ線S2によってデータ信号を供給される。電極EB11、EA22、ED22、及びEB13は、データ線S3によってデータ信号を供給される。電極ED31、EB22、EC22及びED33は、データ線S5によってデータ信号を供給される。電極EA31、EC31、EA33、及びEC33は、データ線S6によってデータ信号を供給される。電極EB31及びEB33は、データ線S7によってデータ信号を供給される。
本構成例によれば、データ線Sの本数、および走査線Gの本数を削減することができ、表示パネルPNLの透過率を向上させることができる。
図12は、図9に示したカラーフィルタの配置例に対応するデータ線Sおよび走査線Gの他の構成例を示す図である。
本構成例は、データ線S2、S4、S6が配置されていない点で、図10に示した構成例と相違している。図示した例では、電極EB11、EC11、EA22、ED22、EB13、およびEC13は、データ線S3によってデータ信号を供給される。電極EA31、ED31、EB22、EC22、EA33、およびED33は、データ線S5によってデータ信号を供給される。電極EB31、EC31、EB33、およびEC33は、データ線S7によってデータ信号を供給される。本構成例によれば、データ線Sの本数を削減することができる。
図13は、カラーフィルタの他の配置例を示す図である。
本配置例は、主画素PX22が省略され主画素PXがマトリクス状に配列されている点、およびブラックカラーフィルタCFNの一部がホワイトカラーフィルタCFWに置換されている点で、図9に示した配置例と相違している。ホワイトカラーフィルタCFWは、ドットパターンと右下がりの斜線パターンの組み合わせで示す領域である。
間隔W2は、特に限定されず、幅W1よりも小さくてもよい。また、間隔W4も、特に限定されず、幅W3よりも小さくてもよい。主画素PX11およびPX33は、図9に示した配置例と同様、レッドカラーフィルタCFR、グリーンカラーフィルタCFG、ブルーカラーフィルタCFB、およびブラックカラーフィルタCFNを備えている。主画素PX31およびPX13は、レッドカラーフィルタCFR、グリーンカラーフィルタCFG、およびブルーカラーフィルタCFBを備えており、ブラックカラーフィルタCFNに代わってホワイトカラーフィルタCFWを備えている。つまり、主画素PX11のブラックカラーフィルタCFN、主画素PX11のブルーカラーフィルタCFB、主画素PX31のホワイトカラーフィルタCFW、および主画素PX31のブルーカラーフィルタCFBが、この順に第1方向Xに並んでいる。また、主画素PX11のレッドカラーフィルタCFR、主画素PX11のブラックカラーフィルタCFN、主画素PX13のレッドカラーフィルタCFR、および主画素PX13のホワイトカラーフィルタCFWが、この順に第2方向Yに並んでいる。
ブラックカラーフィルタCFNを備えた主画素PXと、ホワイトカラーフィルタCFWを備えた主画素PXとは、図示した例では、数の比率が1:1となる様に配置されているが、これに限定されるものではなく、ブラックカラーフィルタCFNを備えた主画素PXが、ホワイトカラーフィルタCFWを備えた主画素PXよりも多くてもよい。逆に、ホワイトカラーフィルタCFWを備えた主画素PXが、ブラックカラーフィルタCFNを備えた主画素PXよりも多くてもよい。また、ブラックカラーフィルタCFNを備えた主画素PXと、ホワイトカラーフィルタCFWを備えた主画素PXとは、図示した例では第1方向Xおよび第2方向Yに交互に並んでいるが、これに限定されるものではなく、例えば、第1方向Xには交互に並び、第2方向Yにそれぞれ同じ構成の主画素PX同士で並んでいてもよい。
なお、ブラックカラーフィルタCFNは、図示した例では、ホワイトカラーフィルタCFWに代わって配置されているが、レッドカラーフィルタCFR、グリーンカラーフィルタCFG、およびブルーカラーフィルタCFBのうちいずれかに代わって配置されていてもよい。つまり、画素PXは、レッドカラーフィルタCFR、グリーンカラーフィルタCFG、およびブルーカラーフィルタCFBのうちいずれか2つを備え、且つ、ホワイトカラーフィルタCFWおよびブラックカラーフィルタCFNを備えていてもよい。
本変形例によれば、複数の主画素PXのうちいくつかは、N画素ではなくW画素を備えている。このため、表示装置DSPは、表示パネルPNLの透過率を向上させることができ、また、主面PNLaに表示される画像の輝度を向上させることができる。
図14は、カラーフィルタの他の配置例を示す図である。
図示した配置例は、主画素PX22が省略され主画素PXがマトリクス状に配列されている点、および主画素PXのブラックカラーフィルタCFNが全てホワイトカラーフィルタCFWに置換されている点で、図9に示した配置例と相違している。ブラックカラーフィルタCFNは、主画素PXの間に位置している。
主画素PX11、PX31、PX13、PX33は、それぞれ、レッドカラーフィルタCFR、グリーンカラーフィルタCFG、ブルーカラーフィルタCFBを備え、ブラックカラーフィルタCFNに代わってホワイトカラーフィルタCFWを備えている。主画素PX11と主画素PX31との間には、ブラックカラーフィルタCFNが配置されたダミー画素PDMが形成されている。同様に、主画素PX13と主画素PX33との間、主画素PX11と主画素PX13との間、および、主画素PX31と主画素PX33との間に、ダミー画素PDMが形成されている。表示パネルPNLの透過率を向上させる観点から、主画素PXとダミー画素PDMとは、互いに離間していることが望ましく、主画素PXのカラーフィルタとブラックカラーフィルタCFNとの間の領域には、カラーフィルタが配置されていないことが望ましい。なお、ブラックカラーフィルタCFNは、第1方向Xまたは第2方向Yにおける主画素PXの間に配置されるものと限定されるものではなく、例えば、第1方向Xおよび第2方向Yと交差する方向において、主画素PX11と主画素PX33との間に配置されてもよい。
表示パネルPNLの光透過率の低下を抑制する観点から、ブラックカラーフィルタCFNの面積は、1つの主画素PXに含まれるレッドカラーフィルタCFR、グリーンカラーフィルタCFG、ブルーカラーフィルタCFB、およびホワイトカラーフィルタCFWの面積の和よりも小さいことが望ましい。つまり、ダミー画素PDMは、主画素PXよりも小さいことが望ましい。また、主面PNLbに表示される反転画像の視認性を充分に低下させる観点から、ブラックカラーフィルタCFNの面積は、1つの主画素PXに含まれるレッドカラーフィルタCFR、グリーンカラーフィルタCFG、ブルーカラーフィルタCFB、およびホワイトカラーフィルタCFWのうち最小のものの面積と同等以上であることが望ましい。
従って、ダミー画素PDMの第2方向Yの幅W8は、幅W1よりも小さく、間隔W2よりも小さいことが望ましい。ダミー画素PDMの第1方向Xの幅W9は、幅W3よりも小さく、間隔W4よりも小さいことが望ましい。ブラックカラーフィルタCFNと、主画素PXのカラーフィルタとが、第2方向YにおいてピッチPT5で隣り合い、第1方向XにおいてピッチPT6で隣り合っているとする。このとき、ピッチPT5はピッチPT1よりも大きく、ピッチPT6はピッチPT3よりも大きいことが望ましい。
この様な配置例においても、上記したのと同様の効果を得ることができる。
図15は、主画素PX中のカラーフィルタの構成例を示した図である。
上記のカラーフィルタの配置例において、主画素PX中のカラーフィルタの構成は、特に限定されるものではなく、本図に示したストライプ状の配置であってもよい。
図示した例において、レッドカラーフィルタCFR、グリーンカラーフィルタCFG、ブルーカラーフィルタCFBは、第2方向Yにストライプ状に延在し、第1方向Xに並んでいる。ブラックカラーフィルタCFNまたはホワイトカラーフィルタCFWも、第2方向Yにストライプ状に延在し、レッドカラーフィルタCFR、グリーンカラーフィルタCFG、ブルーカラーフィルタCFBのいずれかと第1方向Xで隣り合っている。
上記の構成のカラーフィルタを有する主画素PXは、例えば、図9、図13、および図14に示した配置例に適用可能である。以上の配置例は、主画素PXに4つのカラーフィルタが配置されている場合の配置例であるが、主画素PXに3つのカラーフィルタが配置されている場合であっても、上記と同様の効果を得ることができる。次に、主画素PXが3つのカラーフィルタで構成される場合の配置例について説明する。
図16は、カラーフィルタの他の配置例を示す図である。
図示した配置例は、主画素PXがマトリクス状に配列されている点と、それぞれの主画素PXにレッドカラーフィルタCFR、グリーンカラーフィルタCFG、ブルーカラーフィルタCFB、およびブラックカラーフィルタCFNのうちいずれか3つがストライプ状に配置されている点と、で図9に示した配置例と相違している。
主画素PX11、PX31、およびPX51は、この順に第1方向Xに間隔を空けて並んでいる。同様に、主画素PX13、PX33,およびPX53は、この順に第1方向Xに間隔を空けて並び、主画素PX15、PX35、およびPX55は、この順に第1方向Xに間隔を空けて並んでいる。主画素PX11、PX13、およびPX15は、この順に第2方向Yに間隔を空けて並んでいる。同様に、主画素PX31、PX33、およびPX35は、この順に第2方向Yに間隔を空けて並び、主画素PX51、PX53、およびPX55は、この順に第2方向Yに間隔を空けて並んでいる。
主画素PX11には、ブラックカラーフィルタCFN、グリーンカラーフィルタCFG、およびブルーカラーフィルタCFBが、この順に第1方向Xに並んで配置されている。主画素PX31には、レッドカラーフィルタCFR、ブラックカラーフィルタCFN、およびブルーカラーフィルタCFBが、この順に第1方向Xに並んで配置されている。主画素PX51には、レッドカラーフィルタCFR、グリーンカラーフィルタCFG、およびブラックカラーフィルタCFNが、この順に第1方向Xに並んで配置されている。主画素PX13およびPX55は、主画素PX31と同様の構成を取っている。主画素PX33およびPX15は、主画素PX51と同様の構成を取っている。主画素PX53およびPX35は、主画素PX11と同様の構成を取っている。
つまり、図示した例では、主画素PXは、レッドカラーフィルタCFR、グリーンカラーフィルタCFG、およびブルーカラーフィルタCFBのうち、いずれか1つがブラックカラーフィルタCFNに置き換えられている。レッドカラーフィルタCFRが置き換えられた主画素PXの隣には、グリーンカラーフィルタCFGまたはブルーカラーフィルタCFBが置き換えられた主画素PXが配置されている。
図17は、カラーフィルタの他の配置例を示す図である。
図示した配置例は、以下の3点で、図9に示した配置例と相違している。1点目は、主画素PXがマトリクス状に配列されていることである。2点目は、主画素PXにレッドカラーフィルタCFR、グリーンカラーフィルタCFG、およびブルーカラーフィルタCFB、がストライプ状に配置されていることである。3点目は、主画素PXの間にダミー画素PDMが配置されていることである。
それぞれの主画素PXにおいて、レッドカラーフィルタCFR、グリーンカラーフィルタCFG、およびブルーカラーフィルタCFBは、第2方向Yに延在し、この順に第1方向Xに並んでいる。ブラックカラーフィルタCFNの配置位置や大きさなどは、図14に示した配置例と同様である。
本実施形態において、表示装置DSPは、外光Loutおよび照明光Linの両方を利用可能なため、表示モードを適宜切り替えることで、照明光Linの利用効率を向上させることができる。表示モードは、例えば、光源ユニットLUの駆動方法や、主画素PXの表示方法に相当する。次に、表示モードを切り替えるためのシステム、および各表示モードの一例を説明する。
図18は、表示装置DSPの表示モードの切り替えを制御する際のデータの流れを示すブロック図である。
表示装置DSPは、さらに、ホストコンピュータHOST、外光センサSNS、セレクタSLC、および制御部100を備えている。
ホストコンピュータHOSTは、画像データを制御部100へ送信する。外光センサSNSは、外光Loutの輝度および色を検出する光センサであり、取得した環境データを制御部100へ送信する。外光センサSNSは、例えば、外光Loutのスペクトルを測定するスペクトルメータ、または外光Loutの赤成分、緑成分、および青成分を個別に測定するRGB輝度センサを備えている。RGB輝度センサは、例えば、レッドカラーフィルタを透過した外光Loutの輝度を測定するレッドセンサと、グリーンカラーフィルタを透過した外光Loutの輝度を測定するグリーンセンサと、ブルーカラーフィルタを透過した外光Loutの輝度を測定するブルーセンサと、を備えている。セレクタSLCは、観察者などにより任意に表示モードを選択するための選択データを切り替え可能なスイッチに相当し、入力された選択データを制御部100へ送信する。
制御部100は、ホストコンピュータHOSTから入力された画像データ(RGBデータ)に、変換や補正などの信号処理を行う。このとき制御部100は、例えば、主画素PXにおける表現色のRGB比を表すリニアなRGBデータを、R画素、G画素およびB画素の輝度を表す階調データへ変換する。制御部100は、例えば、外光センサSNSから入力される環境データに応じて表示モードを切り替えてもよい。または、制御部100は、セレクタSLCから入力される選択データに応じて表示モードを切り替えてもよい。各表示モードに応じて処理された画像データは、制御部100から駆動部DRおよび光源ユニットLUへ送信される。
制御部100は、光源ユニットLUにおける消費電力を低減するために信号処理を行ってもよく、例えば、各主画素PXにおける散乱強度のデータを伸長する信号処理を行い駆動部DRへ送信し、散乱強度の伸長分だけ光源ユニットLUの輝度のデータを減縮する信号処理を行い光源ユニットLUへ送信する。また、主画素PXがW画素を備えている場合、制御部100は、RGBデータから階調データへの変換の際に、RGBデータのうち共通部分をW画素の輝度を表すWデータに割り付ける信号処理を行い、Wデータに割り付けられた分だけ減縮したRGBデータを、比率を維持したまま伸長する信号処理を行う。これにより、表示装置DSPは、主画素PXの輝度を向上させることができる。
制御部100は、環境データに応じて表示画像の色温度を調整してもよい。例えば、外光センサSNSによって測定された外光Loutが黄色味を帯びている場合、外光Loutが白色光である場合と同様に表示装置DSPが駆動すると、主画素PXの表現色が黄色味を帯びてしまう。この様な場合に、RGBデータにB画素の輝度を上昇させる色補正を行うことで、主画素PXを本来の色で表現することができる。
図19は、表示装置DSPの表示モードの一例を示す図である。
図示した表は、外光Loutの輝度の強さによって切り替えられる第1乃至第3表示モードを表している。この表において、Mode1は第1表示モードを指し示し、Mode2は第2表示モードを指し示し、Mode3は第3表示モードを指し示す。また、Highは外光Loutが強い状況を指し示し、Lowは外光Loutが弱い状況を指し示し、0は外光Loutが非常に弱いか、または外光Loutが存在しない状況を指し示す。また、OFFは光源ユニットLUの消灯を指し示し、ONは光源ユニットLUの点灯を指し示する。
外光LoutがHighの時、表示装置DSPは第1表示モードを選択する。すなわち、光源ユニットLUを全消灯し、外光Loutのみを利用して画像を表示する。外光LoutがLowの時、表示装置DSPは、第2表示モードを選択する。すなわち、光源ユニットLUを点灯し、外光Loutおよび照明光Linの両方を利用して画像を表示する。なお、このとき、光源ユニットLUは、R光源、G光源、およびB光源を全点灯し、白色光源として機能する。外光Loutが0の時、表示装置DSPは、第3表示モードを選択する。すなわち、光源ユニットLUは、R光源、G光源、およびB光源を逐次点灯する、いわゆるフィールドシーケンシャル(FCS)方式によって、照明光Linのみを利用して画像を表示する。なお、各表示モードにおける光源ユニットLUの点灯方法は、これに限定されるものではなく、例えば外光LoutがLowの時に第3表示モードが選択されて光源ユニットLUが逐次点灯してもよく、また、外光Loutが0の時に第2表示モードが選択されて光源ユニットLUが全点灯してもよい。
図20は、図19に示した第2表示モードにおける表示装置DSPの挙動を説明する図である。
本図は、主面PNLaへの画像の表示に寄与している主画素PXを示している。
光変調層OMには、白色光LWの外光Loutおよび照明光Linが入射する。外光Loutおよび照明光Linは、レッドカラーフィルタCFRに対応する位置の光変調層OMで散乱され、レッドカラーフィルタCFRを透過して赤色光LRとして主面PNLaから出射される。同時に、散乱された外光Loutおよび照明光Linは、薄赤色光LWrとして主面PNLbから出射される。同様に、外光Loutおよび照明光Linは、グリーンカラーフィルタCFGに対応する位置の光変調層OMで散乱され、緑色光LGとして主面PNLaから出射され、薄緑色光LWgとして主面PNLbから出射される。また、外光Loutおよび照明光Linは、ブルーカラーフィルタCFBに対応する位置の光変調層OMで散乱され、青色光LBとして主面PNLaから出射され、薄青色光LWbとして主面PNLbから出射される。
ブラックカラーフィルタCFNに対応する位置の光変調層OMで散乱された外光Loutおよび照明光Linは、白色光LWとして主面PNLbから出射され、主面PNLaからは出射されない。
図21は、図19に示した第2表示モードにおける表示装置DSPの挙動を説明する図である。
本図は、主面PNLaへの画像の表示に寄与していない主画素PXを示している。
ブラックカラーフィルタCFNに対応する位置においては、図20に示した場合と同様に、光変調層OMが散乱モードとなってもよい。これにより、外光Loutおよび照明光Linは、白色光LWとして主面PNLbから出射される。
以上の様に、ダミー画素は、主画素PXの表示状態に関係なく、主面PNLbから白色光を出射することができる。
図22は、図19に示した第3表示モードにおける表示装置DSPの挙動を説明する図である。
FCS方式では、1つの画像を表示する期間に相当する1フレームを、複数の期間(フィールド)に時間的に分割する。表示装置DSPは、各フィールドで異なる色の副画素を散乱モードとし、1フレーム中に表現された各フィールドの色が合成され、主画素PXの色として観察者に視認される。図示した例では、表示装置DSPは、1フレームを3つのフィールドに分割し、R画素が駆動されるレッド(R)フィールド、G画素が駆動されるグリーン(G)フィールド、および、B画素が駆動されるブルー(B)フィールドを、この順に逐次駆動している。なお、1フレームの開始時または終了時に、いずれの副画素も駆動されないブラック(B)フィールド、または全ての副画素が駆動されるホワイト(W)フィールドを挿入してもよい。RGBフィールドの前後でBまたはWフィールドを駆動することで、フレーム間での混色を抑制することができる。
次に、R、G、Bフィールドのそれぞれにおける駆動を説明する。
Rフィールドにおいて、光源ユニットLUは、赤色光LRの照明光Linを出射する。Rフィールドでは、レッドカラーフィルタCFRに対応する位置のR画素を散乱モードとなることで、照明光Linが主面PNLaおよびPNLbから赤色光LRとして出射される。また、ブラックカラーフィルタCFNに対応する位置のダミー画素も散乱モードとなってもよく、ダミー画素では照明光Linが主面PNLbのみから赤色光LRとして出射される。なお、ダミー画素における光変調層OMの散乱強度は、R画素における光変調層OMの散乱強度と異なっていてもよい。つまり、主面PNLbにおいて、ダミー画素から出射される赤色光LRの輝度は、R画素から出射される赤色光LRの輝度と異なっていてもよい。また、Rフィールドが主面PNLaへの画像の表示に寄与しない場合であっても、ダミー画素は散乱モードとすることができる。つまり、画像の表示に寄与しないRフィールドにおいて、主面PNLbから赤色光LRを出射することができる。
Gフィールドにおいても、Rフィールド同様、光源ユニットLUから緑色光LGの照明光Linを出射すると共に、グリーンカラーフィルタCFGに対応する位置のG画素と、ダミー画素とを散乱モードにすることができる。これにより、散乱された照明光Linは、主面PNLaおよびPNLbから緑色光LGとして出射される。Bフィールドにおいても、Rフィールド同様、光源ユニットLUから青色光LBの照明光Linを出射すると共に、ブルーカラーフィルタCFBに対応する位置のB画素と、ダミー画素とを散乱モードにすることができる。これにより、散乱された照明光Linは、主面PNLaおよびPNLbから青色光LBとして出射される。
なお、1フレーム中にWフィールドが用意される場合、Wフィールドにおいて、光源ユニットLUは、R光源、G光源、およびB光源の全てを点灯し、白色光を出射する。そして、R画素、B画素、およびG画素を散乱モードとし、主面PNLaから白色光が出射する。このとき、ダミー画素が散乱モードと透過モードとのいずれであっても、主面PNLbから白色光が出射される。1フレーム中にBフィールドが用意される場合、Bフィールドにおいて、光源ユニットLUは消灯される。
以上の様な第3表示モードによれば、散乱された照明光Linの、レッドカラーフィルタCFR、グリーンカラーフィルタCFG、およびブルーカラーフィルタCFBにおける吸収による損失を低減することができる。すなわち、光源ユニットLUの光の利用効率を向上させることが可能である。また、Rフィールドにおいては、R画素およびダミー画素に対応する領域でのみ照明光Linが散乱され、G画素およびB画素に対応する領域では照明光Linは消費されない。Gフィールド、およびBフィールドにおいても、同様に、照明光Linの消費を抑制することができるため、表示装置DSPは、照明光Linの側面PNLdにおける輝度の低下を抑制し、表示ムラを抑制することができる。
なお、主画素PXはW画素をさらに備えていてもよい。W画素は、各フィールドにおいて散乱モードとすることで、各フィールドの輝度を向上させることができる。また、W画素は、全てのフィールドにおいて散乱モードとすることで、1フレームで見た場合に白色光を表示するため、主画素PXの輝度を向上させることができる。
図23は、図22で説明した第3表示モードの応用例を示す図である。
本図においては、Rフィールドのみを図示し、Gフィールド及びBフィールドを省略している。本表示方法においても、図19で図示したのと同様に、R、G、及びBフィールドを逐次駆動することで画像を表示する。図示した例では、表示装置DSPは、Rフィールドにおいて、G画素およびB画素を散乱モードとし、赤色光LRの照明光Linを散乱させている。主面PNLaに向かって散乱された照明光Linは、グリーンカラーフィルタCFGおよびブルーカラーフィルタCFBに吸収される。対して、主面PNLbに向かって散乱された照明光Linは、主面PNLbから出射される。同様に、GフィールドおよびBフィールドにおいても、主面PNLaから光を出射せずに、主面PNLbから光を出射することができる。つまり、この様な表示方法によれば、主画素PXは、主面PNLaと主面PNLbとで、異なる色を表示することができ、表示装置DSPは、例えば画像を主面PNLa側には表示せずに主面PNLb側にのみ表示することができる。
図24は、光源23からの出射光の色と、その出射光によって表示装置DSPが表現可能な色と、を示す表である。
表中の表現とは、各光源から出射された照明光Linが、レッドカラーフィルタCFR、グリーンカラーフィルタCFGおよびブルーカラーフィルタCFBを透過した後の色を示すものである。OFFとは、照明光Linが夫々のカラーフィルタを透過せずに黒表示となるケースを意味する。
FCS方式を利用する場合、光源ユニットLUは、レッドカラーフィルタCFR、グリーンカラーフィルタCFG、およびブルーカラーフィルタCFBを透過して、レッド、グリーン、およびブルーを表現できる光源の組み合わせであれば、R光源、G光源、およびB光源の組み合わせに限定されるものではない。光源ユニットLUは、3つの光源の組み合わせに限定されるものではなく、2つの光源の組み合わせであってもよい。
R光源、G光源、およびB光源は、それぞれレッド、グリーン、およびブルーを表現可能である。イエロー(Y)光を出射するY光源は、レッドおよびグリーンを表現可能である。マゼンタ(M)光を出射するM光源は、レッドおよびブルーを表現可能である。シアン(C)光を出射するC光源は、グリーンおよびブルーを表現可能である。従って、光源ユニットLUは、Y光源およびB光源の組み合わせ、M光源およびG光源の組み合わせ、またはC光源およびR光源の組み合わせであってもよい。また、光源ユニットLUは、Y光源およびM光源の組み合わせ、M光源およびC光源の組み合わせ、C光源およびY光源の組み合わせであってもよい。
なお、Y光源は、例えば、緑色光を出射するグリーンLEDと、緑色光を吸収し赤色光を発光するレッド蛍光体と、で構成される。M光源は、例えば、青色光を出射するブルーLEDと、青色光を吸収し赤色光を発光するレッド蛍光体と、で構成される。C光源は、例えば、青色光を出射するブルーLEDと、青色光を吸収し緑色光を発光するグリーン蛍光体と、で構成される。但し、Y光源は、グリーンLEDとレッドLEDとを同時に点灯させるものであってもよく、M光源は、ブルーLEDとレッドLEDとを同時に点灯させるものであってもよく、C光源は、ブルーLEDとグリーンLEDとを同時に点灯させるものであってもよい。
図25は、散乱強度の補正を説明する図である。
表示領域DAにおいて、光源ユニットLUに近接する側である側面PNLcに近い位置では照明光Linの輝度は高く、光源ユニットLUから離間する側である側面PNLdに近い位置では照明光Linの輝度が低い。これは、前述の通り、照明光Linが光変調層OMでの散乱により消費されるためである。
表示パネルPNLの斜線パターンの領域に画像が表示されるとする。図中のグラフの実線は、光変調層OMにおけるA−A’線に沿った照明光Linの輝度低下を示している。点Aは、表示領域DAの側面PNLcに近接する側の端部に位置し、点A’は、表示領域DAの側面PNLdに近接する側の端部に位置している。図中のグラフの点線は、斜線パターンの領域の輝度を均一化するために必要な、A−A’線に沿った光変調層OMの散乱強度の補正を示している。光変調層OMに電場を形成することで散乱モードとなる表示パネルPNLの場合、散乱強度の補正は、光変調層OMに電場を形成する電極への印加電圧の階調値を調節することで実施される。この階調値は、点Aに近い位置では最大値よりも低い値に設定され、点A’に近づくにつれて高くなる様に設定され、点A’において最大値に設定される。これにより、表示装置DSPは、側面PNLd近傍での輝度不足による表示ムラの発生を抑制することができる。
図26は、スキャン駆動を説明する図である。
表示領域DAの輝度の均一化は、スキャン駆動によっても実現可能である。スキャン駆動とは、表示領域DAを例えば第2方向Yに並ぶ複数のブロックに分割し、ブロック毎に逐次駆動を行う、というものである。
図示した例では、表示領域DAは、8つのブロックB1乃至B8に分割されている。ブロックB1乃至B8は、側面PNLdに近い位置から、この順に第2方向Yに並んでいる。なお、ブロックの数は、特に限定されるものではなく、7つ以下でも9つ以上でもよい。ブロック数を増加させれば表示ムラを抑制することができ、ブロック数を減少させれば表示装置DSPの駆動周波数を低減することができる。従って、表示装置DSPの設計等に応じて、好適なブロック数が適宜選択される。
図示した例では、最初に、ブロックB1に配置された主画素PXのみが散乱モードとなり、ブロックB1に画像の一部が表示される。このとき、ブロックB2乃至B8に配置された主画素PXは透過モードであるため、照明光Linの輝度の低下を抑制しつつ、照明光LinをブロックB1へ導光することができる。次に、ブロックB2に配置された主画素PXのみが散乱モードとなり、ブロックB2に画像の一部が表示される。その後、ブロックB3乃至B8に配置された主画素PXが逐次散乱モードとなり、ブロックB3乃至B8に画像の一部が逐次表示される。ブロックB1乃至B8のそれぞれに表示された画像の一部が組み合わされて、1つの画像として観察者に視認される。
スキャン駆動によれば、照明光Linの散乱による輝度低下は夫々のブロックB1乃至B8に対応する領域内でのみ生じるため、表示ムラの発生を抑制することができる。また、散乱強度の補正によって主画素PXの輝度を抑制する必要がないため、表示画像の輝度を向上させることができる。
図27は、本実施形態に係る表示装置DSPの第1変形例を示す図である。
本変形例は、主画素PX11と主画素PX13との間の領域に電極EE12およびEH12を備えている点で、図3に図示した構成例と相違している。
主画素PX11と主画素PX13との間に、準画素QX12(QX)が形成されている。準画素QXは、主画素PXに準ずる構成を備えており、例えば、カラーフィルタFA乃至FDに代わって透明部材TPを備えている。透明部材TPは、例えば、白色光を透過させる無着色の樹脂によって形成されている。透明部材TPは、画像を表示していない時の表示パネルPNLの色味を調整するために、薄く着色されていてもよい。
準画素QX12に対応する領域には、電極EE12、EH12および透明部材TP12が配置されている。電極EE12およびEH12は、電極ED11と電極EA13との間に位置し、互いに第2方向Yで隣り合っている。電極EE12は、第2方向で電極ED11と隣り合っており、電極EH12は、第2方向で電極EA13と隣り合っている。電極EE12およびEH12のそれぞれの大きさは、例えば電極EA13と同等であるが、電極EA13よりも大きくても小さくてもよい。
透明部材TP12は、カラーフィルタFD11とカラーフィルタFA13との間に位置し、電極EE12およびEH12と第3方向Zで対向している。透明部材TP12は、準画素QX12に対応する領域の全面に亘って配置されている。透明部材TP12は、第2方向YでカラーフィルタFD11およびFA13と接触している。透明部材TP12は、カラーフィルタFA13よりも面積が大きい。透明部材TP12の第2方向Yの幅W6は、カラーフィルタFA13の第2方向Yの幅W5よりも大きく、一例では、幅W6は幅W5の約2倍である。透明部材TP12は、例えば、オーバーコート層OCによって形成されている。
準画素QX12は、電極EE12と共通電極CEとの間に生じる電場に応じて、光変調層OMの電極EE12と対向する領域の光散乱性を変調する。また、準画素QX12は、電極EH12と共通電極との間に生じる電場に応じて、光変調層OMの電場EH12と対向する領域の光散乱性を変調する。電極EE12およびEH12のそれぞれに対向する領域で散乱された光は、主面PNLaおよびPNLbから出射される。したがって、表示装置DSPは、表示パネルPNLの透明度を低下させることができ、外光が強い場合の画像の表示品位を向上させることができる。また、準画素QXをW画素として利用することで、画像の輝度を向上させることができる。
図28は、図27に示した第1基板SUB1の構成例を示す図である。
図示した構成例は、準画素QXが配置されている点で、図10に図示した構成例と相違している。準画素QXは、主画素PXの間に配置されており、主画素PXおよび準画素QXは、第1方向Xおよび第2方向Yに交互に並んでいる。準画素QXは、画素電極EE、EF、EGおよびEHを備えている。
準画素QX12の電極EF12および電極EG12は、電極EC11と電極EB13との間に位置している。電極EF12は、第1方向Xで電極EE12と隣り合い、第2方向Yで電極EC11と隣り合っている。電極EG12は、第1方向Xで電極EH12と隣り合い、第2方向Yで電極EF12およびEB13と隣り合っている。
第1方向Xにおいて主画素PX11と主画素PX31との間に位置する準画素QX21は、電極EE21、EF21、EG21、およびEH21を備えている。電極EE21は、第1方向Xで電極EB11とEF21との間に位置し、電極EF21は、第1方向Xで電極EE21と電極EA31との間に位置している。電極EH21は、第1方向Xで電極EC11とEG21との間に位置し、電極EG21は、第1方向Xで電極EH21と電極ED31との間に位置している。
電極EE12およびEH12は、データ線S1によってデータ信号を供給される。電極EF12およびEG12は、データ線S2によってデータ信号を供給される。電極EE21およびEH21は、データ線S3によってデータ信号を供給される。電極EF21およびEG21は、データ線S4によってデータ信号を供給される。電極EE21およびEF21は、走査線G1によって駆動を制御される。電極EG21およびEH21は、走査線G2によって駆動を制御される。電極EE12およびEF12は、走査線G3によって駆動を制御される。電極EG12およびEH32は、走査線G4によって駆動を制御される。
第2方向Yにおいて主画素PX31と主画素PX33との間に位置する準画素QX32も、準画素QX12同様に、電極EE32、EF32、EG32、およびEH32を備えている。第1方向Xにおいて主画素PX13と主画素PX33との間に位置する準画素QX23も、準画素QX21同様に、電極EE23、EF23、EG23、およびEH23を備えている。
なお、準画素QXは、主画素PXの間に配置されるのであれば、そのレイアウトは特に限定されるものではなく、例えば図13や図16に図示した配置例における主画素PXの間に配置されてもよい。また、準画素QXを図14や図17に示した配置例に加える場合、準画素QXは、その配置位置を主画素PX同士の間に限定されるものではなく、主画素PXとダミー画素PDMとの間や、ダミー画素PDM同士の間に配置されてもよい。
図29は、本実施形態に係る表示装置DSPの第2変形例を示す図である。
本変形例は、準画素QXに対応する領域に電極EI12が配置されている点で、図27に図示した変形例と相違している。電極EI12は、透明部材TPの全面に亘って第3方向Xで対向し、電極ED11と電極EA13との間に配置されている。電極EI12は、第2方向Yで、電極ED11およびEA13と隣り合っている。
本変形例においても、第1変形例と同様の効果を得ることができる。
図30は、図29に示した第1基板SUB1の構成例を示す図である。
本構成例は、電極EI12、EI21、EI32、およびEI23が配置されている点で、図28に図示した構成例と相違している。
準画素QX12の電極EI12は、準画素QX12に対応する領域の全体に配置され、電極ED11と電極EA13との間だけではなく、電極EC11と電極EB13との間にも延在している。準画素QX21の電極EI21は、準画素QX21に対応する領域の全体に亘って配置され、電極EB11と電極EA31との間、および電極EC11と電極ED31との間に延在している。
電極EI12は、データ線S1によってデータ信号を供給され、走査線G4によって駆動を制御される。電極EI21は、データ線S3によってデータ信号を供給され、走査線G2によって駆動を制御される。
準画素QX32の電極EI32も、準画素QX12と同様に、電極EI32を備えている。準画素QX23の電極EI23も、準画素QX21と同様に、電極EI23を備えている。
図31は、本実施形態に係る表示装置DSPの第3変形例を示す図である。
図示した表示パネルPNLは、複数のコラム電極C(C1、C2、…、Cp)と、複数のロウ電極L(L1、L2、…、Lq)と、を備えた、いわゆるパッシブマトリクス型の表示パネルである。コラム電極Cは、第2方向Yに延在し第1方向Xに並んでいる。ロウ電極Lは、第1方向Xに延在し、第2方向Yに並んでいる。コラム電極Cは、第1ドライバDr1に電気的に接続され、ロウ電極Lは、第2ドライバDr2に電気的に接続されている。
コラム電極Cとロウ電極Lとが互いに交差して対向する領域が、副画素として動作する。例えば、コラム電極C1とロウ電極L1とが対向する領域が、副画素PA11に相当する。コラム電極C2とロウ電極L1とが対向する領域が、副画素PB11に相当する。コラム電極C2とロウ電極L2とが対向する領域が、副画素PC11に相当する。コラム電極C1とロウ電極L2とが対向する領域が、副画素PD11に相当する。
この様な変形例においても、上記したのと同様の効果を得ることができる。
次に、第2実施形態について説明する。第2実施形態に係る表示装置DSPは、ダミー画素が配置されていない点と、表示モードがFCS方式に限定される点と、で第1実施形態に係る表示装置DSPと相違している。
図32は、第2実施形態に係る表示装置DSPの一構成例、およびその表示モードを示す図である。
図示した例では、第2基板SUB2に、レッドカラーフィルタCFR、グリーンカラーフィルタCFG、およびブルーカラーフィルタCFBが配置されているが、各カラーフィルタの色は、レッド、グリーン、およびブルーに限定されるものではなく、互いに異なる第1乃至第3色であればよい。また、第2基板SUB2にはホワイトカラーフィルタCFWが配置されているが、ホワイトカラーフィルタCFWは、省略されてもよい。
主画素PXは、レッドカラーフィルタCFRが配置されたR画素、グリーンカラーフィルタCFGが配置されたG画素、ブルーカラーフィルタCFBが配置されたB画素、および、ホワイトカラーフィルタCFWが配置されたW画素で構成されている。R、G、Bフィールドにおける光源ユニットLUの動作は、図22で説明したのと同様である。Rフィールドにおいて、R画素およびW画素が散乱モードとなることで、主面PNLaから赤色光LRが出射される。このとき、R画素およびW画素は、主面PNLbからも赤色光LRを出射する。また、G画素およびB画素は、散乱モードとなることで、GカラーフィルタおよびBカラーフィルタで散乱光を吸収させると共に、主面PNLbから赤色光LRを出射することができる。同様に、Gフィールドでは、G画素およびW画素は、主面PNLaおよびPNLbから緑色光LGを出射することができ、R画素およびB画素は、主面PNLbから緑色光LGを出射することができる。また、Bフィールドでは、B画素およびW画素は、主面PNLaおよびPNLbから青色光LBを出射することができ、R画素およびG画素は、主面PNLbから青色光LBを出射することができる。
以上の駆動方法によれば、表示装置DSPは、主画素PXにおける主面PNLaの輝度と主面PNLbの輝度とを、各フィールドで相違させることができる。主画素PXの1フレーム中の表示色は、各フィールドにおける出射光の合成として視認されるため、主画素PXは、主面PNLaと主面PNLbとで、異なる色を表示することができる。すなわち、表示装置DSPは、主面PNLaと主面PNLbとで、異なる画像を表示することができる。
以上説明したように、本実施形態によれば、光透過性を有し裏面側からの情報取得が困難な表示装置を提供することができる。
なお、本発明のいくつかの実施形態を説明したが、これらの実施形態は、例として提示したものであり、発明の範囲を限定することは意図していない。これらの新規な実施形態は、その他の様々な形態で実施されることが可能であり、発明の要旨を逸脱しない範囲で、種々の省略、置き換え、変更を行うことができる。これらの実施形態やその変形は、発明の範囲や要旨に含まれるとともに、特許請求の範囲に記載された発明とその均等の範囲に含まれる。
DSP…表示装置 PNL…表示パネル
SUB1…第1基板 SUB2…第2基板
OM…光変調層 31…バルク 32…微粒子
LU…光源ユニット 23、23A、23B、23C…光源
FA、FB、FC、FD…カラーフィルタ
EA、EB、EC、ED…電極 CE…共通電極
PA、PB、PCPD…複画素 PX…主画素

Claims (18)

  1. 光透過性を有する表示パネルを備え、
    前記表示パネルは、
    第1色を表示する第1副画素と、
    第2色を表示する第2副画素と、
    第3色を表示する第3副画素と、
    前記第1乃至第3色よりも明度の低い第4色を表示するダミー画素と、
    光透過性を有する第1基板と、
    前記第1基板と対向し光透過性を有する第2基板と、
    前記第2基板の前記第1副画素に配置され前記第1色の光を透過させる第1カラーフィルタと、
    前記第2基板の前記第2副画素に配置され前記第2色の光を透過させる第2カラーフィルタと、
    前記第2基板の前記第3副画素に配置され前記第3色の光を透過させる第3カラーフィルタと、
    前記第1基板と前記第2基板との間に位置し、前記第1乃至第3副画素および前記ダミー画素のそれぞれに対応する領域の光透過性と光散乱性とを切り替え可能な光変調層と、を備え
    前記第2基板の前記ダミー画素には、光反射層が配置され、
    前記第1乃至第3副画素のそれぞれに対応する領域の前記光変調層で散乱された光は、前記第1基板及び前記第2基板から出射され、
    前記ダミー画素に対応する領域の前記光変調層で散乱された光は、前記第1基板から出射されるが、前記第2基板からは出射されない、表示装置。
  2. 前記光変調層は、共に光学異方性を有し電場に対する光学的な応答性が互いに異なる第1領域および第2領域を有し、
    前記第1領域は、液晶材料を含んで構成され、
    前記第2領域は、高分子材料を含んで構成されている、請求項1に記載の表示装置。
  3. 光透過性を有する表示パネルを備え、
    前記表示パネルは、
    第1色を表示する第1副画素と、
    第2色を表示する第2副画素と、
    第3色を表示する第3副画素と、
    前記第1乃至第3色よりも明度の低い第4色を表示するダミー画素と、
    前記第1乃至第3副画素および前記ダミー画素のそれぞれに対応する領域の光透過性と光散乱性とを切り替え可能な光変調層と、
    前記光変調層に対向配置され光透過性を有する基板と、
    前記基板の前記第1副画素に配置され前記第1色の光を透過させる第1カラーフィルタと、
    前記基板の前記第2副画素に配置され前記第2色の光を透過させる第2カラーフィルタと、
    前記基板の前記第3副画素に配置され前記第3色の光を透過させる第3カラーフィルタと、
    前記基板の前記ダミー画素に配置され前記第1乃至第3カラーフィルタよりも透過率の低い光吸収層と、
    前記光吸収層と前記光変調層との間に配置された光反射層と、を備えている表示装置。
  4. 前記第4色は、ブラックである、請求項1乃至のいずれか1項に記載の表示装置。
  5. 前記第1、第2、および第3色は、それぞれ、レッド、グリーン、およびブルーのいずれかである、請求項1乃至のいずれか1項に記載の表示装置。
  6. 前記表示パネルは、さらに、
    前記第1色を表示する第4副画素と、
    前記第2色を表示する第5副画素と、
    前記第1、第2、および第3副画素で構成される第1主画素と、
    前記第4、第5副画素、および前記ダミー画素で構成される第2主画素と、を備えている、請求項1乃至のいずれか1項に記載の表示装置。
  7. 前記表示パネルは、さらに、
    前記第1色を表示する第4副画素と、
    前記第2色を表示する第5副画素と、
    前記第3色を表示する第6副画素と、
    前記第1、第2、および第3副画素で構成される第1主画素と、
    前記第4、第5、および第6副画素で構成される第2主画素と、を備え、
    前記ダミー画素は、互いに隣り合う前記第1主画素と前記第2主画素との間に位置し、且つ、前記第1主画素および前記第2主画素から離間している、請求項1乃至のいずれか1項に記載の表示装置。
  8. 前記表示パネルは、さらに、
    前記第1乃至第3色よりも明度の高い第5色を表示する第7および第8副画素、を備え、
    前記第1主画素は、前記第7副画素を含み、
    前記第2主画素は、前記第8副画素を含む、請求項に記載の表示装置。
  9. 前記表示パネルは、さらに、
    前記第1色を表示する第4副画素と、
    前記第2色を表示する第5副画素と、
    前記第3色を表示する第6副画素と、
    前記第1乃至第3色よりも明度の高い第5色を表示する第7および第8副画素と、
    前記第1、第2、第3、および第7副画素で構成される第1主画素と、
    前記第4、第5、第6、および第8副画素のうちいずれか3つの副画素、ならびに前記ダミー画素で構成される第2主画素と、を備えている、請求項1乃至のいずれか1項に記載の表示装置。
  10. 前記第2主画素は、前記第4、第5、第6副画素、および前記ダミー画素で構成されている、請求項に記載の表示装置。
  11. 前記第5色は、ホワイトである、請求項8乃至10のいずれか1項に記載の表示装置。
  12. 光透過性を有する表示パネルを備え、
    前記表示パネルは、
    第1色を表示する第1副画素と、
    第2色を表示する第2副画素と、
    第3色を表示する第3副画素と、
    前記第1乃至第3色よりも明度の低い第4色を表示するダミー画素と、
    前記第1乃至第3副画素および前記ダミー画素のそれぞれに対応する領域の光透過性と光散乱性とを切り替え可能な光変調層と、
    前記表示パネルの外側から前記光変調層を照明する光源ユニットと、
    外光のみを利用して画像を表示する第1表示モードと、前記外光および前記光源ユニットからの照明光を利用して画像を表示する第2表示モードと、前記照明光のみを利用して画像を表示する第3表示モードと、を切り替える制御部と、
    を備えている表示装置。
  13. 前記光源ユニットは、互いに色の異なる光を出射する少なくとも2つの光源を備えている、請求項12に記載の表示装置。
  14. 前記光源ユニットは、レッド光源、グリーン光源、およびブルー光源を備えている、請求項13に記載の表示装置。
  15. 前記光源ユニットは、前記第2表示モードにおいて白色光を出射し、
    前記第3表示モードにおいて少なくとも2色の光を逐次出射する、請求項12乃至14のいずれか1項に記載の表示装置。
  16. 第1色を表示する第1副画素と、
    第2色を表示する第2副画素と、
    第3色を表示する第3副画素と、
    光透過性を有する第1基板と、
    前記第1基板と対向し光透過性を有する第2基板と、
    前記第2基板の前記第1副画素に配置され前記第1色の光を透過させる第1カラーフィルタと、
    前記第2基板の前記第2副画素に配置され前記第2色の光を透過させる第2カラーフィルタと、
    前記第2基板の前記第3副画素に配置され前記第3色の光を透過させる第3カラーフィルタと、
    前記第1基板と前記第2基板との間に位置し、前記第1乃至第3副画素のそれぞれに対応する領域において、光透過性を示す透過モードと光散乱性を示す散乱モードとを変調可能な光変調層と、
    前記光変調層を照明し、前記第1色の光を出射する第1光源と、前記第2色の光を出射する第2光源と、前記第3色の光を出射する第3光源と、前記第1乃至第3色とは異なる第4色の光を出射する第4光源と、を備えた光源ユニットと、を備え、
    前記第1副画素の前記光変調層を散乱モードとし、前記第2副画素及び前記第3副画素の前記光変調層を透過モードとして、前記第1光源から前記第1色の光を出射し、
    前記第2副画素の前記光変調層を散乱モードとし、前記第1副画素及び前記第3副画素の前記光変調層を透過モードとして、前記第2光源から前記第2色の光を出射し、
    前記第3副画素の前記光変調層を散乱モードとし、前記第1副画素及び前記第2副画素の前記光変調層を透過モードとして、前記第3光源から前記第3色の光を出射し、
    前記第1副画素及び前記第2副画素の前記光変調層を散乱モードとし、前記第3副画素の前記光変調層を透過モードとして、前記第4光源から前記第4色の光を出射する、表示装置の駆動方法。
  17. 前記光源ユニットは、前記第1乃至第4色とは異なる第5色の光を出射する第5光源と、前記第1乃至第5色とは異なる第6色の光を出射する第6光源と、を備え、
    前記第2副画素及び前記第3副画素の前記光変調層を散乱モードとし、前記第1副画素の前記光変調層を透過モードとして、前記第5光源から前記第5色の光を出射し、
    前記第1副画素及び前記第3副画素の前記光変調層を散乱モードとし、前記第2副画素の前記光変調層を透過モードとして、前記第6光源から前記第6色の光を出射する、請求項16に記載の表示装置の駆動方法。
  18. 前記第1、第2、および第3色は、それぞれ、レッド、グリーン、およびブルーのいずれかであり、
    前記第4、第5、および第6色は、それぞれ、シアン、マゼンタ、およびイエローのいずれかである、請求項17に記載の表示装置の駆動方法。
JP2016144719A 2016-07-22 2016-07-22 表示装置および表示装置の駆動方法 Active JP6720008B2 (ja)

Priority Applications (2)

Application Number Priority Date Filing Date Title
JP2016144719A JP6720008B2 (ja) 2016-07-22 2016-07-22 表示装置および表示装置の駆動方法
US15/651,367 US10657908B2 (en) 2016-07-22 2017-07-17 Display device and method of driving the same

Applications Claiming Priority (1)

Application Number Priority Date Filing Date Title
JP2016144719A JP6720008B2 (ja) 2016-07-22 2016-07-22 表示装置および表示装置の駆動方法

Publications (2)

Publication Number Publication Date
JP2018013718A JP2018013718A (ja) 2018-01-25
JP6720008B2 true JP6720008B2 (ja) 2020-07-08

Family

ID=60988788

Family Applications (1)

Application Number Title Priority Date Filing Date
JP2016144719A Active JP6720008B2 (ja) 2016-07-22 2016-07-22 表示装置および表示装置の駆動方法

Country Status (2)

Country Link
US (1) US10657908B2 (ja)
JP (1) JP6720008B2 (ja)

Families Citing this family (13)

* Cited by examiner, † Cited by third party
Publication number Priority date Publication date Assignee Title
JP2017219586A (ja) * 2016-06-03 2017-12-14 株式会社ジャパンディスプレイ 信号供給回路及び表示装置
JP6720008B2 (ja) * 2016-07-22 2020-07-08 株式会社ジャパンディスプレイ 表示装置および表示装置の駆動方法
JP7052975B2 (ja) * 2018-03-31 2022-04-12 株式会社グローバルアイ Ledを用いた大画面ディスプレイ
JP2019191230A (ja) 2018-04-19 2019-10-31 株式会社ジャパンディスプレイ 表示装置
CN108648679B (zh) * 2018-05-18 2020-06-26 京东方科技集团股份有限公司 显示面板的驱动方法及装置、显示设备
JP7145732B2 (ja) * 2018-11-09 2022-10-03 株式会社ジャパンディスプレイ 表示装置
KR102605347B1 (ko) * 2018-12-28 2023-11-27 삼성디스플레이 주식회사 표시 장치
CN114783369B (zh) * 2019-01-25 2025-01-10 京东方科技集团股份有限公司 一种显示面板及显示装置
JP2020204698A (ja) * 2019-06-17 2020-12-24 株式会社ジャパンディスプレイ 表示装置
CN110262115A (zh) * 2019-06-26 2019-09-20 京东方科技集团股份有限公司 显示面板及其制造方法、显示装置
US12441915B2 (en) * 2020-03-04 2025-10-14 Lg Chem, Ltd. Optical film and display device comprising same
KR102876394B1 (ko) * 2020-08-26 2025-10-27 삼성디스플레이 주식회사 표시 장치
US12510703B2 (en) 2022-04-29 2025-12-30 Corning Incorporated Light coupling device for coupling light into a display panel

Family Cites Families (66)

* Cited by examiner, † Cited by third party
Publication number Priority date Publication date Assignee Title
JP3082114B2 (ja) * 1992-07-02 2000-08-28 富士通株式会社 液晶表示装置
KR0156765B1 (ko) * 1993-12-27 1998-11-16 사토 후미오 표시장치
US7289174B1 (en) * 1995-07-17 2007-10-30 Seiko Epson Corporation Reflective type color liquid crystal device and an electronic apparatus using this
JPH11183902A (ja) 1997-12-22 1999-07-09 Matsushita Electric Ind Co Ltd ディスプレイ装置
EP1206121A1 (de) * 2000-11-13 2002-05-15 Alcan Technology & Management AG Vorfahren zur Optimierung eines Bildverarbeitungs- und Druckprozesses
GB0422347D0 (en) * 2004-10-08 2004-11-10 Koninkl Philips Electronics Nv Transflective liquid crystal display device
JP4628425B2 (ja) * 2005-09-12 2011-02-09 富士通株式会社 表示方法及び表示装置
US8207924B2 (en) * 2006-02-02 2012-06-26 Sharp Kabushiki Kaisha Display device
TW200832329A (en) * 2007-01-26 2008-08-01 Tpo Displays Corp System for displaying images including transflective liquid crystal display panel
KR101329139B1 (ko) * 2007-10-12 2013-11-14 삼성전자주식회사 투과/반투과/반사 모드를 구현하는 스위칭 디스플레이 제어시스템 및 방법
CN102150076A (zh) * 2008-09-25 2011-08-10 夏普株式会社 光量调整装置、背光源单元、液晶显示面板和液晶显示装置
JP5263593B2 (ja) 2008-10-07 2013-08-14 ソニー株式会社 照明装置および表示装置
KR101581002B1 (ko) * 2008-10-15 2015-12-29 삼성전자주식회사 반사형 디스플레이 패널 및 장치
JP4752911B2 (ja) 2008-12-26 2011-08-17 ソニー株式会社 照明装置、表示装置、およびエッジライト方式のバックライトに用いる光変調素子の製造方法
KR101557799B1 (ko) * 2009-01-19 2015-10-07 삼성전자주식회사 전기변색과 pdlc를 이용한 디스플레이 장치 및 그 구동방법
US20100225567A1 (en) * 2009-03-03 2010-09-09 Time-O-Matic, Inc. Electronic display
JP2011095407A (ja) * 2009-10-28 2011-05-12 Casio Computer Co Ltd 表示素子
JP5467389B2 (ja) 2009-11-06 2014-04-09 ソニー株式会社 照明装置および表示装置
TWI436131B (zh) * 2009-11-19 2014-05-01 Innolux Corp 影像顯示系統
JP5756931B2 (ja) * 2009-12-11 2015-07-29 ソニー株式会社 照明装置および表示装置
JP5467388B2 (ja) 2010-04-06 2014-04-09 ソニー株式会社 照明装置および表示装置
JP2012088486A (ja) * 2010-10-19 2012-05-10 Sony Corp 表示パネルおよび表示装置
JP5516319B2 (ja) * 2010-10-20 2014-06-11 ソニー株式会社 照明装置および表示装置
KR101908746B1 (ko) * 2010-12-17 2018-10-16 소니 주식회사 조명 장치, 표시 장치 및 3차원 표시 장치
WO2012094311A2 (en) * 2011-01-04 2012-07-12 Ada Foundation Dental compositions with titanium dioxide nanoparticles
KR101782054B1 (ko) * 2011-02-14 2017-09-26 엘지디스플레이 주식회사 액정 표시장치와 이의 구동방법
JP5699786B2 (ja) 2011-04-28 2015-04-15 ソニー株式会社 表示装置および照明装置
JP5948813B2 (ja) * 2011-05-09 2016-07-06 ソニー株式会社 照明装置および表示装置
US20130027444A1 (en) * 2011-07-25 2013-01-31 Qualcomm Mems Technologies, Inc. Field-sequential color architecture of reflective mode modulator
JP5817989B2 (ja) 2011-10-05 2015-11-18 ソニー株式会社 照明装置、表示装置および電子機器
KR101894720B1 (ko) * 2011-12-22 2018-10-19 삼성디스플레이 주식회사 투명 디스플레이 장치
JP6153290B2 (ja) * 2012-04-11 2017-06-28 シャープ株式会社 画像表示装置、および、それを用いた展示ボックス
TW201400946A (zh) 2012-05-09 2014-01-01 Sony Corp 照明裝置及顯示裝置
JP5863972B2 (ja) * 2012-07-24 2016-02-17 シャープ株式会社 画像表示装置およびその駆動方法
WO2014054521A1 (ja) * 2012-10-05 2014-04-10 シャープ株式会社 画像表示装置およびその駆動方法
US9548013B2 (en) * 2012-10-05 2017-01-17 Sharp Kabushiki Kaisha Image display device and drive method therefor
JP5963884B2 (ja) * 2012-12-20 2016-08-03 三菱電機株式会社 液晶表示装置
JP5961125B2 (ja) * 2013-02-26 2016-08-02 株式会社ジャパンディスプレイ 表示装置及び電子機器
CN103488020A (zh) * 2013-08-09 2014-01-01 京东方科技集团股份有限公司 显示面板及其驱动方法、显示装置
CN110047449B (zh) * 2013-09-25 2021-12-31 索尼公司 显示装置及电子设备
CN103928496B (zh) * 2014-01-27 2016-06-01 北京京东方光电科技有限公司 一种显示面板及其显示方法、显示装置
CN104036748B (zh) * 2014-06-20 2016-06-08 深圳市华星光电技术有限公司 场色序法显示器及其色彩控制方法
US9613588B2 (en) * 2014-08-21 2017-04-04 Vp Assets Limited Image device with improved chrominance quality
CN104217670B (zh) * 2014-09-03 2017-02-15 京东方科技集团股份有限公司 像素结构及显示装置
JP2016057338A (ja) * 2014-09-05 2016-04-21 株式会社ジャパンディスプレイ 表示装置及び光源装置
KR20160047078A (ko) * 2014-10-21 2016-05-02 삼성디스플레이 주식회사 표시 패널 및 이를 포함하는 표시 장치
TWI599818B (zh) * 2014-10-22 2017-09-21 日本顯示器股份有限公司 顯示裝置
JP6364335B2 (ja) * 2014-12-04 2018-07-25 株式会社ジャパンディスプレイ 表示装置
EP3043558B1 (en) * 2014-12-21 2022-11-02 Production Resource Group, L.L.C. Large-format display systems having color pixels and white pixels
JP2016161920A (ja) * 2015-03-05 2016-09-05 株式会社ジャパンディスプレイ 表示装置
US9887245B2 (en) * 2015-03-24 2018-02-06 Vp Assets Limited Image device with improved chrominance quality
JP2017032782A (ja) 2015-07-31 2017-02-09 株式会社ジャパンディスプレイ 表示装置
CN105096801B (zh) * 2015-08-14 2017-07-11 京东方科技集团股份有限公司 显示单元、显示面板及其驱动方法和显示装置
CN105183095B (zh) * 2015-10-19 2019-03-15 京东方科技集团股份有限公司 具有透明显示装置的手持终端
JP6671940B2 (ja) * 2015-12-07 2020-03-25 株式会社ジャパンディスプレイ 表示装置
JP2017156718A (ja) 2016-03-04 2017-09-07 株式会社ジャパンディスプレイ 表示装置
JP2017167214A (ja) 2016-03-14 2017-09-21 株式会社ジャパンディスプレイ 表示装置
WO2017208896A1 (ja) * 2016-05-30 2017-12-07 シャープ株式会社 表示装置
KR102556965B1 (ko) * 2016-05-30 2023-07-19 엘지디스플레이 주식회사 미러 디스플레이
JP2017215510A (ja) * 2016-06-01 2017-12-07 株式会社ジャパンディスプレイ 表示装置
US9870025B1 (en) * 2016-07-10 2018-01-16 Emotive Digital, LP Display case
JP6800641B2 (ja) * 2016-07-22 2020-12-16 株式会社ジャパンディスプレイ 表示装置
JP6720008B2 (ja) * 2016-07-22 2020-07-08 株式会社ジャパンディスプレイ 表示装置および表示装置の駆動方法
CN107633822B (zh) * 2017-10-27 2020-06-05 上海天马微电子有限公司 一种显示装置和显示装置的驱动方法
CN107844000B (zh) * 2017-10-27 2020-10-16 上海中航光电子有限公司 一种显示装置和显示装置的驱动方法
US10490164B2 (en) * 2018-10-10 2019-11-26 Intel Corporation Stretchable display with fixed pixel density

Also Published As

Publication number Publication date
US10657908B2 (en) 2020-05-19
JP2018013718A (ja) 2018-01-25
US20180025692A1 (en) 2018-01-25

Similar Documents

Publication Publication Date Title
JP6720008B2 (ja) 表示装置および表示装置の駆動方法
JP6800641B2 (ja) 表示装置
US10503013B2 (en) Display device including an optical modulator
KR102348580B1 (ko) 형광 멀티빔 요소를 채용한 멀티뷰 백라이팅
US9804317B2 (en) Display apparatus
KR101948191B1 (ko) 전기 습윤 표시장치
WO2018076948A1 (zh) 显示面板和显示装置
US12164119B2 (en) Multiview display and method
TW202024758A (zh) 視角控制膜片與採用其之顯示裝置
KR20110134161A (ko) 반사형 컬러 디스플레이 장치
WO2017173810A1 (zh) 显示装置、裸眼3d显示系统和虚拟现实眼镜
KR20180081781A (ko) 디스플레이 장치 및 디스플레이 제어 방법
CN105759528A (zh) 显示面板组件、显示装置及其驱动方法
WO2020167374A1 (en) Multiview display and method having light control film
CN108319071B (zh) 显示装置
TWI864483B (zh) 時間多工多視像背光件、多視像顯示器及其方法
US9804455B2 (en) Display device
JP6474630B2 (ja) 表示装置
US20070147081A1 (en) Blacklight unit, liquid crystal display device having the same, and method for providing substantially white light for liquid crystal display device
JP2019503501A (ja) ディスプレイデバイス及びディスプレイ制御方法
CN205301757U (zh) 背光源和显示装置
JP6938699B2 (ja) 電子機器
JP2017076002A (ja) 表示装置
CN114815414A (zh) 显示面板、显示装置及显示面板的制备方法
HK40062241A (en) Multiview display and method having light control film

Legal Events

Date Code Title Description
A621 Written request for application examination

Free format text: JAPANESE INTERMEDIATE CODE: A621

Effective date: 20190116

A977 Report on retrieval

Free format text: JAPANESE INTERMEDIATE CODE: A971007

Effective date: 20191126

A131 Notification of reasons for refusal

Free format text: JAPANESE INTERMEDIATE CODE: A131

Effective date: 20191203

A521 Request for written amendment filed

Free format text: JAPANESE INTERMEDIATE CODE: A523

Effective date: 20191224

TRDD Decision of grant or rejection written
A01 Written decision to grant a patent or to grant a registration (utility model)

Free format text: JAPANESE INTERMEDIATE CODE: A01

Effective date: 20200602

A61 First payment of annual fees (during grant procedure)

Free format text: JAPANESE INTERMEDIATE CODE: A61

Effective date: 20200617

R150 Certificate of patent or registration of utility model

Ref document number: 6720008

Country of ref document: JP

Free format text: JAPANESE INTERMEDIATE CODE: R150

R250 Receipt of annual fees

Free format text: JAPANESE INTERMEDIATE CODE: R250

R250 Receipt of annual fees

Free format text: JAPANESE INTERMEDIATE CODE: R250

R250 Receipt of annual fees

Free format text: JAPANESE INTERMEDIATE CODE: R250