JP6580098B2 - 吊上げシステム - Google Patents

吊上げシステム Download PDF

Info

Publication number
JP6580098B2
JP6580098B2 JP2017171902A JP2017171902A JP6580098B2 JP 6580098 B2 JP6580098 B2 JP 6580098B2 JP 2017171902 A JP2017171902 A JP 2017171902A JP 2017171902 A JP2017171902 A JP 2017171902A JP 6580098 B2 JP6580098 B2 JP 6580098B2
Authority
JP
Japan
Prior art keywords
crane
display
internal data
channel
wireless receiver
Prior art date
Legal status (The legal status is an assumption and is not a legal conclusion. Google has not performed a legal analysis and makes no representation as to the accuracy of the status listed.)
Active
Application number
JP2017171902A
Other languages
English (en)
Other versions
JP2019043767A (ja
Inventor
裕吾 及川
裕吾 及川
篤志 野島
篤志 野島
康二 水村
康二 水村
幸児 篠原
幸児 篠原
Current Assignee (The listed assignees may be inaccurate. Google has not performed a legal analysis and makes no representation or warranty as to the accuracy of the list.)
Hitachi Industrial Equipment Systems Co Ltd
Original Assignee
Hitachi Industrial Equipment Systems Co Ltd
Priority date (The priority date is an assumption and is not a legal conclusion. Google has not performed a legal analysis and makes no representation as to the accuracy of the date listed.)
Filing date
Publication date
Application filed by Hitachi Industrial Equipment Systems Co Ltd filed Critical Hitachi Industrial Equipment Systems Co Ltd
Priority to JP2017171902A priority Critical patent/JP6580098B2/ja
Publication of JP2019043767A publication Critical patent/JP2019043767A/ja
Application granted granted Critical
Publication of JP6580098B2 publication Critical patent/JP6580098B2/ja
Active legal-status Critical Current
Anticipated expiration legal-status Critical

Links

Images

Landscapes

  • Selective Calling Equipment (AREA)

Description

本発明は、吊上げシステムに関する。
クレーンを無線操作する場合に使用される無線機器に関連する技術として、例えば、特許文献1(特開平09−086885号公報)、特許文献2(特開2004−128652号公報)がある。
特許文献1には、「制御盤36における受信部33は、無線送信機35から電送される無線信号を受信して弱電系の直列の操作信号に変換する。インバータ主制御部32は、この操作信号を取り込んでインバータ主回路部31を制御する。(要約参照)」と記載されている。
また、特許文献2(特開2004−128652号公報)には、「遠隔制御装置1に、マニュアルシフト機能を設けて、キャリアセンスを開始するチャネル(周波数)を変更できるようにする。また、マニュアルシフト機能によってスタートチャネルを変更すると、このスタートチャネルを記憶部13に記憶させる。これにより、電源をオフしてからしばらくしてオンしても、電源をオフする前に変更したチャネルからキャリアセンスを開始できる。さらに、遠隔制御装置1は、キャリアセンス時にチャネルの自動選択モードを設定した場合、電源をオフ・オンする毎に、キャリアセンスを開始するチャネルを別のチャネルに変更するように設定する。(要約参照)」と記載されている。
特開平09−086885号公報 特開2004−128652号公報
特許文献1には、マイクロコンピュータから無線通信機からの操作情報を認識できるようにされているが、制御対象の情報については考慮されていないため、制御機器が異常動作をした場合の対応については開示されていない。
すなわち、特許文献1では、制御対象であるクレーンを制御する制御機器が異常動作をした場合、無線受信機の異常であるのか、あるいはクレーンを制御する制御機器の異常であるのかの判断が困難となることについては考慮されていない。
また、特許文献2では、無線通信の混信を防止するために、現在選択しているチャンネルを変更することは可能である。しかし、特許文献2には、無線通信機のチャンネルを変更することは開示されているが、同一の無線機器を複数台使用している場合における計画的なチャンネル設定については記載されていない。このため、特許文献2では、無線通信機と制御対象との異常が生じた場合等に両者の情報を取得し、異常状態が無線通信機の混信である場合に、無線通信機の通信チャネルを変更して通信を可能にすることについては考慮されていない。
本発明の目的は、クレーンを制御する制御機器が有する内部データをユーザが取得することが可能な吊上げシステムを提供することにある。
本発明の一態様に係る吊上げシステムは、操作指示を送信する無線送信機から、少なくともクレーンを動作させるための操作情報を受信する無線受信機と、前記無線受信機から取得した内部データを表示する表示部と、前記操作情報に基づいて前記クレーンを動作させるクレーン制御機と、を有することを特徴とする。
また、本発明の一態様に係る吊上げシステムは、操作指示を送信する無線送信機から、少なくともクレーンを動作させるための操作情報を受信する無線受信機と、少なくとも前記無線送信装置の通信帯域の情報を表示する表示部と、前記操作情報に基づいて前記クレーンを動作させる制御部と、を有することを特徴とする。
本発明の一態様によれば、クレーンを制御する制御機器が有する内部データをユーザが取得することが可能となる。
本発明の実施の形態1に係る吊上げシステムの制御構成を示すブロック図である。 無線受信機とクレーン制御機間のシリアル通信の概念図である。 クレーン制御機の無線受信機からの操作情報を検出する処理のフロー図である。 クレーン制御機が無線受信機に対して要求するコマンドを選択する処理のフロー図である。 表示部及び操作入力部の一例である。 クレーン制御部が無線受信機の内部データを表示する表示例である。 本発明の実施の形態2に係る吊上げシステムの制御構成を示すブロック図である。 クレーンを無線操作する無線装置の無線通信を確立するまでの概念図である。 表示部及び入力部の一例である。 各チャンネルの通信状態の表示例である。 チャンネル設定の操作方法を示す例である。 送信機のチャンネルの変更方法を示す例である。 図5に示す表示部の変形例を示す図である。
以下、本発明の実施の形態について図面を用いて詳細に説明する。
実施の形態1
まず、図1〜図6を参照して、実施の形態1について説明する。
図1に示すように、クレーン操作者が操作する無線送信機1の操作指示を無線受信機2が受け取り、無線受信機2がクレーン制御機3へ操作指示を伝える。これにより、クレーン制御機3は、ブレーキ14、モータ15を動作させることでクレーンが動作する。
無線受信機2は、アンテナ4、通信部5、無線受信機用の制御部6、無線受信機用の記憶部7及び出力部8を有する。クレーン制御機3は、無線入力部9、クレーン制御部10、クレーン記憶部11、表示部12及び表示操作入力部13を有する。
無線受信機2がクレーン制御機3へ操作指示を伝えるために、無線受信機2の出力部8とクレーン制御部3の無線入力部9の接続は、例えば、図2に示すようにシリアル通信で実施する。クレーン制御部3が無線受信機2に対して、データ要求コマンドを送信することで、無線受信機2はデータ要求コマンドに応じたデータをクレーン制御部3への応答として出力する。
データ要求コマンドは、例えば、無線送信機1の操作情報や、無線受信機2の異常検出情報等の内部データを取得できるよう、取得するデータ分類毎に分けていても良い。あるいは、全ての情報を一つの要求コマンドで全て取得できるようにしても良い。
ここで、クレーンを運転する場合、位置決めのためや、吊荷の玉掛け状態を確かめるために、短い時間間隔、例えば200ms以下の時間間隔で動作・停止を繰り返す運転、すなわちインチング運転が必要となる。インチング運転を可能とするために、無線受信機2の操作情報の取得は短時間で実施するのが望ましい。このため、データ要求コマンドを送信するタイミングは、例えば、2ms間隔で実施すれば、クレーン制御部10の処理時間及びブレーキ14の動作時間を加味しても、十分なインチング運転が可能となる。
次に、図3を参照して、クレーン制御機3が無線受信機2の操作情報を取得する処理について説明する。
クレーン制御部10は取得した操作情報をもとにブレーキ14及びモータ15を制御してクレーンを動作させる。しかし、ノイズ等の影響で通信波形が乱れ、操作情報が認識できない状態が連続すると暴走の恐れがある。よって、このような認識できない状態が連続した場合は、クレーンを停止させる処理をクレーン制御部10は実施する。
図3を参照すると、まず、データ受信済みであるか確認する(S101)。データ受信済みであるのならば、受信したデータが正常であるか確認する(S102)。受信したデータが異常であれば、5回連続異常データを受信したのかを確認する(S105)。異常データ受信回数が5回未満ならば、異常データ受信カウントを+1する(S108)。異常データ受信回数が5回以上であるならば、今まで保持していた操作情報を全てクリアするとともに(S106)、クレーンを停止させる処理を実行する(S107)。受信データが正常である場合は、異常データ受信回数をクリアするとともに(S103)、受信したデータから操作情報を取得する(S104)。このようにして、操作情報検出処理が完了する。
次に、図4を参照して、クレーン制御機3が無線受信機2へ送信する要求コマンドを選択する処理について説明する。
無線受信機2が検出したエラー情報等の内部データ取得を、操作情報取得のためのデータ要求コマンドと分ける場合、内部データ取得時には、同時に操作情報を取得できない。このため、操作情報の取得が遅れ、操作のレスポンスが悪くなることが想定される。
そこで、内部データ取得時には、クレーンの動作を禁止させることで、操作のレスポンスや取得するデータ数を気にすることなく通信が可能となる。なお、無線受信機2の内部データを確認する際は、クレーン制御機3の操作入力部13や表示部12の近くに居る必要がある。通常、クレーン制御機3はクレーンに取付けられているため、安全のためクレーンを操作しながら内部データを確認することはない。よって、内部データ取得時、クレーンの動作を禁止しても問題はない。
図4を参照すると、クレーン制御機3が無線受信機2へ送信する要求コマンドを選択する処理は、まず、クレーン制御機3の表示操作入力部13により、無線受信機2の内部データを表示させる操作がされているか判断する(S201)。内部データを表示させる操作がされていれば、現在の操作情報をクリアするとともに(S202)、クレーンの停止処理を実施し(S203)、内部データ要求コマンド送信処理を実施する(S204)。内部データを表示させる操作がされていなければ、操作情報要求コマンド送信処理を実施する(S205)。このようにして、要求コマンド送信処理が完了する。
図1に示すように、クレーン制御機3は、受信した内部データを表示させるため、表示部12と表示操作入力部13を備える。図5は、表示部12と表示操作入力部13の配置を示した図である。
図5を参照すると、表示部12は、例えば、7セグメントLED表示器を用いる。一方、表示操作入力部13は数値等変更するための、UPキー、DOWNキー、変更した数値等を決定するENTERキー、変更した数値をもとに戻す等のCANCELキーを備える。
図6は、実際に無線受信機2の内部データの表示例である。無線受信機2の各内部データを機能コード16に割り振り、表示操作入力部13のUPキー、DOWNキーを操作しながら、表示させたい内部データを表示操作入力部13で選択する。表示させたい内部データが割り振られた機能コード16が決定したら、表示操作入力部13のENTERキーを押すことで、表示部12に内部データを表示する。
図6に示すように、表示部12に表示される内部データ17は、来歴No、エラーコード、エラー検出時の操作状態から成る。そして、表示部12に表示される内部データ17は、表示操作入力部13のUPキー、DOWNキーを操作しながら、順次表示部12に表示される。このようにして、表示部12に内部データを表示することができるので、内部データを変更して、無線受信機2に設定することも可能である。
ここで、内部データとは、例えば上記したように、来歴No、エラーコード、エラー検出時の操作状態を含む概念である。
本実施の形態1により、無線受信機2が検出したエラー情報や運転情報等を表示することで、無線受信機2の異常発生時の要因解析が容易になる。さらに、無線受信機2の内部データが変更できるので、使用するクレーンに合わせた最適な設定のカスタマイズが容易になる。
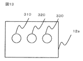
本実施の形態1は、図5に示す表示部12によって、7セグメントLEDにより文字情報をユーザに伝達することができるが、表示部12の変形例について図13を用いて説明する。
図13に表示部12aを示し、左から順に第1のLED310、第2のLED320、第3のLED330が配置されている。本変形例は、図5に示す表示部12の代わりに表示部12aを接続することにより実施可能である。これらのLED310、320、330は予め表示内容を特定しておくことで、任意の情報を表示することができる。その一例について説明する。
第1のLED310は、無線通信手段が受信する電界強度を示す。電界強度が通信に十分な場合に点灯し、電界強度が通信に不十分な場合に消灯することで、正常な通信を維持することを示すことができる。他方、電界強度が不十分な場合に点灯することもでき、この場合は、エラー状態を示すことが可能である。
また、電界強度を示す第1のLED310は複数のLEDであっても実施でき、この場合は、電界強度を複数段階で表現することができる。例えば、第1のLED310を3つ設けた場合について説明する。
第1のLED310が2つ点灯していれば通信に適した電界強度である場合、1つ点灯していれば通信はできるが電界強度が2つ点灯した状態よりも弱い場合、3つ点灯していれば2つ点灯した状態よりも強い電界強度である場合を示すことができる。また、第1のLED310が3つとも消灯していれば、通信ができない程度の電界強度であることを示すことができる。
さらに、第1のLEDが1つの場合に、LEDをPWM(pulse width modulation)駆動させ、デューティ比を変えることで第1のLED310の明るさを変更することができる。これにより、操作者が視認できる明るさが変更され、電界強度を示すことができる。また、デューティ比の変更によって明るさを調整し、さらに例えば、ディーティ比50%とディーティ比0%を交互に所定時間繰り返すことで、特定の明るさとON/OFF状態を組み合わせることも可能である。
また、第2のLED320は、操作情報の一例として、操作者がモータ駆動装置等に異常を検出した場合に、入力部に警報を発信する情報を入力すると、モータ駆動装置に取り付けられた警報が鳴っている状態に点灯する。
これにより、操作者が警報を発信する信号が送信されたことを視覚的に知ることができる。さらに、他の一例として、モータ駆動装置に取り付けられた照明のON/OFF情報、主電源のON/OFF情報を示すことができる。
次に、第3のLED330により、通信データエラーの確認をする方法について説明する。通信されたパケットについてオーバーラン、パリティ等の検定を行い、検定結果が正しい場合、すなわち通信が正常に行われている際には点灯する。あるいは、正常時に消灯してもよい。
上記した変形例により、LED310、320、330と予め特定された表示する情報が1対1の関係となることで、操作者がLED310、320、330のON/OFF状態またはその明るさを確認するだけで、瞬時にモータ駆動装置に関する状態または操作情報を確認することができる。
上記した本発明の実施の形態1によれば、クレーンを制御する制御機器が有する内部データをユーザが取得することが可能となる。また、クレーンを制御する制御機器が異常動作をした場合に、無線受信機の異常であるのか、あるいはクレーンを制御する制御機器の異常であるのかの判断に役立てることが可能となる。
実施の形態2
次に、図7〜図12を参照して、実施の形態2について説明する。
まず、図7を参照すると、クレーン操作者が操作する無線送信機1は、送信機用の入力部110、送信機用の制御部120、送信機用の通信部130、送信機用の記憶部140及び送信機用のアンテナ150を有する。一方、無線送信機1の電波を受信する無線受信機7は、受信機用の通信部5、受信機用の制御部6、受信機用の出力部8、受信機用の記憶部7、受信機用のアンテナ230、受信機用の入力部210及び受信機用の表示部220を有する。
無線操作の制御の流れは、送信機用の入力部110の状態を送信機用の制御部120が判断し、送信機用の通信部130より操作指示を無線通信で発信する。無線受信機2は、無線送信機1からの無線通信を受信機用の通信部5で受信し、受信機用の制御部6で制御を判断し、受信機用の出力部8から操作信号を出力することによりクレーン70の運転を制御する。
一般的に、クレーン70に使用される特定小電力の無線機は、個別の識別番号(ID)を持ち、無線送信機1から送信されてくる通信データにID情報も含まれている。そして、無線受信機2は、受信したID情報が自身の持つID情報と一致しなければ、その通信による制御を実施しないようになっている。
図8に示すように、複数台の無線機がある場合において、受信機A24は自身の電源が投入されたら、自身のIDと合致する送信機A21の通信を受信するまで、無線通信周波数帯(チャンネル)を順次切り替える。IDが異なる送信機B22又は送信機C23の通信を受信した場合は、その通信を無視する。送信機A21の通信を受信すると、そのチャンネルに固定される。
上記通信方式により、合致するIDが無ければ、順次チャンネルを切り替えるので、合致する送信機の電源を投入しなければ、各チャンネルの通信状態が判別可能になる。
図9は、入力部210及び表示部220の例である。無線受信機2にある入力部210は、例えば、UPボタン32、DOWNボタン33、ENTERボタン34で構成される。また、表示部220は、例えば、7セグメントLED31で構成される。
図10は、各チャンネルの通信状態の表示例である。ここで、図10において、手順41は、チャンネルスキャンを実行する機能コード表示を示し、手順42は、全チャンネルのスキャン状態表示を示す。また、手順43は、チャンネル1の空き状態表示を示し、手順44は、チャンネル2の空き状態表示を示す。
図10を参照すると、各チャンネル状態のスキャンを開始するために、まず、チャンネルスキャンを実行する機能コード「F100」を選択表示する(手順41)。「F100」を選択表示したら、次に、ENTERボタン34を押すと全チャンネルスキャンを実施する(手順42)。
全チャンネルのスキャン状態はパーセントで表示され、100%になると自動的にチャンネル1の空き状態が表示される(手順43)。他のチャンネルの状態が見たい場合はUPボタン32又はDOWNボタン33を操作することで、表示が切り替わる(手順44)。
空き状態は、3段階で表示され、「0」が他に使用している無線機がない状態で、「100」が他の無線機が占有している状態を示す。「50」は何らかの影響で一時的にそのチャンネルに電波干渉があることを示す。ここで、例えば、チャンネルの空き状態の表示はパーセント表示で実施しても良い。また、例えば、液晶表示器(図示せず)を使用すれば、全チャンネルの空き状態を一括で表示することもできる。
図11は、チャンネル設定の操作方法を示す例である。ここで、図11において、手順51は、チャンネル変更を実行する機能コード表示を示し、手順52は、現在選択しているチャンネル表示を示す。また、手順53は、チャンネル変更状態表示を示し、手順54は、チャンネル1の選択状態表示を示す。
チャンネルの空き状況表示により、受信機の空きチャンネルを固定したい場合は、まず、チャンネル変更を実行する機能コード「F200」を選択表示する(手順51)。「F200」を選択表示したらENTERボタン34を押すと、現在選択しているチャンネルが表示される(手順52)。ここで、「cH−−」の表示はチャンネルを固定していない状態を表す。すなわち、図8のように順次チャンネルを変化させて、一致するIDを探す状態を示す。現在選択しているチャンネル表示中に、ENTERボタン34を押すと、表示しているチャンネル部が点滅表示になる(手順53)。点滅表示後、UPボタン32またはDOWNボタン33を押すことによりチャンネルを選択することができる(手順54)。そして、設定したいチャンネルが表示されたら、ENTERボタン34を押すことにより、点滅表示が終了し、チャンネルが設定される(手順55)。無線受信機2に設定されたチャンネルは受信機用の記憶部7に記憶され、電源が遮断されても消去されることはない。
図12は、無線送信機1のチャンネルの変更方法を示す例である。上述のように、空きチャンネルが判別でき、無線受信機2のチャンネルを変更できる。しかし、無線送信機1のチャンネルも変更しないと、空きチャンネルを使用することができない。無線送信機1のチャンネルを変更するための方法として、例えば、無線送信機1と無線受信機2を設定変更ケーブル61で接続する。このような構成の下、上述の手順により、無線受信機2に設定されたチャンネルを無線送信機1に送信し、無線送信機1のチャンネルを変更する。無線送信機1に設定されたチャンネルは送信機用の記憶部140に記憶され、電源が遮断されても消去されることはない。
ここで、無線送信機1のチャンネルを変更する方法として、設定変更用の治具(図示せず)を使用しても良い。また、図7に示す入力部210及び表示部220が無線受信機2から分離でき、無線送信機1と接続できる構造にすることにより、図11に示す手順で、チャンネルの設定ができるようにしても良い。
なお、図7に示す入力部210及び表示部220は、クレーン側のクレーン制御機に設けても良い(例えば、図1に示すクレーン制御機3の表示操作入力部13及び表示部12参照)。図1に示すように、クレーン側のクレーン制御機3に設ける場合は、クレーン側のクレーン制御機3と無線受信機2の制御部6が通信できる構成である必要がある。
上記実施の形態2により、クレーンを制御する制御機器が有する内部データをユーザが取得することが可能となる。空きチャンネルが確認でき、また、どのチャンネルに設定するか選択できる。この結果、同一無線機器の複数台運用が容易になる。容易に各チャンネルの状態が確認できるので、操作中にクレーンが停止してしまう等の電波の混信が生じ得る場合に、混信原因の解析及び対策の検討に役立てることが可能となる。
以上、本発明者によってなされた発明をその実施の形態に基づき具体的に説明したが、本発明は前記実施の形態に限定されるものではなく、その要旨を逸脱しない範囲で種々変更可能であることは言うまでもない。例えば、前記表示部は、操作者がエラー情報あるいはチャンネルの状態を確認できるのならば、クレーン用無線操作装置等の吊上げ装置とは異なる位置(例えば、天井等)に配置しても良い。
1 無線送信機
2 無線受信機
3 クレーン制御機
4 受信機用アンテナ
5 通信部
6 制御部
7 記憶部
8 出力部
9 無線入力部
10 クレーン制御部
11 クレーン記憶部
12 表示部
13 表示操作入力部
14 ブレーキ
15 モータ
16 機能コード
17 内部データ表示例
21 送信機A
22 送信機B
23 送信機C
24 受信機A
25 受信機B
31 7セグメントLED
32 UPボタン
33 DOWNボタン
34 ENTERボタン
41 チャンネルスキャンを実行する機能コード表示
42 全チャンネルのスキャン状態表示
43 チャンネル1の空き状態表示
44 チャンネル2の空き状態表示
51 チャンネル変更を実行する機能コード表示
52 現在選択しているチャンネル表示
53 チャンネル変更状態表示
54 チャンネル1選択状態表示
61 設定変更ケーブル
70 クレーン
110 入力部
120 制御部
130 通信部
140 記憶部
150 送信機用アンテナ
230 受信機用アンテナ
210 入力部
220 表示部

Claims (6)

  1. 操作指示を送信する無線送信機から、少なくともクレーンを動作させるための操作情報を受信する無線受信機と、
    前記無線受信機から取得した内部データを表示する表示部と、
    前記操作情報に基づいて前記クレーンを動作させるクレーン制御機と、
    を有し、
    前記クレーン制御機は、前記クレーンの動作を停止させた状態で、前記無線受信機から前記内部データを取得することを特徴とする吊上げシステム。
  2. 前記表示部は、前記クレーン制御機に設けられていることを特徴とする請求項1に記載の吊上げシステム。
  3. 前記内部データは、前記無線受信機が検出したエラー情報を含むことを特徴とする請求項1に記載の吊上げシステム。
  4. 前記クレーン制御機は、前記表示部に表示すべき前記内部データを選択するための表示操作入力部を、さらに有することを特徴とする請求項1に記載の吊上げシステム。
  5. 前記無線受信機は記憶部を有し、
    前記内部データを前記記憶部に記憶することを特徴とする請求項1に記載の吊上げシステム。
  6. 前記クレーン制御機は、
    前記表示操作入力部により前記内部データを表示させる操作がされているか判断し、
    前記内部データを表示させる操作がされていれば、現在の前記操作情報をクリアするとともに前記クレーンの停止処理を実施し、前記無線受信機へ内部データ要求コマンドを送信し、
    前記内部データを表示させる操作がされていなければ、前記無線受信機へ操作情報要求コマンドを送信することを特徴とする請求項に記載の吊上げシステム。
JP2017171902A 2017-09-07 2017-09-07 吊上げシステム Active JP6580098B2 (ja)

Priority Applications (1)

Application Number Priority Date Filing Date Title
JP2017171902A JP6580098B2 (ja) 2017-09-07 2017-09-07 吊上げシステム

Applications Claiming Priority (1)

Application Number Priority Date Filing Date Title
JP2017171902A JP6580098B2 (ja) 2017-09-07 2017-09-07 吊上げシステム

Publications (2)

Publication Number Publication Date
JP2019043767A JP2019043767A (ja) 2019-03-22
JP6580098B2 true JP6580098B2 (ja) 2019-09-25

Family

ID=65813704

Family Applications (1)

Application Number Title Priority Date Filing Date
JP2017171902A Active JP6580098B2 (ja) 2017-09-07 2017-09-07 吊上げシステム

Country Status (1)

Country Link
JP (1) JP6580098B2 (ja)

Family Cites Families (4)

* Cited by examiner, † Cited by third party
Publication number Priority date Publication date Assignee Title
JPS63288893A (ja) * 1987-05-19 1988-11-25 アンリツ株式会社 デ−タ伝送装置
JP3245283B2 (ja) * 1993-11-05 2002-01-07 鹿島建設株式会社 運転状態表示装置を備えたクレーン制御装置
JP4145616B2 (ja) * 2002-09-30 2008-09-03 金陵電機株式会社 遠隔制御装置
US8554378B2 (en) * 2011-03-08 2013-10-08 Magnetek, Inc. System for control of mobile hydraulic equipment

Also Published As

Publication number Publication date
JP2019043767A (ja) 2019-03-22

Similar Documents

Publication Publication Date Title
JP5678136B2 (ja) 照明制御方法及びシステム
EP1498082B1 (en) Operating system having a plurality of medical devices and a plurality of remote control devices
EP2908302B1 (en) Operation terminal apparatus for manufacturing apparatus, and manufacturing system including the same
US10491290B2 (en) Controller in wireless communication with operation panel, wireless module, and wireless repeater
CN106304537A (zh) 照明器具以及照明系统
US9055394B2 (en) Wireless communication device and wireless communication system
US20130271380A1 (en) Display integrated control systems and display integrated input device
JP6616364B2 (ja) 無線装置システム
JP6580098B2 (ja) 吊上げシステム
JP5333828B2 (ja) リモコン装置及び機器制御システム
US20160285883A1 (en) Access-level control apparatus
US20100075601A1 (en) Wireless Communication Apparatus and Wireless Communication Method
EP3280152A1 (en) Transmission device, receiving device, and communication system and remote operation device provided with same
JP4145616B2 (ja) 遠隔制御装置
JP2011143976A (ja) 部材キッティング指示装置及びこれを用いた部材キッティング指示システム
JP5491710B2 (ja) DVOR(DopplerVHFOmnidirectionalRadioRange)システム、モニタ装置及びDVOR装置監視方法
JP7012456B2 (ja) 照明装置および照明システム
KR101625872B1 (ko) 스마트단말기의 이벤트 기반의 차량조명 제어시스템 및 그 제어방법, 그리고 이를 위한 컴퓨터로 판독가능한 기록매체
JP6808185B2 (ja) 電磁弁の遠隔操作装置
JP6612080B2 (ja) 可搬式操作装置及びプログラム
JP2010165522A (ja) 照明システム
EP3396872B1 (en) State display apparatus, state display system, and radio transmission apparatus
US10266018B2 (en) Communication system and communication apparatus
JP6899547B2 (ja) 照明制御装置、照明システム及び無線通信状況の判定支援方法
US9904276B2 (en) Access-level control apparatus

Legal Events

Date Code Title Description
A621 Written request for application examination

Free format text: JAPANESE INTERMEDIATE CODE: A621

Effective date: 20180313

A977 Report on retrieval

Free format text: JAPANESE INTERMEDIATE CODE: A971007

Effective date: 20190117

A131 Notification of reasons for refusal

Free format text: JAPANESE INTERMEDIATE CODE: A131

Effective date: 20190122

A521 Written amendment

Free format text: JAPANESE INTERMEDIATE CODE: A523

Effective date: 20190318

TRDD Decision of grant or rejection written
A01 Written decision to grant a patent or to grant a registration (utility model)

Free format text: JAPANESE INTERMEDIATE CODE: A01

Effective date: 20190806

A61 First payment of annual fees (during grant procedure)

Free format text: JAPANESE INTERMEDIATE CODE: A61

Effective date: 20190827

R150 Certificate of patent or registration of utility model

Ref document number: 6580098

Country of ref document: JP

Free format text: JAPANESE INTERMEDIATE CODE: R150