JP6564591B2 - 外観検査装置、外観検査方法、及び、基板ユニット - Google Patents
外観検査装置、外観検査方法、及び、基板ユニット Download PDFInfo
- Publication number
- JP6564591B2 JP6564591B2 JP2015057017A JP2015057017A JP6564591B2 JP 6564591 B2 JP6564591 B2 JP 6564591B2 JP 2015057017 A JP2015057017 A JP 2015057017A JP 2015057017 A JP2015057017 A JP 2015057017A JP 6564591 B2 JP6564591 B2 JP 6564591B2
- Authority
- JP
- Japan
- Prior art keywords
- image
- visible light
- inspection
- inspection object
- imaging
- Prior art date
- Legal status (The legal status is an assumption and is not a legal conclusion. Google has not performed a legal analysis and makes no representation as to the accuracy of the status listed.)
- Expired - Fee Related
Links
- 238000007689 inspection Methods 0.000 title claims description 123
- 239000000758 substrate Substances 0.000 title description 62
- 238000000034 method Methods 0.000 title description 18
- 238000003384 imaging method Methods 0.000 claims description 72
- 238000005286 illumination Methods 0.000 claims description 56
- 230000003287 optical effect Effects 0.000 claims description 21
- 230000031700 light absorption Effects 0.000 description 20
- 238000010586 diagram Methods 0.000 description 16
- 238000012790 confirmation Methods 0.000 description 9
- 239000000126 substance Substances 0.000 description 8
- 230000005284 excitation Effects 0.000 description 7
- 238000004519 manufacturing process Methods 0.000 description 7
- 239000000463 material Substances 0.000 description 6
- 238000011179 visual inspection Methods 0.000 description 6
- 230000001678 irradiating effect Effects 0.000 description 4
- 238000007789 sealing Methods 0.000 description 4
- 238000001514 detection method Methods 0.000 description 3
- 239000011347 resin Substances 0.000 description 3
- 229920005989 resin Polymers 0.000 description 3
- 230000005540 biological transmission Effects 0.000 description 2
- 239000003153 chemical reaction reagent Substances 0.000 description 2
- 239000002184 metal Substances 0.000 description 2
- 238000001579 optical reflectometry Methods 0.000 description 2
- 238000012545 processing Methods 0.000 description 2
- 239000011248 coating agent Substances 0.000 description 1
- 238000000576 coating method Methods 0.000 description 1
- 239000003086 colorant Substances 0.000 description 1
- 238000012937 correction Methods 0.000 description 1
- 238000013500 data storage Methods 0.000 description 1
- 230000002950 deficient Effects 0.000 description 1
- 230000001419 dependent effect Effects 0.000 description 1
- 238000000684 flow cytometry Methods 0.000 description 1
- 239000007850 fluorescent dye Substances 0.000 description 1
- 238000012986 modification Methods 0.000 description 1
- 230000004048 modification Effects 0.000 description 1
- 238000000465 moulding Methods 0.000 description 1
- 239000003973 paint Substances 0.000 description 1
- 229910000679 solder Inorganic materials 0.000 description 1
- 238000012360 testing method Methods 0.000 description 1
Images
Landscapes
- Pinball Game Machines (AREA)
- Investigating Materials By The Use Of Optical Means Adapted For Particular Applications (AREA)
Description
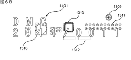
(イ)基板ケースの透明な蓋部に形成された刻印文字の有無の確認
(ロ)基板ケースの蓋部に貼付された基板の電気的、動作的な説明を記載したシールの有無と記載内容の確認
(ハ)基板ケースの透明な蓋部に貼付された識別情報を記載したシールの有無の確認と記載内容の確認
(ニ)基板ケースの透明な蓋部と底部を機械的に接合するカシメやクリップの有無の確認
(ホ)基板ケースの透明な蓋部に貼付された白地上の検印等の印影の有無の確認
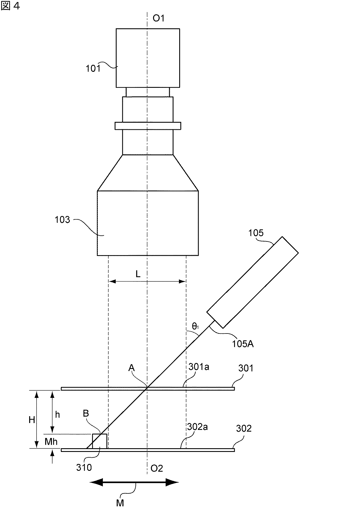
前記照明装置の光軸は、前記撮像装置の光軸に対して傾斜しており、
前記照明装置からの照明光は、前記透明体における撮像領域を照射するが、前記透明体を透過した照明光は前記不透明体における撮像領域の外側を照射し、前記撮像装置は、前記透明体の検査対象からの反射光のみを受光することによって、前記透明体の検査対象のみを撮像することを特徴とする。
紫外線を生成する紫外光光源と、該紫外線光源の出射側に設けられた可視光吸収フィルタと、前記検査対象からの可視光を受光する撮像装置と、を有し、
前記撮像装置の入射側に、紫外線を吸収し可視光のみを透過させる紫外線カットフィルタが設けられていることを特徴とする。
前記カバーに前記基板の電気的又は動作的な説明を記載した機能シールと前記基板の識別情報を記載した識別情報シールが貼り付けられており、前記機能シールと前記識別情報シールの少なくとも一方は、紫外線を受光すると励起した可視光を生成する物質を含むことを特徴とする。
前記照明装置は前記印影と同色の照明光と前記印影と異なる色の照明光を生成するように構成されており、
前記撮像装置は、前記照明装置が前記印影と同色の照明光を生成したときに取得した第1の画像と、前記照明装置が前記印影と異なる色の照明光を生成したときに取得した第2の画像を生成し、前記第1の画像の2値化データと前記第2の画像の2値化データの差に基づいて、前記印影の有無を判定することを特徴とする。
前記印影と同色の照明光を前記印影に照射し、該印影の像を撮像して第1の画像を得るステップと、
前記印影と異なる色の照明光を前記印影に照射し、該印影の像を撮像して第2の画像を得るステップと、
前記第1の画像の各画素を黒と白に2値化し、白の画素数W1を計数するステップと、
前記第2の画像の各画素を黒と白に2値化し、白の画素数W2を計数するステップと、
前記2つの画素数の差W1−W2を演算するステップと、
を有する。
Claims (2)
- 不透明体と該不透明体を覆う透明体からなる容器ユニットに照明光を照射する照明装置と、前記透明体に形成された検査対象を撮像するための撮像装置と、を有する外観検査装置において、
前記照明装置は指向性且つ非散乱性のスリット状断面の照明光を生成し、前記照明装置の光軸は、前記撮像装置の光軸に対して傾斜しており、
前記照明装置からの照明光は、前記透明体における撮像領域を照射するが、前記透明体を透過した照明光は前記不透明体における撮像領域の外側を照射し、
前記撮像装置は、前記透明体の検査対象からの反射光のみを受光することによって、前記透明体の検査対象のみを撮像し、前記検査対象のスキャン画像を生成することを特徴とする外観検査装置。 - 請求項1記載の外観検査装置において、
前記容器ユニットは遊技機用の基板と該基板を覆う透明なカバーを有する遊技機用の基板ユニットであり、前記検査対象は前記透明なカバーに形成された刻印文字であることを特徴とする外観検査装置。
Priority Applications (1)
| Application Number | Priority Date | Filing Date | Title |
|---|---|---|---|
| JP2015057017A JP6564591B2 (ja) | 2015-03-20 | 2015-03-20 | 外観検査装置、外観検査方法、及び、基板ユニット |
Applications Claiming Priority (1)
| Application Number | Priority Date | Filing Date | Title |
|---|---|---|---|
| JP2015057017A JP6564591B2 (ja) | 2015-03-20 | 2015-03-20 | 外観検査装置、外観検査方法、及び、基板ユニット |
Publications (2)
| Publication Number | Publication Date |
|---|---|
| JP2016174725A JP2016174725A (ja) | 2016-10-06 |
| JP6564591B2 true JP6564591B2 (ja) | 2019-08-21 |
Family
ID=57070639
Family Applications (1)
| Application Number | Title | Priority Date | Filing Date |
|---|---|---|---|
| JP2015057017A Expired - Fee Related JP6564591B2 (ja) | 2015-03-20 | 2015-03-20 | 外観検査装置、外観検査方法、及び、基板ユニット |
Country Status (1)
| Country | Link |
|---|---|
| JP (1) | JP6564591B2 (ja) |
Family Cites Families (9)
| Publication number | Priority date | Publication date | Assignee | Title |
|---|---|---|---|---|
| JPH08241374A (ja) * | 1995-03-02 | 1996-09-17 | Canon Inc | 文字読み取り装置および方法 |
| JPH09147092A (ja) * | 1995-11-24 | 1997-06-06 | Dainippon Printing Co Ltd | 検査装置 |
| JPH1190011A (ja) * | 1997-09-16 | 1999-04-06 | Sankyo Kk | 遊技機の基板ボックス |
| JP2003263627A (ja) * | 2002-03-08 | 2003-09-19 | Olympus Optical Co Ltd | 画像取り込み装置 |
| JP4650830B2 (ja) * | 2005-04-18 | 2011-03-16 | サミー株式会社 | 遊技機用基板ケース及びそれを搭載する遊技機 |
| JP2006334272A (ja) * | 2005-06-06 | 2006-12-14 | Samii Kk | 基板組立体の検査装置 |
| JP4822349B2 (ja) * | 2006-12-26 | 2011-11-24 | サミー株式会社 | 遊技機の不正行為防止装置 |
| JP5064913B2 (ja) * | 2007-07-05 | 2012-10-31 | 株式会社藤商事 | 遊戯盤製造用の検査方法と装置 |
| JP5995600B2 (ja) * | 2012-08-08 | 2016-09-21 | 株式会社藤商事 | 遊戯盤の検査装置および検査方法 |
-
2015
- 2015-03-20 JP JP2015057017A patent/JP6564591B2/ja not_active Expired - Fee Related
Also Published As
| Publication number | Publication date |
|---|---|
| JP2016174725A (ja) | 2016-10-06 |
Similar Documents
| Publication | Publication Date | Title |
|---|---|---|
| US8345249B2 (en) | Liquid sample analyzing method | |
| KR100828981B1 (ko) | 표면 형상의 검사 방법 및 검사 장치 | |
| CN109313133B (zh) | 表面检查系统和表面检查方法 | |
| CN102971744B (zh) | 用于测量施加于物体的光学可变标志的光学特性的方法和设备 | |
| US8284396B2 (en) | System and device for the optical inspection of glass panels | |
| RU2598296C2 (ru) | Способ проверки оптического защитного признака ценного документа | |
| US9897555B2 (en) | Defect inspection method and apparatus therefor | |
| KR101595581B1 (ko) | 반사 특성을 가진 물체의 밀리미터 또는 밀리미터 이하의 상세 구조를 관측하기 위한 광학 장치 | |
| JP5776949B2 (ja) | 検査方法 | |
| US20180202946A1 (en) | Substrate inspection device and substrate manufacturing method | |
| JP7039700B2 (ja) | 光透かしを有する検査デバイス | |
| JP4151306B2 (ja) | 被検査物の検査方法 | |
| JP2020529618A5 (ja) | ||
| JP6564591B2 (ja) | 外観検査装置、外観検査方法、及び、基板ユニット | |
| KR100517868B1 (ko) | 시료 표면의 결함 측정 및 평가 방법 | |
| JP2001056297A (ja) | 表面検査方法及び装置 | |
| JP4910128B2 (ja) | 対象物表面の欠陥検査方法 | |
| US12301770B2 (en) | Information processing apparatus, abnormality detection method, storage medium, and information processing system | |
| KR102868765B1 (ko) | 미니 엘이디 장착 검사 방법 | |
| JP4967132B2 (ja) | 対象物表面の欠陥検査方法 | |
| KR20230067759A (ko) | 광학 검사 장치 및 이를 이용한 검사 방법 | |
| EP4610632A1 (en) | Measurement apparatus and measurement method | |
| JP2020091143A (ja) | 透光性部材の表面欠陥検査方法および装置 | |
| JPH0794971B2 (ja) | 断面形状検知方法 | |
| JP2020091132A (ja) | 透光性部材の表面欠陥検査装置 |
Legal Events
| Date | Code | Title | Description |
|---|---|---|---|
| A621 | Written request for application examination |
Free format text: JAPANESE INTERMEDIATE CODE: A621 Effective date: 20180202 |
|
| A977 | Report on retrieval |
Free format text: JAPANESE INTERMEDIATE CODE: A971007 Effective date: 20181019 |
|
| A131 | Notification of reasons for refusal |
Free format text: JAPANESE INTERMEDIATE CODE: A131 Effective date: 20181127 |
|
| A521 | Request for written amendment filed |
Free format text: JAPANESE INTERMEDIATE CODE: A523 Effective date: 20190117 |
|
| TRDD | Decision of grant or rejection written | ||
| A01 | Written decision to grant a patent or to grant a registration (utility model) |
Free format text: JAPANESE INTERMEDIATE CODE: A01 Effective date: 20190702 |
|
| A61 | First payment of annual fees (during grant procedure) |
Free format text: JAPANESE INTERMEDIATE CODE: A61 Effective date: 20190729 |
|
| R150 | Certificate of patent or registration of utility model |
Ref document number: 6564591 Country of ref document: JP Free format text: JAPANESE INTERMEDIATE CODE: R150 |
|
| LAPS | Cancellation because of no payment of annual fees |
