JP6524965B2 - 手差しシート給送装置及びそれを備えた画像形成装置 - Google Patents

手差しシート給送装置及びそれを備えた画像形成装置 Download PDF

Info

Publication number
JP6524965B2
JP6524965B2 JP2016105507A JP2016105507A JP6524965B2 JP 6524965 B2 JP6524965 B2 JP 6524965B2 JP 2016105507 A JP2016105507 A JP 2016105507A JP 2016105507 A JP2016105507 A JP 2016105507A JP 6524965 B2 JP6524965 B2 JP 6524965B2
Authority
JP
Japan
Prior art keywords
sheet
angle
fitting
stacking tray
main body
Prior art date
Legal status (The legal status is an assumption and is not a legal conclusion. Google has not performed a legal analysis and makes no representation as to the accuracy of the status listed.)
Expired - Fee Related
Application number
JP2016105507A
Other languages
English (en)
Other versions
JP2017210352A (ja
Inventor
光幸 宮本
光幸 宮本
Current Assignee (The listed assignees may be inaccurate. Google has not performed a legal analysis and makes no representation or warranty as to the accuracy of the list.)
Kyocera Document Solutions Inc
Original Assignee
Kyocera Document Solutions Inc
Priority date (The priority date is an assumption and is not a legal conclusion. Google has not performed a legal analysis and makes no representation as to the accuracy of the date listed.)
Filing date
Publication date
Application filed by Kyocera Document Solutions Inc filed Critical Kyocera Document Solutions Inc
Priority to JP2016105507A priority Critical patent/JP6524965B2/ja
Publication of JP2017210352A publication Critical patent/JP2017210352A/ja
Application granted granted Critical
Publication of JP6524965B2 publication Critical patent/JP6524965B2/ja
Expired - Fee Related legal-status Critical Current
Anticipated expiration legal-status Critical

Links

Images

Landscapes

  • Paper Feeding For Electrophotography (AREA)
  • Manual Feeding Of Sheets (AREA)

Description

本発明は、複写機、プリンター、ファクシミリ等の画像形成装置に用いられ、シート状の記録媒体を給送する手差しシート給送装置に関するものである。
一般に、複写機、プリンター及びファクシミリ等の画像形成装置においては、用紙等のシート状の記録媒体を積載した着脱可能な給紙カセットを備え、この給紙カセットから用紙を供給して画像形成が行われるように構成されている。しかし、給紙カセットに積載されている用紙と異なるサイズの用紙を用いる場合には、その都度、目的の用紙を給紙カセットに積載し直さなければならず作業が煩雑となる。そのため、画像形成装置には、給紙カセットを介さずにシート状の記録媒体を供給することのできる、手差し給紙装置(バイパスユニット)を備えたものが知られている。
例えば特許文献1には、用紙が載置される手差し給紙トレイを備えた手差し給紙装置において、手差し給紙トレイが用紙積載面から上方に突出する段部を有し、この段部を用いて用紙の給紙方向後端位置を規制する用紙後端カーソルを備えた手差し給紙装置が開示されている。
特開2010−215357号公報
ところで、上述したような手差し給紙トレイは、画像形成装置本体の側面に開閉可能に設けられており、開放状態では画像形成装置本体に対して一定角度に支持されている。そのため、手差し給紙トレイに用紙を積載する場合、大サイズの用紙では用紙の重みによって複数枚の用紙が一度に給紙部に送り込まれることにより用紙の重送が発生するという問題点があった。また、ハガキ等の小サイズの用紙では用紙が軽いため、給紙部に送り込まれた用紙が昇降板の昇降時の衝撃等により後退し、用紙の不送りが発生するという問題点があった。即ち、複数のサイズの用紙を安定して給紙することが困難であった。
本発明は、上記問題点に鑑み、シートの大きさに係わらず安定して給送可能な簡易な構成の手差しシート給送装置及びそれを備えた画像形成装置を提供することを目的とする。
上記目的を達成するために本発明の第1の構成は、シート積載トレイと、一対の幅合わせカーソルと、角度規制機構と、を備えたシート給送装置である。シート積載トレイは、下方端部側を支点として画像形成装置の本体側面に回動可能に支持され、本体側面に沿った閉鎖位置と、本体側面から第1の角度で開放された開放位置と、に選択配置される。一対の幅合わせカーソルは、シート積載トレイ上をシート幅方向に移動可能であり、シート積載トレイに積載されたシートの幅方向の位置を規定する。角度規制機構は、幅合わせカーソルの移動に連動して、本体側面に対するシート積載トレイの開放角度を第1の角度よりも小さい第2の角度に規制する。角度規制機構は、シート積載トレイに設けられた係合部と、本体側面に設けられ、係合部と係合可能な被係合部と、幅合わせカーソルの移動に連動して係合部を押圧する押圧部と、を含む。係合部は、被係合部と係合可能な係合位置と、被係合部から退避した退避位置とに移動可能である。幅合わせカーソルが所定位置にセットされた状態でシート積載トレイが開放方向に回動された場合、押圧部に押圧された係合部が被係合部に係合し、本体側面に対するシート積載トレイの開放角度を第2の角度に規制する。
本発明の第1の構成によれば、幅合わせカーソルの移動に連動してシート積載トレイの開放角度を規制する角度規制機構を用いてシート積載トレイの角度を本体側面に対して第1の角度と第1の角度よりも小さい第2の角度とに切り替え可能である。従って、シートの大きさに係わらず、シートの不送りや重送を発生させることなく安定した給送動作が可能な手差しシート給送装置となる。
本発明の手差し給紙装置11を備えた画像形成装置100の内部構造を示す側面断面図 本発明の第1実施形態に係る手差し給紙装置11が所定角度に開放された状態を内側から見た斜視図 第1実施形態の手差し給紙装置11が所定角度に開放された状態を外側から見た斜視図 第1実施形態の手差し給紙装置11の幅合わせカーソル35a、35b周辺を表面側から見た部分斜視図 第1実施形態の手差し給紙装置11の幅合わせカーソル35a、35b周辺を裏面側から見た部分斜視図 図5における角度調整機構80周辺の部分拡大図 角度調整機構80を構成する嵌合部材63の斜視図 用紙積載トレイ31が本体側面100aに対し角度θ1で支持された画像形成装置100の外観斜視図 第1実施形態の手差し給紙装置11の幅合わせカーソル35a、35bを小サイズの用紙幅に合わせた状態を表面側から見た部分斜視図 第1実施形態の手差し給紙装置11の幅合わせカーソル35a、35bを小サイズの用紙幅に合わせた状態を裏面側から見た部分斜視図 図10における角度調整機構80周辺の部分拡大図であり、嵌合孔53aとボス部63bの先端とがずれている状態を示す図 図10における角度調整機構80周辺の部分拡大図であり、嵌合孔53aとボス部63bの先端とが嵌合した状態を示す図 用紙積載トレイ31が本体側面100aに対し角度θ2で支持された画像形成装置100の外観斜視図 ボス部63bの先端部の拡大斜視図 第1実施形態の手差し給紙装置11の変形例であって、リブ53に嵌合孔53aを2つ形成した構成を示す図 本発明の第2実施形態に係る手差し給紙装置11の幅合わせカーソル35周辺を表面側から見た部分斜視図
以下、図面を参照しながら本発明の実施形態について説明する。図1は、本発明の手差し給紙装置11を備えた画像形成装置100の内部構造を示す側面断面図である。画像形成装置(例えばモノクロプリンター)100内には、帯電、露光、現像及び転写の各工程によりモノクロ画像を形成する画像形成部Pが配設されている。画像形成部Pには、感光体ドラム5の回転方向(図1の時計回り方向)に沿って、帯電ユニット4、露光ユニット(レーザー走査ユニット等)7、現像ユニット8、転写ローラー14、クリーニング装置19、及び除電装置(図示せず)が配設されている。
画像形成動作を行う場合、帯電ユニット4により時計回り方向に回転する感光体ドラム5が一様に帯電され、原稿画像データに基づく露光ユニット7からのレーザービームにより感光体ドラム5上に静電潜像が形成され、現像ユニット8により静電潜像に現像剤(以下、トナーという)が付着されてトナー像が形成される。
この現像ユニット8へのトナーの供給はトナーコンテナ9から行われる。なお、画像データはパーソナルコンピューター(図示せず)等から送信される。また、感光体ドラム5の表面の残留電荷を除去する除電装置(図示せず)がクリーニング装置19の下流側に設けられている。
上記のようにトナー像が形成された感光体ドラム5に向けて、用紙が給紙カセット10又は手差し給紙装置11から用紙搬送路12及びレジストローラー対13を経由して搬送され、転写ローラー14(画像転写部)により感光体ドラム5の表面に形成されたトナー像が用紙に転写される。トナー像が転写された用紙は感光体ドラム5から分離され、定着装置15に搬送されてトナー像が定着される。定着装置15を通過した用紙は、用紙搬送路16により装置上部に搬送され、そのまま(或いは用紙搬送路16の湾曲部20から分岐する反転搬送路21に振り分けられ、両面印字された後)排出ローラー対17により排出トレイ18に排出される。
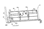
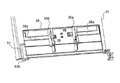
図2及び図3は、それぞれ本発明の第1実施形態に係る手差し給紙装置11が所定角度に開放された状態を画像形成装置100の内側及び外側から見た斜視図である。手差し給紙装置11は、側面カバー30、用紙積載トレイ31、幅合わせカーソル35a、35b、補助トレイ37、分離搬送部32、給紙クラッチ49等を含む給紙部、用紙検出部等から構成されている。また、給紙経路を図中の矢印で示している。
側面カバー30は画像形成装置100の本体側面100aの一部を構成する。用紙積載トレイ31は側面カバー30の内側に支持されており、側面カバー30と共に本体側面100aから所定角度だけ開放した開放位置と、本体側面100aに沿って収納部80に収納される閉鎖位置とに選択配置される。
図3に示すように、側面カバー30と本体側面100aとの間には一対のリンク部材40が設けられている。リンク部材40は、一端部が側面カバー30の幅方向両端縁に回動可能に連結されており、他端部が本体側面100aに回動可能に連結されている。リンク部材40は、側面カバー30の開放範囲(最大開放角度)を規制するストッパーとして機能する。
給紙方向に対し用紙積載トレイ31の下流側端部には昇降板33が連結されている。用紙積載トレイ31には用紙幅方向に移動可能な一対の幅合わせカーソル35a、35bが付設されている。用紙積載トレイ31にセットされた用紙束Pの用紙の有無は、用紙幅方向の中央部に配置されるセット検知センサー(図示せず)により検出され、用紙束の縦サイズは用紙積載トレイ31に設けられた用紙縦サイズセンサー(図示せず)により検出される。なお、用紙幅は幅合わせカーソル35a、35bの位置によって検出する。
給紙方向に対し用紙積載トレイ31の上流側端部には、補助トレイ37が付設されている。補助トレイ37は用紙積載トレイ31に対し摺動可能に支持されており、用紙積載トレイ31に重なる収納位置と、用紙積載トレイ31から引き出されて用紙束を支持する支持位置と、に選択配置される。
昇降板33の昇降動作について詳細に説明する。昇降板33は、分離搬送部32から離れた側の端部において用紙積載トレイ31に軸支され、この支軸を中心とした回動で昇降可能となっている。昇降板33は、後述するカム45及びカムアクチュエーター47から外力が与えられない限り用紙積載トレイ31の上面と略同一の位置まで下降した状態にある。この状態で、用紙積載トレイ31への用紙束の補充や交換が行われる。
一方、昇降板33の回動端部、すなわち分離搬送部32に近い側の端部近傍には、ソレノイド43により回転するカム45と、カム45の回転により上下に揺動するカムアクチュエーター47と、昇降板33と側面カバー30の間に配置されて昇降板33を上方向に付勢する圧縮バネ(図示せず)が設けられている。カムアクチュエーター47の揺動端は昇降板33を押し下げ可能な位置に配置されている。そして、カム45が所定方向に所定量回転すると、昇降板33を押し下げていたカムアクチュエーター47も上方向に所定量揺動し、圧縮バネが昇降板33の裏面を押し上げる。その結果、昇降板33は用紙束のうち最上の用紙が給紙ローラー32aに圧接した状態に配置される。
次に、本実施形態の手差し給紙装置11の給紙動作について説明する。画像形成装置100内の制御部(図示せず)に手差し給紙装置11からの給紙指示が入力されると、制御部から制御信号が送信され、給紙クラッチ49が作動して給紙ローラー32aが回転を開始する。そして、所定のタイミングでソレノイド43が作動してカム45を所定量回転させる。これに伴い、カムアクチュエーター47を介して昇降板33に作用していた押し下げ力が解除されるとともに、昇降板33が圧縮バネの付勢力により押し上げられ、用紙束の最上部の用紙が給紙ローラー32aに押し付けられて給紙動作が行われる。
そして、給紙ローラー32aと分離パッド32bとのニップ部において給紙ローラー32aに接している最上部の1枚のみが分離され、画像形成装置100内の用紙搬送路16(図1参照)に搬送される。
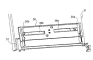
図4及び図5は、それぞれ第1実施形態の手差し給紙装置11の幅合わせカーソル35a、35b周辺を表面側(用紙積載面側)及び裏面側から見た部分斜視図である。図4及び図5では、幅合わせカーソル35a、35bを大サイズ(例えばA4サイズ)の用紙幅に合わせた状態を示している。
幅合わせカーソル35a、35bは、カーソルカバー38の上面に一対装着されている。一対の幅合わせカーソル35a、35bは、用紙給送方向と直角をなす用紙幅方向(図4、図5の左右方向)の中心線に対して左右対称をなす位置に並べて配置されており、各幅合わせカーソル35a、35bはカーソルカバー38の移動溝38a、38bに沿って摺動可能である。用紙積載トレイ31の一端(図4の左端、図5の右端)には、画像形成装置100本体側がら突出するリブ53が挿通可能な切り欠き部51が形成されている。
図5に示すように、幅合わせカーソル35a、35bの下端部には、それぞれ用紙幅方向に延びる板状のラック部36a、36bが形成されている。ラック部36a、36bはカーソルカバー38の背面に形成されたカーソルガイド38c内に収容される。幅合わせカーソル35a、35bの用紙幅方向へのスライド移動とともに、ラック部36a、36bも用紙幅方向に移動する。なお、ラック部36a、36bは、用紙給送方向に位置をずらして配置されているので、用紙幅方向に移動しても互いが衝突することはない。また、ラック部36aの先端には押圧部材62が固定されている。押圧部材62は、幅合わせカーソル35aと共に用紙幅方向に往復移動する。
ピニオンギア60は、カーソルカバー38の背面中央部に形成された軸受部61に外挿され、カーソルカバー38に対して回転可能に支持されている。ピニオンギア60は軸受部61から突出する係止爪(図示せず)によって軸受部61から脱落しないように保持されている。
ピニオンギア60には、用紙給送方向上流側及び下流側(図5の上側及び下側)において一対の幅合わせカーソル35a、35bのラック部36a、36bに形成されたラック歯が各々係合し、ラック&ピニオン機構を構成している。これにより、一方の幅合わせカーソル35aを用紙幅方向に移動させると、これに連動して他方の幅合わせカーソル35bも反対方向に移動する。即ち、各幅合わせカーソル35a、35bは用紙幅方向の中心線に対して左右対称に移動する。また、幅合わせカーソル35a、35bには幅方向の任意の位置で保持(仮固定)するための位置規制機構(図示せず)が設けられている。
また、手差し給紙装置11には用紙積載トレイ31の角度を調整する角度調整機構80が設けられている。図6は、図5における角度調整機構80周辺(図5の破線円内)の部分拡大図であり、図7は、角度調整機構80を構成する嵌合部材63の斜視図である。角度調整機構80は、嵌合部材63と、圧縮バネ70a、70bと、押圧部材62(図4参照)と、を含む。
嵌合部材63は、本体部63aと、本体部63aから突出するボス部63bとを有する。本体部63aには貫通孔64a、64bが形成されており、貫通孔64a、64bには切り欠き部51の壁部51aから用紙幅方向に延びるガイドピン65a、65bが挿入される。嵌合部材63は、ガイドピン65a、65bに沿って用紙幅方向に摺動可能に支持される。
ガイドピン65a、65bには第1圧縮バネ70a、第2圧縮バネ70bが外挿されている。第1圧縮バネ70aは壁部51aと嵌合部材63の間に外挿されており、第2圧縮バネ70bは嵌合部材63を挟んで第1圧縮バネ70aと反対側に外挿される。図7に示すように、外力を加えない状態では、第2圧縮バネ70bがガイドピン65a、65bの先端よりも突出している。また、ボス部63bの先端は壁部51aに形成されたガイド穴66に係合している。このとき、ボス部63bの先端はガイド穴66から切り欠き部51内に突出せず、壁部51aの内面と略面一となっている。
次に、角度調整機構80を用いて用紙積載トレイ31の角度を調整する方法について説明する。大サイズ(例えばA4サイズ)の用紙を積載する場合は、図4に示すように幅合わせカーソル35a、35bの間隔を用紙幅に合わせて広げた状態にセットする。この状態では、図5に示すように押圧部材62は嵌合部材63から離間しており、嵌合部材63は第1圧縮バネ70aの付勢力によってボス部63bがガイド穴66から切り欠き部51内に突出しない位置(第1の位置)に保持されている。これにより、図8に示すように用紙積載トレイ31は側面カバー30と共に自重によって最大開放角度まで開放され、リンク部材40(図3参照)により本体側面100aに対して所定の角度θ1(第1の角度)で支持される。
図9及び図10は、それぞれ第1実施形態の手差し給紙装置11の幅合わせカーソル35a、35bを小サイズの用紙幅に合わせた状態を表面側(用紙積載面側)及び裏面側から見た部分斜視図である。図11は、図10における角度調整機構80周辺(図10の破線円内)の部分拡大図である。小サイズ(例えばハガキサイズ)の用紙を積載する場合は、図9に示すように幅合わせカーソル35a、35bを用紙幅に合わせて狭めた位置に移動し、位置規制機構(図示せず)により保持する。このとき、押圧部材62が第1圧縮バネ70a、第2圧縮バネ70bを圧縮しながら嵌合部材63を押圧し、嵌合部材63は第1圧縮バネ70aの付勢力に抗して矢印A方向に移動する。その結果、図10及び図11に示すように嵌合部材63はボス部63bの先端がガイド穴66から切り欠き部51の内側に突出し、画像形成装置100本体側のリブ53に圧接される位置(第2の位置)に配置される。
この状態では、図11に示すようにリブ53に形成されたボス部63bの先端が嵌合孔53aの径方向にずれている。図11の状態から用紙積載トレイ31を上方向(矢印B方向)に回動させることにより、用紙積載トレイ31の回動と共にボス部63bも上方に移動する。そして、ボス部63bの先端が嵌合孔53aに重なる位置まで用紙積載トレイ31を回動させたとき、図12に示すようにボス部63bが嵌合孔53aに嵌合する。その結果、用紙積載トレイ31の回動が規制され、図13に示すように用紙積載トレイ31は本体側面100aに対してθ1よりも小さい所定の角度θ2(第2の角度)で支持される。
また、嵌合部材63は第1圧縮バネ70a、第2圧縮バネ70bによってガイドピン65a、65bに弾性的に支持されている。さらに、図14に示すように、ボス部63bの先端の周縁部には環状の傾斜面71が形成されている。これにより、図12の状態から用紙積載トレイ31を下方向(矢印B′方向)に回動させると、ボス部63bが嵌合孔53aの周縁部の下側に押圧されて傾斜面71が嵌合孔53aの周縁部に乗り上げ、リブ53から離間する方向(矢印A′方向)に移動し、ボス部63bの先端が嵌合孔53aの径方向にずれて嵌合部材63と嵌合孔53aとの係合が解除される。従って、用紙積載トレイ31は図8に示したように再び本体側面100aに対して角度θ1で支持される。
本実施形態の構成によれば、幅合わせカーソル35a、35bの位置に応じて用紙積載トレイ31の角度を調整可能となっている。具体的には、大サイズ用紙に合わせて幅合わせカーソル35a、35bの間隔を広げたとき、用紙積載トレイ31が本体側面100aに対し角度θ1で支持され、小サイズ用紙に合わせて幅合わせカーソル35a、35bの間隔を狭めたとき、用紙積載トレイ31を本体側面100aに対しθ1よりも小さい角度θ2で支持可能となる。
これにより、大サイズの用紙を積載する場合は本体側面100aに対する用紙積載トレイ31の角度が大きくなる。そのため、重量の重い大サイズの用紙が分離搬送部32に一度に複数枚送り込まれる現象が発生し難くなり、用紙の重送を抑制することができる。また、小サイズの用紙を積載する場合は本体側面100aに対する用紙積載トレイ31の角度を小さくすることができる。そのため、重量の軽い小サイズの用紙が分離搬送部32に送り込まれたとき昇降板33の昇降による用紙の後退が発生し難くなり、用紙の不送りを抑制することができる。即ち、用紙の大きさに係わらず、不送りや重送を発生させることなく安定した給紙動作が可能となる。
また、幅合わせカーソル35a、35bの間隔を狭めた状態で用紙積載トレイ31を回動させるだけで用紙積載トレイ31の角度をθ2に切り替え可能となるため、重量の軽い小サイズの用紙を積載する場合に用紙積載トレイ31の角度を迅速に調整可能となる。
また、幅合わせカーソル35a、35bを小サイズの用紙に合わせた状態で用紙積載トレイ31の角度が常に変化するのではなく、用紙積載トレイ31を上方向に回動させることで角度θ1よりも大きい角度θ2で保持することができ、用紙積載トレイ31を下方向に回動させることで角度θ1に戻すことができる。従って、積載される用紙が小サイズである場合に、用紙の目付量(坪量)やコシの強さ等に応じて用紙積載トレイ31の角度を変更することができる。
なお、ここでは用紙積載トレイ31の角度を2段階に調整可能な手差し給紙装置11について説明したが、本発明は、用紙積載トレイ31の角度を3段階以上に調整可能な手差し給紙装置11についても同様に適用可能である。例えば、図15に示すようにボス部63bの先端が嵌合する嵌合孔53aをリブ53に2つ形成しておくことで、用紙積載トレイ31の角度を3段階に調整可能となる。
図16は、本発明の第2実施形態に係る手差し給紙装置11の幅合わせカーソル35a、35b周辺を表面側(用紙積載面側)から見た部分斜視図である。図16では、幅合わせカーソル35a、35bを小サイズの用紙幅に合わせた状態を示している。本実施形態では、押圧部材62は幅合わせカーソル35aのラック部36aとは独立して設けられており、カーソルカバー38の上面から突出するレバー部62aを有する。角度調整機構80の他の部分の構成は第1実施形態と同様である。
本実施形態の構成によれば、レバー部62aを把持して押圧部材62を矢印AA′方向に移動させることにより、図11に示したように嵌合部材63をボス部63bと嵌合孔53aとが嵌合可能な位置(第2の位置)と、図6に示したようにボス部63bと嵌合孔53aの嵌合が解除される位置(第1の位置)とに選択配置することができる。従って、幅合わせカーソル35a、35bの位置に関係なく用紙積載トレイ31の角度を調整可能となる。
その他本発明は、上記各実施形態に限定されず、本発明の趣旨を逸脱しない範囲で種々の変更が可能である。例えば、上記各実施形態では、嵌合部材63を支持するガイドピン65a、65bに、嵌合部材63を両側から挟むように第1圧縮バネ70a、第2圧縮バネ70bを外挿している。
上記の構成に代えて、嵌合部材63をガイドピン65a、65bよりも押圧部材62側に突出させて押圧部材62と嵌合部材63とが直接接触する構成にしておけば、壁部51aと嵌合部材63の間の第1圧縮バネ70aのみを配置すれば良い。この場合、幅合わせカーソル35a、35bの間隔を狭めた状態では嵌合部材63は押圧部材62側に移動できないため、画像形成装置100側のリブ53を用紙幅方向に移動可能とし、且つ、リブ53をバネ等で嵌合部材63側に付勢しておけば、幅合わせカーソル35a、35bの間隔を狭めた状態で用紙積載トレイ31を回動させて用紙積載トレイ31の角度をθ1とθ2とに切り替えることができる。或いは、ボス部63bと嵌合孔53aの位置を合わせた状態で幅合わせカーソル35a、35bの間隔を狭めて用紙積載トレイ31の角度をθ2に切り替えても良い。
また、本発明は図1に示したようなモノクロプリンターに限らず、カラープリンター、モノクロ及びカラー複写機、デジタル複合機、或いはファクシミリ等、手差し給紙装置を備えた他のタイプの画像形成装置にも適用できるのはもちろんである。
本発明は、シート状の記録媒体を給送する手差しシート給送装置に利用可能である。本発明の利用により、シート積載トレイの角度を容易に変更することができ、シートの大きさに係わらず安定して給送可能な簡易な構成の手差しシート給送装置及びそれを備えた画像形成装置を提供することができる。
11 手差し給紙装置(シート給送装置)
30 側面カバー
31 用紙積載トレイ(シート積載トレイ)
35a、35b 幅合わせカーソル
51 切り欠き部
51a 壁部
53 リブ
53a 嵌合孔(被係合部)
62 押圧部材(押圧部)
63 嵌合部材(係合部)
63b ボス部
65a、65b ガイドピン
70a 第1圧縮バネ(第1の付勢部材)
70b 第2圧縮バネ(第2の付勢部材)
80 角度調整機構(角度規制機構)
100 画像形成装置

Claims (7)

  1. 下方端部側を支点として画像形成装置の本体側面に回動可能に支持され、前記本体側面に沿った閉鎖位置と、前記本体側面から第1の角度で開放された開放位置と、に選択配置されるシート積載トレイと、
    前記シート積載トレイ上をシート幅方向に移動可能であり、前記シート積載トレイに積載されたシートの幅方向の位置を規定する一対の幅合わせカーソルと、
    前記幅合わせカーソルの移動に連動して、前記本体側面に対する前記シート積載トレイの開放角度を前記第1の角度よりも小さい第2の角度に規制する角度規制機構と、
    を備え、
    前記角度規制機構は、
    前記シート積載トレイに設けられた係合部と、
    前記本体側面に設けられ、前記係合部と係合可能な被係合部と、
    前記幅合わせカーソルの移動に連動して前記係合部を押圧する押圧部と、を含み、
    前記係合部は、前記被係合部と係合可能な係合位置と、前記被係合部から退避した退避位置とに移動可能であり、
    前記幅合わせカーソルが所定位置にセットされた状態で前記シート積載トレイが開放方向に回動された場合、前記押圧部に押圧された前記係合部が前記被係合部に係合し、前記本体側面に対する前記シート積載トレイの開放角度を前記第2の角度に規制することを特徴とする手差しシート給送装置。
  2. 前記角度規制機構は、
    前記本体側面に形成されたシート幅方向に貫通する嵌合孔である前記被係合部と、
    前記嵌合孔から離間した第1の位置と、前記嵌合孔に嵌合可能な第2の位置と、の間をシート幅方向に沿って往復移動可能な嵌合部材である前記係合部と、
    前記嵌合部材を前記第2の位置方向に押圧可能な押圧部材である前記押圧部と、
    前記嵌合部材を前記第1の位置方向に付勢する第1の付勢部材と、
    を有し、
    前記幅合わせカーソルが所定位置にセットされた状態では、前記嵌合部材は前記第1の付勢部材の付勢力により前記第1の位置に配置され、前記シート積載トレイは前記本体側面に対し前記第1の角度で支持されており、
    一対の前記幅合わせカーソルの間隔を前記所定位置から狭めた位置にセットし、前記押圧部材によって前記嵌合部材を押圧することにより、前記嵌合部材が前記第1の付勢部材の付勢力に抗して前記第2の位置に配置され、前記シート積載トレイを前記本体側面に対し前記第2の角度で支持可能となることを特徴とする請求項1に記載の手差しシート給送装置。
  3. 前記嵌合部材を前記押圧部材から離間し、前記嵌合孔に近接する方向に付勢する第2の付勢部材が設けられ、
    前記シート積載トレイが前記本体側面に対し前記第1の角度で支持されているとき、前記嵌合部材が前記嵌合孔の径方向にずれており、
    前記嵌合部材が前記第2の位置に配置された状態で前記シート積載トレイを回動させることにより前記嵌合部材と前記嵌合孔とが重なり合い、前記第2の付勢部材の付勢力によって前記嵌合部材と前記嵌合孔とが嵌合して前記シート積載トレイが前記本体側面に対し前記第2の角度で支持されることを特徴とする請求項2に記載の手差しシート給送装置。
  4. 前記嵌合部材は、前記嵌合孔に嵌合する先端部の周縁部に傾斜面が形成されており、
    前記嵌合部材と前記嵌合孔とが嵌合した状態で前記シート積載トレイを開放方向に回動させることにより、前記第2の付勢部材の付勢力に抗して前記嵌合部材と前記嵌合孔との嵌合が解除されて前記シート積載トレイが前記本体側面に対し前記第1の角度で支持されることを特徴とする請求項3に記載の手差しシート給送装置。
  5. 前記押圧部材は、一対の前記幅合わせカーソルの間隔を狭くする方向に移動させたとき前記嵌合部材を前記第2の位置方向に押圧することを特徴とする請求項2乃至請求項4のいずれかに記載の手差しシート給送装置。
  6. 前記本体側面には前記嵌合部材の回動軌跡に沿って前記嵌合孔が複数形成されており、前記シート積載トレイは、前記嵌合部材が前記複数の嵌合孔の何れかと嵌合することによって、前記本体側面に対し前記第1の角度と前記第2の角度を含む3以上の角度で支持されることを特徴とする請求項2乃至請求項5のいずれかに記載の手差しシート給送装置。
  7. 請求項1乃至請求項6のいずれかに記載の手差しシート給送装置を備えた画像形成装置。
JP2016105507A 2016-05-26 2016-05-26 手差しシート給送装置及びそれを備えた画像形成装置 Expired - Fee Related JP6524965B2 (ja)

Priority Applications (1)

Application Number Priority Date Filing Date Title
JP2016105507A JP6524965B2 (ja) 2016-05-26 2016-05-26 手差しシート給送装置及びそれを備えた画像形成装置

Applications Claiming Priority (1)

Application Number Priority Date Filing Date Title
JP2016105507A JP6524965B2 (ja) 2016-05-26 2016-05-26 手差しシート給送装置及びそれを備えた画像形成装置

Publications (2)

Publication Number Publication Date
JP2017210352A JP2017210352A (ja) 2017-11-30
JP6524965B2 true JP6524965B2 (ja) 2019-06-05

Family

ID=60474486

Family Applications (1)

Application Number Title Priority Date Filing Date
JP2016105507A Expired - Fee Related JP6524965B2 (ja) 2016-05-26 2016-05-26 手差しシート給送装置及びそれを備えた画像形成装置

Country Status (1)

Country Link
JP (1) JP6524965B2 (ja)

Also Published As

Publication number Publication date
JP2017210352A (ja) 2017-11-30

Similar Documents

Publication Publication Date Title
JP4361460B2 (ja) 画像形成装置及び媒体供給機構
JP4429952B2 (ja) 画像形成装置
JP6084236B2 (ja) シート積載装置及び画像形成装置
JP6800619B2 (ja) シート給送装置及び画像形成装置
JP6163469B2 (ja) 手差しシート給送装置及びそれを備えた画像形成装置
JP4873487B2 (ja) 画像形成装置
JP6614772B2 (ja) シート搬送装置及び画像形成装置
JP2016101994A (ja) 給紙装置、およびこれを備えた画像形成装置
JP5925162B2 (ja) シート給送装置及び画像形成装置
JP6348733B2 (ja) 給紙装置、給紙装置を備える画像読取装置、および画像読取装置を備える画像形成装置
JP2018108873A (ja) 搬送装置、媒体排出装置及び画像形成装置
JP6323377B2 (ja) シート搬送装置、およびこれを備えた画像形成装置
JP6682281B2 (ja) シート給送装置及び画像形成装置
JP5110365B2 (ja) 画像記録媒体供給装置および画像形成装置
JP7062895B2 (ja) 可動ユニットのロック機構及びそれを備えたシート給送装置並びに画像形成装置
JP6618344B2 (ja) シート収納装置及び画像形成装置
JP6524965B2 (ja) 手差しシート給送装置及びそれを備えた画像形成装置
JP2005062326A (ja) 画像形成装置
JP6394523B2 (ja) 手差しシート給送装置及びそれを備えた画像形成装置
JP6387956B2 (ja) 給紙カセット及びそれを備えた画像形成装置
JP6354686B2 (ja) シート給送装置及びそれを備えた画像形成装置
JPH11263451A (ja) ユニバーサルカセット
JP7625963B2 (ja) シート排出装置およびそれを備えた原稿搬送装置並びに画像形成装置
JP5156558B2 (ja) 用紙搬送装置及びそれを備えた給紙装置及び画像形成装置
JP2003201023A (ja) シート収納装置及びこれを備えたシート給送装置及び画像形成装置

Legal Events

Date Code Title Description
A621 Written request for application examination

Free format text: JAPANESE INTERMEDIATE CODE: A621

Effective date: 20180326

A977 Report on retrieval

Free format text: JAPANESE INTERMEDIATE CODE: A971007

Effective date: 20190118

A131 Notification of reasons for refusal

Free format text: JAPANESE INTERMEDIATE CODE: A131

Effective date: 20190129

A521 Request for written amendment filed

Free format text: JAPANESE INTERMEDIATE CODE: A523

Effective date: 20190319

TRDD Decision of grant or rejection written
A01 Written decision to grant a patent or to grant a registration (utility model)

Free format text: JAPANESE INTERMEDIATE CODE: A01

Effective date: 20190409

A61 First payment of annual fees (during grant procedure)

Free format text: JAPANESE INTERMEDIATE CODE: A61

Effective date: 20190422

R150 Certificate of patent or registration of utility model

Ref document number: 6524965

Country of ref document: JP

Free format text: JAPANESE INTERMEDIATE CODE: R150

LAPS Cancellation because of no payment of annual fees