JP6498526B2 - グリーンタイヤ運搬・保持装置 - Google Patents
グリーンタイヤ運搬・保持装置 Download PDFInfo
- Publication number
- JP6498526B2 JP6498526B2 JP2015103953A JP2015103953A JP6498526B2 JP 6498526 B2 JP6498526 B2 JP 6498526B2 JP 2015103953 A JP2015103953 A JP 2015103953A JP 2015103953 A JP2015103953 A JP 2015103953A JP 6498526 B2 JP6498526 B2 JP 6498526B2
- Authority
- JP
- Japan
- Prior art keywords
- green tire
- holding device
- carrying
- cover
- green
- Prior art date
- Legal status (The legal status is an assumption and is not a legal conclusion. Google has not performed a legal analysis and makes no representation as to the accuracy of the status listed.)
- Expired - Fee Related
Links
- 230000032258 transport Effects 0.000 claims description 8
- 230000007246 mechanism Effects 0.000 claims description 4
- 238000012545 processing Methods 0.000 claims description 2
- 239000011324 bead Substances 0.000 description 16
- 230000002093 peripheral effect Effects 0.000 description 9
- 230000000052 comparative effect Effects 0.000 description 5
- 238000000034 method Methods 0.000 description 5
- 230000008569 process Effects 0.000 description 5
- 238000011156 evaluation Methods 0.000 description 3
- 238000012423 maintenance Methods 0.000 description 2
- 238000000465 moulding Methods 0.000 description 2
- 238000004073 vulcanization Methods 0.000 description 2
- 230000008901 benefit Effects 0.000 description 1
- 238000010586 diagram Methods 0.000 description 1
- 238000002474 experimental method Methods 0.000 description 1
- 238000004519 manufacturing process Methods 0.000 description 1
- 238000012986 modification Methods 0.000 description 1
- 230000004048 modification Effects 0.000 description 1
- 238000003825 pressing Methods 0.000 description 1
- 230000009466 transformation Effects 0.000 description 1
Images
Landscapes
- Moulds For Moulding Plastics Or The Like (AREA)
Description
グリーンタイヤを加硫機近傍まで運搬して保持するグリーンタイヤ運搬・保持装置であって、
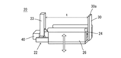
鉛直方向に延びる支柱と、一端が前記支柱に取り付けられて水平方向に延びるグリーンタイヤ受け軸とから構成されており、前記グリーンタイヤ受け軸の他端側から前記グリーンタイヤを挿入して前記グリーンタイヤ受け軸に引っ掛けることにより、前記グリーンタイヤを吊り下げて保持する略L字形のフックと、
前記略L字形のフックのグリーンタイヤ受け軸を回転させるための回転機構と、
横断面の形状が凹型であり、前記凹型の開口部を上方に配置した状態で前記グリーンタイヤ受け軸を囲うように配置されたカバーと、
前記カバーを上方に向かって付勢する付勢部材と
を備えていることを特徴とするグリーンタイヤ運搬・保持装置である。
前記グリーンタイヤ受け軸の、前記支柱と前記グリーンタイヤが挿入される前記他端との間の長さが、0.5〜2.0mであることを特徴とする請求項1に記載のグリーンタイヤ運搬・保持装置である。
前記グリーンタイヤ受け軸の表面に滑り止め加工が施されていることを特徴とする請求項1または請求項2に記載のグリーンタイヤ運搬・保持装置である。
前記滑り止め加工がローレット加工であることを特徴とする請求項3に記載のグリーンタイヤ運搬・保持装置である。
前記カバーの前記グリーンタイヤが挿入される側の端部に、上方に延びる板状のストッパーが設けられていることを特徴とする請求項1ないし請求項3のいずれか1項に記載のグリーンタイヤ運搬・保持装置である。
本発明者は、重量が大きなタイヤを吊り下げて運搬・保持しても、自重による変形の発生を抑制することができるグリーンタイヤ運搬・保持装置として、まず、図1に示すようなグリーンタイヤ運搬・保持装置を作製した。
以下、本発明の一実施の形態に係るグリーンタイヤ運搬・保持装置について説明する。
(1)実施例
成形後のグリーンタイヤT(タイヤサイズ:285/50R20 112V PT2A)を上記した実施の形態におけるグリーンタイヤ運搬・保持装置20の略L字形のフック22に吊り下げ、グリーンタイヤ受け軸24によってグリーンタイヤTを回転させながら30分保持した。
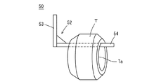
図4に示すような、グリーンタイヤ受け軸54が固定された従来のグリーンタイヤ運搬・保持装置50の略L字形のフック22にグリーンタイヤTを吊り下げたことを除いて、実施例と同じ条件でグリーンタイヤTを30分保持した。
(1)グリーンタイヤの変形
実施例および比較例のそれぞれにおいて、30分保持した後のグリーンタイヤTの寸法を測定し自重による変形の程度を評価した(n=5)。
30分保持した後のグリーンタイヤTを加硫成形して、加硫後のタイヤのRFV(ラジアルフォースバリエーション)を測定し、その平均値と標準偏差を算出した(n=100)。算出結果を表1に示す。
12、22、52 略L字形のフック
13、23、53 支柱
14、24、54 グリーンタイヤ受け軸
26 カバー
26a カバーの両側部
30 ストッパー
30a ストッパーの上端
40 モーター
A グリーンタイヤの水平方向の外径
a グリーンタイヤの水平方向のビード内径
B グリーンタイヤの垂直方向の外径
b グリーンタイヤの垂直方向のビード内径
T グリーンタイヤ
t グリーンタイヤ受け軸の長さ
Ta ビード内周面
Claims (5)
- グリーンタイヤを加硫機近傍まで運搬して保持するグリーンタイヤ運搬・保持装置であって、
鉛直方向に延びる支柱と、一端が前記支柱に取り付けられて水平方向に延びるグリーンタイヤ受け軸とから構成されており、前記グリーンタイヤ受け軸の他端側から前記グリーンタイヤを挿入して前記グリーンタイヤ受け軸に引っ掛けることにより、前記グリーンタイヤを吊り下げて保持する略L字形のフックと、
前記略L字形のフックのグリーンタイヤ受け軸を回転させるための回転機構と、
横断面の形状が凹型であり、前記凹型の開口部を上方に配置した状態で前記グリーンタ
イヤ受け軸を囲うように配置されたカバーと、
前記カバーを上方に向かって付勢する付勢部材と
を備えていることを特徴とするグリーンタイヤ運搬・保持装置。 - 前記グリーンタイヤ受け軸の、前記支柱と前記グリーンタイヤが挿入される前記他端との間の長さが、0.5〜2.0mであることを特徴とする請求項1に記載のグリーンタイヤ運搬・保持装置。
- 前記グリーンタイヤ受け軸の表面に滑り止め加工が施されていることを特徴とする請求項1または請求項2に記載のグリーンタイヤ運搬・保持装置。
- 前記滑り止め加工がローレット加工であることを特徴とする請求項3に記載のグリーンタイヤ運搬・保持装置。
- 前記カバーの前記グリーンタイヤが挿入される側の端部に、上方に延びる板状のストッパーが設けられていることを特徴とする請求項1ないし請求項3のいずれか1項に記載のグリーンタイヤ運搬・保持装置。
Priority Applications (1)
| Application Number | Priority Date | Filing Date | Title |
|---|---|---|---|
| JP2015103953A JP6498526B2 (ja) | 2015-05-21 | 2015-05-21 | グリーンタイヤ運搬・保持装置 |
Applications Claiming Priority (1)
| Application Number | Priority Date | Filing Date | Title |
|---|---|---|---|
| JP2015103953A JP6498526B2 (ja) | 2015-05-21 | 2015-05-21 | グリーンタイヤ運搬・保持装置 |
Publications (2)
| Publication Number | Publication Date |
|---|---|
| JP2016215515A JP2016215515A (ja) | 2016-12-22 |
| JP6498526B2 true JP6498526B2 (ja) | 2019-04-10 |
Family
ID=57577613
Family Applications (1)
| Application Number | Title | Priority Date | Filing Date |
|---|---|---|---|
| JP2015103953A Expired - Fee Related JP6498526B2 (ja) | 2015-05-21 | 2015-05-21 | グリーンタイヤ運搬・保持装置 |
Country Status (1)
| Country | Link |
|---|---|
| JP (1) | JP6498526B2 (ja) |
Family Cites Families (6)
| Publication number | Priority date | Publication date | Assignee | Title |
|---|---|---|---|---|
| JPS5537380Y2 (ja) * | 1975-05-14 | 1980-09-02 | ||
| JPS5537381Y2 (ja) * | 1977-06-20 | 1980-09-02 | ||
| JPS62256613A (ja) * | 1986-05-01 | 1987-11-09 | Bridgestone Corp | タイヤ用塗装方法および装置 |
| US6298998B1 (en) * | 1998-07-06 | 2001-10-09 | Bridgestone/Firestone Inc. | Supportive pin rack for green tire storage |
| JP2008143114A (ja) * | 2006-12-13 | 2008-06-26 | Sumitomo Rubber Ind Ltd | グリーンタイヤ回転装置 |
| JP2010052266A (ja) * | 2008-08-28 | 2010-03-11 | Bridgestone Corp | 生タイヤ保持具及び空気入りタイヤの製造方法 |
-
2015
- 2015-05-21 JP JP2015103953A patent/JP6498526B2/ja not_active Expired - Fee Related
Also Published As
| Publication number | Publication date |
|---|---|
| JP2016215515A (ja) | 2016-12-22 |
Similar Documents
| Publication | Publication Date | Title |
|---|---|---|
| CN204470700U (zh) | 棒料上下料装置及棒料切割系统 | |
| CN105216843A (zh) | 纺织运输车 | |
| JP5705762B2 (ja) | タイヤ加硫機、および、タイヤ加硫設備 | |
| CN104245294B (zh) | 钢丝圈的把持装置 | |
| JP6498526B2 (ja) | グリーンタイヤ運搬・保持装置 | |
| US10350844B2 (en) | Green tire support device and method of removing drum from green tire | |
| JP6454220B2 (ja) | グリーンタイヤ運搬・保持装置 | |
| JP4375822B2 (ja) | 未加硫タイヤの反転装置 | |
| JP2009215071A (ja) | タイヤ/リムの簡単な搬送及び/又は取扱いをするための装置 | |
| JP6794785B2 (ja) | タイヤの搬送装置 | |
| JP6372289B2 (ja) | ビード部材の搬送方法および装置 | |
| JP2016036921A (ja) | バーチカルローダーおよび該バーチカルローダーを用いたグリーンタイヤの移送方法 | |
| JP6333665B2 (ja) | ローカバー運搬台車 | |
| JP6834496B2 (ja) | センタリング機構およびタイヤ運搬装置 | |
| CN107000346A (zh) | 用于操纵轮胎坯件的设备和输送装置 | |
| JP2016210086A (ja) | タイヤ加硫機用ローダーおよびグリーンタイヤの運搬方法 | |
| JP5816392B2 (ja) | 未加硫タイヤの保持保管具 | |
| JP2019055503A (ja) | ローカバーのセンタリング装置およびセンタリング方法 | |
| EP1749647A1 (en) | Tire bead stretcher and method for holding a green tire | |
| JP6442972B2 (ja) | ビードセパレータの搬送方法および装置 | |
| KR100549725B1 (ko) | 그린타이어 운반장치 | |
| JP2007062501A (ja) | 空気入りタイヤ・支持体組立体搬送用冶具 | |
| JP2020093871A (ja) | 玉掛け用吊具及び長尺物搬送装置 | |
| KR102008167B1 (ko) | 그린타이어 자동 원형복원 장치 | |
| CN108045989B (zh) | 松包装置 |
Legal Events
| Date | Code | Title | Description |
|---|---|---|---|
| A621 | Written request for application examination |
Free format text: JAPANESE INTERMEDIATE CODE: A621 Effective date: 20180314 |
|
| A131 | Notification of reasons for refusal |
Free format text: JAPANESE INTERMEDIATE CODE: A131 Effective date: 20181217 |
|
| A977 | Report on retrieval |
Free format text: JAPANESE INTERMEDIATE CODE: A971007 Effective date: 20181219 |
|
| A521 | Request for written amendment filed |
Free format text: JAPANESE INTERMEDIATE CODE: A523 Effective date: 20190131 |
|
| TRDD | Decision of grant or rejection written | ||
| A01 | Written decision to grant a patent or to grant a registration (utility model) |
Free format text: JAPANESE INTERMEDIATE CODE: A01 Effective date: 20190218 |
|
| A61 | First payment of annual fees (during grant procedure) |
Free format text: JAPANESE INTERMEDIATE CODE: A61 Effective date: 20190313 |
|
| R150 | Certificate of patent or registration of utility model |
Ref document number: 6498526 Country of ref document: JP Free format text: JAPANESE INTERMEDIATE CODE: R150 |
|
| LAPS | Cancellation because of no payment of annual fees |
