JP6409786B2 - バーナタイル、バーナ及び炉 - Google Patents
バーナタイル、バーナ及び炉 Download PDFInfo
- Publication number
- JP6409786B2 JP6409786B2 JP2015562778A JP2015562778A JP6409786B2 JP 6409786 B2 JP6409786 B2 JP 6409786B2 JP 2015562778 A JP2015562778 A JP 2015562778A JP 2015562778 A JP2015562778 A JP 2015562778A JP 6409786 B2 JP6409786 B2 JP 6409786B2
- Authority
- JP
- Japan
- Prior art keywords
- burner tile
- inorganic fiber
- burner
- inorganic
- main hole
- Prior art date
- Legal status (The legal status is an assumption and is not a legal conclusion. Google has not performed a legal analysis and makes no representation as to the accuracy of the status listed.)
- Active
Links
Images
Classifications
-
- F—MECHANICAL ENGINEERING; LIGHTING; HEATING; WEAPONS; BLASTING
- F23—COMBUSTION APPARATUS; COMBUSTION PROCESSES
- F23M—CASINGS, LININGS, WALLS OR DOORS SPECIALLY ADAPTED FOR COMBUSTION CHAMBERS, e.g. FIREBRIDGES; DEVICES FOR DEFLECTING AIR, FLAMES OR COMBUSTION PRODUCTS IN COMBUSTION CHAMBERS; SAFETY ARRANGEMENTS SPECIALLY ADAPTED FOR COMBUSTION APPARATUS; DETAILS OF COMBUSTION CHAMBERS, NOT OTHERWISE PROVIDED FOR
- F23M5/00—Casings; Linings; Walls
- F23M5/02—Casings; Linings; Walls characterised by the shape of the bricks or blocks used
- F23M5/025—Casings; Linings; Walls characterised by the shape of the bricks or blocks used specially adapted for burner openings
-
- B—PERFORMING OPERATIONS; TRANSPORTING
- B32—LAYERED PRODUCTS
- B32B—LAYERED PRODUCTS, i.e. PRODUCTS BUILT-UP OF STRATA OF FLAT OR NON-FLAT, e.g. CELLULAR OR HONEYCOMB, FORM
- B32B18/00—Layered products essentially comprising ceramics, e.g. refractory products
-
- C—CHEMISTRY; METALLURGY
- C04—CEMENTS; CONCRETE; ARTIFICIAL STONE; CERAMICS; REFRACTORIES
- C04B—LIME, MAGNESIA; SLAG; CEMENTS; COMPOSITIONS THEREOF, e.g. MORTARS, CONCRETE OR LIKE BUILDING MATERIALS; ARTIFICIAL STONE; CERAMICS; REFRACTORIES; TREATMENT OF NATURAL STONE
- C04B35/00—Shaped ceramic products characterised by their composition; Ceramics compositions; Processing powders of inorganic compounds preparatory to the manufacturing of ceramic products
- C04B35/01—Shaped ceramic products characterised by their composition; Ceramics compositions; Processing powders of inorganic compounds preparatory to the manufacturing of ceramic products based on oxide ceramics
- C04B35/10—Shaped ceramic products characterised by their composition; Ceramics compositions; Processing powders of inorganic compounds preparatory to the manufacturing of ceramic products based on oxide ceramics based on aluminium oxide
- C04B35/111—Fine ceramics
-
- C—CHEMISTRY; METALLURGY
- C04—CEMENTS; CONCRETE; ARTIFICIAL STONE; CERAMICS; REFRACTORIES
- C04B—LIME, MAGNESIA; SLAG; CEMENTS; COMPOSITIONS THEREOF, e.g. MORTARS, CONCRETE OR LIKE BUILDING MATERIALS; ARTIFICIAL STONE; CERAMICS; REFRACTORIES; TREATMENT OF NATURAL STONE
- C04B35/00—Shaped ceramic products characterised by their composition; Ceramics compositions; Processing powders of inorganic compounds preparatory to the manufacturing of ceramic products
- C04B35/71—Ceramic products containing macroscopic reinforcing agents
- C04B35/78—Ceramic products containing macroscopic reinforcing agents containing non-metallic materials
- C04B35/80—Fibres, filaments, whiskers, platelets, or the like
-
- F—MECHANICAL ENGINEERING; LIGHTING; HEATING; WEAPONS; BLASTING
- F23—COMBUSTION APPARATUS; COMBUSTION PROCESSES
- F23D—BURNERS
- F23D14/00—Burners for combustion of a gas, e.g. of a gas stored under pressure as a liquid
- F23D14/46—Details
- F23D14/48—Nozzles
- F23D14/58—Nozzles characterised by the shape or arrangement of the outlet or outlets from the nozzle, e.g. of annular configuration
-
- F—MECHANICAL ENGINEERING; LIGHTING; HEATING; WEAPONS; BLASTING
- F27—FURNACES; KILNS; OVENS; RETORTS
- F27D—DETAILS OR ACCESSORIES OF FURNACES, KILNS, OVENS OR RETORTS, IN SO FAR AS THEY ARE OF KINDS OCCURRING IN MORE THAN ONE KIND OF FURNACE
- F27D1/00—Casings; Linings; Walls; Roofs
- F27D1/04—Casings; Linings; Walls; Roofs characterised by the form, e.g. shape of the bricks or blocks used
-
- F—MECHANICAL ENGINEERING; LIGHTING; HEATING; WEAPONS; BLASTING
- F27—FURNACES; KILNS; OVENS; RETORTS
- F27D—DETAILS OR ACCESSORIES OF FURNACES, KILNS, OVENS OR RETORTS, IN SO FAR AS THEY ARE OF KINDS OCCURRING IN MORE THAN ONE KIND OF FURNACE
- F27D7/00—Forming, maintaining or circulating atmospheres in heating chambers
- F27D7/02—Supplying steam, vapour, gases or liquids
-
- F—MECHANICAL ENGINEERING; LIGHTING; HEATING; WEAPONS; BLASTING
- F27—FURNACES; KILNS; OVENS; RETORTS
- F27D—DETAILS OR ACCESSORIES OF FURNACES, KILNS, OVENS OR RETORTS, IN SO FAR AS THEY ARE OF KINDS OCCURRING IN MORE THAN ONE KIND OF FURNACE
- F27D99/00—Subject matter not provided for in other groups of this subclass
- F27D99/0001—Heating elements or systems
- F27D99/0033—Heating elements or systems using burners
-
- C—CHEMISTRY; METALLURGY
- C04—CEMENTS; CONCRETE; ARTIFICIAL STONE; CERAMICS; REFRACTORIES
- C04B—LIME, MAGNESIA; SLAG; CEMENTS; COMPOSITIONS THEREOF, e.g. MORTARS, CONCRETE OR LIKE BUILDING MATERIALS; ARTIFICIAL STONE; CERAMICS; REFRACTORIES; TREATMENT OF NATURAL STONE
- C04B2235/00—Aspects relating to ceramic starting mixtures or sintered ceramic products
- C04B2235/02—Composition of constituents of the starting material or of secondary phases of the final product
- C04B2235/50—Constituents or additives of the starting mixture chosen for their shape or used because of their shape or their physical appearance
- C04B2235/52—Constituents or additives characterised by their shapes
- C04B2235/5208—Fibers
- C04B2235/5216—Inorganic
- C04B2235/522—Oxidic
- C04B2235/5224—Alumina or aluminates
-
- C—CHEMISTRY; METALLURGY
- C04—CEMENTS; CONCRETE; ARTIFICIAL STONE; CERAMICS; REFRACTORIES
- C04B—LIME, MAGNESIA; SLAG; CEMENTS; COMPOSITIONS THEREOF, e.g. MORTARS, CONCRETE OR LIKE BUILDING MATERIALS; ARTIFICIAL STONE; CERAMICS; REFRACTORIES; TREATMENT OF NATURAL STONE
- C04B2235/00—Aspects relating to ceramic starting mixtures or sintered ceramic products
- C04B2235/02—Composition of constituents of the starting material or of secondary phases of the final product
- C04B2235/50—Constituents or additives of the starting mixture chosen for their shape or used because of their shape or their physical appearance
- C04B2235/52—Constituents or additives characterised by their shapes
- C04B2235/5208—Fibers
- C04B2235/5216—Inorganic
- C04B2235/522—Oxidic
- C04B2235/5228—Silica and alumina, including aluminosilicates, e.g. mullite
-
- C—CHEMISTRY; METALLURGY
- C04—CEMENTS; CONCRETE; ARTIFICIAL STONE; CERAMICS; REFRACTORIES
- C04B—LIME, MAGNESIA; SLAG; CEMENTS; COMPOSITIONS THEREOF, e.g. MORTARS, CONCRETE OR LIKE BUILDING MATERIALS; ARTIFICIAL STONE; CERAMICS; REFRACTORIES; TREATMENT OF NATURAL STONE
- C04B2235/00—Aspects relating to ceramic starting mixtures or sintered ceramic products
- C04B2235/02—Composition of constituents of the starting material or of secondary phases of the final product
- C04B2235/50—Constituents or additives of the starting mixture chosen for their shape or used because of their shape or their physical appearance
- C04B2235/52—Constituents or additives characterised by their shapes
- C04B2235/5208—Fibers
- C04B2235/5252—Fibers having a specific pre-form
-
- C—CHEMISTRY; METALLURGY
- C04—CEMENTS; CONCRETE; ARTIFICIAL STONE; CERAMICS; REFRACTORIES
- C04B—LIME, MAGNESIA; SLAG; CEMENTS; COMPOSITIONS THEREOF, e.g. MORTARS, CONCRETE OR LIKE BUILDING MATERIALS; ARTIFICIAL STONE; CERAMICS; REFRACTORIES; TREATMENT OF NATURAL STONE
- C04B2235/00—Aspects relating to ceramic starting mixtures or sintered ceramic products
- C04B2235/02—Composition of constituents of the starting material or of secondary phases of the final product
- C04B2235/50—Constituents or additives of the starting mixture chosen for their shape or used because of their shape or their physical appearance
- C04B2235/52—Constituents or additives characterised by their shapes
- C04B2235/5208—Fibers
- C04B2235/5252—Fibers having a specific pre-form
- C04B2235/5256—Two-dimensional, e.g. woven structures
-
- C—CHEMISTRY; METALLURGY
- C04—CEMENTS; CONCRETE; ARTIFICIAL STONE; CERAMICS; REFRACTORIES
- C04B—LIME, MAGNESIA; SLAG; CEMENTS; COMPOSITIONS THEREOF, e.g. MORTARS, CONCRETE OR LIKE BUILDING MATERIALS; ARTIFICIAL STONE; CERAMICS; REFRACTORIES; TREATMENT OF NATURAL STONE
- C04B2235/00—Aspects relating to ceramic starting mixtures or sintered ceramic products
- C04B2235/60—Aspects relating to the preparation, properties or mechanical treatment of green bodies or pre-forms
- C04B2235/616—Liquid infiltration of green bodies or pre-forms
-
- C—CHEMISTRY; METALLURGY
- C04—CEMENTS; CONCRETE; ARTIFICIAL STONE; CERAMICS; REFRACTORIES
- C04B—LIME, MAGNESIA; SLAG; CEMENTS; COMPOSITIONS THEREOF, e.g. MORTARS, CONCRETE OR LIKE BUILDING MATERIALS; ARTIFICIAL STONE; CERAMICS; REFRACTORIES; TREATMENT OF NATURAL STONE
- C04B2235/00—Aspects relating to ceramic starting mixtures or sintered ceramic products
- C04B2235/70—Aspects relating to sintered or melt-casted ceramic products
- C04B2235/74—Physical characteristics
- C04B2235/75—Products with a concentration gradient
-
- C—CHEMISTRY; METALLURGY
- C04—CEMENTS; CONCRETE; ARTIFICIAL STONE; CERAMICS; REFRACTORIES
- C04B—LIME, MAGNESIA; SLAG; CEMENTS; COMPOSITIONS THEREOF, e.g. MORTARS, CONCRETE OR LIKE BUILDING MATERIALS; ARTIFICIAL STONE; CERAMICS; REFRACTORIES; TREATMENT OF NATURAL STONE
- C04B2235/00—Aspects relating to ceramic starting mixtures or sintered ceramic products
- C04B2235/70—Aspects relating to sintered or melt-casted ceramic products
- C04B2235/74—Physical characteristics
- C04B2235/77—Density
-
- C—CHEMISTRY; METALLURGY
- C04—CEMENTS; CONCRETE; ARTIFICIAL STONE; CERAMICS; REFRACTORIES
- C04B—LIME, MAGNESIA; SLAG; CEMENTS; COMPOSITIONS THEREOF, e.g. MORTARS, CONCRETE OR LIKE BUILDING MATERIALS; ARTIFICIAL STONE; CERAMICS; REFRACTORIES; TREATMENT OF NATURAL STONE
- C04B2235/00—Aspects relating to ceramic starting mixtures or sintered ceramic products
- C04B2235/70—Aspects relating to sintered or melt-casted ceramic products
- C04B2235/94—Products characterised by their shape
-
- C—CHEMISTRY; METALLURGY
- C04—CEMENTS; CONCRETE; ARTIFICIAL STONE; CERAMICS; REFRACTORIES
- C04B—LIME, MAGNESIA; SLAG; CEMENTS; COMPOSITIONS THEREOF, e.g. MORTARS, CONCRETE OR LIKE BUILDING MATERIALS; ARTIFICIAL STONE; CERAMICS; REFRACTORIES; TREATMENT OF NATURAL STONE
- C04B2237/00—Aspects relating to ceramic laminates or to joining of ceramic articles with other articles by heating
- C04B2237/30—Composition of layers of ceramic laminates or of ceramic or metallic articles to be joined by heating, e.g. Si substrates
- C04B2237/32—Ceramic
- C04B2237/34—Oxidic
- C04B2237/343—Alumina or aluminates
-
- C—CHEMISTRY; METALLURGY
- C04—CEMENTS; CONCRETE; ARTIFICIAL STONE; CERAMICS; REFRACTORIES
- C04B—LIME, MAGNESIA; SLAG; CEMENTS; COMPOSITIONS THEREOF, e.g. MORTARS, CONCRETE OR LIKE BUILDING MATERIALS; ARTIFICIAL STONE; CERAMICS; REFRACTORIES; TREATMENT OF NATURAL STONE
- C04B2237/00—Aspects relating to ceramic laminates or to joining of ceramic articles with other articles by heating
- C04B2237/30—Composition of layers of ceramic laminates or of ceramic or metallic articles to be joined by heating, e.g. Si substrates
- C04B2237/32—Ceramic
- C04B2237/38—Fiber or whisker reinforced
-
- C—CHEMISTRY; METALLURGY
- C04—CEMENTS; CONCRETE; ARTIFICIAL STONE; CERAMICS; REFRACTORIES
- C04B—LIME, MAGNESIA; SLAG; CEMENTS; COMPOSITIONS THEREOF, e.g. MORTARS, CONCRETE OR LIKE BUILDING MATERIALS; ARTIFICIAL STONE; CERAMICS; REFRACTORIES; TREATMENT OF NATURAL STONE
- C04B2237/00—Aspects relating to ceramic laminates or to joining of ceramic articles with other articles by heating
- C04B2237/50—Processing aspects relating to ceramic laminates or to the joining of ceramic articles with other articles by heating
- C04B2237/58—Forming a gradient in composition or in properties across the laminate or the joined articles
-
- F—MECHANICAL ENGINEERING; LIGHTING; HEATING; WEAPONS; BLASTING
- F23—COMBUSTION APPARATUS; COMBUSTION PROCESSES
- F23M—CASINGS, LININGS, WALLS OR DOORS SPECIALLY ADAPTED FOR COMBUSTION CHAMBERS, e.g. FIREBRIDGES; DEVICES FOR DEFLECTING AIR, FLAMES OR COMBUSTION PRODUCTS IN COMBUSTION CHAMBERS; SAFETY ARRANGEMENTS SPECIALLY ADAPTED FOR COMBUSTION APPARATUS; DETAILS OF COMBUSTION CHAMBERS, NOT OTHERWISE PROVIDED FOR
- F23M2900/00—Special features of, or arrangements for combustion chambers
- F23M2900/05021—Wall blocks adapted for burner openings
Landscapes
- Engineering & Computer Science (AREA)
- Chemical & Material Sciences (AREA)
- Ceramic Engineering (AREA)
- Mechanical Engineering (AREA)
- General Engineering & Computer Science (AREA)
- Manufacturing & Machinery (AREA)
- Materials Engineering (AREA)
- Structural Engineering (AREA)
- Organic Chemistry (AREA)
- Combustion & Propulsion (AREA)
- Chemical Kinetics & Catalysis (AREA)
- Furnace Housings, Linings, Walls, And Ceilings (AREA)
- Gas Burners (AREA)
Description
第2発明のバーナタイルは、無機繊維成形体よりなり、炉内外方向に貫通する、バーナ用の主孔を有するバーナタイルにおいて、該主孔の内周面に沿う部分が、該内周面と本体部外面との中間の中間部よりも嵩密度が大きい高嵩密度部となっていることを特徴とする。
無機繊維の板体121,122及び積層体30, 31,131は、特開2011−208344に基づいて製造されたものが好ましいが、これに限定されない。無機繊維積層体は、アルミナ重量分率が65重量%以上である無機繊維についてニードリング処理が施されたニードルブランケットなどのニードル無機繊維集合体よりなることが好ましく、特に2種以上のニードル無機繊維集合体を積層したものであることが好ましい。
ニードル無機繊維集合体Aのニードル痕密度は、1.0打/cm2以上であり、好ましくは1.5打/cm2以上であり、一方、5.0打/cm2未満であり、好ましくは3.0打/cm2以下である。ニードル無機繊維集合体Aのニードル痕密度がこの範囲にあることにより、巻回体132の形状変形性能が良好であり、好ましい。
ニードル無機繊維集合体Bのニードル痕密度は、5.0打/cm2より多く、好ましくは6.0打/cm2以上であり、一方、10.0打/cm2以下であり、好ましくは9.0打/cm2以下である。ニードル痕密度がこの範囲にあることにより、バーナタイルの形状保持性能およびバーナタイルの形状変形性能が良好であり、好ましい。
ニードル無機繊維集合体Cのニードル痕密度は、10.0打/cm2より多く、好ましくは12.0打/cm2以上であり、一方、17.0打/cm2以下であり、好ましくは16.0打/cm2以下である。ニードル痕密度がこの範囲にあることにより、バーナタイルの耐風食性が良好となり、好ましい。
ニードル無機繊維集合体Dのニードル痕密度および嵩密度は、ニードル無機繊維集合体Dと同様である。
無機バインダー液を構成する無機バインダーとしては、特段の制限はなく、無機質ゾルおよび金属塩、またはその混合物など焼成後に酸化物を形成するものであればよい。以下、具体例を挙げて記述するが、本発明はこれに限定されるものではない。
(添着率)=(無機バインダー固形分重量)/(無機繊維集合体重量)×100
無機繊維に対する無機バインダーの添着率の測定方法としては焼成法が挙げられ、具体的には公知文献(国際公開第2013/035645号)に記載の方法により測定することができる。
離型シートとしては、特段の制限はないが、フッ素樹脂等よりなる合成樹脂シート、ガラスクロスなどが挙げられる。
乾燥条件としては、特段の制限はないが、具体的には、最外層を60℃〜200℃の熱風を接触させる方法、又は100℃〜200℃の雰囲気下で、2〜5時間程度静置させる方法が挙げられる。このようにすると、最外側の無機質ゾルの添着量を増加させることができ、好ましい。吸引脱水工程と乾燥工程とを同時に行ってもよく、このようにすれば作業効率が向上する。
押縮体を焼成することにより、無機質ゾルに含まれる揮発性の分散剤の除去や、水などにより濡れた際の無機質ゾルの再溶解、再溶解に伴う無機繊維成形体構造の崩れを防ぐ事が出来る。本発明においては、有機分が完全に消失し、アルミナゾル等の無機バインダーのコランダム化が為される空気などの酸素含有雰囲気中にて600℃〜1200℃で焼成することが好ましい。
必要に応じて、本発明に係るバーナタイルに対して後加工を行なってもよい。例えば、バリ1aをNTカッターなどにより切落としたり、バーナタイル外面を整形して規格形状とする。
主孔内壁の最表面から火炎方向と垂直方向に5mmの厚み位置かつ火炎方向に平行の開口部最前部10mmの円周を4分割して、測定サンプルを切り出し、各サンプルの重量を測定する。その後、タフダイン(クボタシーアイ株式会社)塗布により表面を疎水性とし、メスシリンダ内の水中に投入し、水液面位置の上昇から体積を測定する。上記重量をこの体積で除算することにより高嵩密度部の嵩密度を算出した。
測定手順は次の通りである。
1) バーナタイルから所定サイズ(幅20mm×長さ50mm×厚さ5mm)のサンプルを切出す。
2) サンプル表面にタフダイン(クボタシーアイ株式会社)を塗布する。(表面に孔が無い様に、表面が平滑になるまで、場合によっては複数回塗布する。)
3) サンプルを十分に乾燥させる。
4) 乾燥後のサンプルの重量を測る。
5) 水を入れたメスシリンダに上記サンプルを投入し、体積増加を目盛りから読み取る。
6) 測定重量[g]を測定体積[mL]で割ることで嵩密度[g/mL]を求める。
下記仕様のバーナを用い、5分間の燃焼、消火を10回繰り返した。次いで、試験炉内で炉内温度1400℃で32時間燃焼させた。
1.四角型(254mm四角×298mm)2.円筒型(φ300mm×218mm)
容量:1.500000kcal/h、2.600000kcal/h
燃料:13A都市ガス
空気温度:1.400℃ 2.400℃
燃焼空気比:1.0〜1.1
燃焼試験前後のバーナタイルについて、主孔の炉内側の開口径を内パスにより測定し、半径の変化の有無を確認する。
燃焼試験前後のバーナタイルについて、主孔内周面を目視にて観察し、剥離の有無を観察する。
圧縮空気を移送できる配管の先端にバーナタイルを火炎開口部が上向きとなる様に設置し、主孔のフロント側(炉内側)開口部を密度0.17.0g/cm3の無機繊維成形体にて塞いだ。その後、0.1MPaの圧縮空気をバーナタイル内に下部から送風し、バーナタイル外表面に洗剤泡を塗布し、気泡膨張の有無を目視にて観察し、割裂の有無を確認する。
焼成工程前後のバーナタイルにおいて、主孔のフロント側(炉内側)開口部を正面に位置させた際の目地開きの有無を目視にて観察する。
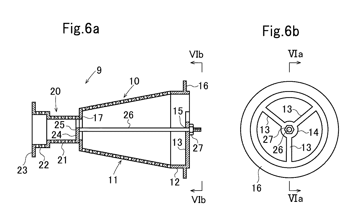
図6に示す形状のコア型9を用いてバーナタイル1を製造した。コア型9の各部分の寸法は次の通りである。
フロントパーツ10の軸方向長さ:192mm
フロントパーツ10の最大内径:122mm
フロントパーツ10の最小内径:85mm
リアパーツ20の軸方向長さ:106mm
リアパーツ20の最大内径:85mm
リアパーツ20の最小内径:61mm
厚さ50mm、ニードル痕密度 3.0打/cm2であるアルミナ繊維ニードルブランケット(三菱樹脂株式会社 MAFTEC(登録商標)。以下ニードルブランケットA))を320mm幅、2000mm長さに、また、厚さ25mm、ニードル痕密度 6.0打/cm2であるアルミナ繊維ニードルブランケット(三菱樹脂株式会社 MAFTEC(登録商標) 8P25T 以下ニードルブランケットB)を320mm幅2500mm長さに切出した。また、内抜き型を用いて、厚さ10mm、ニードル痕密度 12.0打/cm2であるアルミナ繊維ニードルブランケット(三菱樹脂株式会社 MAFTEC(登録商標)。以下ニードルブランケットC)を中心角度55度、半径520mmの半円から、中心角55度、半径363mmの半円をくり抜いた扇形に切出した。同様の操作で中心角度65度、半径565mmの半円から、中心角65度、半径408mmの半円をくり抜いた扇形を切出した。
実施例1において、厚み10.0mmのニードルブランケットCの代わりに厚みを12.5mmとしたニードルブランケットCを用いたこと以外は実施例1と同様にして、表1に示すバーナタイルを製造した。
前記ニードルブランケットAを190mm幅600mm長さに、前記ニードルブランケットBを240mm幅2500mm長さに切り出し、切出した。また、内抜き型を用いてニードルブランケットCを中心角度250度、半径112mmの半円から、中心角250度、半径51mmの半円をくり抜いた扇形を切出した。同様の操作でニードルブランケットCから中心角度65度、半径461mmの半円から、中心角65度、半径331mmの半円をくり抜いた扇形を切出した。切出したニードルブランケットを実施例1と同様の順番で巻付けた。また、賦形板として半円形状のもの2枚を用いた。それ以外は実施例1と同様にして表1に示すバーナタイルを製造した。
実施例3と同様の方法で、軸心からφ100mmまで成形し、その後ニードルブランケットBをφ300mmまで巻付け、外周部の厚さ50mm分にのみアルミナゾルを塗布(ドロップワイズ法)で含浸した後、乾燥した。それ以外は実施例3と同様にして表1に示すバーナタイルを製造した。
実施例1においてニードルブランケットAを使用しなかったこと以外は実施例1と同様にして表1に示すバーナタイルを製造した。
実施例1においてニードルブランケットBの代わりに、溶融法で製造されたセラミックファイバーブランケット(アルミナ/シリカ重量比=48/52)を用いたこと以外は実施例1と同様にして表1に示すバーナタイルを製造した。
実施例1において無機質ゾル(アルミナゾル)を含浸しなかったこと以外は実施例1と同様にして表1に示すバーナタイルを製造した。
従来公知のシリカ−アルミナ系キャスタブルを使用し、型枠へ流し込み成形をして、表1に示すバーナタイルを製造した。
なかでも、特定の3種のブランケットを用いた実施例1〜4に係るバーナタイルは、耐風食性、耐熱衝撃性、低熱収縮率、製品外観成型性に優れるものである。まず、セルフニードリングにより強固な構造となっているニードルブランケットCを最内壁に設置することで耐風食性が向上する。また、半バルク体であるニードルブランケットAを層間に挟みこむことで、繊維集合体の反発力が小さくなり、即ち、成型性が向上する。さらに、繊維中ムライト結晶の結晶化を進行させたニードルブランケットAおよびBを成型体マトリックスとすることで、加熱した際に、熱収縮を起こしにくい構成となっている。
図24に示す形状のコア型109を用いてバーナタイル1Eを製造した。コア型109の各部分の寸法は次の通りである。
フロントパーツ10の最大内径:140mm
フロントパーツ10の最小内径:140mm
リアパーツ20の軸方向長さ:237mm
リアパーツ20の最大内径:118mm
リアパーツ20の最小内径:71mm
厚さ50mm、ニードル痕密度 3.0打/cm2であるアルミナ繊維ニードルブランケット(三菱樹脂株式会社 MAFTEC(登録商標)。以下ニードルブランケットA))を320mm幅、2500mm長さに、また、厚さ25mm、ニードル痕密度 6.0打/cm2であるアルミナ繊維ニードルブランケット(三菱樹脂株式会社 MAFTEC(登録商標) 8P25T 以下ニードルブランケットB)を533mm幅3200mm長さに切出した。
その後、ニードルブランケットAをニードルブランケットBの上に重ね合せて第2の無機繊維積層体131を形成し、図24のように、上記で得られた内套部の外側に巻付け、直径460mm、長さ533mmの巻回体132を製作した。
重量550gの鋼球を1mの高さから、製品側面中央部に垂直に落下させ、外観(破壊)状態を観察した。
作成したバーナタイルから、炉心の軸線を通る平面に沿って所定の大きさに切出したサンプルを、1500℃に加熱された電気炉内に15分間静置する。その後、電気炉より取出し、空気中で15分間静置する。この操作を10回繰り返した後、目視にて、剥離や亀裂など外観状態を観察した。10mm以上の深さまたは幅の亀裂、及び、剥離が見られた状態を○、見られない状態を×とした。
下記仕様のバーナを用い、5分間の燃焼、消火を10回繰り返した。次いで、試験炉内で、炉内温度1350℃、720時間燃焼させた。
バーナ仕様:
型式:四角型(323mm四角×513mm )
容量:850000kcal/h
燃料:13A都市ガス
空気温度:400℃
燃焼空気比:1.0〜1.1
燃焼試験前後のバーナタイルについて、主孔内周面を目視にて観察し、剥離の有無を観察する。目視にて認識できる深さ方向の局部的な侵食、または、広がり方向の脱落が認められない場合、内壁状態は良好と判断し、そうでない場合は、不良と判断した。
従来公知のシリカ−アルミナ系キャスタブルを使用し、型枠へ流し込み成形をして内筒を製作した。その後、上記内筒にブランケットAを巻付け、ついで上下左右前後面をバキュームフォーム成型体で囲うことで、表2に示すバーナタイルを製造した。上記で得られたバーナタイルについて、実施例7と同様に物性試験及びバーナ燃焼試験の評価を行なった。表2に結果を示す。
ブランケットBを300mmの正方形に12枚切出し、各正方形ブランケットB間にアルミナゾルを塗布・接着させることでモジュールを製作した。一方、ブランケットBにアルミナゾルを浸漬し、その後乾燥させることで上記正方形と同寸法の無機繊維成型体を2枚製作した。その後、上記モジュールと上記無機繊維成型体間にアルミナゾルを塗布し、無機繊維成型体を上下から挟みこみ、さらに20%圧縮することにより無機繊維ブロックを製作した。上記無機繊維ブロックにフライス盤により実施例7と同寸法の燃焼用内筒を形成することで表2に示すバーナタイルを製造した。上記で得られたバーナタイルについて、実施例7と同様に物性試験及びバーナ燃焼試験の評価を行なった。表2に結果を示す。
コア型109を用いてバーナタイルを製造した。
コア型109の各部分の寸法は次の通りである。
フロントパーツ10の最大内径:140mm
フロントパーツ10の最小内径:140mm
リアパーツ20の軸方向長さ:237mm
リアパーツ20の最大内径:118mm
リアパーツ20の最小内径:71mm
コア型に離型シートとして厚さ0.5mmのガラスクロス(中興化成株式会社製:チューコーフロー(登録商標)Gタイプファブリック)を1周巻いた。その後、最も過酷な風速に晒されることが予想される部分には、短冊状にした厚さ25mm、ニードル痕密度 6.0打/cm2であるアルミナ繊維ニードルブランケット(三菱樹脂株式会社 MAFTEC(登録商標) 8P25T 以下ニードルブランケットB)を放射状に34対配置した。放射状配置したモジュールは締結用ロープ等の補助道具を用いて圧縮率25%となるように圧縮し、内套部を形成した。
比較例4において、形成された燃焼用内筒の表面約5mm分にのみアルミナゾルを塗布(刷毛塗り法)で含浸する工程を追加した以外は、比較例4と同様に行い、表2に示すバーナタイルを製造した。得られたバーナタイルについて、物性試験(落球衝撃試験、耐熱衝撃性試験)、バーナ燃焼試験1及びバーナ燃焼試験2(各試験後の内壁剥離有無及び割裂有無)を行なった。結果を表2に示す。
なかでも、主孔を取り囲む内套部と、該内套部の外周を取り囲む外套部とを有し、該内套部では、無機繊維製板体が、板面を主孔に対し略放射方向として積層され、さらには所定の圧縮率で充填されており、該外套部では、無機繊維ブランケットが該内套部の外周を複数回周回である実施例7に係るバーナタイルは、耐風食性、耐熱衝撃性、低熱収縮率、製品外観成型性に優れるものであることが判る。
本出願は、2014年2月12日付で出願された日本特許出願2014−024487及び2015年1月7日付で出願された日本特許出願2015−001634に基づいており、その全体が引用により援用される。
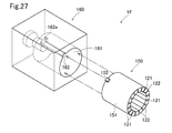
3,3E 主孔
3f 主孔の内周面
4 高嵩密度部
9,109 コア型
10,110 フロントパーツ
20,111 リアパーツ
31,131 無機繊維積層体
32,132 巻回体
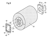
40,50 エンドプレート
80 炉
82 バーナ
120,150 内套部
121,122 無機繊維積層体よりなる板体
130,160 外套部
Claims (27)
- 無機繊維成形体よりなり、炉内外方向に貫通した、バーナ用の主孔を有するバーナタイルにおいて、
該バーナタイルの少なくとも炉内側は、該主孔を取り囲む内套部と、該内套部の外周を取り囲む外套部とを有し、
該内套部では、無機繊維製板体が、板面を主孔に対し略放射方向として積層されており、
該外套部では、無機繊維ブランケットが該内套部の外周を複数回周回しており、
前記バーナタイルの外周側は密度が異なる複数の無機繊維ブランケットを重ね合わせて周回させることにより形成されていることを特徴とするバーナタイル。 - 前記主孔の内周面に沿う部分が、該内周面とバーナタイル外面との中間の中間部よりも嵩密度が大きい高嵩密度部となっていることを特徴とする請求項1に記載のバーナタイル。
- 前記内套部は、バーナタイルの炉内側にのみ配置されており、
該バーナタイルの炉外側は、前記外套部が主孔の内周面を構成していることを特徴とする請求項1又は2に記載のバーナタイル。 - 前記バーナタイルの主孔の軸心から放射方向において最も厚みが小さくなる断面において、バーナタイルの厚みをT0とし、内套部の平均厚みをT1とした場合、T1/T0の百分比は20〜70%であることを特徴とする請求項1〜3のいずれか1項に記載のバーナタイル。
- 前記内套部を構成する前記無機繊維製板体として、主孔の軸心線と垂直な断面が三角形又は台形である板体と、該断面が長方形である板体とが設けられていることを特徴とする請求項1〜4のいずれか1項に記載のバーナタイル。
- 無機繊維成形体よりなり、炉内外方向に貫通した、バーナ用の主孔を有するバーナタイルにおいて、
該主孔の内周面に沿う部分が、該内周面とバーナタイル外面との中間の中間部よりも嵩密度が大きい高嵩密度部となっており、
前記バーナタイルの外周側は密度が異なる複数の無機繊維ブランケットを重ね合わせて周回させることにより形成されていることを特徴とするバーナタイル。 - 前記主孔の軸心線と垂直な断面におけるバーナタイル外形が方形となるように賦形されていることを特徴とする、請求項1ないし6のいずれか1項に記載のバーナタイル。
- 前記主孔の内周面に沿う部分の嵩密度が0.3〜1.0g/cm3であることを特徴とする請求項1ないし7のいずれか1項に記載のバーナタイル。
- 前記主孔の軸心と垂直な断面を、主孔側の内周領域と、外面側の外周領域と、それらの間の中間領域との3領域に3等分した場合、
前記主孔内周面から5mmまでの範囲における嵩密度をDiとし、該中間領域の嵩密度をDmとしたときに、
Di−Dmが0.05〜3.0g/cm3であることを特徴とする請求項1ないし8のいずれか1項に記載のバーナタイル。 - Dm/Diが0.1〜0.9であることを特徴とする請求項9に記載のバーナタイル。
- 前記バーナタイルは、無機繊維と、該無機繊維を結着する無機バインダーが酸化して生じたバインダー由来物とを含んでおり、前記主孔の内周面に沿う部分の単位体積当りのバインダー由来物量が前記中間領域の単位体積当りのバインダー由来物量よりも多いことを特徴とする請求項9又は10に記載のバーナタイル。
- 前記無機繊維はアルミナ質繊維であることを特徴とする請求項1ないし11のいずれか1項に記載のバーナタイル。
- 前記アルミナ質繊維は、アルミナ重量分率65重量%以上の結晶質アルミナ・シリカ繊維であることを特徴とする請求項12に記載のバーナタイル。
- 前記主孔の炉内側の内周面に沿う筒状体と、該筒状体が着脱可能に嵌め込まれた本体とで構成されており、
該筒状体が本体から炉内側に抜け出すことを防止するための抜け出し防止手段が設けられていることを特徴とする請求項1ないし13のいずれか1項に記載のバーナタイル。 - 請求項1ないし14のいずれか1項に記載のバーナタイルを含むバーナ。
- 請求項15に記載のバーナを備えた炉。
- 請求項1に記載のバーナタイルを製造する方法であって、
前記主孔の形状を有したコア型の少なくとも炉内側に前記無機繊維製板体を板面が放射方向となるように配置する配置工程と、
少なくとも該板体の外周に無機繊維積層体を巻き付けて無機繊維巻回体を形成する巻き付け工程と、
該無機繊維巻回体を賦形板で求心方向に向って押圧して押し縮め、該賦形板をコア型に連結することにより無機繊維巻回体が押し縮め状態に保持された押縮体とする押縮工程と、
該押縮体に無機バインダー含有液を含浸させる含浸工程と、
無機バインダー含有液が含浸された押縮体を乾燥する乾燥工程と、
乾燥後、押縮体から前記コア型及び賦形板を取り外す脱型工程と、
その後、押縮体を焼成する焼成工程と
を有するバーナタイルの製造方法。 - 前記コア型及び賦形板は、前記無機バインダー含有液を通過させる孔を有していることを特徴とする請求項17に記載のバーナタイルの製造方法。
- 前記含浸工程の後、該押縮体から、前記コア型を通して無機バインダー含有液の一部を吸引排出する工程をさらに有することを特徴とする請求項18に記載のバーナタイルの製造方法。
- 請求項1に記載のバーナタイルを製造する方法であって、
前記外套部は、前記内套部が差し込まれる内孔を有し、
該内套部は、前記主孔の形状を有したコア型の少なくとも炉内側に前記無機繊維製板体を板面が放射方向となるように配置する配置工程と、
少なくとも該板体の外周に無機繊維積層体を巻き付けて無機繊維巻回体を形成する巻き付け工程と、
該無機繊維巻回体に無機バインダー含有液を含浸させる含浸工程と、
無機バインダー含有液が含浸された無機繊維巻回体を乾燥する乾燥工程と、
その後、無機繊維巻回体を焼成する焼成工程とを有する方法により製造され、
該外套部は、該内套部の形状を有したコア型の外周に無機繊維積層体を巻き付けて無機繊維巻回体を形成する巻き付け工程と、
該無機繊維巻回体を賦形板で求心方向に向って押圧して押し縮め、該賦形板をコア型に連結することにより無機繊維巻回体が押し縮め状態に保持された押縮体とする押縮工程と、
該押縮体に無機バインダー含有液を含浸させる含浸工程と、
無機バインダー含有液が含浸された押縮体を乾燥する乾燥工程と、
乾燥後、押縮体から前記コア型及び賦形板を取り外す脱型工程と、
その後、押縮体を焼成する焼成工程とを有する方法により製造され、
該外套部に該内套部を嵌合させる工程を有するバーナタイルの製造方法。 - 前記内套部の後端側の外周面からの凸部が放射方向に突設されており、かつ該外套部の内孔の内周面に、該内孔の軸心線と平行方向に延材する溝及び該溝に該内孔の周方向に延出したキー溝を有する請求項20に記載のバーナタイルの製造方法。
- 前記外套部に前記内套部を嵌合させる工程において、該内套部を該外套部に挿入するに先立って、該内套部の外周に無機繊維積層体シートを巻き付け、該内套部の外周と該外套部の内孔の隙間に該無機繊維積層体シートを介在させる請求項21に記載のバーナタイルの製造方法。
- 請求項6に記載のバーナタイルを製造する方法であって、
前記主孔の形状を有したコア型の外周に前記無機繊維積層体を巻き付けて無機繊維巻回体を形成する巻き付け工程と、
該無機繊維巻回体を賦形板で求心方向に向って押圧して押し縮め、該賦形板をコア型に連結することにより無機繊維巻回体が押し縮め状態に保持された押縮体とする押縮工程と、
該押縮体に無機バインダー含有液を含浸させる含浸工程と、
無機バインダー含有液が含浸された押縮体を乾燥する乾燥工程と、
乾燥後、押縮体から前記コア型及び賦形板を取り外す脱型工程と、
その後、押縮体を焼成する焼成工程と
を有するバーナタイルの製造方法。 - 前記コア型及び賦形板は、前記無機バインダー含有液を通過させる孔を有していることを特徴とする請求項23に記載のバーナタイルの製造方法。
- 前記含浸工程の後、該押縮体から、前記コア型を通して無機バインダー含有液の一部を吸引排出する工程をさらに有することを特徴とする請求項24に記載のバーナタイルの製造方法。
- 請求項6に記載のバーナタイルを製造する方法であって、
該バーナタイルは内套部及び外套部を有し、該外套部は、該内套部が差し込まれる内孔を有し、
該内套部は、前記主孔の形状を有したコア型の外周に無機繊維積層体を巻き付けて無機繊維巻回体を形成する第一の巻き付け工程と、
少なくとも該板体の外周に無機繊維積層体を巻き付けて無機繊維巻回体を形成する第二の巻き付け工程と、
該無機繊維巻回体に無機バインダー含有液を含浸させる含浸工程と、
無機バインダー含有液が含浸された無機繊維巻回体を乾燥する乾燥工程と、
その後、無機繊維巻回体を焼成する焼成工程とを有する方法により製造され、
該外套部は、該内套部の形状を有したコア型の外周に無機繊維積層体を巻き付けて無機繊維巻回体を形成する巻き付け工程と、
該無機繊維巻回体を賦形板で求心方向に向って押圧して押し縮め、該賦形板をコア型に連結することにより無機繊維巻回体が押し縮め状態に保持された押縮体とする押縮工程と、
該押縮体に無機バインダー含有液を含浸させる含浸工程と、
無機バインダー含有液が含浸された押縮体を乾燥する乾燥工程と、
乾燥後、押縮体から前記コア型及び賦形板を取り外す脱型工程と、
その後、押縮体を焼成する焼成工程とを有する方法により製造され、
該外套部に該内套部を嵌合させる工程を有するバーナタイルの製造方法。 - 前記内套部が筒状体であって、該筒状体の外周面には該筒状体の軸心線方向に凸部が突設されており、かつ該外套部の内孔の内周面に、該内孔の軸心線と平行方向に延材する溝及び該溝に該内孔の周方向に延出したキー溝を有する請求項26に記載のバーナタイルの製造方法。
Applications Claiming Priority (5)
| Application Number | Priority Date | Filing Date | Title |
|---|---|---|---|
| JP2014024487 | 2014-02-12 | ||
| JP2014024487 | 2014-02-12 | ||
| JP2015001634 | 2015-01-07 | ||
| JP2015001634 | 2015-01-07 | ||
| PCT/JP2015/052463 WO2015122281A1 (ja) | 2014-02-12 | 2015-01-29 | バーナタイル、バーナ及び炉 |
Publications (2)
| Publication Number | Publication Date |
|---|---|
| JPWO2015122281A1 JPWO2015122281A1 (ja) | 2017-03-30 |
| JP6409786B2 true JP6409786B2 (ja) | 2018-10-24 |
Family
ID=53800029
Family Applications (1)
| Application Number | Title | Priority Date | Filing Date |
|---|---|---|---|
| JP2015562778A Active JP6409786B2 (ja) | 2014-02-12 | 2015-01-29 | バーナタイル、バーナ及び炉 |
Country Status (7)
| Country | Link |
|---|---|
| US (1) | US10527283B2 (ja) |
| EP (2) | EP3372897B1 (ja) |
| JP (1) | JP6409786B2 (ja) |
| KR (1) | KR102288856B1 (ja) |
| CN (1) | CN105934631B (ja) |
| TW (1) | TWI636228B (ja) |
| WO (1) | WO2015122281A1 (ja) |
Families Citing this family (11)
| Publication number | Priority date | Publication date | Assignee | Title |
|---|---|---|---|---|
| KR102399369B1 (ko) * | 2016-05-09 | 2022-05-18 | 마후텟쿠 가부시키가이샤 | 스키드 파이프 및 그 단열 보호 부재의 시공 방법 |
| JP1582341S (ja) * | 2017-01-20 | 2017-07-31 | ||
| JP1582342S (ja) * | 2017-01-20 | 2017-07-31 | ||
| JP7174915B2 (ja) * | 2017-09-19 | 2022-11-18 | 中外炉工業株式会社 | ノズルチップの製造方法及び燃料ノズルの製造方法 |
| JP2019052831A (ja) * | 2017-09-19 | 2019-04-04 | 中外炉工業株式会社 | リジェネバーナ、その燃料ノズル及びノズルチップ |
| KR102088034B1 (ko) * | 2019-05-14 | 2020-03-11 | 장근수 | 내열성이 강화된 버너 타일 |
| ES2986099T3 (es) * | 2019-07-19 | 2024-11-08 | Maftec Co Ltd | Elemento protector aislante térmico e instalación del mismo |
| JP7267330B2 (ja) * | 2021-02-18 | 2023-05-01 | マフテック株式会社 | リジェネバーナ用耐火物ユニット及びその製造方法 |
| CN113956061B (zh) * | 2021-11-12 | 2023-08-22 | 中国航空制造技术研究院 | 一种连续纤维增强陶瓷基复合材料螺钉的制备方法 |
| CN116412419B (zh) * | 2021-12-30 | 2025-11-21 | 中国科学院宁波材料技术与工程研究所 | 一种模块化燃烧腔体 |
| US20240400467A1 (en) * | 2023-06-02 | 2024-12-05 | Raytheon Technologies Corporation | Particle enhanced ceramic matrix composite with no particles on surface plies |
Family Cites Families (24)
| Publication number | Priority date | Publication date | Assignee | Title |
|---|---|---|---|---|
| US3346016A (en) * | 1964-01-02 | 1967-10-10 | Johns Manville | High temperature thermal insulation |
| US3528400A (en) * | 1964-12-21 | 1970-09-15 | Corning Glass Works | Lamellar ceramic body |
| FR2558243B1 (fr) | 1984-01-13 | 1987-01-30 | Lorraine Laminage | Piece de four constituant un passage pour des gaz sortant d'un bruleur et procede d'obtention |
| US4800054A (en) * | 1987-06-05 | 1989-01-24 | Roestenberg Jerome R | Method for shaping a molding compound applied to a surface for modifying the surface |
| JPH01150712A (ja) | 1987-12-08 | 1989-06-13 | Ngk Insulators Ltd | 多重構造のバーナータイル |
| JPH0740831Y2 (ja) * | 1989-04-28 | 1995-09-20 | 日本碍子株式会社 | バーナータイル |
| JPH03121336U (ja) | 1990-03-20 | 1991-12-12 | ||
| JPH0769051B2 (ja) | 1990-06-19 | 1995-07-26 | 品川白煉瓦株式会社 | バーナータイル |
| AT394768B (de) * | 1990-11-02 | 1992-06-25 | Chamottewaren U Thonoefenfabri | Brennerflammenfuehrungsteil |
| JPH06281132A (ja) | 1991-04-12 | 1994-10-07 | Sumitomo Metal Ind Ltd | セラミックファイバー製バーナータイル |
| JPH0769051A (ja) | 1993-08-31 | 1995-03-14 | Tokai Kogyo Kk | 自動車用スライドガラスの窓枠およびその製造方法 |
| JP3065929B2 (ja) | 1996-03-29 | 2000-07-17 | ニチアス株式会社 | バーナータイル |
| JP3133954B2 (ja) | 1997-01-16 | 2001-02-13 | 新日化サーマルセラミックス株式会社 | バーナタイル |
| JP2000009305A (ja) | 1998-06-19 | 2000-01-14 | Nichias Corp | バーナー構造体およびその施工方法 |
| JP4036994B2 (ja) * | 1998-12-22 | 2008-01-23 | 千代田化工建設株式会社 | バーナタイルの支持構造 |
| DE10046094C2 (de) | 2000-09-18 | 2002-09-19 | Siemens Ag | Hitzeschildstein zur Auskleidung einer Brennkammerwand |
| JP2002295805A (ja) * | 2001-03-29 | 2002-10-09 | Noritake Co Ltd | 焼成炉 |
| JP4733653B2 (ja) | 2007-02-02 | 2011-07-27 | 新日鉄エンジニアリング株式会社 | バーナータイル |
| JP2010255792A (ja) * | 2009-04-27 | 2010-11-11 | Three M Innovative Properties Co | 耐熱性パッキング部材及び延焼防止工法 |
| CN201463564U (zh) | 2009-06-02 | 2010-05-12 | 黄冈市华窑中洲窑炉有限公司 | 高压旋流喷火砖 |
| JP5791922B2 (ja) | 2010-03-09 | 2015-10-07 | 三菱樹脂株式会社 | 軽量無機繊維成形体、及びその製造方法 |
| EP2754647B1 (en) | 2011-09-07 | 2016-11-02 | Mitsubishi Plastics, Inc. | Molded inorganic-fiber object and process for producing same |
| JP5376097B2 (ja) * | 2011-09-08 | 2013-12-25 | 三菱樹脂株式会社 | 無機繊維成形体 |
| WO2015057345A1 (en) * | 2013-10-14 | 2015-04-23 | Bloom Engineering Company, Inc. | Burner port block assembly |
-
2015
- 2015-01-29 EP EP18166516.7A patent/EP3372897B1/en active Active
- 2015-01-29 KR KR1020167021718A patent/KR102288856B1/ko active Active
- 2015-01-29 EP EP15748689.5A patent/EP3106752B1/en active Active
- 2015-01-29 WO PCT/JP2015/052463 patent/WO2015122281A1/ja not_active Ceased
- 2015-01-29 JP JP2015562778A patent/JP6409786B2/ja active Active
- 2015-01-29 CN CN201580005162.7A patent/CN105934631B/zh active Active
- 2015-01-29 US US15/114,582 patent/US10527283B2/en active Active
- 2015-02-11 TW TW104104617A patent/TWI636228B/zh active
Also Published As
| Publication number | Publication date |
|---|---|
| US20160348905A1 (en) | 2016-12-01 |
| TWI636228B (zh) | 2018-09-21 |
| EP3372897A2 (en) | 2018-09-12 |
| EP3106752B1 (en) | 2020-01-08 |
| EP3372897A3 (en) | 2018-11-07 |
| CN105934631B (zh) | 2018-07-06 |
| KR20160122719A (ko) | 2016-10-24 |
| KR102288856B1 (ko) | 2021-08-10 |
| EP3106752A1 (en) | 2016-12-21 |
| JPWO2015122281A1 (ja) | 2017-03-30 |
| EP3106752A4 (en) | 2017-11-08 |
| TW201541046A (zh) | 2015-11-01 |
| EP3372897B1 (en) | 2020-09-09 |
| CN105934631A (zh) | 2016-09-07 |
| WO2015122281A1 (ja) | 2015-08-20 |
| US10527283B2 (en) | 2020-01-07 |
Similar Documents
| Publication | Publication Date | Title |
|---|---|---|
| JP6409786B2 (ja) | バーナタイル、バーナ及び炉 | |
| JP5328174B2 (ja) | 目封止ハニカム構造体 | |
| US8951323B2 (en) | Multiple layer mat and exhaust gas treatment device | |
| US8992846B2 (en) | Exhaust gas treatment device | |
| CN102770630A (zh) | 用于污染控制装置的多层安装垫 | |
| EP4001729B1 (en) | Heat insulating protective member and installing the same | |
| KR20230010248A (ko) | 버너용 내화물, 버너용 내화물의 제조 방법, 리제너레이티브 버너, 및, 공업로 | |
| JP2015140678A (ja) | 排ガス浄化装置及び保持シール材 | |
| JP5324355B2 (ja) | ハニカム構造体 | |
| EP3192630B1 (en) | Extrusion die | |
| WO2025203889A1 (ja) | マット材及び保持シール材 | |
| CN118495954A (zh) | 陶瓷复合管状结构 | |
| WO2024170686A1 (de) | Batteriegehäusedeckel mit einem abschnitt umfassend einen faserverbund mit oxidischer matrix | |
| JP2019052831A (ja) | リジェネバーナ、その燃料ノズル及びノズルチップ | |
| JP2016175789A (ja) | ハニカム構造体 |
Legal Events
| Date | Code | Title | Description |
|---|---|---|---|
| A711 | Notification of change in applicant |
Free format text: JAPANESE INTERMEDIATE CODE: A712 Effective date: 20170515 |
|
| A521 | Request for written amendment filed |
Free format text: JAPANESE INTERMEDIATE CODE: A523 Effective date: 20171101 |
|
| A621 | Written request for application examination |
Free format text: JAPANESE INTERMEDIATE CODE: A621 Effective date: 20171101 |
|
| TRDD | Decision of grant or rejection written | ||
| A01 | Written decision to grant a patent or to grant a registration (utility model) |
Free format text: JAPANESE INTERMEDIATE CODE: A01 Effective date: 20180828 |
|
| A61 | First payment of annual fees (during grant procedure) |
Free format text: JAPANESE INTERMEDIATE CODE: A61 Effective date: 20180910 |
|
| R150 | Certificate of patent or registration of utility model |
Ref document number: 6409786 Country of ref document: JP Free format text: JAPANESE INTERMEDIATE CODE: R150 |
|
| R250 | Receipt of annual fees |
Free format text: JAPANESE INTERMEDIATE CODE: R250 |
|
| S111 | Request for change of ownership or part of ownership |
Free format text: JAPANESE INTERMEDIATE CODE: R313115 |
|
| R350 | Written notification of registration of transfer |
Free format text: JAPANESE INTERMEDIATE CODE: R350 |
|
| R250 | Receipt of annual fees |
Free format text: JAPANESE INTERMEDIATE CODE: R250 |
|
| R250 | Receipt of annual fees |
Free format text: JAPANESE INTERMEDIATE CODE: R250 |
|
| S531 | Written request for registration of change of domicile |
Free format text: JAPANESE INTERMEDIATE CODE: R313531 |
|
| R350 | Written notification of registration of transfer |
Free format text: JAPANESE INTERMEDIATE CODE: R350 |
|
| R250 | Receipt of annual fees |
Free format text: JAPANESE INTERMEDIATE CODE: R250 |
|
| R250 | Receipt of annual fees |
Free format text: JAPANESE INTERMEDIATE CODE: R250 |
