JP6366299B2 - 光走査装置及び画像形成装置 - Google Patents

光走査装置及び画像形成装置 Download PDF

Info

Publication number
JP6366299B2
JP6366299B2 JP2014039127A JP2014039127A JP6366299B2 JP 6366299 B2 JP6366299 B2 JP 6366299B2 JP 2014039127 A JP2014039127 A JP 2014039127A JP 2014039127 A JP2014039127 A JP 2014039127A JP 6366299 B2 JP6366299 B2 JP 6366299B2
Authority
JP
Japan
Prior art keywords
protrusion
reflection mirror
mirror
longitudinal direction
end side
Prior art date
Legal status (The legal status is an assumption and is not a legal conclusion. Google has not performed a legal analysis and makes no representation as to the accuracy of the status listed.)
Active
Application number
JP2014039127A
Other languages
English (en)
Other versions
JP2015161936A (ja
Inventor
乙黒 康明
康明 乙黒
毅洋 石館
毅洋 石館
Current Assignee (The listed assignees may be inaccurate. Google has not performed a legal analysis and makes no representation or warranty as to the accuracy of the list.)
Canon Inc
Original Assignee
Canon Inc
Priority date (The priority date is an assumption and is not a legal conclusion. Google has not performed a legal analysis and makes no representation as to the accuracy of the date listed.)
Filing date
Publication date
Application filed by Canon Inc filed Critical Canon Inc
Priority to JP2014039127A priority Critical patent/JP6366299B2/ja
Publication of JP2015161936A publication Critical patent/JP2015161936A/ja
Application granted granted Critical
Publication of JP6366299B2 publication Critical patent/JP6366299B2/ja
Active legal-status Critical Current
Anticipated expiration legal-status Critical

Links

Images

Landscapes

  • Mechanical Optical Scanning Systems (AREA)
  • Facsimile Scanning Arrangements (AREA)
  • Laser Beam Printer (AREA)

Description

本発明は、複写機、プリンタ、ファクシミリ、それらの複合機等の画像形成装置に用いられる光走査装置に関する。
画像形成装置では、光走査装置に設けられた回転多面鏡を回転させ、光ビームを走査するとともに、反射ミラーにより光ビームの方向を変えることで感光体上に潜像画像を形成する。光ビームの方向を変えるための反射ミラーは、光走査装置内に光ビームが飛び交うことから、光学部材の省スペース化のため、また、コストを低減するために、細長い形状をした極力小さなものとして設定される。
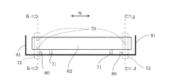
反射ミラーは、光走査装置の筐体に設けられた支持座面に押圧されて支持固定される。通常、図6に示すように、支持座面70、71は反射ミラー62の長手方向Nの両端部近傍に設けられ、反射ミラー62を介して、支持座面70、71に対向する位置を弾性部材772で加圧するような構成が採用される。ここで、図6(a)は筐体内の支持座面70、71の位置を示す図、図6(b)は反射ミラー62を筐体に設置し弾性部材772で押圧固定した様子を示す図、図6(c)は弾性部材772を示す斜視図である。しかし、従来採用されているこのような支持構成では、光走査装置近傍に設けられている画像形成装置の駆動系が動作すると、その駆動系から発生した振動が伝わることで反射ミラー62が振動するおそれがある。反射ミラー62が振動すると、反射ミラー62の振動に伴って光ビームの反射の方向が変わって、感光体上での結像位置が所望の位置からずれることにより、出力される画像に縞模様などのムラが発生してしまう。特にタンデム方式の画像形成装置では、複数の感光体へと光ビームを案内しなければならないため使用する光学部材の数が多くなり、必然的に反射ミラー62の数も増える。このため、反射ミラー62の振動による結像位置のずれの影響が大きくなってしまう。
そこで、この課題を解決するために、例えば特許文献1では、反射ミラーの長手方向Nの中央部の反射面に垂直な面の表面を粗くする処理をし、その粗くした箇所に対応した場所に固定用の座面を設けた構成が提案されている。
特開2006−251813号公報
しかし、従来の構成では、光ビームが飛び交う反射ミラーの中央付近に支持面を作成することになる。そして、その対向位置に加圧部材を設置する構成では、光ビームの通過位置を避けるように加圧部材を設置しなければならず、設計の自由度が低くなるおそれがある。特に、上述したタンデム方式の画像形成装置で、且つ、1つの光走査装置から複数の感光体へと光ビームを照射する構成の装置では、光走査装置内が光学部材で密集しているため、従来の構成が適用できないおそれもある。更に、近年、製品の小型化が求められているため、光走査装置においても潜像画像を描画するために光ビームを走査する範囲内に加圧部材を設けることが難しくなってきている。
また、例えば図7(b)に示すような構成とすることも考えられる。尚、図7の詳細な説明は実施の形態において行う。図7(a)に示すように、反射ミラー62の断面長手側面62aと、断面短手側面62bを支持固定する、反射ミラー62端部近傍に配置した支持座面70、71を、反射ミラー62の長手方向Nでずらす構成とする。この構成により、反射ミラー62の表面を粗くする処理を行うことなく筐体に設置された状態での反射ミラー62の固有振動数を変化させることができる。しかし、この構成では、次のような課題がある。反射ミラー62の両端部で弾性部材772を用いて反射ミラー62を押圧、支持固定する場合、例えば図6(b)に示すような構成とする。即ち、省スペースの観点から反射ミラー62の断面長手側面62aと断面短手側面62bを1つの弾性部材772で固定し、且つ、加圧する位置を反射ミラー62の長手方向Nで略同一位置とする。具体的には、弾性部材772の押圧部762aで断面長手側面62aを、弾性部材772の押圧部762bで断面短手側面62bを押圧する。この場合、図8に示すように、断面長手側面62aと断面短手側面62bを支持固定する筐体側の支持座面70、71が反射ミラー62の長手方向Nで距離Lだけずれた位置にある。尚、図8の詳細な説明は実施の形態において行う。このため、加圧部材である弾性部材772の組み付け時に、反射ミラー62の両端に一組の弾性部材772を厳密に同時に組み付けない限り、弾性部材772の加圧力Fによって反射ミラー62には回転モーメントMが働く。その結果、反射ミラー62が浮き上がり、筐体内の段差に乗り上げた状態のまま組み付けられてしまったり、回転することで予期せぬ位置に反射ミラー62の稜線部がぶつかり破損してしまったりするおそれもある。
本発明は、このような状況のもとでなされたもので、簡単な構成で反射ミラーの振動を低減しつつ、反射ミラーの組み付け時の回転を防止することを目的とする。
上述した課題を解決するために、本発明は、以下の構成を備える。
(1)光ビームを射出する光源と、前記光源から射出された前記光ビームが感光体上を走査するように前記光ビームを偏向する回転多面鏡と、前記回転多面鏡によって偏向された前記光ビームを前記感光体に導く反射ミラーと、前記反射ミラーを内部に収容する筐体と前記反射ミラーの長手方向において中央部よりも一端側において、前記反射ミラーを支持する第1突出部と、前記反射ミラーの長手方向において前記中央部よりも他端側において、前記反射ミラーを支持する第2突出部と、前記反射ミラーの長手方向における前記他端側において前記反射ミラーを支持する第3突出部であって、前記第2突出部と異なる前記第3突出部と、前記筐体に設けられ、前記第1突出部によって支持される面に対して交差する方向の面を支持する第4突出部であって、前記反射ミラーの長手方向において前記中央部よりも前記一端側であって、前記第1突出部よりも前記中央部側に設けられる前記第4突出部と、前記筐体に設けられ、前記反射ミラーの前記交差する方向の面を支持する第5突出部であって、前記反射ミラーの長手方向において前記中央部よりも前記他端側であって、前記第2突出部及び前記第3突出部よりも前記中央部側に設けられる前記第5突出部と、前記反射ミラーの長手方向の前記一端側において、前記第1突出部が位置する方向へ前記反射ミラーを押圧する第1押圧部と、前記第4突出部が位置する方向へ前記反射ミラーを押圧する第2押圧部と、を有し、前記反射ミラーの前記一端側を前記筐体に対して押圧して固定する第1押圧部材と、前記反射ミラーの長手方向の前記他端側において、前記第2突出部及び前記第3突出部が位置する方向へ前記反射ミラーを押圧する第3押圧部と、前記第5突出部が位置する方向へ反射ミラーを押圧する第4押圧部と、を有し、前記反射ミラーの前記他端側を前記筐体に対して押圧して固定する第2押圧部材と、前記反射ミラーの長手方向において前記中央部よりも前記一端側であって、前記第4突出部よりも前記一端側において、前記筐体に設けられる第6突出部であって、前記反射ミラーの前記交差する方向の面と所定距離の間隔をあけて設けられる前記第6突出部と、前記反射ミラーの長手方向において前記中央部よりも前記他端側であって、前記第5突出部よりも前記他端側において、前記筐体に設けられる第7突出部であって、前記反射ミラーの前記交差する方向の面と所定距離の間隔をあけて設けられる前記第7突出部と、を備え、前記第3突出部は、前記第2突出部よりも前記反射ミラーの前記交差する方向の面に近い位置に設けられ、前記第6突出部は、次の関係式を満たすように設けられる
a>b×d/c
ここで、aは、前記反射ミラーの面方向において、前記反射ミラーの前記交差する方向の面と前記第5突出部とが接する面から、前記第3突出部の支持面において前記交差する方向の面から遠い稜線までの距離であり、
bは、前記反射ミラーの面方向において、前記第6突出部における前記反射ミラーの前記交差する方向の面と対向する面から、前記反射ミラーの前記交差する方向の面までの距離であり、
cは、前記第4突出部の支持面における前記反射ミラーの長手方向の前記一端側の端部から、前記第6突出部の前記反射ミラーの長手方向の前記一端側の端部までの距離であり、
dは、前記第4突出部の支持面における前記反射ミラーの長手方向の前記一端側の端部から、前記第3突出部の支持面において前記反射ミラーの長手方向における中央部側の端部までの距離であることを特徴とする光走査装置。
(2)感光体と、前記感光体に光ビームを照射し静電潜像を形成する前記(1)に記載の光走査装置と、前記光走査装置により形成された静電潜像を、トナーを用いて現像する現像手段と、前記現像手段により形成されたトナー像を記録媒体に転写する転写手段と、を備えることを特徴とする画像形成装置。
本発明によれば、簡単な構成で反射ミラーの振動を低減しつつ、反射ミラーの組み付け時の回転を防止することができる。
実施例の画像形成装置の概略を説明する簡易断面図 実施例の光走査装置の反射ミラーの支持座面を説明する概略構成図 実施例の反射ミラーの支持座面を説明する簡易断面図及び斜視図 実施例の反射ミラーの支持座面を説明する断面図及び斜視図 実施例の光走査装置の反射ミラーの支持座面を説明する概略構成図 従来例のミラー支持構成を説明する概略図 従来例のミラー支持構成を説明する概略図及び保持支点間距離と固有値の関係を説明するグラフ 従来例のミラー支持構成に働く回転モーメントを説明する図
[従来のミラー座面の構成]
実施例を説明するにあたり、図7、図8を用いて従来の反射ミラーの支持座面の構成と課題を説明する。図7(a)、図7(b)は従来の反射ミラーの支持座面を説明する概略図であり、図7(a)は反射ミラー62の斜視図と断面図、図7(b)は反射ミラー62と支持座面70、71の正面図である。図7(a)、図7(b)に示すような構成では、背景技術で説明した反射ミラー62の振動の課題に対応することができる。
図7(a)に示すように、反射ミラー62の長手方向Nの任意の箇所を切断した断面を考えた場合、反射ミラー62の光ビームの反射面側は、光ビームが部品公差で振れた場合にもその有効域から外れることが無いように幅広に設定される。これに対し、反射ミラー62の反射面に直交する面は、位置精度を高くするための筐体側の支持座面が当接し、且つ、振動を回避できる最低限の幅に設定されることや、コストを低減するために反射面側よりも狭い幅で構成される。反射ミラー62の断面長手側面62aと、反射ミラー62の断面短手側面62bを支持固定する、反射ミラー62端部近傍に設置した支持座面70、71を、反射ミラー62の長手方向Nで距離Lだけずらす。ここで、断面長手側面62aとは、反射ミラー62の反射面又は反射面に平行な対向面をいい、断面短手側面62bとは、反射ミラー62の反射面に直交する面をいう。このように支持座面70、71を反射ミラー62の長手方向Nで距離Lだけずらして配置することによって、反射ミラー62の表面を粗くする処理を行うことなく、筐体に設置された状態での反射ミラー62の固有振動数を変化させることが可能となる。
ここで、図7(c)は、反射ミラー62の支持座面70、71を図7(b)のように構成した場合の検証データであり、横軸は保持支点間距離L(mm)、縦軸は固有振動数(固有値(Hz))を示すグラフである。図7(c)には、図7(b)のように構成した場合の解析データ(図中、実験と示す)と、異なる2つのヤング率の場合の解析データ(E=7306kgf/mm2、E=9000kgf/mm2)を示しており、傾きの違いは筐体の材質の違いを示している。図7(c)は、長手方向Nの長さが240mmの反射ミラー62に対して、反射ミラー62端部に設けた支持座面70、71の保持支点間距離Lを変えた場合に、どのように固有振動数が変わるのかを測定した結果である。図7(c)のグラフから、保持支点間距離Lが大きいほど固有振動数が高くなることがわかる。即ち、反射ミラー62端部に設けられた断面長手側面62aの支持座面70と断面短手側面62bの支持座面71を数ミリ〜十数ミリずらし、本体駆動が有している固有振動周波数から反射ミラー62の固有振動数を外す構成とする。これにより、反射ミラー62の振動を回避することが可能となる。このことから、反射ミラー62の振動に対する解決策として、図7(b)のような構成であれば、設計自由度も考慮されており有効な手段であると考えられる。
しかし、図7(b)の構成では、次のような課題がある。図7(b)に示す構成では、反射ミラー62の両端部で弾性部材を用い反射ミラー62を押圧、支持固定する。この場合、省スペースの観点から反射ミラー62の断面長手側面62aと断面短手側面62bを1つの弾性部材で固定し、且つ、加圧する位置を反射ミラー62の長手方向Nで略同一位置に構成する。この場合、反射ミラー62の断面長手側面62aと断面短手側面62bを支持固定する支持座面70、71が、反射ミラー62の長手方向Nで距離Lだけずれた位置にある。このため、図8(a)、図8(b)に示すように、加圧部材である弾性部材の組み付け時に、その加圧力Fによって反射ミラー62には回転モーメントMが働く。ここで図8(a)は反射ミラー62の反射面から見た支持座面70、71を示す図、図8(b)は反射ミラー62に加圧力Fが働く様子を示す図、図8(c)は反射ミラー62に加圧力Fが働き回転により左端が浮き上がった様子を示す図である。図8(c)に示すように、反射ミラー62がO点を中心として回転し、図中左側の反射ミラー62端部が支持座面71から浮き上がる。これにより、反射ミラー62が筐体内の段差に乗り上げた状態のまま組み付けられてしまったり、反射ミラー62が回転することで予期せぬ位置に反射ミラー62の稜線部がぶつかり破損してしまったりするおそれがある。
[画像形成装置]
実施例の画像形成装置の構成を説明する。図1は本実施例のタンデム型のカラーレーザービームプリンタの全体構成を示す概略構成図である。このレーザービームプリンタ(以下、単にプリンタという)はイエロー(Y)、マゼンタ(M)、シアン(C)及びブラック(Bk)の色毎にトナー像を形成する4基の作像エンジン10Y、10M、10C、10Bk(一点鎖線で図示)を備える。また、プリンタは、各作像エンジン10Y、10M、10C、10Bkからトナー像が転写される中間転写ベルト20を備えている。本実施例のプリンタは、中間転写ベルト20に多重転写されたトナー像を記録媒体である記録シートPに転写してフルカラー画像を形成するように構成されている。以降、各色を表す符号Y、M、C、Bkは、必要な場合を除き省略する。
中間転写ベルト20は、無端状に形成され、一対のベルト搬送ローラ21、22にかけ回されており、矢印H方向に回転動作しながら各作像エンジン10で形成されたトナー像が転写されるように構成されている。また、中間転写ベルト20を挟んで一方のベルト搬送ローラ21と対向する位置には二次転写ローラ65が配設されている。記録シートPは、互いに圧接する二次転写ローラ65と中間転写ベルト20との間に挿通されて、中間転写ベルト20からトナー像が転写される。中間転写ベルト20の下側には前述した4基の作像エンジン10Y、10M、10C、10Bkが並列的に配設されており、各色の画像情報に応じて形成したトナー像を中間転写ベルト20に転写するようになっている(以下、一次転写という)。これら4基の作像エンジン10は、中間転写ベルト20の回動方向(矢印H方向)に沿って、イエロー用の作像エンジン10Y、マゼンタ用の作像エンジン10M、シアン用の作像エンジン10C及びブラック用の作像エンジン10Bkの順に配設されている。
また、作像エンジン10の下方には、各作像エンジン10に具備された感光体である感光ドラム50を画像情報に応じて露光する光走査装置40が配設されている。光走査装置40は全ての作像エンジン10Y、10M、10C、10Bkに共用されており、各色の画像情報に応じて変調された光ビームを射出する図示しない4基の半導体レーザーを備えている。また、光走査装置40は、各感光ドラム50に対応する光ビームが感光ドラム50の軸方向(Y軸方向)に沿って走査するように各光ビームを偏向する回転多面鏡42及び回転多面鏡42を回転させるモータユニット41を備えている。回転多面鏡42によって偏向された各光ビームは、光走査装置40内に設置された光学レンズ60と反射ミラー62を含む光学部材に案内されて感光ドラム50上(感光体上)に導かれ、各感光ドラム50を露光する。ここで、光学レンズ60及び反射ミラー62は、各光ビームを感光ドラム50上へ案内し、結像させるための光学部材である。尚、以下の説明において、モータユニット41の回転多面鏡42の回転軸方向をZ軸方向、光ビームの走査方向である主走査方向又は反射ミラー62の長手方向NをY軸方向、Y軸及びZ軸に垂直な方向をX軸方向とする。
各作像エンジン10は、感光ドラム50と、感光ドラム50を一様な背景部電位にまで帯電させる帯電ローラ12と、を備える。また、各作像エンジン10は、光ビームによって露光されることで感光ドラム50上に形成された静電潜像を現像してトナー像を形成する現像器13を備えている。現像器13は、感光ドラム50上に各色の画像情報に応じたトナー像を形成する。
各作像エンジン10の感光ドラム50に対向する位置には、中間転写ベルト20を挟むようにして一次転写ローラ15が配設されている。一次転写ローラ15は、所定の転写電圧が印加されることにより、感光ドラム50上のトナー像が中間転写ベルト20に転写される。
一方、記録シートPはプリンタ筐体1の下部に収納される給紙カセット2からプリンタの内部、具体的には中間転写ベルト20と二次転写ローラ65とが当接する二次転写位置へ供給される。給紙カセット2の上部には、給紙カセット2内に収容された記録シートPを引き出すためのピックアップローラ24及び給紙ローラ25が並設されている。また、給紙ローラ25と対向する位置には、記録シートPの重送を防止するリタードローラ26が配設されている。プリンタの内部における記録シートPの搬送経路27は、プリンタ筐体1の右側面に沿って略垂直に設けられている。プリンタ筐体1の底部に位置する給紙カセット2から引き出された記録シートPは、搬送経路27を上昇し、二次転写位置に対する記録シートPの突入タイミングを制御するレジストレーションローラ29へと送られる。その後、記録シートPは、二次転写位置においてトナー像が転写された後、搬送方向の下流側に設けられた定着器3(破線で図示)へと送られる。そして、定着器3によってトナー像が定着された記録シートPは、排出ローラ28を経て、プリンタ筐体1の上部に設けられた排紙トレイ1aに排出される。
このように構成されたカラーレーザービームプリンタによるフルカラー画像の形成に当たっては、まず、各色の画像情報に応じて光走査装置40が各作像エンジン10の感光ドラム50を所定のタイミングで露光する。これによって各作像エンジン10の感光ドラム50上には画像情報に応じた潜像画像が形成される。ここで、良質な画質を得るためには、光走査装置40によって形成される潜像画像が感光ドラム50上の所定の位置に精度よく再現され、且つ、潜像画像を形成するための光ビームの光量は常に安定して所望の値を出せるものでなければならない。また、画像形成装置内の駆動源から発生した振動によって光走査装置40内の光学部材が揺らされ、光ビームの集光位置がずれることで画像不良が発生してしまうことを防止しなければならない。更に、光学部材が間違われた組み付け方をされた場合や、組み付け作業によって光学部材が破損するような場合にも画像不良が発生するおそれがあるため、同様に防止していかなければならない。
[反射ミラーの取り付け部位の構成]
図2は本実施例の反射ミラー62の取り付け部位の概略構成図である。光走査装置40は、筐体105(図1参照)と、筐体105の内外周部に保持された光源(不図示)、回転多面鏡42(図1参照)を有する偏向器、光学レンズ60(図1参照)、反射ミラー62等を備えている。光源から射出された光ビームは、回転多面鏡42により走査され、感光ドラム50上で所望のスポット径を再現するための光学レンズ60、及び感光ドラム50へと光ビームを案内する反射ミラー62を通過するよう構成される。反射ミラー62は、反射面が汚れて反射率が低下することがないように筐体105内部に設置されている。
(反射ミラーの支持座面)
筐体105と反射ミラー62はそれぞれの線膨張係数が異なることが多く、温度変化時の影響を最小限にするため、弾性部材72(図4(b)等参照)による加圧力によって筐体105の一部である反射ミラー62の支持座面70、71に当接、支持固定される。反射ミラー62の断面長手側面62aを保持する両端の第一座面である支持座面70は、反射ミラー62を保持する際に弾性部材72の加圧力で捩じれてしまうことがないような構成となっている。具体的には、支持座面70は、長手方向Nの一方の端部が1点(支持座面70a)、他方の端部が2点(支持座面70b)となっている。例えば、片側1点ずつの合計2点の支持座面で反射ミラー62の1つの面を支える構成の場合、反射ミラー62は、長手方向Nを回転軸として、例えば右側端部が向こう側に回転し左側端部が手前に回転してしまうことによって、捩じれてしまうおそれがある。この捩じれの現象は、反射ミラー62を2点のリブ状の支持座面で支持する場合や、4点の支持座面で支持する場合でも発生するおそれがある。本実施例では、このような捩じれを防止するため、反射ミラー62の支持座面70は、反射ミラー62の1つの面を合計3か所の支持座面(70a、70b)で支える構成となっている。尚、本実施例では、図2の正面に向かって右側端部を片側1点の支持座面70a、向かって左側端部を片側2点の支持座面70bとしているが、左右が逆であってもよい。
また、反射ミラー62の断面短手側面62bを保持する両端の第二座面である支持座面71は、反射ミラー62の断面長手側面62aの支持座面70よりも反射ミラー62の長手方向Nにおいて中央部側の位置となるように構成される。即ち、支持座面70と支持座面71は、反射ミラー62の長手方向Nにずらして配置され、且つ、支持座面71の方が支持座面70よりも反射ミラー62の長手方向Nの中央部側に位置するように配置される。尚、以降、反射ミラー62の長手方向Nにおいて、ある位置からみて中央部側を指す場合を、単に内側といい、ある位置からみて端部側を指す場合を、単に外側という。このように構成することで、反射ミラー62の長手方向Nにおいて断面長手側面62aを支える支持座面70aと支持座面70bとの間の距離に対し、断面短手側面62bを支える支持座面71aと支持座面71bとの間の距離を短くすることができる。図7(c)でも説明したように、保持支点間距離Lが大きいほど反射ミラー62の固有振動数を高くすることができるため、弾性部材72により拘束されている反射ミラー62の固有振動数を高くすることができる。そして、反射ミラー62の固有振動数が高くなるほど振動の振幅を小さくすることができることは周知であるため、反射ミラー62の断面短手側面62bの支持座面71を断面長手側面62bの支持座面70よりも長手方向Nにおいて内側に配置する利点は大きい。更に、反射ミラー62の断面短手側面62bの支持座面71を断面長手側面62bの支持座面70よりも内側へずらす量を周囲に存在する駆動源の振動周波数から外れるように調整することで、反射ミラー62に伝わる振動を低減することができる。
弾性部材72は、後述する図3(a)の破線で示すように、反射ミラー62の断面長手側面62aの支持座面70に対向する位置に設けられ、且つ、支持座面70及び弾性部材72は画像領域の光ビームの反射位置よりも外側の領域に位置するよう構成される。そのため、弾性部材72で反射ミラー62の断面長手側面62aを加圧する場合、反射ミラー62の長手方向Nにおいて支持座面70からずれた位置を加圧していない。このため、反射ミラー62が反射面に直交する方向へと湾曲してしまうといった課題を回避できるとともに、光走査装置内の光ビームが弾性部材72で反射することにより意図しない光ビームが感光ドラム50へ照射されてしまうことも回避できる。
一方、反射ミラー62の断面短手側面62bの支持座面71については、弾性部材72の加圧力による光ビームの反射方向への影響はない。その理由は、支持座面71の位置から長手方向Nにずれた位置を弾性部材72で加圧しても、弾性部材72の加圧力により生じる反射ミラー62への湾曲成分は、上述したように反射ミラー62の反射面と直交する方向だからである。更に、反射ミラー62の断面短手側面62bの支持座面71は、サイズも小さく、画像領域に使う光ビームの反射位置よりも下方(Z軸マイナス方向)に位置した場所に構成することができる。このため、反射ミラー62の断面短手側面62bの支持座面71は、長手方向Nにおいて、画像形成に用いられる光ビームの走査範囲内に配置されても、画像形成に影響がないように構成できる。
[回転防止座面]
第三座面である回転防止座面80は、反射ミラー62の断面短手側面62bに対向した筐体105側の面上の位置に設けられ、且つ、反射ミラー62の長手方向Nにおいて断面短手側面62bの支持座面71よりも外側に位置するよう構成される。そのため、弾性部材72を設置する際に反射ミラー62が加圧力Fを受け回転モーメントMが発生したことにより、反射ミラー62が回転しようとした場合でも、回転防止座面80が反射ミラー62の回転動作を抑制する。このように、本実施例では、回転防止座面80が、反射ミラー62の回転動作を抑制するためのバックアップ座面としての機能を有している。
[支持座面の設計寸法]
(支持座面70a側に加圧力が働く場合)
反射ミラー62に対して、支持座面70aが配置された側に弾性部材72の加圧力Fが加えられた場合、反射ミラー62は、支持座面70a側がZ軸マイナス方向へ移動し、支持座面70b側がZ軸プラス方向へ移動する。このように、反射ミラー62は、図2中のO点を中心として回転する。ここで、反射ミラー62の回転動作の中心となるO点は、2つの支持座面71のうち、反射ミラー62における弾性部材72の加圧力Fが加わる端部側に位置する支持座面71aにある。この場合、反射ミラー62の回転動作によって、反射ミラー62の断面長手側面62aが、2つの支持座面70b(70b1、70b2)のうち下側に位置する支持座面70b(70b2)と接触しなくなってしまう。そして、支持座面70aと支持座面70b1による、従来のような2点支持となってしまい、上述した捩じれが発生してしまう。このため、回転防止座面80を配置する際には、弾性部材72の加圧力Fが働いたとしても、反射ミラー62の断面長手側面62aが3点の支持座面70a、70b1、70b2と接触している状態が維持されるようにしなければならない。
上述した条件を満たすように、本実施例の支持座面70、71及び回転防止座面80は、図2中実線で示すa、b、c、dの寸法を以下のように定義した際、次の関係式が成り立つように構成される。
a>b×d/c
ここで、距離aは、断面短手側面62bに垂直な方向(Z軸方向)の距離である。距離aは、断面短手側面62bを支持する支持座面71bから、下側の支持座面70b2の稜線70bcまでの距離である。即ち、距離aは、支持座面71bから、断面長手側面62aを支持する2つの支持座面70bのうち支持座面71bに最も近い支持座面70b2の稜線で、且つ、支持座面70b2の2つの稜線のうち支持座面71bから遠い側の稜線70bcまでの距離である。また、距離bは、断面短手側面62bに垂直な方向(Z軸方向)の距離である。距離bは、支持座面71aと接する側の断面短手側面62bと、弾性部材72の加圧力Fが加わる側の回転防止座面80aとの距離である。
また、距離cは、反射ミラー62の長手方向N(Y軸方向)の距離である。距離cは、反射ミラー62が回転した場合に反射ミラー62が回転防止座面80aに最初に接する角部を有する側の面から、断面短手側面62bを支持する支持座面71aの回転中心O点を有する側の面までの距離である。即ち、図2に示すように、距離cは、回転防止座面80aの長手方向Nにおける外側の面から支持座面71aの長手方向Nにおける外側の面までの距離である。距離dは、反射ミラー62の長手方向N(Y軸方向)の距離である。距離dは、断面短手側面62bを支持する支持座面71aの回転中心O点を有する側の面から、断面長手側面62aを支持する支持座面70b2の長手方向Nにおける内側の面までの距離である。
このように構成することで、反射ミラー62が回転して筐体105内の構造物に乗り上げたまま支持固定されてしまうといった課題や、反射ミラー62の稜線部が筐体105等、他の部材にぶつかることで破損してしまうといった課題を回避することができる。
(支持座面70b側に加圧力が働く場合)
尚、弾性部材72の加圧力Fが支持座面70b側に働く場合にも、同じような条件を満たすように、各所の寸法を決定すればよい。具体的には、図2に示すように、弾性部材72の加圧力Fが支持座面70b側に働く場合、O’点を中心として反射ミラー62が回転する。この回転を防止するために、図2に破線で示すa’、b’、c’、d’がa’>b’×d’/c’を満たすように回転防止座面80bを配置すればよい。ここで、距離a’は、断面短手側面62bに垂直な方向(Z軸方向)の距離である。距離a’は、断面短手側面62bを支持する支持座面71aから、支持座面70aの稜線70acまでの距離である。また、距離b’は、断面短手側面62bに垂直な方向(Z軸方向)の距離である。距離b’は、支持座面71bと接する側の断面短手側面62bと、弾性部材72の加圧力Fが加わる側の回転防止座面80bとの距離である。また、距離c’は、反射ミラー62の長手方向N(Y軸方向)の距離である。距離c’は、回転防止座面80bの長手方向Nにおける外側の面から支持座面71bの長手方向Nにおける外側の面までの距離である。距離d’は、反射ミラー62の長手方向N(Y軸方向)の距離である。距離d’は、断面短手側面62bを支持する支持座面71bの回転中心O’点を有する側の面から、断面長手側面62aを支持する支持座面70aの長手方向Nにおける内側の面までの距離である。
このように、反射ミラー62の両方の端部に働く加圧力Fに対して、反射ミラー62のそれぞれの端部において、回転防止座面80の高さや長手方向Nにおける位置を決定すればよい。本実施例では、支持座面70a側では、反射ミラー62ができる限り回転しないように回転防止座面80aを配置することが望ましい。このため、支持座面70a側では、回転防止座面80aの高さは反射ミラー62と接触しない範囲で高く、且つ、長手方向Nにおける位置は反射ミラー62の端部よりも外側の位置とならない範囲で反射ミラー62の端部に近い位置に配置することが望ましい。一方、支持座面70b側では、反射ミラー62の回転がある程度許容できる。このため、支持座面70b側では、回転防止座面80bの高さは支持座面70a側の回転防止座面80aよりも低くすることができる。且つ、回転防止座面80bの長手方向Nにおける位置は、支持座面70a側の回転防止座面80aの反射ミラー62の中心に対して対称となる位置よりも反射ミラー62の中央部側に寄せて配置することができる。ただし、この場合においても、回転防止座面80bは、支持座面71bより長手方向Nにおいて外側に位置するようにする。
弾性部材72は、反射ミラー62の反射面に垂直な方向も加圧しているため、反射ミラー62が筐体105の段差の稜線部に乗り上げた状態のまま固定されてしまうことが考えられる。そして、このような状況が生じると、光ビームの反射方向が大きくずれることで画像不良が発生してしまう。更に、反射ミラー62の設置位置のずれが大きくなると、光ビームが感光ドラム50へ照射されないことも起こり得る。このため、本実施例のような構成とすることは、これらの対策として有効である。
[弾性部材による固定]
図3、図4は反射ミラー62を設置する支持座面の近傍及び弾性部材72の固定方法を説明する概略図である。具体的には、図3(a)は、反射ミラー62の反射面側から見た正面図であり、破線は弾性部材72が設置される位置を示している。また、図3(b)は、反射ミラー62が設置される箇所の筐体105内部を斜め上方から見た斜視図であり、図3(c)は、図3(b)に示す筐体105に反射ミラー62を設置し、弾性部材72により固定した様子を示す斜視図である。また、図4(a)は、支持座面70の位置における断面図であり、具体的には、図4(a)の左図が図3(a)のK−K断面図、右図が図3(a)のJ−J断面図である。また、図4(b)は、弾性部材72が筐体105に設置され、反射ミラー62を固定している様子を示す斜め上方からの斜視図である。更に、図4(c)は、反射ミラー62の断面短手側面62bを保持する支持座面71の位置における断面図であり、具体的には、図4(c)の左図が図3(a)のS−S断面図、右図が図3(a)のR−R断面図である。
弾性部材72は、反射ミラー62の断面長手側面62aを押圧する押圧部7262aと、反射ミラー62の断面短手側面62bを押圧する押圧部7262bとを有している。弾性部材72の押圧部7262aと押圧部7262bは、長手方向Nにおいて同一位置で反射ミラー62を押圧する。尚、弾性部材の形状は、図6(c)や図4(b)に示すような形状のほか、反射ミラー62の断面長手側面62aと断面短手側面62bを、長手方向Nにおいて同一の位置で押圧固定できる形状であればよい。
反射ミラー62と回転防止座面80の間には、図2で説明したように所定距離である距離b(又は距離b’)に相当する空間が設けられている。一方、反射ミラー62と支持座面71は接触するように構成されている。弾性部材72は、図4(b)に示すように、矢印Qの方向からガイド部86(図4(a)参照)に沿うように挿入される。この際、弾性部材72に設けられた一対の規制部72bが、筐体105の一部105bを挟み込むように挿入される。これにより、安定した姿勢のまま弾性部材72を筐体105に設置することが可能となる。そして、弾性部材72が筐体105に所定位置まで挿入されると、弾性部材72に設けられたストッパー部72a(図4(a)参照)が、筐体105に設けられた係合部87に係合し、弾性部材72が筐体105から抜けおちないよう固定される。固定された弾性部材72は、所定圧で反射ミラー62を加圧保持する。
更に、図5に示すとおり、回転防止座面80は、反射ミラー62の長手方向Nにおいて、断面短手側面62bの支持座面71より外側で、且つ、反射ミラー62の端部よりも内側の位置に配置される。また、回転防止座面80は、断面長手側面62aの支持座面70と長手方向Nにおいて同一の位置に配置されてもよい。例えば、図3(a)に示すように支持座面70と回転防止座面80を長手方向Nにおいてずらして配置してもよいし、図3(b)に示すように長手方向Nにおいて同じ位置に配置してもよい。図3(a)や図5に示すように、回転防止座面80を支持座面70と支持座面71の間に配置する場合、反射ミラー62を固定するための弾性部材72よりも長手方向Nにおいて内側に回転防止座面80を設けることができる。このように、支持座面70と支持座面71の間に回転防止座面80を配置する場合には、筐体105の外壁81のサイズが大きくなることを防止することができる。
以上、本実施例によれば、簡単な構成で反射ミラーの振動を低減しつつ、反射ミラーの組み付け時の回転を防止することができる。
40 光走査装置
42 回転多面鏡
50 感光ドラム
62 反射ミラー
70、71 支持座面
80 回転防止座面
105 筐体

Claims (9)

  1. 光ビームを射出する光源と、
    前記光源から射出された前記光ビームが感光体上を走査するように前記光ビームを偏向する回転多面鏡と、
    前記回転多面鏡によって偏向された前記光ビームを前記感光体に導く反射ミラーと、
    前記反射ミラーを内部に収容する筐体と
    前記反射ミラーの長手方向において中央部よりも一端側において、前記反射ミラーを支持する第1突出部と、
    前記反射ミラーの長手方向において前記中央部よりも他端側において、前記反射ミラーを支持する第2突出部と、
    前記反射ミラーの長手方向における前記他端側において前記反射ミラーを支持する第3突出部であって、前記第2突出部と異なる前記第3突出部と、
    前記筐体に設けられ、前記第1突出部によって支持される面に対して交差する方向の面を支持する第4突出部であって、前記反射ミラーの長手方向において前記中央部よりも前記一端側であって、前記第1突出部よりも前記中央部側に設けられる前記第4突出部と、
    前記筐体に設けられ、前記反射ミラーの前記交差する方向の面を支持する第5突出部であって、前記反射ミラーの長手方向において前記中央部よりも前記他端側であって、前記第2突出部及び前記第3突出部よりも前記中央部側に設けられる前記第5突出部と、
    前記反射ミラーの長手方向の前記一端側において、前記第1突出部が位置する方向へ前記反射ミラーを押圧する第1押圧部と、前記第4突出部が位置する方向へ前記反射ミラーを押圧する第2押圧部と、を有し、前記反射ミラーの前記一端側を前記筐体に対して押圧して固定する第1押圧部材と、
    前記反射ミラーの長手方向の前記他端側において、前記第2突出部及び前記第3突出部が位置する方向へ前記反射ミラーを押圧する第3押圧部と、前記第5突出部が位置する方向へ反射ミラーを押圧する第4押圧部と、を有し、前記反射ミラーの前記他端側を前記筐体に対して押圧して固定する第2押圧部材と、
    前記反射ミラーの長手方向において前記中央部よりも前記一端側であって、前記第4突出部よりも前記一端側において、前記筐体に設けられる第6突出部であって、前記反射ミラーの前記交差する方向の面と所定距離の間隔をあけて設けられる前記第6突出部と、
    前記反射ミラーの長手方向において前記中央部よりも前記他端側であって、前記第5突出部よりも前記他端側において、前記筐体に設けられる第7突出部であって、前記反射ミラーの前記交差する方向の面と所定距離の間隔をあけて設けられる前記第7突出部と、
    を備え、
    前記第3突出部は、前記第2突出部よりも前記反射ミラーの前記交差する方向の面に近い位置に設けられ、
    前記第6突出部は、次の関係式を満たすように設けられる
    a>b×d/c
    ここで、aは、前記反射ミラーの面方向において、前記反射ミラーの前記交差する方向の面と前記第5突出部とが接する面から、前記第3突出部の支持面において前記交差する方向の面から遠い稜線までの距離であり、
    bは、前記反射ミラーの面方向において、前記第6突出部における前記反射ミラーの前記交差する方向の面と対向する面から、前記反射ミラーの前記交差する方向の面までの距離であり、
    cは、前記第4突出部の支持面における前記反射ミラーの長手方向の前記一端側の端部から、前記第6突出部の前記反射ミラーの長手方向の前記一端側の端部までの距離であり、
    dは、前記第4突出部の支持面における前記反射ミラーの長手方向の前記一端側の端部から、前記第3突出部の支持面において前記反射ミラーの長手方向における中央部側の端部までの距離であることを特徴とする光走査装置。
  2. 前記第4突出部及び前記第5突出部は、前記反射ミラーの長手方向において前記光ビームが走査される領域内に設けられることを特徴とする請求項1に記載の光走査装置。
  3. 前記第6突出部は、前記反射ミラーの長手方向において、前記第1突出部と同じ位置に設けられることを特徴とする請求項1または2に記載の光走査装置。
  4. 前記第6突出部は、前記反射ミラーの長手方向において、前記第1突出部と前記第4突出部との間に設けられることを特徴とする請求項1または2に記載の光走査装置。
  5. 前記第7突出部は、前記反射ミラーの長手方向において、前記第2突出部または前記第3突出部と同じ位置に設けられることを特徴とする請求項1乃至4のいずれか1項に記載の光走査装置。
  6. 前記第7突出部は、前記反射ミラーの長手方向において、前記第2突出部または前記第3突出部と、前記第5突出部との間に設けられることを特徴とする請求項1乃至4のいずれか1項に記載の光走査装置。
  7. 前記第7突出部は、次の関係式を満たすように設けられ
    a’>b’×d’/c’
    ここで、a’は、前記反射ミラーの面方向において、前記反射ミラーの前記交差する方向の面と前記第5突出部とが接する面から、前記第1突出部の支持面のうち前記交差する方向の面からい稜線までの距離であり
    b’は、前記ミラーの面方向において、前記第7突出部における前記反射ミラーの前記交差する方向の面と対向する面から、前記反射ミラーの前記交差する方向の面までの距離であり
    c’は、前記第5突出部の支持面における前記反射ミラーの長手方向の前記他端側の端部から、前記第7突出部の前記反射ミラーの長手方向の前記他端側の端部までの距離であり
    d’は、前記第5突出部の支持面における前記反射ミラーの長手方向の前記他端側の端部から、前記第1突出部の支持面において前記反射ミラーの長手方向における中央部側の端部までの距離であることを特徴とする請求項1乃至6のいずれか1項に記載の光走査装置。
  8. 前記第1押圧部材及び前記第2押圧部材は、前記反射ミラーの長手方向において前記光ビームが走査する領域よりも端部側の領域に位置するように設けられることを特徴とする請求項1乃至7のいずれか1項に記載の光走査装置。
  9. 感光体と、
    前記感光体に光ビームを照射し静電潜像を形成する請求項1乃至のいずれか1項に記載の光走査装置と、
    前記光走査装置により形成された静電潜像を、トナーを用いて像する現像手段と、
    前記現像手段により形成されたトナー像を記録媒体に転写する転写手段と、
    を備えることを特徴とする画像形成装置。
JP2014039127A 2014-02-28 2014-02-28 光走査装置及び画像形成装置 Active JP6366299B2 (ja)

Priority Applications (1)

Application Number Priority Date Filing Date Title
JP2014039127A JP6366299B2 (ja) 2014-02-28 2014-02-28 光走査装置及び画像形成装置

Applications Claiming Priority (1)

Application Number Priority Date Filing Date Title
JP2014039127A JP6366299B2 (ja) 2014-02-28 2014-02-28 光走査装置及び画像形成装置

Publications (2)

Publication Number Publication Date
JP2015161936A JP2015161936A (ja) 2015-09-07
JP6366299B2 true JP6366299B2 (ja) 2018-08-01

Family

ID=54185026

Family Applications (1)

Application Number Title Priority Date Filing Date
JP2014039127A Active JP6366299B2 (ja) 2014-02-28 2014-02-28 光走査装置及び画像形成装置

Country Status (1)

Country Link
JP (1) JP6366299B2 (ja)

Families Citing this family (2)

* Cited by examiner, † Cited by third party
Publication number Priority date Publication date Assignee Title
JP2018055030A (ja) * 2016-09-30 2018-04-05 キヤノン株式会社 光走査装置及び画像形成装置
JP7676222B2 (ja) * 2021-05-24 2025-05-14 キヤノン株式会社 走査光学装置及び画像形成装置

Family Cites Families (5)

* Cited by examiner, † Cited by third party
Publication number Priority date Publication date Assignee Title
JP2885288B2 (ja) * 1989-03-28 1999-04-19 株式会社リコー 光走査装置
JP3899768B2 (ja) * 2000-02-01 2007-03-28 富士ゼロックス株式会社 光学走査装置
JP2002006250A (ja) * 2000-06-23 2002-01-09 Canon Inc 光走査装置
JP3789770B2 (ja) * 2001-05-07 2006-06-28 シャープ株式会社 光走査装置及び画像形成装置
KR100644668B1 (ko) * 2004-12-18 2006-11-10 삼성전자주식회사 미러 지지 장치 및 이를 구비하는 광주사장치

Also Published As

Publication number Publication date
JP2015161936A (ja) 2015-09-07

Similar Documents

Publication Publication Date Title
JP6444182B2 (ja) 光走査装置及び画像形成装置
JP5121388B2 (ja) 光走査装置
US9493014B2 (en) Image forming apparatus having three-position support
JP6128988B2 (ja) 光走査装置及び画像形成装置
US10274860B2 (en) Method for manufacturing light scanning apparatus, and image forming apparatus
JP5899964B2 (ja) 光書込装置及び画像形成装置
US7697182B2 (en) Scanning optical apparatus and image forming apparatus wherein a route of the second laser beam reflected by the first rotating polygon mirror and a route of the third laser beam reflected by the second rotating polygon mirror cross each other in the optical box
US8823764B2 (en) Optical writer and image forming apparatus including same
US11852988B2 (en) Image forming apparatus with improved vibration rigidity
JP2018055030A (ja) 光走査装置及び画像形成装置
JP2018132646A (ja) 光走査装置の筐体及び光走査装置
JP6366299B2 (ja) 光走査装置及び画像形成装置
US7123396B2 (en) Optical scanning apparatus and image forming apparatus
JP2006301252A (ja) レーザ光学ユニット、レーザ光学装置及び画像形成装置
US7116457B2 (en) Optical scanning apparatus and image forming apparatus
JP6682201B2 (ja) 光走査装置及び画像形成装置
JP2018017905A (ja) 光学走査装置及び画像形成装置
JP6062896B2 (ja) 光走査装置
JP2012159529A (ja) 光走査装置及びこれを備えた画像形成装置
JP2008191227A (ja) 光走査装置
JP4765493B2 (ja) 画像形成装置
JP7114410B2 (ja) 光走査装置及び画像形成装置
JP7183031B2 (ja) 光走査装置および光走査装置を備える画像形成装置
JP2016126268A (ja) 光走査装置及び画像形成装置
JP6241567B2 (ja) 光走査装置、画像形成装置

Legal Events

Date Code Title Description
RD03 Notification of appointment of power of attorney

Free format text: JAPANESE INTERMEDIATE CODE: A7423

Effective date: 20160215

RD04 Notification of resignation of power of attorney

Free format text: JAPANESE INTERMEDIATE CODE: A7424

Effective date: 20160215

A621 Written request for application examination

Free format text: JAPANESE INTERMEDIATE CODE: A621

Effective date: 20170223

RD04 Notification of resignation of power of attorney

Free format text: JAPANESE INTERMEDIATE CODE: A7424

Effective date: 20171201

A977 Report on retrieval

Free format text: JAPANESE INTERMEDIATE CODE: A971007

Effective date: 20171211

A131 Notification of reasons for refusal

Free format text: JAPANESE INTERMEDIATE CODE: A131

Effective date: 20180109

A521 Written amendment

Free format text: JAPANESE INTERMEDIATE CODE: A523

Effective date: 20180312

TRDD Decision of grant or rejection written
A01 Written decision to grant a patent or to grant a registration (utility model)

Free format text: JAPANESE INTERMEDIATE CODE: A01

Effective date: 20180605

A61 First payment of annual fees (during grant procedure)

Free format text: JAPANESE INTERMEDIATE CODE: A61

Effective date: 20180703

R151 Written notification of patent or utility model registration

Ref document number: 6366299

Country of ref document: JP

Free format text: JAPANESE INTERMEDIATE CODE: R151