JP6128968B2 - 画像形成装置、及びその制御方法、プログラム - Google Patents

画像形成装置、及びその制御方法、プログラム Download PDF

Info

Publication number
JP6128968B2
JP6128968B2 JP2013116248A JP2013116248A JP6128968B2 JP 6128968 B2 JP6128968 B2 JP 6128968B2 JP 2013116248 A JP2013116248 A JP 2013116248A JP 2013116248 A JP2013116248 A JP 2013116248A JP 6128968 B2 JP6128968 B2 JP 6128968B2
Authority
JP
Japan
Prior art keywords
image
chart
image forming
image data
gradation
Prior art date
Legal status (The legal status is an assumption and is not a legal conclusion. Google has not performed a legal analysis and makes no representation as to the accuracy of the status listed.)
Active
Application number
JP2013116248A
Other languages
English (en)
Other versions
JP2014236343A5 (ja
JP2014236343A (ja
Inventor
剛 横溝
剛 横溝
Current Assignee (The listed assignees may be inaccurate. Google has not performed a legal analysis and makes no representation or warranty as to the accuracy of the list.)
Canon Inc
Original Assignee
Canon Inc
Priority date (The priority date is an assumption and is not a legal conclusion. Google has not performed a legal analysis and makes no representation as to the accuracy of the date listed.)
Filing date
Publication date
Application filed by Canon Inc filed Critical Canon Inc
Priority to JP2013116248A priority Critical patent/JP6128968B2/ja
Priority to US14/286,215 priority patent/US20140355015A1/en
Publication of JP2014236343A publication Critical patent/JP2014236343A/ja
Publication of JP2014236343A5 publication Critical patent/JP2014236343A5/ja
Application granted granted Critical
Publication of JP6128968B2 publication Critical patent/JP6128968B2/ja
Active legal-status Critical Current
Anticipated expiration legal-status Critical

Links

Images

Classifications

    • HELECTRICITY
    • H04ELECTRIC COMMUNICATION TECHNIQUE
    • H04NPICTORIAL COMMUNICATION, e.g. TELEVISION
    • H04N1/00Scanning, transmission or reproduction of documents or the like, e.g. facsimile transmission; Details thereof
    • H04N1/46Colour picture communication systems
    • H04N1/56Processing of colour picture signals
    • H04N1/60Colour correction or control
    • H04N1/603Colour correction or control controlled by characteristics of the picture signal generator or the picture reproducer
    • H04N1/6033Colour correction or control controlled by characteristics of the picture signal generator or the picture reproducer using test pattern analysis
    • H04N1/6036Colour correction or control controlled by characteristics of the picture signal generator or the picture reproducer using test pattern analysis involving periodic tests or tests during use of the machine

Landscapes

  • Engineering & Computer Science (AREA)
  • Multimedia (AREA)
  • Signal Processing (AREA)
  • Control Or Security For Electrophotography (AREA)
  • Accessory Devices And Overall Control Thereof (AREA)
  • Facsimiles In General (AREA)
  • Facsimile Image Signal Circuits (AREA)

Description

本発明は、画像データの階調を補正する機能を備えた画像形成装置、及びその制御方法、プログラムに関するものである。
従来の複写機は、スキャナで読み取った原稿の画像データにデジタル処理を施し、その画像データをプリンタ部に転送することで印刷を行うデジタル複写機が主流となっている。そのような構成の複写機で、スキャナで読み取った画像データの階調性と、プリンタ部で紙に印刷するときの階調性との整合が取れていないと、原稿を複写したときに、印刷した原稿の階調性が損なわれることになる。このように原稿を複写するときに印刷物の階調性を調整する機能として自動階調補正機能がある。
この自動階調補正機能を説明する。階調測定用チャートの画像データを作成し、その画像データに基づいて階調測定用チャートをプリンタ部で印刷する。その印刷した階調測定用チャートをスキャナで読み取ってその画像データを得る。こうしてチャートを読み取って得られた画像データと、元の階調測定用チャートの画像データとを比較することにより、プリンタ部で印刷する画像データの階調補正用の差分データを算出する。このような行程を数回繰り返すことにより、プリンタ部へ出力する画像データの階調補正用の変換テーブルを作成する。こうして作成した階調補正用の変換テーブルを使用することにより、スキャナで読み込んだ原稿の階調をプリンタ部で再現することができるようになる。
このような方法に加えて、印刷時に使用する用紙の違いを加味して画像データを補正する方法も提案されており、特許文献1も自動階調補正機能について記載している。
特開2001−119594号公報
前述の自動階調補正は、プリンタが画像データを印刷するときの状態が安定していることを前提にしている。しかしながらプリンタは、使用される環境により、最初の数枚の印刷物と、その後の数枚の印刷物との間で、若干の濃度変動が生じる場合がある。これはプリンタが印刷するときの定着温度が、プリンタの置かれた場所、印刷の時間等による温度変動により異なるためである。従って、自動階調補正をより正確に行うためには、この定着温度の違いによる濃度変動が生じない状態で行うことが望ましい。このため自動階調補正のための階調補正用のチャートを印刷する前に、複数の用紙に連続してプロセス安定用のチャートを印刷することにより、階調補正用のチャートの印刷時の定着温度を含む定着プロセスを安定させることが考えられる。
これらプロセス安定用のチャートや階調測定用のチャートの印刷中に、用紙がなくなった場合を考える。この場合には、用紙を補充した後に、もう一度最初からプロセス安定用のチャートの印刷、及び階調測定用チャートの印刷を行う必要があり、用紙がなくなる以前に行った、チャートの印刷が無駄になってしまう。また、用紙なしになると、用紙を補充した後に印刷処理を開始するまでに数十秒かかるため、自動階調補正の実行に時間がかかってしまうという問題がある。
本発明の目的は、上記従来技術の問題点を解決することにある。
本発明の特徴は、プロセス安定用の像形成や階調測定用の像形成中に用紙なしの事態が発生するのを防止する技術を提供することにある。
上記目的を達成するために本発明の一態様に係る画像形成装置は以下のような構成を備える。即ち、
画像形成装置であって、
画像データに基づいて用紙に画像を形成する像形成手段と、
前記像形成手段により、予め決められた枚数の用紙にプロセス安定用の像形成を行った後、階調測定用のチャートの画像データに基づいて用紙に像形成を行うように制御する制御手段と、
前記階調測定用のチャートの画像データに基づいて前記像形成手段により像形成された用紙を読み取って得られた画像データと前記階調測定用のチャートの画像データとの差分データに基づいて階調補正用の変換テーブルを作成する作成手段と、
前記階調測定用のチャートの画像データに基づいて前記像形成手段により像形成する前に、前記画像形成装置に備えられた格納部に格納される用紙の残量を判定する判定手段と、
前記判定手段が前記格納部に格納され、前記プロセス安定用の像形成および前記階調測定用のチャート画像データに基づいた像形成に用いられる用紙の残量が所定量以上でないと判定すると、前記階調測定用のチャートの画像データに基づく像形成の前に実行されるプロセス安定用の像形成を実行するか否かをユーザに確認するための表示を行う表示手段と、を有することを特徴とする。
本発明によれば、プロセス安定用の像形成や階調測定用の像形成中に、用紙がなくなることで無駄な用紙が発生したり無駄な時間がかかることを防止でき、自動階調補正に要するコストを低減することができる。
本発明の実施形態に係る画像形成装置の構造断面図。 実施形態に係る画像形成装置の機能構成を示すブロック図。 実施形態に係る画像形成装置の操作部の上面図。 ユーザが操作部のユーザ設定キーを押したときに表示部に表示される自動階調補正のための設定を行う画面例を示す図。 実施形態に係る画像形成装置の操作部の表示部に表示されるテストページの出力枚数の設定画面の一例を示す図。 本実施形態1に係る画像形成装置において、プロセス安定用チャートと階調測定用チャートを印刷し、その階調測定用チャートを基に階調補正用の変換テーブルを作成する処理を説明するフローチャート。 図6のS605で表示部304に表示する画面例を示す図。 本発明の実施形態2に係る画像形成装置によるプロセス安定用チャートと階調測定用チャートの印刷と、階調測定用のチャートを基に階調補正用の変換テーブルを作成する処理を説明するフローチャート。 本発明の実施形態3に係る画像形成装置によるプロセス安定用チャートと階調測定用チャートの印刷と、階調測定用のチャートを基に階調補正用の変換テーブルを作成する処理を説明するフローチャート。 本発明の実施形態4に係る画像形成装置によるプロセス安定用チャートと階調測定用チャートの印刷と、階調測定用のチャートを基に階調補正用の変換テーブルを作成する処理を説明するフローチャート。
以下、添付図面を参照して本発明の実施形態を詳しく説明する。尚、以下の実施形態は特許請求の範囲に係る本発明を限定するものでなく、また本実施形態で説明されている特徴の組み合わせの全てが本発明の解決手段に必須のものとは限らない。
図1は、本発明の実施形態に係る画像形成装置の構造断面図である。また図2は、実施形態に係る画像形成装置の機能構成を示すブロック図である。
本実施形態において制御の中心となるのはCPU201である。CPU201はROM202に格納されている制御プログラム、或いはROM202に記憶されている初期プログラムによってHDD220からHDドライブ219、I/O制御部215を介してDRAM204にロードされた制御プログラムに従って動作する。
以下、図1と図2を参照して、実施形態に係る画像形成装置による画像の読み取り動作と印刷動作を説明する。
原稿の読み取り時には、コンタクトガラス102上におかれた原稿はランプ103により照射され、光学ユニット104の移動により走査される。この原稿からの反射光は、ミラー105,106,107及びレンズ108によってCCDイメージセンサ(以下CCD)109へ導かれる。これにより原稿の画像は、CCD109によって読み取られて電気信号に変換される。
この処理は、図2に示すスキャナのCPU212が原稿検知センサ211で原稿の存在を検知すると、CCDセンサ部210(図1のCCD109に相当)を制御して原稿を読み取ることと等価である。CCDセンサ部210で読み取られた原稿の画像データは、CPU212の制御により画像処理部209でRGB信号に変換される。そしてCPU201の制御により、スキャナI/F208、バスコントローラ207を介してDRAM204に一時格納された後、I/O制御部215、HDドライブ219を介してHDD220に保存される。
シリアル通信コントローラ216は、操作部I/F218及び表示制御部217を介して、操作部221とI/O制御215とを接続している。またシリアル通信コントローラ216は、I/O制御部215とプリンタ部214、スキャナのCPU212とを接続している。
HDD220に保存された画像データを印刷する場合、HDD220に保存された画像データは、CPU201の制御によりHDD220から読み出されてDRAM204に一時保存される。その後、画像処理部203によりRGB→CMYK変換などの色空間変換などが行われる。その後、その処理された画像データは、プリンタI/F213を介して像形成手段であるプリンタ部214へ転送される。
プリンタ部214へ転送された画像データは、レーザユニット110で画像データからレーザ光へ変換され、レーザユニット110から発射されるレーザ光により感光体ドラム111上で画像として結像される。結像された画像は、感光体ドラム111に結像された画像の静電容量によりトナーを吸着させる現像ユニット112によりトナー像に現像される。そして、そのトナー像は給紙カセット段(給紙段)113或いはカセット段114から給紙される用紙に転写部115で転写される。こうしてトナー像が転写された用紙は定着器116に送られて、そのトナー像が用紙に定着された後、その用紙は搬送ローラ118の回転により機外に排紙される。フラッパ119は、用紙への両面刷時に、表面が印刷された用紙を両面搬送路117に送るために、用紙の搬送方向を切り替えるのに使用される。120は用紙センサで、給紙カセット段(給紙段)113、カセット段114における用紙の有無を検知する。
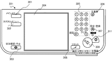
図3は、実施形態に係る画像形成装置の操作部221の上面図である。
301はメインメニューキー、302はカスタムメニューキー、303は状況確認/中止キーである。表示部304は、表示機能に加えてタッチパネル機能を備えている。テンキー305は、コピーの部数やファクシミリ番号などの各種数値を入力するのに使用される。電源キー306は、この画像形成装置の電源のオン/オフに使用される。スタートキー309は、コピーやファクシミリ送信の開始などを指示するのに使用される。ストップキー311は、実行中の動作を停止させるために使用される。308はリセットキーである。ユーザ設定キー307は、ユーザが各種設定を行って登録する際に使用される。
図4は、ユーザが操作部221のユーザ設定キー307を押したときに表示部304に表示される自動階調補正のための設定を行う画面例を示す図である。
「フル補正」ボタン401を選択してOKボタン406を押すことにより、自動階調補正が指示される。尚、「クイック補正」ボタン402は簡易的な階調補正を指示するボタンであり、この場合は、階調測定用チャートの印刷枚数が少ない。「方式の選択」ボタン403は、階調測定用チャートの読み込み処理をスキャナにあるCCDセンサ部210で行うか、プリンタ部214にある分光センサ(不図示)で行うかを選択する。「テストページの出力枚数」ボタン404を押すと、図5のテストページの出力枚数の設定画面が表示される。キャンセルボタン405は、この画面での設定をキャンセルするためのボタンである。
図5は、実施形態に係る画像形成装置の操作部221の表示部304に表示されるテストチャートの出力枚数の設定画面の一例を示す図である。
ここでは印刷枚数設定欄501で、チャートの出力(印刷)枚数を1〜5枚まで設定できる。この印刷枚数は、プロセス安定用チャートと階調測定用チャートを含めた枚数でも良く、或いはプロセス安定用チャートの枚数のみとしてもよい。この印刷枚数は、テンキー305を使用して入力しても良く、或いは、ボタン502により数値をインクリメント、或いはデクリメントして設定しても良い。印刷枚数を入力した後、OKボタン504を押すことにより、その入力した枚数が確定されて、図4の自動階調補正画面に戻る。またキャンセルボタン503が押下されると、この印刷枚数の設定画面を終了して、図4の自動階調補正画面に戻る。
こうして、テストチャートの印刷枚数が決定されると、CPU201は、シリアル通信コントローラ216、I/O制御部215を介して、この枚数を取得してDRAM204に保存する。尚、この枚数を保存する場所はDRAM204に限らず、不揮発性メモリやHDD220でもよい。
<実施形態1>
次に図6のフローチャートを参照して、本発明の実施形態1を説明する。
図6は、本実施形態1に係る画像形成装置において、プロセス安定用チャートと階調測定用チャートを印刷し、その階調測定用チャートを基に階調補正用の変換テーブルを作成する処理を説明するフローチャートである。尚、このフローチャートで示す処理は、ROM202に記憶された、或いはDRAM204に展開されたプログラムをCPU201が実行することにより達成される。尚、このプロセス安定用チャートの印刷は、画像形成装置のプリンタ部214における定着プロセス等の像形成プロセスを安定化させるために行われるもので、階調測定用チャートを印刷する前に実行される。
この処理は例えば、画像形成装置の電源がオンされることにより開始され、先ずS601でCPU201は、操作部221を介してユーザの操作を待つ。S602でCPU201は、ユーザが操作部221のユーザ設定キー307を押して、表示部304に表示される画面(図4)で「フル補正」ボタン401により自動階調補正の実行を指示したかどうかを判定する。自動階調補正の実行が指示されるとS603に進み、CPU201は、図5の画面で設定されてDRAM204に保存されているプロセス安定用のチャートの印刷枚数を取得する。そして印刷枚数が「0」でない、即ち、プロセス安定用チャートの印刷が指示されているかどうかを判定する。プロセス安定用のチャートの印刷が指示されていればS604に進むが、そうでないときはS609に進む。S604でCPU201は、そのチャート印刷する用紙の残量が所定量以上かどうかを判定する。この用紙残量の検知手段の実現例としては次のようなものがある。
給紙カセット段113,114で用紙を送るために給紙段を傾ける場合、その傾けるためのギアの回転数をプリンタ部214のCPU(不図示)でカウントし、その値をプリンタI/F213経由で取得する。ここで、取得したギアの回転数が所定数以下であれば、用紙の残量が所定量以上であると判定する。また、用紙残量の他の検知手段の実現例として次のようなものもある。例えば、給紙段を傾ける前に、給紙段に収納された用紙の高さを不図示の高さ検知センサによって検知し、検知された高さが所定の高さ以上であるか否かによって、用紙の残量が所定量以上であるか否かを判定してもよい。S604で用紙残量が所定量以上でないと判定した場合は、プロセス安定用のチャートと階調測定用のチャートの全てを印刷できない可能性があるためS605に進む。S605でCPU201は、プロセス安定用のチャートを印刷するかを確認する旨を表示部304に表示する。またS604で用紙残量が所定量以上であると判定するとS607に進む。
図7は、図6のS605で表示部304に表示する画面例を示す図である。
図7では、701に、用紙の残量が少ないために、自動階調補正の途中、即ち、階調測定用のチャートの印刷の途中で用紙がなくなるおそれがあることを表示する。これに対してユーザは、ボタン702,703で、プロセス安定用のチャートの印刷を実行するかどうかを指定できる。この時点でユーザは、給紙カセット段に必要な枚数の用紙を補給して、プロセス安定用のチャートの印刷の実行を指示するボタン702を押しても良い。また或いはボタン703を押して、プロセス安定用のチャートの印刷をやめるように指示しても良い。
次にS606に進みCPU201は、ユーザがボタン702を押してプロセス安定用のチャートの印刷を実行すると指示したかどうかを判定し、その場合はS607に進む。一方、ユーザがボタン703を押してプロセス安定用のチャートの印刷を実行しないと指示した場合はS609に進む。S607でCPU201は、DRM204の領域にプロセス安定用のチャートの画像データを作成する。そしてS608に進みCPU201は、DRAM204に作成したプロセス安定用のチャートの画像データを画像処理部203、バスコントローラ207、プリンタI/F213経由でプリンタ部214に転送する。そしてプリンタ部214により、プロセス安定用のチャートを、指定された枚数分印刷する。
次にS609に進みCPU201は、DRAM204の領域に階調測定用のチャートの画像データを作成する。そしてS610に進み、CPU201は、DRAM204に作成した階調測定用のチャートの画像データを、S608と同様の経路でプリンタ部214に転送して印刷する。
こうして階調測定用のチャートの印刷が終了するとS611に進み、CPU201は、印刷した階調測定用のチャートの読み込み指示が操作部221から入力されるのを待つ。ここでは、ユーザは、印刷した階調測定用のチャートをコンタクトガラス102上に置いて、操作部221のスタートキー309を押下する。これによりS612からS613に進み、CPU201は、コンタクトガラス102上に載置された階調測定用のチャートの読み込みを開始する。ここではスキャナのCPU212はランプ103を点灯し、コンタクトガラス102上の階調測定用のチャートを光学ユニット104の移動により走査し、CCD109でそのチャートの画像を読み取る。こうして読み取った階調測定用のチャートの画像データを、CPU201は、画像処理部209、スキャナI/F208、バスコントローラ207を経由してDRAM204に転送して記憶する。そしてS614に進み、CPU201は、S613でDRAM204に記憶した階調測定用のチャートの画像データと、S609でDRAM204に作成した階調測定用のチャートの画像データとを比較して階調差分データを求め、DRAM204に保存する。そしてS615に進み、CPU201は、上述した階調差分データを求める処理が所定回数実行されたかどうかを判定し、所定回数実行されていないと判定したときはS609に進むが、所定回数実行したと判定した場合はS616に進む。S616でCPU201は、DRAM204に保存されている複数の階調差分データから、階調補正用の変換テーブルを作成する。こうして作成された階調補正用の変換テーブルは、CPU201によりDRAM204に保存され、印刷時にCPU201により画像処理部203へ転送することで印刷時に、印刷データの階調補正を行うときに使用される。
以上説明したように本実施形態1によれば、テストチャートの印刷に使用する用紙の枚数が少なくて、テストチャートの印刷中に用紙切れになるおそれがあるときは、テストチャートの印刷前に、印刷を実行するかどうかをユーザに確認できる。
これにより、テストチャートの印刷中に用紙がなくなることにより、印刷処理の中断が発生して、それまでに行ったチャートの印刷が無駄になってしまうといった事態が発生するのを防止できる。
<実施形態2>
次に本発明の実施形態2を説明する。この実施形態2では、ユーザが自動階調補正を速く終了させたい場合に、プロセス安定用のチャートの印刷をスキップして階調測定用のチャートを印刷できるようにしている。尚、実施形態2に係る画像形成装置のハードウェア構成等は、前述の実施形態1の場合と同じであるため、その説明を省略する。
図8は、本発明の実施形態2に係る画像形成装置によるプロセス安定用チャートと階調測定用チャートの印刷と、階調測定用のチャートを基に階調補正用の変換テーブルを作成する処理を説明するフローチャートである。尚、このフローチャートで示す処理は、ROM202に記憶された、或いはDRAM204に展開されたプログラムをCPU201が実行することにより達成される。
図8において、S801〜S804,S806〜S815の処理は、前述の図6のS601〜S604,S607〜S616の処理と同じであるため、その説明を省略する。
S804でCPU201が、用紙残量が所定量以上と判定するとS806に進み、CPU201は、プロセス安定用のチャートを印刷する。一方、S804でCPU201が、用紙残量が所定量以上でないと判定するとS805に進み、CPU201は、予めユーザに選択させてDRAM204に保存しておいた「自動階調補正時に速度を優先するかどうか」のフラグを取得する。ここでCPU201が、速度優先が設定されていると判定するとS808に進み、プロセス安定用のチャートの印刷処理をスキップして階調測定用のチャートのみを印刷する。一方、S805で速度優先が設定されていないと判定するとS806に進み、CPU201は、プロセス安定用のチャートを印刷する。
実施形態2によれば、ユーザが自動階調補正を速く終了させたい場合と、そうではなく画質を優先させたい場合とを予め選択可能となり、ユーザの希望に応じて自動階調補正を実行できるという効果がある。
<実施形態3>
次に本発明の実施形態3を説明する。この実施形態3では、用紙の残量枚数を正確に検知できる場合に、その用紙の残量枚数に応じて、チャートの印刷処理を切り替える場合を説明する。尚、実施形態3に係る画像形成装置のハードウェア構成等は、前述の実施形態1の場合と同じであるため、その説明を省略する。
図9は、本発明の実施形態3に係る画像形成装置によるプロセス安定用チャートと階調測定用チャートの印刷と、階調測定用のチャートを基に階調補正用の変換テーブルを作成する処理を説明するフローチャートである。尚、このフローチャートで示す処理は、ROM202に記憶された、或いはDRAM204に展開されたプログラムをCPU201が実行することにより達成される。
図9において、S901〜S903,S909〜S918の処理は、前述の図6のS601〜S603,S607〜S616の処理と同じであるため、その説明を省略する。
この実施形態3では、CPU201は、ユーザが用紙を最大積載可能な枚数を給紙カセット段に給紙した後、用紙に印刷を行う度に枚数をカウントしていき、そのカウント値をDRAM204に保存しておく。そして、最大積載可能枚数から、そのカウント値を減算することにより、現時点での用紙の残量枚数を検知している。
S903でCPU201は、プロセス安定用のチャートを印刷すると判定するとS904に進み、CPU201は、給紙カセット段の用紙の残量枚数が自動階調補正をするのに必要な全てのチャート分があるかどうかを判定する。ここで全てのチャートを印刷できる枚数(プロセス安定用のチャートの印刷枚数と階調測定用のチャートの印刷枚数の合計)以上が給紙カセット段にあると判定するとS909に進み、プロセス安定用のチャートのデータを作成して印刷する。
一方、S904でCPU201が、用紙の残量枚数が全てのチャートの印刷枚数よりも少ないと判定するとS905に進み、CPU201は、残量枚数が階調測定用のチャートを印刷する枚数以上かどうかを判定する。S905でCPU201が、残量枚数が階調測定用のチャートを印刷する枚数以上であると判定するとS906に進み、残量枚数が階調測定用のチャートを印刷する枚数以上でないと判定するとS907に進む。S906でCPU201は、前述の図8のS05と同様にして速度優先が設定されているかどうかを判定し、速度優先が設定されていればS911に進んで、階調測定用のチャートの印刷処理に進む。一方、S906で速度優先が設定されていなければS907に進み、CPU201は、用紙なしの警告画面を表示部304に表示して、ユーザに用紙の補充を促す。そしてS908でCPU201は、ユーザにより給紙カセット段の用紙が補充されたことを検知するとS909に進み、プロセス安定用のチャートのデータを作成して印刷する。
以上説明したように実施形態3によれば、用紙の残量が不足している場合でも、できるかぎりプロセス安定用チャートを印刷できるようにする。また階調測定用のチャートを印刷できるだけの枚数の残量があり、速度優先が設定されている場合に限り、階調測定用チャートだけを印刷するようにして、ユーザの希望により、自動階調補正を速く終了させることができる。
<実施形態4>
次に本発明の実施形態4を説明する。この実施形態4では、速度優先で、給紙カセット段から給紙した用紙が最後の用紙の場合に、既に階調補正用のチャートの印刷と読み込みが所定回数実行されていればプロセス安定用のチャートの印刷をスキップする。これにより、速度優先時に、用紙なしで自動階調補正が中断されるのをできる限り防止する例を説明する。尚、実施形態4に係る画像形成装置のハードウェア構成等は、前述の実施形態1の場合と同じであるため、その説明を省略する。
図10は、本発明の実施形態4に係る画像形成装置によるプロセス安定用チャートと階調測定用チャートの印刷と、階調測定用のチャートを基に階調補正用の変換テーブルを作成する処理を説明するフローチャートである。尚、このフローチャートで示す処理は、ROM202に記憶された、或いはDRAM204に展開されたプログラムをCPU201が実行することにより達成される。
図10において、S1001〜S1003,S1009〜S1018の処理は、前述の図6のS601〜S603,S607〜S616の処理と同じであるため、その説明を省略する。
S1003でCPU201は、プロセス安定用のチャートを印刷すると判定するとS1004に進み、CPU201は、前述の図8のS05と同様にして速度優先が設定されているかどうかを判定する。速度優先が設定されている場合はS1005に進み、CPU201は、給紙した用紙が、給紙カセット段の最後の用紙であったかどうかを、用紙なし検知センサ120(図1)の検知信号に基づいて判定する。即ち、カセット段から1枚の用紙を給紙したことにより、そのカセット給紙段が用紙なしになったかどうかを判定する。S1005で最後の用紙でないと判定するとS1009に進んで、プロセス安定用のチャートの印刷処理に進むが、最後の用紙と判定するとS1006に進む。S1006でCPU201は、階調補正用のチャートの印刷及び読み込みが所定回数実行されているかどうかを判定する。ここで所定回数実行されており最後の自動階調補正であると判定するとS1011に進み、CPU201は、プロセス安定用のチャートの印刷をスキップして階調測定用のチャートを印刷する。一方、S1006で最後の自動階調補正でないと判定するとS1007に進み、CPU201は図9のS907,S908と同様にして、用紙が足りないため表示部304に用紙なしの警告画面を表示する。そしてS1008で、給紙カセット段に用紙が補充されるのを待ち用紙が補充されると、即ち、その給紙カセット段での用紙なしが解消されるとS1009に進み、プロセス安定用のチャートの印刷処理に進む。
この実施形態によれば、速度優先時に、用紙なしで自動階調補正が中断するのを、できる限り防ぐことができる。
(その他の実施形態)
また、本発明は、以下の処理を実行することによっても実現される。即ち、上述した実施形態の機能を実現するソフトウェア(プログラム)を、ネットワーク又は各種記憶媒体を介してシステム或いは装置に供給し、そのシステム或いは装置のコンピュータ(又はCPUやMPU等)がプログラムを読み出して実行する処理である。

Claims (9)

  1. 画像形成装置であって、
    画像データに基づいて用紙に画像を形成する像形成手段と、
    前記像形成手段により、予め決められた枚数の用紙にプロセス安定用の像形成を行った後、階調測定用のチャートの画像データに基づいて用紙に像形成を行うように制御する制御手段と、
    前記階調測定用のチャートの画像データに基づいて前記像形成手段により像形成された用紙を読み取って得られた画像データと前記階調測定用のチャートの画像データとの差分データに基づいて階調補正用の変換テーブルを作成する作成手段と、
    前記階調測定用のチャートの画像データに基づいて前記像形成手段により像形成する前に、前記画像形成装置に備えられた格納部に格納される用紙の残量を判定する判定手段と、
    前記判定手段が前記格納部に格納され、前記プロセス安定用の像形成および前記階調測定用のチャート画像データに基づいた像形成に用いられる用紙の残量が所定量以上でないと判定すると、前記階調測定用のチャートの画像データに基づく像形成の前に実行されるプロセス安定用の像形成を実行するか否かをユーザに確認するための表示を行う表示手段と、
    を有することを特徴とする画像形成装置。
  2. 前記表示手段による表示を介して前記プロセス安定用の像形成を実行しないと指示されると、前記制御手段により、前記プロセス安定用の像形成をスキップして前記階調測定用のチャートの画像データに基づいて前記像形成手段により像形成を行うように制御することを特徴とする請求項1に記載の画像形成装置。
  3. 前記所定量は、少なくとも前記階調測定用のチャートの画像データに基づいて前記像形成手段により像形成される用紙の量と前記プロセス安定用の像形成で使用される用紙の量との合計に相当する量であることを特徴とする請求項1又は2に記載の画像形成装置。
  4. 画像形成装置であって、
    画像データに基づいて用紙に画像を形成する像形成手段と、
    前記像形成手段により、予め決められた枚数の用紙にプロセス安定用の像形成を行った後、階調測定用のチャートの画像データに基づいて用紙に像形成を行うように制御する制御手段と、
    前記階調測定用のチャートの画像データに基づいて前記像形成手段により像形成された用紙を読み取って得られた画像データと前記階調測定用のチャートの画像データとの差分データに基づいて階調補正用の変換テーブルを作成する作成手段と、
    前記階調補正用の変換テーブルを作成するための処理の速度を優先させるように設定されているかどうかを判定する判定手段と、を有し、
    前記判定手段が前記処理の速度を優先させるように設定されていると判定すると、前記制御手段は、前記階調測定用のチャートの画像データに基づく像形成の前に実行されるプロセス安定用の像形成をスキップすることを特徴とする画像形成装置。
  5. 前記判定手段は、前記階調測定用のチャートの画像データに基づいて前記像形成手段により像形成する前に、前記像形成手段が使用する用紙の残量が所定量以上でない場合に、前記処理の速度を優先させるように設定されているかどうかを判定することを特徴とする請求項4に記載の画像形成装置。
  6. 前記作成手段は、前記差分データを求める処理を複数の階調測定用のチャートの画像データに対して実行し、得られた複数の差分データに基づいて前記階調補正用の変換テーブルを作成することを特徴とする請求項1乃至5のいずれか1項に記載の画像形成装置。
  7. 前記プロセス安定用の像形成は、前記像形成手段の定着プロセスを安定化させるために実行されることを特徴とする請求項1乃至6のいずれか1項に記載の画像形成装置。
  8. 画像形成装置を制御する制御方法であって、
    画像データに基づいて用紙に画像を形成する像形成工程と、
    前記像形成工程で、予め決められた枚数の用紙にプロセス安定用の像形成を行った後、階調測定用のチャートの画像データに基づいて用紙に像形成を行うように制御する制御工程と、
    前記階調測定用のチャートの画像データに基づいて前記像形成工程で像形成された用紙を読み取って得られた画像データと前記階調測定用のチャートの画像データとの差分データに基づいて階調補正用の変換テーブルを作成する作成工程と、
    前記階調測定用のチャートの画像データに基づいて前記像形成工程で像形成する前に、前記画像形成装置に備えられた格納部に格納される用紙の残量を判定する判定工程と、
    前記判定工程で前記格納部に格納され、前記プロセス安定用の像形成および前記階調測定用のチャートの画像データに基づいた像形成に用いられる用紙の残量が所定量以上でないと判定されると、前記階調測定用のチャートの画像データに基づく像形成の前に実行されるプロセス安定用の像形成を実行するか否かをユーザに確認するための表示を行う表示工程と、
    を有することを特徴とする画像形成装置の制御方法。
  9. コンピュータを、請求項1乃至7のいずれか1項に記載の画像形成装置の各手段として機能させるためのプログラム。
JP2013116248A 2013-05-31 2013-05-31 画像形成装置、及びその制御方法、プログラム Active JP6128968B2 (ja)

Priority Applications (2)

Application Number Priority Date Filing Date Title
JP2013116248A JP6128968B2 (ja) 2013-05-31 2013-05-31 画像形成装置、及びその制御方法、プログラム
US14/286,215 US20140355015A1 (en) 2013-05-31 2014-05-23 Image forming apparatus, method of controlling the same and storage medium

Applications Claiming Priority (1)

Application Number Priority Date Filing Date Title
JP2013116248A JP6128968B2 (ja) 2013-05-31 2013-05-31 画像形成装置、及びその制御方法、プログラム

Publications (3)

Publication Number Publication Date
JP2014236343A JP2014236343A (ja) 2014-12-15
JP2014236343A5 JP2014236343A5 (ja) 2016-06-30
JP6128968B2 true JP6128968B2 (ja) 2017-05-17

Family

ID=51984761

Family Applications (1)

Application Number Title Priority Date Filing Date
JP2013116248A Active JP6128968B2 (ja) 2013-05-31 2013-05-31 画像形成装置、及びその制御方法、プログラム

Country Status (2)

Country Link
US (1) US20140355015A1 (ja)
JP (1) JP6128968B2 (ja)

Families Citing this family (4)

* Cited by examiner, † Cited by third party
Publication number Priority date Publication date Assignee Title
JP6786253B2 (ja) 2016-04-15 2020-11-18 キヤノン株式会社 撮像システム、情報処理装置、撮像システムの制御方法、情報処理装置の制御方法、及びプログラム
JP7554597B2 (ja) * 2020-08-11 2024-09-20 キヤノン株式会社 画像形成装置及びその制御方法、並びにプログラム
JP2022184517A (ja) 2021-06-01 2022-12-13 キヤノン株式会社 情報処理装置、情報処理方法、プログラム、記憶媒体、および撮像システム
JP7735350B2 (ja) * 2023-06-21 2025-09-08 キヤノン株式会社 画像診断システム、画像診断方法

Family Cites Families (5)

* Cited by examiner, † Cited by third party
Publication number Priority date Publication date Assignee Title
JP3689666B2 (ja) * 2001-01-18 2005-08-31 キヤノン株式会社 印刷制御装置及び方法、熱転写記録媒体
JP2003122066A (ja) * 2001-10-16 2003-04-25 Fuji Xerox Co Ltd 印刷装置
JP4898488B2 (ja) * 2006-03-29 2012-03-14 キヤノン株式会社 印刷システム、印刷装置、及びこれらの制御方法、プログラム、記憶媒体
JP5574625B2 (ja) * 2009-05-28 2014-08-20 キヤノン株式会社 情報処理装置、外装置の制御方法、制御プログラム
JP2012103521A (ja) * 2010-11-11 2012-05-31 Konica Minolta Business Technologies Inc 画像形成装置及び画像形成装置の階調補正方法

Also Published As

Publication number Publication date
US20140355015A1 (en) 2014-12-04
JP2014236343A (ja) 2014-12-15

Similar Documents

Publication Publication Date Title
US7280782B2 (en) Image forming apparatus with a document identical size mode and outputting a document image having a size conforming to the document
JP6128968B2 (ja) 画像形成装置、及びその制御方法、プログラム
JP2010271546A (ja) 画像形成装置及びその制御方法、及びプログラム
JP2013042393A (ja) 画像形成装置、画像形成装置の制御方法、及びプログラム
US9076088B2 (en) Image forming apparatus, control method of image forming apparatus, and storage medium
US9311580B2 (en) Printing apparatus, method for controlling a printing apparatus, and storage medium for performing reading at a reading position, generating image data and printing an image based on the image data
EP2607959B1 (en) Image forming apparatus and method for performing gradation correction in an image forming apparatus and program
JP6587463B2 (ja) 原稿読取装置、原稿読取装置の制御方法及びプログラム
JP2008172666A (ja) 画像形成装置および画像形成プログラム
JP2005225039A (ja) 画像形成方法、画像形成装置
JP6233284B2 (ja) 印刷システム
JP2023095501A (ja) 画像形成装置
JP2011013612A (ja) 印刷装置、印刷システム、及びプレビュー画像表示方法
JP6165066B2 (ja) 画像形成装置及び画像形成方法
JP7567369B2 (ja) 画像処理装置、画像処理方法、およびプログラム
JP2010193171A (ja) 画像読取装置
JP2006237677A (ja) 画像形成装置
JP4708040B2 (ja) 画像形成装置
JP6844522B2 (ja) 画像処理装置
JP2018087836A (ja) 画像形成装置
JP6117131B2 (ja) 画像形成装置
JP2018089830A (ja) 画像形成装置
JP2018013617A (ja) 画像形成方法及び画像形成装置
JP4643286B2 (ja) 画像形成装置
JP2012129874A (ja) 画像制御装置、画像形成装置、画像形成システムおよび処理プログラム

Legal Events

Date Code Title Description
A521 Request for written amendment filed

Free format text: JAPANESE INTERMEDIATE CODE: A523

Effective date: 20160512

A621 Written request for application examination

Free format text: JAPANESE INTERMEDIATE CODE: A621

Effective date: 20160512

A977 Report on retrieval

Free format text: JAPANESE INTERMEDIATE CODE: A971007

Effective date: 20170120

A131 Notification of reasons for refusal

Free format text: JAPANESE INTERMEDIATE CODE: A131

Effective date: 20170203

A521 Request for written amendment filed

Free format text: JAPANESE INTERMEDIATE CODE: A523

Effective date: 20170303

TRDD Decision of grant or rejection written
A01 Written decision to grant a patent or to grant a registration (utility model)

Free format text: JAPANESE INTERMEDIATE CODE: A01

Effective date: 20170313

A61 First payment of annual fees (during grant procedure)

Free format text: JAPANESE INTERMEDIATE CODE: A61

Effective date: 20170411

R151 Written notification of patent or utility model registration

Ref document number: 6128968

Country of ref document: JP

Free format text: JAPANESE INTERMEDIATE CODE: R151