JP6077646B2 - 医療用長尺体 - Google Patents

医療用長尺体 Download PDF

Info

Publication number
JP6077646B2
JP6077646B2 JP2015513455A JP2015513455A JP6077646B2 JP 6077646 B2 JP6077646 B2 JP 6077646B2 JP 2015513455 A JP2015513455 A JP 2015513455A JP 2015513455 A JP2015513455 A JP 2015513455A JP 6077646 B2 JP6077646 B2 JP 6077646B2
Authority
JP
Japan
Prior art keywords
slit
inclination angle
spiral
tubular body
axial direction
Prior art date
Legal status (The legal status is an assumption and is not a legal conclusion. Google has not performed a legal analysis and makes no representation as to the accuracy of the status listed.)
Active
Application number
JP2015513455A
Other languages
English (en)
Other versions
JPWO2014174661A1 (ja
Inventor
小林 淳一
淳一 小林
Current Assignee (The listed assignees may be inaccurate. Google has not performed a legal analysis and makes no representation or warranty as to the accuracy of the list.)
Terumo Corp
Original Assignee
Terumo Corp
Priority date (The priority date is an assumption and is not a legal conclusion. Google has not performed a legal analysis and makes no representation as to the accuracy of the date listed.)
Filing date
Publication date
Application filed by Terumo Corp filed Critical Terumo Corp
Application granted granted Critical
Publication of JP6077646B2 publication Critical patent/JP6077646B2/ja
Publication of JPWO2014174661A1 publication Critical patent/JPWO2014174661A1/ja
Active legal-status Critical Current
Anticipated expiration legal-status Critical

Links

Images

Classifications

    • AHUMAN NECESSITIES
    • A61MEDICAL OR VETERINARY SCIENCE; HYGIENE
    • A61MDEVICES FOR INTRODUCING MEDIA INTO, OR ONTO, THE BODY; DEVICES FOR TRANSDUCING BODY MEDIA OR FOR TAKING MEDIA FROM THE BODY; DEVICES FOR PRODUCING OR ENDING SLEEP OR STUPOR
    • A61M25/00Catheters; Hollow probes
    • A61M25/0009Making of catheters or other medical or surgical tubes
    • A61M25/0013Weakening parts of a catheter tubing, e.g. by making cuts in the tube or reducing thickness of a layer at one point to adjust the flexibility
    • AHUMAN NECESSITIES
    • A61MEDICAL OR VETERINARY SCIENCE; HYGIENE
    • A61MDEVICES FOR INTRODUCING MEDIA INTO, OR ONTO, THE BODY; DEVICES FOR TRANSDUCING BODY MEDIA OR FOR TAKING MEDIA FROM THE BODY; DEVICES FOR PRODUCING OR ENDING SLEEP OR STUPOR
    • A61M25/00Catheters; Hollow probes
    • A61M25/0043Catheters; Hollow probes characterised by structural features
    • A61M25/005Catheters; Hollow probes characterised by structural features with embedded materials for reinforcement, e.g. wires, coils, braids
    • A61M25/0051Catheters; Hollow probes characterised by structural features with embedded materials for reinforcement, e.g. wires, coils, braids made from fenestrated or weakened tubing layer
    • AHUMAN NECESSITIES
    • A61MEDICAL OR VETERINARY SCIENCE; HYGIENE
    • A61MDEVICES FOR INTRODUCING MEDIA INTO, OR ONTO, THE BODY; DEVICES FOR TRANSDUCING BODY MEDIA OR FOR TAKING MEDIA FROM THE BODY; DEVICES FOR PRODUCING OR ENDING SLEEP OR STUPOR
    • A61M25/00Catheters; Hollow probes
    • A61M25/01Introducing, guiding, advancing, emplacing or holding catheters
    • A61M25/0105Steering means as part of the catheter or advancing means; Markers for positioning
    • A61M25/0133Tip steering devices
    • A61M25/0138Tip steering devices having flexible regions as a result of weakened outer material, e.g. slots, slits, cuts, joints or coils
    • AHUMAN NECESSITIES
    • A61MEDICAL OR VETERINARY SCIENCE; HYGIENE
    • A61BDIAGNOSIS; SURGERY; IDENTIFICATION
    • A61B1/00Instruments for performing medical examinations of the interior of cavities or tubes of the body by visual or photographical inspection, e.g. endoscopes; Illuminating arrangements therefor
    • A61B1/005Flexible endoscopes
    • AHUMAN NECESSITIES
    • A61MEDICAL OR VETERINARY SCIENCE; HYGIENE
    • A61MDEVICES FOR INTRODUCING MEDIA INTO, OR ONTO, THE BODY; DEVICES FOR TRANSDUCING BODY MEDIA OR FOR TAKING MEDIA FROM THE BODY; DEVICES FOR PRODUCING OR ENDING SLEEP OR STUPOR
    • A61M25/00Catheters; Hollow probes
    • A61M25/0043Catheters; Hollow probes characterised by structural features
    • A61M2025/0059Catheters; Hollow probes characterised by structural features having means for preventing the catheter, sheath or lumens from collapsing due to outer forces, e.g. compressing forces, or caused by twisting or kinking

Landscapes

  • Health & Medical Sciences (AREA)
  • Life Sciences & Earth Sciences (AREA)
  • Biophysics (AREA)
  • Pulmonology (AREA)
  • Engineering & Computer Science (AREA)
  • Anesthesiology (AREA)
  • Biomedical Technology (AREA)
  • Heart & Thoracic Surgery (AREA)
  • Hematology (AREA)
  • Animal Behavior & Ethology (AREA)
  • General Health & Medical Sciences (AREA)
  • Public Health (AREA)
  • Veterinary Medicine (AREA)
  • Media Introduction/Drainage Providing Device (AREA)

Description

本発明は、例えば血管等の生体管腔内に挿入される医療用長尺体に関するものである。
近年、例えばPTCA術(Percutaneous Transluminal Coronary Angioplasty:経皮的冠状動脈血管形成術)のような、外科的手術が困難な部位の治療、または人体への低侵襲を目的とした治療がカテーテルを用いて行なわれている。このような治療では、通常、ガイドワイヤを経皮的に血管等の生体管腔内へ挿通させ、ガイドワイヤを先行させつつガイドワイヤに沿ってカテーテルを押し込み、カテーテルの先端部を目的部位まで誘導した後、カテーテルを介して治療が行われる。したがって、カテーテルは、生体管腔内で管腔の形状に沿って柔軟に曲がる必要がある。このため、カテーテルの柔軟性を高めることを目的として、カテーテルのシャフトを構成する長尺な管状体に螺旋状のスリットを形成する方法が知られている(例えば、特許文献1を参照)。
特表2010−527258号公報
しかしながら、カテーテルのシャフトを構成する管状体に螺旋状のスリットを形成すると、構造の異方性によって回転方向によるトルク伝達性能が異なることになり、カテーテルの操作性が低下する。特に、カテーテルの基端部を一方向側へ回転操作すると、スリットの隙間が閉じる方向にトルクが作用するのに対し、その逆方向側へ回転操作すると、スリットの隙間が開く方向、すなわち螺旋が解かれる方向へトルクが作用する。スリットの隙間が閉じる方向へトルクが作用する場合には、スリットがその隙間の幅以上は閉じ得ないことからトルクを良好に伝達できるのに対し、スリットの隙間を開く方向へトルクが作用する場合には、スリットの隙間が必要以上に開いてしまい、トルクを良好に伝達できずに操作性が低下しやすい。
本発明は、上述した課題を解決するためになされたものであり、柔軟性を保持しつつ、回転方向によるトルク伝達性能の異方性を極力抑えて操作性を向上できる医療用長尺体を提供することを目的とする。
上記目的を達成する医療用長尺体の第1形態は、少なくとも一部に螺旋状のスリットが形成されて軸心方向へ延在する管状体を有する医療用長尺体であって、前記管状体は、前記軸心方向と直交する断面に対する前記スリットの螺旋の延在方向の角度である螺旋傾斜角度が異なる部位を備えるとともに、前記スリットを構成する対をなす対向面の一方側に、前記螺旋傾斜角度に対して前記スリットの角度が局所的に変化する段差部が形成され、前記対向面の他方側に、前記スリットの螺旋を解く方向へ前記管状体が捩れた際に前記段差部が当接する当接部が形成され、前記段差部の前記軸心方向への長さが、前記螺旋傾斜角度が相対的に大きい部位において小さい部位よりも長くなる医療用長尺体である。
また、上記目的を達成する医療用長尺体の第3形態は、少なくとも一部に螺旋状のスリットが形成されて軸心方向へ延在する管状体を有する医療用長尺体であって、前記管状体は、前記軸心方向と直交する断面に対する前記スリットの螺旋の延在方向の角度である螺旋傾斜角度が異なる部位を備えるとともに、前記スリットを構成する対をなす対向面の一方側に、前記螺旋傾斜角度に対して前記スリットの角度が局所的に変化する段差部が形成され、前記対向面の他方側に、前記スリットの螺旋を解く方向へ前記管状体が捩れた際に前記段差部が当接する当接部が形成され、前記段差部が、前記管状体の軸心方向と平行であり、前記段差部の前記軸心方向への長さが、前記螺旋傾斜角度が相対的に大きい部位において小さい部位よりも長くなる医療用長尺体である。
上記のように構成した医療用長尺体の第1形態は、スリットの螺旋傾斜角度が異なる部位を備えることで、柔軟性を軸心方向の位置によって任意に設定して操作性を向上できるとともに、スリットに、螺旋を解く方向へ捩れた際に当接する段差部および当接部が設けられるため、螺旋を解く方向へ捩れた際にスリットの隙間が開くことが抑制される。さらに、段差部の軸心方向への長さが、スリットの螺旋傾斜角度が相対的に大きい部位において小さい部位よりも長く形成されるため、スリットの螺旋傾斜角度が大きくなることで段差部による引っ掛かりが外れやすい部位ほど、段差部の長さが長くなって当接部から外れ難くなり、回転方向によるトルク伝達性能の異方性を極力抑えて操作性を向上できる。
前記段差部における前記スリットの角度の局所的な変化量が、90度を超えるようにすれば、スリットの螺旋を解く方向へ管状体が捩れる際に、段差部が当接部に引っ掛かりやすくなり、過度の捩れを抑制できる。
前記段差部の前記軸心方向に対する傾斜角度が、±5度以内であるようにすれば、段差部が軸心方向と略平行となり、管状体が湾曲する際に凸状に湾曲する側、すなわちスリットの幅が広がる側に設けられる段差部が、当接部に対して相対的に移動できるとともに元の位置に戻りやすくなる。このため、段差部が当接部に対して移動できずに管状体の曲げ剛性が局所的に大きくなることを抑制でき、良好な柔軟性を提供できる。
前記スリットは、前記スリットの隙間の幅が一定になるようにすれば、前記スリットを構成する対をなす対向面の一方から突出して形成される段差部と、前記対向面の他方に前記段差部と当接するように形成された当接部の形状がほぼ同一となる。このため、前記スリットの螺旋を解く方向へ前記管状体が捩れた際に、段差部が対向面の当接部に引っ掛かりやすくなり、過度の捩れをより確実に抑制できる。
螺旋を描くことで前記管状体の軸心方向に並んで隣接する各々の前記スリットに設けられる前記段差部は、前記管状体の周方向における位置が異なるようにすれば、隣接するスリットの段差部が管状体の軸心方向に重ならず、管状体の曲げ剛性が周方向位置に依存して偏り難くなり、良好な柔軟性を提供できる。
前記管状体が、前記螺旋傾斜角度が漸次的に変化する部位を有し、当該部位に設けられる複数の前記段差部の軸心方向への長さが、前記螺旋傾斜角度が相対的に小さい部位から大きい部位へ向かって漸次的に長くなるようにすれば、螺旋傾斜角度が大きく曲げ剛性が高い部位によって十分な押し込み性を確保できるとともに、螺旋傾斜角度が小さく柔軟な部位によって生体管腔の湾曲部位等をも容易に通過でき、高い到達性および操作性が得られる。さらに、スリットの螺旋傾斜角度が漸次的に変化することで、曲げ剛性が漸次的に減少しているため、管状体が急激に曲がる際にも応力が1カ所に集中することがなく、医療用長尺体におけるキンクの発生を低減させることが可能である。
前記管状体は、前記スリットを構成する対をなす対向面の一方から突出して形成される凸部と、前記対向面の他方に前記凸部が入り込むように形成される凹部と、を有し、前記段差部は、前記凸部または凹部の一部に形成されるようにすれば、凸部が凹部に入り込むことで、いずれの回転方向へも過度な捩れを抑制できる。
前記凸部が、先端側または基端側のうち、前記スリットの螺旋傾斜角度が大きくなる側へ突出して形成されるようにすれば、スリットの螺旋傾斜角度が変化する部位において、凸部が延在する方向に凸部を形成するための十分な長さを確保できる。
前記凸部が、突出方向へ向かって幅が減少するようにすれば、凸部が、凹部から離れることができるとともに凹部に対して元の位置へ戻ることができ、管状体の曲げ剛性が局所的に大きくなることを抑制して、良好な柔軟性を提供できる。
前記段差部における前記スリットの角度が局所的に変化する部位が、曲率を有して形成されるようにすれば、レーザー等によりスリットを形成する際に、レーザー等を管体に対して停止させずに常に移動させながら形成することができる。そのため、レーザー加工により発生した熱が管体の材料に不要に入り、管体の材料が変質や変形するのを抑制できる。また、曲率を有して形成されるため、鋭利なエッジがなくなり、安全性が向上する。
また、上記のように構成した医療用長尺体の第3形態は、第1形態及び第2形態と同様に、スリットの螺旋傾斜角度が異なる部位を備えることで、柔軟性を軸心方向の位置によって任意に設定して操作性を向上できるとともに、スリットに、螺旋を解く方向に捩れた際に当接する段差部および当接部が設けられるため、螺旋を解く方向へ捩れた際にスリットの隙間が開くことが抑制される。さらに、段差部が軸心方向と平行となるように形成されているため、段差部におけるスリットの局所的な変化量が90度を超えて、段差部が当接部に引っ掛かりやすくなり、過度の捩れを抑制できる。また同時に、管状体が湾曲する際に凸状に湾曲する側、すなわちスリットの幅が広がる側に設けられる段差部が、当接部に対して相対的に移動できるとともに元の位置に戻りやすくなり、段差部が当接部に対して移動できずに管状体の曲げ剛性が局所的に大きくなることを抑制できる。そのため、スリットに形成された段差部と当接部とが管状体の回転方向によるトルク伝達性能の異方性を抑えつつ、管状体の操作性も向上する。
前記段差部の軸心方向への長さが、スリットの螺旋傾斜角度が相対的に大きい部位において小さい部位よりも長く形成されるため、スリットの螺旋傾斜角度が大きくなることで段差部による引っ掛かりが外れやすい部位ほど、段差部の長さが長くなって当接部から外れ難くなり、回転方向によるトルク伝達性能の異方性を極力抑えて操作性を向上できる。
前記スリットは、前記スリットの隙間の幅が一定になるようにすれば、前記スリットを構成する対をなす対向面の一方から突出して形成される段差部と、前記対向面の他方に前記段差部と当接するように形成された当接部の形状がほぼ同一となる。このため、前記スリットの螺旋を解く方向へ前記管状体が捩れた際に、段差部が対向面の当接部に引っ掛かりやすくなり、過度の捩れをより確実に抑制できる。
螺旋を描くことで前記管状体の軸心方向に並んで隣接する各々の前記スリットに設けられる前記段差部は、前記管状体の周方向における位置が異なるようにすれば、隣接するスリットの段差部が管状体の軸心方向に重ならず、管状体の曲げ剛性が周方向位置に依存して偏り難くなり、良好な柔軟性を提供できる。
前記管状体が、前記螺旋傾斜角度が漸次的に変化する部位を有し、当該部位に設けられる複数の前記段差部の軸心方向への長さが、前記螺旋傾斜角度が相対的に小さい部位から大きい部位へ向かって漸次的に長くなるようにすれば、螺旋傾斜角度が大きく曲げ剛性が高い部位によって十分な押し込み性を確保できるとともに、螺旋傾斜角度が小さく柔軟な部位によって生体管腔の湾曲部位等をも容易に通過でき、高い到達性および操作性が得られる。さらに、スリットの螺旋傾斜角度が漸次的に変化することで、曲げ剛性が漸次的に減少しているため、管状体が急激に曲がる際にも応力が1カ所に集中することがなく、医療用長尺体におけるキンクの発生を低減させることが可能である。
前記管状体は、前記スリットを構成する対をなす対向面の一方から突出して形成される凸部と、前記対向面の他方に前記凸部が入り込むように形成される凹部と、を有し、前記段差部は、前記凸部または凹部の一部に形成されるようにすれば、凸部が凹部に入り込むことで、いずれの回転方向へも過度な捩れを抑制できる。
本発明の実施形態に係るバルーンカテーテルを示す平面図である。 基端シャフトを示す平面図である。 基端シャフトの一部を拡大した平面図である。 バルーンカテーテルにトルクが作用した際の基端シャフトの一部を拡大した平面図である。 バルーンカテーテルにトルクが作用した際の基端シャフトの変形例を示す平面図である。 基端シャフトの変形例を示す平面図である。 管状体をガイドワイヤに適用した際を示す平面図である。 基端シャフトの比較例を示す平面図である。
以下、図面を参照して、本発明の実施の形態を説明する。なお、図面の寸法比率は、説明の都合上、誇張されて実際の比率とは異なる場合がある。
本実施形態に係るバルーンカテーテル10(医療用長尺体)は、いわゆるラピッドエクスチェンジ型のカテーテルであり、図1に示すように、長尺なカテーテル本体部20と、カテーテル本体部20の先端部に設けられるバルーン30と、カテーテル本体部20の基端に固着されたハブ40と、カテーテル本体部20およびハブ40の接続部に設けられる耐キンクチューブ50とを有している。なお、本明細書では、管腔に挿入する側を「先端」若しくは「先端側」、操作する手元側を「基端」若しくは「基端側」と称することとする。
カテーテル本体部20は、先端側がハブ40に固着されるとともに軸心方向Xへ延在する管状の基端シャフト60(管状体)と、基端シャフト60の先端側を覆う管状の中間シャフト70と、中間シャフト70の先端側に設けられる管状の先端シャフト80と、先端シャフト80の内部に配置される管状の内管シャフト90とを備えている。基端シャフト60、中間シャフト70および先端シャフト80の内部には、バルーン30を拡張するための拡張用流体が流通する拡張用ルーメンが形成されている。
基端シャフト60は、図1〜3に示すように、螺旋状のスリット61が形成された先端側の柔軟部62と、スリット61が形成されていない基端側の高剛性部63とを備えている。柔軟部62は、最も先端側の第1柔軟部64と、第1柔軟部64の基端側に設けられる第2柔軟部65と、第2柔軟部65の基端側に設けられる第3柔軟部66とを備えている。基端シャフト60の先端側の柔軟部62を含む部位は、中間シャフト70内に配置されており、中間シャフト70に設けられたガイドワイヤ開口部71付近まで延在している。スリット61は、レーザー加工等の一般的に行われる技術を用いてスパイラルスリット加工することにより形成される。
第1柔軟部64は、所定のピッチでスリット61が形成されており、第2柔軟部65は、第1柔軟部64よりも広い所定のピッチでスリット61が形成されている。第3柔軟部66は、第2柔軟部65側から基端側へ向かってスリット61のピッチが徐々に広くなるように形成されている。なお、第1柔軟部64、第2柔軟部65および第3柔軟部66に形成されるスリット61は、連続する1つのスリット61として形成されている。ここでピッチとは、管状体に形成された隣接する2つのスリットの間隔をいう。
第1柔軟部64、第2柔軟部65および第3柔軟部66は、軸心方向Xと直交する断面に対するスリット61の螺旋の延在方向の角度である螺旋傾斜角度αが、それぞれ異なる。螺旋傾斜角度αは、通常、スリット61のピッチが狭いほど小さくなり、スリット61のピッチが広いほど大きくなる。
基端シャフト60の柔軟部62は、スリット61が形成されることで、曲げ剛性が低減されて曲がりやすい柔軟な構造となっている。第1柔軟部64は、最もスリット61のピッチが狭いため、第2柔軟部65および第3柔軟部66よりも曲げ剛性が低い。第2柔軟部65は、第1柔軟部64よりもスリット61のピッチが広く、第3柔軟部66よりもスリット61のピッチが狭いため、第1柔軟部64よりも曲げ剛性が高く、第3柔軟部66よりも曲げ剛性が低い。第3柔軟部66は、先端側へ向かってスリット61のピッチが漸次的に狭くなっているため、先端側ほど曲げ剛性が低い。このように、基端シャフト60は、基端側には十分な剛性が備えられるとともに、先端側ほど柔軟な構造となっているため、曲げ剛性が高い基端側の部位によってバルーンカテーテル10の十分な押し込み性を確保できるとともに、曲げ剛性が低く柔軟な先端側の部位によって、バルーンカテーテル10が生体管腔の湾曲部位をも容易に通過でき、高い到達性および操作性が得られる。また、スリット61のピッチが段階的に変化しており、かつ第3柔軟部66では、曲げ剛性が先端側へ向かって漸次的(傾斜的)に減少しているため、基端シャフト60が急激に曲がる際にも応力が1カ所に集中することがなく、カテーテル本体部20におけるキンクの発生を低減させることが可能である。
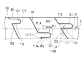
スリット61は、対向して配置される対をなす対向面100,110により構成されており、一方の対向面100には、突出して形成される凸部101が複数形成され、他方の対向面110には、凸部101が入り込む凹部111が複数形成されている。凸部101は、螺旋傾斜角度αに対してスリット61の角度が局所的に変化して段差状に形成される段差部102を備えている。段差部102は、図4に示すように、スリット61の螺旋を解く方向(図4の矢印側から操作をする場合、白抜き矢印を参照)へ基端シャフト60が捩れる際に、段差部102と対向して配置される当接部112と当接し、過度な捩れを抑制する役割を果たす。すなわち、段差部102は、凸部101に形成された螺旋傾斜角度αに対してスリット61の角度が局所的に変化して段差状に形成されている部分であり、かつ、スリット61を有する基端シャフト60(管状体)を螺旋を解く方向に捩じった際に凹部111と当接する部分である。また、図5のように図4と逆向きのスリット170を形成してもよい。その場合、スリット170の螺旋を解く方向は図4と逆方向になる。
そして、段差部102の軸心方向Xへの長さL1〜L3は、図2,3に示すように、スリット61のピッチが相対的に大きい部位において、小さい部位よりも長く形成される。したがって、第1柔軟部64よりもスリット61のピッチが広い第2柔軟部65に設けられる段差部102の長さL2は、第1柔軟部64に形成される段差部102の長さL1よりも長い。また、第2柔軟部65よりもスリット61のピッチが広い第3柔軟部66に設けられる段差部102の長さL3は、第2柔軟部65に形成される段差部102の長さL2よりも長い。そして、ピッチが基端方向へ向かって徐々に広くなる第3柔軟部66に設けられる段差部102の長さL3は、基端側の段差部102ほど長くなっている。すなわち、ピッチが広く螺旋傾斜角度αが大きくなる部位に設けられる段差部102ほど、段差部102の長さL1〜L3が長くなっている。ピッチが広く螺旋傾斜角度αが大きい部位ほど、図8に示す比較例ように、凸部160が凹部161から完全に離脱して元の位置に戻り難くなるのに対し、本実施形態では、螺旋傾斜角度αが大きくなる部位に設けられる段差部102ほど、段差部102の長さL1〜L3を長くすることで、螺旋傾斜角度αの程度に応じて、凸部101を凹部111から離脱し難くすることができる。ここで、段差部102の軸心方向Xへの長さは、凸部101と接する軸心方向Xと直交する直線と、螺旋傾斜角度αを有するスリット61の対向面100上でスリット角度が局所的に変化する部位を通る軸心方向Xと直交する直線との間の距離をいう。
また、凸部101は、突出方向の先端部において、突出方向へ向かって幅が減少している。このため、凸部101が、凹部111から抜ける方向へ移動できるとともに凹部111に対して元の位置へ戻ることができ、基端シャフト60の曲げ剛性が局所的に大きくなることを抑制して、良好な柔軟性を提供できる。
また、段差部102は、スリット61の角度の局所的な変化量βが90度を超えることが好ましい。具体的には、螺旋傾斜角度αを有するスリット61の対向面100に対する、凸部61の段差部102が形成する角度が90度を超えるように形成することが好ましい。このように構成することで、スリット61の螺旋を解く方向へ基端シャフト60が捩れる際に、図4に示すように、凸部101に設けられる段差部102が凹部111に設けられる当接部112に引っ掛かりやすくなり、過度の捩れをより確実に抑制できる。また、螺旋を解く方向へ基端シャフト60を捩じった際に、凸部101が凹部102から抜けるのを抑制できる。この際、より確実に上述の効果を発揮するために、螺旋傾斜角度αを有するスリット61の対向面110に対する、凸部61の当接部112が形成する角度が90度を超えないように形成することが好ましい。なお、スリット61の角度の局所的な変化量βは、90度を超えていなくてもよい。
また、段差部102は、軸心方向Xと略平行となるように形成されており、軸心方向Xに対する傾斜角度θが少なくとも±5度以内であることがより好ましい。段差部102が軸心方向Xと±5度以内で略平行となることで、基端シャフト60が湾曲する際に凸状に湾曲する側、すなわちスリット61の隙間の幅が広がる側に設けられる凸部101が、凹部111内を移動して容易に離れることができるとともに凹部111に対して元の位置へ戻りやすくなる。このため、凸部101が凹部111から離れることができずに基端シャフト60の曲げ剛性が局所的に大きくなることを抑制でき、良好な柔軟性を提供できる。また、スリット61の隙間の幅が広がる側に設けられる凸部101が凹部111内を移動して容易に離れやすいという点から、段差部102は軸心方向Xに平行となるように形成されていることがよりさらに好ましい。なお、段差部102は、軸心方向Xに対する傾斜角度θが±5度以内でなくてもよい。
また、スリット61は、スリット61の隙間の幅が一定に形成されている、すなわち、スリットの対向面100、110の間の幅が一定であることが好ましい。そのように構成することで、凸部101と凹部111の外郭の形状がほぼ同一となる。そのため、スリット61の螺旋を解く方向へ基端シャフト60が捩れる際に、図4に示すように、凸部101に設けられる段差部102が凹部111に設けられる当接部112に引っ掛かりやすくなり、過度の捩れをより確実に抑制できる。また、螺旋を解く方向へ基端シャフト60を捩じった際に、凸部101が凹部102から抜けるのを抑制できる。
また、螺旋を描くことで軸心方向Xに並んで隣接する各々のスリット61に設けられる段差部102は、基端シャフト60の周方向における位置が異なり、隣接する段差部102同士が軸心方向Xに重ならない。具体的には、少なくとも連続する2つの隣接する段差部102同士が軸心方向Xに重ならない。一例として、段差部102は、螺旋に沿って基端シャフト60の周方向に125度、270度、または450度毎に形成することができる。したがって、基端シャフト60の曲げ剛性が周方向位置に依存して偏らず、良好な柔軟性を提供できる。なお、段差部102は、基端シャフト60の周方向に同一角度毎に形成されなくてもよい。また、全ての段差部102が、基端シャフト60の軸心方向に全く重ならないようにしてもよい。
また、凸部101は、先端側または基端側のうち、スリット61の螺旋傾斜角度αが大きくなる側、すなわちピッチが広がる側である基端側へ突出して形成されている。このため、スリット61のピッチが変化する部位において、凸部101が延在する方向に凸部101を形成するための十分な長さを確保できる。なお、凸部は、先端側または基端側のうち、スリットのピッチが狭くなる方向へ突出して形成されてもよい。また、凸部の向きは、各凸部によって異なってもよい。
そして、スリット61の角度が局所的に変化する部位、すなわち凸部101のエッジの凸状となる角部101Aおよび凹状となる隅部101B、並びに凹部111のエッジの凸状となる角部111Aおよび凹状となる隅部111Bが、曲率を有するように形成されている。このため、レーザー等によりスリット61を形成する際に、前述の角部101A,111Aおよび隅部101B,111Bを加工するためにレーザー等を材料となる管体に対して停止させる必要がなくなり、レーザー等を管体に対して常に移動させながら形成することができる。そのため、角部101A,111Aおよび隅部101B,111Bにレーザー加工により発生した熱が不要に入らず、管体の材料に変質や変形が起こるのを抑制できる。また、角部101A,111Aおよび隅部101B,111Bが曲率を有して形成されることで、鋭利なエッジがなくなり、安全性が向上する。
基端シャフト60には比較的剛性の高い材質、例えばNi−Ti、真鍮、SUS、アルミ等の金属を用いることが好ましい。なお、比較的剛性の高い材質であれば、ポリイミド、塩化ビニル、ポリカーボネート等の樹脂を用いることもできる。
基端シャフト60の高剛性部63は、寸法は特に限定されないが、外径が約0.5mm〜3.5mm、肉厚が約10μm〜170μm、長さが約1100mm〜1400mmの管体である。
基端シャフト60の第1柔軟部64は、寸法は特に限定されないが、外径が約0.5mm〜3.5mm、肉厚が約10μm〜170μm、ピッチは約0.1mm〜0.5mmである。
基端シャフト60の第2柔軟部65は、寸法は特に限定されないが、外径が約0.5mm〜3.5mm、肉厚が約10μm〜170μm、ピッチは約0.5mm〜1.5mmである。
基端シャフト60の第3柔軟部66は、寸法は特に限定されないが、外径が約0.5mm〜3.5mm、肉厚が約10μm〜170μm、ピッチは約1.5mm〜5.0mmである。
スリット61の隙間の幅は、特に限定されないが、約0.01mm〜0.05mmである。
先端シャフト80、内管シャフト90および中間シャフト70を構成する材料としては、特に限定されないが、例えばポリオレフィン(例えば、ポリエチレン、ポリプロピレン、ポリブテン、エチレン−プロピレン共重合体、エチレン−酢酸ビニル共重合体、アイオノマー、またはこれら二種以上の混合物など)、ポリオレフィンの架橋体、ポリ塩化ビニル、ポリアミド、ポリアミドエラストマー、ポリエステル、ポリエステルエラストマー、ポリウレタン、ポリウレタンエラストマー、フッ素樹脂、ポリイミドなどの高分子材料またはこれらの混合物などを用いることができる。
先端シャフト80および中間シャフト70は、特に限定されないが、外径が0.7mm〜1.7mm、肉厚が25mm〜200μmの管体である。中間シャフト70の長さは、特に限定されないが、100mm〜150mmである。先端シャフト80の長さは、特に限定されないが、230mm〜250mmである。
内管シャフト90は、図1に示すように、先端シャフト80及びバルーン30の内部を同軸状に貫通している。内管シャフト90の先端部は、バルーン30の先端より延長されており、バルーン30の先端側と液密を保った状態で接合されている。一方、内管シャフト90の基端は、中間シャフト70の外周方向における一部(側面に形成された側口)に液密を保った状態で固着されており、この内管シャフト90の基端開口が中間シャフト70の外部に露出して、ガイドワイヤ開口部71を構成している。この内管シャフト90の先端からガイドワイヤ開口部71にかけての内部空間がガイドワイヤルーメン91となっており、ガイドワイヤは内管シャフト90の先端開口を入口とし、ガイドワイヤ開口部71を出口として、内管シャフト90内に挿通される。なお、ガイドワイヤ開口部71は、中間シャフト70ではなく、基端シャフト60または先端シャフト80に設けてもよく、また中間シャフト70と先端シャフト80の境界部(接合部)に設けてもよい。
バルーン30の内部の内管シャフト90周囲には、X線を用いて造影できるように造影マーカー92が設けられている。
造影マーカー92は、コイルスプリングまたはリングで形成することが好ましく、1個以上設けることができる。造影マーカー92の材質としては、X線造影性の高い材料、例えばPt、Pt合金、W、W合金、Au、Au合金、Ir、Ir合金、Ag、Ag合金などを用いることが好ましい。
ハブ40は、カテーテル本体部20の拡張用ルーメンと連通して拡張用流体を流入出させるポートとして機能する基端開口部41を備えており、基端シャフト60と液密を保った状態で固定されている。
ハブ40の構成材料としては、例えば、ABS樹脂、ポリカーボネート、ポリアミド、ポリサルホン、ポリアリレート、メタクリレート−ブチレン−スチレン共重合体等の熱可塑性樹脂が好適に使用できる。また、これらの材料を任意に組み合わせたものを用いてもよい。
耐キンクチューブ50は、ハブ40の先端付近における基端シャフト60のキンク(折れ曲がり)を防止するために、基端シャフト60の外側に載置されている。
バルーン30は、拡張することで狭窄部を押し広げるものであり、または、バルーン30の外周にステントが配置された場合には、ステントを押し広げるものであり、所定の範囲を効率よく押し広げられるよう、軸方向中央部に略円筒状で形成されてほぼ同一径の筒状部31を有している。バルーン30の筒状部31の先端側には、先端側へ向かって径がテーパ状に縮小して形成される第1の縮径部32が設けられ、基端側には、基端側へ向かって径がテーパ状に縮小して形成される第2の縮径部33が設けられている。
第1の縮径部32の先端側は、内管シャフト90の外壁面に液密を保った状態で接合されており、第2の縮径部33の基端側は、先端シャフト80の先端部の外壁面に液密を保った状態で接合されている。したがって、バルーン30の内部は、カテーテル本体部20に形成される拡張用ルーメンと連通し、この拡張用ルーメンを介して、基端側から拡張用流体を流入可能となっている。バルーン30は、拡張用流体の流入により拡張し、流入した拡張用流体を排出することにより折り畳まれた状態となる。
拡張用流体は、気体でも液体でもよく、例えば、空気、ヘリウムガス、COガス、Oガス等の気体や、生理食塩水、造影剤等の液体が挙げられる。
バルーン30は、ある程度の可撓性を有する材料により形成されることが好ましく、そのような材料としては、例えば、ポリエチレン、ポリプロピレン、ポリブテン、エチレン−プロピレン共重合体、エチレン−酢酸ビニル共重合体、アイオノマー、あるいはこれら二種以上の混合物等のポリオレフィンや、軟質ポリ塩化ビニル樹脂、ポリアミド、ポリアミドエラストマー、ポリエステル、ポリエステルエラストマー、ポリウレタン、フッ素樹脂等の熱可塑性樹脂、シリコーンゴム、ラテックスゴム等が使用できる。
バルーン30は、寸法は特に限定されないが、拡張されたときの筒状部31の外径が1.0mm〜15.0mm、長さが5mm〜50mmであり、全体の長さが10mm〜90mmである。
次に、本実施形態に係るバルーンカテーテル10の使用方法を、血管に挿入して使用する場合を例として説明する。
まず、血管の狭窄部を治療する前に、バルーン30および拡張用ルーメン内の空気をできる限り抜き取り、バルーン30および拡張用ルーメン内を拡張用流体に置換しておく。このとき、バルーン30は、折り畳まれた状態となっている。
次に、患者の血管に、例えばセルジンガー法によりシースを留置し、ガイドワイヤルーメン91内にガイドワイヤを挿通させた状態で、ガイドワイヤおよびバルーンカテーテル10をシースの内部より血管内へ挿入する。続いて、ガイドワイヤを先行させつつバルーンカテーテル10を進行させ、バルーン30を狭窄部へ到達させる。
次に、バルーン30が狭窄部に位置した状態で、ハブ40の基端開口部41より、インデフレーター、シリンジ、またはポンプ等を用いて拡張用流体を所定量注入し、拡張用ルーメンを通じてバルーン30の内部に拡張用流体を送り込み、折り畳まれたバルーン30を拡張させる。これにより、バルーン30の筒状部31が、狭窄部を押し広げることができる。また、バルーン30の外周にステントを配置したステントデリバリーシステムとして使用すれば、ステントを塑性変形させながら押し広げ、狭窄部をステントによって押し広げた状態で良好に維持することができる。
この後、拡張用流体を基端開口部41より吸引して排出し、バルーン30を収縮させて折り畳まれた状態とする。なお、ステントデリバリーシステムとして用いた場合には、ステントは拡開した状態のまま狭窄部に留置される。この後、シースを介して血管よりガイドワイヤおよびカテーテル本体部20を抜去し、手技が終了する。
以上のように、本実施形態に係るバルーンカテーテル10は、スリット61の螺旋傾斜角度αが異なる部位を備えることで、柔軟性を軸心方向Xの位置によって任意に設定して操作性を向上できる。そして、スリット61を構成する対をなす対向面100,110の一方の対向面100に、螺旋傾斜角度αに対する角度が局所的に変化する段差部102が形成され、他方の対向面110に、スリット61の螺旋を解く方向へ基端シャフト60が捩れた際に段差部102が当接する当接部112が形成されるため、螺旋を解く方向へ捩れた際に段差部102が当接部112に当接し、スリット61の隙間が開くことが抑制される。さらに、段差部102の軸心方向Xへの長さL1〜L3が、スリット61の螺旋傾斜角度αが相対的に大きい部位において小さい部位よりも長く形成されるため、スリット61の傾斜角度が大きくなることで段差部102の当接部112に対する引っ掛かりが外れやすい部位ほど、段差部102の長さが長くなって当接部112から外れ難くなり、回転方向によるトルク伝達性能の異方性を極力抑えて操作性を向上できる。
また、例えばスリットを構成する対向面を部分的に接続するように、スリットをこま切れ状態とすることでスリットの開きを抑制することもできるが、この場合には、対向面が接続する部位に応力が集中し、材料が疲労して変形や破断、予期しない動作が生じ得る。これに対し、本実施形態では、スリット61が途切れることなく連続して形成されているため、材料の疲労による変形や破断、予期しない動作が抑制される。
また、螺旋傾斜角度αに対するスリット61の角度の局所的な変化量βが90度を超えるため、スリット61の螺旋を解く方向へ基端シャフト60が捩れる際に、段差部102が当接部112に引っ掛かりやすくなり、過度の捩れをより確実に抑制できる。
また、段差部102の軸心方向Xに対する傾斜角度θが±5度以内であるため、段差部102が軸心方向Xと略平行となり、基端シャフト60が湾曲する際に凸状に湾曲する側、すなわちスリット61の幅が広がる必要がある側に設けられる段差部102が、凹部111内で移動できるとともに凹部111に戻りやすくなる。このため、凸部101が凹部111から移動できずに基端シャフト60の曲げ剛性が局所的に大きくなることを抑制でき、良好な柔軟性を提供できる。
また、スリット61の隙間の幅が一定になるため、スリット61を構成する対をなす対向面100,110の一方の対向面100から突出して形成される段差部102と、他方の対向面110に段差部102と当接するように形成された当接部112の形状がほぼ同一となる。このため、スリット61を構成する対をなす対向面100,110の一方から突出して形成される凸部101と、対向面100,110の他方に凸部101が入り込むように形成される凹部111の外郭の形状がほぼ同一となる。このため、スリット61の螺旋を解く方向へ基端シャフト60(管状体)が捩れた際に、凸部101に設けられる段差部102が凹部111に設けられる当接部112に引っ掛かりやすくなり、過度の捩れをより確実に抑制できる。
また、螺旋を描くことで基端シャフト60(管状体)の軸心方向Xに並んで隣接する各々のスリット61に設けられる段差部102は、基端シャフト60の周方向における位置が異なるため、段差部102が基端シャフト60の軸心方向Xに重ならない。このため、基端シャフト60の曲げ剛性が周方向位置に依存して偏らず、良好な柔軟性を提供できる。
また、基端シャフト60(管状体)は、螺旋傾斜角度αが漸次的に変化する部位を有し、当該部位に設けられる複数の段差部102の軸心方向Xへの長さL3が、螺旋傾斜角度αが相対的に小さい部位から大きい部位へ向かって漸次的に長くなるため、基端シャフト60の螺旋傾斜角度αが大きい部位の高い剛性によって十分な押し込み性を確保できるとともに、螺旋傾斜角度αが小さい部位の高い柔軟性によって、生体管腔の湾曲部位等をも容易に通過でき、高い到達性および操作性が得られる。さらに、螺旋傾斜角度αが漸次的に変化することで、曲げ剛性が漸次的に減少しているため、基端シャフト60が急激に曲がる際にも応力が1カ所に集中することがなく、バルーンカテーテル10におけるキンクの発生を低減させることが可能である。
また、基端シャフト60(管状体)は、スリット61を構成する一方の対向面100から突出して形成される凸部101と、他方の対向面110に凸部101が入り込むように形成される凹部111と、を有し、段差部102が、凸部101または凹部111の一部に形成されるため、凸部101が凹部111に入り込むことにより、いずれの回転方向へも過度な捩れを抑制できる。
また、凸部101は、先端側または基端側のうち、螺旋傾斜角度αが大きくなる方向である側(本実施形態では基端側)へ突出して形成されているため、螺旋傾斜角度αが変化する部位において、凸部101が延在する方向に凸部101を形成するための十分な長さを確保できる。
また、凸部101は、突出方向へ向かって幅が減少しているため、凸部101が、凹部111から離れることができるとともに凹部111に対して元の位置へ戻ることができ、基端シャフト60の曲げ剛性が局所的に大きくなることを抑制して、良好な柔軟性を提供できる。
また、段差部102におけるスリット61の角度が局所的に変化する部位が、曲率を有するように形成されるため、レーザー等によりスリット61を形成する際に、レーザー等を管体に対して停止させずに常に移動させながら形成することができる。そのため、レーザー加工により発生した熱が管体の材料に不要に入り、管体の材料が変質や変形するのを抑制できる。また、曲率を有するように形成されているため、鋭利なエッジがなくなり、安全性が向上する。
なお、本発明は、上述した実施形態のみに限定されるものではなく、本発明の技術的思想内において当業者により種々変更が可能である。例えば、本実施形態では、凸部101に段差部102が形成され、凹部111に当接部112が形成されているが、凸部が突出する方向等の条件によっては、凹部に段差部が形成され、凸部に当接部が形成されることもあり得る。
また、図6に示す変形例のように、基端シャフト120(管状体)のスリット121に凸部および凹部が形成されずに、段差部131および当該段差部131が当接する当接部141が形成されてもよい。すなわち、基端シャフト120のスリット121を構成する対をなす対向面130,140の一方側の対向面130に、螺旋傾斜角度αに対する角度が局所的に変化する段差部131が形成され、他方側の対向面140に、スリット121の螺旋を解く方向へ基端シャフト120が捩れた際に段差部131が当接する当接部141が形成される。そして、段差部131の軸心方向Xへの長さL4が、螺旋傾斜角度αが相対的に大きい部位において小さい部位よりも長く形成されている。このような構造であっても、基端シャフト120が螺旋を解く方向へ捩れた際に段差部131が当接部141に当接し、スリット121の隙間が開くことが抑制されるとともに、スリット61の螺旋傾斜角度αが相対的に大きい部位において小さい部位よりも長く形成される段差部131によって、回転方向によるトルク伝達性能の異方性を極力抑えて操作性を向上できる。
また、本実施形態に係る医療用長尺体は、バルーンカテーテル10であるが、医療用の長尺体であれば特に限定されず、マイクロカテーテルやイメージングカテーテル等の他の用途のカテーテルや、図7に示すようなガイドワイヤ150等であってもよい。ガイドワイヤ150は、螺旋状のスリット153が形成された管状体151と、管状体151に被覆されるポリマー等からなる被覆層152とを備える。なお、ガイドワイヤの構成も、管状体を備えるのであれば、特に限定されない。
また、本実施形態に係る医療用長尺体は、基端シャフト60(管状体)が、スリット61の螺旋傾斜角度αが異なる3つの第1柔軟部64,第2柔軟部65,および第3柔軟部66を備えているが、螺旋傾斜角度αが異なる部位が存在するのであれば、構成は限定されない。したがって、例えば第3柔軟部66のようなスリット61の螺旋傾斜角度αが漸次的に変化する部位がなくてもよく、または、第3柔軟部66のようなスリット61の傾斜角度αが漸次的に変化する部位のみで形成されてもよい。また、本実施形態に係る医療用長尺体は、先端側ほどスリット61の螺旋傾斜角度αが小さくなるが、スリットの螺旋傾斜角度αが異なる部位の位置関係は、特に限定されず、例えば先端側ほど螺旋傾斜角度αが大きくなってもよく、または、螺旋傾斜角度αの大きい部位と小さい部位が交互に配置されてもよい。また、スリットの螺旋の向きは限定されず、または、スリットを複数有する多重螺旋構造であってもよい。また、スリットがシャフト全体にわたって設けられ、全体をポリマーチューブで覆われたものでもよい。
10 バルーンカテーテル(医療用長尺体)、
60,120 基端シャフト(管状体)、
61,121,153,170 スリット、
62 柔軟部、
63 高剛性部、
64 第1柔軟部、
65 第2柔軟部、
66 第3柔軟部、
100,110,130,140 対向面、
101 凸部、
102,131 段差部、
111 凹部、
112,141 当接部、
150 ガイドワイヤ、
α 螺旋傾斜角度、
β 変化量、
θ 傾斜角度、
L1〜L4 段差部の長さ、
X 軸心方向。

Claims (15)

  1. 少なくとも一部に螺旋状のスリットが形成されて軸心方向へ延在する管状体を有する医療用長尺体であって、
    前記管状体は、前記軸心方向と直交する断面に対する前記スリットの螺旋の延在方向の角度である螺旋傾斜角度が異なる部位を備えるとともに、前記スリットを構成する対をなす対向面の一方側に、前記螺旋傾斜角度に対して前記スリットの角度が局所的に変化する段差部が形成され、前記対向面の他方側に、前記スリットの螺旋を解く方向へ前記管状体が捩れた際に前記段差部が当接する当接部が形成され、
    前記段差部の前記軸心方向への長さが、前記螺旋傾斜角度が相対的に大きい部位において小さい部位よりも長くなる医療用長尺体。
  2. 前記螺旋傾斜角度に対する前記スリットの角度の局所的な変化量は、90度を超える請求項1に記載の医療用長尺体。
  3. 前記段差部の前記軸心方向に対する傾斜角度は、±5度以内である請求項1または2に記載の医療用長尺体。
  4. 前記スリットは、前記スリットの隙間の幅が一定であることを特徴とする請求項1〜3のいずれか1項に記載の医療用長尺体。
  5. 螺旋を描くことで前記管状体の軸心方向に並んで隣接する各々の前記スリットに設けられる前記段差部は、前記管状体の周方向における位置が異なる請求項1〜4のいずれか1項に記載の医療用長尺体。
  6. 前記管状体は、前記螺旋傾斜角度が漸次的に変化する部位を有し、当該部位に設けられる複数の前記段差部の軸心方向への長さが、前記螺旋傾斜角度が相対的に小さい部位から大きい部位へ向かって漸次的に長くなる請求項1〜5のいずれか1項に記載の医療用長尺体。
  7. 前記管状体は、前記スリットを構成する対をなす対向面の一方から突出して形成される凸部と、前記対向面の他方に前記凸部が入り込むように形成される凹部と、を有し、
    前記段差部は、前記凸部または凹部の一部に形成される請求項1〜6のいずれか1項に記載の医療用長尺体。
  8. 前記凸部は、先端側または基端側のうち、前記スリットの螺旋傾斜角度が大きくなる側へ突出して形成される請求項7に記載の医療用長尺体。
  9. 前記凸部は、突出方向へ向かって幅が減少する請求項7または8に記載の医療用長尺体。
  10. 前記段差部における前記スリットの角度が局所的に変化する部位は、曲率を有して形成される請求項1〜9のいずれか1項に記載の医療用長尺体。
  11. 少なくとも一部に螺旋状のスリットが形成されて軸心方向へ延在する管状体を有する医療用長尺体であって、
    前記管状体は、前記軸心方向と直交する断面に対する前記スリットの螺旋の延在方向の角度である螺旋傾斜角度が異なる部位を備えるとともに、前記スリットを構成する対をなす対向面の一方側に、前記螺旋傾斜角度に対して前記スリットの角度が局所的に変化する段差部が形成され、前記対向面の他方側に、前記スリットの螺旋を解く方向へ前記管状体が捩れた際に前記段差部が当接する当接部が形成され、
    前記段差部が、前記管状体の軸心方向と平行であり、
    前記段差部の前記軸心方向への長さが、前記螺旋傾斜角度が相対的に大きい部位において小さい部位よりも長くなる、医療用長尺体。
  12. 前記スリットは、前記スリットの隙間の幅が一定であることを特徴とする請求項1に記載の医療用長尺体。
  13. 螺旋を描くことで前記管状体の軸心方向に並んで隣接する各々の前記スリットに設けられる前記段差部は、前記管状体の周方向における位置が異なる請求項11または12に記載の医療用長尺体。
  14. 前記管状体は、前記螺旋傾斜角度が漸次的に変化する部位を有し、当該部位に設けられる複数の前記段差部の軸心方向への長さが、前記螺旋傾斜角度が相対的に小さい部位から大きい部位へ向かって漸次的に長くなる請求項113のいずれか1項に記載の医療用長尺体。
  15. 前記管状体は、前記スリットを構成する対をなす対向面の一方から突出して形成される凸部と、前記対向面の他方に前記凸部が入り込むように形成される凹部と、を有し、
    前記段差部は、前記凸部または凹部の一部に形成される請求項114のいずれか1項に記載の医療用長尺体。
JP2015513455A 2013-04-26 2013-04-26 医療用長尺体 Active JP6077646B2 (ja)

Applications Claiming Priority (1)

Application Number Priority Date Filing Date Title
PCT/JP2013/062358 WO2014174661A1 (ja) 2013-04-26 2013-04-26 医療用長尺体

Publications (2)

Publication Number Publication Date
JP6077646B2 true JP6077646B2 (ja) 2017-02-08
JPWO2014174661A1 JPWO2014174661A1 (ja) 2017-02-23

Family

ID=51791266

Family Applications (1)

Application Number Title Priority Date Filing Date
JP2015513455A Active JP6077646B2 (ja) 2013-04-26 2013-04-26 医療用長尺体

Country Status (5)

Country Link
US (1) US10335575B2 (ja)
EP (1) EP2990071B1 (ja)
JP (1) JP6077646B2 (ja)
CN (1) CN105142709B (ja)
WO (1) WO2014174661A1 (ja)

Cited By (1)

* Cited by examiner, † Cited by third party
Publication number Priority date Publication date Assignee Title
JP2023172184A (ja) * 2022-05-23 2023-12-06 株式会社カネカ 医療用具

Families Citing this family (15)

* Cited by examiner, † Cited by third party
Publication number Priority date Publication date Assignee Title
US10327933B2 (en) * 2015-04-28 2019-06-25 Cook Medical Technologies Llc Medical cannulae, delivery systems and methods
EP3397333A4 (en) 2016-01-01 2019-10-02 Tractus Vascular, LLC FLEXIBLE CATHETER
EP3434312B1 (en) 2016-03-22 2020-09-09 Terumo Kabushiki Kaisha Long body for medical use
WO2018016529A1 (ja) 2016-07-20 2018-01-25 テルモ株式会社 医療用長尺体
JP2019165754A (ja) * 2016-08-16 2019-10-03 テルモ株式会社 医療用長尺体
JP2019165753A (ja) 2016-08-16 2019-10-03 テルモ株式会社 医療用長尺体
ES2798430T3 (es) * 2016-10-03 2020-12-11 Fortimedix Surgical B V Tubo plegable con bisagra elástica mejorada
KR20200071749A (ko) * 2018-05-09 2020-06-19 아사히 인텍크 가부시키가이샤 의료용 튜브
CN114554930A (zh) * 2019-08-15 2022-05-27 奥瑞斯健康公司 具有多个弯曲节段的医疗装置
US11478609B2 (en) * 2019-09-26 2022-10-25 Biosense Webster (Israel) Ltd. Bendable guidewire
EP4054449B1 (en) * 2019-11-05 2024-12-04 Stryker European Operations Limited Flexible driveshaft with channels configured to collapse under rotational load
WO2022014000A1 (ja) * 2020-07-16 2022-01-20 朝日インテック株式会社 カテーテル
JP7693160B2 (ja) * 2021-05-13 2025-06-17 二九精密機械工業株式会社 連結組子部品
JP2025510903A (ja) * 2022-03-30 2025-04-15 オーバスネイチ・メディカル・プライベート・リミテッド マルチフィラカテーテル本体構造
CN116369828B (zh) * 2023-04-28 2025-06-20 湖南省华芯医疗器械有限公司 一种内窥镜的主动弯曲管、插入部及内窥镜

Citations (5)

* Cited by examiner, † Cited by third party
Publication number Priority date Publication date Assignee Title
JPH11509752A (ja) * 1995-07-18 1999-08-31 エドワーズ,ガーランド,ユー. 可撓性の軸
JP2000197704A (ja) * 1998-10-27 2000-07-18 Terumo Corp 医療用チューブおよびその製造方法
US6273876B1 (en) * 1997-12-05 2001-08-14 Intratherapeutics, Inc. Catheter segments having circumferential supports with axial projection
JP2005511259A (ja) * 2001-12-03 2005-04-28 ボストン サイエンティフィック リミテッド 高トルク型ガイドワイヤ
US20110251519A1 (en) * 2010-04-09 2011-10-13 Alexandre Romoscanu Variable stiffness steering mechanism for catheters

Family Cites Families (3)

* Cited by examiner, † Cited by third party
Publication number Priority date Publication date Assignee Title
US8657845B2 (en) 2007-05-15 2014-02-25 Cook Medical Technologies Llc Multifilar cable catheter
WO2010129075A1 (en) * 2009-04-28 2010-11-11 Avinger, Inc. Guidewire support catheter
JP5399301B2 (ja) * 2010-03-12 2014-01-29 テルモ株式会社 カテーテル

Patent Citations (5)

* Cited by examiner, † Cited by third party
Publication number Priority date Publication date Assignee Title
JPH11509752A (ja) * 1995-07-18 1999-08-31 エドワーズ,ガーランド,ユー. 可撓性の軸
US6273876B1 (en) * 1997-12-05 2001-08-14 Intratherapeutics, Inc. Catheter segments having circumferential supports with axial projection
JP2000197704A (ja) * 1998-10-27 2000-07-18 Terumo Corp 医療用チューブおよびその製造方法
JP2005511259A (ja) * 2001-12-03 2005-04-28 ボストン サイエンティフィック リミテッド 高トルク型ガイドワイヤ
US20110251519A1 (en) * 2010-04-09 2011-10-13 Alexandre Romoscanu Variable stiffness steering mechanism for catheters

Cited By (1)

* Cited by examiner, † Cited by third party
Publication number Priority date Publication date Assignee Title
JP2023172184A (ja) * 2022-05-23 2023-12-06 株式会社カネカ 医療用具

Also Published As

Publication number Publication date
WO2014174661A1 (ja) 2014-10-30
US20160082225A1 (en) 2016-03-24
JPWO2014174661A1 (ja) 2017-02-23
EP2990071B1 (en) 2020-01-22
EP2990071A4 (en) 2017-02-22
CN105142709B (zh) 2018-04-03
US10335575B2 (en) 2019-07-02
EP2990071A1 (en) 2016-03-02
CN105142709A (zh) 2015-12-09

Similar Documents

Publication Publication Date Title
JP6077646B2 (ja) 医療用長尺体
JP7757366B2 (ja) 脈管再入カテーテル
US12311127B2 (en) Radial and trans-endocardial delivery catheter
EP3046612B1 (en) Dilator systems
US20220288365A1 (en) Dilator
JP2022116350A (ja) 累加柔軟性カテーテル支持フレーム
US8540695B2 (en) Catheter
US20080183128A1 (en) Methods, devices and systems for treatment and/or diagnosis of disorders of the ear, nose and throat
ES2999059T3 (en) Catheter proximal joint
US20160135827A1 (en) Subintimal crossing wire guide
US20120065621A1 (en) Double lumen tubing with improved kinking resistance
EP3646916A1 (en) Catheter, separator, and suction system
CN111375120A (zh) 可调弯导管
US20230285741A1 (en) Circulatory support device with steerable cannula
CN115414574A (zh) 一种导管尖端、球囊导管及血管介入装置
JP6342189B2 (ja) カテーテル
JP4316252B2 (ja) カテーテル
EP4279113A2 (en) Multi-filar catheter body construction
JP7148308B2 (ja) バルーンカテーテル
JP2025170867A (ja) 医療デバイス
HK40019557B (zh) 导管装置
CN118251253A (zh) 血管内导丝和微导管系统
WO2022050289A1 (ja) 医療デバイス
JP2002291897A (ja) バルーンカテーテル
JP2017158958A (ja) ガイドワイヤ

Legal Events

Date Code Title Description
TRDD Decision of grant or rejection written
A01 Written decision to grant a patent or to grant a registration (utility model)

Free format text: JAPANESE INTERMEDIATE CODE: A01

Effective date: 20170105

A61 First payment of annual fees (during grant procedure)

Free format text: JAPANESE INTERMEDIATE CODE: A61

Effective date: 20170112

R150 Certificate of patent or registration of utility model

Ref document number: 6077646

Country of ref document: JP

Free format text: JAPANESE INTERMEDIATE CODE: R150

R250 Receipt of annual fees

Free format text: JAPANESE INTERMEDIATE CODE: R250

R250 Receipt of annual fees

Free format text: JAPANESE INTERMEDIATE CODE: R250

R250 Receipt of annual fees

Free format text: JAPANESE INTERMEDIATE CODE: R250

R250 Receipt of annual fees

Free format text: JAPANESE INTERMEDIATE CODE: R250

R250 Receipt of annual fees

Free format text: JAPANESE INTERMEDIATE CODE: R250

R250 Receipt of annual fees

Free format text: JAPANESE INTERMEDIATE CODE: R250