JP6065984B2 - 電子機器及びヒンジユニット - Google Patents

電子機器及びヒンジユニット Download PDF

Info

Publication number
JP6065984B2
JP6065984B2 JP2015538765A JP2015538765A JP6065984B2 JP 6065984 B2 JP6065984 B2 JP 6065984B2 JP 2015538765 A JP2015538765 A JP 2015538765A JP 2015538765 A JP2015538765 A JP 2015538765A JP 6065984 B2 JP6065984 B2 JP 6065984B2
Authority
JP
Japan
Prior art keywords
shaft
radial direction
hinge unit
see
rotation
Prior art date
Legal status (The legal status is an assumption and is not a legal conclusion. Google has not performed a legal analysis and makes no representation as to the accuracy of the status listed.)
Expired - Fee Related
Application number
JP2015538765A
Other languages
English (en)
Other versions
JPWO2015045132A1 (ja
Inventor
一樹 立神
一樹 立神
阿部 隆
隆 阿部
慎悟 淡路
慎悟 淡路
Current Assignee (The listed assignees may be inaccurate. Google has not performed a legal analysis and makes no representation or warranty as to the accuracy of the list.)
Fujitsu Ltd
Original Assignee
Fujitsu Ltd
Priority date (The priority date is an assumption and is not a legal conclusion. Google has not performed a legal analysis and makes no representation as to the accuracy of the date listed.)
Filing date
Publication date
Application filed by Fujitsu Ltd filed Critical Fujitsu Ltd
Application granted granted Critical
Publication of JP6065984B2 publication Critical patent/JP6065984B2/ja
Publication of JPWO2015045132A1 publication Critical patent/JPWO2015045132A1/ja
Expired - Fee Related legal-status Critical Current
Anticipated expiration legal-status Critical

Links

Images

Classifications

    • GPHYSICS
    • G06COMPUTING OR CALCULATING; COUNTING
    • G06FELECTRIC DIGITAL DATA PROCESSING
    • G06F1/00Details not covered by groups G06F3/00 - G06F13/00 and G06F21/00
    • G06F1/16Constructional details or arrangements
    • G06F1/1613Constructional details or arrangements for portable computers
    • G06F1/1633Constructional details or arrangements of portable computers not specific to the type of enclosures covered by groups G06F1/1615 - G06F1/1626
    • G06F1/1675Miscellaneous details related to the relative movement between the different enclosures or enclosure parts
    • G06F1/1681Details related solely to hinges
    • GPHYSICS
    • G06COMPUTING OR CALCULATING; COUNTING
    • G06FELECTRIC DIGITAL DATA PROCESSING
    • G06F1/00Details not covered by groups G06F3/00 - G06F13/00 and G06F21/00
    • G06F1/16Constructional details or arrangements
    • G06F1/1613Constructional details or arrangements for portable computers
    • G06F1/1615Constructional details or arrangements for portable computers with several enclosures having relative motions, each enclosure supporting at least one I/O or computing function
    • G06F1/1616Constructional details or arrangements for portable computers with several enclosures having relative motions, each enclosure supporting at least one I/O or computing function with folding flat displays, e.g. laptop computers or notebooks having a clamshell configuration, with body parts pivoting to an open position around an axis parallel to the plane they define in closed position
    • G06F1/162Constructional details or arrangements for portable computers with several enclosures having relative motions, each enclosure supporting at least one I/O or computing function with folding flat displays, e.g. laptop computers or notebooks having a clamshell configuration, with body parts pivoting to an open position around an axis parallel to the plane they define in closed position changing, e.g. reversing, the face orientation of the screen with a two degrees of freedom mechanism, e.g. for folding into tablet PC like position or orienting towards the direction opposite to the user to show to a second user
    • EFIXED CONSTRUCTIONS
    • E05LOCKS; KEYS; WINDOW OR DOOR FITTINGS; SAFES
    • E05DHINGES OR SUSPENSION DEVICES FOR DOORS, WINDOWS OR WINGS
    • E05D3/00Hinges with pins
    • E05D3/06Hinges with pins with two or more pins
    • E05D3/10Hinges with pins with two or more pins with non-parallel pins
    • EFIXED CONSTRUCTIONS
    • E05LOCKS; KEYS; WINDOW OR DOOR FITTINGS; SAFES
    • E05YINDEXING SCHEME ASSOCIATED WITH SUBCLASSES E05D AND E05F, RELATING TO CONSTRUCTION ELEMENTS, ELECTRIC CONTROL, POWER SUPPLY, POWER SIGNAL OR TRANSMISSION, USER INTERFACES, MOUNTING OR COUPLING, DETAILS, ACCESSORIES, AUXILIARY OPERATIONS NOT OTHERWISE PROVIDED FOR, APPLICATION THEREOF
    • E05Y2999/00Subject-matter not otherwise provided for in this subclass

Landscapes

  • Engineering & Computer Science (AREA)
  • Computer Hardware Design (AREA)
  • Theoretical Computer Science (AREA)
  • Physics & Mathematics (AREA)
  • Human Computer Interaction (AREA)
  • General Engineering & Computer Science (AREA)
  • General Physics & Mathematics (AREA)
  • Mathematical Physics (AREA)
  • Pivots And Pivotal Connections (AREA)
  • Casings For Electric Apparatus (AREA)

Description

本願の開示する技術は、電子機器及びヒンジユニットに関する。
従来、第一部材又は第二部材と共に回転する回転軸の外周に凹部を形成し、この凹部に付勢部材で付勢された凸部材を係合させて、第一部材又は第二部材を所定の回転位置に保持するヒンジユニットが知られている。
特開2004−23469号公報
このようなヒンジユニットでは、付勢部材で付勢される方向が管理されていない場合、回転軸が回転したとき、回転軸に作用する力の方向が変わるおそれがある。
本願の開示する技術は、一つの側面として、回転軸が回転したとき、回転軸に作用する力の方向が変わるのを抑制することができる電子機器及びヒンジユニットを提供することを目的とする。
上記目的を達成するために、本願の開示する技術によれば、連結部材と、支持部材と、回転部と、移動部材と、付勢部材とを有する電子機器が提供される。連結部材は、第一筐体に設けられ、回転軸が形成されている。支持部材は、第二筐体に設けられ、回転軸が挿入される軸孔が形成されている。回転部は、回転軸に設けられ、回転軸の径方向外側に開口した凹部が形成されている。移動部材は、凹部と係合する凸部を備え、回転軸の径方向外側で径方向に移動する。付勢部材は、移動部材を回転軸の回転中心に向けて付勢する。
本願の開示する技術によれば、回転軸が回転したとき、回転軸に作用する力の方向が変わるのを抑制することができる。
本実施形態のパーソナルコンピュータの開状態を示す斜視図である。 パーソナルコンピュータの縦断面図である。 ヒンジユニットの斜視図である。 ヒンジユニットのカバー部材を外した状態を示す斜視図である。 ヒンジユニットの部分拡大斜視図である。 ヒンジユニットの部分拡大斜視図である。 ヒンジユニットの一部の分解斜視図である。 連結部材の斜視図である。 基台の斜視図である。 カム部材の斜視図である。 カム部材の斜視図である。 ブロック部材の分解斜視図である。 ヒンジユニットの部分拡大斜視図である。 ヒンジユニットの底面図である。 ヒンジユニットの凸部と凹部の接触状態を示す模式図である。 回転軸の回転時の凸部と回転軸との接触状態を示す模式図である。
以下、本願の開示する技術の一実施形態を説明する。
図1には、電子機器の一例としてのノートブック型のパーソナルコンピュータ10が示されている。
パーソナルコンピュータ10は、第一筐体の一例としての表示筐体12と、第二筐体の一例としての本体筐体14と、表示筐体12と本体筐体14とを連結する連結部30とを有している。なお、各図面において、パーソナルコンピュータ10の幅方向を矢印W、奥行方向を矢印L、高さ方向(上下方向)を矢印Hで示す。W方向、L方向、H方向は、互いに直交している。また、パーソナルコンピュータ10の各部材の配置について、後述する表示パネル20を正面視して、右側、左側、手前側、奥側、上側、下側と記載する。
図1に示すように、本体筐体14に向けて表示筐体12を傾倒させるときの回動中心となる軸線を第一軸線Jとし、本体筐体14に対して表示筐体12を回転させるときの回転中心となる軸線を第二軸線Kとする。第一軸線Jは、W方向に沿った直線であり、第二軸線Kは、H方向に沿った直線である。また、W方向における表示筐体12の中央の位置で且つ第一軸線J上にある位置を中央位置Pとする。第二軸線Kは、一例として、中央位置PからL方向手前側へずれて位置している。
<本体筐体>
図1に示すように、本体筐体14は、平面視でW方向を長手方向とする長方形状に形成されており、金属製(一例として、マグネシウム合金製)となっている。また、本体筐体14内には、マザーボード25(図2参照)、バッテリ、ファン、及びハードディスク(図示省略)などが組み込まれている。
マザーボード25(図2参照)には、一例として、CPU(Central Processing Unit)やメモリ(図示省略)といった電子回路素子が搭載されている。CPUは、メモリに一時的に格納されるソフトウェアプログラムやデータに基づき、様々な演算処理を実行するようになっている。ソフトウェアプログラムやデータは、ハードディスク(図示省略)に格納される。
また、本体筐体14は、H方向上側を覆う上板14Aを有している。上板14Aには、情報や指示の入力を行う入力部の一例として、キーボード16やタッチパッド18といった入力装置が配置されている。キーボード16には、複数のキーパッドが配列されている。そして、パーソナルコンピュータ10では、使用者がキーボード16及びタッチパッド18を操作することで、既述のCPUに向けて、様々な指令やデータが入力されるようになっている。さらに、上板14Aには、W方向中央で且つL方向奥側において、H方向に貫通した貫通孔14B(図2参照)が形成されている。
<表示筐体>
図1に示すように、表示筐体12には、CPUで実行された情報処理結果(画像、映像等)を表示する表示部の一例として、液晶ディスプレイパネルである表示パネル20が組み込まれている。また、表示筐体12は、表示パネル20の外周部を手前側から覆う枠状のフロントカバー13と、表示パネル20を奥側から覆うバックカバー15とを有している。表示パネル20の前面は、画像や映像等を表示する表示面20Aとされており、フロントカバー13の内側から露出している。
表示面20Aには、既述のCPUの演算処理に基づき、様々なテキストやグラフィックスが表示される。また、表示パネル20には、タッチパネルといった入力装置が配置される。例えば、スタイラスペンの操作や使用者の指に基づき、タッチパネルからCPUに向けて様々な指令やデータが入力される。
さらに、表示筐体12には、表示パネル20を正面視して、下端部に逆U字状で扁平に切り欠かれた切欠部19が形成されている。切欠部19には、後述する連結部材52(図8参照)が配置されるようになっている。即ち、連結部材52は、表示筐体12に設けられている。
ここで、表示筐体12が本体筐体14に対して角度90[°]で開いた状態を開状態と称する。なお、本実施形態では、表示筐体12を、第一軸線Jを中心として傾倒させることを回動と記載し、表示筐体12を、第二軸線Kを中心として回すことを回転と記載する。
表示筐体12において、表示パネル20が設けられた側の面を裏面12Aと称し、表示パネル20とは反対側の面を表面12Bと称する。裏面12Aと表面12Bは、表示筐体12を、第二軸線Kを中心として矢印R1方向又は矢印R2方向に180°回転させることで切り替わる。また、本体筐体14を手前側に配置した状態で表示筐体12を平面視して、矢印R1方向は時計回り方向となっており、矢印R2方向は反時計回り方向となっている。
<連結部>
図3及び図4に示すように、連結部30は、一例として、第一軸線J回りで回動する2つの回動部32と、2つの回動部32を支持するヒンジユニット50とを有している。ヒンジユニット50は、表示筐体12(図1参照)を第二軸線K回りに回転させる。
〔回動部〕
回動部32は、複数のバネを組み合せた筒部33と、筒部33に対して外側へ突出した突出部35と、突出部35の端部に形成された板状の取付部37とを有している。取付部37は、表示筐体12の開状態でW−H面に沿っている。なお、回動部32は、後述するアーム部材44のW方向両側に配置されている。
筒部33には、W方向に貫通した貫通孔33Aが形成されている。そして、筒部33は、アーム部材44に取り付けられたシャフト41が貫通孔33Aに挿入され、Cリング(図示省略)などの抜け止め部材が設けられることで、第一軸線Jを回動中心として回動するようになっている。
取付部37は、一例として、表示筐体12のバックカバー15(図1参照)の内壁面から直立するボス(図示省略)にネジ(図示省略)で締結されている。即ち、回動部32は、表示筐体12に設けられている。これにより、図2に示すように、表示筐体12は、本体筐体14に対して、第一軸線J回りで回動(傾倒)するようになっている。
〔ヒンジユニット〕
次に、ヒンジユニット50について説明する。
図5に示すように、ヒンジユニット50は、表示筐体12と本体筐体14(図1参照)とを連結する連結部材52と、連結部材52を支持する支持部材の一例としての基台56とを有している。また、図6に示すように、ヒンジユニット50は、回転部の一例としてのワッシャー61と、移動部材の一例としての2つのカム部材64と、付勢部材及びばね材の一例としての4本のスプリング66とを有している。さらに、ヒンジユニット50は、保持部材の一例としての2つのブロック部材68を有している。
(連結部材)
図8に示すように、連結部材52は、円盤状の本体部52Aと、本体部52AのH方向上部からW方向の両側に向けて延びる延出部52Bとを有している。
本体部52Aは、中心位置が第二軸線K上に配置されている。また、本体部52Aには、H方向下部から下側へ向けて延びる回転軸の一例としての軸部52Cが形成されている。さらに、本体部52Aには、後述する規制プレート69(図5参照)によって間接的に回転が規制される接触部52Dが形成されている。
延出部52Bには、L−H断面がU字形の溝52Eが形成されている。溝52Eには、信号線や電力供給線などの各種配線(図示省略)が収容される。また、延出部52BのW方向の両端部には、一例として、W方向を長手方向とし表示筐体12(図3参照)を支持するアーム部材44(図3参照)がそれぞれ取り付けられている。
軸部52Cは、後述する基台56(図9参照)の軸孔57(図9参照)に挿入され、第二軸線Kを中心として回転する。また、軸部52Cには、貫通孔52Fが形成されている。貫通孔52Fは、軸部52Cから本体部52Aを経由して延出部52Bまで貫通している。これにより、本体筐体14(図1参照)の各種配線(図示省略)は、貫通孔52F及び溝52Eを通って表示筐体12(図1参照)に接続されている。なお、軸部52Cは、貫通孔14B(図2参照)の内側に配置される。
また、軸部52Cの側面(第二軸線Kに沿った外側の面)の一部には、一例として、カット面52Gが、4箇所形成されている。カット面52Gを含む軸部52Cの側面は、後述するワッシャー61(図6参照)の嵌合孔61A(図7参照)の孔壁と嵌合される。
(アーム部材)
図4に示すように、アーム部材44には、H方向上側に開口しW方向に沿って延びる溝45が形成されている。溝45と連結部材52の溝52Eとはつながっている。また、アーム部材44の上部には、H方向に直立する側壁44A、44Bが形成されている。側壁44A、44Bは、W方向を長手方向としL方向に間隔をあけて対向配置されている。また、側壁44A、44Bには、カバー部材46(図3参照)が嵌められる。カバー部材46は、溝45及び連結部材52の溝52Eを覆っている。
さらに、各アーム部材44のW方向端部には、円筒状の支持部47が設けられている。各支持部47は、それぞれW方向の外側へ向けて開口しており、シャフト41が嵌め込まれて固定されている。即ち、アーム部材44のW方向両端部からW方向外側へシャフト41が突出されており、既述のように、シャフト41に対して回動部32が回転するようになっている。
(基台)
図9に示すように、基台56は、一例として、板金で構成されている。また、基台56は、W−L面に沿った平面を備えた板状部56Aと、板状部56Aの周縁でクランク状に折り曲げられた締結部56Bとを備えている。さらに、板状部56AのW方向中央で且つL方向奥側には、H方向に貫通し第二軸線Kを中心とする円形の軸孔57が形成されている。軸孔57には、既述の軸部52C(図8参照)が挿入される。そして、基台56は、連結部材52(図3参照)が第二軸線Kを中心として回転するように、連結部材52を支持している。なお、各締結部56Bには、H方向に貫通した孔56Cが形成されている。
また、基台56には、板状部56Aにおける軸孔57よりもW方向の両外側の部位にH方向に貫通した収容口58、59が形成されている。収容口58と収容口59は、同じ大きさ及び同じ形状とされており、第二軸線Kを中心として対称配置されている。また、収容口58、59の大きさは、それぞれカム部材64(図6参照)を収容する大きさとなっている。
収容口58の内壁の一部で、軸孔57に最も近い位置に配置され且つL方向に沿った内壁58Aには、軸部52C(図8参照)の径方向外側へ突出する突出部58Bが形成されている。突出部58Bは、一例として、内壁58AのL方向中央からW方向に沿って突出した四角形状の板状部となっている。また、収容口58は、縁部58Cを有している。縁部58Cの一部は、後述するカム部材64の被案内部64G(図10参照)と接触する。
さらに、収容口58の一部で突出部58Bと対向する対向部58Dには、後述するブロック部材68(図12参照)が固定される。加えて、縁部58Cには、L方向で対向する2つの切欠部58Eが形成されている。一方の切欠部58Eから他方の切欠部58EまでのL方向の幅は、後述するカム部材64の被案内部64G(図10参照)のL方向の幅よりも大きくなっている。
収容口59の壁の一部で、軸孔57に最も近い位置に配置され且つL方向に沿った壁59Aには、軸部52C(図8参照)の径方向外側へ突出する突出部59Bが形成されている。突出部59Bは、一例として、壁59AのL方向中央からW方向に沿って突出した四角形状の板状部となっている。また、収容口59は、縁部59Cを有している。縁部59Cの一部は、後述するカム部材64の被案内部64G(図10参照)と接触する。
さらに、収容口59の一部で突出部59Bと対向する対向部59Dには、後述するブロック部材68(図12参照)が固定される。加えて、縁部59Cには、L方向で対向する2つの切欠部59Eが形成されている。一方の切欠部59Eから他方の切欠部59EまでのL方向の幅は、後述するカム部材64の被案内部64G(図10参照)のL方向の幅よりも大きくなっている。
ここで、基台56は、締結部56Bを本体筐体14(図2参照)の内壁面にネジ(図示省略)で締結することで本体筐体14内に固定されている。即ち、基台56は、本体筐体14に設けられている。また、図5に示すように、基台56のH方向上側には、連結部材52の回転を設定範囲内に規制する規制プレート69が設けられている。なお、規制プレート69は、一例として、連結部材52の180[°]よりも大きい角度の回転を規制するものであり、連結部材52の180[°]以下の回転を規制するものではない。
(ワッシャー)
図6及び図7に示すように、ワッシャー61は、一例として、金属製で環状の部材であり、外周面61Bが一部を除いて円形とされている。また、ワッシャー61には、軸部52C(図8参照)が嵌合される嵌合孔61Aが形成されている。そして、ワッシャー61は、軸部52Cが嵌合孔61Aに嵌合することで軸部52Cに設けられ、軸部52Cと共に回転するようになっている。
図14に示すように、ワッシャー61には、外周部61Cに凹部62及び凹部63が形成されている。凹部62及び凹部63は、それぞれ軸部52Cの径方向外側に開口している。また、凹部62及び凹部63は、軸部52Cの回転中心Oを通る直線M上に対称配置されている。即ち、凹部62及び凹部63は、周方向に180[°]ずれて配置されている。なお、直線M上に対称配置とは、各部材の寸法公差や組み付けでの設計値からの誤差を含んで直線M上から僅かにずれたものも含む概念である。
さらに、凹部62及び凹部63は、それぞれ開口側から見て逆台形状の壁面を有している。凹部62の底面62Aは、外側(開口側)に向けて凸状の湾曲面とされている。凹部63の底面63Aは、外側(開口側)に向けて凸状の湾曲面とされている。
(カム部材)
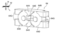
図10に示すカム部材64は、一例として、金属製である。また、カム部材64は、L−H面に沿って直立する板状の本体部64Aと、本体部64AのH方向上部からW方向に突出した凸部64Bと、本体部64AのH方向下部からW方向に張り出した張出部64Cとを有する。
本体部64Aには、L方向の幅L1が凸部64BのL方向の幅L2よりも広い拡幅部64Dが形成されている。なお、L方向は、軸部52C(図8参照)の径方向と交差する交差方向の一例である。また、本体部64Aには、W方向に貫通した挿入孔の一例としての貫通孔64Eが形成されている。
凸部64BのW方向の先端部は、H方向に見て(平面視で)台形状の板状部となっている。また、凸部64BのW方向の先端(台形の上底に相当する部位)には、先端面64Fが形成されている。先端面64Fは、凸部64BをH方向に見て凹状の湾曲面とされている。また、先端面64Fの曲率は、凹部62の底面62A(図14参照)と面接触する曲率となっている。
張出部64Cは、本体部64Aから凸部64Bと同方向に張り出された板状部である。また、張出部64Cは、凸部64BのH方向下側に位置しており、張出部64Cの上面と凸部64Bの下面との間には、間隔dの空間が形成されている。間隔dは、基台56(図9参照)の板厚よりも大きくなっている。即ち、凸部64Bが基台56の上側に配置され、張出部64Cが基台56の下側に配置されるようになっている。なお、張出部64CのW方向の長さは、一例として、凸部64BのW方向の長さよりも短くなっている。
拡幅部64Dは、本体部64AのL方向両側に拡がっている。また、拡幅部64DのL方向両端部には、L方向両側へ突出した被案内部64Gが形成されている。被案内部64Gは、一例として、基台56(図9参照)の板厚方向であるH方向の上側(一方側)と下側(他方側)に間隔をあけて2箇所形成されおり、合計4箇所形成されている。これにより、被案内部64Gは、基台56(図9参照)の表側と裏側に配置され、収容口58、59の縁部58C、59C(図9参照)と接触してW方向に案内されるようになっている。
貫通孔64Eは、カム部材64をW方向に見て、本体部64Aの中央部で且つ凸部64Bと張出部64Cとの間に位置している。また、貫通孔64Eは、基台56の突出部58B、59B(図9参照)が挿入される大きさとなっている。
図11に示すように、本体部64A及び拡幅部64Dにおける凸部64Bとは反対側の側面には、L方向に並んだ2つの窪み部64Hが形成されている。2つの窪み部64Hは、W方向に見て環状に形成されており、後述する2本のスプリング66(図6参照)のW方向一端が接触される。
ここで、カム部材64は、図9に示す収容口58、59に挿入されることで、軸孔57(軸部52C(図6参照))の外側でW方向(径方向)に移動される。
(スプリング)
図5に示すように、4本のスプリング66は、W方向を付勢方向として、収容口58内にL方向に並んで2本収容されており、収容口59内にL方向に並んで2本収容されている。また、4本のスプリング66は、一例として、基台56のH方向表側(上側)及び裏側(下側)に露出している。さらに、図14に示すように、4本(2組)のスプリング66は、W方向の一端がカム部材64の窪み部64H(図11参照)に当たることで、2つのカム部材64を軸部52Cの回転中心Oに向けて付勢している。
ここで、ヒンジユニット50では、1つのカム部材64と2本のスプリング66とを1組として、2組(一対)のカム部材64及びスプリング66が、軸部52Cの回転中心Oを通る直線M上に対称配置されている。
(ブロック部材)
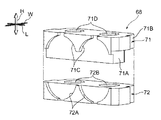
図12に示すように、ブロック部材68は、基台56(図9参照)の板厚方向(H方向)において、表側(一方側)に配置される第一保持材71と、裏側(他方側)に配置される第二保持材72とに分割されている。
第一保持材71は、H方向に直立する板状の直立部71Aと、直立部71Aの上部からW方向に延びる板状の延出部71Bとを有している。直立部71Aには、延出部71Bとは反対側の側面にW方向に窪んだ窪み部71Cが形成されている。窪み部71Cは、W方向に見て上に凸の半円形状となっている。また、窪み部71Cは、L方向に並んで2つ形成されている。延出部71Bには、H方向に貫通した締結孔71DがL方向に間隔をあけて2つ形成されている。
第二保持材72は、W―L面に沿って広がる板状に形成されている。第二保持材72には、一方の側面にW方向に窪んだ窪み部72Aが形成されている。窪み部72Aは、W方向に見て下に凸の半円形状となっている。また、窪み部72Cは、L方向に並んで2つ形成されている。さらに、第二保持材72には、H方向に貫通した貫通孔72BがL方向に間隔をあけて2つ形成されている。
次に、本実施形態の作用及び効果について説明する。
(ヒンジユニットの組付)
図8に示す連結部材52の軸部52Cが複数のワッシャー78(図7参照)に挿入された状態で、軸部52Cが基台56の軸孔57(図9参照)に挿入される。これにより、連結部材52が基台56の表側に配置され、軸部52Cの端部が基台56の裏側に突出される。そして、図13に示すように、ワッシャー61の嵌合孔61Aに軸部52Cが嵌合されると、連結部材52が基台56に対して回転自在に支持される。
続いて、図9に示す収容口58、59内にカム部材64(図10参照)がそれぞれ挿入される。そして、カム部材64の被案内部64G(図10参照)が縁部58C、59Cにより案内される。このとき、図13に示すように、2つのカム部材64は、それぞれ凸部64Bをワッシャー61に向けて、W方向で対称配置されている。
続いて、図13に示すように、一方のカム部材64の貫通孔64E(図10参照)に収容口58の突出部58B(図9参照)が挿入される。さらに、他方のカム部材64の貫通孔64Eに収容口59の突出部59Bが挿入される。これにより、2つのカム部材64の凸部64Bが、ワッシャー61の外周面61Bと接触する。なお、図6、13、14では、凹部63の形状を分かり易く示すために凸部64Bと凹部63とを離間させているが、実際は凸部64Bと凹部63が接触している。
続いて、収容口58、59において、それぞれ2本のスプリング66の一端をカム部材64の窪み部64H(図11参照)に接触させた状態で、収容口58、59の対向部58D、59D(図9参照)にブロック部材68が設けられる。
具体的には、図12に示すように、対向部58D、59D(図9参照)において、板状部56Aを挟んで第二保持材72上に第一保持材71が重ねられ、窪み部71Cと窪み部72Aとで一つの円が形成される。そして、締結孔71Dと貫通孔72BがH方向に揃えられる。この状態で、ネジ74(図7参照)が貫通孔72Bに挿入され締結孔71Dに締結されることで、第一保持材71と第二保持材72が対向部58D、59Dに固定され、ブロック部材68が形成される。
続いて、図13に示すように、2本のスプリング66の他端は、窪み部71C(図12参照)及び窪み部72Aと接触されることで、付勢方向(W方向)においてブロック部材68に保持される。
ここで、比較例として、第一保持材71及び第二保持材72(図12参照)が一体化されている場合、2本のスプリング66を圧縮させて長さを短くしないと、ブロック部材68が収容口58、59に挿入されない。これは、ブロック部材68がW−H断面でC字形状となっており、延出部71BのW方向の長さ分だけ余計にスプリング66を圧縮させないと、収容口58、59にブロック部材68を挿入できないためである。しかし、2本のスプリング66の付勢力は大きいため、比較例の構成では、2本のスプリング66を圧縮させてブロック部材68を収容口58、59に挿入する作業が困難となる。
一方、本実施形態では、図12に示すように、ブロック部材68が第一保持材71と第二保持材72に分割されている。これにより、本実施形態では、第一保持材71及び第二保持材72を基台56(図9参照)取り付けるときに、直立部71AのW方向の厚み分だけスプリング66(図7参照)を圧縮すればよい。即ち、本実施形態では、比較例に比べて、スプリング66を圧縮させるのに必要な力が少なくて済むので、基台56へのブロック部材68の取り付け作業が容易となる。
(ヒンジユニットの動作)
図1に示すパーソナルコンピュータ10の開状態では、図15に示すように、スプリング66で付勢された2つのカム部材64の凸部64Bが、ワッシャー61の凹部62、63と接触(係合)する。このとき、凹部62、63には、回転中心Oに向けて押付力F1、F2が作用する。押付力F1と押付力F2は、回転中心Oを通る直線M上にあり、同じ大きさで且つ反対向きとなっている。これにより、軸部52Cの回転が抑制され、図1に示すように、表示筐体12の姿勢が保持される。
続いて、パーソナルコンピュータ10の開状態において、一例として、表示筐体12が矢印R2方向に回転されると、図16に示すように、2つのカム部材64の凸部64Bが、凹部62、63から離脱し、ワッシャー61の外周面61Bと接触する。このとき、外周面61Bには、回転中心Oに向けて押付力F1、F2が作用する。押付力F1と押付力F2は、既述のように、回転中心Oを通る直線M上にあるため、押付方向は変わらない。
続いて、表示筐体12(図1参照)の回転角度が180[°]となるとき、2つのカム部材64の凸部64Bが、凹部62、63と接触(係合)する。このとき、凹部62、63には、図15に示すように、回転中心Oに向けて押付力F1、F2が作用する。これにより、軸部52Cの回転が抑制され、表示筐体12の姿勢が保持される。
このように、パーソナルコンピュータ10(図1参照)では、表示筐体12を第二軸線K回りに回転させたとき、回転中心Oに向けて押付力F1、F2が作用するので、軸部52Cに作用する力の方向が変わるのを抑制することができる。
また、パーソナルコンピュータ10では、表示筐体12を回転させ、凸部64Bが凹部62、63に入り込んで接触(係合)するとき、表示筐体12を掴む手に節度感(クリック感)が感じられる。ここで、ヒンジユニット50では、軸部52Cに作用する力の方向が変わることが抑制されているので、凸部64B及び凹部62、63の形状を決めれば、得られる節度感は変わり難い。これにより、ヒンジユニット50では、軸部52Cに作用する力の方向が変わるものに比べて、凸部64B及び凹部62、63の形状変更による節度感の調整が容易となる。
さらに、パーソナルコンピュータ10では、図15に示すように、凹部62、63と、2つのカム部材64と、4本のスプリング66とが、回転中心Oを通る直線M上に対称配置されている。このため、凹部62、63と凸部64Bとが接触した状態から、表示筐体12(図1参照)を180[°]回転させたとき、再び凹部62、63と凸部64Bとが係合する。これにより、表示筐体12の裏面12A(図1参照)を正面視する配置状態、及び表面12B(図1参照)を正面視する配置状態の両方で、表示筐体12の回転を規制することができる。
加えて、パーソナルコンピュータ10では、凹部62、63と、2つのカム部材64と、4本のスプリング66とが直線状に配置されているので、直線Mに対して交差する方向に各部材を配置しなくて済む。これにより、各部材を直線状に配置しない構成に比べて、ヒンジユニット50を小型化することができる。
また、パーソナルコンピュータ10では、軸部52Cに嵌合されるワッシャー61の外周部61Cに凹部62、63が形成されているので、凹部62、63の形状及び深さは、軸部52Cの大きさに関わらず自由に設定できる。これにより、パーソナルコンピュータ10では、軸部52Cの直径を小さくすることができる。さらに、パーソナルコンピュータ10では、軸部52Cの径方向の肉厚を薄くすることができる。
加えて、パーソナルコンピュータ10では、凹部62、63の底面62A、63Aが凸状の湾曲面とされ、凸部64Bの先端面64Fが凹状の湾曲面とされているので、底面62A、63A及び先端面64Fが平面のものに比べて接触面積を増やすことができる。さらに、先端面64Fが凹状の湾曲面となっているので、カム部材64は、ワッシャー61の外周面61Bとの接触面積も増える。これにより、ヒンジユニット50では、軸部52Cが勢いよく回転するのを抑制することができる。
また、パーソナルコンピュータ10では、図10に示すように、カム部材64に拡幅部64Dが形成されている。このため、カム部材64は、スプリング66(図7参照)を大径化し、あるいは、本数を増やした場合でも、スプリング66の付勢力を受けることができる。
さらに、パーソナルコンピュータ10では、図15に示すように、1つのカム部材64に対して2本のスプリング66を用いている。これにより、1本で大径のスプリング66を用いる場合に比べてスプリング66を小径化できるので、ヒンジユニット50のH方向の厚みを薄くして小型化することができる。加えて、1本のスプリング66を用いた場合、製造上のばらつきで、スプリング66の付勢力の差が各ヒンジユニット50で大きくなるおそれがあるが、本実施形態では、スプリング66を2本用いているので、付勢力のばらつきを小さくすることができる。
また、パーソナルコンピュータ10では、図9、10、13に示すように、基台56の収容口58、59に形成された突出部58B、59Bによって、カム部材64がW方向に案内される。これにより、突出部58B、59Bが無いものに比べて、カム部材64の移動方向を安定させることができる。
さらに、パーソナルコンピュータ10では、カム部材64の被案内部64Gが、H方向に間隔をあけて2箇所(合計4箇所)形成されている。そして、被案内部64Gは、縁部58C、59Cの表側及び裏側と接触してW方向(径方向の一例)に案内される。これにより、パーソナルコンピュータ10では、カム部材64の移動方向が安定するだけでなく、カム部材64が収容口58、59から外れるのを抑制することができる。
加えて、パーソナルコンピュータ10では、図7、9に示すように、縁部58C、59Cにブロック部材68が設けられ、ブロック部材68がスプリング66の他端を保持する。これにより、基台56が薄い板金で構成されていても、スプリング66の他端を保持することができる。
また、パーソナルコンピュータ10では、図1に示すように、表示パネル20を有する表示筐体12が、ヒンジユニット50(図5参照)を介して本体筐体14に連結されている。これにより、表示筐体12を第二軸線K回りに180[°]回転させたとき、矢印R1方向、矢印R2方向の両方で、同様の節度感を得ることができる。
次に、本実施形態の変形例について説明する。
上記の実施形態において、電子機器の一例として、ノート型のパーソナルコンピュータについて記載したが、本体筐体と表示筐体を重ね合せる携帯電話等、その他の電子機器であってもよい。
連結部材52が、軸部52Cのみを有するものであってもよい。また、ワッシャー61を用いずに、軸部52Cに凹部62、63を形成してもよい。さらに、2つの凸部64Bと凹部62、63について、いずれか1組のみを用いてもよい。加えて、凹部62、63は、回転中心Oを通る直線M上からずれたものであってもよい。
基台56は、収容口58、59が形成されていないものであってもよい。この場合、基台56の表側又は裏側に、カム部材64、スプリング66、及びブロック部材68を配置すればよい。
カム部材64は、拡幅部64Dが無くてもよい。また、カム部材64は、貫通孔64E及び被案内部64Gが無いものであってもよい。この場合、基台56に設けたレール材によって、カム部材64をW方向に案内すればよい。さらに、必要な接触面積が確保されれば、凸部64Bの先端が平面であってもよい。
スプリング66は、1つのカム部材64に対して1本であってもよく、3本以上であってもよい。また、必要な付勢力が得られれば、スプリング66に換えて、板バネなどの弾性部材を用いてもよい。
ヒンジユニット50において、ブロック部材68を設けずに、収容口58、59の縁部58C、59Cを折り曲げて、スプリング66の他端を保持してもよい。また、作業性に問題がなければ、ブロック部材68を第一保持材71、第二保持材72に分割せずに、一体物としてもよい。
なお、上記複数の変形例のうち組み合せ可能な変形例は、適宜、組み合わされてもよい。
以上、本願の開示する技術の一実施形態について説明したが、本願の開示する技術は、上記に限定されるものでなく、上記以外にも、その主旨を逸脱しない範囲内において種々変形して実施可能であることは勿論である。

Claims (8)

  1. 第一筐体に設けられ、回転軸が形成された連結部材と、
    第二筐体に設けられ、前記回転軸が挿入される軸孔が形成された支持部材と、
    前記回転軸に嵌合され、外周面が円形とされ、前記回転軸の径方向外側に開口し底面が凸状の湾曲面とされた凹部が外周部に形成され、前記回転軸と共に回転する環状部材と、
    前記凹部の前記底面接触する凹状の湾曲面とされた先端面を有し前記凹部と係合する凸部を備え、前記回転軸の前記径方向外側で前記径方向に移動する移動部材と、
    前記移動部材を前記回転軸の回転中心に向けて付勢する付勢部材と、
    を有する電子機器。
  2. 前記環状部材には、一対の前記凹部が前記回転中心を通る直線上に対称配置され、
    一対の前記移動部材及び前記付勢部材が、前記直線上に対称配置されている、
    請求項1に記載の電子機器。
  3. 前記支持部材は、前記回転軸の軸方向を板厚方向とする板状に形成され、
    前記支持部材には、前記軸孔の前記径方向外側に前記移動部材を収容する収容口が形成され、
    前記収容口の内壁の一部には、前記径方向に突出する突出部が形成され、
    前記移動部材には、前記突出部が挿入される挿入孔が形成されている、
    請求項1又は請求項に記載の電子機器。
  4. 前記支持部材の前記収容口の内壁には、前記付勢部材を該付勢部材の付勢方向に保持する保持部材が設けられている、
    請求項に記載の電子機器。
  5. 回転軸が形成された連結部材と、
    前記回転軸が挿入される軸孔が形成された支持部材と、
    前記回転軸に嵌合され、外周面が円形とされ、前記回転軸の径方向外側に開口し底面が凸状の湾曲面とされた凹部が外周部に形成され、前記回転軸と共に回転する環状部材と、
    前記凹部の前記底面接触する凹状の湾曲面とされた先端面を有し前記凹部と係合する凸部を備え、前記回転軸の前記径方向外側で前記径方向に移動する移動部材と、
    前記移動部材を前記回転軸の回転中心に向けて付勢する付勢部材と、
    を有するヒンジユニット。
  6. 前記環状部材には、一対の前記凹部が前記回転中心を通る直線上に対称配置され、
    一対の前記移動部材及び前記付勢部材が、前記直線上に対称配置されている、
    請求項に記載のヒンジユニット。
  7. 前記支持部材は、前記回転軸の軸方向を板厚方向とする板状に形成され、
    前記支持部材には、前記軸孔の前記径方向外側に前記移動部材を収容する収容口が形成され、
    前記収容口の内壁の一部には、前記径方向に突出する突出部が形成され、
    前記移動部材には、前記突出部が挿入される挿入孔が形成されている、
    請求項5又は請求項に記載のヒンジユニット。
  8. 前記支持部材の前記収容口の内壁には、前記付勢部材を該付勢部材の付勢方向に保持する保持部材が設けられている、
    請求項に記載のヒンジユニット。
JP2015538765A 2013-09-27 2013-09-27 電子機器及びヒンジユニット Expired - Fee Related JP6065984B2 (ja)

Applications Claiming Priority (1)

Application Number Priority Date Filing Date Title
PCT/JP2013/076439 WO2015045132A1 (ja) 2013-09-27 2013-09-27 電子機器及びヒンジユニット

Publications (2)

Publication Number Publication Date
JP6065984B2 true JP6065984B2 (ja) 2017-01-25
JPWO2015045132A1 JPWO2015045132A1 (ja) 2017-03-02

Family

ID=52742332

Family Applications (1)

Application Number Title Priority Date Filing Date
JP2015538765A Expired - Fee Related JP6065984B2 (ja) 2013-09-27 2013-09-27 電子機器及びヒンジユニット

Country Status (3)

Country Link
US (1) US9870032B2 (ja)
JP (1) JP6065984B2 (ja)
WO (1) WO2015045132A1 (ja)

Cited By (1)

* Cited by examiner, † Cited by third party
Publication number Priority date Publication date Assignee Title
US12366895B2 (en) 2021-09-27 2025-07-22 Samsung Electronics Co., Ltd. Hinge assembly and electronic device including the same

Families Citing this family (5)

* Cited by examiner, † Cited by third party
Publication number Priority date Publication date Assignee Title
JP6103071B2 (ja) * 2013-09-27 2017-03-29 富士通株式会社 電子機器及びヒンジユニット
WO2015045132A1 (ja) * 2013-09-27 2015-04-02 富士通株式会社 電子機器及びヒンジユニット
JP6659969B2 (ja) * 2017-04-07 2020-03-04 富士通クライアントコンピューティング株式会社 端末装置
USD904396S1 (en) * 2018-10-12 2020-12-08 Samsung Electronics Co., Ltd. Laptop computer
TWI775251B (zh) * 2020-12-22 2022-08-21 宏碁股份有限公司 觸控板結構

Citations (3)

* Cited by examiner, † Cited by third party
Publication number Priority date Publication date Assignee Title
US20040075971A1 (en) * 2002-10-21 2004-04-22 Wistron Corporation Pivot-and-positioning assembly for an electronic device
US20060198093A1 (en) * 2005-03-04 2006-09-07 Tatung Co., Ltd. Cover positioning structure of a dual-usage portable computer
US20100170063A1 (en) * 2009-01-07 2010-07-08 Shin Zu Shing Co., Ltd. Hinge and electronic device with hinge

Family Cites Families (13)

* Cited by examiner, † Cited by third party
Publication number Priority date Publication date Assignee Title
JPH05119867A (ja) * 1991-10-29 1993-05-18 Nec Eng Ltd 液晶デイスプレイ型パーソナルコンピユータ
JP4041699B2 (ja) 2002-06-17 2008-01-30 株式会社ストロベリーコーポレーション ヒンジ装置並びにヒンジ装置を用いた電子機器
JP2005009602A (ja) * 2003-06-19 2005-01-13 Nippon Chemicon Corp ヒンジ装置
TWM242753U (en) * 2003-09-30 2004-09-01 Quanta Comp Inc Swivel hinge rotate direction indication structure
JP2005121068A (ja) * 2003-10-15 2005-05-12 Matsushita Electric Ind Co Ltd 回転装置およびこれを備えた携帯電話機器
JP4062322B2 (ja) 2005-06-03 2008-03-19 オムロン株式会社 回転支持機構および携帯端末
JP4966095B2 (ja) 2007-05-28 2012-07-04 株式会社テラモト ヒンジ機構
JP2011112150A (ja) 2009-11-26 2011-06-09 Ohashi Technica Inc ヒンジ装置及びこれを用いた携帯型情報機器
JP6286945B2 (ja) * 2013-08-28 2018-03-07 富士通株式会社 外装ケース及び電子機器
JP6155979B2 (ja) * 2013-08-29 2017-07-05 富士通株式会社 情報処理装置
WO2015045132A1 (ja) * 2013-09-27 2015-04-02 富士通株式会社 電子機器及びヒンジユニット
JP6103071B2 (ja) * 2013-09-27 2017-03-29 富士通株式会社 電子機器及びヒンジユニット
JP6372219B2 (ja) * 2014-07-24 2018-08-15 富士通株式会社 入力装置、及び電子機器

Patent Citations (3)

* Cited by examiner, † Cited by third party
Publication number Priority date Publication date Assignee Title
US20040075971A1 (en) * 2002-10-21 2004-04-22 Wistron Corporation Pivot-and-positioning assembly for an electronic device
US20060198093A1 (en) * 2005-03-04 2006-09-07 Tatung Co., Ltd. Cover positioning structure of a dual-usage portable computer
US20100170063A1 (en) * 2009-01-07 2010-07-08 Shin Zu Shing Co., Ltd. Hinge and electronic device with hinge

Cited By (1)

* Cited by examiner, † Cited by third party
Publication number Priority date Publication date Assignee Title
US12366895B2 (en) 2021-09-27 2025-07-22 Samsung Electronics Co., Ltd. Hinge assembly and electronic device including the same

Also Published As

Publication number Publication date
US9870032B2 (en) 2018-01-16
JPWO2015045132A1 (ja) 2017-03-02
US20160195903A1 (en) 2016-07-07
WO2015045132A1 (ja) 2015-04-02

Similar Documents

Publication Publication Date Title
JP6065984B2 (ja) 電子機器及びヒンジユニット
US9600036B2 (en) Hinge device for a portable computer
US9146582B2 (en) Portable electronic device with different modules capable of being detached or connected by magnetic attraction force
US8755181B2 (en) Electronic device
US9092194B2 (en) Electronic device
US9215818B2 (en) Electronic device and hinge structure thereof
US9383779B2 (en) Information processing device
EP2784625A2 (en) Information processing apparatus and information processing method
US9128664B1 (en) Invertible clamshell notebook computer
JP6103071B2 (ja) 電子機器及びヒンジユニット
JP2006277116A (ja) 電子機器およびヒンジユニット
JPWO2018138787A1 (ja) 情報処理装置
US7207086B2 (en) Rotating structure and electronic device utilizing same
TWI676096B (zh) 支撐裝置
EP2835571A1 (en) Display device and stand base used therein
US8885846B2 (en) Electronic device
CN206369999U (zh) 电脑装置用的底座
JP5106824B2 (ja) 液晶表示装置
JP5244138B2 (ja) 電子機器
JP2009075865A (ja) 電子機器
JP2011513852A (ja) ポインティングデバイス
JP2024106132A (ja) 電子機器
TWI585575B (zh) 可攜式電子裝置
WO2006103755A1 (ja) 電子機器
JP2014132395A (ja) スタンド装置

Legal Events

Date Code Title Description
A521 Request for written amendment filed

Free format text: JAPANESE INTERMEDIATE CODE: A523

Effective date: 20161101

TRDD Decision of grant or rejection written
A01 Written decision to grant a patent or to grant a registration (utility model)

Free format text: JAPANESE INTERMEDIATE CODE: A01

Effective date: 20161129

A61 First payment of annual fees (during grant procedure)

Free format text: JAPANESE INTERMEDIATE CODE: A61

Effective date: 20161212

R150 Certificate of patent or registration of utility model

Ref document number: 6065984

Country of ref document: JP

Free format text: JAPANESE INTERMEDIATE CODE: R150

S111 Request for change of ownership or part of ownership

Free format text: JAPANESE INTERMEDIATE CODE: R313113

R350 Written notification of registration of transfer

Free format text: JAPANESE INTERMEDIATE CODE: R350

R250 Receipt of annual fees

Free format text: JAPANESE INTERMEDIATE CODE: R250

LAPS Cancellation because of no payment of annual fees