JP5774039B2 - メモリカード用コネクタ - Google Patents

メモリカード用コネクタ Download PDF

Info

Publication number
JP5774039B2
JP5774039B2 JP2013034959A JP2013034959A JP5774039B2 JP 5774039 B2 JP5774039 B2 JP 5774039B2 JP 2013034959 A JP2013034959 A JP 2013034959A JP 2013034959 A JP2013034959 A JP 2013034959A JP 5774039 B2 JP5774039 B2 JP 5774039B2
Authority
JP
Japan
Prior art keywords
contact
memory card
group
insulator
piece
Prior art date
Legal status (The legal status is an assumption and is not a legal conclusion. Google has not performed a legal analysis and makes no representation as to the accuracy of the status listed.)
Expired - Fee Related
Application number
JP2013034959A
Other languages
English (en)
Other versions
JP2014165019A (ja
Inventor
和太 吉田
和太 吉田
岡部 芳史
芳史 岡部
中村 英弘
英弘 中村
Current Assignee (The listed assignees may be inaccurate. Google has not performed a legal analysis and makes no representation or warranty as to the accuracy of the list.)
Kyocera Connector Products Corp
Original Assignee
Kyocera Connector Products Corp
Priority date (The priority date is an assumption and is not a legal conclusion. Google has not performed a legal analysis and makes no representation as to the accuracy of the date listed.)
Filing date
Publication date
Application filed by Kyocera Connector Products Corp filed Critical Kyocera Connector Products Corp
Priority to JP2013034959A priority Critical patent/JP5774039B2/ja
Priority to KR1020130054339A priority patent/KR101437527B1/ko
Publication of JP2014165019A publication Critical patent/JP2014165019A/ja
Application granted granted Critical
Publication of JP5774039B2 publication Critical patent/JP5774039B2/ja
Expired - Fee Related legal-status Critical Current
Anticipated expiration legal-status Critical

Links

Images

Classifications

    • GPHYSICS
    • G06COMPUTING OR CALCULATING; COUNTING
    • G06KGRAPHICAL DATA READING; PRESENTATION OF DATA; RECORD CARRIERS; HANDLING RECORD CARRIERS
    • G06K7/00Methods or arrangements for sensing record carriers, e.g. for reading patterns
    • G06K7/0013Methods or arrangements for sensing record carriers, e.g. for reading patterns by galvanic contacts, e.g. card connectors for ISO-7816 compliant smart cards or memory cards, e.g. SD card readers
    • G06K7/0021Methods or arrangements for sensing record carriers, e.g. for reading patterns by galvanic contacts, e.g. card connectors for ISO-7816 compliant smart cards or memory cards, e.g. SD card readers for reading/sensing record carriers having surface contacts
    • HELECTRICITY
    • H01ELECTRIC ELEMENTS
    • H01RELECTRICALLY-CONDUCTIVE CONNECTIONS; STRUCTURAL ASSOCIATIONS OF A PLURALITY OF MUTUALLY-INSULATED ELECTRICAL CONNECTING ELEMENTS; COUPLING DEVICES; CURRENT COLLECTORS
    • H01R12/00Structural associations of a plurality of mutually-insulated electrical connecting elements, specially adapted for printed circuits, e.g. printed circuit boards [PCB], flat or ribbon cables, or like generally planar structures, e.g. terminal strips, terminal blocks; Coupling devices specially adapted for printed circuits, flat or ribbon cables, or like generally planar structures; Terminals specially adapted for contact with, or insertion into, printed circuits, flat or ribbon cables, or like generally planar structures
    • H01R12/50Fixed connections
    • H01R12/51Fixed connections for rigid printed circuits or like structures
    • H01R12/55Fixed connections for rigid printed circuits or like structures characterised by the terminals
    • H01R12/57Fixed connections for rigid printed circuits or like structures characterised by the terminals surface mounting terminals
    • HELECTRICITY
    • H01ELECTRIC ELEMENTS
    • H01RELECTRICALLY-CONDUCTIVE CONNECTIONS; STRUCTURAL ASSOCIATIONS OF A PLURALITY OF MUTUALLY-INSULATED ELECTRICAL CONNECTING ELEMENTS; COUPLING DEVICES; CURRENT COLLECTORS
    • H01R12/00Structural associations of a plurality of mutually-insulated electrical connecting elements, specially adapted for printed circuits, e.g. printed circuit boards [PCB], flat or ribbon cables, or like generally planar structures, e.g. terminal strips, terminal blocks; Coupling devices specially adapted for printed circuits, flat or ribbon cables, or like generally planar structures; Terminals specially adapted for contact with, or insertion into, printed circuits, flat or ribbon cables, or like generally planar structures
    • H01R12/70Coupling devices
    • H01R12/7005Guiding, mounting, polarizing or locking means; Extractors
    • H01R12/7011Locking or fixing a connector to a PCB
    • H01R12/707Soldering or welding
    • HELECTRICITY
    • H01ELECTRIC ELEMENTS
    • H01RELECTRICALLY-CONDUCTIVE CONNECTIONS; STRUCTURAL ASSOCIATIONS OF A PLURALITY OF MUTUALLY-INSULATED ELECTRICAL CONNECTING ELEMENTS; COUPLING DEVICES; CURRENT COLLECTORS
    • H01R12/00Structural associations of a plurality of mutually-insulated electrical connecting elements, specially adapted for printed circuits, e.g. printed circuit boards [PCB], flat or ribbon cables, or like generally planar structures, e.g. terminal strips, terminal blocks; Coupling devices specially adapted for printed circuits, flat or ribbon cables, or like generally planar structures; Terminals specially adapted for contact with, or insertion into, printed circuits, flat or ribbon cables, or like generally planar structures
    • H01R12/70Coupling devices
    • H01R12/71Coupling devices for rigid printing circuits or like structures

Landscapes

  • Engineering & Computer Science (AREA)
  • Artificial Intelligence (AREA)
  • Computer Vision & Pattern Recognition (AREA)
  • Physics & Mathematics (AREA)
  • General Physics & Mathematics (AREA)
  • Theoretical Computer Science (AREA)
  • Coupling Device And Connection With Printed Circuit (AREA)

Description

本発明は、microSDカード、SIMカード、及びmicroSIMカード等のメモリカード用コネクタに関する。
この種のメモリカード用コネクタの従来技術としては、例えば特許文献1に開示されたものがある。
このメモリカード用コネクタは、底板部を有する樹脂製のインシュレータと、インシュレータに取り付けた、メモリカードを挿脱可能な収納部を上記底板部との間で構成する金属製のシェルと、インシュレータに支持した複数の金属製コンタクトからなるコンタクト群と、を備えている。
各コンタクトは、収納部内に位置する接触片と、回路基板の回路パターンに対して実装可能な信号用テール片と、を有している。
一方、シェルは回路基板の接地パターンに対して実装可能な接地用テール片を有している。
このコネクタは回路基板(リジッド基板)に対して実装可能(はんだ付け可能)である。
コネクタを回路基板に実装するにはまず、インシュレータの底板部を回路基板と対向させながら、コネクタの各コンタクト群の信号用テール片を回路基板の回路パターンに塗布したはんだペースト上に載置し、さらにシェルの接地用テール片を回路基板の接地パターンに塗布したはんだペースト上に載置する。そしてリフロー炉において各はんだペーストを加熱溶融(リフロー)し、各信号用テール片及び各接地用テール片を回路パターンと接地パターンにはんだ付けする。
特許文献1のメモリカード用コネクタを上記収納部に挿入すると、メモリカードの端子がコンタクト群の接触片と接触するので、メモリカードと回路基板(回路パターン)がコンタクト群を介して電気的に導通する。
またシェルが回路基板の接地パターンと接地導通するので、コンタクト群に外部ノイズが入ったり、コンタクト群のノイズがコネクタの外部に漏れるのを効果的に抑制できる。
特開2007−157524号公報
近年、メモリカード用コネクタの薄型化(小型化)が進行しているため、インシュレータの底板部の肉厚は薄くなっている。そのためリフロー炉によるはんだ付けのためのリフロー熱によってインシュレータの底板部に反りや捩れ(変形し)が生じ、信号用テール片と接地用テール片の一方又は双方と回路基板との間ではんだ付け不良が発生するおそれがある。
特に信号用テール片と接地用テール片がメモリカードのコネクタに対する挿脱方向に大きく離間している場合は、信号用テール片と接地用テール片が底板部の反りや捩れの影響を大きく受けてしまうのではんだ付け不良が発生し易い。
本発明の目的は、インシュレータの底板部を変形し難くすることで、信号用テール片及び固定部と回路基板との間のはんだ付け不良を発生し難くすることが可能なメモリカード用コネクタを提供することにある。
本発明のメモリカード用コネクタの1つの態様は、回路基板と対向する底板部を有する樹脂製のインシュレータ;上記インシュレータに取り付けた、上記回路基板に実装可能な固定部;及び上記インシュレータに支持された、上記インシュレータの内部空間に挿入したメモリカードの端子と電気的に導通しかつ上記内部空間内に位置する接触片、及び上記回路基板の回路パターンに実装可能な信号用テール片、をそれぞれ有する金属製の第1のコンタクト群及び第2のコンタクト群;を備え、上記インシュレータの上記挿脱方向の一方の端部側に上記固定部と上記信号用テール片の一方が配設され、かつ上記インシュレータの上記挿脱方向の他方の端部側に上記固定部と上記信号用テール片の他方が配設され、上記第1のコンタクト群の上記接触片が、上記メモリカードの上記内部空間に対する挿脱方向及び該メモリカードの厚み方向に対して直交する一方向に並びかつ上記固定部と上記信号用テール片の間に位置する第一接触片群を構成し、上記第2のコンタクト群の上記接触片が、上記一方向に並ぶと共に上記第一接触片群と上記挿脱方向に対向しかつ上記固定部と上記信号用テール片の間に位置する第二接触片群を構成し、上記底板部における上記第一接触片群と上記第二接触片群の間に、上記挿脱方向の長さに比べて上記第一接触片群が並ぶ方向の長さが長い長孔で且つ単一の貫通孔が形成され、上記長い方向の貫通孔の長さは、上記第一接触片群のうちの両端の第一接触片間の離間距離及び上記第二接触片群のうちの両端の第二接触片間の離間距離より大きく、上記長い方向の貫通孔の両端は、上記底板部において上記第一接触片群のうちの両端の第一接触片よりも外側に位置することを特徴としている。
上記インシュレータに取り付けた、上記メモリカードを挿脱可能な収納部を上記底板部との間で構成する金属製のシェルを備え、上記固定部が、上記シェルに設けた、上記回路基板の接地パターンに実装可能な接地用テール片であってもよい。
上記コンタクトが、上記接触片と上記信号用テール片の間に位置しかつ上記底板部の内部に位置する中間部を備え、上記貫通孔が上記中間部の一部を露出させてもよい。
本発明のメモリカード用コネクタのインシュレータの底板部には、コンタクト群の第一接触片群と第二接触片群の間に位置し、かつ全ての第一接触片群及び第二接触片群とメモリカードのインシュレータに対する挿脱方向に並ぶ単一の貫通孔を形成してある。
インシュレータを正規形状(設計形状)通りに成形したときにインシュレータに残留応力が発生すると、その後の熱変化(リフローによって高温化したり、空冷によって常温に戻ること)によって残留応力が解放され、底板部の第一接触片群側部(貫通孔より第一接触片群側に位置する部位)と第二接触片群側部(貫通孔より第二接触片群側に位置する部位)が(正規形状から)変形しようとする。さらに、上記熱変化によって生じる第一接触片群側部と第二接触片群側部の熱収縮の程度(変形量)には差が生じ易い。そのため、仮にインシュレータの底板部に貫通孔を形成しない場合は、(残留応力の解放や熱収縮の差に起因して生じる)第一接触片群側部と第二接触片群側部の変形しようとする力によって、底板部(インシュレータ)全体が大きく反ったり、捩れるおそれがある。
しかし、本発明では第一接触片群側部及び第二接触片群側部が(正規形状から)変形しようとする力を、底板部に形成した(第一接触片群側部と第二接触片群側部の間に位置する)貫通孔で吸収する(逃がす)ので、第一接触片群側部と第二接触片群側部の変形しようとする力が互いに影響し合うことがない。そのため、インシュレータ(コネクタ)全体の反りや捩れを抑制できる。
従って、本発明のメモリカード用コネクタのように信号用テール片と固定部がメモリカードのコネクタに対する挿脱方向に大きく離間している構造であっても、信号用テール片と固定部の一方又は双方と回路基板との間ではんだ付け不良が発生するおそれを低減できる。
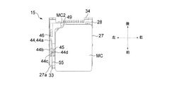
本発明の一実施形態のメモリカード用コネクタとmicroSIMカードの前斜め上方から見た斜視図である。 メモリカード用コネクタとmicroSIMカードの前斜め下方から見た斜視図である。 メモリカード用コネクタの上方から見た分解斜視図である。 メモリカード用コネクタの下方から見た分解斜視図である。 メモリカード用コネクタの平面図である。 シェルを取り外したときのメモリカード用コネクタの平面図である。 金属製一体部材の平面図である。 金属製一体部材の上方から見た斜視図である。 射出一体成形により構成した金属製一体部材とインシュレータの一体物の平面図である。 金属製一体部材とインシュレータの一体物の上方から見た斜視図である。 図9、図10の一体物の各切断ブリッジ及び接続アーム部を切断することにより完成した下部ハウジングの平面図である。 下部ハウジングの上方から見た斜視図である。 切断ブリッジを切断した後の金属製一体部材の平面図である。 microSIMカードをメモリカード用コネクタの内部に挿入してスライダに当接させたときのシェル及び圧縮コイルバネを省略して示すメモリカード用コネクタの平面図である。 スライダが押込位置までスライドしたときの図14と同様の平面図である。
以下、添付図面を参照しながら本発明の一実施形態について説明する。なお、以下の説明中の前後、上下、及び左右の方向は図中に記載した矢印の方向を基準としている。
本実施形態のメモリカード用コネクタ10は携帯端末に対して着脱可能なmicroSIMカードMC用のコネクタである。
メモリカード用コネクタ10は大きな構成要素として下部ハウジング15、スライダ40、カムバー55、シェル60、及び、圧縮コイルバネS1を具備している。
平面視略矩形の下部ハウジング15は、左側部構成片17と、右側部構成片22と、8つのコンタクトC1〜C8と、絶縁性かつ耐熱性の合成樹脂料からなるインシュレータ27と、を具備する一体成形品である。
左側部構成片17、右側部構成片22、及びコンタクトC1〜C8は一枚の金属板をプレス成形することにより構成したものであり、図7、図8に示すように下部ハウジング15の構成前(プレス成形直後)においては単一の金属製一体部材16の一部をそれぞれ構成している。金属製一体部材16は、左側部構成片17、右側部構成片22、及びコンタクトC1〜C8の一体物の外周側に位置する略方形の枠体であるキャリア16aと、キャリア16aと当該一体物とを接続する複数の接続アーム部16cと、を具備している。キャリア16aには複数の搬送用孔16bが貫通孔として形成してある。
左側部構成片17は、水平板状のスライダ支持部18と、スライダ支持部18の左側縁部から上方に立ち上がった左側壁部19と、左側壁部19の左側面に突設した3つの左側係止突起20と、を具備するものである。
右側部構成片22は、水平板状の底部構成部23と、底部構成部23の右側縁部から上方に立ち上がった右側壁部24と、右側壁部24の右側面に突設した3つの右側係止突起25と、を具備するものである。
コンタクトC1〜C8は、その基端部(前端部)から後ろ斜め上方に向かって延びる接触片C1a〜C8aと、金属製一体部材16の後端部に突設した、スライダ支持部18及び底部構成部23の一段下方に位置し、かつ、接触片C1a〜C8aとそれぞれ連続するテール片C1b〜C8b(信号用テール片)と、を一体的に有している。接触片C1aとテール片C1bの間、接触片C2aとテール片C2bの間、接触片C3aとテール片C3bの間、及び接触片C4aとテール片C4bの間を構成する部分はそれぞれ中間部C1c、C2c、C3c、C4cを構成している。
さらに金属製一体部材16は、隣接する左側部構成片17、右側部構成片22、及びコンタクトC1〜C8を互いに接続する計16個の切断ブリッジB1〜B16を有している。
この金属製一体部材16は、各搬送用孔16bに搬送装置(図示略)のスプロケットを係合させ、各スプロケットを回転させることにより前方に搬送される。そして所定位置まで搬送されたときに金属製一体部材16の上下に位置する一対の金型からなる一次成形型(図示略)が閉じ、一次成形型内に金属製一体部材16を収納する。さらに金属製一体部材16の搬送用孔16bに対して一次成形型に設けた多数の支持用ピン(図示略)が嵌合することにより金属製一体部材16が一次成形型内で固定される。そして一次成形型内で金属製一体部材16に対して耐熱性及び絶縁性の合成樹脂材料を射出一体成形を行うことにより、金属製一体部材16に対して合成樹脂製のインシュレータ27を一体化する。インシュレータ27は、下部ハウジング15の底面部を構成する底板部28と、カムバー支持部32と、後部壁34と、を備えている。後部壁34には後部係止突起34aが突設してある。またインシュレータ27の前端の左右両角部には逃げ用凹部27aがそれぞれ凹設してある。
図示するようにコンタクトC1〜C8の接触片C1a〜C8a及びテール片C1b〜C8bを除く部分の一部(例えば、中間部C1c〜C4cの一部と切断ブリッジB3〜B6の一部)は底板部28の内部(底板部28の上面と下面の間)に埋設してある。即ち、中間部C1c〜C4cと切断ブリッジB3〜B6は、底板部28の上面より下方かつ底板部28の下面より上方に位置している。さらにテール片C1b〜C8bはインシュレータ27の下面より一段低い位置に位置している。
底板部28には、接触片C1a〜C8aを露出させるための計8個のコンタクト露出孔29と、切断ブリッジB1〜B16を露出させるための計15個の円形孔からなるブリッジ露出孔30と、中間部C1c〜C4cの一部及び切断ブリッジB3〜B6の一部を露出させる貫通孔31と、が形成してある。図示するように貫通孔31は、左右方向(microSIMカードMCのメモリカード用コネクタ10に対する挿脱方向及びmicroSIMカードMCの厚み方向に対して直交する一方向)に並んだ接触片C1a〜C4a(第一接触片群)と当該一方向に並んだ接触片C5a〜C8a(第二接触片群)の間に位置し、かつ平面視で接触片C1a〜C5aと前後方向に並ぶ、前後長より左右長が長い単一の長孔である。下部ハウジング15の左側部の前端部を構成するカムバー支持部32の上面には下方に向かって凹むカムバー支持溝33が形成してある。下部ハウジング15の後端部を構成する後部壁34の左側部には前方に向かって突出するバネ支持用突起35が形成してある。さらに、図示するように左側部構成片17のスライダ支持部18は、底板部28(の左側縁部)に対して一段下方に位置している(左側部構成片17の上面と底板部28の上面の間には段差がある)。左側壁部19の右側面と底板部28の左側面とスライダ支持部18の上面とで囲まれた部分はスライド溝37を構成している。
射出一体成形時においては、左側部構成片17、右側部構成片22、及びコンタクトC1〜C8は、切断ブリッジB1〜B16によって互いに一体化しているので、左側部構成片17、右側部構成片22、及びコンタクトC1〜C8が射出一体以前の工程および射出一体成形工程(金型内)でばらけたり位置ずれしたりすることはない。
上記一次成形型を開いて該一次成形型から金属製一体部材16とインシュレータ27の一体物を取り出した後に、当該一体物を上記搬送装置を利用して前方の所定位置まで搬送する。そして、当該所定位置に配設した切断装置(図示略)によって、各ブリッジ露出孔30から露出する切断ブリッジB1、B2、B7〜B16を物理的に切断(切断ブリッジB1、B2、B7〜B16を二つに分断して、分断された二つの部位を互いに離間させる)し、かつ貫通孔31から露出する切断ブリッジB3〜B6を物理的に切断し、さらに各接続アーム部16c(のキャリア16aと反対側の端部)を物理的に切断すれば、図11、図12に示す下部ハウジング15が得られる。図示するように下部ハウジング15の内部空間は左側壁部19、右側壁部24、底板部28、後部壁34、及び後述するシェル60によって囲まれた収納部38となっている。
スライダ40はスライダ本体41と補強部材50を一体化したものである。
耐熱性の合成樹脂材からなるスライダ本体41は、前後方向に延び、かつ、スライド溝37に対して自身の下端部がスライド自在に係合する直線状部42と、直線状部42の後端部から右側に突出する当接用端部43と、を備えている。
直線状部42の上面の前部には、平面視で略ハート形状をなすハートカム溝44が凹設してある。ハートカム溝44はハート形凸部45の周囲に凹設した多数の段差を有する溝であり、その後部をなし前後方向に直線的に延びる初期係合部44aと、ハート形凸部45の左側に位置する押し込み時通過部44bと、ハート形凸部45の前端部に位置する保持部44cと、ハート形凸部45の右側に位置する戻り時通過部44d、とを有している。
スライダ本体41の後部の左半部には、後方に向かって延びる円柱状のバネ支持軸46が突設してある。当接用端部43の右端部には、平面視において前後方向に対して傾斜する平面であるカード当接部49が形成してある。
金属製の補強部材50は、スライダ本体41の後部に固定状態で取り付けてある。
スライダ40は、図6及び図14に示す初期位置と、図15に示す押込位置との間を、スライド溝37に沿って前後方向にスライド可能である。さらに、スライダ40の後端部と後部壁34の左側部との間には圧縮コイルバネS1が自由状態より縮んだ(弾性変形した)状態で配設してある。圧縮コイルバネS1の前部にはバネ支持軸46が挿入してあり、圧縮コイルバネS1の後端部はバネ支持用突起35と係止している。そのため圧縮コイルバネS1からスライダ40に対して常に前向きの付勢力が及ぶので、スライダ40に対して圧縮コイルバネS1以外の外力が及ばないとき、スライダ40は初期位置に位置する。
金属製のカムバー55は、下部ハウジング15とスライダ本体41を連係する部材である。カムバー55はその前後両端部に下向きに屈曲する前端係合突部56と後端係合突部57を有している。前端係合突部56は下部ハウジング15(カムバー支持部32)のカムバー支持溝33に対して回転可能に係合しており、後端係合突部57はスライダ本体41のハートカム溝44に相対移動可能に係合している。
スライダ40、カムバー55、及び圧縮コイルバネS1を収納する下部ハウジング15の上部はシェル60によって覆われている。
金属板のプレス成形品であるシェル60の左右両側壁にはそれぞれ3つの係止孔61が穿設してある。シェル60の天井部の後端には下方に向かって延びる垂下片62が突設してあり、垂下片62には係止孔63が穿設してある。シェル60は、その天井面によって下部ハウジング15の上面を覆い、かつ係止孔61及び係止孔63を下部ハウジング15の左側係止突起20、右側係止突起25、及び後部係止突起34aに対してそれぞれ係合することにより下部ハウジング15に対して装着する。さらにシェル60の天井部の前側の左側角部近傍には、プレス成形時に成形されるカムバー付勢用板バネ64が設けてある。カムバー付勢用板バネ64は、その基端部(前端部)から後斜め下方に向かって延びる片持ち式の板バネであり、カムバー付勢用板バネ64が自由状態にあるとき、カムバー付勢用板バネ64はシェル60の天井面より下方に位置する。そのためシェル60を下部ハウジング15に装着すると、カムバー付勢用板バネ64がカムバー55を常に下部ハウジング15の底面側(下向き)に向けて付勢するため、カムバー55の前端係合突部56とカムバー支持溝33の係合状態、及び、後端係合突部57とハートカム溝44の係合状態が常に維持される。さらにシェル60の左右両側壁の前端下縁部には、内向き水平のテール片65(接地用テール片)(固定部)がそれぞれ突設してある。左右のテール片65は左右の逃げ用凹部27a内に位置しており、テール片65の下面はテール片C1b〜C8bの下面と略同一平面上に位置している。
メモリカード用コネクタ10は、回路基板CB(図1の仮想線参照)の上面(回路形成面)に実装する。具体的には、メモリカード用コネクタ10の上方に位置する吸引手段(図示略)によってシェル60の上面を吸着し、吸引手段を上方へ移動せることによりメモリカード用コネクタ10を一旦上方へ移動させる。そして該吸引手段によりメモリカード用コネクタ10を回路基板CBの上方に移動させた後に、画像認識手段(図示略)によってテール片C1b〜C8bの位置を確認しながら、テール片C1b〜C8bを回路基板CB上の回路パターン(図示略)に塗布したはんだペースト上に載置し、さらにシェル60の左右のテール片65を回路基板CB上の接地パターン(図示略)に塗布したはんだペースト上に載置する。そしてリフロー炉において各はんだペーストを加熱溶融(リフロー)し、テール片C1b〜C8b及びテール片65を上記各パターンにはんだ付けする。
メモリカード用コネクタ10の回路基板CBに対する実装状態を確実にするために、メモリカード用コネクタ10はリフローによる熱が印加された後に、空冷により常温になる。
インシュレータ27を正規形状(設計形状)通りに成形したときにインシュレータ27に残留応力が発生すると、その後の熱変化(リフローによって高温化したり、空冷によって常温に戻ること)によって残留応力が解放され、底板部28の前部(底板部28の貫通孔31より接触片C1a〜C4a側に位置する部位)と底板部28の後部(底板部28の貫通孔31より接触片C5a〜C8a側に位置する部位)が(正規形状から)変形しようとする。さらに、上記熱変化によって生じる底板部28の前部と後部の熱収縮の程度(変形量)には差が生じ易い。そのため、仮にインシュレータ27の底板部28に貫通孔31を形成しない場合は、(残留応力の解放や熱収縮の差に起因して生じる)底板部28の前部と後部の変形しようとする力によって、底板部28(インシュレータ27)全体が大きく反ったり、捩れるおそれがある。
しかし本実施形態では、底板部28の前部と後部が(正規形状から)変形しようとする力を、底板部28に形成した(底板部28の前部と後部の間に位置する)貫通孔31で吸収する(逃がす)ので、底板部28の前部と後部の変形しようとする力が互いに影響し合うことがない。そのため、インシュレータ27(メモリカード用コネクタ10)全体の反りや捩れを抑制できる。
さらにコンタクトC1〜C8の接触片C1a〜C8a及びテール片C1b〜C8bを除く部分の一部(例えば、中間部C1c〜C4cの一部と切断ブリッジB3〜B6の一部)が底板部28の内部(底板部28の上面と下面の間)に埋設してあるので、仮に貫通孔31を形成することなく底板部28を薄型化すると、底板部28の成形時(射出一体成形時に)に貫通孔31に対応する部分を構成する合成樹脂材料が中間部C1c〜C4cの周辺に回り込み難くなるので、合成樹脂材料が硬化したときに(底板部28の)当該部分に発生する残留応力にばらつきが出てしまう(隣接する中間部C1c〜C4cの間に位置する部位の残留応力と、中間部C1c〜C4cの周辺で硬化した部位の残留応力に差が出てしまう)。そのため貫通孔31を形成することなく底板部28を薄型化すると、下部ハウジング15の製造時点で底板部28に反りや捩れが生じるおそれがある。しかし本実施形態のように、中間部C1c〜C4cの一部及び切断ブリッジB3〜B6の一部を露出させる貫通孔31を底板部28に形成する場合は、このような問題が発生しないので、下部ハウジング15の製造時点で底板部28に反りや捩れが生じるおそれが小さくなる。
従って、底板部28(インシュレータ27)の後端部側にテール片C1b〜C8bが位置する一方で、底板部28(インシュレータ27)の前端部側にシェル60のテール片65が位置するために、テール片C1b〜C8bとテール片65が前後方向(microSIMカードMCの挿脱方向)に大きく離間しているものの、テール片C1b〜C8bと回路パターンの間、及び、テール片65と接地パターンの間ではんだ付け不良が発生するおそれは小さい。
次に以上構成のメモリカード用コネクタ10にmicroSIMカードMCを挿脱するときの動作について説明する。
平面視略矩形をなすmicroSIMカードMCの下面には8つの端子MC1が形成してある。またmicroSIMカードMCの4つの角部のうちの一つ(左後方の角部)は、当該角部を通る対角線に対して略直交する直線によって切り落とされた(切り欠かれた)切断角部MC2を構成している。
メモリカード用コネクタ10にmicroSIMカードMCを挿入していない状態においては、圧縮コイルバネS1の付勢力によってスライダ40は初期位置に位置し、さらにカムバー55の後端係合突部57がハートカム溝44の初期係合部44aに係合する(図6、図14参照)。
この状態で正規姿勢(端子MC1が下方に位置し、左側後方の角部が切断角部MC2となる姿勢)としたmicroSIMカードMCを収納部38の前面開口部から収納部38内に挿入し、microSIMカードMCをさらに後方に押し込むと、切断角部MC2がスライダ本体41(当接用端部43)のカード当接部49に当接するので、microSIMカードMCとスライダ40が一体化する(図14参照)。
この状態からmicroSIMカードMCをさらに後方に押圧すると、スライダ40が圧縮コイルバネS1の付勢力に抗して(圧縮コイルバネS1を圧縮方向に弾性変形させながら。図15では圧縮コイルバネS1の図示は省略)後方にスライドするので、初期係合部44aの中央部に係合していたカムバー55の後端係合突部57が初期係合部44aの前部及び押し込み時通過部44bを前方に向かって移動する(初期係合部44aの前部と押し込み時通過部44bに対して順に係合する)。そして、カムバー55の後端係合突部57が押し込み時通過部44bの前端部(ハート形凸部45の前方に位置する部分)まで移動したときに、スライダ40は押込位置に到達する(図15参照)。
スライダ40が押込位置に到達した後にmicroSIMカードMCに対する後方への押圧力を解除すると、圧縮コイルバネS1の付勢力によって前方に押圧された(押し戻された)スライダ本体41の保持部44cがカムバー55の後端係合突部57に対して係合するので、スライダ40は押込位置に保持される(スライダ40の前方へのスライドが規制される)。スライダ40が押込位置に到達すると、microSIMカードMCの各端子MC1が対応するコンタクトC1〜C8の接触片C1a〜C8aとそれぞれ接触するので、コンタクトC1〜C8(テール片C1b〜C8b)を介して、メモリカード用コネクタ10に挿入したmicroSIMカードMCと回路基板CBが電気的に導通する。
スライダ40が押込位置に保持された状態で、microSIMカードMCを再度圧縮コイルバネS1の付勢力に抗して後方に押し込んだ後にmicroSIMカードMCに対する後方への押圧力を解除すると、圧縮コイルバネS1による前向きの付勢力により後端係合突部57が保持部44cから後方に離れた後に戻り時通過部44d側に移動し(係合し)、戻り時通過部44dを通って初期係合部44aの中央部まで自動的に移動する。従って、スライダ40は初期位置に復帰する(図14参照)。そのためmicroSIMカードMCを手で掴んでメモリカード用コネクタ10から前方に引き出すことが可能になる。
以上説明したように本実施形態のメモリカード用コネクタ10は底板部28に反りや捩れが生じ難いため、コンタクトC1〜C8のテール片C1b〜C8b及びシェル60のテール片65と回路基板CBとの間のはんだ付け不良を発生し難くすることが可能である。
またシェル60が回路基板CBの接地パターンと接地導通するので、コンタクトC1〜C8に外部ノイズが入ったり、コンタクトC1〜C8のノイズがメモリカード用コネクタ10の外部に漏れるのを効果的に抑制できる。
本発明は上記実施形態に限定されるものではなく、様々な変形を施しながら実施可能である。
例えば、micoSIMカードMC以外のメモリカード(例えば、microSDカード、SIMカードなど)を挿脱するためのメモリカード用コネクタに本発明を適用してもよい。
さらに、メモリカード用コネクタ10を携帯端末以外の機器(例えば、PDA、パーソナルコンピュータ、デジタルカメラ、デジタルビデオカメラ等)に実装してもよい。
また下部ハウジング15に設けるコンタクトの数は複数であれば、8本以外であってもよい。コンタクトの数をいくつにする場合であっても、一方のコンタクト(群)の接触片を底板部28の前部側に位置させ、他方のコンタクト(群)の接触片を底板部28の後部側に位置させ、さらに前側の接触片(群)と後方の接触片(群)の間に位置しかつ前方の全ての接触片(群)及び後方の全ての接触片(群)と前後方向に並ぶ(左右寸法が長い)単一の貫通孔31を底板部28に形成する。
また、シェル60を省略した上で、インシュレータ27の前端部に固定した固定部(インシュレータに固定した固定金具や、コンタクトの前端部から突出する(テール片C1b〜C8bと反対側の)テール片など)を回路基板CBにはんだ付け(実装)してもよい。
さらにコンタクトC1〜C8のテール片C1b〜C8bをインシュレータ27の前端部側に位置させ、固定部(シェル60のテール片65、固定金具、コンタクトのテール片C1b〜C8bと反対側のテール片など)をインシュレータ27の後端部側に位置させてもよい。
10 メモリカード用コネクタ
15 下部ハウジング
16 金属製一体部材
16a キャリア
16b 搬送用孔
16c 接続アーム部
17 左側部構成片
18 スライダ支持部
19 左側壁部
20 左側係止突起
22 右側部構成片
23 底部構成部
24 右側壁部
25 右側係止突起
27 インシュレータ
27a 逃げ用凹部
28 底板部
29 コンタクト露出孔
30 ブリッジ露出孔
31 貫通孔
32 カムバー支持部
33 カムバー支持溝
34 後部壁
34a 後部係止突起
35 バネ支持用突起
37 スライド溝
38 収納部
40 スライダ
41 スライダ本体
42 直線状部
43 当接用端部
44 ハートカム溝
44a 初期係合部
44b 押し込み時通過部
44c 保持部
44d 戻り時通過部
45 ハート形凸部
46 バネ支持軸
49 正規挿入時当接部
55 カムバー
56 前端係合突部
57 後端係合突部
60 シェル
61 係止孔
62 垂下片
63 係止孔
64 カムバー付勢用板バネ
65 テール片(接地用テール片)(固定部)
B1〜B16 切断ブリッジ
C1〜C8 コンタクト
C1a〜C8a 接触片
C1b〜C8b テール片(信号用テール片)
C1c〜C4c 中間部
CB 回路基板
MC microSIMカード(メモリカード)
MC1 端子
MC2 切断角部
S1 圧縮コイルバネ

Claims (3)

  1. 回路基板と対向する底板部を有する樹脂製のインシュレータ
    上記インシュレータに取り付けた、上記回路基板に実装可能な固定部;及び
    上記インシュレータに支持された、上記インシュレータの内部空間に挿入したメモリカードの端子と電気的に導通しかつ上記内部空間内に位置する接触片、及び上記回路基板の回路パターンに実装可能な信号用テール片、をそれぞれ有する金属製の第1のコンタクト群及び第2のコンタクト群;
    を備え
    上記インシュレータの上記挿脱方向の一方の端部側に上記固定部と上記信号用テール片の一方が配設され、かつ上記インシュレータの上記挿脱方向の他方の端部側に上記固定部と上記信号用テール片の他方が配設され
    上記第1のコンタクト群の上記接触片が、上記メモリカードの上記内部空間に対する挿脱方向及び該メモリカードの厚み方向に対して直交する一方向に並びかつ上記固定部と上記信号用テール片の間に位置する第一接触片群を構成し、
    上記第2のコンタクト群の上記接触片が、上記一方向に並ぶと共に上記第一接触片群と上記挿脱方向に対向しかつ上記固定部と上記信号用テール片の間に位置する第二接触片群を構成し、
    上記底板部における上記第一接触片群と上記第二接触片群の間に、上記挿脱方向の長さに比べて上記第一接触片群が並ぶ方向の長さが長い長孔で且つ単一の貫通孔形成され、
    上記長い方向の貫通孔の長さは、上記第一接触片群のうちの両端の第一接触片間の離間距離及び上記第二接触片群のうちの両端の第二接触片間の離間距離より大きく、
    上記長い方向の貫通孔の両端は、上記底板部において上記第一接触片群のうちの両端の第一接触片よりも外側に位置する、
    ことを特徴とするメモリカード用コネクタ。
  2. 請求項1記載のメモリカード用コネクタにおいて、
    上記インシュレータに取り付けた、上記メモリカードを挿脱可能な収納部を上記底板部との間で構成する金属製のシェルを備え、
    上記固定部が、上記シェルに設けた、上記回路基板の接地パターンに実装可能な接地用テール片であるメモリカード用コネクタ。
  3. 請求項1または2記載のメモリカード用コネクタにおいて、
    上記コンタクトが、上記接触片と上記信号用テール片の間に位置しかつ上記底板部の内部に位置する中間部を備え、
    上記貫通孔が上記中間部の一部を露出させるメモリカード用コネクタ。
JP2013034959A 2013-02-25 2013-02-25 メモリカード用コネクタ Expired - Fee Related JP5774039B2 (ja)

Priority Applications (2)

Application Number Priority Date Filing Date Title
JP2013034959A JP5774039B2 (ja) 2013-02-25 2013-02-25 メモリカード用コネクタ
KR1020130054339A KR101437527B1 (ko) 2013-02-25 2013-05-14 메모리카드용 커넥터

Applications Claiming Priority (1)

Application Number Priority Date Filing Date Title
JP2013034959A JP5774039B2 (ja) 2013-02-25 2013-02-25 メモリカード用コネクタ

Publications (2)

Publication Number Publication Date
JP2014165019A JP2014165019A (ja) 2014-09-08
JP5774039B2 true JP5774039B2 (ja) 2015-09-02

Family

ID=51615458

Family Applications (1)

Application Number Title Priority Date Filing Date
JP2013034959A Expired - Fee Related JP5774039B2 (ja) 2013-02-25 2013-02-25 メモリカード用コネクタ

Country Status (2)

Country Link
JP (1) JP5774039B2 (ja)
KR (1) KR101437527B1 (ja)

Families Citing this family (1)

* Cited by examiner, † Cited by third party
Publication number Priority date Publication date Assignee Title
CN105826730A (zh) * 2015-09-09 2016-08-03 维沃移动通信有限公司 一种卡组合连接装置及电子设备

Family Cites Families (7)

* Cited by examiner, † Cited by third party
Publication number Priority date Publication date Assignee Title
KR100741009B1 (ko) * 2005-12-16 2007-07-20 한국몰렉스 주식회사 이동통신단말기의 듀얼카드형 커넥터
JP2007273233A (ja) * 2006-03-31 2007-10-18 Fujitsu Ltd ソケット、ソケットを有する回路部品及び回路部品を備える情報処理装置
JP5044347B2 (ja) 2007-09-25 2012-10-10 日本圧着端子製造株式会社 カード用コネクタ
JP2010192407A (ja) * 2009-02-20 2010-09-02 Alps Electric Co Ltd カード用コネクタおよびその製造方法
JP5457888B2 (ja) 2010-03-04 2014-04-02 第一電子工業株式会社 カードコネクタ及びカードコネクタの製造方法
JP2012114089A (ja) 2010-11-22 2012-06-14 Hon Hai Precision Industry Co Ltd カード用コネクタ
JP5582995B2 (ja) * 2010-12-14 2014-09-03 新光電気工業株式会社 ソケット

Also Published As

Publication number Publication date
KR101437527B1 (ko) 2014-10-30
JP2014165019A (ja) 2014-09-08

Similar Documents

Publication Publication Date Title
JP5808763B2 (ja) メモリカード用コネクタ
JP5735934B2 (ja) メモリカード用コネクタ
US9318837B2 (en) Electrical connector
JP4918105B2 (ja) トレイ式カード用コネクタ
KR20150030624A (ko) 카드 커넥터
US20160248184A1 (en) Card holding member and card connector
TWI618306B (zh) 電連接器及其製造方法
CN204167601U (zh) 卡连接器
JP2017107711A (ja) コネクタ
JP5774039B2 (ja) メモリカード用コネクタ
US9004934B2 (en) Card edge connector
CN205178054U (zh) 卡用连接器
JP2011040253A (ja) Icカード用コネクタ
KR20130032518A (ko) Fpc 커넥터
JP2018018605A (ja) 端子
KR101326533B1 (ko) 메모리 카드용 커넥터
WO2015190181A1 (ja) メモリカード用コネクタ
JP5980140B2 (ja) カードコネクタ
JP5993672B2 (ja) 電気コネクタ
CN107799944A (zh) 卡连接器
KR101086150B1 (ko) 메모리 카드 커넥터
JP2004273338A (ja) カード用コネクタ
KR100703045B1 (ko) 메모리카드 커넥터 및 그 조립방법
CN119481824A (zh) 一种卡罩及其卡连接器
TWI506898B (zh) 電子卡連接器

Legal Events

Date Code Title Description
A621 Written request for application examination

Free format text: JAPANESE INTERMEDIATE CODE: A621

Effective date: 20141126

RD04 Notification of resignation of power of attorney

Free format text: JAPANESE INTERMEDIATE CODE: A7424

Effective date: 20150130

A977 Report on retrieval

Free format text: JAPANESE INTERMEDIATE CODE: A971007

Effective date: 20150410

A131 Notification of reasons for refusal

Free format text: JAPANESE INTERMEDIATE CODE: A131

Effective date: 20150414

A521 Request for written amendment filed

Free format text: JAPANESE INTERMEDIATE CODE: A523

Effective date: 20150526

TRDD Decision of grant or rejection written
A01 Written decision to grant a patent or to grant a registration (utility model)

Free format text: JAPANESE INTERMEDIATE CODE: A01

Effective date: 20150616

A61 First payment of annual fees (during grant procedure)

Free format text: JAPANESE INTERMEDIATE CODE: A61

Effective date: 20150630

R150 Certificate of patent or registration of utility model

Ref document number: 5774039

Country of ref document: JP

Free format text: JAPANESE INTERMEDIATE CODE: R150

S111 Request for change of ownership or part of ownership

Free format text: JAPANESE INTERMEDIATE CODE: R313111

R350 Written notification of registration of transfer

Free format text: JAPANESE INTERMEDIATE CODE: R350

LAPS Cancellation because of no payment of annual fees