JP5773000B2 - ハブユニット軸受 - Google Patents

ハブユニット軸受 Download PDF

Info

Publication number
JP5773000B2
JP5773000B2 JP2014025672A JP2014025672A JP5773000B2 JP 5773000 B2 JP5773000 B2 JP 5773000B2 JP 2014025672 A JP2014025672 A JP 2014025672A JP 2014025672 A JP2014025672 A JP 2014025672A JP 5773000 B2 JP5773000 B2 JP 5773000B2
Authority
JP
Japan
Prior art keywords
cut
ring member
raised
side cover
outer ring
Prior art date
Legal status (The legal status is an assumption and is not a legal conclusion. Google has not performed a legal analysis and makes no representation as to the accuracy of the status listed.)
Active
Application number
JP2014025672A
Other languages
English (en)
Other versions
JP2014129880A (ja
Inventor
吉男 金子
吉男 金子
Current Assignee (The listed assignees may be inaccurate. Google has not performed a legal analysis and makes no representation or warranty as to the accuracy of the list.)
NSK Ltd
Original Assignee
NSK Ltd
Priority date (The priority date is an assumption and is not a legal conclusion. Google has not performed a legal analysis and makes no representation as to the accuracy of the date listed.)
Filing date
Publication date
Application filed by NSK Ltd filed Critical NSK Ltd
Priority to JP2014025672A priority Critical patent/JP5773000B2/ja
Publication of JP2014129880A publication Critical patent/JP2014129880A/ja
Application granted granted Critical
Publication of JP5773000B2 publication Critical patent/JP5773000B2/ja
Active legal-status Critical Current
Anticipated expiration legal-status Critical

Links

Images

Classifications

    • FMECHANICAL ENGINEERING; LIGHTING; HEATING; WEAPONS; BLASTING
    • F16ENGINEERING ELEMENTS AND UNITS; GENERAL MEASURES FOR PRODUCING AND MAINTAINING EFFECTIVE FUNCTIONING OF MACHINES OR INSTALLATIONS; THERMAL INSULATION IN GENERAL
    • F16CSHAFTS; FLEXIBLE SHAFTS; ELEMENTS OR CRANKSHAFT MECHANISMS; ROTARY BODIES OTHER THAN GEARING ELEMENTS; BEARINGS
    • F16C33/00Parts of bearings; Special methods for making bearings or parts thereof
    • F16C33/72Sealings
    • F16C33/723Shaft end sealing means, e.g. cup-shaped caps or covers
    • FMECHANICAL ENGINEERING; LIGHTING; HEATING; WEAPONS; BLASTING
    • F16ENGINEERING ELEMENTS AND UNITS; GENERAL MEASURES FOR PRODUCING AND MAINTAINING EFFECTIVE FUNCTIONING OF MACHINES OR INSTALLATIONS; THERMAL INSULATION IN GENERAL
    • F16CSHAFTS; FLEXIBLE SHAFTS; ELEMENTS OR CRANKSHAFT MECHANISMS; ROTARY BODIES OTHER THAN GEARING ELEMENTS; BEARINGS
    • F16C33/00Parts of bearings; Special methods for making bearings or parts thereof
    • F16C33/72Sealings
    • F16C33/76Sealings of ball or roller bearings
    • F16C33/80Labyrinth sealings
    • F16C33/805Labyrinth sealings in addition to other sealings, e.g. dirt guards to protect sealings with sealing lips
    • FMECHANICAL ENGINEERING; LIGHTING; HEATING; WEAPONS; BLASTING
    • F16ENGINEERING ELEMENTS AND UNITS; GENERAL MEASURES FOR PRODUCING AND MAINTAINING EFFECTIVE FUNCTIONING OF MACHINES OR INSTALLATIONS; THERMAL INSULATION IN GENERAL
    • F16CSHAFTS; FLEXIBLE SHAFTS; ELEMENTS OR CRANKSHAFT MECHANISMS; ROTARY BODIES OTHER THAN GEARING ELEMENTS; BEARINGS
    • F16C19/00Bearings with rolling contact, for exclusively rotary movement
    • F16C19/02Bearings with rolling contact, for exclusively rotary movement with bearing balls essentially of the same size in one or more circular rows
    • F16C19/14Bearings with rolling contact, for exclusively rotary movement with bearing balls essentially of the same size in one or more circular rows for both radial and axial load
    • F16C19/18Bearings with rolling contact, for exclusively rotary movement with bearing balls essentially of the same size in one or more circular rows for both radial and axial load with two or more rows of balls
    • F16C19/181Bearings with rolling contact, for exclusively rotary movement with bearing balls essentially of the same size in one or more circular rows for both radial and axial load with two or more rows of balls with angular contact
    • F16C19/183Bearings with rolling contact, for exclusively rotary movement with bearing balls essentially of the same size in one or more circular rows for both radial and axial load with two or more rows of balls with angular contact with two rows at opposite angles
    • F16C19/184Bearings with rolling contact, for exclusively rotary movement with bearing balls essentially of the same size in one or more circular rows for both radial and axial load with two or more rows of balls with angular contact with two rows at opposite angles in O-arrangement
    • F16C19/186Bearings with rolling contact, for exclusively rotary movement with bearing balls essentially of the same size in one or more circular rows for both radial and axial load with two or more rows of balls with angular contact with two rows at opposite angles in O-arrangement with three raceways provided integrally on parts other than race rings, e.g. third generation hubs
    • FMECHANICAL ENGINEERING; LIGHTING; HEATING; WEAPONS; BLASTING
    • F16ENGINEERING ELEMENTS AND UNITS; GENERAL MEASURES FOR PRODUCING AND MAINTAINING EFFECTIVE FUNCTIONING OF MACHINES OR INSTALLATIONS; THERMAL INSULATION IN GENERAL
    • F16CSHAFTS; FLEXIBLE SHAFTS; ELEMENTS OR CRANKSHAFT MECHANISMS; ROTARY BODIES OTHER THAN GEARING ELEMENTS; BEARINGS
    • F16C2326/00Articles relating to transporting
    • F16C2326/01Parts of vehicles in general
    • F16C2326/02Wheel hubs or castors
    • FMECHANICAL ENGINEERING; LIGHTING; HEATING; WEAPONS; BLASTING
    • F16ENGINEERING ELEMENTS AND UNITS; GENERAL MEASURES FOR PRODUCING AND MAINTAINING EFFECTIVE FUNCTIONING OF MACHINES OR INSTALLATIONS; THERMAL INSULATION IN GENERAL
    • F16CSHAFTS; FLEXIBLE SHAFTS; ELEMENTS OR CRANKSHAFT MECHANISMS; ROTARY BODIES OTHER THAN GEARING ELEMENTS; BEARINGS
    • F16C33/00Parts of bearings; Special methods for making bearings or parts thereof
    • F16C33/72Sealings
    • F16C33/76Sealings of ball or roller bearings
    • F16C33/78Sealings of ball or roller bearings with a diaphragm, disc, or ring, with or without resilient members
    • F16C33/7869Sealings of ball or roller bearings with a diaphragm, disc, or ring, with or without resilient members mounted with a cylindrical portion to the inner surface of the outer race and having a radial portion extending inward
    • F16C33/7879Sealings of ball or roller bearings with a diaphragm, disc, or ring, with or without resilient members mounted with a cylindrical portion to the inner surface of the outer race and having a radial portion extending inward with a further sealing ring
    • F16C33/7883Sealings of ball or roller bearings with a diaphragm, disc, or ring, with or without resilient members mounted with a cylindrical portion to the inner surface of the outer race and having a radial portion extending inward with a further sealing ring mounted to the inner race and of generally L-shape, the two sealing rings defining a sealing with box-shaped cross-section
    • FMECHANICAL ENGINEERING; LIGHTING; HEATING; WEAPONS; BLASTING
    • F16ENGINEERING ELEMENTS AND UNITS; GENERAL MEASURES FOR PRODUCING AND MAINTAINING EFFECTIVE FUNCTIONING OF MACHINES OR INSTALLATIONS; THERMAL INSULATION IN GENERAL
    • F16CSHAFTS; FLEXIBLE SHAFTS; ELEMENTS OR CRANKSHAFT MECHANISMS; ROTARY BODIES OTHER THAN GEARING ELEMENTS; BEARINGS
    • F16C33/00Parts of bearings; Special methods for making bearings or parts thereof
    • F16C33/72Sealings
    • F16C33/76Sealings of ball or roller bearings
    • F16C33/78Sealings of ball or roller bearings with a diaphragm, disc, or ring, with or without resilient members
    • F16C33/7896Sealings of ball or roller bearings with a diaphragm, disc, or ring, with or without resilient members with two or more discrete sealings arranged in series
    • FMECHANICAL ENGINEERING; LIGHTING; HEATING; WEAPONS; BLASTING
    • F16ENGINEERING ELEMENTS AND UNITS; GENERAL MEASURES FOR PRODUCING AND MAINTAINING EFFECTIVE FUNCTIONING OF MACHINES OR INSTALLATIONS; THERMAL INSULATION IN GENERAL
    • F16CSHAFTS; FLEXIBLE SHAFTS; ELEMENTS OR CRANKSHAFT MECHANISMS; ROTARY BODIES OTHER THAN GEARING ELEMENTS; BEARINGS
    • F16C41/00Other accessories, e.g. devices integrated in the bearing not relating to the bearing function as such
    • F16C41/007Encoders, e.g. parts with a plurality of alternating magnetic poles

Landscapes

  • Engineering & Computer Science (AREA)
  • General Engineering & Computer Science (AREA)
  • Mechanical Engineering (AREA)
  • Rolling Contact Bearings (AREA)
  • Sealing Of Bearings (AREA)

Description

本発明は、ハブユニット軸受に関し、より詳細には、外輪部材及び内輪部材の軸端部を覆う側面カバーを備えるハブユニット軸受に関する。
従来、車輪の回転速度を検出するため、転がり軸受ユニットに回転速度検出装置を組み込んだエンコーダ付車輪支持用転がり軸受ユニットが知られている。このようなエンコーダ付車輪支持用転がり軸受ユニットにおいては、外部から異物が侵入するのを防止ため、外部空間とエンコーダが存在する空間とを仕切るカバーが装着されている。このカバーには、洗車時に浸入した水や、雨天走行時に路面から跳ね上がる泥水等を排出するための水抜き孔が設けられている(例えば、特許文献1、2参照)。
特開2005−009525号公報 特開2008−175382号公報
上記特許文献1、2に記載された転がり軸受ユニットのカバーは、円筒部と、円筒部の内端縁から径方向内方に折り曲げられた円輪部とからなり、円筒部が外輪などに嵌合固定される。カバーに設けられている水抜き孔は、円筒部の下部に形成された単純な孔であり、内部に浸入した水を排出する機能を有するものの、洗車時などに水抜き孔近傍に水がかかると、逆にこの水抜き孔から水が内部に浸入する可能性があった。また、水抜き孔の位置によっては、嵌合部の強度を低下させる可能性があり改善の余地があった。
本発明は、前述した課題に鑑みてなされたものであり、その目的は、側面カバーの強度を弱めることなく、且つ水抜き孔近傍に水がかかっても、水抜き孔から内部に水が浸入し難い水抜き孔を有する側面カバーを備えたハブユニット軸受を提供することにある。
本発明の上記目的は、下記の構成により達成される。
(1)外輪部材と、複数の転動体を介して外輪部材に対して相対回転可能とされた内輪部材と、外輪部材及び内輪部材の軸方向インボード側端部を覆う側面カバーと、を備えるハブユニット軸受であって、側面カバーは、円盤部と、円盤部の外周縁部から軸方向アウトボード側に折り曲げ形成されて外輪部材に嵌合固定される円筒部と、を有し、円筒部は、円筒部の径方向内側に向かって切り起こされ、側面カバーの内外を連通する水抜き孔が形成された切起こし部を備え、切起こし部は、径方向内側に向くように、円筒部の一部が、円周方向に沿って形成された2本の切断線で切断されて切り起こされ、切起こし部の軸方向両側に水抜き孔が形成され、切起こし部の軸方向アウトボード側端面が外輪部材の軸方向インボード側端面に当接して、切起こし部の軸方向アウトボード側に形成された水抜き孔が閉塞され、切起こし部の軸方向インボード側に形成された水抜き孔は、円筒部の軸方向インボード側寄りの径方向内側に、円盤部と対向した状態で開口することを特徴とするハブユニット軸受。
(2)外輪部材と、複数の転動体を介して外輪部材に対して相対回転可能とされた内輪部材と、外輪部材及び内輪部材の軸方向インボード側端部を覆う側面カバーと、を備えるハブユニット軸受であって、側面カバーは、円盤部と、円盤部の外周縁部から軸方向アウトボード側に折り曲げ形成されて外輪部材に嵌合固定される円筒部と、を有し、円筒部は、円筒部の径方向内側に向かって切り起こされ、側面カバーの内外を連通する水抜き孔が形成された切起こし部を備え、切起こし部は、径方向内側に向くように、円筒部の一部が、円周方向に沿って形成された1本の切断線で切断されて切り起こされ、切起こし部の軸方向アウトボード側が円筒部に連続すると共に、軸方向インボード側が円筒部から切り離されて水抜き孔が形成され、水抜き孔は切起こし部の軸方向インボード側のみに形成され、水抜き孔は、円筒部の軸方向インボード側寄りの径方向内側に、円盤部と対向した状態で開口することを特徴とするハブユニット軸受。
(3)切起こし部は、円盤部側から視た正面視において、円盤部の中心を通り且つ上下方向に沿った垂線を0°としたとき、垂線を基準として両側35°の範囲内に配置されることを特徴とする(1)又は(2)に記載のハブユニット軸受。
(4)ハブユニット軸受は、内輪部材の回転を検出可能なエンコーダを備えることを特徴とする(1)〜(3)のいずれかに記載のハブユニット軸受。
本発明のハブユニット軸受によれば、円盤部、及び円盤部の外周縁部から軸方向に折り曲げ形成された円筒部からなる側面カバーを備え、円筒部には、円筒部の径方向内側、又は径方向外側に向かって切り起こされた切起こし部によって、側面カバーの内外を連通する水抜き孔が設けられている。切起こし部の一部は円筒部に繋がっているので、円筒部の強度が維持される。また、水抜き孔が外部に直接開口していないので、水抜き孔近傍に水がかかっても、外部からの水浸入を効果的に防止することができる。
また、本発明のハブユニット軸受によれば、切起こし部は、径方向内側に向くように、円筒部の一部が、円周方向に沿って形成された2本の切断線で切断されて切り起こされ、切起こし部の軸方向両側に水抜き孔が形成され、切起こし部の軸方向アウトボード側端面が外輪部材の軸方向インボード側端面に当接して、切起こし部の軸方向アウトボード側に形成された水抜き孔が閉塞され、切起こし部の軸方向インボード側に形成された水抜き孔は、円筒部の軸方向インボード側寄りの径方向内側に、円盤部と対向した状態で開口するため、切起こし部の両側に設けられた2つの水抜き孔の内、一方の水抜き孔が外輪部材によって塞がれることになる。そのため、側面カバー内への水などの浸入を更に防止することができる。
また、本発明のハブユニット軸受によれば、切起こし部は、径方向内側に向くように、円筒部の一部が、円周方向に沿って形成された1本の切断線で切断されて切り起こされ、切起こし部の軸方向アウトボード側が円筒部に連続すると共に、軸方向インボード側が円筒部から切り離されて水抜き孔が形成され、水抜き孔は切起こし部の軸方向インボード側のみに形成され、水抜き孔は、円筒部の軸方向インボード側寄りの径方向内側に、円盤部と対向した状態で開口するため、切起こし部の軸方向一方側にのみ水抜き孔が形成されることになる。そのため、側面カバー内への水などの浸入を更に防止することができる。
本発明に係るハブユニット軸受の第1実施形態の断面図である。 図1のA部の拡大図である。 図2に示す側面カバーのB−B線断面図である。 図2に示す側面カバーの水抜き孔の周辺の拡大斜視図である。 水抜き孔の位相を示す概略図である。 第1実施形態の側面カバーの第1変形例の要部拡大断面図である。 第1実施形態の側面カバーの第2変形例の要部拡大断面図である。 第1実施形態の側面カバーの第3変形例の要部拡大断面図である。 第1実施形態の側面カバーの第4変形例の要部拡大断面図である。 第1実施形態の側面カバーの第5変形例の要部拡大断面図である。 本発明に係るハブユニット軸受の第2実施形態の断面図である。 (a)は図11に示す側面カバーの下面図、(b)は図11に示す側面カバーの左側面図である。 第2実施形態の側面カバーの変形例の下面図である。 本発明に係るハブユニット軸受の第3実施形態の要部拡大断面図である。
以下、本発明に係るハブユニット軸受の各実施形態について、図面に基づいて詳細に説明する。
(第1実施形態)
まず、図1〜図10を参照して、本発明に係るハブユニット軸受の第1実施形態について説明する。
本実施形態のハブユニット軸受10は、駆動輪用のハブユニット軸受であり、図1に示すように、外輪部材11と、内輪部材であるハブ輪12と、別体として形成されハブ輪12に一体的に固定された内輪13と、複数の転動体である玉14と、密封装置15,16と、回転検出センサユニット17と、側面カバー18と、を備える。
外輪部材11は、不図示の車体に固定されるナックル26の保持孔26aに内嵌し、外輪部材11の外周面に設けられる懸架用フランジ11fがナックル26にボルト26bで締結されることにより、ナックル26に結合固定される。
ハブ輪12は、略円柱形状の部材であり、アウトボード側端部(図中左側)に外周面から半径方向外方に展開されたフランジ部12bが形成されている。フランジ部12bには、不図示のホイール及びブレーキロータ等を締結するためのハブボルト19が周方向に略等間隔で複数植設される。また、ハブ輪12の内周面には、不図示の等速ジョイントのスプライン軸とスプライン結合するスプライン溝12eが形成されている。
ハブ輪12のインボード側端部(図中右側)には、小径段部12dが形成されており、内輪13を小径段部12dに外嵌した後、小径段部12dの端部をカシメ加工することにより、内輪13がハブ輪12に結合固定される。また、カシメ加工によって内輪13を押圧することで、適正な与圧が付与されている。
外輪部材11の内周面には、互いに平行な2列の外輪軌道面11a,11aが離間して形成され、また、ハブ輪12及び内輪13の外周面には、それぞれ内輪軌道面12a,13aが、外輪部材11の各外輪軌道面11aに対応して形成されている。内輪軌道面12a,13a及び外輪軌道面11a,11aで構成される軌道には、保持器20によって転動自在に保持された複数の玉14が円周方向に等間隔に配設されている。
複数の玉14は、互いに所定の角度をなして外輪軌道面11a,11a及び内輪軌道面12a,13aに接触して、背面組み合わせ型(DB)軸受が構成される。これによって、ハブ輪12は、外輪部材11に対して軸芯CLを中心として回転可能となる。
また、外輪部材11のアウトボード側端部とハブ輪12との間には、密封装置15が設けられ、外輪部材11のインボード側端部と内輪13との間には、密封装置16が設けられる。これにより、ハブユニット軸受10の軸受空間25の軸方向両端部がシールされて、封入したグリースが外部に漏洩することを防止すると共に、外部に存在する雨水、泥、塵等の各種異物が軸受空間25内へ浸入することが防止される。
密封装置16は、外輪部材11のインボード側端部の内周面11cに圧入固定される断面L字形状の芯金23と、芯金23に添着されるゴムなどにより形成された弾性シール部24と、内輪13の外周面13bに圧入固定され、弾性シール部24の3個のシールリップ24aが摺接するスリンガ30と、を備える。
回転検出センサユニット17は、スリンガ30の側面に添着されたエンコーダ31と、エンコーダ31の被検出面31aに検出部32aが接近配置されるセンサ32とから構成されている。エンコーダ31は、フェライト、希土類元素等の強磁性材をゴム、又は合成樹脂中に混入したゴム磁石、又はプラスチック磁石が、円輪状に形成されたものであり、着磁されている。着磁方向は、円周方向に関して交互に等間隔で変化している。
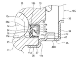
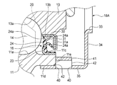
側面カバー18は、ステンレス鋼板、亜鉛メッキ鋼板等の耐食性を有する金属板にプレス加工が施されて形成されており、中心に不図示の等速ジョイントのスプライン軸を挿通させる貫通孔33を有する円盤部34と、円盤部34の外周縁部から軸方向に2段に折り曲げ形成された小径円筒部35及び大径円筒部36と、を有する。大径円筒部36は、外輪部材11の外周面11dに外嵌し、小径円筒部35と大径円筒部36との段部37は、外輪部材11の内端面11eに当接する。
図2〜図4に示すように、小径円筒部35には、小径円筒部35の円周方向に沿って平行に設定された2本の切断線40,40で切断され、小径円筒部35の径方向内側に向けて切り起こされた切起こし部41が形成されている。切起こし部41は、小径円筒部35から帯状に切り起こされて断面略台形状に形成される。切起こし部41の円周方向両端は小径円筒部35に連続し、軸方向両側は小径円筒部35から離間している。これにより、切起こし部41の軸方向両側には、側面カバー18の内外を連通する水抜き孔42が形成される。
センサ32は、側面カバー18の小径円筒部35に形成されるセンサ孔43を挿通され、その検出部32aがエンコーダ31の被検出面31aに対向配置される。そして、ハブ輪12及び内輪13と共にエンコーダ31が回転すると、センサ32の出力が、回転速度に比例した周波数で変化することで、不図示の車輪の回転速度が検出される。
水抜き孔42の位置は、図5に示すように、半径方向真下の位置Dと、垂線VLから車両の前進時における回転方向の10〜35°の位置A1に配置することが好ましい。ここで、位置Dは、車両の静止時に重力で水が容易に排出される位置であり、位置A1は、車両が前進走行した場合に、エンコーダ31の回転によって跳ね飛ばされる水の排出に好適な位置である。
また、通常、車両は前進での走行が大半であるため、上記した位置D,A1に水抜き孔42を設けるのが好適であるが、側面カバー18を左右輪で共用するなど、製造上、或いは管理上の都合により、前進時の軸受10の回転方向が特定できない場合は、垂線VLに対して位置A1と対称となる位置A2にも水抜き孔42配置して、合計3箇所設けるようにしてもよい。なお、水抜き孔42の個数は任意であり、4個以上であってもよい。
さらに、通常の乗用車両・貨物車両に使用される軸受においては、上記した位置D、及び垂線VLから車両の前進時における回転方向の6〜12°の位置の合計2箇所に設けることが好ましい。ここで、6〜12°としたのは、平坦な良道で紳士的な運転を行う自動車の加減速度は通常0.1〜0.2G程度であるので、この加減速度と重力とのtanを、0.1〜0.2の範囲に設定したことによる。
なお、悪路を走ることの多い車両では、瞬間的な加減速度や車両の姿勢を勘案して、これより大きな角度、例えば、20〜30°の位置に、また、不整地走行、比較的低速での走行、前進後進の比率が近接する場合が多くなる土木、農業用車両、あるいは四輪駆動車等では、上記した位置D、及び垂線VLから両側に10〜25°の位置に各1箇所の合計3筒所に設けることが好ましい。さらに、6〜12°の角度で水抜き孔を設ける場合は、複数設けるのではなく、1つの細長い水抜き孔とすることもできる。
また、図3に示すように、水抜き孔42の1個当りの円周方向の長さLは、素材板厚tの4倍〜10倍とするのが好ましい。これは、円周方向の長さLが、板厚tの4倍以下では切起こし加工が困難であり、また、10倍を超えると、切起こし部41によって小径円筒部35の剛性が低くなって適正なスリット幅を保つことが難しくなると共に、小径円筒部35の強度に影響が出てくる可能性があることによる。さらに、水抜き孔42を複数箇所設ける場合は、強度上の理由から、水抜き孔42の長さLの合計を、小径円筒部35の外側円周長さの5〜10%とすることが好ましい。
また、図3に示すように、水抜き孔42の高さHは、任意であるが、0.5mm以上、且つ板厚t以下とすることが好ましい。これは、0.5mm未満だと、水の界面張力等により十分な水抜き効果を得られない可能性があり、板厚tを超えると、加工が困難となるばかりでなく、開口面積が大きくなって異物の侵入の可能性が大きくなることによる。
さらに、図2に示すように、切起こし部41の軸方向幅Wは、板厚tの2倍以上とするのが加工上好ましい。また、同様の理由から、切起こし部41のインボード側端面と円盤部34の内側面との隙間Cは、板厚tの2倍以上離間させて加工する必要である。また、隙間Cが小さ過ぎると、水の界面張力等により十分な水抜き効果を得られない可能性がある。
なお、側面カバー18の材質は、オーステナイト系ステンレス等の非磁性材が好ましい。オーステナイト系ステンレスであればプレス加工等により切り起しを形成することが可能であり、且つ機械的な力を受けて磁化された摩耗粉や、路面の砂鉄、粉塵などが磁力によって保持されることもない。また、切起こし部41の形状は任意であり、図3に示す断面台形状に限定されず、例えば、断面三角形状、断面円弧形状であってもよい。
以上説明したように、本実施形態のハブユニット軸受10によれば、側面カバー18の内側に浸入した水を、側面カバー18の下部に設けた水抜き孔42から効果的に排出することができ、また、水抜き孔42は、従来形状の水抜き孔と異なって開口部前面が帯状の切起こし部41で塞がれているので、水抜き孔42近傍に外部に水などがかっても、側面カバー18内への浸入を防止することができる。
また、本実施形態のハブユニット軸受10によれば、側面カバー18が、円盤部34、及び円盤部34の外周縁部から軸方向に折り曲げ形成された小径円筒部35及び大径円筒部36を有し、小径円筒部35に、径方向内側に向かって切り起こされ、一部が小径円筒部35に繋がっている切起こし部41が形成されることによって、水抜き孔42が設けられるため、小径円筒部35の強度が維持される。また、水抜き孔42が外部に直接開口していないので、水抜き孔42近傍に水がかかっても、外部からの水浸入を効果的に防止することができる。
(第1変形例)
本実施形態の第1変形例として、側面カバー18は、図6に示す側面カバー18Aであってもよい。この側面カバー18Aでは、円筒部35が1つであり、この円筒部35に上記切起こし部41が、径方向内側に向けて形成されている。側面カバー18Aは、円筒部35が外輪部材11の外周面11dに外嵌すると共に、切起こし部41の左端面が、外輪部材11の内端面11eに当接して組み付けられる。
本変形例によれば、切起こし部41の両側に設けられた2つの水抜き孔42の内、一方(図中左側)の水抜き孔42が外輪部材11によって塞がれているので、側面カバー18A内への水などの浸入を更に防止することができる。
(第2変形例)
本実施形態の第2変形例として、側面カバー18は、図7に示す側面カバー18Bであってもよい。この側面カバー18Bでは、上記切起こし部41が径方向外側に向かって形成されている。
(第3変形例)
本実施形態の第3変形例として、側面カバー18は、図8に示す側面カバー18Cであってもよい。この側面カバー18Cでは、小径円筒部35の一部が、円盤部34に近接した位置で円周方向に沿って形成された1本の切断線40Cで切断され、径方向内側に向かって切り起こされて、小径円筒部35に断面略L字形状の切起こし部41Cが形成される。従って、切起こし部41Cの軸方向一端側(図中左側)は小径円筒部35に連続すると共に、軸方向他端側(図中右側)が小径円筒部35から切り離されて、水抜き孔42が形成される。
本変形例によれば、切起こし部41Cの軸方向一方側(図中右側)にのみ水抜き孔42が形成されるので、側面カバー18C内への水などの浸入を更に防止することができる。
(第4変形例)
本実施形態の第4変形例として、側面カバー18は、図9に示す側面カバー18Dであってもよい。この側面カバー18Dでは、小径円筒部35の一部が、円盤部34に近接した位置で円周方向に沿って形成された1本の切断線40Dで切断され、径方向内側に向かって切り起こされて、小径円筒部35に断面略ヘの字形状の切起こし部41Dが形成される。従って、切起こし部41Dの軸方向一端側(図中左側)は小径円筒部35に連続すると共に、軸方向他端側(図中右側)が小径円筒部35から切り離されて、水抜き孔42が形成される。
本変形例によれば、切起こし部41Dの軸方向一方側(図中右側)にのみ水抜き孔42が形成されるので、側面カバー18D内への水などの浸入を更に防止することができる。
(第5変形例)
本実施形態の第5変形例として、側面カバー18は、図10に示す側面カバー18Eであってもよい。この側面カバー18Eでは、小径円筒部35の一部が、円盤部34から離間した位置で円周方向に沿って形成された1本の切断線40Eで切断され、径方向外側に向かって切り起こされて、小径円筒部35に断面略ヘの字形状の切起こし部41Eが形成される。従って、切起こし部41Eの軸方向一端側(図中右側)は小径円筒部35に連続すると共に、軸方向他端側(図中左側)が小径円筒部35から切り離されて、水抜き孔42が形成される。
本変形例によれば、水抜き孔42が軸方向内側に向かって開口しているので、側面カバー18E内への水などの浸入を更に防止することができる。
(第2実施形態)
次に、図11〜図13を参照して、本発明に係るハブユニット軸受の第2実施形態について説明する。なお、第1実施形態と同一又は同等部分については、図面に同一符号を付してその説明を省略或いは簡略化する。
本実施形態のハブユニット軸受10Aは、図11に示すように、従動輪用ハブユニット軸受であり、外輪部材11と、内輪部材であるハブ輪12と、別体として形成されハブ輪12に一体的に固定された内輪13と、複数の転動体である玉14と、密封装置15,16と、側面カバー50と、を備える。
側面カバー50は、円盤部51と、円盤部51の外周縁部から軸方向に折り曲げ形成された円筒部52と、を有する。円筒部52の軸方向中間には、径方向外方に突出形成された鍔部53が設けられており、この鍔部53を外輪部材11の内端面11eに当接させて外輪部材11の内周面11cに内嵌固定される。
また、図11及び図12に示すように、側面カバー50の円筒部52の先端側(図11の左側)には、径方向内側に向かって凹む断面略半円形状の溝部54が形成されている。
この溝部54は、側面カバー50の軸線に略平行であり、鍔部53を僅かに越えた軸方向位置まで形成されている。従って、図12(a)に示すように、鍔部53は、溝部54の部分においては円盤部51方向に湾曲している。
そして、側面カバー50が外輪部材11の内周面11cに内嵌されると、溝部54と外輪部材11の内周面11c及び内端面11eとの間に、軸方向断面で略L字形状且つトンネル状の水抜き孔55が形成される。
また、本実施形態では、水抜き孔55(溝部54)の円周方向幅Pを、素材板厚tの4倍から10倍にすることが好ましい。これは、円周方向幅Pが素材板厚tの4倍以下だと、溝部54の加工が困難であると共に、水の界面張力等により十分な水抜き効果を得られない可能性があり、また、10倍を超えると、円筒部52の強度に影響が出てくる可能性があることによる。
なお、本実施形態の溝部54の断面形状は略半円形状であるが、その断面形状は任意である。しかし、水抜き性能と加工性を考慮すると、水の通過部分の高さは0.5mm以上、且つ板厚t以下とすることが好ましい。また、溝部54の円周方向の配置位置及び配置箇所などは上記第1実施形態と同様である。
本実施形態の側面カバー50は、円筒部52に切断加工が施されていないので、円筒部52の強度に影響を与える可能性が更に少ない。そのため、側面カバー50を有底円環状に塑性加工して全面塗装した後、溝部54を成形加工することにより、錆び易い材料の適用も可能となる。さらに、比較的簡単な形状であるため、溝部54を成形加工した後に、塗装することも容易である。
また、本実施形態のように、エンコーダを備えないハブユニット軸受10Aの場合は、SPCC鋼板等の安価な材料で側面カバー50を形成して塗装することによって、水抜き性能を確保し、且つ側面カバー50の防錆を図ることが可能となる。また、塗装としては、電着塗装、又は焼付け塗装が好ましい。また、塗装に代えて、無電解ニッケルめっき、クロムめっき、亜鉛めっき、スズめっき、あるいはこれらの組合せも可能である。
以上説明したように、本実施形態のハブユニット軸受10Aによれば、側面カバー50の円筒部52に、円筒部52の径方向内側に向かって凹状に形成される溝部54が軸方向に沿って設けられ、円筒部52を外輪部材11に嵌合させたとき、外輪部材11との間にトンネル状の水抜き孔55が形成されるため、円筒部52に切断加工部がなく、円筒部52の強度を維持することができる。また、水抜き孔55が外部に直接開口していないので、水抜き孔55近傍に水がかかっても、外部からの水浸入を効果的に防止することができる。さらに、切断加工がないので、塗装などの防錆処理が容易であり、防錆性能を高めることができる。
その他の構成及び作用効果については、上記第1実施形態と同様である。
(変形例)
本実施形態の変形例として、側面カバー50は、図13に示す側面カバー50Aであってもよい。この側面カバー50Aでは、円筒部52に形成される溝部54が、側面カバー50Aの軸線に対して所定の角度αだけ傾斜して形成される。この場合、ハブユニット軸受10Aの回転方向と同じ方向に溝部54を傾斜させることにより、回転によって水を容易に排出させることができ、排水性能を高めることができる。
(第3実施形態)
次に、図14を参照して、本発明に係るハブユニット軸受の第3実施形態について説明する。なお、第1実施形態と同一又は同等部分については、図面に同一符号を付してその説明を省略或いは簡略化する。
本実施形態のハブユニット軸受10では、図14に示すように、上記第1実施形態の側面カバー18の代わりに、図14に示す側面カバー60を使用する。この側面カバー60は、外輪部材11の外周面11dに外嵌する大径円筒部61と、大径円筒部61のインボード側端部から径方向内側に延び、外輪部材11の内端面11eに当接する段部62と、段部62の内周縁部から軸方向インボード側に延びる小径円筒部63と、小径円筒部63のインボード側端部から径方向内側に延びる円盤部64と、円盤部64の内周縁部から軸方向アウトボード側に延びる内周円筒部65と、を有する。また、この側面カバー60では、小径円筒部63に、上記切起こし部41が径方向内側に向かって形成されている。
また、本実施形態では、内輪13のインボード側端部に形成される小径外周面13cと側面カバー60の内周円筒部65の内周面との間には、密封装置70が設けられている。この密封装置70は、内輪13の小径外周面13cに圧入固定される断面L字形状の芯金71と、芯金71に添着され、内周円筒部65の内周面と摺接するシールリップ72aを有する弾性シール部72と、を備える。これにより、側面カバー60内への各種異物の浸入が防止される。なお、シールリップ72aは、上記した内周円筒部65と接触する接触タイプに限定されず、内周円筒部65との間に僅かな隙間を形成する非接触タイプのものでもよい。
10 ハブユニット軸受
11 外輪部材
12 ハブ輪(内輪部材)
14 玉(転動体)
18 側面カバー
18A 側面カバー
18B 側面カバー
18C 側面カバー
18D 側面カバー
18E 側面カバー
31 エンコーダ
34 円盤部
35 小径円筒部(円筒部)
40 切断線
40C 切断線
40D 切断線
40E 切断線
41 切起こし部
41C 切起こし部
41D 切起こし部
41E 切起こし部
42 水抜き孔
10A ハブユニット軸受
50 側面カバー
50A 側面カバー
51 円盤部
52 円筒部
54 溝部
55 水抜き孔
60 側面カバー
63 小径円筒部(円筒部)
64 円盤部
VL 側面カバーの垂線

Claims (4)

  1. 外輪部材と、複数の転動体を介して前記外輪部材に対して相対回転可能とされた内輪部材と、前記外輪部材及び前記内輪部材の軸方向インボード側端部を覆う側面カバーと、を備えるハブユニット軸受であって、
    前記側面カバーは、円盤部と、前記円盤部の外周縁部から軸方向アウトボード側に折り曲げ形成されて前記外輪部材に嵌合固定される円筒部と、を有し、
    前記円筒部は、前記円筒部の径方向内側に向かって切り起こされ、前記側面カバーの内外を連通する水抜き孔が形成された切起こし部を備え、
    前記切起こし部は、径方向内側に向くように、前記円筒部の一部が、円周方向に沿って形成された2本の切断線で切断されて切り起こされ、前記切起こし部の軸方向両側に前記水抜き孔が形成され、
    前記切起こし部の軸方向アウトボード側端面が前記外輪部材の軸方向インボード側端面に当接して、前記切起こし部の軸方向アウトボード側に形成された前記水抜き孔が閉塞され、
    前記切起こし部の軸方向インボード側に形成された前記水抜き孔は、前記円筒部の軸方向インボード側寄りの径方向内側に、前記円盤部と対向した状態で開口することを特徴とするハブユニット軸受。
  2. 外輪部材と、複数の転動体を介して前記外輪部材に対して相対回転可能とされた内輪部材と、前記外輪部材及び前記内輪部材の軸方向インボード側端部を覆う側面カバーと、を備えるハブユニット軸受であって、
    前記側面カバーは、円盤部と、前記円盤部の外周縁部から軸方向アウトボード側に折り曲げ形成されて前記外輪部材に嵌合固定される円筒部と、を有し、
    前記円筒部は、前記円筒部の径方向内側に向かって切り起こされ、前記側面カバーの内外を連通する水抜き孔が形成された切起こし部を備え、
    前記切起こし部は、径方向内側に向くように、前記円筒部の一部が、円周方向に沿って形成された1本の切断線で切断されて切り起こされ、前記切起こし部の軸方向アウトボード側が前記円筒部に連続すると共に、軸方向インボード側が前記円筒部から切り離されて前記水抜き孔が形成され、
    前記水抜き孔は前記切起こし部の軸方向インボード側のみに形成され、
    前記水抜き孔は、前記円筒部の軸方向インボード側寄りの径方向内側に、前記円盤部と対向した状態で開口することを特徴とするハブユニット軸受。
  3. 前記切起こし部は、前記円盤部側から視た正面視において、前記円盤部の中心を通り且つ上下方向に沿った垂線を0°としたとき、前記垂線を基準として両側35°の範囲内に配置されることを特徴とする請求項1又は2に記載のハブユニット軸受。
  4. 前記ハブユニット軸受は、前記内輪部材の回転を検出可能なエンコーダを備えることを特徴とする請求項1〜3のいずれか1項に記載のハブユニット軸受。
JP2014025672A 2014-02-13 2014-02-13 ハブユニット軸受 Active JP5773000B2 (ja)

Priority Applications (1)

Application Number Priority Date Filing Date Title
JP2014025672A JP5773000B2 (ja) 2014-02-13 2014-02-13 ハブユニット軸受

Applications Claiming Priority (1)

Application Number Priority Date Filing Date Title
JP2014025672A JP5773000B2 (ja) 2014-02-13 2014-02-13 ハブユニット軸受

Related Parent Applications (1)

Application Number Title Priority Date Filing Date
JP2010068333A Division JP5598044B2 (ja) 2009-10-06 2010-03-24 ハブユニット軸受

Publications (2)

Publication Number Publication Date
JP2014129880A JP2014129880A (ja) 2014-07-10
JP5773000B2 true JP5773000B2 (ja) 2015-09-02

Family

ID=51408415

Family Applications (1)

Application Number Title Priority Date Filing Date
JP2014025672A Active JP5773000B2 (ja) 2014-02-13 2014-02-13 ハブユニット軸受

Country Status (1)

Country Link
JP (1) JP5773000B2 (ja)

Families Citing this family (4)

* Cited by examiner, † Cited by third party
Publication number Priority date Publication date Assignee Title
JP6372379B2 (ja) * 2015-02-03 2018-08-15 日本精工株式会社 軸受キャップ及び転がり軸受ユニット
JP6490995B2 (ja) * 2015-03-12 2019-03-27 Ntn株式会社 回転速度検出装置付き車輪用軸受装置
JP6819202B2 (ja) * 2016-10-18 2021-01-27 三菱自動車工業株式会社 駆動輪用軸受装置
JP2018071661A (ja) 2016-10-28 2018-05-10 Ntn株式会社 車輪用軸受装置

Family Cites Families (2)

* Cited by examiner, † Cited by third party
Publication number Priority date Publication date Assignee Title
JP2005331429A (ja) * 2004-05-21 2005-12-02 Ntn Corp エンコーダ付転がり軸受装置
JP5193562B2 (ja) * 2007-10-26 2013-05-08 Ntn株式会社 回転速度検出装置付き車輪用軸受装置

Also Published As

Publication number Publication date
JP2014129880A (ja) 2014-07-10

Similar Documents

Publication Publication Date Title
CN102143849B (zh) 轮毂单元轴承
JP4812263B2 (ja) 車輪用軸受装置
US7793939B2 (en) Sealing structure of wheel supporting device
JP2009197975A (ja) 車軸用軸受装置
JP5773000B2 (ja) ハブユニット軸受
EP1426257A2 (en) Protective cap for wheel support bearing assembly
EP2815892A1 (en) Arrangement of a wheel hub connected to a constant velocity joint provided with a seal device
JP5598044B2 (ja) ハブユニット軸受
WO2011043266A1 (ja) ハブユニット軸受
WO2012077685A1 (ja) 回転速度検出装置付き車輪用軸受装置
JP4417080B2 (ja) エンコーダシール構造
JP2005133953A (ja) トーンホイール
JP5914090B2 (ja) 車輪用軸受装置
JP6610441B2 (ja) 車輪支持用転がり軸受ユニット
JP5494197B2 (ja) 回転速度検出装置付転がり軸受ユニット
WO2009119036A1 (ja) 回転速度検出装置付き車輪用軸受装置
JP2009228819A (ja) 回転速度検出装置付き車輪用軸受装置
JP5120118B2 (ja) 車軸用軸受装置
US9724963B2 (en) Hub unit
JP2010196830A (ja) 転がり軸受装置
US7819588B2 (en) Bearing device for drive wheel
JP2012087901A (ja) 密封装置および転がり軸受装置
JP2012097823A (ja) 車輪用軸受装置
JP2019052738A (ja) ハブユニット軸受
JP2010230080A (ja) 回転速度検出装置付き車輪用軸受装置

Legal Events

Date Code Title Description
A977 Report on retrieval

Free format text: JAPANESE INTERMEDIATE CODE: A971007

Effective date: 20141030

A131 Notification of reasons for refusal

Free format text: JAPANESE INTERMEDIATE CODE: A131

Effective date: 20141202

A521 Written amendment

Free format text: JAPANESE INTERMEDIATE CODE: A523

Effective date: 20150122

RD02 Notification of acceptance of power of attorney

Free format text: JAPANESE INTERMEDIATE CODE: A7422

Effective date: 20150126

TRDD Decision of grant or rejection written
A01 Written decision to grant a patent or to grant a registration (utility model)

Free format text: JAPANESE INTERMEDIATE CODE: A01

Effective date: 20150602

A61 First payment of annual fees (during grant procedure)

Free format text: JAPANESE INTERMEDIATE CODE: A61

Effective date: 20150615

R150 Certificate of patent or registration of utility model

Ref document number: 5773000

Country of ref document: JP

Free format text: JAPANESE INTERMEDIATE CODE: R150