JP5772000B2 - 医療用複室容器 - Google Patents

医療用複室容器 Download PDF

Info

Publication number
JP5772000B2
JP5772000B2 JP2011005855A JP2011005855A JP5772000B2 JP 5772000 B2 JP5772000 B2 JP 5772000B2 JP 2011005855 A JP2011005855 A JP 2011005855A JP 2011005855 A JP2011005855 A JP 2011005855A JP 5772000 B2 JP5772000 B2 JP 5772000B2
Authority
JP
Japan
Prior art keywords
protection mechanism
handle
storage chamber
discharge port
chamber container
Prior art date
Legal status (The legal status is an assumption and is not a legal conclusion. Google has not performed a legal analysis and makes no representation as to the accuracy of the status listed.)
Expired - Fee Related
Application number
JP2011005855A
Other languages
English (en)
Other versions
JP2012143485A (ja
Inventor
満隆 上田
満隆 上田
Current Assignee (The listed assignees may be inaccurate. Google has not performed a legal analysis and makes no representation or warranty as to the accuracy of the list.)
Nipro Corp
Original Assignee
Nipro Corp
Priority date (The priority date is an assumption and is not a legal conclusion. Google has not performed a legal analysis and makes no representation as to the accuracy of the date listed.)
Filing date
Publication date
Application filed by Nipro Corp filed Critical Nipro Corp
Priority to JP2011005855A priority Critical patent/JP5772000B2/ja
Publication of JP2012143485A publication Critical patent/JP2012143485A/ja
Application granted granted Critical
Publication of JP5772000B2 publication Critical patent/JP5772000B2/ja
Expired - Fee Related legal-status Critical Current
Anticipated expiration legal-status Critical

Links

Images

Landscapes

  • Bag Frames (AREA)
  • Medical Preparation Storing Or Oral Administration Devices (AREA)
  • Package Specialized In Special Use (AREA)

Description

本発明は、薬液または薬剤を別個に収容しておき、必要時に混合して使用することのできる医療用複室容器に関する。
従来、混合した状態で保管しておくと、変質などによって保存性が悪くなる薬剤や薬液を使用直前に無菌混合させるべく、複室容器が用いられている。これは、容易に剥離可能な弱シール部によって区画される複数の収容室内に複数の内容物を別々に保存しておき、使用の直前に容器を手で圧縮するなどして弱シール部を剥離させ、複数の収容室を連通させて内容物を無菌状態で混合あるいは溶解させるというものである。
この種の複室容器においては、使用する際に、弱シール部の開通操作は必須であり、弱シール部未開通で輸液すると一液のみの輸液となり誤作業となる。そこで、このような誤作業を未然に防止するため、特許文献1の様な排出口に薬剤排出阻止具を備え、収容室を連通させた際に薬剤排出阻止具が解除されるものが開示されている。
特許文献1に示される複室容器は、薬剤バッグを弱シール部により複数の隔室に区画し、複数の隔室の一つに開口する排出口を備え、更に、薬剤バッグの外部に排出口からの薬剤の排出を阻止するための薬剤排出阻止具が装着され、前記薬剤排出阻止具は弱シール部開通の瞬間に薬剤バッグ内に惹起される衝撃的な流体力により解除され、薬剤バッグからの薬剤の排出が許容されることを特徴とするものである。
WO2005/097039号
特許文献1に示される複室容器を使用する際は、台などの上に複室容器を置き、一方の隔室を押圧することで、押圧した隔室内の圧が高まり、弱シール部を剥離し、複数の隔室を連通させる。その後、複室容器をガートル台等の支持台に吊り下げ、排出口に輸液回路などを接続し、使用するものである。そのため、使用する際に、複室容器を置いて押圧するための台などが必要であること、複室容器を使用できる状態にするまでの操作に手間がかかることが問題であった。特に容量が大きな複室容器である場合にこの問題点は顕著となる。更に、隔室を押圧し、複数の隔室を連通させても、薬剤バッグ内に惹起される流体力が不十分なため薬剤排出阻止具が解除されず、使用できないことがあることが問題であった。
本発明は、上記の問題を鑑みてなされたものであり、複室容器による輸液に際して、複室容器の各収容室を連通させるための作業台を必要とせず、更に、排出口に、排出口への接続を阻止する保護機構を有し、収容室の連通操作と保護機構の取り外しを、一度の操作で行うことが可能な構成の医療用複室容器を提供することを目的とする。
請求項1に係る発明は、薬剤を収容可能な薬剤収容室を有するバッグ本体と、前記薬剤収容室内の薬剤を排出可能な排出口を有する接続部を備え、前記バッグ本体には、薬剤収容室を複数の収容室に区画する弱シール部が設けられた薬剤バッグにおいて、前記収容室及び/または前記弱シール部外方に取っ手を有し、前記接続部に、通常は前記排出口への接続を阻止する保護機構を有し、前記保護機構が、連結部材により前記取っ手と連結され、前記取っ手を前記バッグ本体の外方向に引っ張った際に、前記弱シール部が剥離し前記複数の収容室が連通すると共に、前記保護機構が前記連結部材により前記取っ手と連結されているため、前記複数の収容室が連通するのと同時に前記保護機構が前記排出口から外れることを特徴とする医療用複室容器である。

請求項2に係る発明は、前記保護機構が、前記接続部を覆うように取り付けられてもよい。
請求項3に係る発明は、前記保護機構が、前記排出口の露出を阻止するように取り付けられてもよい。
請求項4に係る発明は、前記取っ手が、前記収容室の中央部よりも前記弱シール部の近傍に設けられてもよい。
請求項5に係る発明は、前記取っ手が、前記弱シール部上に設けられてもよい。
本発明によれば、収容室及び/または弱シール部外方に設けられた取っ手を引っ張ることで、収容室を隔てる弱シール部が剥離し、区画された収容室が連通すると共に、接続部に設けられた排出口への接続を阻止する保護機構が外れるため、本発明の医療用複室容器を使用する際は、ガートル台等の支持台に吊り下げた後、取っ手を引っ張るだけで使用できる状態にすることが可能となる。
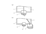
本発明の第一の実施態様としての医療用複室容器の正面図。 図1における医療用複室容器の側面図。 本発明の第一の実施態様としての医療用複室容器の連通前の側面図。 本発明の第一の実施態様としての医療用複室容器の連通後の側面図。 (a)図3における接続部の正面方向からの拡大図。(b)図4における接続部の正面方向からの拡大図。 (a)本発明の第二の実施態様としての医療用複室容器の連通前の接続部の正面方向からの拡大図。(b) 本発明の第二の実施態様としての医療用複室容器の連通後の接続部の正面方向からの拡大図。 (a)本発明の第三の実施態様としての医療用複室容器の連通前の接続部の正面方向からの拡大図。(b)本発明の第三の実施態様としての医療用複室容器の連通後の接続部の正面方向からの拡大図。 (a)本発明の第四の実施態様としての医療用複室容器の連通前の接続部の正面方向からの拡大図。(b)本発明の第四の実施態様としての医療用複室容器の連通後の接続部の正面方向からの拡大図。 (a)本発明の第五の実施態様としての医療用複室容器の連通前の接続部の正面方向からの拡大図。(b)本発明の第五の実施態様としての医療用複室容器の連通後の接続部の正面方向からの拡大図。
以下、本発明の実施態様について、図面を参照しつつ説明する。
図1は、本発明の第一の実施態様としての医療用複室容器1の正面図であり、図2は、図1における医療用複室容器1の側面図である。医療用複室容器1はバッグ本体2を備え、バッグ本体2は外周縁にシール部6を設けることで薬剤収容室が形成される。シール部6は、図1における上方に、医療用複室容器1を支持台に吊り下げるための懸垂孔9を備える。薬剤収容室は、仕切部となる弱シール部7によって、第一の収容室4と第二の収容室5とに区切られ、それぞれの収容室には所定の薬液や薬剤等が収容される。第一の収容室4は、図1における下方に、輸液回路などを接続するための接続部13を備え、接続部13は、刺通針などを接続し、薬剤を排出するための排出口14を有し、排出口14への接続を阻止するための保護機構3を備える。第二収容画室5は、図1における上方に、薬剤の充填に使用される充填口8を備える。更に、バッグ本体2は、薬剤収容室及び/または弱シール部7外方に取っ手10を備え、取っ手10は、連結部材11によって保護機構3と連結される。
医療用複室容器1は、バッグ本体2が熱可塑性樹脂フィルムからなる袋体であって、外周縁にシール部6を設けることで、薬剤収容室を形成している。バッグ本体2は、シート状フィルムを重ねて、外周縁にシール部6を設けることで袋体としても良いし、筒状フィルムの開口端にシール部6を設けることで袋体としても良く、薬剤収容室を形成しうるものであれば、特に限定されるものではない。シール部6は、接着剤などで接着することで設けても良いし、熱溶着などで溶着することで設けても良く、特に限定されるものではない。
更に、薬剤収容室を仕切っている弱シール部7は、フィルムの上下の内面同士を熱接着させた構成である。弱シール部7をフィルムに熱シール可能な別のフィルムシートを介して互いに溶着した構成とすることも可能であり、引っ張ることで剥離させることができるものであれば、特に限定されるものではない。
熱可塑性樹脂フィルムとしては、ポリエチレン、ポリプロピレン、ポリエチレンテレフタレート、ポリエチレンテレナフタレート、ポリビニルアルコール、エチレンビニルアルコール共重合体、ポリ塩化ビニリデン、ナイロンなどの熱可塑性樹脂及びこれらの混合物から生成されるフィルムが挙げられる。また、これらの材料の積層体など医療用容器の材質として使用されるものであれば、特に限定はされないが、一般的には、ポリエチレン、ポリプロピレン、ポリエチレン及びポリプロピレンの混合物が好適に採用可能である。
懸垂孔9は、医療用複室容器1を支持台に吊り下げるためのものであり、設ける部位については、特に限定されるものではなく、図1における上方に設けても良いし、側方に設けても良い。使用時に薬剤を排出しやすい様に、排出口を下方にした状態を維持できるものであれば特に限定されるものではなく、好ましくは、接続部の対局に設けた構造である。
排出口14は、薬剤の排出するために設けられたもので、血液回路などを装着して薬剤の排出をすることができるものである。排出口14は、刺通針などを穿刺し、接続できるものであっても良いし、ニードルレス接続可能なものであっても良く、特に限定されるものではない。加えて、排出口14は、接続した刺通針などを介して、薬剤の充填を行うこともできる。
保護機構3は、排出口14に刺通針などを接続することを物理的に阻止するために設けられ、保護機構3が解除された際には、排出口14が露出し、刺通針などによる接続が可能となるものである。保護機構3は、物理的に排出口14との接続を阻止するものであれば、図5から図6に示される様に、接続部13全体を覆う様な形状であってもよいし、図7から図9に示される様に、排出口14を外部に露出させない様な形状であってもよい。
充填口8は、薬剤の充填を行うためのものであり、薬剤を充填した後は、薬剤が漏れない様に閉じられる。充填口8を閉じる方法は、接着剤などで接着しても良いし、熱溶着などで溶着しても良く、特に限定されるものではない。
薬剤の充填については、排出口14及び充填口8を介して行っても良いし、第一収容室4及び第二収容画室5のそれぞれの側方に充填口を設け、側方から薬剤を充填しても良く、特に限定されるものではない。
取っ手10は、バッグ本体2の収容室及び/または弱シール部外方に設けられる。本発明においては、図1及び図2で示される様に、バッグ本体2の両側にそれぞれ取っ手10a、10bとして設けられるが、取っ手10の数は、2個に限定されるものではなく、1個であっても良いし、3個以上であっても良く、引っ張ることで弱シール部7を剥離及び保護機構3の解除が行える数であれば、特に限定されるものではない。更に、取っ手10の形状は、引っ張ることで弱シール部7を剥離及び保護機構3の解除が行える形状であれば、特に限定されるものではない。
また、バッグ本体2には、取っ手10が設けられ、取っ手10はバッグ本体2と一体に作られても良いし、接着あるいは熱溶着などにより別途取り付けられても良い。
取っ手10を別途取り付ける場合、バッグ本体2と接着できるものであれば特に材質は問わないが、好ましくはバッグ本体2と熱溶着できる材質であり、更に好ましくは、熱可塑性樹脂フィルムである。
連結部材11は、保護機構3と取っ手10とを連結するものであり、連結部材11は、保護機構3及び取っ手10と、別体としても良いし、どちらか一方あるいは両方と一体で成形されるものであっても良い。形状については、紐状、帯状、鎖状など特に形状は限定されない。材質についても、金属、樹脂、糸など特に限定されるものではないが、好ましくは、保護機構3及び取っ手10と接着できる素材であり、更に好ましくは、保護機構3及び取っ手10と熱溶着できる熱可塑性樹脂である。
図3は、本発明の第一の実施態様としての医療用複室容器の連通前の側面図であり、医療用複室容器1を支持台のフック12に吊り下げ、取っ手10a及び10bを引っ張る前の状態を示している。図4は、本発明の第一の実施態様としての医療用複室容器の連通後の側面図であり、バッグ本体2においては、取っ手10a及び10bを引っ張った後の第一の収容室4及び第二の収容室5が連通し、且つ保護機構3が外れ、排出口14が露出した状態を示している。
使用に際しては、図3に示される様に、医療用複室容器1をフック12に吊り下げ、バッグ本体2の両側に設けられた取っ手10a及び10bを把持して、図中の矢印A−A´方向に引き離すように引っ張る。その結果、図4で示される様に、弱シール部7が剥離し、第一の収容室4及び第二の収容室5を連通させることができる。更には、取っ手10a及び10bは、それぞれ連結部材11a及び11bを介して、保護機構3と連結されており、取っ手10a及び10bを引っ張った際に、保護機構3が接続部13から外れることで、排出口14への接続が可能となる。
図5乃至図8には、本発明の第一乃至第四の実施態様としての医療用複室容器の接続部の拡大図である。第二乃至第四の実施態様としての医療用複室容器における外観は、図1及び図2で示される医療用複室容器と同様であり、保護機構3及び接続部13の形状が異なるものである。
図5a及び図5bは、本発明の第一の実施態様としての医療用複室容器1の接続部13の拡大図である。図5aは、第一の収容室4及び第二の収容室5が連通する前の状態であり、保護機構3が接続部13を覆った状態を示している。図5bは、第一の収容室4及び第二の収容室5が連通した後の状態であり、保護機構3が接続部13から外れた状態を示している。保護機構3は、接続部13全体を覆う様に設けられ、連結部材11を介して、取っ手10と連結されている。連通前において、保護機構3は、接続部13全体を覆うことで排出口14への接続を阻止している。取っ手10を引っ張った際(連通操作)に、連結部材11によって連結された保護機構3が図中の矢印の方向に引っ張られ、保護機構3が接続部13から外れることで、排出口14への接続が可能となる。
図6a及び図6bは、本発明の第二の実施態様としての医療用複室容器1の接続部13の拡大図である。図6aは、第一の収容室4及び第二の収容室5が連通する前の状態であり、保護機構3が接続部13を覆った状態を示している。図6bは、第一の収容室4及び第二の収容室5が連通した後の状態であり、保護機構3が接続部13から外れた状態を示している。保護機構3は、接続部13全体を覆う様に設けられ、連結部材11を介して、取っ手10と連結されている。連通前において、保護機構3は、接続部13全体を覆うことで排出口14への接続を阻止している。取っ手10を引っ張った際に、連結部材11によって連結された保護機構3が図中の矢印の方向に引っ張られ、保護機構3が接続部13から外れることで、排出口14への接続が可能となる。
図7a及び図7bは、本発明の第三の実施態様としての医療用複室容器1の接続部13の拡大図である。図7aは、第一の収容室4及び第二の収容室5が連通する前の状態であり、保護機構3が排出口14の露出を阻止した状態を示している。図7bは、第一の収容室4及び第二の収容室5が連通した後の状態であり、保護機構3が排出口14から外れた状態を示している。保護機構3は、接続部13の排出口14を外部に露出させない様に設けられており、連結部材11を介して、取っ手10と連結されている。取っ手10を引っ張った際に、連結部材11によって連結された保護機構3が図中の矢印の方向に引っ張られ、保護機構3が外れ、排出口14が露出することで、排出口14への接続が可能となる。
図8a及び図8bは、本発明の第四の実施態様としての医療用複室容器1の接続部13の拡大図である。図8aは、第一の収容室4及び第二の収容室5が連通する前の状態であり、保護機構3が排出口14の露出を阻止した状態を示している。図8bは、第一の収容室4及び第二の収容室5が連通した後の状態であり、保護機構3が排出口14から外れた状態を示している。接続部13の側方には側孔13が設けられている。保護機構3は、接続部13の排出口14を外部に露出させない様に設けられており、連結部材11を介して、取っ手10と連結されている。取っ手10を引っ張った際に、連結部材11によって連結された保護機構3が図中の矢印の方向に引っ張られ、保護機構3が側孔13の外方にスライドし、排出口14が露出することで、排出口14への接続が可能となる。
図9a及び図9bは、本発明の第五の実施態様としての医療用複室容器1の接続部13の拡大図である。図9aは、第一の収容室4及び第二の収容室5が連通する前の状態であり、保護機構3が排出口14の露出を阻止した状態を示している。9bは、第一の収容室4及び第二の収容室5が連通した後の状態であり、保護機構3が排出口14から外れた状態を示している。保護機構3は、取っ手10を引っ張ることで解除可能なロック機構16を備えている。保護機構3は、接続部13の排出口14を外部に露出させない様に設けられており、ロック機構16は、連結部材11を介して、取っ手10と連結されている。取っ手10を引っ張った際に、保護機構3が外れ、排出口14が露出することで、排出口14への接続が可能となる。
保護機構3の形状は、図5及び図6に示される様に、接続部13全体を覆うものであっても良いし、図7及び図9に示される様に、排出口14を外部に露出させないものであっても良い。
更に、接続部13全体を覆う保護機構3については、図5で示される様に、引っ張ることで二つに分離し、解除される形状であっても良いし、引っ張ることで開裂し、解除される形状であっても良い。
更に、排出口14を外部に露出させない保護機構3については、図7で示される様に下方に引っ張る形状であっても良いし、図8で示される様に横方向にスライドさせる形状であっても良い。図8で示される様な横方向にスライドさせる形状においては、保護機構3を接続部13から完全に取り外せる形状であっても良いし、スライド後、接続部13に係合した状態で取り外せない形状であっても良い。
また、保護機構3は、図9で示される様に保護機構3に設けられたロック機構18を引っ張ることで解除される形状であっても良く、接続部13の接続阻止が解除された際は、保護機構3を接続部13から分離される形状であっても良いし、保護機構3の一部が接続部13と連結され、排出口14を露出させるだけの形状であっても良い。
また、これ以外の形状であっても同様の働きをするものであれば特に限定されるものではない。
1:医療用複室容器、2:バッグ本体、3:保護機構、4:第一の収容室、5:第二の収容室、6:シール部、7:弱シール部、8:充填口、9:懸垂孔、10:取っ手、11:連結部材、12:フック、13:接続部、14:排出口、15:側孔、16:ロック機構

Claims (5)

  1. 薬剤を収容可能な薬剤収容室を有するバッグ本体と、
    前記薬剤収容室内の薬剤を排出可能な排出口を有する接続部を備え、前記バッグ本体には、薬剤収容室を複数の収容室に区画する弱シール部が設けられた薬剤バッグにおいて、
    前記収容室及び/または前記弱シール部外方に取っ手を有し、
    前記接続部に、通常は前記排出口への接続を阻止する保護機構を有し、
    前記保護機構が、連結部材により前記取っ手と連結され、
    前記取っ手を前記バッグ本体の外方向に引っ張った際に、前記弱シール部が剥離し前記複数の収容室が連通すると共に、前記保護機構が前記連結部材により前記取っ手と連結されているため、前記複数の収容室が連通するのと同時に前記保護機構が前記排出口から外れることを特徴とする医療用複室容器。
  2. 前記保護機構が、前記接続部を覆うように取り付けられていることを特徴とする請求項1に記載の医療用複室容器。
  3. 前記保護機構が、前記排出口の露出を阻止するように取り付けられていることを特徴とする請求項1に記載の医療用複室容器。
  4. 前記取っ手が、前記収容室の中央部よりも前記弱シール部の近傍に設けられていることを特徴とする請求項1乃至3に記載の医療用複室容器。
  5. 前記取っ手が、前記弱シール部上に設けられていることを特徴とする請求項1乃至4に記載の医療用複室容器。
JP2011005855A 2011-01-14 2011-01-14 医療用複室容器 Expired - Fee Related JP5772000B2 (ja)

Priority Applications (1)

Application Number Priority Date Filing Date Title
JP2011005855A JP5772000B2 (ja) 2011-01-14 2011-01-14 医療用複室容器

Applications Claiming Priority (1)

Application Number Priority Date Filing Date Title
JP2011005855A JP5772000B2 (ja) 2011-01-14 2011-01-14 医療用複室容器

Publications (2)

Publication Number Publication Date
JP2012143485A JP2012143485A (ja) 2012-08-02
JP5772000B2 true JP5772000B2 (ja) 2015-09-02

Family

ID=46787688

Family Applications (1)

Application Number Title Priority Date Filing Date
JP2011005855A Expired - Fee Related JP5772000B2 (ja) 2011-01-14 2011-01-14 医療用複室容器

Country Status (1)

Country Link
JP (1) JP5772000B2 (ja)

Families Citing this family (1)

* Cited by examiner, † Cited by third party
Publication number Priority date Publication date Assignee Title
JP2022059165A (ja) * 2020-10-01 2022-04-13 株式会社トクヤマデンタル 歯科用粉液混練型調剤包装体

Family Cites Families (2)

* Cited by examiner, † Cited by third party
Publication number Priority date Publication date Assignee Title
DE4447626C5 (de) * 1994-03-29 2007-01-25 Fresenius Ag Medizinischer Mehrkammerbeutel
JP4619274B2 (ja) * 2005-11-18 2011-01-26 株式会社大塚製薬工場 医療用複室容器

Also Published As

Publication number Publication date
JP2012143485A (ja) 2012-08-02

Similar Documents

Publication Publication Date Title
JP2828505B2 (ja) フレキシブル容器及びその形成方法
CN101668506A (zh) 多室容器
JP2014023772A (ja) 二室容器
JPH11263354A (ja) 包装袋
JP5772000B2 (ja) 医療用複室容器
EP1838272B1 (en) Medical liquid container and preparation-containing medical liquid container
CN101316569B (zh) 医疗用多室容器的弱密封部的加强方法
JP4816126B2 (ja) 注出具付き包装袋
JP5078385B2 (ja) 医療用容器
JP2007209705A (ja) 複室容器
JP4649854B2 (ja) 薬剤バッグ
JP2009195470A (ja) 医療用複室容器
JP4787646B2 (ja) 医療用容器
JP4476598B2 (ja) 複室輸液容器及び薬剤入り複室輸液容器
JP5078370B2 (ja) 医療用容器
JP2006175212A (ja) 医療用薬液容器および薬剤入り医療用薬液容器
JP2009160266A (ja) 医療用複室容器
JP2005187030A (ja) 可撓性複室容器
JP4609791B2 (ja) 複室容器
JP2007175442A (ja) 医療用複室容器
JP5728806B2 (ja) 医療用複室容器
JP2008029529A (ja) 医療用複室容器
JP2005211481A (ja) 医療用複室容器
JP2007244660A (ja) 医療用複室容器
JP2011103953A (ja) 医療用複室容器

Legal Events

Date Code Title Description
A621 Written request for application examination

Free format text: JAPANESE INTERMEDIATE CODE: A621

Effective date: 20131220

A131 Notification of reasons for refusal

Free format text: JAPANESE INTERMEDIATE CODE: A131

Effective date: 20140909

A977 Report on retrieval

Free format text: JAPANESE INTERMEDIATE CODE: A971007

Effective date: 20140912

A521 Request for written amendment filed

Free format text: JAPANESE INTERMEDIATE CODE: A523

Effective date: 20141110

TRDD Decision of grant or rejection written
A01 Written decision to grant a patent or to grant a registration (utility model)

Free format text: JAPANESE INTERMEDIATE CODE: A01

Effective date: 20150602

A61 First payment of annual fees (during grant procedure)

Free format text: JAPANESE INTERMEDIATE CODE: A61

Effective date: 20150615

R150 Certificate of patent or registration of utility model

Ref document number: 5772000

Country of ref document: JP

Free format text: JAPANESE INTERMEDIATE CODE: R150

R250 Receipt of annual fees

Free format text: JAPANESE INTERMEDIATE CODE: R250

R250 Receipt of annual fees

Free format text: JAPANESE INTERMEDIATE CODE: R250

LAPS Cancellation because of no payment of annual fees