JP5749941B2 - 記録媒体除去装置、消色装置、裁断装置及び記録媒体除去方法 - Google Patents

記録媒体除去装置、消色装置、裁断装置及び記録媒体除去方法 Download PDF

Info

Publication number
JP5749941B2
JP5749941B2 JP2011049021A JP2011049021A JP5749941B2 JP 5749941 B2 JP5749941 B2 JP 5749941B2 JP 2011049021 A JP2011049021 A JP 2011049021A JP 2011049021 A JP2011049021 A JP 2011049021A JP 5749941 B2 JP5749941 B2 JP 5749941B2
Authority
JP
Japan
Prior art keywords
recording medium
paper
roller
thickness
transport
Prior art date
Legal status (The legal status is an assumption and is not a legal conclusion. Google has not performed a legal analysis and makes no representation as to the accuracy of the status listed.)
Expired - Fee Related
Application number
JP2011049021A
Other languages
English (en)
Other versions
JP2011191758A (ja
Inventor
貴弘 川口
貴弘 川口
伊佐雄 八幡
伊佐雄 八幡
健 井口
健 井口
田口 浩之
浩之 田口
宏行 土橋
宏行 土橋
裕之 瀧
裕之 瀧
Current Assignee (The listed assignees may be inaccurate. Google has not performed a legal analysis and makes no representation or warranty as to the accuracy of the list.)
Toshiba Corp
Toshiba Tec Corp
Original Assignee
Toshiba Corp
Toshiba Tec Corp
Priority date (The priority date is an assumption and is not a legal conclusion. Google has not performed a legal analysis and makes no representation as to the accuracy of the date listed.)
Filing date
Publication date
Application filed by Toshiba Corp, Toshiba Tec Corp filed Critical Toshiba Corp
Publication of JP2011191758A publication Critical patent/JP2011191758A/ja
Application granted granted Critical
Publication of JP5749941B2 publication Critical patent/JP5749941B2/ja
Expired - Fee Related legal-status Critical Current
Anticipated expiration legal-status Critical

Links

Images

Classifications

    • BPERFORMING OPERATIONS; TRANSPORTING
    • B65CONVEYING; PACKING; STORING; HANDLING THIN OR FILAMENTARY MATERIAL
    • B65HHANDLING THIN OR FILAMENTARY MATERIAL, e.g. SHEETS, WEBS, CABLES
    • B65H7/00Controlling article feeding, separating, pile-advancing, or associated apparatus, to take account of incorrect feeding, absence of articles, or presence of faulty articles
    • B65H7/02Controlling article feeding, separating, pile-advancing, or associated apparatus, to take account of incorrect feeding, absence of articles, or presence of faulty articles by feelers or detectors
    • B65H7/06Controlling article feeding, separating, pile-advancing, or associated apparatus, to take account of incorrect feeding, absence of articles, or presence of faulty articles by feelers or detectors responsive to presence of faulty articles or incorrect separation or feed
    • BPERFORMING OPERATIONS; TRANSPORTING
    • B41PRINTING; LINING MACHINES; TYPEWRITERS; STAMPS
    • B41JTYPEWRITERS; SELECTIVE PRINTING MECHANISMS, i.e. MECHANISMS PRINTING OTHERWISE THAN FROM A FORME; CORRECTION OF TYPOGRAPHICAL ERRORS
    • B41J11/00Devices or arrangements  of selective printing mechanisms, e.g. ink-jet printers or thermal printers, for supporting or handling copy material in sheet or web form
    • B41J11/006Means for preventing paper jams or for facilitating their removal
    • BPERFORMING OPERATIONS; TRANSPORTING
    • B41PRINTING; LINING MACHINES; TYPEWRITERS; STAMPS
    • B41JTYPEWRITERS; SELECTIVE PRINTING MECHANISMS, i.e. MECHANISMS PRINTING OTHERWISE THAN FROM A FORME; CORRECTION OF TYPOGRAPHICAL ERRORS
    • B41J13/00Devices or arrangements of selective printing mechanisms, e.g. ink-jet printers or thermal printers, specially adapted for supporting or handling copy material in short lengths, e.g. sheets
    • B41J13/0009Devices or arrangements of selective printing mechanisms, e.g. ink-jet printers or thermal printers, specially adapted for supporting or handling copy material in short lengths, e.g. sheets control of the transport of the copy material
    • BPERFORMING OPERATIONS; TRANSPORTING
    • B41PRINTING; LINING MACHINES; TYPEWRITERS; STAMPS
    • B41JTYPEWRITERS; SELECTIVE PRINTING MECHANISMS, i.e. MECHANISMS PRINTING OTHERWISE THAN FROM A FORME; CORRECTION OF TYPOGRAPHICAL ERRORS
    • B41J29/00Details of, or accessories for, typewriters or selective printing mechanisms not otherwise provided for
    • B41J29/26Devices, non-fluid media or methods for cancelling, correcting errors, underscoring or ruling
    • B41J29/36Devices, non-fluid media or methods for cancelling, correcting errors, underscoring or ruling for cancelling or correcting errors by overprinting
    • BPERFORMING OPERATIONS; TRANSPORTING
    • B41PRINTING; LINING MACHINES; TYPEWRITERS; STAMPS
    • B41JTYPEWRITERS; SELECTIVE PRINTING MECHANISMS, i.e. MECHANISMS PRINTING OTHERWISE THAN FROM A FORME; CORRECTION OF TYPOGRAPHICAL ERRORS
    • B41J29/00Details of, or accessories for, typewriters or selective printing mechanisms not otherwise provided for
    • B41J29/38Drives, motors, controls or automatic cut-off devices for the entire printing mechanism
    • BPERFORMING OPERATIONS; TRANSPORTING
    • B65CONVEYING; PACKING; STORING; HANDLING THIN OR FILAMENTARY MATERIAL
    • B65HHANDLING THIN OR FILAMENTARY MATERIAL, e.g. SHEETS, WEBS, CABLES
    • B65H5/00Feeding articles separated from piles; Feeding articles to machines
    • B65H5/06Feeding articles separated from piles; Feeding articles to machines by rollers or balls, e.g. between rollers
    • B65H5/062Feeding articles separated from piles; Feeding articles to machines by rollers or balls, e.g. between rollers between rollers or balls
    • GPHYSICS
    • G03PHOTOGRAPHY; CINEMATOGRAPHY; ANALOGOUS TECHNIQUES USING WAVES OTHER THAN OPTICAL WAVES; ELECTROGRAPHY; HOLOGRAPHY
    • G03GELECTROGRAPHY; ELECTROPHOTOGRAPHY; MAGNETOGRAPHY
    • G03G15/00Apparatus for electrographic processes using a charge pattern
    • G03G15/65Apparatus which relate to the handling of copy material
    • BPERFORMING OPERATIONS; TRANSPORTING
    • B65CONVEYING; PACKING; STORING; HANDLING THIN OR FILAMENTARY MATERIAL
    • B65HHANDLING THIN OR FILAMENTARY MATERIAL, e.g. SHEETS, WEBS, CABLES
    • B65H2301/00Handling processes for sheets or webs
    • B65H2301/30Orientation, displacement, position of the handled material
    • B65H2301/34Modifying, selecting, changing direction of displacement
    • B65H2301/341Modifying, selecting, changing direction of displacement without change of plane of displacement
    • B65H2301/3411Right angle arrangement, i.e. 90 degrees
    • B65H2301/34112Right angle arrangement, i.e. 90 degrees changing leading edge
    • BPERFORMING OPERATIONS; TRANSPORTING
    • B65CONVEYING; PACKING; STORING; HANDLING THIN OR FILAMENTARY MATERIAL
    • B65HHANDLING THIN OR FILAMENTARY MATERIAL, e.g. SHEETS, WEBS, CABLES
    • B65H2301/00Handling processes for sheets or webs
    • B65H2301/40Type of handling process
    • B65H2301/44Moving, forwarding, guiding material
    • B65H2301/448Diverting
    • BPERFORMING OPERATIONS; TRANSPORTING
    • B65CONVEYING; PACKING; STORING; HANDLING THIN OR FILAMENTARY MATERIAL
    • B65HHANDLING THIN OR FILAMENTARY MATERIAL, e.g. SHEETS, WEBS, CABLES
    • B65H2404/00Parts for transporting or guiding the handled material
    • B65H2404/10Rollers
    • B65H2404/14Roller pairs
    • B65H2404/144Roller pairs with relative movement of the rollers to / from each other
    • B65H2404/1441Roller pairs with relative movement of the rollers to / from each other involving controlled actuator
    • BPERFORMING OPERATIONS; TRANSPORTING
    • B65CONVEYING; PACKING; STORING; HANDLING THIN OR FILAMENTARY MATERIAL
    • B65HHANDLING THIN OR FILAMENTARY MATERIAL, e.g. SHEETS, WEBS, CABLES
    • B65H2511/00Dimensions; Position; Numbers; Identification; Occurrences
    • B65H2511/10Size; Dimensions
    • B65H2511/13Thickness
    • BPERFORMING OPERATIONS; TRANSPORTING
    • B65CONVEYING; PACKING; STORING; HANDLING THIN OR FILAMENTARY MATERIAL
    • B65HHANDLING THIN OR FILAMENTARY MATERIAL, e.g. SHEETS, WEBS, CABLES
    • B65H2511/00Dimensions; Position; Numbers; Identification; Occurrences
    • B65H2511/50Occurence
    • B65H2511/52Defective operating conditions
    • BPERFORMING OPERATIONS; TRANSPORTING
    • B65CONVEYING; PACKING; STORING; HANDLING THIN OR FILAMENTARY MATERIAL
    • B65HHANDLING THIN OR FILAMENTARY MATERIAL, e.g. SHEETS, WEBS, CABLES
    • B65H2511/00Dimensions; Position; Numbers; Identification; Occurrences
    • B65H2511/50Occurence
    • B65H2511/52Defective operating conditions
    • B65H2511/524Multiple articles, e.g. double feed
    • BPERFORMING OPERATIONS; TRANSPORTING
    • B65CONVEYING; PACKING; STORING; HANDLING THIN OR FILAMENTARY MATERIAL
    • B65HHANDLING THIN OR FILAMENTARY MATERIAL, e.g. SHEETS, WEBS, CABLES
    • B65H2513/00Dynamic entities; Timing aspects
    • B65H2513/50Timing
    • B65H2513/512Starting; Stopping
    • GPHYSICS
    • G03PHOTOGRAPHY; CINEMATOGRAPHY; ANALOGOUS TECHNIQUES USING WAVES OTHER THAN OPTICAL WAVES; ELECTROGRAPHY; HOLOGRAPHY
    • G03GELECTROGRAPHY; ELECTROPHOTOGRAPHY; MAGNETOGRAPHY
    • G03G2215/00Apparatus for electrophotographic processes
    • G03G2215/00362Apparatus for electrophotographic processes relating to the copy medium handling
    • G03G2215/00443Copy medium
    • G03G2215/00531Copy medium transported through the apparatus for non-imaging purposes, e.g. cleaning
    • GPHYSICS
    • G03PHOTOGRAPHY; CINEMATOGRAPHY; ANALOGOUS TECHNIQUES USING WAVES OTHER THAN OPTICAL WAVES; ELECTROGRAPHY; HOLOGRAPHY
    • G03GELECTROGRAPHY; ELECTROPHOTOGRAPHY; MAGNETOGRAPHY
    • G03G2215/00Apparatus for electrophotographic processes
    • G03G2215/00362Apparatus for electrophotographic processes relating to the copy medium handling
    • G03G2215/00535Stable handling of copy medium
    • G03G2215/00687Handling details
    • G03G2215/00708Cleaning of sheet or feeding structures
    • GPHYSICS
    • G03PHOTOGRAPHY; CINEMATOGRAPHY; ANALOGOUS TECHNIQUES USING WAVES OTHER THAN OPTICAL WAVES; ELECTROGRAPHY; HOLOGRAPHY
    • G03GELECTROGRAPHY; ELECTROPHOTOGRAPHY; MAGNETOGRAPHY
    • G03G2215/00Apparatus for electrophotographic processes
    • G03G2215/00362Apparatus for electrophotographic processes relating to the copy medium handling
    • G03G2215/00535Stable handling of copy medium
    • G03G2215/00717Detection of physical properties
    • G03G2215/00738Detection of physical properties of sheet thickness or rigidity

Landscapes

  • Engineering & Computer Science (AREA)
  • Mechanical Engineering (AREA)
  • Physics & Mathematics (AREA)
  • General Physics & Mathematics (AREA)
  • Cleaning In Electrography (AREA)
  • Accessory Devices And Overall Control Thereof (AREA)
  • Control Or Security For Electrophotography (AREA)

Description

本発明の実施形態は、記録媒体除去装置、消色装置、裁断装置及び記録媒体除去方法に関する。
資源の節約のため、消色可能な現像材を使用して画像形成を行うことがある。消色可能な現像材としては熱によって色が消えるトナー、インクなどがある。この消色可能な現像材によって画像形成された記録媒体は、消色装置によって加熱され、消色されたのちに再利用される。
しかし、消色装置に投入される記録媒体は一枚ずつばらばらになった状態であるとは限らない。例えば、ステイプルされた用紙束、糊付けされて製本された用紙束、等も投入されることがある。
このような用紙束が搬送されると、ジャムが発生するだけでなく、消色装置が破損することがある。
この点に関し、重送センサ、厚さセンサを記録媒体搬送路に設置し、複数枚の記録媒体が同時に搬送された場合に廃棄ボックスに廃棄する技術が提案されている。
特許第3061377号公報
しかし、厚さセンサの測定許容範囲以上の厚さを持つ用紙束が搬送された場合、ジャムが発生するだけでなく、機構部分が破損する。
従って、厚さセンサの許容範囲を超える厚さの用紙束が搬送されてきた場合にこの用紙束を除去することが可能な記録媒体除去装置、消色装置、裁断装置、及び記録媒体除去方法が求められている。
上記の課題を解決するために、本発明の一実施形態は、記録媒体の厚さに応じて出力信号を変化させる厚さセンサと、記録媒体を搬送する記録媒体搬送機構と、厚さセンサの記録媒体搬送方向の下流に設けられ記録媒体を記録媒体搬送方向に対して側方に除去する記録媒体除去機構と、厚さセンサからの出力に基づいて求められる記録媒体の厚みが閾値以上である場合に、記録媒体が搬送不可能であると判定し記録媒体除去機構により記録媒体を記録媒体搬送路から除去する制御部と、を備え、記録媒体除去機構は、搬送方向に直交する直交軸回りに回転するとともに、直交軸に平行な除去方向へ移動可能に配置され、記録媒体を挟んだまま回転して、記録媒体を記録媒体搬送方向へ搬送する搬送ローラ及び下側搬送ローラと、記録媒体搬送方向に平行な軸回りに回転し、記録媒体を除去方向へ搬送する排出ローラと、を有し、制御部は、記録媒体を挟んだ搬送ローラ及び下側搬送ローラを除去方向へ移動して、記録媒体を排出ローラへ引き渡すことにより、記録媒体を、記録媒体搬送路から除去する記録媒体除去装置を提供する。
第1の実施形態の記録媒体除去装置を含む消色装置の側面図である。 第1の実施形態の記録媒体除去装置の平面図である。 第1の実施形態の記録媒体除去装置を記録媒体除去方向から見た正面図である。 搬送ローラの記録媒体搬送方向下流からみた側面図である。 第1の実施形態の消色装置の構成を示すブロック図である。 第1の実施形態の消色装置の動作を示すフローチャートである。 第2の実施形態の記録媒体除去装置を含む消色装置の側面図である。 第2の実施形態の記録媒体除去装置を含む消色装置の斜視図である。 第2の実施形態の記録媒体除去装置の拡大斜視図である。 消色装置の構成を示すブロック図である。 消色装置の動作を示すフローチャートである。
以下、記録媒体除去装置、消色装置、裁断装置、及び記録媒体除去方法の一実施形態について、図面を用いて詳細に説明する。
本実施形態の記録媒体除去装置は、記録媒体の厚さに応じて出力信号を変化させる厚さセンサと、記録媒体を搬送する記録媒体搬送機構と、厚さセンサの記録媒体搬送方向下流に設けられ、記録媒体を前記記録媒体搬送方向に対して側方に除去する記録媒体除去機構と、記録媒体が搬送不可能であると判定した場合記録媒体除去機構により記録媒体を記録媒体搬送路から除去する制御部と、を備える。
本実施形態の消色装置は、記録媒体を搬送する記録媒体搬送機構と、記録媒体の厚さに応じて出力信号を変化させる厚さセンサと、厚さセンサの記録媒体搬送方向下流に設けられ、記録媒体を記録媒体搬送方向に対して側方に除去する記録媒体除去機構と、記録媒体が搬送不可能であると判定した場合記録媒体除去機構により記録媒体を記録媒体搬送路から除去する制御部と、記録媒体を消色温度以上に加熱する加熱ローラと、を備える。
(第1の実施形態)
図1は、第1の実施形態の記録媒体除去装置200を含む消色装置10の側面図である。図1に示すように、消色装置10は、消色する記録媒体を載置する入口トレイ101と、入口トレイ101に載置された記録媒体を一枚ずつ取り出すピックアップローラ102と、記録媒体の通過を検知する入り口センサ103と、記録媒体の重送を検知する重送センサ104と、記録媒体を搬送する搬送ローラ106と、搬送不能と判定された記録媒体を記録媒体搬送路から除去する記録媒体除去装置200と、記録媒体の厚さを検知する厚さセンサ201と、記録媒体を消色温度以上に加熱する加熱装置である加熱ローラ107と、記録媒体上の画像が消色されているかを検知する画像検知センサ108と、記録媒体の搬送路を切り替える切り替え装置109と、再利用可能な記録媒体を蓄積する再利用ボックス110と、再利用不可能な記録媒体を蓄積する廃棄ボックス111と、制御部と、を備える。
重送センサ104は例えば超音波を記録媒体の一方の面から他方の面に向けて通過させ、通過した超音波のレベルを出力する。制御部はこのレベルに基づいて重送を判定する。
加熱装置である加熱ローラ107は金属によって形成され、内部にヒータを有する。加熱ローラ107は記録媒体上の消色可能な現像材を消色温度以上に加熱して記録媒体を消色する。
加熱装置は記録媒体を消色温度以上に加熱できればよく、熱源は問わない。加熱装置は例えば、サーマルヘッド、ハロゲンヒーター、グラファイトヒーター、IH(Induction Heater)、発熱ランプを内蔵した熱伝導性材料によって形成されるローラなど、を採用できる。
加熱装置は記録媒体に接触せずに加熱する熱源を採用できる。
消色可能な現像材は、呈色性化合物、顕色剤、消色剤を含む。呈色性化合物は、例えばロイコ染料が挙げられる。顕色剤は、例えばフェノール類が挙げられる。消色剤は、加熱されると呈色性化合物と相溶し、顕色剤と親和性を有さない物質が挙げられる。
消色可能な現像材は、呈色性化合物と顕色剤との相互作用により発色し、消色温度以上の加熱により呈色性化合物と顕色剤との相互作用が絶たれるため、消色する。
消色されなかった画像が存在することにより再利用不可能と判定された記録媒体は、切り替え装置109によって切り替えられた記録媒体搬送路を経由して廃棄ボックス111に蓄積される。
記録媒体除去装置200は、加熱ローラ107の記録媒体搬送方向上流に設置される。記録媒体除去装置200は記録媒体搬送路の最初の曲線部分より記録媒体搬送方向上流に設置される。
消色装置10は厚さセンサ201を記録媒体除去装置200より記録媒体搬送方向上流に有する。厚さセンサ201は記録媒体にアクチュエータを当接させ、このアクチュエータの動きを永久磁石に伝え、永久磁石の動きを磁気センサによって検知し、記録媒体の厚みに応じた信号を出力する。制御部はこの出力信号に基づいて記録媒体の厚さを判定する。
記録媒体除去装置200は記録媒体除去装置200の下方に廃棄ボックス111を有する。
記録媒体除去装置200は厚さセンサ201の出力に基づいて搬送不可能と判定された記録媒体を、記録媒体搬送方向に対して垂直方向に搬送して記録媒体搬送路から除去する。制御部は厚さセンサ201の出力が閾値以上の場合搬送不可能と判定する。
消色装置10は廃棄ボックス111に至る記録媒体搬送路終端に紙状体を裁断するシュレッダ機構711を有していてもよい。シュレッダ機構711は、シュレッダ入口センサがONするとシュレッダカッターを回転させる。消色装置10は消色動作後に再利用不可能と判定した記録媒体をシュレッダ機構711に投入し、粉砕する。
図2は、記録媒体除去装置200の平面図である。図2に示すように、記録媒体除去装置200は、記録媒体を記録媒体搬送方向に搬送する搬送ローラ206と、搬送ローラ206を駆動する搬送モータ207と、記録媒体が除去位置に達したことを検知する通過センサ202と、記録媒体を記録媒体搬送路から除去する排出ローラ204と、記録媒体が排出位置にあるか否かを検知する排出センサ203と、排出ローラ204を駆動し、搬送ローラ206を変位させる排出モータ205と、排出モータ205の駆動力の伝達方向を切り替えるクラッチ205Aと、を記録媒体除去機構として備える。
記録媒体除去装置200は排出ローラ204を排出ローラ204の回転軸が記録媒体搬送方向である矢印X1方向に平行に有する。記録媒体除去装置200は排出ローラ204により搬送不可能な記録媒体を記録媒体搬送方向に対して側方、例えば垂直方向である矢印X2方向に除去する。
図3は、記録媒体除去装置200を記録媒体除去方向から見た正面図である。図3に示すように、搬送ローラ206は下側搬送ローラ206Aと対をなし、この下側搬送ローラ206Aとともに記録媒体を挟み、回転することにより搬送する。記録媒体除去装置200は搬送ローラ206を上方に変位させる変位機構208を備える。
図4は、搬送ローラ206の記録媒体搬送方向下流からみた側面図である。図4に示すように、変位機構208は搬送ローラ206を変位させる搬送ローラソレノイド209と、搬送ローラ206を駆動するローラベルト210と、を備える。
記録媒体除去装置200は搬送ローラ206と下側搬送ローラ206Aとを支持するフレーム211を備える。フレーム211はクラッチ205Aがつながれた状態にて排出モータ205が駆動すると記録媒体を除去する方向である矢印X2方向に変位する。
消色装置10は、記録媒体を記録媒体搬送方向である矢印X1方向に搬送する。制御部が搬送中の記録媒体は厚さセンサ201の出力に基づいて搬送不可能な記録媒体であると判定したとき、消色装置10は搬送モータ207を通過センサ202が記録媒体を検知するタイミングにて停止させる。
次に、消色装置10は搬送ローラ206が下側搬送ローラ206Aとともに記録媒体をつかんだ状態にて、クラッチ205Aを繋ぎ排出モータ205を駆動させる。
排出モータ205の駆動力は搬送ローラ206と下側搬送ローラ206Aとを支持するフレーム211を記録媒体搬送方向に対して垂直方向であるX2方向に変位させる。
フレーム211が搬送ローラ206と下側搬送ローラ206Aとを矢印X2方向に変位すると、排出センサ203は記録媒体を検知する。
消色装置10は排出センサ203により記録媒体を検知すると、変位機構208を駆動させ、搬送ローラ206を上方に変位させる。搬送ローラ206が上方に変位すると、挟まれていた記録媒体が解放される。
次に、消色装置10はクラッチ205Aを切り、排出モータ205を回転させる。排出モータ205の駆動力は、クラッチ205Aを切った状態では排出ローラ204を回転させる。
従って、記録媒体は排出ローラ204によりX2方向に除去される。
図5は、消色装置10の構成を示すブロック図である。図5に示すように、消色装置10は制御部であるメインCPU501と、表示装置であるコントロールパネル502と、記憶装置であるROM・RAM503と、を備える。
メインCPU501は消色装置10が備える重送センサ104と、厚さセンサ201と、記録媒体除去装置200の記録媒体搬送路の搬送ローラ206に対応する位置に設けられ、記録媒体が排出可能位置に達したことを検知する通過センサ202と、排出センサ203と、に接続し、これらのセンサの出力を入力する。
メインCPU501は加熱ローラ107を駆動する消去装置504と、記録媒体搬送装置505と、搬送モータ207と、排出モータ205と、クラッチ205Aと、変位機構208を駆動させ、搬送ローラ206を昇降させる搬送ローラソレノイド209と、に接続し、これらの装置の動作を制御する。
図6は、消色装置10の動作を示すフローチャートである。図6に示すように、動作601において、消色装置10は記録媒体を搬送し、記録媒体除去装置200に投入する。
動作602において、消色装置10は厚さセンサ201の出力に基づいて記録媒体が搬送可能かを判定する。消色装置10は、記録媒体が搬送不可能であると判定した場合動作603に進み、搬送可能であると判定した場合動作609に進む。
動作603において、消色装置10は通過センサ202が記録媒体を検知したかを判定する。消色装置10は通過センサ202が記録媒体を検知した場合動作604に進み、検知しない場合、動作603に戻る。
動作604において、消色装置10はクラッチ205Aをつなぎ、排出モータ205を駆動させてフレーム211を変位させることにより搬送ローラ206及び下側搬送ローラ206Aに挟まれた記録媒体を記録媒体搬送方向に対して垂直方向排出ローラ204側に移動させる。
動作605において、消色装置10は排出ローラ204を回転させる。
動作606において、消色装置10は排出センサ203が記録媒体を検知したかを判定する。消色装置10は、排出センサ203が記録媒体を検知したと判定したとき動作607に進み、検知したと判定しないとき動作606に戻る。
動作607において、消色装置10は搬送ローラソレノイド209を駆動させて搬送ローラ206を上昇させる。従って、搬送ローラ206及び下側搬送ローラ206Aから排出ローラ204に引き渡された記録媒体は排出ローラ204により廃棄ボックス111に排出される。
動作608において、消色装置10は排出センサ203が記録媒体を検知したかを判定する。消色装置10は、排出センサ203が記録媒体を検知したと判定したとき、動作608に戻り、検知したと判定しないとき、動作601に戻る。
動作609において、消色装置10は記録媒体を搬送する。動作610において、消色装置10は記録媒体に対して消色動作を実行する。
以上のべたように、本実施形態の記録媒体除去装置200を含む消色装置10は、記録媒体の厚さを検知する厚さセンサ201と、記録媒体を挟んだまま記録媒体搬送方向に対して垂直方向に変位する搬送ローラ206及び下側搬送ローラ206Aと、記録媒体搬送方向側端に設けられ、記録媒体を記録媒体搬送方向に対して垂直方向に除去する排出ローラ204と、を備える。
従って、厚さセンサの許容範囲を超える厚さの用紙束が搬送されてきた場合でもこの用紙束を除去することが可能となるという効果がある。
(第2の実施形態)
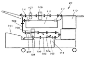
図7は、第2の実施形態の記録媒体除去装置700を含む消色装置20の側面図である。図8は、第2の実施形態の記録媒体除去装置700を含む消色装置20の斜視図である。図7及び図8に示すように、消色装置20は、消色する記録媒体を載置する入口トレイ701と、記録媒体の厚さを検知する厚さセンサ201と、記録媒体除去装置700と、記録媒体を搬送する記録媒体搬送装置708と、記録媒体を消色温度以上に加熱する加熱ローラ107と、再利用可能な記録媒体を蓄積する再利用ボックス110と、再利用不可能な記録媒体を蓄積する廃棄ボックス111と、重送センサ104と、画像検知センサ108と、制御部と、を備える。
消色装置20は記録媒体除去装置700を加熱ローラ107の記録媒体搬送方向上流に有する。
記録媒体除去装置700は厚さセンサ201の出力に基づいて搬送不可能と判定された記録媒体を、記録媒体搬送方向に対して垂直方向に搬送して記録媒体搬送路から除去する。制御部は厚さセンサ201の出力が閾値以上の場合搬送不可能と判定する。
消色装置20は廃棄ボックス111に至る記録媒体搬送路終端に紙状体を裁断するシュレッダ機構711を有していてもよい。
記録媒体除去装置700は、昇降可能な搬送ガイド703と、記録媒体を記録媒体搬送方向に対して垂直方向に除去する記録媒体除去機構である除去ベルト704と、記録媒体を取り出すピックアップローラ705と、搬送ローラ706と、を備える。
除去ベルト704は、例えば無端状のベルトによって形成され、記録媒体搬送方向に対して側方、例えば垂直方向に回転する。記録媒体除去装置700は除去ベルト704を搬送ガイド703の上方に有する。
図9は、第2の実施形態の記録媒体除去装置700の拡大斜視図である。図9に示すように、記録媒体除去装置700は除去ベルト704に記録媒体をひっかけて搬送する爪部704Aを備える。
記録媒体除去装置700は搬送ガイド703に、爪部704Aが通過する溝部703Aを有する。
爪部704Aは、搬送ガイド703が上昇したときに溝部703Aに先端が入り込む長さを有する。溝部703Aは、爪部704Aが通過するときに干渉しない深さを有する。
除去ベルト704が回転すると除去ベルト704が有する爪部704Aが記録媒体搬送路を記録媒体搬送方向に対して垂直方向に横切るように移動する。爪部704Aは、搬送ガイド703上の記録媒体を記録媒体搬送方向に対して垂直方向に除去する。
記録媒体除去装置700は爪部704Aがホームポジションにあるか否かを検知するホームポジションセンサ901を記録媒体搬送装置708の除去ベルト704設置位置に有する。
図10は、消色装置20の構成を示すブロック図である。図10に示すように、消色装置20は制御部であるメインCPU501と、表示装置であるコントロールパネル502と、記憶装置であるROM・RAM503と、を備える。
メインCPU501は消色装置20が備える重送センサ104と、厚さセンサ201と、記録媒体除去装置700の記録媒体搬送路の除去ベルト704に対応する位置に設けられ、記録媒体が排出可能位置に達したことを検知する通過センサ202と、排出センサ203と、ホームポジションセンサ901と、に接続し、これらのセンサの出力を入力する。
メインCPU501は加熱ローラ107を駆動する消去装置504と、記録媒体搬送装置708と、搬送ローラを駆動する搬送モータ207と、除去ベルト704を駆動する除去ベルトモータ902と、搬送ガイド703を昇降させる搬送ガイド昇降装置903と、に接続し、これらの装置の動作を制御する。
図11は、消色装置20の動作を示すフローチャートである。図11に示すように、動作1101において、消色装置20は記録媒体を搬送し、記録媒体除去装置700に投入する。
動作1102において、消色装置20は厚さセンサ201の出力に基づいて記録媒体が搬送可能かを判定する。消色装置20は、記録媒体が搬送不可能であると判定した場合動作1103に進み、搬送可能であると判定した場合動作1108に進む。
動作1103において、消色装置20は搬送ガイド703を上昇させる。
動作1104において、消色装置20は通過センサ202が記録媒体を検知したかを判定する。消色装置20は通過センサ202が記録媒体を検知したと判定したとき動作1105に進み、検知しないと判定したとき動作1104に戻る。
動作1105において、消色装置20は搬送ローラ706を停止させ、除去ベルト704を回転させる。従って、記録媒体は除去ベルト704により廃棄ボックス111に排出される。
動作1106において、消色装置20は排出センサ203が記録媒体を検知したかを判定する。消色装置20は、排出センサ203が記録媒体を検知したと判定したとき動作1107に進み、検知したと判定しないとき動作1106に戻る。
動作1107において、消色装置20は除去ベルト704をホームポジションに移動させる。
動作1108において、消色装置20は搬送ガイド703を下げる。動作1109において、消色装置20は記録媒体を搬送する。動作1110において、消色装置20は記録媒体に対して消色動作を実行する。
以上述べたように、本実施形態の記録媒体除去装置700を含む消色装置20は、記録媒体の厚さを検知する厚さセンサ201と、記録媒体を記録媒体搬送方向に対して垂直方向に除去する除去ベルト704と、昇降可能な搬送ガイド703と、を備える。
従って、厚さの厚い用紙束が搬送されてきた場合でもこの用紙束を除去することが可能となるという効果がある。
本発明のいくつかの実施形態を説明したが、これらの実施形態は、例として提示したものであり、発明の範囲を限定することは意図していない。これら実施形態は、その他の様々な形態で実施されることが可能であり、発明の要旨を逸脱しない範囲で、種々の省略、置き換え、変更を行うことができる。これら実施形態やその変形は、発明の範囲や要旨に含まれると同様に、特許請求の範囲に記載された発明とその均等の範囲に含まれるものである。
200、700:記録媒体除去装置
201:厚さセンサ
204:排出ローラ
206:搬送ローラ
206A:下側搬送ローラ
703:搬送ガイド
704:除去ベルト

Claims (6)

  1. 記録媒体の厚さに応じて出力信号を変化させる厚さセンサと、
    前記記録媒体を搬送する記録媒体搬送機構と、
    前記厚さセンサの記録媒体搬送方向の下流に設けられ、前記記録媒体を前記記録媒体搬送方向に対して側方に除去する記録媒体除去機構と、
    前記厚さセンサからの出力に基づいて求められる前記記録媒体の厚みが閾値以上である場合に、前記記録媒体が搬送不可能であると判定し前記記録媒体除去機構により前記記録媒体を記録媒体搬送路から除去する制御部と、
    を備え
    前記記録媒体除去機構は、
    前記記録媒体搬送方向に直交する直交軸回りに回転するとともに、前記直交軸に平行な除去方向へ移動可能に配置され、前記記録媒体を挟んだまま回転して、前記記録媒体を前記記録媒体搬送方向へ搬送する搬送ローラ及び下側搬送ローラと、
    前記記録媒体搬送方向に平行な軸回りに回転し、前記記録媒体を前記除去方向へ搬送する排出ローラと、
    を有し、
    前記制御部は、前記記録媒体を挟んだ前記搬送ローラ及び前記下側搬送ローラを前記除去方向へ移動して、前記記録媒体を前記排出ローラへ引き渡すことにより、前記記録媒体を、前記記録媒体搬送路から除去する記録媒体除去装置。
  2. 記録媒体を消色温度以上に加熱する加熱装置と、
    前記記録媒体の厚さに応じて出力信号を変化させる厚さセンサと、
    前記記録媒体を前記加熱装置へ搬送する記録媒体搬送機構と、
    前記厚さセンサの記録媒体搬送方向の下流に設けられ、前記加熱装置へ搬送される前記記録媒体を前記記録媒体搬送方向に対して側方に除去する記録媒体除去機構と、
    前記厚さセンサからの出力に基づいて求められる前記記録媒体の厚みが閾値以上である場合に、前記記録媒体が搬送不可能であると判定し前記記録媒体除去機構により前記記録媒体を記録媒体搬送路から除去する制御部と
    備え
    前記記録媒体除去機構は、
    前記記録媒体搬送方向に直交する軸回りに回転するとともに、前記搬送方向と直交する除去方向へ移動可能に配置され、前記記録媒体を挟んだまま回転して、前記記録媒体を前記記録媒体搬送方向へ搬送する搬送ローラ及び下側搬送ローラと、
    前記記録媒体搬送方向に平行な軸回りに回転し、前記記録媒体を前記除去方向へ搬送する排出ローラと、
    を有し、
    前記制御部は、前記記録媒体を挟んだ前記搬送ローラ及び前記下側搬送ローラを前記除去方向へ移動して、前記記録媒体を前記排出ローラへ引き渡すことにより、前記記録媒体を、前記記録媒体搬送路から除去する消色装置。
  3. 紙状体の厚さに応じて出力信号を変化させる厚さセンサと、
    前記紙状体を裁断するシュレッダ機構と、
    前記紙状体を、前記シュレッダ機構へ搬送する紙状体搬送機構と、
    前記厚さセンサの紙状体搬送方向の下流に設けられ、前記シュレッダ機構へ搬送される前記紙状体を前記紙状体搬送方向に対して側方に除去する紙状体除去機構と、
    前記厚さセンサからの出力に基づいて求められる前記紙状体の厚みが閾値以上である場合に、前記紙状体が搬送不可能であると判定し前記紙状体除去機構により前記紙状体を紙状体搬送路から除去する制御部と
    備え、
    前記紙状体除去機構は、
    前記紙状体搬送方向に直交する直交軸回りに回転するとともに、前記直交軸に平行な除去方向へ移動可能に配置され、前記紙状体を挟んだまま回転して、前記紙状体を前記紙状体搬送方向へ搬送する搬送ローラ及び下側搬送ローラと、
    前記紙状体搬送方向に平行な軸回りに回転し、前記紙状体を前記除去方向へ搬送する排出ローラと、
    を有し、
    前記制御部は、前記紙状体を挟んだ前記搬送ローラ及び前記下側搬送ローラを前記除去方向へ移動して、前記紙状体を前記排出ローラへ引き渡すことにより、前記紙状体を、前記紙状体搬送路から除去する裁断装置。
  4. 紙状体の厚さに応じて出力信号を変化させる厚さセンサと、
    前記紙状体を裁断するシュレッダ機構と、
    前記紙状体を、前記シュレッダへ搬送する紙状体搬送機構と、
    前記厚さセンサの紙状体搬送方向の下流に設けられ、前記シュレッダへ搬送される前記紙状体を、前記紙状体搬送方向に対して側方に除去する紙状体除去機構と、
    前記厚さセンサからの出力に基づいて求められる前記紙状体の厚みが閾値以上である場合に、前記紙状体が搬送不可能であると判定し、前記紙状体除去機構により前記紙状体を紙状体搬送路から除去する制御部と、
    を備え、
    前記紙状体除去機構は、
    前記紙状体搬送路の上方を垂直方向に横断するように配置され、前記紙状体を除去する爪部を有する除去ベルトを備える裁断装置。
  5. 前記制御部は、
    前記紙状体が搬送不可能であると判定したとき、
    前記紙状体の紙状体搬送方向への搬送を停止し、
    前記除去ベルトに前記紙状体を前記紙状体搬送方向に対して垂直方向に除去させる請求項記載の裁断装置。
  6. 厚さセンサの出力に基づいて求められる記録媒体の厚みが閾値以上である場合に、前記記録媒体が搬送不可能であると判定する工程と、
    前記記録媒体の記録媒体搬送方向に直交する直交軸回りに回転するとともに、前記直交軸に平行な除去方向へ移動可能に配置され、前記記録媒体を挟んだまま回転して、前記記録媒体を前記記録媒体搬送方向へ搬送する搬送ローラ及び下側搬送ローラと、前記記録媒体搬送方向に平行な軸回りに回転し、前記記録媒体を前記除去方向へ搬送する排出ローラと、を備えるとともに、前記厚さセンサの前記記録媒体搬送方向の下流に設けられ、記録媒体除去機構により前記記録媒体を記録媒体搬送路から除去する工程と、
    を含み、
    前記記録媒体を除去する工程では、
    前記記録媒体を挟んだ前記搬送ローラ及び前記下側搬送ローラを前記除去方向へ移動して、前記記録媒体を前記排出ローラへ引き渡すことにより、前記記録媒体を、前記記録媒体搬送路から除去する記録媒体除去方法。
JP2011049021A 2010-03-15 2011-03-07 記録媒体除去装置、消色装置、裁断装置及び記録媒体除去方法 Expired - Fee Related JP5749941B2 (ja)

Applications Claiming Priority (6)

Application Number Priority Date Filing Date Title
US31410210P 2010-03-15 2010-03-15
US31410510P 2010-03-15 2010-03-15
US61/314,102 2010-03-15
US61/314,105 2010-03-15
US13/038,215 2011-03-01
US13/038,215 US8466940B2 (en) 2010-03-15 2011-03-01 Recording medium removing apparatus, erasing apparatus, cutting apparatus, and recording medium removing method

Publications (2)

Publication Number Publication Date
JP2011191758A JP2011191758A (ja) 2011-09-29
JP5749941B2 true JP5749941B2 (ja) 2015-07-15

Family

ID=44559585

Family Applications (1)

Application Number Title Priority Date Filing Date
JP2011049021A Expired - Fee Related JP5749941B2 (ja) 2010-03-15 2011-03-07 記録媒体除去装置、消色装置、裁断装置及び記録媒体除去方法

Country Status (3)

Country Link
US (1) US8466940B2 (ja)
JP (1) JP5749941B2 (ja)
CN (1) CN102190179B (ja)

Families Citing this family (4)

* Cited by examiner, † Cited by third party
Publication number Priority date Publication date Assignee Title
CN102190178A (zh) * 2010-03-15 2011-09-21 株式会社东芝 记录介质除去装置及其方法、消色装置、自动原稿供给装置
WO2013150675A1 (ja) * 2012-04-05 2013-10-10 Hiraoka Takaaki 金庫
US8885004B2 (en) * 2012-04-10 2014-11-11 Kabushiki Kaisha Toshiba Erasing apparatus and method of erasing
JP7368983B2 (ja) * 2019-09-05 2023-10-25 キヤノン株式会社 印刷装置、通知制御方法及びプログラム

Family Cites Families (19)

* Cited by examiner, † Cited by third party
Publication number Priority date Publication date Assignee Title
JPS63270171A (ja) * 1987-04-30 1988-11-08 Nec Home Electronics Ltd プリンタにおける記録紙排出機構
JPH03182456A (ja) * 1989-12-08 1991-08-08 Canon Inc 画像形成装置
JPH0428662A (ja) * 1990-05-24 1992-01-31 Mitsubishi Heavy Ind Ltd 情報用紙回収選別方法
JP3095094B2 (ja) * 1992-05-26 2000-10-03 リコーエレメックス株式会社 シュレッダ用給紙装置
JP2000094363A (ja) * 1998-09-28 2000-04-04 Minolta Co Ltd 綴じ部材除去装置およびこれを備えた自動原稿搬送装置
JP3571944B2 (ja) * 1998-12-14 2004-09-29 キヤノン株式会社 シート材搬送装置及び該装置を備えた画像形成装置
JP2002046876A (ja) * 2000-05-22 2002-02-12 Canon Inc 画像形成装置及びその制御方法
JP2005007539A (ja) * 2003-06-20 2005-01-13 Canon Finetech Inc シート処理装置および画像形成装置
JP4238811B2 (ja) * 2004-10-21 2009-03-18 コニカミノルタビジネステクノロジーズ株式会社 用紙断裁装置及び用紙後処理装置
JP2006133550A (ja) * 2004-11-08 2006-05-25 Toshiba Corp 画像消去装置及び画像消去方法
JP2006160484A (ja) * 2004-12-09 2006-06-22 Ricoh Co Ltd 重送検知方法、記録シート搬送装置、及び画像形成装置
US7742716B2 (en) * 2006-04-04 2010-06-22 Ricoh Company, Ltd. Image forming system
JP4149485B2 (ja) * 2006-04-26 2008-09-10 シャープ株式会社 画像形成装置
JP2008230715A (ja) * 2007-03-16 2008-10-02 Komori Corp シート状物異常検出装置およびその検出方法
CN101456280A (zh) * 2007-12-13 2009-06-17 株式会社东芝 图像形成装置及其纸张处理方法、图像消除装置
US20090154970A1 (en) * 2007-12-13 2009-06-18 Kabushiki Kaisha Toshiba Image forming apparatus and image erasing apparatus
US8427516B2 (en) * 2009-06-19 2013-04-23 Kabushiki Kaisha Toshiba Image erasing apparatus and recording medium conveying method for image erasing apparatus
US20110074901A1 (en) * 2009-07-17 2011-03-31 Kabushiki Kaisha Toshiba Image erasing apparatus and recording medium conveying method for image erasing apparatus
US8489010B2 (en) * 2009-08-04 2013-07-16 Kabushiki Kaisha Toshiba Image delete apparatus and recording medium carrying method of image delete apparatus

Also Published As

Publication number Publication date
US20110221850A1 (en) 2011-09-15
US8466940B2 (en) 2013-06-18
CN102190179B (zh) 2014-05-14
CN102190179A (zh) 2011-09-21
JP2011191758A (ja) 2011-09-29

Similar Documents

Publication Publication Date Title
JP5634305B2 (ja) 記録媒体搬送装置、消色装置、自動原稿供給装置及び記録媒体除去方法
JP5555645B2 (ja) 記録媒体分別装置、消色装置及び記録媒体分別方法
JP5562269B2 (ja) 異物除去装置、消色装置及び異物除去方法
CN102572199B (zh) 消色装置、消色装置的控制方法
US8489010B2 (en) Image delete apparatus and recording medium carrying method of image delete apparatus
JP6060656B2 (ja) ロール状被記録媒体搬送装置、画像形成装置、ロール状被記録媒体搬送方法及びロール状被記録媒体搬送プログラム
JP5749941B2 (ja) 記録媒体除去装置、消色装置、裁断装置及び記録媒体除去方法
JP5904746B2 (ja) 画像形成装置
JP5860016B2 (ja) 画像形成装置
JP2009265349A (ja) 画像形成装置
US7418220B2 (en) Image recording apparatus
JP5268827B2 (ja) インクジェット記録装置
US7548722B2 (en) Switchback transport mechanism and image forming apparatus provided therewith
JP2015206944A (ja) 画像形成装置
JP4451417B2 (ja) 重送検出装置を備える画像記録装置および重送検出方法を備える画像記録方法
EP1757997B1 (en) Image recording apparatus
JP2019148659A (ja) 媒体搬送装置、画像形成装置及び媒体搬送制御方法
CN203998290U (zh) 记录媒介输送装置及图像形成装置
JPH0667570A (ja) 可逆性感熱記録フィルムの画像形成装置
JP2009051592A (ja) 画像形成装置
JP2007316466A (ja) 画像形成装置
JP2009227441A (ja) 用紙搬送装置、原稿読取装置及び画像形成装置
JPH0667571A (ja) 可逆性感熱記録フィルムの画像形成装置
JP2005208123A (ja) 加熱装置・画像形成装置
JP2014111316A (ja) 画像形成装置

Legal Events

Date Code Title Description
A621 Written request for application examination

Free format text: JAPANESE INTERMEDIATE CODE: A621

Effective date: 20130308

A977 Report on retrieval

Free format text: JAPANESE INTERMEDIATE CODE: A971007

Effective date: 20140219

A131 Notification of reasons for refusal

Free format text: JAPANESE INTERMEDIATE CODE: A131

Effective date: 20140225

A521 Request for written amendment filed

Free format text: JAPANESE INTERMEDIATE CODE: A523

Effective date: 20140414

A131 Notification of reasons for refusal

Free format text: JAPANESE INTERMEDIATE CODE: A131

Effective date: 20140930

A521 Request for written amendment filed

Free format text: JAPANESE INTERMEDIATE CODE: A523

Effective date: 20141128

TRDD Decision of grant or rejection written
A01 Written decision to grant a patent or to grant a registration (utility model)

Free format text: JAPANESE INTERMEDIATE CODE: A01

Effective date: 20150428

A61 First payment of annual fees (during grant procedure)

Free format text: JAPANESE INTERMEDIATE CODE: A61

Effective date: 20150515

R150 Certificate of patent or registration of utility model

Ref document number: 5749941

Country of ref document: JP

Free format text: JAPANESE INTERMEDIATE CODE: R150

LAPS Cancellation because of no payment of annual fees