JP5709679B2 - エレベータ巻上げ機の人力駆動装置 - Google Patents

エレベータ巻上げ機の人力駆動装置 Download PDF

Info

Publication number
JP5709679B2
JP5709679B2 JP2011159732A JP2011159732A JP5709679B2 JP 5709679 B2 JP5709679 B2 JP 5709679B2 JP 2011159732 A JP2011159732 A JP 2011159732A JP 2011159732 A JP2011159732 A JP 2011159732A JP 5709679 B2 JP5709679 B2 JP 5709679B2
Authority
JP
Japan
Prior art keywords
pulley
brake drum
belt
elevator
axis
Prior art date
Legal status (The legal status is an assumption and is not a legal conclusion. Google has not performed a legal analysis and makes no representation as to the accuracy of the status listed.)
Expired - Fee Related
Application number
JP2011159732A
Other languages
English (en)
Other versions
JP2013023335A (ja
Inventor
新平 桃木
新平 桃木
Current Assignee (The listed assignees may be inaccurate. Google has not performed a legal analysis and makes no representation or warranty as to the accuracy of the list.)
Mitsubishi Electric Corp
Original Assignee
Mitsubishi Electric Corp
Priority date (The priority date is an assumption and is not a legal conclusion. Google has not performed a legal analysis and makes no representation as to the accuracy of the date listed.)
Filing date
Publication date
Application filed by Mitsubishi Electric Corp filed Critical Mitsubishi Electric Corp
Priority to JP2011159732A priority Critical patent/JP5709679B2/ja
Publication of JP2013023335A publication Critical patent/JP2013023335A/ja
Application granted granted Critical
Publication of JP5709679B2 publication Critical patent/JP5709679B2/ja
Expired - Fee Related legal-status Critical Current
Anticipated expiration legal-status Critical

Links

Images

Landscapes

  • Maintenance And Inspection Apparatuses For Elevators (AREA)
  • Cage And Drive Apparatuses For Elevators (AREA)

Description

この発明は、エレベータの据え付け、調整、保守などの作業や救出運転を行う際に、エレベータの人力運転を可能とする巻上げ機の人力駆動装置に関するものである。
従来のエレベータ巻上げ機の人力駆動装置は、機械室の床に設置された本体部分に回転自在に取り付けられた第1スプロケットと、第1スプロケットから離れて本体部分に回転自在に取り付けられた第2スプロケットと、第2スプロケットに同軸に固着された第3スプロケットと、巻上げ機の回転軸に固着された第4スプロケットと、第1スプロケットと第2スプロケットとに巻回された第1チェーンと、第3スプロケットと第4スプロケットとに巻回された第2チェーンと、第1スプロケットの回転軸に取り付けられた足踏みペダルと、を備え、足踏みペダルをこいで、巻上げ機を駆動するように構成されていた(例えば、特許文献1参照)。
特開2003−312954号公報
従来のエレベータ巻上げ機の人力駆動装置では、足踏みペダルによって得た動力を巻上げ機の回転軸に伝達するために、第4スプロケットを巻上げ機の回転軸に取り付ける必要があるので、巻上げ機の回転軸の軸長を長くし、第4スプロケットの取り付けスペースを確保する等の設計変更が必要となるという課題があった。
この発明は、このような課題を解決するためになされたものであって、ベルトを巻上げ機のブレーキドラムに巻き掛けて、人力による回転トルクをベルトおよびブレーキドラムを介して巻上げ機の回転軸に伝達可能とし、巻上げ機の設計変更を伴うことなく、簡易にエレベータの人力運転を実現できるエレベータ巻上げ機の人力駆動装置を得ることを目的とする。
この発明によるエレベータ巻上げ機の人力駆動装置は、本体部と、上記本体部に第1軸周りに回転可能に取り付けられ、該第1軸を巻上げ機の回転軸と平行にして、該巻上げ機の回転軸と直交する同一の平面上に該巻上げ機の回転軸に固着されたブレーキドラムとともに位置するように配置されるプーリと、人力により上記プーリを上記第1軸周りに回転させる回転トルクを発生する人力回転トルク発生手段と、上記プーリと上記ブレーキドラムとに巻き掛けられて該プーリの回転トルクを該ブレーキドラムに伝達するベルトと、上記プーリを上記平面上を上記ブレーキドラムに対して接離する方向に移動させて上記ベルトのテンションを調整するベルトテンション調整手段と、を備えている。
この発明によれば、人力回転トルク発生手段により発生されたプーリを第1軸周りに回転させる回転トルクが、プーリおよびベルトを介して巻上げ機のブレーキドラムに伝達され、ブレーキドラムが固着された巻上げ機の回転軸が回転されるので、巻上げ機の設計変更を伴うことなく、エレベータの人力運転が実現される。
この発明の実施の形態1に係るエレベータ巻上げ機の人力駆動装置の構成を模式的に示す正面図である。 図1のII−II矢視断面図である。 この発明の実施の形態1に係るエレベータ巻上げ機の人力駆動装置を用いたエレベータの人力運転を説明する図である。 図3のA部拡大図である。 この発明の実施の形態3に係るエレベータの巻上げ機人力駆動装置の設置状態を説明する図である。 図5のB部の拡大図である。
以下、本発明のエレベータ巻上げ機の人力駆動装置の好適な実施の形態につき図面を用いて説明する。
実施の形態1.
図1はこの発明の実施の形態1に係るエレベータ巻上げ機の人力駆動装置の構成を模式的に示す正面図、図2は図1のII−II矢視断面図、図3はこの発明の実施の形態1に係るエレベータ巻上げ機の人力駆動装置を用いたエレベータの人力運転を説明する図、図4は図3のA部拡大図である。
図1および図2において、人力駆動装置100は、架台1と、先端部に形成された雄ねじ部4を架台1に形成された雌ねじ部2に螺合させて架台1に取り付けられたテンション調整用ボルト3と、テンション調整用ボルト3の一対のフランジ5間に、遊嵌状態に、かつ軸方向の移動を規制されて取り付けられ、テンション調整用ボルト3の回転により架台1に対してテンション調整用ボルト3の軸方向に昇降する本体部6と、本体部6からテンション調整用ボルト3の軸方向に直交する方向に突設された第1軸7周りに回転可能に取り付けられたプーリ8と、プーリ8に一体に同軸に固着され、プーリ8を第1軸7周りに回転させる操作ハンドル9と、本体部6からテンション調整用ボルト3の軸方向と第1軸7の軸方向とに直交する方向に延設されたアイドラープーリ支持部材10と、アイドラープーリ支持部材10の延出端に、第1軸7と平行な第2軸11周りに回転可能に取り付けられたアイドラープーリ12と、後述する動力伝達用のベルト13と、を備えている。そして、アイドラープーリ12は、プーリ8に対して、架台1側に変位して、プーリ8とともに第1軸7と直交する同一平面上に位置している。
ここで、架台1に形成された雌ねじ部2およびテンション調整用ボルト3がベルトテンション調整手段を構成し、操作ハンドル9が人力回転トルク発生手段を構成する。
このように構成された人力駆動装置100を用いたエレベータの人力運転について図3および図4を参照しつつ説明する。
巻上げ機20は、回転軸22に固着されたシーブ23と、回転軸22に固着されたブレーキドラム24と、を備え、昇降路18の上部の機械室19に設置される。そして、乗りかご16およびつい合いおもり17がシーブ23に巻き掛けられた昇降路18内に垂下された主ロープ25の両端に連結されている。制動機26は、ブレーキドラム24を抱きかかえるように作用するブレーキライニング27を有し、制動力は強力なバネによって与えられ、巻上げ機20を駆動するモータ(図示せず)への電力供給と同時に電磁力によって開放されるように構成されている。
このように構成されたエレベータでは、シーブ23がモータにより正逆両方向に回転され、乗りかご16を昇降させている。
人力駆動装置100は、架台1を巻上げ機20の筐体21にのせ、第1軸7を回転軸22と平行とさせ、かつ回転軸22の鉛直上方に位置させ、プーリ8がブレーキドラム24の鉛直上方に位置するように位置決めされて、設置される。これにより、プーリ8、アイドラープーリ12およびブレーキドラム24が同一鉛直面上(同一平面上)に配置される。ついで、ベルト13をプーリ8、アイドラープーリ12およびブレーキドラム24に巻き掛ける。そして、テンション調整用ボルト3を回して、本体部6を上昇させ、プーリ8、アイドラープーリ12およびブレーキドラム24に巻き掛けられたベルト13を緊張状態とする。このとき、アイドラープーリ12はベルト13の緩みの発生を抑える緩み抑制機構を構成する。また、ベルト13は、ブレーキドラム24とブレーキライニング27との間を通るようにブレーキドラム24に巻き掛けられている。
ついで、操作ハンドル9を回すと、プーリ8、アイドラープーリ12およびブレーキドラム24に巻き掛けられたベルト13が緊張状態となっているので、プーリ8およびブレーキドラム24とベルト13との間で発生する摩擦力により、プーリ8の回転トルクがベルト13を介してブレーキドラム24に伝達され、巻上げ機20の回転軸22が回転される。これにより、シーブ23が回転軸22とともに回転され、主ロープ25が走行され、乗りかご16が昇降される。つまり、エレベータが人力運転される。
つぎに、エレベータの緊急停止時、人力駆動装置100を用いて乗りかご16内の乗客を救出する場合について説明する。
まず、作業者は、制動機26を開放しても乗りかご16が昇降しないか否かを確認する。そして、制動機26を開放しても乗りかご16が昇降しない場合には、作業者は、機械室19に入り、制動機26を開放し、上述手順により人力駆動装置100を設置する。そして、作業者は、操作ハンドル9を回し、乗りかご16を最寄り階まで昇降させた後、制動機26の開放を解除し、ブレーキドラム24に制動力を付与する。そして、乗りかご16内の乗客を着床階に救出する。
また、制動機26を開放すると乗りかご16が昇降する場合には、作業者は、非常止め装置を作動させ、あるいは主ロープ25を吊るなどして、乗りかご16の昇降動作を停止させる。ついで、作業者は、機械室19に入り、制動機26を開放し、上述手順により人力駆動装置100を設置する。ついで、乗りかご16の昇降動作の停止を解除し、操作ハンドル9を回し、乗りかご16を最寄り階まで昇降させる。そこで、同様にして乗りかご16の昇降動作を停止させ、乗りかご16内の乗客を着床階に救出する。
ここでは、エレベータの緊急停止時に、人力駆動装置100を用いてエレベータを人力運転して乗りかご16内の乗客を救出する場合について説明したが、エレベータの据え付け、調整、保守などの作業においても、人力駆動装置100を用いて同様にエレベータを人力運転することができる。
また、ベルト13の材質は、特に限定されず、必要な強度が得られ、かつプーリ8およびブレーキドラム24との間に所定の摩擦力が得られて所望のトルクを伝達できればよく、例えばスチール、ゴムを用いることができる。
この実施の形態1によれば、人力により操作ハンドル9で発生された回転トルクをプーリ8およびベルト13を介して巻上げ機20に既設のブレーキドラム24に伝達するようにしているので、巻上げ機20の設計変更を伴うことなく、人力駆動装置100を用いてエレベータの人力運転を簡易に実現できる。
また、操作ハンドル9がプーリ8に同軸に直接固着されているので、操作ハンドル9で発生した回転トルクをプーリ8に伝達する動力伝達機構が不要となり、人力駆動装置100の構成の簡素化が図られ、低コスト化が図られる。
また、ベルト13がブレーキドラム24とブレーキライニング27との間に位置するようにブレーキドラム24に巻き付けられているので、ブレーキドラム24の軸長さの縮小が可能となり、巻上げ機20の小型化が図られる。
実施の形態2.
上記実施の形態1では、アイドラープーリ支持部材10が本体部6からテンション調整用ボルト3の軸方向と第1軸7の軸方向とに直交する方向に所定長さに延設されているものとしているが、この実施の形態2では、アイドラープーリ支持部材10がテンション調整用ボルト3の軸方向と第1軸7の軸方向とに直交する方向に伸縮可能に本体部6に取り付けられている。アイドラープーリ支持部材10の伸縮機構は、図示していないが、例えば、テンション調整用ボルト3と架台1に形成された雌ねじ部2との螺合による本体部6の昇降機構と同様の構成で実現される。
なお、他の構成は上記実施の形態1と同様に構成されている。
このように構成された人力駆動装置は、図3に示されるように、機械室19に設置される。そして、ベルト13が弛んだ状態となるようにテンション調整用ボルト3を調整し、アイドラープーリ支持部材10の延出長さを調整する。これにより、プーリ8、アイドラープーリ12およびブレーキドラム24が配置される同一鉛直面上におけるプーリ8とブレーキドラム24との両者に接する線分に対するアイドラープーリ12の延出量が調整される。すなわち、乗客の人数により増減する乗りかご16の重量に合わせてベルト13とプーリ8との接触角度範囲が調整される。当該接触角度範囲の調整が終わると、ベルト13が所定の緊張状態となるようにテンション調整用ボルト3を調整する。これにより、ベルト13のテンションを過度に高めることなく、プーリ8からベルト13への必要なトルク伝達量を確保できる。
例えば、搭乗乗客が多く、乗りかご16の重量が重くなった場合には、当該接触角度範囲を広くして、プーリ8とベルト13との間に発生する摩擦力を増大させる。これにより、ベルト13のテンションを過度に高めることなく、操作ハンドル9の回転トルクをプーリ8からベルト13に確実に伝達することができる。
この実施の形態2によれば、乗りかご16の重量に応じて、すなわちプーリ8からベルト13へのトルク伝達量の必要量に応じて、ベルト13とプーリ8との接触角度範囲を調整できるので、ベルト13のテンションを過度に高める必要がなく、ベルト13の長寿命化が図られる。
実施の形態3.
図5はこの発明の実施の形態3に係るエレベータの巻上げ機人力駆動装置の設置状態を説明する図、図6は図5のB部の拡大図である。
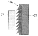
図5および図6において、ベルト13Aは、ブレーキドラム24側の表面の摩擦特性を一様とし、ブレーキライニング27側の表面の摩擦特性に方向性を持たせている。つまり、ベルト13Aのブレーキドラム24側の表面における長さ方向の両方向の摩擦係数を等しくしている。また、ベルト13Aのブレーキライニング27側の表面における長さ方向の一方向の摩擦係数を小さくし、長さ方向の他方向の摩擦係数を大きくしている。さらに、ブレーキライニング27側の表面における長さ方向の一方向の摩擦係数は、ブレーキドラム24側の表面における摩擦係数より小さくなっている。
なお、他の構成は上記実施の形態1と同様に構成されている。
このように構成された人力駆動装置100Aは、ベルト13Aのブレーキライニング27側の表面において、図6に示されるように、ベルト13Aを下方に動かす方向の摩擦係数を大きくしている。人力駆動装置100Aは、機械室19に設置され、図5に示されるようにセットされる。そして、ベルト13Aはブレーキドラム24とブレーキライニング27との間を通され、制動機26の開放を解除し、ブレーキドラム24に制動力を付与している。また、図6におけるベルト13Aを下方に動かす方向は、図5における反時計回りの方向となる。
そこで、図5中、操作ハンドル9を時計回りに回すと、プーリ8、アイドラープーリ12およびブレーキドラム24に巻き掛けられたベルト13Aは時計回りに走行しようとする。このとき、ベルト13Aとブレーキライニング27との間で発生する摩擦力がベルト13Aとブレーキドラム24との間で発生する摩擦力より小さいので、ベルト13Aとブレーキライニング27との間に滑りが発生し、ベルト13Aが時計回りに走行し、ブレーキドラム24が時計回りに回転する。
一方、図5中、操作ハンドル9を反時計回りに回すと、プーリ8、アイドラープーリ12およびブレーキドラム24に巻き掛けられたベルト13Aは反時計回りに走行しようとする。このとき、ベルト13Aとブレーキライニング27との間で発生する摩擦力が大きいので、ベルト13Aの走行がブレーキライニング27により阻止され、ブレーキドラム24の反時計回りの回転が阻止される。
つぎに、エレベータの緊急停止時、人力駆動装置100Aを用いて乗りかご16内の乗客を救出する場合について説明する。ここで、乗りかご16の重量がつり合い重り17の重量より重いものとする。
乗りかご16の重量がつり合い重り17の重量より重い場合、乗りかご16とつり合い重り17との重量差は、乗りかご16を下降させる方向にシーブ23を回転させるように作用する。そこで、非常止め装置を作動させて乗りかご16の下降を阻止した後、制動機26を開放し、ベルト13Aとブレーキライニング27との間の摩擦係数が大きくなる方向が、乗りかご16を下降させるシーブ23の回転方向と一致するように人力駆動装置100Aをセットする。ついで、制動機26の開放を解除し、ベルト13Aをブレーキライニング27とブレーキドラム24との間に加圧挟持させる。
ついで、非常止め装置の作動を解除させる。これにより、乗りかご16とつり合い重り17との重量差が乗りかご16を下降させる方向にシーブ23を回転させるように作用する。このシーブ23の回転は、ベルト13Aとブレーキライニング27との間に発生する摩擦力により阻止される。そして、操作ハンドル9を時計回りに回すと、ベルト13Aとブレーキライニング27との間に滑りが発生し、ベルト13Aが時計回りに走行する。これにより、ブレーキドラム24が時計回りに回転し、乗りかご16が真上の階まで上昇運転される。そして、乗りかご16内の乗客を着床階に救出する。このとき、乗りかご16は、上昇する方向にのみ人力運転されることになり、エレベータの緊急停止時に乗客を救出するための着床階は、必ずしも最寄り階とはならない。
また、乗りかご16の重量がつり合い重り17の重量より軽い場合には、乗りかご16とつり合い重り17との重量差は、乗りかご16を上昇させる方向にシーブ23を回転させるように作用する。そこで、ベルト13Aとブレーキライニング27との間の摩擦係数が大きくなる方向が、乗りかご16を上昇させるシーブ23の回転方向と一致するように人力駆動装置100Aをセットすることになる。
このように、この実施の形態3では、ベルト13Aが、ブレーキドラム24側の表面における長さ方向の両方向の摩擦係数が等しく、ブレーキドラム24と反対側の表面における長さ方向の両方向の摩擦係数が異なるように構成されている。そこで、ベルト13Aとブレーキライニング27との間の摩擦係数が大きくなる方向が、乗りかご16とつり合いおもり17との重量差により乗りかご16を昇降させるシーブ23の回転方向と一致するように人力駆動装置100Aをセットすれば、非常止め装置の作動を解除しても、乗りかご16の昇降は阻止される。
そこで、作業者が操作ハンドル9を離しても、乗りかご16とつり合い重り17との重量差による乗りかご16の昇降が、ベルト13Aとブレーキライニング27との間に発生する摩擦力により阻止されるので、エレベータの人力運転が容易となる。さらに、1人の作業者が、人力駆動装置100Aをセットした後、非常止め装置の作動を解除し、さらに乗りかご16の着床後、非常止め装置を作動させることができるので、作業者の人数を減らすことができる。
ここで、図6に示されるように、ブレーキドラム24と反対側の表面を鋸状に形成して長さ方向の他方向の摩擦係数を大きくしたベルト13Aを用いているが、例えば無数のスチール製の細線を、無端状のベルト基部のブレーキドラム24と反対側の表面全体に、長さ方向の他方に傾斜するように植設して作製されたベルトを用いてもよい。
なお、上記各実施の形態では、テンション調整用ボルトの先端部に形成された雄ねじ部を架台に形成された雌ねじ部に螺合させてベルトテンション調整手段を構成しているが、ベルトテンション調整手段はこの構成に限定されるものではなく、本体部を架台に対して昇降させてベルトのテンションを調整できればよく、例えばパンタグラフジャッキを架台と本体部との間に配設して構成してもよい。
また、上記各実施の形態では、操作ハンドルがプーリに同軸に固着された減速比が1段の場合について説明しているが、本発明は減速比が複数段の場合にも適用できる。例えば、操作ハンドルが固着された軸とプーリとをベルト、チェーンなどの動力伝達部材により連結し、操作ハンドルにより発生した回転トルクを動力伝達部材を介してプーリに伝達するようにしてもよい。この場合、減速比は2段となる。
また、上記各実施の形態では、人力駆動装置が巻上げ機の筐体に設置されるものとしているが、人力駆動装置は機械室の床に直接設置してもよく、あるいは機械室の床に設置された専用の据え付け架台に設置してもよい。
2 雌ねじ部(ベルトテンション調整手段)、3 テンション調整用ボルト(ベルトテンション調整手段)、6 本体部、7 第1軸、8 プーリ、9 操作ハンドル(人力回転トルク発生手段)、10 アイドラープーリ支持部材、11 第2軸、12 アイドラープーリ、13 ベルト、20 巻上げ機、22 回転軸、24 ブレーキドラム、27 ブレーキライニング、100,100A 人力駆動装置。

Claims (5)

  1. 本体部と、
    上記本体部に第1軸周りに回転可能に取り付けられ、該第1軸を巻上げ機の回転軸と平行にして、該巻上げ機の回転軸と直交する同一の平面上に該巻上げ機の回転軸に固着されたブレーキドラムとともに位置するように配置されるプーリと、
    人力により上記プーリを上記第1軸周りに回転させる回転トルクを発生する人力回転トルク発生手段と、
    上記プーリと上記ブレーキドラムとに巻き掛けられて該プーリの回転トルクを該ブレーキドラムに伝達するベルトと、
    上記プーリを上記平面上を上記ブレーキドラムに対して接離する方向に移動させて上記ベルトのテンションを調整するベルトテンション調整手段と、
    を備えていることを特徴とするエレベータ巻上げ機の人力駆動装置。
  2. 上記ベルトは、上記ブレーキドラムに作用して制動力を発生するブレーキライニングと該ブレーキドラムとの間に位置するように該ブレーキドラムに巻き掛けられていることを特徴とする請求項1記載のエレベータ巻上げ機の人力駆動装置。
  3. 上記平面上に上記ブレーキドラムと上記プーリとともに位置するように配置され、上記ベルトが巻き掛けられるアイドラープーリと、
    上記アイドラープーリが上記第1軸と平行な第2軸周りに回転可能に取り付けられ、上記平面上における上記プーリと上記ブレーキドラムとに接する線分に対する該アイドラープーリの延出量を調整可能に上記本体部に取り付けられた支持部材と、をさらに備えていることを特徴とする請求項1又は請求項2記載のエレベータ巻上げ機の人力駆動装置。
  4. 上記ベルトは、上記ブレーキドラム側の表面における長さ方向の両方向の摩擦係数が等しく、該ブレーキドラムと反対側の表面における長さ方向の両方向の摩擦係数が異なるように構成されていることを特徴とする請求項1乃至請求項3のいずれか1項に記載のエレベータ巻上げ機の人力駆動装置。
  5. 上記人力回転トルク発生手段は、上記プーリに同軸に固着され、該プーリを上記第1軸周りに回転させる操作ハンドルであることを特徴とする請求項1乃至請求項4のいずれか1項に記載のエレベータ巻上げ機の人力駆動装置。
JP2011159732A 2011-07-21 2011-07-21 エレベータ巻上げ機の人力駆動装置 Expired - Fee Related JP5709679B2 (ja)

Priority Applications (1)

Application Number Priority Date Filing Date Title
JP2011159732A JP5709679B2 (ja) 2011-07-21 2011-07-21 エレベータ巻上げ機の人力駆動装置

Applications Claiming Priority (1)

Application Number Priority Date Filing Date Title
JP2011159732A JP5709679B2 (ja) 2011-07-21 2011-07-21 エレベータ巻上げ機の人力駆動装置

Publications (2)

Publication Number Publication Date
JP2013023335A JP2013023335A (ja) 2013-02-04
JP5709679B2 true JP5709679B2 (ja) 2015-04-30

Family

ID=47782095

Family Applications (1)

Application Number Title Priority Date Filing Date
JP2011159732A Expired - Fee Related JP5709679B2 (ja) 2011-07-21 2011-07-21 エレベータ巻上げ機の人力駆動装置

Country Status (1)

Country Link
JP (1) JP5709679B2 (ja)

Families Citing this family (2)

* Cited by examiner, † Cited by third party
Publication number Priority date Publication date Assignee Title
JP6086542B2 (ja) * 2014-04-18 2017-03-01 株式会社高知丸高 手巻き式ゴンドラ
JP7699725B2 (ja) * 2022-09-05 2025-06-27 三菱電機ビルソリューションズ株式会社 エレベーター巻上機の駆動用器具取付装置

Family Cites Families (4)

* Cited by examiner, † Cited by third party
Publication number Priority date Publication date Assignee Title
JPS5652372A (en) * 1979-10-05 1981-05-11 Hitachi Ltd Manual hoist
JPS6317178U (ja) * 1986-07-16 1988-02-04
JP2003312954A (ja) * 2002-04-18 2003-11-06 Toshiba Elevator Co Ltd エレベータ巻上機の人力駆動装置
JP5040667B2 (ja) * 2008-01-16 2012-10-03 三菱電機株式会社 エレベータかご救出装置

Also Published As

Publication number Publication date
JP2013023335A (ja) 2013-02-04

Similar Documents

Publication Publication Date Title
JP5051650B2 (ja) 乗客コンベア用非常制動装置
CN102666340B (zh) 在紧急停机过程中选择性的升降机制动
US6021872A (en) Remote brake release mechanism for an elevator machine
JP5462487B2 (ja) エレベータおよびエレベータブレーキ
JP4530544B2 (ja) エレベータ装置
JP2011006218A (ja) エレベーターの乗客救出装置
JP5709679B2 (ja) エレベータ巻上げ機の人力駆動装置
JP6834022B2 (ja) 安全装置、および、それを備えたエレベーター
WO2014147291A1 (en) Installation arrangement for an elevator
JP5496017B2 (ja) エレベータ及びこれに用いられるコンペンロープ牽引装置
JP4937038B2 (ja) 乗客コンベアの停止装置
JP5040667B2 (ja) エレベータかご救出装置
CN108602645A (zh) 电梯绳索的更换支援用制动装置
CN105899450B (zh) 电梯装置及电梯装置的改装方法
JP4299043B2 (ja) エレベータ巻上機のブレーキ開放装置およびその操作方法
CN1845870B (zh) 电梯用紧急制动装置
EP2574584A1 (en) Frictional drive for an elevator and operating method
CN105722783B (zh) 电梯驱动器
CN106029542B (zh) 电梯、电梯的附加连结装置以及电梯的改装方法
JP6610914B2 (ja) エレベータの非常止め装置の検査方法
JP5191825B2 (ja) 自走式エレベータ
JP6362778B2 (ja) エレベータの巻上機の手動駆動方法、および、エレベータの巻上機の手動駆動装置
JP4123864B2 (ja) 往復移動体駆動装置
EP3162751A1 (en) An apparatus for operating an elevator car of an elevator system and a method for operating the elevator car
JP2012035918A (ja) エレベータのブレーキ解放装置

Legal Events

Date Code Title Description
A621 Written request for application examination

Free format text: JAPANESE INTERMEDIATE CODE: A621

Effective date: 20140303

A977 Report on retrieval

Free format text: JAPANESE INTERMEDIATE CODE: A971007

Effective date: 20150126

TRDD Decision of grant or rejection written
A01 Written decision to grant a patent or to grant a registration (utility model)

Free format text: JAPANESE INTERMEDIATE CODE: A01

Effective date: 20150203

A61 First payment of annual fees (during grant procedure)

Free format text: JAPANESE INTERMEDIATE CODE: A61

Effective date: 20150303

R150 Certificate of patent or registration of utility model

Ref document number: 5709679

Country of ref document: JP

Free format text: JAPANESE INTERMEDIATE CODE: R150

LAPS Cancellation because of no payment of annual fees