JP5536552B2 - 指針計器 - Google Patents

指針計器 Download PDF

Info

Publication number
JP5536552B2
JP5536552B2 JP2010135700A JP2010135700A JP5536552B2 JP 5536552 B2 JP5536552 B2 JP 5536552B2 JP 2010135700 A JP2010135700 A JP 2010135700A JP 2010135700 A JP2010135700 A JP 2010135700A JP 5536552 B2 JP5536552 B2 JP 5536552B2
Authority
JP
Japan
Prior art keywords
pointer
diameter
dial
wall
light
Prior art date
Legal status (The legal status is an assumption and is not a legal conclusion. Google has not performed a legal analysis and makes no representation as to the accuracy of the status listed.)
Expired - Fee Related
Application number
JP2010135700A
Other languages
English (en)
Other versions
JP2012002556A (ja
Inventor
洋平 松川
昌秀 永田
Current Assignee (The listed assignees may be inaccurate. Google has not performed a legal analysis and makes no representation or warranty as to the accuracy of the list.)
Yazaki Corp
Original Assignee
Yazaki Corp
Priority date (The priority date is an assumption and is not a legal conclusion. Google has not performed a legal analysis and makes no representation as to the accuracy of the date listed.)
Filing date
Publication date
Application filed by Yazaki Corp filed Critical Yazaki Corp
Priority to JP2010135700A priority Critical patent/JP5536552B2/ja
Publication of JP2012002556A publication Critical patent/JP2012002556A/ja
Application granted granted Critical
Publication of JP5536552B2 publication Critical patent/JP5536552B2/ja
Expired - Fee Related legal-status Critical Current
Anticipated expiration legal-status Critical

Links

Images

Landscapes

  • Instrument Panels (AREA)
  • Details Of Measuring Devices (AREA)

Description

本発明は、文字板の孔部を貫通した指針の軸部側からの照明用の光漏れを遮光部で防いだ指針計器に関するものである。
従来、自動車のスピードメータやタコメータ等といった指針計器において、指針を駆動するための開口を文字板に設けることに伴う、外部への光漏れ等を防ぐために、種々の構造の指針計器が提案されている。
例えば、特許文献1には、導光材の指針本体を鞘状の指針キャップで覆って指針を構成し、指針の軸状の基部を文字板と同一色の二つ割の円形キャップで挟み、円形キャップを文字板の円形の開口内に配置し、計器奥側の配線板に光源を配置し、光源の照射光を指針の基部から導光させる構成の計器装置(指針計器)が記載されている。
また、特許文献2には、文字板の円形の開口の内周縁に光漏れ防止リングを配設し、開口に指針の軸部を貫通させて駆動装置の軸に嵌合させた構成の計器装置(指針計器)が記載されている。
また、特許文献3には、文字板の円形の開口内に黒色の円錐状のセンタプレートを配設し、センタプレートの中央の筒部内でムーブメントの軸部と指針の軸部とを嵌合させ、筒部の開口を指針の遮光キャップで覆った構成の指針計器が記載されている。
特開2008−139149号公報(図1〜図3) 特開2004−226248号公報(図1,図2) 特開2006−153821号公報(図2)
しかしながら、上記従来の特許文献1に記載された指針計器にあっては、二つ割のキャップ間の接合ガタ等で隙間を生じた場合に、光源からの光が外部に漏れ兼ねないという懸念があった。
また、特許文献2に記載された指針計器にあっては、指針の軸状の基部を光漏れ防止リングを貫通させて文字板の表面側(運転者側)に突出させているために、指針と文字板の一体感を演出しにくいという懸念があった。
また、特許文献3に記載された指針計器にあっては、円錐状のセンタプレートの外周縁で文字板の開口周縁を外側から押さえているために、指針軸周辺に別部材があることが視認されやすく、一体感を損ない兼ねないという懸念があった。
本発明は、上記した点に鑑み、計器内部の光源からの光を文字板の開口から露光させることを防ぎ、しかも指針と文字板の一体感を高めることのできる指針計器を提供することを目的とする。
上記目的を達成するために、本発明の請求項1に係る指針計器は、文字板の開口内に導光式の指針の基部側の円形環状の指針キャップ部分が配置され、該文字板の裏面から該指針キャップ部分の裏側にかけて環状の遮光リングが配設され、該遮光リングは、該裏面に接する大径な鍔部と、該裏側に位置して該指針キャップ部分よりも小径な筒部とを有し、該小径な筒部の内側に該指針の導光基部が位置し、該遮光リングが、該大径な鍔部に続く大径な筒部と、該大径な筒部に屈曲部を介して続く内鍔部と、該内鍔部に続く前記小径な筒部とで成り、該内鍔部が該指針キャップ部分の裏側の端部に対向して位置したことを特徴とする。
上記構成により、遮光リングが文字板の開口と指針キャップ部分との間の隙間から計器内部への表側からの視線を遮断して、計器内の光源から指針の導光基部への光路からの光漏れを防ぎ、且つ文字板の表側から該隙間を経て計器内の構造物が見えることを防ぐと共に、指針キャップ部分と開口縁との段差感をなくして、指針と文字板との一体感を高める。遮光リングが文字板の裏側に配置され、文字板の表面上にないので、指針と文字板との一体感が高まる。遮光リングの鍔部は遮光リングを文字板の裏面に安定に支持させ、筒部は導光基部から径方向外側への光の拡散を防止する。指針は計器内の光源から導光部材と指針の導光基部とを経た反射光で発光する。遮光リングは黒色であることが好ましい。
また、遮光リングの底部である内鍔部が文字板の開口と指針キャップ部分との間の隙間への表側からの視線を遮り、計器内の構造物が見えるのを防ぐ。屈曲部は折れ曲がり部ではなく湾曲状に屈曲したものであることが折れ曲がり(エッジ)の視認を防ぐ上で好ましい。
請求項に係る指針計器は、文字板の開口内に導光式の指針の基部側の円形環状の指針キャップ部分が配置され、該文字板の裏面から該指針キャップ部分の裏側にかけて環状の遮光リングが配設され、該遮光リングは、該裏面に接する大径な鍔部と、該裏側に位置して該指針キャップ部分よりも小径な筒部とを有し、該小径な筒部の内側に該指針の導光基部が位置し、該大径な鍔部がケースの段部で支持され、該大径な鍔部と該ケースとの表面が前記文字板の裏面に接着固定されたことを特徴とする。
上記構成により、遮光リングが文字板の開口と指針キャップ部分との間の隙間から計器内部への表側からの視線を遮断して、計器内の光源から指針の導光基部への光路からの光漏れを防ぎ、且つ文字板の表側から該隙間を経て計器内の構造物が見えることを防ぐと共に、指針キャップ部分と開口縁との段差感をなくして、指針と文字板との一体感を高める。遮光リングが文字板の裏側に配置され、文字板の表面上にないので、指針と文字板との一体感が高まる。遮光リングの鍔部は遮光リングを文字板の裏面に安定に支持させ、筒部は導光基部から径方向外側への光の拡散を防止する。指針は計器内の光源から導光部材と指針の導光基部とを経た反射光で発光する。遮光リングは黒色であることが好ましい。
また、大径な鍔部が文字板とケースの段部とで挟持され、且つ大径な鍔部が文字板に接着固定されると同時に、ケースの表面(表面側の部分的な壁部)が文字板に接着固定される。
請求項に係る指針計器は、文字板に絞り凹部が形成され、導光式の指針の基部側の円形環状の指針キャップ部分が該絞り凹部内に配置され、該絞り凹部が該文字板の平板部から屈曲して続く環状壁と、該環状壁から内向きに屈曲して続く鍔壁とで成り、該鍔壁が該指針キャップ部分よりも小径な内径部を有して、該指針キャップ部分の裏側に対向して位置し、該内径部内に該指針の導光基部が位置し、筒部と該筒部の外周側の鍔部とで成る遮光リングを備え、前記鍔壁の内径部内に該筒部が進入し、該鍔部が該鍔壁の裏面に接し、該筒部の内側に前記導光基部が位置したことを特徴とする。
上記構成により、文字板の絞り凹部の鍔壁が絞り凹部の環状壁と指針キャップ部分との間の隙間から計器内部への表側からの視線を遮断して、計器内の光源から指針の導光基部への光路からの光漏れを防ぎ、且つ文字板の表側から該隙間を経て計器内の構造物が見えることを防ぐ。文字板とその絞り凹部とは一体で同色であるので、指針キャップ部分と開口縁との段差感がなくなり、指針と文字板との一体感が高まる。指針は計器内の光源から導光部材と指針の導光基部とを経た反射光で発光する。
また、指針導光基部からの光が鍔部に加えて遮光リングの筒部で遮られ、遮光性が高まる。
請求項に係る指針計器は、請求項記載の指針計器において、前記鍔部がケースの段部で支持され、該鍔部に前記鍔壁が接着され、前記文字板の裏面に該ケースの表面が接着されたことを特徴とする。
上記構成により、遮光リングの鍔部が絞り凹部の鍔壁とケースの段部とで挟持され、且つ鍔部が鍔壁に接着固定され、ケースの表面(表面側の部分的な壁部)が文字板に接着固定される。
請求項1記載の発明によれば、文字板の裏側に遮光リングを配置したことで、計器内の光を文字板の開口から外部に漏光させることを確実に防ぎ、しかも指針キャップ部分と開口縁との段差感をなくして、指針と文字板の一体感を高めることができ、これにより計器の視認フィーリングを向上させることができる。
また、遮光リングの内鍔部が底部となって文字板の開口と指針キャップ部分との間の隙間への表側からの視線を確実に遮って、光漏れと計器内構造物の見えを一層確実に防ぐことができる。
請求項記載の発明によれば、文字板の裏側に遮光リングを配置したことで、計器内の光を文字板の開口から外部に漏光させることを確実に防ぎ、しかも指針キャップ部分と開口縁との段差感をなくして、指針と文字板の一体感を高めることができ、これにより計器の視認フィーリングを向上させることができる。
また、鍔部を文字板とケースの段部との間に挟んだ状態で、鍔部とケースとを文字板に接着することで、遮光リングをしっかりと安定に固定することができる。
請求項記載の発明によれば、指針の指針キャップ部分を収容する絞り凹部を文字板と一体に形成したことで、計器内の光を文字板の外部に漏光させることを確実に防ぎ、しかも文字板と絞り凹部とを同色として色差や段差感をなくして、指針と文字板の一体感を高めることができ、これにより計器の視認フィーリングを向上させることができる。
また、指針導光基部からの放射光を絞り凹部の鍔部に加えて遮光リングの筒部で遮ることで、光漏れを一層確実に防ぐことができる。
請求項記載の発明によれば、遮光リングの鍔部を絞り凹部の鍔壁とケースの段部との間に挟んだ状態で、鍔部と鍔壁とを接着することで、遮光リングをしっかりと安定に固定することができる。
本発明に係る指針計器の第一の実施形態の概要例を示す、(a)は断面図、(b)は要部正面図である。 同じく指針計器の内部部品の固定構造の一形態を示す断面図である。 同じく指針計器の詳細例を示す、(a)は指針の正面図、(b)は指針計器の断面図(円内は拡大図)である。 本発明に係る指針計器の第二の実施形態の概要例を示す、(a)は要部断面図、(b)は指針の正面図である。 同じく指針計器の詳細例を示す、(a)は指針の正面図、(b)は指針計器の断面図(円内は拡大図)である。
図1〜図3は、本発明に係る指針計器の第一の実施形態を示すものである。図1,図2は指針計器の概要例、図3は同じく指針計器の詳細例をそれぞれ示している。
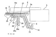
図1(a)の如く、この指針計器1は、文字板2の円形の開口(孔部)3内に指針4の基部側の円形環状の指針キャップ部分5を配置し、文字板2の裏面2a側に遮光リング6を配置し、遮光リング6の裏側にケース7を配置し、ケース7の奥(裏)側の端部8を回路板9に当接させ、回路板9の裏面側にムーブメント(駆動部)10を配置し、ムーブメント10の軸部11を回路板9に貫通させて指針4の基部側の指針キャップ部分5の中央の軸部29に連結固定させて、計器主要部を構成させたものである。
文字板2はPC(ポリカーボネート)等の有色不透明(例えば白)な合成樹脂製のシートで形成され、遮光リング6はPOM(ポリアセタール)等の黒色の合成樹脂材の射出成型で形成される。遮光リング6は、文字板2の裏面2aに接する大径な外鍔部12と、外鍔部12に直交する大径な筒部13と、筒部13から内向きの屈曲部14を介して続く小径な内鍔部15と、内鍔部15に直交して内鍔部15の表裏(前後)に突出して設けられた小径な筒部16とで構成されている。
外鍔部12の内端12aは文字板2の開口3よりも少し径方向外側に位置し、開口3と指針キャップ部分5との間に隙間17があけられ、大径な筒部13は開口3よりも少し大径に形成され、内鍔部15が指針キャップ部分5の外周面よりも径方向内向きに突出し、小径な筒部16が指針キャップ部分5よりも小径に形成されて、指針キャップ部分5の裏側に対向して位置している。すなわち、黒色の遮光リング6の内鍔部15が正面視で(運転者が見た際に)開口3と指針キャップ部分5との間の隙間17を見えないようにして、運転者による隙間17の後方の構造物の目視を防ぎ、小径な筒部16が回路板9の表面の光源(図示せず)から開口3への漏光を防ぐ。
ケース7は、遮光リング6の外鍔部12の径方向外側に位置する第一の鍔壁18と、第一の鍔壁18に段差部19aを介して続き、外鍔部12の裏側に位置する第二の鍔壁19と、第二の鍔壁19から遮光リング6の大径な筒部13に沿う壁部20と、屈曲部14と内鍔部15とに沿う各壁部21,22と、小径な鍔部16の後半部分16aに沿って回路板9に当接する壁部8とを有している。文字板2と遮光リング6とケース7とは相互に接着材等で固定されている。
図1(b)の正面図の如く、指針4の棒状の指針主体部(符号4で代用)の幅方向中央に透明な導光材で成る指針本体23が位置し、指針本体23の外側に鞘状の指針キャップ24が被せられ、指針キャップ24の基部側の円形の指針キャップ部分5が文字板2の開口3内に進入して位置し、指針キャップ部分5と開口3との間の隙間17が遮光リング6の内鍔部15によって正面視で黒色に目視される。
図2は図1とは少し相違しているが、主に文字板2と遮光リング6とケース7との固定構造の一例を示すものである。図1と同様の構成部分には同じ符号を付して詳細な説明を省略する。
文字板2の裏面2aに接着剤(のり)25が印刷され、接着剤25に遮光リング6の外鍔部12とケース7の第一の鍔壁18とが接着固定されている。また、遮光リング6の外鍔部12の裏面に可撓性の係止壁26が垂設され、係止壁26は先端外側に爪部26aを有し、係止壁26がケース7の第二の鍔壁19の孔部27を貫通して、孔部27に続く突出壁28に沿って(接して)位置し、爪部(係止部)26aが突出壁28の先端面(係合部)28aに係合して固定されている。
外鍔部12はケース7の段部19aにおいて内鍔部19の表面で支持されている。図2の例の遮光リング6の大径な筒部13は後端に向かうにつれて漸次小径になるようにテーパ状に形成されている。大径な筒部13は短い内鍔部15を経て小径な筒部16に続いている。図2で、符号4は指針、5はその円形環状の指針キャップ部分をそれぞれ示している。
図3(a)(b)の如く、指針4は内側の透明樹脂製の指針本体23と、外側の指針キャップ24とで成り、指針キャップ24は鞘部(符号24で代用)にスリット(符号23で代用)、基部側に円形環状の指針キャップ部分5をそれぞれ有している。
図3(b)の如く、指針キャップ部分5の中央に円筒状の軸部29が設けられ、軸部29内に回路板9側のムーブメント10の軸部11が嵌合固定されている。指針本体23の基部は、傾斜面23aと、傾斜面23aに交差して軸部29と平行な突出部(導光基部)23bとを有し、突出部23bの先端(後端)は、軸部29の周囲で回路板9上の光源(LED)30の前方に延びた筒状の導光部材31に近接している。「前」とは運転者寄りの方向であり、車両の前とは逆の方向である。
棒状の指針主体部(鞘部側の部分24)の裏側に文字板2が位置し、文字板2の円形の開口3内に指針キャップ部分5が収容配置され、指針キャップ部分5の円形の正面壁5aは文字板2よりも少し前に位置し、指針キャップ部分5の後端5cは開口3内に深く進入している。指針キャップ部分5の環状の周壁5bの径方向外側で文字板2の裏側に黒色樹脂製の遮光リング6が配置されている。
遮光リング6は、文字板2の裏面2aに接した(接着された)大径な外鍔部(鍔部)12と、外鍔部12に続く大径な筒部13と、大径な筒部13から湾曲状に屈曲した円弧状の屈曲部14と、屈曲部14に続く小径な内鍔部15と、内鍔部15に直交して続く小径な筒部16とで構成されている。
小径な筒部16は後端に向かうにつれて漸次縮径するように少しテーパ状に傾斜している。屈曲部14は湾曲形状であるので、開口3の外側から目視した際に折れ曲がり線がなく目立たない。小径な内鍔部15は指針キャップ部分5の径方向内側に位置し、小径な筒部16の内面は指針本体23の突出部23bに接近し、筒部16の後端16aは突出部23bの後端と同一面上に位置し、且つ後方に近接した筒状の導光部材31の前端面31aよりも大径である。小径な筒部16の前端部(表側の端部)16bは指針キャップ部分5の内側空間37に進入している。
遮光リング6の径方向外側に沿って有色な(光を反射させるために白色が好ましい)合成樹脂製のケース7が略階段状に位置し(階段状の部分を符号32で示す)、ケース7の正面側の前壁18の表面が外鍔部12の径方向外側で文字板2の裏面2aに接着され、ケース7の前側の段部19aに遮光リング6の外鍔部12が当接して、文字板2と段部19aとで外鍔部12を挟んでしっかりと固定している。
ケース7の段部19aから後方に続くテーパ環状の脚壁8と、脚壁8の外側で前壁18から後方に延びたテーパ環状の脚壁33との各後端が回路板9に接している。各脚壁8,33の内側に透明樹脂製の各導光部材31,34が配置され、図3で右側の導光部材34’の前端は文字板2の表示部35に続き、左側の導光部材34は傾斜面34aを経て直交して文字板2の裏面2aに沿って延長されて文字板2上の目盛り36に一体に続いている。図3で符号30,30’は各光源(LED)を示す。本例の指針計器1は自動車のタコメータであるが、図3の指針計器1の内部構造をスピードメータ等に適用することも可能である。
文字板2の裏側に遮光リング6を配置し、文字板2上に遮光リング6がないので、指針4と文字板2との一体感が高められている。また、遮光リング6を接着剤25(図2)で文字板2の裏面2aに接着固定したことで、文字板2の表面2bにビス等が露出することがなく、指針4と文字板2との一体感が高められると共に、遮光リング6の固定作業が容易化する。これは文字板2に接着したケース7においても同様である。
そして、遮光リング6の内鍔部15と小径な筒部16とが円形の指針キャップ部分5よりも小径に形成され、且つ内側の導光部材31よりも大径に形成されたことで、内鍔部15と筒部16とが遮光部として作用し、導光部材31からの光が文字板2の開口3から外側に漏れることが確実に防止され、黒色の遮光リング6が開口3内を暗くして、運転者が開口3内を目視することができなくなり、指針キャップ部分5と文字板2との段差感がなくなって、文字板2と指針4との一体感が高まる。
なお、上記第一の実施形態においては、図2の如く、遮光リング6を接着剤25と係止手段26a,28aとで文字板2とケース7とに固定させたが、これらの固定を接着剤25のみ又は係止手段のみで行わせることも可能である。係止手段は上記以外に種々の形態を適宜使用可能である。また、遮光リング6を文字板支えと呼称することも可能である。遮光リング6は文字板を裏側から支えているからである。
図4〜図5は、本発明に係る指針計器の第二の実施形態を示すものである。図4は指針計器の概要例、図5は同じく指針計器の詳細例をそれぞれ示している。
図4(a)の如く、この指針計器41は、指針4の基部側の円形環状の指針キャップ部分5を文字板42の絞り凹部43の内側に収容し、絞り凹部43の中央の円形の孔部(開口ないし内径部)44を指針キャップ部分5よりも小径に形成し、絞り凹部43の裏側に遮光リング(文字板支持部材)45の、孔部44よりも小径な内径の筒部46を配設し、文字板42の裏面42aから遮光リング45の外側の鍔部47の裏面に沿ってケース7を配置し、ケース7の奥側端8を回路板9に当接させ、回路板9の裏面側にムーブメント(駆動部)10を配置し、ムーブメント10の軸部11を回路板9に貫通させて指針4の基部側の指針キャップ部分5の中央の軸部29に連結固定させて、計器主要部を構成させたものである。
文字板42はPCシート等で有色不透明に形成され、目盛り等を設ける平板部48と、平板部48の略中央に一体に設けられた絞り凹部43とで成り、絞り凹部43は絞り部とも呼称され、平板部48に直交して後方に続く環状壁(環状部)49と、環状壁49から直交して内向きに縮径方向に続く鍔壁(鍔部)50とで構成されている。鍔壁50の内側に円形の孔部(内径部)44が形成されている。平板部48と環状壁49との交差部は小径な湾曲部51で成り、環状壁49と鍔壁50との交差部は大径な湾曲部52で成る。
環状壁49の内側に凹部空間53が形成されている。凹部空間53内に指針キャップ部分5が位置し、文字板42の延長面上に指針キャップ部分5の上半部が位置し、環状壁49の内周面と指針キャップ部分5の外周面との間に隙間(符号53で代用)が位置し、鍔壁50の内周縁は指針キャップ5の後端5cに隙間を存して対向して位置する。
遮光リング45は、円板状の鍔部47と、鍔部47の内径側に直交して前後に突出した筒部46とで構成されている。絞り凹部43の鍔壁50の裏面に円板状の鍔部47の径方向中間部の表面が接着固定され、鍔部47の内径側は鍔壁50よりも径方向内側に突出し、筒部46が孔部44内に同心に進入し、筒部46の前半の端部(表側の端部)46aが指針キャップ部分5の後端5cに近接ないし後端5cから内側に進入している。筒部46の中央に指針4の軸部29が貫通して位置している。
ケース7は、図1の例と同様に、文字板42の裏面42aに接着された第一の鍔壁18と、鍔壁18に段部を介して続く第二の鍔壁19と、鍔壁19に直交して後方へ傾斜状に続く壁部21と、傾斜状の壁部21から遮光リング45の鍔部47の裏面に沿って続く段差状の壁部22と、壁部22から後方に続き、回路板9に当接する壁部8とを有している。第一と第二の鍔壁18,19は段差なく一つの鍔壁として続いていてもよい。段差状の壁部22は遮光リング45の鍔部47を支持する。
図4(b)の如く、指針4の棒状の指針主体部(符号4で代用)の幅方向中央に透明な導光材で成る指針本体23が位置し、指針本体23の外側に鞘状の指針キャップ24が被せられ、指針キャップ24の基部側の円形の指針キャップ部分5が文字板42の絞り凹部43内に位置し、指針キャップ部分5の外周と絞り凹部43の環状壁49との間に正面視で(運転者の目視で)絞り凹部43の底部側の鍔壁50が文字板42と同色に見えている。符号51は文字板42の平板部48と環状壁49との湾曲状の交差部を示している。
詳細例の図5(a)(b)における指針4やケース7や回路板9やムーブメント10や導光部材31,34等は図3におけると同じであるので、同じ符号を付して詳細な説明を省略する。
図5(b)の如く、文字板42の絞り凹部43の内側に指針の円形環状の指針キャップ部分5が配置され、文字板42の平板部48よりも少し前方に指針キャップ部分5の正面壁5aが位置し、指針キャップ部分5の環状の周壁5bは絞り凹部43の環状壁49と隙間53を存して略平行に位置し(型抜きの関係で環状壁49は後端に向かうにつれて若干テーパ状に縮径されている)、指針キャップ部分5の後端5cの後方に隙間を存して絞り凹部43の底部である鍔壁50が対向して位置し、鍔壁50の内周端50aは指針キャップ部分5の周壁5bよりも径方向内側に突出して位置している。
さらに、筒部46と外側の鍔部47とで成る遮光リング45の外側の鍔部47が絞り凹部43の鍔壁50の裏面に接着固定され、鍔部47の内側に一体に続く筒部46の前半部(表側の端部)46aが絞り凹部43の鍔部50の内側の孔部44内に進入しつつ、指針キャップ部分5の内側空間37に進入し、指針キャップ部分5の環状壁5bの内周面に筒部46の前半部46aの外周面が隙間54を存して対向している。遮光リング45の鍔部47は外周縁に直交して後方に折れ曲がった部分47aを有し、鍔部47と鍔壁50とが接着剤で固定され、この折れ曲がり部分47aの後端が白色樹脂製のケース7の段部22に当接し、鍔壁50と段部22との間に鍔壁47が挟持されている。
ケース7の段部22は傾斜状の脚壁8の前部に形成され、脚壁8は前壁(正面壁)18から後方に延び、前壁18の表面が文字板42の裏面に接着剤で固定され、脚壁8の後端は回路板(配線板)9に当接し、環状の脚壁8の中央に筒状の導光部材31が位置し、導光部材31の前端面の前方に近接して透明な指針本体23の基部側の突出部(導光基部)23bの後端面が対向し、環状の脚壁8から遮光リング45の筒部46の中央を貫通して指針キャップ24の軸部29が位置し、突出部23bは筒部46を貫通し、導光部材31よりも筒部46が大径に形成され、軸部29は回路板9側のモーブメント10の軸部11に連結されている。
図5で、符号34,34’は導光部材、36は導光部材と一体の目盛り、42は表示部、30,30’はLEDをそれぞれ示している。指針4は、図示しない前面透過カバーと上下左右の見返し板で覆われ、回路板9の裏側には図示しない樹脂製のカバーが装着されてケース7に接合される。これは図3の例でも同様である。
文字板42の絞り凹部43は文字板42の樹脂成形時に絞り加工で同時に簡単に低コストで形成される。絞り凹部43の深さは指針キャップ部分5の形状に応じて図5の例よりも浅くすることも可能である。
文字板42の平板部48の色と絞り凹部43の色とが同一であるので、平板部48と絞り凹部43内の色差や段差感がなくなり、文字板42の表面(盤面)と指針4との一体感が高まる。また、絞り凹部43の底部の鍔部50が遮光壁として作用し、それと併せて遮光リング45の特に筒部46が遮光壁として作用して、導光部材31からの光が指針キャップ部分5の外側に漏れること(露光)が確実に防止される。遮光リング45を用いずに絞り凹部43の底部の鍔部50のみを用いた場合でも遮光効果は発揮される。
なお、上記第二の実施形態においては、遮光リング45を接着剤で文字板42の絞り凹部43に固定したが、接着剤ではなく係止爪等の係止手段で絞り凹部43又はケース7の係合部(図示せず)に固定することも可能である。また、遮光リング45を文字板支えと呼称することも可能である。
本発明に係る指針計器は、文字板を貫通した指針の基部からの光漏れを防ぐと共に、指針と文字板の一体感を高めて優れたメータ意匠を提供するために利用することができる。
1 指針計器
2 文字板
2a 裏面
3 開口
4 指針
5 指針キャップ部分
5c 後端部(裏側の端部)
6 遮光リング
7 ケース
12 大径な鍔部
13 大径な筒部
14 屈曲部
15 内鍔部
16 小径な筒部
16b 前端部(表側の端部)
19a 段部
22 段部
23b 導光基部
41 指針計器
42 文字板
43 絞り凹部
45 遮光リング
46 筒部
46a 前端部(表側の端部)
47 鍔部
48 平板部
49 環状壁
50 鍔壁
50a 内径部

Claims (4)

  1. 文字板の開口内に導光式の指針の基部側の円形環状の指針キャップ部分が配置され、該文字板の裏面から該指針キャップ部分の裏側にかけて環状の遮光リングが配設され、該遮光リングは、該裏面に接する大径な鍔部と、該裏側に位置して該指針キャップ部分よりも小径な筒部とを有し、該小径な筒部の内側に該指針の導光基部が位置し
    該遮光リングが、該大径な鍔部に続く大径な筒部と、該大径な筒部に屈曲部を介して続く内鍔部と、該内鍔部に続く前記小径な筒部とで成り、該内鍔部が該指針キャップ部分の裏側の端部に対向して位置したことを特徴とする指針計器。
  2. 文字板の開口内に導光式の指針の基部側の円形環状の指針キャップ部分が配置され、該文字板の裏面から該指針キャップ部分の裏側にかけて環状の遮光リングが配設され、該遮光リングは、該裏面に接する大径な鍔部と、該裏側に位置して該指針キャップ部分よりも小径な筒部とを有し、該小径な筒部の内側に該指針の導光基部が位置し、
    大径な鍔部がケースの段部で支持され、該大径な鍔部と該ケースとの表面が前記文字板の裏面に接着固定されたことを特徴とする指針計器。
  3. 文字板に絞り凹部が形成され、導光式の指針の基部側の円形環状の指針キャップ部分が該絞り凹部内に配置され、該絞り凹部が該文字板の平板部から屈曲して続く環状壁と、該環状壁から内向きに屈曲して続く鍔壁とで成り、該鍔壁が該指針キャップ部分よりも小径な内径部を有して、該指針キャップ部分の裏側に対向して位置し、該内径部内に該指針の導光基部が位置し
    筒部と該筒部の外周側の鍔部とで成る遮光リングを備え、前記鍔壁の内径部内に該筒部が進入し、該鍔部が該鍔壁の裏面に接し、該筒部の内側に前記導光基部が位置したことを特徴とする指針計器。
  4. 前記鍔部がケースの段部で支持され、該鍔部に前記鍔壁が接着され、前記文字板の裏面に該ケースの表面が接着されたことを特徴とする請求項記載の指針計器。
JP2010135700A 2010-06-15 2010-06-15 指針計器 Expired - Fee Related JP5536552B2 (ja)

Priority Applications (1)

Application Number Priority Date Filing Date Title
JP2010135700A JP5536552B2 (ja) 2010-06-15 2010-06-15 指針計器

Applications Claiming Priority (1)

Application Number Priority Date Filing Date Title
JP2010135700A JP5536552B2 (ja) 2010-06-15 2010-06-15 指針計器

Publications (2)

Publication Number Publication Date
JP2012002556A JP2012002556A (ja) 2012-01-05
JP5536552B2 true JP5536552B2 (ja) 2014-07-02

Family

ID=45534733

Family Applications (1)

Application Number Title Priority Date Filing Date
JP2010135700A Expired - Fee Related JP5536552B2 (ja) 2010-06-15 2010-06-15 指針計器

Country Status (1)

Country Link
JP (1) JP5536552B2 (ja)

Families Citing this family (2)

* Cited by examiner, † Cited by third party
Publication number Priority date Publication date Assignee Title
TWI608169B (zh) * 2014-06-16 2017-12-11 東培工業股份有限公司 動壓軸承及使用動壓軸承的風扇結構及其組裝方法
JP7245438B2 (ja) * 2018-03-26 2023-03-24 日本精機株式会社 指針式計器装置

Family Cites Families (3)

* Cited by examiner, † Cited by third party
Publication number Priority date Publication date Assignee Title
JPH059618Y2 (ja) * 1986-10-20 1993-03-10
JPH0620097Y2 (ja) * 1987-02-05 1994-05-25 矢崎総業株式会社 計器の照明装置
JPH0250627U (ja) * 1988-09-30 1990-04-09

Also Published As

Publication number Publication date
JP2012002556A (ja) 2012-01-05

Similar Documents

Publication Publication Date Title
JP6063308B2 (ja) 自動車用メータの立体意匠部構造
JP5477001B2 (ja) 計器パネル用照明表示装置
WO2012102231A1 (ja) 指針部材、指針ユニット、及び、指針計器
US9829371B2 (en) Instrument device with a rotating needle and circumferentially arranged projected scales
JP5536552B2 (ja) 指針計器
JP6741210B2 (ja) 指針式計器装置
JP6632395B2 (ja) 車両用表示装置
JP5627482B2 (ja) 指針部材、指針ユニット、及び、指針計器
US20200023737A1 (en) Vehicle display device pointer
JP5181655B2 (ja) 計器
JP6124057B2 (ja) 車両用表示装置
JP3747454B2 (ja) 計器装置
JP4826205B2 (ja) 指針式計器
JP5228254B2 (ja) 計器装置
JP4853708B2 (ja) 指針式計器
JP5137225B2 (ja) 面光源装置
JP4914700B2 (ja) 計器装置
JP2018040627A (ja) 車両表示装置用指針、及び、車両表示装置
JP5288130B2 (ja) 指示計器
JP6316741B2 (ja) 表示装置
JP6056244B2 (ja) 指針式計器装置
JP2006113024A (ja) 指針計器
JP3705206B2 (ja) 指針照明装置
JP6642239B2 (ja) 表示装置
JP4792909B2 (ja) 計器の指針照明装置

Legal Events

Date Code Title Description
A621 Written request for application examination

Free format text: JAPANESE INTERMEDIATE CODE: A621

Effective date: 20130514

A977 Report on retrieval

Free format text: JAPANESE INTERMEDIATE CODE: A971007

Effective date: 20131211

A131 Notification of reasons for refusal

Free format text: JAPANESE INTERMEDIATE CODE: A131

Effective date: 20140114

A521 Request for written amendment filed

Free format text: JAPANESE INTERMEDIATE CODE: A523

Effective date: 20140303

TRDD Decision of grant or rejection written
A01 Written decision to grant a patent or to grant a registration (utility model)

Free format text: JAPANESE INTERMEDIATE CODE: A01

Effective date: 20140408

A61 First payment of annual fees (during grant procedure)

Free format text: JAPANESE INTERMEDIATE CODE: A61

Effective date: 20140424

R150 Certificate of patent or registration of utility model

Ref document number: 5536552

Country of ref document: JP

Free format text: JAPANESE INTERMEDIATE CODE: R150

R250 Receipt of annual fees

Free format text: JAPANESE INTERMEDIATE CODE: R250

R250 Receipt of annual fees

Free format text: JAPANESE INTERMEDIATE CODE: R250

R250 Receipt of annual fees

Free format text: JAPANESE INTERMEDIATE CODE: R250

R250 Receipt of annual fees

Free format text: JAPANESE INTERMEDIATE CODE: R250

R250 Receipt of annual fees

Free format text: JAPANESE INTERMEDIATE CODE: R250

R250 Receipt of annual fees

Free format text: JAPANESE INTERMEDIATE CODE: R250

R250 Receipt of annual fees

Free format text: JAPANESE INTERMEDIATE CODE: R250

S531 Written request for registration of change of domicile

Free format text: JAPANESE INTERMEDIATE CODE: R313531

R350 Written notification of registration of transfer

Free format text: JAPANESE INTERMEDIATE CODE: R350

LAPS Cancellation because of no payment of annual fees