JP5407578B2 - インクジェットプリンタヘッド - Google Patents

インクジェットプリンタヘッド Download PDF

Info

Publication number
JP5407578B2
JP5407578B2 JP2009143019A JP2009143019A JP5407578B2 JP 5407578 B2 JP5407578 B2 JP 5407578B2 JP 2009143019 A JP2009143019 A JP 2009143019A JP 2009143019 A JP2009143019 A JP 2009143019A JP 5407578 B2 JP5407578 B2 JP 5407578B2
Authority
JP
Japan
Prior art keywords
liquid chamber
common liquid
flow path
printer head
plate
Prior art date
Legal status (The legal status is an assumption and is not a legal conclusion. Google has not performed a legal analysis and makes no representation as to the accuracy of the status listed.)
Expired - Fee Related
Application number
JP2009143019A
Other languages
English (en)
Other versions
JP2011000714A (ja
Inventor
孝和 木平
行利 田嶋
Current Assignee (The listed assignees may be inaccurate. Google has not performed a legal analysis and makes no representation or warranty as to the accuracy of the list.)
Ricoh Co Ltd
Original Assignee
Ricoh Co Ltd
Priority date (The priority date is an assumption and is not a legal conclusion. Google has not performed a legal analysis and makes no representation as to the accuracy of the date listed.)
Filing date
Publication date
Application filed by Ricoh Co Ltd filed Critical Ricoh Co Ltd
Priority to JP2009143019A priority Critical patent/JP5407578B2/ja
Priority to US12/815,748 priority patent/US8292416B2/en
Publication of JP2011000714A publication Critical patent/JP2011000714A/ja
Application granted granted Critical
Publication of JP5407578B2 publication Critical patent/JP5407578B2/ja
Expired - Fee Related legal-status Critical Current
Anticipated expiration legal-status Critical

Links

Images

Classifications

    • BPERFORMING OPERATIONS; TRANSPORTING
    • B41PRINTING; LINING MACHINES; TYPEWRITERS; STAMPS
    • B41JTYPEWRITERS; SELECTIVE PRINTING MECHANISMS, i.e. MECHANISMS PRINTING OTHERWISE THAN FROM A FORME; CORRECTION OF TYPOGRAPHICAL ERRORS
    • B41J2/00Typewriters or selective printing mechanisms characterised by the printing or marking process for which they are designed
    • B41J2/005Typewriters or selective printing mechanisms characterised by the printing or marking process for which they are designed characterised by bringing liquid or particles selectively into contact with a printing material
    • B41J2/01Ink jet
    • B41J2/135Nozzles
    • B41J2/14Structure thereof only for on-demand ink jet heads
    • B41J2/14201Structure of print heads with piezoelectric elements
    • B41J2/14233Structure of print heads with piezoelectric elements of film type, deformed by bending and disposed on a diaphragm
    • BPERFORMING OPERATIONS; TRANSPORTING
    • B41PRINTING; LINING MACHINES; TYPEWRITERS; STAMPS
    • B41JTYPEWRITERS; SELECTIVE PRINTING MECHANISMS, i.e. MECHANISMS PRINTING OTHERWISE THAN FROM A FORME; CORRECTION OF TYPOGRAPHICAL ERRORS
    • B41J2/00Typewriters or selective printing mechanisms characterised by the printing or marking process for which they are designed
    • B41J2/005Typewriters or selective printing mechanisms characterised by the printing or marking process for which they are designed characterised by bringing liquid or particles selectively into contact with a printing material
    • B41J2/01Ink jet
    • B41J2/135Nozzles
    • B41J2/14Structure thereof only for on-demand ink jet heads
    • B41J2002/14419Manifold

Landscapes

  • Particle Formation And Scattering Control In Inkjet Printers (AREA)

Description

本発明は、インクジェットプリンタヘッドに関し、詳しくは、共通液室と流体抵抗部とを直接連通させることにより流路板の幅をより小さくすることが出来るインクジェットプリンタヘッドに関する。
プリンタ、ファクシミリ、複写装置等の画像記録装置或いは画像形成装置として用いるインクジェット記録装置において使用する液滴吐出ヘッドであるインクジェットプリンタヘッドとしては、インク滴を吐出するノズルと、このノズルが連通する流路(液室)と、流路内のインクを加圧する圧力を発生する圧電素子などの圧力発生手段とを備えて、圧力発生手段で発生した圧力で液室内インクを加圧することによってノズルからインク滴を吐出させる。
従来のインクジェットプリンタヘッドにおいては、液室や各液室に連通する共通液室などを、感光性樹脂、樹脂モールド、金属、ガラスなどの材料で形成していた。しかしながら、樹脂の液室は剛性が小さいので、近傍の液室間でクロストークが発生し易く、良好な画像品質が得られないという問題があった。一方、金属やガラスなどは、剛性が大きくクロストークの問題は小さいが、加工が難しいため、高画質化のために高密度化の要求に応えることが困難という問題があった。
そこで、液室や共通液室をシリコン基板(シリコンウエハ)の異方性エッチングで形成することが提案されている。このようにシリコンを流路板(液室形成部材)に用いた場合、シリコン基板(シリコンウエハ)上に、複数のヘッドチップに対応する液室や共通液室を形成し、これを各チップ毎に分離する必要がある。このとき、シリコンウエハからとれる前記流路板の数が少ないと、コストアップにつながるという問題がある。
特許文献1〜4のインクジェット記録ヘッドは、流路板がフレームの外周端と同じ幅で形成されていることから、流路板の幅を小さくすることは難しい。また、特許文献5〜8のインクジェット記録ヘッドは、共通液室から離れたところに圧力減衰機構(メンブレン、ダンパ室)を配しているので、圧力減衰の効率が十分といえず、また機構を組み込むために上記ヘッドではヘッドの大きさが大きくなってしまうという問題がある。
図2に、従来のインクジェット記録ヘッドの側面断面図を示す。フレーム20と振動板33と流路板10とノズル板14の外壁が同一面で構成されているため、共通液室幅33と接着しろ幅44の左右分の幅が構造上広くなってしまい、シリコンウエハから取れる流路板10の数が減少し、コスト高となってしまうという問題がある。
本発明の課題は、以上の従来技術における問題に鑑みてなされたものであり、シリコンウエハからの流路板の取り数を増やし、歩留まり良く製造可能なインクジェットプリンタヘッドを提供することである。
上記課題を解決するために、本発明に係るインクジェットプリンタヘッドは、以下のとおりである。
〔1〕インクを吐出する複数のノズルが形成されたノズル板と、
前記ノズルに連通する流路が形成され、該流路は圧力室及び該圧力室よりも小さい断面積の流路抵抗部を有し、該流路の水平断面の面積に対し同等若しくは小さな面積を有する圧電素子が積層された流路板と、
インク供給源からのインクを前記圧力室へ導く共通液室とを備え、
前記共通液室が、該共通液室の上部を形成する第一の共通液室形成部材と、前記第一の共通液室形成部材の外壁面及び前記ノズル板のインク吐出面に接合して前記共通液室の下部側面及び底面を形成する第二の共通液室形成部材とから形成され
前記第一の共通液室形成部材に設けられた前記共通液室の上部の内側の面と前記流路板の外壁と前記ノズル板の外壁を同一面に配置し、前記流路板の外周端に設けられた前記流体抵抗部が前記共通液室の下部につながることを特徴とするインクジェットプリンタヘッドである。
〔2〕前記第二の部材が、前記共通液室の下部側面を形成する部材と、底面を形成する部材とからなり、前記下部側面を形成する部材の高さが、前記ノズル板と前記流路板とが積層された厚みと等しいことを特徴とする前記〔1〕に記載のインクジェットプリンタヘッドである。
〔3〕流体抵抗部が、前記共通液室と直接連通するように流路に配置されたことを特徴とする前記〔1〕から〔2〕のいずれかに記載のインクジェットプリンタヘッドである。
〔4〕前記共通液室が、前記ノズル板及び前記流路板の両端部に配置されたことを特徴とする前記〔1〕から〔3〕のいずれかに記載のインクジェットプリンタヘッドである。
〔5〕前記共通液室に、前記流体抵抗部を有する前記流路と直交する方向にメンブレンを配置したことを特徴とする前記〔1〕から〔4〕のいずれかに記載のインクジェットプリンタヘッドである。
本発明によれば、シリコンウエハからの流路板の取り数を増やし、歩留まり良く製造可能なインクジェットプリンタヘッドを提供することができる。
本発明の効果として、請求項1の発明によれば、インクを吐出する複数のノズルが形成されたノズル板と、前記ノズルに連通する流路が形成され、該流路は圧力室及び該圧力室よりも小さい断面積の流路抵抗部を有し、該流路の水平断面の面積に対し同等若しくは小さな面積を有する圧電素子が積層された流路板と、インク供給口からのインクを前記圧力室へ導く共通液室とを備え、前記共通液室が、該共通液室の上部を形成する第一の共通液室形成部材と、前記第一の共通液室形成部材の外壁面及び前記ノズル板のインク吐出面に接合して前記共通液室の下部側面及び底面を形成する第二の共通液室形成部材とから形成され、前記第一の共通液室形成部材に設けられた前記共通液室の上部の内側の面と前記流路板の外壁と前記ノズル板の外壁を同一面に配置し、前記流路板の外周端に設けられた前記流体抵抗部が前記共通液室の下部につながるインクジェットプリンタヘッドであるので、前記流路板のインクが流れる入り口に前記流体抵抗部を設け、該流体抵抗部と前記共通液室とを直接同一面上でつなぐ構成にすることで前記流路板の幅が最小となりシリコンウエハから前記流路板の取り数を増やすことができる。
請求項2の発明によれば、請求項1に記載のインクジェットプリンタヘッドにおいて、前記第二の共通液室形成部材が、前記共通液室の下部側面を形成する部材と、底面を形成する部材とからなり、前記下部側面を形成する部材の高さが、前記ノズル板と前記流路板とが積層された厚みと等しいため、前記共通液室の外側の内壁を構成することで前記流路板の幅を最小とすることができる。
請求項3の発明によれば、請求項1から2のいずれかに記載のインクジェットプリンタヘッドにおいて、流体抵抗部が、前記共通液室と直接連通するように流路に配置されるため、前記共通液室の内側の壁面と同じ面に前記流路板の外壁と前記ノズル板の外壁を構成し積層し、前記流路板の外壁に前記流体抵抗部を形成することで、前記流路板の幅を最小とすることができる。
請求項4の発明によれば、請求項1から3のいずれかに記載のインクジェットプリンタヘッドにおいて、前記共通液室が、前記ノズル板及び前記流路板の両端部に配置されるため、前記共通液室、前記流体抵抗部、及び前記圧力室を同一平面上に構成し、前記流路板の外壁に流体抵抗部を形成し、前記共通液室を直接連通させる構成とすることで、前記流路板の幅を最小にすることができる。
請求項5の発明によれば、請求項1から4のいずれかに記載のインクジェットプリンタヘッドにおいて、前記共通液室に、前記流体抵抗部を有する前記流路と直交する方向にメンブレンを配置したため、共通液室内の圧力波の減衰を効率よく行うことができ、ノズル間の相互干渉(クロストーク)を抑制することができる。
本発明のインクジェットプリンタヘッドの一例の構成を示す断面図である。 従来のインクジェットプリンタヘッドの一例の構成を示す断面図である。 本発明のインクジェットプリンタヘッドを積層順に分解して示した斜視図である 本発明のインクジェットプリンタヘッドの他の一例の構成を示す断面図である。 本発明のインクジェットプリンタヘッドの他の一例の構成を示す断面図である。 本発明のインクジェットプリンタヘッドの他の一例の構成を示す断面図である。 本発明のインクジェットプリンタヘッドの他の一例の構成を示す断面図である。
以下、本発明に係るインクジェットプリンタヘッドについて、図面を参照して説明する。なお、本発明は以下に示す実施形態に限定されるものではなく、他の実施形態、追加、修正、削除など、当業者が想到することができる範囲内で変更することができ、いずれの態様においても本発明の作用・効果を奏する限り、本発明の範囲に含まれるものである。
図1は、本発明のインクジェットプリンタヘッドの一実施態様を示す断面図である。
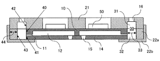
インクを吐出する複数のノズル15が形成されたノズル板14と、ノズル15に連通する流路が形成され、該流路は圧力室12及び圧力室12よりも小さい断面積の流路抵抗部11を有し、該流路の水平断面の面積に対し同等若しくは小さな面積を有する圧電素子50が積層された流路板10と、インク供給口16からのインクを前記圧力室へ導く共通液室30とを備え、共通液室30が、共通液室の上部31を形成する第一の共通液室形成部材21と、第一の共通液室形成部材21の外壁面及びノズル板14のインク吐出面に接合して共通液室の下部32の側面及び底面を形成する第二の共通液室形成部材22とから形成される。
また、第二の共通液室形成部材22が、共通液室の下部32の側面を形成する部材22aと、底面を形成する部材22bとからなり、下部側面を形成する部材22aの高さが、ノズル板14と流路板10とが積層された厚みと等しい。
第一の共通液室形成部材21に設けられた共通液室上部31の内側の面42と流路板10の外壁40とノズル板14の外壁41を同一面に配置し、流路板10の外周端に設けられた流体抵抗部11が共通液室下部32に直接つながる構成とすることで、共通液室幅33と接着しろ幅44の幅の左右分、ノズル板14と流路板10の幅を小さくすることができる。
第二の共通液室形成部材22のうち共通液室の下部側面を形成する部材22aは、共通液室下部32の外側の内壁43を形成している。
図1に示すインクジェットプリンタヘッドでは、共通液室の内壁と同一面に流路板とノズル板の外壁を形成することにより、流路板とノズル板との幅を、従来の構造に対して40〜45%削減することができる。
共通液室の下部底面を形成する部材22bは、共通液室30(共通液室上部31と共通液室下部32)の底を形成している。インク供給口16から供給されたインクは、共通液室上部31と共通液室下部32を経て、流体抵抗部11を通り、圧力室12に入る。流路板10に設けられた圧力室12の反対側に設置された圧電素子50に電圧印加手段により印加して振動を励起し、圧力室12の容積を変化させることにより、ノズル板14に設けられたノズル15からインク滴を吐出する。
図3は、図1に示すインクジェットプリンタヘッドを構成する部材を、積層順に分解した斜視図である。上から順に、共通液室上部31、第二の共通液室形成部材下部側面を形成する部材22a、流路板10、ノズル板14、第二の共通液室形成部材底面を形成する部材22bである。共通液室の外側の内壁を構成する部品を別部材とすることで、流路板10の幅を最小にすることが出来る。
図4及び図5は、本発明のインクジェットプリンタヘッドの他の実施態様を示す断面図であり、第二の共通液室形成部材22が、共通液室下部32の側壁と底部を同一部材で形成している態様である。
共通液室30が、ノズル板14及び流路板10の両端部、すなわちインクジェットプリンタヘッドの最外周端に配置されている。共通液室30、流体抵抗部11、圧力室12を同一面上に直列配列することで、流路板10の幅を最小にすることが出来る。
図6は、本発明のインクジェットプリンタヘッドのさらに他の実施態様を示す断面図であり、第二の共通液室形成部材22の変形例であり、側壁にメンブレン45を配置した態様である。メンブレン45、共通液室30、流体抵抗部11、圧力室12を同一面上に直列配置することにより、従来例よりも効率よく圧力波を減衰させることができる。
図7は、本発明のインクジェットプリンタヘッドのさらに他の実施態様を示す断面図であり、図4に示すインクジェットプリンタヘッドの共通液室30内部に、メンブレン45を、流体抵抗部11を有する前記流路と直交する方向に配置した態様である。メンブレン45、共通液室30、流体抵抗部11、圧力室12を同一面上に直列配置することにより、従来例よりも効率よく圧力波を減衰させることができる。
以上のように、本発明のインクジェットプリンタヘッドは、共通液室と流体抵抗を直接つなぐ構成とすることで、シリコンウエハに加工する流路板の幅を最小にすることができるため、シリコンウエハからの流路板の取り数を増やし、歩留まり良く製造することができ、製造コストを低減可能である。
10 流路板
11 流体抵抗部
12 圧力室
13 流路
14 ノズル板
15 ノズル
16 インク供給口
17 振動板
18 管通孔
20 フレーム
21 第一の共通液室形成部材
22 第二の共通液室形成部材
22a 第二の共通液室形成部材(共通液室の下部側面を形成する部材)
22b 第二の共通液室形成部材(共通液室の下部底面を形成する部材)
30 共通液室
31 共通液室上部
32 共通液室下部
33 共通液室幅
40 流路板外壁
41 ノズル板外壁
42 共通液室内壁
43 外側の内壁
44 接着しろ
45 メンブレン
50 圧電素子
特開2006−116767号公報 特開2004−34293号公報 特開2004−148813号公報 特開2003−182076号公報 特開2007−145014号公報 特開2006−102980号公報 特開2008−37099号公報 特開2007−118312号公報

Claims (5)

  1. インクを吐出する複数のノズルが形成されたノズル板と、
    前記ノズルに連通する流路が形成され、該流路は圧力室及び該圧力室よりも小さい断面積の流路抵抗部を有し、該流路の水平断面の面積に対し同等若しくは小さな面積を有する圧電素子が積層された流路板と、
    インク供給口からのインクを前記圧力室へ導く共通液室とを備え、
    前記共通液室が、該共通液室の上部を形成する第一の共通液室形成部材と、前記第一の共通液室形成部材の外壁面及び前記ノズル板のインク吐出面に接合して前記共通液室の下部側面及び底面を形成する第二の共通液室形成部材とから形成され
    前記第一の共通液室形成部材に設けられた前記共通液室の上部の内側の面と前記流路板の外壁と前記ノズル板の外壁を同一面に配置し、前記流路板の外周端に設けられた前記流体抵抗部が前記共通液室の下部につながる
    ことを特徴とするインクジェットプリンタヘッド。
  2. 前記第二の共通液室形成部材が、前記共通液室の下部側面を形成する部材と、底面を形成する部材とからなり、前記下部側面を形成する部材の高さが、前記ノズル板と前記流路板とが積層された厚みと等しいことを特徴とする請求項1に記載のインクジェットプリンタヘッド。
  3. 流体抵抗部が、前記共通液室と直接連通するように流路に配置されたことを特徴とする請求項1から2のいずれかに記載のインクジェットプリンタヘッド。
  4. 前記共通液室が、前記ノズル板及び前記流路板の両端部に配置されたことを特徴とする請求項1から3のいずれかに記載のインクジェットプリンタヘッド。
  5. 前記共通液室に、前記流体抵抗部を有する前記流路と直交する方向にメンブレンを配置したことを特徴とする請求項1から4のいずれかに記載のインクジェットプリンタヘッド。
JP2009143019A 2009-06-16 2009-06-16 インクジェットプリンタヘッド Expired - Fee Related JP5407578B2 (ja)

Priority Applications (2)

Application Number Priority Date Filing Date Title
JP2009143019A JP5407578B2 (ja) 2009-06-16 2009-06-16 インクジェットプリンタヘッド
US12/815,748 US8292416B2 (en) 2009-06-16 2010-06-15 Inkjet printer head

Applications Claiming Priority (1)

Application Number Priority Date Filing Date Title
JP2009143019A JP5407578B2 (ja) 2009-06-16 2009-06-16 インクジェットプリンタヘッド

Publications (2)

Publication Number Publication Date
JP2011000714A JP2011000714A (ja) 2011-01-06
JP5407578B2 true JP5407578B2 (ja) 2014-02-05

Family

ID=43306088

Family Applications (1)

Application Number Title Priority Date Filing Date
JP2009143019A Expired - Fee Related JP5407578B2 (ja) 2009-06-16 2009-06-16 インクジェットプリンタヘッド

Country Status (2)

Country Link
US (1) US8292416B2 (ja)
JP (1) JP5407578B2 (ja)

Families Citing this family (9)

* Cited by examiner, † Cited by third party
Publication number Priority date Publication date Assignee Title
JP5768393B2 (ja) 2011-02-10 2015-08-26 株式会社リコー インクジェットヘッド及び画像形成装置
JP5772100B2 (ja) 2011-03-15 2015-09-02 株式会社リコー 圧電素子の製造装置、圧電素子の製造方法、圧電素子、液滴吐出装置、及び印刷装置
JP5776880B2 (ja) * 2011-03-22 2015-09-09 セイコーエプソン株式会社 液体噴射ヘッド及び液体噴射装置
JP5915189B2 (ja) 2012-01-10 2016-05-11 株式会社リコー 液滴吐出ヘッド、液滴吐出装置および画像形成装置
JP2016215446A (ja) 2015-05-18 2016-12-22 株式会社リコー 液滴吐出装置
JP6701795B2 (ja) * 2016-02-24 2020-05-27 株式会社リコー 液体吐出ヘッド、液体吐出装置及び画像形成装置
JP2018103376A (ja) * 2016-12-22 2018-07-05 セイコーエプソン株式会社 液体噴射ヘッド、及び、液体噴射装置
CN112590397B (zh) 2020-12-11 2022-03-25 京东方科技集团股份有限公司 喷墨模组及喷墨打印设备
CN112590396B (zh) * 2020-12-11 2022-03-08 京东方科技集团股份有限公司 喷墨模组、喷墨打印设备

Family Cites Families (17)

* Cited by examiner, † Cited by third party
Publication number Priority date Publication date Assignee Title
US5748214A (en) * 1994-08-04 1998-05-05 Seiko Epson Corporation Ink jet recording head
JP3888420B2 (ja) * 2001-03-08 2007-03-07 セイコーエプソン株式会社 インクジェット式記録ヘッドの製造方法
JP2003159800A (ja) * 2001-09-13 2003-06-03 Seiko Epson Corp 液体噴射ヘッド及び液体噴射装置
JP2003182076A (ja) 2001-12-21 2003-07-03 Seiko Epson Corp インクジェット式記録ヘッド及びインクジェット式記録装置
JP4258605B2 (ja) * 2002-03-25 2009-04-30 セイコーエプソン株式会社 液体噴射ヘッド及び液体噴射装置
JP2004001431A (ja) * 2002-03-25 2004-01-08 Seiko Epson Corp 液体噴射ヘッド及び液体噴射装置
JP4344116B2 (ja) 2002-06-28 2009-10-14 セイコーエプソン株式会社 液体噴射ヘッド及び液体噴射装置
US7052117B2 (en) * 2002-07-03 2006-05-30 Dimatix, Inc. Printhead having a thin pre-fired piezoelectric layer
JP4506145B2 (ja) 2002-10-11 2010-07-21 セイコーエプソン株式会社 液体噴射ヘッド及びその製造方法並びに液体噴射装置
JP4569866B2 (ja) 2004-09-30 2010-10-27 富士フイルム株式会社 液体吐出ヘッド及び画像形成装置
JP2006116767A (ja) 2004-10-20 2006-05-11 Seiko Epson Corp 液滴吐出ヘッド、液滴吐出装置
JP2006231909A (ja) * 2005-01-26 2006-09-07 Seiko Epson Corp 液体噴射ヘッド及び液体噴射装置
JP4730531B2 (ja) * 2005-09-13 2011-07-20 セイコーエプソン株式会社 液体噴射ヘッド及び液体噴射装置
JP5028782B2 (ja) 2005-10-26 2012-09-19 ブラザー工業株式会社 液滴噴射装置
JP5040263B2 (ja) 2005-10-31 2012-10-03 ブラザー工業株式会社 液滴噴射装置
JP2008037099A (ja) 2006-07-14 2008-02-21 Brother Ind Ltd 液体移送装置及びインクジェットヘッド
JP2009051104A (ja) * 2007-08-27 2009-03-12 Seiko Epson Corp 液体噴射ヘッド及び液体噴射装置

Also Published As

Publication number Publication date
US20100315471A1 (en) 2010-12-16
US8292416B2 (en) 2012-10-23
JP2011000714A (ja) 2011-01-06

Similar Documents

Publication Publication Date Title
JP5407578B2 (ja) インクジェットプリンタヘッド
US8042919B2 (en) Piezoelectric inkjet printhead
CN105383176B (zh) 液体排出头以及使用该液体排出头的头单元
JP5454016B2 (ja) インクジェットヘッド
JP2020015261A (ja) 液体吐出ヘッド
JP7220327B1 (ja) ヘッドチップ、液体噴射ヘッド及び液体噴射記録装置
JP5573052B2 (ja) インクジェットヘッド
JP4320596B2 (ja) インクジェットヘッド
JP2012192641A (ja) 液滴噴射装置
JP2013111977A (ja) インクジェットプリントヘッド
US6260963B1 (en) Ink jet print head with damping feature
JP4453965B2 (ja) インクジェット記録ヘッド、および記録装置
JP5040263B2 (ja) 液滴噴射装置
JP4924339B2 (ja) 液滴吐出ヘッド用のキャビティユニット
US20210162752A1 (en) Liquid ejecting head and liquid ejecting system
JP2005103861A (ja) 液滴噴射装置
JP7032604B1 (ja) ヘッドチップ、液体噴射ヘッド及び液体噴射記録装置
US11548280B2 (en) Liquid ejecting head and liquid ejecting system
JP5672249B2 (ja) インクジェットヘッド
JP6390092B2 (ja) 液体噴射ヘッドおよび液体噴射装置
JP7180246B2 (ja) 液体吐出ヘッド
JP2010241002A (ja) 液滴吐出ヘッド
US11225073B2 (en) Liquid ejecting head and liquid ejecting system
JP7552251B2 (ja) 液体吐出ヘッド
JP2014024275A (ja) 液体吐出ヘッド及び画像形成装置

Legal Events

Date Code Title Description
A621 Written request for application examination

Free format text: JAPANESE INTERMEDIATE CODE: A621

Effective date: 20120315

A131 Notification of reasons for refusal

Free format text: JAPANESE INTERMEDIATE CODE: A131

Effective date: 20130219

A977 Report on retrieval

Free format text: JAPANESE INTERMEDIATE CODE: A971007

Effective date: 20130220

A521 Written amendment

Free format text: JAPANESE INTERMEDIATE CODE: A523

Effective date: 20130422

TRDD Decision of grant or rejection written
A01 Written decision to grant a patent or to grant a registration (utility model)

Free format text: JAPANESE INTERMEDIATE CODE: A01

Effective date: 20131008

A61 First payment of annual fees (during grant procedure)

Free format text: JAPANESE INTERMEDIATE CODE: A61

Effective date: 20131021

R151 Written notification of patent or utility model registration

Ref document number: 5407578

Country of ref document: JP

Free format text: JAPANESE INTERMEDIATE CODE: R151

LAPS Cancellation because of no payment of annual fees