JP5347331B2 - バンパー用包装材 - Google Patents

バンパー用包装材 Download PDF

Info

Publication number
JP5347331B2
JP5347331B2 JP2008133133A JP2008133133A JP5347331B2 JP 5347331 B2 JP5347331 B2 JP 5347331B2 JP 2008133133 A JP2008133133 A JP 2008133133A JP 2008133133 A JP2008133133 A JP 2008133133A JP 5347331 B2 JP5347331 B2 JP 5347331B2
Authority
JP
Japan
Prior art keywords
sheet
bag
vehicle bumper
packaging material
bumper
Prior art date
Legal status (The legal status is an assumption and is not a legal conclusion. Google has not performed a legal analysis and makes no representation as to the accuracy of the status listed.)
Expired - Fee Related
Application number
JP2008133133A
Other languages
English (en)
Other versions
JP2009280231A (ja
Inventor
肇 川上
Current Assignee (The listed assignees may be inaccurate. Google has not performed a legal analysis and makes no representation or warranty as to the accuracy of the list.)
Kawakami Sangyo KK
Original Assignee
Kawakami Sangyo KK
Priority date (The priority date is an assumption and is not a legal conclusion. Google has not performed a legal analysis and makes no representation as to the accuracy of the date listed.)
Filing date
Publication date
Application filed by Kawakami Sangyo KK filed Critical Kawakami Sangyo KK
Priority to JP2008133133A priority Critical patent/JP5347331B2/ja
Publication of JP2009280231A publication Critical patent/JP2009280231A/ja
Application granted granted Critical
Publication of JP5347331B2 publication Critical patent/JP5347331B2/ja
Expired - Fee Related legal-status Critical Current
Anticipated expiration legal-status Critical

Links

Images

Classifications

    • YGENERAL TAGGING OF NEW TECHNOLOGICAL DEVELOPMENTS; GENERAL TAGGING OF CROSS-SECTIONAL TECHNOLOGIES SPANNING OVER SEVERAL SECTIONS OF THE IPC; TECHNICAL SUBJECTS COVERED BY FORMER USPC CROSS-REFERENCE ART COLLECTIONS [XRACs] AND DIGESTS
    • Y02TECHNOLOGIES OR APPLICATIONS FOR MITIGATION OR ADAPTATION AGAINST CLIMATE CHANGE
    • Y02WCLIMATE CHANGE MITIGATION TECHNOLOGIES RELATED TO WASTEWATER TREATMENT OR WASTE MANAGEMENT
    • Y02W30/00Technologies for solid waste management
    • Y02W30/50Reuse, recycling or recovery technologies
    • Y02W30/80Packaging reuse or recycling, e.g. of multilayer packaging

Landscapes

  • Packaging Of Machine Parts And Wound Products (AREA)
  • Buffer Packaging (AREA)
  • Packages (AREA)

Description

本発明は、車両用バンパーを包装するバンパー用包装材に関する。
樹脂製の車両用バンパーは、例えば補修部品として輸送されることが多い。また、近年ではノックダウン生産のためにバンパーが他国に輸送されるケースも増加している。バンパーの輸送時には、バンパーを保護するために何らかの包装をする必要がある。このようなバンパー用包装材として段ボールを用いた包装箱が提案されている(特許文献1参照)。
特開2001−192017号公報
しかしながらバンパーは形状が複雑であるため、これを収納するための段ボール箱の容積が大きくなる。このため大きな収納スペースが必要となる上に積層し難く、保管時の収納効率や輸送時の積載効率が低いなどの問題がある。また、バンパー用包装材は使用後に廃棄されることが多いが、段ボール製の包装材はリサイクル性の面で好ましくない。
そこで本発明は、バンパーを包装した際に、できるだけ体積を小さくすることができ、かつ、リサイクル性に優れたバンパーの包装材を提供することを目的とする。
上記目的を達成するため、本発明の請求項1に記載の発明は、車両バンパーの両端に被せられる2つの袋状部材(10、11)と、前記車両バンパーの中央付近に巻き付けられるシート状部材(12)とを備え、前記袋状部材(10、11)と前記シート状部材(12)は、少なくとも凹凸シート(101)と平坦シート(102、103)とが接合され、気体が密閉された多数の気泡部(104)が形成されている合成樹脂製気泡シート(100)から構成されており、前記シート状部材(12)が前記車両バンパーの中央付近に巻き付けられたときに、前記シート状部材(12)の一部が前記車両バンパーの両端に被せられた前記袋状部材(10、11)と重なり合うようになっており、前記シート状部材(12)における前記袋状部材(10、11)と重なり合う部位に、前記シート状部材(12)を前記袋状部材(10、11)に固定するための固定手段(12a)が形成されていることを特徴としている。
合成樹脂製気泡シート(100)は柔軟性を有するので、車両用バンパーの形状に応じて変形することができ、包装された状態の車両バンパーをコンパクトにすることができるとともに、積層しやすい。このため、包装された状態の車両バンパーの収納スペースを削減することができる。また、合成樹脂製気泡シート(100)は、リサイクル性に優れている。
また、本発明の車両バンパー用包装材では、2つの袋状部材(10、11)を車両バンパーの両端からそれぞれ被せ、車両バンパーの中央付近にシート状部材(12)を巻き付けるという簡易な作業で包装を完了することができる。このため、短時間で効率よく車両バンパーを包装することができ、作業性に優れている。さらに、本発明の車両バンパー用包装材は、2つの袋状部材(10、11)と1つのシート状部材(12)からなる3ピース構造であるので、大きさが異なる車両バンパーに柔軟に対応できる。つまり、車両バンパーの長さが異なる場合には、両端に被せた袋状部材(10、11)の間の距離が変化するが、袋状部材(10、11)とシート状部材(12)との重なりが形成されれば、車両バンパーを包装することができる。
さらに、請求項1に記載の発明では、前記シート状部材(12)の一端に袋状部(12b)が設けられていることを特徴としている。これにより、突起部を有する車両バンパー(20)を包装する際に、袋状部(12b)を車両バンパー20の突起部に被せることで適切に包装することができる。
また、請求項2に記載の発明では、前記袋状部材(10、11)は、前記車両バンパーの全長の1/2より短い長さを有していることを特徴としている。これにより、袋状部材(10、11)を車両用バンパーの両端から被せたときに、互いに重ならないようにすることができる。
また、請求項3に記載の発明のように、前記固定手段(12a)は粘着テープから構成することができる。
また、請求項に記載の発明では、前記シート状部材(12)の全部又は一部が伸縮性を有する合成樹脂から構成されていることを特徴としている。これにより、シート状部材(12)を伸張させながら車両バンパー(20)に巻き付けることができ、より確実な包装を行うことができる。
なお、上記各手段の括弧内の符号は、後述する実施形態に記載の具体的手段との対応関係を示すものである。
(第1実施形態)
以下、本発明の第1実施形態について図1〜図3に基づいて説明する。
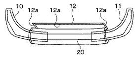
図1は、本実施形態のバンパー用包装材の全体構成を示す平面図である。図1に示すように、バンパー用包装材は、第1袋状部材10、第2袋状部材11、シート状部材12の3つの部材から構成されている。第1袋状部材10と第2袋状部材11は同一の構成であり、一辺が開口した平袋として構成されている。袋状部材10、11は、車両用バンパーの両側の端部に被せるようにして用いられる。シート状部材12は、1枚の長方形状のシートとして構成されている。シート状部材12は、車両用バンパーの中央付近に巻き付けるようにして用いられる。シート状部材12を車両バンパーの中央付近に巻き付けたときに、シート状部材12の一部が車両バンパーの両端に被せられた袋状部材10、11と重なり合うようになっている。
シート状部材12における対向する一対の辺(本実施形態では長辺)には、シート状部材12を袋状部材10、11に貼付して固定する固定手段としての貼付部12aが設けられている。図1において斜線で示した部分が貼付部12aを示している。貼付部12aは、シート状部材12を車両バンパーの中央付近に巻き付けたときに、車両バンパーの両端に被せられた袋状部材10、11と重なり合う位置に設けられる。貼付部12aとしては、例えば両面テープなどの粘着テープを用いることができる。
袋状部材10、11の幅(図1の上下方向寸法)は、車両用バンパーの端部を収納可能な大きさであればよい。また、袋状部材10、11の長さ(図1の左右方向寸法)は、車両用バンパーの全長の1/2より短くすることで、袋状部材10、11を車両用バンパーの両端から被せたときに、互いに重ならないようにすることができる。シート状部材12の長さ(図1の上下方向寸法)は、車両用バンパーの中央付近に巻き付けることができる長さであればよい。シート状部材12の幅(図1の左右方向寸法)は、車両用バンパーの両端に袋状部材10、11を被せた際に、2つの袋状部材10、11と重なり合うことができる長さであればよい。これらの袋状部材10、11、シート状部材12の具体的寸法は、車種に応じて適宜選択すればよい。
袋状部材10、11、シート状部材12は、合成樹脂製気泡シートから構成されている。図2(a)は合成樹脂製気泡シート100の斜視図であり、図2(b)は合成樹脂製気泡シート100を分解した状態を示す斜視図である。
図2(a)、(b)に示すように、気泡シート100は合成樹脂製中空部材として構成されている。気泡シート100は、凹凸シート101と、凹凸シート101の両面に接合された2枚の平坦シート102、103とからなる3層構造となっている。凹凸シート101には複数の中空状(例えば円柱状)の突起部101aがエンボス加工されており、凹凸シート101の突起部先端側(図1の上側)に第1平坦シート102が接合されている。また、凹凸シート101の突起部開口側(図1の下側)には第2平坦シート103が接合され、これにより空気が封入された気泡部104が形成される。気泡シート100は、柔軟性を有しており、気泡部104により緩衝効果に優れるので、包装材料として好適に用いることができる。
本実施形態では、気泡シート100を構成する合成樹脂として、ポリエチレンやポリプロピレンといったポリオレフィン系樹脂を用いている。気泡シート100は、本実施形態のように柔軟性が必要とされる場合には単位面積当り重量(目付重量)を30〜300グラム/m2とすることが望ましい。車両バンパー用包装材は、車両バンパーを収納した状態で床を引きずられるような状況も考えられるので、ある程度の強度を有していることが望ましい。このため、本実施形態の気泡シート100は、ポリエチレンより強度(引張り強度、引裂き強度、圧縮強度など)に優れるポリプロピレンを用い、目付重量を100〜150グラム/m2程度としている。
次に、本実施形態の車両バンパー用包装材による車両バンパーの包装方法について説明する。図3は、車両バンパーの包装方法の手順を示す工程図である。
まず、車両バンパー20を用意し(図3(a))、その両端から袋状部材10、11を被せる(図3(b))。次に、シート状部材12を車両バンパー20の中央付近に巻き付ける(図3(c))。このとき、シート状部材12の長辺を貼付部12aにより袋状部材10、11に貼付する。以上により、袋状部材10、11とシート状部材12により車両バンパー20を包装することができる。
以上説明した車両バンパー用包装材は、柔軟性を有する気泡シート100から構成されているので、車両用バンパーの形状に応じて変形するので嵩張らず、包装された状態の車両バンパーの大きさが包装前より大幅に大きくなることがない。このため、本実施形態の車両バンパー用包装材は、段ボール製包装材に比較して、包装された状態の車両バンパーをコンパクトにすることができるとともに、積層しやすい。このため、包装された状態の車両バンパーの収納スペースを削減することができる。さらに気泡シート100は、包装に用いる前の資材として保管する際にも、段ボール箱に比較して保管スペースが少なくて済む。
また、本実施形態の車両バンパー用包装材を構成する気泡シート100は、段ボールに比べて滑りにくいので、安定的に積層することが可能となる。さらに、本実施形態の車両バンパー用包装材を構成する気泡シート100は、容易にリサイクルすることができ、環境面でも好ましい。
また、本実施形態の車両バンパー用包装材は、2つの袋状部材10、11を車両バンパーの両端からそれぞれ被せ、車両バンパーの中央付近にシート状部材12を巻き付けるという簡易な作業で包装を完了することができる。このため、短時間で効率よく車両バンパーを包装することができ、作業性に優れている。
また、本実施形態の車両バンパー用包装材の構成では、2つの袋状部材10、11と1つのシート状部材12からなる3ピース構造であるので、大きさが異なる車両バンパーに柔軟に対応できる。つまり、車両バンパーの長さが異なる場合には、両端に被せた袋状部材10、11の間の距離が変化するが、袋状部材10、11とシート状部材12との重なりが形成されれば、車両バンパーを包装することができる。
(第2実施形態)
次に、本発明の第2実施形態について説明する。
図4は、本実施形態の車両バンパー包装材の全体構成を示す平面図である。図4に示すように、本実施形態では、シート状部材12における短辺の一方に袋状部12bが設けられている。袋状部12bは、シート状部材12の端部を折り返し、長辺の重なり部分を接合することで形成されている。さらに、シート状部材12における袋状部12bと反対側の短辺に貼付部12aが設けられている。
図5は、本実施形態の車両バンパー包装材で車両バンパー20を包装する過程を示す側面図である。図5では図示を省略しているが、車両バンパー20の中央付近には突起部が形成されているものとする。本実施形態の車両バンパー包装材では、車両バンパー20の両端に袋状部材10、11を被せた後で、車両バンパー20の突起部にシート状部材12の袋状部12bを被せ、シート状部材12を車両バンパー20の中央付近に巻き付ける。このとき、シート状部材12を貼付部12aにより袋状部材10、11に貼付する。
本実施形態の構成によれば、シート状部材12の短辺の一端側に設けられた袋状部12bを車両バンパー20の突起部に被せることで、突起部を有する車両バンパー20を適切に包装することができる。また、突起部にシート状部材12の袋状部12bを被せることで、シート状部材12の位置決めを行いやすく、シート状部材12の巻き付け作業を容易に行うことができる。さらに、シート状部材12の短辺にも貼付部12aを設けているので、シート状部材12を確実に袋状部材10、11に貼付することができ、確実な包装を行うことができる。
(他の実施形態)
なお、上記各実施形態では、2枚の袋状部材10、11を同一の大きさとして構成したが、これに限らず、これらの袋状部材10、11を異なる大きさとしてもよい。
また、上記各実施形態では、貼付部12aをシート状部材12の周縁部に設けたが、図6に示すように、貼付部12aをシート状部材12の周縁部より若干内側に設けてもよい。この場合、シート状部材12の周縁部には貼付部12aが設けられていない部分が形成されることとなる。
また、上記各実施形態では、シート状部材12の固定手段を両面テープ(粘着テープ)からなる貼付部12aとしたが、シート状部材12を袋状部材10、11に固定することができればよく、両面テープ以外の固定手段を用いてもよい。例えばPPテープ(ポリプロピレンテープ)により貼付部12aを構成した場合には、リサイクルの際に貼付部12aをシート状部材12から分離する必要がない。さらにシート状部材12に粘着剤を塗布することで貼付部12aを構成してもよい。あるいは粘着剤に限らず、面ファスナーやプラホック(プラスチック製スナップファスナー)により固定手段を構成してもよい。面ファスナーやプラホックを用いる場合には、これらの固定手段をシート状部材12と袋状部材10、11のそれぞれ対応する部位に設ける必要がある。
また、上記各実施形態では、袋状部材10、11を平袋として構成したが、これに限らず、例えば側辺や底部にマチが設けられたガゼット袋として構成してもよい。
また、上記各実施形態では、袋状部材10、11、シート状部材12を構成する気泡シート100を凹凸シート101の両面に2枚の平坦シート102、103を接合した3層品を用いたが、1枚の平坦シート102が凹凸シート101における突起部101aの開口部側に接合された2層品を用いてもよい。
また、シート状部材12の一部または全部を伸縮性を有する合成樹脂材料から構成してもよい。伸縮性を有する樹脂材料としては、例えばウレタン樹脂、天然ゴム、エチレン・1−オクテン共重合体を好適に用いることができる。このように、シート状部材12の一部または全部を伸縮性を有する合成樹脂材料から構成することで、シート状部材12を伸張させながら車両バンパー20に巻き付けることができ、より確実な包装を行うことができる。
第1実施形態の車両バンパー用包装材を示す平面図である。 (a)は合成樹脂製気泡シートの斜視図であり、(b)は合成樹脂製気泡シートを分解した状態を示す斜視図である。 車両バンパーの包装方法の手順を示す工程図である。 第2実施形態の車両バンパー包装材を示す平面図である。 第2実施形態の車両バンパー包装材で車両バンパー20を包装する過程を示す側面図である。 車両バンパー用包装材の変形例を示す平面図である。
符号の説明
10…第1袋状部材、11…第2袋状部材、12…シート状部材、12a…貼付部(固定手段)、12b…袋状部、100…合成樹脂製気泡シート。

Claims (4)

  1. 車両バンパーの両端に被せられる2つの袋状部材(10、11)と、
    前記車両バンパーの中央付近に巻き付けられるシート状部材(12)とを備え、
    前記袋状部材(10、11)と前記シート状部材(12)は、少なくとも凹凸シート(101)と平坦シート(102、103)とが接合され、気体が密閉された多数の気泡部(104)が形成されている合成樹脂製気泡シート(100)から構成されており、
    前記シート状部材(12)が前記車両バンパーの中央付近に巻き付けられたときに、前記シート状部材(12)の一部が前記車両バンパーの両端に被せられた前記袋状部材(10、11)と重なり合うようになっており、
    前記シート状部材(12)における前記袋状部材(10、11)と重なり合う部位に、前記シート状部材(12)を前記袋状部材(10、11)に固定するための固定手段(12a)が形成されており、
    前記シート状部材(12)の一端に袋状部(12b)が設けられていることを特徴とする車両バンパー用包装材。
  2. 前記袋状部材(10、11)は、前記車両バンパーの全長の1/2より短い長さを有していることを特徴とする請求項1に記載の車両バンパー用包装材。
  3. 前記固定手段(12a)は粘着テープから構成されていることを特徴とする請求項1または2に記載の車両バンパー用包装材。
  4. 前記シート状部材(12)の全部又は一部が伸縮性を有する合成樹脂から構成されていることを特徴とする請求項1ないしのいずれか1つに記載の車両バンパー包装材。
JP2008133133A 2008-05-21 2008-05-21 バンパー用包装材 Expired - Fee Related JP5347331B2 (ja)

Priority Applications (1)

Application Number Priority Date Filing Date Title
JP2008133133A JP5347331B2 (ja) 2008-05-21 2008-05-21 バンパー用包装材

Applications Claiming Priority (1)

Application Number Priority Date Filing Date Title
JP2008133133A JP5347331B2 (ja) 2008-05-21 2008-05-21 バンパー用包装材

Publications (2)

Publication Number Publication Date
JP2009280231A JP2009280231A (ja) 2009-12-03
JP5347331B2 true JP5347331B2 (ja) 2013-11-20

Family

ID=41451145

Family Applications (1)

Application Number Title Priority Date Filing Date
JP2008133133A Expired - Fee Related JP5347331B2 (ja) 2008-05-21 2008-05-21 バンパー用包装材

Country Status (1)

Country Link
JP (1) JP5347331B2 (ja)

Families Citing this family (2)

* Cited by examiner, † Cited by third party
Publication number Priority date Publication date Assignee Title
JP5983986B2 (ja) * 2011-12-07 2016-09-06 王子コンテナー株式会社 車両用バンパー包装具
KR101869327B1 (ko) * 2016-07-07 2018-06-20 주식회사 아르스앤 자동차 범퍼의 포장구조

Family Cites Families (4)

* Cited by examiner, † Cited by third party
Publication number Priority date Publication date Assignee Title
JPH024923Y2 (ja) * 1985-05-17 1990-02-06
JPH0449115Y2 (ja) * 1986-07-31 1992-11-18
JPH06329161A (ja) * 1993-05-13 1994-11-29 Oji Yuka Synthetic Paper Co Ltd 緩衝性袋
JP4375238B2 (ja) * 2005-01-24 2009-12-02 パナソニック電工株式会社 雨樋梱包材

Also Published As

Publication number Publication date
JP2009280231A (ja) 2009-12-03

Similar Documents

Publication Publication Date Title
JP5625408B2 (ja) 複合容器
US8235216B2 (en) Suspension packaging assembly
US20080223750A1 (en) Suspension package assembly
JP5640394B2 (ja) 複合容器
JP2011168330A (ja) 複合容器
JP5167951B2 (ja) バンパー用包装材
JP5099149B2 (ja) 梱包装容器
JP5347331B2 (ja) バンパー用包装材
CN103086079A (zh) 自动调节夹持压力的缓冲气袋
JP7430371B2 (ja) 輸送箱
JP5347326B2 (ja) 車両バンパー用包装材および車両バンパーの包装方法
JP2010095302A (ja) 包装用袋
JP4632511B2 (ja) 筒状物の梱包装容器及び梱包装方法
JP3106010U (ja) 梱包材
JP2009149330A (ja) 自動車板状部品の包装材
JP5161691B2 (ja) 自動車用ドアの包装材
JP2006298377A (ja) 気泡性緩衝シート及び緩衝袋
JP3143335U (ja) 自動車用バンパーの包装具
JP3106011U (ja) 緩衝材
JP5324337B2 (ja) 物品梱包装置
JP2605860Y2 (ja) 緩衝パッドおよび梱包用緩衝材
JP2004051162A (ja) 荷物運搬用通い緩衝材
JPH0722972U (ja) 段ボール製緩衝体
JP2006027632A (ja) 包装用支持体・ブランクおよび包装箱
JP2000255623A (ja) 包装用のコーナーパッド、サイドパッドおよびそれらを使用した包装箱

Legal Events

Date Code Title Description
A621 Written request for application examination

Free format text: JAPANESE INTERMEDIATE CODE: A621

Effective date: 20110418

A977 Report on retrieval

Free format text: JAPANESE INTERMEDIATE CODE: A971007

Effective date: 20121115

A131 Notification of reasons for refusal

Free format text: JAPANESE INTERMEDIATE CODE: A131

Effective date: 20121127

A521 Written amendment

Free format text: JAPANESE INTERMEDIATE CODE: A523

Effective date: 20130124

TRDD Decision of grant or rejection written
A01 Written decision to grant a patent or to grant a registration (utility model)

Free format text: JAPANESE INTERMEDIATE CODE: A01

Effective date: 20130723

A61 First payment of annual fees (during grant procedure)

Free format text: JAPANESE INTERMEDIATE CODE: A61

Effective date: 20130805

R150 Certificate of patent or registration of utility model

Ref document number: 5347331

Country of ref document: JP

Free format text: JAPANESE INTERMEDIATE CODE: R150

Free format text: JAPANESE INTERMEDIATE CODE: R150

R250 Receipt of annual fees

Free format text: JAPANESE INTERMEDIATE CODE: R250

R250 Receipt of annual fees

Free format text: JAPANESE INTERMEDIATE CODE: R250

LAPS Cancellation because of no payment of annual fees