JP5317618B2 - 表示パネルモジュール組立装置及び基板搬送装置 - Google Patents

表示パネルモジュール組立装置及び基板搬送装置 Download PDF

Info

Publication number
JP5317618B2
JP5317618B2 JP2008259944A JP2008259944A JP5317618B2 JP 5317618 B2 JP5317618 B2 JP 5317618B2 JP 2008259944 A JP2008259944 A JP 2008259944A JP 2008259944 A JP2008259944 A JP 2008259944A JP 5317618 B2 JP5317618 B2 JP 5317618B2
Authority
JP
Japan
Prior art keywords
substrate
processing
display panel
transfer
transport
Prior art date
Legal status (The legal status is an assumption and is not a legal conclusion. Google has not performed a legal analysis and makes no representation as to the accuracy of the status listed.)
Expired - Fee Related
Application number
JP2008259944A
Other languages
English (en)
Other versions
JP2010091683A (ja
Inventor
徹 宮坂
秀明 片保
不二夫 山崎
淳 斧城
豊 渡辺
Current Assignee (The listed assignees may be inaccurate. Google has not performed a legal analysis and makes no representation or warranty as to the accuracy of the list.)
Hitachi High Tech Corp
Original Assignee
Hitachi High Technologies Corp
Priority date (The priority date is an assumption and is not a legal conclusion. Google has not performed a legal analysis and makes no representation as to the accuracy of the date listed.)
Filing date
Publication date
Application filed by Hitachi High Technologies Corp filed Critical Hitachi High Technologies Corp
Priority to JP2008259944A priority Critical patent/JP5317618B2/ja
Priority to CN 200910179069 priority patent/CN101814407B/zh
Publication of JP2010091683A publication Critical patent/JP2010091683A/ja
Application granted granted Critical
Publication of JP5317618B2 publication Critical patent/JP5317618B2/ja
Expired - Fee Related legal-status Critical Current
Anticipated expiration legal-status Critical

Links

Images

Landscapes

  • Liquid Crystal (AREA)
  • Devices For Indicating Variable Information By Combining Individual Elements (AREA)

Description

本発明は、液晶やプラズマなどのFPD(=Flat Panel Display)の表示パネル(表示セル基板)の周辺に駆動ICの搭載やCOF(Chip on Film),FPC(Flexible Printed Circuits)などのいわゆるTAB(=Tape Automated Bonding)接続および周辺基板(PCB=printed circuit board)を実装する表示パネルモジュール組立装置に関するものである。より具体的には、表示パネルモジュール組立装置における各処理工程をより効率的に配置可能な表示パネル基板搬送装置に関するものである。
表示パネルモジュール組立装置は、プラズマなどのFPDの表示パネル基板(以下単に基板と略し、その他の基板、例えばPCBの場合はPCB基板と明記する)に、複数の処理作業工程を順次行うことで、該基板の周辺に、駆動IC,TABおよびPCB基板などを実装する装置である。
例えば、処理工程の一例としては、(1)基板端部のTAB貼付け部を清掃する端子クリーニング工程、(2)清掃後の基板端部に異方性導電フィルムを (ACF=Anisotropic Conductive Film)貼付けるACF工程、(3)ACFを貼付けた位置に基板配線を位置決めしてTABやICを搭載する搭載工程、(4)搭載したTABを加熱圧着することで、ACFフィルムにより固定する圧着工程、(5)搭載したTABやICの位置や接続状態を検査する検査工程、(6)TABの基板側と反対側にPCB基板をACFなどで貼付け搭載するPCB工程(複数の工程)などからなる。さらには、処理する基板の辺の数や処理するTABやICの数などで各処理装置の数や基板を回転する処理ユニットなどが必要となる。
表示パネルモジュール組立装置は、これらの処理作業工程を行う処理作業装置を連続して配置し、その間を基板搬送手段により基板を搬送することで、基板周辺処理を行うものである。
各処理作業装置間で基板を搬送する方法としては、特許文献1に、作業前の基板が置かれている載置台から作業ステージまで及びおよび作業ステージから載置台まで基板を下方から持ち上げ搬入・搬出する機構を用いた搬送方式が開示されている。また、特許文献2に、基板の搬送方法をさらに改良し、各処理作業装置に櫛型アームより成る基板保持・搬送ステージを配置することにより、基板を各作業処理装置間で受け渡し、順次搬送する方式が開示されている。
さらに、特許文献3には、装置全長を短くするために、各処理作業装置(作業ステージ)間の配置間隔を短くできる搬送方法として、一対のベルトコンベアによる搬送手段とその間に配置されたパネル支持テーブルからなる基板搬送構成が開示されている。
特開平8-26475号公報 特開2007−99466号公報 特開2003−76290号公報
上記、特許文献1の従来搬送機構を用いた表示パネルモジュール組立装置では、各処理作業装置の配置ラインに沿って基板の搬送機構が配置されることから、処理作業装置ユニットの配置方向に直行する方向つまり、装置幅方向が広くなるとともに、各搬送アームの待機位置などが必要であるために、処理作業装置間の間隔が広くなり、処理作業装置配置方向の装置長さつまり、表示パネルモジュール組立装置の全長が非常に長くなる。
特許文献2についても、同様に、処理作業装置間で基板を受渡たす場所が必要であるので、表示パネルモジュール組立装置全長が長くなる。さらに、処理作業装置の基板搬送手段は、基板を下流側の処理作業装置に渡した後、上流側の処理作業装置に、次の処理基板を受け取りに行く必要がある。各処理作業装置は、次の処理基板が搬入するまで待機することになるので、各処理作業装置の作業効率が低くなるという課題を有している。
特許文献3は、各処理作業装置のコンベア状の搬送手段を用いることで、各処理作業装置への処理前基板の搬入と処理後の基板の搬出を同時におこなう構成であり、各処理作業装置間に基板やアームの待機位置を設ける必要がなく、各処理作業装置を近接して配置することが可能となり、表示パネルモジュール組立装置全長を短くすることが可能となる。
しかしながら、特許文献3に開示されている方式にもいくつかの課題が残っている。
各処理作業装置の必要とする最小幅は、概ね処理する基板の辺の長さに依存する。処理基板の長辺と短辺の処理に必要な処理作業装置の最小幅は異なるとともに、基板を回転させる処理作業部では、基板の対角長さは最低必要となる。さらに、同一辺を処理する処理作業装置においても、必要となる処理作業装置の最小幅には差が生じる。例えば、高い圧力や温度が必要な本圧着工程では、処理ユニット筐体の強度を確保する必要があることなどから、処理作業装置の必要幅がほかに比べて大きくなる傾向がある。そのほか、各処理作業装置ごとに、必要とする最小幅は多少なりとも異なる。
しかし、特許文献3で提案された構成では、各処理ステーションからの基板の搬出と搬入は同一のベルトコンベアの駆動により同時に行う。しかし、同一のベルトコンベアにより、搬出と搬入が行われるために、処理作業装置間の基板搬送速度や距離を同一しておく必要がある。このため、各処理作業装置間のピッチも同じにすることが必要である。この様にするためには、各処理作業装置は連結する処理作業装置の最大幅にそろえておかなければならない。このため、特許文献3の基板搬送方式においても、最小必要幅で構成された各処理作業装置を最近接状態で配置することはできない。
この方式において、各処理作業装置のベルトの搬送速度に差を持たせれば、原理的には搬送する基板の移動量に差を持たせることも可能であるが、ベルト間の受け渡し時に、基板表面に速度差のあるベルトの接触が生じることから、基板表面に傷などを付ける可能性が高いとともに、搬送精度を保障することが難しいことなどの課題があり、現実的には採用することはできない。
また、特許文献3で示されている各処理作業装置に設置されたベルト状コンベア間で基板を受け渡す方式は、各処理作業装置のベルト搬送速度を同一に制御したとしても、受け渡し部での搬送精度低下(受渡精度)や基板表面に傷などの危険性を完全に拭去ることはできない。このため、自ずと、これを回避するために、搬送および受け渡し可能な基板搬送速度に限界があり、高速な基板搬送は難しい。
さらに、特許文献3の方式では、一対のベルト状コンベアで基板を搬送することから、搬送する基板が一対(両方)のコンベアに乗るサイズの基板である必要がある。このため、小型基板に対応することが難しいという課題も有している。
本発明の目的は、基板の搬送手段を改善することで、小型、特に装置全長を短く構成可能な表示パネルモジュール組立装置または組立方法あるいは基板搬送装置を提供することである。
また、本発明の他の目的は、各種サイズの基板を同一の搬送手段または搬送方法で、連続する各処理作業装置あるいは各処理ユニット間を、高速かつ/または高精度に、受渡し搬送できる表示パネルモジュール組立装置または組立方法あるいは基板搬送装置を提供することである。
さらに、本発明の他の目的は、各処理作業装置を各処理処理作業装置が必要な最小間隔で、連続連結配置可能な表示パネルモジュール組立装置または基板搬送装置を提供することである
上記目的を達成するために本発明は、一定方向に細長い基板保持部材が該基板の搬送面と平行な面に複数並置されてなる基板保持手段と、該一定方向に細長い基板搬送部材が該基板の搬送面と平行な面に複数並置され、該基板搬送部材の少なくとも一つが該基板保持部材の間に配置された基板搬送手段とを有し、該基板搬送手段は、該基板保持部材上に配置された基板を保持し、基板搬送方向に直線的に移動することで基板を搬送することを第1の特徴とする。
また、上記目的を達成するために本発明は、表示パネル基板を搬送する基板搬送装置は該処理作業装置の作業位置で表示パネル基板を保持する基板保持部材を有する基板保持手段と表示パネル基板処理手順の下流側の該基板保持部材まで該表示パネル基板を搬送する基板搬送手段を有し、該該基板搬送手段は、該搬送する区間において直線的に移動可能な稼動手段を具備してなることを第2の特徴とする。
さらに、上記目的を達成するために本発明は、第1または第2の特徴に加え、基板搬送手段は、該基板保持手段の該基板保持部材に対して該基板搬送部材を相対的に上昇および下降する手段を有するとともに、該基板搬送部材を基板搬送方向に沿った規定の範囲で往復移動可能な動作機構と有することを第3の特徴とする。
また、上記目的を達成するために本発明の表示パネルモジュール組立装置は、第3の特徴に加え、上記基板搬送手段を複数配置し、各基板搬送手段の往復移動距離は独立に設定可能であり、該複数の基板搬送手段が同一のタイミングで該基板保持手段上の基板を基板搬送方向に同時にスライド移動させることを第4の特徴とする。
また、上記目的を達成するために本発明の表示パネルモジュール組立装置は、第4の特徴に加え、該往復移動距離は、各処理作業装置や処理基板条件などに応じて変更することが可能な搬送距離可変手段を有することを第5の特徴とする。
さらに、上記目的を達成するために本発明の表示パネルモジュール組立装置は、第1乃至第3の特徴に加え、該基板の姿勢を検出する基板姿勢検出手段と、該基板姿勢検出手段の検出結果に基づいて基板姿勢を補正する基板姿勢補正手段とを有することを第6の特徴とする。
また、上記目的を達成するために本発明の表示パネルモジュール組立装置は、第6の特徴に加え、該基板姿勢は該各処理作業装置の作業位置での姿勢であり、該基板保持手段は各処理作業装置に対応して複数配置され、少なくとも一つの該基板保持手段は、作業位置での基板姿勢を検出する基板姿勢検出手段と該基板姿勢検出手段の検出結果に基づいて基板姿勢を補正する基板姿勢補正手段を有することを第7の特徴とする。
また、上記目的を達成するために本発明の表示パネルモジュール組立装置は、第1または第2の特徴に加え、該各処理作業装置は、搬送されてきた基板の縁で所定の処理を行う少なくとも一つ以上の処理ユニットと、搬送されてきた基板の姿勢を検知する基板姿勢検出手段を設け、該基板姿勢検出手段の検出結果に基づいて基板に対する該処理ユニットの相対位置を補正することを第8の特徴とする。
さらに、上記目的を達成するために本発明の表示パネルモジュール組立装置は、第1または第2の特徴に加え、該基板搬送装置を複数有し、該基板搬送装置の間には該基板の姿勢または搬送方向を変える手段を有することを第9の特徴とする。
また、上記目的を達成するために本発明の表示パネルモジュール組立装置または基板搬送装置は、該前記保持手段はその処理作業装置の反対側には摩擦抵抗の小さい低摩擦基板保持部を有することを第10特徴とする。
また、上記目的を達成するために本発明の表示パネルモジュール組立方法は、前記基板を搬送する手段は、該処理作業装置の作業位置での作業終了後、該作業位置に対応して設けられた基板保持手段から該基板を受取り、該基板を該作業位置の下流側の作業位置まで直線的に移動し、該下流側の作業位置に対応して設けられた基板保持手段に該基板を渡し、該下流側の作業位置での作業終了迄にもとの作業位置まで直線的に移動し戻ることを第11の特徴とする。
最後に、上記目的を達成するために本発明の基板搬送装置は、該基板を基板保持手段から受取り、該基板を該基板保持手段の下流側の他の基板保持手段まで直線的に移動して該基板を搬送し、該他の基板保持手段に該基板を渡し、該基板を渡し後、もとの該基板保持手段まで直線的に移動し戻ることを第12特徴とする
上記本発明によれば、各処理作業装置における作業位置に、基板搬送方向に細長い基板保持部材を、基板搬送方向に直行する方向に複数並置するとともに、該基板保持手段の細長い複数の該基板保持部材の間に、同様に基板搬送方向に細長い基板搬送部材を複数並置した基板搬送手段とすることで、小型から大型基板まで保持および搬送することが可能となる。
基板搬送動作は、基板搬送部材を該基板保持部材に対して相対的に上昇させることで基板を基板保持部から微小量持ち上げ分離し、所定の位置まで高速スライド搬送させた後、該基板搬送部材を該基板保持部材に対して相対的に下降させ、再び基板を基板保持部に受け渡す本方式は、最小限の動きで基板移動を可能とし、高速かつ高精度な処理作業装置間の受け渡し搬送を可能とする。
一連の連続基板搬送装置内には、上記基板搬送手段を複数配置し、各基板搬送手段の往復移動距離を独立とすることで、本方式では、各処理作業位置間の距離を自由に設定できる。
さらに、該複数の基板搬送手段が同一のタイミングで該基板保持手段上の基板を基板搬送方向に同時に移動させることから、各基板を処理作業装置間の距離で隣接させたまま各処理作業位置間を移動させることができる。これらのことにより、各処理作業装置を必要最小限の間隔で、連続連結配置可能な表示パネル基板搬送装置を提供できる。
また、複数設置された基板搬送手段の基板搬送方向の往復移動距離は、基板搬送手段ごとに独立に設定可能することで、各処理作業装置や処理基板条件などに応じて最適な処理作業位置間の距離を実現することもできる。
さらに、該基板保持手段のいくつかに、作業位置での基板姿勢を検出する基板姿勢検出手段と、該基板姿勢検出手段の検出結果に基づいて基板姿勢を補正する基板姿勢補正手段を設けることで、多数の処理作業装置間を連続して搬送した場合に生じる基板の姿勢の変化も補正することが可能であり、多数の処理作業装置を連結して構成される表示パネルモジュール組立装置全長において、基板を高速かつ高精度に搬送できる。加えて、各処理作業装置には、搬送されてきた基板の縁に所定の処理を行う少なくとも一つ以上の処理ユニットと、搬送されてきた基板の姿勢を検知する基板姿勢検出手段を設け、該基板姿勢検出手段の検出結果に基づいて基板に対する該処理ユニットの相対位置を補正することを可能にした構成としているので、各基板の周辺に行われる電子部品の実装などの処理作業をより高精度に実施できる。
本発明によれば、小型から大型基板まで各種サイズの基板を同一の搬送手段で、連続する各処理ユニット間を、高速かつ高精度に、受渡し搬送できるとともに、各処理作業装置を各処理処理作業装置が必要な最小間隔で、連続連結配置可能な表示パネルモジュール組立装置及び方法、表示パネル等の基板を搬送できる。
以下、本発明の一実施形態を図1から図15を用いて説明する。
図1は、本発明の表示パネル基板搬送装置およびそれを用いた表示パネルモジュール組立装置の基本構成を説明するための一実施例を示した図である。
図1の装置は、基板10を、図中左から右に向かって順次搬送しながら、基板の周辺部に各種処理作業を行って、ICやTABなどの実装組立作業を行う装置である。図1の装置では、まず、基板長辺側(ソース側)の処理作業装置群1により、基板長辺側(ソース側)の処理を行った後、基板を回転手段2で回転させ、次に、基板短辺側(ゲート側)の処理作業装置群3により、基板短辺側(ゲート側)の処理作業を行うように構成されている。図1の装置では、基板長辺側(ソース側)の処理として、左から(1)基板端部のTAB貼付け部を清掃する端子クリーニング工程,(2)清掃後の基板端部に異方性導電フィルム (ACF)を貼付けるACF工程,(3)ACFを貼付けた位置に、基板配線と位置決めしてTABやICを搭載する搭載工程,(4)搭載したTABやICを加熱圧着することで、ACFフィルムにより固定する圧着工程を順次行うように構成されており、図中の4〜7は、それぞれ、端子クリーニング処理作業装置4,ACF貼付処理作業装置5,TAB/IC搭載処理作業装置6,本圧着処理作業装置7を示している。
図1の装置では、基板短辺側(ゲート側)の処理作業としては、端子クリーニング処理作業装置8と,ACF貼付処理作業装置9のみを図示しており、その後の処理作業装置群については割愛している。図1に示された処理作業装置以外にも、表示パネルモジュール組立装置全体としては、図示されていない基板短辺側(ゲート側)の処理作業のほかに、残りの基板2辺(長辺,短辺)に対する処理工程やTABの基板側と反対側にPCB基板をACFなどで貼付け搭載するPCB処理工程(複数の処理工程よりなる。),さらには処理作業後の基板の検査工程などの数多くの処理作業装置が、連ねられて構成される。どのような処理作業装置を連ねる必要があるかは、組立作業を行う表示パネルモジュール構成に依存することは言うまでもない。
本実施例は、これら数多く接続された各種処理装置の間で基板10を高効率に搬送する表示パネル基板搬送装置を提供するものである。
本実施例の表示パネル基板搬送装置は、まず各処理作業装置位置で基板10を保持する基板保持手段12とその基板保持手段12に保持された基板10を、隣接する処理作業装置の位置まで、搬送するための基板搬送手段11から構成されている。図1において、各処理作業装置の前には、独立した基板保持手段12a〜e(添字アルファベットは処理作業装置を表す。)と基板搬送手段11a〜e(添字アルファベットは処理作業装置を表す。)が、ソース側4組とゲート側2組が図示されている。
後述する図2に示すように、基板保持手段12は、基板搬送方向に細長い基板保持部材12Aが、基板搬送方向に直行する方向に複数並置される構造を有している。基板搬送手段11は、図2に示すように、細長い複数の該基板保持部材12Aの間に、やはり、基板搬送方向に細長い基板搬送部材11Aを複数並置した構造となっている。図1において基板10は、その下方に配置されている基板保持手段12や基板搬送手段11を図示するために、一部破断して表示するとともに、外形を点線で示した。同じ処理作業装置13の前に並置された基板搬送部材は、一体に構成されており、基板保持手段12に保持された基板10を、次の処理作業装置位置まで移動させる。
図2および図3は、各処理作業時と基板搬送時の動作状態を模式的に説明するための図である。図2は基板10の搬送方向から、図3は装置側面からの断面を示している。基板搬送手段11は、基板保持手段12の間隙に複数本の基板搬送部材11A〜C(図2では3本、以下本数、形態に係わらず総称して11Aと表す。)が配置されており、それらが一体となって、該基板保持手段12の該基板保持部材12A〜D (図2では4本、以下本数、形態に係わらず総称して12Aと表す。)に対して該基板搬送部材11Aを相対的に上昇および下降する基板搬送部材昇降手段14を有する。
各処理作業装置での基板10への処理動作が完了(図3-(1))した後、基板搬送手段11は基板搬送部材11aA、11bA等を上昇させることで、基板保持部材12aA、12bA等上に配置された基板10を微小量持ち上げ(図3-(2))、その後、基板保持部材12aA、12bA等の間隙方向に沿ってスライドする(図3-(3))ことで、次の作業処理装置まで基板10を搬送することができる。基板搬送手段11をスライドさせる手段としては、リニアモータやボールねじなどによる一般的なスライドステージ機構29,15を適用することができる。図2における基板10の搬送方向は、紙面に垂直な方向である。次の搬送処理位置まで、基板10を搬送した基板搬送手段11は、基板搬送部材11aA、11bA等を降下させることで、基板10を、次の作業処理装置の基板保持手段11上に基板10を受け渡す(図3-(4))。基板10を、基板保持手段12上に受渡した基板搬送手段11は、降下したまま、元の処理作業装置位置まで、戻り動作を行う(図3-(5))。この戻り動作は、各処理作業装置の処理作業中に行うことができるので、時間的なロスがなく、稼働率向上に寄与できる。また、各処理作業装置間の長さが異なっても、処理作業中にこの戻り動作を行うことができので、時間的に余裕を持って隣接する処理作業装置間で同一のタイミングで行うことでき、基板10を、順次下流の処理作業装置位置に連続搬送を行うことが可能となる。
上記実施例の基板搬送方式では、基板搬送手段11による基板10の上昇・下降量を極めて少なく押さえることが可能であるとともに、各処理作業装置間を最短の直線で、基板10の搬送を行うことが可能になる。これにより、下記する各基板10の同一タイミングによる搬送とあいまって、高速に、複数の基板10を各処理作業装置間でほぼ同時に移動させることが可能である。
実際の基板搬送時の搬送手段による基板上昇量は、基板10の搬送時におけるたわみやそり,基板保持手段の保持面の平面度,隣接する処理作業装置間の基板保持手段の高さ位置合わせ精度,基板搬送手段の上昇搬送時の高さ位置精度などを勘案し、基板保持部材12A表面に、基板10の接触が発生しない範囲で、決定することが必要である。基板搬送手段11の戻り動作時の降下量についても、基板搬送部材11Aが、基板下面に接触しない範囲で、決定することが必要であることは言うまでもない。本実施例における搬送時の基板保持手段から基板10の上昇量は約1〜2mm程度とした。
但し、TABを貼付けた基板10は、搬送時にTAB先端が基板保持部材12Aに接触しない程度の上昇量が必要となり、TAB長さが20mm程度であれば、基板保持部材12Aに対して、基板搬送部材11Aを20mm程度上昇させることが必要となる。
本実施例の基板搬送手段11は、水平方向に規定量スライド搬送の前後に、基板搬送手段の垂直方向への必要最小限の上昇・下降量動作によって、基板保持手段12と基板10の分離や再保持を行う方式であるために、搬送動作による基板姿勢の変動や配置精度の低下を少なく抑えることが可能である。
本実施例における基板保持部材12Aおよび基板搬送部材11Aは、保持および搬送する最大サイズの基板搬送時においても基板搬送方向の基板全長を支える長さ以上を有するとともに、保持および搬送する最小サイズの基板搬送に直行する方向に、基板保持部材12Aと基板搬送部材11Aを少なくとも一対配置することが可能な幅以下であることが必要である。この結果として、本実施例の基板保持部材12Aおよび基板搬送部材11Aは、細長い形状となる。
また、上記実施例においては、基板保持部材12Aおよび基板搬送部材11Aを細長い形状と表したが、基板10との接触面は一定の間隔で凸状になっている形態も細長い形状とする。
さらに、図1から図3には図示していないが、本実施例では、基板保持部材12Aおよび基板搬送部材11Aの表面に吸引穴を一定のピッチで配置しており、負圧により基板を基板保持手段や基板搬送手段に吸着できるように構成している。これによって、基板10は、基板保持手段12や基板搬送手段11に強固に固定されることから、基板処理作業中や基板搬送中における基板10の基板保持手段12や基板搬送手段11からのずれが生じることがなくなり、上記した微小上昇・下降動作と水平搬送動作を分離した搬送方式とあいまって、高精度な基板搬送を実現できる。
ただし、上記真空吸着方式では、基板10を安定かつ確実に固定するには、吸着口に基板10を密着させることが必須である。しかし、基板10はそりを有していることが多く、そりのある基板10を真空吸着孔に確実に吸着させるためには、基板10を吸着孔に押し付ける必要がある。本実施例の搬送機構では、基板保持手段と基板搬送手段のいずれへの受け渡し時においても、受け渡し元の吸引力を規定値で保持するように構成・制御することで、受け渡し先の吸着孔に基板10を吸着孔に押し付けながら、受け渡しが行われるようにすることで、確実・安定で、高精度な基板受け渡し動作を実現している。真空吸着を利用した受渡方式の詳細については、後述する。
図4は、表示パネル基板搬送装置およびそれを用いた表示パネルモジュール組立装置全体における表示パネル基板10の処理および搬送シーケンスを説明する図である。図4では、説明のために、処理動作をStep1からStep6に分けて記載した。
まず、Step1では、各処理作業装置の位置に基板10が配置されており、ソース側(長辺側)の各処理作業装置による処理が終了した状態で、ゲート側(短辺側)の各処理作業装置は処理作業を継続中である。このとき回転台2はでは矢印の方向に位置合わせを行う。
Step2では、ソース側(長辺側)の各基板10下の基板搬送手段11が上昇することで、基板10を微少量持ち上げ、下流の基板処理作業装置位置まで基板10を搬送し、その位置で、基板搬送手段11を降下させ、基板保持手段12に受け渡す。ゲート側(短辺側)の各処理作業装置は処理作業を継続中である。回転台2はソース側より基板を受ける。
このとき、各基板10を保持する基板搬送手段11は同一のタイミングで移動することによって、各処理作業装置位置にある基板同士を接触させることなく、次の処理作業装置位置に移動させることが可能となる。また、本実施例の表示パネル基板搬送装置では、各基板搬送手段を独立した駆動手段で駆動するように構成している。図3の実施例の装置では、同一のリニアスライダの上に、独立した稼動子を配置し、これを独立制御する構成とした。この構成によって、各処理作業装置の間の距離が異なる場合でもスムーズな同一タイミングでの搬送が可能となる。図4の実施例では、本圧着処理作業装置の幅が他の処理作業装置に比較して大きいが、搬送距離が長くなっている。この様な構成をとることで、本実施例の表示パネル基板搬送装置を適用することで、各処理作業装置の必要最小幅での連結ができるため、全長の短い表示パネルモジュール製造装置を提供することが可能となる。
次に、Step3ではソース側(基板長辺側)の基板保持手段12の下方に降下した基板搬送手段11が、元の処理作業装置位置に戻る。本実施例では、このとき、基板10は基板保持手段12に保持され、各処理作業が実施されており、基板搬送手段11の戻り動作による処理時間ロスはまったくない。処理作業装置4には新たな基板が投入され、ソース側(長辺側)の各処理作業装置は処理作業を開始する。ゲート側(短辺側)の各処理作業装置は処理作業を継続中である。
Step4では、回転台2で基板10を90度回転させるとともに、次の基板処理辺である基板短辺側(ゲート側)の位置を、下流の処理作業装置の処理ラインに合わせるために、矢印で示すように基板搬送方向に垂直な方向にスライドする。ソース側(長辺側)の各処理作業装置は処理作業中である。ゲート側(短辺側)の各処理作業装置も処理作業を継続中である。
Step5およびStep6は、ソース側(長辺側)の各処理作業装置のStep2及びStep3に対応するもので、Step5でゲート側(短辺側)の各処理作業装置の基板搬送手段11が上流側に戻り、Step6で基板保持手段12により基板10をゲート側(短辺側)の各処理作業装置にスライド搬送する。このとき、回転台2の上流側に位置するソース側(長辺側)の各処理作業装置は処理を継続中である。即ち、ソース側(長辺側)の各処理作業装置は、Step3で処理を開始し、Step4kからStep6で処理を継続し、Step1で処理を終了する。一方、回転台の下流側に位置する基板短辺側(ゲート側)の各処理作業装置は、各処理作業は、Step1で処理を開始し、Step5で処理を終了する。このように、回転台の下流側に位置するゲート側(短辺側)の各処理作業と回転台の上流側に位置するソース側(長辺側)の各処理作業とは、処理の位相がずれるものの基本的に同じ工程および同じ時間間隔で基板10の搬送と処理を行うことができ、表示パネルモジュール組立装置全体としては連続的な基板10の処理動作が可能となる。
表示パネルモジュール組立装置は、上記したように非常に多くの処理作業装置を連ねて構成される装置である。このため、基板10の受け渡し回数も多く、本実施例の表示パネル基板搬送装置を用いても、搬送される基板10の姿勢や配置精度を装置全長において完全に保障することは難しい。そこで、表示パネルモジュール組立装置内を移動する基板10の姿勢や配置精度を保持するために、基板保持手段12の一部に、搬送されてきた基板10の姿勢や位置を補正する手段を設ける方法が有効である。
特に、基板端部に高温・高圧をかける必要のあるため本圧着装置位置では、基板位置がずれるやすい。また、基板10を回転動作させる回転台でも、基板10にかかる遠心力などのために、基板位置の位置がずれる可能性が高い。このため、図1に示した本発明の表示パネルモジュール組立装置構成では、端子クリーニング装置4,8および本圧着装置7位置の基板保持手段に、基板位置を補正するための機構を設けることが有効である。
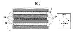
図5は、基板保持手段12による基板位置補正方式を説明するための図である。基板搬送方向に細長い基板保持部材12Aと基板搬送部材11Aの間には、若干の隙間17が形成されている。基板保持部材12Aは、この隙間の範囲内で稼動可能なように構成されている。稼動方向は、基板面内で基板搬送方向に直行する方向,基板搬送方向,基板面に垂直な方向の3軸(図中X,Y,Z方向)に加えて、基板面内での回転方向(図中θ方向)にも補正可能なことが望ましい。
基板10の位置補正動作は、基板保持手段12に運ばれた基板10は、基板端部の基準マークなどをカメラ機構(非図示)などで検出後、基板位置補正量演算制御手段(非図示)により、基板10の補正動作量を演算し、演算結果に基づいて基板保持部材12Aを稼動させることで行なわれる。各処理作業装置には、予め基準となる基板10の配置位置基準が決められている。処理作業装置の基準配置位置に基板位置を補正移動させるように、基板位置補正動作が行われる。
基板10の位置補正機構を基板保持手段12ではなく、基板搬送手段側11に具備させることもできる。基板搬送手段11は各処理作業装置間を移動することから、基板10の位置補正機構を付加した場合、その機構構成は複雑となってしまう。しかし、基板保持手段側12には、特段の稼動機構などが必要なくなり、構成がシンプルになるという利点もある。基板10の位置補正機構を基板保持手段12に具備させるか、基板搬送手段側11に具備させるかは、最終的な配線や配管の取回しなど装置全体構成を考慮して決める必要がある。
図6は、基板受渡し時に生じる基板10にかかる力や基板10の変形などを説明する模式図である。図6aは、基板保持手段12から基板搬送手段11への受渡動作時、つまり基板搬送部材上昇動作時を示しており、図6bは、基板搬送手段11から基板保持手段12への受渡動作時、つまり基板搬送部材下降動作時を示している。
前記したように、基板保持部材12Aおよび基板搬送部材11Aの表面に吸引孔18,19を一定のピッチで配置している。これによって、基板10は基板保持手段12や基板搬送手段11に吸着でき、搬送動作時の基板10のずれなどを防止することができる。さらに、基板10を吸着しながら、基板保持手段12と基板搬送手段11との間での基板10の受け渡し動作を行うことで、基板10が吸着孔に押し付ける力が発生する。このことにより、そりのある基板10においても、確実に受け渡し吸着動作が実施できる。
しかし、基板保持手段12と基板搬送手段11がともに吸着した状態でおこなわれる基板10の受け渡し動作では、受け渡し時に、図6に示すような基板10のたわみ変形が生じる。この受け渡し時の基板10の変形が大きくなると、受け渡し動作による基板10位置ずれの要因となる。
この受け渡し時の基板変形を小さくする方法としては、受渡し時の基板10の吸引圧力を弱く抑える方法が考えられる。しかし、吸引圧力は基板処理作業時や基板搬送時の基板10ずれを防止する点と反りのある基板10を確実に吸着受渡しするためには、ある程度の吸着力を確保することが必要である。受け渡し時の基板変形を小さくする他の方法としては、基板10の基板保持手段と基板搬送手段の間隙を小さくする方法が有効である。
実験結果、基板保持部材12Aと基板搬送部材11Aの間隙17が30〜10mm程度の場合、基板10の受け渡しずれ量は、数100μm程度であり、間隙が10mm以下は、ほぼ100μm以下の受け渡しずれ量が確保できた。本実施例では、基板受け渡し時ずれ量の目標を数10μm以下として、基板保持部材12Aと基板搬送部材11Aの間隙を6mmとした。このとき、基板保持手段の稼動範囲は±5mmとした。本圧着部や回転後の基板10の姿勢および配置精度ずれは、最大でも1mm以下であるので、基板姿勢補正機構としての基板保持手段の稼動範囲としては十分確保可能である。
図7は、本実施例の基板保持手段12および基板搬送手段11によるサイズの異なる基板10の保持について説明するための図である。本実施例の基板保持手段12および基板搬送手段11は、基板搬送方向に細長い基板保持部材12Aおよび基板搬送部材11Aが複数配置されており、小型基板の配置領域20から大型基板の配置領域21まで、幅広いサイズの基板10を保持することができる。
基板保持部材12Aおよび基板搬送部材11Aの表面には、処理作業時や基板搬送時に基板10を吸着するための吸着孔18、19が設けられている。小型基板の場合、基板保持部材12Aおよび基板搬送部材11Aに設けられた吸着孔の一部にしか基板10は接触しない。
この場合、基板10の吸着しない吸着孔から、空気が大量に流れ込み、基板10の吸着している吸着孔の吸着力が低下するという問題が生じる。そこで、本実施例では、図に示すように基板保持部材12Aに形成される吸着孔18の下の吸引チャンバ22を複数に分割する構成とした。吸引ポンプ(図示せず)などから供給される負圧系24は開閉バルブ23a〜cを通して、分割された吸引チャンバ22a〜cと接続されている。そして、搬送する基板サイズによって、開閉バルブ23a〜cを制御し、負圧を発生させる吸着チャンバ22a〜cを選択し、基板10の存在する領域の吸引孔18のみ吸引させるように構成した。これによって、基板サイズに合わせた領域のみでの基板吸着ができるので、安定して基板10の保持力が得られる。
図7において、開閉バルブ23は吸着孔直下の吸引チャンバに設置されているが、開閉バルブ23は、できるだけ吸着孔18に近い吸引チャンバ22などに設置することが望ましい。配管などを介して、吸着孔や吸引チャンバから離れたい位置に開閉バルブを設置した場合、バルブ切換後の吸着動作に時間遅れが生じるとともに、配管における圧損により、吸引圧力が不安定になりやすいなどの障害が発生する。当然のことながら、基板搬送部材11A側も同様の分割吸引チャンバ構成とする必要がある。
図8は、さらに大型の基板搬送を想定した場合の基板搬送機構を説明するための図である。50インチを超える基板など、超大型の基板10を搬送する場合、本実施例の基板保持部材12Aと基板搬送部材11Aを複数配置する方法のみでは、基板保持部材12Aと基板搬送部材11Aの数が多くなり、構造が複雑になってしまうという問題が発生する。
そこで、図8に示したように、基板10の処理辺に近い側27の基板下面には、複数本の基板保持部材12Aと基板搬送部材11Aからなる基板保持・搬送手段を配置するとともに、基板10の処理辺から遠い側28の基板下面には、摩擦抵抗の少ない低摩擦基板保持部26を配置する構成とした。摩擦抵抗の少ない基板保持方式としては、フッ素系やシリコン系材料を用いた摩擦抵抗の少ない支えガイド部材などで基板10の一部を支える方法や多数の回転ボールで基板10を支える方法のほかに、多数微小孔から空気を噴出させることで、基板10を浮上させるエアー浮上方式などを利用することができる。これらの方式の中では、基板下面への傷を防止するという観点から、基板下面に接触しないエアー浮上方式が最も有効な方式である。しかし、基板搬送時における不測の基板接触などの対策として、エアー浮上方式とともに機械的な低摩擦基板保持機構も併用することがより好ましい。
即ち、大型基板搬送時は、基板10を、その処理辺に近い側27は図7と同様の基板搬送手段11で搬送し、その処理辺から遠い側28は低摩擦基板保持部26上を例えばエアー浮上しながら移動する。また、大型基板保持時は、基板10を、その処理辺に近い側27は図7と同様の基板保持手段12で保持し、処理辺から遠い側28は低摩擦基板保持部26で保持する。
一方、小型基板搬送時は図7と同様の基板保持・搬送手段になることから、図8に示した本実施例の基板保持・搬送構成では、小型基板の配置領域20から大型基板の配置領域25までに適用可能な幅広い基板サイズに対応することが可能となる。
本方式の課題として、超大型基板の基板端部側のみを保持して、基板10を高加速する場合、基板10に大きな回転モーメントが発生することから、基板10の搬送ずれが発生する可能性がある。これを防止するには、大型基板の重心部、つまり基板中央付近に、補助的な基板搬送部材と補助的な基板保持部材を設置する方法が有効である。これによって、基板加速時の回転モーメントの発生を防止できるので、大きな基板も安定した高速搬送を実現することが可能となる。搬送する最大基板の中心に補助的な基板搬送部材と補助的な基板保持部材を設置すれば、それより小さい基板搬送時にも回転モーメントの発生を抑制する効果が有ることは言うまでもない。
図8の左半分は、大型基板の重心部付近に、補助的な基板搬送部材11Sと補助的な基板保持部材12Sを設置した場合の構成例を示している。
図9は、本実施例の表示パネル基板搬送装置の機構を、より簡略化する方式を説明するための図である。表示パネルモジュール組立装置は、多数の処理作業装置を連ねて構成される装置であり、各処理作業装置位置で基板10を停止させる必要がある。また、特許文献1や2に記載される従来の基板搬送手段の場合、各処理作業装置とほぼ同じ数の基板搬送手段が必要となる。
しかし、本発明では図9に示すように基板搬送部材11aAの長さを長くすることのみで、複数の処理作業装置4、5a、5bに配置された複数の基板10を一括して、搬送することができる。これにより、基板10の搬送機構の数を大幅に削減することができ、搬送装置構成を簡略にすることが可能となる。
上記実施例の方式では同一の長尺基板搬送部材により、複数の基板10を同時に1処理作業装置分だけ搬送することから、各基板10の移動距離は同じとなる。この長尺基板搬送部材による搬送は、各処理作業装置間における基板配置位置の間隔が一定の領域のみでの適用が可能となる。
また、図9の実施例は、4本の基板保持部材12Aの間に2本の基板搬送部材11Aを配置した構成である。図1から図8の施例では、基板保持部材12Aの間すべてに基板搬送部材11Aを配した構成であるが、図9のように、基板保持部材12Aや基板搬送部材11Aの本数を間引くことも可能である。処理・搬送する基板サイズや重量とともに、基板10の吸着固定する力と処理・搬送時に基板10にかかる力の関係などを考慮して、基板搬送部材11Aや保持部材の本数や配置などは決めることが必要である。本実施例では、幅約2cmの基板搬送部材11Aや保持部材を2本〜4本程度の配置により、処理・搬送時の基板10を十分に保持する条件を得ることができた。
次に、本実施例の表示パネル基板搬送装置および表示パネルモジュール組立装置を応用した処理作業の高効率化や処理タクトの更なる高速化について説明する。
表示パネルモジュール組立装置は、複数の処理作業を行う装置を連結し、連続して基板10に各種処理作業が行われる。当然のことながら各処理作業工程の処理時間には、差がある。時間の短い工程の処理作業装置は、時間のかかる工程の処理作業装置の終了を待つことになるため、基板10の搬送間隔は、時間のかかる工程の処理作業装置に律速されるとともに、時間の短い工程の処理作業装置では作業停止している時間が発生することになる。
各処理作業装置をより効率よく稼動させるためには、時間のかかる工程の処理作業装置を、時間の短い工程の処理作業装置に対して、数を多く連結し、各処理工程のタクトバランスを取ることが考えられる。先の図9においては、仮圧着処理作業装置を2台連結した例を示している。しかし、この方式では連結される処理作業装置の数が増加し、表示パネルモジュール組立装置全体の長さが非常に長くなってしまう。
図10は、該課題を解決する方法を説明するための図である。図10の装置では、一つの処理作業装置内において実際に処理作業を行う処理ユニット30を複数台配置している。この様な方式にすることで、一つの処理作業装置13つまり、一枚の基板10に対して、複数の処理ユニット30が同時に作業を行うことが可能となり、各処理作業装置の作業効率が向上したのと同じ効果が得られる。
一般に、基板10の処理辺および処理箇所には、基準マークが設けられている。
図11は、基板10に設けられた基準マークの一例を示す図である。基準マークとしては、表示パネル端部を示す端部マーク31とともに、TABやICなどの搭載位置を示す搭載位置マーク32などが形成されている。
図10に示した実施例の処理作業装置では、一つの基板10における処理辺の異なる場所に、複数の処理ユニット30が同時に作業を行うことから、基板側を動かして処理位置の調整を行っても、2つの処理ユニット30の処理位置を同時に合わせこむことは、ほとんど不可能である。そこで、これを解決するために、処理作業装置内の各処理ユニット30が 搭載位置マーク32から、各処理ユニット30ごとの処理すべき搭載位置を認識し、独立して位置決めする機能を設けた。
図12に、このような機能を実現するための処理ユニット30の一実施例を示す。処理ユニット30は、基板上の基準マークを検出するCCDカメラ34とXYZおよびθ方向へ処理ユニット全体を移動させるXYZθ稼動手段33を備えている。処理ユニット30は、CCDカメラ34から検出された基準マーク31、32情報から、処理位置補正手段35によって、処理ユニット30の補正量を算出し、XYZθ稼動手段33によって、処理位置を補正することで、基板上の規定の位置に、ACFの貼付けやTABの搭載などの処理動作を行う。処理作業装置内に設けられた各処理ユニットが、独立に上記基板処理位置の検出および位置決め動作を行うことで、一つの基板10に対して複数の処理位置を同時に処理することが可能となる。
図12の実施例では、X軸稼動手段を最も下に配置している。これは、X軸が基板10の処理辺と並行な方向の稼動手段であるため、稼動距離が最も長くなるためである。このような構成にすることで、X軸ガイドレール15Sは、処理作業装置に備えられる複数の処理ユニット30で共通化することもできる。
図12の実施例では、各処理ユニット30にCCDカメラ34を搭載する構成を開示したが、CCDカメラ34は処理作業装置13に搭載されており、端部マーク31や予め決めた搭載位置マーク32などから、処理する基板全体の姿勢を検出し、各処理ユニット30における処理位置補正情報に変換して、各処理ユニット30の処理位置補正動作を行う方法もある。この方法の場合、基準マークを検出するカメラの数を減らせるというメリットがある。しかし、各処理ユニット30の処理する各位置情報は、一部のマークからの演算により算出されることから、数μm以下などの非常に高精度の位置決め精度を必要とするICの搭載などへの適用には注意が必要である。
さらに、一つの基板10に対して複数の処理ユニット30が同時に作業を行う方式では、処理ユニット30を近い距離で動作させることが必要である。特に、小さい基板や処理辺の長さの短い基板10を処理では、処理ユニット30を隣接状態で処理動作させる必要が生じる。このため、処理動作中に処理ユニット間の干渉や衝突などの不具合が発生する可能性が高い。そこで、処理ユニット同士の衝突を避けるために、同一の基板10の処理辺に処理作業を行う各処理ユニット30を同一タイミングで駆動するように処理ユニット動作タイミング制御手段を設けた。処理ユニット動作タイミング制御手段による各処理ユニットへの基本的制御手順の一実施例は以下である。(1)処理ユニット動作タイミング制御手段より、各処理ユニットに処理位置情報と移動指令を送信。(2)各処理ユニットは、移動が完了したら、移動完了を処理ユニット動作タイミング制御手段に報告。(3)処理ユニット動作タイミング制御手段は、各処理ユニットに処理ユニットに処理作業開始を指令。(4)各処理ユニットは、規定の処理作業を終了したら、作業終了を処理ユニット動作タイミング制御手段に報告。(5)処理ユニット動作タイミング制御手段は、各処理ユニットに次の処理位置への移動を指令。各処理作業や移動動作中に、異常が起こった場合は、その旨を処理ユニット動作タイミング制御手段に報告することで、処理ユニット動作タイミング制御手段は、次の作業や移動処理を停止し、各処理ユニットの衝突などを防止することができる。
上記したように、各処理ユニット30に基準マーク検出および処理位置補正手段とともに、各処理ユニット30の動作タイミング制御手段を備えることで、処理作業装置13内に複数の処理ユニット30を配し、一つの基板10の処理効率を向上させることができる。
次に、上記処理ユニットを用いて、更に小型で高効率な表示パネルモジュール組立装置を実現する方法を説明する。
処理作業装置ごとに一枚の基板10の処理を行う従来の装置構成では、各処理作業装置は処理する最大基板の幅以上の装置幅を必要とする。このため、小型の基板処理時においては、必要以上に長い装置ということができる。
また、1枚の基板10に対して複数の処理ユニットが同時に作業を行う方式にも限界がある。この方式で、小型基板を処理するには、処理ユニットの幅ができるだけ狭い必要がある。しかし、各処理ユニットの幅に機構上の限界があり、ある程度の幅(約150〜200mm程度以上)は必要であるため、一つの処理辺に対して複数の処理ユニットでの処理が可能な基板サイズなどにも限界がある。複数の処理ユニットで処理できなくなる基板条件は、処理辺の画素部の長さLと処理するTABの数nおよび処理ユニット間の最近接可能距離Wなどで決まる。1つの処理ユニットでしか処理ができない基板条件の場合は、処理作業装置に複数の処理ユニットを搭載しても、処理効率を向上することはできない。
しかし、本発明の表示パネル基板搬送方式と処理ユニットの組合せる他の方式により、さらに幅広く小型から大型基板まで高効率な組立が可能な表示パネルモジュール組立装置を実現できる。図13は、本発明による小型から大型基板まで、高効率な組立が可能な表示パネルモジュール組立装置の一実施例を説明するための図である。
本実施例の表示パネル基板搬送装置は、基板搬送方向に細長い複数の基板保持部材12Aにより構成される基板保持手段とやはり基板搬送方向細長い複数の基板搬送部材11Aにより構成される基板搬送手段からなる基板保持・搬送手段である。
本搬送方式では、搬送手段の往復動作距離を変えることで、基板10の搬送量を自在に可変可能であるという特長を有している。
図13に示すように基板保持部材12Aを複数の基板停止位置にまたがって長く構成することで、基板搬送手段11の往復動作距離を変えることにより、基板10を種々のピッチで搬送・保持できるように構成した。さらに、処理作業を行う処理ユニット30を複数台配置するとともに、複数の基板停止位置にまたがって、基板搬送方向に移動可能に構成した。
言い換えれば、第9図では基板搬送手段11を3つの処理作業装置13に亘り基板搬送部材11aAの長さを長くすることで、3つの処理作業装置に配置された複数の基板10を一括して搬送した。さらに、図13では基板保持部材12Aも該3つの処理作業装置に亘るような長さにすることで、基板搬送手段11は任意の位置に停止でき、その停止位置で保持手段12に各基板10を渡すことで、任意の位置で処理作業できる状態になる。図13のように全長に亘って上記構造とすることにより全長に亘って任意の位置で処理作業ができる。
つまり、本実施例の装置は、従来のように、予め決められた固定位置に基板10を固定して処理する処理作業装置ではなく、基板10の停止位置を可変にするとともに、処理ユニット機構がその位置に移動して、各処理作業を行うものである。
本実施例の装置では、図13に示すように、大型基板処理時(図13a)は、大型基板の搬送方向幅に対応した搬送幅で基板を搬送し、小型基板搬送時(図13b)は、小型基板の搬送方向幅に対応した搬送幅で基板を搬送する。大型基板の処理作業を行う場合は、1つの基板に複数の処理ユニット機構による同時処理を行うことで高い処理効率を実現することができる。小型の基板の場合は、基板の搬送ピッチを少なくすることで、基板の停止位置を増やし、複数の処理ユニットを効率よく配置することが可能となる。
本実施例の方式では、基板10の固定された処理位置や分割された処理作業装置の概念がなく、規定の区間内で基板サイズに合わせた基板10の搬送ピッチと処理作業位置を実現できるので、小型基板から大型基板まで、短い装置全長での高効率組立作業が可能となる。また、複数の処理ユニットは、異なる処理作業を組合せてもよい。図13の実施例では、ACF貼付処理作業とTAB搭載処理作業を組合せている。
一つの基板10に対する処理可能な処理ユニット数は、基板処理辺の画素部の長さLと処理するTABの数nおよび処理ユニット間の最近接可能距離Wなどで決定される。各種基板条件に合わせた最適な処理動作を実現するために、本実施例の表示パネルモジュール組立装置では、上記パラメータを入力値として搬送幅や処理ユニット配置条件などの装置側の処理作業設定条件を決定・切替えるための処理条件算出制御システムを備えることも必要である。
本方式における基板搬送手段における基板搬送部材11Aは、図9に示したような複数の基板10を同時に搬送する長い基板搬送部材11aAを取ることで、種々の搬送ピッチへの対応が容易になるとともに、搬送機構の簡略化が可能となる。但し、この場合、前記したように、区間内での基板保持位置間のピッチは一定となる。処理区間内での基板保持位置間のピッチを可変する必要がある場合は、複数の基板搬送手段を組合せた搬送方式を用いる必要がある。
基板処理位置可変区間内では、搬送時の基板姿勢や配置位置の補正は難しく、搬送時の基板姿勢や配置位置にある程度の誤差が蓄積する可能性がある。区間内での基板10への処理位置自身は、図12で説明した処理ユニット補正する方式を用いることで解決できる。しかし、表示パネルモジュール組立装置自身は、多くの処理作業を組合せた長い装置である。装置全体での基板搬送姿勢や配置精度を維持するためには、基板処理位置可変区間前後で、図5で説明した基板位置補正方式による基板位置補正を行うことが望ましい。
図14および図15は、本発明の一実施例である表示パネル基板搬送装置およびそれを用いた表示パネルモジュール組立装置の制御方式の一実施例を説明するための図である。
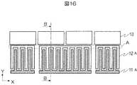
図14において、A-1〜A-6は各処理作業装置13を示しており、B-1〜B-4は、各処理作業装置の前に保持された基板10を搬送する基板搬送手段11を現している。破線で示したB-1〜B-4は、基板搬送後の基板搬送手段11位置を示している。前記したように、基板搬送手段11は、処理作業装置13の前を直線的に移動するが、図示の都合上、破線で示した搬送後の基板搬送手段11位置は、搬送前の基板搬送手段11位置の下側に図示した。実際は、搬送前後の基板搬送手段11に書かれた中心線は一致する。
また、基板搬送手段B-1およびB-3は、複数の処理作業装置13にまたがって配置されているが、これは、図9で説明したように、複数の基板10を同時に搬送する構成の基板搬送手段を示している。
各基板搬送手段は、独立の駆動装置43(M-1〜M-4)のよって駆動される。駆動装置としては、リニアモータやボールねじ方式などの一般的な直線駆動手段が利用できる。図14中のS-1〜S-4は、基板搬送手段B-1〜B-4の座標位置などを検出するセンサ42である。
本実施例の制御装置は、最上位に装置システム全体の基本動作タイミングを制御するためのシステム動作タイミング制御手段37(MC)を配置している。その下位に、基板搬送動作制御手段46(BC-1)および各処理作業装置制御手段40(AC−1〜AC-6)を配置した。他の構成として、基板搬送動作が複数必要なケースとして、本発明の基板搬送手段が離れた複数場所で構成されている場合などでは、基板搬送動作制御手段46(BC-1)が、複数の場合構成もある。
次に、本制御システムでの基板搬送動作制御信号について説明する。基本動作として、まず、システム動作タイミング制御手段37(MC)は、基板搬送動作制御手段46(BC-1)に、搬送動作開始信号47を送信する。それを受けて、基板搬送動作制御手段46(BC-1)は、各基板搬送部材11Aの駆動手段を駆動し、基板搬送動作を実施する。基板10の次の処理作業装置への搬送が終了した後に、基板搬送動作制御手段46(BC-1)は、システム動作タイミング制御手段37(MC)に基板搬送終了信号48を送信する。
基板搬送終了信号48を受けて、システム動作タイミング制御手段37(MC)は、各処理作業装置制御手段に、各処理開始信号38を同時に送信する。各処理作業開始信号38を受信した各処理作業装置制御手段40(AC−1〜AC-6)は、各規定の処理を実施し、各処理が終了した後に、各処理作業装置制御手段40(AC−1〜AC-6)は、システム動作タイミング制御手段37(MC)に各処理作業了信号39を送信する。
各処理作業終了信号39を受けて、システム動作タイミング制御手段37(MC)は、次の、搬送動作開始信号47を基板搬送動作制御手段46(BC-1)に送信し、これを繰返すことで、連続的に基板搬送処理動作を制御する。
上記以外に、基板搬送動作制御手段46(BC-1)や各処理作業装置制御手段40(AC−1〜AC-6)は、異常発生時のエラー情報なども、システム動作タイミング制御手段37(MC)に送信する必要がある。これによって、システム動作タイミング制御手段37(MC)は、一括してシステム全体のエラー管理とともにそれにもとづいたシステム制御が可能となる。
さらに、上記エラー信号以外にもいくつかの信号の送受信が、システム動作タイミング制御手段37(MC)と基板搬送動作制御手段46(BC-1)や各処理作業装置制御手段40(AC−1〜AC-6)間で必要となる。例えば、基板搬送手段B-1〜B-4は、基板搬送後に搬送基点位置まで移動する必要があるとともに、各処理作業装置A-1〜A-6においても、作業よっては、基板搬送時間中に行う処理もありえる。これらの処理に対応するためには、システム動作タイミング制御手段37(MC)は、基板搬送動作制御手段46(BC-1)や各処理作業装置制御手段40(AC−1〜AC-6)の動作開始準備完了などの信号を受けてから、搬送動作開始信号47や各処理開始信号38を送信する必要がある。
これら、通信信号の詳細は、各処理作業装置の機能や動作モードに依存するために割愛するが、機能や動作モードをよく吟味の上、決定することが重要であることは言うまでもない。
図14において、処理作業装置13のA-3の中には、UC-1〜UC-3のブロックが記載されている。図14の処理作業装置13のA-3は、図10で示した処理作業装置内に複数の処理ユニット30を有した構成を示している。UC-1〜UC-3のブロックはこれら処理ユニット30の制御手段49である。本実施例では、処理作業装置A-3は内部に3台の処理ユニット30を配置していると想定している。
このように、処理作業装置内に複数の処理ユニット30を有した構成では、各処理作業装置制御手段40(AC−3)の下位に、各処理ユニット機構制御手段49 (UC-1〜UC-3)が配置され、各処理作業装置制御手段40(AC−3)によって、動作タイミングなどの制御が実施される。
図15は、前記した図14の実施例におけるシステム動作タイミング制御手段37(MC),基板搬送動作制御手段46(BC-1),各処理作業装置制御手段40(AC−1〜AC-6)の間の基本的な信号を模式的に説明する図である。
システム動作タイミング制御手段37(MC)の基板搬送制御信号50の立上りを受けて、基板搬送動作制御手段46(BC-1)の基板搬送動作信号52が搬送中となる。基板搬送終了後、基板搬送動作制御手段46(BC-1)の基板搬送動作信号52の立下りを受けて、システム動作タイミング制御手段37(MC)の基板搬送制御信号50を立下げるとともに、処理装置動作制御信号51を立上げる。各処理作業装置制御手段40(AC−1〜AC-6)は、処理装置動作制御信号51の立上げを受けて、各処理作業動作を開始し処理装置動作信号53を立上げる。各処理作業動作が終了後、各処理作業装置制御手段40(AC−1〜AC-6)は、処理装置動作信号53を立下げる。これを受けて、システム動作タイミング制御手段37は、処理装置動作制御信号51を立下げるとともに、次の基板搬送のために、基板搬送制御信号50を立上げる。これを繰返すことで、連続した処理動作制御を行う。
基板搬送手段11や各処理作業装置13に動作不良が発生した場合は、システム動作タイミング制御手段37(MC)に、エラー発生情報39を送信する。また、システム動作タイミング制御手段37は、規定時間内で基板搬送手段や各処理作業が終了しない場合にエラーと判定するなどの方法も考えられる。
図14,図15で説明した本発明の実施例以外に、各処理作業装置制御手段40(AC−1〜AC-6)が、基板搬送手段11の個々の駆動制御を独立に行う方法も考えられる。この場合、複数の基板搬送手段11を複数の各処理作業装置制御手段40(AC−1〜AC-6)が制御するために、各基板搬送手段11間の移動タイミングを正確に合わせることが難しく、隣接する基板搬送手段11間で衝突が発生する可能性がある。
これを防止する方法としては、下流側に基板搬送手段11を移動する場合は下流側の基板搬送手段11から、上流側に基板搬送手段11を移動する場合は上流側の基板搬送手段11から、順次移動させる方法を用いることで、隣接する基板搬送手段11間での衝突を防止できる。つまり、下流側に基板搬送手段11を移動させる場合は、まず、最下流の基板搬送手段11の駆動を制御する処理作業装置制御手段40が、最下流の基板搬送手段11を移動制御し、その移動完了した情報を、上流側に隣接する基板搬送手段11を制御する処理作業装置制御手段40に送信し、順次、上流側に向かって基板搬送手段11の移動を行なう方式である。上流側に基板搬送手段11を移動させる場合も同様で、この場合は、最上流の基板搬送手段11の駆動制御から、順次上流側の基板搬送手段11を動かすように、処理作業装置制御手段40に、タイミング情報を受け渡すようにする。
この方式では、基板搬送動作制御手段46(BC-1)が不用にはなるが、基板搬送手段11の往復動作間に待ち時間が発生する。このため、基板搬送手段11は上流側や下流側で必ず一定の時間停止する必要が生じる。システム全体の動作上、基板搬送手段11は上流側や下流側に停止させる時間を、厳密に規定する必要がある場合などは、本方式は不適である。
最後に、本発明を実現する表示パネル基板搬送装置の他の実施例構成を図16から図19を用いて説明する。
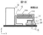
図16では、基板保持手段12と基板搬送手段11がお互いに対向するくし型の搬送部材で構成されている。基板保持手段12は、処理作業装置13側、つまり、基板処理辺側で一体となっている(図中Aで囲んだ部分)。これによって、基板処理辺側は、基板10を平滑に保持することが可能となる。基板搬送手段11は、これに対向して、処理作業装置13と反対側、つまり、基板処理辺の反対側で、一体のくし型構造となっている。
図18は、図16の表示パネル基板搬送装置構成の側面図(断面B-B)を示す図である。図18に示すように基板保持部材12Aは、基板処理辺側の一体部(図16のA部)により片持ちで支えられた構造体である。また、これに対向する基板搬送部材11Aは、基板処理辺の反対側の一体部により片持ちで支えられた構造体である。
次に、図16および図18に示す本発明の実施例である表示パネル基板搬送装置の基本搬送動作について説明する。
図16では、基板搬送部材11Aは、基板保持部材12Aより下方に位置しており、このとき処理する基板10は、基板保持部材12Aにより保持されている。但し、図16中では、基板10は未表示である。
基板搬送時には、まず、基板搬送部材11Aが基板搬送部材昇降手段14によって、上方に稼動する。これによって、基板保持部材12A上に配置されていた基板10は、基板搬送部材11A上に受け渡される。基板搬送手段11は、くし部であるその基板搬送部材11Aが基板保持部材12Aと搬送方向(X方向)への移動時に衝突しない高さまで上昇する。図18の破線は、基板搬送部材11Aの上昇位置を示している。その後、基板搬送手段11は、次の処理作業装置位置までX方向のスライダ29の移動により基板10を搬送する。基板搬送手段11Aは、次の処理作業装置位置まで移動後降下することで、保持している基板10を次の作業位置の基板保持部材12Aに受け渡す。基板搬送手段11は、くし部であるその基板搬送部材11Aが基板保持部材12Aと衝突しない高さまでを降下した後、スライドステージのガイドレール15上を移動して、元の基板10受け取り位置まで位置まで移動し戻る。図18において、実線は基板搬送部材11Aの降下位置を示している。
この様な構造でも、本発明である処理作業装置間の基板10を、搬送起点の基板保持手段部材12Aから搬送終点の基板保持部材12Aまで順次直線的に移動可能であるとともに、複数の基板10を同期して、同時に搬送することが可能である。
しかしながら、本実施例の構成では、前記したようにくし部である基板搬送部材11Aがくし部である基板保持部材12Aを避ける位置までの上昇や下降が必要でとなる。一方、先の実施例である図1では、基板保持部材12Aの高さに関係なく、基板搬送部材11Aが基板10を基板保持部材12Aから離間させる程度の上下で十分である。従って、図16および図18に示す本発明の実施例構造では、先の実施例構成に比べて、基板搬送前後で少なくとも基板保持部材12Aの高さ以上の大きな上下方向(Z方向)への基板搬送部材11A移動が必要となる。これによって、基板10の移動時間が、図1の実施例構成よりも長くなりやすいという弱点を有している。しかし、それ以外の点においては、本発明の基本的機能を満足するひとつの構成である。
逆に、図16および図18に示した本発明の他の実施例構造は、図1の実施例で示した構成に比べて、基板保持手段12と基板搬送手段11の機構部を、離れた位置に配置できるなど、構成をシンプルにしやすいという利点はある。
また、図16および図18に示した本発明の実施例構造では、搬送する基板サイズが大きい場合、基板保持部材12Aおよび基板搬送部材11Aである片持ちのくし部が長くなってしまう。このため、くし部の強度を保つためには、くし部のZ方向の厚みを大きく取る必要がある。このため、数十インチ以上の大型テレビ用基板10などに適用する場合は、あまり好ましい構成とは言いがたい。
しかし、例えば20インチ以下などの比較的小型の基板10の場合は、くし部の厚さをそれほど大きく取る必要はないので、上下動の距離が少なくなり、構成的にはシンプルになるので、本発明の有効な実施手段である。
図17および図19は、本発明を実現する表示パネル基板搬送装置のさらに他の実施例構成を説明する図である。図19は、図17の表示パネル基板搬送装置構成の側面図(断面B-B)を示す図である。
図17および図19の実施例構成では、基板搬送手段11のくし部である基板搬送部材11Aを支える部分が、基板保持手段12の間に配置されている。また、基板保持手段12は、2つに分割され、処理作業装置13側と反対側に配置された構造とした。
図17および図19に示した本発明の表示パネル基板搬送装置の実施例構成における基板搬送動作は、前記した図16および図18で説明した動作と基本的に同じであるので、割愛する。
図17および図19に示した本発明の表示パネル基板搬送装置の実施例構成をとることで、基板搬送部材11Aと基板保持部材12Aのくし部の片持ち部長さを短くすることができる。つまり、比較的厚さの薄いくし構造を用いることができ、基板搬送時の上下動作の移動距離を短く抑えることが可能となる。つまり、この実施例構造は、図16および図18で示した実施例よりは、大きな基板に対応しやすい構造である。ただし、図16および図18の実施例構成よりは、構成が複雑であることは言うまでもない。
以上のような本発明の表示パネル基板搬送装置を用いることで、小型から大型基板まで幅広いサイズの基板を、基板を高精度かつ高速に搬送できる。
さらに、基板サイズに合わせたフレキシブルな基板保持・搬送動作が可能であり、本発明の表示パネルモジュール組立装置では、基板サイズに合わせて、各処理機構が必要とする最小幅での基板の連続処理を実現することができる。
本発明によって、小型から大型基板まで幅広いサイズの基板を高精度かつ高速に搬送および組立処理でき、さらに、装置全長も短くすることが可能な表示パネル基板搬送装置およびそれを用いた表示パネルモジュール組立装置を提供できる。
本発明の表示パネル基板搬送装置およびそれを用いた表示パネルモジュール組立装置の基本構成を説明するための図である。 各処理作業時と基板搬送時の動作状態を模式的に説明するための図であり、基板の搬送方向からの断面を示す図である。 各処理作業時と基板搬送時の動作状態を模式的に説明するための図であり、装置側面からの断面を示す図である。 表示パネル基板搬送装置およびそれを用いた表示パネルモジュール組立装置全体における基板の処理および搬送シーケンスのうちStep1からStep4までを説明する図である。 図4(a)に引き続き、基板の処理および搬送シーケンスのうちStep5とStep6を説明する図である。 基板保持手段による基板位置補正方式を説明するための図である。 基板受渡し時に生じる基板にかかる力や基板の変形などを説明する模式図である。 本発明の基板保持手段および基板搬送手段によるサイズの異なる基板の保持について説明するための図である。 超大型の基板搬送を想定した場合の表示パネル基板搬送機構を説明するための図である。 本発明の表示パネル基板搬送装置の機構を、より簡略化する方式を説明するための図である。 1枚の基板に対して複数の処理ユニットが同時に作業を行う方式を説明するための図である。 基板に設けられた基準マークの一例を示す図である。 基板に対して位置決め処理する処理ユニット構成の一実施例を示す図である。 本発明の表示パネル基板搬送装置と処理ユニット機構による新規表示パネルモジュール組立装置の一実施例を説明する図である。 本発明の表示パネル基板搬送装置における制御部構成の一実施例を説明するための図である。 本発明の表示パネル基板搬送装置における基本的な制御方式の一実施例を説明する図である。 本発明の表示パネル基板搬送装置における他の実施例構成を説明する図である。 本発明の表示パネル基板搬送装置におけるさらに他の実施例構成を説明する図である。 図16に示した本発明の実施例の側方断面を示す図である。 図17に示した本発明の実施例の側方断面を示す図である。
符号の説明
1:基板長辺側(ソース側)の処理作業装置群
2:基板の回転手段
3:基板短辺側(ゲート側)の処理作業装置群
4:端子クリーニング処理作業装置(ソース側)
5:ACF貼付処理作業装置(ソース側)
6:TAB/IC搭載処理作業装置(ソース側)
7:本圧着処理作業装置(ソース側)
8:端子クリーニング処理作業装置(ゲート側)
9:ACF貼付処理作業装置(ゲート側)
10:基板(表示パネル基板) 11:基板搬送手段
11A:基板搬送部材 11S:補助的な基板搬送部材
12:基板保持手段 12A:基板保持部材
12S:補助的な基板保持部材 13:処理作業装置
14:基板搬送部材昇降手段 15:スライドステージのガイドレール
16:基板保持部材の稼動範囲 17:基板保持部材と基板搬送手段の隙間
18:基板搬送手段表面の吸引孔 19:基板保持手段表面の吸引孔
20:小型基板の配置領域 21:大型基板の配置領域
22:吸着孔の下の吸引チャンバ 23:開閉バルブ
24:吸引ポンプなどから供給される負圧系
25:超大型基板の配置領域 26:摩擦抵抗の少ない基板保持部
27:基板の処理辺に近い側(基板保持・搬送領域)
28:基板の処理辺から遠い側(基板低摩擦保持領域)
29:スライドステージのスライダ
30:処理作業を行う処理ユニット 31:表示パネル端部を示す端部マーク
32:TABやICなどの搭載位置を示す搭載位置マーク
33:処理ユニット全体を移動させるXYZθ稼動手段
34:基板上の基準マークを検出するCCDカメラ
35:処理位置補正手段
36:処理作業を行う処理ユニット機構B(30と異なる種類の処理ユニット)
37:システム動作タイミング制御手段(MC)
38:各処理作業開始信号
39:各処理作業了信号(エラー信号や作業処理中信号なども含)
40:各処理作業装置制御手段 (AC−1〜AC-6)
41:各処理作業装置制御手段と各処理作業装置間の制御通信信号
42:基板搬送部材B-1〜B-4の座標位置などを検出するセンサ
43:各基板搬送部材の駆動装置(M-1〜M-4)
44:各基板搬送部材の座標位置などの検出信号
45:各基板搬送部材の駆動装置の動作信号
46:基板搬送動作制御手段 (BC-1)
47:搬送動作開始信号
48:基板搬送終了信号
49:処理作業装置内の処理ユニット機構制御手段(UC-1〜UC-3)
50:システム動作タイミング制御手段の基板搬送制御信号
51:システム動作タイミング制御手段の処理装置動作制御信号
52:基板搬送動作制御手段の基板搬送動作信号
53:各処理作業装置制御手段の処理装置動作信号(1)(2)(3)・・・。

Claims (16)

  1. 複数の処理作業装置間を、順次表示パネル基板を搬送して該表示パネル基板の縁に電子
    部品を実装して、表示パネルを組み立てる表示パネルモジュール組立装置において、
    該表示パネル基板を搬送する基板搬送装置は、一定方向に細長い基板保持部材が該基板
    の搬送面と平行な面に複数並置されてなる基板保持手段と、該一定方向に細長い基板搬送
    部材が該基板の搬送面と平行な面に複数並置され、該基板搬送部材の少なくとも一つが該
    基板保持部材の間に配置された基板搬送手段とを有し、該基板搬送手段は、該基板保持部
    材上に配置された表示パネル基板を保持し、基板搬送方向に直線的に移動することで基板
    を搬送することを特徴とする表示パネルモジュール組立装置。
  2. 該一定方向は該基板の搬送方向であることを特徴とする請求項1に記載の表示パネルモ
    ジュール組立装置。
  3. 該一定方向は該基板の搬送方向と垂直方向であることを特徴とする請求項1に記載の表
    示パネルモジュール組立装置。
  4. 該基板搬送手段は、該基板保持手段の該基板保持部材に対して該基板搬送部材を相対的
    に上昇および下降する手段を有するとともに、該基板搬送部材を基板搬送方向に沿った規
    定の範囲で往復移動可能な動作機構を有することを特徴とする請求項1乃至3のいずれかに記載の表示パネルモジュール組立装置。
  5. 該基板搬送手段を複数配置し、各基板搬送手段の往復移動距離は独立に設定可能であり、該複数の基板搬送手段が同一のタイミングで該基板保持手段上の表示パネル基板を基板搬送方向に移動させることを特徴とする請求項に記載の表示パネルモジュール組立装置。
  6. 該往復移動距離は、各処理作業装置や処理基板条件などに応じて変更することが可能な
    搬送距離可変手段を有することを特徴とする請求項記載の表示パネルモジュール組立装
    置。
  7. 該基板の姿勢を検出する基板姿勢検出手段と、該基板姿勢検出手段の検出結果に基づい
    て該基板姿勢を補正する基板姿勢補正手段とを有することを特徴とする請求項1乃至
    記載の表示パネルモジュール組立装置。
  8. 該基板姿勢は該各処理作業装置の作業位置での姿勢であり、該基板保持手段は各処理作
    業装置に対応して複数配置され、複数配置された基板保持手段のうち少なくとも一つ
    は、該基板姿勢検出手段と該基板姿勢補正手段を有していることを特徴とする請求項
    記載の表示パネルモジュール組立装置。
  9. 該基板姿勢は処理作業位置の作業位置での基板姿勢と搬送動作時の基板姿勢のうち少な
    くとも一方の姿勢であり、該基板姿勢補正手段は該基板姿勢検出手段の検出結果に基づい
    て、該基板搬送手段が基板保持手段と基板受渡しの時に、基板姿勢位置を補正する手段で
    あることを特徴とする請求項に記載の表示パネルモジュール組立装置。
  10. 該各処理作業装置は、搬送されてきた該基板の縁で所定の処理を行う少なくとも一つ以
    上の処理ユニットと、搬送されてきた基板の姿勢を検知する基板姿勢検出手段を具備し、
    該基板姿勢検出手段の検出結果に基づいて基板に対する該処理ユニットの相対位置を補正
    する処理ユニット姿勢補正手段を有することを特徴とする請求項1乃至に記載の表示パ
    ネルモジュール組立装置。
  11. 保持手段は、その処理作業装置の反対側には摩擦抵抗の小さい低摩擦基板保持部
    を有することを特徴とする請求項1乃至に記載の表示パネルモジュール組立装置。
  12. 該基板搬送装置を複数有し、該基板搬送装置の間には該基板の姿勢または搬送方向を変
    える手段を有することを特徴とする請求項1乃至に記載の表示パネルモジュール組立装
    置。
  13. 搬送上に配置された複数の基板を間欠的に順次搬送する基板搬送装置において、
    一定方向に細長い基板保持部材が該基板の搬送面と平行な面に複数並置されてなる基板
    保持手段と、該一定方向に細長い基板搬送部材が該基板の搬送面と平行な面に複数並置さ
    れ、該基板搬送部材の少なくとも一つが該基板保持部材の間に配置された基板搬送手段と
    を有し、該基板搬送手段は、該基板保持部材上に配置された基板を保持し、基板搬送方向
    に直線的に移動することで基板を搬送することを特徴とする基板搬送装置。
  14. 該一定方向は該基板の搬送方向であることを特徴とする請求項13に記載の基板搬送装
    置。
  15. 該一定方向は該基板の搬送方向と垂直方向であることを特徴とする請求項13に記載の
    基板搬送装置。
  16. 保持手段は、その処理作業装置の反対側には摩擦抵抗の小さい領域を有すること
    を特徴とする請求項13乃至15に記載の基板搬送装置。
JP2008259944A 2008-10-06 2008-10-06 表示パネルモジュール組立装置及び基板搬送装置 Expired - Fee Related JP5317618B2 (ja)

Priority Applications (2)

Application Number Priority Date Filing Date Title
JP2008259944A JP5317618B2 (ja) 2008-10-06 2008-10-06 表示パネルモジュール組立装置及び基板搬送装置
CN 200910179069 CN101814407B (zh) 2008-10-06 2009-10-09 显示面板组装装置及方法及处理作业装置及基板输送装置

Applications Claiming Priority (1)

Application Number Priority Date Filing Date Title
JP2008259944A JP5317618B2 (ja) 2008-10-06 2008-10-06 表示パネルモジュール組立装置及び基板搬送装置

Publications (2)

Publication Number Publication Date
JP2010091683A JP2010091683A (ja) 2010-04-22
JP5317618B2 true JP5317618B2 (ja) 2013-10-16

Family

ID=42254485

Family Applications (1)

Application Number Title Priority Date Filing Date
JP2008259944A Expired - Fee Related JP5317618B2 (ja) 2008-10-06 2008-10-06 表示パネルモジュール組立装置及び基板搬送装置

Country Status (1)

Country Link
JP (1) JP5317618B2 (ja)

Family Cites Families (9)

* Cited by examiner, † Cited by third party
Publication number Priority date Publication date Assignee Title
JPH0715743U (ja) * 1993-08-12 1995-03-17 株式会社ヤマザキ電機 ガラス基板類の連続熱処理装置
JP3246203B2 (ja) * 1994-07-22 2002-01-15 松下電器産業株式会社 ガラス基板の搬送装置および搬送方法
JP4328496B2 (ja) * 2001-06-26 2009-09-09 株式会社日立プラントテクノロジー 枚葉基板の移載装置
JP3731513B2 (ja) * 2001-09-06 2006-01-05 松下電器産業株式会社 表示パネルの組立装置
JP4292760B2 (ja) * 2002-07-10 2009-07-08 パナソニック株式会社 表示パネルの加工方法およびその加工装置
JP4069980B2 (ja) * 2004-02-24 2008-04-02 東京エレクトロン株式会社 塗布膜形成装置
JP2006266722A (ja) * 2005-03-22 2006-10-05 Olympus Corp 基板検査システム及び基板検査方法
JP4879500B2 (ja) * 2005-03-25 2012-02-22 パナソニック株式会社 ディスプレイパネルのガラス基板分解方法
JP5265099B2 (ja) * 2006-09-11 2013-08-14 オリンパス株式会社 基板検査装置

Also Published As

Publication number Publication date
JP2010091683A (ja) 2010-04-22

Similar Documents

Publication Publication Date Title
JP5386238B2 (ja) パネル基板搬送装置および表示パネルモジュール組立装置
JP2010232472A (ja) 基板搬送装置および基板処理装置
CN102205911B (zh) 基板处理装置、转换方法
JP2008192718A (ja) 基板支持装置、基板支持方法、基板加工装置、基板加工方法、表示装置構成部材の製造方法、検査装置、検査方法
KR101257570B1 (ko) 표시 패널 모듈 조립 장치
JP2008166348A (ja) 基板搬送装置
WO2017163887A1 (ja) 基板浮上搬送装置
JP5371590B2 (ja) 実装処理作業装置及び表示基板モジュール組立ライン
JP5265099B2 (ja) 基板検査装置
CN101814407B (zh) 显示面板组装装置及方法及处理作业装置及基板输送装置
CN101870408B (zh) 显示面板模块组装装置及组装方法和显示面板输送装置
JP5479701B2 (ja) 表示パネルモジュール組立装置
JP5317618B2 (ja) 表示パネルモジュール組立装置及び基板搬送装置
JP5165718B2 (ja) 基板処理装置
JP2008066675A (ja) 基板搬送装置及び基板搬送方法
KR20130117191A (ko) 작업유닛 이송장치
JP2007112626A (ja) 基板搬送装置及び基板検査装置並びに基板搬送方法
JP2011032056A (ja) 表示パネル基板搬送装置及び方法、及び表示パネルモジュール組立装置
JP2011033953A (ja) 基板搬送装置および表示パネルモジュール組立装置
JP5401396B2 (ja) 搭載装置,加熱圧着装置および表示パネルモジュール組立装置
JP2012002994A (ja) 表示パネル組立装置
JP2012163729A (ja) パネルモジュール組立装置
JP5506203B2 (ja) 表示パネル基板搬送装置及び表示パネルモジュール組立装置
CN100461999C (zh) 用于提供电气组件的晶片工作台和用于为基底配备电气组件的装置
JP2011033663A (ja) パネル基板搬送装置および表示パネルモジュール組立装置

Legal Events

Date Code Title Description
A621 Written request for application examination

Free format text: JAPANESE INTERMEDIATE CODE: A621

Effective date: 20110202

A977 Report on retrieval

Free format text: JAPANESE INTERMEDIATE CODE: A971007

Effective date: 20120903

A131 Notification of reasons for refusal

Free format text: JAPANESE INTERMEDIATE CODE: A131

Effective date: 20120911

A521 Written amendment

Free format text: JAPANESE INTERMEDIATE CODE: A523

Effective date: 20121107

TRDD Decision of grant or rejection written
A01 Written decision to grant a patent or to grant a registration (utility model)

Free format text: JAPANESE INTERMEDIATE CODE: A01

Effective date: 20130611

A61 First payment of annual fees (during grant procedure)

Free format text: JAPANESE INTERMEDIATE CODE: A61

Effective date: 20130709

R150 Certificate of patent or registration of utility model

Free format text: JAPANESE INTERMEDIATE CODE: R150

LAPS Cancellation because of no payment of annual fees