JP5317543B2 - 無線通信システム - Google Patents

無線通信システム Download PDF

Info

Publication number
JP5317543B2
JP5317543B2 JP2008155517A JP2008155517A JP5317543B2 JP 5317543 B2 JP5317543 B2 JP 5317543B2 JP 2008155517 A JP2008155517 A JP 2008155517A JP 2008155517 A JP2008155517 A JP 2008155517A JP 5317543 B2 JP5317543 B2 JP 5317543B2
Authority
JP
Japan
Prior art keywords
transmission power
directional antenna
unit
transmission
radio
Prior art date
Legal status (The legal status is an assumption and is not a legal conclusion. Google has not performed a legal analysis and makes no representation as to the accuracy of the status listed.)
Active
Application number
JP2008155517A
Other languages
English (en)
Other versions
JP2009302939A (ja
Inventor
真也 小林
金見 佐々木
Current Assignee (The listed assignees may be inaccurate. Google has not performed a legal analysis and makes no representation or warranty as to the accuracy of the list.)
Kokusai Denki Electric Inc
Original Assignee
Hitachi Kokusai Electric Inc
Kokusai Denki Electric Inc
Priority date (The priority date is an assumption and is not a legal conclusion. Google has not performed a legal analysis and makes no representation as to the accuracy of the date listed.)
Filing date
Publication date
Application filed by Hitachi Kokusai Electric Inc, Kokusai Denki Electric Inc filed Critical Hitachi Kokusai Electric Inc
Priority to JP2008155517A priority Critical patent/JP5317543B2/ja
Publication of JP2009302939A publication Critical patent/JP2009302939A/ja
Application granted granted Critical
Publication of JP5317543B2 publication Critical patent/JP5317543B2/ja
Active legal-status Critical Current
Anticipated expiration legal-status Critical

Links

Images

Landscapes

  • Radio Relay Systems (AREA)

Description

本願の発明は、電波の送受信に指向性アンテナを用いたギガヘルツ帯以上のマイクロ波やミリ波による無線通信システムに係り、特に、移動中継に好適な無線通信システムに関する。
例えばスポーツ中継など、野外において発生する種々の通信需要に応え、通信回線を半固定的に展開するためには、例えばパラボラアンテナなどの指向性アンテナを用いて2地点間での無線通信回線を確保するようにした移動用の無線通信システムが、従来から使用されている。
このとき、指向性のアンテナが用いられるのは、無線通信回線となる電波の伝送経路を細く絞ることにより、伝送経路の存在が知られてしまう虞を少なくし、妨害波による影響を抑え、伝送距離の増加と周波数資源の有効利用が図れるようにするためである。
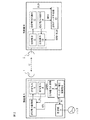
ここで、図3は、このような移動用の通信システムにおいて、従来から用いられている無線通信装置の一例で、この場合、指向性空中線部11と送信部12、受信部13、電界強度測定部14、空中線駆動部17、それにサーキュレータSにより通信装置10が構成されている(例えば特許文献1参照)。
そして、この通信装置10を、見通し距離にある電波の伝送経路の一方の地点と他方の地点に、指向性空中線部11の双方が対向するようにしてそれぞれ配置し、無線通信システムを構成している。
ところで、このような無線通信システムにおいては、各通信装置10の設置に際して、各々の指向性空中線部11の指向方向が電波の送信源に正しく向い、指向性アンテナの最大利得点が得られるようにする調整、いわゆるアラインメント調整が必要である。
この場合、まず、当初は、作業者の目視により与えられる方位角、或いは地図から与えられる方位角により、各々の指向性空中線部11の向きを知り、その方向に設定することにより、とりあえず指向方向が相互に合うようにしておく。
その後、各通信装置10では、指向性空中線部11に相手側からの電波が入感され、受信部13で信号が受信されている状態で、指向性空中線部11の向きを動かし、電界強度測定部14により測定されている電界強度が最大になる方向を求め、求まった方向を指向方向として指向性空中線部11に設定する。
このとき、電界強度が最大になったということは、そのとき、指向性空中線部11の指向方向が相手側に向う方向に一致したことを意味し、従って、上記のようにして求まった方向を指向性空中線部11に設定してやれば、指向方向が正しく設定できるのである。
ところで、このような無線通信システムの場合、その運用に際して、他の無線通信システムに干渉しないことが要件であり、このためには送信電力の抑制が有効である。
そこで、受信電波の電界強度に応じて送信電力が制御されるようにした送信レベル動的制御形通信装置を用いた無線通信システムも、従来から知られている。
特開2000−223921号公報
上記従来技術は、送信レベル動的制御形通信装置の存在に配慮がされておらず、このような通信装置による無線通信システムには適用が困難であるという問題があった。
すなわち、送信レベル動的制御形通信装置を用いた通信システムの場合、受信電波の電界強度が最大になる方向を見い出そうとして指向性アンテナの向きを変えたとき、受信電波の電界強度に応じて送信電力が制御されてしまうため、電界強度の変化が抑えられてしまうので、指向方向の設定が困難になってしまうのである。
従って、この従来技術の場合、指向性アンテナのアラインメント調整に際しては、通信装置を特別な動作モードにし、相手側の送信電力を固定させた上で自局のアラインメント調整を行い、次いで自局の送信電力を固定してから相手側でアラインメント調整を行うようにする必要があった。
本発明の目的は、特別な動作モードを持つことなく簡単に指向性アンテナのアラインメント調整が得られるようにした無線通信システムを提供することにある。
上記の目的は、一方と他方の無線局での電波の送受信に指向性アンテナを用いた中継用の無線通信システムにおいて、前記他方の無線局には、受信電力を計測し、計測した受信電力値を当該他方の無線局から前記一方の無線局に送信する信号に重畳させて伝送する送信データ生成部を設け、前記一方の無線局には、前記他方の無線局から伝送された前記受信電力値に応じて送信電力制御信号を発生し、当該一方の無線局から送信される送信電力を前記送信電力制御信号に応じて制御する送信電力制御部と、当該一方の無線局の受信部から入力される電界強度レベルを前記送信電力制御部より出力される前記送信電力制御信号により補正し、アナログ強度レベル電圧を算出するモニター電圧演算部とを設け、前記一方の無線局において、前記アナログ強度レベル電圧の値から前記指向性アンテナのアラインメント調整が得られるようにして達成される。
本発明によれば、送信レベル動的制御形通信装置を用いた場合でも、特別なモードにすることなく指向性アンテナのアラインメント調整が可能になり、この結果、高所など作業が困難な場所においても、常に安全に、しかも効率的にアラインメント調整を行うことができる。
以下、本発明に係る無線通信システムについて、図示の実施の形態により詳細に説明する。
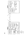
ここで、図1は、本発明の第1の実施形態で、これは、2台の無線機A、Bを用い、これらの無線機A、Bを一方と他方の無線通信装置とし、例えばパラボラアンテナなどの指向性アンテナ1、2を用い、これらの間をマイクロ波やミリ波の電波による伝送経路Cで結んで無線通信システムとしたものであり、このとき、無線機Aは、送信部3と受信部4、送信電力制御部5、モニター電圧演算部6、それに端子部7を備え、無線機Bは、送信部10と受信部11、受信電力計測部12、それに送信データ生成部13を備えている。
始めに、このシステムによる中継動作について説明する。
この場合、無線機Aの送信部A3と無線機Bの受信部B11、無線機Bの送信部B10と無線機Aの受信部A4、それに無線機Aの指向性アンテナ1と無線機Bの指向性アンテナ2は夫々対になって無線機A側にある一方の外部機器(図示してない)と無線機B側にある他方の外部機器(図示してない)の間での無線通信による中継動作が得られるようになっている。
そして、まず、無線機Aには、無線機Bに伝送すべきデータ(例えばディジタル映像信号データ)が、一方の外部機器から入力され、これが送信部A3に供給される。
そこで、この入力されたデータより変調された高周波電力が送信部A3から指向性アンテナ1に供給され、この結果、無線機Bの指向性アンテナ2に電波が入感され、受信部B11により復調されたデータが他方の外部機器に供給される。
また、他方の外部機器から、無線機Aに伝送すべきデータ(例えば連絡用通話信号や制御データ)が無線機Bに入力された場合は、送信部B10から変調された高周波電力が指向性アンテナ2に供給され、この結果、無線機Aの指向性アンテナ1に電波が入感し、受信部A4により復調されたデータが一方の機器に供給されることになり、従って、これにより中継動作が得られることになる。
次に、無線機Aの受信部A4は、指向性アンテナ1に入感した無線機B側からの電波の強度レベルALを検出して送信電力制御部5に供給する。そこで、送信電力制御部5は、この電波強度レベルALの値に応じて送信部A3から出力される高周波信号の電力を制御し、これにより指向性アンテナ1に供給される高周波電力が、受信電波の強度に応じてフィードバック制御されることになり、この結果、無線機Aは、上記した送信レベル動的制御形通信装置として動作することになる。
ところで、このままでは、従来技術で説明したように、指向性アンテナのアラインメント調整が困難になる。
しかし、このとき無線機B側では、その受信部B11により、指向性アンテナ2に入感した無線機A側からの電波の強度レベルが検出されていて、それが受信電力計測部12に供給されている。そして、この受信電力計測部12では、入力された強度レベルBLが計測され、それがディジタル化された強度レベルデータBLDとして出力される。
そして、このディジタル化された強度レベルデータBLDが送信データ生成部13に供給され、ここで他方の外部機器から無線機Aに伝送すべきデータに重畳されて送信部B10から指向性アンテナ2を介して送信される。なお、このとき、例えば他方の外部機器から無線機Bを介して無線機Aに伝送すべきデータの無線フレームにヘッダー部分として挿入されるのが一般的である。
そうすると、この場合、無線機A側では、指向性アンテナ1に入感した信号、つまり無線機B側からの電波による信号を受信部A4により復調し、例えばヘッダー部分に重畳されてるデータを取り出すことにより強度レベルBLを得ることができ、この結果、無線機Bの受信部B11において受信された信号の強度レベルが、無線機A側でも同じようにして得られることになる。
ここで、いま、無線機A側にある指向性アンテナ1の向きを変え、このとき変えた方向が正しい方向から外れる方向であった場合は、無線機Bの受信部B11で受信された信号の強度レベルは低下し、反対に、変えた方向が、より正しい方向に向うものであった場合には強度レベルが増加する。
そこで、無線機A側にある指向性アンテナ1の向きを変え、受信部A4から出力される強度レベルBLが最大になるようにして止めてやれば、このときの指向性アンテナ1の向きが正しい指向方向になったこと、つまり指向性アンテナの最大利得点が得られたことを意味し、従って、これにより無線機A側で、その指向性アンテナ1のアラインメント調整が行えることになる。
受信部A4から出力される強度レベルBLは、モニター電圧演算部6に供給され、ここでアナログ強度レベル電圧Mに変換された上で、モニター電圧として端子部7に供給される。
そこで、この端子部7に、図示のように、テスタを接続してレベル計測用のメータとすることにより、アナログ強度レベル電圧Mを、これに応じて、すなわち受信部A4から出力される強度レベルBLの値に応じてテスタのメータを振らせることができる。
従って、この実施形態によれば、指向性アンテナ1のアラインメント調整に際して、作業者は、テスタのメータを見ながら指向性アンテナ1を動かして少しづつ向きを変え、メータの振れが最大になったときアンテナの向きを固定すれば、指向性アンテナ1の最大利得点に指向方向が正しく設定され、アラインメント調整を終えることができる。
ところで、この実施形態では、モニター電圧演算部6には、受信部A4から無線機B側での受信強度レベルBLが供給されるだけではなく、送信電力制御部5から出力される送信電力制御信号ATLも入力されている。
ここで、まず、この送信電力制御信号ATLについて説明すると、この実施形態では、上記したように、送信部A3から出力される高周波電力は、受信部A4で受信された信号の電界強度レベルALの値により制御されるようになっている。
このため送信電力制御部5には、受信部A4から電界強度レベルALが入力され、これにより送信電力制御部5は、この電界強度レベルALに応じて信号を発生し、それを送信部A3に送信電力制御信号ATLとして供給し、送信電力が制御されるようにしてあり、この結果、この信号ATLの値は、送信部A3から実際に出力される高周波電力を表わすものとなっている。つまり、送信部A3から実際に出力される高周波電力を実送信電力APR とすると、APR =ATLと看做せる。
一方、送信部A3が出力可能な高周波電力の最大値を最大送信電力APM とすると、これは定格値のことで、言うまでもなく設計仕様で決り、従って、予め定数として知ることができる。
そこで、モニター電圧演算部6は、送信電力制御部5から入力された送信電力制御信号ATLを実際に送信部A3から出力される実送信電力APR とし、これと、同じく入力された受信強度レベルBL及び定数として与えられる最大送信電力APM とから次の(1)式により、アナログ強度レベル電圧Mを算出する。
M=BL−APR +APM …………(1)
このとき、実送信電力APR と最大送信電力APM については、「APR≦APM」の関係にあることは、言うまでもない。
モニター電圧演算部6により、このようにしてアナログ強度レベル電圧Mを算出した場合、条件「APR<APM」が成立している間、つまり送信部A3から、その定格送信電力より低い値の電力が送信されている間は、端子部7から出力されるモニター電圧は、無線機A側の受信部A4での受信電力相当値よりも大きな値として得られ、しかも、この場合、実送信電力BPR が減算されていることから、実送信電力BPR の変動が相殺され、この結果、双方の無線機A、Bで送信レベル動的制御機能が働いているときでも容易に指向性アンテナ1の最大利得点を見付け出すことができ、高精度のアラインメント調整を確実に得ることができる。
このときの指向性アンテナ1のアラインメント調整も上記した場合と同じで、繰り返すと、このときも作業者がテスタのメータを見ながら指向性アンテナ1を動かして少しづつ向きを変え、メータの振れが最大になった位置でアンテナの向きを固定してやれば、指向性アンテナ1の最大利得点に指向方向が正しく設定され、アラインメント調整が完了されることになる。
ところで、ここでも説明を判り易くするため、無線機Aと無線機Bの構成を分けて示したが、一般的には双方の無線機が同等の構成を有しているが通例であり、従って、無線機B側でも同様に指向性アンテナのアラインメント調整が可能なことは言うまでもない。
次に、本発明の他の実施形態について説明する。
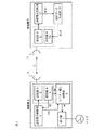
ここで図2は、本発明の第2の実施形態で、この実施形態が、上記した第1の実施形態とブロック構成上異なる点は、無線機Aには受信電力計測部8が設けられ、無線機Bには送信電力制御部14がもけられている点にあり、その他の点は同じである。
そして、これにより、まず、無線機A側では、無線機Bの送信部B10から出力される高周波送信電力の強度レベルBPを知ることができるようにしてあり、このため、無線機B側では、送信部10から出力される高周波送信電力を制御するため、送信電力制御部14から出力されている強度レベルBPのデータ、つまり強度レベルデータBPDが送信データ生成部13に入力され、これにより無線機Bから無線機Aに伝送すべきデータの、例えば無線フレームにヘッダー部分に、この強度レベルデータBPDが挿入され、送信信号に重畳されて伝送され中継されるようになっている。
このとき、無線機B側の送信電力制御部14は、この強度レベルデータBPDを送信部B10に送信電力の制御信号として供給し、送信電力が制御されるようにしてあり、この結果、この強度レベルデータBPDが表わす値は、送信部A3から実際に出力される高周波電力を表わすものとなっている。つまり、送信部B10から実際に出力される高周波電力を実送信電力BPR とすると、BPR =BPDと看做せる。
また、ここで送信部B10が出力可能な高周波電力の最大値を最大送信電力BPM とすると、これは言うまでもなく設計仕様で決まる定格値のことであり、従って、予め定数として知ることができる。
そこで、無線機A側のモニター電圧演算部6は、受信部A4から入力された強度レベルデータBPDを実際に無線機B側の送信部B10から出力される実送信電力BPR とし、これと、同じく入力された受信強度レベルBL及び定数として与えられる最大送信電力BPM とから次の(2)式により、アナログ強度レベル電圧Mを算出する。
M=BL−BPR +BPM …………(2)
このときも実送信電力BPR と最大送信電力BPM については、「BPR≦BPM」の関係にあることは、言うまでもない。
このようにして、モニター電圧演算部6によりアナログ強度レベル電圧Mを算出した場合、この図2の実施形態においても、条件「BPR<BPM」が成立している間、つまり無線機B側の送信部B10から、その定格送信電力より低い値の電力が送信されている間は、端子部7から出力されるモニター電圧は、無線機B側の受信部B11での受信電力相当値よりも大きな値として得られ、しかも、この場合、実送信電力APR が減算されていることから、実送信電力APR の変動が相殺され、この結果、双方の無線機A、Bで送信レベル動的制御機能が働いているときでも容易に指向性アンテナ1の最大利得点を見付け出すことができ、高精度のアラインメント調整を確実に得ることができる。
このときの指向性アンテナ1のアラインメント調整も上記した場合と同じで、作業者がテスタのメータを見ながら指向性アンテナ1を動かして少しづつ向きを変え、メータの振れが最大になった位置でアンテナの向きを固定してやれば、指向性アンテナ1の最大利得点に指向方向が正しく設定され、アラインメント調整が完了されることになる。
ところで、以上は、説明を判り易くするため、無線機Aと無線機Bの構成を分けて示したが、一般的には双方の無線機が同等の構成を有しているが通例であり、従って、無線機B側でも同様に指向性アンテナのアラインメント調整が可能なことは言うまでもない。
次に、本発明の更に他の実施形態について説明する。
図3は、本発明の第3の実施形態で、この実施形態が、上記した第1の実施形態とブロック構成上異なる点は、無線機Aに目標値設定部9が設けられている点だけで、その他の点は同じである。
この目標値設定部9は、指向性アンテナ1のアラインメント調整に目標範囲を設定する働きをするもので、このため目標範囲を表わす電圧、つまり目標値VXを発生し、この目標値VXはモニター電圧演算部6に入力され、アナログ強度レベル電圧Mの演算に使用されるようになっている。
ここで、指向性アンテナの指向特性について説明すると、これは、一般に最大利得点の近傍では緩やかな特性になっている。従って、アラインメント調整を高精度に設定しようとすると、メータの振れが極大値付近あるとき、僅かな振れの変化に応じてアンテナを細かく動かす必要が有り、作業に根気が必要で時間も多く掛ってしまう。
一方、実用上は、それ程、高精度に設定しなくても充分な場合があり、この場合は、或る精度範囲内に収めて設定してやればよい。
そこで、この第3の実施形態では、上記した目標値VXを設定し、これにより上記した精度範囲内に収めることができるようにしたものである。
従って、モニター電圧演算部6は、送信電力制御部5から入力された送信電力制御信号ATLを実際に送信部A3から出力される実送信電力APR とし、これと、同じく入力された受信強度レベルBL及び定数として与えられる最大送信電力APM 、それに目標値VXから次の(3)式により、アナログ強度レベル電圧Mを算出する。
M=BL−APR +APM −VX…………(3)
このとき、実送信電力APR と最大送信電力APM について「APR≦APM」の関係にあることに変わりはない。
従って、この第3の実施形態によっても、双方の無線機A、Bで送信レベル動的制御機能が働いているときに確実に指向性アンテナの指向方向が電波の送信源に正しく向い、指向性アンテナの最大利得点が見付け出せることになる点は、第1の実施形態と同じであるが、このとき、アナログ強度レベル電圧Mが目標値VXの差分で与えられるので、アラインメント調整について、その精度が目標値VXで設定されている範囲内に収まったとき、アナログ強度レベル電圧Mが0になるようにすればよいので、アラインメント調整が簡素化でき、作業に必要な時間が短縮できる。
本発明による無線通信システムの第1の実施の形態を示すブロック構成図である。 本発明による無線通信システムの第2の実施の形態を示すブロック構成図である。 本発明による無線通信システムの第3の実施の形態を示すブロック構成図である。
符号の説明
1:指向性アンテナ(無線機Aの指向性アンテナ)
2:指向性アンテナ(無線機Bの指向性アンテナ)
3:送信部A
4:受信部A
5:送信電力制御部
6:モニター電圧演算部
7:端子部
8:受信電力計測部
9:目標値設定部
10:送信部B
11:受信部B
12:受信電力計測部
13:送信データ生成部
14:送信電力計測部。
A:
C:伝送経路

Claims (1)

  1. 一方と他方の無線局での電波の送受信に指向性アンテナを用いた中継用の無線通信システムにおいて、
    前記他方の無線局には、
    受信電力を計測し、計測した受信電力値を当該他方の無線局から前記一方の無線局に送信する信号に重畳させて伝送する送信データ生成部を設け、
    前記一方の無線局には、
    前記他方の無線局から伝送された前記受信電力値に応じて送信電力制御信号を発生し、当該一方の無線局から送信される送信電力を前記送信電力制御信号に応じて制御する送信電力制御部と、当該一方の無線局の受信部から入力される電界強度レベルを前記送信電力制御部より出力される前記送信電力制御信号により補正し、アナログ強度レベル電圧を算出するモニター電圧演算部とを設け、
    前記一方の無線局において、前記アナログ強度レベル電圧の値から前記指向性アンテナのアラインメント調整が得られるように構成したことを特徴とする無線通信システム。
JP2008155517A 2008-06-13 2008-06-13 無線通信システム Active JP5317543B2 (ja)

Priority Applications (1)

Application Number Priority Date Filing Date Title
JP2008155517A JP5317543B2 (ja) 2008-06-13 2008-06-13 無線通信システム

Applications Claiming Priority (1)

Application Number Priority Date Filing Date Title
JP2008155517A JP5317543B2 (ja) 2008-06-13 2008-06-13 無線通信システム

Related Child Applications (1)

Application Number Title Priority Date Filing Date
JP2013141430A Division JP2013219833A (ja) 2013-07-05 2013-07-05 無線通信システム

Publications (2)

Publication Number Publication Date
JP2009302939A JP2009302939A (ja) 2009-12-24
JP5317543B2 true JP5317543B2 (ja) 2013-10-16

Family

ID=41549369

Family Applications (1)

Application Number Title Priority Date Filing Date
JP2008155517A Active JP5317543B2 (ja) 2008-06-13 2008-06-13 無線通信システム

Country Status (1)

Country Link
JP (1) JP5317543B2 (ja)

Families Citing this family (3)

* Cited by examiner, † Cited by third party
Publication number Priority date Publication date Assignee Title
JP5548598B2 (ja) * 2010-11-30 2014-07-16 日田アンテナ工事株式会社 通信システム
JP5979926B2 (ja) * 2012-03-19 2016-08-31 株式会社日立国際電気 無線装置
JP2022171137A (ja) * 2021-04-30 2022-11-11 パナソニックホールディングス株式会社 無線電力伝送システム、及び無線電力伝送方法

Family Cites Families (5)

* Cited by examiner, † Cited by third party
Publication number Priority date Publication date Assignee Title
JPH09200115A (ja) * 1996-01-23 1997-07-31 Toshiba Corp 無線通信システムにおける無線基地局のアンテナ指向性制御方法および可変指向性アンテナ
JP3665628B2 (ja) * 2001-08-07 2005-06-29 株式会社東芝 無線通信システム及び無線端末装置
JP3774426B2 (ja) * 2001-09-28 2006-05-17 株式会社東芝 基地局装置、通信システム及びフレーム送信方法
JP2004201137A (ja) * 2002-12-19 2004-07-15 Ntt Docomo Inc 指向性ビーム通信システム、指向性ビーム通信方法、基地局及び制御装置
JP2009118163A (ja) * 2007-11-06 2009-05-28 Hitachi Kokusai Electric Inc 無線伝送装置

Also Published As

Publication number Publication date
JP2009302939A (ja) 2009-12-24

Similar Documents

Publication Publication Date Title
US5564075A (en) Method and system for controlling the power at which an access packet is sent by a mobile in a mobile radio system
KR101751630B1 (ko) 신호 조절 방법, 장치, 및 셀
US9699010B2 (en) Wireless communication apparatus
CN105375935A (zh) 用于发射接收单元的补偿模块、无线电系统以及用于运行该补偿模块和无线电系统的方法
JP2008216084A (ja) 信号源位置推定方法および伝搬路状況推定方法
JP5317543B2 (ja) 無線通信システム
CN100508659C (zh) 功率放大系统和方法
US11063351B2 (en) Antenna angle adjustment device, antenna angle adjustment method, and communications device
US20140363158A1 (en) Fiber-optic communication apparatus capable of operating in a normal mode and a power calibration mode, and communication device used within the same
JP2013219833A (ja) 無線通信システム
JP2012137478A (ja) 距離測定装置および距離補正手段
US8060007B2 (en) Adaptive crosspole technique
JP5185017B2 (ja) 同軸ケーブルの損失補正システム
KR101756807B1 (ko) 무선 통신 시스템의 전송 전력 제어 장치 및 방법
JP6330172B2 (ja) 無線通信システムおよび無線通信装置
KR100328571B1 (ko) 시간 지연을 보상할 수 있는 이동통신 시스템
CN111211823B (zh) 切换发送天线的方法和装置,存储介质和电子设备
JP2017059933A (ja) 通信システム、基地局及びアンテナ制御方法
JP6431775B2 (ja) 位相検出装置及び衛星中継器
KR101905434B1 (ko) 수동상호변조왜곡 신호 측정 장치 및 방법
KR101469103B1 (ko) 간섭 제거 중계기 및 그 중계 방법
KR20020068967A (ko) 안테나 정재파비 측정장치
JP4680121B2 (ja) 信号伝送システム
KR100596724B1 (ko) 시분할 이중화 방식 기반 소형 알에프 중계기용 동기장치및 방법
KR101545752B1 (ko) 무선통신시스템에서 기지국의 선로 손실을 보상하기 위한 장치 및 방법

Legal Events

Date Code Title Description
A621 Written request for application examination

Free format text: JAPANESE INTERMEDIATE CODE: A621

Effective date: 20110602

A977 Report on retrieval

Free format text: JAPANESE INTERMEDIATE CODE: A971007

Effective date: 20121113

A131 Notification of reasons for refusal

Free format text: JAPANESE INTERMEDIATE CODE: A131

Effective date: 20121120

A521 Request for written amendment filed

Free format text: JAPANESE INTERMEDIATE CODE: A523

Effective date: 20130117

TRDD Decision of grant or rejection written
A01 Written decision to grant a patent or to grant a registration (utility model)

Free format text: JAPANESE INTERMEDIATE CODE: A01

Effective date: 20130618

A61 First payment of annual fees (during grant procedure)

Free format text: JAPANESE INTERMEDIATE CODE: A61

Effective date: 20130709

R150 Certificate of patent or registration of utility model

Ref document number: 5317543

Country of ref document: JP

Free format text: JAPANESE INTERMEDIATE CODE: R150

Free format text: JAPANESE INTERMEDIATE CODE: R150

R250 Receipt of annual fees

Free format text: JAPANESE INTERMEDIATE CODE: R250

R250 Receipt of annual fees

Free format text: JAPANESE INTERMEDIATE CODE: R250

R250 Receipt of annual fees

Free format text: JAPANESE INTERMEDIATE CODE: R250

R250 Receipt of annual fees

Free format text: JAPANESE INTERMEDIATE CODE: R250

R250 Receipt of annual fees

Free format text: JAPANESE INTERMEDIATE CODE: R250

R250 Receipt of annual fees

Free format text: JAPANESE INTERMEDIATE CODE: R250

R250 Receipt of annual fees

Free format text: JAPANESE INTERMEDIATE CODE: R250

R250 Receipt of annual fees

Free format text: JAPANESE INTERMEDIATE CODE: R250

R250 Receipt of annual fees

Free format text: JAPANESE INTERMEDIATE CODE: R250

S531 Written request for registration of change of domicile

Free format text: JAPANESE INTERMEDIATE CODE: R313531

S533 Written request for registration of change of name

Free format text: JAPANESE INTERMEDIATE CODE: R313533

R350 Written notification of registration of transfer

Free format text: JAPANESE INTERMEDIATE CODE: R350

R250 Receipt of annual fees

Free format text: JAPANESE INTERMEDIATE CODE: R250