JP5261237B2 - 液晶表示パネル - Google Patents
液晶表示パネル Download PDFInfo
- Publication number
- JP5261237B2 JP5261237B2 JP2009067515A JP2009067515A JP5261237B2 JP 5261237 B2 JP5261237 B2 JP 5261237B2 JP 2009067515 A JP2009067515 A JP 2009067515A JP 2009067515 A JP2009067515 A JP 2009067515A JP 5261237 B2 JP5261237 B2 JP 5261237B2
- Authority
- JP
- Japan
- Prior art keywords
- sub
- slit
- liquid crystal
- pixel
- crystal display
- Prior art date
- Legal status (The legal status is an assumption and is not a legal conclusion. Google has not performed a legal analysis and makes no representation as to the accuracy of the status listed.)
- Expired - Fee Related
Links
- 239000004973 liquid crystal related substance Substances 0.000 claims abstract description 128
- 239000000758 substrate Substances 0.000 claims abstract description 42
- 239000003086 colorant Substances 0.000 claims abstract description 13
- 239000010408 film Substances 0.000 description 28
- 238000002834 transmittance Methods 0.000 description 21
- 230000005684 electric field Effects 0.000 description 17
- 238000006073 displacement reaction Methods 0.000 description 16
- 238000000034 method Methods 0.000 description 13
- 230000004048 modification Effects 0.000 description 12
- 238000012986 modification Methods 0.000 description 12
- 239000011347 resin Substances 0.000 description 8
- 229920005989 resin Polymers 0.000 description 8
- 230000000052 comparative effect Effects 0.000 description 6
- 230000008569 process Effects 0.000 description 6
- 239000004065 semiconductor Substances 0.000 description 5
- VYPSYNLAJGMNEJ-UHFFFAOYSA-N silicon dioxide Inorganic materials O=[Si]=O VYPSYNLAJGMNEJ-UHFFFAOYSA-N 0.000 description 5
- 230000009977 dual effect Effects 0.000 description 4
- 230000000694 effects Effects 0.000 description 4
- 238000002161 passivation Methods 0.000 description 4
- 229910052581 Si3N4 Inorganic materials 0.000 description 3
- 230000007423 decrease Effects 0.000 description 3
- 239000000463 material Substances 0.000 description 3
- HQVNEWCFYHHQES-UHFFFAOYSA-N silicon nitride Chemical compound N12[Si]34N5[Si]62N3[Si]51N64 HQVNEWCFYHHQES-UHFFFAOYSA-N 0.000 description 3
- 229910052814 silicon oxide Inorganic materials 0.000 description 3
- ZOKXTWBITQBERF-UHFFFAOYSA-N Molybdenum Chemical compound [Mo] ZOKXTWBITQBERF-UHFFFAOYSA-N 0.000 description 2
- 239000004642 Polyimide Substances 0.000 description 2
- 229910052782 aluminium Inorganic materials 0.000 description 2
- XAGFODPZIPBFFR-UHFFFAOYSA-N aluminium Chemical compound [Al] XAGFODPZIPBFFR-UHFFFAOYSA-N 0.000 description 2
- 230000015572 biosynthetic process Effects 0.000 description 2
- 239000004020 conductor Substances 0.000 description 2
- 239000011521 glass Substances 0.000 description 2
- 229910052751 metal Inorganic materials 0.000 description 2
- 239000002184 metal Substances 0.000 description 2
- 229910052750 molybdenum Inorganic materials 0.000 description 2
- 239000011733 molybdenum Substances 0.000 description 2
- 229920002120 photoresistant polymer Polymers 0.000 description 2
- 239000004033 plastic Substances 0.000 description 2
- 229920001721 polyimide Polymers 0.000 description 2
- 239000010453 quartz Substances 0.000 description 2
- 239000010409 thin film Substances 0.000 description 2
- 229910021417 amorphous silicon Inorganic materials 0.000 description 1
- 230000008901 benefit Effects 0.000 description 1
- 239000003990 capacitor Substances 0.000 description 1
- 230000008859 change Effects 0.000 description 1
- 230000003247 decreasing effect Effects 0.000 description 1
- 239000012535 impurity Substances 0.000 description 1
- 229910052738 indium Inorganic materials 0.000 description 1
- APFVFJFRJDLVQX-UHFFFAOYSA-N indium atom Chemical compound [In] APFVFJFRJDLVQX-UHFFFAOYSA-N 0.000 description 1
- 230000001678 irradiating effect Effects 0.000 description 1
- 239000000203 mixture Substances 0.000 description 1
- 229910021420 polycrystalline silicon Inorganic materials 0.000 description 1
- 230000009467 reduction Effects 0.000 description 1
- 239000003566 sealing material Substances 0.000 description 1
- 125000006850 spacer group Chemical group 0.000 description 1
- YVTHLONGBIQYBO-UHFFFAOYSA-N zinc indium(3+) oxygen(2-) Chemical compound [O--].[Zn++].[In+3] YVTHLONGBIQYBO-UHFFFAOYSA-N 0.000 description 1
Images
Classifications
-
- G—PHYSICS
- G02—OPTICS
- G02F—OPTICAL DEVICES OR ARRANGEMENTS FOR THE CONTROL OF LIGHT BY MODIFICATION OF THE OPTICAL PROPERTIES OF THE MEDIA OF THE ELEMENTS INVOLVED THEREIN; NON-LINEAR OPTICS; FREQUENCY-CHANGING OF LIGHT; OPTICAL LOGIC ELEMENTS; OPTICAL ANALOGUE/DIGITAL CONVERTERS
- G02F1/00—Devices or arrangements for the control of the intensity, colour, phase, polarisation or direction of light arriving from an independent light source, e.g. switching, gating or modulating; Non-linear optics
- G02F1/01—Devices or arrangements for the control of the intensity, colour, phase, polarisation or direction of light arriving from an independent light source, e.g. switching, gating or modulating; Non-linear optics for the control of the intensity, phase, polarisation or colour
- G02F1/13—Devices or arrangements for the control of the intensity, colour, phase, polarisation or direction of light arriving from an independent light source, e.g. switching, gating or modulating; Non-linear optics for the control of the intensity, phase, polarisation or colour based on liquid crystals, e.g. single liquid crystal display cells
- G02F1/133—Constructional arrangements; Operation of liquid crystal cells; Circuit arrangements
- G02F1/1333—Constructional arrangements; Manufacturing methods
- G02F1/1337—Surface-induced orientation of the liquid crystal molecules, e.g. by alignment layers
- G02F1/133707—Structures for producing distorted electric fields, e.g. bumps, protrusions, recesses, slits in pixel electrodes
-
- G—PHYSICS
- G02—OPTICS
- G02F—OPTICAL DEVICES OR ARRANGEMENTS FOR THE CONTROL OF LIGHT BY MODIFICATION OF THE OPTICAL PROPERTIES OF THE MEDIA OF THE ELEMENTS INVOLVED THEREIN; NON-LINEAR OPTICS; FREQUENCY-CHANGING OF LIGHT; OPTICAL LOGIC ELEMENTS; OPTICAL ANALOGUE/DIGITAL CONVERTERS
- G02F1/00—Devices or arrangements for the control of the intensity, colour, phase, polarisation or direction of light arriving from an independent light source, e.g. switching, gating or modulating; Non-linear optics
- G02F1/01—Devices or arrangements for the control of the intensity, colour, phase, polarisation or direction of light arriving from an independent light source, e.g. switching, gating or modulating; Non-linear optics for the control of the intensity, phase, polarisation or colour
- G02F1/13—Devices or arrangements for the control of the intensity, colour, phase, polarisation or direction of light arriving from an independent light source, e.g. switching, gating or modulating; Non-linear optics for the control of the intensity, phase, polarisation or colour based on liquid crystals, e.g. single liquid crystal display cells
- G02F1/133—Constructional arrangements; Operation of liquid crystal cells; Circuit arrangements
- G02F1/1333—Constructional arrangements; Manufacturing methods
- G02F1/1343—Electrodes
- G02F1/134309—Electrodes characterised by their geometrical arrangement
- G02F1/134336—Matrix
-
- G—PHYSICS
- G02—OPTICS
- G02F—OPTICAL DEVICES OR ARRANGEMENTS FOR THE CONTROL OF LIGHT BY MODIFICATION OF THE OPTICAL PROPERTIES OF THE MEDIA OF THE ELEMENTS INVOLVED THEREIN; NON-LINEAR OPTICS; FREQUENCY-CHANGING OF LIGHT; OPTICAL LOGIC ELEMENTS; OPTICAL ANALOGUE/DIGITAL CONVERTERS
- G02F1/00—Devices or arrangements for the control of the intensity, colour, phase, polarisation or direction of light arriving from an independent light source, e.g. switching, gating or modulating; Non-linear optics
- G02F1/01—Devices or arrangements for the control of the intensity, colour, phase, polarisation or direction of light arriving from an independent light source, e.g. switching, gating or modulating; Non-linear optics for the control of the intensity, phase, polarisation or colour
- G02F1/13—Devices or arrangements for the control of the intensity, colour, phase, polarisation or direction of light arriving from an independent light source, e.g. switching, gating or modulating; Non-linear optics for the control of the intensity, phase, polarisation or colour based on liquid crystals, e.g. single liquid crystal display cells
- G02F1/133—Constructional arrangements; Operation of liquid crystal cells; Circuit arrangements
- G02F1/1333—Constructional arrangements; Manufacturing methods
- G02F1/1335—Structural association of cells with optical devices, e.g. polarisers or reflectors
- G02F1/133509—Filters, e.g. light shielding masks
- G02F1/133514—Colour filters
-
- G—PHYSICS
- G02—OPTICS
- G02F—OPTICAL DEVICES OR ARRANGEMENTS FOR THE CONTROL OF LIGHT BY MODIFICATION OF THE OPTICAL PROPERTIES OF THE MEDIA OF THE ELEMENTS INVOLVED THEREIN; NON-LINEAR OPTICS; FREQUENCY-CHANGING OF LIGHT; OPTICAL LOGIC ELEMENTS; OPTICAL ANALOGUE/DIGITAL CONVERTERS
- G02F1/00—Devices or arrangements for the control of the intensity, colour, phase, polarisation or direction of light arriving from an independent light source, e.g. switching, gating or modulating; Non-linear optics
- G02F1/01—Devices or arrangements for the control of the intensity, colour, phase, polarisation or direction of light arriving from an independent light source, e.g. switching, gating or modulating; Non-linear optics for the control of the intensity, phase, polarisation or colour
- G02F1/13—Devices or arrangements for the control of the intensity, colour, phase, polarisation or direction of light arriving from an independent light source, e.g. switching, gating or modulating; Non-linear optics for the control of the intensity, phase, polarisation or colour based on liquid crystals, e.g. single liquid crystal display cells
- G02F1/133—Constructional arrangements; Operation of liquid crystal cells; Circuit arrangements
- G02F1/1333—Constructional arrangements; Manufacturing methods
- G02F1/1343—Electrodes
- G02F1/134309—Electrodes characterised by their geometrical arrangement
- G02F1/134372—Electrodes characterised by their geometrical arrangement for fringe field switching [FFS] where the common electrode is not patterned
Landscapes
- Physics & Mathematics (AREA)
- Nonlinear Science (AREA)
- Mathematical Physics (AREA)
- Chemical & Material Sciences (AREA)
- Crystallography & Structural Chemistry (AREA)
- General Physics & Mathematics (AREA)
- Optics & Photonics (AREA)
- Spectroscopy & Molecular Physics (AREA)
- Geometry (AREA)
- Liquid Crystal (AREA)
Description
めに透過率が他の色のサブ画素の透過率と異なるサブ画素を有するFFSモードの液晶表
示パネルに関する。
あるため、表示用として多くの電子機器に使用されている。液晶表示パネルは、所定方向
に整列した液晶分子の向きを電界により変えて、液晶層の光の透過量を変化させて画像を
表示させるものである。これには、外光が液晶層に入射し、反射板で反射されて再び液晶
層を透過して出射される反射型のものと、バックライト装置からの入射光が液晶層を透過
する透過型のものと、その両方の性質を備えた半透過型のものとがある。
界方式のものとがある。縦電界方式の液晶表示パネルは、液晶層を挟んで配置される一対
の電極により、概ね縦方向の電界を液晶分子に印加するものである。この縦電界方式の液
晶表示パネルとしては、TN(Twisted Nematic)モード、VA(Vertical Alignment)
モード、MVA(Multi-domain Vertical Alignment)モード等のものが知られている。
横電界方式の液晶表示パネルは、液晶層を挟んで配置される一対の基板のうちの一方の内
面側に一対の電極が互いに絶縁して設けられており、概ね横方向の電界を液晶分子に対し
て印加するものである。この横電界方式の液晶表示パネルとしては、一対の電極が平面視
で重ならないIPS(In-Plane Switching)モードのものと、重なるFFS(Fringe Fie
ld Switching)モードのものとが知られている。横電界方式の液晶表示パネルは広い視野
角を得ることができるという効果があるので、近年、多く用いられるようになってきてい
る。
ラー表示型の液晶表示装置の1画素(1ピクセル)の色は、例えば、R(赤)、G(緑)
、B(青)の光3原色のカラーフィルターを個別に備えている各サブ画素を透過した光の
混色によって定まる。例えば、8ビットの0階調〜255階調に対応した電圧がR、G、
Bの各サブ画素に印加されると各サブ画素の輝度は256種類となり、それらの各サブ画
素の輝度の組み合わせによって1画素で多くの色を表示することができるようになる。こ
のようなR、G、Bの各サブ画素で1画素が形成されている液晶表示パネルでは、R、G
、Bの全てのサブ画素を点灯させることによって白色表示を得ている。
、Bの各サブ画素の色度や輝度バランスが崩れ、R、G、Bの各サブ画素に同一階調の電
圧が印加されても白色にならず、黄色がかる現象が生じる。このような問題点を簡単な構
造で解決する方法として、下記特許文献1に示されているように、遮光層によってR、G
、Bの少なくとも1つのサブ画素の開口率を小さく調整する方法が考えられている。
の液晶表示パネルのようなスリット状開口を有する上電極を備えていない。一方、FFS
モードの液晶表示パネルにおいては、上記特許文献2に開示されているように、スリット
状開口の端部には液晶分子の回転方向が逆になるリバースツイストドメインが存在するた
め、スリット状開口の端部を遮光部材で遮光することが行われている。
時の位置ずれ等によって遮光の割合が変化し、輝度が大きく変動してしまうことがある。
例えば、スリット状開口の形成位置のずれ、スイッチング素子としての薄膜トランジスタ
ー(TFT:Thin Film Transistor)や走査線や信号線などを覆う遮光層の形成位置のず
れ、スリット状開口が形成されるアレイ基板と遮光層が形成されるカラーフィルター基板
の張り合わせのずれなどにより、スリット状開口と遮光層の相対的な位置ずれが生じる。
上電極部分でバックライトからの光が透過するため、スリット状開口は、バックライトか
らの透過率を最大限に高くするために、スリット状開口の端部を遮光層の近傍ないし遮光
層と重畳する位置まで延在して形成されている。そのため、スリット状開口と遮光層の相
対的な位置がずれると、スリット状開口の端部が表示領域内に移動してしまうことがある
。
経て、下電極と上電極との間に形成された電界によって液晶分子が駆動される。そのため
、FFSモードの液晶表示パネルは、スリット状開口の端部以外は液晶分子の駆動方向一
定方向に定まるために正常な表示ができるが、スリット状開口の端部は液晶分子の駆動方
向が一方向に定まらないために正常な表示ができない。そのため、スリット状開口と遮光
層の相対的な位置ずれが生じてスリット状開口の端部が表示領域内に移動してしまうと、
透過率が大きく低下してしまうため、ホワイトバランスがずれてしまう。
決すべくなされたものである。すなわち、本発明は、1画素を形成する複数の色のサブ画
素のうち、少なくとも1つの色のサブ画素の透過率を遮光層によることなく他の色のサブ
画素の透過率よりも小さくすると共に、スリット状開口と遮光層の相対的な位置ずれが生
じても、ホワイトバランスを適正に維持し得るFFSモードの液晶表示パネルを提供する
ことを目的とする。
液晶層を挟持して対向配置された第1基板及び第2基板を有し、
前記第1基板には、
互いに絶縁された状態で交差するように形成された複数の走査線及び信号線と、前記走査線及び信号線によって矩形に区画されたサブ画素毎に形成された複数のスリット状開口を有する上電極と、前記上電極と絶縁層を挟んで前記第1基板側に形成された下電極とを備え、
前記第2基板には、
平面視で、前記走査線及び信号線と重畳するように形成された遮光層と、前記走査線及び信号線によって等分に区画された複数のサブ画素毎に形成されたカラーフィルター層を備え、
それぞれ異なる色のカラーフィルター層を有する複数のサブ画素で1画素が構成された液晶表示パネルであって、
少なくとも1色に対応するサブ画素では、スリット状開口の長手方向の長さが他の色に対応するサブ画素のスリット状開口の長手方向の長さよりも短くされていることによって、前記スリット状開口の両端部で前記遮光層との間に平面視で重畳しない領域を有し、
前記複数のサブ画素のうち残りの色に対応するサブ画素では、前記スリット状開口の両端部が前記遮光層の近傍ないし前記遮光層に重畳する位置まで延在している。
また、第2基板には、平面視で、前記走査線及び信号線と重畳するように形成された遮光層と、前記走査線及び信号線によって等分に区画された複数のサブ画素毎に形成されたカラーフィルター層を備えている。
前記少なくとも1色に対応するサブ画素は前記緑色のサブ画素であることが好ましい。
。本発明の液晶表示パネルによれば、緑色のサブ画素をホワイトバランス調整用サブ画素
としたので、スリット状開口と遮光層の相対的な位置ずれが生じても、緑色のサブ画素の
透過率は変動し難いため、ホワイトバランスのずれが目立たなくなる。なお、ホワイトバ
ランスを精密に制御するために、緑色のサブ画素のみでなく、他の色のサブ画素、例えば
青色のサブ画素に対しても適用することができる。
、以下に示す実施形態は本発明をここに記載したものに限定することを意図するものでは
なく、本発明は特許請求の範囲に示した技術思想を逸脱することなく種々の変更を行った
ものにも均しく適用し得るものである。なお、この明細書における説明のために用いられ
た各図面においては、各層や各部材を図面上で認識可能な程度の大きさとするため、各層
や各部材毎に縮尺を異ならせて表示しており、必ずしも実際の寸法に比例して表示されて
いるものではない。
第1実施形態のFFSモードの液晶表示パネル10A要部の構成を図1〜図3を用いて
説明する。なお、図1Aは第1実施形態の液晶表示パネルの1画素分の平面図であり、図
1Bは図1Aにおいてスリット状開口と遮光層の相対的な位置ずれが生じた状態を示す平
面図である。図2は、図1のII−II線の断面図である。図3は図1のIII−III線の断面図
である。図1に示すように、液晶表示パネル10Aの1画素11Aは、光の三原色である
赤色のサブ画素12RA、緑色のサブ画素12GA及び青色のサブ画素12BAで構成さ
れており、これら3つのサブ画素の混色によって1画素11Aの色が定まる。
され、表示面側には第2偏光板14が貼付され、第1偏光板13の背面側には液晶表示パ
ネル10Aに光を照射するバックライト装置15が配設されている。
持される構成となっている。アレイ基板ARは透明な絶縁性を有するガラスや石英、プラ
スチック等からなる第1透明基板16を基体としている。第1透明基板16上には、図1
に示すように、液晶層LCに面する側に、アルミニウムやモリブデン等の金属からなる走
査線17が図1のX軸方向(行方向)に延在するように形成されている。走査線17から
はゲート電極Gが各サブ画素12RA、12GA、12BAの左下に延在するように形成
されている。
透明なゲート絶縁膜18が積層されている。そして、平面視でゲート電極Gと重なるゲー
ト絶縁膜18上には非晶質シリコンや多結晶シリコンなどからなる半導体層19が形成さ
れている。ゲート絶縁膜18上にはアルミニウムやモリブデン等の金属からなる複数の信
号線20が、各サブ画素12RA、12GA、12BAの左側に図1のY軸方向(列方向
)に延在するように形成されている。この信号線20からはソース電極Sが延在され、こ
のソース電極Sは半導体層19の表面と部分的に接触している。
ゲート絶縁膜18上に設けられており、このドレイン電極Dはソース電極Sと近接配置さ
れて半導体層19と部分的に接触している。走査線17と信号線20とによって囲まれた
領域が1サブ画素領域に相当する。1画素は略正方形であるので、これを3等分するサブ
画素12RA、12GA、12BAは走査線17側が短辺で信号線20側が長辺の長方形
となる。ゲート電極G、ゲート絶縁膜18、半導体層19、ソース電極S、ドレイン電極
Dによってスイッチング素子となるTFTが構成され、それぞれのサブ画素12RA、1
2GA、12BAにこのTFTが形成されている。
化ケイ素や酸化ケイ素等からなる透明なパッシベーション膜21が積層されている。そし
て、パッシベーション膜21を覆うようにして、例えばフォトレジスト等の透明樹脂材料
からなる平坦化樹脂膜22が積層されている。そして、平坦化樹脂膜22を覆うようにし
てITO(Indium Thin Oxide)ないしIZO(Indium Zinc Oxide)等の透明導電性材料
からなる下電極23が形成されている。平坦化樹脂膜22とパッシベーション膜21を貫
通してドレイン電極Dに達するコンタクトホール24が形成されており、このコンタクト
ホール24を介して下電極23とドレイン電極Dとが電気的に接続されている。そのため
、ここでは下電極23は画素電極として作動する。
縁膜25が積層されている。そして、電極間絶縁膜25を覆うようにしてITOないしI
ZO等の透明導電性材料からなる上電極26が形成されている。各サブ画素の上電極26
は一体に形成されており、共通電極として作動する。図1に示すように、上電極26には
複数のスリット状開口27Aが形成されている。スリット状開口27Aは長円形状であり
、その長手方向は走査線17の延在方向に対して右下がりに例えば5度傾斜している。上
電極26を覆ってポリイミドからなる配向膜28が積層されている。配向膜28には信号
線20の延在方向と平行に液晶方向配向処理(ラビング処理)が施されている。
なる第2透明基板29を基体としている。第2透明基板29には、遮光層30と、サブ画
素毎に異なる色の光(例えば、R、G、B)を透過するカラーフィルター層31が形成さ
れている。図1に示すように、遮光層30はアレイ基板ARの不透明な領域、すなわち、
走査線17、信号線20、TFT、ドレイン電極Dと平面視で重なるように形成されてい
る。サブ画素12RA、12GA、12BAの遮光層30が形成されていない領域が表示
領域であり、そこにはカラーフィルター層31が形成されている。
樹脂材料からなるオーバーコート層32が積層されている。このオーバーコート層32は
異なる色のカラーフィルター層31による段差を平坦にし、また、遮光層30やカラーフ
ィルター層31から流出する不純物が液晶層LCに入らないように遮断するために設けら
れているものである。オーバーコート層32を覆うようにして例えばポリイミドからなる
配向膜33が形成されている。この配向膜33には配向膜28と逆方向の液晶方向配向処
理が施されている。
させ、両基板の周囲にシール材(図示省略)を設けることにより両基板を貼り合せ、両基
板間に液晶を充填することにより第1実施形態に係る液晶表示パネル10Aが得られる。
なお、液晶層LCを所定の厚みに保持するためのスペーサ(図示省略)がカラーフィルタ
ー基板CFに形成されている。
されると、両電極23、26間に電界が発生して液晶層LCの液晶分子の配向が変化する
。これにより、液晶層LCの光透過率が変化して画像を表示することとなる。下電極23
と上電極26と電極間絶縁膜25により補助容量が形成され、TFTがOFFになったと
きに両電極23、26間の電界を所定時間保持される。
例えば8ビットの階調(0階調〜255階調)に対応した電圧が印加され、それぞれ25
6種類の濃度で表示することができる。設計上は、全てのサブ画素12RA、12GA、
12BAが同時に同一の階調となっていれば、白表示となる。しかしながら、第1実施形
態の液晶表示パネル10Aでは、液晶表示パネル10A内の液晶分子の挙動の差異やプロ
セス変動などにより、R、G、Bの色度や輝度バランスが崩れて、全てのサブ画素12R
A、12GA、12BAに同階調の電圧が印加されても、完全な白色にならずに黄色がか
ることがある。
ブ画素12GAは、ホワイトバランス調整用サブ画素とされ、スリット状開口27Aの長
手方向の長さL2が赤色及び青色のサブ画素12RA、12BAのスリット状開口27A
の長手方向の長さL1よりも短くされている。この場合、遮光層30は、平面視で信号線
20と重畳する信号線重畳領域及び走査線17と重畳する走査線重畳領域とを有し、隣り
合う信号線重畳領域の間の距離W及び走査線重畳領域の間の距離Hが全てのサブ画素にお
いて同一とされている。FFSモードの液晶表示パネルでは、下電極と上電極との間に形
成された電界によって、スリット状開口27Aとスリット状開口27A間の上電極26と
の間の液晶分子が駆動される。そのため、第1実施形態のFFSモードの液晶表示パネル
10Aにおいては、スリット状開口27A部分及びスリット状開口27A間の上電極26
部分でバックライトからの光が透過する。
Aのスリット状開口27Aの長さを短くすると、液晶を駆動する電界の生成領域が狭くな
ることから、透過率が赤色及び青色のサブ画素12RA、12BAよりも低くなる。した
がって、実施形態1の液晶表示パネル10Aは、特許文献1に開示されている液晶表示パ
ネルのようにTFTや走査線や信号線などを覆う遮光層によって上電極26及びスリット
状開口27Aを遮光することなく、R、G、Bのサブ画素の少なくとも1つのサブ画素の
透過率を小さくさせてホワイトバランスの調整を行うことができるようになる。
信号線20などを覆う遮光層30を形成するときの露光用マスクの位置ずれ、スリット状
開口27Aが形成されたアレイ基板ARと遮光層30が形成されたカラーフィルター基板
CFを張り合わせるときのずれなどにより、スリット状開口27Aと遮光層30の相対的
な位置がずれることがある。FFSモードの液晶表示パネル10Aにおいては、図1Aの
赤色及び青色のサブ画素12RA、12BA部分のように、透過率を最大限に高くするた
めに、スリット状開口27Aは遮光層30の近傍ないし遮光層30と重畳する位置まで延
在するように形成されている。
の長手方向にずれた場合には、スリット状開口27Aの一方側の端部が表示領域側に移動
してしまうことがある。この状態を図1Bに示す。なお、図1Bは図1Aの状態からカラ
ーフィルター基板CFが右側にずれて赤色及び青色のサブ画素12RA、12BAのスリ
ット状開口27Aの一方側の端部が表示領域側に移動してしまった状態を示している。こ
のような状態となると、赤色及び青色のサブ画素12RA、12BAの透過率は低下して
しまう。
短いために、スリット状開口27Aと遮光層30の相対的な位置がスリット状開口27A
の長手方向にずれても、図1Bに示したように、スリット状開口27Aの端部が遮光層3
0によって覆われない状態を維持できる。そのため、緑色のサブ画素12GAでは、スリ
ット状開口27Aと遮光層30の相対的な位置がスリット状開口27Aの長手方向にずれ
ても、透過率の減少が起こり難くなる。このことは、人は、赤色及び青色の視感度が緑色
の視感度よりも低いので、上述のような赤色及び青色のサブ画素12RA、12BAの透
過率の低下は目立たず、ホワイトバランスのずれが実質的に感じられないことを意味する
。
なお、第1実施形態の液晶表示パネル10Aとしては、スリット状開口27Aの延在方
向をラビング処理の方向に対して1方向のみに傾斜した例を示した。しかしながら、本発
明は、スリット状開口の傾斜を右上がりに傾斜している領域と右下がりに傾斜している領
域を備えた、いわゆるデュアルドメイン型の液晶表示パネル10Bにも適用することがで
きる。この第1実施形態の液晶表示パネル10Aの変形例を図4A及び図4Bに示す。な
お、図4Aは1画素分の平面図であり、図4Bは図4Aにおいてスリット状開口と遮光層
の相対的な位置ずれが生じた状態を示す平面図である。
0Aと構成が相違する点は、ホワイトバランス調整用サブ画素のスリット状開口27Bの
形状及び配置のみである。そのため、図4A及び図4Bにおいては第1実施形態の液晶表
示パネル10Aと同一の構成部分には同一の参照符号を付与してその詳細な説明は省略す
る。このように、デュアルドメイン型の液晶表示パネル10Bにおいても、ホワイトバラ
ンス調整用サブ画素である緑色のサブ画素12GBのスリット状開口27Bの長手方向の
長さL4を、赤色及び青色のサブ画素12RB、12BBのスリット状開口27Bの長手
方向の長さL3よりも短くすることにより、第1実施形態の液晶表示パネル10Aの場合
と同様の作用効果を奏することができる。
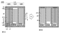
第2実施形態の液晶表示パネル10Cを図5A及び図5Bを用いて説明する。なお、図
5Aは1画素分の平面図であり、図5Bは図5Aにおいてスリット状開口と遮光層の相対
的な位置ずれが生じた状態を示す平面図である。この第2実施形態の液晶表示パネル10
Cが第1実施形態の液晶表示パネル10Aと構成が相違する点は、ホワイトバランス調整
用サブ画素のスリット状開口27Cの形状及び配置のみである。そのため、図5A及び図
5Bにおいては第1実施形態の液晶表示パネル10Aと同一の構成部分には同一の参照符
号を付与してその詳細な説明は省略する。
20の延在方向と同じくY軸方向(列方向)である。1画素11Cは略正方形であるので
、サブ画素12RC、12GC、12BCの形状はで縦長となる。したがって、第2実施
形態の液晶表示パネル10Cは、第1実施形態の液晶表示パネル10Aと比較して、スリ
ット状開口27Cの端部の数が少なく、端部におけるリバースツイストドメインが少ない
ので、透過率が高くなるという利点がある。そして、第2実施形態の液晶表示パネル10
Cでは、ホワイトバランス調整用サブ画素である緑色のサブ画素12GCのスリット状開
口27Cの長手方向の長さは、赤色と青色のサブ画素12RA、12BAのスリット状開
口の長手方向の長さよりもL5だけ短くされている。
2GCでは液晶を駆動する電界の形成領域が小さくなることから、緑色のサブ画素12G
Cの透過率は赤色及び青色のサブ画素12RC、12BCの透過率よりも低くなる。また
、第2実施形態の液晶表示パネル10Cは、図5Bに示すように、スリット状開口27C
と遮光層30の相対的な位置がスリット状開口27Cの長手方向にずれても、緑色のサブ
画素12GCは、スリット状開口27Cの長手方向の長さが短いために、そのスリット状
開口27Cの端部は遮光層30で覆われない状態を維持できる。そのため、ホワイトバラ
ンス調整用サブ画素である緑色のサブ画素12GCでは、スリット状開口27Cと遮光層
30の相対的な位置がスリット状開口27Cの長手方向にずれても、透過率の減少が起こ
り難くなる。
なお、第2実施形態の液晶表示パネル10Cとしては、スリット状開口27Cの延在方
向が信号線に沿って延在している例を示した。第2実施形態の変形例の液晶表示パネル1
0Dは、第2実施形態の液晶表示パネル10Cをデュアルドメイン型としてものである。
この第2実施形態の液晶表示パネル10Cの変形例を図6A及び図6Bに示す。なお、図
6Aは1画素分の平面図であり、図6Bは図6Aにおいてスリット状開口と遮光層の相対
的な位置ずれが生じた状態を示す平面図である。
ル10Cと構成が相違する点は、ホワイトバランス調整用サブ画素のスリット状開口27
Dの形状及び配置のみである。そのため、図6A及び図6Bにおいては、第2実施形態の
液晶表示パネル10Cと同一の構成部分には同一の参照符号を付与してその詳細な説明は
省略する。
イトバランスを精密に制御するため、緑色のサブ画素12GD及び青色のサブ画素12B
Dがホワイトバランス調整用サブ画素とされている。そして、緑色のサブ画素12GDの
スリット状開口27Dの長手方向の長さを赤色のサブ画素12RDのスリット状開口27
Dの長手方向の長さよりもL6だけ短く、かつ、青色のサブ画素12BDのスリット状開
口27Dの長手方向の長さを赤色のサブ画素12RDのスリット状開口27Dの長手方向
の長さよりもL7だけ短くされている。このような構成の液晶表示パネル10Dにおいて
も、第2実施形態の液晶表示パネル10Cと同様ないしそれ以上の効果を奏することがで
きる。なお、特に精密なホワイトバランスが必要ない場合には、青色のサブ画素12BD
のスリット状開口27Dの長手方向の長さは、赤色のサブ画素12RDのスリット状開口
27Dの長手方向の長さと同じにすることもできる。
以下において、本発明の液晶表示パネルの作用効果を確認するため、FFSモードの液
晶表示パネルに対して上記特許文献1に開示されているホワイトバランス調整法を適用し
た比較例の液晶表示パネル10Eを、図7A及び図7Bを用いて説明する。なお、図7A
は1画素分の平面図であり、図7Bは図7Aにおいてスリット状開口と遮光層の相対的な
位置ずれが生じた状態を示す平面図である。ただし、比較例の液晶表示パネル10Eは、
遮光層30Eの構成が相違している以外は実施形態1の液晶表示パネル10Aと実質的に
同一の構成を備えているので、図7A及び図7Bにおいては、第1実施形態の液晶表示パ
ネル10Aと同一の構成部分には同一の参照符号を付与してその詳細な説明は省略する。
7Eの形状及び配置は、赤色のサブ画素12RE、緑色のサブ画素12GE及び青色のサ
ブ画素12BEともに同一である。そして、遮光層30Eは、赤色のサブ画素12RE及
び青色のサブ画素12BEについては第1実施形態の液晶表示パネル10Aの場合と同様
な形状及び配置で形成されている。しかしながら、ホワイトバランス調整用サブ画素であ
る緑色のサブ画素12GEのみ、赤色のサブ画素12RE及び青色のサブ画素12BEよ
りも上電極26及びスリット状開口27Eを大きく遮光することによって、透過率を低下
させており、これによってホワイトバランスを調整している。
Eの長手方向にずれて、スリット状開口27Eの一方側の端部が表示領域側に移動してし
まうと、赤色のサブ画素12RE、緑色のサブ画素12GE及び青色のサブ画素12BE
共に透過率が低下する。このとき、赤色のサブ画素12RE及び青色のサブ画素12BE
は同程度に透過率が低下するが、ホワイトバランス調整用サブ画素である緑色のサブ画素
12GEでは、元々表示領域の面積が小さくされているため、透過率の低下割合が赤色の
サブ画素12RE及び青色のサブ画素12BEの透過率の低下割合よりも大きくなってし
まう。そのため、比較例の液晶表示パネル10Eでは、スリット状開口27Eと遮光層3
0Eの相対的な位置がずれた場合、実施形態1の液晶表示パネル10Aよりも大きくホワ
イトバランスがずれてしまうわけである。
位置がずれても、上記特許文献1に開示されているようなホワイトバランス調整法を採用
する場合よりもホワイトバランスを均一に維持できることが分かる。なお、上述の各実施
形態及び変形例においては、下電極が画素電極として作動し、上電極が共通電極として作
動する例を示したが、下電極が共通電極として作動し、上電極が画素電極として作動する
ようにしてもよい。また、上述の各実施形態及び変形例においては、下電極が平坦化樹脂
膜22上に形成されている例を示したが、本発明は、平坦化樹脂膜22を有せず、下電極
を第1透明基板の表面に形成されている形式のFFSモードの液晶表示パネルに対しても
適用可能である。
色のサブ画素 12GA〜12GE…緑色のサブ画素 12RA〜12RE…赤色のサブ
画素 13、14…偏光板 15…バックライト装置 16…第1透明基板 17…走査
線 18…ゲート絶縁膜 19…半導体層 20…信号線 21…パッシベーション膜
22…平坦化樹脂膜 23…下電極 24…コンタクトホール 25…電極間絶縁膜 2
6…上電極 27…カラーフィルター層 27A〜27E…スリット状開口 28…配向
膜 29…第2透明基板 30、30E…遮光層 31…カラーフィルター層 32…オ
ーバーコート層 33…配向膜 40…遮光層 AR…アレイ基板 CF…カラーフィル
ター基板 LC…液晶
Claims (2)
- 液晶層を挟持して対向配置された第1基板及び第2基板を有し、
前記第1基板には、
互いに絶縁された状態で交差するように形成された複数の走査線及び信号線と、前記走査線及び信号線によって矩形に区画されたサブ画素毎に形成された複数のスリット状開口を有する上電極と、前記上電極と絶縁層を挟んで前記第1基板側に形成された下電極とを備え、
前記第2基板には、
平面視で、前記走査線及び信号線と重畳するように形成された遮光層と、前記走査線及び信号線によって等分に区画された複数のサブ画素毎に形成されたカラーフィルター層を備え、
それぞれ異なる色のカラーフィルター層を有する前記複数のサブ画素で1画素が構成された液晶表示パネルであって、
少なくとも1色に対応するサブ画素では、スリット状開口の長手方向の長さが他の色に対応するサブ画素のスリット状開口の長手方向の長さよりも短くされていることによって、前記スリット状開口の両端部で前記遮光層との間に平面視で重畳しない領域を有し、
前記複数のサブ画素のうち残りの色に対応するサブ画素では、前記スリット状開口の両端部が前記遮光層の近傍ないし前記遮光層に重畳する位置まで延在している液晶表示パネル。 - 前記カラーフィルター層は、赤色、緑色、青色のカラーフィルター層からなり、前記少なくとも1色に対応するサブ画素は前記緑色のサブ画素である請求項1に記載の液晶表示パネル。
Priority Applications (2)
| Application Number | Priority Date | Filing Date | Title |
|---|---|---|---|
| JP2009067515A JP5261237B2 (ja) | 2009-03-19 | 2009-03-19 | 液晶表示パネル |
| US13/239,825 US8629962B2 (en) | 2009-03-19 | 2011-09-22 | Liquid crystal display panel having particular slit-shaped openings in an upper electrode |
Applications Claiming Priority (1)
| Application Number | Priority Date | Filing Date | Title |
|---|---|---|---|
| JP2009067515A JP5261237B2 (ja) | 2009-03-19 | 2009-03-19 | 液晶表示パネル |
Publications (2)
| Publication Number | Publication Date |
|---|---|
| JP2010217821A JP2010217821A (ja) | 2010-09-30 |
| JP5261237B2 true JP5261237B2 (ja) | 2013-08-14 |
Family
ID=42976710
Family Applications (1)
| Application Number | Title | Priority Date | Filing Date |
|---|---|---|---|
| JP2009067515A Expired - Fee Related JP5261237B2 (ja) | 2009-03-19 | 2009-03-19 | 液晶表示パネル |
Country Status (2)
| Country | Link |
|---|---|
| US (1) | US8629962B2 (ja) |
| JP (1) | JP5261237B2 (ja) |
Families Citing this family (18)
| Publication number | Priority date | Publication date | Assignee | Title |
|---|---|---|---|---|
| JP6002478B2 (ja) * | 2012-07-04 | 2016-10-05 | 株式会社ジャパンディスプレイ | 液晶表示装置 |
| JP5767186B2 (ja) * | 2012-09-28 | 2015-08-19 | 株式会社ジャパンディスプレイ | 表示装置及び電子機器 |
| EP2790058B1 (en) | 2013-04-10 | 2019-06-12 | Samsung Display Co., Ltd. | Horizontal-electric-field type active matrix liquid crystal display with reduced parasitic pixel capacitance |
| JP2014215347A (ja) | 2013-04-23 | 2014-11-17 | Jnc株式会社 | 液晶パネル |
| JP2014215348A (ja) * | 2013-04-23 | 2014-11-17 | Jnc株式会社 | 液晶パネル |
| KR102060802B1 (ko) | 2013-06-11 | 2019-12-31 | 삼성디스플레이 주식회사 | 액정 표시 장치 |
| CN103941487B (zh) * | 2013-08-05 | 2017-07-25 | 上海中航光电子有限公司 | 一种像素单元及其像素阵列 |
| CN103941461B (zh) * | 2013-08-26 | 2016-12-28 | 上海中航光电子有限公司 | 一种平板显示器 |
| JP6257259B2 (ja) * | 2013-10-18 | 2018-01-10 | 株式会社ジャパンディスプレイ | 表示装置 |
| CA2932115C (en) | 2013-12-24 | 2018-08-14 | Braun Gmbh | Personal hygiene implement |
| CN103926732B (zh) * | 2014-04-09 | 2017-05-17 | 厦门天马微电子有限公司 | 一种tft阵列基板、显示面板和显示装置 |
| JP6318006B2 (ja) | 2014-05-29 | 2018-04-25 | 株式会社ジャパンディスプレイ | 液晶表示装置 |
| CN104267549B (zh) * | 2014-10-14 | 2017-04-12 | 深圳市华星光电技术有限公司 | 液晶显示面板及其阵列基板 |
| CN104375319B (zh) | 2014-12-01 | 2017-07-25 | 京东方科技集团股份有限公司 | 黑矩阵结构及制备方法、阵列基板、彩膜基板及显示装置 |
| KR102504900B1 (ko) * | 2015-12-18 | 2023-02-28 | 엘지디스플레이 주식회사 | 액정 표시 장치 |
| KR20170095417A (ko) * | 2016-02-11 | 2017-08-23 | 삼성전자주식회사 | 발광 장치 및 전자 기기 |
| CN107167957B (zh) * | 2017-07-04 | 2019-11-26 | 厦门天马微电子有限公司 | 异形显示面板及显示装置 |
| JP6539372B2 (ja) * | 2018-03-27 | 2019-07-03 | 株式会社ジャパンディスプレイ | 液晶表示装置 |
Family Cites Families (8)
| Publication number | Priority date | Publication date | Assignee | Title |
|---|---|---|---|---|
| JP4401164B2 (ja) * | 2003-01-31 | 2010-01-20 | シャープ株式会社 | カラーフィルタ基板および表示装置 |
| KR100617612B1 (ko) * | 2003-08-26 | 2006-09-01 | 비오이 하이디스 테크놀로지 주식회사 | 에프에프에스 모드 액정표시장치 |
| JP2005099455A (ja) | 2003-09-25 | 2005-04-14 | Toshiba Matsushita Display Technology Co Ltd | 液晶表示装置 |
| JP4717533B2 (ja) * | 2005-07-06 | 2011-07-06 | 株式会社 日立ディスプレイズ | 表示装置 |
| JP5008929B2 (ja) * | 2006-09-11 | 2012-08-22 | ソニーモバイルディスプレイ株式会社 | 液晶装置の製造方法 |
| JP4329828B2 (ja) * | 2007-02-26 | 2009-09-09 | エプソンイメージングデバイス株式会社 | 液晶表示装置 |
| JP2011158690A (ja) * | 2010-02-01 | 2011-08-18 | Sony Corp | 液晶表示パネル及び電子機器 |
| CN102778792B (zh) * | 2011-06-08 | 2015-01-07 | 京东方科技集团股份有限公司 | 一种阵列基板及其制备方法、液晶显示器 |
-
2009
- 2009-03-19 JP JP2009067515A patent/JP5261237B2/ja not_active Expired - Fee Related
-
2011
- 2011-09-22 US US13/239,825 patent/US8629962B2/en active Active
Also Published As
| Publication number | Publication date |
|---|---|
| US20120008073A1 (en) | 2012-01-12 |
| US8629962B2 (en) | 2014-01-14 |
| JP2010217821A (ja) | 2010-09-30 |
Similar Documents
| Publication | Publication Date | Title |
|---|---|---|
| JP5261237B2 (ja) | 液晶表示パネル | |
| US12164200B2 (en) | Liquid crystal display panel | |
| JP5500712B2 (ja) | 液晶表示パネル | |
| JP5492586B2 (ja) | 液晶表示パネル及び電子機器 | |
| US7453086B2 (en) | Thin film transistor panel | |
| US8743323B2 (en) | Transmissive liquid crystal display panel comprising a subpixel for display and a subpixel for control of a view angle wherein a light blocking member is formed in a central position of each of a plurality of slit-like openings | |
| JP5513859B2 (ja) | 液晶表示パネル | |
| US20200050063A1 (en) | Liquid crystal display device | |
| JP5429776B2 (ja) | 液晶表示パネル | |
| CN101950101B (zh) | 液晶显示面板 | |
| JP5433333B2 (ja) | 液晶表示パネル | |
| US9891492B2 (en) | Array substrate and liquid crystal display including the same | |
| JP5247477B2 (ja) | 液晶表示装置 | |
| JP5660765B2 (ja) | 液晶表示パネル | |
| CN209311832U (zh) | 液晶显示装置 | |
| KR20090054255A (ko) | 액정표시장치 | |
| JP5258603B2 (ja) | 液晶表示装置 | |
| JP5207946B2 (ja) | 液晶表示パネル | |
| JP5681822B2 (ja) | 液晶表示パネル |
Legal Events
| Date | Code | Title | Description |
|---|---|---|---|
| A711 | Notification of change in applicant |
Free format text: JAPANESE INTERMEDIATE CODE: A711 Effective date: 20100702 |
|
| RD02 | Notification of acceptance of power of attorney |
Free format text: JAPANESE INTERMEDIATE CODE: A7422 Effective date: 20100702 |
|
| A621 | Written request for application examination |
Free format text: JAPANESE INTERMEDIATE CODE: A621 Effective date: 20120213 |
|
| A711 | Notification of change in applicant |
Free format text: JAPANESE INTERMEDIATE CODE: A711 Effective date: 20120330 |
|
| A977 | Report on retrieval |
Free format text: JAPANESE INTERMEDIATE CODE: A971007 Effective date: 20121219 |
|
| A131 | Notification of reasons for refusal |
Free format text: JAPANESE INTERMEDIATE CODE: A131 Effective date: 20130115 |
|
| A521 | Written amendment |
Free format text: JAPANESE INTERMEDIATE CODE: A523 Effective date: 20130308 |
|
| TRDD | Decision of grant or rejection written | ||
| RD03 | Notification of appointment of power of attorney |
Free format text: JAPANESE INTERMEDIATE CODE: A7423 Effective date: 20130328 |
|
| A01 | Written decision to grant a patent or to grant a registration (utility model) |
Free format text: JAPANESE INTERMEDIATE CODE: A01 Effective date: 20130402 |
|
| A61 | First payment of annual fees (during grant procedure) |
Free format text: JAPANESE INTERMEDIATE CODE: A61 Effective date: 20130426 |
|
| FPAY | Renewal fee payment (event date is renewal date of database) |
Free format text: PAYMENT UNTIL: 20160502 Year of fee payment: 3 |
|
| R150 | Certificate of patent or registration of utility model |
Free format text: JAPANESE INTERMEDIATE CODE: R150 |
|
| LAPS | Cancellation because of no payment of annual fees |