JP5259807B2 - 半導体装置 - Google Patents

半導体装置 Download PDF

Info

Publication number
JP5259807B2
JP5259807B2 JP2011253655A JP2011253655A JP5259807B2 JP 5259807 B2 JP5259807 B2 JP 5259807B2 JP 2011253655 A JP2011253655 A JP 2011253655A JP 2011253655 A JP2011253655 A JP 2011253655A JP 5259807 B2 JP5259807 B2 JP 5259807B2
Authority
JP
Japan
Prior art keywords
dielectric substrate
conductor
side wall
base substrate
circuit pattern
Prior art date
Legal status (The legal status is an assumption and is not a legal conclusion. Google has not performed a legal analysis and makes no representation as to the accuracy of the status listed.)
Expired - Fee Related
Application number
JP2011253655A
Other languages
English (en)
Other versions
JP2012039160A (ja
Inventor
一考 高木
Current Assignee (The listed assignees may be inaccurate. Google has not performed a legal analysis and makes no representation or warranty as to the accuracy of the list.)
Toshiba Corp
Original Assignee
Toshiba Corp
Priority date (The priority date is an assumption and is not a legal conclusion. Google has not performed a legal analysis and makes no representation as to the accuracy of the date listed.)
Filing date
Publication date
Application filed by Toshiba Corp filed Critical Toshiba Corp
Priority to JP2011253655A priority Critical patent/JP5259807B2/ja
Publication of JP2012039160A publication Critical patent/JP2012039160A/ja
Application granted granted Critical
Publication of JP5259807B2 publication Critical patent/JP5259807B2/ja
Anticipated expiration legal-status Critical
Expired - Fee Related legal-status Critical Current

Links

Images

Classifications

    • HELECTRICITY
    • H01ELECTRIC ELEMENTS
    • H01LSEMICONDUCTOR DEVICES NOT COVERED BY CLASS H10
    • H01L2224/00Indexing scheme for arrangements for connecting or disconnecting semiconductor or solid-state bodies and methods related thereto as covered by H01L24/00
    • H01L2224/01Means for bonding being attached to, or being formed on, the surface to be connected, e.g. chip-to-package, die-attach, "first-level" interconnects; Manufacturing methods related thereto
    • H01L2224/42Wire connectors; Manufacturing methods related thereto
    • H01L2224/47Structure, shape, material or disposition of the wire connectors after the connecting process
    • H01L2224/48Structure, shape, material or disposition of the wire connectors after the connecting process of an individual wire connector
    • H01L2224/4805Shape
    • H01L2224/4809Loop shape
    • H01L2224/48091Arched
    • HELECTRICITY
    • H01ELECTRIC ELEMENTS
    • H01LSEMICONDUCTOR DEVICES NOT COVERED BY CLASS H10
    • H01L2924/00Indexing scheme for arrangements or methods for connecting or disconnecting semiconductor or solid-state bodies as covered by H01L24/00
    • H01L2924/19Details of hybrid assemblies other than the semiconductor or other solid state devices to be connected
    • H01L2924/191Disposition
    • H01L2924/19101Disposition of discrete passive components
    • H01L2924/19107Disposition of discrete passive components off-chip wires
    • HELECTRICITY
    • H01ELECTRIC ELEMENTS
    • H01LSEMICONDUCTOR DEVICES NOT COVERED BY CLASS H10
    • H01L2924/00Indexing scheme for arrangements or methods for connecting or disconnecting semiconductor or solid-state bodies as covered by H01L24/00
    • H01L2924/30Technical effects
    • H01L2924/301Electrical effects
    • H01L2924/3011Impedance

Landscapes

  • Microwave Amplifiers (AREA)

Description

本発明は高周波帯などで使用する半導体装置に関する。
近年、高周波帯などで使用する半導体装置、たとえばガリウム砒素電界効果トランジスタ(以下、GaAsFETという)を用いたマイクロ波電力増幅器などの半導体装置は高出力化が進み、高出力化への対応が求められている。
ここで、従来の半導体装置について、GaAsFETを用いた半導体装置を例にとり図7を参照して説明する。
金属製ベース基板70上に電力増幅用などの半導体素子71、たとえばGaAsFETが配置されている。半導体素子71のたとえば図示左側に位置する入力側に、第1誘電体基板72が配置されている。第1誘電体基板72上には、たとえば入力側整合回路などを構成する回路パターン72aが形成されている。半導体素子71のたとえば図示右側に位置する出力側に、第2誘電体基板73が配置されている。第2誘電体基板73上には、たとえば出力側整合回路などを構成する回路パターン73aが形成されている。また、半導体素子71および第1誘電体基板72、第2誘電体基板73などを囲んで、ベース基板70上に矩形枠状の側壁74が所定高さに形成されている。側壁74は、たとえば一部を除いて多くの部分が金属で形成され、また上部の矩形状開口はたとえば金属製の蓋75で封止されている。
側壁74の図示左側に位置する入力側側壁部分74aは絶縁物で形成され、その入力側側壁部分74aを入力用帯状導体76aが貫通している。入力用帯状導体76aに入力用リード線77aが接続されている。側壁74の図示右側に位置する出力側側壁部分74bも絶縁物で形成され、その出力側側壁部分74bを出力用帯状導体76bが貫通している。出力用帯状導体76bに出力用リード線77bが接続されている。
また、入力用帯状導体76aと第1誘電体基板72上の回路パターン72aとの間、および、回路パターン72aと半導体素子71との間、半導体素子71と第2誘電体基板73上の回路パターン73aとの間、回路パターン73aと出力用帯状導体76bとの間は、それぞれワイヤーW1〜W4で接続されている。
上記した構成において、入力用帯状導体76aから入力する入力信号は回路パターン72aなどを経て半導体素子71で増幅される。その後、回路パターン73aなどを経て出力用帯状導体76bから出力される。
上記したような半導体装置、たとえばベース基板上に枠状の側壁を設け、その側壁開口を蓋で覆ったパッケージ内に、半導体素子などを配置する半導体装置は特許文献1などに開示されている。
特開平9−153839号公報
従来の半導体装置は高出力化に伴い、たとえばパッケージの側壁部分を貫通する帯状導体に対し、大きな電流が流れても断線しない高い電流溶断容量が求められている。高い電流溶断容量を実現する1つの方法として、たとえば帯状導体の厚さを厚くする方法がある。しかし、帯状導体を厚くすると、次のような問題がある。
側壁部分を貫通する帯状導体は、たとえばその上下に側壁部分を構成する絶縁物、たとえばセラミック部材を配置し、上下のセラミック部材の接合により気密に封止されている。したがって、帯状導体が厚くなると、上下のセラミック部材の接合が困難になり、帯状導体が貫通する部分の気密性が低下し、半導体素子などを封止するパッケージ内の空間の気密性を維持できなくなる。そのため帯状導体の厚さには限界がある。
高い電流溶断容量を実現するもう1つの方法として、たとえば帯状導体のパターン幅を広げる方法がある。パターン幅を広げた場合、所望のインピーダンスを保つために、帯状導体とベース基板との間に挟まれた側壁部分、たとえばセラミックの厚さを厚くする必要がある。セラミックを厚くすると、たとえば入力側あるいは出力側の整合回路などを構成する回路パターンと帯状導体との高低差が大きくなる。その結果、回路パターンと帯状導体との間を接続するワイヤーが上下方向に長くなり、たとえば放射損が増大する。
本発明は、上記した欠点を解決し、回路間の高低差を小さくし、放射損などを少なくした半導体装置を提供することを目的とする。
本発明の半導体装置は、金属製ベース基板と、このベース基板上に配置された半導体素子と、前記ベース基板上に配置され、表面に回路パターンを形成した第1誘電体基板と、前記半導体素子および前記第1誘電体基板を囲んで前記ベース基板上に設けた枠状の側壁と、前記側壁の一部に設けられた絶縁物からなる側壁部分と、前記ベース基板の面を基準にして、前記回路パターンよりも高い位置で前記側壁部分を貫通する帯状導体と、前記ベース基板の面を基準にして、前記第1誘電体基板側が低く前記帯状導体側が高くなる傾斜面を有し、前第1誘電体基板と前記帯状導体との間の前記ベース基板上に設けられた金属ブロックと、この金属ブロック上に設けられ、表面に線路導体パターンが形成された第2誘電体基板と、この第2誘電体基板表面に形成された前記線路導体パターンを介して前記帯状導体と前記回路パターンとの間および前記回路パターンと前記半導体素子との間をそれぞれ接続するワイヤーとを具備したことを特徴とする。
本発明は、ベース基板の面を基準にして、誘電体基板側が低く帯状導体側が高くなる傾斜面を有し、かつその傾斜面に線路導体パターンを形成した絶縁ブロックを、誘電体基板と帯状導体との間のベース基板上に配置している。そして、絶縁ブロックの傾斜面に形成された線路導体パターンを介して帯状導体と回路パターンとの間をワイヤーで接続している。したがって、高い電流溶断容量を得るために帯状導体の幅を広げ、これに伴い、ベース基板および帯状導体間の側壁部分が厚くなっても、ワイヤーで接続する回路間の高低差が小さく、放射損の少ない半導体装置を実現できる。
本発明の実施形態を説明する概略の構造図である。 本発明の他の実施形態を説明する概略の構造図である。 本発明の他の実施形態を説明する概略の構造図である。 本発明の他の実施形態を説明する概略の構造図である。 本発明の他の実施形態を説明する概略の構造図である。 本発明の他の実施形態を説明する概略の構造図である。 従来例を説明する概略の構造図である。
本発明の実施形態について、GaAsFETを用いた半導体装置を例にとり図1を参照して説明する。
金属製ベース基板10上に電力増幅用などの半導体素子11、たとえばGaAsFETが配置されている。半導体素子11の図示左側に位置する入力側に第1誘電体基板12が配置され、半導体素子11の図示右側に位置する出力側に、第2誘電体基板13が配置されている。第1誘電体基板12上には、たとえば入力側整合回路などを構成する回路パターン12aが形成され、第2誘電体基板13上には、たとえば出力側整合回路などを構成する回路パターン13aが形成されている。第1誘電体基板12の図示左側には、第1誘電体基板12よりも厚い第3誘電体基板14が配置され、第2誘電体基板13の図示右側には、第2誘電体基板13よりも厚い第4誘電体基板15が配置されている。第3誘電体基板14上および第4誘電体基板15上には回路パターン、たとえばマイクロストリップ線路を構成する線路導体14a、15aが形成されている。
また、半導体素子11および第1誘電体基板12、第2誘電体基板13、第3誘電体基板14、第4誘電体基板15などを囲んで、ベース基板10上にたとえば矩形枠状の側壁16が所定高さに形成されている。側壁16は、たとえば一部を除いて多くの部分が金属で形成され、また、上部の矩形状開口はたとえば金属製の蓋17で封止されている。
側壁16の図示左側に位置する入力側側壁部分16aおよび側壁16の図示右側に位置する出力側側壁部分16bは絶縁物で形成されている。そして、ベース基板10のたとえば中央領域、たとえば半導体素子11などを配置した領域の平坦な面Sを基準にして、線路導体14aや線路導体15aよりも高い位置で、入力用帯状導体18aおよび出力用帯状導体18bがそれぞれ、入力側側壁部分16aおよび出力側側壁部分16bを貫通している。入力用帯状導体18aには入力用リード線19aが接続され、出力用帯状導体18bには出力用リード線19bが接続されている。
また、入力用帯状導体18aと線路導体14aとの間、および、線路導体14aと回路パターン12aとの間、回路パターン12aと半導体素子11との間、半導体素子11と回路パターン13aとの間、回路パターン13aと線路導体15bとの間、線路導体15bと出力用帯状導体18bとの間は、それぞれワイヤーWで接続されている。
上記した構成において、入力用帯状導体18aから入力する入力信号は、線路導体14aおよび回路パターン12aなどを経て半導体素子11で増幅される。増幅された入力信号は、回路パターン13aおよび線路導体15b、出力用帯状導体18bなどを経て出力される。
上記した構成によれば、第1誘電体基板12と入力側側壁部分16aとの間に第3誘電体基板14を配置している。また、第2誘電体基板12と出力側側壁部分16bとの間に第4誘電体基板15を配置している。そして、ベース基板10の面Sを基準にして、第3誘電体基板14上の線路導体14aの高さが、第1誘電体基板12上の第1回路パターン12aよりも高く、側壁16を貫通する帯状導体18aよりも低くなっている。同様に、第4誘電体基板15上の線路導体15aの高さが、第2誘電体基板13上の第2回路パターン13aよりも高く、側壁16を貫通する帯状導体18bよりも低くなっている。
したがって、高い電流溶断容量を得るために帯状導体18a、18bの幅を広げ、帯状導体18a、18bとベース基板10間の側壁16を厚くし、帯状導体18a、18bの貫通部分の高さが高くなっても、ワイヤーで接続する回路間の高低差が小さくなる。その結果、ワイヤーで接続する回路間のインピーダンス変化が抑えられ、また、放射損の少ない半導体装置が得られる。
上記の実施形態は、ワイヤーで接続する回路間の高低差を小さくするために、たとえば第1誘電体基板12と入力側側壁部分16aとの間に1つの誘電体基板14を配置している。しかし、ワイヤーで接続する回路間の高低差をさらに小さくするために、高さの相違する複数の誘電体基板を配置することもできる。
次に、本発明の他の実施形態について図2を参照して説明する。本発明の半導体装置は、たとえば半導体素子を中心にして左右が対称の構造になっている。したがって、図2はその出力側部分を抜き出した図で、図1に対応する部分に同じ符号を付し重複する説明を一部省略する。
この実施形態は、第4誘電体基板15と帯状導体18bとの間に、ベース基板10の面Sを基準にして、その表面が帯状導体18bの高さと同じになる厚さの誘電体基板21を配置し、その表面に線路導体21aを設けている。
たとえば帯状導体18bが側壁16を貫通する部分の近傍、たとえば側壁16の外側や内側、あるいは貫通部分では、側壁16の有無など帯状導体18b周辺の構造が相違している。そのため、インピーダンスが変化しやすく、安定した信号の伝送が困難になっている。
図2の構成によれば、たとえば帯状導体18bと同じ高さに線路導体21aを設けた誘電体基板21を帯状導体18bに隣接して配置している。したがって、インピーダンスが変化しやすい帯状導体18bの近傍では、ワイヤーで接続する回路間の高低差がなくなり、伝送する信号の乱れを小さくできる。
次に、本発明の他の実施形態について、出力側部分を抜き出した図3を参照して説明する。図3は、図1に対応する部分に同じ符号を付し重複する説明を一部省略する。
この実施形態は、第2誘電体基板13上に設けた回路パターン13aと帯状導体18bとの間、たとえば第2誘電体基板13上の端部に絶縁ブロック31を配置している。絶縁ブロック31には、貫通穴を設けたVIAホール31aが形成され、また、VIAホール31aを囲むその側面などに導電層31bが形成されている。また、絶縁ブロック31の図示上面に、VIAホール31aに接続する導電パターン31cが形成され、この導電パターン31cと帯状導体18bとの間がワイヤーWで接続されている。
絶縁ブロック31の高さは、たとえば導電パターン31cと帯状導体18bとの間に高低差がないように、帯状導体18bの貫通部分と同じにしている。しかし、絶縁ブロック31の高さを低くし、導電パターン31cの位置を帯状導体18bの貫通部分よりも低くすることもできる。
上記した構成によれば、帯状導体18bおよび回路パターン13a間を絶縁ブロック31に設けたVIAホール31aで接続し、VIAホール31aを囲んで導電層31bを形成している。したがって、VIAホール31a部分での放射損を少なくできる。また、VIAホール31aの形状、たとえば貫通穴の径などを変えることにより、VIAホール31a部分のインピーダンスを適宜調整することもできる。
次に、本発明の他の実施形態について、出力側部分を抜き出した図4を参照して説明する。図4は、図1に対応する部分に同じ符号を付し重複する説明を一部省略する。
この実施形態は、ベース基板10周辺のたとえばその一部に、中央領域の面Sよりも低い段差面41を設けている。そして、段差面41上に側壁16を形成し、たとえば回路パターン13aと帯状導体18bの高さを同じにしている。
この構成の場合も、段差面41上に側壁16を形成することによって、ワイヤーWで接続する回路間の高低差を小さくでき、上記した実施形態と同様の効果が得られる。
次に、本発明の他の実施形態について、出力側部分を抜き出した図5を参照して説明する。図5は、図1に対応する部分に同じ符号を付し重複する説明を一部省略する。
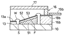
この実施形態は、第2誘電体基板13と帯状導体18bとの間のベース基板10上に、ベース基板10の面Sを基準にして、第2誘電体基板13側が低く帯状導体18b側が高くなる傾斜面Fを有する金属ブロック51を設け、この金属ブロック51の傾斜面Fに第2誘電体基板52を設け、さらに第2誘電体基板52上に第2回路パターン53、たとえば線路導体を形成している。
上記した構成の場合も、金属ブロック51上に形成した回路パターン53が帯状導体18b側から第2誘電体基板13に向かって徐々に低くなっている。そのため、ワイヤーWで接続する回路間の高低差が小さくなり、上記した実施形態と同様の効果が得られる。
金属ブロック51はベース基板10の表面を加工して形成してよく、別に形成した金属ブロック51をベース基板10上に接合してもよい。
次に、本発明の他の実施形態について、出力側部分を抜き出した図6を参照して説明する。図6は、図1に対応する部分に同じ符号を付し重複する説明を一部省略する。
この実施形態は、第2誘電体基板13と帯状導体18bとの間のベース基板10上に、ベース基板10の面Sを基準にして、第2誘電体基板13側が低く、帯状導体18b側が高くなる傾斜面Gを有する絶縁ブロック61を配置している。そして、絶縁ブロック61の傾斜面Gに回路パターン62、たとえば線路導体を形成している。
この場合も、ワイヤーWで接続する回路間の高低差が小さくなり、上記した実施形態と同様の効果が得られる。
10…ベース基板
11…半導体素子
12…第1誘電体基板
12a…回路パターン
13…第2誘電体基板
13a…回路パターン
14…第3誘電体基板
14a…線路導体
15…第4誘電体基板
15a…線路導体
16…側壁
17…蓋
18a…入力用帯状導体
18b…出力用帯状導体
19a…入力用リード線
19b…出力用リード線
S…ベース基板の面

Claims (1)

  1. 金属製ベース基板と、このベース基板上に配置された半導体素子と、前記ベース基板上に配置され、表面に回路パターンを形成した第1誘電体基板と、前記半導体素子および前記第1誘電体基板を囲んで前記ベース基板上に設けた枠状の側壁と、前記側壁の一部に設けられた絶縁物からなる側壁部分と、前記ベース基板の面を基準にして、前記回路パターンよりも高い位置で前記側壁部分を貫通する帯状導体と、前記ベース基板の面を基準にして、前記第1誘電体基板側が低く前記帯状導体側が高くなる傾斜面を有し、前第1誘電体基板と前記帯状導体との間の前記ベース基板上に設けられた金属ブロックと、この金属ブロック上に設けられ、表面に線路導体パターンが形成された第2誘電体基板と、この第2誘電体基板表面に形成された前記線路導体パターンを介して前記帯状導体と前記回路パターンとの間および前記回路パターンと前記半導体素子との間をそれぞれ接続するワイヤーとを具備したことを特徴とする半導体装置。
JP2011253655A 2011-11-21 2011-11-21 半導体装置 Expired - Fee Related JP5259807B2 (ja)

Priority Applications (1)

Application Number Priority Date Filing Date Title
JP2011253655A JP5259807B2 (ja) 2011-11-21 2011-11-21 半導体装置

Applications Claiming Priority (1)

Application Number Priority Date Filing Date Title
JP2011253655A JP5259807B2 (ja) 2011-11-21 2011-11-21 半導体装置

Related Parent Applications (1)

Application Number Title Priority Date Filing Date
JP2010086000A Division JP5135376B2 (ja) 2010-04-02 2010-04-02 半導体装置

Publications (2)

Publication Number Publication Date
JP2012039160A JP2012039160A (ja) 2012-02-23
JP5259807B2 true JP5259807B2 (ja) 2013-08-07

Family

ID=45850714

Family Applications (1)

Application Number Title Priority Date Filing Date
JP2011253655A Expired - Fee Related JP5259807B2 (ja) 2011-11-21 2011-11-21 半導体装置

Country Status (1)

Country Link
JP (1) JP5259807B2 (ja)

Families Citing this family (1)

* Cited by examiner, † Cited by third party
Publication number Priority date Publication date Assignee Title
CN114362841B (zh) * 2021-12-13 2023-12-15 深圳市卓汉材料技术有限公司 一种无源互调测试治具与无源互调测试系统

Family Cites Families (4)

* Cited by examiner, † Cited by third party
Publication number Priority date Publication date Assignee Title
JPS6114181Y2 (ja) * 1981-02-25 1986-05-02
JPS6114183Y2 (ja) * 1981-02-25 1986-05-02
JPH0770641B2 (ja) * 1989-03-17 1995-07-31 三菱電機株式会社 半導体パッケージ
JP3735270B2 (ja) * 2001-05-11 2006-01-18 松下電器産業株式会社 高周波半導体装置

Also Published As

Publication number Publication date
JP2012039160A (ja) 2012-02-23

Similar Documents

Publication Publication Date Title
JP4519637B2 (ja) 半導体装置
US10269729B2 (en) Semiconductor packages having wire bond wall to reduce coupling
US9401342B2 (en) Semiconductor package having wire bond wall to reduce coupling
EP3211669B1 (en) Semiconductor package with isolation wall
EP2515435B1 (en) Power amplifier
JP6273247B2 (ja) 高周波半導体増幅器
CN107851635B (zh) 用于配电的导电密封环
JP5259807B2 (ja) 半導体装置
CN104113289B (zh) 一种微波集成放大器电路及其制作方法
JP5135376B2 (ja) 半導体装置
JP6849060B2 (ja) 増幅器
JP2012039159A (ja) 半導体装置
JPWO2007108262A1 (ja) 送受信装置
CN108122835B (zh) 转接板的制造方法及其所制造的转接板
JP2015173234A (ja) 高周波半導体装置用パッケージおよびその製造方法、並びに高周波半導体装置
JP5162826B2 (ja) 半導体装置及びその製造方法
CN104465616A (zh) 集成电路的可靠性分析测试结构及其测试方法
US11038031B2 (en) Field-effect transistor
JP5564763B2 (ja) Mos型半導体装置の製造方法
WO2016098340A1 (ja) 半導体チップおよび導波管変換システム
US20240282866A1 (en) Passive element and electronic device
CN108109913A (zh) 双极晶体管的制作方法
JP2005072954A (ja) 高周波回路装置
KR20040081173A (ko) 회로 칩의 단자를 외부 기준 전위에 도전 접속하는 장치
CN107039356A (zh) 微米波段及毫米波段封装体

Legal Events

Date Code Title Description
A621 Written request for application examination

Free format text: JAPANESE INTERMEDIATE CODE: A621

Effective date: 20111121

A977 Report on retrieval

Free format text: JAPANESE INTERMEDIATE CODE: A971007

Effective date: 20130118

A131 Notification of reasons for refusal

Free format text: JAPANESE INTERMEDIATE CODE: A131

Effective date: 20130122

A521 Request for written amendment filed

Free format text: JAPANESE INTERMEDIATE CODE: A523

Effective date: 20130307

TRDD Decision of grant or rejection written
A01 Written decision to grant a patent or to grant a registration (utility model)

Free format text: JAPANESE INTERMEDIATE CODE: A01

Effective date: 20130402

A61 First payment of annual fees (during grant procedure)

Free format text: JAPANESE INTERMEDIATE CODE: A61

Effective date: 20130424

FPAY Renewal fee payment (event date is renewal date of database)

Free format text: PAYMENT UNTIL: 20160502

Year of fee payment: 3

LAPS Cancellation because of no payment of annual fees