JP5259662B2 - 電極組立体及びこれを含む二次電池 - Google Patents
電極組立体及びこれを含む二次電池 Download PDFInfo
- Publication number
- JP5259662B2 JP5259662B2 JP2010206575A JP2010206575A JP5259662B2 JP 5259662 B2 JP5259662 B2 JP 5259662B2 JP 2010206575 A JP2010206575 A JP 2010206575A JP 2010206575 A JP2010206575 A JP 2010206575A JP 5259662 B2 JP5259662 B2 JP 5259662B2
- Authority
- JP
- Japan
- Prior art keywords
- electrode
- active material
- material layer
- electrode active
- current collector
- Prior art date
- Legal status (The legal status is an assumption and is not a legal conclusion. Google has not performed a legal analysis and makes no representation as to the accuracy of the status listed.)
- Active
Links
Images
Classifications
-
- H—ELECTRICITY
- H01—ELECTRIC ELEMENTS
- H01M—PROCESSES OR MEANS, e.g. BATTERIES, FOR THE DIRECT CONVERSION OF CHEMICAL ENERGY INTO ELECTRICAL ENERGY
- H01M10/00—Secondary cells; Manufacture thereof
- H01M10/05—Accumulators with non-aqueous electrolyte
- H01M10/052—Li-accumulators
-
- H—ELECTRICITY
- H01—ELECTRIC ELEMENTS
- H01M—PROCESSES OR MEANS, e.g. BATTERIES, FOR THE DIRECT CONVERSION OF CHEMICAL ENERGY INTO ELECTRICAL ENERGY
- H01M10/00—Secondary cells; Manufacture thereof
- H01M10/05—Accumulators with non-aqueous electrolyte
- H01M10/052—Li-accumulators
- H01M10/0525—Rocking-chair batteries, i.e. batteries with lithium insertion or intercalation in both electrodes; Lithium-ion batteries
-
- H—ELECTRICITY
- H01—ELECTRIC ELEMENTS
- H01M—PROCESSES OR MEANS, e.g. BATTERIES, FOR THE DIRECT CONVERSION OF CHEMICAL ENERGY INTO ELECTRICAL ENERGY
- H01M10/00—Secondary cells; Manufacture thereof
- H01M10/05—Accumulators with non-aqueous electrolyte
- H01M10/058—Construction or manufacture
- H01M10/0585—Construction or manufacture of accumulators having only flat construction elements, i.e. flat positive electrodes, flat negative electrodes and flat separators
-
- H—ELECTRICITY
- H01—ELECTRIC ELEMENTS
- H01M—PROCESSES OR MEANS, e.g. BATTERIES, FOR THE DIRECT CONVERSION OF CHEMICAL ENERGY INTO ELECTRICAL ENERGY
- H01M10/00—Secondary cells; Manufacture thereof
- H01M10/42—Methods or arrangements for servicing or maintenance of secondary cells or secondary half-cells
-
- H—ELECTRICITY
- H01—ELECTRIC ELEMENTS
- H01M—PROCESSES OR MEANS, e.g. BATTERIES, FOR THE DIRECT CONVERSION OF CHEMICAL ENERGY INTO ELECTRICAL ENERGY
- H01M10/00—Secondary cells; Manufacture thereof
- H01M10/42—Methods or arrangements for servicing or maintenance of secondary cells or secondary half-cells
- H01M2010/4292—Aspects relating to capacity ratio of electrodes/electrolyte or anode/cathode
-
- H—ELECTRICITY
- H01—ELECTRIC ELEMENTS
- H01M—PROCESSES OR MEANS, e.g. BATTERIES, FOR THE DIRECT CONVERSION OF CHEMICAL ENERGY INTO ELECTRICAL ENERGY
- H01M4/00—Electrodes
- H01M4/02—Electrodes composed of, or comprising, active material
- H01M4/13—Electrodes for accumulators with non-aqueous electrolyte, e.g. for lithium-accumulators; Processes of manufacture thereof
- H01M4/131—Electrodes based on mixed oxides or hydroxides, or on mixtures of oxides or hydroxides, e.g. LiCoOx
-
- H—ELECTRICITY
- H01—ELECTRIC ELEMENTS
- H01M—PROCESSES OR MEANS, e.g. BATTERIES, FOR THE DIRECT CONVERSION OF CHEMICAL ENERGY INTO ELECTRICAL ENERGY
- H01M4/00—Electrodes
- H01M4/02—Electrodes composed of, or comprising, active material
- H01M4/36—Selection of substances as active materials, active masses, active liquids
- H01M4/48—Selection of substances as active materials, active masses, active liquids of inorganic oxides or hydroxides
- H01M4/485—Selection of substances as active materials, active masses, active liquids of inorganic oxides or hydroxides of mixed oxides or hydroxides for inserting or intercalating light metals, e.g. LiTi2O4 or LiTi2OxFy
-
- Y—GENERAL TAGGING OF NEW TECHNOLOGICAL DEVELOPMENTS; GENERAL TAGGING OF CROSS-SECTIONAL TECHNOLOGIES SPANNING OVER SEVERAL SECTIONS OF THE IPC; TECHNICAL SUBJECTS COVERED BY FORMER USPC CROSS-REFERENCE ART COLLECTIONS [XRACs] AND DIGESTS
- Y02—TECHNOLOGIES OR APPLICATIONS FOR MITIGATION OR ADAPTATION AGAINST CLIMATE CHANGE
- Y02E—REDUCTION OF GREENHOUSE GAS [GHG] EMISSIONS, RELATED TO ENERGY GENERATION, TRANSMISSION OR DISTRIBUTION
- Y02E60/00—Enabling technologies; Technologies with a potential or indirect contribution to GHG emissions mitigation
- Y02E60/10—Energy storage using batteries
-
- Y—GENERAL TAGGING OF NEW TECHNOLOGICAL DEVELOPMENTS; GENERAL TAGGING OF CROSS-SECTIONAL TECHNOLOGIES SPANNING OVER SEVERAL SECTIONS OF THE IPC; TECHNICAL SUBJECTS COVERED BY FORMER USPC CROSS-REFERENCE ART COLLECTIONS [XRACs] AND DIGESTS
- Y02—TECHNOLOGIES OR APPLICATIONS FOR MITIGATION OR ADAPTATION AGAINST CLIMATE CHANGE
- Y02P—CLIMATE CHANGE MITIGATION TECHNOLOGIES IN THE PRODUCTION OR PROCESSING OF GOODS
- Y02P70/00—Climate change mitigation technologies in the production process for final industrial or consumer products
- Y02P70/50—Manufacturing or production processes characterised by the final manufactured product
Landscapes
- Engineering & Computer Science (AREA)
- Chemical & Material Sciences (AREA)
- Manufacturing & Machinery (AREA)
- Chemical Kinetics & Catalysis (AREA)
- Electrochemistry (AREA)
- General Chemical & Material Sciences (AREA)
- Materials Engineering (AREA)
- Secondary Cells (AREA)
- Battery Electrode And Active Subsutance (AREA)
Description
正極の製造
活物質としてLiCoO2を使用し、バインダーとしては、PVDF(Polyvinylidene Fluoride)を使用し、導電剤としてはカーボンブラックを使用して、正極活物質コーティング組成物を製造した。このとき、正極活物質コーティング組成物は、活物質:バインダー:導電剤の比率が94:3:3になるようにし、活物質コーティング組成物を混合器(Planetary Despa Mixer)を用いてN‐メチル‐2‐ピロリドンに分散させてスラリー化し、ドクターブレードを用いて厚さ20μmのアルミニウム箔に塗布した後、乾燥させた。このとき、コーティング面積は、下記の表1に示したようにした。その後、ロールプレスでプレスし、真空乾燥(vacuum dryer)設備でコーティング層内の水分を取り除いて正極を製造した。
活物質としてLTOを使用し、正極と同様にバインダーとしてはPVDFを、導電剤としてはカーボンブラックを使用して負極活物質コーティング組成物を製造し、厚さ15μmの銅箔に塗布したことを除いて、正極の製造と同様に負極を製造した。このとき、コーティング面積は下記の表1に示すようにした。
製造された極板でbi‐cell構造を有するパウチ形の二次電池を製造した。このとき、電解液としては、1.1M濃度のLiPF6が溶解されたエチレンカーボネート(EC)/エチルメチルカーボネート(EMC)(体積比でEC:EMC混合比は30/70)の混合有機溶媒2.7gを使用し、添加剤は使用しなかった。
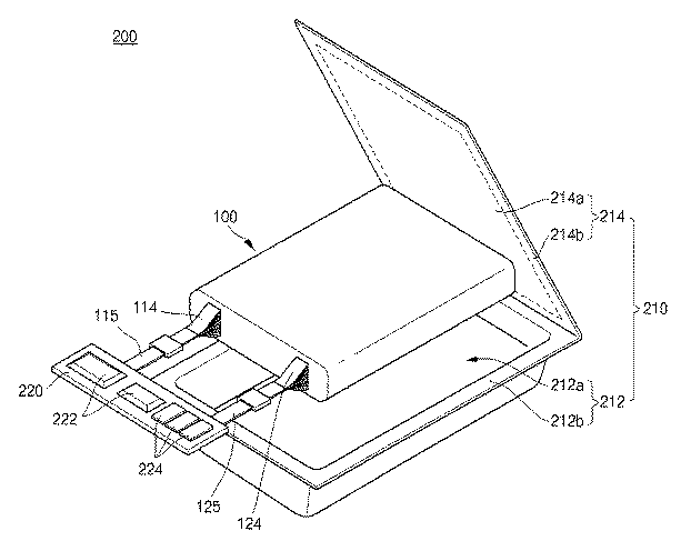
110 正極
111 正極集電体
112 正極活物質層
114 正極タブ
115 正極リード端子
120 負極
121 負極集電体
122 負極活物質層
124 負極タブ
125 負極リード端子
130 セパレーター
200 二次電池
Claims (16)
- 第1の電極集電体及び前記第1の電極集電体の少なくとも一面に形成された第1の電極活物質層を含む第1の電極と、
第2の電極集電体及び前記第2の電極集電体の少なくとも一面に形成された第2の電極活物質層を含む第2の電極と、
前記第1の電極と前記第2の電極の間に位置するセパレーターと、を含み、
前記第2の電極活物質層は前記第1の電極活物質層に対向し、前記第1の電極活物質層の面積は前記第2の電極活物質層の面積より大きく、前記第2の電極活物質層はLTO(Lithium Titanium Oxide)を含み、
前記第1の電極集電体の面積は、前記第2の電極集電体の面積より大きく、
前記第1の電極活物質層の容量(capacity)に対する前記第2の電極活物質層の容量比は、1.0〜1.5であることを特徴とする電極組立体。 - 第1の電極集電体及び前記第1の電極集電体の少なくとも一面に形成された第1の電極活物質層を含む第1の電極と、
第2の電極集電体及び前記第2の電極集電体の少なくとも一面に形成された第2の電極活物質層を含む第2の電極と、
前記第1の電極と前記第2の電極の間に位置するセパレーターと、を含み、
前記第2の電極活物質層は前記第1の電極活物質層に対向し、前記第1の電極活物質層の面積は前記第2の電極活物質層の面積より大きく、前記第2の電極活物質層はLTO(Lithium Titanium Oxide)を含み、
前記第2の電極集電体の面積は、前記第1の電極集電体の面積より大きく、
前記第1の電極活物質層の容量(capacity)に対する前記第2の電極活物質層の容量比は、1.0〜1.5であることを特徴とする電極組立体。 - 第1の電極集電体及び前記第1の電極集電体の少なくとも一面に形成された第1の電極活物質層を含む第1の電極と、
第2の電極集電体及び前記第2の電極集電体の少なくとも一面に形成された第2の電極活物質層を含む第2の電極と、
前記第1の電極と前記第2の電極の間に位置するセパレーターと、を含み、
前記第2の電極活物質層は前記第1の電極活物質層に対向し、前記第1の電極活物質層の面積は前記第2の電極活物質層の面積より大きく、前記第2の電極活物質層はLTO(Lithium Titanium Oxide)を含み、
前記第1の電極集電体の面積は、前記第2の電極集電体の面積と実質的に等しく、
前記第1の電極活物質層の容量(capacity)に対する前記第2の電極活物質層の容量比は、1.0〜1.5であることを特徴とする電極組立体。 - 前記第1の電極は正極であり、前記第2の電極は負極であることを特徴とする請求項1〜3のいずれか1項に記載の電極組立体。
- 前記第2の電極活物質層に対する前記第1の電極活物質層の面積比は、1.01〜1.21であることを特徴とする請求項1〜3のいずれか1項に記載の電極組立体。
- 前記第2の電極活物質層に対する前記第1の電極活物質層の面積比は、1.01〜1.10であることを特徴とする請求項5に記載の電極組立体。
- 前記第1の電極活物質層は前記第2の電極活物質層を覆うように形成されることを特徴とする請求項1〜3のいずれか1項に記載の電極組立体。
- 前記第1の電極活物質層の容量(capacity)に対する前記第2の電極活物質層の容量比は、1.0〜1.3であることを特徴とする請求項1〜3のいずれか1項に記載の電極組立体。
- 前記第1の電極活物質層は、前記第2の電極活物質層に対向する前記第1の電極集電体の表面及び前記第1の電極集電体の反対側表面にそれぞれ形成され、前記第2の電極活物質層は、前記第1の電極活物質層に対向する前記第2の電極集電体の表面及び前記第2の電極集電体の反対側表面にそれぞれ形成されることを特徴とする請求項1〜3のいずれか1項に記載の電極組立体。
- 前記第1の電極活物質層は、前記第2の電極活物質層に対向する第1の電極集電体の表面のみに形成され、前記第2の電極活物質層は、前記第1の電極活物質層に対向する第2の電極集電体の表面のみに形成されることを特徴とする請求項1〜3のいずれか1項に記載の電極組立体。
- 第1の電極集電体及び前記第1の電極集電体の少なくとも一面に形成された第1の電極活物質層を含む第1の電極と、第2の電極集電体及び前記第2の電極集電体の少なくとも一面に形成された第2の電極活物質層を含む第2の電極と、前記第1の電極と前記第2の電極の間に位置するセパレーターとを含む電極組立体と、
前記電極組立体を収容するケースと、
前記電極組立体の第1の電極及び第2の電極と電気的に接続される保護回路モジュールと、
前記ケースに満たされる電解液とを含み、
前記電極組立体は、前記第2の電極活物質層が前記第1の電極活物質層に対向し、前記第1の電極活物質層の面積は前記第2の電極活物質層の面積より大きく、前記第2の電極活物質層はLTO(Lithium Titanium Oxide)を含み、
前記第1の電極集電体の面積は、前記第2の電極集電体の面積より大きく、
前記第1の電極活物質層の容量(capacity)に対する前記第2の電極活物質層の容量比は、1.0〜1.5であることを特徴とする二次電池。 - 第1の電極集電体及び前記第1の電極集電体の少なくとも一面に形成された第1の電極活物質層を含む第1の電極と、第2の電極集電体及び前記第2の電極集電体の少なくとも一面に形成された第2の電極活物質層を含む第2の電極と、前記第1の電極と前記第2の電極の間に位置するセパレーターとを含む電極組立体と、
前記電極組立体を収容するケースと、
前記電極組立体の第1の電極及び第2の電極と電気的に接続される保護回路モジュールと、
前記ケースに満たされる電解液とを含み、
前記電極組立体は、前記第2の電極活物質層が前記第1の電極活物質層に対向し、前記第1の電極活物質層の面積は前記第2の電極活物質層の面積より大きく、前記第2の電極活物質層はLTO(Lithium Titanium Oxide)を含み、
前記第2の電極集電体の面積は前記第1の電極集電体の面積より大きく、
前記第1の電極活物質層の容量(capacity)に対する前記第2の電極活物質層の容量比は、1.0〜1.5であることを特徴とする二次電池。 - 第1の電極集電体及び前記第1の電極集電体の少なくとも一面に形成された第1の電極活物質層を含む第1の電極と、第2の電極集電体及び前記第2の電極集電体の少なくとも一面に形成された第2の電極活物質層を含む第2の電極と、前記第1の電極と前記第2の電極の間に位置するセパレーターとを含む電極組立体と、
前記電極組立体を収容するケースと、
前記電極組立体の第1の電極及び第2の電極と電気的に接続される保護回路モジュールと、
前記ケースに満たされる電解液とを含み、
前記電極組立体は、前記第2の電極活物質層が前記第1の電極活物質層に対向し、前記第1の電極活物質層の面積は前記第2の電極活物質層の面積より大きく、前記第2の電極活物質層はLTO(Lithium Titanium Oxide)を含み、
前記第1の電極集電体の面積は前記第2の電極集電体の面積と実質的に等しく、
前記第1の電極活物質層の容量(capacity)に対する前記第2の電極活物質層の容量比は、1.0〜1.5であることを特徴とする二次電池。 - 前記第1の電極は正極であり、前記第2の電極は負極であることを特徴とする請求項11〜13のいずれか1項に記載の二次電池。
- 前記第2の電極活物質層に対する前記第1の電極活物質層の面積比は1.01〜1.21であることを特徴とする請求項11〜13のいずれか1項に記載の二次電池。
- 前記第1の電極活物質層は前記第2の電極活物質層を覆うように形成されることを特徴とする請求項11〜13のいずれか1項に記載の二次電池。
Applications Claiming Priority (4)
| Application Number | Priority Date | Filing Date | Title |
|---|---|---|---|
| US24295609P | 2009-09-16 | 2009-09-16 | |
| US61/242,956 | 2009-09-16 | ||
| US12/852,429 | 2010-08-06 | ||
| US12/852,429 US8808884B2 (en) | 2009-09-16 | 2010-08-06 | Electrode assembly and secondary battery including the same |
Publications (2)
| Publication Number | Publication Date |
|---|---|
| JP2011065993A JP2011065993A (ja) | 2011-03-31 |
| JP5259662B2 true JP5259662B2 (ja) | 2013-08-07 |
Family
ID=43037103
Family Applications (1)
| Application Number | Title | Priority Date | Filing Date |
|---|---|---|---|
| JP2010206575A Active JP5259662B2 (ja) | 2009-09-16 | 2010-09-15 | 電極組立体及びこれを含む二次電池 |
Country Status (5)
| Country | Link |
|---|---|
| US (1) | US8808884B2 (ja) |
| EP (1) | EP2299532B1 (ja) |
| JP (1) | JP5259662B2 (ja) |
| KR (1) | KR101211863B1 (ja) |
| CN (1) | CN102024934B (ja) |
Families Citing this family (9)
| Publication number | Priority date | Publication date | Assignee | Title |
|---|---|---|---|---|
| KR101357137B1 (ko) * | 2011-11-29 | 2014-02-03 | 엘에스엠트론 주식회사 | 전극 조립체 및 이를 구비한 전기에너지 저장장치 |
| EP2811569B1 (en) * | 2012-04-17 | 2017-08-16 | LG Chem, Ltd. | Lithium secondary battery exhibiting excellent performance |
| KR101603635B1 (ko) * | 2013-04-11 | 2016-03-15 | 주식회사 엘지화학 | 면적이 서로 다른 전극들을 포함하고 있는 전극 적층체 및 이를 포함하는 이차전지 |
| KR101634749B1 (ko) | 2013-06-18 | 2016-06-29 | 주식회사 엘지화학 | 수명 특성이 향상된 리튬 이차전지 |
| JP6256761B2 (ja) | 2014-04-11 | 2018-01-10 | トヨタ自動車株式会社 | 二次電池の検査方法および製造方法 |
| JP6348807B2 (ja) * | 2014-09-10 | 2018-06-27 | 株式会社日立製作所 | リチウムイオン二次電池 |
| US10276868B2 (en) | 2015-12-11 | 2019-04-30 | Denso Corporation | Non-aqueous electrolyte rechargeable battery |
| KR102722641B1 (ko) * | 2019-01-17 | 2024-10-25 | 주식회사 엘지에너지솔루션 | 리튬 금속 전지 |
| US12081060B2 (en) * | 2020-09-11 | 2024-09-03 | Robert Bosch Gmbh | Minimizing irreversible swelling during battery charging |
Family Cites Families (12)
| Publication number | Priority date | Publication date | Assignee | Title |
|---|---|---|---|---|
| JP3450884B2 (ja) | 1993-10-21 | 2003-09-29 | 松下電器産業株式会社 | 円筒形アルカリ電池 |
| US5569520A (en) * | 1994-01-12 | 1996-10-29 | Martin Marietta Energy Systems, Inc. | Rechargeable lithium battery for use in applications requiring a low to high power output |
| ES2135012T3 (es) * | 1994-05-30 | 1999-10-16 | Canon Kk | Baterias recargables. |
| JP4644895B2 (ja) | 2000-01-24 | 2011-03-09 | 株式会社豊田中央研究所 | リチウム二次電池 |
| US7267908B2 (en) * | 2004-08-30 | 2007-09-11 | Toyota Technical Center Usa, Inc. | In cycling stability of Li-ion battery with molten salt electrolyte |
| JP2007213820A (ja) * | 2006-02-07 | 2007-08-23 | Hitachi Vehicle Energy Ltd | 二次電池 |
| JP4599314B2 (ja) | 2006-02-22 | 2010-12-15 | 株式会社東芝 | 非水電解質電池、電池パック及び自動車 |
| JP2008053196A (ja) | 2006-07-27 | 2008-03-06 | Sony Corp | 非水電解質二次電池 |
| JP5099407B2 (ja) * | 2006-11-30 | 2012-12-19 | 住友電気工業株式会社 | 電池 |
| JP4435194B2 (ja) | 2007-03-27 | 2010-03-17 | 株式会社東芝 | 非水電解質電池、電池パック及び自動車 |
| JP5157244B2 (ja) * | 2007-05-11 | 2013-03-06 | Tdk株式会社 | 電気化学デバイス及びその製造方法 |
| JP5049680B2 (ja) * | 2007-07-12 | 2012-10-17 | 株式会社東芝 | 非水電解質電池及び電池パック |
-
2010
- 2010-08-06 US US12/852,429 patent/US8808884B2/en active Active
- 2010-08-20 KR KR1020100080916A patent/KR101211863B1/ko active Active
- 2010-09-15 CN CN201010286356.8A patent/CN102024934B/zh active Active
- 2010-09-15 JP JP2010206575A patent/JP5259662B2/ja active Active
- 2010-09-16 EP EP10177197.0A patent/EP2299532B1/en active Active
Also Published As
| Publication number | Publication date |
|---|---|
| US8808884B2 (en) | 2014-08-19 |
| EP2299532B1 (en) | 2017-01-11 |
| CN102024934A (zh) | 2011-04-20 |
| KR20110030306A (ko) | 2011-03-23 |
| KR101211863B1 (ko) | 2012-12-12 |
| CN102024934B (zh) | 2014-01-22 |
| JP2011065993A (ja) | 2011-03-31 |
| US20110064973A1 (en) | 2011-03-17 |
| EP2299532A1 (en) | 2011-03-23 |
Similar Documents
| Publication | Publication Date | Title |
|---|---|---|
| JP5259662B2 (ja) | 電極組立体及びこれを含む二次電池 | |
| CN104603988B (zh) | 电极板和二次电池 | |
| JP2022009746A (ja) | リチウム二次電池用正極活物質およびこれを含むリチウム二次電池 | |
| EP2365571B1 (en) | Nonaqueous electrolyte secondary battery | |
| KR101829528B1 (ko) | 전극, 비수전해질 전지 및 전지 팩 | |
| JP2009021134A (ja) | 非水電解質電池及び電池パック | |
| CN103904368A (zh) | 锂二次电池 | |
| WO2015040747A1 (ja) | 非水電解質電池用電極、非水電解質電池及び電池パック | |
| JPWO2017047353A1 (ja) | 非水電解質二次電池 | |
| JP2015138730A (ja) | 二次電池 | |
| US20150263334A1 (en) | Non-aqueous electrolyte secondary battery | |
| JP2005243455A (ja) | 電気化学デバイス | |
| WO2021192403A1 (ja) | 二次電池 | |
| JP7096981B2 (ja) | リチウムイオン二次電池 | |
| WO2020059803A1 (ja) | 二次電池 | |
| JP6778396B2 (ja) | 非水電解質二次電池 | |
| US20080199764A1 (en) | Safer high energy battery | |
| JP2012252951A (ja) | 非水電解質二次電池 | |
| JP7197537B2 (ja) | リチウムイオン二次電池 | |
| JP2014207238A (ja) | 非水電解質電池及び電池パック | |
| JP4240060B2 (ja) | 正極活物質および電池 | |
| JP7296042B2 (ja) | 非水電解液二次電池 | |
| JP2003331823A (ja) | 非水電解質二次電池、およびその製造方法 | |
| JP2018056025A (ja) | リチウムイオン二次電池 | |
| JP7303084B2 (ja) | リチウムイオン電池 |
Legal Events
| Date | Code | Title | Description |
|---|---|---|---|
| A977 | Report on retrieval |
Free format text: JAPANESE INTERMEDIATE CODE: A971007 Effective date: 20121122 |
|
| A131 | Notification of reasons for refusal |
Free format text: JAPANESE INTERMEDIATE CODE: A131 Effective date: 20121204 |
|
| A521 | Request for written amendment filed |
Free format text: JAPANESE INTERMEDIATE CODE: A523 Effective date: 20130304 |
|
| TRDD | Decision of grant or rejection written | ||
| A01 | Written decision to grant a patent or to grant a registration (utility model) |
Free format text: JAPANESE INTERMEDIATE CODE: A01 Effective date: 20130402 |
|
| A61 | First payment of annual fees (during grant procedure) |
Free format text: JAPANESE INTERMEDIATE CODE: A61 Effective date: 20130424 |
|
| FPAY | Renewal fee payment (event date is renewal date of database) |
Free format text: PAYMENT UNTIL: 20160502 Year of fee payment: 3 |
|
| R150 | Certificate of patent or registration of utility model |
Ref document number: 5259662 Country of ref document: JP Free format text: JAPANESE INTERMEDIATE CODE: R150 Free format text: JAPANESE INTERMEDIATE CODE: R150 |
|
| R250 | Receipt of annual fees |
Free format text: JAPANESE INTERMEDIATE CODE: R250 |
|
| R250 | Receipt of annual fees |
Free format text: JAPANESE INTERMEDIATE CODE: R250 |
|
| R250 | Receipt of annual fees |
Free format text: JAPANESE INTERMEDIATE CODE: R250 |
|
| R250 | Receipt of annual fees |
Free format text: JAPANESE INTERMEDIATE CODE: R250 |
|
| R250 | Receipt of annual fees |
Free format text: JAPANESE INTERMEDIATE CODE: R250 |
|
| R250 | Receipt of annual fees |
Free format text: JAPANESE INTERMEDIATE CODE: R250 |
|
| R250 | Receipt of annual fees |
Free format text: JAPANESE INTERMEDIATE CODE: R250 |
|
| R250 | Receipt of annual fees |
Free format text: JAPANESE INTERMEDIATE CODE: R250 |
|
| R250 | Receipt of annual fees |
Free format text: JAPANESE INTERMEDIATE CODE: R250 |
|
| R250 | Receipt of annual fees |
Free format text: JAPANESE INTERMEDIATE CODE: R250 |
