JP5259153B2 - 車両用シートのサイドサポート装置及びこれを用いた車両用シート - Google Patents

車両用シートのサイドサポート装置及びこれを用いた車両用シート Download PDF

Info

Publication number
JP5259153B2
JP5259153B2 JP2007272273A JP2007272273A JP5259153B2 JP 5259153 B2 JP5259153 B2 JP 5259153B2 JP 2007272273 A JP2007272273 A JP 2007272273A JP 2007272273 A JP2007272273 A JP 2007272273A JP 5259153 B2 JP5259153 B2 JP 5259153B2
Authority
JP
Japan
Prior art keywords
support device
vehicle seat
rotation
turning
side support
Prior art date
Legal status (The legal status is an assumption and is not a legal conclusion. Google has not performed a legal analysis and makes no representation as to the accuracy of the status listed.)
Expired - Fee Related
Application number
JP2007272273A
Other languages
English (en)
Other versions
JP2009096422A (ja
Inventor
孝夫 小松原
直樹 坂根
Current Assignee (The listed assignees may be inaccurate. Google has not performed a legal analysis and makes no representation or warranty as to the accuracy of the list.)
Namba Press Works Co Ltd
Original Assignee
Namba Press Works Co Ltd
Priority date (The priority date is an assumption and is not a legal conclusion. Google has not performed a legal analysis and makes no representation as to the accuracy of the date listed.)
Filing date
Publication date
Application filed by Namba Press Works Co Ltd filed Critical Namba Press Works Co Ltd
Priority to JP2007272273A priority Critical patent/JP5259153B2/ja
Publication of JP2009096422A publication Critical patent/JP2009096422A/ja
Application granted granted Critical
Publication of JP5259153B2 publication Critical patent/JP5259153B2/ja
Expired - Fee Related legal-status Critical Current
Anticipated expiration legal-status Critical

Links

Images

Landscapes

  • Seats For Vehicles (AREA)
  • Chair Legs, Seat Parts, And Backrests (AREA)

Description

本発明は、車両用シートのサイドサポート装置及びこれを用いた車両用シートに関し、特に乗降性を好適にしたサイドサポートに関するものである。
車両用シートのうち、特にスポーツタイプの自動車に使用されるものは、乗員着座面の左右のサイド部分が高めに設けられており、バケット感を有しかつサポート性に優れたものとなっている。例えば、カーブの多い山道等でも乗員の着座姿勢の安定性が確保でき、良好な運転を行うことができるように資するものである。
しかしながら、乗員着座面の左右のサイド部分が高めに設けられていることは、車両への乗降に支障が生じる。特にスポーツタイプの自動車は車高が低いことから、サイド部分が高いとさらに乗降の妨げになってしまう。
このような問題を解消するために、サイド部分を上下回動させてその高さを調節し、乗降性の向上を図るサイドサポート装置が提案されている(特許文献1参照)。
特許文献1に記載のサイドサポート装置は、座席シートとサイド部とが駆動歯車と円弧ギアとの噛み合わせにより回動するものであり、乗員の操作によって上下回動可能となっている。
特開2001−120382号公報参照
しかしながら、特許文献1に記載のサイドサポート装置は、乗員の操作によって上下回動するものであるため、降車の際にはその都度操作が必要であり煩雑となってしまう。
またサイド部分全体を上下回動するため、操作機構への負担が大きくなり、駆動装置等を大型なものにする必要がある等、改良の余地が多い。
本発明は、バケット感を有しかつサポート性に優れ、かつ乗降性の支障がなく使い勝手の良いサイドサポート装置の提供を目的とする。
前記目的を達成するために本発明が提案するものは、着座部と、背もたれ部とを備えた車両用シートの前記着座部の左右両端に備えた車両用シートのサイドサポート装置であって、板状クッション部材であるサイド部と、該サイド部の下に位置する側板部と、前記サイド部を回動させる回動手段とを有し、少なくとも自動車乗降口側の前記サイド部が、イグニッションスイッチの切断又はシートベルトの解除により、前記回動手段によりサイドサポート装置の後部側に位置する回動軸を中心に所定位置から前記側板部内に向けて下方回動することを特徴とする車両用シートのサイドサポート装置である。
このように、イグニッションスイッチの切断又はシートベルトの解除により、サイド部が所定位置から下方向に自動的に回動するので、乗員は煩雑な操作なしに降車及び乗車ができる。
またサイドサポート装置のうち、上部のサイド部を上下回動させるので、側板部をも含めて上下回動するよりも動作がスムーズに行える。
また前記サイド部は、更にイグニッションスイッチの接続又はシートベルトの装着により、前記回動手段によりサイドサポート装置の後部側に位置する回動軸を中心に上方向に回動するようにできる。
乗車した際には、自動的にサイド部が立ち上がるようにすれば、乗車時のサイド部操作を省略することができる。
サイド部は、乗車、降車の時には自動的に上下回動するが、その他乗員の好みに応じて調整操作をすることができるものである。また自動的な上下回動についても、乗員の好みに応じた上下回動の角度をあらかじめ設定することができる。
なお前記側板部のうち前記サイド部側の部分が、前記サイド部と共に回動するようにしても良い。サイド部単独回動の際に生じる側板部との摺動摩擦をなくし、上下回動が円滑になるものである。
前記回動手段は、前記サイド部を回動させる回動部と、該回動部を駆動させる駆動部と、該駆動部と前記回動部とを連結する連結部とを備えてなるものである。
そして本発明は、上記目的を達成するために、さらに上記サイドサポート装置を備えた車両用シートを提供するものである。
本発明によれば、車両用シートのサイドサポート装置のサイド部が、イグニッションスイッチの切断又はシートベルトの解除により、回動手段によりサイドサポート装置の後部側に位置する回動軸を中心に所定位置から側板部内に向けて下方回動するので、特段の操作を要することなく車両の乗降が容易となる。
以下、添付図面を参照して本発明の好ましい実施形態を説明する。
図1は本発明に係る車両シートのサイドサポート装置を備えた車両シートの斜視図、図2(a)はサイド部が上端に位置するときのシートフレーム正面図、(b)はサイド部が下端に位置するときのシートフレーム正面図、図3はサイド部を上下回動させる回動手段の斜視図、図4は回動手段をシートフレームに取り付けた状態図で、(a)は正面図、(b)は平面図、(c)は背面図である。図5はサイド上下回動の動作の説明図、図6はサイド部の上下回動の手順を示すフロー図、図7はサイドサポート装置の変形例である。
図1に示すように、車両用シートのサイドサポート装置12(12a、12b)は、主として着座部13と背もたれ部15とを備えてなる車両用シート16の着座部13の左右にそれぞれ取り付けられている。
着座部13及び背もたれ部15は、クッション性の良い素材でその外側を形成しており、背もたれ部15はリクライニング式となっており、また着座部13は背もたれ部15側を回転軸として上下回動し、乗員の身体サイズに適合するようになっている。さらに背もたれ部15には、その両側に回動可能なバックサイド部17a、17bが設けてある。
そして着座部13の左右に取付けられているサイドサポート装置12(12a、12b)は、着座部13の上面より上端が低い位置にある中空板状の側板部(18a、18b)と、その側板部(18a、18b)の上に位置し、上下回動する中空の板状クッション部材のサイド部(20a、20b)と、そして回動手段である回動装置21(図1では図示せず)とを有するものである。
ドア側のサイドサポート装置12aは、サイド部20aが背もたれ部15側にある回転軸を中心に上下回動し、回動の上端位置はサイド部20aの先端が着座部13より上に立ち上がり乗員の膝上部くらいまでであり、回動の下端位置はサイド部20aの先端が着座部13の上面位置まで下がるようになっている。サイド部20aは下向き回動した際には側板部18aの中にその一部が収容されるようになっている。
サイド部20aの回動は後述するようにイグニッションスイッチの作動(ON、OFF)により自動的に行われるが、操作パネル(図示せず)を操作することで乗員が随時行うことも可能である。内側のサイド部20aは側板部18bの間から立ち上がった状態におかれ、所定位置に固定されている。しかし内側のサイド部20aについても、イグニッションスイッチの作動により自動的に上下回動してよく、あるいは操作パネル(図示せず)を操作することで乗員が随時行うようにすることもできる。なお本実施形態では、イグニッションスイッチの作動によりサイド部20aを自動的に上下回動させているが、イグニッションスイッチの作動に変えてシートベルトの脱着によりサイド部20aを上下回動させてもよい。また本実施形態では、サイド部20aの上下回動を自動的に行っているが、サイド部20aの上向き回動は任意であり、下向き回動を自動的に行うことにより乗員の車両乗降の円滑が図れるものである。
図2(a)(b)に示すように、車両用シート16のシートフレーム31は、車両床面に取り付けられる着座部用フレーム32と、着座部用フレーム32の後部にリクライニング式として回動可能に取り付けられた背もたれ部用フレーム33(図2ではその一部のみ図示)とを備えてなるものである。そして着座部用フレーム32の中央部から前部にかけて回動装置35(回動手段)が取付けられている(図2では回動装置35を構成する回動部36が記載されている)。
図2(a)(b)に示す回動部36はドア側のサイド部20aを上下回動させるものであり、主としてメインフレーム37と、メインフレーム37の上下回動の軸である回動軸B38と、メインフレーム37を回動させる力を伝達するリンク部材B30と、リンク部材B30と回動可能に接続するリンク部材A39と、リンク部材の回動の軸である回動軸A40とを備えてなるものである。回動軸A40は後述するように駆動部の回転を受けて回動する連結部に接続されている。
図2(a)は、メインフレーム37が上下回動の上部位置にあり、これによって図1のサイド部20aも立ち上がった上部位置にあることになる。図2(b)は、駆動部の回転を受けた連結部の回動によって回動軸A40が回動し、この回動が伝達されたリンク部材A39とリンク部材B30の回動によってメインフレーム37が回動軸B38を中心に下方向回動した状態を示したものであり、これによって図1のサイド部20aが下部方向に回動することになる。
図3は回動手段である回動装置35の斜視図であり、回動装置35は主として、上下回動を行うメインフレーム37を含んだ回動部36と、モーター(図示せず)とその格納具であるモーター固定用ブラケット43より構成される駆動部と、モーターに直結して回転するピニオン41、ピニオン41と噛み合って上下回動する円弧状のセクターギヤ42、及びセクターギヤ42の回動を回動部36に伝達するシャフト45を含んだ連結部46とによりなるものである。
図4(a)は回動装置35の正面図(ドア側からの視野図)であり、同(b)は回動装置35の平面図、同(c)は回動装置35の背面図(車両内部側からの視野図)である。
また図5は、サイド上下回動の動作の説明図であり、図5、図3及び図4を参照して回動装置35の上下回動の動作について説明する。
イグニッションスイッチの接続(ON)又は切断(OFF)により、駆動部であるモーターを制御する制御信号が発生する。そしてモーターの回転に直結したピニオン41が回動すると、これに噛み合っているセクターギヤ42が回動することになる。そしてセクターギヤ42の回動はシャフト45の回動になって回動部36に伝達される。
さらにシャフト45の回動が回動軸A40の回動になり、これによって生じる変位がリンク部材A39及びリンク部材B30に伝わり、メインフレーム37を回動軸B38を中心にして上下回動させることになる。これによりメインフレーム37を内部に格納した図1のサイド部20aが上下回動することになる。
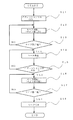
図6は、サイド部の上下回動の手順を示すフロー図である。このフロー図ではイグニッションスイッチ(適宜「イグニッションSW」と示す)がONのときと、OFFのときのいずれの場合にもサイド部20aが回動するように設定されている。
車両に乗車し、イグニッションSWを接続(ON)したときに接続状態を示す信号がモーター制御部に送られる(S11)。このときモーターが回転し、前述した回動装置35によりサイド部20aが上昇回動することになる(S12)。サイド部20aは上端位置まで上昇することになるが(S13)、この上端位置は乗員の好みに合わせて予め所定位置に設定することができる。サイド部20aが上端位置まで回動したときに駆動部であるモーターが停止する(S14)。
次に車両が停止して、乗員が降車するためにイグニッションSWを切断(OFF)したときは(S15)、モーターが作動し、サイド部20aが下降回動する(S16)。この下降回動はサイド部20aが下端位置まで下降回動するようになっている(S17)。なお上端位置同様、乗員の好みに合わせて下端位置を予め設定することができる。
下端位置にまでサイド部20aが下降回動したときは、モーターの作動は停止するようになっている。これにより乗員はサイド部20aの作動操作を自ら行うことなく、降車をサイド部20aによる支障を受けることなく円滑に行うことができる。
本実施形態では、イグニッションSWの接続(ON)、切断(OFF)によりサイド部の上下回動を行ったが、イグニッションSWにかえてシートベルトの脱着によっても同様に行うことができる。例えば、シートベルトを装着した後にサイド部20aが上昇して乗員の運転姿勢の安定を図り、シートベルトを外したときにサイド部20aを下降回動させて降車の円滑と次回の乗車の便を図るものである。
また乗車の際にサイド部20aの上昇回動を自動的に行っているが、少なくとも降車時のサイド部20aの下降回動が保障されていれば、乗降の円滑性は確保されることになる。
次に、サイドサポート装置の変形例を説明する。図7はサイドサポート装置の変形例であり、ここではドア側のサイドサポート装置12aにおける側板部18aが2分割されている点にその特徴がある。
側板部18aの一部とサイド部20aとがそのまま一体となって上下回動することで、側板部18aとサイド部20aとの摺動摩擦を抑えることができ、円滑な上下回動を提供することができるものである。
本発明に係る車両シートのサイドサポート装置を備えた車両シートの斜視図。 (a)はサイド部が上端に位置するときのシートフレーム正面図、(b)はサイド部が下端に位置するときのシートフレーム正面図。 サイド部を上下回動させる回動手段の斜視図。 回動手段をシートフレームに取り付けた状態図で、(a)は正面図、(b)は平面図、(c)は背面図。 サイド部上下回動の動作の説明図。 サイド部の上下回動の手順を示すフロー図。 サイドサポート装置の変形例。
符号の説明
12(12a、12b) サイドサポート装置
13 着座部
15 背もたれ部
16 車両用シート
18(18a、18b) 側板部
20(20a、20b) サイド部
35 回動装置(回動手段)

Claims (4)

  1. 着座部と、背もたれ部とを備えた車両用シートの前記着座部の左右両端に備えた車両用シートのサイドサポート装置であって、
    板状クッション部材であるサイド部と、該サイド部の下に位置する側板部と、前記サイド部を回動させる回動手段とを有し、
    少なくとも自動車乗降口側の前記サイド部が、イグニッションスイッチの切断又はシートベルトの解除により、前記回動手段によりサイドサポート装置の後部側に位置する回動軸を中心に所定位置から前記側板部内に向けて下方回動する際に、前記側板部のうち前記サイド部側の部分が、前記サイド部と共に回動することを特徴とする車両用シートのサイドサポート装置。
  2. 前記サイド部は、更にイグニッションスイッチの接続又はシートベルトの装着により、前記回動手段によりサイドサポート装置の後部側に位置する回動軸を中心に上方向に回動する際に、前記側板部のうち前記サイド部側の部分が、前記サイド部と共に回動することを特徴とする請求項1に記載の車両用シートのサイドサポート装置。
  3. 前記回動手段は、前記サイド部を回動させる回動部と、該回動部を駆動させる駆動部と、該駆動部と前記回動部とを連結する連結部とを備えてなることを特徴とする請求項1又は2に記載の車両用シートのサイドサポート装置。
  4. 請求項1ないし3の何れか一項に記載の車両用シートのサイドサポート装置を設けた車両用シート。
JP2007272273A 2007-10-19 2007-10-19 車両用シートのサイドサポート装置及びこれを用いた車両用シート Expired - Fee Related JP5259153B2 (ja)

Priority Applications (1)

Application Number Priority Date Filing Date Title
JP2007272273A JP5259153B2 (ja) 2007-10-19 2007-10-19 車両用シートのサイドサポート装置及びこれを用いた車両用シート

Applications Claiming Priority (1)

Application Number Priority Date Filing Date Title
JP2007272273A JP5259153B2 (ja) 2007-10-19 2007-10-19 車両用シートのサイドサポート装置及びこれを用いた車両用シート

Publications (2)

Publication Number Publication Date
JP2009096422A JP2009096422A (ja) 2009-05-07
JP5259153B2 true JP5259153B2 (ja) 2013-08-07

Family

ID=40699816

Family Applications (1)

Application Number Title Priority Date Filing Date
JP2007272273A Expired - Fee Related JP5259153B2 (ja) 2007-10-19 2007-10-19 車両用シートのサイドサポート装置及びこれを用いた車両用シート

Country Status (1)

Country Link
JP (1) JP5259153B2 (ja)

Families Citing this family (28)

* Cited by examiner, † Cited by third party
Publication number Priority date Publication date Assignee Title
US9415713B2 (en) 2013-01-24 2016-08-16 Ford Global Technologies, Llc Flexible seatback system
US9399418B2 (en) 2013-01-24 2016-07-26 Ford Global Technologies, Llc Independent cushion extension and thigh support
US9409504B2 (en) 2013-01-24 2016-08-09 Ford Global Technologies, Llc Flexible seatback system
US9193284B2 (en) 2013-06-11 2015-11-24 Ford Global Technologies, Llc Articulating cushion bolster for ingress/egress
US9045063B2 (en) 2013-06-11 2015-06-02 Ford Global Technologies, Llc Articulating seat bolsters
US9315131B2 (en) 2014-01-23 2016-04-19 Ford Global Technologies, Llc Suspension seat back and cushion system having an inner suspension panel
US9421894B2 (en) 2014-04-02 2016-08-23 Ford Global Technologies, Llc Vehicle seating assembly with manual independent thigh supports
US9789790B2 (en) 2014-10-03 2017-10-17 Ford Global Technologies, Llc Tuned flexible support member and flexible suspension features for comfort carriers
US10046682B2 (en) 2015-08-03 2018-08-14 Ford Global Technologies, Llc Back cushion module for a vehicle seating assembly
US10286818B2 (en) 2016-03-16 2019-05-14 Ford Global Technologies, Llc Dual suspension seating assembly
US9849817B2 (en) 2016-03-16 2017-12-26 Ford Global Technologies, Llc Composite seat structure
US9994135B2 (en) 2016-03-30 2018-06-12 Ford Global Technologies, Llc Independent cushion thigh support
US10220737B2 (en) 2016-04-01 2019-03-05 Ford Global Technologies, Llc Kinematic back panel
US9889773B2 (en) 2016-04-04 2018-02-13 Ford Global Technologies, Llc Anthropomorphic upper seatback
US9802512B1 (en) 2016-04-12 2017-10-31 Ford Global Technologies, Llc Torsion spring bushing
US9845029B1 (en) 2016-06-06 2017-12-19 Ford Global Technologies, Llc Passive conformal seat with hybrid air/liquid cells
US9849856B1 (en) 2016-06-07 2017-12-26 Ford Global Technologies, Llc Side airbag energy management system
US9834166B1 (en) 2016-06-07 2017-12-05 Ford Global Technologies, Llc Side airbag energy management system
US10166895B2 (en) 2016-06-09 2019-01-01 Ford Global Technologies, Llc Seatback comfort carrier
US10377279B2 (en) 2016-06-09 2019-08-13 Ford Global Technologies, Llc Integrated decking arm support feature
US10286824B2 (en) 2016-08-24 2019-05-14 Ford Global Technologies, Llc Spreader plate load distribution
US10279714B2 (en) 2016-08-26 2019-05-07 Ford Global Technologies, Llc Seating assembly with climate control features
US10391910B2 (en) 2016-09-02 2019-08-27 Ford Global Technologies, Llc Modular assembly cross-tube attachment tab designs and functions
US10239431B2 (en) 2016-09-02 2019-03-26 Ford Global Technologies, Llc Cross-tube attachment hook features for modular assembly and support
US10286825B2 (en) 2016-09-08 2019-05-14 Ford Global Technologies, Llc Support assembly for a vehicle seat
US9914378B1 (en) 2016-12-16 2018-03-13 Ford Global Technologies, Llc Decorative and functional upper seatback closeout assembly
US10596936B2 (en) 2017-05-04 2020-03-24 Ford Global Technologies, Llc Self-retaining elastic strap for vent blower attachment to a back carrier
DE102019216019A1 (de) * 2019-10-17 2021-04-22 Psa Automobiles Sa Sitz mit verschwenkbaren Seitenwangenstützen

Family Cites Families (8)

* Cited by examiner, † Cited by third party
Publication number Priority date Publication date Assignee Title
JPS6029733U (ja) * 1983-08-05 1985-02-28 スズキ株式会社 自動車用座席装置
JPS62115234U (ja) * 1986-01-16 1987-07-22
JPH0323868Y2 (ja) * 1986-01-20 1991-05-24
JPS63130335U (ja) * 1987-02-20 1988-08-25
JPH0338233U (ja) * 1989-08-28 1991-04-12
JPH0535456U (ja) * 1991-10-21 1993-05-14 株式会社タチエス シ−トクツシヨンのサイドサポ−ト装置
JP2001120382A (ja) * 1999-10-29 2001-05-08 T S Tec Kk 車両用シートのサイドサポート装置
WO2006105914A2 (de) * 2005-04-08 2006-10-12 Schukra Gerätebau AG Verstellvorrichtung für eine seitenwange eines sitzes sowie verfahren zum verstellen einer seitenwange

Also Published As

Publication number Publication date
JP2009096422A (ja) 2009-05-07

Similar Documents

Publication Publication Date Title
JP5259153B2 (ja) 車両用シートのサイドサポート装置及びこれを用いた車両用シート
JPH1059037A (ja) 傾動可能な背部を有するチャイルドシート
CN101795890B (zh) 车辆用座椅装置
KR101585850B1 (ko) 파워 헤드레스트 장치
JP6615596B2 (ja) 自動車用シートクッションエクステンション装置
KR101725414B1 (ko) 차량 시트용 레그 레스트 장치
JP4767966B2 (ja) 折りたたみ式肘掛け
JP5104161B2 (ja) 車両用シート
JP6524843B2 (ja) 乗物用シート
JP2017039468A (ja) 車両用シート及び車両
JP2012066776A (ja) 車両用シート
KR102872956B1 (ko) 차량용 시트 조절 장치
JP2015091680A (ja) 車両用シート装置
KR101620231B1 (ko) 차량용 후석 리클라이닝 장치
CA3167749A1 (en) Seat assembly with power easy entry having concentric motion
JP6599243B2 (ja) 車両用シートのリクライニング装置
KR101470213B1 (ko) 차량의 시트 사이드 볼스터 장치
JP6398795B2 (ja) 乗物用シート
JPH05170019A (ja) 車両同乗者用シートの安全装置
JP4438556B2 (ja) シートクッション長可変の車両用シート
JP5056125B2 (ja) 車両用シート
JP2009202801A (ja) 車両用回転シート
JP2008074238A (ja) シート装置
JP2006218882A (ja) 自動車のシート位置調整装置
JP2001149177A (ja) ランバーサポート装置

Legal Events

Date Code Title Description
A621 Written request for application examination

Free format text: JAPANESE INTERMEDIATE CODE: A621

Effective date: 20100825

A977 Report on retrieval

Free format text: JAPANESE INTERMEDIATE CODE: A971007

Effective date: 20120907

A131 Notification of reasons for refusal

Free format text: JAPANESE INTERMEDIATE CODE: A131

Effective date: 20120912

A521 Written amendment

Free format text: JAPANESE INTERMEDIATE CODE: A523

Effective date: 20121108

TRDD Decision of grant or rejection written
A01 Written decision to grant a patent or to grant a registration (utility model)

Free format text: JAPANESE INTERMEDIATE CODE: A01

Effective date: 20130417

A61 First payment of annual fees (during grant procedure)

Free format text: JAPANESE INTERMEDIATE CODE: A61

Effective date: 20130424

FPAY Renewal fee payment (event date is renewal date of database)

Free format text: PAYMENT UNTIL: 20160502

Year of fee payment: 3

R150 Certificate of patent or registration of utility model

Free format text: JAPANESE INTERMEDIATE CODE: R150

R250 Receipt of annual fees

Free format text: JAPANESE INTERMEDIATE CODE: R250

R250 Receipt of annual fees

Free format text: JAPANESE INTERMEDIATE CODE: R250

LAPS Cancellation because of no payment of annual fees