JP5218924B2 - 差込み型継手 - Google Patents

差込み型継手 Download PDF

Info

Publication number
JP5218924B2
JP5218924B2 JP2011142772A JP2011142772A JP5218924B2 JP 5218924 B2 JP5218924 B2 JP 5218924B2 JP 2011142772 A JP2011142772 A JP 2011142772A JP 2011142772 A JP2011142772 A JP 2011142772A JP 5218924 B2 JP5218924 B2 JP 5218924B2
Authority
JP
Japan
Prior art keywords
joint
protective cap
cylindrical portion
ring
peripheral surface
Prior art date
Legal status (The legal status is an assumption and is not a legal conclusion. Google has not performed a legal analysis and makes no representation as to the accuracy of the status listed.)
Expired - Lifetime
Application number
JP2011142772A
Other languages
English (en)
Other versions
JP2011185443A (ja
Inventor
博 大矢
安孝 吉田
Current Assignee (The listed assignees may be inaccurate. Google has not performed a legal analysis and makes no representation or warranty as to the accuracy of the list.)
Proterial Ltd
Original Assignee
Hitachi Metals Ltd
Priority date (The priority date is an assumption and is not a legal conclusion. Google has not performed a legal analysis and makes no representation as to the accuracy of the date listed.)
Filing date
Publication date
Application filed by Hitachi Metals Ltd filed Critical Hitachi Metals Ltd
Priority to JP2011142772A priority Critical patent/JP5218924B2/ja
Publication of JP2011185443A publication Critical patent/JP2011185443A/ja
Application granted granted Critical
Publication of JP5218924B2 publication Critical patent/JP5218924B2/ja
Anticipated expiration legal-status Critical
Expired - Lifetime legal-status Critical Current

Links

Images

Landscapes

  • Joints With Sleeves (AREA)

Description

本発明は、給水用、給湯用などの樹脂管の内周面を抜止部材により係止する形式の差込み型継手、また樹脂管の挿入方向に移動する加圧部材で樹脂管を保護する形式の差込み型継手、さらにこのとき樹脂管の挿入確認の出来る差込型継手に関する。
従来、ガス管、水道管等の流体輸送管として使用されている、ポリエチレン(PE)、ポリブテン(PB)、ポリプロピレン(PP)等のポリオレフィン系樹脂で形成された樹脂管は種々の方法で接合されるが、接合手段としては、一般的には、継手本体にナットを螺合し、継手本体とナット内に装着したパッキンや食い込みリングを圧縮することで接続するメカニカル方式の管継手が使用されている。このメカニカル方式の管継手によれば、管端部外面に食い込みリングを組付け次いでレンチにより継手本体にナットを締め付けることにより接続が行われる。しかし、上記のメカニカル式管継手は、管の挿入が確実に行われたか否かの管挿入確認が施工完了後に出来ないという欠点があり、さらにナットの締め付け程度についても確認が困難であり、管接続部の性能にバラツキが生じ易かった。従って、管の挿入不足や、ナットの締め付け不足あるいは食い込みリングの装着ミスが発生しても、施工直後に行う短期の漏れテストだけでは、これらの不具合を検出することができず、長期間の使用時に接続管の抜けや、流体の漏れを発生することがある。
これらの問題点を解消する従来例として、樹脂製パイプの端部に挿入される挿入筒部を有し、その外周にシール部材が装着されている継手本体と、挿入筒部に外嵌されたパイプの端部を弾発的な締め付け力で締め付けるためのスリット付きの締付環体と、締付環体の弾発力に抗して締付環体を拡径するようにスリットの端部に離脱可能に挟持されて、パイプの先端部に当接して離脱する拡径片とを備えた差込み型継手が提案されている(特許文献1参照)。この差込み型継手は、その主要部が継手本体と締付環体と拡径片で構成されているので、従来の多数の部品を組み合わせた継手構造に比べて製造コストが低減され、かつ、小型の工具で接続作業が簡単に行え、接続強度のバラつきがなく、施工後の接続確認も容易であり、管の接続作業時の部品組付け作業や拡管作業などの面倒な作業が解消されるという多数の利点を有する。
また、上記締付環体をカバーで覆い、その外周面に形成された雄ネジに袋ナットを螺合することにより、着脱自在に締め付け固定することが提案されている(特許文献2参照)。この差込み型継手によれば、締付環体をそのスリットに拡径片を挟持した状態で継手本体に装着し、継手本体にパイプを挿入することにより、圧入状態の拡径片に対して回転モーメントが作用して、拡径片がスリットから離脱し、挿入筒部に外嵌されたパイプの端部が締付けられるように構成される。
また、上記問題点を解消する他の従来例として、外周に形成されたシールリング溝に弾性シールリングが嵌め込まれた内筒体を有する継手本体と、継手本体に一端部がねじ込まれた外筒体と、外筒体の外周に螺合されたナットと、外筒体の端面に当接する鍔部と外筒体の内周面に挿入されかつ内周に食込み歯を有するロックリングが先端に形成された中空軸とからなるコレットと、内周面の前端部から後方に向かって漸次窄まる前方拡がり状のテーパが形成されかつ後端部の外周に中空軸内の段差部に係合する複数の弾性係合爪が径方向外方へ切り起こす形で列設されたテーパ付リングを備えた差込み型継手が提案されている(特許文献3参照)。この差込み型継手は、樹脂管の一端部をコレットの中空軸に挿入し、管の切断端面でテーパ付リングが差込み間隙の内奥方向へ押し込まれ、テーパが弾性シールリングを圧縮しながらそこを通過するので、樹脂管の切断端面が面取りされていなくてもスムーズに挿入される。また、テーパ付リングのテーパはこのリングの内周面の前端部から後端部までの全長にわたって形成できるので、非常に撓み易くなり、ある程度斜めに切断された管であっても挿入することができる。
また、上記問題点を解消する更に他の従来例として、継手本体の外周に形成した雄ねじ部の内側に接続管を外嵌する円筒状の案内部を設け、この案内部に外周面に溝孔を形成し、この溝孔に樹脂管の内周面に密着するシール部材を装着し、さらに前記雄ねじ部に螺着する袋ナットと案内部の間にリングを介在させる差込み型継手が提案されている。また、ストッパーに当たるまで挿入されているかを外部のいずれの方向からでも目視できるように、確認孔を周面に同一間隔で複数個穿設することが開示されている(特許文献4参照)。この例によれば、樹脂管を袋ナットの開口部から挿入し、リングが樹脂管の外周面を押圧することで継手本体に接続可能としており、このとき接続管の先端面が傾斜状に切断されていたり、樹脂管が傾いていても、ガイド環がシール部材の外周面を均一に押圧し、シール部材がめくれたりよじれることがなく、スムーズに挿入ができる。
特開2001−295974号公報(第3−4頁、図1、図7) 特開2002−31282号公報(第3−4頁、図1、図7、図8) 特開2003−314775号公報(第5−6頁、図1) 特開2001−124258号公報(第3−4頁、図1、図4、図6)
特許文献1、特許文献2の差込み型継手は、メカニカル方式の管継手よりも部品点数を少なくできるが、それでも継手本体、シール部材、抜け止めリング、締付環体、拡径片、カバー及び袋ナットといった多数(7点)の部品で構成されているので、さらなる組立工数の低減及び製造コストの低減が要求されている。
特許文献3に記載された差込み型継手は、ある程度斜めに切断された管であっても挿入することができるなどの利点を有するが、弾性シールリングを十分に圧縮することができないという欠点がある。これは、テーパ付リングは断面が略三角形状に形成されており、その端面(三角形の底辺)が管の端面に押されて挿入されるので、弾性シールリングを押え付ける時に、その復元力により、上向きに撓み(跳ね上げられ)、弾性シールリングの圧縮代が小さくなることによるものと考えられる。このように弾性シールリングの圧縮代が小さく(例えば10%未満)なると、樹脂管の押出成形時に、樹脂管の内周面に微小な欠陥(縦筋)が形成された場合には、シール性が低下して、流体漏れが発生するという問題がある。また、樹脂管の切断時にその端面が扁平形状になり、内径側に部分的に変形する、あるいは管の端面にバリやかえりが生じることがあり、このような樹脂管が継手に挿入されると、弾性シールリングが傷つけられる、及び弾性シールリングが溝から押出されて挿入ができなくなる等の問題が生ずる場合がある。
特許文献4に記載された差込み型継手は、樹脂管の先端面が傾斜状に切断されていたり、樹脂管が傾いても、ガイド環がシール部材の外周面を均一に押圧し、シール部材がめくれたりよじれることがなく、スムーズに挿入することができるなどの利点を有するが、樹脂管の先端面が傾斜状に切断されていたり、樹脂管が傾いている場合、確認孔の目視による樹脂管の挿入確認が十分にできなくなる等の問題が生じる場合がある。
従って、本発明の目的は、上記の課題を解消して、従来よりも部品点数が少なく、しかも接続管と継手とを速やかに接合することができる差込み型継手を提供することである。
また、本発明の目的は、上記の課題を解消して、従来よりもシール性が向上し、しかも接続管の挿入を容易に行うことができる差込み型継手を提供することである。
また、本発明の目的は、上記の課題を解消して、従来よりも樹脂管の差込み確認を確実に行うことができ、更にはシール性を損なうことなくシール部材の簡略化、装着作業の工数低減を図ることができる差込み型継手を提供することである。
本発明の差込み型継手は、接続管が外装される円筒部を有する継手本体と、前記接続管に食い込む略C字形状の抜止リングと、前記円筒部の外周に装着される弾性変形可能なシール部材と、前記円筒部の外側であって継手本体に固着される保護キャップと、前記保護キャップと前記円筒部との間に介装される弾性体からなる加圧リングとを備え、前記加圧リングは、前記接続管の端面に当接する第1加圧部とその内径側から延出し前記接続管の端部内周面に挿入される第2加圧部とからなり、前記円筒部には、少なくとも前記加圧リングの第2加圧部が保持される保持溝を有し、かつその底面は前記シール部材に向かって上り勾配に形成されているものである。
この差込み型継手によれば、接続管の端面が加圧リングに当接することにより、加圧リングがシール部材に向かって押し込まれ、第1加圧部でシール部材が圧縮される。ここで第1加圧部に連なる第2加圧部が接続管の内周面に回り込むように形成されているので、第1加圧部の跳ね上がりが大幅に抑制され、シール部材の略全体が保持溝内に押し込まれる。よって、接続管とシール部材の密着性が大幅に向上し、接続管に縦筋が存在した場合でもそこからの流体漏れを確実に防止することができる。
また、樹脂管挿入前の加圧リングの前後移動が阻止されると共にシール部材を乗り越えやすくなり挿入がスムーズとなる。また、斜めに切断された接続管や扁平した接続管であっても加圧リングを介して前進するので上記した効果を確実に得られる。
この差込み型継手において、抜止リング及び/又はシール部材は各々前記円筒部の外周溝に複数個装着することができる。これにより係止力及び気密シール性の信頼性が高くなる。
また、この差込み型継手において、前記シール部材は複数の山部を有す形状にすることができる。これにより複数個のシール部材を一体成形する等によりシール性を損なうことなく構造は簡略化され組立作業性は向上する。
また上記差込み型継手において、前記保護キャップは、透明又は半透明の樹脂製であり、前記保護キャップの外周面又は内周面に目盛りを設けることができる。これにより樹脂管に面取りやマーキングをすることなく挿入状況を目視により確認することができる。
また上記差込み型継手において、前記保護キャップの目盛りは円環状で底面又は上面が凹部又は凸部あるいは透明部と着色又は表面を荒らした不透明部の境界線で形成することができる。
本発明の差込み型継手によれば、継手本体と抜止リングとシール部材と加圧リングと保護キャップといった少ない部品(5点)で構成されるので、より小型となり組立工数及び製造コストが低減される。しかも保護キャップと円筒部との隙間に接続管を差込むだけの操作で、接続管とシール部材の密着性が大幅に向上し高いシール性を持って接続管と継手とを速やかに接合することができる。
本発明の第1の実施の形態に係わる継手の半断面図である。 抜止リングを示す図で、(a)は斜視図、(b)は左側面図、(c)は正面図である。 本発明の第2の実施の形態に係わる継手の半断面図である。 本発明の第3の実施の形態に係わる継手の半断面図である。 抜止リングの他の例を示す図で、(a)は斜視図、(b)は左側面図、(c)は正面図である。 本発明の第4の実施の形態に係わる継手の半断面図である。 本発明の第4の実施の形態に用いたシール部材を示す斜視図である。 シール部材の他の例を示す半断面図である。 シール部材の他の例を示す半断面図である。 シール部材の他の例を示す半断面図である。 本発明の第5の実施の形態に係わる継手に樹脂管が挿入される途中の状態を示す半断面図である。 加圧リングの斜視図である。 図11の一部を拡大した断面図である。 本発明の第5の実施の形態に係わる継手の奥まで樹脂管が挿入された状態を示す半断面図である。 本発明の第6の実施の形態に係わる継手の半断面図である。 本発明の第6の実施の形態に係わる透明部目盛の他の例を示す半断面図である。 本発明の第6の実施の形態に係わる透明部目盛の他の例を示す半断面図及び保護キャップ外周面凹部の拡大図である。 半透明部と透明部を有する保護キャップの目盛の例を示す斜視図である。 本発明の第7の実施の形態に係わる継手の半断面図である。
(第1の実施形態)
以下、本発明の実施の形態を図面に基づいて説明する。
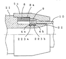
図1は本発明の第1の実施の形態に係わる差込み型継手の半断面図で、接続管を継手内部に挿入する前の状態を示す図であり、図2(a)は抜止リングの斜視図、図2(b)は同左側面図(b)、図2(c)は同正面図である。
図1に示すように、差込み型継手(以下、単に継手ということがある。以下同様)1は、環状の仕切部21とその両側に形成された円筒部22を有する継手本体2と、円筒部22の外周側に差込まれる樹脂管10により押圧される抜止リング3a、3b及びOリング4a、4bを備えている。この継手1は、仕切部21を挟んで対称の構造を有するもので、各部の詳細は一方の側についてのみ説明し、他方の側(図1の反対側)の説明は省略する。
継手本体2の円筒部22の仕切部21側には段部があり、図1に示すように、その外周面に端部に向かって、外周がエッジ状に形成された係止部221と、1条の円周溝222aと2条の円周溝223a、223bが形成されている。また、手前の挿入口の内径側は外側に広がるテーパ状となっている。円周溝222aの幅は、ここでは抜止リング3a、3bが並んで装着可能な寸法に設定される。2条の円周溝223a、223bには、弾性体(例えばEPDM等のオレフィン系ゴム)からなるOリング4a、4bが嵌装されている。抜止リング3a、3bとOリング4a、4bの外径は下記する接続管の内径より大きいものである。また、継手本体2には、係止部221の外径より小さな内径を有する保護キャップ5がここでは締りバメによって嵌着固定されている。更に、係止部221は、複数のエッジ状部が外周面に端部に向かって形成(不図示)されていても良く、このような構成にすることで固着強度を高めることができる。例えば継手本体を樹脂で形成した場合には特に有効である。
図2に示すように、抜止リング3a(3b)は、例えば耐食性を有する金属材料(SUS304等のオーステナイト系ステンレス鋼など)で形成され、縮径可能とするために、円周方向の途中に切り溝34が設けられ、一端側から他端側に向かって連続的に拡径された略C字状の部材である。抜止リング3a(3b)には、複数(図2の例では8個)の凸部31と複数(図2の例では7個)の凹部が円周方向に沿って交互に並ぶように形成されている。各凸部31は外周縁にエッジ部311を有するとともに、各凸部31の一方の端部は斜めに折曲げられて折曲部312a、312b、312c、312dが形成されている。
上記の各部品を用いて、次の手順で継手1が組立てられる。予め、継手本体2の円筒部22に形成された円周溝222aに抜止リング3a、3bが嵌装されるとともに、円周溝223a、223bにOリング4a、4bが嵌装される。次いで、円筒部22の外周に隙間を介して保護キャップ5が被せられ、その内周面が係止部221に圧入されることにより固着して、継手1が組立てられる。尚、保護キャップ5の固着手段としては、本例のような圧入の他にねじを用いた螺合、接着剤を用いた接着、溶接や摩擦圧着等による融着などを用いることが出来る。本発明ではこれらの手段を含めて固着と呼んでいる。このことは以下の実施態様でも同様である。
図1に示す継手1によれば、保護キャップ5と円筒部22との隙間に樹脂管10を差込むだけの操作で、樹脂管10同士を接続することができる。詳述すると、樹脂管10が矢印X方向に奥まで差込まれ、その先端が係止部221の端面に当接することにより、配管接続が完了する。樹脂管10が差込まれる過程で、樹脂管10の内周面に押圧されてOリング4a、4bが圧縮されることにより、樹脂管10と継手本体2とが確実にシールされる。さらに樹脂管10の内周面が抜止リング3a、3bを押え付けることにより、抜止リング3a、3bが縮径して、その外周に形成されたエッジ部311が樹脂管10の内周面に食い込み、樹脂管10が継手本体2に強固に固着される。しかも、抜止リング3aの折曲部312a〜312dが継手本体1の円周溝222aの内壁部222bに引掛り(係止される)、かつ、抜止リング3bの折曲部312a〜312dが抜止リング3aに引掛る(係止される)ことにより、接続管10が継手本体1に差込まれた時に抜止リング3a及び3bが継手本体1の奥側にずれ込むことが防止される。また、上記と同様の手順で、仕切部21の他方の側に形成された円筒部(不図示)にも樹脂管を接続することができる。このように本実施の形態によれば、少ない部品点数(4点)で、継手に接続管を速やかに、かつシール性を保って強固に接続することが可能となる。特に手前側の2つのOリング4a、4bによりシール性が保証され、奥側の2つの抜止リング3a、3bにより引抜き阻止力の高い接続が保証される。
(第2の実施の形態)
図3は本発明の第2の実施の形態に係わる継手の一方の端部を示す半断面図であり、図1と同一機能部分は同一の参照符号で示す。
図3に示す差込み型継手1は、環状の仕切部21と円筒部22を有する継手本体2と、円筒部22の外周側に差込まれる樹脂管10により押圧される抜止リング3a、3b及びOリング4a、4b、これらを取り囲む保護キャップ5を備えている点では、図1の継手と同様である。但し、図3の継手1は、継手本体2の円筒部22には、4条の円周溝222a、222c、223a、223bが形成されるとともに、円周溝222a、222cの幅は、抜止リング3a(3b)が装着可能な寸法に設定されている。即ち、この実施態様では抜止リング3a、3bがOリング4a、4bを挟むようにして装着されている点で、図1に示す継手本体と異なる。
上記の継手1は、図1の場合と同様の手順で組立てられる。すなわち、継手本体2の円筒部22に形成された円周溝222a、222cに抜止リング3a、3bが嵌装されるとともに、円周溝223a、223bにOリング4a、4bが嵌装される。次いで、円筒部22の外周に隙間を介して保護キャップ5が被せられ、その内周面が係止部221に圧入されることにより固着され、継手1が組立てられる。
図3に示す継手1によれば、図1の場合と同様に保護キャップ5と円筒部22との隙間に樹脂管10を差込むだけの操作で、樹脂管10同士を接続することができる。詳述すると樹脂管10が矢印X方向に奥まで差込まれ、その先端が係止部221の端面に当接することにより、配管接続が完了する。樹脂管10が差込まれる過程で、抜止リング3bを押え付けることにより、抜止リング3bが縮径して、その外周に形成されたエッジ部311が樹脂管10の内周面に食い込み、次いで樹脂管10の内周面がOリング4a、4bが縮径されることにより、樹脂管10と継手本体2とが確実にシールされ、さらに樹脂管10の内周面が抜止リング3aを押え付けることにより、抜止リング3aが縮径して、その外周に形成されたエッジ部311が樹脂管10の内周面に食い込み、樹脂管10が継手本体2に強固に固着される。また、上記と同様の手順で、仕切部21の他方の側に形成された円筒部(不図示)にも樹脂管を接続することができる。このように本実施の形態によれば、少ない部品点数(4点)で、継手に接続管を速やかにかつ強固に接続することが可能となる。特に抜止リング3aが接続管の奥側に食い込み、抜止リング3bが接続管の手前側に食い込むので前後に引抜き阻止力が働きより強固な接続が得られる。また、抜止リング3a、3bがOリング4a、4bを挟むようにして装着したことにより、樹脂管10に引抜き外力が加わった時、食い込み部を分散し樹脂管10の食いちぎりを防止し、引抜き阻止力の向上を図ることができる。
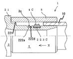
(第3の実施の形態)
図4は本発明の他の実施の形態に係わる継手の一方の端部を示す半断面図であり、図1と同一機能部分は同一の参照符号で示す。図5は抜止リングを示す図で、(a)は抜止リングの斜視図、(b)は同左側面図、(c)は同正面図である。
図4に示す差込み型継手1は、環状の仕切部21とその両側に形成された円筒部22を有する継手本体2と、円筒部22の外周側に差込まれる樹脂管10により押圧される抜止リング3c及びOリング4a、4bを備えている。但し図4に示す継手1は、継手本体2の円筒部22には、3条の円周溝222a、223a、223bが形成されるとともに、円周溝222aの一端側に、それより深くかつ狭幅の円周溝222dが形成されている点で、図1に示す継手と異なる。
図5に示すように、抜止リング3cは、弾性変形(縮径)を可能とするために、円周方向の途中に切り溝34が設けられ、一端側から他端側に向かって連続的に拡径された略C字状の部材である。抜止リング3a(3b)には、円周方向に沿って交互に、外周にエッジ部311を有する凸部31と凹部32が形成されるとともに、抜止リング3cの内径側は半径方向に折曲げられてフランジ部33が形成されている。
上記の継手1の組立て手順は、図1の場合と同様である。まず、継手本体2の円筒部22に形成された円周溝222aに抜止リング3cが嵌装されるとともに、円周溝222dに抜止リング3aのフランジ部33が挿入されることにより、抜止リング3cが継手本体2に装着される。また円周溝223a、223bにOリング4a、4bが嵌装される。次いで、円筒部22の外周に隙間を介して保護キャップ5が被せられ、その内周面が係止部221に圧入されることにより固着され、継手1が組立てられる。
図4に示す継手1によれば、保護キャップ5と円筒部22との隙間に樹脂管10を差込むだけの操作で、樹脂管10同士が接続される。すなわち樹脂管10が矢印X方向に奥まで差込まれ、その先端が仕切部21の端面に当接することにより、配管接続が完了する。樹脂管10が差込まれる過程で、樹脂管10の内周面がOリング4a、4bが縮径されることにより、樹脂管10と継手本体2とが確実にシールされ、さらに樹脂管10の内周面が抜止リング3cを押え付けることにより、抜止リング3cが縮径して、その外周に形成されたエッジ部311が樹脂管10の内周面に食い込み、樹脂管10が継手本体2に強固に固着される。また、抜止リング3cのフランジ部3cが継手本体1の円周溝222dに係止されることにより、接続管10が継手本体1に差込まれた時に抜止リング3cが継手本体1の奥側にずれ込むことが防止される。このように本実施の形態によれば、少ない部品点数(4点)で、継手に接続管を速やかにかつ強固に接続することが可能となる。尚、フランジ部3cは内径方向に突出するように形成しているが、これを水平方向延びるエッジ状に設けて円周溝222dを設けることなく、円周溝222aの手前側の端面にエッジ部を食い込ませるように係止させて抜止リング3cの移動を阻止する構造をとることも出来る。
(第4の実施の形態)
図6は本発明の他の実施の形態に係わる継手の一方の端部を示す半断面図であり、上記した例と同一機能部分は同一の参照符号で示す。図7、図8、図9及び図10はシール部材の断面を示す断面図である。
図6に示す差込み型継手1は、環状の仕切部21とその両端に形成された円筒部22を有する継手本体2と、円筒部22の外周側に差込まれる例えばPB(ポリブテン)で形成された樹脂管10により押圧される抜止リング3cと円筒部22の外側で隙間を介して固着される保護キャップ5を備えている。抜止リング3cはフランジ部付きで円周溝222aとそれより深い円周溝222dに装入されている。この継手1では、円筒部22に円周溝223cが形成され、ここに装着されるシール部材4cが上述の例とは異なる。
この継手1の組立て手順は上記の例と同様である。まず、継手本体2の円筒部22に形成された段付き円周溝222a、222dに抜止リング3cとフランジ部が嵌装されるとともに、例えば2条のシール部材4cを嵌装できる幅広の円周溝223cにシール部材4c(4d、4e、4f)が嵌装される。次いで、円筒部22に隙間を介して保護キャップ5が被せられ、その内周面が係止部221に圧入固着されて継手1が組立てられる。
本例のシール部材は、図6、図7に示すように上述の例のOリング4a、4bを一体化したものと考えられ、形状も類似している。しかし図7に示すようにシール部材4cの断面形状は、樹脂管の内周面をシールする外側は比較的鋭角な山が2個連なった形状となし樹脂管の挿入がし易く且つOリング2個分のシールが働くようになしている。これに対し、円周溝223c内に装着される内側はOリング状の曲面を残し、据わりが良く管挿入時には円周溝内を埋めて密着し易い形状としている。
また、図8〜図10はシール部材の変形例を示し、図8に示すシール部材4dは3個のOリングを一体化したものに類似しており、外側は3山が連なった形状となし内側は平坦に形成している。図9のシール部材4eは外側と内側の両方とも2山が連なった凸形状をなしている。図10のシール部材4fの外側は3山が連なった形状となし、内側は3つの円弧状の凸部を連ねた形状となしたものである。
このように本発明においてシール部材は、通常のOリングを単数あるいは複数個用いても良いし、また上記のようにシール機能はOリング複数個分を残しながら一体化して部品点数を減らすこともできる。シール部材による接続管内周面のシール機能は複数個所に備えていることが望ましいが、接続管の挿入方向に沿って手前側に抜止リングを設けた場合は、その後にOリング等のシール部材を複数個設けることが良い。そして、挿入方向の奥側には抜止リングを少なくとも1つ装着した構成とする。
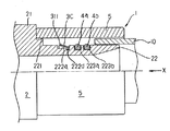
(第5の実施の形態)
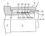
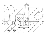
図11は本発明の実施の形態に係わる差込み型継手の半断面図で、樹脂管を継手内部に挿入する前の状態を示す図であり、図12は加圧リングの斜視図、図13は図11の一部を拡大した断面図、図14は本発明の実施の形態に係わる継手に奥まで樹脂管が挿入された状態を示す半断面図である。
図11に示すように、この実施の形態の差込み型継手1は、環状の仕切部21とその両側に形成された円筒部22を有する継手本体2と、円筒部22の外周側に差込まれる、例えばPE(ポリエチレン)で形成された樹脂管10により押圧される抜止リング3及びOリング4a、4bと、円筒部22に隙間を介して固着される保護キャップ5と、保護キャップ5と円筒部22との間に配設される加圧リング6を備えている。この継手1は、仕切部21を挟んで対称の構造を有するもので、各部の詳細は一方の側についてのみ説明し、他方の側(仕切部21の左側)の説明は省略する。
継手本体2の円筒部22には、図11に示すように、その外周面に端部に向かって、外周がエッジ状に形成された係止部221と、1条の円周溝222と2条の円周溝223a、223bが形成されている。円周溝222の幅は、抜止リング3が装着可能な寸法に設定される。また、2条の円周溝223a、223bには、弾性体(例えばEPDM等のオレフィン系ゴム)からなるOリング4a、4bが嵌装されている。さらに接続管10の挿入方向に向かって円周溝223bの手前に、上り勾配となる保持溝224(図13参照)が形成されている。
抜止リング3は、上記第1の実施態様で用いた図2に示した抜止リングと同じものを用いれば良い。例えば耐食性を有する金属材料(SUS304等のオーステナイト系ステンレス鋼など)で形成され、縮径可能とするために、円周方向の途中に切り溝34が設けられ、一端側から他端側に向かって連続的に拡径された略C字状の部材である。抜止リング3には、複数の凸部31と複数の凹部が円周方向に沿って交互に並ぶように形成されている。各凸部31は外周縁にエッジ部311を有するとともに、各凸部31の一方の端部は斜めに折曲げられて折曲部312a、312b、312c、312dが形成されている。あるいは上述した図4、図5に示したフランジ付きの抜止リング3cを用いてもよい。
次に、図12及び図13に示すように、加圧リング6は、弾性体(例えばポリエチレン等の軟質樹脂)で形成され、樹脂管10(図11参照)の端面に当接し、先端側が断面円弧状に形成され、かつ樹脂管10と同等の外径を有する第1加圧部61と、その内径側から延出し樹脂管10の端部内周面に入り込むことができる薄肉リング状の第2加圧部62からなる。加圧リング6は、第1加圧部61がOリング4a(4b)を押え付けた時にその復元力により上向きに撓もうとするが、第2加圧部62が形成されているので、跳ね上がりを大幅に抑制することができる。この場合、第2加圧部62の厚さt1は、厚すぎると第1加圧部61の弾性変形が少なくなり、薄すぎると第1加圧部61が大きく撓むので、樹脂管10の厚さtの0.1〜0.25倍の範囲にあることが好ましい。
継手本体2の円筒部22には、円周溝223bの手前に上記の加圧リング6が嵌装される保持溝224が形成されている(図13参照)。保持溝224の底面は、円周溝223bに向かって上り勾配になるようなテーパ形状を有することが好ましい。この形状であると、加圧リング6を円筒部22の所定位置に支持することが容易となり、また樹脂管10の端面で押し込まれた加圧リング6がOリング4a、4bを容易に乗り越えることができる。この場合、保持溝224の根元部における深さh1は、樹脂管10が保護キャップ5と円筒部22との隙間に挿入される過程でその先端が第2加圧部62の端部に引掛かるのを防止するために、第2加圧部62の厚さt1より大きな値に設定されることが好ましい。段差部224の長さL3は、加圧部61の長さL1と環状部62の長さL2の和よりもやや短くなるように設定することが好ましい。なお、加圧リング6のスライドを容易にするために、第2加圧部62には、円周方向の1箇所以上に切込みを設けることができる。
樹脂管10と継手本体2の円筒部22との間を確実にシールするために、シール溝223a、223bの溝深さh2は、Oリング4a、4bの一部がシール溝からはみ出すような寸法に設定される。Oリング4a、4bの突出高さh3は、通常円周溝223a、223bの深さh2の10〜30%の範囲に設定される。
上記の継手1は、次の手順で組立てられる。まず、継手本体2の円筒部22に形成された円周溝222に抜止リング3が嵌装されるとともに、円周溝223a、223bにOリング4a、4bが嵌装される。また円筒部22の外周面に形成された保持溝224(図13参照)に加圧リング6が嵌装される。次いで、円筒部22に隙間を介して保護キャップ5が被せられ、その内周面が係止部221に圧入されることにより固着して、継手1が組立てられる。
図11に示す継手1によれば、保護キャップ5と円筒部22との隙間に樹脂管10を差込むだけの操作で、樹脂管10同士を接続することができる。すなわち、樹脂管10が矢印X方向に差込まれ、その先端が係止部221の端面に当接することにより、配管接続が完了する(図14参照)。詳述すると、樹脂管10が差込まれることにより、加圧リング6の第2加圧部62が接続管10に内接する状態となり(図13参照)、次いで加圧リング6がOリング4a、4bに乗り上げ、Oリング4a、4bは第1加圧部61で圧縮され、引き続いて第2加圧部62で押え込まれる。これによりOリング4a、4bはその全体がシール溝223a、223bに収容されて、樹脂管10と継手本体2とが確実にシールされる。さらに樹脂管10の内周面が抜止リング3を押え付けることにより、抜止リング3が縮径して、その外周に形成されたエッジ部311が樹脂管10の内周面に食い込み、樹脂管10が継手本体2に強固に接続される。また上記と同様の手順で、仕切部21の他方の側に形成された円筒部(不図示)にも樹脂管を接続することができる。
上記のように本実施の形態によれば、少ない部品点数(5点)で、継手に接続管を速やかにかつ強固に接続することが可能となる。この場合、Oリング4a、4bは、その外径が10〜30%程度減少し、従来の1.5〜3倍程度の圧縮代が得られることが確認された。したがって、Oリング4a、4bはその全体がシール溝内に収容されるため、樹脂管10の内周に例えば20〜50μmの高さの縦筋が存在しても、流体の漏れを確実に防止することができる。
また本実施の形態によれば、加圧リング6は容易に弾性変形するので、樹脂管10がかなり斜めに切断されていても、Oリング4a、4bの損傷を伴わずに継手本体2に挿入することができる。さらに樹脂管の切断時に管の端面が扁平形状になり、内径側に部分的に変形する、あるいは管の端面にバリやかえりが生じた場合でも、Oリング4a、4bの損傷を伴わずに樹脂管10を継手本体2に挿入することができる。
尚、本実施の形態で用いた加圧リングを上述した実施の形態で用いて良いことは無論である。同様に以下の実施の形態で用いても良い。これらの実施の形態を適宜複合的に用いることにより効果も複合的に得られるので望ましい。
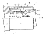
(第6の実施の形態)
図15は本発明の実施の形態に係わり保護キャップを透明にした差込み型継手の半断面図で、保護キャップ5の外周面に凹状の差込み確認用の目盛70を形成した状態を示す図である。図16は同じく本発明の実施の形態に係わる継手の半断面図で、保護キャップの外周面に凸状の差込み確認用の目盛71を形成した状態を示す図である。図17は同じく保護キャップ5の外周面に凹状の目盛72を形成し、前記凹部72の拡大図も示し、また、前記凹部を不透明にするために微細な凹凸を形成した状態を示す。図18は半透明部5aと透明部5bの境界部を有す保護キャップ5の斜視図である。
図15に示すように、この実施の形態の差込み型継手1は、環状の仕切部21とその両端に形成された円筒部22を有する継手本体2と、円筒部22の外周側に差込まれ、例えば、PB(ポリブテン)で形成された樹脂管10により押圧される抜止リング3a及びOリング4a、4bと、円筒部22の端部外周に隙間を介して固着される保護キャップ5を備えている。この継手1は、仕切部21を挟んで対称の構造を有するもので、各部の詳細は一方の側についてのみ説明し、他方の側(仕切部21の左側)の説明は省略する。
この継手1も上記した実施例と同様に、継手本体2の円筒部22の端部には段差があり、その外周面に端部に向かって、外周がエッジ状に形成された係止部221と、溝222aと222dで形成される1条の段付き円周溝とOリングを嵌装する2条の円周溝223a、223bが形成されている。円周溝222aと222dの幅は、抜止リング3aが装着可能な寸法に形成される。第3の実施形態の図4と同様にフランジ部を有する抜止リング3aのフランジ33は2段の円周溝の下段側222dに設置され、樹脂管10の挿入時に抜止リング3aの樹脂管挿入方向へのはずれ込み防止に効果がある。また、2条の円周溝223a、223bは、弾性体(例えばEPDM等のオレフィン系ゴム)からなるOリング4a、4bが嵌装されている。
上記の継手1は、次の手順で組立てられる。まず、継手本体2の内筒部22に形成された段付き円周溝222a、222dに抜止リング3aが嵌装されるとともに、円周溝223a、223bにOリング4a、4bが嵌装される。次いで、円筒部22に隙間を介して保護キャップ5が被せられ、その円周面が係止部221に圧入されることにより固着され、継手1が組立てられる。
ここで、本例では図15に示す保護キャップ5は、透明又は半透明の樹脂製であり、この保護キャップ5は、外周面に凹状目盛70が形成されている。この目盛70は透明又は不透明な樹脂等で形成することが好ましく、また、射出成形等で形成される場合、凹状の差込み確認用目盛70の底部は平坦であることが好ましい。
また別の実施例として図16に示すように、透明又は半透明の樹脂製の保護キャップ5の外周面に凸状目盛71を形成し、この目盛71は着色又は不透明な樹脂等で形成することが好ましい。また、凸状又は凹状溝の目盛70,71は、保護キャップ5の内周面に形成されていてもよい(不図示)。
これらの目盛70、71は、2条に形成されることが好ましい(不図示)。こうした場合、樹脂管10の先端が2条の目盛例えば70(71でも可)の間に挿着されていれば、樹脂管10の挿着(施工)は正常に完了していることが、継手の外部から目視で確認し易いからである。
また別の実施例として図17に示すように、保護キャップ5の外周面の凹状目盛72は、切削加工等で凹凸状に形成されていてもよい。前記凹部に溝加工後の凹凸が形成されている状態を示す。また、前記の切削加工等の方法であれば前記保護キャップ5の内周面に凹状目盛72を形成し易いので都合がよい。
また別の実施例として図18に示すように、保護キャップ5について不透明な部分5aと透明な部分5bを形成し、この不透明な部分5aと透明な部分5bの境界線5dを目盛の代わりとしてもよい。例えば図18の不透明な部分5aと透明な部分5bを有する保護キャップ5の透明側5bを図17の係止部221に固着し、樹脂管10を継手21のX方向から挿入した場合、樹脂管10の姿が透明側5bに現れると、挿着(施工)が正常に完了していることが、目視により継手外部から確認できる。
また、上述の第6の実施形態で用いた加圧リングを目立つ色に着色しておけば目視確認がより容易になる。
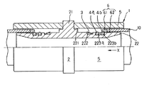
(第7の実施の形態)
この実施の形態の差込み型継手は、図19に示すように環状の仕切部21とその両端に形成された円筒部22を有する継手本体2と、円筒部22の外周側の2条の凹溝223a、223bに嵌装したOリング4a、4bと、環状の仕切部21に固着した保護キャップを有しており、この例では継手本体に螺合する透明ナット5cとしている。そして、この透明ナット5cは目盛8a付きスリーブ8と、抜止部材9を内装しており、目盛8a付きスリーブ8は透明部であり一部を不透明部8aとしている。この目盛付きスリーブ8は継手本体21と当接し、さらに抜止部材9は目盛付きスリーブ8に当接している。すなわち、継手1奥側から樹脂管挿入口に向かって仕切部21、目盛付きスリーブ8、抜止部材9の順に構成されている。
上記の継手1は、次の手順で組立てられる。まず、継手本体2の内筒部22に形成された2条の円周溝223a、223bにOリング4a、4bが嵌装される。次いで、円筒部22に目盛付きスリーブ8、抜止部材9を嵌め込み透明ナット5cを仕切部21に仮締め(例えば手締め)で螺合することにより、継手1が組立てられる。
この継手1に接続管を挿入すると、前記スリーブ8の透明部と不透明部8aの直線状の境界線を目盛の代わりとしてもよい、スリーブ8の不透明部8aは樹脂管10挿入側に設置されているから、樹脂管10を継手1に施工後、継手1の外部から樹脂管10の先端が目視等で確認できれば、樹脂管10の挿入は正常に行われ、施工が正常に行われたことが施工完了後に確認できる。また、その後透明スリーブ5cをレンチ等で仕切部21に螺合すると透明スリーブ5cの内周テーパ面に押され、抜止部材9は縮径し、樹脂管10の外周面に食い込み係止される。
以上の説明では、継手本体の両側に樹脂管が差込まれる形式の継手について述べたが、本発明はこれに限らず、継手本体の一方に樹脂管を差込み、継手本体の他方にネジ部を設け、このネジ部を相手側部材に螺合する構造を有する継手あるいは電気融着継手も考えられ、形状についてもT型、エルボ型等の形状等、継手本体の材質については、青銅等の金属又はエンプラ、ポリブテン、ポリエチレン等の樹脂等種々考えられることはもちろんである。
1:継手、2:継手本体、21:仕切部、22:円筒部、221:円周突起、222、222a、222c、222d、222e、223a、223b:円周溝、222b:内壁部、224:保持溝、3、3a、3b、3c:抜止リング、31:凸部、311:エッジ部、312、312a、312b、312c、312d:折曲部、32:凹部、33:フランジ部、34:切り溝、4a、4b:シール部材(Oリング)、4c、4d、4e、4f:シール部材、5:保護キャップ、5a:不透明保護キャップ、5b:透明保護キャップ、5c:透明ナット、5d:境界線、6:加圧リング、61:第1加圧部、62:第2加圧部、70:凹状目盛、71:凸状目盛、72:凹凸状目盛、8:透明スリーブ、8a:スリーブの目盛、9:抜止部材、10:樹脂管

Claims (5)

  1. 接続管が外装される円筒部を有する継手本体と、前記接続管に食い込む略C字形状の抜止リングと、前記円筒部の外周に装着される弾性変形可能なシール部材と、前記円筒部の外側であって継手本体に固着される保護キャップと、前記保護キャップと前記円筒部との間に介装される弾性体からなる加圧リングとを備え、前記加圧リングは、前記接続管の端面に当接する第1加圧部とその内径側から延出し前記接続管の端部内周面に挿入される第2加圧部とからなり、
    前記円筒部には、少なくとも前記加圧リングの第2加圧部が保持される保持溝を有し、かつその底面は前記シール部材に向かって上り勾配に形成されていることを特徴とする差込み型継手。
  2. 前記抜止リング及び/又はシール部材は、各々前記円筒部の外周溝に複数個装着されていることを特徴とする請求項1に記載の差込み型継手。
  3. 前記シール部材は、複数の山部を有することを特徴とする請求項1又は2に記載の差込み型継手。
  4. 前記保護キャップは、透明又は半透明の樹脂製であり、前記保護キャップの外周面又は内周面に目盛りを設けたことを特徴とする請求項1乃至3のいずれかに記載の差込み型継手。
  5. 前記保護キャップの目盛りは、円環状で底面又は上面が凹部又は凸部あるいは透明部と着色又は表面を荒らした不透明部の境界線で形成されることを特徴とする請求項4に記載の差込み型継手。
JP2011142772A 2004-09-21 2011-06-28 差込み型継手 Expired - Lifetime JP5218924B2 (ja)

Priority Applications (1)

Application Number Priority Date Filing Date Title
JP2011142772A JP5218924B2 (ja) 2004-09-21 2011-06-28 差込み型継手

Applications Claiming Priority (5)

Application Number Priority Date Filing Date Title
JP2004273798 2004-09-21
JP2004273800 2004-09-21
JP2004273798 2004-09-21
JP2004273800 2004-09-21
JP2011142772A JP5218924B2 (ja) 2004-09-21 2011-06-28 差込み型継手

Related Parent Applications (1)

Application Number Title Priority Date Filing Date
JP2005271547A Division JP2006118704A (ja) 2004-09-21 2005-09-20 差込み型継手

Publications (2)

Publication Number Publication Date
JP2011185443A JP2011185443A (ja) 2011-09-22
JP5218924B2 true JP5218924B2 (ja) 2013-06-26

Family

ID=44791958

Family Applications (1)

Application Number Title Priority Date Filing Date
JP2011142772A Expired - Lifetime JP5218924B2 (ja) 2004-09-21 2011-06-28 差込み型継手

Country Status (1)

Country Link
JP (1) JP5218924B2 (ja)

Families Citing this family (2)

* Cited by examiner, † Cited by third party
Publication number Priority date Publication date Assignee Title
JP2020094664A (ja) * 2018-12-14 2020-06-18 株式会社ブリヂストン 管継手
CN114673840B (zh) * 2022-02-25 2023-09-19 安徽宝立华机械设备有限公司 一种高压密封接头及其连接方法

Family Cites Families (6)

* Cited by examiner, † Cited by third party
Publication number Priority date Publication date Assignee Title
JPS5220018Y2 (ja) * 1972-05-22 1977-05-09
JP3672657B2 (ja) * 1996-02-29 2005-07-20 株式会社リケン 差し込み式管継手
JP4114894B2 (ja) * 1998-04-30 2008-07-09 シーケー金属株式会社 樹脂被覆継手
JP4474043B2 (ja) * 2000-06-30 2010-06-02 Jfe継手株式会社 差込み式管継手、及び差込み式管継手への管差込み方法
DE10158208B4 (de) * 2001-11-28 2006-03-09 Friatec Ag Steckkupplung
JP4460838B2 (ja) * 2003-01-29 2010-05-12 Jfe継手株式会社 差込み式管継手

Also Published As

Publication number Publication date
JP2011185443A (ja) 2011-09-22

Similar Documents

Publication Publication Date Title
JP2006118704A (ja) 差込み型継手
US5484174A (en) Pipe coupling and method of joining materials
KR100635244B1 (ko) 튜브 커플링
US6595559B1 (en) Pipe coupling
KR101254862B1 (ko) 플라스틱수지 파이프용의 관이음매
CN101258354B (zh) 用于连接挠性软管的装置
JP3156933U (ja) 流体流路用管体の構造
CN102105731B (zh) 塑料树脂管用的管接头
JP5218924B2 (ja) 差込み型継手
JP4939826B2 (ja) 管継手の組立て方法
JP4416091B2 (ja) 流体流路用管体の構造
KR20130001788A (ko) 이형질 가스배관 조립체 및 그 조립방법
JP3959666B2 (ja) スリーブ型管継手
JP4962849B2 (ja) 管継手
JP5466999B2 (ja) 管継手
JP3859125B2 (ja) スリーブ型管継手
JP6168465B2 (ja) 管継手
JPH09152068A (ja) 薄肉ステンレス鋼管と管継手との接続機構
JP2011033141A (ja) 継手
JP2011202790A (ja) 樹脂配管の樹脂配管用継手への接続方法及び樹脂配管用継手
GB2471502A (en) A universal compression-type pipe coupling
JP4597889B2 (ja) 管継手
JP3972287B2 (ja) スリーブ型管継手
KR0177851B1 (ko) 파형관의 관이음구
JP4972422B2 (ja) 管継手

Legal Events

Date Code Title Description
A621 Written request for application examination

Free format text: JAPANESE INTERMEDIATE CODE: A621

Effective date: 20110707

A977 Report on retrieval

Free format text: JAPANESE INTERMEDIATE CODE: A971007

Effective date: 20130108

TRDD Decision of grant or rejection written
A01 Written decision to grant a patent or to grant a registration (utility model)

Free format text: JAPANESE INTERMEDIATE CODE: A01

Effective date: 20130208

A61 First payment of annual fees (during grant procedure)

Free format text: JAPANESE INTERMEDIATE CODE: A61

Effective date: 20130221

FPAY Renewal fee payment (event date is renewal date of database)

Free format text: PAYMENT UNTIL: 20160315

Year of fee payment: 3

R150 Certificate of patent or registration of utility model

Ref document number: 5218924

Country of ref document: JP

Free format text: JAPANESE INTERMEDIATE CODE: R150

Free format text: JAPANESE INTERMEDIATE CODE: R150

S531 Written request for registration of change of domicile

Free format text: JAPANESE INTERMEDIATE CODE: R313531

S533 Written request for registration of change of name

Free format text: JAPANESE INTERMEDIATE CODE: R313533

R350 Written notification of registration of transfer

Free format text: JAPANESE INTERMEDIATE CODE: R350

S111 Request for change of ownership or part of ownership

Free format text: JAPANESE INTERMEDIATE CODE: R313111

R350 Written notification of registration of transfer

Free format text: JAPANESE INTERMEDIATE CODE: R350

R250 Receipt of annual fees

Free format text: JAPANESE INTERMEDIATE CODE: R250

EXPY Cancellation because of completion of term