JP5145141B2 - 自動二輪車のカウリング装置 - Google Patents

自動二輪車のカウリング装置 Download PDF

Info

Publication number
JP5145141B2
JP5145141B2 JP2008175871A JP2008175871A JP5145141B2 JP 5145141 B2 JP5145141 B2 JP 5145141B2 JP 2008175871 A JP2008175871 A JP 2008175871A JP 2008175871 A JP2008175871 A JP 2008175871A JP 5145141 B2 JP5145141 B2 JP 5145141B2
Authority
JP
Japan
Prior art keywords
cowling
windshield
cowl
mounting
attached
Prior art date
Legal status (The legal status is an assumption and is not a legal conclusion. Google has not performed a legal analysis and makes no representation as to the accuracy of the status listed.)
Expired - Fee Related
Application number
JP2008175871A
Other languages
English (en)
Other versions
JP2010012994A (ja
Inventor
知雄 溝口
Current Assignee (The listed assignees may be inaccurate. Google has not performed a legal analysis and makes no representation or warranty as to the accuracy of the list.)
Kawasaki Motors Ltd
Original Assignee
Kawasaki Jukogyo KK
Priority date (The priority date is an assumption and is not a legal conclusion. Google has not performed a legal analysis and makes no representation as to the accuracy of the date listed.)
Filing date
Publication date
Application filed by Kawasaki Jukogyo KK filed Critical Kawasaki Jukogyo KK
Priority to JP2008175871A priority Critical patent/JP5145141B2/ja
Publication of JP2010012994A publication Critical patent/JP2010012994A/ja
Application granted granted Critical
Publication of JP5145141B2 publication Critical patent/JP5145141B2/ja
Expired - Fee Related legal-status Critical Current
Anticipated expiration legal-status Critical

Links

Images

Classifications

    • BPERFORMING OPERATIONS; TRANSPORTING
    • B62LAND VEHICLES FOR TRAVELLING OTHERWISE THAN ON RAILS
    • B62JCYCLE SADDLES OR SEATS; AUXILIARY DEVICES OR ACCESSORIES SPECIALLY ADAPTED TO CYCLES AND NOT OTHERWISE PROVIDED FOR, e.g. ARTICLE CARRIERS OR CYCLE PROTECTORS
    • B62J17/00Weather guards for riders; Fairings or stream-lining parts not otherwise provided for
    • B62J17/02Weather guards for riders; Fairings or stream-lining parts not otherwise provided for shielding only the rider's front
    • B62J17/04Windscreens

Landscapes

  • Engineering & Computer Science (AREA)
  • Mechanical Engineering (AREA)
  • Lighting Device Outwards From Vehicle And Optical Signal (AREA)

Description

本発明は、自動二輪車の前方を覆うカウリング装置に関するものである。
比較的大型の自動二輪車において、車体の前部を覆うカウリングに、このカウリングから上方へ大きく突出するウインドシールドを取り付けて、走行時における風圧からライダーを保護するようにした車種がある。従来、このウインドシールドは、メータ、アクセサリー機器等を覆うインナカウルと、車体の外側を覆うアウタカウルとに挟まれた状態で、スクリューのような締結部材により締結されていた。しかしながら、カウリングにウィンドシールドを取り付けた状態では嵩張るので、運送時に、ウインドシールドは、通常、カウリングと別梱包とされることが多い。その場合、運送後の再組立時に、インナカウルとアウタカウルとの間にウインドシールドを挟んだ状態で、ウインドシールドの目視できない取付孔にスクリューを挿入するのは困難であるために、再組立作業が面倒であった。そこで、アウタカウルの上部を着脱可能な別部材とし、インナカウルにウインドシールドを組み付けた後で、上記別部材を組み付けるようにしたものがある(特許文献1)。
特開平11−245868号公報
しかしながら、上記特許文献1の自動二輪車では、部品点数が増加するので、組立て工数が増加し、その結果、製造コストも高くなる。
本発明は、上記課題に鑑みてなされたもので、部品点数を増やすことなく、容易にウインドシールドを着脱できる自動二輪車のカウリング装置を提供することを目的としている。
上記目的を達成するために、本発明に係る自動二輪車のカウリング装置は、車体前部を覆うカウリングにウインドシールドが取り付けられたカウリング装置であって、前記カウリングが、インナカウルと、このインナカウルの外側に取り付けられるアウタカウルとを有し、前記ウインドシールドが、前記アウタカウルの外側に配置された状態で重合されて、前記カウリングに締結部材により締結され、前記カウリングにねじ孔を有する取付部材が連結され、前記締結部材が、前記ウインドシールドに設けた取付孔に挿通されて前記ねじ孔に螺合している。
この構成によれば、ウインドシールドがアウタカウルの外側に配置された状態で、締結部材により締結されているから、ウインドシールドのカウリングへの取付時に、ウインドシールドにおける締結部材の取付孔を目視できるので、部品点数を増やすことなく、容易にウインドシールドをカウリングに取り付けることができる。また、ねじ孔を有する取付部材が前記カウリングに連結され、前記締結部材が、ウインドシールドに設けた取付孔に挿通されて前記ねじ孔に螺合されるので、ウインドシールドを取り付ける際に、前記ねじ孔にウインドシールドの取付孔を合わせることでウインドシールドのカウリングに対する位置決めが容易になり、組み立て性が一層向上する。さらに、カウリングが樹脂製である場合でも、取付部材を装着することにより締結箇所の強度を向上させることができる。
本発明において、前記取付部材のねじ孔は前記カウリングに設けた取付孔に合致しており、前記締結部材は前記ウインドシールドの取付孔および前記カウリングの取付孔に挿通されて前記ねじ孔に螺合していることが好ましい。前記ウインドシールドの取付孔と前記カウリングの取付孔とを合致させることにより、ウインドシールドとカウリングとの位置合わせが正確になされる。
さらに好ましくは、前記カウリングが前記取付孔の近傍で、内側に凹んだ凹部を有し、前記取付部材に設けた係止部と前記凹部に設けた被係止部との係合により、前記取付部材が前記カウリングに係止されている。これにより、取付部材のカウリングへの取付が容易になされる。
本発明において、前記取付部材は、前記ねじ孔を有し前記カウリングを内側から外側に貫通して延び、カウリングの外表面に前記ねじ孔を露出させるボス部を備えていることが好ましい。この構成によれば、カウリングの外表面に露出したねじ孔に、ウインドシールドの取付孔を合わせて、締結部材を挿通させるので、ねじ孔を視認しながら締結作業を行うことができるから、組立て性が向上する。
本発明において、さらに、前記ウインドシールドの外側における前記締結部材で締結される取付部分を覆う補強部材を備えることが好ましい。この構成によれば、締結部材が補強部材を介してウインドシールドの取付部分に締結されるので、締結部材を強く締め付けた場合でも、ウインドシールドの取付部分が変形または損傷するのを防ぐことができる。また、ウインドシールドの取付部分を覆うことで外観を向上させることができる。
本発明において、前方から取り付けられるランプ締結部材により前記アウタカウルに取り付けられるランプユニットを備えることが好ましい。この構成によれば、通常、カウリング装置の梱包時にはランプユニットも別梱包されるので、運送後の再組立時に、ランプユニットの組立性が向上するとともに、メンテナンス性も向上する。
本発明の自動二輪車のカウリング装置によれば、部品点数を増やすことなく、容易にウインドシールドをカウリングに取り付けることができる。また、ウインドシールドを取り付ける際に、前記ねじ孔にウインドシールドの取付孔を合わせることでウインドシールドのカウリングに対する位置決めが容易になり、組み立て性が一層向上する。さらに、カウリングが樹脂製である場合でも、取付部材を連結することにより締結箇所の強度を向上させることができる。
以下、本発明の好ましい実施形態について図面を参照しながら説明する。
図1は本発明の第1実施形態に係るカウリング装置を備えた自動二輪車を示す側面図である。同図に示す自動二輪車は、車体フレームFRの前半部を構成するメインフレーム1およびダウンチューブ18の前端に、ヘッドパイプ2が取り付けられ、このヘッドパイプ2に回動自在に挿通されたステアリングシャフト(図示せず)を介して、アッパーブラケット13およびロワーブラケット14が支持され、これらアッパーブラケット13およびロワーブラケット14にフロントフォーク3が支持され、このフロントフォーク3の下端部に前輪4が支持されている。また、フロントフォーク3の上端部のアッパーブラケット13にはハンドル5が取り付けられている。メインフレーム1の中央下部にはV型2気筒のエンジンEが支持されている。エンジンEはベルト7により後輪9を駆動する。
前記メインフレーム1は、湾曲部15で下方に湾曲してスイングアームブラケット6に連なっており、この湾曲部15に、後方へ延びる左右2本のシートレール10が連結されている。前記ダウンチューブ18の後半部はスイングアームブラケット6からさらに後方の上方へ延びてシートレール10に連結される左右2本の補強メンバ19を形成している。前記シートレール10には、ライダー用シート30と同乗者用シート31とが支持されている。前記メインフレーム1の上部、つまり、車体上部で、前記ハンドル5とライダー用シート30との間には、燃料タンク20が取り付けられている。また、車体前部に、前記ハンドル5の前方から車体上部の側方にかけての部分を覆う樹脂製のカウリング装置21が装着されている。
カウリング装置21の下方において、エンジンEを保護するエンジンガード33が、ダウンチューブ18の上下方向に延びる前半部に支持されている。エンジンガード33は、車体の横倒時にエンジンEが地面に接触するのを防止するためのもので、例えばパイプからなり、図2に示すように、ダウンチューブ18から外側方に突出している。図1のダウンチューブ18のほぼ水平な後半部に、左右一対の足置き部25が取り付けられており、この足置き部25の前方に、ライダーの脚を覆う左右一対のレッグシールド37が、エンジンガード33を介してダウンチューブ18に取り付けられている。
図2に示すように、カウリング装置21は、車体前部を覆うカウリング40と、カウリング40に取り付けられてカウリング40から上方へ突出し、ライダーを走行風から保護するウインドシールド42と、ウインドシールド42の外側に位置し、カウリング40の下部、つまりウインドシールド42におけるカウリング40との取付部分42eを覆う帯状の補強部材44と、カウリング40のほぼ中央部に装着されたランプユニット46とを備えている。カウリング40は、図3に示すように、車体に取り付けられるインナカウル48と、このインナカウル48の外側に取り付けられるアウタカウル50とを有している。
背面図である図4に示すように、インナカウル48はアウタカウル50の背面を覆うもので、計器類51やオーディオのスピーカ53等が取り付けられている。図5に示すように、インナカウル48は、カウル取付部材60を介してヘッドパイプ2に取り付けられている。カウル取付部材60は後方に開口したボックス形の板金製の部材であり、ヘッドパイプ2に設けられた取付フランジ2Aに、これをカウル取付部材60の両側壁(一方のみ図示)60a,60aで挟む形でボルトのような締結部材80により取り付けられている。カウル取付部材60の前壁60bに、上下一対のウェルディングボルト82が溶接により固着されている。インナカウル48に設けた対応する挿通孔49には防振用の弾性体からなるグロメット59,59が取り付けられており、各グロメット59にウェルディングボルト82を挿通し、ナット83で締め付けることによって、インナカウル48がカウル取付部材60を介してヘッドパイプ2、つまり車体に支持されている。さらに、図3に示すように、複数の締結部材84によりアウタカウル50がインナカウル48に取り付けられ、これによりカウリング40が車体に支持される。
図5に示すように、ウェルディングボルト82およびナット83には、ステー取付部材61が共締めされており、このステー取付部材61、63に、上下方向に延びるパイプ製のカウルステー62が溶接により固定されている。このカウルステー62の下部は、車幅方向に延びるアンダパイプ64により形成されている。アンダパイプ64に溶接によって固着された下部取付部材65に、アウタカウル50の下部がボルト85によって支持されている。カウルステー62の上部は、車幅方向に延びるアッパパイプ70により形成されている。このアッパパイプ70に、カウリング40とともに、透光性のウインドシールド42を支持する複数のシールド取付部材72が溶接により固着されている。
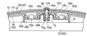
図5におけるA部の拡大図である図6に示すように、インナカウル48の外側にアウタカウル50が、アウタカウル50の外側にウインドシールド42が、ウインドシールド42の下端の取付部分42eのさらに外側に帯状のスペーサ43を介して補強部材44が、それぞれ配置されて重合され、ボルトからなるシールド締結部材86によりシールド取付部材72に締結されている。前記シールド取付部材72に設けた装着孔72aには、ゴムナット73が装着されており、シールド締結部材86が、インナカウル48、アウタカウル50、ウインドシールド42、スペーサ43および補強部材44にそれぞれ設けられた取付孔48a、50a、42a,43aおよび44aに挿通されて、ナット73のねじ孔73aに螺合している。本実施形態では、5箇所で締結されているが(図3)、締結箇所は、これよりも多くても少なくてもよい。また、本実施形態では、ウインドシールド42と補強部材44との間にスペーサ43を介在させているが、なくてもよい。
図7は、ウインドシールド42の締結部の水平断面図である。図7に示すように、インナカウル48およびアウタカウル50はそれぞれ、内側に凹んだ凹部48b、50bと、この凹部48b、50bの間に位置し前記取付孔48a、50aを有する凸部48c、50cとを有している。凹部48b、50bには係止孔48d、50dが貫通して形成されている。前記シールド取付部材72に設けた係止部72bと、被係止部となる係止孔48d、50dとの係合により、カウリング40がシールド取付部材72に係止されている。これにより、インナカウル48およびアウタカウル50の取付孔48a、50aと、ナット73のねじ孔73aとの位置決めがなされる。これらの取付孔48a、50aおよびねじ孔73aに、ウインドシールド42、スペーサ43、補強部材44のそれぞれの取付孔42a,43a,44aを合致させて、シールド締結部材86を挿入してナット72にねじ込むことで、ウインドシールド42、スペーサ43および補強部材44がカウリング40に支持されるとともに、カウリング40がシールド取付部材72を介してカウルステー62に支持される。
図8に示すように、上記シールド取付部材72に設けた係止部72bは、シールド取付部材72の一部を切り欠いて折り曲げたもので、図7の係止孔48d、50dに挿入されることで係止される。
図3に戻って、ランプユニット46は、アウタカウル50に支持されるヘッドランプ52と、ヘッドランプ52の周縁の取付部分52aを覆うランプカバー54とを有している。ヘッドランプ52は、ボルトのような複数のランプ締結部材88と挟みナット90により、アウタカウル50のランプ装着孔50fの内縁に設けたフランジ50eに取り付けられる。その後、ランプカバー54の上下部2箇所(上部のみ図示)に一体形成された係止爪54aを、アウタカウル50に設けられた被係止片50dに係止させることで、ランプカバー54をカウリング40に固定する。ランプカバー54によりランプ締結部材88を覆うことで、外観が向上する。
上記構成において、図6に示すウインドシールド42がアウタカウル44の外側に配置された状態で、シールド締結部材86により締結されているから、ウインドシールド42のカウリング40への取付時に、ウインドシールド42におけるシールド締結部材86の取付孔42aを目視できるので、ウインドシールド42の取付容易化のためにカウリング40の一部分を別部材にして部品点数を増やすことなく、ウインドシールド42をカウリング40に容易に取り付けることができる。また、ねじ孔73aを有するシールド取付部材72がカウリング40に連結され、シールド締結部材86が、ウインドシールド42に設けた取付孔42aに挿通されて、ねじ孔73aに螺合されるので、ウインドシールド42を取り付ける際に、ねじ孔73aにウインドシールド42の取付孔42aを合わることでウインドシールド42のカウリング40に対する位置決めが容易になり、組み立て性が一層向上する。さらに、カウリング40が樹脂製である場合でも、シールド取付部材72を装着することにより締結箇所の強度を向上させることができる。
シールド取付部材72のねじ孔73aは、カウリング40を構成するインナカウル48およびアウタカウル50にそれぞれ設けた取付孔48a,50aに合致しているので、ウインドシールド42の取付孔42aと、インナカウル48およびアウタカウル50の取付孔48a,50aとを合致させることにより、ウインドシールド42とカウリング40との位置合わせが正確になされる。また、インナカウル48およびアウタカウル50が内側に凹んだ凹部48b、50bと、これに隣接し前記取付孔48a,50aを有する凸部48c、50cとをそれぞれ有し、シールド取付部材72に設けた係止部72bと凹部48b、50bの係止孔48d、50dとの係合により、ねじ孔73aが取付孔48a,50aに合致するように、シールド取付部材72にカウリング40が係止されているので、カウリング40のシールド取付部材72への取り付けが容易になされる。
また、ウインドシールド42における取付部分42eの外側に、取付部分42eを覆う補強部材44が取り付けられているから、シールド締結部材86が補強部材44を介してウインドシールド42の取付部分42eに締結されるので、シールド締結部材86を強く締め付けた場合でも、ウインドシールド42の取付部分42eが変形または損傷するのを防ぐことができる。スペーサ43は、取付部分42eの変形または損傷をさらに効果的に防止する。また、補強部材44がウインドシールド42の取付部分42eを覆うことで外観を向上させることができる。さらに、ランプユニット46が、ランプ締結部材88によりアウタカウル50に、前方から取り付けられるので、ランプユニット46の組立性が向上するとともに、メンテナンス性も向上する。
なお、シールド取付部材72は、カウルステー62のアッパパイプ70に固定されないで、カウリング40に装着されていてもよく、その場合、カウリング40の上部は他の手段によってカウルステー62に支持される。
図9は、本発明の第2実施形態に係るカウリング装置21におけるウインドシールド42の締結部の水平断面図である。本実施形態と第1実施形態の相違点は、シールド取付部材72に、カウリング40を内側から外側に貫通して延び、カウリング40の外表面にねじ孔75aを露出させるボス部75が形成されている点である。ボス部75は例えば溶接によりシールド取付部材72の板金製の本体に固着される。この構成においても、カウリング40の外表面に露出したねじ孔75aを目視しながら、このねじ孔75aにウインドシールド42の取付孔42aを合わせて、シールド締結部材86を挿通させるので、やはりカウリング40に対するウインドシールド42の位置決めを容易に行うことができ、ウィンドシールド42の組立て性が向上する。
以上のとおり、図面を参照しながら本発明の好適な実施形態を説明したが、本発明の趣旨を逸脱しない範囲内で、種々の追加、変更または削除が可能である。したがって、そのようなものも本発明の範囲内に含まれる。
本発明の第1実施形態に係る自動二輪車を示す側面図である。 同上の自動二輪車を示す斜視図である。 同上カウリング装置の分解斜視図である。 同上カウリング装置の背面図である。 同上カウリング装置の縦断面図である。 図5の一部拡大図である。 同上カウリング装置におけるウインドシールドの締結箇所の水平断面図である。 シールド取付部材に設けた係止部の拡大斜視図である。 本発明の第2実施形態に係るカウリング装置におけるウインドシールドの締結箇所の水平断面図である。
符号の説明
21 カウリング装置
40 カウリング
42 ウインドシールド
42a 取付孔
44 補強部材
44a 取付孔
46 ランプユニット
48 インナカウル
48a 取付孔
48b 凹部
48d 係止孔(被係止部)
50 アウタカウル
50a 取付孔
50b 凹部
50d 係止孔(被係止部)
72 シールド取付部材
72b 係止部
73a ねじ孔
75 ボス部
75a ねじ孔
86 シールド締結部材
88 ランプ締結部材

Claims (3)

  1. 車体前部を覆うカウリングにウインドシールドが取り付けられたカウリング装置であって、
    前記カウリングが、インナカウルと、このインナカウルの外側に取り付けられるアウタカウルとを有し、
    前記ウインドシールドが、前記アウタカウルの外側に配置された状態で重合されて、前記カウリングに締結部材により締結され、
    前記カウリングにねじ孔を有する取付部材が連結され、前記締結部材が、前記ウインドシールドに設けた取付孔に挿通されて前記ねじ孔に螺合し、
    前記取付部材のねじ孔は前記カウリングに設けた取付孔に合致しており、前記締結部材は前記ウインドシールドの取付孔および前記カウリングの取付孔に挿通されて前記ねじ孔に螺合し、
    さらに前記カウリングが前記取付孔の近傍で、内側に凹んだ凹部を有し、前記取付部材に設けた係止部と前記凹部に設けた被係止部との係合により、前記取付部材が前記カウリングに係止されている自動二輪車のカウリング装置。
  2. 請求項1において、さらに、前記ウインドシールドの外側における前記締結部材で締結される取付部分を覆う補強部材を備える自動二輪車のカウリング装置。
  3. 請求項1または2において、前方から取り付けられるランプ締結部材により前記アウタカウルに取り付けられるランプユニットを備えた自動二輪車のカウリング装置。
JP2008175871A 2008-07-04 2008-07-04 自動二輪車のカウリング装置 Expired - Fee Related JP5145141B2 (ja)

Priority Applications (1)

Application Number Priority Date Filing Date Title
JP2008175871A JP5145141B2 (ja) 2008-07-04 2008-07-04 自動二輪車のカウリング装置

Applications Claiming Priority (1)

Application Number Priority Date Filing Date Title
JP2008175871A JP5145141B2 (ja) 2008-07-04 2008-07-04 自動二輪車のカウリング装置

Publications (2)

Publication Number Publication Date
JP2010012994A JP2010012994A (ja) 2010-01-21
JP5145141B2 true JP5145141B2 (ja) 2013-02-13

Family

ID=41699524

Family Applications (1)

Application Number Title Priority Date Filing Date
JP2008175871A Expired - Fee Related JP5145141B2 (ja) 2008-07-04 2008-07-04 自動二輪車のカウリング装置

Country Status (1)

Country Link
JP (1) JP5145141B2 (ja)

Families Citing this family (1)

* Cited by examiner, † Cited by third party
Publication number Priority date Publication date Assignee Title
WO2021065546A1 (ja) * 2019-09-30 2021-04-08 本田技研工業株式会社 鞍乗り型車両のヘッドライト組み付け構造

Family Cites Families (5)

* Cited by examiner, † Cited by third party
Publication number Priority date Publication date Assignee Title
JPS608177A (ja) * 1983-06-29 1985-01-17 本田技研工業株式会社 無天蓋車両用のウインドスクリ−ン支持構造
JPH0512148Y2 (ja) * 1986-10-17 1993-03-26
JP3999471B2 (ja) * 2001-03-28 2007-10-31 本田技研工業株式会社 自動二輪車のフロントカウル支持構造
JP4280501B2 (ja) * 2003-01-08 2009-06-17 本田技研工業株式会社 自動二輪車におけるフロントカウル取付け構造
JP3797340B2 (ja) * 2003-02-28 2006-07-19 スズキ株式会社 スクータ型自動二輪車

Also Published As

Publication number Publication date
JP2010012994A (ja) 2010-01-21

Similar Documents

Publication Publication Date Title
CN102161362B (zh) 跨骑型车辆
CN102791569B (zh) 机动二轮车
WO2014188837A1 (ja) 自動二輪車の排気管サイドカバー
JP5534744B2 (ja) ラムダクトユニット
JP6337758B2 (ja) 自動二輪車の部品取付構造およびその取付方法
JP2007008276A (ja) 自動二輪車の車体カバー取付構造
JP4078341B2 (ja) 自動二輪車における車体カバー構造
CN102001385B (zh) 鞍乘型车辆的车体罩结构
JP2006096233A (ja) 自動二輪車における車体カバー構造
JP3584720B2 (ja) 自動二輪車
JP5145141B2 (ja) 自動二輪車のカウリング装置
US7845450B2 (en) Rear frame attachment structure for two-wheeled motor vehicle
JP4351459B2 (ja) 自動二輪車のリヤクッションユニット取付構造
JP5340778B2 (ja) 鞍乗型車両
WO2010038586A1 (ja) 自動二輪車のエンジン懸架構造
JP2014108748A (ja) 自動二輪車
JP4050510B2 (ja) 自動二輪車の燃料ポンプ取付構造
JP2005119571A (ja) スクータ型車両の前部カバー構造
JP6395537B2 (ja) 自動二輪車のパニア取付構造
CN103661721B (zh) 跨乘式车辆的框架结构
JP6348381B2 (ja) 鞍乗型車両
JP3797340B2 (ja) スクータ型自動二輪車
JP4720482B2 (ja) 自動二輪車のフレームカバー
JP4563883B2 (ja) スクータ型車両の車体カバー構造
JP7581950B2 (ja) レッグシールド

Legal Events

Date Code Title Description
A621 Written request for application examination

Free format text: JAPANESE INTERMEDIATE CODE: A621

Effective date: 20110520

A977 Report on retrieval

Free format text: JAPANESE INTERMEDIATE CODE: A971007

Effective date: 20120809

A131 Notification of reasons for refusal

Free format text: JAPANESE INTERMEDIATE CODE: A131

Effective date: 20120821

A521 Request for written amendment filed

Free format text: JAPANESE INTERMEDIATE CODE: A523

Effective date: 20120924

TRDD Decision of grant or rejection written
A01 Written decision to grant a patent or to grant a registration (utility model)

Free format text: JAPANESE INTERMEDIATE CODE: A01

Effective date: 20121120

A01 Written decision to grant a patent or to grant a registration (utility model)

Free format text: JAPANESE INTERMEDIATE CODE: A01

A61 First payment of annual fees (during grant procedure)

Free format text: JAPANESE INTERMEDIATE CODE: A61

Effective date: 20121126

FPAY Renewal fee payment (event date is renewal date of database)

Free format text: PAYMENT UNTIL: 20151130

Year of fee payment: 3

R150 Certificate of patent or registration of utility model

Ref document number: 5145141

Country of ref document: JP

Free format text: JAPANESE INTERMEDIATE CODE: R150

Free format text: JAPANESE INTERMEDIATE CODE: R150

S111 Request for change of ownership or part of ownership

Free format text: JAPANESE INTERMEDIATE CODE: R313111

R350 Written notification of registration of transfer

Free format text: JAPANESE INTERMEDIATE CODE: R350

R250 Receipt of annual fees

Free format text: JAPANESE INTERMEDIATE CODE: R250

LAPS Cancellation because of no payment of annual fees