JP5117948B2 - ポリゴンミラースキャナモータの製造方法 - Google Patents

ポリゴンミラースキャナモータの製造方法 Download PDF

Info

Publication number
JP5117948B2
JP5117948B2 JP2008182237A JP2008182237A JP5117948B2 JP 5117948 B2 JP5117948 B2 JP 5117948B2 JP 2008182237 A JP2008182237 A JP 2008182237A JP 2008182237 A JP2008182237 A JP 2008182237A JP 5117948 B2 JP5117948 B2 JP 5117948B2
Authority
JP
Japan
Prior art keywords
shaft
tip
polygon mirror
shape
mirror scanner
Prior art date
Legal status (The legal status is an assumption and is not a legal conclusion. Google has not performed a legal analysis and makes no representation as to the accuracy of the status listed.)
Active
Application number
JP2008182237A
Other languages
English (en)
Other versions
JP2010020200A (ja
Inventor
昭光 前谷
浩司 平口
康嗣 福井
正貴 角
敬行 阿部
Current Assignee (The listed assignees may be inaccurate. Google has not performed a legal analysis and makes no representation or warranty as to the accuracy of the list.)
Minebea Motor Manufacturing Corp
Original Assignee
Minebea Motor Manufacturing Corp
Priority date (The priority date is an assumption and is not a legal conclusion. Google has not performed a legal analysis and makes no representation as to the accuracy of the date listed.)
Filing date
Publication date
Application filed by Minebea Motor Manufacturing Corp filed Critical Minebea Motor Manufacturing Corp
Priority to JP2008182237A priority Critical patent/JP5117948B2/ja
Publication of JP2010020200A publication Critical patent/JP2010020200A/ja
Application granted granted Critical
Publication of JP5117948B2 publication Critical patent/JP5117948B2/ja
Active legal-status Critical Current
Anticipated expiration legal-status Critical

Links

Images

Classifications

    • GPHYSICS
    • G02OPTICS
    • G02BOPTICAL ELEMENTS, SYSTEMS OR APPARATUS
    • G02B26/00Optical devices or arrangements for the control of light using movable or deformable optical elements
    • G02B26/08Optical devices or arrangements for the control of light using movable or deformable optical elements for controlling the direction of light
    • G02B26/10Scanning systems
    • G02B26/12Scanning systems using multifaceted mirrors
    • G02B26/121Mechanical drive devices for polygonal mirrors
    • GPHYSICS
    • G02OPTICS
    • G02BOPTICAL ELEMENTS, SYSTEMS OR APPARATUS
    • G02B7/00Mountings, adjusting means, or light-tight connections, for optical elements
    • G02B7/18Mountings, adjusting means, or light-tight connections, for optical elements for prisms; for mirrors
    • G02B7/182Mountings, adjusting means, or light-tight connections, for optical elements for prisms; for mirrors for mirrors
    • G02B7/1821Mountings, adjusting means, or light-tight connections, for optical elements for prisms; for mirrors for mirrors for rotating or oscillating mirrors

Landscapes

  • Physics & Mathematics (AREA)
  • General Physics & Mathematics (AREA)
  • Optics & Photonics (AREA)
  • Laser Beam Printer (AREA)
  • Mechanical Optical Scanning Systems (AREA)
  • Motor Or Generator Frames (AREA)

Description

本発明はレーザービームプリンタや複写機等で使用され、レーザースキャニングに利用される高速回転で動作するポリゴンミラースキャナモータに関するものである。
従来、この種のポリゴンミラースキャナモータは、SUS材にてストレートに加工されたシャフト先端を軸受でスラスト支持するピボット軸受構造が一般的である。このピボット軸受においては、シャフト先端が軸受に固定されたスラスト板に点接触するように、先端がR形状に加工されている(例えば特許文献1参照)。
図5は、前記特許文献1に記載された従来のピボット軸受構造を備えるポリゴンミラースキャナモータを示すものである。
図5に従来のポリゴンミラースキャナモータの構造を示す。図5において、シャフト51は基板59に固定された軸受58の内径孔に対して回転可能に支持されると共に、ロータボス55が締結されている。そしてロータボス55の上部にはポリゴンミラー52が固定されている。ポリゴンミラー52の側面には鏡面加工が施されている。そして、この鏡面加工されたミラー面は、光ビームの偏光走査を精度良く行うために、平面度が高精度に保たれている。
また、ロータボス55にはロータフレーム54が固定され、ロータフレーム54の内周にはロータマグネット53が固定されている。シャフト51のロータボス55が固定された側とは反対側の端部はR形状に加工されており、このR形状の先端部が軸受58の下端部側に固定されたスラストカバー60に保持されたスラスト板61により軸方向に支持されるピボット軸受を構成している。
そして、基板59には前記ロータマグネット53と対向した位置にステータコイル57が巻装されたステータコア56が配置されている。このステータコイル57に電流を流して、ロータマグネット53とステータコア56との間で発生する吸引力と反発力によりポリゴンミラー52を回転させて光ビームを投射することにより偏光走査を行う。
しかしながら、前記従来の構成では、スラスト方向に支持されるシャフト51の先端のR形状加工部の加工精度によって、シャフトの軸芯に対する、シャフト先端の偏芯量が増加し、振動、騒音を発生させる原因となるという課題を有している。
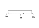
図6は上記従来のピボット軸受構造を備えるポリゴンミラースキャナモータに使用されているシャフト51の側面図である。
図6において、シャフト51の軸方向両端には、ピボット軸受側のR形状に加工された第1のシャフト先端部51aと、反対側の平坦な形状の第2のシャフト先端部51bが形成されている。
以下、図6に記載される上記従来のシャフト51の加工工程について図7で説明する。
先ず、シャフト51の素材であるコイル状のシャフト材を切断して両端が平坦な形状のシャフトバー材50を得る。この工程をブランク加工と称する。次に、このシャフトバー材50を公知の先端研削加工機に供給する。(例えば特許文献2および特許文献3参照)
シャフトバー材50の一方の先端部を先端研削加工機の受面71に押し当ててシャフトバー材50を自転させながら、砥石72により第1のシャフト先端部50a側にR形状の研削加工を施す。
この後、シャフトの外径形状と寸法を目標値に仕上げるため、センタレス方式の研削加工機により研削加工を行う。この工程を仕上げ加工と称する。センタレス方式の研削加工機では、シャフト51の軸芯に対する第1のシャフト先端部51aのR形状部の中心の偏芯量は修正されない。従って、この偏芯量は先端研削加工時の加工精度に依存することとなる。
先端研削加工機の受面71に押し当てるシャフトバー材50の第2のシャフト先端部50bは、コイル状のシャフト材を切断する際、シャフト材のタワミ、切断工具の取り付け精度等により軸芯に対して直交する平面形状に形成することが極めて困難である。従って、図7に示すように、シャフトバー材50の第2のシャフト先端部50bは軸芯からズレた位置で先端研削加工機の受面71に押し当てることとなる。このため、先端研削加工機に取り付けた砥石72によりR形状の研削加工を施す側の第1のシャフト先端部50aに、シャフトバー材50を自転させることによるブレが生じやすくなり、研削加工の精度を高めることが困難となるので、シャフト51の軸芯に対する第1のシャフト先端部51aのR形状部の中心の偏芯量が増大し易くなる。
図8は、上記従来のブランク加工、先端研削加工および仕上げ加工されたシャフト51の軸芯に対する第1のシャフト先端部51aのR形状部の中心の偏芯量の度数分布を示す。
特開2006−187970号公報 特公昭51−25949号公報 特開平2−24048号公報
本発明は、上記従来の課題を解決するものであり、シャフトの軸芯に対する、シャフト先端のR形状部の中心の偏芯量が増加することにより発生する振動、騒音を抑制し、低振動、低騒音なポリゴンミラースキャナモータを提供することを目的とする。
上記従来の課題を解決するために、本発明のポリゴンミラースキャナモータは、スラスト支持されるシャフト先端の反対側端面が円錐形状であるようにしたものである。
本発明のポリゴンミラースキャナモータによれば、シャフトの軸芯に対する、シャフト先端のR形状部の中心の偏芯量が増加することにより発生する振動、騒音を低減させることができるという有利な効果が得られる。
以下本発明を実施するための最良の形態について、図面を参照しながら説明する。
図1は、本発明の実施の形態におけるポリゴンミラースキャナモータのブランク加工後のシャフトブランク加工材2の側面図である。
図1において、シャフトブランク加工材2の第1のシャフト先端部2aと、第2のシャフト先端部2bは同じ円錐形状に形成されている。
以下、図1に記載されるシャフトブランク加工材2の加工工程について説明する。
シャフトブランク加工材2の素材であるコイル状のシャフト材を切断して両端が平坦な形状のシャフトバー材を得る。次に、このシャフトバー材を切削加工機へ供給し、シャフトバー材の外径をチャックして中心出しを行い、切削加工機へ取り付けたバイトにより、第1のシャフト先端部2a及び第2のシャフト先端部2bを同じ円錐形状に切削加工を施す。この工程をブランク加工と称する。この後、従来の技術と同様に、このブランク加工を施したシャフトブランク加工材2を公知の先端研削加工機に供給する。
シャフトブランク加工材2の一方の先端部を先端研削加工機の受面に押し当ててシャフトブランク加工材2を自転させながら、砥石により第1のシャフト先端部2a側にR形状の研削加工を施す。
この後、シャフトの外径形状と寸法を目標値に仕上げるため、センタレス方式の研削加工機により研削加工を行う。この工程を仕上げ加工と称する。
図2は、本発明の実施の形態におけるポリゴンミラースキャナモータの仕上げ加工後のシャフト1の側面図である。
図2において、シャフト1のスラスト支持されるピボット軸受側の第1のシャフト先端部1aはR形状に加工され、反対側の第2のシャフト先端部1bは、ブランク加工工程で形成された円錐形状のまま維持されている。
図3は、本発明の実施の形態におけるポリゴンミラースキャナモータのシャフトのピボット軸受側の先端研削加工工程の要部を示す。
図1に示すブランク加工を施したシャフトブランク加工材2は、図3aのように先端研削加工機のキャリア10に形成された保持部11に挿入される。この保持部11は、V字溝形状に精度良く形成され、図3bのようにシャフトブランク加工材2の外周を回転自在に保持する。そして、シャフトブランク加工材2の円錐形状に形成された第2のシャフト先端部2bを、先端研削加工機の保持部11のV字溝の一端側に、V字溝と直交する様に配置された受面12に押し当てる。一方、シャフトブランク加工材2の第1のシャフト先端部2aには、所定の曲面形状に形成された砥石13を接触させ、キャリア10の保持部11のV字溝にシャフトブランク加工材2の外周を接触させた状態で自転させながら研削加工を施す。
本発明の実施の形態においては、先端研削加工機の受面12に押し当てる、第2のシャフト先端部2bが円錐形状に形成されているので、先端研削加工機の受面12との接触が点接触となり、しかも、接触点がシャフトブランク加工材2の軸芯とほぼ一致するので、シャフトブランク加工材2を自転させる際に被加工側の第1のシャフト先端部2aにブレが生じにくい。
従って、研削加工の精度を高めることが可能となり、シャフトブランク加工材2の軸芯に対する第1のシャフト先端部2aのR形状部の中心の偏芯量を低減できる。ひいては、センタレス方式の研削加工機による仕上げ加工後のシャフト1の軸芯に対する第1のシャフト先端部1aのR形状部の中心の偏芯量を低減できる。また、先端研削加工によりR形状部を形成する第1のシャフト先端部2aが、予め円錐形状に形成されているため、先端研削加工の加工時間が大幅に低減されるとともに、加工時に砥石に働く研削抵抗力も小さくなるため砥石の磨耗が少なくなり、砥石の交換間隔を長くできるので生産性が向上する。
加えて、ブランク加工を施したシャフトの両先端に同じ円錐形状部を形成するので、次工程の先端研削加工工程にシャフトブランク加工材の方向をそろえる必要が無いため作業性
が向上する。
図4は、本発明の実施の形態におけるポリゴンミラースキャナモータの研削仕上げ加工されたシャフト1の軸芯に対する第1のシャフト先端部1aのR形状部の中心の偏芯量の度数分布を示す。
図4において、横軸に偏芯量、縦軸に頻度をとると、上記の本願発明による研削仕上げ加工にすることで、図2に記載される第1のシャフト先端部1aにおける偏芯量は平均2μm低減すると共にバラツキも低減していることが伺える。
一般的に偏芯量が良化すると、回転体はスラスト支持される第1のシャフト先端部1aを支点とし、真円軌道を描くため、回転体から発する機械的な振動、騒音は低減する。
上記実施の形態より、シャフトの軸芯に対する、シャフト先端のズレによる偏芯量が増加することにより発生する振動、騒音を低減させることができる。
本発明にかかる、ポリゴンミラースキャナモータはシャフトの軸芯に対する、シャフト先端のズレによる偏芯量が増加することにより発生する振動、騒音を低減させることが可能になるのでレーザービームプリンタや複写機等の用途に有用である。
本発明の実施の形態におけるポリゴンミラースキャナモータのブランク加工後のシャフト側面図 本発明の実施の形態におけるポリゴンミラースキャナモータの仕上げ加工後のシャフト側面図 (a)本発明の実施の形態におけるポリゴンミラースキャナモータのシャフト先端研削加工工程の要部の側面図、(b)本発明の実施の形態におけるポリゴンミラースキャナモータのシャフト先端研削加工工程の要部の断面図 本発明の実施の形態におけるポリゴンミラースキャナモータの仕上げ加工されたシャフトの軸芯に対する第1のシャフト先端部1aのR形状部中心の偏芯量度数分布を示すグラフ 従来のポリゴンミラースキャナモータの断面図 従来ブランク加工後のシャフト側面図 従来のポリゴンミラースキャナモータのシャフト先端研削加工工程の要部の側面図 従来の仕上げ加工されたシャフトの軸芯に対する第1のシャフト先端部51aのR形状部中心の偏芯量度数分布を示すグラフ
符号の説明
1、51 シャフト
2 シャフトブランク加工材
1a、2a、50a、51a 第1のシャフト先端部
1b、2b、50b、51b 第2のシャフト先端部
10 キャリア
11 保持部
12、71 受面
13、72 砥石
50 シャフトバー材
52 ポリゴンミラー
53 ロータマグネット
54 ロータフレーム
55 ロータボス
56 ステータコア
57 ステータコイル
58 軸受
59 基板
60 スラストカバー
61 スラスト板

Claims (3)

  1. ステータと、
    前記ステータに対して回転自在に配置されたシャフトであって、その第1の先端がピボット軸受でスラスト方向に支持されたシャフトと、
    前記シャフトに取り付けられ、前記ステータに対して回転するロータと、
    前記シャフトに取り付けられ、前記ロータとともに前記ステータに対して回転するポリゴンミラーとを備え、
    前記シャフトの前記ピボット軸受側の前記第1の先端はR形状に形成され、他方の第2の先端は円錐形状に形成されたポリゴンミラースキャナモータの製造方法であって、
    前記第2の先端に前記円錐形状が形成されたシャフト材料を作成する第1の加工工程と、
    前記第1の加工工程より後に、前記シャフト材料を自転させながら研削加工を行うことにより前記第1の先端に前記R形状を形成する第2の加工工程とを備える、ポリゴンミラースキャナモータの製造方法
  2. 前記第1の加工工程では、シャフト材料の両側の先端に同じ円錐形状を形成し
    前記第2の加工工程では、前記シャフト材料の外周と前記第2の先端の円錐形状部とを回転自在に支持した状態で、前記R形状の形成を行う、請求項に記載のポリゴンミラースキャナモータの製造方法
  3. R形状に加工されたスラスト支持される前記第1の先端の中心と、反対側の前記第2の先端に形成された円錐形状の中心とが、前記シャフトの軸芯と同軸上に形成されている、請求項1又は2に記載のポリゴンミラースキャナモータの製造方法
JP2008182237A 2008-07-14 2008-07-14 ポリゴンミラースキャナモータの製造方法 Active JP5117948B2 (ja)

Priority Applications (1)

Application Number Priority Date Filing Date Title
JP2008182237A JP5117948B2 (ja) 2008-07-14 2008-07-14 ポリゴンミラースキャナモータの製造方法

Applications Claiming Priority (1)

Application Number Priority Date Filing Date Title
JP2008182237A JP5117948B2 (ja) 2008-07-14 2008-07-14 ポリゴンミラースキャナモータの製造方法

Publications (2)

Publication Number Publication Date
JP2010020200A JP2010020200A (ja) 2010-01-28
JP5117948B2 true JP5117948B2 (ja) 2013-01-16

Family

ID=41705143

Family Applications (1)

Application Number Title Priority Date Filing Date
JP2008182237A Active JP5117948B2 (ja) 2008-07-14 2008-07-14 ポリゴンミラースキャナモータの製造方法

Country Status (1)

Country Link
JP (1) JP5117948B2 (ja)

Families Citing this family (1)

* Cited by examiner, † Cited by third party
Publication number Priority date Publication date Assignee Title
JP6017500B2 (ja) * 2014-06-30 2016-11-02 シナノケンシ株式会社 光走査装置

Family Cites Families (3)

* Cited by examiner, † Cited by third party
Publication number Priority date Publication date Assignee Title
JP3298980B2 (ja) * 1993-05-26 2002-07-08 ブラザー工業株式会社 光走査装置
JP2006187970A (ja) * 2005-01-07 2006-07-20 Matsushita Electric Ind Co Ltd ポリゴンスキャナモータ
JP2008131828A (ja) * 2006-11-24 2008-06-05 Victor Co Of Japan Ltd モータ

Also Published As

Publication number Publication date
JP2010020200A (ja) 2010-01-28

Similar Documents

Publication Publication Date Title
EP2905879B1 (en) Motor
JP2009005561A (ja) モータおよびディスク駆動装置
US20100220374A1 (en) Polygon mirror scanner motor
JP5117948B2 (ja) ポリゴンミラースキャナモータの製造方法
JP5377659B2 (ja) シャフトを機械加工する方法および装置
JP2015171750A (ja) 工作機械の保持装置
JP4986812B2 (ja) 主軸装置の間座製作方法
JP5127759B2 (ja) キャプスタンロールおよび伸線機
JP5076583B2 (ja) 面取り装置、面取り方法および焼結磁石
JP2746830B2 (ja) 動圧空気軸受装置およびその動圧発生用溝の作製方法
JP2012187648A (ja) ワーク内面の研削方法
JP2006077863A (ja) 動圧軸受装置用軸部材およびその製造方法
JP4504734B2 (ja) 巻線機のセンター押さえ装置および方法
JP2005102412A (ja) 回転電機の製造方法及び回転電機
JP2007143379A (ja) ブラシレスモータ
JP5067416B2 (ja) 回転電機
JP5439217B2 (ja) 両頭研削装置用リング状ホルダーおよび両頭研削装置
JP4182169B2 (ja) ロータへの主軸体取付方法及び加工装置
JP2005186129A (ja) ウォーム付きシャフトの製造方法、ウォーム付きシャフト、回転子及び回転電機
JP2006077861A (ja) 動圧軸受装置用軸部材およびその製造方法
JP5363847B2 (ja) リーマ加工刃具
JP4789591B2 (ja) ポリゴンミラースキャナモータ
JP4928194B2 (ja) 駆動モータ及びそれを備える回転多面鏡駆動装置
JP2010144879A (ja) ディスクブレーキのサポート加工方法
JP2649615B2 (ja) 研削盤

Legal Events

Date Code Title Description
A711 Notification of change in applicant

Free format text: JAPANESE INTERMEDIATE CODE: A711

Effective date: 20110407

RD02 Notification of acceptance of power of attorney

Free format text: JAPANESE INTERMEDIATE CODE: A7422

Effective date: 20110407

A621 Written request for application examination

Free format text: JAPANESE INTERMEDIATE CODE: A621

Effective date: 20110517

A977 Report on retrieval

Free format text: JAPANESE INTERMEDIATE CODE: A971007

Effective date: 20120502

A131 Notification of reasons for refusal

Free format text: JAPANESE INTERMEDIATE CODE: A131

Effective date: 20120508

A521 Request for written amendment filed

Free format text: JAPANESE INTERMEDIATE CODE: A523

Effective date: 20120626

A131 Notification of reasons for refusal

Free format text: JAPANESE INTERMEDIATE CODE: A131

Effective date: 20120717

A521 Request for written amendment filed

Free format text: JAPANESE INTERMEDIATE CODE: A523

Effective date: 20120913

TRDD Decision of grant or rejection written
A01 Written decision to grant a patent or to grant a registration (utility model)

Free format text: JAPANESE INTERMEDIATE CODE: A01

Effective date: 20121009

A01 Written decision to grant a patent or to grant a registration (utility model)

Free format text: JAPANESE INTERMEDIATE CODE: A01

A61 First payment of annual fees (during grant procedure)

Free format text: JAPANESE INTERMEDIATE CODE: A61

Effective date: 20121018

R150 Certificate of patent or registration of utility model

Ref document number: 5117948

Country of ref document: JP

Free format text: JAPANESE INTERMEDIATE CODE: R150

Free format text: JAPANESE INTERMEDIATE CODE: R150

FPAY Renewal fee payment (event date is renewal date of database)

Free format text: PAYMENT UNTIL: 20151026

Year of fee payment: 3

R250 Receipt of annual fees

Free format text: JAPANESE INTERMEDIATE CODE: R250

R250 Receipt of annual fees

Free format text: JAPANESE INTERMEDIATE CODE: R250

R250 Receipt of annual fees

Free format text: JAPANESE INTERMEDIATE CODE: R250

R250 Receipt of annual fees

Free format text: JAPANESE INTERMEDIATE CODE: R250

R250 Receipt of annual fees

Free format text: JAPANESE INTERMEDIATE CODE: R250

R250 Receipt of annual fees

Free format text: JAPANESE INTERMEDIATE CODE: R250

R250 Receipt of annual fees

Free format text: JAPANESE INTERMEDIATE CODE: R250

R250 Receipt of annual fees

Free format text: JAPANESE INTERMEDIATE CODE: R250

R250 Receipt of annual fees

Free format text: JAPANESE INTERMEDIATE CODE: R250

R250 Receipt of annual fees

Free format text: JAPANESE INTERMEDIATE CODE: R250

R250 Receipt of annual fees

Free format text: JAPANESE INTERMEDIATE CODE: R250