JP5116705B2 - グリルユニット及びこれを備えた加熱調理器 - Google Patents

グリルユニット及びこれを備えた加熱調理器 Download PDF

Info

Publication number
JP5116705B2
JP5116705B2 JP2009033504A JP2009033504A JP5116705B2 JP 5116705 B2 JP5116705 B2 JP 5116705B2 JP 2009033504 A JP2009033504 A JP 2009033504A JP 2009033504 A JP2009033504 A JP 2009033504A JP 5116705 B2 JP5116705 B2 JP 5116705B2
Authority
JP
Japan
Prior art keywords
grill
pull
chamber
slide rail
arm
Prior art date
Legal status (The legal status is an assumption and is not a legal conclusion. Google has not performed a legal analysis and makes no representation as to the accuracy of the status listed.)
Expired - Fee Related
Application number
JP2009033504A
Other languages
English (en)
Other versions
JP2010190456A (ja
Inventor
雅弘 小林
Current Assignee (The listed assignees may be inaccurate. Google has not performed a legal analysis and makes no representation or warranty as to the accuracy of the list.)
Mitsubishi Electric Home Appliance Co Ltd
Mitsubishi Electric Corp
Original Assignee
Mitsubishi Electric Home Appliance Co Ltd
Mitsubishi Electric Corp
Priority date (The priority date is an assumption and is not a legal conclusion. Google has not performed a legal analysis and makes no representation as to the accuracy of the date listed.)
Filing date
Publication date
Application filed by Mitsubishi Electric Home Appliance Co Ltd, Mitsubishi Electric Corp filed Critical Mitsubishi Electric Home Appliance Co Ltd
Priority to JP2009033504A priority Critical patent/JP5116705B2/ja
Publication of JP2010190456A publication Critical patent/JP2010190456A/ja
Application granted granted Critical
Publication of JP5116705B2 publication Critical patent/JP5116705B2/ja
Expired - Fee Related legal-status Critical Current
Anticipated expiration legal-status Critical

Links

Images

Landscapes

  • Baking, Grill, Roasting (AREA)

Description

本発明は、加熱調理器において庫内調理を行うグリルユニット及びこのグリルユニットを備えた加熱調理器に関するものである。
従来の加熱調理器に、グリルケースにスライド手段によってグリル受け皿が引き出し自在に収容されるグリルを有し、上記のスライド手段は、グリルケースの両側に固定されたガイドレールと、このガイドレールに係合しグリル受け皿の両側に配設される被ガイドレールとを備え、被ガイドレールに枠材を架設してカバー枠を構成し、このカバー枠にグリル受け皿を取外し自在に載置するようにしたものがある(例えば、特許文献1参照)。
また、両側のレールユニットの前部を連結するレール連結部に、受け皿の外周形状に対応した形状の受け皿保持枠を装着し、この受け皿保持枠に受け皿を着脱自在に載置するようにしたものがある(例えば、特許文献2参照)。
特開2004−261280号公報(第4−6頁、図1−2) 特開2006−336896号公報(第8−10頁、図2−3)
特許文献1のグリルは、被ガイドレールの間に載置されたグリル受け皿のフランジの上面が、被ガイドレールの上面とほぼ同一平面上にあるため、グリル受け皿の取り外しが面倒である。
この場合、グリル受け皿の取り外しを考慮すると、被ガイドレールより高い位置にグリル受け皿を保持するか、又はグリル受け皿を両側の被ガイドレールの間隔より狭い幅に形成する必要がある。
しかしながら、グリル受け皿を被ガイドレールより高い位置に保持すると、高さ方向の使用空間が小さくなり、また、グリル受け皿の幅を狭くすると、横方向の使用空間が小さくなるため、いずれの場合も、調理する素材の大きさが制限されることになり、好ましくない。
また、特許文献2のグリルにおいては、受け皿の取り外しは容易であるが、特別に受け皿保持体を設けなければならないので、構造が複雑であるばかりでなく、その分コストアップになるという問題があった。
本発明は、上記の課題を解決するためになされたもので、構造が簡単で使用空間が大きく、グリル受け皿の着脱が容易で使い勝手のよいグリルユニット及びこのグリルユニットを備えた加熱調理器を提供することを目的としたものである。
本発明に係るグリルユニットは、前面が開口され内壁に対向して固定ガイドレールが設けられたグリル室と、前記固定ガイドレールに摺動自在に嵌合された摺動レールと、前記グリル室の開口部を開閉するグリル扉と、一端が前記グリル扉に固定され他端が前記摺動レールに軸支されたプルダウンアーム及びほぼ中間部が前記摺動レールに軸支され下部が前記プルダウンアームの摺動穴に連結された保持アームによって構成されたプルダウン機構とからなり、前記グリル室に引出し式に収容されるグリル扉装置と、該グリル扉装置の摺動レール上に着脱自在に載置されるグリル受け皿とを備え、前記グリル扉装置を前記グリル室から引き出してプルダウン状態となったときは、前記保持アームの上端部が前記摺動レールの上面から突出するように構成したものである。
また、本発明に係る加熱調理器は、上記のグリルユニットを備えたものである。
本発明によれば、使用空間が大きく、グリル受け皿の着脱が容易で使い勝手のよいグリルユニット及びこれを備えた加熱調理器を得ることができる。
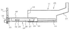
本発明の実施の形態1に係るグリルユニットを備えた加熱調理器のグリル扉装置を引き出した状態の斜視図である。 図1のグリルユニットの斜視図である。 図2のグリル受け皿を取り外した状態の斜視図である。 図2のグリル扉装置をグリル室内に収容した状態の断面図である。 図4のグリル扉装置を引き出した状態の断面図である。 図5のプルダウン機構が動作した状態の断面図である。 実施の形態1のグリルユニットの他の例を示す断面図である。 図7のプルダウン機構が動作した状態の断面図である。 本発明の実施の形態2に係るグリルユニットを備えた加熱調理器のグリル扉装置を引き出した状態の斜視図である。 図9のグリルユニットの斜視図である。 図10のグリル受け皿を取り外した状態の斜視図である。 図9のグリル室からグリル扉装置を引き出した状態の断面図である。 図12のプルダウン機構が動作した状態の断面図である。
[実施の形態1]
本発明の実施の形態1に係るグリルユニット20を備えた図1の加熱調理器1において、2は上面が開口したほぼ箱状の本体ケースで、上面開口部には、例えば耐熱ガラスの如き非磁性材からなり、外周に天板支持枠4が設けられた平板状の天板3が装着されている。そして、天板3の上面には、調理容器50の載置位置を示す複数の載置位置表示部5a,5b,5c(図には3個の場合が示してあるが、2個以上であればよい)が印刷により設けられている。6は天板3の後部側に設けられた吸排気口である。
7a,7bは本体ケース2の前面の両側(一方の側又は上面の場合もある)に設けられた主操作部、8は天板支持枠3の前面側に設けられた副操作部である。なお、図示してないが、本体ケース2の天板3の載置位置表示部5a〜5cの下面には、例えば、誘導加熱コイルやヒータの如き加熱体がそれぞれ配設されており、また、これら加熱体を制御する制御部、外気取入口から取り込んだ外気により、加熱体や制御部などを冷却する送風機等が設けられている。
10は主操作部7a,7bの間(主操作部が一方の側に設けられている場合は、これと並行して)に設けられたグリルユニットで、本体ケース2内に設置されて前面が開口されたほぼ箱状のグリル室11と、グリル受け皿が着脱自在に載置され、グリル室11内に挿脱自在に収容される引き出し式のグリル扉装置20とからなっている。以下、このグリルユニット10につき、図2〜図6を参照して説明する。なお、図2〜図6において、グリル室11は天板を省略してある(以下の図面においても同様)。
グリル室11は薄い金属板をプレス加工により成形し、あるいは薄い金属板の端部どうしを溶接やねじによって接合してほぼ箱状に形成したもので、前面には本体ケース2の前面側に開口する開口部12が設けられており、後面側には本体ケース2の天板3に設けた吸排気口6に開口する排気ダクト13が設けられている。
また、グリル室11の両側壁内面の下部の前後方向には、断面コ字状の一対の固定ガイドレール14a,14b(図には、一方の固定ガイドレール14aのみが示してある。なお、以下の説明では単に14と記すことがある)が、開口部を対向させてねじ、溶接等により取付けられている。なお、図示してないが、グリル室11の天板の下面には、シーズヒータやハロゲンヒータの如き加熱体が配設されており、また、底板の上面には底板と所定の間隔を保って、グリル室11の背面から前面方向にかけて水平に展開されたシーズヒータ等の加熱体が配設されている。
グリル扉装置20は、グリル扉21の背面の両側に、後述のプルダウン機構25を介して連結される断面コ字状で開口部が外側に向けられた一対の摺動レール23a,23b(以下、単に23と記すことがある)を有し、この摺動レール23a,23bは、グリル室11に設けた固定ガイドレール14a,14bの外側に、前後方向に摺動可能に嵌合される。そして、これら対向する摺動レール23a,23bの間の前後には、両者の間隔を保持し、かつ補強のための連結アーム24a,24bが固定されて枠状に形成されており、グリル扉装置20の開閉にあたって、グリル受け皿40に載置された被加熱調理物の重量バランスによるゆがみ等を生ずることがなく、スムーズに動作できるようになっている。
また、グリル扉装置20には、グリル扉21を引き出したときに、グリル扉21を下方に下げてグリル受け皿40やその上の被加熱調理物を取り出し易くするために、プルダウン機構25が設けられている。
このプルダウン機構25は、一端がグリル扉21の背面側に設けたプルダウン連結アーム33(図4)に固定され、他端が連結ピン27により摺動レール23a,23bに回動自在に軸支されたプルダウンアーム26a,26b(以下、単に26と記すことがある)と、上下方向のほぼ中間部がピン31により摺動レール23a,23bに回動自在に軸支され、下部がプルダウンアーム26a,26bの長手方向に設けた摺動穴28に、ピン32を介して摺動自在に連結された保持アーム30a,30b(以下、単に30と記すことがある)とからなっている。
被加熱調理物を載置して調理するグリル受け皿40は、ステンレス鋼板や、例えば表面にホーロー被膜処理が施された耐食性の高い金属板などによって形成されており、中央の凹んだ皿部41の上端部には、外方に折り曲げられたフランジ42が設けられている。
次に、上記のように構成した本実施の形態に係るグリルユニット10の作用を説明する。
被加熱調理物(図示せず)が皿部41に載置されたグリル受け皿40は、図2〜図4に示すように、そのフランジ42が摺動レール23a,23b上に載置される。そして、ハンドル22に手を掛けてグリル扉装置20をグリル室11内に押し込むと、摺動レール23a,23bが固定レール14a,14bに沿って移動し、グリル扉21が開口部12を閉塞し、グリル扉装置20、したがってグリル受け皿40はグリル室11内に収容される。
このとき、プルダウンアーム26a,26bは連結ピン27を中心に回動して、摺動レール23a,23bに沿ってほぼ水平状態になり、また、保持アーム30a,30bもピン31を中心に回動すると共に、下部のピン32が摺動穴28内を前面側に移動して摺動レール23a,23bとプルダウンアーム26a,26bの間でほぼ水平状態となることにより、グリル扉21はグリル室11の開口部12を閉塞する。このときの状態を図4に示す。
この状態で、グリル室11の上下に設けた加熱体に通電し、グリル受け皿40上の被加熱調理物を加熱し、調理する。このとき、加熱、調理によって発生した蒸気や煙は、ダクト13を介して吸排気口5から外部に排出される。
調理が終ったときは、図5に示すように、グリル扉21の手掛け22に手を掛けて、グリル扉装置20をグリル室11から引き出す。グリル扉21を最大限に引き出すと、グリル扉21の自重や引き出した手の荷重によって、図6に示すように、プルダウンアーム26a,26bが連結ピン27を中心に水平状態から斜め下方に回動し、プルダウン状態になる。
同時に、保持アーム30a,30bの下部に設けられてプルダウンアーム26a,26bの摺動穴28に連結されたピン32が、摺動穴28の変位に伴ってその後端部まで移動し、保持アーム30a,30bを回動させる。このとき、ピン32はプルダウンアーム26a,26bのストッパとして作用し、プルダウンアーム26a,26bはその位置に保持され、それ以上回動しない。
これにより、グリル扉21は、摺動レール23a,23bに対して斜め下方に位置する。
また、保持アーム30a,30bは、プルダウン状態のときはその上端部が摺動レール23a,23bの上面から突出する。これにより、グリル扉21が傾動すると同時に保持アーム30a,30bの上端部が、摺動レール23a,23b上に載置されているグリル受け皿40のフランジ42を押し上げるため、図2、図6に示すように、摺動レール23a,23bとフランジ42との間にすき間が生じる。よって、このすき間に指先や引っ掛け具を差し込むことにより、被加熱調理物が載置されたグリル受け皿40を容易に持ち上げて取り外すことができる。
このように、保持アーム30a,30bは、プルダウンアーム26a,26bの傾動に伴って回動し、グリル受け皿40を持ち上げるようにしているため、その上端部を斜めに面取りしたり、グリースを塗ったりすることで、よりスムーズに稼動することができる。
図7、図8は本実施の形態に係るグリルユニット10の他の例を示すもので、本例においては、保持アーム30a,30bを、水平状態になったときに摺動レール23a,23bからはみ出さない範囲で、上部が幅広のほぼT字状に形成し、グリル受け皿40をバランスよく安定して持ち上げるようにしたものである。
本実施の形態によれば、グリル扉装置20をグリル室11から引き出すと、プルダウンによりグリル扉21が斜め下方に傾動するため、グリル扉21の上辺とグリル受け皿40との高低差が小さくなり、グリル受け皿40やこれに載置された被加熱調理物が取り出し易くなる。
また、プルダウンにより保持アーム30a,30bの上端部がグリル受け皿40を自動的に持ち上げて、摺動レール23a,23bとの間にすき間が形成されるため、グリル受け皿40の取り外しが容易である。
さらに、グリル受け皿40は、固定ガイドレール14a,14bの外側に嵌合した摺動レール23a,23b上にそのフランジ42を載置するようにしたので、天板との間を広く、またグリル受け皿40の幅をグリル室11の幅とほぼ等しい幅に形成することができ、これにより、グリル室11の使用空間を、グリルユニット10の使用において最大限に設定することができる。
このため、従来より大きな素材でも加熱調理することができる。
[実施の形態2]
図9〜図13は本発明の実施の形態2に係るグリルユニット及びこれを備えた加熱調理器を示すもので、実施の形態1と同一又は同じ機能の部分にはこれと同じ符号を付し、説明を省略する。
本実施の形態は、グリル扉装置20のプルダウン機構25を構成するプルダウンアーム26a,26bの後端部上面に、グリル扉装置20をグリル室11内に収容した状態では摺動レール23a,23bの高さ(幅)範囲に納まり、グリル扉装置20をグリル室11から引き出してプルダウン状態になったときは、摺動レール23a,23bの上面から突出する突出部29を設けたものである。
本実施の形態においては、グリル扉装置20をグリル室11から引き出してプルダウン状態になると、図10〜図13に示すように、グリル受け皿40は、そのフランジ42が、プルダウンアーム26a,26bの突出部29と、保持アーム30a,30bの上端部との両者によりほぼ水平に持ち上げられ、摺動レール23a,23bとグリル受け皿40のフランジ42との間の前後方向にわたってすき間が形成される。
本実施の形態の作用、効果は実施の形態1の場合とほぼ同様であるが、さらに、グリル扉装置20がグリル室11から引き出されてプルダウン状態になると、グリル受け皿40はほぼ水平に、バランスよく安定して持ち上げられるので、グリル受け皿40の取り外しがより容易になるばかりでなく、グリル受け皿40上の被加熱調理物が転がり落ちることもないなどの効果を有する。
[実施の形態3]
実施の形態1,2においては、グリル扉装置20の摺動レール23a,23bを、グリル室11に設けた固定レール14a,14bの外側に摺動自在に嵌合し、グリル受け皿40を摺動レール23a,23b上に載置したが、本実施の形態は、実施の形態1,2のグリルユニット10において、摺動レール23a,23bを固定レール14a,14bの内側に摺動自在に嵌合し、グリル受け皿40を、摺動レール23a,23bの前後において両者を固定する連結アーム24a,24b上に載置するようにしたものである。
本実施の形態の作用、効果は実施の形態1,2の場合とほぼ同様である。
上記の説明では、図示の加熱調理器1に本発明に係るグリルユニット10を設けた場合を示したが、これに限定するものではなく、他の加熱調理器にも本発明に係るグリルユニット10を適用することができる。
1 加熱調理器、2 本体ケース、3 天板、7a,7b 主操作部、10 グリルユニット、11 グリル室、14a,14b 固定レール、20 グリル扉装置、21 グリル扉、23a,23b 摺動レール、24a,24b 連結アーム、25 プルダウン機構、26a,26b プルダウンアーム、28 摺動穴、29 突出部、30a,30b 保持アーム、40 グリル受け皿、42 フランジ。

Claims (5)

  1. 前面が開口され内壁に対向して固定ガイドレールが設けられたグリル室と、
    前記固定ガイドレールに摺動自在に嵌合された摺動レールと、前記グリル室の開口部を開閉するグリル扉と、一端が前記グリル扉に固定され他端が前記摺動レールに軸支されたプルダウンアーム及びほぼ中間部が前記摺動レールに軸支され下部が前記プルダウンアームの摺動穴に連結された保持アームによって構成されたプルダウン機構とからなり、前記グリル室に引出し式に収容されるグリル扉装置と、
    該グリル扉装置の摺動レール上に着脱自在に載置されるグリル受け皿とを備え、
    前記グリル扉装置を前記グリル室から引き出してプルダウン状態となったときは、前記保持アームの上端部が前記摺動レールの上面から突出するように構成したことを特徴とするグリルユニット。
  2. 前面に開口部を有し、内壁の下部に対向して固定ガイドレールが設けられたグリル室と、
    該グリル室の固定ガイドレールに摺動自在に嵌合され、両者の間に連結アームが固定された摺動レールと、前記グリル室の開口部を開閉するグリル扉と、一端が該グリル扉に固定され他端が前記摺動レールに軸支された一対のプルダウンアーム及び上下方向のほぼ中間部が前記摺動レールに軸止され下部が前記プルダウンアームに設けた摺動穴に摺動自在に連結された保持アームによって構成されたプルダウン機構とからなり、前記グリル室に引き出し式に収容されるグリル扉装置と、
    該グリル扉装置の前記摺動レール上又は連結アーム上に着脱自在に載置されるグリル受け皿とを備え、
    前記グリル扉装置を前記グリル室から引き出したときは、前記プルダウンアームが傾動して前記グリル扉が斜め下方に位置すると共に、前記保持アームの上端部が前記摺動レールの上面から突出するように構成したことを特徴とするグリルユニット。
  3. 前記保持アームを、上部を拡幅してほぼT字状に形成したことを特徴とする請求項1又は2記載のグリルユニット。
  4. 前記プルダウンアームの後部に、上面に突出する突出部を設けたことを特徴とする請求項1〜3のいずれかに記載のグリルユニット。
  5. 請求項1〜4のいずれかのグリルユニットを備えたことを特徴とする加熱調理器。
JP2009033504A 2009-02-17 2009-02-17 グリルユニット及びこれを備えた加熱調理器 Expired - Fee Related JP5116705B2 (ja)

Priority Applications (1)

Application Number Priority Date Filing Date Title
JP2009033504A JP5116705B2 (ja) 2009-02-17 2009-02-17 グリルユニット及びこれを備えた加熱調理器

Applications Claiming Priority (1)

Application Number Priority Date Filing Date Title
JP2009033504A JP5116705B2 (ja) 2009-02-17 2009-02-17 グリルユニット及びこれを備えた加熱調理器

Publications (2)

Publication Number Publication Date
JP2010190456A JP2010190456A (ja) 2010-09-02
JP5116705B2 true JP5116705B2 (ja) 2013-01-09

Family

ID=42816694

Family Applications (1)

Application Number Title Priority Date Filing Date
JP2009033504A Expired - Fee Related JP5116705B2 (ja) 2009-02-17 2009-02-17 グリルユニット及びこれを備えた加熱調理器

Country Status (1)

Country Link
JP (1) JP5116705B2 (ja)

Cited By (1)

* Cited by examiner, † Cited by third party
Publication number Priority date Publication date Assignee Title
JP5896580B1 (ja) * 2015-03-25 2016-03-30 シャープ株式会社 加熱調理器

Families Citing this family (2)

* Cited by examiner, † Cited by third party
Publication number Priority date Publication date Assignee Title
US12546477B2 (en) * 2020-01-21 2026-02-10 Sharp Kabushiki Kaisha Heating cooking apparatus
CN114010070A (zh) * 2021-11-12 2022-02-08 广东美的厨房电器制造有限公司 承载装置和烹饪电器

Family Cites Families (3)

* Cited by examiner, † Cited by third party
Publication number Priority date Publication date Assignee Title
JPS5546893Y2 (ja) * 1976-05-14 1980-11-04
JPS56153712U (ja) * 1980-04-17 1981-11-17
JP5023822B2 (ja) * 2007-06-08 2012-09-12 三菱電機株式会社 グリルユニット及びこれを備えた加熱調理器

Cited By (1)

* Cited by examiner, † Cited by third party
Publication number Priority date Publication date Assignee Title
JP5896580B1 (ja) * 2015-03-25 2016-03-30 シャープ株式会社 加熱調理器

Also Published As

Publication number Publication date
JP2010190456A (ja) 2010-09-02

Similar Documents

Publication Publication Date Title
US9109804B2 (en) Appliance with vertically adjustable rack
JP5253210B2 (ja) 誘導加熱調理器
JP5116705B2 (ja) グリルユニット及びこれを備えた加熱調理器
JP6552384B2 (ja) 加熱調理器
JP2015231469A (ja) 加熱調理器
JP2008304107A (ja) コンロ装置
JP5854886B2 (ja) 加熱調理器
US1851853A (en) Broiler
JP5363835B2 (ja) 加熱調理器
JP7706750B2 (ja) 加熱調理器
JP2005337651A (ja) 加熱調理器
JP5367135B2 (ja) 誘導加熱調理器
JP3113927U (ja) キリタンポ焼き器具
JP7440909B2 (ja) グリル付コンロ
JP3756394B2 (ja) グリル装置
JPH10262837A (ja) 加熱調理器
JP5183526B2 (ja) グリルユニット及びこれを備えた加熱調理器
JP5100549B2 (ja) ガス調理器具
JP2007051808A (ja) 加熱調理器
JP2023136617A (ja) 加熱調理器
HK40086680A (zh) 用於烹饪食品的台面烤箱
JP5523173B2 (ja) 加熱調理器
JP3596441B2 (ja) オーブントースター
JP2005027785A (ja) ロースター
JP2010054116A (ja) ガス調理器具

Legal Events

Date Code Title Description
A621 Written request for application examination

Free format text: JAPANESE INTERMEDIATE CODE: A621

Effective date: 20101224

A977 Report on retrieval

Free format text: JAPANESE INTERMEDIATE CODE: A971007

Effective date: 20120912

TRDD Decision of grant or rejection written
A01 Written decision to grant a patent or to grant a registration (utility model)

Free format text: JAPANESE INTERMEDIATE CODE: A01

Effective date: 20120918

A01 Written decision to grant a patent or to grant a registration (utility model)

Free format text: JAPANESE INTERMEDIATE CODE: A01

A61 First payment of annual fees (during grant procedure)

Free format text: JAPANESE INTERMEDIATE CODE: A61

Effective date: 20121016

R150 Certificate of patent or registration of utility model

Ref document number: 5116705

Country of ref document: JP

Free format text: JAPANESE INTERMEDIATE CODE: R150

Free format text: JAPANESE INTERMEDIATE CODE: R150

FPAY Renewal fee payment (event date is renewal date of database)

Free format text: PAYMENT UNTIL: 20151026

Year of fee payment: 3

R250 Receipt of annual fees

Free format text: JAPANESE INTERMEDIATE CODE: R250

R250 Receipt of annual fees

Free format text: JAPANESE INTERMEDIATE CODE: R250

R250 Receipt of annual fees

Free format text: JAPANESE INTERMEDIATE CODE: R250

R250 Receipt of annual fees

Free format text: JAPANESE INTERMEDIATE CODE: R250

R250 Receipt of annual fees

Free format text: JAPANESE INTERMEDIATE CODE: R250

R250 Receipt of annual fees

Free format text: JAPANESE INTERMEDIATE CODE: R250

R250 Receipt of annual fees

Free format text: JAPANESE INTERMEDIATE CODE: R250

LAPS Cancellation because of no payment of annual fees