JP5114867B2 - 電気ケーブル - Google Patents

電気ケーブル Download PDF

Info

Publication number
JP5114867B2
JP5114867B2 JP2006136138A JP2006136138A JP5114867B2 JP 5114867 B2 JP5114867 B2 JP 5114867B2 JP 2006136138 A JP2006136138 A JP 2006136138A JP 2006136138 A JP2006136138 A JP 2006136138A JP 5114867 B2 JP5114867 B2 JP 5114867B2
Authority
JP
Japan
Prior art keywords
shield layer
layer
outer periphery
electric
tape
Prior art date
Legal status (The legal status is an assumption and is not a legal conclusion. Google has not performed a legal analysis and makes no representation as to the accuracy of the status listed.)
Active
Application number
JP2006136138A
Other languages
English (en)
Other versions
JP2007311043A (ja
Inventor
弘高 江島
幸雄 鈴木
研治 中嶋
道晃 清水
良和 早川
陽二 小林
Current Assignee (The listed assignees may be inaccurate. Google has not performed a legal analysis and makes no representation or warranty as to the accuracy of the list.)
Hitachi Cable Ltd
Original Assignee
Hitachi Cable Ltd
Priority date (The priority date is an assumption and is not a legal conclusion. Google has not performed a legal analysis and makes no representation as to the accuracy of the date listed.)
Filing date
Publication date
Application filed by Hitachi Cable Ltd filed Critical Hitachi Cable Ltd
Priority to JP2006136138A priority Critical patent/JP5114867B2/ja
Publication of JP2007311043A publication Critical patent/JP2007311043A/ja
Application granted granted Critical
Publication of JP5114867B2 publication Critical patent/JP5114867B2/ja
Active legal-status Critical Current
Anticipated expiration legal-status Critical

Links

Images

Landscapes

  • Insulated Conductors (AREA)
  • Communication Cables (AREA)

Description

本発明は、電源線や信号線などの複数の電線の周囲に電気シールド層を備えた電気ケーブルに関し、特に屈曲性に優れた構造の電気シールド層を備えた電気ケーブルに関する。
自動車の電動化に伴い、電源線と信号線を備えた電気ケーブルが、自動車の振動や屈曲を多く受ける場所に配策されるようになっている。
図5に従来技術の電気ケーブルの一例を示す。電気ケーブル50は、電源線や信号線となる複数(図では4本)の電線51と、その外周に設けた外部からの電磁波をシールドする電気シールド層52と、その外周を覆うシース53とからなる。電気シールド層52は銅線や銅合金線にスズめっきを施した金属素線を交差させて編んだ金属素線編組で形成されている。シース53は、EPDMなどのゴム材、ポリウレタンなどの樹脂からなり、断面略円形に形成されている。
電気ケーブルに屈曲が多く加わると、電気シールド層を形成する金属素線は互いに擦れあい、金属素線が磨耗により断線するという問題がある。断線した金属素線は、電源線や信号線などの電線の絶縁層に刺さって貫通し、短絡を発生させるという恐れがある。このように、電気シールド層を形成する金属素線の断線は電気ケーブルの屈曲寿命を制限する要因となっている(例えば、特許文献1)。
特開2006−031954号公報
そこで、本発明の目的は、電気シールド層の屈曲寿命を長くでき、屈曲性に優れた電気ケーブルを提供することにある。
上記目的を達成するために、本発明の電気ケーブルは、複数の電線と、複数の電線の外周の金属素線を横巻きした第1の横巻シールド層と、第1の横巻シールド層の外周の緩衝層と、緩衝層の外周の第1の横巻シールド層と逆向きに金属素線を横巻きした第2の横巻シールド層と、第2の横巻シールド層の外周のシースと、を備えたことを特徴とする。
また、上記目的を達成するために、本発明の電気ケーブルは、複数の電線と、複数の電線の外周の金属膜付樹脂テープを横巻きしたテープ巻シールド層と、テープ巻シールド層の外周のテープ巻シールド層と逆向きに金属素線を横巻きした横巻シールド層と、横巻シールド層の外周のシースと、を備え、横巻シールド層とシースの間に緩衝層を備えたことを特徴とする。
電気シールド層の屈曲寿命を長くでき、屈曲性に優れた電気ケーブルを実現できる。
以下、本発明の実施形態を図面に基づいて説明する。
(実施形態1)
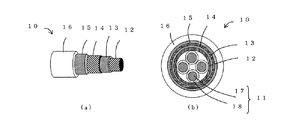
図1は本発明の第1の実施形態の電気ケーブルの図であり、(a)は構造図、(b)は断面図である。
(電気ケーブル)電気ケーブル10は、電源線や信号線となる4本の電線11と、その外周の金属素線を横巻きした第1の横巻シールド層12と、その外周の第1の緩衝層13と、その外周の金属素線を第1の横巻シールド層と逆向きに横巻きした第2の横巻シールド層14と、その外周の第2の緩衝層15と、その外周のシース16とからなる。
(電線)電線11は導体線17とその外周の絶縁層18とからなる。導体線17は、複数本の金属素線を撚り合わせたもの、または1本の金属素線からなる。金属素線としては、軟銅線、銀めっき軟銅線、スズめっき軟銅線、スズめっき銅合金線などが用いられる。絶縁層18としては、ポリエチエン、ポリプロピレンなど各種の樹脂で形成される。
4本の電線11は撚り合わされて束ねられている。これら電線11の外周におさえ巻きを設けても良い。電源線や信号線などの用途、電気ケーブルの使用目的に応じて、各電線11の径、数、撚り合わせ構造などは適宜設定される。
(第1の横巻シールド層)第1の横巻シールド層12は、多数本の金属素線を所定のピッチでらせん状に横巻きしたものである。図1(a)では、右端から左端に向けて左巻きに横巻きしている。金属素線は軟銅線、スズめっき軟銅線などが用いられる。
(第1の緩衝層)第1の緩衝層13は、第1の横巻シールド層12の外周に巻いたテープまたは第1の横巻きシールド層12の外周に押出し被覆して形成した樹脂層からなる。テープとしては、PETなどの樹脂テープ、紙などが用いられる。樹脂層の樹脂としては、ETFEなどのフッ素樹脂、ポリエチレンなどが用いられる。樹脂は絶縁性、導電性いずれのものも使用できる。
(第2の横巻シールド層)第2の横巻シールド層14は、多数本の金属素線を第1の横巻シールド層12と逆向きに所定のピッチでらせん状に横巻きしたものである。図1(a)では、右端から左端に向けて右巻きに横巻きしている。金属素線は第1の横巻シールド層12と同様のものが用いられる。
(第2の緩衝層)第2の緩衝層15は、第2の横巻シールド層14の外周に巻いたテープまたは第2の横巻きシールド層14の外周に押出し被覆して形成した樹脂層からなる。テープ、樹脂層の樹脂は第1の緩衝層13と同様なものが用いられる。
(シース)シース16は、EPDMなどのゴム材、ポリウレタンなどの樹脂からなり、断面略円形に形成されている。
(作用)金属素線の横巻シールド層は、金属素線を編んだ金属素線編組と比べて、金属素線間の摩擦が少なく屈曲性に優れている。本実施形態では、電気シールド層として金属素線の横巻シールド層を用いているので、屈曲性を良くすることができる。
また、本実施形態では、第1の横巻シールド層と第1の横巻シールド層と逆向きに巻いた第2の横巻シールド層を備えているので、外部からの電磁波に対するシールド特性に優れるという作用を奏する。
また、本実施形態では、第1の横巻シールド層と第2の横巻シールド層の間に第1の緩衝層を設けているので、電気ケーブルの屈曲による第1の横巻シールド層の金属素線と第2の横巻シールド層の金属素線間の摩擦が生じず、金属素線の断線を防止でき、屈曲性に優れるという作用を奏する。
また、本実施形態では、第2の横巻シールド層とシースの間に第2の緩衝層を設けているので、電気ケーブルの屈曲による第2の横巻シールド層の金属素線とシースの間の摩擦を防止でき、屈曲性に優れるという作用を奏する。
(実施形態2)
図2は本発明の第2の実施形態の電気ケーブルの図であり、(a)は構造図、(b)は断面図である。本実施形態と第1の実施形態の異なる部分は、第2の横巻シールド層とシースの間に補強層を設けた点である。
(電気ケーブル)電気ケーブル20は、電源線や信号線となる4本の電線21と、その外周の金属素線を横巻きした第1の横巻シールド層22と、その外周の第1の緩衝層23と、その外周の金属素線を第1の横巻シールド層と逆向きに横巻きした第2の横巻シールド層24と、その外周の第2の緩衝層25と、その外周の補強層27その外周のシース26とからなる。
(補強層)補強層27は天然繊維や人工繊維を用いた編組構造からなる。人工繊維として、ポリビニルアルコール繊維、ポリエチレンテレフタレート繊維またはポリエチレン−2,6−ナフタレート繊維を好適に使用できる。
電線21、第1の横巻シールド層22、第1の緩衝層23、第2の横巻シールド層24、第2の緩衝層25およびシース26の構成は第1の実施形態と相違点はないため、説明を省略する。
(作用)本実施形態においても、第1の実施形態と同様の作用を奏する。
また、本実施形態では、補強層を備えることにより電気ケーブル全体の引張強度が強くなるという作用を奏する。
また、本実施形態では、第2の横巻シールド層と補強層の間に第2の緩衝層を設けているので、電気ケーブルの屈曲による第2の横巻シールド層の金属素線と補強層の間の摩擦を防止でき、屈曲性に優れるという作用を奏する。
参考形態
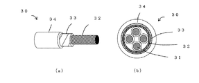
図3は本発明の参考形態の電気ケーブルの図であり、(a)は構造図、(b)は断面図である。
(電気ケーブル)電気ケーブル30は、電源線や信号線となる4本の電線31と、その外周の金属素線を横巻きした横巻シールド層32と、その外周の横巻シールド層32と逆向きに金属膜付樹脂テープを横巻きしたテープ巻シールド層33と、その外周のシース34とからなる。
(横巻シールド層)横巻シールド層32は、多数本の金属素線を所定のピッチでらせん状に横巻きしたものである。図3(a)では、右端から左端に向けて右巻きに横巻きしている。金属素線は軟銅線、スズめっき軟銅線などが用いられる。
(テープ巻シールド層)テープ巻シールド層33は、横巻シールド層32と逆向きに金属膜付樹脂テープをらせん状に横巻きしたものである。金属膜付樹脂テープとしては、ポリエチエン、ポリエチレンテレフタレート(PET)などの樹脂からなる樹脂テープの表面の片面または両面にアルミニウム、銅、銀などの金属を蒸着して金属膜を形成したものが使用できる。なお、金属膜付樹脂テープの代わりに導電性樹脂テープを用いても良い。導電性樹脂は例えば樹脂のカーボンや金属粉を添加したものが使用できる。
電線31、シース34の構成は第1の実施形態と相違点はないため、説明を省略する。
(作用)本参考形態では、第1の電気シールド層として金属素線の横巻シールド層を用いているので、金属素線編組を用いたものと比べて、屈曲性を良くすることが出来る。
また、本参考形態では、第2の電気シールド層としてテープ巻シールド層を用いているので、金属素線からなるものと比べて、屈曲性を良くすることが出来る。
また、本参考形態では、横巻シールド層と横巻シールド層と逆向きに巻いたテープ巻シールド層を備えているので、外部からの電磁波に対するシールド特性に優れるという作用を奏する。
また、本参考形態では、金属素線の横巻シールド層の外周にテープ巻シールド層を設けているので、第1および第2の電気シールド層を金属素線で形成したものと比べて、金属素線間の摩擦を防止でき、屈曲性に優れるという作用を奏する。
また、本参考形態において、テープ巻シールド層の金属膜付樹脂テープとして樹脂テープの片面に金属膜を形成したものを使用し、金属素線の横巻シールド層と金属膜付テープの金属膜を形成していない面とを接するように横巻シールド層の外周に金属膜付樹脂テープを巻きつけることにより、金属素線と金属膜との摩擦を防止でき、屈曲性に優れるという作用を奏する。
(実施形態
図4は本発明の第の実施形態の電気ケーブルの図であり、(a)は構造図、(b)は断面図である。
(電気ケーブル)電気ケーブル40は、電源線や信号線となる4本の電線41と、その外周の金属テープを横巻きしたテープ巻シールド層42と、その外周のテープ巻シールド層42と逆向きに金属素線を横巻きした横巻シールド層43と、その外周のシース44とからなる。
(テープ巻シールド層)テープ巻シールド層42は、金属膜付樹脂テープをらせん状に横巻きしたものである。図4(a)では、右端から左端に向けて右巻きに横巻きしている。金属膜付樹脂テープとしては、ポリエチエン、ポリエチレンテレフタレート(PET)などの樹脂からなる樹脂テープの表面の片面または両面にアルミニウム、銅、銀などの金属を蒸着したものが使用できる。
(横巻シールド層)横巻シールド層43は、テープ巻シールド層42と逆向きに多数本の金属素線を所定のピッチでらせん状に横巻きしたものである。図4(a)では、右端から左端に向けて左巻きに横巻きしている。金属素線は軟銅線、スズめっき軟銅線などが用いられる。
電線41、シース44の構成は第1の実施形態と相違点はないため、説明を省略する。
なお、横巻シールド層とシースの間に第1の実施形態で説明した緩衝層を設けている
(作用)本実施形態においても、参考形態と同様の作用を奏する。
(変形例)
本発明は、上記実施形態の電気ケーブルに限られず、電源線や信号線などの電線の形状、大きさや数、シース内における電線の配置などを、応用目的に対応して設計することができる。
(応用例)
本発明の電気ケーブルは、ロボットや自動車の可動機器に接続する電気ケーブルとして使用できる。自動車においては、電動ブレーキハーネスやインホイールモータ用ハーネスのような振動や屈曲が頻繁に加わる電気ケーブルに適用できる。
本発明の第1の実施形態の電気ケーブルの図であり、(a)は構造図、(b)は断面図である。 本発明の第2の実施形態の電気ケーブルの図であり、(a)は構造図、(b)は断面図である。 本発明の参考形態の電気ケーブルの図であり、(a)は構造図、(b)は断面図である。 本発明の第の実施形態の電気ケーブルの図であり、(a)は構造図、(b)は断面図である。 従来の電気ケーブルの例を示す図であり、(a)は構造図、(b)は断面図である。
符号の説明
10,20 電気ケーブル
11,21 電線
12,22 第1の横巻シールド層
13,23 第1の緩衝層
14,24 第2の横巻シールド層
15,25 第2の緩衝層
16,26シース
17 導体線
18 絶縁層
27 補強層
30,40 電気ケーブル
31,41 電線
32,43 横巻シールド層
33,42 テープ巻シールド層
34,44 シース
50 電気ケーブル
51 電線
52 電気シールド層
53 シース

Claims (7)

  1. 複数の電線と、
    前記複数の電線の外周の金属素線を横巻きした第1の横巻シールド層と、
    前記第1の横巻シールド層の外周の緩衝層と、
    前記緩衝層の外周の前記第1の横巻シールド層と逆向きに金属素線を横巻きした第2の横巻シールド層と、
    前記第2の横巻シールド層の外周のシースと、
    を備えたことを特徴とする電気ケーブル。
  2. 前記第2の横巻シールド層と前記シースの間に第2の緩衝層を備えたことを特徴とする請求項1記載の電気ケーブル。
  3. 前記第2の緩衝層と前記シースの間に補強層を備えたことを特徴とする請求項2記載の電気ケーブル。
  4. 前記緩衝層は樹脂テープまたは押出し被覆して形成した樹脂層であることを特徴とする請求項1〜3いずれかに記載の電気ケーブル。
  5. 前記第2の緩衝層は樹脂テープまたは押出し被覆して形成した樹脂層であることを特徴とする請求項2または3に記載の電気ケーブル。
  6. 複数の電線と、
    前記複数の電線の外周の金属膜付樹脂テープを横巻きしたテープ巻シールド層と、
    前記テープ巻シールド層の外周の前記テープ巻シールド層と逆向きに金属素線を横巻きした横巻シールド層と、
    前記横巻シールド層の外周のシースと、
    を備え
    前記横巻シールド層と前記シースの間に緩衝層を備えたことを特徴とする電気ケーブル。
  7. 動ブレーキハーネスまたはインホイールモータ用ハーネスであることを特徴とする請求項1〜いずれかに記載の電気ケーブル。
JP2006136138A 2006-05-16 2006-05-16 電気ケーブル Active JP5114867B2 (ja)

Priority Applications (1)

Application Number Priority Date Filing Date Title
JP2006136138A JP5114867B2 (ja) 2006-05-16 2006-05-16 電気ケーブル

Applications Claiming Priority (1)

Application Number Priority Date Filing Date Title
JP2006136138A JP5114867B2 (ja) 2006-05-16 2006-05-16 電気ケーブル

Publications (2)

Publication Number Publication Date
JP2007311043A JP2007311043A (ja) 2007-11-29
JP5114867B2 true JP5114867B2 (ja) 2013-01-09

Family

ID=38843743

Family Applications (1)

Application Number Title Priority Date Filing Date
JP2006136138A Active JP5114867B2 (ja) 2006-05-16 2006-05-16 電気ケーブル

Country Status (1)

Country Link
JP (1) JP5114867B2 (ja)

Families Citing this family (10)

* Cited by examiner, † Cited by third party
Publication number Priority date Publication date Assignee Title
JP2009199829A (ja) * 2008-02-20 2009-09-03 Fujikura Ltd 伝送ケーブル
JP5351642B2 (ja) 2009-02-27 2013-11-27 日立電線株式会社 ケーブル
JP2010221902A (ja) * 2009-03-24 2010-10-07 Toyota Motor Corp 三相高圧ケーブルの配線構造
JP5391848B2 (ja) * 2009-06-09 2014-01-15 住友電気工業株式会社 ツイストペアケーブル及びその製造方法
JP2011129261A (ja) * 2009-12-15 2011-06-30 Junkosha Co Ltd 高速差動用クワッドケーブル
JP5709569B2 (ja) 2011-02-17 2015-04-30 矢崎総業株式会社 シールドケーブル
CN102280195B (zh) * 2011-05-23 2012-09-05 江苏亨通高压电缆有限公司 一种高压、超高压交联聚乙烯绝缘单芯海底电力电缆
CN102915797A (zh) * 2012-10-29 2013-02-06 常州瑞通新型线材有限公司 一种抗侧压的音频连接线
JP5928305B2 (ja) * 2012-11-09 2016-06-01 日立金属株式会社 シールドケーブル
CN109411122A (zh) * 2018-10-10 2019-03-01 江苏源达线缆科技有限公司 不锈钢导线

Family Cites Families (8)

* Cited by examiner, † Cited by third party
Publication number Priority date Publication date Assignee Title
US4250351A (en) * 1979-08-08 1981-02-10 The Bendix Corporation Cable construction
JPS6222966Y2 (ja) * 1981-06-19 1987-06-11
JPS58148816U (ja) * 1982-03-30 1983-10-06 三菱電線工業株式会社 カ−ルコ−ド
JPS59170322U (ja) * 1983-04-28 1984-11-14 東京特殊電線株式会社 耐屈曲性シールド電線
JPS60174018U (ja) * 1984-04-18 1985-11-18 住友電気工業株式会社 二重シ−ルド電線
JPS62229606A (ja) * 1985-06-10 1987-10-08 日本電信電話株式会社 電磁誘導遮蔽ケ−ブル
JPS63135716U (ja) * 1987-02-27 1988-09-06
JP4849353B2 (ja) * 2001-08-23 2012-01-11 株式会社潤工社 同軸ケーブル

Also Published As

Publication number Publication date
JP2007311043A (ja) 2007-11-29

Similar Documents

Publication Publication Date Title
JP5351642B2 (ja) ケーブル
CN103339690B (zh) 多芯线缆及其制造方法
US10340058B2 (en) Cable with braided shield
JP2019102268A (ja) 多芯ケーブル
JP7265324B2 (ja) 絶縁電線、ケーブル
JP5114867B2 (ja) 電気ケーブル
US10269468B1 (en) Cable with braided shield
JP2016110836A (ja) キャブタイヤケーブル、及び、コネクタ付ケーブル
CA2367667A1 (en) Electrical cable
JP2020021713A (ja) 多芯通信ケーブル
JP3223576U (ja) 撚線導体及び電線
WO2014185468A1 (ja) 信号用ケーブル及びワイヤハーネス
JP6569923B2 (ja) 編組シールド付ケーブル
JP4821983B2 (ja) 電気ケーブル
JP7073871B2 (ja) 導体、電線及びケーブル
JP4984626B2 (ja) 電気ケーブル
JP2007305479A (ja) 電気ケーブル
JP7407627B2 (ja) 複合ケーブル
KR20230060458A (ko) 전선 및 케이블
JP6713712B2 (ja) 多芯ケーブル
JP6979796B2 (ja) 多芯ケーブル
TWM513442U (zh) 多芯電纜
CN217214184U (zh) 工业控制用绝缘屏蔽控制电缆
JP7722133B2 (ja) ケーブル
JP7334629B2 (ja) 対撚りケーブル及び多心ケーブル

Legal Events

Date Code Title Description
A621 Written request for application examination

Free format text: JAPANESE INTERMEDIATE CODE: A621

Effective date: 20081121

A977 Report on retrieval

Free format text: JAPANESE INTERMEDIATE CODE: A971007

Effective date: 20111102

A131 Notification of reasons for refusal

Free format text: JAPANESE INTERMEDIATE CODE: A131

Effective date: 20120306

A521 Request for written amendment filed

Free format text: JAPANESE INTERMEDIATE CODE: A523

Effective date: 20120427

TRDD Decision of grant or rejection written
A01 Written decision to grant a patent or to grant a registration (utility model)

Free format text: JAPANESE INTERMEDIATE CODE: A01

Effective date: 20120918

A01 Written decision to grant a patent or to grant a registration (utility model)

Free format text: JAPANESE INTERMEDIATE CODE: A01

A61 First payment of annual fees (during grant procedure)

Free format text: JAPANESE INTERMEDIATE CODE: A61

Effective date: 20121001

R150 Certificate of patent or registration of utility model

Free format text: JAPANESE INTERMEDIATE CODE: R150

Ref document number: 5114867

Country of ref document: JP

Free format text: JAPANESE INTERMEDIATE CODE: R150

FPAY Renewal fee payment (event date is renewal date of database)

Free format text: PAYMENT UNTIL: 20151026

Year of fee payment: 3

S111 Request for change of ownership or part of ownership

Free format text: JAPANESE INTERMEDIATE CODE: R313111

R350 Written notification of registration of transfer

Free format text: JAPANESE INTERMEDIATE CODE: R350

S531 Written request for registration of change of domicile

Free format text: JAPANESE INTERMEDIATE CODE: R313531

S533 Written request for registration of change of name

Free format text: JAPANESE INTERMEDIATE CODE: R313533

R350 Written notification of registration of transfer

Free format text: JAPANESE INTERMEDIATE CODE: R350