JP5111024B2 - ブロックポリマー、金属とブロックポリマーの複合体およびデバイス - Google Patents
ブロックポリマー、金属とブロックポリマーの複合体およびデバイス Download PDFInfo
- Publication number
- JP5111024B2 JP5111024B2 JP2007227018A JP2007227018A JP5111024B2 JP 5111024 B2 JP5111024 B2 JP 5111024B2 JP 2007227018 A JP2007227018 A JP 2007227018A JP 2007227018 A JP2007227018 A JP 2007227018A JP 5111024 B2 JP5111024 B2 JP 5111024B2
- Authority
- JP
- Japan
- Prior art keywords
- metal
- block
- block polymer
- group
- metals
- Prior art date
- Legal status (The legal status is an assumption and is not a legal conclusion. Google has not performed a legal analysis and makes no representation as to the accuracy of the status listed.)
- Expired - Fee Related
Links
Images
Classifications
-
- C—CHEMISTRY; METALLURGY
- C08—ORGANIC MACROMOLECULAR COMPOUNDS; THEIR PREPARATION OR CHEMICAL WORKING-UP; COMPOSITIONS BASED THEREON
- C08F—MACROMOLECULAR COMPOUNDS OBTAINED BY REACTIONS ONLY INVOLVING CARBON-TO-CARBON UNSATURATED BONDS
- C08F8/00—Chemical modification by after-treatment
- C08F8/42—Introducing metal atoms or metal-containing groups
Landscapes
- Chemical & Material Sciences (AREA)
- General Chemical & Material Sciences (AREA)
- Health & Medical Sciences (AREA)
- Chemical Kinetics & Catalysis (AREA)
- Medicinal Chemistry (AREA)
- Polymers & Plastics (AREA)
- Organic Chemistry (AREA)
- Graft Or Block Polymers (AREA)
- Electroluminescent Light Sources (AREA)
- Compositions Of Macromolecular Compounds (AREA)
- Addition Polymer Or Copolymer, Post-Treatments, Or Chemical Modifications (AREA)
Description
本発明は、この様な背景技術に鑑みてなされたものであり、金属類と結合するブロックポリマーを提供するものである。
また、本発明は、前記複合体は、金属類を介した電気的結合が可能であため、ブロックポリマーの高分子鎖を介して対となる電極を設置することにより、複数の電極間を一つの分子が橋架けするデバイスを提供するものである。
また、本発明は、金属類とブロックポリマーとが結合した複合体を提供できる。
また、本発明は、前記複合体は、金属類を介した電気的結合が可能であため、ブロックポリマーの高分子鎖を介して対となる電極を設置することにより、複数の電極間を一つの分子が橋架けするデバイスを提供できる。
前記有機官能基を有する繰返し単位のブロック構造の高分子主鎖がπ共役高分子からなることが好ましい。
前記金属類がナノ粒子であることが好ましい。
本発明に係るデバイスは、上記のブロックポリマーと、金属、金属酸化物および合金から選ばれる金属類からなる電極とからなるデバイスであって、前記ブロックポリマーのブロック構造の一部が前記金属類と結合していることを特徴とする。
本発明に係るデバイスは、上記のブロックポリマーと、金属、金属酸化物および合金から選ばれる金属類からなるナノ粒子と、二つ以上の電極とを有するデバイスであって、前記ブロックポリマーのブロック構造の一部が前記金属類からなるナノ粒子と結合し、かつ前記ブロックポリマーおよび前記金属類からなるナノ粒子が電極と接続していることを特徴とする。
本発明者らは、金属や金属酸化物、合金等の導電性表面と結合性を有する有機官能基、たとえば金と結合性のチオール基、スルフィド基、ジスルフィド基、チオアセチル基、イソシアニド基、カルボン酸基もしくはリン酸基等をブロックポリマーの一部に導入することで導電性表面との結合を向上させたブロックポリマーが得られることを見出した。
また、金あるいは金と亜鉛との合金に結合性の良い有機官能基としては、チオール基(−SH)、スルフィド基(−S−R)、ジチオール基(−S−S−R)、チオアセチル基(−C(O)−S−R)が挙げられる。金および白金に結合性の良い官能基としては、イソシアニド基(−CN)が挙げられる。シリコンに結合性の良い官能基として、ハロゲン化シリル基(X3−Si−、X2−Si(R)−、X−Si(R2)−)、アルデヒド基(−CHO)、ビニル基(H2C=CH−)が挙げられる。ITOに結合性の良い官能基としては、カルボン酸基(−C(O)−O−H)、リン酸基(−P(O)2−O−H)が挙げられる。酸化ケイ素に結合性の良い官能基としては、トリアルコキシシラン((RO)3−Si−)が挙げられる。ケイ素に結合性の良い官能基としては、ハロゲン化シリル基(XR2−Si−)等が挙げられる。ただし、Rはアルキル鎖、Xはハロゲン原子を示す。
これらの重合溶媒としては、クロロホルムやテトラヒドロフラン、トルエンのような非極性溶媒だけでなく、ジメチルホルムアミドのような極性溶媒が使用できる。これらの溶媒は単独もしくは混合して用いることができる。
以下は側鎖にチオール基を導入したポリフェニルアセチレンのコポリマー作成の実施例、および得られたコポリマーを用いたデバイス構造の実施例である。
(ロジウム錯体触媒の調製方法)
減圧及び窒素置換後密閉した試験管にトリフェニルホスフィン0.1モルとロジウム(ノルボルナジエン)塩化物二量体0.01モルを入れ、溶媒としてトルエン5mLを加え、0℃に保った後、1,1’,2−トリフェニルビニルリチウムの濃度8×10-3モル/Lのトルエン溶液5mLを入れ、0℃で1時間攪拌することで[ロジウム(ノルボルナジエン)((1,1’,2−トリフェニルビニル)(トリフェニルホスフィン))錯体溶液が得られる。
ナス型フラスコに上記方法で得られた濃度1.0×10-3モル/Lのロジウム錯体溶液10mlを入れ、4−メルカプトフェニルアセチレン0.3gとトルエン15mlの混合溶液を注入することにより重合反応を開始させる。反応は20℃で2時間行い、重合が充分進行した後に4−t−ブチルアミドフェニルアセチレン0.3gを注入し、更に重合反応を行う。反応は20℃で2時間行い、得られるポリマーをメタノールで洗浄、濾過した後、24時間真空乾燥することで目的のポリアセチレン、ポリ((4−メルカプトフェニルアセチレン)−co−(4−t−ブチルアミドフェニルアセチレン))が得られる。
得られたポリ((4−メルカプトフェニルアセチレン)−co−(4−t−ブチルアミドフェニルアセチレン))をトルエンに溶解させ、10-3g/Lの溶液を調製する。この溶液に片面に金薄膜502を有するマイカ基板501を浸漬させ、1時間放置した後、トルエンで洗浄、乾燥することで図5Aに示すように基板501上に(4−メルカルトフェニルアセチレン)ブロック504が金薄膜502に結合したポリアセチレンブロックポリマー503とマイカ基板の複合デバイスが得られる。
(トリブロックコポリマー合成方法)
ナス型フラスコに上記方法で得られた濃度1.0×10-3モル/Lのロジウム錯体溶液10mlを入れ、4−メルカプトフェニルアセチレン0.1gとトルエン3.3mlの混合溶液を注入することにより重合反応を開始させる。反応は20℃で30分行い、重合が充分進行した後に4−t−ブチルアミドフェニルアセチレン0.3gとトルエン3.3mlの混合溶液を注入し、更に重合反応を20℃で1時間行う。重合が充分進行した後に更に4−メルカプトフェニルアセチレン0.1gとトルエン3.3mlの混合溶液を注入し、更に重合反応を20℃で1時間行い、得られるポリマーをメタノールで洗浄、濾過した後、24時間真空乾燥することで目的のポリアセチレン、ポリ((4−メルカプトフェニルアセチレン)−co−(4−t−ブチルアミドフェニルアセチレン)−co−(4−メルカプトフェニルアセチレン))が得られる。
得られたポリ((4−メルカプトフェニルアセチレン)−co−(4−t−ブチルアミドフェニルアセチレン)−co−(4−メルカプトフェニルアセチレン))をトルエンに溶解させ、10-3g/Lの溶液を調製する。この溶液に片面に金蒸着したマイカ基板501を浸漬させ、1時間放置した後、トルエンで洗浄、乾燥することで図5Bに示すような基板上にポリアセチレンを結合させた複合デバイスが得られる。
(ナノ粒子−ポリマーデバイスの作製方法)
上記実施例2の方法で得られたポリフェニルアセチレンコポリマーをトルエンに溶解させ、10-3g/Lの溶液を調製する。この溶液に金ナノ粒子の分散液を加え、1時間放置した後、トルエンで洗浄、乾燥することで、図6に示すような金ナノ粒子603と、(4−メルカルトフェニルアセチレン)ブロック602が結合したポリアセチレンブロックポリマー601との複合デバイスが得られる。
(デバイス構造の作成方法)
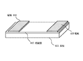
本実施例によるデバイスは、図7で表される表面に膜厚100nmの金薄膜702を蒸着したマイカ基板701上に形成される。この金基板上に上記実施例2の方法で置換ポリアセチレン膜703を作製し、その上に金薄膜704を真空蒸着することで図7のような二つの金薄膜電極に置換ポリアセチレンが挟まれたデバイス構造が作製できる。
(デバイス構造の作成方法)
本実施例によるデバイスは、図8で表されるように表面に膜厚100nmの熱酸化膜802を有したハイドープのSi基板801に形成される。803と804は電子ビーム露光を用いたリソグラフィーにより形成した金電極であり、電極間の距離はおよそ50nmである。本電極間に上記実施例1により得られたコポリマーをクロロホルム1.0mlに溶解させ、1.0×10-3重量%の溶液を作成する。この溶液をシリコン基板上にパターニングした金電極上にスピンコート法で塗布することでコポリマー層805を形成する。本実施例で用いるコポリマーの長さはおよそ100nmであり、多数の分子が金電極803と804の両方に接触することになり、金電極803と804の間での分子間のホッピング伝導が抑制される。
実施例6
上記実施例4のポリアセチレンを実施例3のナノ粒子―ポリアセチレン複合体とした以外は実施例4と同様にして、ナノ粒子−ポリアセチレン複合体のデバイスを作製する。
上記実施例5のポリアセチレンを実施例3のナノ粒子―ポリアセチレン複合体とした以外は実施例5と同様にして、ナノ粒子−ポリアセチレン複合体のデバイスを作製する。
102、103 金属類と結合性のブロック部
201 ブロックポリマー
202 金属類と結合性のブロック部
203 金属ナノ粒子
301 基板
302 金属類
303 ブロックポリマー
304 金属類と結合性のブロック部
305 電極
401 基板
402 絶縁膜
403、404 電極
405 金属類に対して非結合性のブロック部
406、407 金属類と結合性のブロック部
501 マイカ基板
502 金薄膜
503 ポリアセチレンブロックポリマー
504 (4−メルカルトフェニルアセチレン)ブロック
601 ポリアセチレンブロックポリマー
602 (4−メルカルトフェニルアセチレン)ブロック
603 金ナノ粒子
701 マイカ基板
702 金薄膜
703 置換ポリアセチレン膜
704 金薄膜
801 Si基板
802 熱酸化膜
803、804 金電極
805 コポリマー層
Claims (7)
- 高分子主鎖がらせん状をなすアセチレンからなるブロックポリマーであって、側鎖に、金属、金属酸化物および合金から選ばれる金属類の少なくとも一つと結合するチオール基、スルフィド基、ジスルフィド基、チオアセチル基、イソシアニド基、カルボン酸基もしくはリン酸基から選ばれる少なくとも一種の有機官能基を備えたブロック部を複数有することを特徴とするブロックポリマー。
- 前記有機官能基を備えた複数のブロック部が、前記ブロックポリマーの両端に位置することを特徴とする請求項1に記載のブロックポリマー。
- 前記金属類が、金、白金、シリコン、ITO(酸化インジウムスズ)、酸化ケイ素または金と亜鉛との合金であることを特徴とする請求項1に記載のブロックポリマー。
- 請求項1乃至3のいずれかに記載のブロックポリマーと、金属、金属酸化物および合金から選ばれる金属類とからなる複合体であって、前記ブロックポリマーの前記有機官能基を備えたブロック部が前記金属類と結合していることを特徴とする金属類とブロックポリマーの複合体。
- 前記金属類がナノ粒子であることを特徴とする請求項4に記載の金属類とブロックポリマーの複合体。
- 請求項1乃至3のいずれかに記載のブロックポリマーと、金属、金属酸化物および合金から選ばれる金属類からなる電極とからなるデバイスであって、前記ブロックポリマーの前記有機官能基を備えたブロック部が前記金属類と結合していることを特徴とするデバイス。
- 請求項1乃至3のいずれかに記載のブロックポリマーと、金属、金属酸化物および合金から選ばれる金属類からなるナノ粒子と、二つ以上の電極とを有するデバイスであって、前記ブロックポリマーの前記有機官能基を備えたブロック部が前記金属類からなるナノ粒子と結合し、かつ前記ブロックポリマーおよび前記金属類からなるナノ粒子が電極と接続していることを特徴とするデバイス。
Priority Applications (2)
| Application Number | Priority Date | Filing Date | Title |
|---|---|---|---|
| JP2007227018A JP5111024B2 (ja) | 2007-08-31 | 2007-08-31 | ブロックポリマー、金属とブロックポリマーの複合体およびデバイス |
| US12/197,490 US20090061255A1 (en) | 2007-08-31 | 2008-08-25 | Block polymer, composite of metal and block polymer, and device |
Applications Claiming Priority (1)
| Application Number | Priority Date | Filing Date | Title |
|---|---|---|---|
| JP2007227018A JP5111024B2 (ja) | 2007-08-31 | 2007-08-31 | ブロックポリマー、金属とブロックポリマーの複合体およびデバイス |
Publications (2)
| Publication Number | Publication Date |
|---|---|
| JP2009057492A JP2009057492A (ja) | 2009-03-19 |
| JP5111024B2 true JP5111024B2 (ja) | 2012-12-26 |
Family
ID=40407991
Family Applications (1)
| Application Number | Title | Priority Date | Filing Date |
|---|---|---|---|
| JP2007227018A Expired - Fee Related JP5111024B2 (ja) | 2007-08-31 | 2007-08-31 | ブロックポリマー、金属とブロックポリマーの複合体およびデバイス |
Country Status (2)
| Country | Link |
|---|---|
| US (1) | US20090061255A1 (ja) |
| JP (1) | JP5111024B2 (ja) |
Cited By (1)
| Publication number | Priority date | Publication date | Assignee | Title |
|---|---|---|---|---|
| US10201079B2 (en) | 2016-03-22 | 2019-02-05 | Samsung Display Co., Ltd. | Flexible electronic device and method of manufacturing the same |
Families Citing this family (2)
| Publication number | Priority date | Publication date | Assignee | Title |
|---|---|---|---|---|
| JP5473225B2 (ja) * | 2008-01-16 | 2014-04-16 | キヤノン株式会社 | ブロックポリマー |
| US9048431B2 (en) * | 2012-05-07 | 2015-06-02 | California Instistute Of Technology | Electronic devices employing aligned organic polymers |
Family Cites Families (9)
| Publication number | Priority date | Publication date | Assignee | Title |
|---|---|---|---|---|
| JPH09157329A (ja) * | 1995-12-07 | 1997-06-17 | Kagaku Gijutsu Shinko Jigyodan | 置換アセチレン重合体の製造法 |
| US5885753A (en) * | 1996-04-12 | 1999-03-23 | The Texas A&M University System | Polymeric self-assembled mono- and multilayers and their use in photolithography |
| US7060510B2 (en) * | 2000-08-15 | 2006-06-13 | The Trustees Of The University Of Pennsylvania | Electronic and optoelectronic devices and methods for preparing same |
| TW555790B (en) * | 2000-12-26 | 2003-10-01 | Matsushita Electric Industrial Co Ltd | Conductive organic thin film, process for producing the same, and organic photoelectronic device, electric wire, and electrode aech employing the same |
| US7563387B2 (en) * | 2004-02-23 | 2009-07-21 | Japan Science And Technology Agency | Hydrophilic stiff main chain type liquid crystalline composition and chiral sensor utilizing the same |
| JP2005239863A (ja) * | 2004-02-26 | 2005-09-08 | Japan Science & Technology Agency | キラル配向構造を有する有機/無機複合体及びその製造法 |
| US7105374B1 (en) * | 2005-01-12 | 2006-09-12 | Spansion Llc | Memory cell containing copolymer containing diarylacetylene portion |
| JP2007049116A (ja) * | 2005-07-11 | 2007-02-22 | Fujitsu Ltd | 多層配線基板の製造方法及び多層配線基板 |
| US20080099129A1 (en) * | 2006-10-27 | 2008-05-01 | Canon Kabushiki Kaisha | Method and apparatus for forming a continuous oriented structure of a polymer |
-
2007
- 2007-08-31 JP JP2007227018A patent/JP5111024B2/ja not_active Expired - Fee Related
-
2008
- 2008-08-25 US US12/197,490 patent/US20090061255A1/en not_active Abandoned
Cited By (1)
| Publication number | Priority date | Publication date | Assignee | Title |
|---|---|---|---|---|
| US10201079B2 (en) | 2016-03-22 | 2019-02-05 | Samsung Display Co., Ltd. | Flexible electronic device and method of manufacturing the same |
Also Published As
| Publication number | Publication date |
|---|---|
| US20090061255A1 (en) | 2009-03-05 |
| JP2009057492A (ja) | 2009-03-19 |
Similar Documents
| Publication | Publication Date | Title |
|---|---|---|
| Knapton et al. | Synthesis and properties of metallo-supramolecular poly (p-phenylene ethynylene) s | |
| US7186355B2 (en) | Insulated nanoscopic pathways, compositions and devices of the same | |
| Xia et al. | Surface grafting of conjugated polymers onto self-assembled monolayer modified conducting substrates by electrochemistry | |
| JP4289385B2 (ja) | 有機電子デバイス及びその製造方法 | |
| KR101120450B1 (ko) | 절연층, 전자 디바이스, 전계 효과 트랜지스터 및 폴리비닐티오페놀 | |
| US9334162B2 (en) | Surface modification using functional carbon nanotubes | |
| CN101257091B (zh) | 半导体装置及其制造方法 | |
| KR20050110640A (ko) | 공역 분자 어셈블리, 그 어셈블리의 제조 방법 및 그어셈블리를 포함하는 디바이스 | |
| JP5111024B2 (ja) | ブロックポリマー、金属とブロックポリマーの複合体およびデバイス | |
| KR101580318B1 (ko) | 나노 금속 결합용 단량체, 전도성 고분자 복합체 및 그의제조방법 | |
| JP5596912B2 (ja) | ブロックポリマーおよびデバイス | |
| CN1643708B (zh) | 使用金属-金属键接络合物的分子电子器件 | |
| Daripa et al. | Simple and direct synthetic route to a rod–coil conjugated block copolymer from either a rod or coil block using a single bifunctional initiator: a solvent dependent self-assembly and field effect mobility study | |
| KR101202568B1 (ko) | 절연 게이트형 전계 효과 트랜지스터의 제조 방법 | |
| JP5196815B2 (ja) | 螺旋型置換ポリアセチレン構造体、その製造方法、デバイス構造、イオン輸送膜および気体分離膜 | |
| JP2004136377A (ja) | 分子ナノワイヤ−ナノ微粒子複合体、その製造方法ならびに該複合体を用いた分子ワイヤリング法 | |
| US8450724B2 (en) | Electrical device containing helical substituted polyacetylene | |
| JP4898498B2 (ja) | 置換ポリアセチレン、複合体およびデバイス構造 | |
| JP2009503838A5 (ja) | ||
| JP5082423B2 (ja) | 半導体装置及びその製造方法 | |
| JP2003261654A (ja) | 導電性高分子及びその製造方法,並びに導電性高分子を含有する電気−光変換素子,電気・電子素子,光−電気変換素子及び電気配線板 | |
| Vercelli et al. | Star-shaped and linear terthiophene-thiol self-assembled monolayers as scaffolds for gold nanoparticles | |
| JP2004273881A (ja) | π共役系高分子構造体およびこれを用いた電子素子 | |
| Im et al. | Surface‐Grown Organic Architectures for Nanoelectronics: From Molecular Design to Device Function | |
| JP4957735B2 (ja) | 有機電子デバイス及びその製造方法、並びに、有機半導体分子 |
Legal Events
| Date | Code | Title | Description |
|---|---|---|---|
| RD01 | Notification of change of attorney |
Free format text: JAPANESE INTERMEDIATE CODE: A7421 Effective date: 20100621 |
|
| A621 | Written request for application examination |
Free format text: JAPANESE INTERMEDIATE CODE: A621 Effective date: 20100826 |
|
| A977 | Report on retrieval |
Free format text: JAPANESE INTERMEDIATE CODE: A971007 Effective date: 20120615 |
|
| A131 | Notification of reasons for refusal |
Free format text: JAPANESE INTERMEDIATE CODE: A131 Effective date: 20120626 |
|
| A521 | Request for written amendment filed |
Free format text: JAPANESE INTERMEDIATE CODE: A523 Effective date: 20120823 |
|
| TRDD | Decision of grant or rejection written | ||
| A01 | Written decision to grant a patent or to grant a registration (utility model) |
Free format text: JAPANESE INTERMEDIATE CODE: A01 Effective date: 20120911 |
|
| A01 | Written decision to grant a patent or to grant a registration (utility model) |
Free format text: JAPANESE INTERMEDIATE CODE: A01 |
|
| A61 | First payment of annual fees (during grant procedure) |
Free format text: JAPANESE INTERMEDIATE CODE: A61 Effective date: 20121009 |
|
| FPAY | Renewal fee payment (event date is renewal date of database) |
Free format text: PAYMENT UNTIL: 20151019 Year of fee payment: 3 |
|
| FPAY | Renewal fee payment (event date is renewal date of database) |
Free format text: PAYMENT UNTIL: 20151019 Year of fee payment: 3 |
|
| LAPS | Cancellation because of no payment of annual fees |
