JP5110157B2 - 調光フィルムの製造方法及び調光フィルム - Google Patents
調光フィルムの製造方法及び調光フィルム Download PDFInfo
- Publication number
- JP5110157B2 JP5110157B2 JP2010501959A JP2010501959A JP5110157B2 JP 5110157 B2 JP5110157 B2 JP 5110157B2 JP 2010501959 A JP2010501959 A JP 2010501959A JP 2010501959 A JP2010501959 A JP 2010501959A JP 5110157 B2 JP5110157 B2 JP 5110157B2
- Authority
- JP
- Japan
- Prior art keywords
- light control
- transparent resin
- light
- film
- base material
- Prior art date
- Legal status (The legal status is an assumption and is not a legal conclusion. Google has not performed a legal analysis and makes no representation as to the accuracy of the status listed.)
- Active
Links
Images
Classifications
-
- B—PERFORMING OPERATIONS; TRANSPORTING
- B32—LAYERED PRODUCTS
- B32B—LAYERED PRODUCTS, i.e. PRODUCTS BUILT-UP OF STRATA OF FLAT OR NON-FLAT, e.g. CELLULAR OR HONEYCOMB, FORM
- B32B17/00—Layered products essentially comprising sheet glass, or glass, slag, or like fibres
- B32B17/06—Layered products essentially comprising sheet glass, or glass, slag, or like fibres comprising glass as the main or only constituent of a layer, next to another layer of a specific material
- B32B17/10—Layered products essentially comprising sheet glass, or glass, slag, or like fibres comprising glass as the main or only constituent of a layer, next to another layer of a specific material of synthetic resin
- B32B17/10005—Layered products essentially comprising sheet glass, or glass, slag, or like fibres comprising glass as the main or only constituent of a layer, next to another layer of a specific material of synthetic resin laminated safety glass or glazing
- B32B17/10009—Layered products essentially comprising sheet glass, or glass, slag, or like fibres comprising glass as the main or only constituent of a layer, next to another layer of a specific material of synthetic resin laminated safety glass or glazing characterized by the number, the constitution or treatment of glass sheets
- B32B17/10036—Layered products essentially comprising sheet glass, or glass, slag, or like fibres comprising glass as the main or only constituent of a layer, next to another layer of a specific material of synthetic resin laminated safety glass or glazing characterized by the number, the constitution or treatment of glass sheets comprising two outer glass sheets
-
- B—PERFORMING OPERATIONS; TRANSPORTING
- B32—LAYERED PRODUCTS
- B32B—LAYERED PRODUCTS, i.e. PRODUCTS BUILT-UP OF STRATA OF FLAT OR NON-FLAT, e.g. CELLULAR OR HONEYCOMB, FORM
- B32B17/00—Layered products essentially comprising sheet glass, or glass, slag, or like fibres
- B32B17/06—Layered products essentially comprising sheet glass, or glass, slag, or like fibres comprising glass as the main or only constituent of a layer, next to another layer of a specific material
- B32B17/10—Layered products essentially comprising sheet glass, or glass, slag, or like fibres comprising glass as the main or only constituent of a layer, next to another layer of a specific material of synthetic resin
- B32B17/10005—Layered products essentially comprising sheet glass, or glass, slag, or like fibres comprising glass as the main or only constituent of a layer, next to another layer of a specific material of synthetic resin laminated safety glass or glazing
- B32B17/10165—Functional features of the laminated safety glass or glazing
- B32B17/10174—Coatings of a metallic or dielectric material on a constituent layer of glass or polymer
-
- B—PERFORMING OPERATIONS; TRANSPORTING
- B32—LAYERED PRODUCTS
- B32B—LAYERED PRODUCTS, i.e. PRODUCTS BUILT-UP OF STRATA OF FLAT OR NON-FLAT, e.g. CELLULAR OR HONEYCOMB, FORM
- B32B17/00—Layered products essentially comprising sheet glass, or glass, slag, or like fibres
- B32B17/06—Layered products essentially comprising sheet glass, or glass, slag, or like fibres comprising glass as the main or only constituent of a layer, next to another layer of a specific material
- B32B17/10—Layered products essentially comprising sheet glass, or glass, slag, or like fibres comprising glass as the main or only constituent of a layer, next to another layer of a specific material of synthetic resin
- B32B17/10005—Layered products essentially comprising sheet glass, or glass, slag, or like fibres comprising glass as the main or only constituent of a layer, next to another layer of a specific material of synthetic resin laminated safety glass or glazing
- B32B17/10165—Functional features of the laminated safety glass or glazing
- B32B17/10431—Specific parts for the modulation of light incorporated into the laminated safety glass or glazing
- B32B17/10467—Variable transmission
- B32B17/10495—Variable transmission optoelectronic, i.e. optical valve
- B32B17/10532—Suspended particle layer
-
- B—PERFORMING OPERATIONS; TRANSPORTING
- B32—LAYERED PRODUCTS
- B32B—LAYERED PRODUCTS, i.e. PRODUCTS BUILT-UP OF STRATA OF FLAT OR NON-FLAT, e.g. CELLULAR OR HONEYCOMB, FORM
- B32B17/00—Layered products essentially comprising sheet glass, or glass, slag, or like fibres
- B32B17/06—Layered products essentially comprising sheet glass, or glass, slag, or like fibres comprising glass as the main or only constituent of a layer, next to another layer of a specific material
- B32B17/10—Layered products essentially comprising sheet glass, or glass, slag, or like fibres comprising glass as the main or only constituent of a layer, next to another layer of a specific material of synthetic resin
- B32B17/10005—Layered products essentially comprising sheet glass, or glass, slag, or like fibres comprising glass as the main or only constituent of a layer, next to another layer of a specific material of synthetic resin laminated safety glass or glazing
- B32B17/10807—Making laminated safety glass or glazing; Apparatus therefor
-
- G—PHYSICS
- G02—OPTICS
- G02F—OPTICAL DEVICES OR ARRANGEMENTS FOR THE CONTROL OF LIGHT BY MODIFICATION OF THE OPTICAL PROPERTIES OF THE MEDIA OF THE ELEMENTS INVOLVED THEREIN; NON-LINEAR OPTICS; FREQUENCY-CHANGING OF LIGHT; OPTICAL LOGIC ELEMENTS; OPTICAL ANALOGUE/DIGITAL CONVERTERS
- G02F1/00—Devices or arrangements for the control of the intensity, colour, phase, polarisation or direction of light arriving from an independent light source, e.g. switching, gating or modulating; Non-linear optics
- G02F1/01—Devices or arrangements for the control of the intensity, colour, phase, polarisation or direction of light arriving from an independent light source, e.g. switching, gating or modulating; Non-linear optics for the control of the intensity, phase, polarisation or colour
- G02F1/13—Devices or arrangements for the control of the intensity, colour, phase, polarisation or direction of light arriving from an independent light source, e.g. switching, gating or modulating; Non-linear optics for the control of the intensity, phase, polarisation or colour based on liquid crystals, e.g. single liquid crystal display cells
- G02F1/133—Constructional arrangements; Operation of liquid crystal cells; Circuit arrangements
- G02F1/1333—Constructional arrangements; Manufacturing methods
- G02F1/133305—Flexible substrates, e.g. plastics, organic film
-
- G—PHYSICS
- G02—OPTICS
- G02F—OPTICAL DEVICES OR ARRANGEMENTS FOR THE CONTROL OF LIGHT BY MODIFICATION OF THE OPTICAL PROPERTIES OF THE MEDIA OF THE ELEMENTS INVOLVED THEREIN; NON-LINEAR OPTICS; FREQUENCY-CHANGING OF LIGHT; OPTICAL LOGIC ELEMENTS; OPTICAL ANALOGUE/DIGITAL CONVERTERS
- G02F1/00—Devices or arrangements for the control of the intensity, colour, phase, polarisation or direction of light arriving from an independent light source, e.g. switching, gating or modulating; Non-linear optics
- G02F1/01—Devices or arrangements for the control of the intensity, colour, phase, polarisation or direction of light arriving from an independent light source, e.g. switching, gating or modulating; Non-linear optics for the control of the intensity, phase, polarisation or colour
- G02F1/17—Devices or arrangements for the control of the intensity, colour, phase, polarisation or direction of light arriving from an independent light source, e.g. switching, gating or modulating; Non-linear optics for the control of the intensity, phase, polarisation or colour based on variable-absorption elements not provided for in groups G02F1/015 - G02F1/169
- G02F1/172—Devices or arrangements for the control of the intensity, colour, phase, polarisation or direction of light arriving from an independent light source, e.g. switching, gating or modulating; Non-linear optics for the control of the intensity, phase, polarisation or colour based on variable-absorption elements not provided for in groups G02F1/015 - G02F1/169 based on a suspension of orientable dipolar particles, e.g. suspended particles displays
-
- G—PHYSICS
- G02—OPTICS
- G02F—OPTICAL DEVICES OR ARRANGEMENTS FOR THE CONTROL OF LIGHT BY MODIFICATION OF THE OPTICAL PROPERTIES OF THE MEDIA OF THE ELEMENTS INVOLVED THEREIN; NON-LINEAR OPTICS; FREQUENCY-CHANGING OF LIGHT; OPTICAL LOGIC ELEMENTS; OPTICAL ANALOGUE/DIGITAL CONVERTERS
- G02F2202/00—Materials and properties
- G02F2202/02—Materials and properties organic material
- G02F2202/022—Materials and properties organic material polymeric
Landscapes
- Physics & Mathematics (AREA)
- Nonlinear Science (AREA)
- General Physics & Mathematics (AREA)
- Optics & Photonics (AREA)
- Mathematical Physics (AREA)
- Chemical & Material Sciences (AREA)
- Crystallography & Structural Chemistry (AREA)
- Electrochromic Elements, Electrophoresis, Or Variable Reflection Or Absorption Elements (AREA)
Description
(b)前記第1の透明樹脂基材に塗布した調光材料上に他方の透明樹脂基材(第2の透明樹脂基材)を貼り合わせる工程、
(c)第1の透明樹脂基材と第2の透明樹脂基材とで挟持された調光材料にエネルギー線を照射し、前記調光材料中に含まれる前記樹脂マトリックスを形成する高分子媒体を硬化させ、調光層を形成して、調光フィルムを得る工程。
(b)前記第1の透明樹脂基材に塗布した調光材料上に他方の透明樹脂基材(第2の透明樹脂基材)を貼り合わせる工程、
(c)第1の透明樹脂基材と第2の透明樹脂基材とで挟持された調光材料にエネルギー線を照射し、前記調光材料中に含まれる前記樹脂マトリックスを形成する高分子媒体を硬化させ、調光層を形成して、調光フィルムを得る工程。
<1>光調整懸濁液
本発明における光調整懸濁液は、光調整粒子が流動可能な状態で分散媒中に分散したものである。
CaI2(C6H4N2O4)・XH2O (X:1〜2)
CaIa(C6H4N2O4)b・cH2O (a:3〜7、b:1〜2、c:1〜3)
で表されるものが挙げられる。これらのポリ過ヨウ化物は針状結晶であることが好ましい。
本発明の調光層における樹脂マトリックスを形成する高分子媒体は、エネルギー線を照射することにより硬化するものが好ましい。本発明において、エネルギー線を照射することにより硬化する高分子媒体としては、例えば、光重合開始剤及び、紫外線、可視光線、電子線等のエネルギー線により硬化する高分子化合物を含む高分子組成物が挙げられる。
調光材料は、液状の光調整懸濁液を高分子媒体と均質に混合し、光調整懸濁液を高分子媒体中に液滴状態で分散させて、混合液として得られる。
<4>調光層
本発明における調光層は、以上のような、樹脂マトリックスを形成する高分子媒体と光調整懸濁液とを含む調光材料を硬化させて形成することができる。
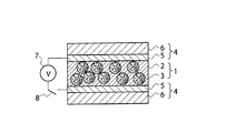
本発明における透明樹脂基材は、透明樹脂基材は調光機能を発現させる電界印加のために導電性を有するものであれば、特に制限はない。本発明においては、調光機能を発現させる電界印加のために、透明導電膜が表面に形成されている形態が好ましい。透明導電膜としては、例えば、インジウム錫オキサイド(ITO)、SnO2、In2O3等の膜が使用される。透明樹脂基材上に透明導電膜を形成する場合、その表面電気抵抗値が3〜3000Ω程度であることが好ましい。
本発明における調光フィルムは、樹脂マトリックスを形成する高分子媒体と光調整懸濁液とを含む調光材料を用いて硬化することによって形成される調光層が、透明樹脂基材間に挟持されてなる。
製造は、下記の方法による。
(b)前記第1の透明樹脂基材に塗布した調光材料上に他方の透明樹脂基材(第2の透明樹脂基材)を貼り合わせる工程、
(c)第1の透明樹脂基材と第2の透明樹脂基材とで挟持された調光材料にエネルギー線を照射し、前記調光材料中に含まれる前記樹脂マトリックスを形成する高分子媒体を硬化させ、調光層を形成して、調光フィルムを得る工程。
調光性能を発揮させる条件は特に制限はないが、通常、使用電源は交流で、10〜220ボルト(実効値)、30Hz〜500kHzの周波数の範囲で作動させることができる。
(光調整粒子の製造例)
光調整粒子を製造するために、撹拌機及び冷却管を装着した500mlの四つ口フラスコに、ニトロセルロース1/4LIG(商品名、ベルジュラックNC社製)15質量%の酢酸イソアミル(試薬特級、和光純薬工業株式会社製)希釈溶液87.54g、酢酸イソアミル44.96g、脱水CaI2(化学用、和光純薬工業株式会社製)4.5g、無水エタノール(有機合成用、和光純薬工業株式会社製)2.0g、精製水(精製水、和光純薬工業株式会社製)0.6gの溶液に、ヨウ素(JIS試薬特級、和光純薬工業株式会社製)4.5gを溶解し、光調整粒子の基盤形成物質であるピラジン−2,5−ジカルボン酸2水和物(PolyCarbon Industries製)3gを添加した。45℃で3時間撹拌して反応を終了させた後、超音波分散機で2時間分散させた。このとき、混合液の色相は、茶色から暗紺色に変化した。
前記の(光調整粒子の製造例)で得た光調整粒子45.5gを、光調整懸濁液の分散媒としてのアクリル酸ブチル(和光特級、和光純薬工業株式会社製)/メタクリル酸2,2,2−トリフルオロエチル(工業用、共栄社化学工業株式会社製)/アクリル酸2−ヒドロキシエチル(和光1級、和光純薬工業株式会社製)共重合体(モノマーモル比:18/1.5/0.5、重量平均分子量:2,000、屈折率1.4719)50gに加え、撹拌機により30分間混合した。次いで酢酸イソアミルを、ロータリーエバポレーターを用いて133Paの真空で80℃、3時間減圧除去し、光調整粒子の沈降及び凝集現象のない安定な液状の光調整懸濁液を製造した。
ディーンスタークトラップ、冷却管、撹拌機、加熱装置を備えた四つ口フラスコに、両末端シラノールポリジメチルシロキサン(試薬、チッソ株式会社製)17.8g、両末端シラノールポリジメチルジフェニルシロキサン(試薬、チッソ株式会社製)62.2g、(3−アクリロキシプロピル)メチルジメトキシシラン(試薬、チッソ株式会社製)20g、2−エチルヘキサン錫(和光純薬工業株式会社製)0.1gを仕込み、ヘプタン中で100℃で3時間リフラックスし、反応を行った。
エチレン性不飽和結合濃度(モル/kg)は、NMRの水素積分比から算出した(エチレン性不飽和結合の水素の6ppm近傍の積分値、フェニル基の水素の7.5ppm近傍の積分値、及びメチル基の水素の0.1ppm近傍の積分値を使用)。測定溶媒はCDCl3とした。上記で製造した樹脂においては、NMRの水素積分比から算出した質量比率がメチル基:フェニル基:エチレン性不飽和結合基=11:6.4:1、全体の中のエチレン性不飽和結合基の割合は5.4%、各々の分子量から1分子あたりのエチレン性不飽和結合基の数は9.35、よって、1kgあたりのモル数は0.31モル/kgと算出した。
前記(エネルギー線硬化型シリコーン系樹脂の製造例)で得たエネルギー線硬化型シリコーン樹脂10g、光重合開始剤としてのビス(2,4,6−トリメチルベンゾイル)フェニルフォスフィンオキサイド(チバ・スペシャルティ・ケミカルス株式会社製)0.2g、着色防止剤としてのジブチル錫ジラウレート0.3gに、前記(光調整懸濁液の製造例)で得た光調整懸濁液2.5gを添加し、1分間機械的に混合し、調光材料を製造した。
(実施例1)
この調光材料を、ITO(インジウム錫の酸化物)の透明導電膜(厚み300Å)がコーティングされている表面電気抵抗値が200〜300Ωのポリエチレンテレフタレートフィルム(商品名:300R、東洋紡績株式会社製、厚み:125μm)(第1の透明樹脂基材)をロールから巻出し、ダイコーターを用いて、乾燥膜厚が90μm、塗工速度(フィルムの巻出し速度)2m/分で塗布した。
第1の透明樹脂基材に塗布された調光材料上に、第2の透明樹脂基材を貼り合わせる際に、第1の透明樹脂基材と第2の透明樹脂基材との貼り合わせ部分において、第1の透明樹脂基材の表面(調光材料と接している面とは反対の面)側及び第2の透明樹脂基材の表面(調光材料と接している面とは反対の面)側で、押圧用ロールが接するようにそれぞれ1つずつ2つの押圧用ロールを設置して、調光フィルムとなる積層体の厚み方向に対して、両側から押圧した他は実施例1と同様に調光フィルムを製造した。
上記で製造した調光材料を、ITO(インジウム錫の酸化物)の透明導電膜(厚み300Å)がコーティングされている、表面電気抵抗値が200〜300Ω/Sqのポリエチレンテレフタレートフィルム(商品名:300R、東洋紡績株式会社製、厚み:125μm)(第1の透明樹脂基材)上に、ダイコーターで乾燥膜厚が90μmになるように塗布した。その後、充分に窒素置換された雰囲気下で出力80mW/cmに調整されたメタルハライドランプを第1の透明樹脂基材方向及び調光材料塗布面方向の両側に設置し、積算光量(2つのメタルハライドランプの合計)で4000mJ/cm2(測定;UV Power Pack S/N 8601UV−A(320〜390nm)フュージョン製)の紫外線を照射した。
接着強度の測定はレオメーター、STROGRAPH E−S(東洋精機株式会社)を使用し、90°ピール、ロード加重50N、引き上げスピード50mm/minで測定した。接着強度はそれぞれの調光フィルムを用いた試験における破壊モードでの接着強度とした。
各実施例及び各比較例で得られた調光フィルムについて、検反板で、電界未印加時における濃度の均一性(濃淡)を目視にて観察した。評価基準は下記の通りである。
Claims (3)
- 樹脂マトリックスを形成する高分子媒体と光調整懸濁液とを含む調光材料を用いて形成される調光層が、2つの透明樹脂基材間に挟持されてなる調光フィルムの製造方法であって、下記(a)〜(c)工程を含む調光フィルムの製造方法。
(a)一方の透明樹脂基材(第1の透明樹脂基材)上に前記調光材料を塗布する工程、
(b)前記第1の透明樹脂基材に塗布した調光材料上に他方の透明樹脂基材(第2の透明樹脂基材)を貼り合わせ、前記第1の透明樹脂基材側及び第2の透明樹脂基材側のいずれか一方向から、又は、前記第1の透明樹脂基材側及び第2の透明樹脂基材側の両側から押圧する工程、
(c)第1の透明樹脂基材と第2の透明樹脂基材とで挟持された調光材料にエネルギー線を第1の透明樹脂基材側及び第2の透明樹脂基材側の両側から照射し、前記調光材料中に含まれる前記樹脂マトリックスを形成する高分子媒体を硬化させ、調光層を形成して、調光フィルムを得る工程。 - 前記(b)工程の前に、前記第2の透明樹脂基材上にあらかじめ調光材料を塗布する工程を有する請求項1記載の調光フィルムの製造方法。
- 前記(a)工程において、第1の透明樹脂基材をロールから巻出し、前記(b)において第2の透明樹脂基材をロールから巻き出し、且つ前記(c)工程で得られた調光フィルムをロールで巻き取る工程をさらに有する請求項1又は2に記載の調光フィルムの製造方法。
Priority Applications (1)
| Application Number | Priority Date | Filing Date | Title |
|---|---|---|---|
| JP2010501959A JP5110157B2 (ja) | 2008-03-05 | 2009-03-05 | 調光フィルムの製造方法及び調光フィルム |
Applications Claiming Priority (4)
| Application Number | Priority Date | Filing Date | Title |
|---|---|---|---|
| JP2008054791 | 2008-03-05 | ||
| JP2008054791 | 2008-03-05 | ||
| PCT/JP2009/054196 WO2009110563A1 (ja) | 2008-03-05 | 2009-03-05 | 調光フィルムの製造方法及び調光フィルム |
| JP2010501959A JP5110157B2 (ja) | 2008-03-05 | 2009-03-05 | 調光フィルムの製造方法及び調光フィルム |
Publications (2)
| Publication Number | Publication Date |
|---|---|
| JPWO2009110563A1 JPWO2009110563A1 (ja) | 2011-07-14 |
| JP5110157B2 true JP5110157B2 (ja) | 2012-12-26 |
Family
ID=41056115
Family Applications (1)
| Application Number | Title | Priority Date | Filing Date |
|---|---|---|---|
| JP2010501959A Active JP5110157B2 (ja) | 2008-03-05 | 2009-03-05 | 調光フィルムの製造方法及び調光フィルム |
Country Status (4)
| Country | Link |
|---|---|
| US (1) | US8817360B2 (ja) |
| EP (1) | EP2251739B1 (ja) |
| JP (1) | JP5110157B2 (ja) |
| WO (1) | WO2009110563A1 (ja) |
Families Citing this family (9)
| Publication number | Priority date | Publication date | Assignee | Title |
|---|---|---|---|---|
| EP2530517B1 (en) * | 2010-01-26 | 2019-02-27 | Hitachi Chemical Company, Ltd. | Light-diffusing film |
| WO2011093330A1 (ja) * | 2010-01-26 | 2011-08-04 | 日立化成工業株式会社 | (メタ)アクリロイル基含有ポリシロキサン樹脂の製造方法及び該方法により得られた(メタ)アクリロイル基含有ポリシロキサン樹脂を用いた調光フィルム |
| JP5423603B2 (ja) | 2010-07-26 | 2014-02-19 | 日立化成株式会社 | 懸濁粒子装置及びその駆動方法 |
| JP2012137575A (ja) | 2010-12-27 | 2012-07-19 | Hitachi Chem Co Ltd | 懸濁粒子装置,懸濁粒子装置を用いた調光装置及びそれらの駆動方法 |
| JP5682338B2 (ja) * | 2011-01-31 | 2015-03-11 | 日立化成株式会社 | 調光材料及び調光フィルム |
| KR102052720B1 (ko) | 2016-06-27 | 2019-12-05 | 비아비 솔루션즈 아이엔씨. | 고채도 플레이크 |
| US10207479B2 (en) | 2016-06-27 | 2019-02-19 | Viavi Solutions Inc. | Magnetic articles |
| US12187900B2 (en) | 2016-06-27 | 2025-01-07 | Viavi Solutions Inc. | High chromaticity pigment flakes and foils |
| EP3263649B1 (en) | 2016-06-27 | 2025-04-30 | Viavi Solutions Inc. | Optical devices |
Citations (3)
| Publication number | Priority date | Publication date | Assignee | Title |
|---|---|---|---|---|
| JPH04152324A (ja) * | 1990-10-17 | 1992-05-26 | Teijin Ltd | 調光構成体 |
| JPH10328612A (ja) * | 1997-05-29 | 1998-12-15 | Idemitsu Kosan Co Ltd | 液晶光学素子の製造方法 |
| JP2002189123A (ja) * | 2000-12-19 | 2002-07-05 | Hitachi Chem Co Ltd | 調光材料、調光フィルム及び調光フィルムの製造方法 |
Family Cites Families (25)
| Publication number | Priority date | Publication date | Assignee | Title |
|---|---|---|---|---|
| US2041138A (en) * | 1930-03-10 | 1936-05-19 | Sheet Polarizer Company Inc | Process of forming improved light polarizing bodies |
| GB433455A (en) | 1933-01-16 | 1935-08-15 | Edwin Herbert Land | Improvements in and relating to polarizing bodies |
| US2306108A (en) | 1939-05-04 | 1942-12-22 | Polaroid Corp | Method of manufacturing light polarizing material |
| US2375963A (en) | 1943-05-07 | 1945-05-15 | Polaroid Corp | Process of manufacturing lightpolarizing material |
| US4098155A (en) | 1976-09-17 | 1978-07-04 | The Fletcher-Terry Company | Self-compensating scoring head |
| US4422963A (en) * | 1977-05-11 | 1983-12-27 | Research Frontiers Incorporated | Light valve polarizing materials and suspensions thereof |
| US4270841A (en) | 1978-10-31 | 1981-06-02 | Research Frontiers Incorporated | Light valve containing suspension of perhalide of alkaloid acid salt |
| DE2948708C2 (de) | 1979-02-02 | 1984-06-28 | Th. Goldschmidt Ag, 4300 Essen | Verfahren zur Herstellung von mit Pentaerythrittriacrylsäure- oder Pentaerythrittrimethacrylsäureestern modifizierten Organopolysiloxanen |
| JPS5674113A (en) | 1979-11-22 | 1981-06-19 | Shin Etsu Chem Co Ltd | Photosetting organopolysiloxane composition |
| JPS59206465A (ja) | 1983-05-10 | 1984-11-22 | Shin Etsu Chem Co Ltd | 放射線硬化性オルガノポリシロキサン組成物 |
| JPH0486807A (ja) * | 1990-07-31 | 1992-03-19 | Takiron Co Ltd | 調光液晶シート及びその製造方法 |
| US5463492A (en) | 1991-11-01 | 1995-10-31 | Research Frontiers Incorporated | Light modulating film of improved clarity for a light valve |
| JPH06167700A (ja) * | 1992-09-30 | 1994-06-14 | New Oji Paper Co Ltd | 調光シートの製造方法 |
| IT1276692B1 (it) | 1995-06-09 | 1997-11-03 | Sniaricerche S C P A | Cristalli liquidi stabilizzati con polimeri (pslc) e dispositivi flessibili di essi |
| US5728251A (en) | 1995-09-27 | 1998-03-17 | Research Frontiers Inc | Light modulating film of improved UV stability for a light valve |
| US6128056A (en) * | 1997-06-04 | 2000-10-03 | Matsushita Electric Industrial Co., Ltd. | Liquid crystal display element in which the polymer liquid crystal composite layer is divided into an active area and a non-active area and method of manufacturing the same |
| US8282762B2 (en) * | 2001-01-11 | 2012-10-09 | Sipix Imaging, Inc. | Transmissive or reflective liquid crystal display and process for its manufacture |
| JP2005300962A (ja) | 2004-04-13 | 2005-10-27 | Dainippon Ink & Chem Inc | 調光材料、調光フィルムおよび調光ガラスならびにその製造方法 |
| JP2006064832A (ja) | 2004-08-25 | 2006-03-09 | Dainippon Ink & Chem Inc | 調光材料、調光フィルムおよびその製造方法 |
| JP4655663B2 (ja) * | 2005-02-21 | 2011-03-23 | コニカミノルタオプト株式会社 | 塗布層を有するロール状フィルムの製造方法、ロール状光学フィルム、偏光板、液晶表示装置 |
| JP4586711B2 (ja) * | 2005-11-09 | 2010-11-24 | セイコーエプソン株式会社 | 電気泳動表示シートの製造方法および電気泳動表示装置の製造方法 |
| US7324264B2 (en) * | 2006-02-23 | 2008-01-29 | Eastman Kodak Company | Electro-optical modulating display and method of making the same |
| US9638979B2 (en) * | 2006-12-21 | 2017-05-02 | Hitachi Chemical Company, Ltd. | Light control film |
| JP2008158043A (ja) * | 2006-12-21 | 2008-07-10 | Hitachi Chem Co Ltd | 調光フィルム |
| US8089604B2 (en) * | 2007-06-26 | 2012-01-03 | 3M Innovative Properties Company | Liquid crystal display panel and methods of manufacturing the same |
-
2009
- 2009-03-05 WO PCT/JP2009/054196 patent/WO2009110563A1/ja not_active Ceased
- 2009-03-05 JP JP2010501959A patent/JP5110157B2/ja active Active
- 2009-03-05 EP EP20090718110 patent/EP2251739B1/en active Active
- 2009-03-05 US US12/921,286 patent/US8817360B2/en active Active
Patent Citations (3)
| Publication number | Priority date | Publication date | Assignee | Title |
|---|---|---|---|---|
| JPH04152324A (ja) * | 1990-10-17 | 1992-05-26 | Teijin Ltd | 調光構成体 |
| JPH10328612A (ja) * | 1997-05-29 | 1998-12-15 | Idemitsu Kosan Co Ltd | 液晶光学素子の製造方法 |
| JP2002189123A (ja) * | 2000-12-19 | 2002-07-05 | Hitachi Chem Co Ltd | 調光材料、調光フィルム及び調光フィルムの製造方法 |
Also Published As
| Publication number | Publication date |
|---|---|
| WO2009110563A1 (ja) | 2009-09-11 |
| EP2251739A1 (en) | 2010-11-17 |
| EP2251739B1 (en) | 2015-05-06 |
| JPWO2009110563A1 (ja) | 2011-07-14 |
| US8817360B2 (en) | 2014-08-26 |
| EP2251739A4 (en) | 2011-09-07 |
| US20110013260A1 (en) | 2011-01-20 |
Similar Documents
| Publication | Publication Date | Title |
|---|---|---|
| JP5359276B2 (ja) | 調光フィルム及び調光ガラス | |
| JP5110157B2 (ja) | 調光フィルムの製造方法及び調光フィルム | |
| JP5600874B2 (ja) | 調光フィルム | |
| JP5233676B2 (ja) | 調光フィルム及び調光ガラス | |
| JP5321470B2 (ja) | 調光フィルム | |
| JP5104954B2 (ja) | 調光フィルム | |
| JP5152334B2 (ja) | 調光フィルム | |
| JP2012037558A (ja) | 調光性構造体 | |
| JP2008158043A (ja) | 調光フィルム | |
| JP5842396B2 (ja) | 調光材料および調光フィルム | |
| JP2008158040A (ja) | 調光材料、それを用いた調光フィルム及びその製造方法 | |
| JP2008158042A (ja) | 調光フィルム | |
| JP5266767B2 (ja) | 調光材料、調光フィルム、及び調光材料の製造方法 | |
| JP2013182112A (ja) | 調光フィルム及びその製造方法 | |
| JP2008158041A (ja) | 調光材料、調光フィルム及び調光フィルムの製造方法 | |
| JP2012032715A (ja) | 調光性構造体 |
Legal Events
| Date | Code | Title | Description |
|---|---|---|---|
| A621 | Written request for application examination |
Free format text: JAPANESE INTERMEDIATE CODE: A621 Effective date: 20120213 |
|
| A131 | Notification of reasons for refusal |
Free format text: JAPANESE INTERMEDIATE CODE: A131 Effective date: 20120605 |
|
| A521 | Request for written amendment filed |
Free format text: JAPANESE INTERMEDIATE CODE: A523 Effective date: 20120803 |
|
| TRDD | Decision of grant or rejection written | ||
| A01 | Written decision to grant a patent or to grant a registration (utility model) |
Free format text: JAPANESE INTERMEDIATE CODE: A01 Effective date: 20120911 |
|
| A01 | Written decision to grant a patent or to grant a registration (utility model) |
Free format text: JAPANESE INTERMEDIATE CODE: A01 |
|
| A61 | First payment of annual fees (during grant procedure) |
Free format text: JAPANESE INTERMEDIATE CODE: A61 Effective date: 20120924 |
|
| FPAY | Renewal fee payment (event date is renewal date of database) |
Free format text: PAYMENT UNTIL: 20151019 Year of fee payment: 3 |
|
| R151 | Written notification of patent or utility model registration |
Ref document number: 5110157 Country of ref document: JP Free format text: JAPANESE INTERMEDIATE CODE: R151 |
|
| FPAY | Renewal fee payment (event date is renewal date of database) |
Free format text: PAYMENT UNTIL: 20151019 Year of fee payment: 3 |
|
| S531 | Written request for registration of change of domicile |
Free format text: JAPANESE INTERMEDIATE CODE: R313531 |
|
| S533 | Written request for registration of change of name |
Free format text: JAPANESE INTERMEDIATE CODE: R313533 |
|
| FPAY | Renewal fee payment (event date is renewal date of database) |
Free format text: PAYMENT UNTIL: 20151019 Year of fee payment: 3 |
|
| R350 | Written notification of registration of transfer |
Free format text: JAPANESE INTERMEDIATE CODE: R350 |
|
| S531 | Written request for registration of change of domicile |
Free format text: JAPANESE INTERMEDIATE CODE: R313531 |
|
| S533 | Written request for registration of change of name |
Free format text: JAPANESE INTERMEDIATE CODE: R313533 |
|
| R350 | Written notification of registration of transfer |
Free format text: JAPANESE INTERMEDIATE CODE: R350 |
|
| S531 | Written request for registration of change of domicile |
Free format text: JAPANESE INTERMEDIATE CODE: R313531 |
|
| R350 | Written notification of registration of transfer |
Free format text: JAPANESE INTERMEDIATE CODE: R350 |
|
| R250 | Receipt of annual fees |
Free format text: JAPANESE INTERMEDIATE CODE: R250 |
|
| S111 | Request for change of ownership or part of ownership |
Free format text: JAPANESE INTERMEDIATE CODE: R313113 |
|
| R350 | Written notification of registration of transfer |
Free format text: JAPANESE INTERMEDIATE CODE: R350 |
